
ГОСУДАРСТВЕННЫЙ СТАНДАРТ СОЮЗА ССР
КОРПУСА ТИПА УМ
ПОДШИПНИКОВ КАЧЕНИЯ
ДИАМЕТРОМ ОТ 80 ДО 150 мм
Конструкция и размеры
ГОСТ 13218.3-80
ГОСУДАРСТВЕННЫЙ СТАНДАРТ СОЮЗА ССР
|
КОРПУСА ТИПА УМ ПОДШИПНИКОВ КАЧЕНИЯ ДИАМЕТРОМ ОТ 80 ДО 150 мм Конструкция и размеры Pillow blocks of serie УМ for rollings of diameters from 80 till 150 mm. Construction and dimensions |
ГОСТ Взамен |
Постановлением Государственного комитета СССР по стандартам от 30 сентября 1980 г. № 4892 срок действия установлен
с 01.01 1982 г.
до 01.01 1987 г.
Несоблюдение стандарта преследуется по закону
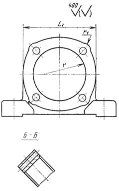
1. Настоящий стандарт распространяется на неразъемные узкие корпуса типа УМ со сквозным отверстием для подшипников качения типов, указанных в табл. 1.
Таблица 1
|
Обозначение корпуса |
Подшипник |
Исполнение корпуса |
|
|
Обозначение типа |
Конструкция и размеры |
||
|
УМ 80 - УМ 150 |
1200 |
По ГОСТ 5720-75 |
1 или 2 |
|
1300 |
|||
|
1500 |
|||
|
11200 |
По ГОСТ 8545-75 |
||
|
11300 |
|||
|
11500 |
|||
|
3500 |
По ГОСТ 5721-75 |
2 |
|
|
13500 |
По ГОСТ 8545-75 |
||
Для D = 110 - 150 мм

Для D = 80 - 100 мм

Размеры в мм
|
Обозначение корпуса |
D |
D1 |
d |
D |
d1 |
d2 |
d3 |
А (пред. откл. ±0,2) |
B |
B1 |
L |
L1 = D2 |
l |
H |
H1 (пред. откл. +0,05) |
h |
r |
r1 |
Теоретическая масса, кг |
|
УМ 80 |
80 |
100 |
9 |
0,10 |
13 |
8 |
26 |
135 |
35 |
42 |
180 |
110 |
110 |
113,0 |
58 |
19 |
75 |
11,0 |
0,71 |
|
УМ 85 |
85 |
105 |
0,12 |
140 |
185 |
115 |
116 |
120,5 |
63 |
1,42 |
|||||||||
|
УМ 90 |
90 |
110 |
11 |
150 |
38 |
195 |
125 |
128 |
130,5 |
68 |
22 |
80 |
12,0 |
1,86 |
|||||
|
УМ 100 |
100 |
120 |
17 |
32 |
165 |
40 |
48 |
215 |
135 |
142 |
139,5 |
72 |
24 |
85 |
12,5 |
2,33 |
|||
|
УМ 110 |
110 |
130 |
185 |
45 |
235 |
155 |
164 |
157,5 |
80 |
26 |
- |
- |
3,05 |
||||||
|
УМ 120 |
120 |
145 |
13 |
210 |
48 |
260 |
17,5 |
194 |
179,5 |
92 |
32 |
4,31 |
|||||||
|
УМ 125 |
125 |
150 |
220 |
270 |
180 |
204 |
188,0 |
98 |
34 |
4,99 |
|||||||||
|
УМ 130 |
130 |
155 |
10 |
225 |
50 |
54 |
280 |
185 |
190,5 |
35 |
5,77 |
||||||||
|
УМ 140 |
140 |
165 |
22 |
40 |
235 |
52 |
58 |
295 |
195 |
206 |
199,5 |
102 |
6,42 |
||||||
|
УМ 150 |
150 |
180 |
255 |
55 |
315 |
210 |
230 |
215,0 |
110 |
40 |
8,30 |
Пример условного обозначения корпуса типа УМ, исполнения 1, D = 90 мм:
Корпус УМ 90 ГОСТ 13218.3-80
То же, исполнения 2:
Корпус УМ 90-2 ГОСТ 13218.3-80
2. Стандарт устанавливает следующие исполнения корпусов:
1 - корпуса с выемкой длиной l в опоре, используемые для установки на необработанные поверхности при любом направлении радиальной нагрузки или для установки на обработанные поверхности при направлении радиальной нагрузки предпочтительно от опоры;
2 - корпуса без выемки длиной l в опоре, используемые для установки на обработанные поверхности при направлении радиальной нагрузки предпочтительно к опоре.
3. Размеры и обозначения корпусов должны соответствовать указанным на чертеже и в табл. 2.
При мелкосерийном производстве допускается изготовлять корпуса по рекомендуемому приложению 1 к ГОСТ 13218.1-80.
4. Технические требования - по ГОСТ 13218.11-80.
5. Характеристика и выбор корпусов в зависимости от типов подшипников качения и направления нагрузок - по рекомендуемому приложению 3 к ГОСТ 13218.1-80.
6. Расчетные разрушающие нагрузки - по рекомендуемому приложению 4 к ГОСТ 13218.1-80.
7. Дополнительные размеры элементов корпусов - по рекомендуемому приложению 2 к ГОСТ 13218.1-80.
8. Допускается при необходимости обеспечения взаимозаменяемости для применения в изделиях, спроектированных до 1 января 1980 г., по согласованию с потребителем изготовлять корпуса с допусками по справочному приложению 5 к ГОСТ 13218.1-80.