
ГОСУДАРСТВЕННЫЙ СТАНДАРТ
СОЮЗА ССР
СТАНКИ ФРЕЗЕРНЫЕ КОНСОЛЬНЫЕ
ОСНОВНЫЕ РАЗМЕРЫ
ГОСТ 165-81
(СТ СЭВ 5939-87)
ИПК ИЗДАТЕЛЬСТВО СТАНДАРТОВ
Москва
ГОСУДАРСТВЕННЫЙ СТАНДАРТ СОЮЗА ССР
|
СТАНКИ ФРЕЗЕРНЫЕ КОНСОЛЬНЫЕ Основные размеры Milling cantilevered
machines. |
ГОСТ (CT СЭВ 5939-87) |
Дата введения 01.01.82
1. Настоящий стандарт распространяется на фрезерные консольные станки с горизонтальным, вертикальным и поворотным шпинделями, неповоротным и поворотным столами, с поперечным суппортом (с поперечным перемещением ползуна), в том числе на широкоуниверсальные станки с поворотной головкой, станки с копировальным устройством и станки с программным управлением, в том числе на консольные многоцелевые фрезерно-расточные станки с автоматической сменой инструментов и обрабатываемых заготовок.
Требования настоящего стандарта являются обязательными.
(Измененная редакция, Изм. № 3).
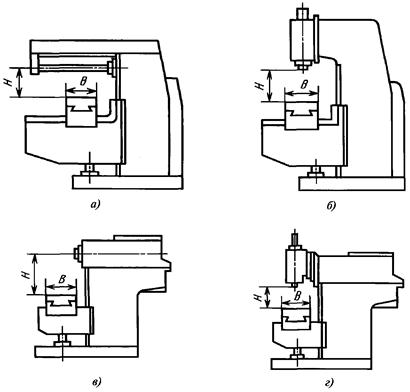
2. Основные размеры станков должны соответствовать указанным на черт. 1, 2 и в таблице.
|
Черт. 1 Примечание. Чертеж не определяет конструкцию станков. |
Черт. 2 Примечание. Чертеж не определяет конструкцию станков. |
Размеры, мм
|
Наименование размеров |
Нормы |
|||||||||
|
Размер рабочей поверхности стола |
Ширина В по ГОСТ 1574 |
Черт. 1а, б |
100 |
125 |
160 |
200 |
250 |
320 |
400 |
- |
|
Черт. 1в, г |
- |
- |
- |
- |
- |
320 |
400 |
500 |
||
|
Длина L |
400 |
500 |
630 |
800 |
1000 |
1250 |
1600 |
2000 |
||
|
Ход стола, ползуна, не менее |
продольный |
250 |
320 |
400 |
500 |
630 |
800 |
1000 |
1200 |
|
|
поперечный |
100 (80) |
125 (100) |
150 (125) |
200 (160) |
250 (200) |
320 (250) |
400 (320) |
400 |
||
|
Расстояние Н от оси горизонтального или вертикального шпинделя до рабочей поверхности стола (при вдвинутой гильзе) |
наибольшее, не менее |
200 |
250 |
320 |
360 |
400 |
450 |
450 |
500 |
|
|
наименьшее, не более |
30 |
50 |
70 |
|||||||
|
Угол поворота стола в горизонтально-фрезерных станках с поворотным столом (стол в крайнем переднем положении), град, не менее |
±45 |
|||||||||
|
Конец шпинделя по ГОСТ 24644 |
30 |
30; 40 |
40 |
40; 45; 50 |
||||||
|
Конец шпинделя поворотной головки в широкоуниверсальных станках по ГОСТ 24644 |
- |
30; 40 |
40; 50 |
|||||||
|
Ход гильзы шпинделя (для станков с вертикальным шпинделем и перемещающейся гильзой), не менее |
40 |
60 |
80 |
|||||||
|
Ход вертикального ползуна со шпинделем (для станков с ползуном), не менее |
- |
120 |
150 |
|||||||
|
Угол поворота шпиндельной головки в вертикальной плоскости (для станков с поворотной головкой), град, не менее |
±45 |
|||||||||
Примечание. Размеры, заключенные в скобки, при новом проектировании не применять.
Основные размеры станков с числовым программным управлением, кроме того, должны соответствовать ГОСТ 21610.
(Измененная редакция, Изм. № 1, 3).
2а. Допускается по согласованию с потребителем увеличивать размер В по ряду Ra 10 ГОСТ 6636 с сохранением остальных размеров согласно таблице.
(Введен дополнительно, Изм. № 3).
3. Значения продольного и поперечного ходов стола ползуна допускается увеличивать по ряду Ra 40 по ГОСТ 6636.
4. Для станков с программным управлением допускается уменьшать значение продольного перемещения стола ползуна по ряду Ra 40 по ГОСТ 6636, но не более чем в 1,6 раза по сравнению с указанными в таблице.
5. В станках с вертикальным шпинделем поперечный ход стола должен быть симметричен относительно оси шпинделя с допускаемым отклонением до 0,06В.
При перемещении поперечного ползуна ось вертикального шпинделя должна перекрывать рабочую поверхность стола.
3 - 5. (Измененная редакция, Изм. № 3).
6. Допускается увеличивать, а в станках с поворотным столом уменьшать значение наибольшего расстояния Н по ряду Ra 40 по ГОСТ 6636, но не более чем в 1,25 раза по сравнению с указанным в таблице.
6а. Для станков с автоматической сменой инструмента расстояние Н не регламентируется.
6б. Допускается увеличивать или уменьшать длину рабочей поверхности стола по ряду Ra 40 ГОСТ 6636.
6а, 6б. (Введены дополнительно, Изм. № 3).
7. В станках с копировальным устройством длину стола допускается увеличивать, а продольный ход стола уменьшать по ряду Ra 40 по ГОСТ 6636, но не более чем в 1,6 раза по сравнению со значениями, указанными в таблице.
8. Размеры пазов в столах и расстояния между ними - по ГОСТ 1574.
9. (Исключен, Изм. № 3).
ИНФОРМАЦИОННЫЕ ДАННЫЕ
1. РАЗРАБОТАН И ВНЕСЕН Министерством станкостроительной и инструментальной промышленности СССР
2. УТВЕРЖДЕН И ВВЕДЕН В ДЕЙСТВИЕ Постановлением Государственного комитета СССР по управлению качеством продукции и стандартам от 23.02.81 № 915
3. ВЗАМЕН ГОСТ 165-72
4. ССЫЛОЧНЫЕ НОРМАТИВНО-ТЕХНИЧЕСКИЕ ДОКУМЕНТЫ
|
Обозначение НТД, на который дана ссылка |
Номер пункта |
5. ПЕРЕИЗДАНИЕ (октябрь 1997 г.) с Изменениями № 1, 2, 3, утвержденными в сентябре 1982 г., июне 1988 г., ноябре 1990 г. (ИУС 12-82, 9-88, 2-91)