Numerically controlled milling machines. Basic parameters and dimensions

ГОСУДАРСТВЕННЫЙ СТАНДАРТ СОЮЗА ССР

СТАНКИ ФРЕЗЕРНЫЕ
С ЧИСЛОВЫМ ПРОГРАММНЫМ УПРАВЛЕНИЕМ

Основные параметры и присоединительные размеры

Numerically controlled milling machines
Basic parameters and coupling dimensions

ГОСТ
21610-82

(СТ СЭВ 3131-81)

Взамен
ГОСТ 21610-76

Постановлением Государственного комитета СССР по стандартам от 14 сентября 1982 г. № 3624 срок введения установлен

с 01.07.83

Несоблюдение стандарта преследуется по закону

1. Настоящий стандарт распространяется на фрезерные станки общего назначения консольные, с крестовым столом и продольные, с числовым программным управлением, изготавливаемые для нужд народного хозяйства и на экспорт в соответствии со специализацией СССР в этой области.

Стандарт полностью соответствует СТ СЭВ 3131-81.

2. Основные параметры и присоединительные размеры фрезерных станков должны соответствовать указанным в таблице, а также консольно-фрезерных станков - ГОСТ 165-81, продольно-фрезерных станков - по ГОСТ 6955-79, фрезерных вертикальных станков с крестовым столом - ГОСТ 9191-83.

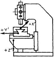
Обозначение и положительное направление осей координат по ГОСТ 23597-79 должны соответствовать указанным на черт. 1 - 10.

Примечание. Черт. 1 - 10 не определяют конструкцию станков и не исчерпывают все их возможные компоновки.

Вертикально-фрезерные консольные станки

Вертикально-фрезерные консольные станки с револьверной головкой

Вертикально-фрезерные станки с крестовым столом

Черт. 1

Черт. 2

Черт. 3

Вертикально-фрезерные станки с крестовым столом и револьверной головкой

Горизонтально-фрезерные станки с крестовым поворотным или неповоротным столом

Продольно-фрезерные одностоечные станки с вертикальной бабкой, с подвижной или «подвижной поперечиной

Черт. 4

Черт. 5

Черт. 6

 

Продольно-фрезерные одностоечные станки с горизонтальной бабкой, с поворотно-подвижным или неподвижным столом, с неподвижной или подвижной стойкой

Продольно-фрезерные одностоечные станки с горизонтальной бабкой, с неподвижным столом и подвижной стойкой

Черт. 7

Черт. 8

Продольно-фрезерные двухстоечные станки с неподвижным порталом, с подвижной или неподвижной поперечиной (количество и расположение бабок не регламентируется)

Продольно-фрезерные двухстоечные станки с подвижным порталом, с подвижной или неподвижной поперечиной (количество и расположение бабок не регламентируется)

Черт. 9

Черт. 10

 

Наименование параметра

Величина параметра

Ширина рабочей поверхности стола или диаметр круглого встроенного стола, мм, для станков

консольных (черт. 1 и 2)

250

320

400

-

-

-

-

-

с крестовым столом (черт. 3, 4, 5)

250

320

400

500

630

800

1000

-

продольных

черт. 6 и 7

-

-

400

500

630

800

1000

-

черт. 8, 9 и 10

-

-

-

-

630

800

1000

1250; 1600; 2000; 2500; 3150; 4000

Конец шпинделя с конусностью 7:24 по ГОСТ 24644-81

40; (45); 50; 60

50; 60

Дискретность задания перемещений

по осям X, X', Y, Y', Z, Z', V, W, W', мм

0,001; 0,01

по оси В', град.

0,001; 0,01

Количество управляемых осей координат, не менее

3

Количество одновременно управляемых осей координат, не менее

2

Примечания:

1. Размер, указанный в скобках, непредпочтителен.

2. Значения дискретности задания перемещений обязательны для станков, разработанных после 01.01.83, оснащенных устройствами ЧПУ отечественного производства.

3. Допускается по требованию потребителя изготовление станков с шириной стола свыше 3150 мм с размерами по ГОСТ 6569-75.

4. Станки с прямоугольным циклом формообразования по требованию потребителя могут выпускаться с одной управляемой осью координат.

5. Размеры Т-образных пазов - по ГОСТ 1574-75.

6. Расстояния между Т-образными пазами - по ГОСТ 6569-75.