Fluxes for electroslag remelting. Methods for determination of calcium fluoride

ГОСТ 21639.7-93

МЕЖГОСУДАРСТВЕННЫЙ СТАНДАРТ

ФЛЮСЫ ДЛЯ ЭЛЕКТРОШЛАКОВОГО ПЕРЕПЛАВА

МЕТОДЫ ОПРЕДЕЛЕНИЯ ФТОРИСТОГО
КАЛЬЦИЯ

МЕЖГОСУДАРСТВЕННЫЙ СОВЕТ ПО СТАНДАРТИЗАЦИИ,
МЕТРОЛОГИИ И СЕРТИФИКАЦИИ

Минск

Предисловие

1 ПОДГОТОВЛЕН Российской Федерацией - Техническим комитетом ТК 145 «Методы контроля металлопродукции»

ВНЕСЕН Техническим секретариатом Межгосударственного Совета по стандартизации, метрологии и сертификации

2 ПРИНЯТ Межгосударственным Советом по стандартизации, метрологии и сертификации 17 февраля 1993 г.

За принятие проголосовали:

Наименование государства

Наименование национального органа по стандартизации

Республика Армения

Армгосстандарт

Республика Беларусь

Белстандарт

Республика Казахстан

Госстандарт Республики Казахстан

Республика Молдова

Молдовастандарт

Российская Федерация

Госстандарт России

Туркменистан

Туркменгосстандарт

Республика Узбекистан

Узгосстандарт

Украина

Госстандарт Украины

3 Постановлением Комитета Российской Федерации по стандартизации, метрологии и сертификации от 14.06.95 № 302 межгосударственный стандарт ГОСТ 21639.7-93 введен в действие непосредственно в качестве государственного стандарта Российской Федерации с 1 января 1996 г.

4 ВЗАМЕН ГОСТ 21639.7-76

СОДЕРЖАНИЕ

1 область применения. 2

2 нормативные ссылки. 2

3 общие требования. 2

4 пирогидролизный метод. 2

5 титриметрический метод. 5

МЕЖГОСУДАРСТВЕННЫЙ СТАНДАРТ

Флюсы для электрошлакового переплава

МЕТОДЫ ОПРЕДЕЛЕНИЯ ФТОРИСТОГО КАЛЬЦИЯ

Fluxes for electroslag remelting

Methods for determination of calcium fluoride

Дата введения 1996-01-01

1 ОБЛАСТЬ ПРИМЕНЕНИЯ

Настоящий стандарт устанавливает пирогидролизный и титриметрический методы определения фтористого кальция в флюсах для электрошлакового переплава при массовой доле от 8 до 95 %.

2 НОРМАТИВНЫЕ ССЫЛКИ

В настоящем стандарте использованы ссылки на следующие стандарты:

ГОСТ 61-75 Кислота уксусная. Технические условия

ГОСТ 83-79 Натрий углекислый. Технические условия

ГОСТ 1027-67 Свинец уксуснокислый. Технические условия

ГОСТ 3760-79 Аммиак водный. Технические условия

ГОСТ 3770-75 Аммоний углекислый. Технические условия

ГОСТ 4233-77 Натрий хлористый. Технические условия

ГОСТ 4234-77 Калий хлористый. Технические условия

ГОСТ 4328-77 Натрия гидроокись. Технические условия

ГОСТ 4461-77 Кислота азотная. Технические условия

ГОСТ 4470-79 Марганца (IV) окись. Технические условия

ГОСТ 5817-77 Кислота винная. Технические условия

ГОСТ 5962-67 Спирт этиловый ректификованный. Технические условия

ГОСТ- 9428-73 Кремний (IV) оксид. Технические условия

ГОСТ 10216-75 Висмута (III) окись. Технические условия

ГОСТ 10652-73 Соль динатриевая этилендиамин-N, N, N’, N’-тетрауксусной кислоты, 2-водная (трилон Б)

ГОСТ 18300-87 Спирт этиловый ректификованный технический. Технические условия

ГОСТ 21639.0-93 Флюсы для электрошлакового переплава. Общие требования к методам анализа

3 ОБЩИЕ ТРЕБОВАНИЯ

Общие требования к методам анализа - по ГОСТ 21639.0.

4 ПИРОГИДРОЛИЗНЫЙ МЕТОД

4.1 Сущность метода

Метод основан на разложении фтористого кальция водяными парами в трубчатой печи при температуре 1250 - 1350 °С с катализатором многокомпонентным или окисью алюминия.

Выделяющаяся при пирогидролизе фтористоводородная кислота поглощается титрованным раствором гидроокиси натрия.

4.2 Аппаратура, реактивы и растворы

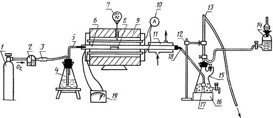
Установка для определения массовой доли фтористого кальция (рисунок 1) состоит из баллона с кислородом 1, снабженного редукционным вентилем; промывной склянки для очистки кислорода 2, заполненной раствором гидроокиси натрия с массовой концентрацией 200 г/дм3; шарообразной трубки 3, заполненной ватой и служащей для улавливания гидроокиси, уносимой кислородом; колбы 4 для получения пара; трубки 5 (из нержавеющей стали или латуни) с внутренним диаметром 1,2 - 1,5 мм, соединяющейся резиновой пробкой с кварцевой трубкой 6 с внутренним диаметром 20 - 22 мм, длиной 550 мм; платино-платинородиевой термопары 7, подключенной к автоматическому потенциометру типа КСП-2; фарфоровой лодочки 8 № 2-9 по ГОСТ 9147 (перед применением лодочку прокаливают при рабочей температуре в течение 4 - 5 мин); двухтрубчатой печи 9 с силитовыми нагревателями, обеспечивающими нагревание до температуры 1350 °С (печь должна иметь наклон 3 - 4° в сторону приемника); амперметра 10 со шкалой 50 А для контроля силы тока нагревателя; холодильника 11; держателя 12; бюретки 13 с автоматическим нулем, склянки 14 с титрованным раствором гидроокиси натрия; поглотительного сосуда 15; магнитной мешалки 16; барботера 17; шлифа M14 18, соединяющего кварцевую трубку с барботером; автотрансформатора 19 типа РНО-250-10.

Кислота соляная по ГОСТ 3118, раствор с молярной концентрацией эквивалента 0,1 моль/дм3.

Висмута (III) окись по ГОСТ 10216.

Рисунок 1 - Установка для определения фтористого калия

Вольфрама окись.

Марганца (IV) окись по ГОСТ 4470.

Катализатор многокомпонентный (WO3:Bi2O3:MnO2 = 1:1:0,8).

Алюминия окись.

Индикатор метиловый красный.

Индикатор метиленовый синий (медицинский).

Спирт этиловый ректификованный по ГОСТ 5962 или ГОСТ 18300.

Индикатор смешанный: 0,125 г метилового красного растирают в фарфоровой ступке с 0,083 г метиленового синего, затем растворяют в 100 см3 этилового спирта. При растворении индикатор растирают в ступке пестиком.

Индикаторная вода: к 1 дм3 кипяченой воды приливают 2 см3 смешанного индикатора.

Натрия гидроокись по ГОСТ 4328, растворы с молярной концентрацией 0,05 моль/дм3 и массовой концентрацией 200 г/дм3.

Массовую концентрацию раствора гидроокиси натрия (Т), выраженную в г фтора на 1 см3, проверяют по соляной кислоте и рассчитывают по формуле

(1)

где 18,998 - грамм-эквивалент фтора;

М - молярность раствора гидроокиси натрия.

Массовую концентрацию раствора гидроокиси натрия (Т), выраженную в г фтористого кальция на 1 см3 раствора, вычисляют по формуле

(2)

где С - массовая доля фтористого кальция в стандартном образце, %;

m - масса навески стандартного образца, г;

V - объем раствора гидроокиси натрия, израсходованный на титрование выделившейся фтористоводородной кислоты, см3;

V1 - объем раствора гидроокиси натрия, израсходованный на титрование раствора контрольного опыта, см3.

4.3 Проведение анализа

Навеску флюса массой 0,1 - 0,2 г (0,1 г - при массовой доле фтористого кальция более 50,0 %) помещают в фарфоровую лодочку, в которую предварительно внесено двукратное количество катализатора и тщательно перемешивают. Лодочку помещают в кварцевую трубку, нагретую до температуры 1250 - 1350 °С. Трубку быстро закрывают резиновой пробкой с металлическим соплом, через которое пропускают кислород, насыщенный водяным паром со скоростью 2 - 3 см3/с.

Образовавшаяся в процессе пирогидролиза фтористоводородная кислота уносится кислородом с водяным паром через холодильник в приемник.

В приемник предварительно приливают 100 - 150 см3 индикаторной воды при массовой доле фтористого кальция до 30 % и 150 - 250 см3 при массовой доле фтористого кальция более 30 %. Выделившуюся фтористоводородную кислоту оттитровывают гидроокисью натрия с массовой концентрацией 0,05 моль/дм3 до изменения окраски раствора из сиреневой в зеленый цвет. Время гидролиза выбирается экспериментально для каждой установки, с увеличением массовой доли фтористого кальция время гидролиза увеличивается с 10 до 20 мин.

По количеству связанной фтористоводородной кислоты с гидроокисью натрия определяют массовую долю фтористого кальция.

Массовую концентрацию гидроокиси натрия устанавливают по стандартному образцу флюса с соответствующим содержанием фтористого кальция.

4.4 Обработка результатов

4.4.1 Массовую долю фтористого кальция (X) в процентах вычисляют по формуле

(3)

где Т - массовая концентрация раствора гидроокиси натрия, выраженная в г фтористого кальция на 1 см3 раствора;

V - объем раствора гидроокиси натрия, израсходованный на титрование анализируемого раствора, см3;

V1 - объем раствора гидроокиси натрия, израсходованный на титрование раствора контрольного опыта, см3;

m - масса навески, г.

Если массовая концентрация гидроокиси натрия выражается в г/см3 фтора, вводится коэффициент пересчета с фтора на фтористый кальций - 2,0547.

4.4.2 Нормы точности и нормативы контроля точности определения массовой доли фтористого кальция приведены в таблице 1.

Таблица 1 - Нормативы контроля точности

Массовая доля фтористого кальция, %

Допускаемые расхождения, %

погрешности результатов анализа, Δ

двух средних результатов анализа, выполненных в различных условиях dк

двух параллельных определений d2

трех параллельных определений d3

результатов анализа стандартного образца от аттестованного значения δ

От  8     до 20  включ

0,5

06

0,5

0,6

0,3

Св. 20    »   50     »

0,8

1,0

0,8

1,0

0,5

»    50    »   95     »

1,1

1,4

1,2

1,4

0,7

5 ТИТРИМЕТРИЧЕСКИЙ МЕТОД

5.1 Сущность метода

Метод основан на осаждении ионов фтора в виде фторхлорида свинца. Избыток свинца титруют раствором трилона Б. Пробы флюса переводят в раствор сплавлением их с натрием углекислым в платиновых тиглях. Алюминий отделяют в виде гидроокиси углекислым аммонием.

5.2 Реактивы и растворы

Натрий углекислый по ГОСТ 83.

Кремния двуокись по ГОСТ 9428.

Кислота азотная по ГОСТ 4461, разбавленная 1:4.

Аммоний углекислый по ГОСТ 3770.

Метиловый оранжевый индикатор, водный раствор с массовой концентрацией 1 г/дм3.

Кислота уксусная по ГОСТ 61.

Натрий хлористый по ГОСТ 4232, раствор с массовой концентрацией 50 г/дм3.

Кислота винная по ГОСТ 5817, раствор с массовой концентрацией 50 г/дм3.

Аммиак водный по ГОСТ 3760, разбавленный 1:1.

Калий хлористый по ГОСТ 4234.

Индикатор эриохром черный Т: 0,2 г индикатора растирают с 20 г хлористого калия.

Натрий фтористый по ГОСТ 4463.

Стандартный раствор 2,21 г фтористого натрия растворяют в 200 см3 воды и раствор переливают в мерную колбу вместимостью 1 дм3, доливают до метки водой и перемешивают.

1 см3 стандартного раствора содержит 0,001 г фтора.

Свинец уксуснокислый по ГОСТ 1027, раствор с массовой концентрацией 25 г/дм3: 25 г уксуснокислого свинца растворяют в 200 - 300 см3 воды с добавлением 10 см3 уксусной кислоты.

Раствор переводят в мерную колбу вместимостью 1 дм3, доводят водой до метки, перемешивают, если раствор мутный - фильтруют.

Соль динатриевая этилендиамин-N, N, N’, N’-тетрауксусной кислоты, 2-водная (трилон Б) по ГОСТ 10652, раствор с молярной концентрацией 0,025 моль/дм3: 9,3 г трилона Б растворяют в 250 - 300 см3 воды. Раствор отфильтровывают в мерную колбу вместимостью 1 дм3, доливают до метки водой и перемешивают.

Массовую концентрацию раствора трилона Б устанавливают следующим образом: 3 г углекислого натрия помещают в платиновый тигель, прибавляют 0,2 г растертой двуокиси кремния, сверху присыпают 0,5 г углекислого натрия, тигель закрывают крышкой и сплавляют в муфеле при температуре от 950 до 1000 °С в течение 15 мин. Тигель и крышку помещают в стакан вместимостью 250 - 300 см3; приливают 50 см3 горячей воды, выщелачивают при нагревании. Тигель и крышку извлекают из стакана, обмывают несколько раз водой и приливают 25 см3 стандартного раствора фтора, переносят содержимое стакана в мерную колбу вместимостью 200 см3, доливают до метки водой, перемешивают. Раствор фильтруют в сухую колбу через сухой фильтр средней плотности, отбрасывая первые порции фильтрата.

Аликвотную часть раствора 50 см3 помещают в стакан вместимостью 300 см3, приливают 2 - 3 капли метилового оранжевого, нейтрализуют азотной кислотой до перехода окраски раствора из красной в оранжевую. Прибавляют 5 г углекислого аммония и кипятят до удаления запаха аммиака, добавляют 20 см3 горячей воды, отфильтровывают в стакан вместимостью 300 см3 через фильтр средней плотности, промывают 8 - 10 раз горячей водой. Фильтрат нейтрализуют по метиловому оранжевому азотной кислотой до перехода окраски раствора и оранжевой в красную. Прибавляют 10 капель уксусной кислоты, 20 см3 раствора хлористого натрия и из бюретки приливают 30 см3 уксуснокислого свинца. Раствор перемешивают, нагревают до температуры 60 - 70 °С, снова перемешивают до выпадения осадка и оставляют на 12 ч. Содержимое стакана переносят в мерную колбу вместимостью 250 см3, разбавляют водой до метки и перемешивают, затем фильтруют в сухую колбу вместимостью 250 см3 через сухой фильтр. Аликвотную часть раствора 50 см3 помещают в коническую колбу вместимостью 250 см3, приливают 10 см3 винной кислоты, 10 см3 аммиака, 0,1 г индикатора эриохром черного Т и титруют избыток свинца раствором трилона Б до перехода окраски раствора из сиренево-фиолетовой в голубую

Массовую концентрацию трилона Б (Т), выраженную в г фтористого кальция на 1 см3 раствора, вычисляют по формуле

(4)

где С - массовая концентрация раствора фтористого натрия, выраженная в г фтора на 1 см3 раствора, г/см3;

V - объем стандартного раствора фтористого натрия, см3;

2,0547 - коэффициент пересчета фтора на фтористый кальций,

V1 - объем раствора уксуснокислого свинца, взятого с избытком, см3,

V2 - объем раствора трилона Б, израсходованный на титрование избытка уксуснокислого свинца, см3;

К - соотношение между объемами растворов уксуснокислого свинца и трилона Б вычисляют по формуле

(5)

где V3 - объем раствора уксуснокислого свинца, взятого на титрование, см3;

V4 - объем раствора трилона Б, израсходованный на титрование избытка уксуснокислого свинца, см3

Соотношение К определяют следующим образом 5 см3 раствора уксуснокислого свинца помещают в коническую колбу вместимостью 250 см3, приливают 50 см3 воды, 10 см3 винной кислоты, 10 см3 аммиака, 0,1 г индикатора эриохром черного Т и титруют до перехода окраски из сиренево-фиолетовой в голубую.

5.3 Проведение анализа

Навеску флюса массой 0,2 г при массовой доле фтористого кальция до 50 % или 0,1 г при массовой доле фтористого кальция более 50 % помещают в платиновый тигель, прибавляют 0,2 г растертой двуокиси кремния, 3 г углекислого натрия, перемешивают, сверху пробу присыпают 0,5 г углекислого натрия. Тигель закрывают крышкой и пробу осторожно сплавляют сначала в менее горячей зоне муфеля, затем выдерживают при температуре 950 - 1000 °С в течение 15 мин. Горячий плав выливают на полированную пластину из нержавеющей стали. Застывший плав и тигель помещают в стакан вместимостью 300 см3, приливают 100 см3 горячей воды и кипятят до полного разложения плава. Тигель и крышку извлекают из стакана, обмывают несколько раз теплой водой. Раствор с осадком охлаждают, переносят в мерную колбу вместимостью 200 см3, доливают до метки водой и перемешивают. Раствор фильтруют в сухую колбу через сухой фильтр средней плотности, отбрасывая первые порции фильтрата.

Аликвотную часть раствора 50 см3 помещают в стакан вместимостью 300 см3, прибавляют 2 - 3 капли метилового оранжевого и нейтрализуют азотной кислотой до перехода окраски раствора из красной в оранжевую. Прибавляют 5 г углекислого аммония и кипятят до удаления запаха аммиака (при этом кремниевая кислота и алюминий выделяются в виде студенистого осадка), затем добавляют 20 см3 горячей воды, отфильтровывают в стакан вместимостью 300 см3 через фильтр средней плотности и промывают горячей водой 8 - 10 раз. Фильтрат нейтрализуют по метиловому оранжевому азотной кислотой до перехода окраски раствора из оранжевой в красную. Прибавляют 10 капель уксусной кислоты, 20 см3 раствора хлористого натрия, из бюретки приливают уксуснокислый свинец - 30 см3 при массовой доле фтористого кальция до 50 %, 40 см3 - свыше 50 %. Раствор перемешивают, нагревают до температуры 60 - 70 °С, снова перемешивают до выпадения осадка и оставляют на 12 ч. Содержимое стакана переносят в мерную колбу вместимостью 250 см3, разбавляют водой до метки и перемешивают, фильтруют через сухой фильтр в сухую колбу вместимостью 250 см3.

Аликвотную часть раствора 50 см3 помещают в коническую колбу вместимостью 250 см3, приливают 10 см3 винной кислоты, 10 см3 аммиака, 0,1 г индикатора эриохрома черного Т и титруют избыток свинца раствором трилона Б до перехода окраски раствора из сиренево-фиолетовой в голубую.

На протяжении всего анализа проводят контрольный опыт.

5.4 Обработка результатов

5.4.1 Массовую долю фтористого кальция (X) в процентах вычисляют по формуле

(6)

где V - объем раствора уксуснокислого свинца, взятый для осаждения фтор-иона, см3;

V1 - объем раствора трилона Б, израсходованный на титрование избытка уксуснокислого свинца, см3;

К - соотношение между объемами растворов уксуснокислого свинца и трилона Б, устанавливают по контрольному опыту;

Т - массовая концентрация трилона Б, выраженная в г фтористого кальция на 1 см3 раствора, г/см3;

m - масса навески, г.

5.4.2 Нормы точности и нормативы контроля точности определения массовой доли фтористого кальция приведены в таблице.

Ключевые слова: флюсы, электрошлаковый переплав, методы определения фтористого кальция, пирогидролизный метод, титриметрический метод, реактивы, раствор, массовая доля