Aircraft and helicopters. Antenna feeder devices of connection, navigation, landing and airtraffic control. General specification, parameters, methods of measurements

ГОСТ Р 50860-96

ГОСУДАРСТВЕННЫЙ СТАНДАРТ РОССИЙСКОЙ ФЕДЕРАЦИИ

САМОЛЕТЫ И ВЕРТОЛЕТЫ

УСТРОЙСТВА
АНТЕННО-ФИДЕРНЫЕ СВЯЗИ,
НАВИГАЦИИ, ПОСАДКИ И УВД

ОБЩИЕ ТЕХНИЧЕСКИЕ ТРЕБОВАНИЯ, ПАРАМЕТРЫ,
МЕТОДЫ ИЗМЕРЕНИЙ

ГОССТАНДАРТ РОССИИ
Москва

Предисловие

1 РАЗРАБОТАН Техническим комитетом по стандартизации ТК 323

ВНЕСЕН Главным управлением технической политики в области стандартизации Госстандарта России

2 УТВЕРЖДЕН И ВВЕДЕН В ДЕЙСТВИЕ Постановлением Госстандарта России от 13 февраля 1996 г. № 62

3 ВВЕДЕН ВПЕРВЫЕ

СОДЕРЖАНИЕ

1 Область применения. 4

2 Нормативные ссылки. 4

3 Определения. 5

4 Обозначения и сокращения. 6

5 Общие технические требования. 6

6 Параметры АФУ.. 9

6.1 Параметры приемных АФУ.. 9

6.2 Параметры приемопередающих АФС.. 9

6.3 Параметры АФУ радиосвязного оборудования. 9

6.4 Параметры АФУ аппаратуры спутниковой радиосвязи. 10

6.5 Параметры АФУ РСДН.. 10

6.6 Параметры АФУ АРК.. 10

6.7 Параметры АФУ аппаратуры VOR.. 10

6.8 Параметры АФУ аппаратуры СНС.. 11

6.9 Параметры АФУ аппаратуры РСБН.. 11

6.10 Параметры АФУ аппаратуры ДМЕ.. 11

6.11 Параметры АФУ радиотехнического оборудования. 12

6.12 Параметры АФУ самолетных ответчиков УВД.. 13

6.13 Параметры АФУ аппаратуры СПС.. 13

7 Методы оценки соответствия параметров афу предъявляемым техническим требованиям.. 14

7.1 Методы оценки соответствия параметров АФУ предъявляемым техническим требованиям при наземных испытаниях в условиях опытного производства. Общие положения. 14

7.2 Методы оценки соответствия параметров АФУ предъявляемым техническим требованиям в условиях серийного производства. Общие положения. 17

7.3 Методы измерения параметров АФУ радиосвязи и навигации диапазонов ДКМВ, ГКМВ, КМВ и МРМВ.. 17

7.3.1 Методы измерения параметров АФУ радиосвязи и навигации диапазонов ДКМВ, ГКМВ, КМВ и МРМВ при наземных испытаниях в условиях опытного производства. 17

7.3.2 Оценка соответствия электрических параметров приемных и приемнопередающих АФУ диапазонов ДКМВ и ГКМВ в условиях серийного производства. 20

7.3.3 Методы измерения электрических параметров АФУ радиосвязи диапазона МВ1 (30 - 80 МГц) в условиях опытного производства. 21

7.3.4 Оценка соответствия параметров АФУ радиосвязи диапазона МВ1 (30 - 80 МГц) в условиях серийного производства. 22

7.4 Методы оценки соответствия параметров АФУ радиосвязного оборудования диапазонов метровых и дециметровых волн. 22

7.4.1 Методы измерения параметров АФУ радиосвязного оборудования метровых и дециметровых волн в условиях опытного производства. 22

7.4.2 Оценка соответствия параметров АФУ радиосвязного оборудования метровых и дециметровых волн в условиях серийного производства. 26

7.5 Методы оценки соответствия параметров АФУ аппаратуры спутниковой радиосвязи. 26

7.5.1 Методы оценки соответствия параметров АФУ аппаратуры спутниковой радиосвязи при испытаниях в условиях опытного производства. 26

7.5.2 Оценка соответствия электрических параметров АФУ аппаратуры спутниковой радиосвязи при испытаниях в условиях серийного производства. 27

7.6 Методы оценки соответствия параметров АФУ РСДН.. 27

7.6.1 Методы оценки соответствия параметров АФУ РСДН в условиях опытного производства. 27

7.6.2 Оценка соответствия электрических параметров АФУ РСДН в условиях серийного производства. 27

7.7 Методы оценки соответствия электрических параметров АФУ АРК.. 27

7.7.1 Методы оценки соответствия электрических параметров АФУ АРК диапазона ГКМВ в условиях опытного производства. 27

7.7.2 Оценка соответствия параметров АФУ АРК в условиях серийного производства. 27

7.8 Методы оценки соответствия параметров навигационных АФУ радиотехнического оборудования угломерной системы VOR.. 28

7.8.1 Методы оценки соответствия параметров навигационных АФУ радиотехнического оборудования угломерной системы VOR в условиях опытного производства. 28

7.8.2 Методы оценки соответствия параметров навигационных АФУ радиотехнического оборудования угломерной системы VOR в условиях серийного производства. 28

7.9 Методы оценки соответствия параметров маркерных АФУ радиотехнического оборудования посадки

7.9.1 Методы оценки соответствия параметров маркерных АФУ радиотехнического оборудования посадки при испытаниях в условиях опытного производства

7.9.2 Оценка соответствия параметров маркерных АФУ радиотехнического оборудования посадки при испытаниях в условиях серийного производства. 29

7.10 Методы оценки соответствия параметров аппаратуры АФУ СНС.. 29

7.10.1 Методы оценки соответствия параметров аппаратуры АФУ СНС при испытаниях в условиях опытного производства. 29

7.10.2 Оценка соответствия параметров аппаратуры АФУ СНС в условиях серийного производства. 29

7.11 Методы оценки соответствия параметров АФУ радиотехнической системы ближней навигации. 29

7.11.1 Методы оценки соответствия параметров АФУ радиотехнической системы ближней навигации в условиях опытного производства. 29

7.12 Методы оценки соответствия параметров АФУ самолетных радиодальномеров. 31

7.12.1 Методы оценки соответствия параметров АФУ самолетных радиодальномеров в условиях опытного производства. 31

7.12.2 Методы оценки соответствия параметров АФУ самолетных радиодальномеров в условиях серийного производства. 31

7.13 Методы оценки соответствия параметров курсовых АФУ радиотехнического оборудования посадки. 32

7.13.1 Методы оценки соответствия параметров курсовых АФУ радиотехнического оборудования посадки в условиях опытного производства. 32

7.13.2 Оценка соответствия параметров курсовых АФУ радиотехнического оборудования посадки в условиях серийного производства. 38

7.14 Методы оценки соответствия параметров глиссадных АФУ радиотехнического оборудования посадки. 38

7.14.1 Методы оценки соответствия параметров глиссадных АФУ радиотехнического оборудования посадки в условиях опытного производства. 38

7.14.2 Соответствие параметров глиссадных АФУ радиотехнического оборудования посадки в условиях серийного производства. 40

7.15 Методы оценки соответствия параметров АФУ аппаратуры МЛС.. 40

7.15.1 Методы оценки соответствия параметров АФУ аппаратуры МЛС при испытаниях в условиях опытного производства. 40

7.15.2 Оценка соответствия параметров АФУ аппаратуры МЛС при наземных испытаниях в условиях серийного производства. 41

7.16 Методы оценки соответствия параметров АФУ аппаратуры ответчика УВД.. 41

7.16.1 Методы оценки соответствия параметров АФУ аппаратуры ответчика УВД при испытаниях в условиях опытного производства. 41

7.17 Методы оценки соответствия параметров АФУ аппаратуры СПС.. 44

7.17.1 Оценка соответствия параметров АФУ аппаратуры СПС при испытаниях в условиях опытного производства. 44

7.17.2 Оценка соответствия параметров АФУ аппаратуры СПС в условиях серийного производства. 45

Приложение А Перечень измерительной (контрольной) аппаратуры, рекомендуемой для измерения параметров антенно-фидерных систем.. 45

Приложение Б Требования по содержанию протокола по результатам измерений. 48

ГОСТ Р 50860-96

ГОСУДАРСТВЕННЫЙ СТАНДАРТ РОССИЙСКОЙ ФЕДЕРАЦИИ

Самолеты и вертолеты

УСТРОЙСТВА АНТЕННО-ФИДЕРНЫЕ СВЯЗИ,
НАВИГАЦИИ, ПОСАДКИ И УВД

Общие технические требования,
параметры, методы измерений

Aircrafts and helicopters. Antenna feeder devices of connection,
navigation, landing and airtraffic control.
General technical requirements, parameters,
methods of measurements

Дата введения 1997-01-01

1 ОБЛАСТЬ ПРИМЕНЕНИЯ

Настоящий стандарт распространяется на антенно-фидерные устройства (АФУ) самолетов и вертолетов (ЛА):

- радиосвязного оборудования диапазона частот 0,25 - 1,50 МГц (диапазона гектометровых волн);

- радиосвязного оборудования диапазона частот 2 - 30 МГц (диапазона декаметровых волн);

- радиосвязного оборудования диапазона частот 30 - 80 МГц (диапазона МВ-1);

- радиосвязного оборудования диапазона частот 100 - 150, 200 - 400 МГц (диапазонов МВ-2 и дециметровых волн);

- оборудования спутниковой радиосвязи (СРС) диапазонов частот 280 - 290, 345 - 385 МГц (диапазона дециметровых волн);

- бортовых радиосвязных средств диапазона частот 8 - 60 кГц;

- навигационного оборудования радиосистем дальней навигации (РСДН) диапазонов частот 10 - 13 и 100 - 120 кГц (диапазонов мириаметровых и километровых волн);

- автоматического радиокомпаса (АРК) диапазона частот 0,15 - 1,75 МГц (диапазона гектометровых волн);

- навигационного оборудования угломерной системы (ОР) диапазона частот 108,0 - 117,9 МГц (диапазона метровых волн);

- маркерных радиоприемников (МРП) частоты (75,0 ± 0,1) Мгц (диапазона метровых волн);

- оборудования спутниковой навигационной системы (СНС) диапазонов частот 1500 - 1700 МГц (диапазона дециметровых волн);

- оборудования радиосистемы ближней навигации (РСБН) диапазонов частот 800 - 813 МГц, 726 - 1001 МГц;

- оборудования радиодальномера ДМЕ диапазонов частот 962 - 1215 МГц (диапазона дециметровых волн);

- курсовых радиоприемников (КРП) радиотехнического оборудования посадки (ILS) диапазона частот 108 - 112 МГц (диапазона метровых волн);

- глиссадных радиоприемников (ГРП) диапазона частот 328 - 336 МГц (диапазона дециметровых волн);

- оборудования микроволновой системы посадки (МЛС) диапазона частот 5031,0 -5090,7 МГц (диапазона сантиметровых волн);

- оборудования самолетных ответчиков (СО УВД) диапазонов частот 740,0 - 837,5; 1030 - 1090 и 8910 - 9570 МГц (диапазонов дециметровых и сантиметровых волн);

- оборудования системы предупреждения столкновений самолетов в полете (СПС) в диапазонах частот 740,0 - 837,5 и 1030 - 1900 МГц (диапазонов дециметровых волн).

Стандарт не распространяется на АФУ автономных радиотехнических средств метеонавигационного радиолокатора, доплеровского измерителя скорости и сноса и радиовысотомера.

Стандарт устанавливает общие технические требования к АФУ связи, навигации и посадки самолетов (вертолетов), их основные параметры и методы измерений (оценки) соответствия АФУ предъявляемым требованиям (далее по тексту - методы измерения параметров АФУ, методы оценки соответствия параметров АФУ, оценка соответствия параметров АФУ) в условиях опытного и серийного производства.

2 НОРМАТИВНЫЕ ССЫЛКИ

В настоящем стандарте использованы ссылки на следующие стандарты.

ГОСТ 8.513-84 ГСИ. Поверка средств измерений. Организация и порядок проведения

ГОСТ 12.1.002-84 ССБТ. Электрические поля промышленной частоты. Допустимые уровни напряженности и требования к проведению контроля на рабочих местах

ГОСТ 12.1.006-84 ССБТ. Электромагнитные поля радиочастот. Допустимые уровни на рабочих местах и требования к проведению контроля

ГОСТ 12.1.030-81 ССБТ. Электробезопасность. Защитное заземление, зануление

ГОСТ 12.2.003-91 ССБТ. Изделия электротехнические. Общие требования безопасности

ГОСТ 12.2.007.0-75 ССБТ. Изделия электротехнические. Общие требования безопасности

ГОСТ 12.2.032-78 ССБТ. Рабочее место при выполнении работ сидя. Общие эргономические требования

ГОСТ 12.2.033-78 ССБТ. Рабочее место при выполнении работ стоя. Общие эргономические требования

ГОСТ 12.3.019-80 ССБТ. Испытания и измерения электрические. Общие требования безопасности

ГОСТ 12.4.026-76 ССБТ. Цвета сигнальные и знаки безопасности

ГОСТ 19705-89 Системы электроснабжения самолетов и вертолетов. Общие требования и нормы качества электроэнергии

3 ОПРЕДЕЛЕНИЯ

В настоящем стандарте применяют следующие термины.

Входное сопротивление антенны - отношение напряжения высокой частоты на зажимах антенны к току питания.

Действующая высота антенны - коэффициент, имеющий размерность длины, на который надо умножить напряженность электромагнитного поля, чтобы получить напряжение на зажимах антенны.

Диаграмма направленности антенны - зависимость амплитуды напряженности поля (или величины, ей пропорциональной), создаваемого антенной в дальней зоне, от направления в пространстве.

Емкость антенны - емкость вибратора антенны относительно корпуса самолета (вертолета), измеренная на входных зажимах антенны.

Коэффициент зоны - зависимость изменения сигнала от угловых координат самолета (вертолета) при выполнении маневра, вводимая в качестве поправки при определении диаграмм направленности в летных условиях.

Коэффициент направленного действия - отношение квадрата напряженности поля, создаваемого антенной в данном направлении, к среднему (по всем направлениям) значению квадрата напряженности поля.

Коэффициент полезного действия антенны - отношение излучаемой мощности к мощности, подводимой к антенне.

Коэффициент полезного действия фидера - отношение мощности на нагрузке, включенной в конце фидера, к мощности, подводимой к его входу.

Коэффициент полезного действия антенно-фидерной системы - произведение коэффициента полезного действия антенны на коэффициент полезного действия фидера.

Коэффициент стоячей волны - отношение действующих значений максимального напряжения (тока) к минимальному напряжению (току).

Коэффициент усиления антенны - отношение квадрата напряженности поля, создаваемого данной антенной, к квадрату напряженности поля, создаваемого эталонной антенной, при этом предполагается, что мощности, подводимые к обеим антеннам, одинаковы, а коэффициент полезного действия эталонной антенны равен единице.

Минимально допустимый коэффициент усиления - величина коэффициента усиления бортовой антенно-фидерной системы, которая обеспечивает на входе приемника сигнал, равный его чувствительности по автоматической регулировке усиления.

Эталонная антенна - антенна, параметры которой известны.

Эффективность антенны - отношение интенсивности излучения испытуемой антенны к интенсивности излучения эталонной антенны при одинаковых подводимых мощностях.

4 ОБОЗНАЧЕНИЯ И СОКРАЩЕНИЯ

В настоящем стандарте приняты следующие обозначения и сокращения.

УВД - управление воздушным движением

АФС - антенно-фидерная система

АФУ РСДН - антенно-фидерные устройства радиосистем дальней навигации

АФУ АРК - антенно-фидерное устройство автоматического радиокомпаса

VOR - угломерная система

СНС - спутниковая навигационная система

РСБН - радиотехническая система ближней навигации

ДМЕ - самолетный радиодальномер

ILS - радиотехническое оборудование посадки

СПС - система предупреждения столкновений

ДКМВ - диапазон декаметровых волн

ГКМВ - диапазон гектометровых волн

КМВ - диапазон километровых волн

МРМВ - диапазон мириаметровых волн

MBI - диапазон метровых волн (30 - 80 МГц)

МЛС - микроволновая система посадки

ЛА - самолеты, вертолеты

СРС - спутниковая радиосвязь

РСДН - радиосистема дальней навигации

МРП - маркерный радиоприемник

КРП - курсовой радиоприемник

ГРП - глиссадный радиоприемник

СО - самолетный ответчик

РЭО - радиоэлектронное оборудование

КПД - коэффициент полезного действия

КСВН - коэффициент стоячей волны по напряжению

ДН - диаграмма направленности

ФАР - фазированная антенная решетка

КУ - коэффициент усиления

ТЗ - техническое задание

НД - нормативная документация

АРУ - автоматическая регулировка усиления

ЭМС - электромагнитная совместимость

5 ОБЩИЕ ТЕХНИЧЕСКИЕ ТРЕБОВАНИЯ

5.1 В составе АФУ РЭО могут применяться антенны любого типа согласующих устройств и фидерных трактов, технико-эксплуатационные характеристики которых удовлетворяют требованиям действующих стандартов, ТЗ на эти элементы.

ТЗ на выбранный тип антенны, ее размещение на ЛА в каждом отдельном случае должны быть согласованы с разработчиком РЭО и антенны.

5.2 Электрические характеристики АРУ, установленных на ЛА, должны удовлетворять требованиям действующих стандартов, ТЗ на эти устройства по зонам обзора, диаграммам направленности, согласованию с входными сопротивлениями бортового оборудования, поляризационным характеристикам и по эффективности. При этом эффективность АРУ может задаваться в величинах коэффициента усиления или направленного действия, КПД, действующей длины (высоты) и коэффициента отдачи (для радиокомпасов).

5.3 Конструктивное выполнение, размещение и монтаж АФУ на ЛА должны обеспечивать:

- получение электрических характеристик, оговоренных в действующих НД, а также сохранение их в заданных пределах при условиях эксплуатации и в режимах боевого применения ЛА и РЭО, использующего данное АФУ;

- удобство технического обслуживания ЛА и АФУ, отсутствие помех обзору экипажа и невозможность поломки антенны при техническом обслуживании, боевом применении, заправке ЛА в воздухе и т.п.;

- отсутствие повышенной опасности для технического и летного экипажа ЛА при техническом обслуживании и в полете, а также при возникновении аварийных ситуаций (вынужденная посадка, обледенение, пожар, катапультирование и т.п.);

- защиту от ударов молнии, а также защиту от электромагнитного импульса ядерного взрыва;

- минимально возможные аэродинамические сопротивления, габаритные размеры и массу;

- необходимую механическую прочность элементов АФУ, обеспечивающую сохранение их целостности и эксплуатационных характеристик при любых режимах полета ЛА;

- максимально возможные развязки между антеннами различных видов РЭО;

- минимальное вмешательство в конструкцию силовых элементов ЛА;

- минимальное количество антенн и минимальную протяженность фидерных трактов;

- отсутствие элементов, способствующих концентрации электростатических зарядов, образованию высоковольтного напряжения и возникновению процесса коронирования;

- отсутствие возможности попадания в антенну собственных снарядов, ракет, сбрасываемых элементов ЛА, форсажного факела двигателей и др. на всех режимах полета;

- принудительное отделение антенны в аварийной ситуации, если без ее сброса затруднено или невозможно покидание ЛА.

5.4 Размещение и монтаж антенн и фидерных трактов должны обеспечивать удобство доступа к ним для осмотра, монтажа, демонтажа, проверки электрических параметров, подключения измерительной аппаратуры и текущего ремонта.

5.5 В случае необходимости для уменьшения аэродинамического сопротивления, защиты от возможных повреждений в процессе эксплуатации антенны могут быть закрыты радиопрозрачными обтекателями.

Радиотехнические характеристики обтекателей должны быть согласованы с главным конструктором установленной аппаратуры.

Коэффициент радиопрозрачности обтекателей антенны в диапазоне рабочих частот соответствующего РЭО должен быть не менее 0,7.

Обтекатели антенн должны иметь достаточную механическую прочность, а их электрические и механические характеристики не должны изменяться при эксплуатации ЛА в различных климатических условиях, включая тропические.

5.6 Конструкция и размещение обтекателей антенн должны обеспечивать удобный монтаж и демонтаж их, а также исключать попадание внутрь обтекателей воды и других жидкостей, снега, пыли и т.п. Для устранения конденсата должны быть предусмотрены дренажные отверстия в нижней точке обтекателя.

5.7 Рекомендуется комплексирование антенн РЭО различного назначения при условии, что при этом не ухудшаются технические характеристики подключаемого оборудования и не накладываются дополнительные требования на его работу. При применении на ЛА многофункциональных антенных устройств должно исключаться недопустимое взаимное влияние между комплексируемым оборудованием.

5.8 Использование проволочных (тросовых) антенн на сверхзвуковых ЛА воспрещается.

Рекомендуется применение поверхностных, щелевых, внутрифюзеляжных антенн, а также антенн, основанных на возбуждении корпуса ЛА.

5.9 Конструкция антенно-фидерных трактов, согласующих и частотно-разделительных устройств должна предусматривать возможность прибортовки их к корпусу ЛА проводящими материалами.

5.10 Размещение и монтаж высокочастотных элементов АФУ должны обеспечивать наименьшие длины высокочастотных линий передач (кабелей, волноводов и т.п.), удобство стыковки элементов с линиями передач.

Крепление этих элементов и линии передачи к элементам конструкции ЛА, подверженных воздействию повышенных температур, ударных и вибрационных нагрузок, не разрешается (если не приняты специальные меры для защиты от этих воздействий).

5.11 По длине тела вибратора антенны, а также на поверхности возбуждающих элементов и в местах их разделки не должно быть острых выступающих концов, плохо заделанных и порванных жил проводов, заусенцев и т.п.

Соединения горизонтального провода и снижения проволочной антенны, а также места заделки провода в изоляторах должны иметь бандаж (обмотку проволокой с последующей пайкой без применения кислоты).

5.12 В местах установки антенн, работающих в метровом, сантиметровом и миллиметровом диапазонах волн, обшивка ЛА должна быть по возможности цельной или хорошо склепанной (переходное сопротивление шва, а также между фланцем крепления антенны и корпуса ЛА не должна превышать 600 мкОм).

5.13 Конструкция, размещение и монтаж антенн и высокочастотных линий передач должны обеспечивать максимально возможные величины развязок между АФУ и разного РЭО, установленного на ЛА.

Величины развязок должны быть оговорены в ТЗ на каждый вид оборудования при проектировании комплекса.

5.14 Излучающие радиотехнические устройства в целях радиомаскировки или исключения вредного биологического воздействия на личный состав, как правило, должны комплектоваться эквивалентом антенны.

5.15 Радиопомехи от АФУ различного назначения не должны превышать норм по действующей НД.

5.16 Крепление и монтаж антенных и других высокочастотных узлов (блоков) должны выполняться невыпадающими болтами или замковыми соединителями с фиксаторами положения узлов (блоков) на месте крепления.

5.17 Сопротивление изоляции АФУ при температуре не выше 35 °С и относительной влажности не более 80 % должно быть не менее 20 МОм, а во всех остальных ожидаемых условиях эксплуатации - не менее 1 МОм (при рабочем напряжении АФУ не выше 0,4 кВ).

5.18 Работы по подготовке и проведению контроля параметров АФУ должны проводиться с соблюдением требований техники безопасности и биологической защиты экипажа ЛА по ГОСТ 12.1.002, ГОСТ 12.1.006, ГОСТ 12.1.030, ГОСТ 12.2.003, ГОСТ 12.2.007.0, ГОСТ 12.2.032, ГОСТ 12.2.033, ГОСТ 12.3.019, ГОСТ 12.4.026, ГОСТ 19705.

5.19 Металлические корпуса оборудования, используемого при контроле, а также металлические листы должны быть заземлены по ГОСТ 12.1.030.

5.20 Системы электропитания, используемые при контроле, - по ГОСТ 19705.

5.21 Перечень контрольно-измерительной аппаратуры, рекомендуемой для измерения параметров АФС, приведен в приложении А.

5.22 Применяемые средства контроля (измерений) параметров АФС (в соответствии с приложением А) должны быть поверены по ГОСТ 8.513.

5.23 Результаты измерений записывают в таблицу, а по результатам измерений составляют протокол в соответствии с приложением А.

6 ПАРАМЕТРЫ АФУ

6.1 Параметры приемных АФУ

Параметры приемных АФУ диапазонов ДКМВ, ГКМВ и КМВ для бортового радионавигационного оборудования самолетов (вертолетов) должны соответствовать таблице 6.1.

Таблица 6.1

Наименование параметра

Типы антенн

Норма

Действующая высота антенны, м, не менее

Комбинированные и внутрифюзеляжные

0,10

Шлейфовые и другие антенны

0,15

Шлейфовые диапазонов КМВ и МРМВ (10 - 120 кГц)

0,30

Емкость антенны, пФ, не менее

Шлейфовые диапазонов КМВ и МРМВ (10 - 120 кГц)

25,00; 100,00

6.2 Параметры приемопередающих АФС

Параметры приемопередающих АФС диапазонов ДКМВ и ГКМВ бортового радиосвязного оборудования самолетов (вертолетов) должны соответствовать таблице 6.2.

Таблица 6.2

Наименование параметра

Норма

Электрические антенны

Активная составляющая входного сопротивления, Ом, не менее:

- в диапазоне 2,00 - 30,00 МГц

1

- в диапазоне 0,25 - 0,50 МГц

3

Реактивная составляющая входного сопротивления, Ом, не более:

- на частоте 2,00 МГц

2000

- на частоте 0,25 МГц

1500

Магнитные антенны

Активная составляющая входного сопротивления, Ом, не менее, в диапазоне 2,00 - 30,00 МГц

0,1

Реактивная составляющая входного сопротивления, Ом, не менее, на частоте 2,00 МГц

12

Частота первого (параллельного) резонанса входного сопротивления, МГц, не менее, в диапазоне 2,00 - 30,00 МГц

18

6.3 Параметры АФУ радиосвязного оборудования

6.3.1 Параметры АФУ радиосвязного оборудования диапазона MBI (30 - 80 МГц) должны соответствовать таблице 6.3.

Таблица 6.3

Наименование параметра

Норма

КСВН в фидере питания, не более

2,5

Эффективность антенн, дБ, не более

-25

6.3.2 Параметры АФУ радиосвязного оборудования метровых и дециметровых волн должны соответствовать таблице 6.4.

Таблица 6.4

Наименование параметра

Норма

КСВН в питающем фидере, не более:

- в диапазоне частот от 100 до 150 МГц

3,0

- в диапазоне частот от 220 до 400 МГц

2,5

КПД в фидере питания, не менее

0,5

Эффективность антенн, не менее

0,5

Коэффициент неравномерности диаграмм направленности в горизонтальной плоскости, не более

2

Примечание - В диаграммах направленности допускаются отдельные, более глубокие провалы, имеющие ширину сектора не более 10° на уровне 0,2 от максимума диаграмм направленности, если они не влияют на дальность и качество радиосвязи.

6.4 Параметры АФУ аппаратуры спутниковой радиосвязи

Параметры АФУ аппаратуры спутниковой радиосвязи должны соответствовать таблице 6.5.

Таблица 6.5

Наименование параметра

Норма

Диапазон рабочих частот, МГц:

- прием

280 - 290

- передача

345 - 385

Поляризация

Круговая

Коэффициент усиления в секторе углов верхней полусферы ± 75°, дБ, не менее

0

КСВН на входе АФУ, не более

2

Расстояние между передающей и приемной антеннами, м, не менее

10

6.5 Параметры АФУ РСДН

Параметры АФУ РСДН диапазонов КМВ и МРМВ должны соответствовать таблице 6.6

Таблица 6.6

Наименование параметра

Норма

Действующая высота, м, не менее

0,3

Емкость антенны относительно корпуса ЛА, пФ, не менее

100

6.6 Параметры АФУ АРК

Параметры АФУ АРК должны соответствовать таблице 6.7.

Таблица 6.7

Наименование параметра

Норма

Действующая высота, м, не менее

0,1

Емкость антенны относительно корпуса ЛА, пФ, не менее

25

Примечание - Электрические параметры АФУ АРК и РСДН, в соответствии с таблицами 6.6 и 6.7, относятся только к автономным ненаправленным антеннам, не входящим в комплект аппаратуры.

6.7 Параметры АФУ аппаратуры VOR

Параметры навигационного АФУ радиотехнического оборудования угломерной системы VOR должны соответствовать таблице 6.8.

Таблица 6.8

Наименование параметра

Норма

Диапазон рабочих частот, МГц

108,000 - 117,975

КСВН на выходе АФУ, не более

5

Коэффициент усиления АФУ в горизонтальной плоскости в направлении продольной оси самолета по сравнению с максимумом излучения полуволнового вибратора, дБ, не менее (при затухании в фидерном тракте не более минус 3 дБ)

-12

Поляризация поля

Горизонтальная

Ослабление вертикальной составляющей поля антенны в направлении продольной оси ЛА по отношению к горизонтальной составляющей, дБ, не менее

10

Примечание - При работе с двумя радиоприемниками выходом АФУ считают точку подключения фидера к общему выходу приемника

6.7.2 Параметры маркерных антенн радиотехнического оборудования посадки должны соответствовать таблице 6.9.

Таблица 6.9

Наименование параметра

Норма

Рабочая частота, МГц

75,0 ± 0,1

Поляризация поля

Горизонтальная

КСВН на выходе АФУ, не более

5

Размещение антенны

Должно обеспечивать обзор нижней полусферы

6.8 Параметры АФУ аппаратуры СНС

Параметры АФУ антенн оборудования спутниковой навигационной системы (СНС) должны соответствовать таблице 6.10.

Таблица 6.10

Наименование параметра

Норма

Диапазон рабочих частот, МГц

1563 - 1616

КСВН на входе антенны, не более

2

Поляризация

Правовинтовая эллиптическая*

Диаграмма направленности

Обзор верхней полусферы

Коэффициент усиления АФУ в верхней полусфере (± 85° от нормали к поверхности крепежного фланца) на частоте 1609 МГц, дБ, не менее

-5

* При коэффициенте эллиптичности в направлении нормали к центру крепежного фланца антенны на частоте 1609 МГц не более 3 дБ.

6.9 Параметры АФУ аппаратуры РСБН

Параметры АФУ радиотехнической системы ближней навигации должны соответствовать таблице 6.11.

Таблица 6.11

Наименование параметра

Канал посадки

Канал навигации

Канал встречи

Диапазон частот, МГц:

- передача

722 - 808

726 - 813

800 - 813

- прием

905,0 - 996,9

873,5 - 1000,5

Зона обзора

Передняя полусфера

Круговая

Секторный обзор пространства в горизонтальной плоскости в пределах 360° с равносигнальной зоной

Неравномерность диаграммы направленности в горизонтальной плоскости от направления полета, дБ, не более:

- в секторе ± 90°

12

- в секторе ± 360°

12

12

Коэффициент усиления АФУ в горизонтальной плоскости в направлении полета, дБ, не менее

-10

-10

-10

Допустимое затухание в фидере питания АФУ, дБ

-10 - (± GA*)

-10 - (± GA)

-10 - (± GA)

Ослабление вертикальной составляющей поля, дБ, не менее

10

10

10

КСВН, не более:

- на входе АФУ

2

2

2

- на выходе АФУ

5

5

5

* GА - коэффициент усиления антенны, дБ.

6.10 Параметры АФУ аппаратуры ДМЕ

Параметры АФУ самолетных радиодальномеров должны соответствовать таблице 6.12.

Таблица 6.12

Наименование параметра

Норма

Диапазон частот, МГц

962 - 1215

Поляризация

Вертикальная

Зона обзора:

- в горизонтальной плоскости

Круговая

- в верхней или нижней полусфере в зависимости от места установления антенны на самолете относительно горизонтальной плоскости

От 0 до 45°

КСВН, не более:

- прием

1,7

- передача

2,0

Затухание в фидерном тракте, дБ, не более

5

6.11 Параметры АФУ радиотехнического оборудования

6.11.1 Параметры курсовых АФУ радиотехнического оборудования посадку должны соответствовать таблице 6.13.

Таблица 6.13

Наименование параметра

Норма

Диапазон рабочих частот, МГц

108 - 112

КСВН на выходе АФУ, не более

5

Коэффициент усиления АФУ в горизонтальной плоскости в направлении полета, дБ, не менее:

- при наличии одного или двух выходов

-10*

- при наличии трех выходов

-13*

Неравномерность распределения горизонтальной составляющей поля в переднем секторе ± 90° относительно продольной оси ЛА, дБ, не более

12

Поляризация

Горизонтальная

Ослабление вертикальной составляющей поля антенны по отношению к горизонтальной составляющей в направлении вперед вдоль продольной оси ЛА, дБ, не менее

10

Развязка между выходами АФУ (при наличии двух или более выходов), дБ, не менее

6

* По сравнению с максимумом излучения полуволнового вибратора.

Примечание - При работе АФУ, имеющего один выход с двумя или более приемниками, выходом АФУ считают точку подключения фидера к общему входу приемников.

6.11.2 Параметры глиссадных антенн радиотехнического оборудования посадки должны соответствовать таблице 6.14.

Таблица 6.14

Наименование параметра

Норма

Диапазон рабочих частот, МГц

328,6 - 335,4

КСВН на выходе АФУ, не более

5

Коэффициент усиления АФУ в горизонтальной плоскости в направлении полета:

       - при наличии одного выхода

-10*

       - при наличии двух выходов

-12*

       - при наличии трех выходов

-15*

Неравномерность распределения горизонтальной составляющей поля в горизонтальной плоскости в переднем секторе ± 45° относительно продольной оси ЛА, дБ, не более

6

Поляризация

Горизонтальная

Ослабление вертикальной составляющей поля антенны по отношению к горизонтальной составляющей в направлении вперед вдоль продольной оси ЛА, дБ, не менее

10

Развязка между выходами АФУ при наличии двух выходов, дБ, не менее

6

Размещение антенны

Должно обеспечивать безопасное расстояние от самой нижней точки ЛА до препятствий или поверхности земли при снижении по глиссаде

* По сравнению с максимумом излучения полуволнового вибратора.

6.11.3 При использовании навигационной антенны угломерной системы VOR в качестве курсовой антенны радиотехнического оборудования посадки ее параметры должны быть в соответствии с таблицей 6.13.

6.11.4 Параметры АФУ оборудования МЛС должны соответствовать таблице 6.15.

Таблица 6.15

Наименование параметра

Норма

Диапазон частот, МГц

От 5031,0 до 5090,7

КСВН на входе АФУ при установке антенны в центре проводящего диска диаметром 0,9 м или на реальном самолете, не более

2

Коэффициент усиления антенны в пределах секторов обзора шириной 140° в горизонтальной плоскости и 3,5° в вертикальной плоскости, дБ, не менее

0

Затухание в трактах между антеннами и радиоприемником, дБ, не более

5

6.12 Параметры АФУ самолетных ответчиков УВД

Параметры АФУ антенн ответчика УВД должны соответствовать таблице 6.16.

Таблица 6.16

Наименование параметра

Норма

Обзорный радиолокатор

Посадочный радиолокатор

Международный канал РВ

Диапазон частот, МГц:

       - прием

837,5 ± 5,0

8910 - 9570

1030 ± 3

       - передача

740 ± 5

740 ± 5

1090 ± 3

Поляризация:

       - прием

Горизонтальная

Вертикальная

       - канал глиссады

Горизонтальная

       - канал курса

Вертикальная

       - канал глиссады и курса

Круговая, правого вращения

Зоны обзора

   прием:

- в горизонтальной плоскости

360°

± 90° от направления полета

360°

- в вертикальной плоскости

± 30°

± 30° от направления полета

   передача:

0 - 45°

- в горизонтальной плоскости

360°

360°

360°

- в вертикальной плоскости

± 30°

± 30°

± 30°

Коэффициент усиления в горизонтальной плоскости, дБ, не менее:

       - в секторе 360°

-13*

-3

-3***

       - в секторе 90° от направления полета

Затухание в фидерном тракте между антенной и приемопередатчиком, дБ, не более.

-13 - (± GА)

* Для АФУ.

** Для АФУ по запросу.

*** Для антенны по сравнению с коэффициентом усиления вертикального четвертьволнового вибратора

Примечание - GА - коэффициент усиления антенны в направлении полета, дБ.

6.13 Параметры АФУ аппаратуры СПС

Параметры АФУ антенн аппаратуры СПС должны соответствовать таблице 6.17.

Таблица 6.17

Наименование параметра

Норма

Отечественный канал

Канал «Эшелон»

Международный канал «RBS»

Частота, МГц:

       - передача

740,0 ± 5,0

1592

1030 ± 3

       - прием

837,5 ± 5,0

1623

1090 ±3

Поляризация

Горизонтальная

Вертикальная

Вертикальная

Зоны обзора

   прием:

       - в горизонтальной плоскости

360°

360°

360°

       - в вертикальной плоскости

± 30°

± 30°

± 30°

КСВН, не более:

       - передача

2,5

1,42

1,42

       - прием

5,0

1,42

1,42

Коэффициент усиления* в горизонтальной плоскости, дБ, не менее

-13

нвч - (£ 3)

нвч - (£ 3)

Неравномерность диаграммы направленности АФУ в горизонтальной плоскости, дБ, не более

-

3

3

Излучение суммарной и разностной диаграмм направленности (ДН) в горизонтальной плоскости

-

-

Одновременное*

Дискретность при сканировании ДН в секторе 360°

-

-

22,58**

Поляризация поля

-

-

Вертикальная**

Ширина главного лепестка суммарной ДН на уровне 3 дБ в горизонтальной плоскости

-

-

(-100 ± 5)°**

Коэффициент усиления АФУ в максимуме ДН относительно изотропного излучателя, дБ, не менее

-

-

0**

Зона обзора в вертикальной плоскости выше горизонта

-

-

(0 - 40)°

* При установке антенны на металлическом диске диаметром 700´700 мм для канала «Эшелон» и 1000´1000 мм для международного канала «RBS».

** Для кольцевой антенны ФАР.

Примечание - КУнвч - коэффициент усиления несимметричного четвертьволнового вибратора в максимуме диаграммы направленности в горизонтальной плоскости, имеющего КСВН, равный 1,42, и установленного на таком же металлическом диске, что и антенна.

7 МЕТОДЫ ОЦЕНКИ СООТВЕТСТВИЯ ПАРАМЕТРОВ АФУ ПРЕДЪЯВЛЯЕМЫМ ТЕХНИЧЕСКИМ ТРЕБОВАНИЯМ

7.1 Методы оценки соответствия параметров АФУ предъявляемым техническим требованиям при наземных испытаниях в условиях опытного производства. Общие положения

7.1.1 Соответствие технико-эксплуатационных характеристик АФУ следует оценивать путем сопоставления параметров АФУ с требованиями действующих стандартов и ТЗ. Соответствие считают доказанным, если параметры АФУ удовлетворяют требованиям действующих стандартов и ТЗ.

В качестве доказательной документации предъявляют: действующие стандарты, ТЗ, акты, разделы актов (отчетов) по результатам испытаний.

7.1.2 Соответствие электрических параметров АФУ должно быть оценено путем сопоставления электрических параметров АФУ требованиям действующих стандартов и ТЗ. Соответствие считают доказанным, если электрические параметры АФУ соответствуют действующим стандартам и ТЗ. В качестве доказательной документации предъявляют действующие стандарты, ТЗ, акты, разделы актов (отчеты) по результатам испытаний.

7.1.3 Соответствие правильности конструктивного выполнения и монтажа АФУ на ЛА в части получения заданных электрических параметров, удобств технического обслуживания, помех обзору экипажа, невозможности поломки антенны при техническом обслуживании, боевом применении, заправке в воздухе, в части отсутствия повышенной опасности для технического и летного экипажа, защиты от ударов молнии, минимального аэродинамического сопротивления, габаритов, массы и размеров, обеспечение стойкости к коронированию от электрических разрядов, отсутствия возможности попадания в антенну собственных снарядов, ракет, сбрасываемых элементов ЛА, форсажного факела, двигателей и др., принудительного отделения антенны в случае необходимости при аварийной ситуации следует оценивать путем анализа чертежной документации, актов анализа чертежной документации, актов анализа возможностей обеспечения требуемых условий эксплуатации и актов (отчетов) измерения параметров АФУ. Соответствие считают доказанным, если правильность выполнения АФУ и его монтаж на ЛА удовлетворяют чертежной документации и НД.

В качестве доказательной документации предъявляют разделы актов (отчетов) по испытаниям и Руководства по эксплуатации, а также чертежную документацию на АФУ и ЛА.

7.1.4 Соответствие размещения и монтажа АФУ в части обеспечения удобства доступа для осмотра и монтажа, проверки электрических параметров и ремонта следует оценивать путем анализа достаточности мер для обеспечения перечисленных требований при проведении работ, указанных в Руководстве по технической эксплуатации ЛА и в процессе его наземного обслуживания. Соответствие считают доказанным, если размещение и монтаж АФУ обеспечивают удобство для осмотра и монтажа, а также проверки электрических параметров и ремонта. В качестве доказательной документации предъявляют акты, разделы актов (отчетов) по результатам проверки.

7.1.5 Соответствие радиотехнических характеристик обтекателей антенн следует оценивать путем анализа материалов испытаний обтекателей и НД на материалы, из которых они изготовлены. Соответствие считают доказанным, если радиотехнические характеристики обтекателей антенн удовлетворяют НД и материалам испытаний. В качестве доказательной документации предъявляют действующие стандарты, акты, разделы актов (отчетов) по результатам испытаний.

7.1.6 Соответствие удобства монтажа обтекателей и исключение возможности попадания внутрь обтекателя жидкостей следует оценивать путем анализа чертежной документации на ЛА. Соответствие считают доказанным, если монтаж обтекателя удовлетворяет чертежной документации на ЛА. В качестве доказательной документации предъявляют установочные чертежи обтекателя на ЛА.

7.1.7 Соответствие приемлемости параметров комплексированных антенн следует оценивать путем анализа результатов испытаний АФУ. Соответствие считают доказанным, если параметры комплексированных антенн удовлетворяют техническим требованиям каждой из комплексированных систем.

В качестве доказательной документации предъявляют разделы актов (отчетов) по результатам испытаний.

7.1.8 Соответствие АФУ в части неиспользования на сверхзвуковых самолетах проволочных (тросовых) антенн следует оценивать путем анализа чертежной документации на АФУ.

В качестве доказательной документации предъявляют чертежи АФУ ЛА.

7.1.9 Соответствие АФУ в части возможностей прибортовки их к корпусу ЛА следует оценивать путем анализа чертежной документации на установку АФУ на ЛА. Соответствие считают доказанным, если прибортовка АФУ к корпусу ЛА удовлетворяет чертежной документации установки АФУ на ЛА.

В качестве доказательной документации предъявляют установочные чертежи АФУ на ЛА.

7.1.10 Соответствие АФУ в части обеспечения наименьших длин высокочастотных кабелей, удобства стыковки элементов линии передач, недопустимости воздействия повышенных температур и вибрационных нагрузок следует осуществлять путем анализа чертежной документации на ЛА. Соответствие считают доказанным в части обеспечения наименьших длин высокочастотных кабелей, удобства стыковки элементов линии передач, недопустимости воздействия повышенных температур и вибрационных нагрузок АФУ, если указанные требования удовлетворяют установочным чертежам на АФУ и НД.

В качестве доказательной документации предъявляют установочные чертежи на ЛА.

7.1.11 Соответствие АФУ в части отсутствия острых кромок, плохо заделанных и порванных жил, проводов, заусенцев и заделки проводов следует оценивать путем анализа чертежной документации на ЛА. Соответствие считают доказанным, если АФУ удовлетворяет НД и установочным чертежам АФУ на ЛА.

В качестве доказательной документации предъявляют установочные чертежи на ЛА.

7.1.12 Соответствие переходного сопротивления между фланцами АФУ и обшивкой самолета следует оценивать путем анализа результатов измерения переходного сопротивления на ЛА. Соответствие считают доказанным, если переходное сопротивление между фланцами АФУ и обшивкой ЛА удовлетворяет разделу 7 и установочным чертежам АФУ на ЛА.

В качестве доказательной документации предъявляют акты, разделы актов по результатам измерения переходного сопротивления на ЛА, а также установочные чертежи АФУ на ЛА.

7.1.13 Соответствие обеспечения максимально возможных развязок между АФУ разного электронного оборудования следует оценивать путем анализа материалов расчетов развязок между антеннами при различных вариантах их размещения. Соответствие считают доказанным в части обеспечения максимально возможных развязок между АФУ разного радиоэлектронного оборудования, если указанные требования удовлетворяют установочным чертежам на АФУ и НД.

В качестве доказательной документации предъявляют отчет по оценке ЭМС радиооборудования комплекса радиоэлектронного оборудования.

7.1.14 Соответствие АФУ в части наличия в его составе эквивалентов антенн следует оценивать путем анализа НД на АФУ. Соответствие считают доказанным, если указанные требования удовлетворяют НД и Руководству по технической эксплуатации АФУ.

В качестве доказательной документации предъявляют Руководство по технической эксплуатации АФУ.

7.1.15 Соответствие АФУ в части способов крепления его элементов к корпусу ЛА следует оценивать путем рассмотрения чертежной документации на ЛА. Соответствие считают доказанным в части способов крепления АФУ к корпусу ЛА, если АФУ удовлетворяют НД и установочным чертежам АФУ на ЛА.

В качестве доказательной документации предъявляют чертежную документацию на ЛА.

7.1.16 Соответствие АФУ в части сопротивления изоляции следует оценивать по материалам измерения сопротивления изоляции антенн. Соответствие считают доказанным в части сопротивления изоляции, если указанный параметр удовлетворяет КД.

В качестве доказательной документации предъявляют акты, (разделы актов) по результатам измерения сопротивления изоляции антенн.

7.2 Методы оценки соответствия параметров АФУ предъявляемым техническим требованиям в условиях серийного производства. Общие положения

7.2.1 Соответствие переходного сопротивления между фланцем антенны и корпусом самолета (вертолета) следует оценивать непосредственно на ЛА согласно 7.1.2.

7.2.2 Соответствие АФУ в части сопротивления изоляции следует оценивать непосредственно на ЛА согласно 7.1.16.

7.3 Методы измерения параметров АФУ радиосвязи и навигации диапазонов ДКМВ, ГКМВ, КМВ и МРМВ

7.3.1 Методы измерения параметров АФУ радиосвязи и навигации диапазонов ДКМВ, ГКМВ, КМВ и МРМВ при наземных испытаниях в условиях опытного производства

7.3.1.1 Параметры АФУ следует измерять на макетах частей самолетов (вертолетов), изготовленных в натуральную величину, и на опытных ЛА.

7.3.1.2 Макеты ЛА должны выполняться из материала с проводимостью, соответствующей проводимости материала обшивки ЛА.

7.3.1.3 В непосредственной близости измеряемой антенны не должно быть выступающих металлических предметов, способных повлиять на результаты измерений.

7.3.1.4 Измерения действующей высоты и емкости должно проводиться на крайних и средних частотах рабочего диапазона частот.

7.3.1.5 Действующую высоту и емкость антенны для комбинированных (комплексированных) антенн диапазонов MB, ДМВ и ГКМВ следует измерять при подключенном коаксиальном кабеле, соединяющем антенну с радиостанцией MB и ДМВ диапазонов.

7.3.1.6 Входные сопротивления приемо-передающих антенн следует измерять с дискретностью не более 1 МГц в диапазоне ДКМВ и не более 100 кГц - в диапазоне ГКМВ.

7.3.1.7 Допускается в условиях опытного производства измерять параметры приемных антенн диапазонов ДКМВ и ГКМВ на плоском противовесе (металлическом листе) с размерами не менее 1500´1500 мм с размещением измеряемой и эталонной антенн в центре противовеса.

7.3.1.8 Действующие высоты антенн следует измерять с помощью селективного микровольтметра типа В6-10 или другого аналогичного прибора с входным сопротивлением не менее 500 кОм в следующем порядке:

- устанавливают измерительный приемник на расстоянии не более 1 м от исследуемой антенны, включают его в сеть, дают прогреться и производят калибровку;

- размещают на расстоянии не менее чем 0,5 м от исследуемой антенны штыревую эталонную антенну с геометрической высотой h = 1,0 м (действующая высота такой антенны в диапазонах ДКМВ, ГКМВ, КМВ и МРМВ hд = 0,5 м);

- соединительные проводники от эталонной и исследуемой антенн до входа измерительного приемника, а также проводники заземления должны быть минимальной длины (3 - 5 см);

- после определения рабочих частот подсоединяют ко входу измерительного приемника эталонную штыревую антенну, настраивают приемник на заданную частоту и производят отсчет величины принятого сигнала Е1;

- не изменяя частоты настройки измерительного приемника, отсоединяют эталонную антенну, присоединяют исследуемую антенну и производят отсчет величины принятого сигнала Е2;

- действующую высоту исследуемой антенны Hд в метрах вычисляют по формуле

                                                        (1)

где Е1 - отсчитанное значение сигнала, принятого эталонной антенной, дБ;

Е2 - отсчитанное значение сигнала, принятого исследуемой антенной, дБ;

hд.э - действующая высота эталонной антенны, м, (для тонкого штыря с геометрической высотой, равной 1 м, действующая высота hд.э = 0,5).

7.3.1.9 Измерение емкости антенны СА должно проводиться с помощью измерителя добротности типа Е4-7 в следующем порядке:

- устанавливают прибор в месте измерения и соединяют корпус прибора с корпусом самолета (вертолета), на котором проводят измерение, заземляющей перемычкой минимально возможной длины, имеющей контакт как с корпусом прибора, так и с корпусом самолета (вертолета).

- включают прибор в сеть переменного тока, дают ему прогреться, производят калибровку прибора и установку электрического нуля;

- измерение емкости антенны необходимо проводить на одной из низших частот ДКМВ или ГКМВ (для диапазона ДКМВ на частотах 2 - 4 МГц, для диапазона ГКМВ - на частотах порядка 100 - 200 кГц);

- устанавливают по шкале прибора с помощью ручки переключателя диапазона и ручки установки частоты требуемую частоту;

- подключают к специальным клеммам измерителя добротности эталонную катушку индуктивности, соответствующую частоте, на которой проводят измерения (катушка входит в комплект прибора);

- с помощью органов настройки добиваются настройки контура в резонанс и производят отсчет емкости первого измерения С1;

- к потенциальной клемме, предназначенной для подключения измеряемой емкости, подключают антенну;

- с помощью органов настройки снова добиваются настройки контура в резонанс на этой же частоте и производят отсчет емкости второго измерения С2;

- значение емкости антенны Са в пикофарадах вычисляют по формуле

Ca = C1 - С2,                                                            (2)

где С1 - емкость первого измерения, пФ;

С2 - емкость второго измерения, пФ.

7.3.1.10 Входные сопротивления антенн в диапазонах ДКМВ и ГКМВ следует измерять с помощью измерителя импедансов типа ВМ-538 (508) в соответствии с инструкцией по его эксплуатации. Активную RА и реактивную XА составляющую входного сопротивления антенны в омах для |j| £ 70° вычисляют по формулам:

RА = |Z|соsj;                                                          (3)

XА = |Z|sinj,                                                           (4)

где |Z| - модуль импеданса антенн, Ом;

|j| - показания индикатора фазы измерителя импедансов.

Для случая, когда |j| £ 70°, активное сопротивление RА в омах вычисляют по формуле

                                                             (5)

где Rp - сопротивление антенного контура при параллельном резонансе, Ом.

Для настройки антенного контура в резонанс при индуктивном импедансе используют магазин емкостей с малыми потерями (tgd £ 0,01).

7.3.1.11 Для настройки антенного контура в резонанс при емкостном импедансе используют дополнительную катушку индуктивности. Настройку антенного контура в резонанс производят конденсатором переменной емкости и фиксируют его по индикатору фазы измерителя импедансов (j = 0).

7.3.1.12 Для соединения измерительных приборов с антенной должны использоваться медные посеребренные проводники минимально возможной длины.

7.3.1.13 Входные сопротивления антенн в диапазоне ГКМВ ниже 500 кГц и в диапазоне КМВ и МРМВ измеряют измерителем импедансов типа ВМ-507. В случае измерения входных сопротивлений несимметричных антенн используют симметрирующий трансформатор с коэффициентом трансформации 1 : 1.

7.3.1.14 Входные сопротивления антенн в диапазонах ДКВМ и ГКМВ допускается измерять с помощью измерителей добротности типа Е4-7.

7.3.1.15 Входные сопротивления антенн в диапазонах ГКМВ и ДКМВ с помощью измерителя добротности измеряют в следующем порядке:

- устанавливают на объекте измеритель добротности в непосредственной близости от ввода антенны с таким расчетом, чтобы длина соединительных проводников от прибора к антенному вводу не превышала 200 мм;

- включают измеритель добротности в сеть переменного тока и дают ему прогреться в течение 15 мин;

- проводят калибровку прибора и установку электрического нуля на выбранных пределах измерения;

- соединяют клемму заземления измерителя добротности с корпусом объекта при помощи короткой металлической перемычки (например металлической оплетки от высокочастотного кабеля). Перемычка должна быть гибкой посеребренной или медной, луженую оплетку для указанных целей применять не рекомендуется. Длина перемычки должна быть минимально возможной;

- с помощью соответствующих ручек управления устанавливают на приборе частоту, на которой предполагается проводить измерения;

- подключают к прибору катушку индуктивности, соответствующую выбранной частоте;

- с помощью органов настройки добиваются настройки контура в резонанс и производят отсчет добротности Q1, внутреннего контура на измерителе добротности без подключенной антенны, а также отсчет емкости внутреннего контура С1 с точностью до десятых долей пикофарады;

- к потенциальной клемме, предназначенной для подключения измеряемой емкости, подключают антенну;

- с помощью органов настройки снова добиваются настройки в резонанс на этой же частоте и производят отсчет полученных значений добротности Q2 и емкости С2 с подключенной антенной. При этом для уменьшения погрешности в последующих расчетах необходимо, чтобы добротность Q находилась в пределах от 1/3 до 2/3 Q1. В случае невозможности выполнить это условие при непосредственном подключении антенны к измерительному контуру подсоединение антенны следует производить через дополнительную емкость Сдоп. Величина этой емкости в зависимости от типа антенны может находиться в пределах от 1 до 300 пФ и подбираться опытным путем из условия получения требуемой добротности Q2 от 1/3 до 2/3 Q1. Наиболее оптимальным следует считать случай, когда Q2 = 0,5.

7.3.1.16 После отсчета значений Q2 и С2 измеряют дополнительную емкость Сдоп. Измерение Сдоп необходимо проводить на каждой рабочей частоте. Для измерения Сдоп один конец дополнительного конденсатора оставляют подключенным к потенциальной клемме, а второй конец, отключив от антенны, подключают к клемме заземления. После подключения дополнительной емкости контур снова настраивают в резонанс и производят отсчет значения емкости С3 с точностью до десятых долей пикофарады. Значение дополнительной емкости Сдоп, пФ, вычисляют по формуле

Сдоп = С1 - С3,                                                          (6)

где С1 - емкость внутреннего контура при настройке его в резонанс без дополнительной емкости;

С3 - емкость внутреннего контура при настройке его в резонанс при подключенной дополнительной емкости.

7.3.1.17 Значения активной составляющей входного сопротивления RA и реактивной составляющей XA определяют расчетным путем.

При измерениях без дополнительной емкости RA и XA, Ом, вычисляют по формулам:

                                              (7)

                                                       (8)

при измерениях с дополнительной емкостью:

                                                      (9)

                                                  (10)

ХА = ХDС + Хдоп;                                                    (11)

                                                  (12)

                                                 (13)

где Q1 - добротность внутреннего контура без подключения антенны;

С1 - емкость внутреннего контура без подключения антенны, пФ;

Q2 - добротность с подключенной антенной;

С2 - емкость с подключенной антенной, пФ;

Сдоп - дополнительная емкость, пФ;

f - частота, кГц;

RА - активная составляющая входного сопротивления антенны, Ом;

ХA - реактивная составляющая входного сопротивления антенны, Ом;

XDс - реактивная составляющая сопротивления разности емкости, Ом;

Xдоп - реактивная составляющая сопротивления дополнительной емкости, Ом.

7.3.1.18 Соответствие электрических параметров приемных и приемо-передающих антенн диапазонов ДКМВ, ГКМВ, КМВ и МРМВ следует оценивать посредством анализа материалов (протоколы, акты) по результатам измерений и расчетов действующей высоты, емкости и входных сопротивлений в рабочем диапазоне частот.

Соответствие считают доказанным, если АФУ обеспечивают параметры согласно таблицам 6.1 и 6.2. В качестве доказательной документации используют акты по испытаниям.

7.3.2 Оценка соответствия электрических параметров приемных и приемнопередающих АФУ диапазонов ДКМВ и ГКМВ в условиях серийного производства.

7.3.2.1 Соответствие следует оценивать непосредственно на ЛА по методике, приведенной в 7.1.

7.3.3 Методы измерения электрических параметров АФУ радиосвязи диапазона МВ1 (30 - 80 МГц) в условиях опытного производства

7.3.3.1 КСВН следует измерять на макетах частей самолетов (вертолетов), изготовленных в натуральную величину, и на опытных ЛА.

7.3.3.2 Макеты должны быть выполнены из материала, проводимость которого должна соответствовать реальной проводимости материала обшивки самолета (вертолета).

7.3.3.3 Макеты частей самолетов (вертолетов) при измерении КСВН должны устанавливаться на специальной испытательной площадке. На расстоянии не менее 15 м от испытуемой антенны не должно быть посторонних металлических предметов.

7.3.3.4 КСВН следует измерять на крайних частотах диапазона и не менее чем через каждые 5 МГц в рабочем диапазоне частот. Результаты измерения сводят в таблицу.

7.3.3.5 КСВН следует измерять измерителем комплексных коэффициентов передачи типа Р4-11, Р4-37 или им подобными. Длина фидера от АФУ до рефлексометра измерительного прибора должна быть не более 5 м.

7.3.3.6 КСВН необходимо измерять в соответствии с инструкциями по эксплуатации указанных приборов.

7.3.3.7 Эффективность антенны следует определять путем сравнения сигналов от исследуемой и эталонной антенн.

7.3.3.8 В качестве эталонной антенны должен применяться несимметричный измерительный вибратор (штырь диаметром 10 - 15 мм и длиной, равной четверти рабочей длины волны, из алюминия или меди).

7.3.3.9 Эффективность фюзеляжных антенн следует измерять при установке их в центре плоского металлического диска диаметром не менее 2 м.

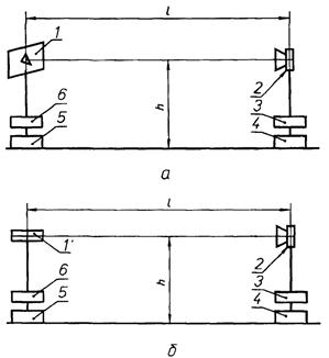
Функциональная схема измерений приведена на рисунке 7.1.

1 - исследуемая или эталонная антенна; 2 - соединительный фидер; 3 - измеритель КСВ; 4 - приемная антенна; 5 - селективный микровольтметр; 6 - поворотное устройство; 7 - генератор высокочастотных сигналов

Рисунок 7.1

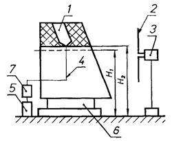
7.3.3.10 Эффективность килевых антенн следует измерять при установке антенны на месте киля, изготовленного в натуральную величину.

Функциональная схема измерений приведена на рисунке 7.2.

7.3.3.11 Расстояние между приемной и передающей антеннами должно быть не менее 30 м. Высота установки приемной антенны должна быть равна высоте установки передающей антенны Н.

7.3.3.12 Эффективность фюзеляжных антенн необходимо измерять в следующем порядке:

- размещают эталонную штыревую антенну в вертикальном положении в центре диска, установленного на поворотном устройстве, и согласовывают ее с питающим фидером до КСВ более 2,5 на каждой рабочей частоте;

- принимают сигнал от эталонной антенны и фиксируют его величину;

- устанавливают вместо эталонной антенны в центре диска исследуемую антенну;

- принимают сигнал от исследуемой антенны с различных азимутальных направлений и определяют минимальный уровень сигнала;

1 - исследуемая или эталонная антенна; 2 - соединительный фидер; 3 - селективный микровольтметр; 4 - приемная антенна; 5 - измеритель КСВ; 6 - поворотное устройство; 7 - генератор высокочастотных сигналов

Рисунок 7.2

- вычисляют отношение минимального сигнала от исследуемой антенны к сигналу от эталонной антенны.

Примечание - Длины питающих фидеров, соединяющих генератор с антеннами, должны быть одинаковыми.

7.3.3.13 Эффективность килевых антенн необходимо измерять в следующем порядке:

- размещают эталонную штыревую антенну в вертикальном положении в центре диска, установленного на поворотном устройстве, и согласовывают ее с питающим фидером до КСВН не более 2,5 на каждой рабочей частоте. Диск должен быть расположен на высоте H1 равной высоте точки питания исследуемой антенны над землей H2;

- принимают сигнал от эталонной антенны и фиксируют его величину;

- устанавливают на поворотном устройстве макет киля с исследуемой антенной;

- принимают сигнал от исследуемой антенны с различных азимутальных направлений и определяют минимальный уровень сигнала;

- вычисляют отношение минимального сигнала от исследуемой антенны к сигналу эталонной антенны.

Примечания

1 При высоких килях возможно использование верхней части киля высотой не менее 3 м.

2 Длины питающих фидеров, соединяющих генератор с антеннами, должны быть одинаковыми.

7.3.3.14 Соответствие электрических параметров антенн радиосвязи диапазона МВ1 следует оценивать посредством анализа материалов по результатам измерений в рабочем диапазоне частот. Соответствие считают доказанным, если параметры АФУ удовлетворяют таблице 6.3. В качестве доказательной документации используют акты по результатам испытаний.

7.3.4 Оценка соответствия параметров АФУ радиосвязи диапазона МВ1 (30 - 80 МГц) в условиях серийного производства

Соответствие электрических параметров АФУ в условиях серийного производства следует оценивать непосредственно на ЛА путем проверки функционирования радиостанции диапазона МВ1 согласно инструкции по ее эксплуатации.

7.4 Методы оценки соответствия параметров АФУ радиосвязного оборудования диапазонов метровых и дециметровых волн

7.4.1 Методы измерения параметров АФУ радиосвязного оборудования метровых и дециметровых волн в условиях опытного производства

7.4.1.1 Соответствие величин КСВН в рабочих диапазонах частот следует оценивать путем анализа результатов измерения КСВН на входах АФУ в рабочих диапазонах частот.

7.4.1.2 КСВН следует измерять на макетах частей самолетов (вертолетов), изготовленных в натуральную величину, или на реальных ЛА.

7.4.1.3 Макеты должны быть выполнены из материала, проводимость которого должна соответствовать реальной проводимости материала обшивки ЛА.

7.4.1.4 Вблизи исследуемой антенны на расстоянии двух максимальных длин волн не должно быть посторонних предметов, способных повлиять на результаты измерений.

7.4.1.5 КСВН следует измерять на крайних и средней частотах рабочего диапазона и не менее чем через каждые 5 МГц в рабочем диапазоне частот.

7.4.1.6 КСВН следует измерять измерителем полных сопротивлений, измерителем комплексных коэффициентов передачи и рефлексометрами, входящими в комплект контрольно-сервисной аппаратуры.

Функциональная схема измерений приведена на рисунке 7.3.

1 - генератор высокочастотных сигналов; 2 - измеритель КСВН с индикатором; 3 - измерительная антенна

Рисунок 7.3

7.4.1.7 КСВН измеряют согласно инструкциям по эксплуатации на соответствующие измерительные приборы. При измерениях на макетах корпуса ЛА определяют минимальные длины фидеров питания, при которых величины КСВН АФУ удовлетворяют таблице 6.4.

Соответствие считают доказанным, если АФУ обеспечивает величины КСВН согласно таблице 6.4. В качестве доказательной документации предъявляют акты по результатам испытаний.

7.4.1.8 Соответствие величин КПД фидера питания следует оценивать расчетным путем на основании справочных данных на параметры выбранного типа фидера и результатов измерения КСВН антенны, выполненного с фидером длиной не более 2 м, по методу приведенному в 7.4.1.1.

7.4.1.9 Расчет КПД фидера питания нужно проводить в следующем порядке:

- определяют величину параметра a в децибелах для частот рабочего диапазона, на которых было проведено измерение КСВН, где

a - значение погонного затухания в фидере питания, дБ/м;

l - длина фидера, м;

- вычисляют величину КПД (h) по формуле

                                         (14)

где K - коэффициент бегущей волны, равный .

Соответствие считают доказанным, если величина КПД фидера удовлетворяет таблице 6.4. Подтверждающими документами являются акты с результатами расчета КПД фидера.

7.4.1.10 Соответствие величин эффективности антенны следует оценивать путем анализа материалов по результатам измерения эффективности антенны в рабочих диапазонах частот.

7.4.1.11 Эффективность антенны следует измерять путем сравнения сигналов, излучаемых исследуемой и эталонной антеннами при одинаковой подведенной к антеннам мощности.

7.4.1.12 В качестве эталонной антенны должен применяться заземленный вертикальный вибратор (штырь диаметром 10 - 40 мм и длиной, равной четверти рабочей длины волны, из алюминиевых или медных сплавов).

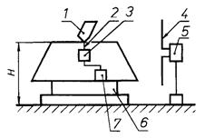
7.4.1.13 Эффективность фюзеляжных антенн следует измерять при установке их в центре плоского металлического диска диаметром 1,5 - 2,0 м. Функциональная схема измерений приведена на рисунке 7.4.

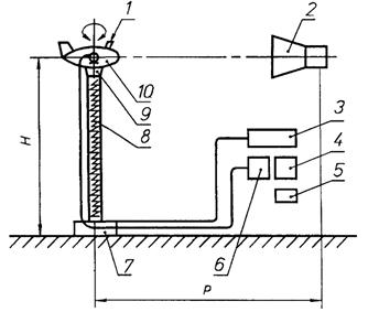
7.4.1.14 Эффективность килевых антенн следует измерять при установке антенны на макете киля, изготовленного в натуральную величину. Функциональная схема измерений приведена на рисунке 7.5.

7.4.1.15 Расстояние между приемной и передающей антеннами должно быть не менее 10 м. Высота установки приемной антенны должна быть равна высоте установки передающей антенны.

7.4.1.16 Эффективность антенны измеряют в диапазоне MB на частотах 100, 125 и 150 МГц, а в диапазоне ДМВ - на частотах 220, 250, 300 и 400 МГц.

7.4.1.17 Эффективность антенн необходимо измерять в следующем порядке:

- размещают эталонную штыревую антенну в вертикальном положении в центре диска, установленного на поворотном устройстве;

- включают радиостанцию в режим передачи и измеряют рефлектором, входящим в комплект контрольно-сервисной аппаратуры КСР-5М, падающую мощность Рпад и отраженную мощность Ротр;

1 - поворотное устройство; 2 - измеритель КСВН; 3 - фидер питания исследуемой антенны; 4 - эталонный штырь или исследуемая антенна; 5 - генератор высокой частоты; 6 - приемная антенна; 7 - измеритель напряженности поля.

Рисунок 7.4

1 - поворотное устройство; 2 - фидер питания исследуемой антенны; 3 - измеритель КСВ; 4 - исследуемая антенна; 5 - диск с эталонной антенной; 6 - генератор высокой частоты; 7 - приемная антенна; 8 - измеритель напряженности поля.

Рисунок 7.5

- вычисляют величину проходящей мощности, подводимой к исследуемой антенне, Рпрох в ваттах по формуле

Рпрох = Рпад - Ротр;                                                       (15)

- используя измеритель напряженности поля, путем приема сигналов от исследуемой антенны с различных азимутальных направлений, измеряют минимальный сигнал от исследуемой антенны Емин и максимальный сигнал Емакс. Вычисляют эффективность антенны Э по формуле

                                                           (16)

Примечание - Длина фидера, соединяющего антенну с выходом рефлектометра, не должна быть более 1,5 м. Соответствие считают доказанным, если антенна обеспечивает эффективность в соответствии с таблицей 6.4. В качестве доказательной документации предъявляют акты по результатам испытаний.

7.4.1.18 Соответствие величин коэффициентов неравномерности диаграмм направленности антенн в горизонтальной плоскости следует оценивать путем анализа материалов по результатам измерения диаграмм направленности, установленных на ЛА, и расчетов их коэффициентов неравномерности в рабочих диапазонах частот.

7.4.1.19 Диаграммы направленности антенн измеряют в диапазоне MB на частотах 100,125 и 150 МГц, а в диапазоне ДМВ - на частотах 220, 250, 300, 350 и 400 МГц.

7.4.1.20 Диаграммы направленности антенн следует измерять на моделях ЛА, изготовленных в уменьшенном масштабе. При этом измерения диаграмм направленности выполняют на частотах рабочего диапазона радиостанции, умноженных на масштаб моделирования. В качестве материалов для изготовления моделей ЛА должны использоваться медные или алюминиевые сплавы.

7.4.1.21 Функциональная схема измерения диаграмм направленности приведена на рисунке 7.6.

1 - исследуемая антенна (масштабная модель); 2 - вспомогательная антенна; 3 - пульт управления; 4 - измеритель напряженности поля; 5 - генератор высокочастотных сигналов; 6 - усилитель низкой частоты; 7 - поворотное устройство; 8 - диэлектрическая мачта; 9 - детекторная секция; 10 - модель ЛА

Рисунок 7.6

7.4.1.22 Расстояние А в метрах между облучающей антенной и моделью ЛА вычисляют по формуле

                                                      (17)

где L1 - раскрыв исследуемой антенны, равный для фюзеляжных антенн диаметру фюзеляжа, а у килевых антенн - удвоенной высоте киля, м;

L2 - раскрыв облучающей антенны, м;

l - длина волны, м.

7.4.1.23 При измерении диаграмм направленности не должно допускаться попадание на модель сигналов, отраженных от земли и других посторонних предметов.

7.4.1.24 При измерении диаграмм направленности передающая антенна должна равномерно облучать раскрыв исследуемой антенны. Условия наличия достаточной равномерности облучения исследуемой антенны обеспечивают при соблюдении следующих зависимостей:

                                                          (18)

при размещении антенны в центре вращения, и

                                                           (19)

при размещении антенны от центра вращения на расстоянии b, м.

7.4.1.25 Диаграммы направленности на моделях ЛА необходимо измерять в следующем порядке:

- устанавливают модель на поворотное устройство в положение, соответствующее измеряемой плоскости;

- устанавливают облучающую антенну на расстоянии А от модели на высоте h (высоты расположения антенны и модели должны быть одинаковыми);

- поворачивают модель в измеряемой плоскости на 360° и измеряют значения принимаемых сигналов, поступающих от антенны, установленной на модели, во всех азимутальных направлениях;

- по результатам измерений строят график диаграммы направленности на бланке в полярных координатах.

Примечание - График диаграммы направленности строят пропорционально напряженности поля как отношение величин сигнала для каждого азимутального направления к максимальной величине сигнала в случае нелинейной характеристики приемного тракта, а при квадратичной характеристике приемного тракта из отношения величин сигналов извлекают квадратный корень.

7.4.1.26 По измеренным диаграммам направленности вычисляют коэффициенты неравномерности как отношение максимального значения напряженности поля по азимуту к его минимальным значениям в направлении полета и в боковых направлениях.

Соответствие считают доказанным, если антенна обеспечивает при установке на конкретном ЛА коэффициенты неравномерности диаграмм направленности в горизонтальной плоскости согласно 6.4. В качестве доказательной документации предъявляют акты по результатам испытаний.

7.4.2 Оценка соответствия параметров АФУ радиосвязного оборудования метровых и дециметровых волн в условиях серийного производства

7.4.2.1 Соответствие КСВН в фидере питания АФУ следует оценивать непосредственно на ЛА согласно 7.4.1.

7.5 Методы оценки соответствия параметров АФУ аппаратуры спутниковой радиосвязи

7.5.1 Методы оценки соответствия параметров АФУ аппаратуры спутниковой радиосвязи при испытаниях в условиях опытного производства

7.5.1.1 Соответствие диапазона частот следует оценивать по НД на АФУ или аппаратуру спутниковой связи. Соответствие считают доказанным, если в НД указан диапазон частот согласно таблице 6.5. В качестве доказательной документации предъявляют Руководство по эксплуатации на АФУ (аппаратуру).

7.5.1.2 Соответствие поляризации антенн следует оценивать путем анализа чертежной документации на установку антенн на ЛА и НД на АФУ.

Соответствие считают доказанным, если поляризация антенн, указанная в НД, при выбранном их размещении на ЛА обеспечивает требуемые поляризационные характеристики. В качестве доказательной документации предъявляют установочные чертежи антенн на ЛА и Руководство по эксплуатации АФУ (аппаратуры).

7.5.1.3 Соответствие коэффициентов усиления АФУ следует оценивать путем анализа чертежной документации на установку антенн на ЛА и НД на АФУ. Соответствие считают доказанным, если коэффициенты усиления антенн, указанные в НД, при выбранном размещении их на ЛА удовлетворяют таблице 6.5. В качестве доказательной документации предъявляют установочные чертежи антенн на ЛА и НД на АФУ.

7.5.1.4 Соответствие требуемого расстояния между антеннами следует оценивать путем анализа чертежной документации на установку антенн на ЛА. Соответствие считают доказанным, если расстояние между передающей и приемной антеннами составляет не менее 10 м. В качестве доказательной документации предъявляют установочные чертежи антенн на ЛА.

7.5.2 Оценка соответствия электрических параметров АФУ аппаратуры спутниковой радиосвязи при испытаниях в условиях серийного производства

7.5.2.1 Соответствие КСВН АФУ аппаратуры спутниковой радиосвязи в условиях серийного производства следует оценивать согласно 7.4.1.

7.6 Методы оценки соответствия параметров АФУ РСДН

7.6.1 Методы оценки соответствия параметров АФУ РСДН в условиях опытного производства

7.6.1.1 Соответствие электрических параметров антенн РСДН следует оценивать путем анализа материалов по результатам измерений в рабочем диапазоне частот.

7.6.1.2 Параметры АФУ РСДН следует измерять в соответствии с 7.1. Соответствие считают доказанным, если АФУ обеспечивают параметры, приведенные в таблице 6.6.

В качестве доказательном документации используют акты по результатам испытаний.

7.6.2 Оценка соответствия электрических параметров АФУ РСДН в условиях серийного производства

7.6.2.1 Электрические параметры АФУ РСДН в условиях серийного производства следует оценивать непосредственно на ЛА путем проверки на функционирование аппаратуры РСДН согласно инструкции по ее эксплуатации. Соответствие считают доказанным, если обеспечивается функционирование аппаратуры согласно НД.

В качестве доказательной документации представляют акты по результатам испытаний.

7.7 Методы оценки соответствия электрических параметров АФУ АРК

7.7.1 Методы оценки соответствия электрических параметров АФУ АРК диапазона ГКМВ в условиях опытного производства

7.7.1.1 Соответствие электрических параметров антенн следует оценивать путем анализа результатов их измерений в рабочем диапазоне частот.

7.7.1.2 Электрические параметры ненаправленной антенны АРК следует оценивать согласно 7.1.2. Соответствие считают доказанным, если АФУ обеспечивают параметры, приведенные в таблице 6.7.

В качестве доказательной документации используют акты по результатам испытаний.

7.7.2 Оценка соответствия параметров АФУ АРК в условиях серийного производства

Соответствие параметров АФУ АРК следует оценивать путем проверки на функционирование аппаратуры АРК согласно НД. Соответствие считают доказанным, если дальность действия АРК удовлетворяет НД.

В качестве доказательной документации предъявляют акты по результатам испытаний.

7.8 Методы оценки соответствия параметров навигационных АФУ радиотехнического оборудования угломерной системы VOR

7.8.1 Методы оценки соответствия параметров навигационных АФУ радиотехнического оборудования угломерной системы VOR в условиях опытного производства

7.8.1.1 Соответствие диапазона частот следует оценивать по НД на АФУ или радиотехническое оборудование угломерной системы VOR. Соответствие считают доказанным, если в НД указан диапазон частот, удовлетворяющий таблице 6.8.

В качестве доказательной документации предъявляют Руководство по эксплуатации на АФУ или аппаратуру.

7.8.1.2 Соответствие КСВН следует оценивать путем измерения КСВН на выходе АФУ как минимум на трех частотах диапазона (двух крайних и средней) по методу, приведенному в 7.4.1. Соответствие считают доказанным, если полученные значения КСВН удовлетворяют параметрам, приведенным в таблице 6.8.

В качестве доказательной документации предъявляют акт по испытаниям.

7.8.1.3 Соответствие коэффициента усиления навигационного АФУ следует оценивать в наземных и летных условиях согласно 7.4.1.

7.8.1.4 Соответствие поляризации следует оценивать по НД на АФУ или аппаратуру и установочным чертежам антенны на ЛА. Соответствие считают доказанным, если в НД и в установочных чертежах подтверждается требование по поляризации согласно таблице 6.8.

В качестве доказательной документации предъявляют Руководство по эксплуатации на антенну или аппаратуру и установочные чертежи антенны на ЛА.

7.8.1.5 Соответствие коэффициента ослабления вертикальной составляющей поля антенны по отношению к горизонтальной составляющей следует оценивать по методу, приведенному в 7.4.1. Соответствие считают доказанным, если полученные значения коэффициента ослабления вертикальной составляющей в направлении продольной оси ЛА удовлетворяют таблице 6.8.

В качестве доказательной документации предъявляют акт по испытаниям.

7.8.2 Методы оценки соответствия параметров навигационных АФУ радиотехнического оборудования угломерной системы VOR в условиях серийного производства

7.8.2.1 Соответствие КСВН на выходе АФУ следует оценивать по методу, приведенному в 7.4.1.

7.9 Методы оценки соответствия параметров маркерных АФУ радиотехнического оборудования посадки

7.9.1 Методы оценки соответствия параметров маркерных АФУ радиотехнического оборудования посадки при испытаниях в условиях опытного производства

7.9.1.1. Соответствие диапазона частот следует оценивать по НД на АФУ или маркерное оборудование. Соответствие считают доказанным, если в НД указан диапазон частот согласно таблице 6.9.

В качестве доказательной документации предъявляют Руководство по эксплуатации на АФУ или оборудование.

7.9.1.2 Соответствие поляризации следует оценивать по чертежам антенны и ее установочным чертежам. Соответствие считают доказанным, если в НД и чертежах подтверждается требование по поляризации согласно таблице 6.9.

В качестве доказательной документации предъявляют Руководство по эксплуатации и установочные чертежи антенны на ЛА.

7.9.1.3 Соответствие КСВН следует оценивать путем измерения КСВН на выходе антенны как минимум на трех частотах диапазона (двух крайних и средней) по методу, приведенному в 7.4.1. Соответствие считают доказанным, если полученные значения КСВН удовлетворяют таблице 6.9.

В качестве доказательной документации предъявляют акт по испытаниям.

7.9.1.4 Соответствие обзора нижней полусферы следует оценивать по установочному чертежу антенны. Соответствие считают доказанным, если антенна размещена в нижней части фюзеляжа ЛА параллельно горизонтальной оси самолета (вертолета).

В качестве доказательной документации предъявляют установочные чертежи антенны на ЛА.

7.9.2 Оценка соответствия параметров маркерных АФУ радиотехнического оборудования посадки при испытаниях в условиях серийного производства

7.9.2.1 Соответствие КСВН на выходе АФУ как минимум на трех частотах диапазона (двух крайних и средней) следует оценивать непосредственно на ЛА по методу, приведенному в 7.4.1.

7.10 Методы оценки соответствия параметров аппаратуры АФУ СНС

7.10.1 Методы оценки соответствия параметров аппаратуры АФУ СНС при испытаниях в условиях опытного производства

7.10.1.1 Соответствие диапазона частот следует оценивать путем анализа НД на АФУ или маркерное оборудование. Соответствие считают доказанным, если в НД указан диапазон частот согласно таблице 6.10.

В качестве доказательной документации предъявляют Руководство по эксплуатации.

7.10.1.2 КСВН следует измерять панорамным измерителем КСВН по методу, приведенному в 7.4.1. Соответствие считают доказанным, если полученные результаты удовлетворяют таблице 6.10.

В качестве доказательной документации предъявляют акт по измерениям.

7.10.1.3 Соответствие поляризации антенн следует оценивать путем анализа НД. Соответствие считают доказанным в случае, если в НД приводятся параметры АФУ согласно таблице 6.10.

В качестве доказательной документации предъявляют Руководство по эксплуатации АФУ.

7.10.1.4 Диаграммы направленности антенн СНС при наземных испытаниях следует оценивать путем анализа чертежной документации и НД на АФУ. Соответствие считают доказанным в случае, если в НД приводятся параметры АФУ согласно таблице 6.10.

В качестве доказательной документации предъявляют Руководство по эксплуатации и установочные чертежи антенны.

7.10.1.5 Соответствие коэффициента усиления АФУ СНС следует оценивать путем анализа чертежной документации на установку антенн на ЛА и НД на АФУ. Соответствие считают доказанным, если коэффициент усиления антенны, указанный в НД, при выбранном размещении ее на ЛА удовлетворяют таблице 6.10.

В качестве доказательной документации предъявляют установочные чертежи антенны на ЛА и НД на АФУ.

7.10.2 Оценка соответствия параметров аппаратуры АФУ СНС в условиях серийного производства

7.10.2.1 КСВН в фидере питания на входе антенны следует оценивать по методу, приведенному в 7.4.1. Полученное значение КСВН должно соответствовать таблице 6.10.

7.11 Методы оценки соответствия параметров АФУ радиотехнической системы ближней навигации

7.11.1 Методы оценки соответствия параметров АФУ радиотехнической системы ближней навигации в условиях опытного производства

7.11.1.1 Соответствие диапазона частот следует оценивать по НД на АФУ или аппаратуру. Соответствие считают доказанным, если в НД указаны диапазоны частот согласно таблице 6.11.

В качестве доказательной документации предъявляют Руководство по эксплуатации на АФУ или аппаратуру.

7.11.1.2 Соответствие зон обзора оценивают при летных испытаниях сертифицируемого самолета путем анализа материалов по определению зон видимости или диаграмм направленности АФУ на трех частотах рабочего диапазона: близких к двум крайним и средней.

При наличии диаграмм направленности, полученных на модели или макете на трех частотах рабочего диапазона, диаграммы направленности или зоны видимости в летных условиях должны определяться как минимум на одной частоте и подтверждаться оценкой совпадения с результатами стендовых испытаний.

Зоны видимости АФУ должны быть определены в полете, по наземным радиомаякам, регламентируемая зона действия которых обеспечивает требуемую дальность на удалении, составляющем не менее 75 % дальности прямой видимости, и высоте, соответствующей максимальной высоте полета, путем регистрации сигнала готовности и сигнала перехода в режим «память» РСБН при выполнении правых и левых виражей с кренами не более 10°. При наличии провалов в зонах видимости, длительность которых превышает минимальные значения памяти по НД на РСБН, должно быть показано, что работоспособность РСБН обеспечивается при выполнении горизонтальных проходов с курсовыми углами, соответствующим обнаруженным провалам на расстоянии 75 % дальности прямой видимости от радиомаяка.

Зоны видимости следует определять с комплексом оборудования, чувствительность которого должна быть близкой к нижнему пределу по НД.

Диаграмму направленности определяют путем регистрации принимаемого или излучаемого АФУ сигнала при выполнении виражей с кренами не более 10° в зоне наземного маяка. Соответствие считают доказанным, если полученные зоны видимости или диаграммы направленности удовлетворяют таблице 6.11.

В качестве доказательной документации предъявляют акты по испытаниям.

7.11.1.3 Соответствие неравномерности диаграмм направленности следует оценивать по результатам измерения диаграмм направленности, определенных по методу, приведенному в 7.11.1.2, путем расчета коэффициентов неравномерности как разности максимального значения поля по азимуту, выраженного в децибелах, и его минимального значения в рабочих секторах зон обзора. Соответствие считают доказанным, если полученные коэффициенты неравномерности удовлетворяют таблице 6.11.

В качестве доказательной документации предъявляют акты по испытаниям.

7.11.1.4 Соответствие коэффициентов усиления АФУ следует оценивать путем анализа материалов по результатам стендовых испытаний по измерениям КУ и затухания энергии в фидерах питания, проведенных по методу, приведенному в 7.16.1.5 и 7.16.1.8.

7.11.1.5 Соответствие поляризации антенн следует оценивать по НД и указанной в чертежах ориентации антенн на ЛА. Соответствие считают доказанным, если в НД и чертежах подтверждаются требования по поляризации согласно таблице 6.11.

В качестве доказательной документации предъявляют установочные чертежи антенн на ЛА и Руководство по эксплуатации.

7.11.1.6 Соответствие КСВН следует оценивать путем анализа материалов по результатам измерения КСВН АФУ на ЛА по методу, приведенному в 7.4.1, на частотах согласно таблице 6.11. Соответствие считают доказанным, если значения КСВН в рабочих диапазонах частот удовлетворяет таблице 6.11.

В качестве доказательной документации предъявляют акты по результатам испытаний.

7.11.2 Методы оценки соответствия параметров АФУ радиотехнической системы ближней навигации в условиях серийного производства

7.11.2.1 Соответствие КСВН следует определять путем анализа материалов по результатам измерения КСВН АФУ на ЛА согласно 7.11.1.6.

7.12 Методы оценки соответствия параметров АФУ самолетных радиодальномеров

7.12.1 Методы оценки соответствия параметров АФУ самолетных радиодальномеров в условиях опытного производства

7.12.1.1 Соответствие диапазона частот следует оценивать по НД на АФУ или аппаратуру. Соответствие считают доказанным, если в НД указан диапазон частот согласно таблице 6.12.

7.12.1.2 Соответствие поляризации антенн следует оценивать по НД и указанной в чертежной документации ориентации антенн на ЛА. Соответствие считают доказанным, если в НД и чертежах приводятся требования по поляризации согласно таблице 6.12.

В качестве доказательной документации предъявляют установочные чертежи на ЛА и Руководство по эксплуатации на АФУ или аппаратуру.

7.12.1.3 Соответствие зон обзора следует оценивать путем анализа материалов по результатам летных испытаний сертифицируемого самолета.

7.12.1.4 Зоны видимости оценивают при летных испытаниях сертифицируемого самолета путем определения зон видимости АФУ в полетах по наземным радиомаякам, регламентируемая зона действия которых обеспечивает требуемую дальность. Зоны видимости должны быть определены:

- на удалениях, составляющих не менее 75 % дальности прямой видимости, и высоте, соответствующей максимальной крейсерской высоте полета самолета, - для ДМЕ/N;

- на границе зоны действия посадочного маяка - для ДМЕ/R путем регистрации сигнала готовности и сигнала перехода в «Память» радиодальномера ДМЕ при выполнении левых и правых виражей с кренами не более 10°. При наличии провалов в зонах видимости, длительность которых превышает минимальное значение времени памяти по НТД на радиодальномер ДМЕ, должно быть показано, что работоспособность радиодальномера обеспечивается при выполнении горизонтальных переходов с курсовыми углами, соответствующими обнаруженным провалам, на расстоянии 75 % дальности прямой видимости от радиомаяка ДМЕ/N или на границе зоны действия радиомаяка ДМЕ/R.

Зоны видимости следует определять с комплектом радиодальномера ДМЕ, чувствительность которого должна быть близкой к нижнему пределу по НД.

Соответствие считают доказанным, если полученные зоны видимости удовлетворяют таблице 6.12.

В качестве доказательной документации предъявляют акт по испытаниям.

7.12.2 Методы оценки соответствия параметров АФУ самолетных радиодальномеров в условиях серийного производства

7.12.2.1 Соответствие КСВН следует оценивать путем анализа материалов по результатам измерения КСВН АФУ на ЛА по методу, приведенному в 7.4.1, на частотах, указанных в таблице 6.12.

В качестве доказательной документации предъявляют акты по результатам испытаний.

7.12.2.2 Соответствие затухания в фидере питания антенны следует оценивать путем анализа материалов по результатам измерения затухания на сертифицируемом самолете (вертолете).

7.12.2.3 Затухание определяют при наземных испытаниях сертифицируемого ЛА путем измерения затухания в фидерном тракте между радиодальномером ДМЕ методом замещения на двух крайних и средней частотах рабочего диапазона. Соответствие считают доказанным, если измеренные значения затуханий удовлетворяют таблице 6.12.

В качестве доказательной документации предъявляют акты по испытаниям.

7.13 Методы оценки соответствия параметров курсовых АФУ радиотехнического оборудования посадки

7.13.1 Методы оценки соответствия параметров курсовых АФУ радиотехнического оборудования посадки в условиях опытного производства

7.13.1.1 Соответствие диапазона частот следует оценивать по НД на АФУ или по НД на радиотехническое оборудование посадки. Соответствие считают доказанным, если в НД указан диапазон частот согласно таблице 6.13.

В качестве доказательной документации представляют Руководство по эксплуатации на АФУ или оборудование.

7.13.1.2 Соответствие КСВН следует оценивать путем измерения КСВН на выходе АФУ по методу, приведенному в 7.4.1. Для АФУ, имеющего два или три выхода, КСВН следует измерять при следующих режимах свободных выходов:

- согласованной нагрузки;

- холостого хода;

- короткого замыкания и их комбинаций.

Соответствие считают доказанным, если подученные значения КСВН удовлетворяют таблице 6.13.

В качестве доказательной документации предъявляют акт по испытаниям.

7.13.1.3 Соответствие коэффициента усиления (КУ) курсового АФУ следует оценивать в наземных и летных условиях.

7.13.1.4 КУ в наземных условиях следует измерять при установке антенны на макетах отдельных частей самолетов (вертолетов) или на самолете (вертолете). КУ на макетах или самолете (вертолете) следует измерять на открытой площадке размером не менее 40´10 м. На площадке и в радиусе 10 м от антенн не должно быть предметов, отражающих электромагнитные волны. Функциональную схему измерения КУ собирают в соответствии с рисунком 7.7а.

Расстояние l между измерительной и облучающей антеннами должно быть не менее 30,0 м, а высота их размещения h - не менее 1,5 м.

Измеряемая, измерительная и облучающая антенны должны быть расположены на одной высоте от поверхности земли. Измерения проводят в следующем порядке:

- измерительные приборы подготавливают к работе в соответствии с инструкциями по эксплуатации на эти приборы;

- устанавливают измерительную и облучающую антенны в положение, соответствующее горизонтальной поляризации поля, ориентируя максимумы их диаграмм направленности в горизонтальной плоскости навстречу друг другу;

- настраивают генератор на одну из частот рабочего диапазона АФУ;

- настраивают индикатор на частоту генератора;

- определяют уровень сигнала на выходе измерительной антенны А1 в децибелах;

- снимают измерительную антенну и на ее место устанавливают измеряемое АФУ (антенну), размещенное на макете, имитирующем часть конструкции ЛА, аналогично ее предполагаемой ориентации на ЛА, или самолет (вертолет) с измеряемой антенной (рисунок 7.7б).

Допускается измеряемое АФУ (антенну) устанавливать на площадке в стороне от места установки измерительной антенны. При этом производят предварительную оценку площадки в месте установки антенн путем определения в них уровней сигналов, принимаемых измерительной антенной, разница между которыми не должна превышать 2 дБ;

- определяют уровень сигнала на выходе АФУ (антенны) А2 в децибелах;

- вычисляют КУ измеряемого АФУ (антенны) GA в децибелах по формуле

GA = [(A2 - A1) + (Сэ - 2,14)],                                              (20)

где GA - КУ измерительной антенны относительно изотропного излучателя на рабочей частоте, дБ.

Примечание - Если в качестве измерительной антенны используют полуволновый вибратор, то КУ измеряемого АФУ (антенны) GA в децибелах вычисляют по формуле

GA = A2 - A2.

Измерения должны проводиться на трех частотах рабочего диапазона (двух крайних и средней).

7,13.1.5 Коэффициент усиления (КУ) в летных условиях курсовых, глиссадных и навигационных антенн измеряют аналогично. Летные испытания АФУ проводят на головных самолетах (вертолетах) с помощью компараторного пункта либо по наземным радиомаякам.

Наземный компараторный пункт выполняют на базе доработанных радиостанций, рабочий диапазон которых должен включать частоты 108 - 118 и 328 - 336 МГц и наземных измерительных антенн.

В качестве наземных измерительных антенн в каждом диапазоне используют двухполяризационную антенну типа «волновой канал».

Компараторный пункт может быть выполнен также на базе штатных приемников аппаратуры ближней навигации и посадки, но при этом реальная чувствительность приемников должна быть не более 2 мкВ.

Калибровка наземного компараторного пункта должна проводиться с помощью самолета (вертолета)-лаборатории, на борту которого установлено эталонное АФУ с известным коэффициентом усиления.

1 - антенна измерительная LPA-I; 1¢ - измеряемая антенна, размещенная на макете или на металлическом листе; 2 - облучающая антенна; 3 - встроенный генератор высокочастотных сигналов селективного микровольтметра SMV-8,5; 4 - микровольтметр селективный SMV-8,5; 5 - стенд поворотный

Рисунок 7.7

Эталонные антенны выполняют в виде горизонтальных полуволновых вибраторов диапазонов 108 - 118 и 328 - 336 МГц, установленных на киле или цилиндрической части фюзеляжа самолета (вертолета). Может быть использована также любая бортовая антенна горизонтальной поляризации соответствующего диапазона, коэффициент усиления которой известен хотя бы в одном направлении.

Калибровка наземного компараторного пункта заключается в определении зависимостей сигнала с микровольтов на входе приемника компараторного пункта от выбранных удалений самолета (вертолета)-лаборатории с эталонной бортовой АФУ, работающей в передающем режиме при известной мощности передатчика.

Калибровка компараторного пункта должна проводиться на средней частоте рабочего диапазона в следующем порядке:

- измеряют мощность Рэт, подводимую к эталонному бортовому АФУ;

- определяют напряжение на входе радиоприемника, которое создается бортовой антенной с известным коэффициентом усиления при известной мощности бортового передатчика, сигнал которого модулирован частотой 400 Гц с глубиной модуляции - 60 % при известном КПД фидерного тракта в случае полета самолета (вертолета) над выбранным наземным ориентиром;

- выполняют горизонтальные полеты на высотах 3000 - 5000 м по выбранному азимуту в интервалах удалений, составляющих 60 - 100 % дальности прямой видимости, в направлении «от компараторного пункта» - при установке эталонного АФУ на киле и перпендикулярные сечениям азимута - при установке эталонного АФУ на цилиндрической части фюзеляжа.

Примечания

1 При калибровке компараторного пункта эталонное АФУ должно быть ориентировано «на компараторный пункт» направления, в котором известен ее коэффициент усиления.

2 С борта самолета с помощью эталонного АФУ с известным коэффициентом усиления излучают высокочастотный сигнал известной мощности.

3 Излучаемый сигнал оценивают в микровольтах на входе приемника наземного компараторного пункта в зависимости от дальности для каждой высоты полета.

4 Строят калибровочные зависимости для каждой высоты и известной конкретной мощности, подводимой к эталонному АФУ.

7.13.1.6 Коэффициент усиления исследуемого АФУ с помощью компараторного пункта следует определять в следующем порядке:

- исследуемую антенну отсоединяют от штатной аппаратуры ближней навигации и посадки и подключают к радиостанции;

- измеряют мощность Pа, подводимую к исследуемой антенне;

- калибруют измерительный приемник наземного компараторного пункта с помощью генератора стандартных сигналов;

- самолет с исследуемой антенной выполняет горизонтальные проходы на тех же высотах и удалениях, на которых производилась калибровка компараторного пункта, в направлении «на компараторный пункт»;

- с борта самолета излучают высокочастотный сигнал с помощью исследуемого бортового АФУ при известной подводимой мощности;

- излучаемый сигнал в микровольтах оценивают на входе измерительного приемника компараторного пункта;

- сравнивают полученную зависимость с калибровочной Uвх.эт = f(D) и вычисляют коэффициент усиления исследуемого АФУ в главном направлении по формуле

                                                  (22)

где Gэт - коэффициент усиления эталонного АФУ;

РA и Рэт - мощности, подводимые к исследуемому и эталонному АФУ соответственно, Вт;

Uвх.А и Uвх.эт - сигналы на входе измерительного приемника, создаваемые исследуемым и эталонным АФУ соответственно, В;

- для выяснения соответствия коэффициента усиления исследуемого АФУ по всем направлениям требуемой зоны действия выполняют виражи с заданными тактическими кренами в указанных ранее интервалах удалений;

- определяют диаграммы направленности в микровольтах с учетом коэффициента зоны;

- рассчитывают коэффициенты усиления АФУ при минимальном сигнале требуемой зоны действия и сравнивают с допустимым.

Примечания

1 При определении коэффициента усиления и калибровке компараторного пункта входные сигналы на наземном компараторном пункте регистрируют с помощью самописца. На борту должна также проводиться синхронизированная запись параметров положения самолета и контроля мощности, подводимой к АФУ.

2 Под коэффициентом зоны следует понимать зависимость изменения сигнала от координат. Для введения коррекции по коэффициенту зоны определяют зависимость распределения поля по дальности D: Uвх = f(D) в районе виражей. Поправку вводят как отношение сигналов при изменении координат самолета во время выполнения виража к сигналу в центре виража.

7.13.1.7 Определение коэффициента усиления и испытания курсовых, глиссадных и навигационных АФУ по наземным радиомаякам систем посадки внутрисоюзной (типа СП), международной ILS (типа МЛС), а также международной системы навигации (типа VOR) проводят в полетах на высотах:

- 1000 и 600 м - для курсовых АФУ систем СП и 1LS соответственно;

- 300 - 600 м (высота выполнения предпосадочного маневра) - для глиссадных АФУ;

- на минимально требуемых высотах - для навигационных АФУ.

Усиления курсовых, глиссадных и навигационных АФУ в направлении вперед и назад (для навигационных АФУ) следует оценивать при выполнении горизонтальных проходов «на маяк» взлетно-посадочным курсом - для курсовых и глиссадных АФУ; «на маяк» и «от маяка» - для навигационных АФУ, в которых должны фиксироваться сигналы в микровольтах на входе соответствующих приемников при одиночном комплекте аппаратуры на удалениях:

- 75 и 45 км - для курсовых АФУ систем СП и 1LS соответственно;

- 18 км - для глиссадных АФУ;

- на удалениях, составляющих 75 % дальности прямой видимости - для навигационных АФУ.

Полученные входные сигналы должны быть не менее требуемой чувствительности соответствующих приемников для данного типа аппаратуры. Для оценки усиления курсового и навигационного АФУ в требуемых зонах действия: переднем секторе ± 90° - курсового, секторе 360° - навигационного измеряют диаграммы направленности. С этой целью необходимо выполнять виражи с креном 10° на высоте 1000 - 8000 м - для курсового АФУ и на максимально требуемой высоте - для навигационного АФУ на удалениях, составляющих 75 % дальности прямой видимости. При этом следует фиксировать сигнал на входе приемника через 10° и в экстремальных точках. Диаграммы направленности следует построить с учетом коэффициента зоны и проверить на соответствие нормам. По соотношению сигналов в главном направлении, полученных при выполнении виража и в полетах «на маяк», необходимо определить входные сигналы в микровольтах в опасных направлениях требуемых зон действия, которые должны быть не менее требуемой чувствительности приемника для аппаратуры данного типа.

Для оценки усиления глиссадного АФУ выполняют сечения взлетно-посадочного курса через 15° в требуемой зоне действия, переднем секторе ± 45°, на удалении 18 км и высоте, соответствующей высоте выполнения предпосадочного маневра. При этом необходимо фиксировать входные сигналы глиссадного приемного в момент пересечения взлетно-посадочного курса, которые не должны быть менее требуемого для аппаратуры данного типа. По полученным значениям сигналов необходимо построить диаграммы направленности и проверить их на соответствие нормам.

Допускается оценивать усиление глиссадных антенн в боковых направлениях и определять их диаграммы направленности при выполнении виражей.

При выполнении полета по маякам на борту самолета (вертолета) должна быть установлена контрольно-записывающая аппаратура, позволяющая регистрировать сигналы на входе приемника и параметры положения самолета.

Регистрация входных сигналов в микровольтах должна проводиться следующим образом:

- к клеммам входного напряжения автоматической регулировки усиления (АРУ) штатных приемников бортовой аппаратуры ближней навигации и посадки подключают самописец;

- на ленте самописца осуществляют запись выходных напряжений АРУ при выполнении самолетом проходов и виражей;

- одновременно на самописце проводят регистрацию параметров положения самолета (вертолета);

- по окончании полета штатную антенну отсоединяют от приемника и на его вход подают сигнал от генератора высокой частоты с выходным делителем напряжения;

- на ленте самописца фиксируют уровни отклонения, соответствующие конкретным значениям сигналов на входе приемника в микровольтах;

- пользуясь полученными зависимостями напряжения АРУ от сигнала на входе приемника расшифровывают режимы полета и оценивают на соответствие требуемым нормам с учетом реальных условий полета.

Измерения должны проводиться на трех частотах рабочего диапазона (двух крайних и средней).

Для АФУ, имеющего два или три выхода, измерение коэффициента усиления должно проводиться как при подключении к свободным выходам согласованных нагрузок, так и при комбинации нагрузок, для которых получено максимальное значение КСВН по 3.12.2 настоящего стандарта.

Соответствие считают доказанным, если измеренные значения коэффициента усиления АРУ удовлетворяют таблице 6.13.

В качестве доказательной документации предъявляют разделы актов (отчетов) по испытаниям, а также материалы стендовых испытаний по определению диаграммы направленности.

7.13.1.8 Соответствие неравномерности распределения горизонтальной составляющей поля курсового АФУ оценивают в наземных и летных условиях.

7.13.1.9 Неравномерность распределения горизонтальной составляющей поля в наземных условиях следует оценивать на моделях самолета (вертолета), изготовленных в уменьшенном масштабе, или на макетах, имитирующих часть конструкции самолета (вертолета), изготовленных в натуральную величину.

Метод измерения неравномерности распределения горизонтальной составляющей поля в наземных условиях аналогичен методу, приведенному в 7.4.1.

7.13.1.10 Соответствие неравномерности распределения горизонтальной составляющей поля при летных испытаниях оценивают путем определения диаграмм направленности АФУ в горизонтальной плоскости и их неравномерности.

Диаграммы направленности должны быть определены на трех частотах диапазона, близких к двум крайним и средней.

Диаграммы направленности определяют путем регистрации принимаемого или излучаемого АФУ сигнала при выполнении самолетом (вертолетом) виражей с креном не более 10° в зоне действия наземного маяка или компараторного пункта, аттестованного в установленном порядке. При наличии диаграмм направленности, полученных в наземных условиях (на модели, макете) на трех частотах диапазона, диаграммы направленности в летных условиях должны определяться как минимум на одной частоте и подтверждаться оценкой совпадения с результатами наземных испытаний.

Примечание - Диаграммы направленности курсового АФУ радиотехнического оборудования посадки должны определяться при посадочной конфигурации самолета (вертолета).

Соответствие считают доказанным, если полученные значения неравномерности диаграмм направленности в горизонтальной плоскости в переднем секторе ± 90° удовлетворяют требованиям таблицы 6.13.

В качестве доказательной документации предъявляют разделы актов (отчетов) по наземным и летным испытаниям.

7.13.1.11 Соответствие поляризации следует оценивать по чертежам антенны и ее установочным чертежам. Соответствие считают доказанным, если в НД и чертежах подтверждается требование по поляризации согласно таблице 6.13.

В качестве доказательной документации предъявляют Руководство по эксплуатации и установочные чертежи на ЛА.

7.13.1.12 Соответствие коэффициента ослабления вертикальной составляющей поля АФУ следует оценивать в наземных и летных условиях.

7.13.1.13 Соответствие коэффициента ослабления вертикальной составляющей поля курсового АФУ в наземных условиях следует оценивать путем сравнения уровней сигналов, принимаемых бортовым АФУ или АФУ, размещенным на макете части конструкции ЛА в направлении полета от линейно поляризационной антенны, расположенной на той же высоте, что и исследуемая антенна, и удаленной от нее не менее чем на 60 м, при установке измерительной антенны в положения, удовлетворяющие горизонтальной и вертикальной поляризации.

7.13.1.14 Соответствие коэффициента ослабления вертикальной составляющей поля в летных условиях следует оценивать путем сравнения уровней горизонтальной и вертикальной составляющих поля, принятых измерительными антеннами компараторного пункта при выполнении самолетом на высоте не менее 3000 м горизонтальных проходов «на компараторный пункт», аттестованный в установленном порядке, в интервале 60 - 100 % дальности прямой видимости при работе бортового АФУ в передающем режиме.

Для АФУ, имеющих два или три выхода, коэффициент ослабления вертикальной составляющей поля следует измерять как при подключении к свободным выходам согласованных нагрузок, так и при комбинации нагрузок, для которых получено максимальное значение КСВН в соответствии с 7.13.1.2.

Соответствие считают доказанным, если полученные значения коэффициента ослабления вертикальной составляющей поля антенны по отношению к горизонтальной составляющей поля в направлении вперед вдоль продольной оси самолета удовлетворяют таблице 6.13.

В качестве доказательной документации предъявляют акт по наземным или летным испытаниям.

7.13.1.15 Соответствие развязки между входами АФУ (при наличии двух выходов) следует оценивать при наземных испытаниях самолета (вертолета) путем измерения развязки между выходами АФУ методом замещения на двух крайних и средней частотах рабочего диапазона, при этом для антенны, имеющей три выхода на свободном выходе, должна быть установлена согласованная нагрузка.

Соответствие необходимо оценивать в следующем порядке:

- собирают измерительную схему в соответствии с рисунком 7.8а;

- подготавливают измерительные приборы к работе согласно их инструкциям по эксплуатации;

- настраивают генератор на одну из частот рабочего диапазона АФУ;

- настраивают микровольтметр на частоту генератора;

- определяют микровольтметром уровень сигнала А1;

- размыкают измерительную схему в точках «а-а»;

- подключают в точки «а-а» выходы измеряемого АФУ (антенны) согласно рисунку 7.8б;

- определяют микровольтметром уровень сигнала А2;

- вычисляют величину развязки между выходами АФУ (антенны) Kp в децибелах по формуле

Kp = A1 - A2.                                                         (23)

Соответствие считают доказанным, если полученное значение развязки между выходами АФУ удовлетворяют таблице 6.13.

В качестве доказательной документации предъявляют акты по испытаниям.

7.13.2 Оценка соответствия параметров курсовых АФУ радиотехнического оборудования посадки в условиях серийного производства

7.13.2.1 Соответствие КСВН на выходе АФУ следует оценивать непосредственно на ЛА по методу, приведенному в 7.4.1.

7.14 Методы оценки соответствия параметров глиссадных АФУ радиотехнического оборудования посадки

7.14.1 Методы оценки соответствия параметров глиссадных АФУ радиотехнического оборудования посадки в условиях опытного производства

7.14.1.1 Соответствие диапазона частот следует оценивать по НД на радиотехническое оборудование посадки. Соответствие считают доказанным, если в НД указан диапазон частот согласно таблице 6.14.

В качестве доказательной документации предъявляют Руководство по эксплуатации на АФУ (аппаратуру).

1 - генератор высокочастотных сигналов (встроенный генератор селективного микровольтметра SMV-8,5); 2 - измерительный кабель; 3 - приемное устройство с индикатором (SMV-8,5); 4 - измеряемый фидерный тракт

Рисунок 7.8

7.14.1.2 Соответствие КСВН следует оценивать путем измерения КСВН на выходе АФУ как минимум на трех частотах диапазона (двух крайних и средней) по методу, приведенному в 7.4.1.

Для АФУ, имеющей два или три выхода, КСВН следует измерять при следующих режимах свободных выходов:

- согласованной нагрузки;

- холостого хода;

- короткого замыкания и их комбинаций.

Соответствие считают доказанным, если полученные значения КСВН удовлетворяют таблице 6.14.

В качестве доказательной документации предъявляют акт по испытаниям.

7.14.1.3 Соответствие коэффициента усиления АФУ следует оценивать в наземных или летных условиях.

7.14.1.4 Коэффициент усиления в наземных условиях следует оценивать при установке антенн на макетах отдельных частей самолетов (вертолетов), металлическом листе размером 1000´1000 мм или на ЛА.

Метод определения коэффициента усиления в наземных условиях должен соответствовать 7.13.1.4.

7.14.1.5 Коэффициент усиления в летных условиях глиссадных АФУ следует оценивать по методу, приведенному в 7.13.1.5. Соответствие считают доказанным, если полученные значения коэффициента усиления АФУ удовлетворяют таблице 6.14.

В качестве доказательной документации предъявляют акт по испытаниям.

7.14.1.6 Соответствие неравномерности распределения горизонтальной составляющей поля глиссадного АФУ следует оценивать в наземных и летных условиях.

7.14.1.7 При оценке соответствия неравномерности распределения горизонтальной составляющей поля в наземных условиях глиссадное АФУ (антенну), размещенное на металлическом листе или макете, имитирующем часть конструкции ЛА, устанавливают на поворотный стенд согласно рисунку 7.9.

На площадке для измерений собирают измерительную схему согласно рисунку 7.9, при этом размеры площадки, расстояния и высота установки антенн аналогичны указанным в 7.10.1.4.

Подготавливают измерительные приборы к работе согласно их инструкциям по эксплуатации.

1 - антенна измерительная LPA-1; 1¢ - измеряемая антенна, размещенная на макете или на металлическом листе; 2 - микровольтметр селективный SMV-8,5; 3 - встроенный высокочастотный генератор селективного микровольтметра SMV-8,5; 4 - облучающая антенна LPA-1; 5 - стенд поворотный

Рисунок 7.9

Измерения проводят в следующем порядке:

- устанавливают на генераторе одну из частот рабочего диапазона АФУ (антенны);

- поворачивая стенд, находят в секторе ± 45° от направления полета минимальный (Амин) и максимальный (Амакс) уровень сигнала на выходе АФУ (антенны) в децибелах;

- вычисляют коэффициент неравномерности АФУ (антенны) в заданном секторе Ег в децибелах по формуле

Ег = Амакс - Амин,                                                       (24)

где Амакс - максимальное значение сигнала в секторе ± 45° от направления полета, дБ.

7.14.1.8 Соответствие величин коэффициента неравномерности распределения горизонтальной составляющей поля при летных испытаниях следует оценивать по методу, приведенному в 7.13.1.10. Соответствие считают доказанным, если полученные значения коэффициента неравномерности распределения горизонтальной составляющей поля удовлетворяют таблице 6.14.

В качестве доказательной документации предъявляют акт по испытаниям.

7.14.1.9 Соответствие поляризации следует оценивать по НД на АФУ или аппаратуру и установочным чертежам антенны на ЛА. Соответствие считают доказанным, если в НД и чертежах подтверждается требование по поляризации согласно таблице 6.14.

В качестве доказательной документации предъявляют Руководство по эксплуатации и установочные чертежи антенн на ЛА.

7.14.1.10 Соответствие коэффициента ослабления вертикальной составляющей поля антенны по отношению к горизонтальной составляющей вдоль продольной оси следует оценивать согласно 7.11.1.6. Соответствие считают доказанным, если полученные значения коэффициента ослабления вертикальной составляющей поля антенны по отношению к горизонтальной составляющей поля в направлении вдоль продольной оси самолета удовлетворяют таблице 6.14.

В качестве доказательной документации предъявляют акт по испытаниям.

7.14.1.11 Соответствие развязки (при наличии двух или более выходов) следует оценивать при наземных испытаниях ЛА путем измерения развязки между выходами АФУ методом замещения на двух крайних и средней частотах рабочего диапазона, при этом для антенны, имеющей три выхода, на свободном выходе должна быть установлена согласованная нагрузка. Соответствие считают доказанным, если полученные значения развязки между выходами АФУ удовлетворяют таблице 6.14.

В качестве доказательной документации предъявляют акт по испытаниям.

7.14.1.12 Соответствие размещения глиссадной антенны следует оценивать путем расчета величины максимально возможного расстояния по вертикали между глиссадной антенной и нижней точкой колес при заходе на посадку.

Рекомендуемое расстояние не должно превышать 5,8 м при нахождении самолета (вертолета) в посадочной конфигурации.

В качестве доказательной документации предъявляют акт по испытаниям.

7.14.2 Соответствие параметров глиссадных АФУ радиотехнического оборудования посадки в условиях серийного производства

7.14.2.1 Соответствие КСВН на выходе АФУ следует оценивать непосредственно на ЛА по методу, приведенному в 7.4.1.

7.15 Методы оценки соответствия параметров АФУ аппаратуры МЛС

7.15.1 Методы оценки соответствия параметров АФУ аппаратуры МЛС при испытаниях в условиях опытного производства

7.15.1.1 Соответствие диапазона частот следует оценивать по НД на АФУ или аппаратуру.

Соответствие считают доказанным, если в НД указан диапазон частот согласно 6.15.

В качестве доказательной документации предъявляют Руководство по эксплуатации.

7.15.1.2 Соответствие поляризации антенн следует оценивать по установочным чертежам антенны и эксплуатационной документации на оборудование МЛС.

Соответствие считают доказанным, если полученные зоны видимости удовлетворяют таблице 6.15.

В качестве доказательной документации предъявляют установочные чертежи антенны на ЛА и Руководство по эксплуатации.

7.15.1.3 Соответствие КСВН следует оценивать путем анализа материалов по результатам измерения КСВН на входах АФУ в рабочем диапазоне частот по методу, приведенному в 7.4.1.

Соответствие считают доказанным, если полученное значение КСВН удовлетворяет таблице 6.15.

В качестве доказательной документации предъявляют акт по испытаниям.

7.15.1.4 Соответствие коэффициентов усиления антенны следует оценивать путем анализа материалов стендовых испытаний, выполненных по методу, приведенному в 7.16.1.7. Соответствие считают доказанным, если величины коэффициента усиления удовлетворяют таблице 6.15.

В качестве доказательной документации приводят акты по результатам испытаний.

7.15.1.5 Соответствие затухания в фидерных трактах между антеннами и радиоприемником следует оценивать путем анализа материалов измерений по методу, приведенному в 7.16.1.8. Соответствие считают доказанным, если значения затухания фидерного тракта удовлетворяют таблице 6.15.

В качестве доказательной документации предъявляют акты по испытаниям.

7.15.2 Оценка соответствия параметров АФУ аппаратуры МЛС при наземных испытаниях в условиях серийного производства

7.15.2.1 КСВН в фидере питания антенны следует измерять непосредственно на ЛА.

Метод измерения КСВН должен соответствовать методу измерения указанного параметра при наземных испытаниях антенн в условиях опытного производства согласно 7.4.1.

7.16 Методы оценки соответствия параметров АФУ аппаратуры ответчика УВД

7.16.1 Методы оценки соответствия параметров АФУ аппаратуры ответчика УВД при испытаниях в условиях опытного производства

7.16.1.1 Соответствие диапазона частот следует оценивать по НД на АФУ или аппаратуру ответчика УВД. Соответствие считают доказанным, если в НД указан диапазон частот согласно таблице 6.16.

В качестве доказательной документации предъявляют Руководство по эксплуатации на АФУ (аппаратуру).

7.16.1.2 Соответствие поляризации антенн следует оценивать по НД и указанной в чертежах ориентации антенн на ЛА. Соответствие считают доказанным, если в НД и чертежах подтверждаются требования по поляризации согласно таблице 6.16.

В качестве доказательной документации предъявляют установочные чертежи антенны на ЛА и Руководство по эксплуатации.

7.16.1.3 Соответствие зон обзора следует оценивать при летных испытаниях сертифицируемого самолета (вертолета) путем определения зон видимости АФУ в полетах по наземным вторичным радиолокаторам с регламентируемой зоной действия, обеспечивающей требуемую дальность. Зоны видимости АФУ должны быть определены на удалениях, составляющих не менее 75 % фактической дальности и высоте, соответствующей максимальной крейсерской высоте полета самолета (вертолета) путем регистрации наличия полезного сигнала при выполнении виражей с кренами вплоть до максимальных эксплуатационных.

Зоны видимости следует определять с комплектом аппаратуры ответчика УВД, чувствительность которого должна быть близкой к нижнему пределу по НД.

Соответствие считают доказанным, если полученные зоны видимости удовлетворяют таблице 6.16.

В качестве доказательной документации предъявляют разделы актов (отчетов) по результатам испытаний.

7.16.1.4 Соответствие КСВН следует оценивать путем анализа материалов по результатам измерения КСВН АФУ на ЛА, выполненных по методу, приведенному в 7.4.1, на частотах согласно таблице 6.16. Соответствие считают доказанным, если значения КСВН в рабочих диапазонах частот удовлетворяют таблице 6.16.

В качестве доказательной документации предъявляют акты по результатам испытаний.

7.16.1.5 Для установления соответствия коэффициентов усиления антенн ответчиков в режиме УВД, исходя из структуры АФУ, определяют объем проверок согласно таблице 7.1 и измеряют коэффициент усиления антенны GA по методу, приведенному в 7.4.1.

Таблица 7.1

Варианты структуры АФУ

Измеряемый параметр

Определяемый параметр

Антенна (или антенный блок)

Коэффициент усиления антенны (антенного блока)

Допустимое затухание фидерного тракта от антенны (антенного блока) до аппаратуры (в соответствии с таблицей 6.16)

Многоантенная система с фидерными устройствами

Коэффициент усиления каждой антенны

Суммарное затухание фидерных устройств для каждого канала каждой антенны

Затухание в каждом фидерном устройстве в соответствии с НД

Допустимое суммарное затухание фидерных трактов для каждого канала каждой антенны (в соответствии с таблицей 6.16) Допустимое суммарное затухание кабеля для каждого канала каждой антенны

Для антенных систем с фидерными устройствами измеряют затухание Di каждого устройства в соответствии с НД на него по методу, приведенному в 7.16.1.8.

Примечание - GA и Di, измеряют на частоте 740 МГц.

Для многоантенных систем суммарное затухание фидерных устройств Då для каждого канала каждой антенны вычисляют по формуле

                                                             (25)

где п - число фидерных устройств в данном канале.

Определяют допустимое суммарное затухание D в децибелах фидерного тракта от антенны до аппаратуры для измеренного GА.

Допустимое значение суммарного затухания кабеля Dк в децибелах вычисляют по формуле

Dк = D - Då.                                                            (26)

Соответствие считают доказанным, если Dк больше нуля, при этом АФУ может применяться на ЛА, где Dк меньше полученной величины.

7.16.1.6 Коэффициент усиления антенны в горизонтальной плоскости необходимо измерять в следующем порядке:

- собирают функциональную схему измерения коэффициентов усиления в соответствии с рисунком 7.10а;

- расстояние между антеннами l в метрах вычисляют по формуле

                                                            (27)

где L1 - раскрыв измеряемой антенны, м,

L2 - раскрыв облучающей антенны, м,

l - длина волны, м;

- антенны устанавливают на одной высоте, равной или свыше 3 м;

- устанавливают горизонтальную поляризацию измерительной и облучающей антенны;

- проверяют, чтобы в поле излучения антенн не было предметов, отражающих электромагнитные волны;

- подготавливают измерительные приборы к работе в соответствии с их инструкциями по эксплуатации;

- фиксируют показания аттенюатора А1 и индикатора приемного устройства;

- снимают измерительную антенну и на ее место устанавливают измеряемую антенну в соответствии с рисунком 7.11б;

1 - измерительная антенна (четвертьволновый вибратор); 1¢ - измеряемая антенна; 2 - антенна облучающая (вспомогательная); 3 - аттенюатор; 4 - генератор высокочастотных сигналов; 5 - устройство приемное с индикатором; 6 - стенд поворотный

Рисунок 7.11

- с помощью поворотного стенда измеряемую антенну разворачивают так, чтобы на индикаторе приемного устройства было минимальное показание;

- с помощью аттенюатора, не изменяя мощности генератора, устанавливают на индикаторе приемного устройства прежнее показание индикатора и фиксируют новое показание аттенюатора А2;

- вычисляют коэффициент усиления измеряемой антенны GА относительно измерительной в децибелах по формуле

GA = A2 - A1.                                                        (30)

Примечания

1 Для повышения точности измерения рекомендуется облучающую антенну передвигать по высоте от 2 до 3 м для нахождения максимального и минимального значений измеряемых сигналов и их усреднения.

2 Измерения проводят на частотах 1030, 1090 МГц.

Соответствие считают доказанным, если измеренное значение коэффициента усиления антенны удовлетворяет таблице 6.16.

В качестве доказательной документации предъявляют акты по результатам испытаний.

7.16.1.8 Соответствие затухания в фидерных трактах следует оценивать путем анализа материалов измерения затухания энергии в реальных фидерных трактах, смонтированных на ЛА.

Для измерения затуханий элементов фидерного тракта:

- собирают измерительную схему в соответствии с рисунком 7.12а,

1 - генератор высокочастотных сигналов (встроенный генератор селективного микровольтметра SMV-8,5); 2 - измерительный кабель; 3 - приемное устройство с индикатором (SMV-8,5); 4 - измеряемый фидерный тракт

Рисунок 7.12

- подготавливают приборы к работе в соответствии с их инструкциями по эксплуатации;

- настраивают генератор ВЧ сигналов на проверяемую частоту;

- настраивают приемное устройство на частоту генератора по максимальному показанию индикатора приемного устройства;

- фиксируют показание аттенюатора А1 и индикатора;

- вместо соединителя 3 включают в точки «а-а» схемы измеряемый фидерный тракт в соответствии с рисунком 7.12б;

- изменяя аттенюатором выходную мощность, добиваются на индикаторе приемного устройства прежнего показания и фиксируют новое показание аттенюатора А2;

- вычисляют затухание в измеряемом тракте д. в децибелах по формуле

Di = A1 - A2.                                                           (31)

Соответствие считают доказанным, если значение затухания фидерного тракта удовлетворяет таблице 6.16.

В качестве доказательной документации предъявляют акты, разделы актов (отчетов) по испытаниям.

7.17 Методы оценки соответствия параметров АФУ аппаратуры СПС

7.17.1 Оценка соответствия параметров АФУ аппаратуры СПС при испытаниях в условиях опытного производства

7.17.1.1 Соответствие диапазона частот следует оценивать по НД на АФУ или аппаратуру СПС для режима «УВД». Соответствие считают доказанным, если в НД указан диапазон частот согласно таблице 6.17.

В качестве доказательной документации предъявляют Руководство по эксплуатации.

7.17.1.2 Соответствие поляризации антенн следует оценивать по установочным чертежам антенны и Руководству по эксплуатации на АФУ (оборудование). Соответствие считают доказанным, если значения поляризации антенн удовлетворяют таблице 6.17.

В качестве доказательной документации предъявляют установочные чертежи антенны на ЛА и Руководство по эксплуатации.

7.17.1.3 Соответствие зон обзора следует оценивать при летных испытаниях сертифицируемого самолета (вертолета) путем определения зоны видимости АФУ в полетах по наземным вторичным радиолокаторам с регламентируемой зоной действия, обеспечивающей требуемую дальность. Зоны видимости АФУ должны быть определены на удалениях, составляющих не менее 75 % фактической дальности, и высоте, соответствующей максимальной крейсерской высоте полета самолета (вертолета), путем регистрации наличия полезного сигнала при выполнении виражей с кренами вплоть до максимальных эксплуатационных. Зоны видимости следует определять с экземпляром аппаратуры СПС, чувствительность которого должна быть близкой к нижнему пределу по НД. Соответствие считают доказанным, если полученные зоны видимости удовлетворяют таблице 6.17. В качестве доказательной документации предъявляют акт по результатам испытаний.

7.17.1.4 Соответствие КСВН следует оценивать путем анализа материалов по результатам измерения КСВН на входе АФУ на средней и крайних частотах поддиапазонов по методу, приведенному в 7.4.1. Соответствие считают доказанным, если полученные значения КСВН удовлетворяют таблице 6.17.

В качестве доказательной документации предъявляют акт по результатам испытаний.

7.17.1.5 Соответствие коэффициента усиления антенны следует оценивать путем анализа материалов стендовых испытаний, выполненных по методу, приведенному в 7.16.1.6. Соответствие считают доказанным, если величина коэффициента усиления удовлетворяет таблице 6.17.

В качестве доказательной документации предъявляют акты по результатам испытаний.

7.17.1.6 Соответствие затухания фидерного тракта между антенной и приемопередатчиком следует оценивать путем анализа материалов измерений по методу, приведенному в 7.16.1.8. Соответствие считают доказанным, если значения затухания фидерного тракта удовлетворяют таблице 6.17.

В качестве доказательной документации предъявляют акт по испытаниям.

7.17.1.7 Соответствие диаграмм направленности АФУ в горизонтальной плоскости следует оценивать путем анализа материалов стендовых испытаний, выполненных согласно 7.4. Соответствие считают доказанным, если диаграммы направленности АФУ в горизонтальной плоскости удовлетворяют таблице 6.17.

В качестве доказательной документации предъявляют акты по результатам испытаний.

7.17.2 Оценка соответствия параметров АФУ аппаратуры СПС в условиях серийного производства

КСВН в фидере питания на входе АФУ следует оценивать по методу, приведенному в 7.4.1. Соответствие считают доказанным, если полученные результаты удовлетворяют таблице 6.17.

ПРИЛОЖЕНИЕ А

(рекомендуемое)

ПЕРЕЧЕНЬ ИЗМЕРИТЕЛЬНОЙ (КОНТРОЛЬНОЙ) АППАРАТУРЫ, РЕКОМЕНДУЕМОЙ ДЛЯ ИЗМЕРЕНИЯ ПАРАМЕТРОВ АНТЕННО-ФИДЕРНЫХ СИСТЕМ

Таблица А.1

Наименование прибора

Тип

Основные технические данные

Генератор сигналов высокочастотный

Г4-78, Г4-79, Г4-80, Г4-81,

Г4-82, Г4-83

Диапазоны частот, ГГц:

1,16 - 1,78; 1,78 - 2,56; 2,56 - 4,00; 4,00 - 5,60; 5,60 - 7,50; 7,50 - 10,00

Основная погрешность установки частоты по шинам приборов - не более ± 0,5 %

Выходное сопротивление, Ом:

Г4-78, Г4-81

        50 ± 6

Г4-82, Г4-83

        не менее 10

Напряжение питания:

(220 ± 22) В частотой (50,0 ± 0,5) Гц

Мощность потребляемая от сети, Вт:

Г4-78, Г4-79

70

Г4-80, Г4-83

120

Усилитель селективный

У2-8

Диапазон частот, усиливаемых усилителем, 0,02 - 200,00 кГц

Коэффициент усиления - от 20 до 100 дБ

Напряжение питания (220 ± 22) В частотой (50,0 ± 0,5) Гц

Температура воздуха 10 - 35 °С

Потребляемая мощность - не более 25 Вт

Измерители сопротивлений

Волновое сопротивление, Ом:

ИПС-2, ИПС-3

50

ИПС-4, ИПС-5

75

Рабочий диапазон частот, МГц:

ИПС-2, ИПС-3

от 20 до 150

ИПС-4, ИПС-5

от 150 до 1000

Измерители сопротивлений

Предел измерения КСВН - от 1,1 до 10,0

Относительная погрешность измерения сопротивления ± 7 %

Контрольно-сервисная аппаратура

Р-50, Р-75, КСР-5

Рабочий диапазон частот 100 - 400 МГц

Волновое сопротивление, Ом:

Р-50

50

Р-75

75

Относительная погрешность контроля КБВ и мощности - не более ± 20 %

Радиостанция

Орлан-85

Диапазон частот 118 - 136 МГц

СТ, СТА, СТБ

Напряжение питания (27,0 ± 2,7) В постоянного тока

Радиостанция

Р-833

Диапазон частот 100 - 150 и 220 - 400 МГц

Напряжение питания (27,0 ± 2,7) В постоянного тока и (115,00 ± 5,75) В частотой (400 ± 10) Гц

Радиостанция

Р-800

Диапазон частот 100 - 150 и 220 - 400 МГц

Напряжение питания (27,0 ± 2,7) В постоянного тока и (115,00 ± 5,75) В частотой (400 ± 10) Гц

Селективный микровольтметр

SMV-8,5

Диапазон частот 26 - 1000 МГц

Напряжение питания (220 ± 22) В частотой (50,0 ± 0,5) Гц и (27,0 ± 2,7) В постоянного тока

Малогабаритный имитатор маяка

МИМ-70

Диапазон частот 108 - 118 и 328 - 336 МГц

Напряжение питания (27,0 ± 2,7) В постоянного тока

Измеритель КСВН панорамный

РК-2-47

Диапазон частот 20 - 1250 МГц

Основная погрешность определения частоты:

- при отсчете по частотной метке ± 15 МГц

- при установке начальной и конечной частот полосы качения ± 20 МГц

КСВН 1,05 - 5,0

Питание от сети переменного тока напряжением (220 ± 22) В частотой (50,0 ± 0,5) Гц

Потребляемая мощность 150 Вт

Измеритель комплексных коэффициентов передачи

Р4-11

Диапазон частот 1,0 - 1250,0 МГц

Основная погрешность определения частоты - не более ± 0,65 МГц

КСВН 1,05 - 2,00

Пределы индикации КСВН - от 1 до 2

Напряжение питающей сети (220 ± 22) В частотой (50,0 ± 0,5) Гц

Потребляемая мощность не более 180 Вт

Измеритель комплексных коэффициентов передачи

Р4-37

Рабочий диапазон частот 1 - 1250 МГц

Диапазон индикации КСВН - от 1 до 2

Диапазон измерения модуля коэффициента отражения - от 0,02 до 1,00

Волновое сопротивление измерительного тракта 50 и 75 Ом

Напряжение питания (220 ± 22) В частотой (50,0 ± 0,5) Гц

Потребляемая мощность 480 Вт

Измеритель комплексных коэффициентов передачи

Р4-38

Рабочий диапазон частот 1,25 - 5,00 ГГц

Основная относительная погрешность измерения частоты - до 500 МГц - ± 0,1 %, а в диапазоне - ± 0,2 %

Диапазон измерения КСВН - от 1,04 до 2,00

Диапазон индикации КСВН - от 1 до 2

Измеритель комплексных коэффициентов передачи

Р4-38

Напряжение питающей сети (220 ± 22) В частотой (50,0 ± 0,5) Гц

Потребляемая мощность 450 Вт

Измеритель КСВН панорамный

Диапазон рабочих частот, МГц:

Р2-52

        1,07 - 2,14

Р2-53

        2,00 - 4,00

Р2-54

        3,20 -12,05

Диапазон измерения КСВН - от 1,07 до 5,00

Напряжение питания (220 ± 12) В частотой (50,0 ± 0,5) Гц

Потребляемая мощность - не более 180 Вт

Частотомер электронно-счетный

Ч3-54

Измеряемый диапазон частот:

        0,1 Гц - 120,0 МГц,

        120 - 150 МГц,

        50 - 300 МГц

Максимальная относительная погрешность измерения частоты ± 1,5 × 10-7 в течение месяца

Питающее напряжение сети:

(220 ± 22) В частотой (50,0 ± 0,5) Гц или (115 ± 6) В частотой  В

Частотомер электронно-счетный вычислительный

Ч3-64

Диапазон измеряемых частот:

0,005 Гц - 150,000 МГц;

100 - 1000 МГц;

1000 - 1500 МГц

Входное сопротивление 50 Ом

Питающее напряжение:

(220 ± 22) В частотой (50 ± 1) Гц, (220 ± 11) В или (115,00 ± 5,75) В частотой (400 ± 10) Гц

Потребляемая мощность - не более 180 Вт

Антенна измерительная

П6-33

Диапазон частот 100 - 1000 МГц

КСВН - 1,8

Поляризация - линейная

Антенна измерительная

П6-23

Диапазон частот 1000 - 12000 МГц

Коэффициент усиления 10 - 900

Волновое сопротивление тракта 50 Ом

Антенна измерительная

АИ-005

Диапазон частот 108 - 118 и

ЕУ2.092.568-10

АИ-006

328 - 336 МГц

КСВН - не более 1,5

Генератор сигналов высокочастотный

ГЧ-102

Диапазон частот 0,1 - 50,0 МГц

Относительная погрешность установки частоты - не более 1 %

Нестабильность частоты 2,5 × 10-4 + 50 Гц за 15 мин

Мощность на выходе 0,5 Вт

Вольтметр селективный

В6-10

Диапазон частот 0,1 - 30,0 МГц

Пределы измерения напряжения 1 - 10000 мкВ

Относительная погрешность измерения напряжения - не более 10 %

Входное сопротивление 2 МОм на частоте 100 кГц

Входная емкость - не более 10 пФ

Измеритель добротности

Е4-7

Диапазон частот 0,05 - 35,00 МГц

Пределы измерения добротности 5 - 1000 единиц

Относительная погрешность измерения емкости - не более 1 %

Измеритель импедансов

ВМ-538 (508)

Диапазон частот 0,5 - 110,0 МГц

Измеритель импедансов

ВМ-507

Диапазон частот 0,05 - 500,00 кГц

Радиостанция

Р-865

Диапазон частот 2 - 30 МГц

Выходная мощность 400 Вт в пике огибающей

Напряжение питания:

115 В частотой 400 Гц, 208 В частотой 400 Гц трехфазного тока

Потребляемая мощность:

1300 Вт переменного тока, 350 Вт постоянного тока

Радиостанция

Р-864

Диапазон частот 2 - 18 МГц

Выходная мощность 100 Вт в пике огибающей

Напряжение питания:

115 В частотой 400 Гц,  В постоянного тока

Потребляемая мощность:

50 Вт переменного тока,

600 Вт постоянного тока

Радиостанция

Ядро-II

Диапазон частот 2 - 30 МГц

Выходная мощность 100 Вт в пике огибающей

Напряжение питания:

115 В частотой 400 Гц,

208 В частотой 400 Гц трехфазного тока

Потребляемая мощность:

1300 Вт переменного тока

350 Вт постоянного тока

Радиостанция

Широта-V

Диапазон частот 325 - 600 кГц

Выходная мощность 75 Вт в пике огибающей

Напряжение питания:

115 В частотой 400 Гц, (27 ± 2,7) В постоянного тока

Потребляемая мощность:

200 Вт переменного тока,

300 Вт постоянного тока

ПРИЛОЖЕНИЕ Б

(обязательное)

ТРЕБОВАНИЯ ПО СОДЕРЖАНИЮ ПРОТОКОЛА ПО РЕЗУЛЬТАТАМ ИЗМЕРЕНИЙ

Протокол по результатам измерений параметров АФУ на соответствие требованиям стандарта должен содержать:

- тип АФУ;

- тип и бортовой номер самолета (вертолета);

- характеристику измерительной установки (схему, состав аппаратуры);

- метод измерения;

- результаты измерений.

Результаты измерений заносят в таблицу

Таблица Б.1

Наименование (тип) АФУ

Измеряемый параметр

результат измерения

требование стандарта

Примечание - При необходимости таблица может дополняться другими графами

 

Ключевые слова: самолеты и вертолеты, устройства антенно-фидерные связи, технические требования