Systems and equipment of radio communication channel automatic control. Main parameters

ГОСТ Р 51664-2000

ГОСУДАРСТВЕННЫЙ СТАНДАРТ РОССИЙСКОЙ ФЕДЕРАЦИИ

 

СИСТЕМЫ И АППАРАТУРА
АВТОМАТИЧЕСКОГО УПРАВЛЕНИЯ
КАНАЛАМИ РАДИОСВЯЗИ

Основные параметры

 

 

ГОССТАНДАРТ РОССИИ
Москва

 

Предисловие

1 РАЗРАБОТАН Самарским отраслевым научно-исследовательским институтом радио

ВНЕСЕН Министерством Российской Федерации по связи и информатизации

2 ПРИНЯТ И ВВЕДЕН В ДЕЙСТВИЕ Постановлением Госстандарта России от 16 ноября 2000 г. № 299-ст

3 ВВЕДЕН ВПЕРВЫЕ

СОДЕРЖАНИЕ

1 Область применения. 1

2 Нормативные ссылки. 2

3 Определения и сокращения. 2

4 Основные параметры.. 3

4.1 Общие положения. 3

4.2 Структуры и параметры системы управления узла радиосвязи (уровень центра управления) 3

4.3 Структуры и параметры систем управления на уровне радиостанций. 5

4.4 Структуры и параметры систем управления на уровне технологических групп радиостанций. 8

Приложение а. Структура типового узла радиосвязи. 11

Приложение б. Сравнительные характеристики последовательных интерфейсов. 13

Приложение в. Стандарты аппаратуры передачи данных. 13

Приложение г. Библиография. 14

ГОСТ Р 51664-2000

ГОСУДАРСТВЕННЫЙ СТАНДАРТ РОССИЙСКОЙ ФЕДЕРАЦИИ

СИСТЕМЫ И АППАРАТУРА АВТОМАТИЧЕСКОГО УПРАВЛЕНИЯ КАНАЛАМИ РАДИОСВЯЗИ

Основные параметры

Systems and equipment of radio communication channel automatic control.

Main parameters

Дата введения 2001-07-01

1 Область применения

Настоящий стандарт распространяется на системы и аппаратуру автоматического управления каналами магистральной радиосвязи гектометрового-декаметрового диапазона волн.

Стандарт устанавливает состав, структуру и основные параметры систем автоматического управления каналами радиосвязи.

2 Нормативные ссылки

В настоящем стандарте использованы ссылки на следующие стандарты:

ГОСТ 26.003-80 Система интерфейса для измерительных устройств с байт-последовательным, бит-параллельным обменом информацией. Требования к совместимости

ГОСТ 34.913.3-91 (ИСО 8802-3-89) Информационная технология. Локальные вычислительные сети. Метод случайного доступа к шине и спецификация физического уровня

ГОСТ 34.913.4-91 (ИСО 8802-4-88) Информационная технология. Локальные вычислительные сети. Метод маркерного доступа к шине и спецификация физического уровня

ГОСТ 34.936-91 (ИСО 10039-91) Информационная технология. Локальные вычислительные сети. Определение услуг уровня управления доступом к среде

ГОСТ Р МЭК 793-1-93 Волокна оптические. Общие технические требования

ГОСТ 24375-80 Радиосвязь. Термины и определения

ГОСТ 28854-90 Интерфейс последовательный радиального типа для автоматизированных систем управления рассредоточенными объектами. Общие технические требования

3 Определения и сокращения

3.1 В настоящем стандарте применяют следующие термины с соответствующими определениями.

3.1.1 канал радиосвязи: Канал электросвязи для передачи сигналов посредством радиоволн (радиоизлучений); канал радиосвязи включает в себя совокупность технических средств, обеспечивающих передачу и прием сигналов, а также среду распространения.

3.1.2 канал передачи данных (команд): Совокупность средств (технические средства и физическая среда), предназначенные для обмена данными между узлами радиосвязи для целей оперативного автоматического управления каналами радиосвязи с использованием помехоустойчивой аппаратуры передачи команд, обеспечивающей гарантированную передачу команд между узлами благодаря применению необходимого защитного кодирования.

3.1.3 радиочастотный сигнал: По ГОСТ 24375.

3.1.4 технологическая группа оборудования центра управления и передающей (приемной) радиостанции: Совокупность технических средств, обеспечивающих формирование трактов передачи (приема) радиочастотных сигналов.

3.1.5 локальная вычислительная сеть (ЛВС): Вычислительная сеть, расположенная в одной локальной зоне (территории) и использующая ориентированные на эту территорию средства и методы передачи данных.

3.1.6 локальная технологическая сеть: ЛВС, позволяющая осуществлять связь между управляющим компьютером и оборудованием технологической группы.

3.1.7 физическая среда: Физический материал, по которому передаются данные между подключенными узлами локальной вычислительной сети.

3.1.8 протокол подуровня управления доступом к среде: Протокол, управляющий доступом к физической среде с целью обеспечения обмена данными между узлами сети.

3.1.9 услуга уровня (подуровня) управления доступом к среде: По ГОСТ 34.936.

3.1.10 сеть типа кольца (кольцевая сеть) с маркерным доступом: ЛВС, обеспечивающая однонаправленную передачу данных между станциями по одной физической среде с возвратом данных к передающей станции и использующая процедуру передачи маркера.

Остальные термины - по ГОСТ 24375.

3.2 В настоящем стандарте используют следующие сокращения:

АПД - аппаратура передачи данных;

АРМ - автоматизированное рабочее место;

ИРПС - интерфейс радиальный последовательный;

КОП - канал общего пользования;

ЛВС - локальная вычислительная сеть;

ЛТС - локальная технологическая сеть;

НЧ - низкие частоты;

ПЛК - программируемый логический контроллер;

РПдС - радиопередающая станция;

РПС - радиоприемная станция;

ТГ - технологическая группа;

УПС - устройство преобразования сигналов;

УРС - узел радиосвязи;

ЦУ - центр управления.

4 Основные параметры

4.1 Общие положения

4.1.1 Системы автоматического управления каналами радиосвязи должны применяться на линиях магистральной радиосвязи гектометрового-декаметрового диапазона волн между узлами радиосвязи. Автоматическое управление каналами радиосвязи должно обеспечиваться при оснащении узлов радиосвязи аппаратурой, осуществляющей автоматическое управление техническими средствами каналов радиосвязи.

Структура и состав типового узла радиосвязи приведены в приложении А.

4.1.2 Система автоматического управления каналами радиосвязи между узлами радиосвязи А и Б должна включать в себя системы автоматического управления радиоканалами узлов А и Б, а также канал передачи данных (команд), обеспечивающий их взаимодействие. На каждом канале радиосвязи один узел радиосвязи (тип А) должен быть ведущим (старшим) как по связи, так и по управлению по отношению к другому узлу радиосвязи (тип Б).

4.1.3 Система автоматического управления каналами радиосвязи должна обеспечивать их работу с заданным качеством в изменяющихся условиях распространения радиоволн и при изменяющейся помеховой обстановке.

4.2 Структуры и параметры системы управления узла радиосвязи (уровень центра управления)

4.2.1 Система автоматического управления каналами радиосвязи должна быть иерархической, многоуровневой, децентрализованной.

Система автоматического управления каналами радиосвязи узла радиосвязи должна иметь следующие уровни управления:

- уровень центра управления;

- уровень радиопередающей/радиоприемной станции;

- уровень технологической группы РПдС/РПС.

Должна обеспечиваться возможность автономного функционирования систем управления на уровнях радиостанций и технологических групп (ТГ) в соответствии с имеющимися долговременными расписаниями.

В обоснованных случаях уровни управления могут совмещаться.

Схемное решение для случая совмещения уровней управления ЦУ и РПС приведено в приложении А.

4.2.2 Система управления каналами на уровне ЦУ должна обеспечивать:

- формирование долговременных волновых расписаний работы каналов радиосвязи (для узла радиосвязи типа А);

- передачу долговременных волновых расписаний работы радиоканалов на узел радиосвязи корреспондента по связи (для узла радиосвязи типа А);

- передачу волновых расписаний работы каналов радиосвязи на РПдС и РПС;

- управление коммутацией НЧ-каналов от передающих полукомплектов устройств преобразования сигналов (УПС) на НЧ-входы передающих устройств;

- управление коммутацией НЧ-каналов от выходов приемных устройств на входы приемных полукомплектов УПС;

- управление аппаратурой контроля качественных показателей НЧ-сигналов, передаваемых в каналы радиосвязи и принимаемых из каналов радиосвязи;

- анализ и обобщение результатов контроля качества работы каналов радиосвязи;

- занесение в базу данных информации о характеристиках каналов радиосвязи и результатах работы каналов радиосвязи и ее обслуживание;

- формирование документов о результатах работы каналов радиосвязи.

Возможность оперативного управления из ЦУ оборудованием радиоканалов обеспечивается при оперативной корректировке расписания.

4.2.3 Задержка формирования и подачи команды управления системой управления на управляемый объект относительно момента времени возникновения необходимости изменения состояния или параметров объекта не должна превышать 1 мс.

В обоснованных случаях допускается увеличение указанной задержки формирования и подачи команды управления.

4.2.4 Взаимодействие АРМ дежурного ЦУ с оборудованием, входящим в состав ЦУ, должно обеспечиваться средствами локальной технологической сети (ЛТС), учитывающей особенности промышленных сетей (повышенная надежность и помехоустойчивость).

На рисунке 1 изображена структурная схема ЛТС на уровне ЦУ.

В случае территориального удаления АРМ дежурного ЦУ от оборудования взаимодействие с ЛТС на уровне ЦУ должно обеспечиваться через канал передачи данных в соответствии с требованиями 4.3.3.

4.2.5 В качестве физической среды ЛТС должен использоваться волоконно-оптический кабель, удовлетворяющий требованиям ГОСТ Р МЭК 793-1.

В обоснованных случаях при выполнении условия обеспечения коэффициента бинарных ошибок не более 1 × 10-8 допускается применение в качестве физической среды кабеля в виде витой пары.

Спецификация такого кабеля для скоростей передачи до 4 Мбит/с должна удовлетворять требованиям [1].

4.2.6 Сопряжение оборудования ЦУ с магистральным кабелем должно осуществляться с помощью программируемых логических контроллеров (ПЛК).

ПЛК должны осуществлять функции сопряжения каждой единицы оборудования с магистральным кабелем ЛТС, сбора, первичной обработки и передачи информации по сети.

4.2.7 Для сопряжения с оборудованием ПЛК должен иметь интерфейс ИРПС (токовая петля). Номенклатура цепей и параметры сигналов должны соответствовать требованиям ГОСТ 28854.

В обоснованных случаях допускается применение интерфейсов RS-485 [20], RS-422 [19] и RS-232C [18].

Электрические характеристики цепей и сигналов интерфейсов приведены в приложении Б.

4.2.8 Для сопряжения с аппаратурой контроля качества НЧ-каналов и аппаратурой подготовки радиоканала ПЛК должен иметь интерфейс многопроводного магистрального канала общего пользования (КОП).

Номенклатура, электрические параметры цепей и сигналов интерфейса КОП должны удовлетворять требованиям ГОСТ 26.003.

В обоснованных случаях допускается применение других приборных интерфейсов.

Рисунок 1 - Структурная схема ЛТС на уровне ЦУ

4.3 Структуры и параметры систем управления на уровне радиостанций

4.3.1 Система управления на уровне РПдС должна обеспечивать:

- прием от АРМ дежурного ЦУ долговременного расписания работы каналов радиосвязи;

- формирование и передачу на АРМ операторов ТГ расписания работы оборудования передающих трактов ТГ;

- управление процессом резервирования дефектных трактов передачи и отдельных единиц оборудования;

- сбор от АРМ операторов ТГ данных о результатах работы оборудования трактов передачи;

- занесение в базу данных АРМ диспетчера РПдС информации о составе и результатах работы оборудования ТГ и ее обслуживание;

- передачу информации о результатах работы оборудования РПдС для включения в базу данных АРМ дежурного ЦУ.

4.3.2 Система управления на уровне РПС должна обеспечивать:

- прием от АРМ дежурного ЦУ долговременного расписания работы каналов радиосвязи;

- формирование и передачу на АРМ операторов ТГ расписаний работы оборудования приемных трактов ТГ;

- управление процессом резервирования дефектных трактов приема и отдельных единиц оборудования;

- сбор от АРМ операторов ТГ данных о результатах работы трактов приема, о качестве работы каналов радиосвязи;

- занесение в базу данных АРМ диспетчера РПС информации о составе оборудования ТГ, о результатах контроля качества каналов радиосвязи и ее обслуживание;

- передачу информации о результатах работы оборудования РПС и каналов радиосвязи для включения в базу данных АРМ дежурного ЦУ.

Возможность оперативного управления из РПС и РПдС оборудованием радиоканалов обеспечивается при оперативной корректировке расписания.

4.3.3 Обмен данными между уровнями ЦУ, РПдС, РПС систем управления должен осуществляться по каналам обмена данными при использовании выделенных телефонных каналов. Скорость обмена данными должна определяться исходя из требуемой интенсивности обмена в соответствии с приложением В.

В обоснованных случаях допускается обмен данными по коммутируемым телефонным каналам или радиоканалам.

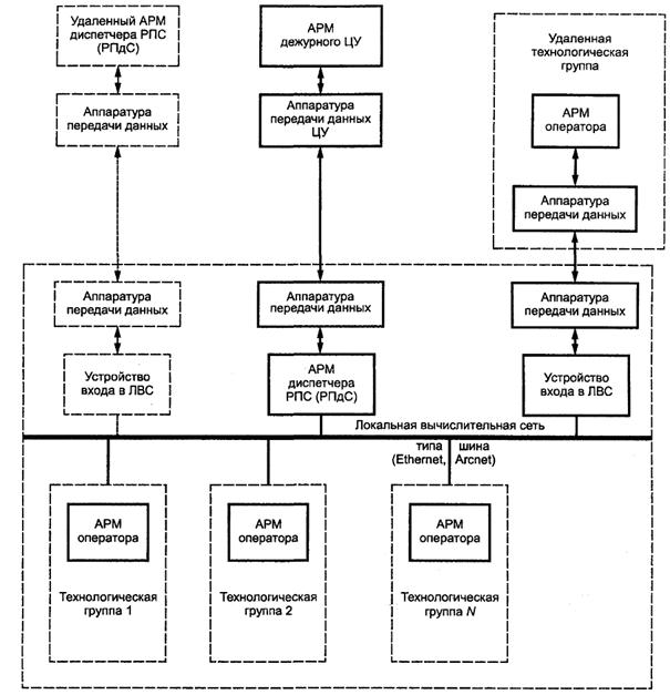
Рисунок 2 - Структурная схема системы управления на уровне РПдС (РПС) для ЛВС типа кольца с маркерным доступом

4.3.4 Обмен данными между технологическими группами и АРМ диспетчера РПдС (РПС) на уровне систем управления РПдС и РПС должен осуществляться средствами ЛВС.

4.3.5 ЛВС уровней РПдС и РПС должна выполняться по принципу кольцевой сети с маркерным доступом (Token Ring). Протоколы и услуги подуровня управления доступом к физической среде, а также параметры технических средств ЛВС типа кольца с маркерным доступом к физической среде должны соответствовать [1].

Рисунок 3 - Структурная схема системы управления на уровне РПдС (РПС) для ЛВС типа шина

Допускается построение ЛВС по принципу сети шинного типа со случайным доступом (Ethernet) или с маркерным доступом (Arcnet).

Протоколы и услуги подуровня управления доступом к физической среде, а также параметры физических средств Ethernet и Arcnet должны соответствовать требованиям ГОСТ 34.913.3, ГОСТ 34.913.4 соответственно.

Структурные схемы системы управления на уровне РПдС (РПС) для различных типов сетей показаны на рисунках 2 и 3.

Взаимодействие АРМ диспетчера радиостанции с АРМ территориально удаленной технологической группы должно обеспечиваться через канал передачи данных в соответствии с требованиями 4.3.3.

В случае территориального удаления АРМ диспетчера радиостанции от оборудования трактов приема (передачи) взаимодействие с ЛВС уровня РПС (РПдС) должно обеспечиваться через канал передачи данных в соответствии с требованиями 4.3.3.

Рисунок 4 - Структурная схема ЛТС на уровне системы управления РПС

4.3.6 В качестве физической среды локальной вычислительной сети РПдС и РПС должен использоваться волоконно-оптический кабель, удовлетворяющий требованиям ГОСТ Р МЭК 793-1.

В обоснованных случаях при выполнении условия обеспечения коэффициента бинарных ошибок не более 1 × 10-8 допускается применение в качестве физической среды кабеля в виде витой пары.

Спецификация такого кабеля для скоростей передачи от 4 Мбит/с должна удовлетворять требованиям [1].

4.3.7 Задержка формирования и подачи команды управления системой управления на управляемый объект относительно момента времени возникновения необходимости изменения состояния объекта или его параметров не должна превышать 1 мс.

В обоснованных случаях допускается увеличение указанной задержки формирования и подачи команды управления.

4.4 Структуры и параметры систем управления на уровне технологических групп радиостанций

4.4.1 Система управления на уровне технологических групп РПдС должна обеспечивать:

- прием от АРМ дежурного РПдС расписания работы каналов радиосвязи и распределение трактов передачи по каналам радиосвязи;

- диагностирование состояния оборудования трактов передачи перед сеансом связи и во время сеанса связи;

- формирование оценок текущего и результирующего качества работы трактов передачи радиоканалов;

- управление оборудованием трактов передачи при его диагностировании, подготовке к сеансу связи и во время сеанса связи;

- управление процессом резервирования дефектных трактов передачи и отдельных единиц оборудования;

- занесение в базу данных АРМ оператора РПдС информации о составе оборудования ТГ, результатах диагностирования оборудования трактов передачи и ее обслуживание;

- занесение в базу данных АРМ дежурного РПдС информации о результатах работы оборудования РПдС.

Рисунок 5 - Структурная схема ЛТС на уровне системы управления РПдС

4.4.2 Система управления на уровне технологической группы РПС должна обеспечивать:

- прием от АРМ дежурного РПС расписания работы каналов радиосвязи, распределение трактов приема по каналам радиосвязи;

- диагностирование состояния оборудования тракта приема в целом;

- формирование оценок текущего и результирующего качества радиоканалов;

- управление оборудованием трактов приема при его диагностировании, подготовке к сеансу связи и во время сеанса связи;

- управление оборудованием трактов приема при резервировании дефектного оборудования тракта приема;

- занесение в базу данных АРМ оператора РПС информации о составе оборудования ТГ, результатах диагностирования оборудования трактов приема, качестве работы радиоканалов и ее обслуживание;

- занесение в базу данных АРМ дежурного РПС информации о результатах работы оборудования РПС.

4.4.3 Взаимодействие АРМ операторов с оборудованием ТГ на уровне систем управления РПдС и РПС должно осуществляться средствами ЛТС, учитывающей особенности промышленных сетей (повышенная надежность и помехоустойчивость).

В случае территориального удаления АРМ операторов от оборудования ТГ взаимодействие с ЛТС должно обеспечиваться через канал передачи данных в соответствии с требованиями 4.3.3.

На рисунках 4 и 5 изображены структурные схемы ЛТС на уровне систем управления РПС и РПдС соответственно.

4.4.4 В качестве физической среды ЛТС должен использоваться волоконно-оптический кабель, удовлетворяющий требованиям ГОСТ Р МЭК 793-1.

В обоснованных случаях при выполнении условия обеспечения коэффициента бинарных ошибок не более 1 × 10-8 допускается применение в качестве физической среды кабеля в виде витой пары.

Спецификация такого кабеля для скоростей передачи до 4 Мбит/с должна удовлетворять требованиям [1].

4.4.5 Сопряжение оборудования ТГ с магистральным кабелем должно осуществляться с помощью ПЛК.

ПЛК должны осуществлять функции сопряжения каждой единицы оборудования с магистральным кабелем ЛТС, сбора, первичной обработки и передачи информации по сети.

Допускается использование ПЛК для формирования управляющих воздействий на исполнительные устройства оборудования ТГ.

4.4.6 Для сопряжения с оборудованием канала радиосвязи технологической группы (передающие устройства, приемные устройства, коммутаторы антенн, коммутаторы НЧ-каналов) ПЛК должен иметь интерфейс ИРПС (токовая петля). Номенклатура цепей и параметры сигналов должны соответствовать требованиям ГОСТ 28854.

В обоснованных случаях допускается применение интерфейсов RS-485 [20], RS-422 [19] и RS-232C [18].

4.4.7 Для сопряжения с аппаратурой диагностики тракта передачи (приема), аппаратурой контроля радиоканала, аппаратурой подготовки радиоканала ПЛК должен иметь интерфейс КОП.

Номенклатура, электрические параметры цепей и сигналов интерфейса КОП должны удовлетворять требованиям ГОСТ 26.003.

В обоснованных случаях допускается применение других приборных интерфейсов.

4.4.8 Для сопряжения с аппаратурой диагностики тракта передачи (приема), аппаратурой контроля радиоканала, аппаратурой подготовки радиоканала ПЛК должен иметь интерфейс КОП.

Номенклатура, электрические параметры цепей и сигналов интерфейса КОП должны удовлетворять требованиям ГОСТ 26.003.

В обоснованных случаях допускается применение других приборных интерфейсов.

4.4.9 Задержка формирования и подачи команды управления системой управления на уровне ТГ на управляемый объект относительно момента времени возникновения необходимости изменения состояния или параметров объекта не должна превышать 1 мс.

В обоснованных случаях допускается увеличение указанной задержки формирования и подачи команды управления.

ПРИЛОЖЕНИЕ А

(справочное)

Структура типового узла радиосвязи

Типовой узел радиосвязи включает в себя:

- центр управления каналами радиосвязи;

- радиопередающие центры/радиопередающие станции;

- радиоприемные центры/радиоприемные станции.

В обоснованных случаях допускается совмещение ЦУ и РПС.

Территориальное удаление РПС от РПдС должно обеспечивать допустимые величины блокирования радиоизлучением РПдС приемных трактов РПС.

Упрощенная структурная схема УРС показана на рисунке А.1.

Рисунок А.1 - Упрощенная структурная схема УРС

На рисунке А.2 показана структурная схема УРС в случае совмещения уровней ЦУ и РПС.

Рисунок А.2 - Структурная схема УРС в случае совмещения уровней ЦУ и РПС

В состав ЦУ должны входить:

- коммутаторы НЧ-каналов (линий) на РПдС и РПС;

- УПС акустические, телеграфные, передачи данных;

- аппаратура контроля качественных показателей НЧ-каналов, передаваемых и принимаемых сигналов;

- аппаратура передачи данных (команд) между узлами радиосвязи для обеспечения взаимодействия систем управления узлами радиосвязи;

- АРМ дежурного ЦУ.

В состав ЦУ должна входить аппаратура подготовки (организации) радиоканала, обеспечивающая включение аппаратуры радиоканала, передачу, прием, опознавание позывных, выполняющая оценку пригодности радиоканала для эксплуатации.

В состав ЦУ может входить аппаратура первичного и вторичного уплотнения каналов (линий) между ЦУ и РПдС, ЦУ и РПС, ЦУ и оконечной аппаратурой пользователей канала радиосвязи.

В общем случае ЦУ должен обеспечивать:

- формирование долгосрочных волновых расписаний работы радиоканалов;

- коммутацию НЧ-выходов передающих полукомплектов УПС на входы НЧ-каналов (линий) ЦУ - РПдС;

- коммутацию НЧ-каналов (линий) РПС - ЦУ на НЧ-входы приемных полукомплектов УПС;

- контроль качественных показателей каналов радиосвязи, передаваемых и принимаемых сигналов.

В основной состав комплекса технических средств РПдС должны входить:

- передающие антенны;

- коммутаторы передающих антенн;

- передающие устройства;

- коммутаторы НЧ-каналов;

- аппаратура диагностики оборудования РПдС;

- аппаратура контроля качества работы трактов передачи каналов радиосвязи;

- АРМ дежурного РПдС;

- АРМ операторов ТГ.

Комплекс технических средств РПдС должен обеспечивать формирование трактов передачи каналов радиосвязи с предусмотренным качеством и в соответствии с расписанием работы.

Технические средства РПдС объединены в технологические группы. Каждая ТГ может обеспечивать формирование и функционирование до 10 и более трактов передачи закрепленных за ней каналов радиосвязи в соответствии с имеющимися долговременными расписаниями работы этих каналов.

В основной состав комплекса технических средств РПС должны входить:

- приемные антенны;

- коммутаторы приемных антенн;

- приемные устройства;

- коммутаторы НЧ-каналов;

- аппаратура диагностики оборудования тракта приема;

- аппаратура контроля канала радиосвязи;

- АРМ дежурного РПС;

- АРМ операторов ТГ.

В состав ТГ при необходимости может входить аппаратура подготовки (организации) радиоканала, обеспечивающая включение аппаратуры радиоканала, передачу, прием, опознавание позывных, выполняющая оценку пригодности радиоканала для эксплуатации.

В состав комплекса технических средств РПС могут также входить телеграфные УПС и устройства передачи данных.

Комплекс технических средств РПС должен обеспечивать формирование трактов приема каналов радиосвязи с предусмотренным качеством и в соответствии с расписанием работы.

Технические средства РПС объединены в технологические группы. Каждая ТГ может обеспечивать формирование и функционирование до 10 и более трактов приема закрепленных за ней каналов радиосвязи в соответствии с имеющимися долговременными расписаниями работы этих каналов при изменениях помеховой обстановки и условий распространения.

ПРИЛОЖЕНИЕ Б

(справочное)

Сравнительные характеристики последовательных интерфейсов

Электрические характеристики цепей и сигналов интерфейсов ИРПС, RS-232C, RS-422, RS-485 приведены в таблице Б.1

Таблица Б.1

Обозначение

ИРПС

RS-232C

RS-422A

RS-485

Вид линии передачи

Симметричный двухпроводный (при передаче сигналов постоянным током)

Несимметричный однопроводной

Симметричный дифференциальный

Число передатчиков

1

32

Число приемников

1

32

Максимальная длина кабеля, м

120

17

1200

Максимальная скорость передачи данных, кбит/с

38,4

20

10000

Передатчик

Выходное напряжение передатчика на нагрузке, В:

- минимальное

-

±5

±2

±1,5

- максимальное

-

±15

±5

±5

Выходной ток передатчика, мА:

- минимальный

0

-

-

-

- максимальный

25

-

-

-

- максимальный ток короткого замыкания

-

500

150

250

Сопротивление нагрузки, Ом

100

От 3000 до 7000

³ 100

54

Приемник

Диапазон входного напряжения, В

-

±25

±7

От -7 до +12 включ.

Чувствительность, В

-

±3

±0,2

-0,2

Входное сопротивление, кОм

0,1 (входная емкость должна быть не более 10 пФ)

От 3 до 7 включ.

4

12

ПРИЛОЖЕНИЕ В

(справочное)

Стандарты аппаратуры передачи данных

Стандарты аппаратуры со скоростями передачи данных от 300 до 56000 бит/с, для работы в выделенных и коммутируемых телефонных линиях перечислены в таблице В.1.

Таблица В.1

Нормативный документ

Скорость передачи, бит/с

Характеристика линии

Характеристика связи

V.21 [2]

300

Коммутируемая

Дуплексная

V.22 [3]

600

»

»

1200

»

»

V.22bis [4]

1200

»

»

2400

»

»

V.23 [5]

600

»

Полудуплексная

1200

»

»

V.26 [6]

2400

Выделенная

Дуплексная

V.26bis [7]

1200

Коммутируемая

Полудуплексная

2400

»

»

V.26ter [8]

1200

»

Дуплексная

2400

»

»

V.27 [9]

4800

Выделенная

»

V.27bis [10]

2400

»

»

4800

»

»

V.27ter [11]

2400

Коммутируемая

Полудуплексная

4800

»

»

V.29 [12]

9600

Выделенная

Дуплексная

V.32 [13]

9600

Коммутируемая

»

V.32bis [14]

14400

»

»

V.33 [15]

14400

Выделенная

»

V.34 [16]

33600

Коммутируемая

»

V.90 [17]

33600

»

»

56000

Цифровая

»

ПРИЛОЖЕНИЕ Г

(справочное)

Библиография

[1] ИСО/МЭК 8802-5-95 Информационная технология. Телекоммуникации и информационный обмен между системами. Локальные и общегородские сети. Специальные требования. Часть 5. Метод эстафетного доступа к кольцевой сети и спецификации физического уровня

[2] Рекомендация V.21 МККТТ, 1981 Дуплексный модем на 300 бит/с, стандартизованный для использования на коммутируемой телефонной сети общего пользования

[3] Рекомендация V.22 МККТТ, 1988 Дуплексный модем на 1200 бит/с, стандартизованный для использования на коммутируемой телефонной сети общего пользования и арендованных двухточечных двухпроводных каналах телефонного типа

[4] Рекомендация V.22bis МККТТ, 1988 Дуплексный модем на 2400 бит/с, с применением метода частотного уплотнения, стандартизованный для использования на коммутируемой телефонной сети общего пользования и арендованных двухточечных двухпроводных каналах телефонного типа

[5] Рекомендация V.23 МККТТ, 1988 Модем на 600/1200 бод, стандартизованный для использования на коммутируемой телефонной сети общего пользования

[6] Рекомендация V.26 МККТТ, 1988 Модем на 2400 бит/с, стандартизованный для использования на четырехпроводных арендованных каналах телефонного типа

[7] Рекомендация V.26bis МККТТ, 1988 Модем на 2400/1200 бит/с, стандартизованный для использования на коммутируемой телефонной сети общего пользования

[8] Рекомендация V.26ter МККТТ, 1988 Дуплексный модем на 2400/1200 бит/с с методом эхокомпенсации, стандартизованный для использования на коммутируемой телефонной сети общего пользования и арендованных двухточечных двухпроводных каналах телефонного типа

[9] Рекомендация V.27 МККТТ, 1988 Модем на 4800 бит/с с ручным корректором, стандартизованный для использования на арендованных каналах телефонного типа

[10] Рекомендация V.27bis МККТТ, 1988 Модем на 2400/1200 бит/с с автоматическим корректором, стандартизованный для использования на арендованных каналах телефонного типа

[11] Рекомендация V.27ter МККТТ, 1988 Модем на 4800/2400 бит/с, стандартизованный для использования на коммутируемой телефонной сети общего пользования

[12] Рекомендация V.29 МККТТ, 1988 Модем на 9600 бит/с, стандартизованный для использования на арендованных двухточечных четырехпроводных каналах телефонного типа

[13] Рекомендация V.32 МСЭ-Т, 1993 Семейство двухпроводных дуплексных модемов со скоростями передачи данных до 9600 бит/с для использования на коммутируемой телефонной сети общего пользования и арендованных каналах телефонного типа

[14] Рекомендация V.32bis МККТТ, 1991 Дуплексный модем со скоростями передачи данных до 14400 бит/с для использования на коммутируемой телефонной сети общего пользования и арендованных двухточечных двухпроводных каналах телефонного типа

[15] Рекомендация V.33 МККТТ, 1988 Модем на 14400 бит/с, стандартизованный для использования на двухточечных двухпроводных арендованных каналах телефонного типа

[16] Рекомендации V.34 МСЭ-Т, 1993 Модем со скоростями передачи данных до 33600 бит/с для использования на коммутируемой телефонной сети общего пользования и на двухточечных двухпроводных арендованных каналах телефонного типа

[17] Рекомендации V.90 МСЭ-Т, 1998 Аналогово-цифровой модем для использования на коммутируемых телефонных сетях общего пользования со скоростями передачи данных до 56000 бит/с от центра к абоненту и до 33600 бит/с от абонента к центру

[18] EIA S-232-C, 1969 Интерфейс между оконечным оборудованием данных и аппаратурой передачи данных при последовательном обмене двоичными данными

[19] EIA S-422-A, 1978 Электрические характеристики цепей симметричного дифференциального цифрового интерфейса

[20] EIA RS-485-B, 1983 Электрические характеристики передатчиков и приемников для использования в симметричных многоточечных системах

 

Ключевые слова: системы автоматического управления, каналы радиосвязи, локальная вычислительная сеть, технологическая группа, технологическая сеть