Hose assemblies for gas burners and gas appliances. General technical requirements and test methods

ГОСТ Р 52209-2004

НАЦИОНАЛЬНЫЙ СТАНДАРТ РОССИЙСКОЙ ФЕДЕРАЦИИ

 

СОЕДИНЕНИЯ ДЛЯ ГАЗОВЫХ ГОРЕЛОК
И АППАРАТОВ

Общие технические требования
и методы испытаний

 

 

 

 

ГОССТАНДАРТ РОССИИ

Москва

 

Предисловие

1 РАЗРАБОТАН И ВНЕСЕН Техническим комитетом по стандартизации ТК 345 «Аппаратура бытовая, работающая на жидком, твердом и газообразном видах топлива»

2 УТВЕРЖДЕН И ВВЕДЕН В ДЕЙСТВИЕ Постановлением Госстандарта России от 22 января 2004 г. № 29-ст

3 Настоящий стандарт представляет собой аутентичный текст стандарта DIN 3384:1998-05 «Газовые гибкие шланги из нержавеющей стали. Технические требования. Требования безопасности. Методы испытаний»

4 ВВЕДЕН ВПЕРВЫЕ

 

СОДЕРЖАНИЕ

1 Общие положения. 1

2 Технические требования и требования безопасности. 4

3 Испытания. 7

4 Маркировка, руководство по монтажу и эксплуатации. 12

ГОСТ Р 52209-2004

НАЦИОНАЛЬНЫЙ СТАНДАРТ РОССИЙСКОЙ ФЕДЕРАЦИИ

СОЕДИНЕНИЯ ДЛЯ ГАЗОВЫХ ГОРЕЛОК И АППАРАТОВ

Общие технические требования и методы испытаний

Hose assemblies for gas burners and gas appliances.
General technical requirements and test methods

Дата введения 01-07-2004

1 Общие положения

1.1 Область применения

Настоящий стандарт распространяется на соединения для газовых горелок и аппаратов (далее - газовые шланги) из нержавеющей стали для подсоединения газовых аппаратов к трубопроводам, уложенным не под землей с условным номинальным проходом (номинальным размером) до DN 300 по ГОСТ 28338 и максимальным рабочим давлением до PN 16 по ГОСТ 26349, устанавливает общие технические требования и методы испытаний газовых шлангов.

1.2 Нормативные ссылки

В настоящем стандарте использованы ссылки на следующие стандарты:

ГОСТ 380-94 Сталь углеродистая обыкновенного качества. Марки

ГОСТ 613-79 Бронзы оловянные литейные. Марки

ГОСТ 617-90 Трубы медные. Технические условия

ГОСТ 859-2001 Медь. Марки

ГОСТ 1050-88 Прокат сортовой, калиброванный, со специальной отделкой поверхности из углеродистой качественной конструкционной стали. Общие технические условия

ГОСТ 1051-73 Прокат калиброванный. Общие технические условия

ГОСТ 1412-85 Чугун с пластинчатым графитом для отливок. Марки

ГОСТ 1414-75 Прокат из конструкционной стали высокой обрабатываемости резанием. Технические условия

ГОСТ 2839-80 Ключи гаечные с открытым зевом двусторонние. Конструкция и размеры

ГОСТ 2841-80 (ИСО 4229-77) Ключи гаечные с открытым зевом односторонние. Конструкция и размеры

ГОСТ 3262-75 Трубы стальные водогазопроводные. Технические условия

ГОСТ 4543-71 Прокат из легированной конструкционной стали. Технические условия

ГОСТ 4784-97 Алюминий и сплавы алюминиевые деформируемые. Марки

ГОСТ 4986-79 Лента холоднокатаная из коррозионно-стойкой и жаростойкой стали. Технические условия

ГОСТ 5542-87 Газы горючие природные для промышленного и коммунально-бытового назначения. Технические условия

ГОСТ 5582-75 Прокат тонколистовой коррозионно-стойкий, жаростойкий и жаропрочный. Технические условия

ГОСТ 5632-72 Стали высоколегированные и сплавы коррозионно-стойкие, жаростойкие и жаропрочные. Марки

ГОСТ 5949-75 Сталь сортовая и калиброванная коррозионно-стойкая, жаростойкая и жаропрочная. Технические требования

ГОСТ 6111-52 Резьба коническая дюймовая с углом профиля 60°

ГОСТ 6211-81 Основные нормы взаимозаменяемости. Резьба трубная коническая

ГОСТ 6357-81 Основные нормы взаимозаменяемости. Резьба трубная цилиндрическая

ГОСТ 8560-78 Прокат калиброванный шестигранный. Сортамент

ГОСТ 8732-78 Трубы стальные бесшовные горячедеформированные. Сортамент

ГОСТ 8734-75 Трубы стальные бесшовные холоднодеформированные. Сортамент

ГОСТ 9941-81 Трубы бесшовные холодно- и теплодеформированные из коррозионно-стойкой стали. Технические условия

ГОСТ 12815-80 Фланцы арматуры, соединительных частей и трубопроводов на Ру от 0,1 до 20,0 МПа (от 1 до 200 кгс/см2). Типы. Присоединительные размеры и размеры уплотнительных поверхностей

ГОСТ 12822-80 Фланцы стальные свободные на приварном кольце Ру от 0,1 до 2,5 МПа (от 1 до 25 кгс/см2). Конструкция и размеры

ГОСТ 13955-74 Резьбовая часть арматуры для соединений трубопроводов по наружному конусу. Конструкция и размеры

ГОСТ 13977-74 Соединение трубопроводов по наружному конусу. Технические условия

ГОСТ 15527-70 Сплавы медно-цинковые (латуни) обрабатываемые давлением. Марки

ГОСТ 16037-80 Соединения сварные стальных трубопроводов. Основные типы, конструктивные элементы и размеры

ГОСТ 16039-70 Резьбовая часть арматуры для соединений трубопроводов по внутреннему конусу. Конструкция и размеры

ГОСТ 16040-70 Ниппели полусферические припайные для соединений трубопроводов по внутреннему конусу. Конструкция и размеры

ГОСТ 16042-70 Ниппели полусферические приварные для соединений трубопроводов по внутреннему конусу. Конструкция и размеры

ГОСТ 16044-70 Штуцера припайные для соединений трубопроводов по внутреннему конусу. Конструкция и размеры

ГОСТ 16045-70 Штуцера приварные для соединений трубопроводов по внутреннему конусу. Конструкция и размеры

ГОСТ 16046-70 Гайки накидные полусферических ниппелей для соединений трубопроводов по внутреннему конусу. Конструкция и размеры

ГОСТ 16078-70 Соединения трубопроводов по внутреннему конусу. Технические требования

ГОСТ 17711-93 Сплавы медно-цинковые (латуни) литейные. Марки

ГОСТ 18143-72 Проволока из высоколегированной коррозионно-стойкой и жаростойкой стали. Технические условия

ГОСТ 18175-78 Бронзы безоловянные, обрабатываемые давлением. Марки

ГОСТ 20448-90 Газы углеводородные сжиженные топливные для коммунально-бытового потребления. Технические условия

ГОСТ 24072-80 Соединения трубопроводов с врезающимся кольцом проходные. Конструкция

ГОСТ 24705-81 Основные нормы взаимозаменяемости. Резьба метрическая. Основные размеры

ГОСТ 26349-84 Соединения трубопроводов и арматура. Давления номинальные (условные). Ряды

ГОСТ 28338-89 (ИСО 6708-80) Соединения трубопроводов и арматура. Проходы условные (размеры номинальные). Ряды. Основные размеры

1.3 Определения

В настоящем стандарте применены следующие термины с соответствующими определениями:

1.3.1 конструктивный ряд типовых газовых шлангов: Состоит из газовых шлангов различных условных размеров с гомогенными признаками конструкции газовых шлангов.

Принадлежность условного прохода к конструктивному ряду утверждается производителем конструктивного ряда, при этом могут изменяться условное давление и условный размер.

Газовый шланг одного конструктивного ряда имеет один и тот же условный размер, может быть с (или) без оплетки, с различными присоединительными элементами и различным исполнением газовых шлангов.

1.3.2 газовый шланг: Состоит из газового шланга с двумя присоединительными частями, при необходимости с оплеткой и (или) оболочкой.

1.3.3 газовый шланг: Шланг выполненный из гибкой газопроводящей нержавеющей стали.

1.3.4 присоединительная часть газового шланга: Устройство, которое жестко закреплено с одной стороны с концом шланга и, при необходимости, с оплеткой, а с другой стороны обеспечивает дееспособную связь с трубопроводной системой.

1.3.5 оплетка газового шланга: Оборудование для защиты газового шланга от недопустимого растяжения.

1.3.6 оболочка газового шланга: Оборудование для защиты газового шланга и, при необходимости, оплетки против внешних повреждений или загрязнения.

1.3.7 минимальный радиус изгиба газового шланга: Радиус, указанный производителем, относящийся к оси газового шланга, по которой может быть присоединен газовый шланг.

1.4 Единицы измерения

1.4.1 Размеры

Все размеры указаны в миллиметрах.

1.4.2 Все статические избыточные давления относительно атмосферного давления приведены в паскалях (Па) или килопаскалях (кПа).

2 Технические требования и требования безопасности

2.1 Условное давление выбирают из следующего ряда: PN 1; PN 4; PN 16.

(Поправка, ИУС № 8 2005 г.).

2.2 Материалы

2.2.1 Общие сведения

Качество материалов, а также форма и расчет конструктивных элементов должны обеспечивать безопасность газового шланга при монтаже и эксплуатации, указанных производителем при комбинации длительных механических, химических и тепловых нагрузок в течение всего срока эксплуатации.

Другие материалы, кроме упомянутых в 2.2.2 - 2.2.4, допускается использовать только в том случае, если они, по меньшей мере, равноценны по свойствам с основным обрабатываемым материалом, а равноценность вышеуказанных материалов подтверждена испытаниями. Асбест как материал для прокладок не допускается.

2.2.2 Газовые шланги и оплетка

Для изготовления газового шланга следует использовать ленту из аустенитной стали марки 12Х18Н10Т по ГОСТ 4986, оплетку изготавливают из проволоки 12Х18Н10Т по ГОСТ 18143.

2.2.3 Присоединительные части

Для изготовления присоединительных свариваемых частей следует использовать:

а) трубу из стали марки 35 по ГОСТ 8732 или ГОСТ 8734,

трубу из стали марки 12Х18Н10Т по ГОСТ 9941,

сталь марок 10, 20, по ГОСТ 1050,

углеродистую сталь обыкновенного качества марок ВСт 3кп, ВСт 3пс по ГОСТ 380;

б) сталь марки 45 по ГОСТ 1051,

в) аустенитную сталь марки 12Х18Н10Т по ГОСТ 5582 или марки 10Х17Н13М3Т по ГОСТ 5632,

г) для изготовления присоединительных частей, которые не свариваются, следует использовать:

ковкий чугун марок Сч 30, Сч 35 по ГОСТ 1412,

сталь марок 25, 35, 45 по ГОСТ 1050,

сталь марки 15Х18Н12С4ТЮ по ГОСТ 5632,

сталь марки 14Х17Н2 по ГОСТ 5949,

автоматную сталь марок А 11, А 12, А 20, А 40, АС 35Г2 по ГОСТ 1414,

медь марок М2 или М3 по ГОСТ 859,

медноцинковый сплав (латуни) марок ЛЦ40Сд по ГОСТ 17711; Л 63 по ГОСТ 15527 и ЛМц58-2 по ГОСТ 15527,

бронзовые сплавы марок БрОЗЦ12С5 по ГОСТ 613; БрАЖНМц 9-2 и БрАЖМц 10-3-1,5 по ГОСТ 18175,

алюминиевые сплавы марок Д1 и АК 4 по ГОСТ 21488; Амг2М по ГОСТ 4784.

2.2.4 Уплотнительные прокладки

Материалы прокладок выбирают в зависимости от проводимых сред и рабочих давлений по чертежам и техническим условиям.

2.3 Толщина стенки

Толщина стенки газового шланга должна быть, не менее 0,15 мм. При многослойном газовом шланге к минимальной толщине относят толщину стенки каждого индивидуального слоя, при этом внутренний слой сваривают в качестве замкнутого.

2.4 Соединение газового шланга, оплетки и соединительной части

2.4.1 Общие сведения

Соединение газового шланга и, при необходимости, оплетки с присоединительными частями выполняют сваркой или пайкой.

2.4.2 Соединение сваркой

Соединение сваркой выполняют роликовой электрической сваркой или сваркой в среде защитного газа.

2.4.3 Соединение пайкой

Соединение пайкой допустимо для газовых гибких шлангов для давления от 0,1 МПа (1 кгс/см2) до 0,4 МПа (4 кгс/см2) с материалами соединительных частей по 2.2.3, перечисление г). Для этого не допустимо использовать кадмиевосодержащий припой.

2.5 Оболочка

Оболочка должна быть прочной и использоваться так, что после испытаний на изгиб не должно быть никаких повреждений газового шланга.

2.6 Разновидности присоединительных частей

Для соединения газового шланга с газовой сетью следует применять разновидности присоединительных частей по таблице 1.

Присоединительные части с № 1 до № 3 допустимо использовать только на стороне газового шланга.

Присоединительные части с № 4 до № 10 комбинируются между собой с № 1 до № 3.

Присоединительную часть № 10 допустимо комбинировать только с № 1 или № 2.

Присоединительные части, выполненные с резьбой или болтовым соединением, должны иметь соответствующие приспособления для монтажа (например, ребра, узлы). Плоскости под ключ должны быть выполнены с размером под ключ по ГОСТ 2839.

Составные части резьбового соединения по таблице 1, с № 8 до № 10, должны поставляться в комплекте.

Таблица 1 - Разновидности присоединительных частей

Разновидность присоединительных частей1)

Наименование материала

Примечание

1

Наружная резьба по ГОСТ 6111, ГОСТ 6211; ГОСТ 6357

По 2.2.3, перечисления б) - г)

Условное давление PN 16 допустимо для номинального условного прохода до DN 25;

2

Внутренняя резьба по ГОСТ 6111, ГОСТ 6211; ГОСТ 6357

По 2.2.3, перечисления б) - г)

Условные давления PN 4 и PN 1 допустимы для номинального условного прохода до DN 50

3

Фланец арматуры, размеры по ГОСТ 12815

По 2.2.3, перечисления б), в)

Толщину листа в зависимости от условного давления по форму фланца (минимально PN 6)

4

Приварной патрубок по ГОСТ 16037

По 2.2.3, перечисления а), б)

Только при сварном соединении между газовым шлангом и соединительной частью

5

Трубный патрубок, размеры по ГОСТ 8732, ГОСТ 8734, ГОСТ 9941

По 2.2.3, перечисления а), в)

Для соединения без пайки. Завинчивание трубы с фаской

6

Патрубок для соединения трубопроводов с врезающимся кольцом по ГОСТ 24072

По 2.2.3, перечисления а) - в)

7

Фланец стальной свободный на буртике или отбортовке по ГОСТ 12822

По 2.2.3, перечисления а) - в)

Толщина фланца в зависимости от условного давления по форме фланца

8

Трехэлементное свинчивание, уплотнение по сфере по ГОСТ 16078, с внутренней резьбой по ГОСТ 6111, ГОСТ 6211, ГОСТ 6357

По 2.2.3, перечисления б) - г)

Условное давление PN 4

9

Трехэлементное свинчивание, уплотнение по сфере по ГОСТ 16078, с внутренней резьбой по ГОСТ 6111, ГОСТ 6211, ГОСТ 6357

По 2.2.3, перечисления б) - г)

Условное давление PN 4

10

Трехэлементное свинчивание, уплотнение по сфере, условные размеры по ГОСТ 16078, с наконечником под приварку по ГОСТ 16037

По 2.2.3, перечисления б) - г)

Приваренный наконечник только материал см. 2.2.3, перечисление б)

1) Исполнение может не соответствовать приведенным рисункам, при этом необходимо соблюдать указанные нормы.

(Поправка, ИУС № 8 2005 г.).

2.7 Условный проход (размер в свету)

Значения условного прохода (размера в свету) газового шланга следует выбирать из ряда DN по ГОСТ 28338.

2.8 Предел прочности при сжатии

2.8.1 Газовый шланг без оплетки

У газового шланга без оплетки предел прочности в случае длительных испытаний, приведенных по 3.5.1, удлинение шланга не должно составлять более 1 %.

2.8.2 Газовый шланг с оплеткой

У газового шланга с оплеткой предел прочности при проведении испытаний по 3.5.2, за исключением деформации и/или удлинения газового шланга, не должно иметь никаких разрушений и должны быть выполнены требования 2.9.

2.9 Герметичность

2.9.1 Герметичность при комнатной температуре

Газовый шланг должен быть герметичен при проверке по 3.6.1.

2.9.2 Герметичность при повышенной термической нагрузке

Дополнительно к 2.9.1 при номинальном условном давлении PN 1 и PN 4 при испытательных условиях для более высокой тепловой нагрузки газовый гибкий шланг должен быть герметичен, при этом значение утечки не должно превышать 150 дм3/ч.

2.10 Сопротивление разрыву газового шланга без оплетки

Газовый шланг до DN 50 должен обеспечивать сопротивление на разрыв, когда шланг нагружен испытательной массой В (таблица 2), после нагрузки испытательной массой А (таблица 2), линейное удлинение не более 10 %. При присоединенной нагрузке испытательной массы А (таблица 2) - линейное удлинение шланга не более 5 %. При этом газовый шланг должен быть герметичным.

2.11 Прочность на удар

Газовый шланг до DN 50 должен обеспечивать прочность на удар, при ударе качающейся массой 3 кг с высоты h по таблице 2, при этом не должно быть изменения формы внутреннего диаметра более чем на 10 % относительно первоначального; газовый шланг должен быть герметичным.

Таблица 2 - Испытательная масса и испытательная высота

DN, мм

Испытательная масса А, кг

Испытательная масса В, кг

Испытательная высота h, мм ±1

6

0,5

10

100

8 и 10

1

20

120

От 12 до 16

1,5

20

120

20 и 25

3

30

150

От 32 до 50

5

40

200

2.12 Прочность на изгиб

Прочность на изгиб должна обеспечиваться, если после 3000 перемещений при проведении испытаний по 3.9 выполняются требования по герметичности (2.9.1).

3 Испытания

3.1 Испытательная лаборатория

Испытания следует проводить в лаборатории, оснащенной необходимыми приспособлениями и оборудованием.

Сертификационные испытания газовых шлангов необходимо проводить в лаборатории, аккредитованной в системе ГОСТ Р.

3.2 Методы испытаний

Для применения отдельных видов проверок, как и для проведения этих проверок, разрабатываются внутренние методики предприятия на основе правил, предусмотренных системой ГОСТ Р.

При альтернативном использовании материалов для газового шланга и оплетки (2.2.2) достаточно провести испытания с одним из этих материалов.

Если проводят испытания с равнозначными материалами для газового шланга и для оплетки согласно 2.2.1, проводятся также испытания с этими равнозначными материалами.

Если при альтернативных подключениях применяют разные давления, то для проведения испытаний выбирают самое максимальное давление.

3.3 Испытания по предметному признаку и испытательная документация

3.3.1 Испытания по предметному признаку

Проводят в соответствии с таблицами 3 и 4.

Таблица 3 Испытания по предметному признаку

Условный проход

Исполнение

Строительный ряд типа из одного условного прохода

Строительный ряд одного типа из двух условных проходов

Строительный ряд одного типа из трех и более условных проходов

Количество испытаний по предметному признаку1)

Номер испытаний по предметному признаку

Количество испытаний по предметному признаку1)

Номер испытаний по предметному признаку

Количество испытаний по предметному признаку1)

Номер испытаний по предметному признаку

Самый малый

Без оплетки

1

1

1

1

1

1

С оплеткой

2

2; 3

2

2; 3

2

2; 3

Средний

Без оплетки

-

-

-

-

1

4

С оплеткой

-

-

-

-

2

5; 6

Самый большой

Без оплетки

-

-

1

4

1

7

С оплеткой

-

-

2

5; 6

2

8; 9

1) Если строительный ряд типа содержит исполнения только с/или без оплетки, то считается все количество.

Длина газового шланга для испытаний по предметному признаку:

№№ 1; 4; 7 без оплетки: 500 мм (в случае, если содержатся в строительном ряду);

№№ 2; 5; 8 с оплеткой: 500 мм (1 шт.);

№№ 3; 6; 9 с оплеткой: по 1 шт., для каждой длины газового шланга для испытания на изгиб на соответствие по 3.9.

Таблица 4 - Сопоставление испытаний по предметному признаку

Испытания

Номер пункта

Строительный ряд типа из одного условного прохода

Строительный ряд типа из двух условных проходов

Строительный ряд типа из трех и более условных проходов

Количество испытаний по предметному признаку

Номер испытаний по предметному признаку

Количество испытаний по предметному признаку

Номер испытаний по предметному признаку

Количество испытаний по предметному признаку

Номер испытаний по предметному признаку

Исполнение

3.4

2

1; 2

4

1; 2; 4; 5

6

1; 2; 4; 5; 7; 8

Прочность при сжатии

3.5.1

1

1

2

1; 4

3

1; 4; 7

3.5.2

1

2

2

2; 5

3

2; 5; 8

Герметичность

3.6

3

Все

6

Все

9

Все

Прочность на разрыв

3.7

1

1

2

1; 4

3

1; 4; 7

Прочность на удар

3.8

1

1

2

1; 4

3

1; 4; 7

Прочность на изгиб

3.9

1

3

2

3; 6

3

3; 6; 9

3.3.2 Техническая документация, представляемая для испытаний.

Для представления на испытания необходимо иметь следующие документы на русском языке:

а) чертежи (например, светокопии), содержащие, как минимум, следующие данные:

- основные размеры,

- геометрию волны, толщину стенки, количество слоев,

- изготовление оплетки (число плетений, количество проволок в плетении, диаметр проволоки и общее число плетей),

- конструкцию всех частей, предусмотренных для подсоединения,

- материалы всех частей,

- характеристику;

б) фотографию испытуемого газового шланга;

в) техническую документацию на газовый шланг или тип строительного ряда, который содержит, по меньшей мере, следующие данные:

- обозначение типа,

- конструктивное исполнение,

- условный проход по 1.1,

- номинальное давление,

- наименьший радиус изгиба,

- тип соединения газового шланга с отметкой на всех частях подключения,

- предусмотренные варианты частей для присоединения с вариантами подсоединения;

г) техническое описание;

д) руководство по монтажу;

е) декларацию изготовителя, что требования по 2.2 выполнены;

ж) при необходимости доказательство равноценности родственных материалов по 2.2.2 или 2.2.3 представлением независимого мнения;

и) доказательством соответствия нормам герметичности средств уплотнения и т.д. служит через представление сертификата системы ГОСТ Р.

3.4 Проверка изготовления частей

Проверку изготовления частей осуществляют при условии привлечения доказательств по проверке по 1.3.2 в состоянии поставки.

Эта проверка охватывает все предписания согласно разделу 2, которые проверяют посредством измерения и осмотра газовых шлангов.

Газовый шланг после окончания всех испытаний отрезают непосредственно за присоединительной частью для измерения толщины стенки.

Необходимо удостовериться, что выполнены требования раздела 2.

3.5 Гидравлические испытания

3.5.1 Газовый шланг без оплетки

Длину газового шланга необходимо измерить перед и после испытания.

Время испытания водой 10 мин при давлении 1,1Рном.

Необходимо проверить выполнение требований 2.8.1.

3.5.2 Газовый шланг с оплеткой

Время испытания водой 10 мин при давлении 3Рном.

Необходимо проверить выполнение требований 2.8.2.

3.6 Проверка герметичности

3.6.1 Проверка герметичности при температуре окружающей среды

Проверке на герметичность подвергают все газовые шланги.

Испытание проводят в течение 10 мин, испытуемый образец погружен в воду, давление воздуха, подаваемое внутрь, 1,1Рном. При этом максимальное давление не более 6 кгс/см2. Необходимо проверить выполнение требований 2.9.1.

3.6.2 Испытание на герметичность при термической нагрузке

Газовый шланг с подведенным внутрь номинальным давлением помещают в печь на 30 мин при температуре 650 °С. Необходимо удостовериться, что на газовый шланг не действуют другие нагрузки, такие как груз, арматура. Температура газового шланга после стадии нагрева до 650 °С не должна отклоняться более чем на 10 °С. Значение утечки рассчитывается в качестве частного из приведенного объема воздуха (литр при нормальных условиях) и временем измерения. Для газовых шлангов со сварными присоединительными частями из материала по 2.2.3, перечисления а), б) или в) необходима вышеуказанная проверка.

Необходимо удостовериться, что выполняются требования 2.9.2.

3.7 Испытание на прочность при растяжении

Газовые гибкие шланги до DN 50 необходимо подвесить вертикально. При нагрузке испытательной массой А (таблице 2) измерить длину газового шланга. После этого газовый шланг нагрузить испытательной массой В (таблица 2), время - 10 мин, после этого измерить длину газового шланга. В заключении еще раз измерить длину газового шланга при нагрузке испытательной массой А (таблица 2). После проведения измерений проверить герметичность по 3.6. Необходимо удостовериться, что выполняются требования 2.9.1 и 2.10.

3.8 Испытание прочности на удар

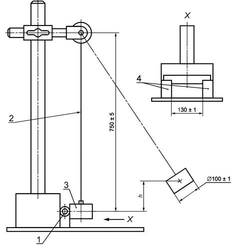
Газовый шланг подвергается удару в маятниковом ударном механизме по рисунку 1, качающийся груз массой т = 3 кг падает с испытательной высоты h в соответствии с таблицей 3. Нагрузку к шлангу прикладывают в трех местах, после этого газовый гибкий шланг проверяют на герметичность по 3.6.

Необходимо удостовериться, что выполняются требования 2.9.1 и 2.11.

1 - газовый шланг; 2 - маятник; 3 - качающийся груз; 4 - опора шланга

Рисунок 1 - Маятниковый ударный механизм для испытания на прочность

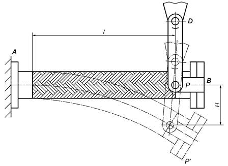
3.9 Проверка прочности на изгиб

Проверку следует проводить с условным давлением при комнатной температуре с частотой изгиба не более 30 движений в минуту.

Газовый шланг, смонтированный в приспособление согласно рисунку 2, перемещают при сохранении его размеров согласно таблице 5 посредством качания через деталь, соединенной с приводом таким образом, чтобы сохранялась в окончательном положении заданная амплитуда. В качестве одного движения принимают перемещение от одного конечного положения до другого конечного положения и обратно.

Длина изгиба газового шланга L должна составлять 6 · DN. Амплитуду движения конца газового шланга определяют поворотной деталью, соединяющей точки Р и D. При испытании строительного ряда, который содержит газовые шланги с оплеткой и без оплетки, необходимо проводить испытания газового шланга без оплетки.

Рисунок 2 - Монтаж гибкого шланга в приспособление

Таблица 3 - Условный размер и отклонение

Условный размер DN, мм

Длина хода Н, мм ±5 %

Свыше PN 4 МПа

До PN 4 МПа

6

6

6

8

15

15

10

25

25

12

30

30

16

35

35

20

40

40

25

50

50

32

55

55

40

60

60

50

70

70

65

80

100

80

85

120

100

95

140

125

110

160

150

120

190

200

140

250

250

160

300

300

180

350

3.10 Протокол испытаний

Протокол испытаний должен содержать следующие данные:

а) наименование производителя, отправителя, дату, способ и место отбора образцов;

б) наименование типа;

в) исполнение (конструкция газового шланга, наличие оплетки и оболочки, условный размер и условное давление, а также соединительные части).

Протокол испытаний должен содержать графу, в которой приведены нормы, установленные настоящим стандартом, и графу, в которой приведены данные, полученные во время испытаний.

В протоколе испытаний необходимо указать, отвечает ли испытуемый шланг требованиям настоящего стандарта. Любые отклонения, полученные при испытаниях, должны быть указаны в протоколе испытаний. Протоколы типовых испытаний и контрольных типовых испытаний могут быть опубликованы только в полном объеме.

4 Маркировка, руководство по монтажу и эксплуатации

4.1 Маркировка

Маркировка газового гибкого шланга должна содержать следующие данные, которые должны быть хорошо читаемы в течение всего срока эксплуатации:

- наименование производителя и/или товарный знак;

- обозначение типа;

- условное давление;

- знак соответствия ГОСТ Р.

При обозначении необходимо учитывать следующее:

Если обозначение наносится на этикетке, то она не должна быть повреждена при эксплуатации газового шланга.

Не допускаются самоклеющиеся этикетки.

Крепление этикетки не должно быть съемным от руки.

Применяемые обозначения должны быть предусмотрены изготовителем для рабочих температурных диапазонов, в которых используют газовые шланги.

4.2 Руководство по эксплуатации

Производитель должен выпустить руководство по эксплуатации (например, печатную этикетку, карманную книжку). Этот документ должен содержать следующие данные:

- расчет минимальной длины газового шланга для различных случаев подсоединения в зависимости от наименьшего радиуса изгиба;

- примеры, поясненные картинками, для приема перемещений при различных соединениях с трубами;

- примеры недопустимых способов монтажа газовых гибких шлангов;

- факторы снижения рабочих характеристик для более высоких рабочих температур.

4.3 Руководство по монтажу

Производитель должен прикладывать к каждой поставляемой партии газовых шлангов руководство по монтажу.

Производитель должен представить в руководстве по монтажу все данные, которые позволят выполнить безупречный монтаж газовых шлангов. Необходимо указывать, что газовые шланги не должны скручиваться при монтаже. В руководстве по монтажу должны быть указаны адрес производителя, дата выпуска (покупки), тип, для которого оно действительно.