Occupational safety standards system. Personal protection equipment. Method for determination of materials uniformity

ГОСТ 12.4.219-2002

МЕЖГОСУДАРСТВЕННЫЙ СТАНДАРТ

Система стандартов безопасности труда

СРЕДСТВА ИНДИВИДУАЛЬНОЙ ЗАЩИТЫ

Метод определения однородности материалов

МЕЖГОСУДАРСТВЕННЫЙ СОВЕТ
ПО СТАНДАРТИЗАЦИИ, МЕТРОЛОГИИ И СЕРТИФИКАЦИИ

Минск

Предисловие

1 РАЗРАБОТАН Государственным научным центром Российской Федерации - Институт биофизики

ВНЕСЕН Госстандартом России

2 ПРИНЯТ Межгосударственным Советом по стандартизации, метрологии и сертификации (протокол № 4 от 12 апреля 2002 г., по переписке)

За принятие проголосовали:

Наименование государства

Наименование национального органа по стандартизации

Азербайджанская Республика

Азгосстандарт

Республика Армения

Армгосстандарт

Республика Беларусь

Госстандарт Республики Беларусь

Республика Казахстан

Госстандарт Республики Казахстан

Кыргызская Республика

Кыргызстандарт

Республика Молдова

Молдовастандарт

Российская Федерация

Госстандарт России

Республика Таджикистан

Таджикгосстандарт

Туркменистан

Главгосинспекция «Туркменстандартлары»

Республика Узбекистан

Узгосстандарт

Украина

Госстандарт Украины

3 Постановлением Государственного комитета Российской Федерации по стандартизации и метрологии от 28 июня 2002 г. № 256-ст межгосударственный стандарт ГОСТ 12.4.219-2002 введен в действие непосредственно в качестве государственного стандарта Российской Федерации с 1 июля 2003 г.

4 ВВЕДЕН ВПЕРВЫЕ

СОДЕРЖАНИЕ

1 Область применения. 2

2 Нормативные ссылки. 2

3 Определения. 3

4 Отбор проб. 3

5 Средства испытаний, вспомогательные устройства, материалы и реактивы.. 3

6 Порядок подготовки к проведению испытаний. 6

7 Проведение испытаний по методу А.. 6

8 Проведение испытаний по методу Б. 7

9 Обработка результатов. 8

10 Требования безопасности. 9

Приложение А. Протокол испытаний по оценке коэффициента однородности материала. 9

Приложение Б. Библиография. 9

ГОСТ 12.4.219-2002

МЕЖГОСУДАРСТВЕННЫЙ СТАНДАРТ

Система стандартов безопасности труда

СРЕДСТВА ИНДИВИДУАЛЬНОЙ ЗАЩИТЫ

Метод определения однородности материалов

Occupational safety standards system. Personal protection equipment.
Method for determination of materials uniformity

Дата введения 2003-07-01

1 Область применения

Настоящий стандарт распространяется на изолирующие полимерные материалы (пленочные материалы и материалы с монолитным полимерным покрытием - искусственные кожи и прорезиненные ткани), предназначенные для изготовления средств индивидуальной защиты (далее - СИЗ), и устанавливает метод оценки однородности структуры полимерного покрытия или пленки путем выявления наличия неравномерности толщины, пор, включений и других дефектов материалов, не обнаруживаемых визуальными методами.

Сущность метода заключается в сравнении времени проникания легко диффундирующих через испытуемый материал испытательных сред - паров кислот и щелочных сред, представляющих собой водные растворы газообразных веществ (метод А), или легкокипящих органических растворителей (далее - растворителей) (метод Б) со временем проникания этих веществ через образец сравнения испытуемого материала. Изменение толщины пленки или полимерного покрытия или наличие в нем дефектов вызывает изменение времени проникания через материал паров и жидкостей. В частности, уменьшение толщины материала и наличие дефектов (включений, микротрещин, сквозных отверстий, пор и т.п.) приводит к уменьшению времени проникания испытательных сред по сравнению с их временем проникания через образец сравнения. В случае испытания материалов с двухсторонним полимерным покрытием результаты испытаний, полученные по данному методу, характеризуют качество обоих полимерных покрытий, так как эти результаты отражают процесс диффузии паров или жидкости, протекающий по пути наименьшего сопротивления, то есть по местам расположения дефектов и утонений (при их наличии) обоих покрытий.

Настоящий стандарт применяется при постановке материалов на производство и оценке качества серийно выпускаемых материалов, предназначенных для изготовления СИЗ.

2 Нормативные ссылки

В настоящем стандарте использованы ссылки на следующие стандарты:

ГОСТ 12.1.005-85 Система стандартов безопасности труда. Общие санитарно-гигиенические требования к воздуху рабочей зоны

ГОСТ 12.4.029-76 Система стандартов безопасности труда. Фартуки специальные. Технические условия

ГОСТ 1770-74 Посуда мерная лабораторная стеклянная. Цилиндры, мензурки, колбы, пробирки. Общие технические условия

ГОСТ 2603-79 Ацетон. Технические условия

ГОСТ 3118-77 Кислота соляная. Технические условия

ГОСТ 3760-79 Аммиак водный. Технические условия

ГОСТ 10484-78 Кислота фтористоводородная. Технические условия

ГОСТ 11109-90 Марля бытовая хлопчатобумажная. Общие технические условия

ГОСТ 12026-76 Бумага фильтровальная лабораторная. Технические условия

ГОСТ 18300-87 Спирт этиловый ректификованный технический. Технические условия

ГОСТ 20010-93 Перчатки резиновые технические. Технические условия

ГОСТ 25336-82 Посуда и оборудование лабораторные стеклянные. Типы, основные параметры и размеры

ГОСТ 25828-83 Гептан нормальный эталонный. Технические условия

3 Определения

В настоящем стандарте применяют следующие термины с соответствующими определениями:

3.1 образец сравнения: Согласованный в установленном порядке потребителем и изготовителем образец материала данной марки, соответствующий по внешнему виду и свойствам требованиям нормативных документов, и изготовленный строго по рецептуре без отклонений от технологии изготовления данного вида (марки) материала.

Допускается в качестве образца сравнения использовать образец материала данной марки, соответствующий по внешнему виду и свойствам требованиям нормативных документов (с подтверждением протоколом испытаний предприятия-изготовителя).

3.2 дефекты: Нарушения однородности и равномерности структуры пленки или полимерного покрытия материала, вызывающие ухудшение его защитных, эксплуатационных и других свойств.

3.3 коэффициент однородности материала: Показатель, характеризующий однородность структуры полимерной пленки или полимерного покрытия текстильного материала.

3.4 точечная проба: Минимальное количество материала, испытание которого по конкретному показателю позволяет получить достоверные результаты.

3.5 поверхностное электрическое сопротивление материала, Ом: Показатель, характеризующий электрическое сопротивление, оказываемое материалом электрическому току, при течении последнего по поверхности материала.

4 Отбор проб

4.1 От каждого отобранного для испытания рулона или образца материала отрезают на расстоянии не менее 50 мм от края точечную пробу длиной (210 ± 5) мм и шириной (110 ± 5) мм.

4.2 Для проведения испытания из отобранной точечной пробы вырезают при помощи шаблона пять элементарных проб диаметром (50 ± 1) мм.

4.3 От образца сравнения материала на расстоянии не менее 50 мм от края вырезают при помощи шаблона пять элементарных проб диаметром (50 ± 1) мм.

5 Средства испытаний, вспомогательные устройства, материалы и реактивы

5.1 Для проведения испытания применяют:

- устройство марки ППС-3 для определения проницаемости полимерных материалов по отношению к жидкостям и их парам в соответствии с нормативным документом;

- шаблон диаметром (50 ± 1) мм;

- фартук по ГОСТ 12.4.029;

- перчатки резиновые технические по ГОСТ 20010;

- очки закрытые герметические защитные в соответствии с нормативным документом на конкретный вид очков;

- цилиндр мерный вместимостью 25 см3 по ГОСТ 1770;

- пипетку в соответствии с нормативным документом;

- эксикатор по ГОСТ 25336;

- марлю бытовую по ГОСТ 11109;

- бумагу фильтровальную по ГОСТ 12026;

- пластилин в соответствии с нормативным документом;

- соляную кислоту по ГОСТ 3118;

- фтористоводородную кислоту по ГОСТ 10484;

- водный раствор аммиака по ГОСТ 3760;

- ацетон по ГОСТ 2603;

- гептан по ГОСТ 25828;

- спирт этиловый ректификованный технический по ГОСТ 18300.

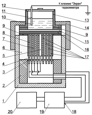
5.2 Устройство ППС-3 (рисунок 1) состоит из кассеты 8, кольцевых 17 и центрального стержневого 5 электродов, закрепленных на держателе 6, установленном на подставке 2 в корпусе 1. Электроды 5 и 17 параллельно через один соединены с тераомметром 19 типа Е6-13 или Е6-13А и далее с потенциометром 20 типа КСП-4. На кассету электродов 8 последовательно устанавливают шайбу 9, выполненную из фильтровальной бумаги прокладку 16, элементарную пробу 15, шайбу 9 и стакан 13, которые закрепляют прижимной гайкой 14. В стакан 13 заливают жидкость 10, после чего закрывают его крышкой 12 с установленным на ней заземленным охранным электродом 11.

1 - корпус; 2 - подставка держателя; 3 - гайка крепления электродов; 4 - крепежный стержень электродов; 5 - центральный стержневой электрод; 6 - держатель кассеты; 7 - фторопластовая прокладка; 8 - кассета электродов; 9 - шайбы; 10 - жидкость; 11 - заземленный охранный электрод; 12 - крышка; 13 - стакан для жидкости; 14 - прижимная гайка; 15 - элементарная проба; 16 - прокладка из фильтровальной бумаги; 17 - кольцевые электроды; 18 - клемма «Экран» тераомметра; 19 - тераомметр; 20 - потенциометр

Рисунок 1 - Схема прибора ППС-3 для оценки проницаемости полимерных материалов по отношению к жидким средам

5.3 При оценке времени проникания паров кислот и щелочных сред через материалы применяют измененную конструкцию измерительной ячейки прибора ППС-3 (рисунок 2), в которой в стакан 14 устанавливают вкладыш 12, имеющий специальные отверстия 11, через которые пары жидкости проникают в пространство над образцом. Во вкладыш заливают жидкость 10, после чего стакан 14 с вкладышем 12 закрывают крышкой 13.

1 - корпус; 2 - подставка держателя; 3 - гайка крепления электродов; 4 - крепежный стержень электродов; 5 - центральный стержневой электрод; 6 - держатель кассеты; 7 - фторопластовая прокладка; 8 - кассета электродов; 9 - шайбы; 10 - жидкость; 11 - отверстия вкладыша; 12 - вкладыш; 13 - крышка; 14 - стакан; 15 - прижимная гайка; 16 - элементарная проба; 17 - прокладка из фильтровальной бумаги; 18 - кольцевые электроды; 19 - клемма «Экран» тераомметра; 20 - тераомметр; 21 - потенциометр

Рисунок 2 - Вариант устройства ППС-3 для оценки проницаемости полимерных материалов по отношению к парам

5.4 При оценке времени проникания растворителей требуемый для нанесения на элементарную пробу объем жидкости Vж, см3, рассчитывают по формуле

                                                    (1)

где 7,1 - площадь рабочей поверхности элементарной пробы, см2;

hв - толщина слоя воды, обеспечивающая давление на элементарную пробу, равное 1 г/см2 (hw = 1,0 см);

rв - плотность воды, равная 1,0 г/см3;

rж - плотность жидкости, г/см3.

5.5 При оценке времени проникания паров во вкладыш заливают 4 см3 жидкости.

5.6 При оценке однородности полимерных материалов выбор метода испытания и жидкости проводят в соответствии с нормативными документами с учетом химической стойкости и растворимости полимеров. При этом время проникания жидкости или ее паров через образец сравнения не должно превышать 6 ч (оптимальными значениями времени проникания является интервал от 0,5 до 2,0 ч), а испытуемый материал не должен растворяться в жидкости или разрушаться при ее воздействии.

5.7 При необходимости проводят предварительную оценку времени проникания через исследуемый материал выбранной жидкости согласно разделу 6 или 7 в зависимости от типа жидкости.

6 Порядок подготовки к проведению испытаний

6.1 Элементарные пробы и прокладки кондиционируют не менее 16 ч при температуре (22 ± 3) °С и влажности (65 ± 5) %.

6.2 Устанавливают скорость движения ленты потенциометра.

6.3 Включают в сеть потенциометр и тераомметр.

6.4 Прогревают потенциометр и тераомметр в течение 30 мин.

6.5 В соответствии с инструкцией по эксплуатации тераомметра проводят установку нуля.

6.6 Протирают рабочую поверхность кассеты электродов марлевым тампоном, смоченным этиловым спиртом, и дают электродам высохнуть.

7 Проведение испытаний по методу А

7.1 Сущность метода заключается в сравнении времени проникания паров кислот, представляющих собой водные растворы газообразных веществ, или аммиака через исследуемый материал со значениями этого показателя для образца сравнения.

7.2 Для оценки времени проникания применяют вариант устройства марки ППС-3 для оценки проницаемости полимерных материалов по отношению к парам (рисунок 1). Испытания проводят при температуре (22 ± 3) °С.

7.3 Элементарную пробу испытуемого материала устанавливают на рабочую поверхность кассеты электродов и собирают установку в соответствии с описанием.

7.4 Устанавливают в соответствии с инструкцией по эксплуатации диапазон измерения электрического сопротивления на тераомметре.

7.5 Заливают во вкладыш 4 см3 кислоты или раствора аммиака, одновременно делая отметку на ленте потенциометра, и заканчивают сборку установки.

7.6 При необходимости в ходе испытания делают корректировку диапазона измерения электрического сопротивления.

7.7 Момент проникания паров жидкости через элементарную пробу соответствует точке изгиба  (начало уменьшения и постоянного значения) или максимума  на записываемой потенциометром кривой изменения во времени поверхностного электрического сопротивления изнаночной стороны элементарной пробы (рисунок 3). Испытание продолжают до регистрации момента проникания.

Результат отдельного испытания времени проникания  определяют по ленте потенциометра по потенциометрической кривой как время между началом испытания и достижением точки изгиба или максимума по формуле

                                                                (2)

где L - расстояние на ленте потенциометра между точкой начала испытания и точкой достижения изгиба или максимума, мм;

vл - скорость движения ленты потенциометра, мм/с.

Результат отдельного испытания определяют визуально по ленте потенциометра по потенциометрической кривой как время между началом испытания и достижением точки изгиба или максимума.

Результаты отдельных испытаний определяют в минутах при значениях времени проникания 5 мин и более и в секундах при значениях времени проникания менее 5 мин.

7.8 Проводят оценку времени проникания той же самой жидкости через образец сравнения материала в соответствии с 7.2 - 7.7.

8 Проведение испытаний по методу Б

8.1 Сущность метода заключается в сравнении времени проникания легко кипящих органических растворителей через испытуемый материал со значениями этого показателя образца сравнения.

8.2 Для оценки времени проникания применяют вариант устройства марки ППС-3, предназначенный для оценки проницаемости полимерных материалов по отношению к жидкостям (рисунок 2). Испытания проводят при температуре (22 ± 3) °С.

8.3 Элементарную пробу испытуемого материала устанавливают на рабочую поверхность кассеты электродов и собирают установку в соответствии с описанием.

8.4 Устанавливают на тераомметре в соответствии с инструкцией по эксплуатации диапазон измерения электрического сопротивления.

8.5 Наносят требуемое количество жидкости на элементарную пробу, одновременно делая отметку на ленте потенциометра, и заканчивают сборку установки.

8.6 При необходимости в ходе испытания делают корректировку диапазона измерения электрического сопротивления.

8.7 Момент проникания жидкости через элементарную пробу соответствует на кривой, записываемой потенциометром, точке изгиба () или максимума () (рисунок 3). Испытание продолжают до регистрации момента проникания. По формуле (2) рассчитывают время проникания для каждого отдельного испытания.

1 - кривая с точкой изгиба постоянного поверхностного электрического сопротивления; 2 - кривая максимального поверхностного электрического сопротивления

Рисунок 3 - Определение времени проникания tпр агрессивных сред по различным видам записываемых потенциометром кривых изменения во времени поверхностного электрического сопротивления Rs

8.8 В случае, если при проникновении жидкости (или ее паров) на изнаночную сторону элементарной пробы поверхностное электрическое сопротивление его изнаночной стороны изменяется незначительно, для повышения точности оценки определяемого показателя под элементарной пробой устанавливают прокладку из фильтровальной бумаги и по кривой изменения ее поверхностного электрического сопротивления определяют момент проникания исследуемой жидкости (аналогично случаю регистрации поверхностного электрического сопротивления изнаночной стороны элементарной пробы).

8.9 Проводят оценку времени проникания той же самой жидкости через образец сравнения материала в соответствии с 8.2 - 8.8.

9 Обработка результатов

9.1 За результат оценки времени проникания принимают среднее логарифмическое значение  результатов пяти параллельных измерений времени проникания , мин, испытательной среды через испытуемый материал, рассчитываемое по формуле

                                            (3)

где i - номер испытуемой элементарной пробы от 1 до 5;

n - число параллельных испытаний (n = 5).

Данные показатели вычисляют для испытуемого материала (соответственно  и ) и образца сравнения (соответственно  и ).

9.2 При значениях времени проникания 5 мин и более вычисление проводят с точностью до 0,1 мин с последующим округлением до целой минуты, при значениях времени проникания менее 5 мин - с точностью до 0,1 с с последующим округлением до целой секунды.

9.3 Коэффициент однородности материала Ко, %, рассчитывают по формуле

                                           (4)

где  - среднее логарифмическое значение времени проникания жидкости или паров через образец испытуемого материала, мин;

 - среднее логарифмическое значение времени проникания жидкости или паров через образец сравнения материала, мин.

9.4 Допустимые значения коэффициента однородности материала Ко представлены в таблице 1.

Таблица 1 - Допустимые значения коэффициентов однородности

Назначение средств индивидуальной защиты

Допустимые значения коэффициентов однородности материалов, %

Для защиты от воздействия агрессивных и токсичных жидкостей, паров, газов и биологических сред

< 20

Для защиты от воды, нетоксичной пыли и общих загрязнений

< 35

Для защиты от механических воздействий и т.п.

< 50

9.5 Результаты испытаний заносят в протокол испытаний. В протоколе испытаний должно быть указано:

- название материала с указанием нормативных документов;

- изготовитель;

- дата изготовления;

- заявитель;

- испытательная жидкость;

- вид воздействия испытательной жидкости (объемное нанесение или пары);

- метод испытания (ссылка на настоящий стандарт);

- дата проведения отдельных испытаний испытуемых образцов и образца сравнения;

- температура испытания;

- результаты отдельных испытаний испытуемого образца и образца сравнения;

- результаты оценки средних значений и доверительный интервал времени проникания через испытуемый образец и образец сравнения;

- коэффициент однородности материала Ко;

- заключение об однородности материала.

Форма протокола испытаний приведен в приложении А.

10 Требования безопасности

10.1 Работы с жидкостями следует проводить в вытяжном шкафу при включенной вентиляции.

10.2 Концентрация паров в воздухе рабочей зоны не должна превышать предельно допустимые по ГОСТ 12.1.005 и [1].

10.3 Испытания проводят с соблюдением правил по технике безопасности, установленных для работы с применяемыми жидкостями. При работе следует учитывать класс опасности веществ, их ПДК и характер действия на организм человека.

10.4 При проведении испытаний должны применяться СИЗ, указанные в разделе 5. В зависимости от класса опасности веществ и характера их действия на организм человека допускается использование других СИЗ.

10.5 При работе необходимо соблюдение правил безопасности по применению тераомметра и потенциометра, установленные инструкциями по их эксплуатации.

ПРИЛОЖЕНИЕ А
(справочное)

ПРОТОКОЛ
испытаний по оценке коэффициента однородности материала

Название материала (марка, НД):

Изготовитель:

Дата изготовления:

Заявитель:

Испытательная среда:

Вид воздействия испытательной среды:

Метод испытания: ГОСТ

Номер п/п

Дата испытания

Температура испытания, °С

Результаты отдельных испытаний, мин

Результаты оценки времени проникания испытательной среды, мин

Коэффициент однородности материала Ко

испытуемого образца

образца сравнения

через испытуемый образец

через образец сравнения

1

2

3

4

5

 

ЗАКЛЮЧЕНИЕ:

Испытание провел:

Должность

Личная подпись

Расшифровка подписи

ПРИЛОЖЕНИЕ Б
(справочное)

Библиография

[1] ГН 2.2.5.686-98 Предельно-допустимые концентрации (ПДК) вредных веществ в воздухе рабочей зоны

 

 

Ключевые слова: средство индивидуальной защиты, материал с полимерным покрытием, пленочный материал, искусственная кожа, прорезиненная ткань, поверхностное электрическое сопротивление, однородность материала