ОТРАСЛЕВЫЕ СТАНДАРТЫ
ДЕТАЛИ И СБОРОЧНЫЕ ЕДИНИЦЫ
ИЗ ХРОМОМОЛИБДЕНОВАНАДИЕВЫХ СТАЛЕЙ
ДЛЯ ПАРОПРОВОДОВ ТЕПЛОВЫХ
ЭЛЕКТРОСТАНЦИЙ
ТИПЫ, КОНСТРУКЦИЯ, РАЗМЕРЫ
И ТЕХНИЧЕСКИЕ ТРЕБОВАНИЯ
БЛОКИ С СОПЛАМИ ДЛЯ ПАРОПРОВОДОВ ТЭС
КОНСТРУКЦИЯ И РАЗМЕРЫ
ОСТ 108.839.09-82
Срок действия стандартов не ограничен в соответствии
с указанием Госстандарта РФ № 1/28-332 от 15.02.94
УТВЕРЖДЕН И ВВЕДЕН В ДЕЙСТВИЕ указанием Министерства энергетического машиностроения от 04.06.82 № ВВ-002/4628
СОГЛАСОВАН с Главным управлением по проектированию и научно-исследовательским работам Министерства энергетики и электрификации СССР
Л.М. ВОРОНИН
Отраслевые стандарты
на детали и сборочные единицы
с расчетным ресурсом 100 тыс. ч
ОСТ 108.839.09-82
ОТРАСЛЕВОЙ СТАНДАРТ
|
БЛОКИ С СОПЛАМИ ДЛЯ ПАРОПРОВОДОВ ТЭС КОНСТРУКЦИЯ И РАЗМЕРЫ |
ОСТ 108.839.09-82 Взамен |
Указанием Министерства энергетического машиностроения от 04.06.82 № ВВ-002/4628 срок действия установлен
с 01.01.85
до 01.01.96
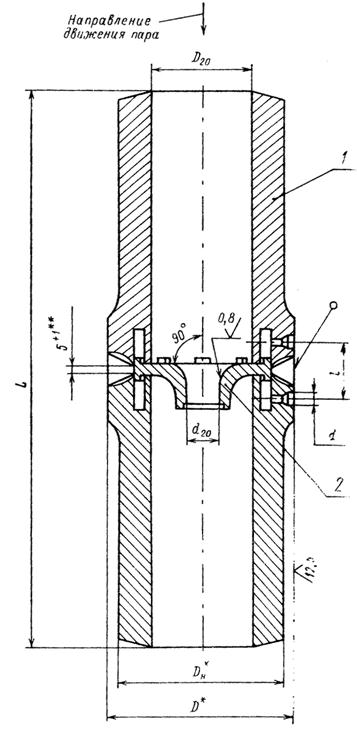
1. Настоящий стандарт распространяется на блоки с соплами, устанавливаемые на паропроводах тепловых электростанций с абсолютным давлением пара р = 9,81 МПа (100 кгс/см2) и температурой t = 540 °С.
2. Конструкция и размеры блоков с соплами должны соответствовать указанным на чертеже и в табл. 1.
3. Наименование и обозначение деталей, входящих в блок с соплом, указаны в табл. 2. Блок комплектуется также четырьмя штуцерами, ввариваемыми в отверстия «d» на монтаже для отбора импульса давления. Штуцера изготавливаются по чертежам предприятия-изготовителя. Приварка импульсных трубок непосредственно к патрубкам (поз. 1) не допускается.
4. Наплавленный металл - по ОСТ 108.940.02.
5. Тип исполнения патрубков выбирается предприятием - изготовителем блоков с соплами.
6. При контроле размеров D20 и d20 использовать отраслевые стандарты на патрубки и чертежи на сопла.
7. Остальные технические требования - по ОСТ 24.125.60.
8. Пример условного обозначения блока с соплом исполнения 02 с условным проходом Dу = 100 мм:
БЛОК С СОПЛОМ 100 02 ОСТ 108.839.09.
9. Пример маркировки: 02 ОСТ 108.839.09 
*Размеры для справок
**Для исполнения 01 - 3+1
Таблица 1
Размеры, мм
|
Условный проход Dу |
Dн |
D* |
D20 |
d20 |
l |
L |
Масса наплавленного металла, кг |
Масса, кг |
|||
|
Номин. |
Пред. откл. |
Номин. |
Пред. откл. |
||||||||
|
01 |
65 |
76 |
106 |
62 |
По расчету |
53 |
+2 -1 |
273 |
±5 |
0,2 |
5,35 |
|
02 |
100 |
133 |
168 |
111 |
55 |
603 |
0,7 |
26,5 |
|||
|
03 |
125 |
159 |
195 |
133 |
703 |
0,9 |
43,5 |
||||
|
04 |
150 |
194 |
232 |
162 |
823 |
1,3 |
74,6 |
||||
|
05 |
175 |
219 |
256 |
183 |
903 |
1,6 |
103,0 |
||||
|
06 |
225 |
273 |
315 |
229 |
1083 |
2,5 |
185,5 |
||||
|
07 |
250 |
325 |
372 |
273 |
65 |
1283 |
3,6 |
308 |
|||
* Размеры для справок.
Таблица 2
|
Патрубок (поз. 1) 2 шт. |
Сопло (поз. 2) 1 шт. |
|
|
Обозначение |
||
|
01 ОСТ 108.839.09 |
||
|
02 ОСТ 108.839.09 |
||
|
03 ОСТ 108.839.09 |
||
|
04 ОСТ 108.839.09 |
||
|
05 ОСТ 108.839.09 |
||
|
06 ОСТ 108.839.09 |
||
|
07 ОСТ 108.839.09 |
||
ИНФОРМАЦИОННЫЕ ДАННЫЕ
1. УТВЕРЖДЕН И ВВЕДЕН В ДЕЙСТВИЕ указанием Министерства энергетического машиностроения от 04.06.82 № ВВ-002/4628
2. ИСПОЛНИТЕЛИ
П.М. Христюк, канд. техн. наук; Д.Д. Дорофеев, канд. техн. наук (руководитель темы); Г.Н. Смирнов (руководитель темы); Л.Н. Жылюк; В.Н. Шанский; Н.В. Москаленко; Д.Ф. Фомина; Г.А. Мисирьянц; В.Ф. Логвиненко; Ф.А. Гловач; А.З. Гармаш; Н.Г. Мазин; А.С. Шестернин
3. ЗАРЕГИСТРИРОВАН Государственным комитетом СССР по стандартам за № 8257346 от 09.09.82
4. ВЗАМЕН ОСТ 24.839.08-72
5. ССЫЛОЧНЫЕ НОРМАТИВНО-ТЕХНИЧЕСКИЕ ДОКУМЕНТЫ
|
Обозначение НТД, на который дана ссылка |
Номер пункта, подпункта, перечисления, приложения |
|
ОСТ 24.125.60-89 |
|
|
ОСТ 108.940.02-82 |
6. ПЕРЕИЗДАНИЕ (1992 г.) с Изменениями № 1, 2, 3, 4
Срок действия продлен до 1996 г. Изменением № 3, утвержденным письмом Минтяжмаша СССР от 27.12.90 № ВА-002-1-12060.