
ГОСУДАРСТВЕННЫЙ КОМИТЕТ РОССИЙСКОЙ
ФЕДЕРАЦИИ
ПО СВЯЗИ И ИНФОРМАТИЗАЦИИ
Стандарт отрасли
АППАРАТУРА ПЕРЕДАЧИ ДАННЫХ
ЦЕПИ СТЫКА НЕСИММЕТРИЧНЫЕ
ДЛЯ ДВУХПОЛЯРНОГО ТОКА
ОСТ 45.110-97
Москва - 1997
ЦНТИ «Информсвязь»
Предисловие
1 РАЗРАБОТАН Центральным научно-исследовательским институтом связи
ВНЕСЕН Научно-технический управлением и охраны труда Госкомсвязи России
2 УТВЕРЖДЕН Госкомсвязи России
3 ВВЕДЕН В ДЕЙСТВИЕ информационным письмом от 03.10.97 № 5087
4 ВВЕДЕН ВПЕРВЫЕ
СОДЕРЖАНИЕ
Введение
Настоящий стандарт отрасли разработан с учетом современных требований к сетям связи для передачи данных с целью обеспечения правильного функционирования оконечного оборудования данных (ООД) и аппаратуры окончания канала данных (АКД).
ОСТ 45.110-97
СТАНДАРТ ОТРАСЛИ
АППАРАТУРА ПЕРЕДАЧИ ДАННЫХ
ЦЕПИ СТЫКА НЕСИММЕТРИЧНЫЕ ДЛЯ ДВУХПОЛЯРНОГО ТОКА
Общие требования
Дата введения 01.01.1998
Настоящий стандарт отрасли распространяется на несимметричные цепи стыка, работающие двухполярным током и предназначенные для использования в аппаратуре систем передачи данных на скоростях передачи до 100 кбит/с.
Стандарт устанавливает основные требования к электрическим характеристикам генератора и приемника, а также к методам их измерений при работе по несимметричным цепям стыка.
Стандарт предназначен для разработчиков аппаратуры передачи данных и специалистов, занимающихся ее эксплуатацией.
В настоящем стандарте использованы ссылки на стандарт:
ГОСТ 23875-79 Цепи стыка С2 системы передачи данных. Электрические параметры.
3.1 В настоящем стандарте применяются следующие термины с соответствующими определениями:
логическое состояние «0» - состояние «0» двоичного сигнала для цепей категории «данные» или состояние «ВКЛЮЧЕНО» для цепей категории «синхронизация» и «управление»;
логическое состояние «1» - состояние «1» двоичного сигнала для цепей категории «данные» или состояние «ВЫКЛЮЧЕНО» для цепей категории «синхронизация» и «управление»;
цепи категории «данные» - информационные цепи стыка;
цепи категории «синхронизация» - цепи стыка, необходимые для поддержания требуемых фазовых соотношений между сигналами взаимодействия ООД и АКД;
цепи категории «управление» - цепи стыка, служащие для управления обменом данных между ООД и АКД;
элемент сигнала - часть цифрового сигнала данных, отличающаяся от остальных частей значением одного из своих представляющих параметров;
дифференциальный приемник - приемник, который реагирует на разность напряжений между его входами;
внутреннее смещение симметрии - разность коэффициента передачи дифференциального приемника для положительного и отрицательного сигнала;
общий провод - провод, соединяющий точки подключения всех генераторов и приемников на ООД или АКД;
общий обратный провод - провод, соединяющий «общие провода» АКД и ООД;
напряжение холостого хода генератора - напряжение, измеренное на нагрузочном сопротивлении, включенном на выходе генератора, величина которого в несколько раз превышает величину нагрузочного сопротивления в рабочем режиме;
напряжение смещения генератора - постоянное напряжение, поступающее на оба входа приемника, подаваемое преднамеренно или возникающее из-за паразитных токов утечки;
3.2 В настоящем стандарте применяются следующие сокращения:
АКД - аппаратура окончания канала данных;
ООД - оконечное оборудование данных;
Г - генератор;
ПР - приемник.
4.1.1 Несимметричная цепь стыка состоит из несимметричного генератора, соединенного с приемником посредством сигнального провода и общего обратного провода, и предназначена для работы на скоростях передачи данных до 100 кбит/с.
4.1.2 Типичными случаями применения несимметричных цепей стыка является соединение оконечного оборудования данных (ООД) с аппаратурой окончания канала данных (АКД) или двух ООД.
Совместимость несимметричных цепей стыка с цепями стыка других типов приведена в Приложении А.
Требования, предъявляемые к параметрам коаксиального кабеля для несимметричных цепей стыка, приведены в Приложении Б.
Требования, предъявляемые к параметрам соединительного кабеля для несимметричных цепей стыка, приведены в Приложении В.
Примечания
1 Скорости передачи выше 100 кбит/с также могут использоваться, но предлагаемая максимальная дальность действия должна быть соответственно уменьшена согласно Приложению В, рисунок В.1.
2 Не следует применять несимметричные цепи стыка для работы в указанном диапазоне скоростей в случаях, когда:
- длина соединительного кабеля превышает критическую длину, допускаемую для данной скорости;
- внешние помехи препятствуют нормальной работе несимметричных цепей;
- возникает необходимость уменьшения влияния одних цепей стыка на другие.
4.1.3 Эквивалентная схема несимметричной цепи стыка не зависит от взаимного расположения генератора и нагрузки: генератор может помещаться в ООД, нагрузка в АКД и наоборот.
Эквивалентная схема несимметричной цепи стыка приведена на рисунке 1.

Uас - выходное напряжение генератора;
Ug - разность потенциалов заземления генератора и приемника;
а (а¢) - активная точка подключения генератора (нагрузки);
с (в¢) - точка общего обратного провода генератора (нагрузки);
с¢ - нулевая точка приемника;
Zt - сопротивление нагрузки, используется в случае применения коаксиального кабеля.
Примечания
1 Выходные параметры генератора без соединительного кабеля определяются в «точках подключения генератора». Электрические характеристики приемника определяются в «точках подключения нагрузки».
2 Точки с и с¢ допускается соединять с защитным заземлением.
Рисунок 1 - Эквивалентная схема несимметричной цепи стыка
4.1.4 Требования к параметрам соединительного кабеля предъявляются со стороны ООД. Разграничительная линия между АКД и ООД, представляющая стык, физически реализуется в виде разъема согласно ГОСТ 23675. Эквивалентная схема несимметричной цепи стыка для обоих направлений передачи показана на рисунке 2.
а¢, в¢ - точки стыка нагрузки;
а, с - точки стыка генератора;
с¢ - точка стыка с нулевым потенциалом.
Примечания
1 Точки стыка с¢ с нулевым потенциалом допускается соединять с помощью провода «Сигнальное заземление».
2 Провод «Сигнальное заземление» допускается подключать к внешнему защитному заземлению.
Рисунок 2 - Эквивалентная схема несимметричной цепи стыка для обоих направлений передачи
4.2.1 Выходные параметры генератора определяются в «точках подключения генератора», указанных на рисунке 1.
При передаче сигнала, соответствующего логическому состоянию «0» для цепей категории «данные» или состоянию «ВКЛЮЧЕНО» для цепей категории «синхронизация» и «управление», потенциал в выходной точке а должен быть положительным относительно потенциала в точке с.
При передаче сигнала, соответствующего логическому состоянию «1» для цепей категории «данные» или состоянию «ВЫКЛЮЧЕНО» для цепей категории «синхронизация» и «управление», потенциал в выходной точке а должен быть отрицательным относительно потенциала в точке с.
4.2.2 Выходное сопротивление генератора между точками а и с должно быть не более 50 Ом [1].
4.2.3 Измерение напряжения при холостом ходе проводится при сопротивлении нагрузки R, равном 3,9 кОм, включенном между выходными точками а и с. При обоих логических состояниях «0» и «1» выходное напряжение генератора V0 должно быть не менее 4 В и не более 6 В, соответственно [1].
Схема измерения приведена на рисунке 3.

а - активная точка подключения генератора;
с - точка общего обратного провода генератора;
R - сопротивление нагрузки;
В - вольтметр;
U0 - выходное напряжение генератора.
Рисунок 3 - Схема измерения напряжения при холостом ходе
4.2.4 При испытательной нагрузке 450 Ом, включенной между выходными точками а и с, значение выходного напряжения Ut при обоих логических состояниях «0» и «1» должно быть не менее 0,9U0 [1]. Схема измерения приведена на рисунке 4.
а - активная точка подключения генератора;
с - точка общего обратного провода генератора;
R - сопротивление нагрузки;
В - вольтметр;
Ut - выходное напряжение генератора.
Рисунок 4 - Схема измерения напряжения при испытательной нагрузке
4.2.5 При коротком замыкании выходных точек а и с ток короткого замыкания Is, протекающий через точку А, при обоих логических состояниях «0» и «1» должен быть не более 150 мА [1].
Схема измерения приведена на рисунке 5.
а - активная точка подключения генератора;
с - точка общего обратного провода генератора;
мА - миллиамперметр;
Is - ток короткого замыкания.
Рисунок 5 - Схема измерения тока при коротком замыкании
4.2.6 При отключении питания и при напряжении в диапазоне от плюс 0,25 В до минус 0,25 В, приложенном между выходной точкой а и точкой с, значение тока утечки на выходе Iх должно быть не более 100 мкА [1].
Схема измерения приведена на рисунке 6.

а - активная точка подключения генератора;
с - точка общего обратного провода генератора;
мкА - микроамперметр;
Ix - ток утечки.
Рисунок 6 - Схема измерения тока утечки при отключении питания
4.2.7 Измерение времени нарастания выходного сигнала генератора проводится при включении между точками а и с сопротивления нагрузки R, равного 450 Ом. На вход генератора должен подаваться испытательный сигнал, состоящий из чередующихся единиц и нулей с номинальной длительностью элемента сигнала tb. При этом выходной сигнал должен соответствовать следующим требованиям:
а) изменение амплитуды выходного сигнала в пределах от 0,1 до 0,9 значения Uss должно быть линейным.
Напряжение Uss представляет собой разность напряжений устойчивых состояний генератора.
б) время перехода выходного сигнала из одного логического состояния в другое tr должно быть таким, чтобы сигнал достигал значения 0,9Uss за интервал времени от 0,1 до 0,3 значения tb на скоростях передачи выше 1 кбит/с и за время от 100 до 300 икс на скоростях передачи 1 кбит/с и ниже [1].
в) для уменьшения уровня помех (переходных влияний на ближнем конце), которые могут вноситься в соседние цепи, должно применяться формирование выходного сигнала генератора. Метод формирования сигнала не стандартизируется, но примеры Формирования сигнала приведены в Приложении Г.
Схема измерения времени нарастания выходного сигнала генератора приведена на рисунке 7, форма выходного сигнала генератора показана на рисунке 8.

а - активная точка подключения генератора;
с - точка общего обратного провода генератора;
R - сопротивление нагрузки;
В - вольтметр;
Uss - разность напряжений устойчивых состояний генератора.
Рисунок 7 - Схема измерения времени нарастания выходного сигнала генератора
tb - номинальная длительность элемента сигнала;
tr+ - длительность перехода сигнала из состояния «1» в состояние «0»;
tr- - длительность перехода сигнала из состояния «0» в состояние «1»;
Uss - разность напряжений устойчивых состояний генератора.
Рисунок 8 - Форма выходного сигнала генератора для несимметричной цепи стыка
4.3.1 Нагрузкой является приемник и возможное сопротивление нагрузки кабеля Zt, приведенные на рисунке 1.
Для обеспечения требуемых параметров нагрузки используется схема дифференциального приемника, имеющего высокое входное сопротивление, небольшую переходную область порога на входе (разность напряжений от минус 0,3 В до плюс 0,3 В) и допуск на внутреннее смещение симметрии в пределах от минус 3 В до плюс 3 В.
Электрические характеристики приемника определяются в «точках подключения нагрузки» согласно рисунку 1.
Состояние приемника при различных уровнях сигнала на его входах приведено в таблице 1.
Графическое изображение состояний приемника показано на рисунке 9.
Таблица 1 - Состояние приемника при различных уровнях сигнала на его входах
|
Категория цепи |
Состояние приемника при Uа¢ - Uв¢ £ -0,3 В |
Состояние приемника при Uа¢ - Uв¢ ³ +0,3 В |
|
Данные |
1 |
0 |
|
Управление, синхронизация |
ВЫКЛЮЧЕНО |
ВКЛЮЧЕНО |
|
Примечание - Uа¢ напряжение в точке а¢ относительно точки с¢; Uв¢ - напряжение в точке в¢ относительно точки с¢. |
||

Рисунок 9 - Графическое изображение состояний «1» и «0» на входе приемника
4.3.2 Измерение тока на входе приемника происходит при изменении напряжения Uiа (или Uib) на входе от минус 10 до плюс 10 В, при этом Uib (или Uiа) поддерживается равным 0 В. Схема измерения приведена на рисунке 10. График зависимости тока на входе приемника от напряжения на его входе показан на рисунке 11.
Результирующий входной ток Iiа (или Iib) должен оставаться в пределах заштрихованной области графика, показанного на рисунке 11.
Эти измерения проводятся как при включенном, так и при отключенном источнике питания приемника [1].
В - вольтметр;
мА - миллиамперметр;
а¢ - активная точка подключения нагрузки;
в¢ - точка общего обратного провода нагрузки;
с¢ - нулевая точка приемника;
Uiа - напряжение на входе приемника между точками А¢ и С¢;
Uib - напряжение на входе приемника между точками В¢ и С¢;
Iiа - входной ток приемника через точку А¢;
Iib - входной ток приемника через точку В¢.
Рисунок 10 - Схема измерения тока на входе приемника при изменении напряжения на его входе
Uiа (Uib) - напряжение на входе приемника между точками а¢ и с¢ (между точками в¢ и с¢);
Iiа (Iib) - входной ток приемника через точку а¢ (через точку в¢).
Рисунок 11 - График зависимости тока на входе приемника от напряжения на входе приемника
4.3.3 Переход приемника в заданное логическое состояние, при измерении чувствительности приемника на постоянном токе, должен происходить при разности напряжений на входах приемника Ui не более 0,3 В во всем диапазоне напряжения смещения Uсм от плюс 7 в до минус 7 В.
Схема измерения чувствительности приемника на постоянном токе приведена на рисунке 12.
Приемник должен удовлетворять следующим требованиям:
- изменение полярности напряжения Ui должно приводить к переходу приемника в другое логическое состояние;
- максимальное напряжение, которое может быть приложено между одной из двух входных точек приемника и общим проводом (точкой с¢), должно быть не более 10 В и не должно приводить к неправильному срабатыванию приемника;
- приемник не должен выходить из строя при разности напряжений до 12 В включительно на его входных зажимах а¢ и в¢;
- при комбинациях входных напряжений Uiа и Uib, приведенных в таблице 2, приемник должен сохранять определенное логическое состояние на выходе и должен работать без повреждений [1].
Примечание - Медленные изменения сигнала при переходе через пороговые значения при наличии помех могут приводить к нестабильности или колебаниям в приемнике. Для предотвращения таких явлений могут быть остановлены разные значения порогов перехода приемника из одного состояния в другое для разных направлений изменения сигнала согласно ГОСТ 23875.
В - вольтметр;
а¢ - активная точка подключения нагрузки;
в¢ - точка общего обратного провода нагрузки;
с¢ - нулевая точка приемника.
Ui - напряжения на входе приемника;
Uia - напряжение на входе приемника между точками а¢ и с¢;
Uib - напряжение на входе приемника между точками в¢ и с¢;
Uсм - напряжение смещения.
Рисунок 12 - Схема измерения чувствительности приемника на постоянном токе
Таблица 2 - Комбинации напряжений на входах приемника и соответствующие им логические состояния на его выходе
|
Подаваемые напряжения |
Результирующее входное напряжение, Ui |
Логическое состояние на выходе |
Цель измерения |
|
|
Uia |
Uib |
|||
|
-12 В |
0 В |
-12 В |
Не определено |
Проверка сохранения работоспособности после воздействия повышенного напряжения на входе |
|
0 В |
-12 В |
+12 В |
||
|
+12 В |
0 В |
+12 В |
||
|
0 В |
+12 В |
-12 В |
||
|
+10 В |
+4 В |
+6 В |
0 |
Проверка правильности работы при Ui = 6 В |
|
+4 В |
+10 В |
-6 В |
1 |
|
|
-10 В |
-4 В |
-6 В |
1 |
|
|
-4 В |
-10 В |
+6 В |
0 |
|
|
|
|
|
|
Проверка порогового напряжения 0,3 В при |
|
+0,30 В |
0 В |
+0,3 В |
0 |
|
|
0 В |
+0,30 В |
-0,3 В |
1 |
Uсм = 0 В |
|
+7,15 В |
+6,85 В |
+0,3 В |
0 |
Uсм = +7 В |
|
+6,85 В |
+7,15 В |
-0,3 В |
1 |
|
|
-7,15 В |
-6,85 В |
-0,3 В |
1 |
Uсм = -7 В |
|
-6,85 В |
-7,15 В |
+0,3 В |
0 |
|
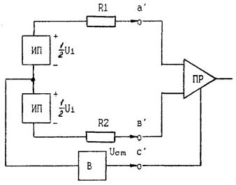
4.3.4 При проверке симметрии входа приемника, сбалансированность входных сопротивлений приемника и внутреннее смещение симметрии должны быть такими, чтобы приемник сохранял заданное логическое состояние при условиях, приведенных на рисунке 13 и описанных ниже:
- Ui равно плюс 720 мВ и Uсм изменяется от минус 7 до плюс 7 В по любому законы;
- Ui равно минус 720 мВ и Uсм изменяется от минус 7 до плюс 7 В по любому закону;
- Ui равно плюс 300 мВ, Uсм представляет собой прямоугольные импульсы с размахом амплитуд 1,5 В при самой высокой применяемой скорости передачи данных, как показано на рисунке 14а;
- Ui равно минус 300 мВ, Uсм представляет собой прямоугольные импульсы с размахом амплитуд 1,5 В при самой высокой применяемой скорости передачи данных, как показано на рисунке 14б [1].

R1, R2 = 500 Ом (подобранная пара);
а¢ - активная точка подключения нагрузки;
в¢ - точка общего обратного провода нагрузки;
с¢ - нулевая точка приемника;
ИП - источник питания;
В - вольтметр;
1/2Ui - испытательное напряжение;
Uсм - напряжение смещения.
Рисунок 13 - Схема проверки симметрии входа приемника

Рисунок 14 - Вид сигнала на входе приемника
4.4.1 Для устойчивой работы несимметричной цепи стыка на скоростях передачи данных от 0 до 100 кбит/с, должны быть выполнены следующие условия:
- общая амплитуда помехи, измеряемая между зажимами а¢ и в¢ в точках подключения нагрузки (показанных на рисунке 1), при подсоединении резистора R = 50 Ом, заменяющего генератор, к точкам подключения генератора а и с (показанных на рисунке 1), должна быть не более заданной амплитуды принимаемого сигнала минус 0,3 В;
- сумма разности потенциалов нулевых точек генератора и приемника (Ug на рисунке 1) и пикового напряжения наводимой продольной случайной помехи, измеренная между точками приемника а¢ или в¢ и с¢ при соединенных вместе точках стыка а и с генератора, должна быть не более 4 В [1].
4.4.2 Генератор и нагрузочные устройства несимметричной цепи стыка должны сохранять работоспособность при следующих режимах работы:
- холостой ход генератора:
- короткое замыкание между проводами соединительного кабеля;
- короткое замыкание между одним или обоими сигнальными проводами и точкой с или с¢, показанными на рисунке 1.
Примечания
1 При содержании в типовом модуле интегральных схем множества генераторов и приемников сигналов, в каждый отдельный момент времени допускается только одна неисправность на модуль [1].
2 Между входными или выходными точками генератора и приемника и их обратными проводами (точками с или с¢, показанными на рисунке 1) при случайном подключении цепей соединительного кабеля к посторонним источникам или при воздействии сильных электромагнитных полей может возникнуть паразитное напряжение, амплитуда которого превышает допустимое значение. Для предотвращения этих явлений следует применять защиту.
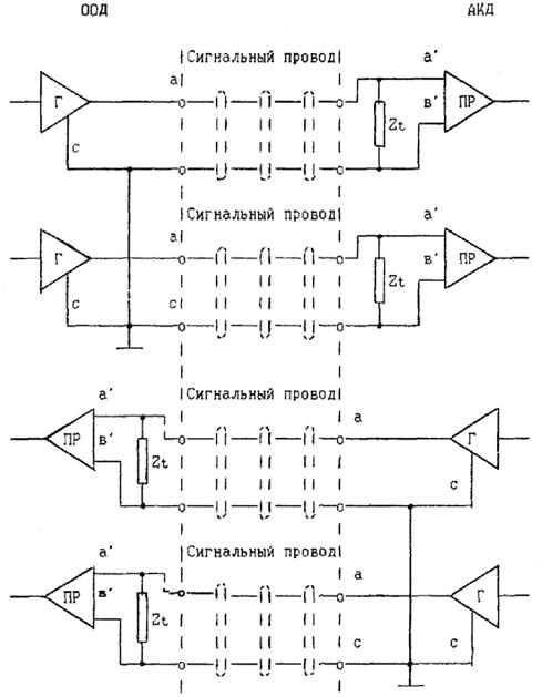
Для обеспечения возможности выбора генератора (симметричного или несимметричного) приемники подразделяют на две категории.
4.5.1 Приемник категории 1. Каждый приемник должен иметь два отдельных входных зажима а¢ и в¢, подсоединяемых к индивидуальным зажимам в точке подключения нагрузки, при этом все приемники независимы друг от друга.
Схема подключения общего обратного провода для приемников категории 1 приведена на рисунке 15.
а (а¢) - активная точка подключения генератора (нагрузки);
с (в¢) - точка общего обратного провода генератора (нагрузки);
с¢ - нулевая точка приемника;
цепь 102 а (цепь 102 в) - общий обратный провод ООД (АКД);
Рисунок 15 - Схема подключения общего обратного провода для приемников категории 1
На рисунке А.1 в Приложении А приведена схема подключения нескольких общих обратных проводов для взаимодействия генераторов несимметричных цепей стыка с приемниками категории 1.
4.5.2 Приемник категории 2. Приемники должны иметь в точке подключения нагрузки по одному оконечному зажиму для каждого входного зажима а¢, а все входные зажимы в¢ должны внутри АКД или ООД соединяться вместе и выводиться на один общий входной зажим в¢.
Схема подключения общего обратного провода для приемников категории 2 приведена на рисунке 16.

а (а¢) - активная точка подключения генератора (нагрузки);
с (в¢) - точка общего обратного провода генератора (нагрузки);
с¢ - нулевая точка приемника;
цепь 102 а (цепь 102 в) - общий обратный провод ООД (АКД).
Рисунок 16 - Схема подключения общего обратного провода для приемников категории 2
Определение категории приемников производится для конкретного типа АКД, использующей на стыке электрические характеристики этого типа.
4.6.1 Соединение точек подключения генератора и нагрузки, как показано на рисунке 1, должно состоять из сигнального провода для каждой цепи и общего обратного провода для каждого направления, как показано на рисунке 15 и рисунке 16.
4.6.2 Для уменьшения влияния на сигнал разности потенциалов между заземленными точками генератора и приемника (Ug на рисунке 1) и продольно наведенной помехи на сигнальном проводе, общий обратный провод должен быть подключен к земле только в точке с стыка генератора.
Примечание - Например, точки в всех приемников в ООД, которые соединяются с несимметричными генераторами в АКД, должны подключаться к цепи «Общий обратный провод» 102в, которая соединена с землей только в АKД. Цепь «Общий обратный провод» 102а, к которой подключаются точки в¢ всех приемников в АKД, должна соединяться с землей только в ООД в точке с, как показано на рисунке 15 и рисунке 16.
4.6.3 При осуществлении взаимодействия в соответствии с Приложением А, п. А.1, общий обратный провод может быть реализован в виде нескольких проводов.
4.7.1 Приемник при возникновении неисправности в цепях стыка должен обеспечить ее обнаружение с помощью дополнительных средств. Установление причин неисправности возможно на основании следующих признаков:
тип 0 - приемник (нагрузка) не выдает никакой сигнализации, так как не способен обнаружить неисправность;
тип 1 - сигнализация об установлении цепи данных в состояние «1», а цепи управления и синхронизации в состояние «выключено» - при обнаружении определенного типа неисправности;
тип 2 - сигнализация об установлении цепи данных в состояние «0», а цепи управления и синхронизации в состояние «включено» - при обнаружении определенного типа неисправности;
тип 3 - приемник вырабатывает специальную индикацию при возникновении определенного типа неисправности.
Примечание - В цепях стыка требуется обнаружение следующих неисправностей:
- генератор не имеет питания;
- приемник не соединен с генератором;
- обрыв соединительного кабеля;
- короткое замыкание соединительного кабеля;
- сигнал на входе нагрузки остается в пределах переходной области (±300 мВ) в течение ненормального интервала времени.
Контрольные измерения при оценке правильности работы стыка подразделяются на обязательные и необязательные.
Обслуживающий персонал должен иметь возможность проведения контрольных измерений параметров несимметричных цепей в физической точке стыка (на разъеме).
4.8.1 Обязательными измерениями являются:
- измерение напряжения при холостом ходе;
- измерение напряжения при испытательной нагрузке;
- измерение тока при коротком замыкании:
- измерение времени нарастания выходного сигнала генератора;
- измерение чувствительности приемника на постоянном токе.
4.8.2 При необходимости проводятся:
- измерение полного сопротивления генератора между точками а и с;
- измерение тока утечки при отключении питания генератора;
- измерение напряжения и тока, на входе приемника;
- проверка симметрии входа приемника;
- обнаружение и установление причин неисправности в цепях стыка (п. 4.7).
(справочное)
А.1 Взаимодействие несимметричных и симметричных цепей стыка
А.1.1 Соответствующий подбор электрических параметров несимметричных и симметричных цепей стыка позволяет использовать симметричные и несимметричные цепи в одном стыке. Например, симметричные цепи могут быть использованы в качестве цепей категории «данные» и «синхронизация», а несимметричные цепи могут быть использованы в качестве цепей категории «управление».
А.1.2 Электрические параметры дифференциального приемника для несимметричных и симметричных цепей стыка одинаковы. Поэтому возможно взаимное соединение аппаратуры, использующей приемники и генераторы несимметричных цепей на одной стороне стыка с аппаратурой, использующей генераторы и приемники симметричных цепей на другой стороне стыка.
При этом должны учитываться следующие технические требования:
- длина соединительного кабеля ограничивается характеристиками цепей, у которых нагрузкой является аппаратура с несимметричными цепями стыка;
- возможное нагрузочное сопротивление кабеля Zt, если оно предусмотрено в аппаратуре с симметричными цепями стыка, должно быть выключено;
- приемники с несимметричными цепями стыка должны быть категории 1, как показано на рисунке А.1.
А.2. Взаимодействие несимметричных цепей стыка, работающих на скоростях передачи данных до 100 кбит/с с несимметричными цепями стыка, работающими на скоростях передачи данных до 20 кбит/с.
А.2.1 Несимметричные цепи стыка, работающие на скоростях передачи данных до 100 кбит/с, имеют индивидуальный общий обратный провод для каждой цепи стыка, несимметричные цепи стыка, работающие на скоростях передачи данных до 20 кбит/с, имеют общий обратный провод для всех цепей стыка.
А.2.2 Электрические характеристики несимметричных цепей стыка, работающих на скоростях передачи данных до 100 кбит/с, разработаны таким образом, чтобы допускать ограниченное взаимодействие с генераторами и приемниками несимметричных цепей стыка, работающих на скоростях до 20 кбит/с.

а (а¢) - активная точка подключения генератора (нагрузки);
с (в¢) - точка общего обратного провода генератора (нагрузки);
с¢ - нулевая точка приемника;
цепь 102 а (цепь 102 в) - общий обратный провод ООД (АKД);
Рисунок А.1 - Схема подключения нескольких общих обратных проводов для взаимодействия генераторов несимметричных цепей с приемниками категории 1
При этом должны учитываться следующие технические ограничения:
- отдельные обратные цепи, предусмотренные в ООД и АКД стыка, работающего на скоростях передачи данных до 100 кбит/с, не будут использованы на стороне стыка, работающего на скоростях передачи данных до 20 кбит/с;
- скорость передачи данных должна быть не более 20 кбит/с;
- длина соединительного кабеля должна ограничивается рабочими характеристиками цепей стыка, работающих со скоростью до 20 кбит/с;
- для улучшения качества совместной работы необходимо на стороне стыка, работающего со скоростью до 100 кбит/с, использовать максимально допустимое напряжение генератора для данного стыка;
- должна быть предусмотрена защита приемников цепей стыка, работающих со скоростью до 100 кбит/с, от напряжений выше 12 В, вырабатываемых генераторами цепей стыка, работающих со скоростью до 20 кбит/с;
- детекторы, обнаруживающие пропадание питания в приемниках цепей стыка, работающих со скоростью до 20 кбит/с, не всегда будут срабатывать при использовании генераторов в цепях стыка, работающих со скоростью до 100 кбит/с.
(справочное)
Б.1 При использовании коаксиального кабеля на приемном конце кабеля необходимо включить нагрузочное сопротивление не менее 50 Ом.
Б.2 Измерения, приведенные в пп. 4.2.4 и 4.2.7 должны проводиться при испытательной нагрузке 50 Ом.
Ниже приводятся электрические характеристики, которые изменяются в случае использования коаксиального кабеля.
При испытательной нагрузке 50 Ом, включенной между выходными точками а и с, значение выходного напряжения Ut должно быть не менее 0,5U0.
Схема измерений приведена на рисунке 4.
Измерение формы сигнала на выходе генератора должно проводиться при включении между точками а и с резистора 50 Ом, как показано на рисунке 7. На вход должен подаваться испытательный сигнал, содержащий элементы сигнала с номинальной длительностью tb и составленный из чередующихся единиц и нулей.
Изменение амплитуды выходного сигнала во время переходов из одного логического состояния в другое от 0,1 до 0,9 величины Vss должно происходить монотонно, как показано на рисунке 8.
При использовании коаксиального кабеля формирование сигнала не требуется.
При использовании коаксиального кабеля его экран должен заземляться только на генераторном конце в точке с, как показано на рисунке Б.1.

а (а¢) - активная точка подключения генератора (нагрузки);
с (в¢) - точка общего обратного провода генератора (нагрузки);
Zt - нагрузочное сопротивление кабеля
Рисунок Б.1 - Схема соединения цепей с применением коаксиального кабеля
(справочное)
В.1 Максимальная дальность работы несимметричной цепи стыка зависит от уровня переходной помехи, вносимой на ближнем конце из соседних цепей соединительного кабеля. Несимметричная цепь также чувствительна к влиянию разностной помехи, появляющейся в точке подключения нагрузки из-за несимметрии между сигнальным проводом и общим обратным проводом.
В.2 Увеличение длины соединительного кабеля между точками подключения генератора и нагрузки усиливает помеху в общем проводе и переходное влияние на ближнем конце. В соответствии с этим необходимо ограничивать длину кабеля до минимума, достаточного для необходимого физического разнесения генератора и нагрузки.
Зависимость длины кабеля от скорости передачи данных показана на рисунке В.1.
Рисунок В.1 - Зависимость длины кабеля для несимметричной цепи стыка от скорости передачи данных
Эта зависимость основана на расчетах и результатах опытов для случая использования телефонного кабеля из скрученных пар с шунтирующей емкостью 0,052 мкФ на км, источника с полным сопротивлением 50 Ом и напряжением сигнала 6 В, при этом пиковое напряжение переходной помехи на ближнем конце допускается до 1 В.
Время нарастания tr сигнала на выходе источника, показанное на рисунке 8, для скоростей передачи ниже 1000 бит/с составляет 100 мкс, а для скоростей выше 1000 бит/с составляет 0,1tb [1].
Примечания
1 Зависимость, приведенная на рисунке В.1, не учитывает уровня помехи на общем проводе или переходного влияния на ближнем конце при использовании кабелей большей длины. Однако соблюдение скорости передачи и дальности, указанных на рисунке, гарантирует незначительные искажения сигнала на входе приемника.
2 Искажения сигнала, вызываемые действием помех на ближнем и дальнем концах кабеля, могут быть значительно уменьшены применением схем формирования в цепях стыка.
(справочное)
Формирование сигнала на выходе генератора может осуществляться двумя методами:
а) введением замедляющей схемы в генератор;
б) включением RC-фильтра в точках подключения генератора.
Может также применяться сочетание этих методов.
Схема формирования сигнала по методу б приведена на рисунке Г.1. Для типового кабеля, у которого шунтирующая емкость пары составляет 0,05 мкФ на км, значение емкости Сф выбирается по таблице Г.1. Сопротивление Rф выбирается таким, чтобы сумма Rф и внутреннего сопротивления генератора Rг была примерно равна 50 Ом. Rф вычисляется по формуле:
Rф = 50 Ом - Rг,
где Rг - внутреннее сопротивление генератора [1].
Rф - сопротивление фильтра;
Сф - шунтирующая емкость фильтра.
Рисунок Г.1 - Схема формирования выходного сигнала генератора с помощью RС-фильтра
Таблица Г.1 - Типовые значения емкости Сф
|
Сф (мкФ) |
Диапазон скоростей передачи данных (кбит/с) |
|
1,0 |
0 - 2,5 |
|
0,47 |
2,5 - 5,0 |
|
0,22 |
5,0 - 10 |
|
0,1 |
10 - 25 |
|
0,047 |
25 - 50 |
|
0,022 |
50 - 100 |
(информационное)
[1] Рекомендация МСЭ-Т. «Электрические характеристики
Синяя книга. Том VIII, несимметричных цепей стыка, работающих
Выпуск VIII.1, двухполюсным током на номинальных
Рекомендация V10. 1988 г. скоростях передачи данных до 100 кбит/с»
Ключевые слова: цепи стыка, несимметричные цепи стыка, симметричные цепи стыка, ООД, АKД, данные, скорость передачи данных, синхронизация, формирование цепей стыка, несимметричный генератор, дифференциальный приемник, логическое состояние, уровень помех, длительность элемента сигнала, амплитуда выходного сигнала, управление