
МИНИСТЕРСТВО РОССИЙСКОЙ
ФЕДЕРАЦИИ ПО СВЯЗИ ИНФОРМАТИЗАЦИИ
СТАНДАРТ ОТРАСЛИ
Система технической эксплуатации
ЦЕНТРАЛИЗОВАННОЕ БЮРО РЕМОНТА
Структура системы контроля оконечных абонентских
телефонных
устройств и абонентских линий, структура
информации
и требования к оборудованию
ОСТ 45.158-2000
ЦНТИ «ИНФОРМСВЯЗЬ»
Москва - 2001
Предисловие
1 РАЗРАБОТАН Федеральным государственным унитарным предприятием Ленинградского отраслевого научно-исследовательского института связи (ФГУП ЛОНИИС)
ВНЕСЕН Научно-техническим управлением Минсвязи России
2 УТВЕРЖДЕН Минсвязи России
3 ВВЕДЕН В ДЕЙСТВИЕ Информационным письмом от 16.04.2001 г. № 2623
4 ВВЕДЕН ВПЕРВЫЕ
СОДЕРЖАНИЕ
ОСТ 45.158-2000
СТАНДАРТ ОТРАСЛИ
Система технической эксплуатации
ЦЕНТРАЛИЗОВАННОЕ БЮРО РЕМОНТА
Структура системы контроля оконечных абонентских телефонных устройств и абонентских линий, структура информации и требования к оборудованию
Дата введения 01.07.2001 г.
Настоящий стандарт распространяется на систему контроля оконечных абонентских телефонных установок, абонентских линий, абонентских комплектов и централизованное бюро ремонта местных телефонных сетей.
Стандарт устанавливает типовую структуру системы контроля оконечных абонентских телефонных установок и абонентских линий.
Стандарт устанавливает требования к оборудованию для дистанционной проверки параметров оконечных абонентских телефонных установок и абонентских линий на местных телефонных сетях большой, средней и малой емкости.
Стандарт устанавливает структуру информационного взаимодействия между периферийным оборудованием и сервером централизованного бюро ремонта.
Стандарт должен применяться при проектировании, приемке и эксплуатации централизованных бюро ремонта на местных телефонных сетях большой, средней и малой емкостей.
ГОСТ 7153-85 Аппараты телефонные общего применения. Общие технические требования
ГОСТ 24402-88 Телеобработка данных и вычислительные сети. Термины и определения
ГОСТ 25868-91 Оборудование периферийное систем обработки информации. Термины и определения
ОСТ 45-54-95 Стыки оконечных абонентских телефонных устройств и автоматических телефонных станций
3.1 В настоящем стандарте используются следующие термины с соответствующими определениями.
Мешающий сигнал - напряжение на стыке АТС и абонентской линии, отличное от напряжений, установленных нормативной документацией на параметры сигналов сети телефонной связи и нарушающее нормальную работу оборудования АТС и ОАТУ.
Импульсный коэффициент (набора номера) - по ОСТ 45.54.
Блокиратор - абонентское устройство, используемое при спаренном включении телефонных аппаратов.
Периферийное оборудование (по ГОСТ 25868-91) - дистанционно управляемое оборудование, устанавливаемое в помещении АТС и предназначенное для управления аппаратурой установки данных АТС и измерения параметров абонентских линий и установок.
Сброс состояния - по ГОСТ 24402-88.
Сброс состояния абонентского комплекта АТС - установка абонентского комплекта в состояние «свободен» из состояний занятости или блокировки.
Сервер - специализированная электронная вычислительная машина централизованного бюро ремонта.
Примечание. Сервер обеспечивает взаимодействие операторов ЦБР с периферийным оборудованием, производит автоматический учет заявок о повреждениях, осуществляет контроль за устранением повреждений, производит статистическую обработку сведений о выполнении заявок, а также обеспечивает взаимодействие с базами данных абонентского и линейного отделов узла связи.
3.2 В настоящем стандарте используются следующие сокращения
АК - абонентский комплект;
АЛ - абонентская линия;
АТС - автоматическая телефонная станция;
АУД - аппаратура установки данных АТС;
ВШ - выбор шлейфа;
МР - местный телефонный разговор;
МТР - междугородный (международный) телефонный разговор;
ОАТУ - оконечное абонентское телефонное устройство;
Rab - сопротивление изоляции проводов «а» и «b» абонентской линии по отношению к «земле» или «минус» станционного источника постоянного тока;
СЛ - соединительная линия;
СВТА - спаренное включение телефонных аппаратов;
СТФ1 - стык между оконечной абонентской телефонной установкой и абонентской линией по ОСТ 45.54;
СТФ2 - стык между абонентской линией и оборудованием АТС по ОСТ 45.54.
ЦБР - централизованное бюро ремонта.
4.1 Централизованное бюро ремонта входит в состав центра технической эксплуатации.
4.2 Функции централизованного бюро ремонта:
- прием заявлений абонентов о неисправности;
- получение оператором ЦБР данных о состоянии «заявленной» абонентской установки в информационном массиве сервера ЦБР;
- управление периферийным оборудованием;
- выдача абоненту-заявителю информации о результате проверки;
- контроль за проведением работ по устранению заявленных повреждений;
- автоматический учет поступивших заявлений, закрытия нарядов по принятым заявлениям и времени устранения повреждений;
- статистическая обработка данных о заявках и повреждениях абонентских линий и установок.
4.3 Структура технических средств и программного обеспечения сервера ЦБР должна обеспечивать возможность их наращивания по мере развития телефонной сети, расширения зоны обслуживания централизованного бюро ремонта, замены АТС на более современные.
4.4 Оборудование рабочего места оператора централизованного бюро ремонта должно включать в себя:
- персональную электронно-вычислительную машину для управления периферийным оборудованием и выдачи оператору результатов проверки;
- телефонный аппарат (гарнитура) для приема заявлений абонентов о неисправностях и переговоров с абонентами;
- телефонный аппарат для оперативной связи с кроссами телефонных станций зоны обслуживания ЦБР.
4.5 Режим работы сервера (ручной или автоматический) устанавливается оператором.
5.1 Типовая структурная схема системы контроля абонентских линий, ОАТУ и абонентских комплектов АТС (рис. 1) включает:
- периферийное оборудование;
- модем, подключенный к периферийному оборудованию;
- цепи соединительных линий (физические цепи, выделенные каналы ИКМ) от данной АТС к централизованному бюро ремонта;
- модем, подключенный к соединительной линии и оборудованию мультиплексора;
- сервер централизованного бюро ремонта;
- оборудование мультиплексора;
- оборудование рабочих мест операторов.
Примечание. Встроенный блок технического обслуживания электронных АТС подключается непосредственно к мультиплексору централизованного бюро ремонта через модемы.
5.2 Стык между оконечной абонентской установкой и абонентской линией (СТФ1) по ОСТ 45.54.
5.3 Стык между абонентской линией и АТС (СТФ2) по ОСТ 45.54.
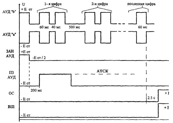
5.4 Стык периферийного оборудования со всеми типами аппаратуры установки данных АТС - параллельный. Временные диаграммы взаимодействия периферийного оборудования и аппаратуры установки данных приведены на рис. 2.
5.5 Стык периферийного оборудования с модемом осуществляется по стандартному протоколу, оговоренному нормативной документацией на модемы.
5.6 Связь между модемами, установленными в централизованном бюро ремонта и модемами, установленными на АТС осуществляется по соединительным линиям. Стык между модемами осуществляется по стандартному протоколу, оговоренному нормативной документацией на модемы.
АК1 ... АКn - абонентские комплекты АТС;
АЛ1 ... АЛп - абонентские линии;
АУД - аппаратура установки данных АТС;
ОАТУ - оконечная абонентская телефонная установка;
СЛ - соединительная линия;
СВ - стык между периферийным оборудованием и АУД;
СС - стандартный стык между модемом и периферийным оборудованием;
ЦБР - централизованное бюро ремонта.
Рисунок 1 - Типовая структурная схема системы контроля абонентских линий, оконечных абонентских установок и абонентских комплектов АТС
АУД «а» - напряжение на проводе «а» аппаратуры АУД;
АУД «b» - напряжение на проводе «b» аппаратуры АУД;
ЗАН. АУД - напряжение на проводе занятия аппаратуры АУД;
ПЗ АУД - напряжение на проводе подтверждения занятия аппаратуры АУД;
ОС - напряжение на проводе подтверждения установления соединения с проверяемым АК;
ВШ - напряжение на проводе управления реле ВШ (Ш) аппаратуры АУД
Рисунок 2 - Временные диаграммы взаимодействия периферийного оборудования с АУД АТС
6.1 Алгоритм выполнения периферийным оборудованием операций установления соединений с проверяемой ОАТУ представлен на рисунке 3.
6.2 Периферийное оборудование должно выполнять по командам сервера ЦБР операции и передавать в ЦБР сообщения об исполнении команд:
1) управление аппаратурой установки данных для соединения с проверяемыми ОАТУ и абонентским комплектом АТС;
2) определение состояния абонентского комплекта АТС;
3) определение мешающих сигналов постоянного или переменного тока на проводах «а» и «b» абонентской линии.
Пределы значений мешающих сигналов постоянного напряжения от минус 100 В до 100 В, при погрешности измерения не более ±10 %.
Пределы значений мешающих сигналов переменного напряжения от 0,1 В до 380 В (амплитудное значение), при погрешности измерения не более ±10 %.
4) установление разговорного состояния оборудования рабочего места оператора и проверяемой ОАТУ (с непрерывным контролем состояния шлейфа) и передача в ЦБР сообщений:
- ОАТУ В СОСТОЯНИИ ОЖИДАНИЯ ВЫЗОВА;
- ОАТУ В РАЗГОВОРНОМ СОСТОЯНИИ.
5) передача в ОАТУ сигналов:
- вызывного сигнала (ОАТУ в состоянии ожидания вызова);
- тонального сигнала частотой 1 кГц при длительности посылки 200 мсек, длительности паузы 200 мсек (ОАТУ в разговорном состоянии).
6) переход в режим измерения параметров номеронабирателя (ОАТУ в разговорном состоянии).
АК - абонентский комплект;
АЛ - абонентская линия;
АУД - аппаратура установки данных;
ОАТУ - оконечная абонентская телефонная установка
Рисунок 3 - Алгоритм установления соединения с проверяемой оконечной абонентской телефонной установкой
6.3 Периферийное оборудование при установлении соединения с проверяемой ОАТУ должно выдавать в ЦБР сообщения:
- СОЕДИНЕНИЕ УСТАНОВЛЕНО;
- ОТСУТСТВИЕ ПУТЕЙ;
- НЕТ ЗАНЯТИЯ;
- КОНЕЦ ПРОВЕРКИ.
6.4 Периферийное оборудование при проведении проверки абонентской линии и абонентского комплекта должны передавать в ЦБР сообщения:
- ОЖИДАНИЕ РАЗГОВОРА;
- ЗАНЯТОСТЬ МР (занятость местным разговором);
- ЗАНЯТОСТЬ МР АБОНЕНТОМ СВТА (занятость местным разговором абонента спаренного телефонного аппарата);
- БЕЗОТБОЙНОСТЬ (для декадно-шаговых АТС);
- ЗАНЯТОСТЬ МТР (занятость междугородным (международным) разговором);
- БЛОКИРОВКА (для координатных АТС);
- ПОВРЕЖДЕНИЕ АБОНЕНТСКОЙ ЛИНИИ;
- ПОВРЕЖДЕНИЕ АБОНЕНТСКОГО КОМПЛЕКТА;
-ПОВРЕЖДЕНИЕ.
6.5 Периферийное оборудование должно измерять сопротивление изоляции проводов «а» и «b» абонентской линии относительно выводов станционного источника постоянного тока, а также между проводами «а» и «b» абонентской линии, в пределах от 10 Ом до 1 МОм с погрешностью измерения не более ±10 % и передавать в ЦБР значения измеренных сопротивлений.
6.6 Периферийное оборудование должно измерять емкость между проводами «а» и «b» абонентской линии в пределах от 20 нФ до 5 мкФ с погрешностью измерения не более ±10 % и передавать в ЦБР значение измеренной емкости.
6.7 Периферийное оборудование должно измерять модуль электрического сопротивления абонентской линии и оконечной абонентской телефонной установки (ОАТУ в состоянии ожидания вызова) в пределах от 4 кОм до 20 кОм с погрешностью измерения не более ±10 % на частоте 25 Гц и передавать в ЦБР значение измеренного сопротивления.
6.8 Периферийное оборудование должно измерять сопротивление шлейфа между проводами «а» и «b» абонентской линии в пределах от 0 до 10 кОм с погрешностью измерения не более ±10 % и передавать в ЦБР значение измеренного сопротивления.
6.9 Периферийное оборудование должно формировать и передавать в ЦБР сообщение о состоянии шлейфа:
Rаb МЕНЬШЕ НОРМЫ;
ОАТУ В СОСТОЯНИИ РАЗГОВОРА.
6.10 Периферийное оборудование должно проверять абонентский комплект АТС и передавать в ЦБР сообщение о результатах проверки:
НОРМА;
НЕТ ПИТАНИЯ;
НЕТ СИГНАЛА «ОТВЕТ СТАНЦИИ».
6.11 Периферийное оборудование должно производить переполюсовку проводов «а» и «b» абонентской линии (при проверке спаренного включения телефонных аппаратов), перевод АК в состояние «свободен» из состояний занятости или блокировки и передавать в ЦБР сообщения о результатах выполнения операций:
ПЕРЕПОЛЮСОВКА АЛ ВЫПОЛНЕНА;
ПЕРЕПОЛЮСОВКА АЛ НЕ ВЫПОЛНЕНА.
СБРОС СОСТОЯНИЯ АК ВЫПОЛНЕН (Абонентский комплект переведен в состояние «свободен»);
СБРОС СОСТОЯНИЯ АК НЕ ВЫПОЛНЕН (Абонентский комплект не переведен в состояние «свободен»)/
6.12 Периферийное оборудование должно проверять блокиратор при спаренном включении телефонных аппаратов.
6.13 Периферийное оборудование должно фиксировать этапы проверки, соответствие значений параметров импульсов номеронабирателя проверяемой ОАТУ требованиям ГОСТ 7153-85 и передавать в ЦБР результаты проверок и измерений:
- начало набора номера;
- период импульсов в серии;
- импульсный коэффициент;
- отсутствие набора номера после окончания выдержки времени.
Примечание. В случае отсутствия набора номера абонентом проверяемой ОАТУ, необходимо повторить операцию по п. 6.2.
6.14 Периферийное оборудование должно проверять:
- параметры сопротивления изоляция шлейфа (режим разговора);
- параметры стыков СТФ1 и СТФ2 по ОСТ 45.54.
6.15 Периферийное оборудование по окончании проверки ОАТУ и абонентской линии должно передавать в ЦБР сообщение:
КОНЕЦ ПРОВЕРКИ.
6.16 Содержание информации, передаваемой в ЦБР, о результатах проверок приведены в приложении А.
6.17 Периферийное оборудование должно обеспечивать автоматический перезапуск рабочей программы при отсутствии сигнала о завершении операций.
6.18 Электропитание периферийного оборудования должно осуществляться от источника постоянного тока АТС.
6.19 Периферийное оборудование должно быть рассчитано на непрерывную круглосуточную работу.
6.20 Входы и выходы периферийного измерителя, связанные с абонентским комплектом станции и проводами «а» и «b» абонентской линии должны быть симметричными.
6.21 Режимы проверки ОАТУ и абонентских линий:
- ручной;
- автоматический по заданному списку.
6.22 Максимальное время автоматической проверки абонентских линий и ОАТУ при обслуживании одной заявки не более 50 с.
6.23 Требования по устойчивости периферийного оборудования к климатическим и механическим воздействиям определяется руководящим документом «Периферийное оборудование диагностики абонентских линий и установок» [1].
7.1 Структура информации в системе контроля ОАТУ, абонентских линий, абонентских комплектов АТС и централизованным бюро ремонта приведена в таблице 1.
Таблица 1
|
Команды, поступающие от ЦБР к периферийному оборудованию |
Операция, проводимая периферийным оборудованием по команде сервера ЦБР |
Ответ периферийного оборудования на команду сервера ЦБР |
|
|
1 |
2 |
3 |
4 |
|
1 |
Выполнить операцию установления соединения с проверяемой ОАТУ по данным: - от 3 до 5 цифр номера проверяемой ОАТУ; - тип АТС; - признак включения проверяемой ОАТУ в подстанцию; - признак и тип спаренного включения ОАТУ |
Установление соединения с проверяемой ОАТУ и АК АТС (подключение к проводам «а», «b», «с» проверяемого АК и абонентской линии) |
Подтверждение выполнение команды и результат выполнения операции |
|
2 |
Выполнить операцию проверки состояния АК АТС |
Определение состояния АК АТС |
Подтверждение выполнение команды и результат выполнения операции |
|
3 |
Выполнить операцию занятия АК АТС |
- разблокирование АК АТС - занятие АК АТС |
- подтверждение выполнения команды |
|
4 |
Выполнить операцию проверки отсутствия мешающих напряжений |
Измерение значений мешающих напряжений на проводах «а» и «b» абонентской линии |
- значение измеренного напряжения; - анализ результатов измерений (НОРМА / НЕ НОРМА) |
|
5 |
Выполнить операцию проверки сопротивления изоляции проводов |
Измерение сопротивления изоляции проводов «а» и «b» абонентской линии |
- значение измеренных параметров; - оценка результата измерений (НОРМА / НЕ НОРМА) |
|
5 |
Выполнить операцию проверки емкости между проводами |
Измерение емкости между проводами «а» и «b» проверяемой АЛ |
- значение измеренной емкости; - оценка результата измерений (НОРМА / НЕ НОРМА) |
|
7 |
Выполнить операцию проверки сопротивления шлейфа |
Определение величины сопротивления проводов «а» и «b» проверяемой АЛ |
- значение измеренного сопротивления; - оценка результата измерений (НОРМА / НЕ НОРМА) |
|
8 |
Выполнить операцию проверки АК АТС |
Проверка работоспособности АК АТС |
- значение параметров тонального сигнала «ответ станции»; - наличие или отсутствие напряжения питания АК; - оценка результата измерений (НОРМА / НЕ НОРМА) |
|
9 |
Выполнить операцию проверки параметров набора номера |
Измерение временных параметров импульсов набора номера |
- значения измеренных параметров; - оценка результата измерений (НОРМА / НЕ НОРМА) |
|
10 |
Выполнить операцию установления соединения с ОАТУ |
Установление разговорного соединения с абонентом проверяемой ОАТУ |
- результат контроля состояния шлейфа; - подтверждение выполнения команды |
|
11 |
Выполнить операцию передачи в ОАТУ вызывного или тонального сигналов |
Выдача в ОАТУ станционного вызывного сигнала или тонального сигнала |
- подтверждение выполнения команды |
|
12 |
Выполнить операцию проверки ДТП |
Переполюсовка проводов «а» и «b» проверяемой АЛ |
- подтверждение выполнения команды |
|
13 |
Выполнить операцию установления соединения с проверяемой ОАТУ |
Установление исходящего соединения с проверяемого номера |
- подтверждение выполнения команды |
Примечания:
1 По командам сервера № 1, 11, 12, 13 таблицы 1 периферийное оборудование осуществляет управление работой оборудования АТС;
2 По командам сервера № 2 - 10 таблицы 1 периферийное оборудование осуществляет измерение электрических параметров проверяемых ОАТУ и абонентских линий.
(обязательное)
А1. информация, передаваемая в ЦБР о проверке абонентских линий, абонентских комплектов и оконечных абонентских телефонных устройств приведена в таблице 1.
Таблица А1
|
Сообщения, передаваемые периферийным оборудованием в ЦБР |
Проверяемые характеристики и параметры |
|
1 |
2 |
|
СОЕДИНЕНИЕ УСТАНОВЛЕНО |
Соединение периферийного оборудования с проверяемой ОАТУ установлено |
|
ОТСУТСТВИЕ ПУТЕЙ |
Соединение периферийного оборудования с проверяемой ОАТУ не установлено |
|
НЕТ ЗАНЯТИЯ |
Отсутствует подтверждение занятия приборами АУД |
|
Rab МЕНЬШЕ НОРМЫ |
Уменьшение сопротивления шлейфа до 20 кОм (ОАТУ в состоянии ожидания вызова) |
|
РАЗГОВОРНОЕ СОСТОЯНИЕ ОАТУ |
Сопротивление шлейфа в пределах нормы (от 450 Ом до 2 кОм) |
|
НОРМА |
Параметры амплитуды и частоты зуммера «ОТВЕТ СТАНЦИИ» в пределах нормы |
|
НЕТ ПИТАНИЯ |
Отсутствует напряжение станционного источника постоянного тока на выходе АК |
|
НЕТ СИГНАЛА «ОТВЕТ СТАНЦИИ» |
- отсутствует тональный сигнал «ОТВЕТ СТАНЦИИ»; - амплитуда тонального сигнала «ОТВЕТ СТАНЦИИ» ниже нормы; - наличие тонального сигнала «ЗАНЯТО». |
|
ОАТУ В СОСТОЯНИИ ОЖИДАНИЯ ВЫЗОВА |
ОАТУ в режиме ожидания вызова |
|
ПЕРЕПОЛЮСОВКА АЛ ВЫПОЛНЕНА |
Периферийное оборудование выполнило команду на переполюсовку проводов «а» и «b» АЛ |
|
ПЕРЕПОЛЮСОВКА АЛ НЕ ВЫПОЛНЕНА |
Периферийное оборудование не выполнило команду на переполюсовку проводов «а» и «b» АЛ |
|
СБРОС СОСТОЯНИЯ АК ВЫПОЛНЕН (АК переведен в состояние «свободен») |
Принудительное освобождение проверяемого АК от состояния занятости или блокировки |
|
СБРОС СОСТОЯНИЯ АК НЕ ВЫПОЛНЕН (АК не переведен в состояние «свободен») |
Невозможность принудительного освобождения проверяемого АК от состояния занятости или блокировки |
|
ОЖИДАНИЕ РАЗГОВОРА |
АК в состоянии ожидания |
|
ЗАНЯТОСТЬ МР |
АК в состоянии местного телефонного разговора |
|
ЗАНЯТОСТЬ МР АБОНЕНТОМ СВТА |
АК в состоянии местного телефонного разговора абонента СВТА |
|
БЕЗОТБОЙНОСТЬ (для декадно-шаговых АТС) |
Обрыв провода «с», перегорание предохранителя в проводе «с» станционного оборудования |
|
ЗАНЯТОСТЬ МТР |
АК в состоянии междугородного (международного) разговора |
|
БЛОКИРОВКА (для координатных АТС) |
Замыкание проводов «а», «b», обрыв провода, «с» |
|
ПОВРЕЖДЕНИЕ АЛ |
Обрыв, короткое замыкание проводов |
|
ПОВРЕЖДЕНИЕ АК |
Повреждение АК станции |
|
ПОВРЕЖДЕНИЕ |
Одновременные линейное и станционное повреждения |
|
КОНЕЦ ПРОВЕРКИ |
Освобождение АУД |
(информационное)
[1] РД 45.057-99 Периферийное оборудование диагностики абонентских линий и установок. Общие технические требования.
Ключевые слова: система централизованной технической эксплуатации оконечных абонентских устройств, периферийное оборудование, централизованное бюро ремонта