Министерство высшего и среднего специального
образования
РСФСР
Сибирский ордена Трудового Красного Знамени
автомобильно-дорожный институт им.
В.В. Куйбышева
В.А. Давыдов, Э.Д. Бондарева
ИЗЫСКАНИЯ И
ПРОЕКТИРОВАНИЕ АВТОМОБИЛЬНЫХ ДОРОГ
НА МНОГОЛЕТНЕМЕРЗЛЫХ ГРУНТАХ
Учебное пособие
Омск ОмПИ 1989
Рецензенты:
начальник проектно-изыскательского отдела объединения Омскавтодор К.К. Еловских,
заведующий кафедрой строительства и эксплуатации автомобильных дорог А.В. Смирнов
Работа одобрена редакционно-издательским советом института в качестве учебного пособия для специальности 29.10 - строительство автомобильных дорог и аэродромов.
Изыскания и проектирование автомобильных дорог на многолетнемерзлых грунтах: Учеб. пособие / В.А. Давыдов, Э.Д. Бондарева; Под ред. В.А. Давыдова; ОмПИ. - Омск, 1989.
Изложены краткая историческая справка по развитию инженерного мерзлотоведения, основные понятия о многолетнемерзлых породах (ММП), их распространение на территории Земли.
Приведены особенности водно-мерзлотного режима земляного полотна и естественного основания с наличием ММП, дорожно-климатическое районирование, принципы проектирования и строительства дорог, особенности назначения геометрических размеров насыпи (ширины и высоты), основы теплотехнического расчета, особенности расчета дорожных конструкций на прочность, конструкции земляного полотна и требования к грунтам, особенности изысканий в зоне.
Настоящее учебное пособие рекомендуется студентам специальности 29.10 - строительство автомобильных дорог и аэродромов - для изучения особенностей изыскания и проектирования автомобильных дорог на многолетнемерзлых породах (ММП).
Пособие составлено с учетом последних достижений отечественной науки (Союздорнии и его Омского филиала, СибАДИ, ЛИСИ и др.) и обобщения передового опыта проектных и строительных организаций СССР (Союздорпроекта Минтрансстроя СССР, Гипродорнии Минавтодора РСФСР и др.).
Материал учебного пособия необходим при изучении курса «Изыскания и проектирование автомобильных дорог в сложных природных условиях» (лекции на 5 курсе для студентов дневной формы обучения - 9 семестр, на 6 курсе для студентов вечерней и заочной форм обучения - 11 семестр), а также при выполнении курсового проекта участка автомобильной дороги в сложных природных условиях (на многолетнемерзлых грунтах) и при дипломном проектировании.
Проектирование дорог в районах распространения ММП приобретает все более важное значение, т.к. происходит интенсивное освоение Сибири и Крайнего Севера, где в основном будут работать будущие инженеры-строители автомобильных дорог и аэродромов как СибАДИ, ЛИСИ, так и других вузов.
Введение, главы 1, 2, 3, 7 учебного пособия написаны канд. техн. наук, доц. В.А. Давыдовым (СибАДИ) совместно с канд. техн. наук, доц. Э.Д. Бондаревой (ЛИСИ); предисловие, главы 4, 5, 6, 8 - В.А. Давыдовым.
Общее редактирование выполнено заведующим кафедрой проектирования автомобильных дорог СибАДИ канд. техн. наук, доц. В.А. Давыдовым.
Мировая тенденция развития производительных сил все более отчетливо ориентируется на северные территории. Север играет важную роль и в жизни нашей страны. Это не случайно. Действительно, Север - это крупнейший и самый богатый фонд свободных земель. Но вместе с тем, Север - это весьма слабо изученные пространства, таящие в своих недрах уникальные месторождения ценнейших полезных ископаемых. Наконец, Север - это место обитания многих малых народов, чей быт, уклад жизни и дальнейшее процветание теснейшим образом связаны с его развитием. Вот почему промышленное освоение районов Сибири и Крайнего Севера - одна из крупнейших народнохозяйственных проблем.
Но не только на Севере, где-то за Полярным кругом, но и на всей громадной территории Сибири, от Урала на западе до побережья Чукотки на востоке, человек, осваивая новые районы, неизбежно сталкивается со своеобразием природных комплексов, вызванных наличием вечной мерзлоты, широким распространением мерзлых пород, подземных льдов и различных, неблагоприятных для строительства дорог, зданий и аэродромов, криогенных процессов (бугров пучения, курумов, термокарста, солифлюкционных образований, растрескивания верхних слоев почвы и т.д. и т.п.).
В «Основных направлениях экономического и социального развития СССР на 1986 - 1990 гг. и на период до 2000 года» в разделе I сказано: «...продолжалось формирование и развитие крупных территориально-производственных комплексов. Ускоренно осваивались природные богатства восточных и северных районов страны. Две трети общесоюзной добычи нефти и свыше половины добычи газа теперь дает Западная Сибирь» [1]. В соответствии с решениями XXVII съезда КПСС на Крайнем Севере и в Сибири предстоит решать много сложных и ответственных задач. Поэтому очень важно «...заставить понять всех, что суровый этот край нужно не осваивать, а обживать. Обживать основательно, обживать умно, обживать предусмотрительно...».
Широкое освоение Севера, Арктики и Космоса примерно началось в одно время - в 50-х годах XX столетия, т.е. совпало с началом научно-технической революции. Это не случайное совпадение: раньше уровень развития производительных сил не позволял осваивать эти огромные, труднодоступные и суровые по природным условиям пространства.
К настоящему времени накопилось большое количество фактов, подтверждающих, что осваивать Север такими же методами и техникой, как более южные зоны, НЕЛЬЗЯ, особенно, если учесть беспредельную уязвимость экологии Севера.
Хотелось бы, чтобы огромные вновь осваиваемые просторы Севера были одними из первых, где требования экологии станут важнейшими факторами при решении вопросов развития и размещения крупной промышленности, строительства городов, поселков, железных и автомобильных дорог и аэродромов. В этих районах с легко нарушаемой природной средой по-другому просто НЕЛЬЗЯ.
Дать правдивое и стройное описание этапов и путей становления геокриологии и отразить в этом описании действительные заслуги стран и лиц, способствовавших познанию многолетней криолитозоны как географического явления, - значит решить актуальную и весьма сложную задачу.
В истории развития инженерной геокриологии (мерзлотоведения) можно выделить два периода и несколько этапов.
I этап. Сведения о многолетнемерзлых породах (ММП). Местным жителям района распространения многолетнемерзлых пород несомненно было известно об их существовании, т.к. им приходилось сталкиваться с мерзлыми породами при постройке своих жилищ, во время охоты и рыбной ловли, при хранении добычи (мяса, рыбы). В литературе первые сведения о мерзлых породах стали появляться, по-видимому, лишь с XVI века. В это время усилились поиски русскими людьми Северного морского пути из России в Китай, Индию и путешествия в северные страны стали более частыми. В 1598 г. составлено «Описание чего ради невозможно от Архангельского города морем проходити в Китайское государство и оттоле к Восточной Индии», в котором сказано, что на северо-востоке Новой Земли в середине июня «на берегах еще не таял снег и олени не могли себе пищу приобрести».
В XVII веке в связи с продвижением русских на восток и север Сибири в Москву стали поступать первые сведения о мерзлых породах севера Сибири. Так, якутские воеводы П. Головин и М. Глебов сообщали в Москву: «A в Якутском - де, государь, по сказам торговых и промышленных служилых людей, хлебной пашни не чаять; земля - де, государь, и среди лета вся не растаивает».
Первое обобщение данных о мерзлых породах принадлежит русскому историку и географу начала XVIII века В.Н. Татищеву. В своих трудах он пишет о наличии мерзлых пород.
II этап. Накопление фактов наличия ММП и первое научное объяснение их образования (вторая половина XVIII - первая половина XIX в.). Это было время накопления фактов и первых научных обобщений М.В. Ломоносова о «замерзлой земле». В 1757 г. В.М. Ломоносов высказывает ряд интересных научных положений о природе образования «замерзлой земли», о значении рельефа и суровых климатических условий в развитии толщ мерзлых пород и создании запасов холода и подземных льдов, о длительности этого процесса, о необходимости учитывать строение «внутренности земли» для понимания распределения тепла и холода в земных недрах. Им заложено начало учения о теплообороте между земной корой и атмосферой, между внутренним и внешним холодом. В этот период были получены материалы о мерзлых грунтах в Якутии, Забайкалье и других районах. Тогда же Майдлбтон подтвердил, что в Гудзоновом заливе породы на глубине никогда не оттаивают.
В первой половине XIX в. на севере европейской части России мерзлую зону изучал Шренк. На севере Сибири А.Е. Фигурин в 1820 - 23 гг. при исследовании залежей подземных льдов большую часть из них отнес к «трещинным жильным». В 1825 г. в Березове А. Эрман впервые измерил температуру мерзлых пород в пробуренной им скважине глубиной 18,2 м. В 1828 г. он же пробурил скважину в Обдорске, в которой он на глубине 6,4 м замерил отрицательную температуру.
В 1828 г. Ф. Шергин, служащий русско-американской компании, закончил проходку «колодца» в Якутске, он за 9 лет достиг глубины 116,4 м. Так была создана знаменитая Шергинская шахта, которая прошла часть толщи мерзлых пород. В апреле 1829 г. А. Эрман определил температуру мерзлых пород в Шергинской шахте на глубине 15,7 м. Она составила минус 6 °С. Большое значение для изучения мерзлых пород имела трехлетняя экспедиция академика А.Ф. Миддендорфа в 1843 - 1846 гг. Он измерил температуру мерзлых пород в Шергинской шахте до глубины 116 м и в ряде других мест Сибири.
Итак, в первой половине XIX в. были получены данные о температуре мерзлой зоны и ее мощности, условиях залегания и распространения на больших площадях Сибири.
III этап. Широкие исследования ММП (вторая половина XIX - начало XX в.). Этот этап отмечен широкой волной исследований вечной мерзлоты как в пределах Евразии, так и в Северной Америке и на островах Северного Ледовитого океана. Эти исследования связаны с именами Лопатина, Майделя, Ячевского, Толля, Богданова, Обручева, Подъякова, Львова, Поля, Сумгина и многих других инженеров-географов и геологов. Потребность всестороннего глубокого изучения подземной криосферы Сибири была в этот период вызвана усилением сельскохозяйственного и промышленного освоения ее территории, строительством Великой Транссибирской железнодорожной магистрали, развитием горного дела. Незнание законов развития вечной мерзлоты повлекло за собой деформацию и разрушения некоторых инженерных сооружений и в связи с этим большие убытки. Возникли крупные затруднения в деле водоснабжения Забайкальской и Амурской железных дорог. С началом строительства в 90-х годах XIX в. Великого Сибирского железнодорожного пути, который в пределах Восточной Сибири, Забайкалья и далее на восток пролегал по мерзлым грунтам, строители непосредственно столкнулись с большими затруднениями при проходке выемок в мерзлых породах, при организации водоснабжения железнодорожных станций, строительства железнодорожного полотна и различных других сооружений. Поэтому по просьбе Управления строительства Сибирской железной дороги была создана специальная комиссия Русского географического общества под председательством профессора Петербургского горного института И.В. Мушкетова, которая разработала и опубликовала в 1895 году первую «Инструкцию для изучения мерзлоты почвы в Сибири». Членами комиссии были А.И. Воейков, В.А. Обручев, М.А. Дыкачев, К.И. Богданович.
Созданием этой инструкции было положено начало комплексному изучению подземной криосферы. В 1889 г. А.И. Воейков опубликовал первую сводку о мерзлых породах по линии строительства железной дороги в Сибири. Он увязал развитие промерзания земной коры с изменением климатических условий.
В первой четверти XX в. исследования мерзлых пород начали развиваться более широким фронтом. Н.С. Богданов в 1912 г. в книге «Вечная мерзлота и сооружения на ней» осветил приемы строительства сооружений в условиях вечной мерзлоты Забайкалья и внес значительный вклад в развитие инженерного мерзлотоведения. В 1916 г. была опубликована капитальная работа А.В. Львова «Поиски и испытания водоисточников водоснабжения на Западной части Амурской железной дороги в условиях вечной мерзлоты почвы».
I этап (1917 - 1945 гг.) - оформление мерзлотоведения как науки (школа М.И. Сумгина). В Москве создается научный центр по изучению подземной криосферы.
После Великой Октябрьской социалистической революции начался новый период развития мерзлотоведения как самостоятельной науки, созданной трудами советских мерзлотоведов. Было положено начало планомерным и целенаправленным исследованиям вечной мерзлоты и организованы научные органы для проведения этих исследований.
В 1927 г. по инициативе академика В.И. Вернадского было создано в системе Академии наук СССР первое научное учреждение по изучению подземной криосферы, а для координации всех мерзлотоведческих работ в стране - Комиссия по изучению вечной мерзлоты (КИВМ), во главе которой стал академик В.А. Обручев. Необходимость основания такого учреждения была обусловлена задачами широкого освоения районов Севера и Востока СССР.
В период с 1930 по 1936 гг. Комиссией было созвано пять совещаний по вечной мерзлоте, на которых обсуждались научные и практические достижения, координировались работы по мерзлотоведению в СССР. Начиная с 1927 г., последовательно приступают к работе научно-исследовательские мерзлотные станции в Сковородине, Петровск-Забайкальском, Анадыре, Игарке, Якутске, Воркуте, Норильске, Забайкалье, Братске.
В 1936 г. КИВМ была реорганизована АН СССР в Комитет по вечной мерзлоте, созвавший в 1939 г. VI Всесоюзную конференцию по мерзлотоведению. Работы Комитета непосредственно в районах вечной мерзлоты носили преимущественно стационарный характер, что позволило еще глубже проникнуть в механизм формирования и развития мерзлых пород. В 1939 г. Комитет был реорганизован в Институт мерзлотоведения им. В.А. Обручева АН СССР (ИНМЕРО), который имел специальную мерзлотную лабораторию в Москве, научно-исследовательские мерзлотные станции в Воркуте, Игарке, Якутске, Анадыре, Чульмане (на Алдане) и стационар в районе Загорска (Подмосковье).
В 1940 г. Институт мерзлотоведения опубликовал первое пособие по мерзлотоведению [4]. Таким образом, накануне Великой Отечественной войны Институт мерзлотоведения (г. Москва) стал ведущим учреждением по вопросам изучения мерзлых горных пород и подземной криосферы СССР.
2 этап. Послевоенный Московский (1945 - 1960 гг.)
Мерзлотоведение (или геокриология) созрело к этому времени как наука, в нем формируются крупные самостоятельные разделы знаний.
В 1953 г. на геологическом факультете МГУ была организована первая в мире кафедра мерзлотоведения, ставшая важным центром подготовки специалистов-мерзлотоведов и ведущая большой объем научно-исследовательских работ в этой области. За этот период разработаны многие теоретические и методические вопросы мерзлотоведения, в частности, впервые разработаны метод анализа частных и общих закономерностей формирования сезонно- и многолетнемерзлых толщ, а также теория и практика мерзлотного прогнозирования (руководитель работ д-р геолого-минер. наук, проф. В.А. Кудрявцев).
В 1956 г. на VII Межведомственном совещании по мерзлотоведению было представлено 89 научных и производственных учреждений, в том числе 45 организаций, работающих вне Москвы.
В 1959 г. вышла сводная работа по общему мерзлотоведению [5].
3 этап. Якутско-Московский (1961 - 1990 гг.)
В 1961 г. Якутское отделение Института мерзлотоведения АН СССР было реорганизовано в Институт мерзлотоведения Сибирского отделения АН СССР. Московский институт мерзлотоведения был при этом упразднен, а его отделы были переданы в ПНИИИС Госстроя СССР.
В 1966 г. было созвано VIII Всесоюзное межведомственное совещание по геокриологии (мерзлотоведению) с участием многочисленных научных институтов и производственных организаций, а также ученых из Монголии, Польши и Чехословакии. Труды этого совещания были опубликованы в восьми выпусках тезисов и докладов участников совещания.
В эти годы мерзлотоведение успешно развивалось также в отделах институтов Госстроя (ПНИИИС, НИОСП), в институте Всегингео, на кафедрах высших учебных заведений (МГУ, МИСИ, ЛГИ и др.).
В 1970 г. в Москве при АН СССР создается Совет по криологии Земли, в состав которого вошли известные ученые Москвы, Ленинграда и Сибирского отделения АН СССР.
Совет по криологии Земли АН СССР провел большую работу по созыву в 1973 г. в Якутске II Международной конференции по мерзлотоведению, которая подвела итоги современного мерзлотоведения и наметила пути его дальнейшего развития в международном аспекте. III Международная конференция по мерзлотоведению была проведена в Канаде в 1978 г.
Строители железных дорог столкнулись с вечномерзлыми грунтами еще в XIX веке при строительстве Транссибирской железнодорожной магистрали. При этом российские инженеры всерьез занялись изучением такого феномена, каким является вечная мерзлота, или, как еще ее называют, «Русский Сфинкс».
Однако первый нормативный документ по транспортному строительству появился только в 1939 г. [7], разработанный большим коллективом авторов под руководством профессора Ленинградского института инженеров транспорта А.В. Ливеровского и доц. К.Д. Морозова (в разработке этот документа принимали участие профессоры М.И. Сумгин, В.В. Григорьев, В.О. Цшохер, А.П. Еремин, Н.Т. Швейковский, С.Л. Бастамов, Л.И. Бернацкий, М.Ф. Срибный, H.H. Быков, доценты А.В. Патилеев, А.Н. Цытович, инженеры А.М. Чекотилло, К.В. Петров, С.Н. Качурин, Н.Д. Белокрылов, Н.Н. Толстихин, М.М. Крылов, С.Л. Колесников, В.В. Еленевский, геолог Сахарова).
После Великой Отечественной войны исследования продолжались на строящихся и построенных железных дорогах институтами ЦНИИС и СибЦНИИС. В 1961 г. все материалы исследований были обобщены, при этом подготовлены и утверждены Минтрансстроем СССР технические указания [10].
В 1956 - 1962 гг. исследованиями в районах вечной мерзлоты занимался головной институт Союздорнии (г. Москва). Научную работу по исследованию особенностей проектирования и строительства автомобильных дорог и аэродромов вел в эти годы д-р техн. наук, проф. Н.А. Пузаков. В эти же годы (1956 - 1961 гг.) в районах Крайнего Севера, Красноярского края, в районе Норильского горно-металлургического комбината им. А.П. Завенягина проводились исследования под руководством д-pa техн. наук, проф. И.А. Золотаря (ВОЛАТТ), который подготовил серьезную обобщающую монографию по применению тонкодисперсных грунтов в дорожном строительстве.
В 1962 г. под руководством д-ра техн. наук Н.А. Пузакова (Союздорнии) подготовлены технические указания [11]. В подготовке этого документа принимали участие канд. техн. наук Г.В. Бялобжеский (снегоборьба), инж. Б.В. Уткин (борьба с наледями), А.Т. Якубцова (мерзлотно-грунтовые обследования), инженеры А.Е. Дюков, М.Н. Елагин, Н.А. Жмакин, П.А. Баранов, М.М. Антошкин, В.Н. Тулумбасов (автомобильные дороги в районах Арктики), инженеры В.А. Ткачев, Х.Х. Амиров, Д.Н. Изотов, В.В. Ромм, В.А. Толчеев, канд. техн. наук И.Н. Матяш под руководством канд. техн. наук М.И. Иванова (аэродромы), а также д-р техн. наук А.А. Калерт, канд. техн. наук А.И. Золотарь, Н.А. Перетрухин, инж. Н.С. Ценюга.
В этот период тематику научных работ по зоне вечной мерзлоты в головном институте Союздорнии закрыли, финансирование этих работ прекратилось. Руководитель этой работы д-р техн. наук, проф. Н.А. Пузаков вынужден был перейти в МАДИ на кафедру строительства и эксплуатации автомобильных дорог к д-ру техн. наук, проф., заслуженному деятелю науки и техники РСФСР, лауреату Государственных премий Н.Н. Иванову, где он работал до 1973 г. в должности профессора кафедры СЭД МАДИ.
Одновременно с закрытием темы в головном институте Союздорнии с 1963 г. начинаются исследования по разработке норм и технических условий по проектированию и строительству автомобильных дорог в районах вечной мерзлоты в Омском филиале Союздорнии под руководством канд. техн. наук Малышева А.А. При этом создается научная группа, занимающаяся изучением прочности и устойчивости земляного полотна автомобильных дорог:
кандидаты техн. наук Б.И. Попов (работает в филиале с 1962 г. по настоящее время), А.С. Плоцкий (работает в филиале с 1963 г. по настоящее время), Р.З. Порицкий (работал в филиале с 1963 г. по 1973 г., затем переехал в Минск и работает в Белдорнии до сих пор), В.А. Давыдов (работал в филиале почти 13 лет, с 1964 по 1976 гг., затем перешел в СибАДИ, где работает до настоящего времени); а также инженеры Н.А. Голенко, Л.Б. Зотова, Б.Ф. Бржезицкий, С.М. Козырев. Позднее подключились к этой тематике с уклоном на автозимники и строительство дорог на болотах следующие специалисты-дорожники: канд. техн. наук Н.Ф. Савко работал в филиале с 1962 по 1979 гг. (погиб в Магадане), канд. техн. наук Н.М. Тупицын (работал в филиале с 1964 по 1978 гг., затем перешел в СибАДИ, где работает по настоящей время), инж. А.П. Казаков (работает в филиале с 1966 г. по настоящее время). Позднее к этой же тематике подключились исследователи дорожных одежд и материалов (Н.В. Матлаков с 1967 по 1973 гг., Ю.Е. Никольский с 1967 по 1987 гг., А.Г. Широков с 1967 по 1982 гг., умер после командировки в Афганистан, Б.Б. Самойленко с 1972 г., с перерывами, по настоящее время и др.).
В результате многолетних исследований с 1962 - 63 гг. по 1975 - 77 гг. Омским филиалом Союздорнии были организованы наблюдения за прочностью и устойчивостью дорожных конструкций на автомобильных дорогах в районах вечной мерзлоты (в р-не г. Норильска, на автодорогах Ленск - Мирный, Мирный - Чернышевск, Вилюйская ГЭС - Айхал - Трубка Удачная, Якутск - Покровск, Якутск - Намцы, Романовка - Богдарин и на др.). На основе этих 10 - 12 летних наблюдений на постах и опытных участках указанных дорог, а также результатов многолетних обследований дорог были разработаны дорожно-климатическое районирование территории СССР, занятой вечной мерзлотой, принципы проектирования и строительства дорог на вечномерзлых грунтах, изучены особенности водно-мерзлотного режима земляного полотна, разработаны особенности расчета дорожных одежд на прочность и конструкции земляного полотна дорог с учетом принципов проектирования, а также технология строительства земляного полотна и дорожных одежд в условиях наличия вечномерзлых грунтов и с учетом резкоконтинентального климата - жаркого лета и низких зимних отрицательных температур воздуха.
Разработаны также указания по организации стационарных наблюдений на дорогах, указания по мерзлотно-грунтовым исследованиям при изысканиях автомобильных дорог, методика расчета насыпи на устойчивость, рекомендации по проектированию и строительству водопропускных труб, технологический схемы сооружения земляного полотна дорог и расчет сроков производства земляных работ.
Результаты этих исследований и практические рекомендации были включены составной частью в «Инструкцию по изысканию, проектированию и строительству автомобильных дорог в районах вечной мерзлоты» (ВСН 84-75 Минтрансстрой СССР. - М., 1976. - 218 с.), разработанную коллективом Омского филиала Союздорнии (руководитель работы канд. техн. наук В.А. Давыдов) с участием ряда организаций: Союздорпроекта (А.В. Волконский, В.И. Земсков, К.А. Постникова, В.К. Чугунов), Гипродорнии (И.Н. Войкин, Л.В. Дугин, А.М. Чухвичев), Промтрансниипроект (А.Ф. Бохин), Белдорнии (Р.З. Порицкий), СибЦНИИС (С.М. Большаков). Эта инструкция действует по настоящее время.
После завершения этой работы исследования продолжались как в Омском филиале Союздорнии, так и в головном институте Союздорнии, а также в СибАДИ, куда пришли на кафедру проектирования автомобильных дорог доц., канд. техн. наук В.А. Давыдов (с 1977 г.) и Н.М. Тупицын (с 1978 г.).
В 1978 г. были изданы Союздорнии «Методические рекомендации по теплотехническому расчету насыпей автомобильных дорог» (М., 1978. - 32 с), руководитель работы канд. техн. наук В.А. Давыдов, с участием инженеров Б.Ф. Бржезицкого и С.М. Козырева.
В 1980 - 81 гг. разработана «Инструкция по проектированию промышленных автодорог в районах Восточной Сибири» (руководитель работы канд. техн. наук В.А. Давыдов).
С 1983 г. была издана «Инструкция по проектированию автомобильных дорог для обустройства нефтяных и газовых месторождений на севере Тюменской области» (ВСН 2-134-81), разработанная коллективом авторов из Омского филиала Союздорнии и СибНИПИгазстроя.
В 1984 - 85 гг. подготовлена «Инструкция по проектированию и строительству промышленных автомобильных дорог в районах Восточной Сибири» (Минэнерго СССР), руководитель работы канд. техн. наук В.А. Давыдов.
В 1985 г. Омским филиалом Союздорнии подготовлено дополнение № 1 к ВСН 84-75 по применению синтетических нетканых материалов, руководитель работы канд. техн. наук Б.И. Попов.
В 1985 г. разработана «Инструкции по проектированию и строительству автомобильных дорог для обустройства нефтяных и газовых месторождений на севере Тюменской области и в других районах тундры с аналогичными условиями (ВСН 201-85), руководитель работы канд. техн. наук Б.И. Попов.
В 1986 - 88 гг. закончена переработка ВСН 84-75 и планируется ее переиздание в 1990 - 91 гг. Paботa выполняется в Омском филиале Союздорнии, руководитель работы канд. техн. наук Б.И. Попов, с участием авторов из ряда организаций, включая СибАДИ (канд. техн. наук В.А. Давыдов, Н.М. Тупицын) [ВСН 84-89].
На этом краткий исторический очерк о проводимых исследованиях в области инженерного мерзлотоведения применительно к автомобильным дорогам можно закончить (по состоянию на 1.01.1989 г.).
Вечномерзлые грунты распространены на одной пятой части суши Земного шара и встречаются на половине территории (более 47 %) СССР, большей части Аляски и одной трети территории Канады.
На территории средних и высоких широт обоих полушарий верхние слои литосферы на относительно долгий срок охлаждаются до отрицательной температуры. Грунты, почвы, породы, содержащие включения льда, называются мерзлыми, не содержащие в своем составе кристаллов льда - талыми.
Промышленное освоение новых районов немыслимо без развитой сети автомобильных дорог. Площадь распространения мерзлых пород в СССР составляет 10 млн. 700 тыс. км2, превышая на 1 млн. 400 тыс. км2 территорию США, включая Аляску.
Тяжелые природные условия рассматриваемой зоны: низкие отрицательные температуры (до -60 °С), суровые и длинные зимы (7 - 9 месяцев), близко залегающие к поверхности вечномерзлые грунты, а также отдаленность от экономически развитых районов страны и слабое развитие транспортной сети (менее 0,2 км на 100 км2 территории) - приводят к тому, что стоимость строительства дорог в несколько раз превышает стоимость их строительства в средней полосе.
Высокий уровень промышленно-энергетического потенциала нашей страны позволил перейти к интенсивному освоению богатейших природных ископаемых, разведанных в районах распространения вечномерзлых грунтов (в Западной и Восточной Сибири, Якутии и Забайкалье):
Тюменской и Томской областях - запасов нефти, газа и леса;
Красноярском крае и Иркутской области - редких и цветных металлов, леса и энергетических ресурсов рек;
Якутии - алмазов, золота, угля;
Забайкалье - редких и цветных металлов, минерального сырья и др.
Директивами XXVII съезда КПСС предусмотрено в областях и краях, занятых вечномерзлыми грунтами, значительно «... расширить строительство и реконструкцию автомобильных дорог» [1]. Однако строительство автомобильных дорог в районах вечной мерзлоты связано с преодолением специфических особенностей природно-климатического характера: наличие вечномерзлых грунтов, преобладание пылеватых грунтов в деятельном (сезоннооттаивающем) слое и избыточное увлажнение местности.
Как показывает многолетний опыт строительства железных и автомобильных дорог в СССР, США и Канаде, отмеченные факторы обусловили специфический подход к назначению дорожных конструкций, земляное полотно которых проектируют и строят преимущественно в насыпях (выемки составляют менее 2 - 3 %) из несцементированных обломочных грунтов.
Отечественная и зарубежная практика дала много примеров деформаций и разрушений на автомобильных дорогах в районах вечной мерзлоты, что указывает на недостаточную изученность и неполноту исследований вопросов проектирования прочного и устойчивого земляного полотна на вечномерзлых грунтах.
Применение несцементированных обломочных грунтов в качестве материала для земляного полотна еще не решает проблему его прочности и в то же время приводит к высокой стоимости строительства автомобильных дорог, превышающей в 3 - 5 раз их стоимость в обычных условиях.
Наиболее эффективными путями снижения стоимости строительства дорог в рассматриваемых районах следует считать:
во-первых, расширение объемов применения местных глинистых грунтов для сооружений земляного полотна;
во-вторых, учет специфических особенностей рассматриваемой зоны при проектировании дорожных конструкций с целью обеспечения их длительной прочности и устойчивости.
Естественно, рациональное проектирование и строительство транспортных сооружений, в первую очередь земляного полотна, на вечномерзлых грунтах должны базироваться на тщательном изучении материалов детальных геокриологических исследований.
В последние годы значительно повысился технический уровень проектирования и строительства земляного полотна автомобильных дорог на вечномерзлых грунтах. Однако еще недостаточно технической, учебно-методической литературы, нормативных и научно-технических документов, обосновывающих рациональные конструкции, материалы и технологию строительства автомобильных дорог на вечномерзлых грунтах.
Грунты называются мерзлыми, если они имеют нулевую или отрицательную температуру и содержат в своем составе лед. Грунты называются вечномерзлыми, если они находятся в мерзлом состоянии в продолжение многих лет (от 3-х и более). В их состав входят минеральные частицы, лед, вода и воздух. Величина, форма в состав этих составляющих характеризуют особую криогенную (мерзлотную) текстуру. Различают массивную, слоистую и сетчатую текстуры (рис. 2.1). Массивная текстура (рис. 2.1, а) характеризуется наличием в основном порового льда. Слоистая текстура (рис. 2.1, б) представляет собой чередование ледяных включений в виде прослоек и линз с минеральными слоями, которые имеют массивную текстуру. Сетчатая текстура (рис. 2.1, в) формируется ледяными включениями, располагающимися в виде сетки.
Рис. 2.1. Основные виды текстур мерзлых грунтов:
а - массивная; б - слоистая; в - сетчатая
Вечномерзлые грунты классифицируются: I - по физическому состоянию (или температуре); II - по территориальному распространению; III - продолжительности существования мерзлых грунтов.
I. По физическому состоянию:
- низкотемпературные (твердомерзлые), то есть прочно спаянные льдом, практически несжимаемые грунты с температурой ниже границ замерзания грунтов (для песков пылеватых температура замерзания ниже минус 0,3 °С, для супесей ниже минус 0,6 °С, для суглинков ниже минус 1 °С и для глин ниже минус 1,5 °С);
- высокотемпературные (пластичномерзлые), то есть с большим содержанием незамерзшей воды, с температурой ниже 0 °С и выше температуры замерзания грунтов, обладающие низкими свойствами и характеризуемые способностью сжиматься под нагрузкам от сооружения.
II. По территориальному распространению вечномерзлых грунтов:
- районы географически сплошной вечной мерзлоты, то есть обширные пространства, в пределах которых вечная мерзлота, как правило, наблюдается повсеместно;
- районы, в пределах которых обширные пространства с вечномерзлыми грунтами на более или менее значительном протяжении расчленены таликами. Талики представляют собой талые породы, ограниченные в своем распространении мерзлыми породами;
- острова и районы островов с вечномерзлыми грунтами вдали от общего вечномерзлого массива.
III. По продолжительности существования мерзлых грунтов:
- кратковременномерзлые грунты (в течение нескольких суток);
- сезонномерзлые грунты (в течение нескольких месяцев, менее года);
- многолетнемерзлые или вечномерзлые грунты (в течение более 3-х лет, до сотен, десятков сотен и даже нескольких тысяч лет), то есть существующие «вечно».
Кроме того, могут быть случаи, когда верхний слой грунта при замерзании не сливается с вечномерзлыми (несливающаяся мерзлота) и сливается (сплошная сливающаяся мерзлота) (рис. 2.2).
Рис. 2.2. Сливающаяся (а) и несливающаяся (б) вечная мерзлота
Полная глубина сезонного оттаивания hог устанавливается замерами в конце осеннего периода (X и XI месяцы). На некоторой глубине, называемой глубиной нулевых амплитуд, где не сказываются сезонные колебания температур, замеряют постоянную температуру вечномерзлого грунта. Эта температура с отсутствием амплитуд считается основной характеристикой среднегодовой температуры вечномерзлых грунтов. Однако она непостоянна даже для одного конкретного района, а изменяется в зависимости от состава пород, их льдистости, экспозиции, наличия грунтовых вод и т.п. (рис. 2.3). На рис. 2.3 обозначено:
Аn - годовая амплитуда температур на поверхности земли, °С;
А1 - годовая амплитуда температур почвы на глубине Н1, °С;
А2 - годовая амплитуда температур почвы, толщи пород на глубине Н2, °С;
А3 - то же на глубине Н3, °С и т.д.;
А0 - нулевая амплитуда температур толщи пород, т.е. = 0 °С;
Н0 - глубина нулевой амплитуды пород, м;
Нотмах - максимальная глубина оттаивающих летом грунтов, м;
ВГВМГ - верхний горизонт вечномерзлых грунтов;
НГВМГ - нижний горизонт вечномерзлых грунтов;
t0 - отрицательная температура вечномерзлых грунтов в данной точке (пункте) поверхности земли, °С;
1 - кривая самых низких отрицательных температур толщи пород по глубине; 2 - кривая самых высоких положительных и отрицательных температур толщи по глубине.
Рис. 2.3. Изменение температуры по глубине сезонно-оттаивающего слоя грунта и вечномерзлой толщи пород
Разнообразие природно-климатических условий СССР учитывают с помощью дорожно-климатического районирования, нашедшего отражение в нормативных документах (СНиП 2.05.03-85, ВСН 46-83 и др.)
Многолетний опыт применения существующего дорожно-климатического районирования показал, что оно не в полной мере удовлетворяет практике проектирования дорог и требует дальнейшего уточнения и детализации.
Целесообразно территорию Советского Союза разделить на два примерно равных по площади региона: первый, основной особенностью которого является сезонное промерзание грунтов, и второй, в котором поверхностный слой грунтов протаивает на некоторую глубину летом, а остальную часть года находится в мерзлом состоянии (зона вечномерзлых грунтов). Линией раздела регионов следует принять границу распространения вечномерзлых грунтов на территории СССР.
Изучение природных условий зоны вечной мерзлоты показало, что на ее территории отчетливо выражено зональное изменение основных физико-географических факторов, что обусловливает необходимость деления территории зоны на подзоны.
На основе исследований [14, 16, 17, 22], проведенных Омским филиалом Союздорнии (Р.З. Порицкий, В.А. Давыдов и др.), и результатов многолетних наблюдений за мерзлотным режимом на постах и опытных участках автомобильных дорог, зона вечной мерзлоты разделена на три характерные подзоны (рис. 3.1): первая I1 - северная подзона низкотемпературных вечномерзлых грунтов (НТВМГ) сплошного распространения с высокой влажностью грунтов сезоннооттаивающего слоя (влажность грунтов выше предела текучести); вторая I2 - центральная подзона НТВМГ сплошного распространения с умеренной влажностью грунтов сезоннооттаивающего слоя (Wотн = 0,7 - 1); третья I3 - южная подзона высокотемпературных вечномерзлых грунтов (ВТВМГ) сплошного и островного распространения с умеренной влажностью сезоннооттаивающего слоя (Wотн = 0,7 - 1).
В основу районирования положены факторы, оказывающие решающее влияние на устойчивость дорожных конструкций в этой зоне: вид грунта сезоннооттаивающего слоя и его влажность, характер распространения вечномерзлых грунтов и их температура, мощность слоя сезонного оттаивания. Совокупность этих признаков обусловлена сочетанием климатических, грунтово-гидрогеологических и мерзлотных особенностей и присуща в определенной степени природным ландшафтам земной поверхности. Действительно, каждый природный ландшафт является уникальным, обладающим неповторимой в целом совокупностью физико-географических условий, а также типичным и наиболее распространенным комплексом природных и территориальных особенностей.
Поэтому за основу для выделения границ подзон взяты границы зональных типов ландшафтов. В схеме деления территории зоны вечной мерзлоты на дорожно-климатические подзоны (см. рис. 3.1) принята нумерация подзон I1, I2, I3, обозначающая: первая подзона I дорожно-климатической зоны; вторая подзона I дорожно-климатической зоны и т.д. Такая нумерация подзон позволяет не изменять общепринятых названий дорожно-климатических зон (см. ВСН 46-83).
Характеристика природных условий и примерные географические границы районов приведены в табл. 2.1. Наиболее неблагоприятной для дорожного строительства является первая подзона I1, где широко распространены жильные и подземные льды, близко залегающие к поверхности земли. Здесь в большинстве мест необходимо проектировать и строить дороги с минимальным нарушением естественного режима местности, используя, как правило, первый принцип проектирования.
Природно-климатические условия второй подзоны I2 позволяют проектировать земляное полотно по второму принципу с оттаиванием грунтов основания с учетом возникающих при этом деформаций. Третья подзона I3 более благоприятна для дорожного строительства. Здесь вечномерзлые грунты встречаются или в виде сплошной высокотемпературной вечной мерзлоты, или в виде отдельных мерзлых островов среди талой толщи грунта. В горных районах в связи с вертикальной зональностью необходимо учитывать изменение природно-климатических условий, по мере увеличения высоты пояса. В гористой местности вечномерзлые грунты обычно встречаются на заболоченных участках, склонах северной экспозиции и в пониженных затененных местах.
Рис. 3.1. Схема дорожно-климатических районов зоны вечной мерзлоты:
I1 - северный; I2 - центральный; I3 - южный; II - дорожно-климатическая зона
Таблица 3.1
Характеристика и границы подзон зоны вечной мерзлоты
|
Подзона вечной мерзлоты |
Характеристика природных мерзлотно-грунтовых условий |
Примерные границы районов |
|
1 |
2 |
3 |
|
I1 - северная подзона низкотемпературных вечномерзлых грунтов (НТВМГ) сплошного распространения |
Сплошное распространение вечномерзлых грунтов мощностью от 200 до 900 м и более. Среднегодовая температура вечномерзлых грунтов от -5 до -10 °С и ниже. Глубина сезонного оттаивания от 0,2 до 2 м (преимущественно менее 1 м). Высокое содержание в вечномерзлых грунтах льдов различных типов и их неглубокое залегание. Грунты глинистые, пылеватые, иловатые, тундровые и болотные со среднегодовой суммарной влажностью более предела текучести Рельеф - равнины и низменности. Интенсивное развитие криогенных процессов |
Включает зону тундры и лесотундры с пятнистым микрорельефом. Расположен севернее линии Нарьян-Мар - Салехард - Курейка - Трубка Удачная - Верхоянск - Дружино - Горный Мыс - Марково |
|
I2 - центральная подзона низкотемпературных вечномерзлых грунтов (НТВМГ) сплошного распространения |
Сплошное распространение вечномерзлых грунтов мощностью от 50 до 400 м. Среднегодовая температура вечномерзлых грунтов от -1 до -5 °С. Глубина сезонного оттаивания от 0,8 до 3 м. Грунты скальные, щебенистые, гравийно-галечниковые и глинистые со среднегодовой суммарной относительной влажностью от 0,7 до 1,0 относительно предела текучести. Рельеф в основном гористый, частично нагорья и сглаженный равнинный |
Включает таежную зону, зону смешанных лесов. Расположен восточнее линии устье реки Нижняя Тунгуска – Ербогачен - Ленск, Бодайбо - Богдарин; севернее линии Могоча – Сковородино – Зея – Охотск – Палатка - Слаугское. С севера ограничен I районом. |
|
I3 - южная подзона высокотемпературных вечномерзлых грунтов (ВТВМГ) островного и частично-сплошного распространения |
Преимущественно островное распространение вечномерзлых грунтов мощностью до 50 - 100 м. Среднегодовая температура вечномерзлых грунтов выше -1 °С. Глубина сезонного оттаивания достигает 4 м и более. Грунты пылеватые, глинистые, песчаные, торфоглинистые в западной части района и щебенистые, галечниковые и глинистые в восточной части района со среднегодовой суммарной относительной влажностью от 0,7 до 1,0 относительно предела текучести. Рельеф равнинный в западной части района и горный или холмистый - в восточной |
Включает таежные, лесостепные и степные зоны, побережье Охотского моря. Расположен севернее южной географической границы вечной мерзлоты в европейской части СССР, на Дальнем Востоке и севернее южной государственной границы с Монголией и Китаем в Восточной Сибири. Включает северную и центральную части Камчатки |
Примечания:
1. Границы даны примерно, их следует корректировать в процессе проектно-изыскательских работ в соответствии с характеристикой условий местности (см. текст и настоящую таблицу).
2. В горных районах в связи с вертикальной зональностью необходимо учитывать изменения природно-климатических условий по мере увеличения высоты пояса.
3. В гористой местности вечномерзлые грунты обычно встречаются на заболоченных участках, на склонах северной экспозиции и в пониженных затененных местах.
4. Таблица разработана В.А. Давыдовым.
Земляное полотно на участках островной мерзлоты следует проектировать и строить по третьему принципу, то есть с обеспечением предварительного оттаивания грунтов основания и осушения дорожной полосы до возведения земляного полотна. Для более детальной характеристики условий района проложения трассы автомобильной дороги принято делить на участки (типы местности) по характеру поверхностного стока и степени увлажнения. Такое деление на типы местности возможно также для зоны вечной мерзлоты с введением дополнений, отражающих специфические мерзлотно-грунтовые условия этой зоны (табл. 3.2), которые, в свою очередь, определяют выбор и расчет дорожных конструкций.
Таблица 3.2
Типы местности по характеру поверхностного стока, степени увлажнения и мерзлотно-грунтовым условиям
|
Условия увлажнения |
Характерные признаки |
|
|
1 |
2 |
3 |
|
1-й (сухие места) |
Без избыточного увлажнения. Поверхностный сток обеспечен. Естественная относительная влажность грунтов менее 0,8 от предела текучести |
Каменистые возвышенности, крутые склоны сопок, песчаные и гравийно-галечниковые косы с мощностью сезоннооттаивающего слоя более 2,5 м. Грунты гравийно-галечниковые, песчаные, а также супесчаные, глинистые непросадочныех) |
|
2-й (сырые места) |
Избыточное увлажнение в отдельные периоды года. Поверхностный сток не обеспечен. Естественная относительная влажность грунтов от 0,8 до предела текучести |
Плоские водоразделы, пологие склоны гор и их шлейфы с мощностью сезоннооттаивающего слоя от 1,0 до 2,5 м. Грунты глинистые просадочныех) |
|
3-й (мокрые места) |
Постоянное избыточное увлажнение. Водоотвод не обеспечен. Надмерзлотные и длительно стоящие (более 20 суток) поверхностные воды. Естественная относительная влажность грунтов выше предела текучести |
Мари, заболоченные тальвеги, замкнутые впадины с развитым мохоторфяным покровом и малой мощностью (до 1 м) сезоннооттаивающего слоя. Грунты глинистые сильно просадочные, содержащие в пределах двойной мощности сезоннооттаивающего слоя линзы льда толщиной более 10 м |
х) Грунты считаются условно непросадочными при относительной степени просадочности δ < 0,03, просадочными - при 0,03 £ δ £ 0,1 и сильнопросадочными - при δ > 0,1. Степень просадочности определяется по формуле δ = (γтн - γм)/γтн,
где γм - объемный вес скелета в мерзлом состоянии, г/см3;
γтн - объемный вес скелета грунта, оттаявшего под нагрузкой 0,1 МПа.
Обычно у поверхности земли находится слой, который ежегодно летом оттаивает, а зимой замерзает. Он называется деятельным (сезоннооттаивающим) слоем (см. рис. 2.3 - 1).
Для инженерных целей важнейшим вопросом является изучение физических процессов в сезонноталом (деятельном) слое и определение его толщины, поскольку инженерные сооружения главным образом возводятся на этом и в этом слое.
Постройка дороги вносит большие изменения в природный режим вечномерзлых грунтов. Влияние этих изменений необходимо все время иметь в виду, принимая те или иные проектные решения. Вырубка деревьев и кустарников на придорожной полосе и удаление мохового покрова способствует увеличению толщины деятельного слоя. При оттаивании пылеватые льдонасыщенные вечномерзлые грунты из твердого состояния переходят в разжиженное, растекаясь под действием собственного веса.
Оттаивание вечномерзлого грунта под невысокими насыпями в зависимости от количества льда, содержащегося в грунте, вызывает дополнительные осадки или полное расползание насыпей. На участках с близким к поверхности залеганием погребенного льда при таянии на полосе отвода могут возникать провальные озера (термокарстовые явления).
Откосы выемок, разработанных в вечномерзлых грунтах и содержащих прослойки льда при оттаивании, подвержена сплывам. Наоборот, средние и высокие насыпи, создавая теплоизоляцию, способствуют поднятию уровня вечной мерзлоты, которая может входить в тело насыпи.
Наиболее распространенный во всех зонах вид деформации - пучение земляного полотна. Оно происходит вследствие объемного растирания воды в связном грунте, при этом наибольшее пучение вызвано дополнительным поступлением воды, перемещающейся в промерзающий грунт из нижележащих талях слоев грунта. Пучение интенсивно проявляется в южной части зоны вечной мерзлоты. Здесь же наблюдаются значительные деформации земляного полотна, возникающие из-за затопления его наледями. Изменение режима подземных вод и водотоков зимой при промерзании грунта часто приводит к прорыву их на поверхности и затоплению окружающей местности и дорожных сооружений, сопровождающемуся полным разрушением проезжей части.
На Крайнем Севере, наоборот, значительные деформации (термокарстовые образования, просадки и осадки) возникают в результате протаивания грунтов деятельного слоя.
Различные мерзлотно-грунтовые условия, характеризующиеся разными типами местности, обусловливают дифференцированный подход к проектированию и строительству земляного полотна автомобильных дорог.
Гидротехнические, промышленные и жилые сооружения в большинстве случаев своими фундаментами опираются на вечномерзлую толщу, почти не меняющую своих свойств во времени. Основной элемент автомобильной дороги - земляное полотно, которое возводится на грунтовом слое, изменяющем в годовом периоде свои свойства от воздействия природных факторов, в первую очередь, температуры воздуха и влажности грунта. Из этого следует, что устойчивость дорожной конструкции в период эксплуатации зависит главным образом от состояния грунта основания (мерзлое или талое), его вида и влажности.
В настоящее время рекомендуется использовать грунты сезоннооттаивающего слоя в качестве основания земляного полотна по одному из следующих принципов:
первый - сохранение вечномерзлых грунтов в основании земляного полотна в течение всего периода эксплуатации дороги;
второй - частичное оттаивание мерзлых грунтов основания на величину, определяемую расчетом;
третий - оттаивание вечномерзлых грунтов до начала строительства дороги и осушение придорожной полосы.
Своеобразные гидрогеологические условия в сочетании с суровыми природно-климатическими факторами зоны вечной мерзлоты предопределяют особый водно-тепловой режим земляного полотна автомобильных дорог.
Оттаивание земляного полотна и основания в зоне вечной мерзлоты протекает по схеме (рис. 5.1, Б), подобной схеме промерзания, например, во II дорожно-климатической зоне СССР (рис. 5.1, В), так как имеет место одинаковое направление потоков тепла (в зоне вечной мерзлоты) и потоков холода (в районах сезонного промерзания). В рассматриваемой зоне оттаивание происходит сверху и продолжается в течение всего теплого периода года, пока не установится динамическое равновесие между потоками тепла сверху от атмосферы и потоками холода снизу от вечномерзлых грунтов.
Процесс промерзания земляного полотна и основания в зоне вечной мерзлоты (см. рис. 5.1, Б) подобен схеме процесса оттаивания в средней полосе страны (см. рис. 5.1, B). В обоих случаях имеет место двустороннее направление потоков: холода - в зоне вечной мерзлоты, тепла - в средней полосе страны.
Промерзание в зоне вечной мерзлоты происходит с двух сторон: сверху - за счет отрицательных температур воздуха, снизу - за счет охлаждения от вечномерзлых грунтов.
Таким образом, в зоне вечной мерзлоты в течение всего теплого времени года в земляном полотне или в основании находится мерзлый (вечномерзлый), практически несжимаемый слой грунта на незначительной глубине оттаивания (до 1,5 м).
Как установлено (Н.А. Цытович и др.), модули упругости (деформации) мерзлых глинистых грунтов имеют высокие значения, а талых - в несколько раз (иногда в десятки раз) меньше. В переходном состоянии от мерзлого к талому величина модуля упругости может иметь различные промежуточные значения, которые уменьшаются как за счет перехода мерзлого состояния грунта в талое, так и более глубокого расположения мерзлого слоя грунта. Это положение имеет большое практическое значение для проектирования и строительства дорог в указанных районах, так как регулированием глубины расположения вечномерзлого слоя грунта можно повышать величину эквивалентного модуля упругости грунта земляного полотна, увеличивая таким образом прочность всей дорожной конструкции.
Рис. 5.1. Схема годового цикла водно-теплового режима земляного полотна и основания в районах вечной мерзлоты и сезонного оттаивания грунтов:
А - изменение модуля упругости грунта земляного полотна в годовом периоде; Б и В - схемы протаивания, промерзания и увлажнения; 1 - сухой талый грунт; 2 - влажный талый грунт; 3 - талый грунт повышенной влажности; 4 - переувлажненный талый грунт; 5 - надмерзлотная вода; 6 - твердомерзлый грунт; 7 - прослойки и линзы льда; Нн - высота насыпи; Нот - мощность слоя оттаивания (промерзания); Но - глубина расположения границы нулевых амплитуд
Многолетние исследования на дорогах Якутской и Бурятской АССР позволили проследить за изменением модулей упругости и деформации в процессе оттаивания, которые определяли с помощью пресса и жестких металлических штампов диаметрами 20, 25 и 34 см. При Нот = 0, то есть, когда грунт был мерзлым, модули упругости, по данным наших опытов, имели огромную величину: Еу = 2 ´ 102 - 25 ´ 103 кгс/см2, а Ед = 0,4 ´ 103 - 5 ´ 103 кгс/см2. При глубине оттаивания 4 - 5 см модуль упругости составлял уже 1800 - 2190 кгс/см2, а деформация - 629 - 347 кгс/см2.
Затем по мере увеличения глубины оттаивания грунта величина его эквивалентного модуля упругости быстро уменьшалась. Это происходило вследствие перехода грунта из мерзлого состояния в талое (за счет разрушения в нем льдоцементирующих связей) и удаления от поверхности более прочного мерзлого слоя грунта.
При глубине оттаивания, равной 3 - 4 диаметрам штампа, модули упругости достигали минимальных значений, близких по абсолютной величине к модулям плотности талого грунтового полупространства. Таким образом, при глубине оттаивания более 4 диаметров штампа влияние мерзлого слоя практически прекращается (составляет менее 4 - 5 %). Это явление необходимо учитывать при расчетах прочности дорожных конструкций. На величину модуля упругости кроме влажности и плотности глинистого грунта значительное влияние оказывает положение мерзлого слоя при оттаивании, ограничивающего зону обжатия грунта. Вопрос о распределении напряжений и деформаций до настоящего времени наиболее полно разработан только применительно к упругому изотропному полупространству при действии статических нагрузок. Величины сжимающих напряжений, возникающих на контакте грунтового слоя и жесткого основания, исследовались за рубежом (Мелан, Био, Маргерр и др.) и в нашей стране (О.Я. Шехтер, К.Е. Егоров, М.И. Горбунов-Посадов и др.). Получены аналитические решения и разработаны приемы численного определения напряжений и деформаций.
Согласно этим решениям, а также опытным данным О.Ф. Никитина в ХАДИ, В.А. Давыдова в Омском филиале Союздорнии и др. установлено, что величина осадки в системе с несжимаемым основанием меньше, чем в однородном полупространстве. Была получена картина распределения сжимающих напряжений в слое грунта ограниченной толщины на несжимаемом основании. При этом установлено, что наличие жесткого несжимаемого слоя вызывает концентрацию напряжений по оси нагрузки. Оттаивание грунта создает сложную многослойную систему, которую с некоторыми допущениями можно принять за двухслойную.
Величину эквивалентного модуля упругости системы - талый (верхний) плюс мерзлый (нижний) слои - можно определить, принимая мерзлый слой грунта абсолютно несжимаемым. В этом случае влияние нижнего более прочного и жесткого слоя уменьшает осадку под нагрузкой верхнего талого однородного грунта, повышая таким образом прочность системы - упругопластичный слой грунта плюс жесткое несжимаемое основание. Это явление можно учесть, используя решение К.Е. Егорова, основанное на формуле Маргерра:
(5.1)
где R - радиус штампа, см; r - расстояние от центра круглого штампа до точки, перемещения которой определяют, см; J0 - функция Бесселя нулевого порядка первого рода; J1 - функция Бесселя нулевого порядка второго рода; sh, ch - соответственно гиперболические синус и косинус; t - произвольный параметр интегрирования; Н - мощность талого слоя грунта, см.
Для точек, расположенных под центром нагруженной площадки, то есть при r = 0, J0 = 1,0, коэффициент влияния жесткого несжимаемого слоя на величину модуля упругости является обратной величиной коэффициента b:
Таким образом, влияние мерзлого слоя на прочность оттаивающего грунта может быть определено по формуле (5.2) или по графику (рис. 5.2).
В грунтах земляного полотна и основания, как правило, влажность по глубине неоднородна (в верхних слоях меньше, а в нижних больше) и в течение всего периода оттаивания имеет непостоянные значения (см. рис. 5.5). Указанную закономерность для естественных условий зоны вечной мерзлоты отмечали проф. Н.А. Пузаков и мерзлотоведы, однако практических рекомендаций по ее учету при оценке прочности грунтов не было сделано.
Рис. 5.2. График для определения коэффициента влияния мерзлого слоя А на величину модуля упругости (деформации) в зависимости от относительной глубины залегания мерзлого слоя Нот/Д

Рис. 5.3. Изменение влажности грунтов по мере оттаивания слоя насыпи в течение весенне-летнего периода:
I - влажность грунта в весенний период (начало оттаивания); II - влажность грунта в начале летнего периода; III - влажность грунта в конце летнего периода; ГМ - горизонт мерзлоты
Характерные эпюры распределения влажности по глубине оттаявшего слоя в расчетный период (весна - лето) были установлены автором в процессе обследования автомобильных дорог в зоне вечной мерзлоты [14, 16, 22]. В начале оттаивания земляного полотна происходит увлажнение верхнего активного слоя грунта (весенний период), затем, по мере опускания границы оттаивания вниз, вслед за горизонтом мерзлоты опускается свободная влага под действием гравитационных сил.
В летний период за счет испарения с поверхности и инфильтрации просыхают верхние слои земляного полотна, а в нижних слоях на границе с мерзлым грунтом наблюдается максимальная влажность, нередко достигающая предела текучести. Также распределение влажности обусловливает неравнопрочность грунтов по глубине, что следует учитывать в расчетах прочности дорожных конструкций.
По фактическим данным натурных исследований [14, 16] автором было установлено (1966 г.), что при глубине оттаивания более величины Нот, равной 3 диаметрам штампа, влажность грунта по глубине распределяется по экспоненциальной зависимости. Следовательно, зная влажность верхнего и нижнего слоев, можно по зависимости Е = f(w) определить соответствующие значения модулей упругости или деформации любого слоя грунта. При этом целесообразно использовать метод вычисления осадок и напряжений отдельных слоев, основанный на решении задач по законам теории упругости. Многослойная система дорожной конструкции может рассматриваться как упругое неоднородное полупространство, состоящее из однородных слоев, связанных между собой условием непрерывности напряжений и перемещений. Каждый из слоев характеризуется определенной толщиной, модулем упругости и коэффициентом Пуассона. Величину эквивалентного модуля упругости на поверхности неоднородного по глубине земляного полотна можно получить, используя решение Б.И. Когана, разработанное для конструирования дорожных одежд. На основе этого решения разработана [16] номограмма (см. рис. 5.4). В общем виде график изменения модуля упругости грунта от глубины оттаивания с учетом мерзлого слоя и неоднородного увлажнения описывается уравнением
(5.3)
где выражение в квадратных скобках названо обобщенным коэффициентом влияния мерзлого слоя грунта и неоднородного увлажнения его по глубине А’у; В и С - коэффициенты, зависящие от типа грунта, величины относительной деформации и других факторов (табл. 5.1); Еуо - модуль упругости однородного массива грунта при определенных значениях его влажности и плотности.
На рис. 5.5 приведен пример зависимости общего модуля деформации грунта (супеси) земляного полотна на одном из опытных участков, построенных на автомобильной дороге V категории в Бурятской АССР.
По исследованиям
Н.А. Пузакова, В.Ф. Бабкова, С.А. Голованенко, И.А. Золотаря, В.М. Сиденко и
др. [13]
снижение прочности (модуля деформации и модуля упругости) грунтов земляного
полотна (см. рис. 5.1, А) в районах сезонного промерзании
происходит весной на незначительный срок
, исчисляемый 5 - 15 днями в IV и 15 - 30 днями
во II и III
дорожно-климатических зонах.
По исследованиям
В.А. Давыдова [14, 16] в зоне вечной мерзлоты
прочность земляного полотна в течение весенне-летнего периода понижается до
очень малых величин
,
(см. рис. 5.1, А), а продолжительность
расчетного периода
увеличивается до 1,5 - 4,0 и более
месяцев, то есть практически достигает 0,7 - 0,9 всего периода теплого времени
года. Этот существенный фактор - длительность ослабленного (расчетного)
состояния грунтов земляного полотна - необходимо учитывать в расчетах прочности
дорожных одежд, что повысит надежность и долговечность всей дорожной
конструкции (см. рис. 5.5).
Таблица 5.1
Значения параметров в и С и минимальных (критических) значений модуля деформации Еg при относительной глубине оттаивания грунта Н/Д
|
Относительная деформация λ |
Еgo |
в |
С |
Критические точки |
||
|
|
Н/Д |
|||||
|
Экспериментальные средние кривые |
||||||
|
Супеси |
0,01 |
420 |
-2,42 |
5,07 |
300 |
4,5 |
|
0,02 |
305 |
-2,23 |
4,8 |
220 |
4,0 |
|
|
0,03 |
220 |
-2,23 |
3,9 |
150 |
3,5 |
|
|
Экспериментальные минимальные кривые |
||||||
|
0,01 |
300 |
-4,2 |
7,3 |
120 |
3,5 |
|
|
0,02 |
230 |
-3,7 |
6,2 |
100 |
3,3 |
|
|
0,03 |
160 |
-3,0 |
4,5 |
80 |
3,0 |
|
|
Экспериментальные средние кривые |
||||||
|
Суглинки |
0,01 |
340 |
-3,3 |
6,6 |
200 |
4,0 |
|
0,02 |
270 |
-3,1 |
5,5 |
150 |
3,5 |
|
|
0,03 |
200 |
-3,0 |
4,5 |
100 |
3,0 |
|
|
Экспериментальные минимальные кривые |
||||||
|
Глины |
0,01 |
200 |
-4,2 |
6,3 |
60 |
3,0 |
|
0,02 |
150 |
-3,7 |
5,2 |
50 |
2,8 |
|
|
0,03 |
100 |
-3,0 |
3,75 |
40 |
2,6 |
|
Рис. 5.4. Номограмма значений коэффициента a2 учитывающего неравномерное увлажнение по глубине земляного полотна в зависимости от величины m = Ев/Ен и относительной глубины расположения слоя r/H
Рис. 5.5. Изменение модуля деформации оттаивающего супесчаного грунта (при λ = 0,01) на одном из опытных участков:
1 - для средних значений модуля деформации; 2 - для минимальных значений
При расчете прочности конструкции дорожных одежд в зоне вечной мерзлоты следует учитывать основные факторы водно-теплового режима земляного полотна, руководствуясь в основном ВСН 46-83 и ВСН 84-75. При этом дорожная конструкция (земляное полотно в комплексе с дорожной одеждой) должна удовлетворять трем условиям:
(6.1)
σр £ R; (6.2)
Та £ [Та], (6.3)
где
- общий модуль упругости
дорожной конструкции, МПа,
- требуемый модуль упругости дорожной
конструкции, определяемый по формуле (6.4) в зависимости от
расчетной нагрузки, состава и интенсивности перспективного движения и
длительности расчетного периода, МПа; σр - наибольшее
растягивающее напряжение при изгибе в материале рассматриваемого слоя одежды,
МПа; R - предельно
допустимое растягивающее напряжение при изгибе в материале конструктивного слоя
с учетом усталостных явлений, МПа, Та - наибольшее активное
напряжение сдвига в грунте или слабосвязном материале конструктивного слоя
одежды, которое слагается из активных напряжений сдвига от временной нагрузки
τа и веса вышележащих слоев τа, MПа; [Та]
- допустимое активное напряжение сдвига в грунте земляного полотна или в слое
дорожной одежды, МПа.
Величины
, σр,
R, Та,
[Та] определяют по рекомендациям и указаниям ВСН 46-83.
Требуемый модуль упругости дорожной конструкция определяют по формуле
где Етр - требуемый общий модуль упругости дорожной конструкции, определяемый по ВСН 46-72, то есть без учета длительности расчетного периода; Р - нагрузка от расчетного автомобиля на дорожное покрытие, МПа; λу - допустимый упругий прогиб дорожной конструкции, устанавливаемый в зависимости от материала покрытия и условий его работы в рассматриваемом районе; К - коэффициент, учитывающий длительность расчетного периода.
Автором установлены следующие средние значения коэффициента К для всех дорожно-климатических районов зоны вечной мерзлоты: для района I1 - К = 1,3; I2 - К = 1,2; I3 - K = 1,1. Разработана также номограмма (рис. 6.1), позволяющая дифференцированно определить коэффициент К для различных конкретных пунктов зоны вечной мерзлоты.
Нормативные нагрузки на дорогах общей сети (I - V категорий) и для городских дорог принимают по ВСН 46-83.
На подъездных и внутренних дорогах промышленных предприятий нормативную нагрузку для дорог III-й и IV-й категорий принимают на основе технико-экономических расчетов из условия пропуска принятых расчетных типов автомобилей и автопоездов.
Влияние мерзлого слоя на прочность при известной глубине оттаивания дорожной конструкции учитывают по формуле
(6.5)
где Еу3(g) - общий модуль упругости (деформации) оттаявшего грунтового массива, МПа; Еуо(g) - расчетное значение модуля упругости (деформации) грунта, определяемое по табл. 6.1 и 6.2 или при известной расчетной влажности по графикам (рис. 6.2, 6.3), МПа; Ау’(g) - комплексный коэффициент, учитывающий влияние мерзлого слоя в зависимости от глубины оттаивания (Нот или Нот/Д) и неоднородное увлажнение земляного полотна и сезоннооттаивающего слоя по глубине; определяют по табл. 6.3.
Таблица 6.1
Значения Еу и Ед
|
Расчетные значения, кгс/см2 |
||
|
Еу |
Ед |
|
|
Суглинок пылеватый |
90 - 150 |
30 - 60 |
|
Супесь пылеватая |
110 - 120 |
40 - 80 |
|
Песок мелкий пылеватый |
140 - 260 |
70 - 120 |
|
Суглинок с примесью до 20 % щебня |
150 - 240 |
70 - 90 |
|
Суглинок с примесью до 50 % щебня |
190 - 280 |
90 - 120 |
Примечание. Значения модулей упругости приведены по В.А. Давыдову, а модулей деформации по Н.А. Пузакову.
Расчетные прочностные и деформативные характеристики материалов принимают по ВСН 46-83, грунтов естественного основания - по табл. 6.1 и грунтов земляного полотна - по табл. 6.2.
Расчетные значения прочностных характеристик С и j грунтов естественного основания принимают по СНиПу.
Величины расчетных модулей упругости и деформации, сцепления и угла внутреннего трения установлены в работах В.А. Давыдова [14, 16, 22] на основе фактического материала, полученного при многолетних обследованиях дорог и обработанного методами математической статистики (см. табл. 6.2).
Зависимость модуля деформации грунтов от их влажности (см. рис. 6.2) может быть выражена уравнением
где
- модуль деформации грунта
при определенных значениях относительной деформации (λ = 0,01; 0,02; 0,03
и т.д.) и относительной влажности Wотн, MПа; Еот
- значение модуля деформации грунта, которое соответствует влажности предела
текучести, МПа; n - безразмерный коэффициент, зависящий от типа
грунта и его физико-механических свойств.
Значения модулей деформации грунтов на пределе текучести Еот и коэффициентов n устанавливают экспериментально. Выполненная статистическая обработка многочисленных экспериментальных данных позволила установить значения Еот и n для характерных грунтов зоны вечной мерзлоты (табл. 6.4).
Модуль упругости грунтов земляного полотна является более стабильной характеристикой. Он в меньшей мере зависит от относительной деформации грунта. Основное влияние на величину модуля упругости грунта оказывает его влажность.
Статистическая обработка фактических данных по определению модуля упругости Еу грунта позволила вывести аналогичную зависимость:
где Еy - значение модуля упругости грунта, соответствующее определенной влажности Wотн, МПа; Еут - значение модуля упругости грунта, соответствующее влажности предела текучести грунта, МПа; Wотн - относительная влажность грунта; m - коэффициент, зависящий от вида грунта.
Рис. 6.1. Номограмма значений коэффициента К, учитывающего относительную длительность расчетного периода Др.п, повторность и динамичность воздействия транспортных средств расчетной интенсивности движения Nр
Рис. 6.2. Зависимость модуля деформации грунтов земляного полотна от влажности:
а - супеси; б - суглинки и глины; 1, 2, 3 - соответственно при λ0 = 0,01; 0,02; 0,03
Таблица 6.2
Расчетные показатели грунтов земляного полотна
Примечания: 1. Значения модулей, влажности и показателей сдвига даны для однородных по зерновому составу грунтов мощностью слоя не менее 0,8 м при требуемом уплотнении.
2. Расчетные показатели грунтов приведены при 5 %-ной обеспеченности.
3. Значения Еу и С даны в кгс/см2, значения угла внутреннего трения - в градусах.
Таблица 6.3
Значения коэффициентов Аy', Аg'
|
Относительный радиус штампа, R/Д |
Супеси |
Суглинки и глины |
|||
|
Ау' |
Аg' |
Ау' |
Аg' |
||
|
0,125 |
4 |
354,1 |
362,2 |
292,2 |
304,2 |
|
0,25 |
2 |
81,3 |
85,4 |
67,0 |
69,4 |
|
0,5 |
1 |
17,7 |
18,4 |
14,0 |
14,4 |
|
1,0 |
0,5 |
3,4 |
3,5 |
2,45 |
2,5 |
|
1,5 |
0,33 |
1,28 |
1,31 |
0,84 |
0,86 |
|
2,1 |
0,24 |
0,64 |
0,65 |
0,41 |
0,42 |
|
2,5 |
0,2 |
0,50 |
0,51 |
0,34 |
0,35 |
|
3,0 |
0,17 |
0,43 |
0,45 |
0,33 |
0,34 |
|
3,3 |
0,15 |
0,43 |
0,45 |
0,35 |
0,36 |
|
3,5 |
0,14 |
0,44 |
0,46 |
0,36 |
0,37 |
|
4,0 |
0,13 |
0,45 |
0,46 |
0,38 |
0,40 |
|
4,5 |
0,11 |
0,47 |
0,49 |
0,41 |
0,43 |
|
4,8 |
0,10 |
0,49 |
0,50 |
0,44 |
0,46 |
|
5,0 |
0,10 |
0,50 |
0,51 |
0,46 |
0,47 |
|
6,0 |
0,09 |
0,53 |
0,55 |
0,50 |
0,52 |
|
10,0 |
0,05 |
0,65 |
0,69 |
0,64 |
0,68 |
|
0 |
1,0 |
1,0 |
1,0 |
1,0 |
|
Таблица 6.4
Значения модуля деформации грунта
|
λ0 = 0,01 |
λ0 = 0,02 |
λ0 = 0,03 |
||||
|
|
n |
|
n |
|
n |
|
|
Супеси |
60 |
2,42 |
50 |
2,07 |
45 |
1,62 |
|
Суглинки и глины |
50 |
2,32 |
45 |
1,80 |
36 |
1,18 |
Формулы (6.6) и (6.7) справедливы в пределах значений относительной влажности грунта от 0,2 до 1,0Wтек (см. рис. 6.2, 6.3). Значения модулей упругости на пределе текучести грунта Еут и коэффициента m устанавливают экспериментально. На основании статистической обработки многочисленных экспериментальных данных значения Еут и m для характерных грунтов зоны вечной мерзлоты приведены в табл. 6.5.
Рис. 6.3. Зависимость модуля упругости грунта от его влажности:
1 - суглинки и глины; 2 - супеси
Таблица 6.5
Значения модуля упругости грунтов
|
Еут, кгс/м2 |
m |
|
|
Супеси |
180 |
1,59 |
|
Суглинки и глины |
106 |
2,40 |
Как уже отмечалось, в рассматриваемой зоне проектирования плана трассы, продольного и поперечного профилей имеет ряд особенностей, обусловленных природно-климатическими и мерзлотно-грунтовыми условиями.
Наиболее экономично проектировать и строить дорогу по кратчайшему направлению между заданными грузообразующими пунктами, которому соответствует прямая линия. Однако в рассматриваемой зоне такому трассированию препятствуют не только элементы рельефа земной поверхности, встречающиеся в любых условиях (горы, овраги, реки, озера, болота), но и специфичные для вечной мерзлоты явления (бугры пучения, термокарстовые впадины, участки с солифлюкционными явлениями, наледями, меандрирующие озера, скопление массивов подземного льда, мари).
Основные технические нормы и требования по проектированию плана и продольного профиля автомобильных дорог изложены в специальной (СНиП 2.05.02-85, ВСН) и учебной литературе. Особенности изысканий и проектирования дорог в районах вечной мерзлоты изложены в специальной инструкции [25], разработанной коллективом научных работников Омского филиала Союздорнии с участием проф. Н.А. Пузакова (МАДИ) и проф. И.А. Золотаря (ВОЛАТТ).
Конструирование поперечных профилей земляного полотна базируется на принципах проектирования, изложенных в разделе 4. При этом большое значение придается назначению высоты земляного полотна и его ширины. Высоту земляного полотна следует назначать по теплотехническому расчету, используя рекомендуемые методы расчета промерзания, протаивания грунтов и насыпей дорог, ширину земляного полотна по расчету в зависимости от габаритов преобладающего типа машин, обращающихся по дорогам.
Обследования дорог, выполненные в течение 1964 - 1974 гг., показали, что в рассматриваемых районах автомобили большой грузоподъемностью составляют до 60 %.
При ширине проезжей части 6 - 7 м проектная скорость движения (соответственно 40 - 60 км/ч) автомобилей не обеспечивается и, как показали наблюдения, снижается до 5 - 10 км/ч, что влечет за собой дополнительные эксплуатационно-транспортные издержки и нередко создает аварийную ситуацию, особенно при встречах с большегабаритными автомобилями.
Ширину полосы движения для дороги с двусторонним движением определяют по формуле
![]()
где Ка - ширина кузова автомобиля, м; Ск - ширина колеи автомобиля, м; Vа - расчетная скорость движения автомобиля, км/ч.
Полученную по расчету ширину проезжей части следует округлить до 0,5 м. Ширина обочин назначается не менее 2,5 - 3 м с тем, чтобы обеспечить движение гусеничного транспорта по ним и стоянку автомобилей, так как устраивать объезды в рассматриваемой зоне практически невозможно, а зачастую недопустимо (при наличии льдонасыщенных грунтов деятельного слоя).
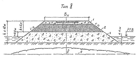
Если взять дорогу V категории с преобладающим движением автомобилей типа БелАЗ-540, то полученная ширина земляного полотна будет равняться 14 - 15 м.
Например, для автомобиля типа БелАЗ-540
![]()
Тогда ширина земляного полотна при обочинах 2,5 м
В = 2 ´ B2 + 20б = 2 ´ 4,6 + 2 ´ 2,5 = 14,2 м.
Принимаем В = 14 м. При обочинах шириной 3 м соответственно В = 15 м.
В рассматриваемых районах необходимая прочность и устойчивость земляного полотна в значительной мере зависят от качества грунтов, используемых для его возведения.
Исследования показали, что на марях и участках с высокой влажностью и льдонасыщенностью (мокрые места) земляное полотно предпочтительно отсыпать из несцементированных обломочных и песчаных грунтов (кроме пылеватых), а также водоустойчивых материалов и отходов промышленности (отходы дробильно-сортировочных заводов, металлургические шлаки, хорошо обожженные породы и др.).
В верхнюю часть насыпи допускается укладывать камни размером ребра не более 30 см. При этом обязательна послойная, по 30 - 40 см, отсыпка земляного полотна и уплотнение грунтов катками на пневматических шинах, что способствует заполнению пространства между крупными камнями более мелкими фракциями материала и увеличению плотности насыпей.
На всех типах местности допускается применять и глинистые грунты, удовлетворяющие требованиям табл. 8.1.
Степень пригодности глинистых грунтов для сооружения земляного полотна устанавливают испытанием грунтовых проб и образцов, отобранных в карьерах и резервах, с определением зернового состава, влажности на границе раскатывания и текучести, оптимальной влажности и максимальной плотности грунта объемного и удельного весов, засоленности грунта методом водной вытяжки, набухания по стандартной методике, коэффициента влагонакопления грунта.
Коэффициент влагонакопления Квлаг промерзающих глинистых грунтов должен быть не более значений, указанных в табл. 8.2.
На участках первого и второго типов местности (сухие и сырые места) применяют местные глинистые грунты с влажностью, не превышающей допустимую из условия уплотнения (табл. 8.3).
При более высоких значениях влажности должны быть предусмотрены мероприятия по заблаговременному осушению грунтов. Для определения степени увлажнения грунтов в сравнении с оптимальной величина последней может быть установлена через предел текучести (легко определяемый как в лабораторных, так и в полевых условиях) по следующим зависимостям (А.С. Плоцкого):
супесь легкая - Wопт = 0,70Wтек
суглинок легкий пылеватый - Wопт = 0,60Wтек
суглинок тяжелый, глина пылеватая - Wопт = 0,55Wтек.
Ориентировочные значения оптимальной влажности для характерных грунтов зоны вечной мерзлоты можно определять также по данным табл. 8.4.
Местные глинистые грунты можно применять для возведения земляного полотна только при соблюдении требований к ним по гранулометрическому составу и в порядке послойной их укладки.
Таблица 8.1
Требования к глинистым грунтам земляного полотна
|
Глубина расположения слоя от низа дорожной одежды, м |
Покрытия капитальные |
Покрытия усовершенствованные облегченные |
Покрытия переходного и низшего типов |
|||||||
|
Тип местности по характеру поверхностного стока, степени увлажнения и мерзлотно-грунтовым условиям (см. табл. 3.2) |
||||||||||
|
1-й |
2-й |
3-й |
1-й |
2-й |
3-й |
1-й |
2-й |
3-й |
||
|
1 |
2 |
3 |
4 |
5 |
6 |
7 |
8 |
9 |
10 |
11 |
|
Верхняя |
До 1,5 |
Супеси легкие, суглинки легкие с содержанием пылеватых частиц не более 35 % и глинистых не более 15 % |
Супеси легкие с содержанием пылеватых частиц не более 35 % и глинистых не более 5 % |
Супеси легкие и суглинки легкие, суглинки и глины с содержанием пылеватых частиц не более 50 % и глинистых не более 20 % |
Супеси и суглинки легкие с содержанием пылеватых частиц не более 35 % и глинистых не более 15 % |
Супеси легкие и суглинки, суглинки и глины с содержанием пылеватых частиц не более 55 % и глинистых не более 25 % |
Супеси легкие и суглинки легкие, суглинки и глины с содержанием пылеватых частиц не более 40 % и глинистых не более 20 % |
|||
|
Нижняя неподтапливаемая |
1,5 - 6 |
Супеси легкие, суглинки легкие, суглинки тяжелые и глины с содержанием пылеватых частиц не более 50 % и глинистых не более 20 % |
Супеси легкие с содержанием пылеватых частиц не более 35 % и глинистых не более 5 % |
Супеси и суглинки легкие, суглинки и глины с содержанием пылеватых частиц не более 55 % и глинистых не более 25 % |
Супеси и суглинки легкие с содержанием пылеватых частиц не более 35 % и глинистых не более 15 % |
Супеси и суглинки легкие, суглинки и глины с содержанием пылеватых частиц не более 60 % и глинистых не более 20 % |
Супеси легкие и суглинки легкие, суглинки и глины с содержанием пылеватых частиц не более 40 % и глинистых не более 20 % |
|||
|
Нижняя подтапливаемая |
1,5 - 6 |
Супеси легкие и суглинки легкие с содержанием пылеватых частиц не более 35 % и глинистых не более 15 % |
Супеси легкие и суглинки легкие, суглинки и глины с содержанием пылеватых частиц не более 50 % и глинистых не более 20 % |
Супеси и суглинки легкие, суглинки и глины с содержанием пылеватых частиц не более 35 % и глинистых не более 15 % |
Супеси и суглинки легкие, суглинки и глины с содержанием пылеватых частиц не более 55 % и глинистых не более 25 % |
Супеси и суглинки легкие, суглинки и глины с содержанием пылеватых частиц не более 40 % и глинистых не более 20 % |
||||
Примечания: 1. Коэффициент морозного пучения глинистых грунтов, отсыпаемых в верхнюю часть насыпи, не должен превышать 3 %, а в нижнюю часть - 5 %.
2. Степень засоленности глинистых грунтов, отсыпаемых в верхнюю часть насыпи, не должна превышать 0,25 г/см3 порового раствора, а в нижнюю часть - 0,5 г/см3.
Таблица 8.2
Допустимые значения коэффициента влагонакопления
|
Квлаг, г/см3 ∙ ч |
|
|
Супесь пылеватая |
0,04 |
|
Суглинок легкий пылеватый |
0,03 |
|
Суглинок тяжелый пылеватый |
0,01 |
Таблица 8.3
Значения допустимой влажности глинистых грунтов Wp
(в долях от оптимальной)
|
При коэффициенте уплотнения |
|||
|
1,0 - 0,98 |
0,95 |
0,90 |
|
|
Супеси легкие |
0,9 - 1,2 |
0,85 - 1,3 |
0,8 - 1,4 |
|
Суглинки легкие пылеватые и супеси пылеватые |
0,9 - 1,15 |
0,85 - 1,25 |
0,8 - 1,35 |
|
Глины, суглинки тяжелые и суглинки тяжелые пылеватые |
0,9 - 1,1 |
0,82 - 1,2 |
0,8 - 1,30 |
|
Глины пылеватые |
0,9 - 1,05 |
0,9 - 1,15 |
0,8 - 1,2 |
Примечание. В табл. 8.2 и 8.3 приведены данные А.С. Плоцкого.
Таблица 8.4
Значения оптимальной влажности
|
Оптимальная влажность Wопт, % |
Максимальная плотность при стандартном уплотнении δск, г/см3 |
|
|
Супесь легкая |
15 |
1,85 |
|
Супесь пылеватая, суглинок легкий пылеватый |
16 |
1,75 |
|
Суглинок тяжелый пылеватый |
20 |
1,70 |
|
Суглинок тяжелый, глина |
24 |
1,60 |
Примечание. В таблице приведены данные А.С. Плоцкого
Таблица 8.5
Наименьшие значения коэффициента уплотнения грунта Ку
|
Глубина расположения от низа дорожной одежды, м |
Районы I дорожно-климатической зоны |
|||||||||
|
I1 |
I2 |
I3 |
||||||||
|
Тип дорожного покрытия |
||||||||||
|
капитальное |
облегченное |
переходное и низшее |
капитальное |
облегченное |
переходное и низшее |
капитальное |
облегченное |
переходное и низшее |
||
|
Верхняя |
0 - 0,4 |
0,97 - 0,96 |
0,96 |
0,94 |
0,98 - 0,97 |
0,97 |
0,95 |
0,98 - 1,0 |
0,98 |
0,96 |
|
0,4 - 1 |
0,96 - 0,94 |
0,93 |
0,93 |
0,97 - 0,96 |
0,95 |
0,94 |
0,98 - 0,97 |
0,96 |
0,95 |
|
|
1 - 1,5 |
0,95 - 0,93 |
0,91 |
0,90 |
0,96 - 0,95 |
0,94 |
0,92 |
0,97 - 0,96 |
0,95 |
0,93 |
|
|
Нижняя неподтапливаемая |
1,5 - 6 |
0,93 - 0,90 |
0,90 |
0,90 |
0,94 - 0,92 |
0,91 |
0,91 |
0,95 - 0,93 |
0,92 |
0,92 |
|
Нижняя подтапливаемая |
1,5 - 6 |
0,96 - 0,93 |
0,93 |
0,92 |
0,97 - 0,94 |
0,94 |
0,93 |
0,98 - 0,95 |
0,95 |
|
Примечания: 1. Большие значения Ку принимают для цементобетонных покрытий.
2. Таблица разработана В.А. Давыдовым.
При большем содержании пылеватых и глинистых частиц, чем указано в табл. 8.1, грунты применяют для отсыпки лишь нижней части насыпи, а верхняя должна быть отсыпана из непылеватых грунтов на толщину не менее 0,8 - 1,0 м (считая от поверхности покрытия).
Для получения необходимой прочности земляного полотна грунты должны быть уплотнены до требуемой плотности.
Наименьший коэффициент уплотнения грунта в насыпях назначают в зависимости от расположения слоя грунта в насыпи по высоте, типа покрытия и дорожно-климатического района (табл. 8.5).
Проектирование по первому принципу ведут на особо сложных по мерзлотно-грунтовым условиям участках (3-й тип местности) с низкотемпературной вечной мерзлотой на глинистых сильнопросадочных грунтах с влажностью выше предела текучести, когда оттаивание грунта основания не допускается, так как может привести к недопустимым деформациям и разрушению дорожной одежды.
При проектировании автомобильных дорог по принципу обеспечения мерзлого состояния грунтов основания земляное полотно конструируют в насыпях (безрезервный поперечный профиль) из несцементированных обломочных грунтов с обязательным сохранением в неразрушенном состоянии мохорастительного покрова в основании насыпи и на всей дорожной полосе (рис. 8.1, тип I).
В лесистой местности ширина просеки не должна превышать ширины основания насыпи. Для предохранения мохорастительного покрова от разрушения целесообразно предусматривать в нижней части прослойки из дренирующих грунтов мелких фракций (не крупнее 50 - 100 мм) толщиной 0,3 - 0,5 м (рис. 8.2, тип II).
При необходимости уменьшения высоты насыпи или наличии дешевых местных теплоизоляционных материалов в основание земляного полотна укладывают теплоизоляционные прослойки различной толщины (рис. 8.2, тип III) из местных строительных материалов, обладающих коэффициентом теплопроводности и достаточной прочностью (уплотненные мох и торф, нестроевая древесина, шлак и другие местные или привозные теплоизоляционные материалы).
Рис. 8.1. Поперечные профили насыпи на льдонасыщенном основании:
1 - несцементированный обломочный грунт; 2 - мохорастительный покров; 3 - верхняя граница вечной мерзлоты (ВГВМ) до постройки насыпи; 4 - ВГВМ после постройки насыпи
Рис. 8.2. Поперечные профили насыпи на льдонасыщенных грунтах:
1 - мохорастительный покров; 2 - защитный слой из дренирующего грунта мелких фракций; 3 - несцементированный обломочный грунт; 4 - термоизоляция из мха (назначаются на основе теплотехнического расчета); 5 - ВГВМ до постройки насыпи; 6 - ВГВМ после постройки насыпи
Если высокие насыпи сооружают в две стадии, то на первой (зимней) стадии применяют только несцементированные обломочные грунты (рис. 8.3, типы IV и V), а на второй (летней) - допускаются глинистые грунты. В таких случаях верхнюю часть насыпи отсыпают из щебеночного или гравийного материалов слоем не менее 0,5 м (см. рис. 8.3, тип IV).
На косогорных участках (не круче 1:5) земляное полотно проектируют в насыпи, иногда (на участках не положе 1:10) предусматривают подунасыпи-полувыемки. Во избежание нарушения мерзлотного режима местности, увеличения глубины оттаивания и снижения устойчивости сооружения уступы на косогоре не устраивают.
В низовой части откоса насыпи защищают от теплого воздействия основания присыпкой из мохоторфа или другого теплоизоляционного материала (например, пенопласта, полистирола и др.) (рис. 8.4, тип VI).
Проектирование по второму принципу ведут на сложных по мерзлотно-грунтовым условиям участках (2-й тип местности) с низкотемпературной вечной мерзлотой на глинистых и песчаных просадочных грунтах с влажностью менее предела текучести, когда прогнозируют оттаивание грунтов естественного основания с учетом допустимых деформаций покрытия в процессе эксплуатации дороги.
При проектировании автомобильных дорог по принципу ограничения глубины оттаивания грунтов основания, исходя из допустимых деформаций, земляное полотно конструируют в соответствии с поперечными профилями, приведенными на рис. 8.1 - 8.4. Допускается возводить земляное полотно из местных глинистых грунтов с закладкой сосредоточенных или притрассовых резервов (рис. 8.5, типы VII, VIII). При этом запрещается убирать или разрушать мохорастительный покров в основании насыпи.
В случае маловлажных грунтов естественного основания и при небольшой высоте насыпи (до 1,5 м) резервы можно располагать непосредственно у подошвы насыпи (см. рис. 8.5, тип VIII).
Рис. 8.3. Поперечные профили насыпей на льдонасыщенном основании, сооружаемые в две стадии (зимнюю и летнюю):
1 - щебень или гравий по расчету на прочность (но не менее 0,5 м); 2 - глинистый грунт; 3 - несцементированный обломочный грунт; 4 - мохорастительный покров; 5 - ВГВМ до постройки насыпи; 6 - ВГВМ после постройки насыпи
Рис. 8.4. Поперечный профиль насыпи на льдонасыщенном косогоре крутизной менее 1:5:
1 - несцементированный обломочный грунт; 2 - мохорастительный покров; 3 - ВГВМ до постройки насыпи; 4 - ВГВМ после постройки насыпи; 5 - нагорный мерзлый валик; 6 - укрепление бетонными плитами на слое мохоторфа; 7 - теплоизоляция из мха или торфа толщиной не менее 0,5 м; 8 - глинистый грунт толщиной 15 - 20 см; 9 - дренирующая присыпка

Рис. 8.5. Поперечный профиль насыпи из местных глинистых грунтов:
1 - щебень или гравий по расчету на прочность (но не менее 0,5 м); 2 - глинистый грунт из притрассовых резервов; 3 - земляная берма; 4 - мохорастительный покров; 5 - резерв; 6 - водоотводная канава; 7 - ВГВМ до постройки насыпи; 8 - ВГВМ после постройки насыпи
На сырых участках местности (2 тип) целесообразно предусматривать между подошвой насыпи и внутренней бровкой резерва земляные бермы шириной 3 - 5 м. Поверхность бермы должна иметь уклон в сторону резерва (см. рис. 8.5, тип VIII).
На косогорных участках (круче 1:5) земляное полотно низовой части нужно поддерживать специальными подпорными стенками, предусматривая их заглубление в вечномерзлый грунт по расчету на выпучивание (рис. 8.6, тип IX).
На затапливаемых участках и на подходах к мостам и другим искусственным сооружениям земляное полотно возводят из несцементированных обломочных грунтов. Бровка земляного полотна должна быть выше уровня расчетного горизонта воды на высоту волны с набегом на откос, но не менее 0,5 м. В случае низкого расчетного горизонта воды верхнюю часть насыпи можно отсыпать из глинистых грунтов. При этом высоту нижней части насыпи из несцементированных обломочных грунтов назначают по расчету (высота подпора воды плюс высота набега волны на широких поймах), во всех случаях она должная быть выше расчетного горизонта воды не менее чем на 0,5 м (рис. 8.7, тип X).
Рис. 8.6. Поперечный профиль насыпи на косогоре (круче 1:5):
1 - подпорная стенка; 2 - несцементированный обломочный грунт; 3 - мохорастительный покров; 4 - мерзлотный валик; 5 - укрепление бетонными плитами на слое из мохоторфа; 6 - нагорная водоотводная канава; 7 - ВГВМ до постройки насыпи; 6 - ВГВМ после постройки насыпи
Высокие насыпи на затопляемых участках конструируют в соответствии с рис. 8.8 (типы ХI - ХII).
Как отмечалось выше, выемку в зоне вечной мерзлоты допускается проектировать главным образом на участках местности с благоприятными грунтово-гидрогеологическими условиями (скальные, щебенистые и гравелистые грунты) при отсутствии линз и прослоек льда (рис. 8.9, тип ХIII).
В случае разработки выемок в сложных грунтово-гидрогеологических условиях (сырые места) их нужно проектировать с соответствующим обеспечением теплоизоляции откосов, заменой переувлажненных грунтов песчаным или другим качественным материалом, с устройством в основании дорожной одежды морозозащитных слоев (рис. 8.10, тип ХIV).
Мелкие выемки раскрывают или разделывают под насыпь для повышения их устойчивости и улучшения их снегозаносимости (рис. 8.10, тип ХV). Во всех случаях должен обеспечиваться надежный водоотвод из выемки.
Толщину заменяемого в выемках грунта следует определять на основании теплотехнического расчета из условия обеспечения требуемой устойчивости дорожной конструкции.
В отдельных случаях при неблагоприятных грунтово-мерзлотных условиях следует устраивать закюветные полки шириной 1,5 - 2 м и уположение откосов выемки. Крутизну откосов выемок, устраиваемых в неблагоприятных гидрогеологических и мерзлотно-грунтовых условиях, следует назначать по индивидуальным проектам.
Проектирование по третьему принципу ведут на легкоосушаемых просадочных грунтах с влажностью менее предела текучести на участках высокотемпературной сплошной и островной вечной мерзлоты. Его применяют главным образом на сырых участках местности, когда предусматривается заблаговременное оттаивание вечномерзлых грунтов, осушение дорожной полосы и упрочнение грунтов основания за счет их предпостроечной осадки при оттаивании.
Рис. 8.7. Поперечный профиль на затопляемом участке (насыпь высотой до 12 м, глубина воды на пойме до 4 м):
1 - щебень или гравий по расчету на прочность; 2 - глинистый грунт; 3 - несцементированный обломочный грунт; РГВ - расчетный горизонт воды (конструкция применима при глубине воды до 2 м); 4 - ВГВМ до постройки насыпи; 5 - ВГВМ после постройки насыпи
Рис. 8.8. Поперечные профили насыпи на затапливаемой пойме (насыпь высотой до 12 м, глубина воды на пойме до 4 м); обозначения те же, что и на рис. 8.7
Рис. 8.9. Поперечный профиль выемки в скальных грунтах:
1 - нагонная водоотводная канава; 2 - растительный слой; 3 - легковыветривающаяся скальная порода; 4 - выветривающаяся скальная порода
Рис. 8.10. Поперечные профили в слабольдонасыщенных грунтах:
1 - щебень или гравий; 2 - глинистый грунт основания; 3 - укрепление бетонными плитами на слое мохоторфа; 4 - термоизоляция из мха по расчету; 5 - ВГВМ до устройства выемки; 6 - ВГВМ после устройства выемки; 7 - водоотводная канава; 1 : m и 1 : n - по расчету на снегозаносимость; 8 - мерзлотный валик
При проектировании автомобильных дорог по принципу обеспечения оттаивания и осушения грунтов основания с учетом допускаемых деформаций земляное полотно конструируют в насыпях (рис. 8.11, типы ХVI, ХVII). При этом необходимо не менее чем за год до начала основных работ расчистить дорожную полосу от леса и кустарника, сплошь снять мохорастительный покров в пределах дорожной полосы и устроить водоотводные канавы.
Рис. 8.11. Поперечные профили земляного полотна на легкоосушаемых грунтах:
1 - водоотводная канава; 2 - мохорастительный покров; 3 - резерв; 4 - глинистый легкоосушаемый грунт с примесью крупного песка, щебня или гравия; 5 - супесчаный грунт; 6 - ВГВМ до постройки насыпи; 7 - ВГВМ после постройки насыпи
Стадийность проектно-изыскательских работ (табл. 9.1) устанавливают на основе технико-экономического обоснования строительства дороги (титула), для составления которого проводят экономические и рекогносцировочные изыскания.
Таблица 9.1
Стадийность проектно-изыскательских и опытных работ
|
Стадии технических изысканий |
Периоды изыскательских и опытных работ |
Подразделения и организации, выполняющие работы |
Организации, принимающие работы |
|
|
1 |
2 |
3 |
4 |
5 |
|
Технико-экономическое обоснование строительства дорог |
Рекогносцировочные изыскания |
Подготовительный, полевой, камеральный |
Комплексная экспедиция с применением аэрометодов. Дорожные и экономические отделы (группы) проектных организаций |
Утверждающая инстанция |
|
I стадия проектирования - технический проект строительства дорог |
Подробные изыскания |
Подготовительный, полевой, камеральный |
Комплексная экспедиция с применением аэрометодов |
Комиссия под председательством автора проекта |
|
Техническое задание на проектирование опытных участков с наблюдательными постами |
То же |
Организация наблюдательных постов |
Заказчик и дорожная научно-исследовательская организация |
Проектная организация |
|
II стадия проектирования - рабочие чертежи строительства дороги |
Предпостроечные изыскания |
Полевой, камеральный |
Комплексная экспедиция |
Заказчик и комиссия под председательством автора проекта |
|
Рабочие чертежи строительства опытных участков |
То же |
Полевой, камеральный |
Проектная организация |
Научно-исследовательская организация и заказчик |
|
Строительство дороги - паспорта опытных участков и постов наблюдения |
- |
Строительство опытных участков |
Заказчик, дорожно-строительные организации |
Заказчик, научно-исследовательские и проектные организации |
|
Эксплуатации дороги - регулярное заполнение паспортов опытных участков и постов наблюдения |
- |
Наблюдения на постах и опытных участках |
Дорожно-эксплуатационные участки дорожных управлений |
Дорожные управления и научно-исследовательские институты |
Новые автомобильные дороги проектируют, как правило, в две стадии: проведение подробных изысканий для составления технического проекта дороги (ТП) и предпостроечные изыскания для составления рабочих чертежей (РЧ).
При реконструкции дорог возможно одностадийное проектирование на основе подробных изысканий - технорабочий проект (ТРП).
На всех стадиях изысканий проводят мерзлотно-грунтовые исследования, объем и содержание которых должны быть достаточными для составления по каждому сооружению не менее двух (продольного и поперечного) мерзлотно-грунтовых резервов, необходимых для разработки мероприятий, обеспечивающих устойчивость проектируемых сооружений.
Мерзлотно-грунтовые исследования предусматривают:
- предварительную оценку работ;
- подробную мерзлотно-грунтовую съемку;
- проходку разведочных скважин;
- полевые и лабораторные определения физико-механических свойств грунтов.
Для достоверности оценки топографических, мерзлотно-грунтовых и гидрогеологических условий местности изыскания автомобильных дорог проводят, как правило, в теплый период года; обследования наледных мест, бугров пучения и снегозаносимых участков - в зимнее время.
Инженерно-геологические, гидрогеологические обследования и мерзлотно-грунтовые исследования выполняют при технических изысканиях комплексной проектно-изыскательской экспедицией, оснащенной оборудованием в зависимости от стадии проектирования. На основе результатов этих работ выявляют участки местности с наиболее благоприятными инженерно-геологическими, гидрогеологическими и мерзлотно-грунтовыми условиями для проложения трассы дороги по наивыгоднейшему варианту. Окончательные решения принимают на основе технико-экономических расчетов.
Изыскательские экспедиции и их отдельные партии обеспечивают (в зависимости от местных условий) самолетами, вертолетами, вездеходами, катерами и в отдельных случаях оленьими или собачьими упряжками. В течение всего периода изысканий экспедиционные группы должны иметь двустороннюю радиосвязь с базой экспедиции.
Объем изыскательских работ на каждой стадии корректируют в зависимости от сложности геологических, мерзлотно-грунтовых и топографических условий с учетом освоенности района изысканий, в том числе и наличия дорог.
Проектно-изыскательские работы разделяют, как правило, на подготовительные, полевые и камеральные.
В подготовительный период предусматривают сбор и изучение литературных, фондовых материалов в проектных, строительных и эксплуатационных организациях, в организациях гидрометеослужбы и геологических управлениях.
В полевой период выполняют все топографо-геодезические и инженерно-геологические работы.
В камеральный период систематизируют полученные в подготовительном и полевом периодах сведения, изучают результаты лабораторных и полевых анализов грунтов и строительных материалов, составляют подробную пояснительную записку с иллюстративно-графическими материалами: картами, планшетами, схемами, разрезами, продольными и поперечными профилями, фотоснимками отдельных мест и т.п.
Рекогносцировочные изыскания предусматривают выполнение инженерно-геологических обследований и мерзлотно-грунтовых исследований в объеме, необходимом для уточнения вариантов трассы, назначенных по карте и фондовым материалам.
Подробные изыскании предусматривают выполнение в полном объеме всех топографических работ, инженерно-геологических обследований и мерзлотно-грунтовых исследований для составления технического проекта, в котором дается окончательный вариант проложения трассы, уточненный на особо сложных и недостаточно проработанных ранее участках.
При проведении рекогносцировочных и подробных технических изысканий широко применяют геофизические методы, аэрофотосъемку, аэровизуальное наблюдение и инженерно-геологическое дешифрование аэрофотоснимков.
При предпостроечных изысканиях, перед составлением рабочих чертежей, трассу восстанавливают на местности, закрепляют в плане и по высоте, уточняют гидрогеологические и мерзлотно-грунтовые условия на участках наиболее ответственных сооружений (места проектируемых малых искусственных сооружений, подходы к большим водотокам и переходы через них, площадки под линейные здания службы эксплуатации и т.п.).
Одной из главных особенностей проектно-изыскательских работ следует считать необходимость организации наблюдательных постов и опытных участков.
Организацию опытных участков, оборудование наблюдательных постов и проведение на них стационарных наблюдений и испытаний целесообразно начинать в период производства изыскательских работ и заканчивать при строительстве дороги (см. табл. 9.1).
Стационарные наблюдения проводят с целью проверки правильности применяемых конструкций, способов производства работ, новых решений в области конструирования, расчета, эксплуатации сооружений, а также установления характера их взаимодействия с вечно- и сезонномерзлыми грунтами. Стационарные наблюдения проводят на специальных пунктах (постах), организуемых на опытных конструкциях, а также на характерных участках эксплуатируемых автомобильных дорог.
В программу наблюдений входит круглогодичное систематическое изучение: а) теплового режима грунтов земляного полотна и естественного основания (температуры, глубины, скорости промерзания и оттаивания); б) водного режима грунтов земляного полотна и естественного основания (влажности, источников увлажнения); в) пучения и осадки грунтов земляного полотна и дорожных покрытий; г) прочности и информативности грунтов земляного полотна и естественного основания (модуля упругости, сцепления и угла внутреннего трения); д) метеорологических условий (температуры воздуха, осадков, ветра, времени установления и схода снегового покрова).
Наблюдательные посты оборудуют после подробного изучения климатических, мерзлотно-грунтовых и гидрогеологических условий местности, конструктивных особенностей участка дороги и составляют специальный паспорт.
Наблюдения за температурой, глубиной и скоростью промерзания и оттаивания грунтов осуществляют с помощью жидкостных (ртутных, спиртовых) термометров, а также электрических термометров сопротивления.
Жидкостные термометры применяют, как правило, при измерениях температуры грунтов в шурфах и буровых скважинах, а электрические термометры сопротивления - в скважинах.
Температуру фиксируют на глубинах 0,2; 0,4; 0,8; 1,2; 1,6; 2; 2,5; 3 м; от 3 до 10 м - через каждый метр, а глубже 10 м - через 5 м. На глубинах до 3 м измеряют температуру четыре раза в сутки, до 10 м - один раз в сутки, глубже 10 м - один раз в месяц.
Схема заложения термометров и влагомеров на наблюдательном посту представлена в табл. 9.1.
Результаты измерений температуры заносят в журнал наблюдений.

Рис. 9.1. Схема заложения датчиков на наблюдательном посту:
1 - измерительная вертикаль по оси дороги; 2 - то же на обочине; 3 - то же посередине кювета; 4 - то же на границе полосы отвода; (+) - термометры; (-) - влагомеры; 5 - пост наблюдения и М.Рп.
Пучение (осадку) фиксируют путем нивелирования специальных марок (маяков). На участках автомобильных дорог с капитальными и облегченными покрытиями применяют закрепленные в покрытиях стержни со шляпкой, имеющей сферическую поверхность или специальную выточку для установки на ней рейки.
Марки для наблюдения за осадкой (пучением) грунтов основания земляного полотна изготавливают из металлического листа толщиной 3 - 4 мм размерами 30´30 или 40´40 см и диаметром стержня 10 - 15 мм, приваренного по центру листа. Высота стержня должна быть на 10 см меньше высоты насыпи в точке установления.
Нивелировочной основой является мерзлотный репер, устанавливаемый в придорожной полосе (рис. 9.2).
Рис. 9.2. Конструкция мерзлотного репера:
1 - деревянный короб; 2 - торф или мох; 3 - грунт; 4 - заглушка; 5 - стержень репера в вечномерзлотном грунте; 6 - глинистый раствор; 7 - засыпка песком; 8 - заполнение солидолом; 9 - труба
Модуль упругости мерзлых и оттаивающих грунтов земляного полотна и соответственного основания в зоне вечной мерзлоты определяют посредством пробных нагружений грунта с помощью передвижного пресса. Испытания проводят с помощью специального пресса или более простого оборудования, состоящего из гидравлического (или механического) домкрата, манометра, набора штампов разных диаметров и индикаторов для замера осадок штампа.
Домкрат упирают в раму груженого автомобиля или прицепа. Применяемая для испытания установка должна иметь мощность, достаточную для нагружения грунта нагрузками, превышающими расчетные.
Осадки штампа замеряют тремя индикаторами, установленными на равном расстоянии от центра штампа и друг от друга (под углом 120°). На основании этих данных вычисляют упругую деформацию при каждой ступени нагрузки штампа и строят зависимость величины деформации от удельного давления. Имея значения упругой деформации при каждой степени удельной нагрузки Р, по формуле вычисляют величину модуля упругости:

где Р - удельная нагрузка, МПа, под действием которой установлена величина отразимой упругой деформации lу, см; Д - диаметр жесткого штампа, см; μ - коэффициент Пуассона, равный 0,2 - 0,3; π/4 - поправочный коэффициент, учитывающий использование жесткого штампа.
1. Материалы XXVII съезда Коммунистической партии Советского Союза. - М.: Политиздат, 1986. - 270 с.
2. Сумгин М.И. Вечная мерзлота почвы в пределах СССР. - М.: Изд-во АН СССР, 1927.
3. Сумгин М.И. Вечная мерзлота почвы в пределах СССР. - Л.: Изд-во АН СССР, 1937.
5. Основы геокриологии (мерзлотоведения) / П.Ф. Швецов, А.А. Мейсте, Н.И. Салтыков и др.; Отв. ред. чл. корр. АН СССР П.Ф. Швецов, д-р геолог.-мин. наук Б.Н. Достовалов. Ч. I, ч. II. - М.: Изд-во АН СССР, 1959. - 459 с.
6. Основы геокриологии (мерзлотоведения) / Н.И. Салтыков, А.И. Дементьев, Н.А. Цытович и др.; Отв. ред. д-р техн. наук, проф. Н.И. Салтыков. - М.: Изд-во АН СССР, 1959. - 365 с.
8. Морозов К.Д. Проектирование и сооружение мостов в условиях вечной мерзлоты. - М.: Трансжелдориздат, 1936. - 136 с.
9. Богданов Н.С. Вечная мерзлота и сооружения на ней / Издание комиссии всестороннего исследования ж.-д. дела в России. - С.-Петербург, 1912.
12. Пузаков Н.А. Водно-тепловой режим земляного полотна автомобильных дорог. - М.; Автотрансиздат, 1960. - 166 с.
15. Справочник по строительству на вечномерзлых грунтах / Под ред. Ю.Я. Аелли, В.И. Докучаева, Н.Ф. Федорова. - Л.: Стройиздат, 1977. - 552 с.
17. Давыдов В.А. Особенности проектирования автомобильных дорог в районах вечной мерзлоты (методы расчетов прочности и устойчивости дорожных конструкций): Учеб. Пособие / СибАДИ. - Омск, 1980. - 61 с.
18. Основы мерзлотного прогноза при инженерно-геологических исследованиях / Под ред. В.А. Кудрявцева. - М.: Изд-во Моск. ун-та, 1974. - 431 с.
19. Достовалов Б.Н., Кудрявцев В.А. Общее мерзлотоведение. - М.: Изд-во Моск. ун-та, 1967. - 413 с.
20. Общее мерзлотоведение (геокриология) / Под ред. проф. В.А. Кудрявцева. - М.: Изд-во Моск. ун-та, 1978. - 464 с.
21. Павлов А.В. Теплообмен почвы с атмосферой в северных и умеренных широтах территория СССР. - Якутск: Якутское кн. изд-во, 1975. - 304 с.
22. Автомобильные дороги Севера / Под ред. И.А. Золотаря. - М.: Транспорт, 1981. - 248 с.
23. ВСН 46-83. Инструкция по проектированию дорожных одежд нежесткого типа. - М.: Транспорт, 1985. - 157 с.
24. СНиП 2.05.02-85. Автомобильные дороги / Госстрой СССР. - М.: ЦИТП, 1986. - 56 с.
СОДЕРЖАНИЕ