
МИНИСТЕРСТВО РОССИЙСКОЙ
ФЕДЕРАЦИИ ПО СВЯЗИ И ИНФОРМАТИЗАЦИИ
СТАНДАРТ ОТРАСЛИ
Совместимость технических средств связи
электромагнитная
ОКОНЕЧНОЕ АБОНЕНТСКОЕ УСТРОЙСТВО
Требования и методики испытаний.
ОСТ 45.172-2000
ЦНТИ «ИНФОРМСВЯЗЬ»
Москва - 2001
Предисловие
1 РАЗРАБОТАН Федеральным Государственным Унитарным Предприятием Ленинградским отраслевым научно-исследовательским институтом связи (ФГУП ЛОНИИС)
ВНЕСЕН Научно-техническим управлением Минсвязи России
2 УТВЕРЖДЕН Минсвязи России
3 ВВЕДЕН В ДЕЙСТВИЕ информационным письмом от 05.06.2001 г. № 4092
4 ВВЕДЕН ВПЕРВЫЕ
СОДЕРЖАНИЕ
ОСТ 45.172-2000
СТАНДАРТ ОТРАСЛИ
Совместимость технических средств связи электромагнитная
ОКОНЕЧНОЕ АБОНЕНТСКОЕ УСТРОЙСТВО
Требования и методики испытаний
Дата введения 1.09.2001 г.
Настоящий стандарт распространяется на оконечные абонентские устройства проводной связи (телефонные аппараты, таксофоны, факсимильную аппаратуру, аппаратуру передачи данных, модемы и др.; далее в тексте - ОАУ), которые подключаются непосредственно к двухпроводным симметричным абонентским линиям телефонной сети.
Стандарт устанавливает требования к ОАУ по электромагнитной совместимости в части:
- устойчивости к воздействию внешних электромагнитных помех (далее помех);
- уровней излучаемых индустриальных радиопомех, а также соответствующие методики испытаний.
Стандарт разработан на основе Рекомендации К.21 МСЭ-Т [1].
Стандарт действует совместно с ГОСТ Р 50932 и ГОСТ 30428.
Применение стандарта является обязательным при разработке, модернизации и контроле качества и сертификации ОАУ и проектировщиков сетей связи.
В настоящем стандарте использованы ссылки на следующие стандарты:
ГОСТ 12.3.019-80 Системы стандартов безопасности труда. Испытания и измерения электрические. Общие требования безопасности
ГОСТ 7153-85 Аппараты телефонные общего применения. Общие технические условия
ГОСТ 15150-69 Машины, приборы и другие технические изделия. Исполнения для различных климатических районов. Категории, условия эксплуатации, хранения и транспортирования в части воздействия климатических факторов внешней среды
ГОСТ 16842-82 Радиопомехи индустриальные. Методы испытаний источников индустриальных радиопомех
ГОСТ 17657-79 Передача данных. Термины и определения
ГОСТ 19472-88 Система автоматизированной телефонной связи общегосударственная. Термины и определения.
ГОСТ 19542-93 Совместимость средств вычислительной техники электромагнитная. Термины и определения
ГОСТ 22515-77 Связь телеграфная. Термины и определения
ГОСТ 29037-91 Совместимость технических средств электромагнитная. Сертификационные испытания. Общие положения
ГОСТ 29073-91 Совместимость технических средств измерения, контроля и управления промышленными процессами электромагнитная. Устойчивость к электромагнитным помехам. Общие положения
ГОСТ 30428-96 Совместимость технических средств электромагнитная. Радиопомехи индустриальные от аппаратуры проводной связи. Нормы и методы испытаний
ГОСТ Р 50397-92 Совместимость технических средств электромагнитная. Термины и определения
ГОСТ Р 50932-96 Совместимость технических средств электромагнитная. Устойчивость оборудования проводной связи к электромагнитным помехам. Требования и методы испытаний
ОСТ 45.36-86 Линии кабельные, воздушные и смешанные городских телефонных сетей. Нормы электрические эксплуатационные
3.1 В настоящем стандарте применяются термины, установленные в ГОСТ 17657, ГОСТ 19472, ГОСТ 19542, ГОСТ 22515, ГОСТ Р 50397, а также следующие термины с соответствующими определениями:
- проводная линия связи - линия телефонной сети, в которой передача электрических сигналов осуществляется по проводам воздушных линий и кабелям с металлическими жилами;
- грозовая импульсная помеха - импульсная помеха, индуцируемая в проводных линиях связи молниевыми разрядами;
- дополнительная первичная защита - устройство, конструктивно не входящее в состав ОАУ, содержащее элементы электрической защиты (например, разрядники, предохранители и т.п.). Предназначена для дополнительного снижения амплитуд помех в проводных линиях (например, в воздушных линиях) в условиях неблагоприятной ЭМО.
Средства дополнительной первичной защиты устанавливаются в распределительном кабельном оборудовании (шкафах, коробках, ящиках).
3.2 В стандарте используются следующие сокращения:
ОАУ - оконечное абонентское устройство
ЭМО - электромагнитная обстановка
Т1, Т2, Т3, Т1.1, ..., Тn.2 - обозначения выходных клемм схем испытаний
A1, B1, ..., AnBn - обозначения входных клемм ОАУ, к которым подключены линии и на которые подаются испытательные напряжения
Е - обозначение клеммы ОАУ, к которой подключена «земля»
Uc max - максимальное напряжение заряда конденсатора С1 (на рисунках 1 и 2)
Uac max - максимальное эффективное напряжение переменного тока (на рисунках 3 и 4)
tи - длительность импульса
tв - длительность воздействия
i - номер входа ОАУ, на который подается испытательное напряжение
n - общее количество входов ОАУ
4.1 ОАУ должны быть устойчивы к воздействию внешних электромагнитных помех следующих видов:
- грозовых импульсных помех, индуцируемых в проводных линиях связи молниевыми разрядами (прямые молниевые разряды в проводные линии не рассматриваются);
- импульсных помех, индуцируемых в проводных линиях связи при аварийных ситуациях (как правило - коротких замыканиях) на проложенных вблизи линиях электропередачи (ЛЭП) или электрифицированных железных дорогах;
- напряжения сети электропитания при непосредственном соприкосновении (электрическом контакте) проводов линии связи с проводами сети электропитания.
Параметры испытательных воздействий и условия испытаний приведены в таблице 1. Критерии качества функционирования при испытаниях по таблице 1:
Критерий А. ОАУ должно сохранять работоспособное состояние после прекращения воздействия.
Критерий Б. В результате испытаний не должно возникать опасности возгорания оборудования. ОАУ должно быть ремонтопригодным после испытаний.
4.2 Требования по устойчивости ОАУ к воздействию внешних электромагнитных помех следующих видов:
- электростатических разрядов;
- наносекундных импульсных помех в цепях электропитания, линейных цепях, цепях сигнализации и управления;
- динамических изменений напряжения сети электропитания переменного тока;
- микросекундных импульсных помех большой энергии в цепях электропитания переменного тока;
- радиочастотных электромагнитных полей
установлены ГОСТ Р50932.
4.3 Требования к уровням индустриальных радиопомех, излучаемых ОАУ, установлены ГОСТ 30428.
Таблица 1
|
Номер испытаний |
Соединения выходных клемм схем испытаний с входными клеммами ОАУ |
Схема испытаний |
Параметры испытательных напряжений |
Число импульсов (воздействий) |
Дополнительная первичная защита |
Критерий качества функционирования ОАУ |
|
|
Воздействие грозовых импульсных помех (поочередно на каждый из n входов ОАУ) |
1а |
T1 соединить с Ai, Т2 соединить с Вi, остальные клеммы ОАУ свободны |
Рисунок 1 |
Uc max = 1,5 кВ |
10 |
нет |
А |
|
tи = 700 мкс |
|||||||
|
Uc max = 4 кВ |
10 |
есть |
А |
||||
|
tи = 700 мкс |
|||||||
|
1б |
Т1 поочередно соединить с A1, B1 и т.д., остальные (свободные) клеммы ОАУ при этом соединить с Т31) |
Рисунок 1 |
Uc max = 1 кВ |
10 |
нет |
А |
|
|
tи = 700 мкс |
|||||||
|
Uc max = 4 кВ |
10 |
есть |
А |
||||
|
tи = 700 мкс |
|||||||
|
Одновременное воздействие грозовых импульсных помех на все входы ОАУ |
1в |
T1.1 соединить с А1, T2.1 соединить с B1 и т.д., T1.n соединить с Аn, T2.n соединить с Вn |
Рисунок 2 |
Uc max = 1,5 кВ |
10 |
нет |
А |
|
tи = 700 мкс |
|||||||
|
Воздействие импульсных помех, индуцируемых ЛЭП |
2а |
T1 соединить с Аi, Т2 соединить с Вi, остальные клеммы ОАУ свободны |
Рисунок 3 |
Uаcmax = 600 В |
5 |
нет |
А |
|
tи = 0,2 с |
|||||||
|
Uаcmax = 600 В |
5 |
есть |
А |
||||
|
tи = 1 с |
|||||||
|
2б |
T1 поочередно соединить с A1, B1 и т.д., остальные (свободные) клеммы ОАУ при этом соединить с Т31) |
Рисунок 3 |
Uаcmax = 600 В |
5 |
нет |
А |
|
|
tи = 0,2 с |
|||||||
|
Uаcmax = 600 В |
5 |
есть |
А |
||||
|
tи = 1 с |
|||||||
|
Воздействие напряжения сети электропитания |
3а |
T1 соединить с A1, T2 соединить с Bi, остальные клеммы ОАУ свободны |
Рисунок 4 Испытания проводятся при каждом положении переключателя S |
Uаcmax = 242 В6) |
1 для каждого положения переключателя S |
нет3) |
А (Б)4), 5) |
|
tв = 15 мин |
|||||||
|
3б |
T1 поочередно соединить с A1, B1 и т.д., остальные (свободные) клеммы ОАУ при этом соединить с Т31) |
Рисунок 4 Испытания проводятся при каждом положении переключателя S |
Uаcmax = 242 В6) |
1 для каждого положения переключателя S |
нет3) |
А (Б)4), 5) |
|
|
tв = 15 мин |
|||||||
|
Примечания 1 При испытаниях ОАУ следует использовать устройства связи-развязки (разрядники) как показано на рисунках 1 и 2 для предотвращения нарушения работы проверяемого ОАУ из-за соединения с «землей». 2 Во время этих испытаний ток, протекающий в электрических цепях, не должен быть источником опасности возгорания в помещениях, где размещается оборудование. В схеме могут быть оставлены плавкие предохранители, кабели с плавкими вставками и т.п. 3 Испытания 3а и 3б таблицы 1 проводятся как при установленных, так и изъятых средствах дополнительной первичной защиты. 4 Срабатывание защиты не должно приводить к токовой перегрузке и повреждению линии. 5 Если ОАУ соответствует критерию Б, то для обеспечения соответствия ОАУ критерию А, по требованию заказчика, изготовителем в TУ должны быть указаны требования к средствам дополнительной первичной защиты, обеспечивающей соответствие ОАУ критерию А. 6 Для сети электропитания с номинальным напряжением 220 В. Для сетей электропитания с номинальным напряжением отличным от 220 В, величина испытательного напряжения должна соответствовать максимальному напряжению сети электропитания. |
|||||||
4.4 ОАУ должны соответствовать требованиям настоящего стандарта во всем эксплуатационном диапазоне температур и влажности, установленном в ТУ на ОАУ конкретного типа.
5.1 Общие положения
5.1.1 Для оценки соответствия требованиям, установленным настоящим стандартом, ОАУ подлежат испытаниям на помехоустойчивость.
5.1.2 Испытаниям на помехоустойчивость подвергаются:
- серийно изготавливаемые ОАУ - при сертификационных, периодических и типовых испытаниях;
- вновь разрабатываемые и модернизируемые ОАУ - при приемочных испытаниях;
- импортируемые ОАУ - при сертификационных испытаниях.
5.1.3 Сертификационные испытания ОАУ на соответствие требованиям помехоустойчивости проводят испытательные лаборатории, аккредитованные в установленном порядке. Порядок проведения сертификационных испытаний - по ГОСТ 29037.
5.1.4 Количество образцов ОАУ, представляемых на испытания, должно соответствовать требованиям ГОСТ 29073.
По согласованию с органом сертификации сертификационные испытания дорогостоящей или крупногабаритной продукции допускается проводить на трех образцах.
5.1.5 ОАУ испытывают на помехоустойчивость в комплекте, предусмотренном в ТУ и (или) эксплуатационной документации на ОАУ, совместно с минимально необходимым составом ОАУ, функционально взаимодействующих с испытуемым ОАУ.
5.1.6 ОАУ должно испытываться в каждом рабочем режиме из предусмотренных в ТУ и (или) эксплуатационной документации на ОАУ.
5.1.7 Входные клеммы линейных цепей ОАУ, на которых следует проводить испытания, должны быть указаны изготовителем ОАУ в технической документации на конкретное изделие. Рекомендуемые обозначения клемм: A1, B1, ..., AnBn и Е (земля).
5.1.8 Испытуемое ОАУ должно быть установлено и подключено к цепям электропитания, заземления и линейным цепям в соответствии с технической документацией изготовителя. Дополнительное заземление не допускается.
Если клемма Е не предусмотрена конструкцией, то испытания проводятся при установленном испытуемом ОАУ на металлическом листе по ГОСТ 16842, соединенном с клеммой Е схемы испытаний.
5.1.9 Испытательные напряжения повышают плавно или ступенчато (не более 20 % от максимального значения испытательного напряжения) без превышения регламентированного максимального значения. При этом качество функционирования испытуемого ОАУ должно быть подтверждено при всех уровнях испытательного напряжения более низких, чем заданный, а также при заданном уровне испытательного напряжения.
5.1.10 Количество повторений каждого испытания указано в таблице 1. Период повторения импульсов должен быть не менее 1 мин.
5.1.11 Испытания, которые требуют обеспечения дополнительной защиты, должны проводиться с установленными вне испытуемого оборудования устройствами дополнительной защиты.
Характеристики дополнительной защиты, обеспечивающей при испытаниях соответствие ОАУ установленным критериям качества функционирования, должны быть указаны изготовителем в ТУ на ОАУ конкретного типа.
5.1.12 ОАУ, функционально взаимодействующие с испытуемым ОАУ, или источники сигналов, необходимые для обеспечения функционирования ОАУ при проведении испытаний на помехоустойчивость, могут быть заменены имитаторами.
5.1.13 Состав ОАУ, функционально взаимодействующих с испытуемыми ОАУ, применяемые имитаторы, режимы функционирования ОАУ при испытаниях на помехоустойчивость, цепи ОАУ, подвергаемые воздействию помех, а также порядок оценки качества функционирования ОАУ при испытаниях и его соответствия установленному критерию указывают:
- при испытаниях опытных образцов - в программе и методике испытаний;
- при периодических испытаниях серийных изделий - в ТУ;
- при типовых испытаниях серийных изделий - в программе и методике испытаний;
- при сертификационных испытаниях - в методике испытаний, разрабатываемой аккредитованной испытательной лабораторией.
5.1.14 Испытания ОАУ на помехоустойчивость проводят в нормальных климатических условиях в соответствии с требованиями ГОСТ 15150, а также при предельных значениях влажности и температуры окружающей среды по ТУ на ОАУ конкретного типа.
5.1.15 Электромагнитная обстановка в испытательной лаборатории не должна влиять на результаты испытаний ОАУ на помехоустойчивость.
5.1.16 Протокол испытаний ОАУ на помехоустойчивость оформляют в соответствии с ГОСТ Р 50932.
5.2 Испытания на устойчивость к грозовым импульсным помехам (номера испытаний 1а - 1в по таблице 1).
5.2.1 Испытания на устойчивость к грозовым импульсным помехам проводятся по схемам испытаний, изображенным на рисунке 1 (при подаче испытательных воздействий на клеммы Ai и Bi одного входа испытуемого ОАУ) и рисунке 2 (при подаче испытательных воздействий одновременно на клеммы A1, B1, ..., An, Bn всех входов испытуемого ОАУ).
Параметры испытательного напряжения (импульса) на клеммах T1 и Т2 в режиме холостого хода:
длительность переднего фронта импульса (измеренная
от уровня 0,1 до уровня 0,9 амплитуды импульса), мкс.................... 10 ± 2
длительность импульса (измеренная на уровне
0,5 амплитуды импульса), мкс.............................................................. 700 ± 150
амплитуда импульсов, кВ..................................................................... 0 - 4
полярность импульсов........................................................................... положительная и отрицательная
5.2.2 Испытательные напряжения подаются с выходных клемм схемы испытаний на входные клеммы испытуемого ОАУ непосредственно или через устройство связи-развязки (в случае, если непосредственное подключение приводит к изменению рабочего режима испытуемого ОАУ). Соединения выходных клемм схемы испытаний и входных клемм испытуемого ОАУ должны соответствовать указанным в таблице 1 для испытаний 1а - 1в.
1 - источник высоковольтного напряжения;
2 - ключ;
3 - устройство связи-развязки;
4 - разрядник (статическое напряжение пробоя разрядников должно быть (90 ± 9) В);
5 - испытуемое ОАУ.
Примечание - Допустимое отклонение от номинальных значений резисторов и конденсаторов ±5 %.
Рисунок 1 - Схема испытаний ОАУ на устойчивость к воздействию грозовых импульсных помех на один вход ОАУ (клеммы А и В).
1 - источник высоковольтного напряжения;
2 - ключ;
3 - устройство связи-развязки;
4 - разрядник (статическое напряжение пробоя разрядников должно быть (90 ± 9) В);
5 - испытуемое ОАУ.
Примечание - Допустимое отклонение от номинальных размеров резисторов и конденсаторов ±5 %.
Рисунок 2 - Схема испытаний ОАУ на устойчивость к воздействию грозовых импульсных помех на все входы ОАУ (клеммы A1, B1, ..., An, Bn).
При испытаниях подают по 5 импульсов положительной и отрицательной полярности.
5.3 Испытания на устойчивость к импульсным помехам, индуцируемым ЛЭП (номера испытаний 2а и 2б по таблице 1).
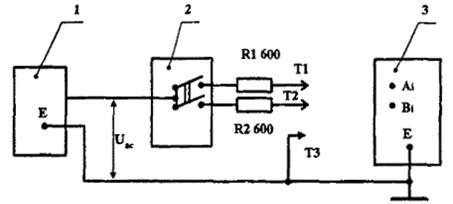
5.3.1 Испытания на устойчивость к импульсным помехам, индуцируемым ЛЭП, проводятся по схеме испытаний, изображенной на рисунке 3.
1 - источник переменного напряжения (Uас = 0 - 600 В, 50 Гц);
2 - ключ;
3 - испытуемое ОАУ.
Примечание - Допустимое отклонение от номинальных размеров резисторов ±5 %.
Рисунок 3 - Схема испытаний ОАУ на устойчивость к воздействию импульсных помех, индуцируемым ЛЭП.
Параметры испытательного напряжения (импульса) на клеммах Т1 и Т2 в режиме холостого хода:
длительность импульса, мс............................................ 200 ± 20
1000 ± 100
частота заполнения, Гц................................................... 50 ± 5
амплитуда импульсов, В................................................ 0 - 600
5.3.2 Соединения выходных клемм схемы испытаний и входных клемм испытуемого ОАУ должны соответствовать указанным в таблице 1 для испытаний 2а и 2б.
5.4 Испытания на устойчивость ОАУ к воздействию напряжения сети электропитания (номера испытаний 3а и 3б по таблице 1).
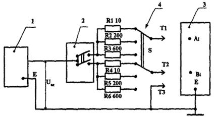
5.4.1 Испытания на устойчивость ОАУ к воздействию напряжения сети электропитания при соприкосновении проводов линии связи с проводами сети электропитания проводятся по схеме испытаний, изображенной на рисунке 4.
1 - источник переменного напряжения (Uаc = 0 - 240 В, 50 Гц);
2 - ключ;
3 - испытуемое ОАУ;
4 - переключатель.
Примечание - Допустимое отклонение от номинальных размеров резисторов ±5 %.
Рисунок 4 - Схема испытаний ОАУ на устойчивость к воздействию напряжения сети электропитания
Параметры испытательного напряжения на клеммах T1 и T2 в режиме холостого хода:
длительность воздействия, мин................................... 15 ± 1
частота, Гц...................................................................... 50 ± 5
амплитуда, В.................................................................. 0 - 240
5.4.2 Соединения выходных клемм схемы испытаний и входных клемм испытуемого ОАУ должны соответствовать указанным в таблице 1 для испытаний 3а и 3б.
5.5 Методика испытаний ОАУ на устойчивость к воздействию внешних электромагнитных помех следующих видов:
- электростатических разрядов;
- наносекундных импульсных помех в цепях электропитания, линейных цепях, цепях сигнализации и управления;
- динамических изменений напряжения сети электропитания переменного тока;
- микросекундных импульсных помех большой энергии в цепях электропитания переменного тока;
- радиочастотных электромагнитных полей в соответствии с требованиями ГОСТ Р 50932.
5.6 Методика испытаний на соответствие требованиям к уровням индустриальных помех, излучаемых ОАУ, в соответствии с требованиями ГОСТ 30428.
6.1 Требования по устойчивости испытуемых ОАУ к внешним помехам считают выполненными, если при проведении испытаний все представленные образцы по качеству функционирования соответствуют требованиям, установленным настоящим стандартом.
7.1 Испытания ОАУ должны проводиться с соблюдением требований безопасности, установленных в ГОСТ 12.3.019 и в ТУ на ОАУ конкретного типа.
(информационное)
Ключевые слова: оборудование проводной связи, оконечное абонентское устройство, совместимость технических средств электромагнитная, устойчивость к электромагнитным помехам, импульсные помехи.