Articles from paper of domestic and sanitary purposes. General specifications

ФЕДЕРАЛЬНОЕ АГЕНТСТВО
ПО ТЕХНИЧЕСКОМУ РЕГУЛИРОВАНИЮ И МЕТРОЛОГИИ

НАЦИОНАЛЬНЫЙ
СТАНДАРТ
РОССИЙСКОЙ
ФЕДЕРАЦИИ

ГОСТ Р
52354-
2005

ИЗДЕЛИЯ ИЗ БУМАГИ БЫТОВОГО
И САНИТАРНО-ГИГИЕНИЧЕСКОГО
НАЗНАЧЕНИЯ

Общие технические условия

Москва
Стандартинформ
2005

Предисловие

Цели и принципы стандартизации в Российской Федерации установлены Федеральным законом от 27 декабря 2002 г. № 184-ФЗ «О техническом регулировании», а правила применения национальных стандартов Российской Федерации - ГОСТ Р 1.0-2004 «Стандартизация в Российской Федерации. Основные положения»

Сведения о стандарте

1 РАЗРАБОТАН Открытым акционерным обществом «Центральный научно-исследовательский институт бумаги (ОАО «ЦНИИБ»)

2 ВНЕСЕН Техническим комитетом по стандартизации ТК 157 «Древесная масса. Бумага, картон и изделия из них»

3 УТВЕРЖДЕН И ВВЕДЕН В ДЕЙСТВИЕ Приказом Федерального агентства по техническому регулированию и метрологии от 10 июня 2005 г. № 152-ст

4 ВВЕДЕН ВПЕРВЫЕ

Информация об изменениях к настоящему стандарту публикуется в ежегодно издаваемом информационном указателе «Национальные стандарты», а текст изменений и поправок - в ежемесячно издаваемых информационных указателях «Национальные стандарты». В случае пересмотра (замены) или отмены настоящего стандарта соответствующее уведомление будет опубликовано в ежемесячно издаваемом информационном указателе «Национальные стандарты». Соответствующая информация, уведомление и тексты размещаются также в информационной системе общего пользования - на официальном сайте национального органа Российской Федерации по стандартизации в сети Интернет

СОДЕРЖАНИЕ

1. Область применения. 1

2. Нормативные ссылки. 1

3. Технические требования. 3

4. Правила приемки. 8

5. Методы контроля. 9

6. Транспортирование и хранение. 12

Библиография. 12

ГОСТ Р 52354-2005

НАЦИОНАЛЬНЫЙ СТАНДАРТ РОССИЙСКОЙ ФЕДЕРАЦИИ

ИЗДЕЛИЯ ИЗ БУМАГИ БЫТОВОГО И САНИТАРНО-ГИГИЕНИЧЕСКОГО НАЗНАЧЕНИЯ

Общие технические условия

Articles from paper of domestic and sanitary purposes. General specifications

Дата введения - 2006-01-01

1. Область применения

Настоящий стандарт распространяется на изделия из бумаги - туалетную бумагу, салфетки, полотенца, носовые платки, скатерти и другие аналогичные изделия бытового и санитарно-гигиенического назначения (далее - изделия) и устанавливает требования к их качеству.

Требования, обеспечивающие безопасность изделий для здоровья человека, изложены в 3.6.1, таблица 2 (показатели 2 - 5); 3.6.2.

Стандарт не распространяется на многослойные бумажные впитывающие изделия гигиенического и хозяйственно-бытового назначения с абсорбирующим слоем, например, подгузники, пеленки, тампоны, простыни и др., а также на одежду из бумаги и принадлежности к одежде.

(Измененная редакция, Изм. № 1).

2. Нормативные ссылки

В настоящем стандарте использованы нормативные ссылки на следующие стандарты:

ГОСТ 427-75 Линейки измерительные металлические. Технические условия

ГОСТ 1770-74 (ИСО 1042-83, ИСО 4788-80) Посуда мерная лабораторная стеклянная. Цилиндры, мензурки, колбы, пробирки. Общие технические условия

ГОСТ ИСО 1924-1-96 Бумага и картон. Определение прочности при растяжении. Часть 1. Метод нагружения с постоянной скоростью

ГОСТ 6658-75 Изделия из бумаги и картона. Упаковка, маркировка, транспортирование и хранение

ГОСТ 6709-72 Вода дистиллированная. Технические условия

ГОСТ 7500-85 Бумага и картон. Методы определения состава по волокну

ГОСТ 10700-97 Макулатура бумажная и картонная. Технические условия

ГОСТ 12026-76 Бумага фильтровальная лабораторная. Технические условия

ГОСТ 33781-2016 Упаковка потребительская из картона, бумаги и комбинированных материалов. Общие технические условия

ГОСТ 12523-77 Целлюлоза, бумага, картон. Метод определения величины pH водной вытяжки

ГОСТ 12602-93 (ИСО 8787-86) Бумага и картон. Определение капиллярной впитываемости. Метод Клемма

ГОСТ 13199-88 (ИСО 536-76) Полуфабрикаты волокнистые, бумага и картон. Метод определения массы продукции площадью 1 м2

ГОСТ 13523-78 Полуфабрикаты волокнистые, бумага и картон. Метод кондиционирования образцов

ГОСТ 13525.7-68 Бумага и картон. Метод определения влагопрочности

ГОСТ 14192-96 Маркировка грузов

ГОСТ 15150-69 Машины, приборы и другие технические изделия. Исполнения для различных климатических районов. Категории, условия эксплуатации, хранения и транспортирования в части воздействия климатических факторов внешней среды

ГОСТ 21102-97 Бумага и картон. Методы определения размеров и косины листа

ГОСТ 25336-82 Посуда и оборудование лабораторные стеклянные. Типы, основные параметры и размеры

ГОСТ 28498-90 Термометры жидкостные стеклянные. Общие технические требования. Методы испытаний

ГОСТ 29251-91 (ИСО 385-1-84) Посуда лабораторная стеклянная. Бюретки. Часть 1. Общие требования

(Измененная редакция, Изм. № 1, 2).

Примечание - При пользовании настоящим стандартом целесообразно проверить действие ссылочных стандартов в информационной системе общего пользования - на официальном сайте национального органа Российской Федерации по стандартизации в сети Интернет или по ежегодно издаваемому указателю «Национальные стандарты», который опубликован по состоянию на 1 января текущего года, и по соответствующим ежемесячно издаваемым информационным указателям, опубликованным в текущем году. Если ссылочный стандарт заменен (изменен), то при пользовании настоящим стандартом следует руководствоваться замененным (измененным) стандартом. Если ссылочный стандарт отменен без замены, то положение, в котором дана ссылка на него, применяется в части, не затрагивающей эту ссылку.

3. Технические требования

3.1. Изделия изготовляют в соответствии с требованиями настоящего стандарта и технической документации на конкретное изделие или группу изделий (технологический регламент, техническое описание и т.д.) и образцом-эталоном, утвержденным в установленном порядке.

3.2. Требования к техническому исполнению изделий

3.2.1. Изделия изготовляют в рулонах или листах. Изделия в листах (далее - листы) в зависимости от формы могут быть четырехугольными, круглыми, овальными, фигурными с ровными или зубчатыми краями и другого исполнения.

3.2.2. Изделия изготовляют однослойными и многослойными; с перфорацией или без нее; гладкими, крепированными или тисненными; белыми, цветными или цвета естественного волокна; с покрытием или без покрытия; ароматизированными и (или) с пропиткой различными составами (антисептическими, парфюмерными, дезинфицирующими, моющими и т.п.) в зависимости от функционального назначения изделий.

Допускаются другие виды технического исполнения изделий, обусловленные их функциональным назначением.

3.3. Требования к декоративному исполнению изделий

3.3.1. Изделия изготовляют цельными или ажурными; без отделки или с отделкой рисунком, нанесенным различными способами (печатью, тиснением и др.), декорированными различными аппликациями или отделанными иными способами.

3.4. Минимальные размеры изделий должны составлять:

- салфеток:

площадь салфетки - 17000 мм2;

- полотенец:

ширина листа или рулона - 160 мм,

площадь листа - 35000 мм2;

- носовых платков:

площадь носового платка - 40000 мм2;

- скатертей:

площадь скатерти - 640000 мм2;

- туалетной бумаги:

ширина листа или рулона - 90 мм,

площадь листа - 11000 мм2.

3.5. Размеры, техническое и декоративное исполнение изделий в соответствии с образцом-эталоном указывают в технической документации на конкретное изделие или группу изделий.

3.6. Изделия изготовляют из бумаги или бумажного текстилеподобного материала, состав по волокну которых содержит: целлюлозу; отборы сортирования целлюлозы; механическую, термомеханическую или химико-термомеханическую древесную массу; химические волокна и макулатуру бумажную и картонную по ГОСТ 10700, кроме марок МС-4А, МС-9В, МС-11В, МС-12В, МС-13В с показателями качества и в соотношениях, обеспечивающих изготовление изделий в соответствии с требованиями настоящего стандарта.

(Измененная редакция, Изм. № 1).

3.6.1. Группы и подгруппы изделий в зависимости от их назначения указаны в таблице 1. Показатели качества изделий должны соответствовать требованиям, указанным в таблице 2.

Таблица 1

Группа и подгруппа изделий

Наименование изделий

Назначение изделий

А

Бумага туалетная

Для личной гигиены

Б

Салфетки:

Б-1

столовые, сервировочные

Для личной гигиены во время еды, для сервировки стола

Б-2

косметические (без пропитки)

Для снятия макияжа, гигиены лица и т.д.

Б-3

влажные (антисептические, косметические с пропиткой, освежающие, гигиенические, очищающие, репелентные, салфетки по уходу за ребенком и т.д.)

Для личной гигиены, для ухода за предметами домашнего обихода и др. целей

В

Полотенца (для лица и рук, кухонные и прочие)

Для личной гигиены, вытирания посуды и предметов домашнего обихода

Г

Платки носовые

Для личной гигиены

Д

Скатерти

-

Примечание - Кроме перечисленных изделий в указанные группы и подгруппы включают прочие хозяйственно-бытовые и санитарно-гигиенические изделия, используемые для личной гигиены и в быту при контакте со слизистой оболочкой или кожей человека, аналогичные перечисленным изделиям по техническому исполнению и функциональному назначению.

 


Таблица 2


Наименование показателя

Значение показателя для группы и подгруппы изделий

Метод испытания

Группа изделий

А

Б Подгруппа изделий

В

Г

Д

Б-1

Б-2

Б-3

однослойные

многослойные

однослойные

многослойные

однослойные

многослойные

1. Предельные отклонения от номинального значения массы бумаги площадью 1 м2, %, не более

±10

±5,0

По ГОСТ 13199

2. Разрушающее усилие в среднем по двум направлениям, Н, не менее:

в сухом состоянии

2,0

2,5

-

-

2,5

-

-

-

-

-

По ГОСТ ИСО 1924.1 и 5.4 настоящего стандарта

во влажном состоянии

-

-

0,2

0,2

-

-

0,2

0,4

0,3

-

По ГОСТ 13525.7 и 5.4 настоящего стандарта

3. Впитываемость:

3.1. Капиллярная в среднем по двум направлениям, мм, не менее

22

-

20

-

-

-

35

-

-

-

По ГОСТ 12602

3.2. Поверхностная впитываемость 0,01 мл воды, с, не более

-

5,0

-

5,0

5,0

-

-

-

5,0

-

По 5.5 настоящего стандарта

3.3. Поверхностная впитываемость 0,1 мл воды, с, не более

-

-

-

-

-

-

-

5,0

-

-

По 5.5 настоящего стандарта

4. pHх.з водной вытяжки

4,5 - 9,1

4,5 - 9,1

4,5 - 7,5

4,5 - 7,5

4,5 - 7,5

4,5 - 8,8

4,5 - 8,8

4,5 - 7,5

4,5 - 7,5

По ГОСТ 12523 и 5.6 настоящего стандарта

5. Гигиенические показатели:

По 5.11 настоящего стандарта

5.1. Интенсивность постороннего запаха, балл, не выше

1

5.2. Количество мигрирующих вредных веществ в модельные среды, мг/л, не более:

этилацетат

0,100

формальдегид

0,100

ацетальдегид

0,200

ацетон

0,100

спирты:

метиловый

0,200

бутиловый

0,500

толуол

0,500

бензол

0,010

свинец (Pb)

0,030

цинк (Zn)

1,000

мышьяк (As)

0,050

хром (Cr3)

Суммарно:

хром (Cr6)

0,100

5.3. Индекс токсичности водной вытяжки, %

От 70 до 120

Примечание - При необходимости органами здравоохранения Российской Федерации при контроле гигиенических показателей изделия проверяют на отсутствие кожнораздражающего действия.

Для групп изделий А, Б и В многослойных, изготовленных из бумаги, содержащей бисульфитную беленую целлюлозу хвойных пород древесины, по истечении 90 дней хранения без ухудшения потребительских свойств допускается увеличение показателя поверхностной впитываемости с 5,0 с до 10,0 с.

 


(Измененная редакция, Изм. № 1, 2).

3.6.2. Сырье и материалы для изготовления изделий (сами изделия) должны быть разрешены к применению органами здравоохранения Российской Федерации.

(Измененная редакция, Изм. № 1).

3.7. Сырье и материалы для изготовления изделий, состав по волокну в процентном отношении и номинальную массу изделий площадью 1 м2 указывают в технической документации на конкретное изделие или группу изделий.

3.8. Требования к внешнему виду

3.8.1. В изделиях не допускаются механические повреждения и полосы; складки, дырчатость, пятна размером более 7 мм в наибольшем измерении; посторонние включения (песок, минеральные включения, кора).

3.8.2. В изделиях допускаются складки, дырчатость и пятна (кроме пятен от масла, подтеков грязной воды) размером от 3 до 7 мм включительно в наибольшем измерении при условии, что их количество не превышает единицы на десять скатертей, салфеток, носовых платков, полотенец и туалетной бумаги в листах и четырех единиц на длину 30 м туалетной бумаги и полотенец в рулонах.

3.8.3. Обрез кромок должен быть ровным, чистым.

3.8.4. Печатное изображение на изделиях должно быть четким, без искажений и пробелов. Не допускаются следы выщипывания волокон с поверхности изделия и отмарывание краски.

3.8.5. Красочный фон цветных изделий должен быть равномерным.

3.8.6. Рельеф тиснения должен быть ровным, четким, видимым невооруженным глазом, без пропусков.

3.8.7. Покрытие, нанесенное на изделие, должно быть ровным, без вздутий, пузырей и отслаивания.

3.8.8. Пропитка влажных изделий должна быть равномерной. Непропитанные (сухие) места не допускаются. Массовая доля пропитывающего состава изделия должна обеспечивать его функциональное назначение и указываться в технической документации на конкретное изделие или группу изделий.

3.9. Предельные отклонения по ширине рулона, ширине и длине листа не должны превышать ±5 % номинальных размеров изделий.

3.10. Косина изделий в листах прямоугольной формы не должна превышать 2 мм.

3.11. Слои бумаги в многослойных изделиях должны быть скреплены между собой любым способом, обеспечивающим прочное прилегание слоев бумаги по всей площади многослойного изделия и позволяющим реализовать функциональное назначение изделия. Смещение слоев в изделии более, чем на 3 мм относительно друг друга не допускается.

3.12. Намотка бумаги в рулонах должна быть плотной, обеспечивающей свободное разматывание изделия при его использовании, без задержки и перекосов. При выпуске изделий в рулонах с перфорацией листы бумаги должны отрываться четко по перфорации. Допускается незначительная деформация рулона по боковой поверхности (изменение формы рулона), если она легко устраняется вручную. Не допускается наличие обрывов и склеек смежных слоев бумаги в рулонах.

3.13. Маркировка

3.13.1. На упаковку изделий по 3.14.1 - 3.14.4 или на этикетку (ярлык), прикрепленную к упаковке и (или) изделию, наносят маркировку, содержащую следующие данные:

- наименование изделия, товарную марку (при наличии);

- страну-изготовителя;

- наименование предприятия-изготовителя, юридический адрес, товарный знак (при наличии);

- техническое исполнение изделия по 3.2;

- номер артикула (при наличии);

- номинальные размеры изделия (длину и ширину рулона, размеры листа или площадь изделия);

- количество изделий в упаковке;

- дату изготовления (год);

- срок годности изделий, устанавливаемый изготовителем

- обозначение настоящего стандарта;

- указания по утилизации (при необходимости);

- состав пропитывающего раствора или покрытия (при наличии);

- правила использования (при необходимости);

- штриховой код изделия (при наличии);

- информацию о сертификации.

Допускается дополнять маркировку другими сведениями, например сведениями о поставщиках (потребительских союзах) изделий в Российской Федерации, наносить графические символы и рисунки, поясняющие потребительские свойства и использование изделий и т.п.

(Измененная редакция, Изм. № 1).

3.13.2. Маркировку наносят любым способом (печатью, тиснением, штампом и т.д.), обеспечивающим ее четкость, ясность, читаемость.

3.13.3. Маркировка грузовых мест (транспортной тары) - по ГОСТ 14192 с нанесением манипуляционных знаков «Крюками не брать», «Беречь от влаги» и предупредительной надписи «Не бросать». Маркировка, характеризующая продукцию, - по ГОСТ 6658 с указанием номера партии. Артикул при его отсутствии не указывают.

3.14. Упаковка

3.14.1. Изделия в рулонах упаковывают с полной защитой торцов рулона в бумагу, полимерную пленку или другой упаковочный материал, обеспечивающий сохранность упакованной продукции.

По согласованию с заказчиком (торгующими организациями) допускается обандероливание рулонов изделий указанным упаковочным материалом. Допускается изделия в рулонах упаковывать в пачки и коробки по ГОСТ 33781.

3.14.2. Изделия в листах одного наименования, размера, технического и декоративного исполнения складывают в стопу и упаковывают в бумагу, полимерную пленку или другой упаковочный материал, обеспечивающий сохранность изделий, а также в пачки и коробки по ГОСТ 33781.

3.14.1, 3.14.2 (Измененная редакция, Изм. № 2).

3.14.3. Влажные и ароматизированные изделия должны быть упакованы в герметичную упаковку, обеспечивающую сохранность функциональных свойств при транспортировании и хранении.

3.14.4. Допускается изделия в листах и рулонах упаковывать в групповую упаковку из бумаги, полимерной пленки и других упаковочных материалов, а также - в пачки и коробки по ГОСТ 33781.

(Измененная редакция, Изм. № 1, 2).

3.14.5. Допускаются другие способы упаковывания изделий, обеспечивающие их сохранность при транспортировании и хранении.

3.14.6. Изделия, подготовленные по 3.14.1 - 3.14.4, упаковывают в транспортную тару по ГОСТ 6658 (кипы, ящики). Допускается по согласованию с потребителем упаковывать в транспортную тару неупакованные изделия. При этом транспортная тара должна быть подготовлена таким образом, чтобы обеспечить сохранность изделий при их транспортировании.

Масса брутто транспортной тары при использовании женского ручного труда не должна превышать 7 кг.

3.14.7. В одну транспортную тару упаковывают изделия одной партии.

4. Правила приемки

4.1. Изделия предъявляют к приемке партиями.

За партию принимают определенное количество изделий одного наименования, артикула (при наличии), технического и декоративного исполнения, с одинаковыми качественными характеристиками, изготовленных из бумаги одного состава по волокну и оформленных одним документом о качестве.

Партия изделий должна сопровождаться документом о качестве, который должен содержать следующие данные:

- страну-изготовителя, наименование предприятия-изготовителя, товарный знак изготовителя (при наличии);

- наименование изделия;

- артикул (при наличии);

- номер партии;

- количество изделий в партии;

- дату изготовления (отгрузки);

- обозначение настоящего стандарта;

- результаты проведенных испытаний или подтверждение соответствия изделий требованиям настоящего стандарта.

Проверка изделий на соответствие гигиеническим показателям проводится при постановке продукции на производство, при арбитражных, сертификационных испытаниях, при изменении технологии производства, сырья и материалов для их изготовления, а также по требованию органов здравоохранения Российской Федерации.

4.2. Для проведения испытаний методом случайного отбора от партии отбирают 1% единиц продукции (кипа, ящик), но не менее одной единицы продукции, от которых отбирают 1 % изделий в рулонах, но не менее десяти рулонов, и не менее ста изделий в листах. Изделия распаковывают, после чего с рулона снимают слой толщиной 2 - 3 мм; изделия в листах складывают в стопу.

4.3. От изделий, отобранных по 4.2, вырезают образцы в количестве, необходимом для проведения испытаний.

4.4. При получении неудовлетворительных результатов испытаний хотя бы по одному показателю по нему проводят повторные испытания на удвоенной выборке.

Результаты повторных испытаний распространяются на всю партию и являются окончательными.

5. Методы контроля

5.1. Кондиционирование образцов перед испытаниями должно проводиться по ГОСТ 13523 при температуре (23 ± 1) °С и относительной влажности (50 ± 2) %. Продолжительность кондиционирования - не менее 2 ч. Испытания образцов после кондиционирования проводят при указанной выше температуре и влажности.

5.2. Размеры, предельные отклонения, косину изделий в листах определяют по ГОСТ 21102 со следующим дополнением.

Площадь изделий S, мм2, вычисляют по формулам:

- для изделий прямоугольной формы

S = ab,                                                                 (1)

где а - ширина изделия, мм;

b - длина изделия, мм;

- для изделий круглой формы

S = pr2,                                                                (2)

где p - постоянная величина, равная 3,14;

r - радиус окружности, мм.

5.3. Состав по волокну определяют по ГОСТ 7500.

5.4. Разрушающее усилие в среднем по двум направлениям в сухом состоянии определяют по ГОСТ ИСО 1924-1, разрушающее усилие в среднем по двум направлениям во влажном состоянии определяют по ГОСТ 13525.7 (разделы 1, 3).

Разрушающее усилие в сухом и во влажном состояниях для многослойных образцов определяют на самих образцах.

Ширина испытуемых образцов должна быть  мм.

Расстояние между зажимами разрывной машины - (50 ± 1) мм.

Для определения разрушающего усилия во влажном состоянии из десяти изделий, выборочно отобранных по 4.2, из каждого изделия вырезают по три образца для испытания однослойных изделий и по одному образцу для испытания многослойных изделий в машинном и поперечном направлениях. Время выдерживания образцов в воде - (30 ± 2) с. В зажимы разрывной машины закрепляют одновременно три влажных испытуемых образца однослойных изделий. Для испытаний многослойных изделий в зажимы разрывной машины закрепляют один влажный испытуемый образец.

За результат испытания Рвл, Н, принимают среднеарифметическое значение всех определений, вычисленное по формулам:

- для однослойных изделий

                                         (3)

где ΣРiм - суммарное значение разрушающего усилия в машинном направлении, Н;

ΣPiп - суммарное значение разрушающего усилия в поперечном направлении, Н;

60 - количество испытуемых образцов, шт.;

- для многослойных изделий

                                         (4)

где 20 - количество испытуемых образцов, шт.

5.5. Метод определения поверхностной впитываемости воды

Метод основан на определении времени поглощения капли воды определенного объема, нанесенной на поверхность испытуемого изделия.

5.5.1. Аппаратура и растворы

Для проведения испытаний должна применяться следующая аппаратура и растворы:

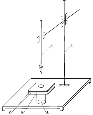
- устройство (рисунок 1), состоящее из:

штатива лабораторного со стойкой для укрепления бюретки, шприца или дозатора,

держателя для образца, состоящего из двух рамок квадратной формы размером (100 ± 1)´(100 ± 1) мм с отверстием в центре диаметром (40 ± 2) мм. Держатель изготовляют из картона или другого материала толщиной не менее 2,0 мм,

бюретки по ГОСТ 29251 или шприца одноразового медицинского, или дозатора, обеспечивающих подачу капли объемом 0,01 см3 и 0,1 см3 на поверхность испытуемого образца. Объем капли определяют следующим образом: бюретку, шприц или дозатор заполняют водой и измеряют количество капель в 1 см3. В 1 см3 должно содержаться (100 ± 5) капель, тогда объем капли равен (0,0100 ± 0,0005) см3, или (10 ± 1) капля, тогда объем капли - (0,100 ± 0,001) см3;

стакана по ГОСТ 25336 номинальной вместимостью 200 см3, диаметром 60 мм;

- термометр по ГОСТ 28498;

- секундомер с погрешностью не более ±0,2 с;

- лампа настольная или другой источник света напряжением 220 В, мощностью 60 или 100 Вт;

- ножницы;

- бумага фильтровальная по ГОСТ 12026;

- вода дистиллированная по ГОСТ 6709;

- линейка измерительная по ГОСТ 427 с ценой деления 1 мм.

5.5.2. Объем выборки изделий - по 4.2.

5.5.3. Подготовка к испытанию

Из отобранных изделий по 5.5.2. выборочно вырезают 10 образцов для испытаний размером 90´90 мм, по пять образцов для каждой стороны изделий. При меньших размерах изделий испытуемыми образцами являются сами изделия. Если изделие является многослойным, то испытание проводится на многослойном образце, если однослойное - то на однослойном.

Бюретку или шприц заполняют дистиллированной водой: для бюретки или шприца вместимостью 1 и 2 см3 до отметки «0,5 см3» и «1 см3» соответственно; для бюретки вместимостью 25 и 50 см3 - «20 см3» и «25 см3». Дозатор заполняют водой до отметки в соответствии с инструкцией на дозатор. Температура воды должна соответствовать условиям кондиционирования испытываемых образцов.

5.5.4. Проведение испытаний

Образцы испытывают в условиях по 5.1.

Образцы помещают, не растягивая, между рамками держателя. Держатель с образцом помещают на стакан таким образом, чтобы образец находился в горизонтальном положении.

Над центром образца закрепляют в лабораторном штативе бюретку, шприц или дозатор так, чтобы носик бюретки, конец иглы шприца или наконечник дозатора находился на расстоянии (15 ± 2) мм от поверхности образца. Включают источник света, который располагают так, чтобы свет не попадал в глаза и тепло от источника света не влияло на результат испытания. На поверхность образца наносят одну каплю воды, предварительно промокнув носик бюретки или конец иглы шприца фильтровальной бумагой. Одновременно пускают в ход секундомер. Объем капли для испытаний туалетной бумаги, салфеток, носовых платков - 0,01 см3, для полотенец - 0,1 см3. Конец испытания определяют по исчезновению блеска с поверхности образца, одновременно останавливая секундомер.

Испытания проводят для каждой стороны образца.

5.5.5. Обработка результатов

За результат испытания принимают среднеарифметическое значение результатов десяти определений поверхностной впитываемости в секундах.

1 - лабораторный штатив со стойкой для укрепления бюретки (шприца или дозатора);
2 - держатель для образца; 3 - бюретка (шприц или дозатор); 4 - стакан; 5 - образец

Рисунок 1 - Детали прибора

Результат округляют до первого десятичного знака при поверхностной впитываемости до 10 с включительно и до целого числа при поверхностной впитываемости выше 10 с.

Относительная погрешность определения поверхностной впитываемости не превышает ±9 % при доверительной вероятности 0,95.

5.5.6. Протокол испытаний

В протокол испытаний включают данные:

- среднее значение поверхностной впитываемости;

- минимальное и максимальное значения поверхностной впитываемости;

- среднеквадратичное отклонение результатов испытаний;

- количество испытаний.

5.6. Величину pH водной вытяжки определяют по ГОСТ 12523 способом холодного экстрагирования.

5.7. Проверку изделий по техническому и декоративному исполнению по 3.2 - 3.3, внешнему виду по 3.8.3 - 3.8.8 проводят путем визуального просмотра изделий, отобранных по 4.2. При необходимости применяют лупу.

Для определения отмарывания краски от изделий в листах, отобранных по 4.2, отбирают не менее десяти изделий. От изделий в рулонах, отобранных по 4.2, вырезают образцы суммарной площадью не менее 0,13 м2. Образцы нарезают на кусочки размером 10´10 мм с отклонениями по размерам не более ±5 мм. Кусочки тщательно перемешивают. Из полученных кусочков берут навеску массой около 2 г, взвешенную с погрешностью не более 0,01 г, и помещают в колбу по ГОСТ 1770 вместимостью не менее 200 см3. Пробу заливают 100 см3 дистиллированной воды по ГОСТ 6709, температурой (20 ± 5) °С.

Оставляют стоять в течение 1 ч, встряхивая через каждые 10 - 15 мин.

Затем экстракт водной вытяжки сливают в стаканчики из химического стекла. Экстракт водной вытяжки должен быть бесцветным. В качестве эталона для сравнения используют дистиллированную воду по ГОСТ 6709.

Проводят два параллельных испытания.

5.8. Для проверки внешнего вида по 3.8.1 и 3.8.2 изделие в рулонах разматывают и разрезают по всей длине полотна на листы длиной (50,0 ± 0,5) см.

Для изделий в листах дефекты определяют путем подсчета их в самих изделиях. Размеры дефектов измеряют металлической линейкой по ГОСТ 427 с ценой деления 1 мм.

5.9. Проверку качества намотки и перфорации изделий в рулонах осуществляют следующим образом: в держатель для изделия устанавливают рулон и начинают разматывать вручную - изделие должно свободно выходить из зажимного устройства держателя без перекосов и задержки и отрываться по перфорации.

5.10. Проверку маркировки и упаковки изделий осуществляют визуально путем сличения их с требованиями настоящего стандарта.

5.11. Интенсивность постороннего запаха, выделяющегося из изделий, проверяют методом в соответствии с инструкцией, утвержденной МЗ России [1]; количество вредных веществ, мигрирующих в модельные среды, определяют методами, приведенными в гигиенических нормативах МЗ России [2]; индекс токсичности определяют в соответствии с методическими указаниями Госкомсанэпиднадзора России [3].

6. Транспортирование и хранение

6.1. Транспортирование изделий - по ГОСТ 6658 любым видом крытого транспорта в соответствии с правилами перевозки грузов, действующими на данном виде транспорта. Условия перевозки - по группе 5 ГОСТ 15150.

6.2. Хранение изделий - по ГОСТ 6658.

Библиография

[1] Инструкция № 880-71

Инструкция по санитарно-химическому исследованию изделий, изготовленных из полимерных и других синтетических материалов, предназначенных для контакта с пищевыми продуктами. Минздрав России, 1971

[2] Гигиенические нормативы ГН 2.3.3.972-2000

Предельно допустимые количества химических веществ, выделяющихся из материалов, контактирующих с пищевыми продуктами. Гигиенические нормативы.

Федеральный центр Госсанэпиднадзора Минздрава России, 2000

[3] Методические указания МУ 1.1.037-95

Биотестирование продукции из полимерных и других материалов. Госкомсанэпиднадзор России от 20.12.95

 

Ключевые слова: изделия из бумаги бытового и санитарно-гигиенического назначения, область применения, нормативные ссылки, общие технические требования, правила приемки, методы контроля, транспортирование и хранение