ПРАВИЛА
КАПИТАЛЬНОГО РЕМОНТА
МАГИСТРАЛЬНЫХ НЕФТЕПРОВОДОВ
РД 39-00147105-015-98

МИНИСТЕРСТВО ТОПЛИВА И ЭНЕРГЕТИКИ РОССИЙСКОЙ ФЕДЕРАЦИИ
ИНСТИТУТ ПРОБЛЕМ ТРАНСПОРТА ЭНЕРГОРЕСУРСОВ
|
СОГЛАСОВАНО с Госгортехнадзором России, письмо № 10-03/297 от 5 июня 1998 г. |
УТВЕРЖДЕН Акционерной компанией «Транснефть» 29 июня 1998 г. |
РУКОВОДЯЩИЙ ДОКУМЕНТ
ПРАВИЛА КАПИТАЛЬНОГО РЕМОНТА МАГИСТРАЛЬНЫХ НЕФТЕПРОВОДОВ
РД 39-00147105-015-98
УФА - 1998
Руководящий документ «Правила капитального ремонта магистральных нефтепроводов» устанавливает основные требования к технологическому процессу и организации механизированного ремонта линейной части магистральных нефтепроводов диаметром 219...1220 мм с заменой труб, заменой изоляционного покрытия с восстановлением или без восстановления стенки трубы в нормальных условиях, а также выборочному ремонту нефтепроводов.
Руководящий документ предназначен для специалистов АК «Транснефть», АО МН, РУМН, РСУ, занимающихся проектированием и проведением ремонта магистральных нефтепроводов.
При разработке данного документа использованы требования и положения действующих нормативных документов, относящихся к ремонту и эксплуатации магистральных нефтепроводов.
Разработчики от ИПТЭР: Гумеров А.Г., Гумеров Р.С., Азметов Х.А., Хамматов Р.Г., Галеев М.Н., Ермилина Г.К., Загретдинова Н.М. (гл. 9, 10, прил. Б), Никляева Г.А. (гл. 5, 11, 12, прил. А), Гаскаров Н.Х. (гл. 6), Гумеров К.М. (гл. 6), Собачкин А.С. (гл. 8).
В разработке принимали участие: Кумылганов А.С., Ибрагимов М.Ш. (АК «Транснефть»). Ильин Е.Г. (ОАО Урало-Сибирские магистральные нефтепроводы им. Д.А. Черняева), Ведехин А.С. (ОАО Верхневолжские магистральные нефтепроводы), Сайфутдинов М.И. (ОАО магистральные нефтепроводы «Дружба»).
СОДЕРЖАНИЕ
РУКОВОДЯЩИЙ ДОКУМЕНТ
ПРАВИЛА КАПИТАЛЬНОГО РЕМОНТА МАГИСТРАЛЬНЫХ НЕФТЕПРОВОДОВ
РД 39-00147105-015-98
Взамен
«Правил капитального ремонта подземных
трубопроводов», 1992 г.
Срок введения с 01.09.1998 г.
1.1 Настоящий документ устанавливает основные требования к капитальному ремонту линейной части магистральных нефтепроводов диаметром 219...1220 мм.
1.2 Правила не распространяются на трубопроводы:
проложенные через водные преграды, автомобильные и железные дороги, в тоннелях, на морских эстакадах;
из нестальных труб;
предназначенные для перекачки нефти с подогревом.
1.3 Капитальный ремонт магистрального нефтепровода - это комплекс технических мероприятий, направленных на полное или частичное восстановление линейной части эксплуатируемого нефтепровода до проектных характеристик с учетом требований действующих нормативных документов. Капитальный ремонт нефтепроводов, как правило, должен производиться после устранения выявленных в результате диагностики опасных дефектов. Потенциально опасные дефекты устраняются в процессе капитального ремонта.
1.4 Капитальный ремонт нефтепровода по характеру и технологии проведения работ подразделяют на следующие виды:
с заменой труб;
с заменой изоляционного покрытия;
выборочный ремонт.
1.5 Капитальный ремонт с заменой труб заключается в полной замене дефектного участка трубопровода новым.
1.6 Капитальный ремонт с заменой изоляционного покрытия заключается в полной замене изоляционного покрытия с восстановлением (при необходимости) несущей способности стенки трубопровода.
1.7 Выборочный ремонт - это ремонт участков трубопроводов с опасными и потенциально-опасными дефектами стенки, выявленными при обследовании внутритрубными инспекционными снарядами (ВИС), а также ремонт сложных участков (мест пересечений с наземными и подземными коммуникациями и участков, примыкающих к узлам линейной арматуры).
2.1.1 Ремонт с заменой труб производится следующими способами:
путем укладки в совмещенную траншею вновь прокладываемого участка трубопровода рядом с заменяемым с последующим демонтажом последнего;
путем укладки в отдельную траншею, в пределах существующего технического коридора коммуникаций*, вновь прокладываемого участка трубопровода с последующим вскрытием и демонтажом заменяемого;
путем демонтажа заменяемого трубопровода и укладки вновь прокладываемого трубопровода в прежнее проектное положение.
* - технический коридор коммуникаций - это земельный участок, в пределах которого проходит система параллельно проложенных трубопроводов и коммуникаций, ограниченный с обеих сторон охранными зонами.
2.1.2 Ремонт с заменой изоляционного покрытия производится следующими способами:
с подъемом трубопровода в траншее;
с подъемом и укладкой трубопровода на лежки в траншее;
без подъема с сохранением положения трубопровода.
2.1.3 Выборочный ремонт включает:
ремонт участков, прилегающих к узлам линейной арматуры;
ремонт участков длиной до 20Ду, где Ду - условный диаметр трубопровода, м;
ремонт протяженных участков методом последовательных захваток или с использованием грунтовых опор;
ремонт участков с заменой «катушки», трубы, узлов линейной арматуры.
2.2.1 Технологические операции при ремонте с заменой труб путем укладки в совмещенную траншею вновь прокладываемого трубопровода рядом с заменяемым с последующим демонтажом последнего выполняются в два этапа.
На первом этапе работы выполняются в следующей последовательности:
уточнение положения трубопровода;
снятие плодородного слоя почвы, перемещение его во временный отвал;
разработка совмещенной траншеи;
планировка отвала грунта со стороны движения ремонтно-строительной колонны (РСК);
сварка одиночных труб в секции на трубосварочной базе;
вывоз секций труб на трассу и раскладка их на бровке траншеи;
сварка секций труб в нитку (допускается сварка одиночных труб в нитку на бровке траншеи);
очистка, нанесение изоляционного покрытия;
укладка трубопровода в траншею;
частичная засыпка уложенного трубопровода грунтом;
очистка внутренней полости трубопровода;
испытание на прочность и герметичность;
подключение электрохимзащиты;
отключение заменяемого и подключение (врезка) нового участка к действующему нефтепроводу.
На втором этапе работы выполняются в следующей последовательности:
опорожнение, промывка заменяемого трубопровода;
подъем, очистка от старого изоляционного покрытия и укладка трубопровода на бровку траншеи;
резка трубопровода на части;
транспортирование труб к месту складирования;
засыпка траншеи минеральным грунтом;
техническая рекультивация плодородного слоя почвы.
2.2.2 При капитальном ремонте с заменой труб путем укладки вновь прокладываемого трубопровода в отдельную траншею в пределах существующего технического коридора коммуникаций технологические операции выполняются в два этапа.
На первом этапе работы выполняются в следующей последовательности:
закрепление трассы вновь прокладываемого трубопровода на местности;
снятие плодородного слоя почвы, перемещение его во временный отвал, планировка полосы трассы в зоне движения РСК;
сварка одиночных труб в секции на трубосварочной базе;
вывоз секций труб на трассу и раскладка их вдоль будущей траншеи;
сварка секций труб в нитку (допускается сварка одиночных труб в нитку на бровке траншеи);
разработка траншеи;
очистка, нанесение и контроль качества изоляционного покрытия;
укладка трубопровода в траншею;
присыпка трубопровода и засыпка траншеи минеральным грунтом;
очистка внутренней полости трубопровода;
испытание на прочность и герметичность;
подключение электрохимзащиты;
отключение заменяемого и подключение (врезка) нового участка к действующему нефтепроводу;
техническая рекультивация плодородного слоя почвы.
На втором этапе работы выполняются в следующей последовательности:
уточнение положения заменяемого трубопровода;
опорожнение, промывка отключенного участка трубопровода;
снятие плодородного слоя почвы и перемещение его во временный отвал;
вскрытие трубопровода до нижней образующей;
подъем, очистка от старого изоляционного покрытия и укладка трубопровода на бровку траншеи;
засыпка траншеи минеральным грунтом;
резка трубопровода на части;
транспортировка труб к месту складирования;
техническая рекультивация плодородного слоя почвы.
2.2.3 При капитальном ремонте с заменой труб путем демонтажа заменяемого трубопровода и укладки нового в прежнее проектное положение технологические операции выполняются в два этапа.
На первом этапе работы выполняются в следующей последовательности:
уточнение положения заменяемого трубопровода;
снятие плодородного слоя почвы, перемещение его во временный отвал;
вскрытие трубопровода до нижней образующей;
отключение трубопровода;
опорожнение, промывка заменяемого трубопровода;
подъем, очистка от старого изоляционного покрытия и укладка трубопровода на бровку траншеи;
резка трубопровода на части;
транспортировка труб к месту складирования.
Одновременно с демонтажом заменяемого трубопровода производится сварка новых одиночных труб в секции на трубосварочной базе.
На втором этапе работы выполняются в следующей последовательности:
доработка или разработка траншеи;
вывоз секций на трассу и раскладка их на бровке траншеи;
сварка секций труб в нитку;
очистка, нанесение изоляционного покрытия;
укладка трубопровода в траншею;
присыпка трубопровода и засыпка траншеи минеральным грунтом;
очистка внутренней полости трубопровода;
испытание на прочность и герметичность;
подключение электрохимзащиты;
подключение (врезка) нового участка к действующему нефтепроводу;
техническая рекультивация плодородного слоя почвы.
2.3.1 Способ ремонта с подъемом трубопровода в траншее рекомендуется для трубопроводов диаметром 219...720 мм. Технологические операции выполняются в следующей последовательности:
уточнение положения трубопровода;
снятие плодородного слоя почвы, перемещение его во временный отвал и планировка полосы трассы в зоне движения РСК;
разработка траншеи до нижней образующей трубопровода;
предварительный осмотр технического состояния трубопровода, определение мест расположения дефектов, обнаруженных ВИС и другими методами, и ремонт их при необходимости;
подъем трубопровода;
очистка трубопровода от старого изоляционного покрытия;
нанесение нового изоляционного покрытия;
укладка трубопровода на дно траншеи;
присыпка трубопровода и засыпка траншеи минеральным грунтом;
техническая рекультивация плодородного слоя почвы.
2.3.2 Способ ремонта с подъемом и укладкой трубопровода на лежки в траншее рекомендуется для трубопроводов диаметром 219...720 мм при необходимости восстановления стенки трубы.
Технологические операции выполняются в следующей последовательности:
уточнение положения трубопровода;
снятие плодородного слоя почвы, перемещение его во временный отвал и планировка ремонтной полосы в зоне движения РСК;
разработка траншеи до нижней образующей трубопровода;
предварительный осмотр технического состояния трубопровода, определение мест расположения дефектов, обнаруженных ВИС и другими методами, и ремонт их при необходимости;
подъем трубопровода;
очистка трубопровода от старого изоляционного покрытия;
укладка трубопровода на лежки в траншее;
выполнение работ по устранению дефектов стенки трубы, на участке, уложенном на лежки;
подъем трубопровода;
повторная очистка трубопровода;
нанесение нового изоляционного покрытия;
укладка трубопровода на дно траншеи;
присыпка трубопровода и засыпка траншеи минеральным грунтом;
техническая рекультивация плодородного слоя почвы.
2.3.3 Способ ремонта без подъема трубопровода с сохранением его положения рекомендуется для трубопроводов диаметром 720 мм и более.
Технологические операции выполняются в следующей последовательности: уточнение положения трубопровода;
снятие плодородного слоя почвы, перемещение его во временный отвал, планировка ремонтной полосы в зоне движения РСК;
вскрытие трубопровода с разработкой боковых траншей ниже нижней образующей трубопровода;
предварительный осмотр технического состояния трубопровода, определение мест расположения дефектов, обнаруженных ВИС и другими методами, и ремонт их при необходимости;
разработка грунта под трубопроводом;
очистка трубопровода от старого изоляционного покрытия;
осмотр и выявление дефектов на очищенном участке;
выполнение работ по ремонту дефектов стенки трубы;
нанесение нового изоляционного покрытия;
присыпка с подбивкой грунта под трубопровод на участках, определенных проектом производства работ (ППР) и засыпка траншеи;
техническая рекультивация плодородного слоя почвы.
2.3.4 Ремонт трубопроводов с заменой изоляции в зимнее время рекомендуется проводить в три этапа:
Этап 1. Работы, выполняемые в теплое время года (до промерзания грунта):
уточнение положения трубопровода;
снятие плодородного слоя почвы, перемещение его во временный отвал, планировка ремонтной полосы в зоне движения РСК;
безотвальная вспашка или рыхление зоны разработки траншеи;
восстановление оси трассы трубопровода.
Этап 2. Работы, выполняемые в зимнее время:
очистка от снега зоны разработки траншеи и зоны прохода ремонтной техники на суточный объем выполнения ремонтных работ;
разработка траншеи и очистка трубопровода от старого изоляционного покрытия;
выполнение ремонтно-восстановительных работ;
укладка трубопровода на дно траншеи, присыпка его и засыпка траншеи минеральным грунтом при ремонте с подъемом или присыпка с подбивкой грунта под трубопровод на участках, определенных ППР и засыпка траншеи минеральным грунтом при ремонте без подъема (с сохранением положения).
Этап 3. Работы, выполняемые после оттаивания отвалов грунта:
планирование зоны засыпки траншеи;
техническая рекультивация плодородного слоя почвы.
2.4.1 Технологические операции при выполнении выборочного ремонта производятся в следующей последовательности:
уточнение положения трубопровода;
уточнение границ ремонтируемого участка;
снятие плодородного слоя почвы, перемещение его во временный отвал;
вскрытие трубопровода с разработкой траншеи ниже нижней образующей трубы;
разработка грунта под трубопроводом (с грунтовыми опорами или без них);
очистка трубопровода от старого изоляционного покрытия;
визуальный осмотр дефектного участка трубопровода, при необходимости дополнительный контроль физическими методами;
выполнение работ по ремонту дефектных мест (восстановление или усиление стенки трубы, монтаж муфт кроме замены «катушки», трубы);
нанесение изоляционного покрытия и контроль его качества ;
присыпка с подбивкой грунта под трубопровод и засыпка траншеи;
техническая рекультивация плодородного слоя почвы.
2.4.2 При выполнении ремонта с заменой «катушки», трубы необходимо выполнить следующие технологические операции:
вскрытие дефектного участка нефтепровода;
разработка ремонтного котлована и, при необходимости, котлована для сбора нефти;
врезка отводов в ремонтируемый и параллельный нефтепроводы для откачки нефти;
остановка перекачки и отсечение ремонтируемого участка задвижками;
опорожнение ремонтируемого участка от нефти путем закачки ее в параллельный нефтепровод, откачки в мягкие резервуары или в котлован для сбора нефти;
вырезка дефектной «катушки» (трубы);
герметизация внутренней полости нефтепровода;
подготовка концов нефтепровода под монтаж и сварку;
подготовка и подгонка новой «катушки» (трубы) по месту;
прихватка и вварка «катушки» в нефтепровод;
подключение отремонтированного участка и возобновление перекачки;
обратная закачка нефти из емкостей или котлована;
очистка и изоляция нефтепровода;
засыпка отремонтированного участка нефтепровода, котлована для сбора нефти;
техническая рекультивация плодородного слоя почвы.
3.1 Оценка технического состояния и выбор вида капитального ремонта нефтепровода производится на основе анализа результатов обследования (дефектоскопии) стенки трубы и состояния изоляционного покрытия, а также данных за весь период эксплуатации трубопровода.
3.2 Данными для анализа и оценки технического состояния нефтепровода являются:
результаты диагностики внутритрубными инспекционными снарядами;
данные обследования состояния изоляционного покрытия приборами (УКИ) и шурфованием;
величина защитной разности потенциалов «труба-земля» за весь период эксплуатации;
сведения о ранее выявленных и устраненных дефектах;
данные технического паспорта нефтепровода (дата постройки и пуска в эксплуатацию, диаметр, давление, сертификат металла труб, информация о проведенных ремонтах и т.д.).
3.3 Результаты обследований и измерений заносятся в рабочие журналы и оформляются в виде соответствующих актов, сводных таблиц и т.п.
3.4 На основании данных обследований и анализа технического состояния нефтепровода техническими службами эксплуатирующей организации производятся:
уточнение местоположения дефектного участка на трассе нефтепровода и дополнительное обследование обнаруженных дефектов;
планирование мероприятий по предотвращению возможных нарушений работы нефтепровода;
выбор вида и способа ремонта, установление сроков проведения ремонта в зависимости от характера дефекта с учетом загруженности нефтепровода на рассматриваемый момент и перспективу;
составление перспективного и текущего планов капитального ремонта нефтепровода.
3.5 Выбор вида и способа ремонта зависит от следующих показателей:
состояния изоляционного покрытия и стенки трубы;
размеров и взаимного расположения коррозионных повреждений стенки трубы;
количества и характера распределения опасных и потенциально опасных дефектов стенки трубы;
конкретных условий пролегания трубопровода;
фактических и прогнозируемых показателей загруженности нефтепровода;
технико-экономических показателей по видам и способам ремонта.
Организационно-техническая подготовка капитального ремонта включает организационные мероприятия и подготовительные работы.
4.1.1 Организационные мероприятия, выполняемые поэтапно Заказчиком (АО МН или РУМН):
проведение комплексной диагностики технического состояния трубопровода;
определение участков, подлежащих капитальному ремонту, на основании анализа результатов комплексной диагностики технического состояния трубопровода;
составление перспективного и текущего планов капитального ремонта нефтепроводов;
проведение изыскательских работ на участках планируемых к ремонту;
уточнение положения в плане вантузов, задвижек, сооружений и сетей в техническом коридоре по проектной и эксплуатационной документации;
составление ведомости пересечений и приближений сооружений и сетей, пересекающих трассу или проходящих рядом с ремонтируемым трубопроводом, с указанием пикетов пересечений или приближений, глубины заложения, владельцев коммуникаций и других данных, имеющихся в документации;
разработка и утверждение задания на проектирование капитального ремонта;
получение технических условий на проведение работ по капитальному ремонту от владельцев сооружений и сетей, пересекающих нефтепровод или проходящих с ним в одном техническом коридоре, в охранной зоне которых должны производиться ремонтные работы;
разработка рабочего проекта на капитальный ремонт;
оформление документов по отводу земель с согласованием условий рекультивации;
оформление финансирования;
передача подрядчику (РСУ) всей технической и проектной документации на капитальный ремонт с заменой труб и с заменой изоляции до 1 сентября года, предшествующего планируемому ремонту, а на выборочный ремонт - не менее чем за два месяца до начала производства работ.
4.1.2 При капитальном ремонте трубопровода, как правило, применяется одностадийное проектирование - рабочий проект. Рабочий проект разрабатывается проектной организацией, имеющей соответствующую лицензию.
4.1.3 Состав рабочего проекта назначается с учетом особенностей трубопровода как линейного объекта и требований настоящих Правил.
В состав рабочего проекта должны входить:
пояснительная записка;
рабочие чертежи;
сметная документация.
В приложении к рабочему проекту должны быть представлены копии технических условий на проведение работ по капитальному ремонту от владельцев сооружений и сетей, пересекающих нефтепровод и проходящих в одном техническом коридоре.
4.1.4 Пояснительная записка должна содержать технико-экономическое обоснование выбора видов и способов ремонта, расчет на прочность и устойчивость ремонтируемого участка трубопровода, решения по технологии и организации ремонтных работ, мероприятия по технике безопасности, пожарной безопасности и охране окружающей среды, а также раздел технической рекультивации земель в соответствии с [1].
4.1.5 Организация, разрабатывающая раздел проекта по рекультивации земель, должна согласовать его со всеми землепользователями, органами государственного контроля за использованием и охраной земель, с предприятиями-владельцами инженерных сетей, сооружений, пересекающих ремонтируемый трубопровод и проходящих с ним в одном коридоре, в охранной зоне которых должны производиться ремонтные работы, а также с организациями, осуществляющими капитальный ремонт подземного трубопровода.
4.1.6 Рабочие чертежи на капитальный ремонт должны разрабатываться с учетом действующих норм и с максимальным применением типовых проектов, освоенных производством, с привязкой к местным условиям.
В состав рабочих чертежей входят план и профиль трассы ремонтируемого участка, монтажные чертежи узлов линейной арматуры, защитных сооружений, временных сооружений, устройств и приспособлений и т.п.
4.1.7 Сметная документация должна быть составлена по действующим нормам, тарифам и расценкам, прейскурантам и калькуляциям.
4.1.8 Проекты на капитальный ремонт нефтепроводов должны быть зарегистрированы в региональных отделениях Госгортехнадзора.
4.1.9 Капитальный ремонт нефтепроводов выполняется согласно проекту производства работ (ППР), который разрабатывается подрядчиком или специализированными проектными организациями и согласовывается Заказчиком (АО МН).
4.1.10 Исходными документами для разработки ППР являются:
задание на разработку ППР;
рабочий проект на капитальный ремонт;
сведения о количестве и типах намечаемых к использованию ремонтных машин и механизмов [2], а также о рабочих кадрах по профессиям;
данные о местах размещения полевых городков;
материалы топографо-геодезических изысканий трассы ремонтируемого трубопровода;
ведомость пересечений ремонтируемого участка нефтепровода с подземными коммуникациями, искусственными и естественными препятствиями;
сведения об условиях использования существующих дорог, инженерных коммуникаций других предприятий;
сведения об условиях безопасного производства ремонтных работ и охране окружающей среды.
4.1.11 В состав ППР должны входить:
пояснительная записка;
технологические карты (схемы производства работ);
профиль трассы ремонтируемого нефтепровода с ситуационным планом;
график поступления материалов, машин и механизмов;
график производства ремонта нефтепровода;
план ликвидации возможных аварий при производстве ремонтных работ.
4.1.12 Пояснительная записка включает:
расчет продолжительности ремонта нефтепровода;
порядок и методы производства ремонта нефтепровода по отдельным видам работ;
мероприятия по охране труда и технике безопасности;
мероприятия по охране окружающей среды.
4.1.13 Технологические карты (схемы производства работ) разрабатываются на основные виды работ и работы, выполняемые новыми методами.
4.1.14 На ситуационном плане ремонтируемого нефтепровода должны быть указаны населенные пункты, насосные станции, узлы связи, линейная арматура, вдольтрассовые дороги и другие объекты. Кроме того, на ситуационном плане должны быть указаны жилые полевые городки, сварочные базы, места подготовки изоляционных материалов, пункты технического обслуживания, схемы существующих дорог и подъездных путей. На ситуационном плане и профиле должны быть указаны пересечения со всеми коммуникациями (подземными и надземными).
4.1.15 График поступления материалов, машин и механизмов на ремонтируемый участок составляют с разбивкой по срокам и корректируют в связи с последующим уточнением сроков поставки.
4.1.16 График производства ремонта нефтепровода составляется на весь ремонтный период с учетом климатических, гидрогеологических условий и особенностей эксплуатации конкретного нефтепровода.
4.2.1 Подготовительные работы, выполняемые Подрядчиком (РСУ), включают:
подготовку подъездных и вдольтрассовых (при необходимости - устройство) дорог, мостов для выполнения перебазировки и доставки машин, механизмов, материалов и людей к месту производства работ;
размещение и обустройство полевых городков, решение вопросов питания, быта рабочих;
оборудование пунктов погрузки и выгрузки;
перебазировку ремонтных колонн к месту работы;
организацию пунктов хранения горюче-смазочных материалов;
устройство временных складов;
оборудование пунктов технического обслуживания машин и механизмов, баз по приготовлению битумной мастики;
обеспечение РСК системой двухступенчатой связи: первая ступень - радиосвязь между мастером (прорабом) РСК, диспетчером РУМН (АО МН) и руководством подрядчика (РСУ); вторая ступень - радиосвязь между мастером (прорабом) РСК и отдельными бригадами, звеньями, экипажами машин;
подготовку ремонтной полосы (совместно с Заказчиком).
4.2.2 При невозможности использования существующих дорог необходимо сооружение временных дорог. Конструкция временных дорог должна обеспечивать движение ремонтной техники и перевозку максимальных по массе и габаритам грузов.
4.2.5 Сдача трассы трубопровода производится Заказчиком (АО МН или РУМН) подрядчику (РСУ) после выполнения работ по п. 4.2.3 и оформляется актом передачи до начала ремонтных работ (прил. А, форма 1).
4.2.6 Производство ремонтных работ разрешается начинать после завершения организационно-технической подготовки и получения письменного разрешения от руководства АО МН на право производства работ (прил. А, форма 3).
4.2.7 Перед началом работ исполнитель должен поставить в известность местные органы надзора о сроках проведения работ по капитальному ремонту нефтепровода.
5.1.1 Земляные работы при ремонте трубопроводов следует выполнять в соответствии с проектной документацией. Производство земляных работ разрешается без снижения рабочего давления в трубопроводе.
5.1.2 Производство работ в охранных зонах линий и сооружений технологической связи, телемеханики и электрических сетей, входящих в состав магистральных трубопроводов, должно выполняться с соблюдением требований [3, 4, 5, 6].
5.1.3 Разработка грунта в местах пересечения трубопровода с другими подземными коммуникациями допускается лишь при наличии письменного разрешения и в присутствии представителя организации, эксплуатирующей эти подземные коммуникации (трубопроводы, линии связи, кабели и др.). Вызов представителя возлагается на подрядчика.
5.1.4 При обнаружении на месте производства работ подземных коммуникаций и сооружений, не указанных в проектной документации, Подрядчик должен поставить в известность Заказчика и принять меры по защите обнаруженных коммуникаций и сооружений от повреждений.
5.1.5 При пересечении трассы нефтепровода с действующими подземными коммуникациями разработка грунта механизированным способом разрешается на расстоянии не ближе 2 м от боковой стенки и не менее 1 м над верхом коммуникации (трубы, кабеля и др.) в соответствии с [7].
Оставшийся грунт должен дорабатываться вручную без применения ударных инструментов и с принятием мер, исключающих возможность повреждения этих коммуникаций.
5.1.6 Все ремонтные работы следует вести на полосе, отводимой во временное пользование. Ширина отводимой полосы определяется рабочим проектом.
5.1.7 Ширину полосы земель, отводимых для капитального ремонта двух и более параллельных магистральных подземных трубопроводов, следует принимать равной ширине полосы земель для одного трубопровода плюс расстояния между осями крайних трубопроводов.
5.2.1 Работы по снятию и восстановлению плодородного слоя почвы должны производиться в соответствии с разделом рабочего проекта по рекультивации земель.
5.2.2 Плодородный слой почвы должен быть снят и уложен в отвал для использования его при восстановлении (рекультивации) нарушенных участков.
Минимальная ширина полосы снятия плодородного слоя почвы должна быть равной ширине траншеи по верху плюс 0,5 м в каждую сторону, максимальная - ширине полосы отвода земель.
Толщина плодородного слоя почвы и места его снятия по трассе устанавливаются рабочим проектом на основании материалов изысканий в соответствии с [8] и должны быть указаны в ППР.
5.2.3 При снятии, перемещении и хранении плодородного слоя почвы не допускается смешивание его с подстилающими породами, загрязнение горюче-смазочными жидкостями и материалами. Запрещается использование плодородного слоя почвы для засыпки траншей, приямков, котлованов и т.д.
5.2.4 По окончании ремонтных работ после искусственного уплотнения минерального грунта в траншее на рекультивируемую полосу наносят плодородный слой грунта и планируют его.
5.3.1 Для устойчивой и надежной работы машин и механизмов полоса трассы в зоне их движения должна быть спланирована и по оси трубопровода вновь забиты вешки в тех же местах, которые указаны в п. 4.2.4.
5.3.2 Поперечный профиль и размеры разрабатываемой траншеи или котлована устанавливаются в проектно-сметной документации в зависимости от принятого вида и способа ремонта, диаметра ремонтируемого трубопровода, габаритных размеров рабочих органов землеройных машин и механизмов. Во избежание повреждения трубопровода минимальное расстояние между стенкой трубы и ковшом работающего экскаватора должно быть в пределах 0,15...0,2 м.
5.3.3 Длина вскрытого участка устанавливается проектом согласно расчету на продольную устойчивость. Допускается вскрытие трубопровода в «задел» с оставлением грунтовых перемычек через 20...50 м в зависимости от диаметра трубопровода.
5.3.4 Размеры ремонтного котлована при выборочном ремонте зависят от габаритов применяемой ремонтной техники и должны обеспечить возможность работы в соответствии с применяемой технологией.
5.3.5 Траншеи и ремонтный котлован с вертикальными стенками без крепления разрабатываются одноковшовым экскаватором в грунтах естественной влажности с ненарушенной структурой при отсутствии грунтовых вод на глубину, м, не более:
|
в насыпных песчаных и гравелистых грунтах |
1,00 |
|
в супесях |
1,25 |
|
в суглинках и глинах |
1,50 |
|
в особо плотных нескальных грунтах |
2,00 |
5.3.6 Для рытья траншей или ремонтного котлована большей глубины необходимо устраивать откосы различного заложения в зависимости от состава грунта при уровне грунтовых вод ниже глубины выемки (табл. 5.1).
Таблица 5.1 допустимая крутизна откосов траншеи и ремонтного котлована
|
Глубина траншеи, м |
||||||
|
До 1,5 |
1,5 - 3,0 |
3,0 - 5,0 |
||||
|
угол откоса, град. |
уклон |
угол откоса, град. |
уклон |
угол откоса, град. |
уклон |
|
|
Насыпной |
56 |
1:0,67 |
45 |
1:1,00 |
38 |
1:1,25 |
|
Песчаный и гравийный |
63 |
1:0,50 |
45 |
1:1,00 |
45 |
1:1,00 |
|
Супесь |
76 |
1:0,25 |
56 |
1:0,67 |
50 |
1:0,85 |
|
Суглинок |
90 |
1:0,00 |
63 |
1,050 |
53 |
1,075 |
|
Глина |
90 |
1:0,00 |
76 |
1,025 |
63 |
1,050 |
|
Лессовидный сухой |
90 |
1:0,00 |
63 |
1:0,50 |
63 |
1:0,50 |
|
Песчаный и супесчаный |
76 |
1:0,25 |
60 |
1:0,57 |
53 |
1:0,75 |
Примечание: 1. При напластовании различных видов грунта крутизну откосов для всех пластов надлежит назначить по более слабому виду грунта.
2. К насыпным грунтам относятся грунты, пролежавшие в отвалах менее 6 месяцев и не подвергшиеся искусственному уплотнению (проезд, укатка и т.д.).
5.3.7 Размещение отвалов минерального и плодородного грунта относительно оси трубопровода может быть одностороннее или двустороннее. Схема размещения грунта выбирается в зависимости от взаимного расположения параллельно проложенных трубопроводов и других коммуникаций, возможного направления движения ремонтной колонны, с учетом рельефа местности и т.п.
5.3.8 При больших габаритах траншеи допускается размещать отвалы минерального грунта по обе стороны траншеи. При этом на одной стороне размещается максимально возможная часть грунта, а оставшаяся часть - на другой стороне траншеи и планируется бульдозером для прохода ремонтной колонны.
5.3.9 При проведении работ в водонасыщенных грунтах вскрытие трубопровода следует начинать с пониженных мест для спуска и откачки воды.
При сильном притоке грунтовых вод необходимо предусмотреть искусственное водопонижение, а в необходимых случаях принять меры по укреплению стенок траншеи или ремонтного котлована шпунтовыми креплениями, сваями или другими средствами.
5.3.10 При разработке траншеи или ремонтного котлована их необходимо защищать от затопления и размыва поверхностными водами соответствующей планировкой территории, созданием защитных сооружений и водоотводных канав.
5.4.1 До начала работ по засыпке уложенного отремонтированного трубопровода необходимо восстановить устройства электрохимзащиты.
Засыпать траншею следует непосредственно после укладочных работ в течение одной смены после подключения средств ЭХЗ.
5.4.2 В скальных, щебенистых, а также сухих комковатых и мерзлых грунтах трубопроводы укладывают в траншею на подсыпку из мягкого грунта толщиной не менее 20 см и таким же грунтом присыпают над верхней образующей на высоту 20 см.
5.4.3 Подбивку грунта под трубопровод следует выполнять на участках, определенных в проекте. После этого производится окончательная засыпка.
5.4.4 Засыпку траншеи или котлована минеральным грунтом осуществляют бульдозером с одной или с обеих сторон траншеи. Допускается производить засыпку экскаваторами или другими техническими средствами.
5.4.5 Засыпку криволинейного участка трубопровода начинают с середины, двигаясь поочередно к его концам.
5.4.6 Траншею следует засыпать минеральным грунтом с запасом по высоте на величину осадки. Величина запаса зависит от вида грунта и глубины траншеи.
5.5.1 Для производства работ зимнее время до промерзания грунта следует снять плодородный слой почвы с перемещением его во временный отвал и спланировать ремонтную полосу в зоне движения РСК. Затем, с целью уменьшения глубины промерзания грунта, необходимо провести безотвальную вспашку или рыхление зоны разработки траншеи.
5.5.2 Разработку траншеи в зимнее время проводят после удаления снега с полосы будущей траншеи. Разработка траншеи одноковшовыми экскаваторами рекомендуется при глубине промерзания грунта до 0,25 м.
5.5.3 Засыпку траншеи минеральным грунтом следует выполнять непосредственно вслед за изоляционно-укладочными работами. При длительных перерывах в работе слой мерзлого грунта с поверхности отвала следует удалить ковшом экскаватора.
5.5.4 Рекультивацию плодородного слоя почвы выполняют в теплое время года после оттаивания отвалов. При необходимости, перед рекультивацией следует проводить планировку полосы засыпанной траншеи.
6.1.1 Работы по подъему и поддержанию трубопровода следует проводить после того, как:
ремонтируемый участок вскрыт;
установлено дежурство на отсекающих задвижках со средствами радиосвязи с диспетчером;
установлено рабочее давление согласно проекту, но не более 2,5 МПа;
получено письменное разрешение от диспетчера РУМН.
6.1.2 Работы по подъему и укладке трубопроводов разрешается производить только в присутствии лица, ответственного за производство работ.
6.1.3 Перед подъемом трубопровода должны быть выполнены все мероприятия, предусмотренные в проекте производства работ, обеспечивающие безопасность его проведения и предотвращение аварийных ситуаций.
6.1.4 Число и грузоподъемность трубоукладчиков или других механизмов, а также порядок подъема и расстановки должны строго соответствовать ППР. Запрещается поднимать нефтепровод одним трубоукладчиком.
6.1.5 Подъем трубопровода следует осуществлять плавно, без рывков. Контроль величины усилий на крюках трубоукладчиков производится динамометрами или индикаторами усилия на крюке.
6.1.6 На время длительных остановок и в конце смены трубопровод следует укладывать на лежки, опоры-крепи и др.
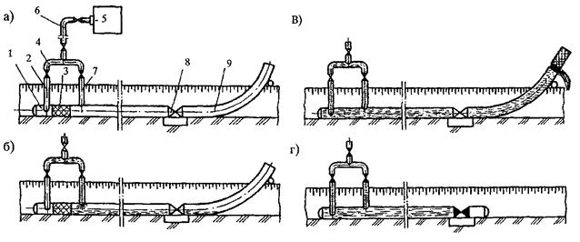
6.2.1 При капитальном ремонте с заменой труб укладка нового участка трубопровода проводится совмещенным способом в едином технологическом потоке с работами по очистке и изоляции трубопровода (рис. 1).
На рисунке условно показаны три трубоукладчика.
Технологические параметры колонны при работе совмещенным способом приведены в табл. 6.1.
Таблица 6.1 технологические параметры колонны при изоляционно-укладочных работах совмещенным способом
|
Расстояния между трубоукладчиками (группами трубоукладчиков), м |
Максимально допустимое расстояние между очистной и изоляционной машинами, м |
||
|
l1 |
l2 |
||
|
325...530 |
15...20 |
10...15 |
35 |
|
720...820 |
20...25 |
15...20 |
45 |
|
1020 |
20...25 |
15...25 |
50 |
|
1220 |
25...35 |
20...30 |
65 |
6.2.2 Раздельный способ проведения изоляционно-укладочных работ следует применять на участках со сложным рельефом местности (рис. 2).
На рисунке условно показаны три трубоукладчика.
Технологические параметры колонны при работе раздельным способом приведены в табл. 6.2.
6.2.3 Необходимое количество трубоукладчиков, их расстановка и высота подъема трубопровода с учетом конкретных условий должны быть уточнены с помощью проверочных расчетов на прочность и устойчивость ремонтируемого участка.
1 - отвал минерального грунта; 2 - заменяемый участок трубопровода; 3 - отвал плодородного слоя почвы; 4 - очистная машина; 5 - трубоукладчик; 6 - резервный трубоукладчик; 7 - электростанция; 8 - вновь прокладываемый участок трубопровода; 9 - изоляционная машина; 10 - бульдозер.
Рис. 1 Расстановка машин и механизмов при совмещенном способе изоляционно-укладочных работ
1 - отвал минерального грунта; 2 - заменяемый участок трубопровода; 3 - вновь прокладываемый участок трубопровода; 4 - инвентарные лежки (земляные тумбы); 5 - трубоукладчик; 6 - бульдозер; 7 - отвал плодородного слоя почвы
Рис. 2 Расстановка машин и механизмов при раздельном способе изоляционно-укладочных работ
Таблица 6.2 технологические параметры колонны при укладке в траншею раздельным способом
|
Число трубоукладчиков, шт. |
Расстояние (t) между трубоукладчиками, м |
|
|
325:530 |
3 |
20:25 |
|
720:820 |
4 |
25:30 |
|
1020 |
4 |
30:35 |
|
1220 |
5 |
35:40 |
6.2.4 При укладке трубопровода в траншею должны обеспечиваться:
правильная расстановка трубоукладчиков;
минимально необходимая для производства работ высота подъема трубопровода;
сохранность изоляционного покрытия;
плотное прилегание трубопровода ко дну траншеи;
проектное положение трубопровода.
6.3.1 Ремонт трубопроводов диаметром 219...720 мм, не имеющих дефектов стенок и дефектов сварных швов, может производиться с подъемом и без остановки перекачки. Допустимое давление на участке подъема должно определяться расчетом на прочность и не должно превышать 2,5 МПа.
6.3.2 Ремонт трубопроводов, имеющих дефекты стенок и сварных швов, проводится после выполнения восстановительных работ. Для проведения восстановительных работ трубопровод укладывается на лежки в траншее.
6.3.3 Монтаж троллейных подвесок, очистной, изоляционной и других машин, участвующих в технологическом процессе, производится на участке, уложенном на лежки. Длина участка, уложенного на лежки, должна быть достаточной для монтажа ремонтных машин.
6.3.4 Расчетные технологические параметры ремонтной колонны для конкретного участка определяются по [9], а рекомендуемые для работы в равнинных условиях в табл. 6.3.
Таблица 6.3 технологические параметры и расчетные величины усилия подъема трубопровода
|
Диаметр трубопровода и толщина стенки, мм |
Число трубоукладчиков, шт. |
Масса ремонтной машины, кН |
Высота подъема трубопровода, м |
Расстояние до ремонтной машины, м |
Расстояние между трубоукладчиками, м |
Длина приподнятого участка |
Усилия подъема трубопровода, кН |
|||
|
D´s |
n |
Q |
h1 |
h2 |
а |
l |
L |
P1 |
Р2 |
|
|
|
219´5 |
3 |
10 |
0,63 |
1,01 |
4 |
13 |
59 |
19,9 |
8 |
|
273´5 |
3 |
10 |
0,77 |
1,20 |
4 |
14 |
67 |
25,6 |
12 |
|
|
325´5 |
3 |
10 |
0,73 |
1,11 |
4 |
15 |
72 |
33,1 |
17 |
|
|
377´7 |
3 |
15 |
0,70 |
1,03 |
4 |
16 |
77 |
51,4 |
25 |
|
|
426´7 |
3 |
15 |
0,68 |
1,01 |
4 |
17 |
82 |
62,1 |
33 |
|
|
|
530´8 |
4 |
20 |
0,66 |
1,17 |
4 |
20 |
112 |
97,2 |
60 |
|
630´8 |
4 |
20 |
0,65 |
1,10 |
4 |
20 |
115 |
129 |
80 |
|
|
720´9 |
4 |
20 |
0,63 |
1,02 |
4 |
20 |
118 |
174 |
100 |
|
6.3.5 Начало (или конец) поднимаемого участка трубопровода должно находиться от линейных задвижек или других мест защемления:
|
для трубопроводов диаметром, мм |
на расстоянии, не менее: |
|
до 530 мм |
30 |
|
530...720 мм |
40 |
|
более 720 мм |
50 |
6.3.6 Подъем и укладка трубопровода на лежки осуществляется трубоукладчиками по двум схемам (рис. 3,4).
6.3.7 На рис. 3 показана схема расстановки и перемещения трубоукладчиков и последовательность операций при подъеме и укладке трубопровода на лежки одновременно всеми трубоукладчиками (на рисунке условно показаны три трубоукладчика).
Позиция I. Расстановка трубоукладчиков и установка полотенец. Расстояние от места установки полотенца до поперечного сварного шва - не менее 3 м.
Позиция II. Подъем трубопровода одновременно всеми трубоукладчиками на заданную технологическую высоту.
Позиция III. Укладка лежек под приподнятый трубопровод. Лежки должны быть расположены от поперечного шва на расстоянии не менее 3 м.
Позиция IV. Укладка трубопровода на лежки одновременно всеми трубоукладчиками.
Позиция V. Переход трубоукладчиков в следующее исходное положение и расстановка их в порядке, описанном в позиции I. Далее операции повторяются в указанной последовательности.
6.3.8 На рис. 4 показана схема расстановки и перемещения трубоукладчиков и последовательность операций при подъеме и укладке трубопровода на лежки с переходом одного трубоукладчика (на рисунке условно показаны четыре трубоукладчика).
Позиция I. Расстановка трубоукладчиков и установка полотенец. Расстояние от места установки полотенца до поперечного сварного шва - не менее 3 м.
Позиция II. Подъем трубопровода одновременно всеми трубоукладчиками на заданную технологическую высоту.
Позиция III. Укладка лежек под приподнятый трубопровод. Лежки должны быть расположены от поперечного шва на расстоянии не менее 3 м.
Позиция IV. Укладка трубопровода на лежки последним по ходу движения трубоукладчиком.
Позиция V. Переход освободившегося трубоукладчика вперед колонны на расстояние от первого по ходу движения трубоукладчика согласно ППР.
Далее операции повторяются в указанной последовательности. По этой схеме трубопровод поддерживается в приподнятом состоянии тремя трубоукладчиками, а последний по ходу движения трубоукладчик опускает трубопровод на лежки и перемещается только после того, как подъем трубопровода первым трубоукладчиком произведен и его подъемные лебедки поставлены на тормоз.
6.3.9 Подъем и укладка трубопровода при проведении изоляционно-укладочных работ осуществляется трубоукладчиками, оборудованными троллейными подвесками.
6.3.10 Движение троллейной подвески вдоль трубопровода осуществляется плавно. Не допускается останавливать троллейную подвеску ближе 3 м от поперечного сварного шва на трубопроводе.
6.3.11 Ремонт нефтепроводов диаметром 720...1220 мм проводится без подъема с поддержанием грузоподъемными механизмами.
6.3.12 Поддержание подкопанного участка нефтепровода рекомендуется выполнять трубоукладчиками, опорами-крепями или пневмоподъемниками. Число грузоподъемных механизмов и длина подкопанного участка определяются по [9].
1 - трубоукладчик; 2 - нефтепровод; 3 - лежка; LT - расстояние между трубоукладчиками; Lл - расстояние между лежками; LCT - расстояние от места установки полотенца до поперечного сварного шва; h1 - высота подъема под крайними трубоукладчиками; h2 - высота подъема под средним трубоукладчиком.
Рис. 3 Схема подъема и укладки нефтепровода на лежки одновременно тремя трубоукладчиками
1 - трубоукладчик; 2 - нефтепровод; 3 - лежка; LT - расстояние между трубоукладчиками; Lл - расстояние между лежками; LCT - расстояние от места установки полотенца до поперечного сварного шва; h1 - высота подъема под крайними трубоукладчиками; h2 - высота подъема под средними трубоукладчиками.
Рис. 4 Схема подъема и укладки нефтепровода на лежки с переходом одного трубоукладчика
6.4.1 Выборочный ремонт дефектных участков нефтепровода проводится без подъема и поддержки ремонтируемого участка. Длина подкопанного участка определяется по [9].
6.4.2 При выборочном ремонте со вскрытием протяженных участков во время подсыпки и уплотнения грунта поддержание трубопровода рекомендуется выполнять грузоподъемным механизмом, оснащенным мягким полотенцем, установленным в средней части подкопанного участка трубопровода.
7.1 Очистка трубопровода при капитальном ремонте должна осуществляться ремонтными очистными машинами.
7.2 Очистка трубопровода заключается в удалении с наружной поверхности трубы остатков земли, старого изоляционного покрытия и продуктов коррозии.
После проведения сварочных работ по восстановлению стенок труб (перед нанесением изоляционного покрытия) следует осуществить повторную очистку с целью удаления с поверхности труб окалины, брызг металла и следов коррозии.
7.3 Во избежание нарушения целостности трубы перед началом очистных работ и во время технологических перерывов следует тщательно осмотреть трубопровод (включая нижнюю часть), сделать видимые отметки стыков, хомутов, латок и других препятствий на трубопроводе.
7.4 Очистка трубопровода в зоне заплат, вантузов, хомутов и других препятствий выполняется вручную. Не допускается нанесение царапин, рисок, сколов основного металла и срезания сварных швов. Поверхность трубопровода, имеющая острые выступы, заусеницы, задиры, брызги металла и шлак, должна быть обработана и зачищена.
7.5 На очищенной поверхности не должно быть ржавчины, влаги, масла.
Степень очистки поверхности труб перед нанесением покрытий должна соответствовать виду защитного покрытия и требованиям [10].
Допускается наличие следов старого изоляционного покрытия, прочно сцепленного с поверхностью трубы, при нанесении в последующем нового изоляционного покрытия, грунтовочный состав которого совместим со старым по своей химической природе.
7.6 Запрещается проводить очистные работы во время дождя, снега, тумана.
8.1 Сварочные работы при капитальном ремонте магистральных нефтепроводов подразделяются на сварочно-монтажные работы при замене труб и ремонтные сварочные работы при восстановлении стенки трубы.
8.2 В процессе капитального ремонта с заменой труб при производстве сварочно-монтажных работ следует соблюдать требования [11, 12, 13].
8.3 Сварку труб следует производить любым способом (автоматическим электродуговым, прессовым, пайкой и др.) по соответствующей нормативно-технической документации, согласованной в установленном порядке.
8.4 Специальные сварочные работы (сварка захлестов, вварка запорной и распределительной арматуры и др.), термообработку сварных швов при капитальном ремонте с заменой труб допускается выполнять в соответствии с требованиями [13]. На работы, не вошедшие в [13], следует разрабатывать отдельные технологические инструкции, карты и другую документацию, согласованную в установленном порядке.
8.5 Перед началом проведения работ по капитальному ремонту нефтепровода следует провести аттестацию выбранной технологии сварки.
Технологический процесс сварки считается аттестованным, если по данным визуального и радиографического контроля, результатам испытаний механических свойств сварные соединения удовлетворяют требованиям нормативной документации.
По результатам испытаний приемочных сварных соединений должен быть составлен акт приемки технологии сварки (прил. А, форма 11).
8.6 К выполнению сварочных работ следует допускать сварщиков, прошедших ежегодную проверку квалификации с целью определения способности сварщика выполнить качественное сварное соединение.
По результатам испытаний сварных соединений составляется акт проверки квалификации сварщиков (допускной лист) (прил. А, форма 30).
8.7 Сварочно-монтажные работы при капитальном ремонте магистральных трубопроводов с заменой труб включают: подготовку к сборочным и сварочным работам; сборку и сварку труб в трубные секции на трубосварочных базах и в полевых условиях; сборку и сварку секций в сплошную нитку на трассе; контроль качества сварных соединений трубопроводов.
8.8 Перед выполнением работ по сборке и сварке труб на трубосварочной базе необходимо провести следующие подготовительные операции:
на специально подготовленной и спланированной площадке выполнить монтаж трубосварочной базы;
подготовить для трубоукладчика подъездные пути к приемному стеллажу сборочного стенда и стеллажу для складирования труб;
подвести коммуникации (силовые и сварочные кабели);
разместить в зоне производства работ трубоукладчик;
установить вагончики для хранения инвентаря и сварочных материалов, а также печь для сушки флюса и прокалки электродов.
8.9 Сборку и сварку труб в секции следует проводить на полумеханизированных трубосварочных базах (стеллажах) для ручной поворотной сварки или типовых трубосварочных базах с применением полевых автосварочных установок.
8.10 При сборке секций труб на трубосварочных базах следует выполнить следующие операции:
очистку полости труб;
подготовку кромок труб;
сборку труб на линии сборки труб (ЛСТ) при помощи внутренних центраторов;
подогрев концов труб, если того требует технология сварки;
сварку корневого шва, зачистку шва;
сварку заполняющих и облицовочного слоев шва, нанесение клейма сварщика или бригады сварщиков, выполнивших сварку стыка;
контроль сварных соединений;
ремонт дефектных сварных стыков.
8.11 Перед сборкой и сваркой секций труб в нитку в условиях трассы должны быть выполнены следующие подготовительные работы:
развезены и уложены секции труб на расстоянии не более 1,5 м от бровки траншеи под углом 15...20 град, к проектной оси траншеи;
размещены в зоне производства работ трубоукладчики, сварочные агрегаты, бульдозер, центратор, емкости ГСМ, инвентарные лежки и другое необходимое оборудование и инструменты;
установлены на полосе отвода вагончики для обогрева людей, хранения инвентаря и сварочных материалов.
8.12 Перед сборкой трубопровода необходимо выполнить следующие операции:
конец трубопровода уложить на инвентарные лежки или на земляную тумбу;
секцию труб очистить от грязи и других посторонних предметов;
зачистить до металлического блеска кромки и прилегающие к ним наружные и внутренние поверхности секции на ширину не менее 10...15 мм.
8.13 Работы по сборке и сварке трубопроводов должны выполняться в два этапа:
I этап - центровка секции с ниткой трубопровода с помощью внутреннего или наружного центратора и сварка первого (корневого) слоя шва;
II этап - сварка последующих слоев и контроль качества сварного шва.
8.14 Устранение дефектов в сварных швах, выявленных при проведении сварочно-монтажных работ, допускается в следующих случаях:
суммарная длина дефектных участков не превышает 1/6 длины шва;
суммарная длина выявленных в сварном шве трещин не превышает 50 мм.
При наличии трещин суммарной длиной более 50 мм сварные швы должны быть вырезаны.
8.15 Устранение дефектов в сварных швах следует выполнить следующими способами:
наплавкой ниточных валиков высотой не более 3 мм при ремонте подрезов;
вышлифовкой и последующей заваркой участков швов со шлаковыми включениями и порами.
Обнаруженные при внешнем осмотре недопустимые дефекты должны быть устранены до проведения контроля неразрушающими методами.
8.16 Отремонтированные сварные швы должны быть подвергнуты внешнему осмотру и удовлетворять требованиям [12].
8.17 Ремонтные сварочные работы на нефтепроводах проводятся без остановки перекачки или при остановленной перекачке с целью устранения дефектов стенки труб и сварных швов путем установки усилительных элементов (муфт) или наплавки металла. Сварочные работы на нефтепроводах под давлением проводятся также при приварке штуцеров, катодных выводов и т.п.
Сварочные работы необходимо выполнять с соблюдением требований [14, 15, 16] и настоящих Правил.
8.18 Внутреннее давление в нефтепроводе при проведении сварочных работ не должно превышать давление, при котором производится ремонт нефтепровода (2,5 МПа).
Запрещается проводить сварочные работы на участках нефтепроводов, работающих при неполном заполнении сечения трубопровода перекачиваемой нефтью.
8.19 Заполнение нефтепровода нефтью следует определять на основании гидравлических расчетов (с учетом перевальных точек) и контролировать ультразвуковым методом по амплитуде эхо-сигнала от внутренней поверхности трубы (при полном заполнении трубы нефтью амплитуда эхо-сигнала на 15...20 % меньше чем при частичном заполнении).
8.20 Перед выполнением сварочных работ на заполненном нефтью трубопроводе обязательно проведение следующих мероприятий:
назначение ответственных за подготовку нефтепровода к проведению сварочных работ (от Заказчика);
назначение лиц, ответственных за проведение сварочных работ (от Подрядчика);
оформление наряда-допуска на ведение огневых работ;
определение перечня противопожарных мероприятий.
В процессе сварки необходимо выполнение следующих операций:
проверка состояния воздушной среды на месте проведения сварочных работ;
внешний осмотр, классификация дефектов, измерение толщины стенки труб нефтепровода в местах предполагаемой сварки;
подготовка поверхностей свариваемых деталей (снятие фаски, зачистка поверхностей труб);
сварочные работы;
контроль качества сварки.
8.21 В зависимости от вида, размера и взаимного расположения повреждений выбирают один из следующих методов устранения дефектов стенки трубы:
зачистка, шлифовка поверхности с дефектами;
заварка (наплавка) металла дефектов стенок труб;
ремонт с применением композитно-муфтовой технологии.
8.22 Зачистку, шлифовку поверхности с дефектами следует применять при наличии дефектов глубиной, не превышающей 10 % номинальной толщины стенки.
8.23 Устранение дефектов стенки труб путем наплавки металла допускается при остаточной толщине стенки не менее 5 мм.
8.24 Ремонт с применением композитно-муфтовой технологии (КМТ) проводится установкой неприварных муфт на участки трубопровода с различными дефектами стенки трубы несквозного характера (потери металла от коррозии, вмятины, трещины, расслоения, риски и их комбинаций по [17]).
8.25 Результаты проверки сварных швов (наплавленного металла) физическими методами необходимо оформлять в виде заключения. Заключения по результатам дефектоскопического контроля должны храниться в РУМН до демонтажа нефтепровода.
8.26 При ремонте нефтепровода от места производства земляных, очистных и изоляционно-укладочных работ до места производства сварочных работ необходимо оставить технологический разрыв не менее 300 м. Принятый технологический разрыв должен исключить возможность передачи механических колебаний от места производства очистных и изоляционно-укладочных работ, поступление паров нефтепродуктов на место сварки.
8.27 При невозможности обеспечения требуемого технологического разрыва на время выполнения сварочных работ все другие работы прекращаются. Машины и механизмы останавливаются и отключаются.
8.28 Возможность повторного использования и технология сварки бывших в эксплуатации труб должны устанавливаться на основе комиссионного обследования труб с оформлением соответствующих актов и согласовываться с техническим надзором.
9.1.1 Противокоррозионная изоляция нефтепроводов должна осуществляться в соответствии с требованиями [10, 18, 19].
9.1.2 Изоляционные покрытия должны наноситься на нефтепровод механизированным или ручным способом, обеспечивающим проектную толщину изоляционного слоя и его сплошность. Степень подготовки поверхности трубы должна соответствовать требованиям [10] и нормативно-технической документации на применяемый тип изоляционного покрытия.
Задвижки, отводы, тройники и муфты следует изолировать вручную.
9.1.3 При капитальном ремонте нефтепроводов с заменой труб рекомендуется применение труб с защитным покрытием, нанесенным в заводских или базовых условиях.
9.1.4 Нанесение грунтовки и изоляционного покрытия на влажную поверхность трубопровода не допускается.
9.1.5 Запрещается перемещение ремонтных машин и механизмов по изолированному участку нефтепровода.
9.2.1 Противокоррозионную изоляцию поверхности трубопроводов следует осуществлять покрытиями нормального или усиленного типа на основе битумных изоляционных мастик, полимерных лент отечественного и импортного производства, а также других изоляционных материалов, согласованных к применению в установленном порядке.
9.2.2 Тип и вид защитных покрытий устанавливаются рабочим проектом.
9.2.3 Покрытия на основе битумных изоляционных мастик, в том числе «Пластобит-40» [20], следует применять для изоляции трубопроводов диаметром до 820 мм при температуре транспортируемого продукта не выше 40°С. Допускается применение покрытий на основе битумных изоляционных мастик на трубопроводах диаметром 1020 мм при температуре воздуха не выше 25 °С во время нанесения.
Покрытия из полимерных изоляционных лент можно применять для изоляции трубопроводов всех диаметров. При температуре транспортируемого продукта не выше 60 °С применяются полиэтиленовые ленты, а при температуре транспортируемого продукта не выше 35°С - поливинилхлоридные ленты.
При нанесении в трассовых условиях предпочтение следует отдавать мастичным покрытиям.
9.2.4 Трубы с изоляционным покрытием заводского нанесения следует применять на трубопроводах всех диаметров при температуре транспортируемого продукта не выше 60 °С - с покрытием из полиэтилена и не выше 80°С - с покрытием на основе эпоксидных смол.
9.2.5 В местах перехода магистрального трубопровода от подземной прокладки к наземной, на переходах под автомобильными и железными дорогами конструкция изоляционного покрытия должна быть усилена дополнительно слоем изоляционной ленты или защитной обертки.
9.2.6 Изоляционные покрытия сварных стыков (при применении труб с заводской изоляцией), мест присоединения к трубопроводу запорной арматуры и т.п. по своим защитным свойствам должны соответствовать основному изоляционному покрытию трубопровода.
9.2.7 Материалы, применяемые для изоляционных работ, определяются рабочим проектом и должны соответствовать требованиям нормативно-технической документации на них. Выбор изоляционных материалов следует осуществлять в зависимости от требуемого срока службы, максимальной температуры транспортируемой нефти и температуры окружающего воздуха при выполнении изоляционно-укладочных работ.
9.3.1 Очищенную поверхность трубопровода следует огрунтовать. Поверхность трубопровода при нанесении грунтовки должна быть сухой, наличие влаги в виде пленки, капель, наледи или инея, а также следы копоти и масла не допускаются.
9.3.2 Слой грунтовки должен быть сплошным и не иметь сгустков, подтеков и пузырей.
9.3.3 Под изоляционное покрытие следует наносить соответствующую грунтовку, обеспечивающую максимальную адгезию покрытия к металлу труб. Допускается также по согласованию с заказчиком применение других грунтовок, если они обеспечивают нормированную величину адгезии. Замена импортных клеевых грунтовок без согласования с фирмой-изготовителем изоляционного материала запрещается.
9.4.1 Нанесение изоляционного покрытия на основе изоляционных полимерных лент. Изоляционные ленты следует наносить на нефтепровод по свеженанесенной невысохшей грунтовке или после высыхания грунтовки «до отлипа» в соответствии с требованиями нормативно-технической документации на эти материалы.
Изоляционные ленты и обертки необходимо наносить без гофр, перекосов, морщин, отвисаний с величиной нахлеста для однослойного покрытия - не менее 3 см, для двуслойного - 50 % ширины ленты плюс 3 см. Для обеспечения плотного прилегания лент и оберток по всей защищаемой поверхности и создания герметичности в нахлесте необходимо постоянное натяжение материала с усилием.
Защитные обертки, не имеющие прочного сцепления с изоляционным покрытием трубопровода, должны быть закреплены в конце полотнища, а при необходимости через 10...12 м. Для закрепления оберток следует использовать специальные бандажи, клеи и т.п.
9.4.2 Нанесение изоляционного покрытия на основе битумных изоляционных мастик. Изоляционное покрытие на битумной основе следует наносить на нефтепровод сразу же после высыхания грунтовки «до отлипа».
Битумную мастику следует наносить по периметру и длине нефтепровода ровным слоем заданной толщины без пузырей и посторонних включений.
Армирование битумного покрытия стеклохолстом и обертку защитными рулонными материалами необходимо производить без гофр, морщин и складок.
Толщина наносимого битумного изоляционного слоя, его сплошность и прилипаемость, степень погружения стеклохолста в мастичный слой зависят в основном от вязкости мастики, которую регулируют изменением температуры в ванне изоляционной машины в зависимости от температуры окружающего воздуха.
9.4.3 Нанесение изоляционного покрытия «Пластобит-40».
Покрытие «Пластобит-40» следует наносить в соответствии с требованиями [20].
Покрытие «Пластобит-40» следует наносить на нефтепровод при температуре окружающего воздуха не ниже минус 25 °С.
Пластифицированная битумная мастика должна наноситься на очищенную поверхность нефтепровода по свеженанесенной грунтовке. Мастичный слой должен наноситься ровным слоем заданной толщины без пузырей и посторонних включений.
Намотка поливинилхлоридной ленты должна производиться сразу же по слою горячей мастики без гофр, морщин, перекосов и отвисаний. Выдавливание и утонение битумного слоя от усиленного натяга ленты не допускается. Величина нахлеста должна быть не менее 20...25 мм.
Нанесение обертки для защиты покрытия «Пластобит-40» от механических повреждений должно осуществляться без гофр, морщин, перекосов, отвисаний.
9.4.4 Нанесение других изоляционных покрытий следует осуществлять в соответствии с требованиями технологических инструкций по применению.
9.5.1 После проверки качества изоляционного покрытия изолированный нефтепровод следует уложить в траншею, при этом необходимо следить за сохранностью покрытия.
При наличии дефектов в покрытии следует произвести ремонт покрытия.
9.5.2 Изолированный участок нефтепровода после укладки необходимо незамедлительно засыпать или присыпать грунтом. В скальных, каменистых, щебенистых, сухих, комковатых, глинистых и суглинистых грунтах под изолированный участок следует подсыпать мягкий грунт толщиной не менее 20 см.
9.5.3 При засыпке нефтепровода грунтом, содержащим мерзлые комья, щебень, гранит и другие включения размером более 50 мм в поперечнике, изоляционное покрытие следует предохранять от повреждений присыпкой мягким грунтом на толщину 20 см над верхней образующей трубы или устройством защитных покрытий, предусмотренных проектом.
9.5.4 Мягкую подсыпку дна траншеи и засыпку мягким грунтом трубопровода, уложенного в скальных, каменистых, щебенистых, сухих комковатых и мерзлых грунтах, допускается по согласованию с заказчиком заменять сплошной надежной защитой, выполненной из негниющих, экологически чистых материалов.
9.5.5 Изолированный и присыпанный участок допускается оставлять незасыпанным грунтом не более 24 часов.
9.5.6 Контроль сплошности защитного покрытия на уложенном и засыпанном нефтепроводе, находящемся в незамерзшем грунте, следует проводить искателем повреждений не ранее чем через две недели после его засыпки .
Все выявленные дефекты покрытия должны быть устранены и после засыпки снова проконтролированы искателем повреждений.
9.5.7 Оценку качества изоляции отремонтированных участков нефтепровода на переходное сопротивление следует проводить методом катодной поляризации при глубине промерзания грунта до 0,5 м.
9.6.1 При ремонте нефтепроводов в зимнее время следует применять усиленный тип защитных покрытий.
При подборе изоляционных материалов для проведения работ необходимо соблюдать соответствие характеристик материалов условиям нанесения защитных покрытий (температуре перекачиваемой нефти, окружающего воздуха при выполнении изоляционно-укладочных работ).
9.6.2 Изоляционно-укладочные работы следует выполнять совмещенным способом, не допуская больших заделов траншеи перед изоляционно-укладочной колонной.
9.6.3 Изолированный участок трубопровода следует уложить на подсыпку из мягкого грунта толщиной 20 см и присыпать на высоту 20 см тем же грунтом для предохранения от повреждений.
9.6.4 В случае применения битумных мастик изолированный участок нефтепровода после укладки на дно траншеи следует немедленно засыпать грунтом, предохраняя изоляционное покрытие.
10.1.1 При капитальном ремонте нефтепровода с заменой труб вновь прокладываемый участок перед его подключением в основную магистраль подлежит испытанию на прочность и проверке на герметичность согласно [12].
Перед проведением испытаний следует провести очистку полости трубы.
10.1.2 Способы, параметры и схемы проведения очистки полости и испытания трубопровода устанавливаются в рабочем проекте.
Проект должен предусматривать очистку загрязненной воды (или жидкости) после промывки полости трубы.
В рабочем проекте должен быть выполнен проверочный расчет на устойчивость трубопровода против всплытия на обводненных участках.
10.1.3 На основании принятых решений по очистке и испытанию нефтепровода подрядчик должен разработать специальную инструкцию, устанавливающую порядок проведения этих работ.
10.1.4 Работы по очистке полости и испытанию трубопроводов следует выполнять после вывода персонала и основной ремонтной техники из опасной зоны.
10.2.1 При очистке полости трубопровода необходимо:
удалить случайно попавшие внутрь при монтаже (сварке) грунт, воду и различные предметы, а также поверхностный рыхлый слой ржавчины и окалины;
проверить путем пропуска поршня проходное сечение трубопровода и тем самым обеспечить возможность многократного беспрепятственного пропуска очистных, инспекционных или других специальных устройств при дальнейшей эксплуатации;
достигнуть качества очистки полости обеспечивающего заполнение участка трубопровода транспортируемой нефтью без ее загрязнения и обводнения.
10.2.2 Очистка полости трубопровода должна производиться после укладки и засыпки одним из следующих способов: промывкой, продувкой или протягиванием очистного устройства.
10.2.3 Промывка или продувка осуществляются с пропуском очистного или разделительного устройства. При продувке трубопровода пропуск и выпуск загрязнений и очистных поршней через линейную арматуру запрещаются.
10.2.4 На трубопроводах, монтируемых без внутренних центраторов, следует производить предварительную очистку полости протягиванием очистных устройств в процессе сборки и сварки отдельных труб или секций в нитку.
10.2.5 Промывке, как правило, подвергают трубопроводы, испытание которых предусмотрено в проекте гидравлическим способом. Промывку совмещают с удалением воздуха при заполнении трубопровода водой или другой жидкостью.
Пропуск очистного или разделительного устройства по трубопроводу осуществляется под давлением жидкости. Впереди очистного или разделительного устройства для смачивания и размыва загрязнений заливают воду в количестве 10...15 % объема полости очищаемого трубопровода.
Скорость перемещения очистного или разделительного устройства при промывке должна быть не менее 1 км/ч для обеспечения безостановочного устойчивого движения устройства.
Промывка считается законченной, когда очистное или разделительное устройство выйдет из трубопровода неразрушенным.
10.2.6 Очистка полости вытеснением загрязнений в потоке воды (жидкости) совмещается с удалением воды (жидкости) после гидравлических испытаний трубопровода с пропуском поршня-разделителя под давлением сжатого воздуха или газа. Скорость перемещения поршня-разделителя должна быть не менее 5 км/ч.
10.3.1 Испытание отремонтированного участка трубопровода при капитальном ремонте с заменой труб на прочность и герметичность проводится после полной готовности всего участка: установки арматуры и приборов, приварки катодных выводов, засыпки минеральным грунтом.
10.3.2 Испытание отремонтированного участка следует проводить гидравлическим (водой, незамерзающими жидкостями), пневматическим (воздухом) или комбинированным (воздухом и водой) способами.
Параметры испытания на прочность, независимо от способа испытания, принимаются в соответствии с рабочим проектом. Нефтепроводы следует испытывать, как правило, гидравлическим способом.
10.3.3 Трубопровод подвергается циклическому гидравлическому испытанию на прочность. Количество циклов должно быть не менее 3-х, а величина испытательного давления в каждом цикле в нижней точке трубопровода не более гарантированного заводом испытательного давления (Рзав = 0,95sт), но не менее Рисп = 1,1 Рраб в верхней точке.
Время выдержки трубопровода под испытательным давлением должно составлять не менее 24 часов.
10.3.4 Проверку на герметичность участка или нефтепровода в целом производят после испытания на прочность и снижения испытательного давления до проектного рабочего в течение времени, необходимого для осмотра трассы (но не менее 12 ч.).
10.3.5 Нефтепровод считается выдержавшим испытание на прочность и проверку на герметичность, если за время испытания трубопровода на прочность труба не разрушилась, а при проверке на герметичность давление осталось в пределах допустимых норм и не были обнаружены утечки.
10.3.6 При разрыве, обнаружении утечек визуально, по звуку или с помощью приборов, участок трубопровода подлежит ремонту и повторному испытанию на прочность и проверке на герметичность.
10.3.7 После окончания испытаний и проверки на герметичность следует удалить воду из участка трубопровода с помощью разделителей, перемещаемых под давлением воздуха.
10.3.8 Испытанный на прочность и проверенный на герметичность вновь проложенный участок трубопровода следует подключить к основной магистрали и заполнить нефтью. Вытесняемый воздух следует удалять через вантузы.
11.1 Контроль качества ремонтных работ следует осуществлять путем систематического наблюдения и проверки соответствия выполняемых работ требованиям проекта проведения работ, а также [11, 12, 21, 22].
11.2 Ответственность за соблюдение качества ремонтно-восстановительных работ и составление исполнительной документации несет инженерно-технический персонал, назначенный соответствующим приказом организации, производящей работы по капитальному ремонту.
11.3 Исполнительная документация оформляется по формам, приведенным в прил. А к настоящим Правилам, и ведется в целях подтверждения:
факта монтажа ответственных конструкций с требуемым качеством;
факта выполнения конкретных работ с требуемым уровнем качества;
возможности (разрешения) производства последующих работ.
Исполнительная документация оформляется в день производства работ. Разрешение на производство работ оформляется непосредственно перед их началом. Не допускается оформление исполнительной документации задним числом.
11.4 Контроль качества ремонтных работ включает три уровня: производственный контроль, технический надзор и инспекционный надзор.
Контролируемые показатели и формы регистрации контроля по видам работ приведены в табл. 11.1...11.9.
11.5 Производственный контроль качества.
Производственный контроль проводится с целью обеспечения требуемого качества выполнения отдельных технологических операций в соответствии с требованиями проекта, действующих инструкций, технологических карт, норм и правил и своевременной корректировки выполнения этих операций в случае выхода контролируемых параметров за допустимые пределы.
Производственный контроль качества капитального ремонта осуществляется силами и средствами ремонтно-строительного управления: исполнителями работ и службой качества, состоящей из инженерно-технических работников и контролеров полевых лабораторий.
Производственный контроль выполняется непрерывно в течение всего ремонтного процесса и включает две стадии: входной и операционный контроль.
Результаты производственного контроля качества капитального ремонта отражаются в исполнительной документации: специальных журналах, актах или заключениях (прил. А). В документах результаты контроля удостоверяются подписями контролера, исполнителя работ и инспектора технадзора.
11.6 Технический надзор.
Целью технического надзора за качеством ремонтно-строительных работ является контроль за обеспечением выполнения всех проектных и технологических решений, применением современной нормативной базы, а также внедрением передовых методов и средств инструментального контроля.
Технический надзор должен осуществляться и охватывать все объекты и этапы ремонтных работ - от экспертизы проектов до проведения испытания трубопровода. Результаты контроля и освидетельствования (приемки) скрытых работ регистрируются в журналах выполнения соответствующих работ или оформляются актами по формам, приведенным в прил. А.
Технический надзор осуществляется службой технадзора, в том числе организованной в АО МН, имеющей соответствующую лицензию Госгортехнадзора России, которая на местах производства работ создает участки, состоящие из технических инспекторов. Состав участка определяется объемами ремонтных работ и видами выполняемого капитального ремонта.
11.7 Инспекционный надзор.
Инспекционный надзор выполняется на всех стадиях капитального ремонта, начиная с экспертизы проектной документации, с целью проверки эффективности и результативности ранее выполненных производственного контроля и технадзора.
Инспекционный надзор проводится периодически и выборочно региональными органами Госгортехнадзора России, действующими на основании федеральных законов и специальных положений, утвержденных Правительством России, а также представителями АО МН, в соответствии с должностными обязанностями.
В проведении инспекционного надзора должны участвовать представители проектной организации (авторский надзор).
11.8 Окончательное освидетельствование качества капитального ремонта производится при приемке трубопровода приемочной комиссией. Приемка отремонтированного участка нефтепровода производится после завершения всего комплекса ремонтных работ.
Таблица 11.1 контроль качества погрузочно-разгрузочных, транспортных работ и складирования
|
Наименование операции |
Контролируемый показатель |
Форма регистрации контроля |
||
|
производственного |
технического надзора |
|||
|
входного |
операционного |
|||
|
1 |
2 |
3 |
4 |
5 |
|
1. Погрузка труб на трубовозы и разгрузка труб |
Оснащение кранов и трубоукладчиков грузозахватными приспособлениями |
Журнал входного контроля (прил. А, ф. 12) |
- |
- |
|
Наличие площадок под штабели |
- |
Акт геодезической подготовки |
- |
|
|
Правильность складирования труб |
- |
- |
Журнал замечаний |
|
|
Правильность погрузки и разгрузки труб |
||||
|
2, Транспортировка труб трубовозами на трубосварочную базу или трассу |
Наличие необходимого оборудования транспортных средств (коников, амортизирующих прокладок, габаритных фонарей) |
Журнал входного контроля |
- |
- |
|
Количество одновременно перевозимых труб на трубовозе, правильность загрузки и закрепления труб |
Журнал входного контроля |
- |
Журнал замечаний |
|
|
3. Транспортировка трубных секций плетевозами |
Наличие необходимого оборудования и оснащения плетевозов |
Журнал входного контроля |
- |
- |
|
Количество одновременно перевозимых секций на плетевозе, правильность загрузки и закрепления плетей |
- |
- |
Журнал замечаний |
|
|
4. Погрузка трубных секций на плетевозы и разгрузка на трассе |
Оснащение грузоподъемных механизмов грузозахватными приспособлениями |
Журнал входного контроля |
- |
- |
|
Правильность погрузки секций на плетевозы |
- |
- |
Журнал замечаний |
|
|
Правильность разгрузки плетевозов и раскладки секций труб на трассе |
||||
Таблица 11.2 контроль качества и приемка земляных работ
|
Наименование операции |
Контролируемый показатель |
Форма регистрации контроля |
||
|
производственного |
технического надзора |
|||
|
входного |
операционного |
|||
|
1 |
2 |
3 |
4 |
5 |
|
1. Снятие плодородного слоя почвы |
Толщина и ширина слоя |
- |
Журнал производства земляных работ (прил. А, ф. 14) |
Журнал замечаний (прил. А, ф. 13) |
|
Размещение отвала плодородного грунта |
- |
- |
||
|
2. Планировка ремонтной полосы. Восстановление оси трассы |
Высота микрорельефа в зоне работы техники (экскаватора, трубоукладчиков) |
- |
|
|
|
3. Разработка траншеи |
Глубина и ширина траншеи по дну, крутизна откосов |
- |
Журнал производства земляных работ |
|
|
Размещение грунта в боковых приямках для обеспечения свободной зоны вокруг трубопровода при ремонте с подкопом |
|
|
|
|
|
4. Засыпка траншеи |
Контроль качества подготовки постели под трубопровод |
|
|
|
|
Толщина слоя присыпки трубопровода мягким грунтом и структура этого грунта |
|
|
Журнал замечаний Акт на засыпку (обваловку) уложенного трубопровода (прил. А, ф. 34) |
|
|
Толщина засыпаемого слоя грунта над трубопроводом |
|
Журнал производства земляных работ |
|
|
|
5. Техническая рекультивация плодородного слоя почвы |
Толщина возвращаемого плодородного слоя |
|
Журнал производства земляных работ Справка о проведении рекультивации на участке трубопровода (прил. А, ф. 5) |
|
|
Ширина рекультивируемой полосы |
||||
|
Состояние рекультивируемого грунта |
||||
Таблица 11.3 контроль качества очистки поверхности трубопровода
|
Контролируемый показатель |
Форма регистрации контроля |
||
|
производственного |
технического надзора |
||
|
входного |
операционного |
||
|
1 |
2 |
3 |
4 |
|
1. Качество очистки поверхности трубы от старой изоляции |
- |
Журнал производства очистных и изоляционных работ (прил. А, ф. 16) |
Журнал замечаний (прил. А, ф. 13) |
|
2. Степень очистки поверхности трубы перед нанесением изоляционного покрытия |
- |
Журнал производства очистных и изоляционных работ |
Журнал производства очистных и изоляционных работ Журнал замечаний |
Таблица 11.4 контроль качества сварочных работ
|
Наименование операции |
Контролируемый показатель |
Форма регистрации контроля |
||
|
производственного |
технического надзора |
|||
|
входного |
операционного |
|||
|
1 |
2 |
3 |
4 |
5 |
|
1. Подготовка к сварочным работам |
Сварочные материалы (сварочная проволока, флюс, электроды) |
- |
Журнал регистрации результатов механических испытаний допускных и контрольных сварных соединений (прил. А, ф. 33) |
|
|
2. Сварка труб в секции на трубосварочной базе |
Сушка сварочных материалов (электроды, флюс, порошковая проволока) |
- |
Журнал сварки |
|
|
Трубы и трубные заготовки |
Журнал входного контроля качества |
- |
Акт о результатах проверки на соответствие техдокументации (прил. А, ф. 31) |
|
|
Квалификация сварщиков |
- |
Допускной лист |
||
|
Технология сварки |
Акт приемки технологии сварки |
- |
Журнал замечаний |
|
|
Чистота полости труб и качество обработки кромок свариваемых труб |
- |
- |
Журнал замечаний |
|
|
Величина технологических зазоров в стыках и смещения кромок, качество сборки |
- |
- |
||
|
Температура подогрева стыка |
- |
Журнал сварки труб |
Журнал замечаний |
|
|
Длина и количество прихваток |
- |
- |
||
|
Режим сварки корневого слоя шва |
- |
Журнал сварки труб |
||
|
Параметры и внешний вид корневого слоя шва, степень его зачистки |
- |
- |
||
|
Режим автоматической сварки под флюсом заполняющих и облицовочного слоев |
- |
Журнал сварки труб |
||
|
Наличие клейма сварщика на каждом стыке, заводского номера трубы |
- |
|
||
|
Проверка сварных соединений физическими методами неразрушающего контроля |
- |
-²- |
Журнал проверки сварных соединений физическими методами контроля Заключение по проверке качества сварных соединений (прил. А ф. 25) Разрешение на вывозку секций (звеньев) труб на трассу (прил. А, ф. 35) |
|
|
3. Сварка трубопровода на трассе |
Чистота полости труб, степень зачистки кромок и прилегающих к ним поверхностей |
- |
- |
Журнал замечаний |
|
Величина технологических зазоров и смещения кромок при сборке стыков |
||||
|
Параметры режима сварки |
- |
Журнал сварки труб |
||
|
Наличие клейма сварщика на каждом стыке, порядкового номера на каждой плети |
||||
|
Внешний вид и геометрия сварного шва |
|
Журнал сварки труб |
|
|
|
Проверка сварных стыков физическими методами неразрушающего контроля |
|
|
Журнал проверки сварных соединений физическими методами контроля (прил. А, ф. 32). Заключение по проверке качества сварных соединений (прил. А, ф. 25) Акт на сварку гарантийного стыка |
|
|
4. Сварочные работы при восстановительном ремонте стенки трубы: монтаж композитных муфт заварка (наплавка) дефектов |
Качество сборки муфт |
|
|
Журнал замечаний |
|
Качество зачистки поверхности с дефектом |
|
|
Журнал замечаний |
|
|
Параметры режима сварки |
|
Журнал сварки |
||
|
Внешний вид и геометрия заваренных дефектов |
||||
|
Ультразвуковой контроль |
|
|
Журнал проверки сварных соединений физическими методами контроля. Заключение по ультразвуковому контролю качества сварных соединений |
|
Таблица 11.5 контроль качества изоляционных работ
|
Наименование операции |
Контролируемый показатель |
Форма регистрации контроля |
||
|
производственного |
технического надзора |
|||
|
входного |
операционного |
|||
|
1 |
2 |
3 |
4 |
5 |
|
1. Входной контроль изоляционных материалов заводского изготовления |
Соответствие изоляционных материалов требованиям ТУ, ГОСТ |
- |
- |
|
|
2. Изготовление грунтовки и мастики в трассовых условиях |
Соответствие компонентов требованиям ТУ, ГОСТ (физико-химические свойства) |
- |
- |
|
|
|
Компонентный состав |
|
Журнал производства очистных и изоляционных работ (прил. А, ф. 16) |
|
|
3. Нанесение изоляционного покрытия |
Режим нанесения изоляционного покрытия (температура окружающего воздуха, трубы, битумной мастики) |
_ |
Журнал производства очистных и изоляционных работ (прил. А, ф. 16) |
Журнал замечаний |
|
Конструкция покрытия (толщина, количество слоев, величина нахлеста ленточных материалов) |
||||
|
Качество нанесенного изоляционного покрытия (толщина, сплошность, адгезия) |
- |
-²- |
Журнал замечаний. |
|
|
Защитные свойства изоляционного покрытия (после засыпки трубопровода) |
- |
- |
Акт о контроле сплошности изоляционного покрытия (прил. А, ф. 28). Акт оценки качества изоляции отремонтированных участков методом катодной поляризации (прил. А, ф. 29) |
|
Таблица 11.6 контроль качества работ по подъему, поддержанию и укладке трубопровода
|
Наименование операции |
Контролируемый показатель |
Форма регистрации контроля |
||
|
производственного |
технического надзора |
|||
|
входного |
операционного |
|||
|
1 |
2 |
3 |
4 |
5 |
|
1. Подъем или поддержание ремонтируемого участка трубопровода |
Оснащенность трубоукладчиков исправными грузозахватными приспособлениями (троллеями, полотенцами) |
Журнал входного контроля |
- |
Журнал замечаний |
|
Количество, грузоподъемность трубоукладчиков |
Журнал входного контроля |
- |
- |
|
|
Правильность расстановки трубоукладчиков и ремонтных машин (очистной, изоляционной) |
- |
- |
Журнал замечаний |
|
|
Давление нефти на ремонтируемом участке |
- |
Журнал телефонограмм (телефонограммы от диспетчера) |
- |
|
|
Общая длина поднимаемого (или поддерживаемого) участка |
- |
- |
Журнал замечаний |
|
|
Усилие подъема на крюках трубоукладчиков |
- |
- |
||
|
2. Поддержание ремонтируемого трубопровода при ремонте с подкопом (в дополнение к п. 1) 3. Укладка отремонтированного трубопровода в проектное положение |
Длина подкопанного участка |
- |
- |
Журнал замечаний |
|
Расстояние между механизмами: экскаватором и подкапывающей машиной; передним трубоукладчиком и подкапывающей машиной; задним трубоукладчиком и присыпанным участком трубопровода |
- |
- |
||
|
Сохранность изоляционного покрытия |
- |
- |
||
|
Плотность прилегания трубопровода ко дну траншеи по всей его длине |
- |
- |
||
|
Соответствие положения уложенного трубопровода проектному |
- |
|
||
Таблица 11.7 контроль качества очистки полости, испытаний на прочность и проверки на герметичность
|
Наименование операции |
Контролируемый показатель |
Форма регистрации контроля |
||
|
производственного |
технического надзора |
|||
|
входного |
операционного |
|||
|
1 |
2 |
3 |
4 |
5 |
|
1. Очистка полости (после ремонта с заменой труб) |
Выход очистного или разделительного устройства неразрушенным |
- |
- |
|
|
2. Испытание на прочность (после ремонта с заменой труб) |
Испытательная среда |
- |
- |
Акт испытания на прочность и проверки на герметичность (прил. А, ф. 8) |
|
Контроль проходимости (геометрии) труб |
||||
|
Величина испытательного давления в верхней и нижней точках |
||||
|
Время выдержки под испытательным давлением |
||||
|
3. Проверка герметичности (при всех видах ремонта с восстановлением прочности трубопровода) |
Величина рабочего давления Отсутствие выхода нефти |
- |
- |
|
Таблица 11.8 контроль качества ремонта средств электрохимзащиты
|
Наименование операции |
Контролируемый показатель |
Форма регистрации контроля |
||
|
производственного |
технического надзора |
|||
|
входного |
операционного |
|||
|
1 |
2 |
3 |
4 |
5 |
|
1. Ремонт устройств электрохимзащиты |
Наличие проекта |
Журнал входного контроля |
|
Журнал замечаний |
|
Комплектность монтируемого оборудования |
||||
|
Качество выполненных электромонтажных работ |
|
- |
Акт на скрытые работы при ремонте (в т.ч. с заменой и устройством) анодного заземления (прил. А, ф. 21). Акт на скрытые работы при ремонте (в т.ч. с заменой и устройством) протекторной установки (прил. А, ф. 22). Акт на скрытые работы при замене (прокладке) кабеля (прил. А, ф. 23). Акт на скрытые работы при восстановлении контрольно-измерительных пунктов (прил. А, ф. 24). |
|
|
2. Восстановление средств электрохимзащиты |
Качество выполненных работ |
- |
- |
Акт на скрытые работы по восстановлению средств электрохимзащиты (прил. А, ф. 20) |
Таблица 11.9 контроль качества установки арматуры и оборудования
|
Наименование операции |
Контролируемый показатель |
Форма регистрации контроля |
||
|
производственного |
технического надзора |
|||
|
входного |
операционного |
|||
|
1 |
2 |
3 |
4 |
5 |
|
1. Ремонт узла линейной арматуры (задвижки, узла приема и пуска очистных устройств и др.) |
Наличие проекта |
Журнал входного контроля |
- |
Журнал замечаний |
|
Комплектность оборудования |
||||
|
Качество выполненных работ |
- |
Ведомость установленной арматуры и оборудования (прил. А, ф. 4) |
Акт приемки узла запорной арматуры, узла приема и пуска очистных устройств (прил. А, ф. 6) |
|
12.1 Сдача отремонтированного участка магистрального нефтепровода заказчику должна производиться после полной готовности участка (засыпки, обвалования или крепления, подключения новых участков, установки арматуры и приборов, восстановления средств ЭХЗ, пикетных и километражных знаков), проведения контроля состояния изоляции методом катодной поляризации, проверки на прочность и герметичность, а также работ по рекультивации в соответствии с рабочим проектом.
12.2 Приемка отремонтированного участка нефтепровода осуществляется приемочной комиссией, назначенной руководителем предприятия-заказчика (АО МН или РУМН).
В состав приемочной комиссии входят:
|
председатель комиссии - |
представитель заказчика (эксплуатирующей организации - АО МН или РУМН); |
|
члены комиссии: - |
представители генерального подрядчика и субподрядчиков; представители проектной организации; представители трубопроводной инспекции Госгортехнадзора и технического надзора. |
Порядок и продолжительность работы приемочной комиссии определяются заказчиком по согласованию с генеральным подрядчиком.
12.3 При приемке в эксплуатацию отремонтированного участка нефтепровода комиссия должна руководствоваться нормами, правилами, техническими условиями и другими нормативными документами, действующими в период проектирования и производства капитального ремонта.
12.4 Запрещается приемка в эксплуатацию отремонтированного участка с недоделками, препятствующими безопасной эксплуатации, с отступлением от утвержденного проекта, без проверки качества выполненных работ и без испытания замененного участка.
12.5 В процессе сдачи отремонтированного участка генеральный подрядчик (РСУ) должен представить комиссии комплект приемо-сдаточной документации, в состав которого входят:
перечень организаций, участвовавших в ремонте нефтепровода, с указанием видов выполненных ими работ и фамилий лиц, ответственных за выполнение этих работ;
сертификаты, технические паспорта и другие документы, удостоверяющие качество материалов, труб, конструкций и деталей, примененных при производстве ремонтных работ;
исполнительная проектная документация - комплект рабочих чертежей на ремонт предъявляемого к приемке участка нефтепровода с надписями о соответствии выполненных в натуре работ этим чертежам или внесенным в них изменениям, сделанным лицами, ответственными за производство ремонтных работ;
комплект исполнительной производственной документации - акты об освидетельствовании скрытых работ и о промежуточной приемке отдельных ответственных конструкций (узлов линейной арматуры, приема и пуска очистных устройств), журналы производства работ, материалы обследования и проверок в процессе ремонтных работ органами государственного и другого надзора, акты об индивидуальных испытаниях смонтированных участков согласно прил. А. При необходимости могут быть представлены рекомендуемые документы согласно [12].
12.6 Акт приемки отремонтированного участка нефтепровода в эксплуатацию, составляемый по форме № 36, приведенной в прил. А, подлежит утверждению руководителем организации заказчика (эксплуатирующей организации - АО МН или РУМН).
Датой ввода в эксплуатацию отремонтированного участка нефтепровода считается дата подписания акта приемочной комиссией.
12.7 После окончания работы приемочной комиссии приемо-сдаточная документация передается заказчику и хранится наравне с документацией по строительству нефтепровода.
13.1.1 Руководители работ по капитальному ремонту нефтепроводов должны обеспечить выполнение требований следующих документов [23, 24, 25, 26, 27], а также разделов техники безопасности инструкций по эксплуатации машин, механизмов и специальных технических средств, используемых при ремонте;
нормативных документов по капитальному ремонту магистральных нефтепроводов;
инструкций по охране труда.
13.1.2 Ответственность за соблюдение требований безопасности при эксплуатации машин, инструмента, инвентаря, технологической оснастки, оборудования, а также средств коллективной и индивидуальной защиты работающих возлагается:
за техническое состояние машин и средств защиты - на организацию, на балансе которой они находятся;
за проведение обучения и инструктажа по безопасности труда - на организацию, в штате которой состоят работающие;
за соблюдение требований безопасности труда при производстве работ - на организацию, осуществляющую работы.
13.1.3 Капитальный ремонт подземных трубопроводов должен производиться под руководством ответственного работника (начальника ремонтно-строительного участка, прораба, мастера РСУ или РУМН), прошедшего проверку знаний правил производства работ в квалификационной комиссии РСУ или РУМН и допущенного к руководству этими работами.
13.1.4 К капитальному ремонту подземных трубопроводов могут быть допущены лица не моложе 18 лет, обученные и успешно прошедшие проверку знаний согласно [26].
13.1.5 Ремонтные работы на магистральных нефтепроводах, входящие в перечень работ повышенной опасности и газоопасных работ, должны производиться после оформления «Наряда-допуска на организацию и производство работ повышенной опасности» и «Наряда-допуска на проведение газоопасных работ», предусматривающих разработку и выполнение комплекса мероприятий по подготовке и безопасному проведению работ.
13.1.6 Наряды-допуски оформляются в двух экземплярах и должны выдаваться на срок, необходимый для выполнения заданного объема работ. Исправления в нарядах-допусках не допускаются. Все наряды-допуски должны быть строго пронумерованы и учтены в специальном журнале. Срок хранения закрытого наряда-допуска 30 дней.
13.1.7 До начала работ рабочие, занятые ремонтом нефтепровода, должны быть проинструктированы по безопасным методам и приемам работ лицом, ответственным за их производство, с обязательной записью об этом в «Журнале регистрации инструктажей на рабочем месте» согласно [26].
13.1.8 По всем профессиям и работам технологического процесса должны быть разработаны и утверждены главным инженером РСУ инструкции и положения по технике безопасности и пожарной безопасности.
13.1.9 В случае введения новых приемов работ по ремонту подземных трубопроводов, применения новых материалов, новых видов ремонтно-строительных машин и механизмов, по которым безопасные приемы и методы работ не предусмотрены действующими нормативно-техническими документами по охране труда и технике безопасности, следует их разработать в АО МН (РУМН) или РСУ в соответствии с требованиями [28].
13.1.10 Контроль воздушной среды в траншее должен проводиться каждый раз перед началом и в процессе проведения сварочных, огневых и изоляционных работ через каждые 2 часа.
13.1.11 Если в процессе работы в стенках траншеи появились трещины, грозящие обвалом, то рабочие должны немедленно покинуть ее; стенку с трещинами следует обрушить, грунт удалить и принять меры против обрушения грунта (укрепление стенок траншеи, срезание грунта для увеличения откосов и др.).
13.1.12 Для обеспечения возможности быстрого выхода работающих из траншеи следует устанавливать стремянки с уклоном 1:3 с планками через 0,15...0,25 м из расчета 2 лестницы на 5 человек, работающих в траншее, и устраивать выходы (не менее двух) с противоположных сторон.
13.1.13 Во время остановок для перехода через траншею следует устанавливать инвентарный мостик шириной не менее 0,8 м с перилами высотой 1 м, имеющий не менее одной промежуточной опоры. Промежуточная опора не должна опираться на трубу и задевать ее.
13.1.14 Диспетчер РУМН должен иметь устойчивую постоянную двустороннюю радиотелефонную связь с мастером ремонтной колонны (бригады).
Мастер ремонтной колонны (бригады) должен иметь устойчивую радиосвязь с участками вскрышных, очистных, восстановительных (сварочных), изоляционных работ и участком по засыпке и рекультивации.
13.1.15 Персонал, занятый ремонтом трубопровода, должен быть обучен правилам и приемам оказания первой (доврачебной) помощи.
Ремонтная колонна должна быть обеспечена аптечкой с медикаментами и перевязочными материалами.
13.1.16 При несчастном случае необходимо оказать первую помощь пострадавшему, вызвать скорую медицинскую помощь, сообщить об этом непосредственному начальнику и сохранить без изменения обстановку на рабочем месте до расследования, если это не создает угрозу для работающих и не приведет к аварии.
13.1.17 На ремонтных участках должны быть организованы места для приема пищи, отдыха и сна (вагончики), которые в холодное время должны отапливаться. В вагончиках должны быть умывальники, душ, сушилки.
13.1.18 Ремонт нефтепровода следует проводить в светлое время суток. При продолжении работ с наступлением темноты должна быть обеспечена требуемая освещенность рабочих мест согласно [29].
13.1.19 Рабочие должны быть обеспечены спецодеждой и спецобувью, средствами индивидуальной защиты и предохранительными приспособлениями согласно отраслевым нормам бесплатной выдачи одежды, спецобуви и других средств индивидуальной защиты.
13.1.20 На месте производства работ ремонтной колонны (звена, бригады) постоянно должен дежурить вахтовый автотранспорт.
Транспортные средства, предназначенные для перевозки людей, должны быть исправными и подвергаться ежедневному контролю технического состояния.
13.1.21 Зимой для работы на участках с поперечными уклонами и на косогорах на гусеницы землеройных и грузоподъемных машин следует приварить скобы против бокового скольжения.
13.1.22 Перед началом работ электростанции и сварочные агрегаты следует заземлять.
13.1.23 К управлению и техническому обслуживанию ремонтных машин допускаются только лица, имеющие право на управление машиной данного типа.
Все машины должны эксплуатироваться в соответствии с инструкциями по их эксплуатации.
13.1.24 При производстве работ в охранных зонах действующих коммуникаций следует руководствоваться следующими документами [30, 3, 4, 6, 31].
13.1.25 Переезд землеройных и других машин над действующими коммуникациями допускается только по специально оборудованным переездам, в местах, указанных в ППР. Эти переезды устраивают из сборных железобетонных плит. На участках, где действующие коммуникации заглублены менее 0,8 м, должны быть установлены знаки с надписями, предупреждающими об особой опасности.
13.2.1 При разработке и планировке грунта двумя и более машинами, идущими друг за другом, необходимо соблюдать расстояние между ними не менее 14 м.
13.2.2 Во избежание повреждения трубопровода ковшом экскаватора, не приспособленным для полного вскрытия, необходимо разрабатывать грунт на расстоянии 0,15...0,20 м до верхней и боковых образующих трубы.
13.2.3 Если при вскрытии трубопровода появилась течь нефти, необходимо прекратить вскрышные работы, заглушить экскаватор и работающие вблизи выхода нефти механизмы, персоналу уйти из опасной зоны, доложить о случившемся руководителю работ и диспетчеру РУМН и принять меры по предотвращению растекания нефти. Место разлива нефти должно быть ограждено предупредительными знаками и надписями: «С огнем не приближаться!», «Не курить!», «Опасно - нефть!», а в ночное время выставлены сигнальные фонари.
13.2.4 При вскрытии траншеи экскаватором грунт должен выбрасываться на расстояние не менее 0,5 м от бровки траншеи в сухих и связанных грунтах и не менее 1 м в песчаных и увлажненных грунтах.
13.2.5 При работе экскаватора не разрешается производить какие-либо другие работы со стороны разрабатываемой траншеи и находиться людям ближе 5 м от зоны максимального выдвижения ковша.
13.2.6 Во время длительных остановок, в темное время суток и в конце смены ремонтируемый участок нефтепровода должен опираться на лежки. В качестве лежек могут быть использованы гидравлические, механические крепи-опоры, а также металлические или деревянные брусья.
13.2.7 Перед засыпкой трубопровода лицо, ответственное за безопасное проведение работ, должно убедиться в отсутствии людей и посторонних предметов в траншее.
13.3.1 Число и грузоподъёмность трубоукладчиков или других грузоподъёмных механизмов, а также порядок подъёма и расстановки должны строго соответствовать ППР. Запрещается поднимать нефтепровод одним трубоукладчиком.
13.3.2 Перед подъёмом нефтепровода необходимо:
проверить исправность приводов ближайших линейных задвижек и в случае неисправности отремонтировать;
произвести тщательный осмотр всех механизмов и приспособлений, применяемых в процессе подъёма;
проверить состояние канатов, блоков и тормозных устройств кранов-трубоукладчиков и других грузоподъёмных механизмов и приспособлений, мягких полотенец, троллейных подвесок;
проверить сроки испытаний грузозахватных приспособлений;
установить грузоподъёмные механизмы вдоль трассы.
13.3.3 После проверки готовности к работе бригады, подъёмных механизмов и приспособлений, связи (телефонной и радио) и наличия дежурных от эксплуатирующей организации у ближайших линейных задвижек руководитель работ с разрешения диспетчера может приступить к подъёму нефтепровода. Запрос и разрешение должны оформляться телефонограммой.
Руководитель работ должен информировать диспетчера об окончании работ телефонограммой.
13.3.4 Подъём (опускание) нефтепровода следует производить плавно, без рывков.
13.3.5 При ремонте с укладкой трубопровода на лежки в качестве лежек должны применяться деревянные бруски, железнодорожные шпалы или опоры-крепи типа КР. Число лежек и расстояние между ними определяется расчетом в зависимости от диаметра ремонтируемого нефтепровода, высоты его подъёма, температуры перекачиваемой нефти. Лежки должны быть расположены на расстоянии не менее 3 м от поперечного шва.
13.3.6 Перемещать, удалять и укладывать лежки под нефтепровод следует баграми за специальные скобы на лежках и только после полного торможения подъёмного механизма.
13.3.7 Запрещается выполнять работы по подъёму и укладке нефтепровода во время гололеда, тумана, ветра со скоростью выше 6 м/с. После ливня, затяжных дождей или сильного ветра руководитель работ обязан убедиться в отсутствии опасных нарушений устойчивости откосов, отдельных выступов, образования подмывов траншеи и только после этого начинать работы.
13.3.8 При возникновении аварийной ситуации руководитель работ обязан сообщить о случившемся диспетчеру РУМН (который организует закрытие ближайших линейных задвижек, отключающих ремонтируемый участок и вызов аварийно-восстановительной бригады к месту аварии), и приступает к ликвидации нарушения герметичности нефтепровода и локализации разлива нефти в соответствии с планом ликвидации возможных аварий.
13.4.1 Все сварочные работы должны выполняться с соблюдением требований [25, 32] и др.
13.4.2 Сварочные работы при ремонте нефтепровода разрешается выполнять только при наличии «Наряда-допуска на проведение огневых работ на взрывоопасных и пожароопасных объектах».
13.4.3 Оперативный контроль за состоянием условий труда при выполнении сварочных работ должен осуществляться в соответствии с требованиями [26].
13.4.4 До проведения сварочных работ следует выполнить мероприятия по размагничиванию намагниченного трубопровода.
13.4.5 При сварочных работах воздушная среда должна контролироваться непосредственно на месте производства сварочных работ, а также в опасной зоне с учетом возможных источников паров и газов.
Результаты анализов заносятся в таблицу, приложенную к наряду-допуску на проведение сварочных работ.
Контроль воздушной среды должен проводиться в присутствии лица, ответственного за проведение сварочных работ.
13.4.6 Запрещается проводить сварочные работы во время грозы, дождя, снегопада и при скорости ветра более 10 м/с без выполнения дополнительных мероприятий по защите рабочих мест от воздействия этих помех.
13.4.7 Ответственными за подготовку трубопровода к проведению сварочных работ должны быть назначены инженерно-технические работники РУМН, а за проведение сварочных работ на нефтепроводе - инженерно-технические работники организации-подрядчика (РСУ).
13.4.8 Допускается назначение одного лица ответственным за подготовку и проведение сварочных работ на нефтепроводе из числа инженерно-технических работников РУМН, РСУ, знающих правила безопасного ведения сварочных работ в условиях взрывоопасного и взрывопожароопасного производства.
13.4.9 Перечень должностных лиц, имеющих право совмещать обязанности ответственных за подготовку и проведение сварочных работ на нефтепроводах, должен быть определен приказом по АО МН (РУМН).
13.4.10 Ответственный за подготовку нефтепровода к проведению сварочных работ обязан:
организовать выполнение и проверку качества выполнения мероприятий по подготовке нефтепровода к проведению сварочных работ;
обеспечить такой режим перекачки, чтобы давление в нефтепроводе на месте производства сварочных работ не превышало допустимых значений;
обеспечить своевременный анализ воздушной среды на месте производства работ;
обеспечить очистку участка от остатков нефти, старого изоляционного покрытия и других сгораемых материалов;
определить совместно с ответственным за проведение сварочных работ опасную зону и обозначить ее границы предупредительными знаками и надписями;
обеспечить место проведения сварочных работ необходимыми средствами пожаротушения и защиты, которые следует разместить в вагон-складе;
обеспечить установку манометров на ближайших отсекающих задвижках для непрерывного контроля за давлением перекачиваемой нефти на ремонтируемом участке нефтепровода;
обеспечить оформление и согласование наряда-допуска на проведение огневых работ с пожарной охраной;
при отсутствии дистанционного управления запорной арматурой организовать дежурство персонала со средствами радиосвязи на отсекающих участок ремонта задвижках.
13.4.11 Ответственный за проведение сварочных работ на нефтепроводе обязан:
организовать выполнение мероприятий, указанных в наряде-допуске на проведение огневых работ;
провести инструктаж по технике безопасности и пожарной безопасности со всеми работниками, занятыми сварочными работами, проверить наличие у них квалификационных удостоверений и удостоверений о проверке знаний правил техники безопасности и пожарной безопасности;
каждый раз перед началом работ проверять исправность и комплектность оборудования, инструмента и приспособлений для выполнения сварочных работ;
обеспечить исполнителей работ индивидуальными средствами защиты (противогазами, спасательными поясами, веревками), не допускать использование спецодежды со следами масел, бензина, керосина и других горючих жидкостей;
ознакомить исполнителей работ с планом ликвидации возможных аварий и загораний на данном участке, разрабатываемым в составе проекта производства работ;
руководить сварочными работами и контролировать их выполнение;
перед началом и в процессе выполнения работ контролировать через диспетчера РУМН или оператора НПС значение давления перекачиваемой нефти на ремонтируемом участке и следить, чтобы оно не превышало допустимого; в случае повышения давления немедленно принять меры к прекращению сварочных работ;
записывать в журнал телефонограмм извещения диспетчера РУМН или оператора НПС об установлении соответствующего режима перекачки, а также извещения о начале и окончании сварочных работ на нефтепроводе;
при производстве сварочных работ в траншее определить места для страхующих (не менее двух) на бровке траншеи и обеспечить непрерывную страховку электросварщика спасательной веревкой, привязанной к его предохранительному поясу;
проводить анализ воздушной среды в траншее и опасной зоне перед началом и в процессе производства работ;
в случае повышения концентрации углеводородов выше ПДК немедленно прекратить сварочные работы;
следить за тем, чтобы во время сварочных работ при отсутствии требуемого технологического разрыва в траншее не находились люди, не связанные со сварочными работами, и были прекращены все ремонтные работы;
в случае прожога стенки трубы немедленно сообщить оператору НПС или диспетчеру РУМН и до приезда аварийно-восстановительной бригады приступить к проведению работ по ликвидации повреждений и тушению загорания в соответствии с планом ликвидации возможных аварий и возгораний;
проверить по окончании сварочных работ место работы на отсутствие очагов возможного пожара;
ежедневно заполнять журнал сварочных работ.
13.4.12 Электросварщик, допущенный к сварочным работам, обязан:
иметь квалификационное удостоверение и удостоверение о проверке знаний;
ознакомиться с объёмом предстоящих работ;
получить инструктаж и расписаться в наряде-допуске на проведение огневых работ;
надеть поверх спецодежды предохранительный пояс и привязать к нему конец страховочной веревки, свободный конец которой должен быть у страхующих;
приступить к сварочным работам только после указания ответственного за их проведение;
строго выполнять только ту работу, которая указана в наряде-допуске;
строго выполнять требования техники безопасности и пожарной безопасности;
уметь пользоваться первичными средствами пожаротушения и средствами индивидуальной защиты;
работать в костюме из трудновоспламеняющейся ткани, использовать в необходимых случаях диэлектрические коврики, наколенники, налокотники и наплечники (например, при сварочных работах в потолочном положении);
прекратить сварочные работы при возникновении опасной ситуации (прожога стенки трубы) и немедленно, самостоятельно или при помощи страхующих, покинуть опасную зону;
после окончания работы проверить место работы и устранить причины, которые могут привести к возникновению пожара или взрыва.
13.5.1 Перед началом очистки и изоляции необходимо:
проверить степень загазованности траншеи через каждые 100 м с помощью газоанализатора;
проверить на отсутствие обрывов и целостность изоляции на силовом кабеле очистной и изоляционной машин;
заземлить передвижную электростанцию;
проверить надежность контакта клеммы «Земля» на очистной и изоляционной машинах с нулевой жилой силового кабеля;
проверить крепление и правильность установки предохранительных щитков рабочей части очистной и изоляционной машин;
во избежание нарушения целостности трубопровода и поломки машины тщательно осмотреть наружную поверхность трубы и сделать отметки хомутов, накладок, латок, вантузов и других препятствий на трубопроводе.
13.5.2 Не допускается нахождение рабочих в траншее во время работы ремонтных машин.
13.5.3 При очистке трубопровода с сильно прокорродированной поверхностью во избежание проникновения металлической пыли и частиц изоляционного покрытия в дыхательные органы и глаза машинистам очистной и изоляционной машин следует пользоваться индивидуальными средствами защиты (респираторами, марлевыми повязками, предохранительными очками).
13.5.4 При приготовлении грунтовки в смесителях расплавленный и охлажденный до температуры не более 100 °С битум должен постепенно вливаться в бензин, а не наоборот.
13.5.5 При работе с грунтовками и растворителями запрещается:
применять этилированный бензин и бензол;
хранить и транспортировать их в открытой таре (без герметичной закупорки);
бросать заполненную тару при погрузке и выгрузке;
вывинчивать пробки и открывать крышки, ударяя по ним металлическими предметами, вызывающими искрообразование;
перемешивать и переливать их ближе 50 м от открытого огня.
13.5.6 Рулоны изоляционных материалов и грунтовку в трассовых условиях необходимо перевозить в специально оборудованном транспорте (бортовых машинах и тягачах, крытых тентом).
13.5.7 При нанесении грунтовки вручную на наружную поверхность нефтепровода производить какую-либо другую работу, связанную с применением открытого огня ближе 50 м от этого участка, запрещается.
13.5.8 Категорически запрещается курить и производить действия, ведущие к появлению искр в местах приготовления, хранения, нанесения грунтовки, а также при нанесении изоляции.
13.5.9 Рабочая площадка для приготовления битумной мастики выбирается из расчета установки котлов на расстоянии 150...200 м от построек и не менее 50 м от траншеи и оборудуется удобными подъездными путями.
Вокруг котлов на расстоянии до 5 м не должно быть легковоспламеняющихся материалов и посторонних предметов.
13.5.10 В месте приготовления битумной мастики должен постоянно находиться комплект противопожарных средств: ящик с сухим песком (объёмом не менее 1 м3), лопаты, технический войлок, брезент или асбестовое полотно, углекислотный огнетушитель ОУБ-7 (один на каждый котел).
13.5.11 При возгорании в котле битумной мастики необходимо плотно закрыть котел крышкой и потушить топку (прекратить подачу топлива), а затем приступить к тушению горящей битумной мастики, пользуясь огнетушителями или песком.
Запрещается тушить воспламенившуюся битумную мастику водой или снегом.
13.5.12 При использовании полимерных пленок запрещается:
разводить открытый огонь на расстоянии ближе 50 м от мест хранения пленки и грунтовки и размещения изоляционной машины;
перевозить людей в кузовах транспортных средств вместе с изоляционными материалами.
13.5.13 Во время очистки и изоляции нефтепровода в траншее необходимо:
при обнаружении утечки нефти из нефтепровода немедленно отключить кабель, питающий очистную и изоляционную машины и остановить работу передвижной электростанции;
выключить рабочий орган машины при проходе препятствий (хомуты, муфты, латки, вантузы и др.);
следить, чтобы силовой электрокабель был достаточно удален от вращающихся деталей и узлов машины;
замену резцов и прочие наладочные, ремонтные и регулировочные работы на машине производить только после остановки очистной и изоляционной машин, укладки трубопровода на лежки и отключения питающего кабеля, при этом необходимо вывесить плакат: «Не включать - работают люди!».
13.6.1 Перед началом продувки или испытания на прочность и герметичность отремонтированного участка магистрального трубопровода воздухом должны быть определены и обозначены знаками опасные зоны, указанные в таблице 13.1.
Таблица 13.1 радиус опасной зоны при испытаниях воздухом
|
Радиус опасной зоны, м |
|||
|
при очистке полости в обе стороны от оси трубопровода |
при очистке полости в направлении вылета ерша или поршня |
при испытании в обе стороны от трубопровода |
|
|
300...500 |
60 |
800 |
150 |
|
500...800 |
60 |
800 |
200 |
|
800...1200 |
100 |
1000 |
250 |
13.6.2 При очистке трубопроводов всех диаметров водой охранная зона устанавливается в 25 м по обе стороны от трубопровода и в 100 м по направлению вылета поршня-разделителя.
13.6.3 При гидравлических испытаниях и удалении воды из трубопроводов должны быть установлены опасные зоны согласно табл. 13.2 и обозначены на местности предупредительными знаками.
Таблица 13.2. Радиус опасной зоны при испытаниях водой
|
Радиус опасной зоны, м |
||
|
в обе стороны от оси трубопровода |
в направлении возможного отрыва заглушки от торца трубопровода |
|
|
300...800 |
75 |
800 |
|
800...1220 |
100 |
1000 |
13.6.4 Весь персонал, привлекаемый к гидравлическим испытаниям нефтепровода, должен пройти внеочередной инструктаж по технике безопасности и пожарной безопасности, ознакомиться с приказом по испытанию нефтепровода, целями, задачами и особенностями предстоящих испытаний, а также порядком действий и обязанностями при возникновении аварийных ситуаций при испытаниях.
13.6.5 В процессе испытаний персонал, механизмы и оборудование должны находиться за пределами охранной зоны.
13.6.6 Для контроля за процессом испытаний необходимо предусмотреть наземные посты наблюдения, расположение которых устанавливается комиссией (в наиболее низкой точке профиля трассы, в начале и конце испытываемого участка, а также в местах переходов через водные преграды, железные и автомобильные дороги, со стороны возможного появления людей, скота и т.д.). Посты наблюдения должны иметь связь с пунктом управления испытаниями.
На весь период испытаний на постах наблюдения должно быть обеспечено круглосуточное дежурство наблюдателей. В состав каждой дежурной смены должно входить не менее двух наблюдателей. Отлучаться с поста наблюдателям запрещается.
13.6.7 Замер параметров испытания должен производиться дистанционными приборами, вынесенными за пределы охранной зоны.
Допускается установка манометров вблизи нефтепровода над поверхностью земли. В этом случае для снятия показаний манометров должны применяться оптические средства.
13.6.8 При проведении испытаний в темное время суток рабочие площадки, посты наблюдения, приборы, должны быть освещены.
13.6.9 Осмотр нефтепровода с целью выявления дефектов и повреждений разрешается только после снижения давления до рабочего.
14.1 Организационно-технические противопожарные мероприятия при проведении капитального ремонта подземных трубопроводов должны выполняться с соблюдением требований следующих документов [33, 34, 35, 14, 24].
14.2 Ответственность за организацию и обеспечение пожарной безопасности при проведении ремонтных работ с момента принятия нефтепровода в капитальный ремонт возлагается в целом на начальника подрядной организации (РСУ).
Ответственность за соблюдение безопасных режимов перекачки при производстве капитального ремонта несет организация, эксплуатирующая нефтепровод.
14.3 В ППР должны быть отражены противопожарные мероприятия, подлежащие выполнению при размещении и планировке временных жилых городков, стоянок автотранспортной техники, складской зоны, площадки приготовления мастик и грунтовок, полосы трассы в зоне движения машин и механизмов, обеспечивающих проезд к водоемам, предназначенным для использования при пожаротушении.
14.4 В ППР следует предусмотреть мероприятия, исключающие возможность разлива нефти при аварии в сторону временных жилых городков, жилых и общественных зданий, промышленных и сельскохозяйственных предприятий, рек и водоемов, расположенных по рельефу местности ниже трубопровода.
14.5 Начальник РСУ обязан:
организовать в подведомственных подразделениях изучение и выполнение требований настоящих Правил и следующих документов [33, 34, 35, 14, 24];
создать из числа работников РСУ пожарные дружины (ПД);
организовать проведение противопожарного инструктажа и занятий по пожарно-техническому минимуму;
установить на ремонтных участках противопожарный режим в соответствии с требованиями настоящих Правил (определить места для курения, установить места размещения и допустимое количество горючих материалов, порядок проведения огневых работ и т.п.) и контроль за его неукоснительным выполнением;
лично проводить оперативный контроль за состоянием пожарной безопасности в местах проведения ремонтных работ, проверять наличие и исправность технических средств предупреждения и тушения пожаров, боеспособность ПД;
финансировать приобретение средств пожаротушения и выполнение противопожарных мероприятий.
14.6 Ответственность за пожарную безопасность на ремонтном участке возлагается на начальника РСК, который наряду с выполнением общих требований пожарной безопасности обязан:
обеспечить обучение рабочих специфическим требованиям пожарной безопасности на их рабочих местах;
руководить подготовкой ПД и ее действиями по тушению возникших пожаров;
обеспечить исправность и готовность к действию пожарной техники и других средств пожаротушения, находящихся в колонне, замену использованных и пришедших в негодность первичных средств пожаротушения;
обеспечить наличие, исправность и проверку средств связи;
обеспечить исправное состояние дорог, проездов и путей следования пожарной техники на участок;
обеспечить немедленный вызов пожарных подразделений в случае пожара или опасности его возникновения при аварии; одновременно приступить к ликвидации пожара или аварии имеющимися в наличии силами и средствами.
14.7 Ответственность за соблюдение установленных противопожарных мероприятий на каждом рабочем месте возлагается на непосредственных исполнителей работ.
14.8 Все лица, поступающие на работу в РСК, должны пройти инструктаж по вопросам пожарной безопасности на рабочем месте.
14.9 При введении в эксплуатацию нового оборудования, оказывающего влияние на пожарную безопасность, с рабочими данного участка проводится дополнительный инструктаж.
14.10 На каждом ремонтном участке должна быть инструкция «О мерах пожарной безопасности», планы ликвидации аварий и тушения пожара, разработанные с учетом конкретных условий проведения ремонтных работ.
14.11 РСК должна иметь в своем составе или привлекать от РУМН следующие первичные средства пожаротушения:
пожарную автоцистерну объемом не менее 2000 л, заполненную 5...6 % раствором пенообразователя, или цистерну с мотопомпой МП-1600, укомплектованную рукавами, стволами и пеногенераторами;
кошму войлочную или асбестовое полотно размером 2×2 м;
огнетушители порошковые ОПУ-10, или углекислотные ОУ-6, ОУ-40;
лопаты, топоры, ломы.
Перечисленные средства пожаротушения должны перемещаться вместе с РСК. Они должны быть окрашены в соответствии с требованиями [36].
14.12 При отрицательной температуре воздуха раствор пенообразователя в цистерне должен подогреваться для предотвращения его замерзания. Перед сварочными работами пожарная автоцистерна устанавливается на боевую позицию не ближе 30 м от места сварочных работ, развертываются пожарные рукава, производится опробование качества вырабатываемой пены, заменяется рукав подачи пены и выставляется пожарный пост не далее 3-х м от края траншеи (котлована).
Водитель пожарной автоцистерны должен постоянно находиться у пульта управления пожарным насосом и действовать по команде ответственного за производство сварочных работ.
14.13 Если концентрация горючих паров в траншее превышает предельно допустимую взрывобезопасную концентрацию (5 % от нижнего концентрационного предела распространения пламени), то должны быть прекращены все виды работ, люди оповещены о возникновении опасной ситуации (при необходимости отведены в безопасные места), средства пожаротушения приведены в готовность, выявлена и устранена причина загазованности. Огневые и изоляционные работы могут быть возобновлены только при снижении концентрации горючих паров ниже предельно допустимой взрывобезопасной концентрации (ПДВК).
14.14 Контроль за соблюдением противопожарных требований на ремонтных участках осуществляется подразделениями ВВО (ПЧ), которые особое внимание должны обращать на:
обеспеченность ремонтного участка исправными средствами пожаротушения;
состояние дорог, проездов и подъездов для пожарной техники;
наличие на рабочих местах инструкций по мерам пожарной безопасности.
14.15 Результаты проверки подразделениями ВВО (ПЧ) противопожарного состояния ремонтных участков оформляются актами, в которых указываются мероприятия, необходимые для устранения выявленных недочетов, сроки выполнения и ответственные лица. Сроки и ответственные за выполнение мероприятий назначаются по согласованию с начальником участка.
14.16 В случае возникновения пожара необходимо:
доложить о случившемся диспетчеру, который высылает к месту пожара команду ВВО (ПЧ) (при необходимости команды ВВО (ПЧ) соседних НПС, пожарные подразделения МВД) и принимает меры к быстрому перекрытию задвижек на магистральном нефтепроводе;
действовать согласно плану ликвидации возможных аварий при производстве ремонтных работ.
14.17 После тушения пожара и устранения выхода нефти из трубопровода в траншею место аварии надо очистить от горючих веществ и произвести замер концентрации паров с помощью газоанализатора. Возобновление сварочных работ разрешается только при концентрации паров в траншее ниже ПДВК.
15.1 При капитальном ремонте магистральных нефтепроводов необходимо строго соблюдать требования по защите окружающей среды, сохранения ее устойчивого экологического равновесия и не нарушать условия землепользования, установленные законодательством по охране природы.
15.2 На всех этапах капитального ремонта магистральных нефтепроводов следует выполнять мероприятия, предотвращающие:
развитие неблагоприятных рельефообразующих процессов;
изменение естественного поверхностного стока;
загорание естественной растительности и торфяников;
захламление территории строительными и другими отходами;
разлив горюче-смазочных материалов, слив отработанного масла, мойку автомобилей в неустановленных местах и т.п.
15.3 Подрядная организация, выполняющая ремонт, несет ответственность за соблюдение проектных решений, связанных с охраной окружающей природной среды, а также за соблюдение государственного законодательства по охране природы.
15.4 С целью уменьшения воздействия на окружающую среду все ремонтные работы должны выполняться в пределах полосы отвода земли, определенной проектом.
15.5 Проведение ремонтных работ, движение машин и механизмов, складирование и хранение материалов в местах, не предусмотренных проектом производства работ, запрещается.
15.6 Мероприятия по предотвращению эрозии почв, оврагообразования, а также защитные противообвальные и противооползневые мероприятия должны выполняться в строгом соответствии с проектными решениями.
15.7 Плодородный слой почвы на площади, занимаемой траншеями и котлованами, до начала основных земляных работ необходимо снять и переместить во временные отвалы для последующего восстановления (рекультивации).
15.8 Снятие, перемещение, хранение и обратное нанесение плодородного слоя почвы должны выполняться методами, исключающими перемешивание его с минеральным грунтом, а также потерю при перемещениях.
15.9 Не допускается использование плодородного слоя почвы для устройства подсыпок, перемычек и других временных земляных сооружений.
15.10 Конструкции временных дорог (подъездных, вдольтрассовых и технологических) должны исключать нарушение существующего гидрологического режима. При пересечении временными дорогами малых водотоков должны устраиваться водопропускные сооружения.
15.11 Воду, вытесненную из трубопровода, не допускается сливать в реки, озера, другие водоемы и на открытый грунт без предварительной очистки.
15.12 После окончания основных работ подрядная организация должна восстановить водосборные канавы, дренажные системы, снегозадерживающие сооружения и дороги, расположенные в пределах полосы отвода земель или пересекающих эту полосу, а также придать местности проектный или восстановить природный ландшафт.
1. РД 39-00147105-006-97. Инструкция по рекультивации земель, нарушенных и загрязненных при аварийном и капитальном ремонте магистральных нефтепроводов. - Уфа: Транстэк, 1997.
3. Правила охраны магистральных трубопроводов. - М., Минтопэнерго, 1992.
4. Правила охраны линий электропередач и сооружений связи. - М.: Связь, 1995.
6. Правила охраны электрических сетей. - М.: Энергоиздат, 1972.
7. СНиП 3.02.01-87. Земляные сооружения, основания и фундаменты. - М.: Стройиздат, 1987.
8. ГОСТ 17.5.3.06-85. Охрана природы. Земли. Требования к определению норм снятия плодородного слоя почвы при производстве земляных работ.
10. ВСН 008-88. Противокоррозионная и тепловая изоляция. - М.: Миннефтегазстрой, 1990.
11. СНиП 2.05.06-85*. Магистральные трубопроводы. - М.: Госстрой СССР, 1985.
12. СНиП III-42-80*. Магистральные трубопроводы. Правила производства и приемки работ. - М.: Стройиздат, 1985.
13. ВСН 006-89. Строительство магистральных и промысловых трубопроводов. Сварка. -М.: Миннефтегазстрой, 1990.
16. РД 39-110-91. Инструкция по ликвидации аварий и повреждений на магистральных нефтепроводах. - Уфа: ИПТЭР, 1992.
18. ГОСТ 25812-83. Трубопроводы стальные магистральные. Общие требования к защите от коррозии.
19. ГОСТ 9.602-89. Сооружения подземные. Общие требования к защите от коррозии.
21. СНиП 3.01.01-85. Организация строительного производства. - М.: Стройиздат, 1985.
22. ВСН 012-88. Строительство магистральных и промысловых трубопроводов. Контроль качества и приемка работ. - М.: Миннефтегазстрой, ВНИИСТ, 1990.
23. ВСН 31-81. Инструкция по производству строительных работ в охранных зонах магистральных трубопроводов Министерства нефтяной промышленности. - М.: ВНИИСПТнефть, 1984.
25. Правила безопасности при эксплуатации магистральных нефтепроводов. - М.: Недра, 1989.
27. Правила безопасности в нефтяной и газовой промышленности. - М.: ТОО «Авангард», 1993.
29. ГОСТ 12.1.046-85. Нормы освещения строительных площадок.
30. РД 102-011-89. Охрана труда. Организационно-методические документы. -М: ВНИИСТ, 1990.
31. ГОСТ 12.1.013-78. ССБТ. Строительство. Электробезопасность. Общие требования.
32. ГОСТ 12.3.003-86. ССБТ. Работы электросварочные. Требования безопасности.
33. ГОСТ 12.1.004-91. Пожарная безопасность. Общие требования.
34. ППБ-01-93. Правила пожарной безопасности в Российской Федерации. - М.: МВД России, 1993.
35. ППБО. Правила пожарной безопасности в нефтяной промышленности. - М.: Недра, 1987.
36. ГОСТ 12.4.026-76. ССБТ. Цвета сигнальные и знаки безопасности.
I При передаче участка нефтепровода для производства капитального ремонта заказчиком производителю работ представляется следующая документация:
Форма 1. Акт передачи участка нефтепровода заказчиком производителю работ для производства капитального ремонта.
Форма 2. Акт на закрепление трассы, площадки.
Форма 3. Разрешение на право производства работ.
II При сдаче отремонтированного участка нефтепровода в эксплуатацию приемочной комиссии предъявляется приемо-сдаточная документация:
1 Исполнительная документация, подготавливаемая ПТО подрядчика (РСУ).
Форма 4. Ведомость установленной арматуры и оборудования.
Форма 5. Справка о проведении рекультивации на участке ремонта.
Форма 6. Акт приемки узла запорной арматуры, узла приема и пуска очистных устройств и других монтажных узлов под наладку и засыпку.
Форма 7. Акт на очистку полости трубопровода.
Форма 8. Акт испытания на прочность, проверки на герметичность.
Службой ПТО подрядчика (РСУ) подготавливаются:
утвержденная проектно-сметная документация;
комплект рабочих чертежей с надписями о соответствии выполненных в натуре работ или внесенными изменениями;
паспорта и сертификаты на материалы и изделия, удостоверяющие тип и качество применяемых материалов.
2 Исполнительная документация, составленная производственной службой АО МН.
Форма 9. Справка о сметной и фактической стоимости капитального ремонта участка нефтепровода.
Документы об отводе земельных участков - форма составления свободная.
3 Исполнительная документация, составленная службой главного сварщика АО МН совместно с подрядчиком.
Форма 10. Список сварщиков.
Форма 11. Акт приемки технологии сварки
4 Комплект исполнительной производственной документации, составленной производителем работ (РСУ).
Форма 12. Журнал входного контроля качества.
Форма 13. Журнал замечаний и предложений по ведению работ по капитальному ремонту нефтепровода.
Форма 14. Журнал производства земляных работ.
Форма 15*. Журнал сварки труб и сварочных работ при капитальном ремонте нефтепровода.
Форма 16. Журнал изоляционно-укладочных работ и ремонта изоляции.
Форма 17. Акт на сварку гарантийного стыка.
Форма 18. Акт на заварку технологических отверстий.
Форма 19. Акт на приемку уложенного и забалластированного трубопровода.
Форма 20. Акт на скрытые работы по восстановлению средств электрохимзащиты.
Форма 21. Акт на скрытые работы при ремонте (в т.ч. с заменой и устройством) анодного заземления.
Форма 22. Акт на скрытые работы при ремонте (в т.ч. с заменой и устройством) протекторной защиты.
Форма 23. Акт на скрытые работы при замене (прокладке) кабеля.
Форма 24. Акт на скрытые работы при восстановлении контрольно-измерительных пунктов.
*- журнал составляется отдельно для сварки труб в секции, для сварки плетей, ремонтных работ на трассе.
5 Исполнительная приемо-сдаточная документация, составленная службами контроля качества.
Форма 25. Заключение по проверке качества сварных соединений физическими методами контроля.
Форма 26. Заключение по ультразвуковому контролю качества сварных соединений (наплавка).
Форма 27. Заключение о результатах механических испытаний контрольных и допускных сварных соединений.
Форма 28. Акт о контроле сплошности изоляционного покрытия засыпанного трубопровода.
Форма 29. Акт оценки качества изоляции отремонтированных подземных участков трубопровода методом катодной поляризации.
III При производстве капитального ремонта исполнителем работ заполняется текущая документация, являющаяся исполнительной производственной документацией, но не предъявляемая приемочной комиссии. Текущая документация предъявляется заказчику, инспектирующим организациям по их требованию. В состав текущей документации входит:
Форма 30. Допускной лист сварщика.
Форма 31. Акт о результатах проверки изделий на соответствие техдокументации.
Форма 32. Журнал проверки сварных соединений физическими методами контроля.
Форма 33. Журнал регистрации результатов механических испытаний допускных и контрольных сварных соединений.
Форма 34. Акт на засыпку (обваловку) уложенного трубопровода.
Форма 35. Разрешение на вывозку секций (звеньев) труб на трассу.
Отремонтированный нефтепровод принимается в эксплуатацию приемочной комиссией по акту.
Форма 36. Акт приемки в эксплуатацию законченного капитальным ремонтом участка нефтепровода.
Датой ввода в эксплуатацию нефтепровода считается дата подписания акта (форма 36) приемочной комиссией.
Вся документация после завершения работы приемочной комиссии должна храниться у заказчика.
|
АКТ ПЕРЕДАЧИ УЧАСТКА НЕФТЕПРОВОДА ЗАКАЗЧИКОМ ПРОИЗВОДИТЕЛЮ РАБОТ ДЛЯ ПРОИЗВОДСТВА КАПИТАЛЬНОГО РЕМОНТА «_____»_____________________г. Мы, нижеподписавшиеся, составили настоящий акт о передаче участка нефтепровода__ ____________________________________________________________________ диаметром________мм от км/ПК__________________до км/ПК_________________общей протяжённостью_______км под капитальный ремонт заказчиком_____________________ (наименование РУМН) производителю работ______________________________________на период работ от (подрядная организация) «______»__________________________г. до «______»___________________________г. Заказчиком выполнены следующие подготовительные работы: ____________________________________________________________________________ ____________________________________________________________________________ ____________________________________________________________________________ _____________________________________________________________________________ По настоящему акту от заказчика______________________________________подрядчику __________________________________передается следующая документация: 1. Проект на капитальный ремонт: - пояснительная записка; - рабочие чертежи; - сметная документация 2. Документы по временному отводу земель: 3. Ведомость пересечений ремонтируемого участка нефтепровода с коммуникациями с указанием пикетов пересечений и технические условия от владельцев коммуникаций на производство работ в зоне пересечений: _____________________________________________________________________________ _____________________________________________________________________________ Примечание: документация, не оговоренная в настоящем акте может быть передана заказчиком производителю работ по его просьбе. Начальник эксплуатирующей организации _____________ ___________ ____________ (Ф.И.О) (подпись) (дата) Начальник подрядной организации (РСУ) _____________ ___________ ____________ (Ф.И.О) (подпись) (дата) |
|
Капитальный ремонт нефтепровода РУМН _____________________ ______________________________ РСУ_______________________ диаметром__________________мм Участок____________________ от км/ПК_______________________ до км/ПК_______________________ АКТ № на закрепление трассы, площадки от «____»___________________г. Составлен представителями: ТиСиЗ, службой топографов (геодезисты)________________ _____________________________________________________________________________ (должность, организация, Ф.И.О.) проектной организации - руководители проекта_____________________________________, (должность, организация, Ф.И.О.) заказчика_____________________________________________________________________ (должность, организация, Ф.И.О.) подрядчика___________________________________________________________________ (должность, организация, Ф.И.О.) о том, что произведено уточнение положения трубопровода согласно «Инструкции о порядке закреплений и сдачи заказчиком трасс магистральных трубопроводов, площадок жилищного строительства и внеплощадочных коммуникаций» и выполнены следующие работы: 1 Установлены дополнительные знаки (вехи, столбы и пр.) на оси трассы и по границам ремонтной полосы. 2 Произведена разбивка пикетажа на участке от ПК________________________до ПК _______________________по всей трассе, в местах переходов через естественные и искусственные препятствия и подземные коммуникации на ПК___________________________. 3 Установлены дополнительные реперы на ПК_______________________________________ ____________________________________________________________________________ (указать высотные отметки установленных реперов) 4 Закреплены оси трасс коммуникаций__________________________________, проходящих в одном техническом коридоре, ось вновь прокладываемой трассы при капитальном ремонте с заменой труб. Ответственность за сохранность знаков после закрепления возлагается на подрядную организацию. Сдал: Представитель проектной _________________________ ___________ ______________ организации (должность, организация, Ф.И.О.) (подпись) (дата) Геодезист _________________________ ___________ ______________ (должность, организация, Ф.И.О.) (подпись) (дата) Принял-сдал: Представитель заказчика _________________________ ___________ ______________ (должность, организация, Ф.И.О.) (подпись) (дата) Принял: Представитель подрядной _________________________ ___________ ______________ организации (должность, организация, Ф.И.О.) (подпись) (дата) |
|
РУМН ______________________ РСУ ________________________ Участок ____________________ РАЗРЕШЕНИЕ на право производства работ от «____»__________________________г. Разрешается произвести работы_________________________________________________ (указать вид работ) на трассе нефтепровода________________________________________________________ на участке от км/ПК________________________до км/ПК___________________________ общей протяженностью________________________м. Регламентированные проектом подготовительные работы___________________________ _____________________________________________________________________________ (перечислить выполненные работы) завершение которых технологически необходимо для начала указанных выше основных работ в пределах полосы отвода, в том числе и закрепление трассы нефтепровода, выполнены в полном объеме, в соответствии с проектом, чертежом №_______________, действующими нормами и правилами и приняты по акту №________, журналу №____________от__________________ (дата) М.П. Руководитель заказчика_____________________ ______________ ________________ (Ф.И.О.) (подпись) (дата) Руководитель подрядной организации ____________________ ______________ ________________ (Ф.И.О.) (подпись) (дата) |
|
Капитальный ремонт нефтепровода РУМН _____________________ ______________________________ РСУ_______________________ диаметром__________________мм Участок____________________ от км/ПК_______________________ до км/ПК_______________________ ВЕДОМОСТЬ УСТАНОВЛЕННОЙ АРМАТУРЫ И ОБОРУДОВАНИЯ
Начальник ПТО (ОНО) РСУ ________________ _________________ _____________ (Ф.И.О.) (подпись) (дата) Представитель заказчика (АО МН)________________ _________________ _____________ (Ф.И.О.) (подпись) (дата) Представитель эксплуатирующей организации (РУМН) __________________ _____________ ______________ (Ф.И.О.) (подпись) (дата) |
|
РУМН _____________________ РСУ ______________________ Участок ___________________ СПРАВКА о проведении работ по рекультивации земель на участке нефтепровода от км_______ПК_______до км_______ПК_______ от км_______ПК_______до км_______ПК_______ Составлена настоящая справка о том, что в период с________по______ выполнены следующие виды работ (с указанием объема и стоимости): планировочные___________________________________________________________ мелиоративные___________________________________________________________ противоэрозионные_______________________________________________________ снятие и нанесение плодородного слоя почвы и потенциально-плодородных пород (с указанием площади и его толщины)____________________________________________ Все работы выполнены в соответствии с утвержденными проектными материалами, __________________________________________________________________________ (перечислить и указать, когда и кем составлены, утверждены, выданы) В случае отступления, указать, по каким причинам, с кем и когда согласовывались допущенные отступления. Рекультивированный участок площадью___га пригоден (непригоден с указанием причин) для использования в сельском хозяйстве. Руководитель подрядной организации_________________ ______________ ______________ (Ф.И.О.) (подпись) (дата) Землевладелец _________________ ______________ ______________ (Ф.И.О.) (подпись) (дата) |
Форма 6
|
Капитальный ремонт нефтепровода РУМН _____________________ ______________________________ РСУ_____________________ диаметром__________________мм Участок_____________________ от км/ПК_______________________ до км/ПК_______________________ АКТ № приемки узла запорной арматуры, узла приема и пуска очистных устройств и других монтажных узлов под наладку и засыпку от «____»_________________г. Мы, нижеподписавшиеся, представитель заказчика__________________________ (должность Ф.И.О.) производитель ремонтных работ____________________________________________ (должность Ф.И.О.) _________________________, производитель монтажных работ__________________ (должность Ф.И.О.) _________________________, производитель изоляционных работ_____________ (должность Ф.И.О.) ________________________, представитель службы контроля качества__________ ______________________________________составили настоящий акт о том, что на (должность Ф.И.О.) участке км__________ПК___________________выполнен полный комплекс работ по сооружению фундамента и монтажу______________________________________ (узла подключения, узла запорной арматуры, узла приема ______________________________________________________________________ и прилегающими участками трубопровода длиной____________м, узла запуска очистного поршня и др.) ________________________________________________________________________ Фундаменты выполнены на________________________________________________ (песчаном основании, на песчаной или земляной подушке, на свайном основании) Свайные фундаменты выполнены на_________________________________сваях (тип свай) Установленные на основании фундаменты представляют собой______________________ (указать конструкцию) _______________________________________________________________________ Конструктивное выполнение, привязка, изоляция фундаментов, размеры, фактические отметки соответствуют проекту, рабочие чертежи №______что подтверждается прилагаемым журналом свайных работ и исполнительной схемой фундаментов. На фундаменты установлены___________________________________________ (перечислить задвижки и другое оборудование с указанием диаметров) Сварочно-монтажные работы выполнены в соответствии с требованиями нормативных документов и приняты актом-разрешением на изоляцию №____от «____»_______________г. Изоляция узла выполнена ручным способом__________________________________ (полимерными лентами, битумной изоляцией) Записи о проведенных изоляционных работах приведены в журнале изоляционных работ. Все работы по монтажу, сварке и изоляции_______________________________узла __________________________выполнены в соответствии с действующими нормами и правилами, требованиями проекта, рабочие чертежи №______________. Проверка сплошности изоляционного покрытия искровым дефектоскопом показала отсутствие дефектов. Разрешается наладка технологического оборудования и засыпка______________________________________узла___________________________ Приложение: Акт гидравлического испытания на прочность и герметичность запорной арматуры до монтажа. Представитель заказчика _________________ ______________ ______________ (Ф.И.О.) (подпись) (дата) Представитель подрядной организации (производитель ремонтных работ) _________________ ______________ ______________ (Ф.И.О.) (подпись) (дата) Производитель монтажных работ _________________ ______________ ______________ (Ф.И.О.) (подпись) (дата) Производитель изоляционных работ________________________________________________ (Ф.И.О.) (подпись) (дата) Представитель службы контроля качества _________________ ______________ ______________ (Ф.И.О.) (подпись) (дата)
|
|
Капитальный ремонт нефтепровода РУМН ___________________ ______________________________ РСУ_____________________ диаметром__________________мм Участок__________________ от км/ПК_______________________ до км/ПК_______________________ АКТ № на очистку полости трубопровода от «____»____________________г. Составлен комиссией, назначенной приказом________________________________ ________________________________________________________________________ (наименование организации) от «____»_______________________________г. в составе: Председатель комиссии________________________________________________ (должность, организация, Ф.И.О.) Члены комиссии: _____________________________________________________ __________________________________________________________________ __________________________________________________________________ __________________________________________________________________ о том, что произведена_________________кратная очистка полости______________ _________________трубопровода, диаметром_________________мм на участке от км/ПК _______________до км/ПК_____________общей протяженностью_____________м. Очистка выполнена в соответствии с требованиями СНиП III-42-80*, проекта, специальной инструкции, согласованной и утвержденной «___»______________ г. в установленном порядке способом_____________________________________________ (продувки промывки, протягивания, ______________________________________________________________________ вид рабочей среды - газ, вода и т.д.) с пропуском_____________________________в количестве__________________шт. (указать тип очистного устройства) Очистка внутренней полости трубопровода производилась до выхода всех запасованных поршней и чистого_____________________________________________ (воздуха, газа, воды и т.д.) Заключение комиссии:______________________________________________________ (указать результаты приемки очистки полости трубопровода, _____________________________________________________________________ какие последующие работы разрешается производить) Председатель комиссии____________________ ________________ ________________ (Ф.И.О.) (подпись) (дата) Члены комиссии __________________ _______________ _______________ (Ф.И.О.) (подпись) (дата) __________________ _______________ _______________ (Ф.И.О.) (подпись) (дата) __________________ _______________ _______________ (Ф.И.О.) (подпись) (дата) __________________ _______________ _______________ (Ф.И.О.) (подпись) (дата) __________________ _______________ _______________ (Ф.И.О.) (подпись) (дата) __________________ _______________ _______________ (Ф.И.О.) (подпись) (дата) |
|
Капитальный ремонт нефтепровода РУМН _____________________ ______________________________ РСУ_______________________ диаметром__________________мм Участок____________________ от км/ПК_______________________ до км/ПК_______________________ АКТ № испытания на прочность, проверки на герметичность и удаления______________после испытаний трубопровода (воды и др.) Составлен комиссией, назначенной приказом__________________________________ (наименование организации) ______________________________________от «____»_______________________________г. Председатель комиссии________________________________________________ (должность, организация, Ф.И.О.) Члены комиссии: _____________________________________________________ __________________________________________________________________ __________________________________________________________________ __________________________________________________________________ о том, что «____»_____________________г. проведено_______________________ (пневмо, гидро) испытание на прочность____________________________________________________ (трубопровода, узла, блока и др.) ____________________________на______________________________________________ (участке от км________ПК_____________ ______________________________________________________________________________ до км________ПК____________общей протяженностью______________м, _____________________________в соответствии с требованиями СНиП III-42-80*, площадке______________) проекта______________________, специальной инструкции, согласованной и утвержденной «_____»_____________________г. в установленном порядке. Испытание на прочность выполнено при давлении в нижней точке ПК__________МПа, в верхней точке ПК__________МПа. Число циклов______. Время выдержки под испытательным давлением в первом цикле составило_____часов. Время выдержки под испытательным давлением во втором цикле составило____часов. В течение испытания давление измерялось техническими манометрами №№_____или дистанционными приборами №№___________, самопишущими манометрами №№__________пломбированными, имеющими паспорта, класс точности приборов____________со шкалой деления______________________________________ (не ниже 1-го) (не менее 4/3 от испытательного) проверенными госповерителем_____________________, (дата) установленными на ПК_______и ПК______. Заключение комиссии:_______________________________________________________ (указать результат испытания) После завершения испытания на прочность произведена проверка на герметичность давлением Рраб, макс._________________________МПа в течение____________ч. на________________________________________________________________________ (участке от км________ПК____________ _________________________________________________________________________ до км________ПК____________общей протяженностью______________м, _____________________________в соответствии с требованиями СНиП III-42-80*, площадке______________) проекта______________________, специальной инструкции, согласованной и утвержденной «_____»_____________________г. в установленном порядке. В течение испытания давление измерялось техническими манометрами №№_____или дистанционными приборами №№__________, самопишущими манометрами №№___________ опломбированными, имеющими паспорта, класс точности приборов______со шкалой (не ниже 1-го) деления_____________________ проверенными госповерителем__________________ (не менее 4/3 от испытательного) (дата) установленными на ПК______и ПК_______. Заключение комиссии:________________________________________________________ (указать результат испытания) Удаление______________после испытания____________________________________ (участке от км________ПК_____________ __________________________________________________________________________ до км________ПК____________общей протяженностью______________м, ________________ в соответствии с требованиями СНиП III-42-80* проекта ________ площадке______________) ____________________, специальной инструкции, согласованной и утвержденной «_____»_________________г. в установленном порядке путем_________________ _______________________________________________________________________ (пропуска поршня-разделителя, продувки воздухом, газом, слива самотеком и т.д.) При этом были применены поршни-разделители________________________________ (указать тип поршня) в количестве___________________шт. Удаление________________проводилось до____________________________________________________________________ (воды и др.) (выхода чистого воздуха, _________________________________________________________________ газа, прекращения выхода воды) Заключение комиссии:_________________________________________________________ (указать результат удаления воды и др. после испытания, ______________________________________________________________ какие последующие работы разрешается проводить) Председатель комиссии____________________ ________________ ____________ (Ф.И.О.) (подпись) (дата) Члены комиссии __________________ _______________ _______________ (Ф.И.О.) (подпись) (дата) __________________ _______________ _______________ (Ф.И.О.) (подпись) (дата) __________________ _______________ _______________ (Ф.И.О.) (подпись) (дата) __________________ _______________ _______________ (Ф.И.О.) (подпись) (дата) __________________ _______________ _______________ (Ф.И.О.) (подпись) (дата) __________________ _______________ _______________ (Ф.И.О.) (подпись) (дата) |
|
РУМН______________________ РСУ _______________________ Участок ____________________ СПРАВКА о сметной и фактической стоимости капитального ремонта участка нефтепровода ________________________________________ диаметром__________мм от км/ПК_________________ до км/ПК_________________
МП Руководитель заказчика _________________ ______________ _________ (Ф.И.О.) (подпись) (дата) Главный бухгалтер _________________ ______________ _________ (Ф.И.О.) (подпись) (дата) |
|||||||||||||||||||||||||||||||||||||||||||||||||||||||||||||||||||||||||||||
|
Капитальный ремонт нефтепровода ________________ РУМН ___________________ ______________________диаметром___________мм РСУ _____________________ от км/ПК________________до км/ПК_____________ Участок __________________ Объект_______________________________________ (трасса, трубосварочная база, площадка) СПИСОК СВАРЩИКОВ от «____»_______________________________г.
Руководитель подрядной организации _____________ ___________ ____________ (Ф.И.О) (подпись) (дата) Главный сварщик _____________ ___________ ____________ (Ф.И.О) (подпись) (дата)
|
|||||||||||||||||||||||||||||||||||||||||||||||||||||||||||||||||||
АКТ №приемки технологии сварки от «____»___________________г. Мы, нижеподписавшиеся, представитель технадзора заказчика_____________________ ______________ (должность, Ф.И.О.) _________________, производитель работ______________________________ (должность, Ф.И.О) и представитель службы контроля качества_____________________________ (должность, Ф.И.О.) составили настоящий акт о том, что в нашем присутствии произведена сварка контрольного стыка бригадой сварщиков в составе:
Сборка и сварка произведена в полном соответствии с технологической проектной документацией (технологической картой №____проекта производства работ) в условиях, аналогичных проектным. Контрольный стык проконтролирован________________________________ (указать методы контроля и дату) На основании заключения №_____от «_____»________________г. о результатах механических испытаний и заключения №_____от «_____»__________________г. по проверке качества контрольного стыка физическими методами контроля технологический процесс сварки считается аттестованным. Представитель технадзора заказчика _______________________ ____________ ______________ (должность, организация, Ф.И.О.) (подпись) (дата) Производитель работ _______________________ ____________ ______________ (должность, организация, Ф.И.О.) (подпись) (дата) Представитель службы контроля качества _______________________ ____________ ______________ (должность, организация, Ф.И.О.) (подпись) (дата)
|
Форма 12
|
Капитальный ремонт нефтепровода __________________ РУМН ___________________ ______________________диаметром___________мм РСУ _____________________ от км/ПК________________до км/ПК_____________ Участок __________________ Журналвходного контроля качества _____________________________________ (документации, материалов, оборудования) Начало «_____»______________________г. Окончание «_____»_______________________г.
Руководитель подрядной организации _____________ ___________ ____________ (Ф.И.О) (подпись) (дата) |
||||||||||||||||||||||||||||||||||||||||||||||||||||
|
РУМН ______________________ РСУ ________________________ Участок _____________________ ЖУРНАЛ замечаний и предложений по ведению работ по капитальному ремонту нефтепровода_______________________________диаметром______мм на участке от км/ПК__________________до км/ПК__________________ Начало работ_______________ Окончание работ____________
Руководитель подрядной организации ______________ ____________ ________ (Ф.И.О) (подпись) (дата) |
|
РУМН_______________________ РСУ_________________________ ЖУРНАЛ производства земляных работ при капитальном ремонте нефтепровода_______________________________диаметром______мм на участке от км/ПК__________________до км/ПК__________________ Производитель работ___________ Начало работ__________________ Окончание работ_______________
Продолжение формы 14
|
|||||||||||||||||||||||||||||||||||||||||||||||||||||||||||||||||||||||
|
РУМН_________________________ РСУ___________________________ ЖУРНАЛ сварки труб и сварочных работ__________________________________ (на трассе, трубосварочной базе, площадке) при капительном ремонте нефтепровода______________диаметром______мм от км/ПК_________________до км/ПК_________________стыки с №____________по №______ Производитель работ_________________ Начало работ________________________ Окончание работ_____________________
Продолжение формы 15
|
||||||||||||||||||||||||||||||||||||||||||||||||||||||||||||||||||
|
РУМН _______________________ РСУ _________________________ Участок _______________________ ЖУРНАЛ изоляционно-укладочных работ и ремонта изоляции нефтепровода_______________диаметром______мм на участке от км/ПК__________________до км/ПК__________________ Производитель работ_______________ Начало работ______________________ Окончание работ___________________
Продолжение формы 16
|
||||||||||||||||||||||||||||||||||||||||||||||||||||||||||||||||||||
|
Капитальный ремонт нефтепровода РУМН _____________________ ______________________________ РСУ_____________________ диаметром__________________мм Участок_____________________ от км/ПК_______________________ до км/ПК_______________________ АКТ на сварку гарантийного стыка от «____»___________________г. Мы, нижеподписавшиеся, представитель технадзора заказчика___________________ (должность, Ф.И.О.) ______________________, производитель работ__________________________ (должность, Ф.И.О.) ________________и представитель службы контроля качества__________________ (должность, Ф.И.О.) _____________________________составили настоящий акт о том, что в нашем присутствии произведена сварка гарантийного стыка на ПК________км_________нефтепровода. Сборка и сварка стыка произведены в полном соответствии с требованиями нормативных документов__________________________________________, о чем произведены записи в журнале сварочных работ. Стык проконтролирован_________________________________________________________ (указать метод контроля и дату) согласно заключению №_____________от «____»__________________г. признан годным. Стык занесен в журнал сварочных работ под номером__________________________. (указать номер) Представитель технадзора заказчика _________________________ ______________ ____________ (должность, организация, Ф.И.О.) (подпись) (дата) Производитель работ _________________________ ______________ ____________ (должность, организация, Ф.И.О.) (подпись) (дата) Представитель службы контроля качества _________________________ ______________ ____________ (должность, организация, Ф.И.О.) (подпись) (дата)
|
|
Капитальный ремонт нефтепровода РУМН _____________________ _______________________________ РСУ_____________________ диаметром__________________мм Участок_____________________ от км/ПК_______________________ до км/ПК_______________________ АКТ на заварку технологических отверстий от «____»___________________г. Мы, нижеподписавшиеся, производитель работ______________________ (должность, Ф.И.О.) __________, представитель технадзора заказчика__________________________ (должность, Ф.И.О.) ___________и представитель службы контроля качества________________ (должность, Ф.И.О.) __________________________составили настоящий акт о том, что в нашем присутствии произведена заварка технологических отверстий путем вварки патрубка. Патрубок изготовлен из трубы_____________________________сталь______________ с заглушкой___________________сталь_________________. Вварка патрубка произведена электродами ___________электросварщиком___________________ шифр____________________________. Сварной шов проконтролирован_________________________________физическим методом____________________________________________и признан годным. Заключение №________от «____»____________________г. Производитель работ _________________________ _____________ ________________ (должность, организация, Ф.И.О.) (подпись) (дата) Представитель технадзора заказчика _________________________ _____________ ________________ (должность, организация, Ф.И.О.) (подпись) (дата) Представитель службы контроля качества ________________________ _____________ ________________ (должность, организация, Ф.И.О.) (подпись) (дата)
|
Форма 19
|
Капитальный ремонт нефтепровода РУМН ____________________ ______________________________ РСУ_____________________ диаметром__________________мм Участок_____________________ от км/ПК_______________________ до км/ПК_______________________ АКТ № на приемку уложенного трубопровода от «____»__________________г. Мы, нижеподписавшиеся, представитель технадзора заказчика_______________ (должность, Ф.И.О.) _____________, производитель изоляционно-укладочных работ___________________ (должность, Ф.И.О.) ___________, производитель работ по балластировке_____________________________ (должность, Ф.И.О.) _____________, производитель работ по монтажу КИП____________________________ (должность, Ф.И.О.) _____________________составили настоящий акт о том, что на участке нефтепровода от ПК__________км__________до ПК__________км__________ от ПК__________км__________до ПК__________км__________ от ПК__________км__________до ПК__________км__________ общей протяженностью_______________м выполнен комплекс работ по изоляции, укладке, балластировке (закреплению на проектных отметках), монтажу соединительных проводов КИП. Изоляционное покрытие представляет собой_________________________________ ____________тип изоляции толщиной___________мм с оберткой____________ (указать вид обертки) _______________нанесенной в__________слоя. Изоляционное покрытие выполнено в соответствии с требованиями проекта, рабочие чертежи №______________. Проверка качества очистки и праймирования производилась _______________________адгезия изоляционного покрытия проверена____________________ (визуально, прибором) _______________________________________________________________________ (указать чем, метод надреза треугольника, адгезиметром) и соответствует требованиям ГОСТ 25812-83. Контроль сплошности изоляционного покрытия производился искровым дефектоскопом по всей поверхности отремонтированного участка трубопровода. Изолированный участок нефтепровода уложен в подготовленную траншею. Укладка произведена без провисов и недопустимых отклонений от оси. Имевшиеся в процессе работы замечания по качеству работ, занесенных в журнал производства изоляционно-укладочных работ, устранены. После укладки нефтепровода от ПК__________км__________до ПК__________км__________ от ПК__________км__________до ПК__________км__________ от ПК__________км__________до ПК__________км__________ установлено___________________ утяжелителей марки_________________________ от км________ПК________до км________ПК_________с шагом___________м, установлено ____________анкерных устройств типа_________ с шагом___________м. от ПК__________км__________до ПК__________км__________ На участке общей протяженностью_______________м от ПК__________км__________до ПК__________км__________ от ПК__________км__________до ПК__________км__________ от ПК__________км__________до ПК__________км__________ произведена балластировка нетканым синтетическим материалом (НСМ) типа_____________ _________________с засыпкой___________________грунтом. Полотнища НСМ сварены между собой. Для предохранения изоляционного покрытия от повреждений в соответствии с проектом под__________________установлены_____________________________________________ (утяжелители, анкеры) (защитные коврики, деревянные маты и др.) размером_____________________в__________________слоя. Повреждения изоляционного покрытия после установки средств балластировки ликвидированы, о чем сделаны записи в журнале производства работ. Соединительные провода контрольно-измерительных пунктов выполнены из проводов сечением _______________и присоединены к нефтепроводу на ПК___________________________ ________________________________способом_______________________________ _______________________________________________________________________ Места присоединения КИП к нефтепроводу заизолированы. На участке проведено контрольное выдергивание анкерных устройств в объёме_________________устройства, что соответствует требованиям рабочих чертежей №_____________рабочего проекта Критическая нагрузка замерялась динамометром марки___________________________ ________________, проверенным____________________и составила__________________ (дата проверки) ________________т, что_________________________________________проектной, (соответствует, не соответствует) составляющей____________________т. На участке от ПК____________________до ПК__________________протяженностью _________________м нефтепровода выполнена защита изоляционного покрытия от повреждения __________________________. (указать чем) Работы выполнены в соответствии с требованиями нормативных документов и рабочих чертежей №_________________проекта. На основании изложенного указанные в акте работы считаются принятыми, разрешается засыпка участков от ПК__________км__________до ПК__________км__________ от ПК__________км__________до ПК__________км__________ общей протяженностью_____________________________м. Представитель технадзора заказчика ______________________ _______________ ______________ (должность, организация, Ф.И.О.) (подпись) (дата) Производитель изоляционно- укладочных работ ______________________ _______________ ______________ (должность, организация, Ф.И.О.) (подпись) (дата) Производитель работ по балластировке ______________________ _______________ ______________ (должность, организация, Ф.И.О.) (подпись) (дата) Производитель работ по монтажу КИП ______________________ _______________ ______________ (должность, организация, Ф.И.О.) (подпись) (дата) Представитель службы контроля качества ______________________ _______________ ______________ (должность, организация, Ф.И.О.) (подпись) (дата)
|
|
Капитальный ремонт нефтепровода РУМН _____________________ _______________________________ РСУ_____________________ диаметром__________________мм Участок_____________________ от км/ПК_______________________ до км/ПК_______________________ АКТ № на скрытые работы по восстановлению средств электрохимзащиты от «____»___________________г. Составлен представителями: технадзора заказчика_____________________________ (должность, Ф.И.О.) эксплуатирующей организации_______________________________________________________ (должность, Ф.И.О.) ремонтной организации_____________________________________________________________ (должность, Ф.И.О.) о том, что средства электрохимзащиты__________________________________________ (наименование сооружения ЭХЗ) на участке от км/ПК________до км/ПК_________нефтепровода____________________ восстановлены в соответствии с чертежом №____________._______________________ проекта, разработанного______________________________»____»____________19___г. (наименование проектной организации) Все соединения выполнены способом_________________________________________ и заизолированы__________________________________________________________ Отступления от проекта_________________________________________________ согласованы с____________________________________________________________ (организация, должность, Ф.И.О.) от «_____»________________________г. Заключение по результатам проверки работы восстановленных средств ЭХЗ:_____________ ___________________________________________________________________________ ___________________________________________________________________________ К акту прилагаются результаты измерений защитного потенциала. Представитель технадзора заказчика _____________ ____________ ______________ (Ф.И.О.) (подпись) (дата) Представитель эксплуатирующей организации _____________ ____________ ______________ (Ф.И.О.) (подпись) (дата) Представитель ремонтной организации _____________ ____________ ______________ (Ф.И.О.) (подпись) (дата)
|
|
Капитальный ремонт нефтепровода РУМН _____________________ _______________________________ РСУ_____________________ диаметром__________________мм Участок_____________________ от км/ПК_______________________ до км/ПК_______________________ АКТ № на скрытые работы при ремонте (в т.ч. заменой и устройством) анодного заземления от «____»____________________г. Составлен представителями: технадзора заказчика________________________ (должность, Ф.И.О.) эксплуатирующей организации_________________________________________________ (должность, Ф.И.О.) ремонтной организации_______________________________________________________ (должность, Ф.И.О.) о том, что работы по анодному заземлению______________________________________ (наименование сооружения ЭХЗ) на участке км/ПК_________________нефтепровода___________________________________ выполнены в соответствии с чертежом №_______________________рабочего проекта, разработанного___________________________________ «___»___________________г. (наименование проектной организации) Все соединения выполнены способом________________________________________ и заизолированы___________________________________________________________. Отступления от проекта________________________________________________ __________________________________________________________________________ согласованы с_______________________________________________________________ (должность лица, согласовавшего отступление, организация, Ф.И.О.) от «_____»________________________г. Характеристика анодного заземления сопротивление растеканию тока анодного заземления составляет___________Ом×м2 при удельном электрическом сопротивлении грунта____________Ом×м. Параметры анодного заземления приведены в приложении к настоящему акту. Заключение по результатам проверки:________________________________________ ___________________________________________________________________________ ___________________________________________________________________________ ___________________________________________________________________________ К акту прилагаются план-схема расположения анодного заземления и результаты измерений сопротивления растеканию тока заземления. Представитель технадзора заказчика ______________ _____________ __________ (Ф.И.О.) (подпись) (дата) Представитель эксплуатирующей организации ______________ _____________ __________ (Ф.И.О.) (подпись) (дата) Представитель ремонтной организации ______________ _____________ __________ (Ф.И.О.) (подпись) (дата)
|
Продолжение формы 21
|
Приложение к акту № от «____»__________________г. Параметры анодного заземления
Представитель ремонтной организации ______________ ____________ __________ (Ф.И.О.) (подпись) (дата) Представитель технадзора заказчика ______________ ____________ __________ (Ф.И.О.) (подпись) (дата)
|
|
Капитальный ремонт нефтепровода РУМН _____________________ _______________________________ РСУ_____________________ диаметром__________________мм Участок_____________________ от км/ПК_______________________ до км/ПК_______________________ АКТ № на скрытые работы при ремонте (в т.ч. с заменой и устройством) протекторной установки от «____»_____________ _______г. Составлен представителями: технадзора заказчика_____________________________ (должность, Ф.И.О.) эксплуатирующей организации__________________________________________________ (должность, Ф.И.О.) ремонтной организации________________________________________________________ (должность, Ф.И.О.) о том, что работы по протекторной установке выполнены на участке км/ПК______________ нефтепровода______________________ в соответствии с проектом электрооборудования по чертежу №___________________, разработанным_______________________________ (наименование проектной организации) «____»______________________г. Все соединения выполнены способом_______________ и заизолированы__________________.___________________________________________. Отступления от проекта_____________________________________________________ ______________________________________________________________________________ согласованы с________________________________________________________________ (должность лица, согласовавшего отступление, организация, Ф.И.О.) ________________________________________________от «____»___________________г. Характеристика протекторной установки
Заключение по результатам проверки:________________________________________ ____________________________________________________________________________ _____________________________________________________________________________ К акту прилагаются план-схема расположения протекторной установки и результаты измерений сопротивления цепи протектор-трубопровод, удельного сопротивления грунта, токоотдачи и разности потенциалов труба-земля. Представитель технадзора заказчика ______________ ____________ __________ (Ф.И.О.) (подпись) (дата) Представитель эксплуатирующей организации______________ ____________ __________ (Ф.И.О.) (подпись) (дата) Представитель ремонтной организации _____________ _____________ __________ (Ф.И.О.) (подпись) (дата)
|
|
Капитальный ремонт нефтепровода РУМН _____________________ _______________________________ РСУ_____________________ диаметром__________________мм Участок_____________________ от км/ПК_______________________ до км/ПК_______________________ АКТ № на скрытые работы при замене (прокладке) кабеля от «____»___________________г. Составлен представителями: технадзора заказчика_____________________________ (должность, Ф.И.О.) эксплуатирующей организации________________________________________________________ (должность, Ф.И.О.) ремонтной организации______________________________________________________________ (должность, Ф.И.О.) о том, что замена (укладка) кабеля, предназначенного для ________________________ выполнена в соответствии с проектом по чертежам №___________________________, разработанным__________________________________»____»____________________г. (наименование проектной организации) Все соединения к________________________________________________________ (трубопроводу, анодному заземлению) выполнены способом_____________________________________________________ и заизолированы_______________________________________________________. Отступления от проекта _______________________________________________ ________________________________________________________________________ ________________________________________________________________________ согласованы с___________________________________________________________ (должность лица, согласовавшего отступление, организация, Ф.И.О.) от « ____ «_______________ _____ г. Характеристика кабеля
Заключение по результатам проверки: _______________________________________ __________________________________________________________________________________ __________________________________________________________________________________ К акту прилагается план-схема прокладки кабеля и чертежи узлов подключения. Представитель технадзора заказчика ______________ ____________ __________ (Ф.И.О.) (подпись) (дата) Представитель эксплуатирующей организации______________ ____________ __________ (Ф.И.О.) (подпись) (дата) Представитель ремонтной организации _____________ _____________ __________ (Ф.И.О.) (подпись) (дата) |
|
Капитальный ремонт нефтепровода РУМН _____________________ _______________________________ РСУ_____________________ диаметром__________________мм Участок_____________________ от км/ПК_______________________ до км/ПК_______________________ АКТ № на скрытые работы при восстановлении контрольно-измерительных пунктов от «____»___________________г. Составлен представителями: технадзора заказчика____________________________ (должность, Ф.И.О.) эксплуатирующей организации_______________________________________________________. (должность, Ф.И.О.) ремонтной организации_____________________________________________________________ (должность, Ф.И.О.) о том, что работы по КИП выполнены в соответствии с проектом электрооборудования по чертежам №______________, разработанным__________________________________ (наименование проектной организации) «____»____________г. Все соединения выполнены способом__________________ _________, заизолированы______________________________и имеют маркировку. Отступления от проекта___________________________________________ __________________________________________________________________ __________________________________________________________________ согласованы с_____________________________________________________________ (должность лица, согласовавшего отступление, организация, Ф.И.О.) от « ____» _______________ _____ г. Характеристика контрольно-измерительного пункта
Заключение по результатам проверки: К акту прилагается план-схема расположения контрольно-измерительных пунктов. Представитель технадзора заказчика ______________ ____________ __________ (Ф.И.О.) (подпись) (дата) Представитель эксплуатирующей организации_____________ _________ __________ (Ф.И.О.) (подпись) (дата) Представитель ремонтной организации ________ ___________ __________ (Ф.И.О.) (подпись) (дата)
|
|||||||||||||||||||||||||||||||||||||||||||||||||||||||||||||||||||||||||||||||||||||||||||||
|
Капитальный ремонт нефтепровода РУМН _____________________ _______________________________ РСУ_____________________ диаметром__________________мм Участок_____________________ от км/ПК_______________________ до км/ПК_______________________ ЗАКЛЮЧЕНИЕ № от «____» _______________ _____ г. по проверке качества сварных соединений физическими методами контроля Метод контроля__________________ (Р, Г, М)
Стык принял по внешнему виду дефектоскопист _____________ ___________ ______________ (Ф.И.О.) (подпись) (дата) Контроль произвел дефектоскопист _________ ___________ ______________ (Ф.И.О.) (подпись) (дата) Заключение дал дефектоскопист _____________ ___________ ______________ (Ф.И.О.) (подпись) (дата) Производитель ремонтных работ с результатами контроля ознакомлен и заключение получил _____________ ___________ ______________ (Ф.И.О.) (подпись) (дата) Расположение снимков при просвечивании: Стык №___________ Стык №___________ Стык №___________ Стык №____________ Клеймо №_________Клеймо №_________ Клеймо №_________Клеймо №__________ Диаметр___________ Диаметр___________Диаметр___________ Диаметр___________
|
|
Капитальный ремонт нефтепровода РУМН ___________________ ____________________ диаметром_______________мм РСУ_____________________ от км/ПК_______________ до км/ПК________________ Участок_________________ ЗАКЛЮЧЕНИЕ №______________ от «____»_______________________ г. по ультразвуковому контролю качества сварных соединений (наплавки) Контроль качества сварных швов (наплавки)__________________________________ (объект, наименование трубопровода или узла, ________________________________________________________________________ цеха, участка, блока) выполняется ультразвуковым дефектоскопом типа________________________________ рабочая частота_____________________МГц. Оператор_______________________________________________________________ (Ф.И.О.) Удостоверение №________________________________________________________ РЕЗУЛЬТАТЫ КОНТРОЛЯ
Дефектоскопист УЗК ________________ _________________ ___________________ (Ф.И.О.) (подпись) (дата) |
|
Капитальный ремонт нефтепровода РУМН ___________________ ____________________ диаметром_______________мм РСУ_____________________ от км/ПК_______________ до км/ПК________________ ЗАКЛЮЧЕНИЕ №_________ от «____»_______________________ г. о результатах механических испытаний контрольных и допускных сварных соединений
Продолжение формы 27
|
|||||||||||||||||||||||||||||||||||||||||||||||||||||||||||||||||||||||||||||||||||||||||||||||
|
Капитальный ремонт нефтепровода РУМН _____________________ _______________________________ РСУ_____________________ диаметром__________________мм Участок_____________________ от км/ПК_______________________ до км/ПК_______________________ АКТ № о контроле сплошности изоляционного покрытия засыпанного трубопровода от «____»___________________г Мы, нижеподписавшиеся, представитель технадзора заказчика____________________ (должность, Ф.И.О.) ______________________________, производитель работ_____________________________ (должность, Ф.И.О.) ________________и представитель службы контроля качества______________________ (должность, Ф.И.О.) _______________________________________составили настоящий акт о том, что на участке трубопровода протяженностью_________________м от км____________________ ПК_____________________до км______________________ПК______________________ искателем повреждений марки_____, зав. №________________дата проверки_________ (указать марку прибора) проверено качество изоляционного покрытия_____________________________________ (указать конструкцию покрытия) _________________________________типа толщиной__________________________мм с оберткой_________________________в___________________слоев. (тип) В результате проверки по данным прибора обнаружены повреждения изоляционного покрытия в________________местах на ПК____________________________________ (перечислить пикеты) __________________________________общей протяженностью_________________м. При шурфовке мест предполагаемых повреждений изоляционного покрытия фактические повреждения обнаружены на__________________________________________________ _________________________________________________________________________общей протяженностью ________________________м. Все повреждения изоляционного покрытия исправлены, проверены искровым дефектоскопом марки_________, зав. №________, дата поверки________, о чем сделана запись в журнале изоляционно-укладочных работ. Представитель технадзора заказчика _____________ ___________ _____________ (Ф.И.О.) (подпись) (дата) Производитель работ _____________ ___________ ______________ (Ф.И.О.) (подпись) (дата) Представитель службы контроля качества _____________ ___________ ______________ (Ф.И.О.) (подпись) (дата)
|
|
Капитальный ремонт нефтепровода РУМН _____________________ _______________________________ РСУ_____________________ диаметром__________________мм Участок_____________________ от км/ПК_______________________ до км/ПК_______________________ АКТ № оценки качества изоляции отремонтированных подземных участков трубопровода методом катодной поляризации от «____»____________________г. Составлен представителями: технадзора заказчика_____________________ (должность, Ф.И.О.) _________________________, службы контроля качества____________________ (должность, Ф.И.О.) ______________, подрядной организации______________________________ (должность, Ф.И.О.) о том, что проведены электрометрические измерения для определения оценки качества изоляции отремонтированного участка от км/ПК________________до км/ПК_______________, трубопровода, перехода через___________________, отвода от____________________общей протяженностью ____________________м, диаметр трубы________________мм, толщина стенки___________________мм, марка стали__________, удельное электрическое сопротивление_______Ом/м. Вид, тип и конструкция защитного покрытия________________________. Тип окружающего трубопровод грунта________________________________. Среднее удельное сопротивление грунта на длине участка____________Ом×м. Дата укладки и засыпки участка «_____»_________________________г. Место подключения источника постоянного тока__________________км. Продолжительность поляризации __________________________________ч. Требуемое смещение разности потенциалов «труба-земля»__________________В, требуемая сила тока __________________А. Результаты измерений
Результаты измерений и расчетов свидетельствуют о__________________ __________________________________________________________________ (состояние изоляции - хорошее, удовлетворительное, неудовлетворительное) Представитель технадзора заказчика _____________ ___________ ____________ (Ф.И.О.) (подпись) (дата) Представитель службы контроля качества (производитель электрометрических работ) _____________ ___________ _____________ (Ф.И.О.) (подпись) (дата) Представитель подрядной организации _____________ ___________ _____________ (Ф.И.О.) (подпись) (дата)
|
||||||||||||||||||||||||||||||||||||||||||||||||||||
|
Капитальный ремонт нефтепровода РУМН _____________________ _______________________________ РСУ_____________________ диаметром__________________мм Участок_____________________ от км/ПК_______________________ до км/ПК_______________________ ДОПУСКНОЙ ЛИСТ СВАРЩИКА от «____»____________________г. ___________________________________________________________________________ (Ф.И.О. сварщика) ___________________________________________________________________________ (удостоверение №, выдано когда, кем, действительно до) ___________________________________________________________________________ (разряд) (шифр, клеймо) Стаж работы____________________________________________________________________ (лет) Теоретическая подготовка________________________________________________________ (отлично, хорошо, удовлетворительно) Допущен к______________________________сварке________________________слоя (ев) (вид сварки) стыка труб___________________________________мм, в__________________________ (группа по диаметру) (пространственное положение ) _____________________________________________________________________________ (сварочные материалы, марка, тип) Допускной стык сварен____________________________________________________ (дата) Заключение по контролю качества допускного стыка радиографированием №__________________от «_____»________________________г. механическим испытанием №_____________от «_____»_________________________г. Практическая подготовка__________________________________________________ (отлично, хорошо, удовлетворительно) На право выполнения сварных соединений__________________________________ (аттестован, не аттестован) радиографированием №_______________________от «_____»________________г. механическим испытанием №__________________от «_____»________________г. Допускной лист выдан на основании протокола аттестационной комиссии________________от «_____»________г. Дата последнего выполнения сварочных работ____________________________________ (заполняется непосредственно _____________________________________________________________________________ с момента перерыва: отпуск, болезнь и т.д.) Руководитель ремонтного подразделения ______________ ____________ ________________ (Ф.И.О.) (подпись) (дата) Руководитель службы контроля качества ______________ ____________ ________________ (Ф.И.О.) (подпись) (дата)
|
|
Капитальный ремонт нефтепровода РУМН _____________________ _______________________________ РСУ_____________________ диаметром__________________мм Участок_____________________ от км/ПК_______________________ до км/ПК_______________________ АКТ № о результатах проверки изделий _____________________________________________ (вид изделия: трубы, детали ________________________________________________________ синтетические силовые пояса для балластирующих устройств,...) на соответствие техдокументации от «____»___________________г. Составлен представителями: подрядчика (РСУ)__________________________________ (должность, организация, Ф.И.О.) службы контроля качества_________________________________________________________________ (должность, организация, Ф.И.О.) заказчика_____________________________________________________________________ (должность, организация, Ф.И.О.) о том, что произведен _____________________________________(сплошной, выборочный с выборкой____________________) осмотр___________________________________________________________________________, (наименование изделий) для ремонта на участке трубопровода ________________________________________________, (привязка км/ПК) 1 Осмотром геометрических размеров и маркировки________________________________ (труб, деталей, __________________________________________совместно с проектом и сопроводительной силовых поясов и т.п.) документацией________________________________________________________________, (сертификатами, паспортами) на изделие установлено, что____________________________________________________, (трубы, детали силовые пояса и т.д.) по своим геометрическим размерам____________________________________________, (для труб указать диаметр, толщину стенки, мм, __________________________________________________________________________ для отводов - угол изгиба, град, и т.д.) и номеру технических условий, указанному на изделии______________________________, (соответствует, не соответствует) проекту, рабочим чертежам №_________________________________. 2 Сопроводительная документация_______________________ имеется в полном комплекте. (паспорта, сертификаты) 3 Характеристики механических свойств________________________________________ (по данным сопроводительной __________________________________________________________________соответствуют документации, при необходимости - результатам испытаний) соответствуют требованиям проекта_________________, технических условий ______________. Представитель подрядчика (РСУ) ________________________ __________ ________ (должность, организация, Ф.И.О.) (подпись) (дата) Представитель службы контроля качества _________________________ ________ ________ (должность, организация, Ф.И.О.) (подпись) (дата) Представитель заказчика ________________________ __________ ________ (должность, организация, Ф.И.О.) (подпись) (дата)
|
|
Капитальный ремонт нефтепровода РУМН _____________________ _____________________________ РСУ_____________________ диаметром__________________мм Участок_____________________ от км/ПК_______________________ до км/ПК_______________________ ЖУРНАЛпроверки сварных соединений физическими методами контроля Начало работ «____»____________________г. Окончание работ «____»_________________г. Начальник службы контроля качества _________________________ _____________ ________________ (должность, организация, Ф.И.О.) (подпись) (дата)
|
Продолжение формы 32
|
№№ п/п |
№ стыка по журналу или сварочной схеме, № журнала или схемы |
Шифр сварщика или бригады, Ф.И.О. |
Дата и способ контроля (Р, М, У) |
Заключение о качестве проконтролированного сварного соединения (наплавки) |
Замечания контролирующих лиц по качеству выполняемого физическими методами сварных соединений с указанием фамилии, должности и даты записи |
Подпись ответственного лица об устранении нарушения |
|||
|
№ и дата выдачи |
Заключение о годности (годен, исправить, вырезать, повторный контроль) |
Подписи |
|||||||
|
радиографиста |
начальника или инженера службы контроля качества |
||||||||
|
1 |
2 |
3 |
4 |
5 |
6 |
7 |
8 |
9 |
10 |
|
|
|
|
|
|
|
|
|
|
|
|
|
|
|
|
|
|
|
|
|
|
|
|
|
|
|
|
|
|
|
|
|
|
|
|
|
|
|
|
|
|
|
|
|
|
|
|
|
|
|
|
|
|
|
|
|
|
|
|
|
|
|
|
|
|
|
|
|
|
|
|
|
|
|
|
|
|
Капитальный ремонт нефтепровода РУМН _____________________ ______________________________ РСУ_____________________ диаметром__________________мм Участок_____________________ от км/ПК_______________________ до км/ПК_______________________ ЖУРНАЛ регистрации результатов механических испытаний допускных и контрольных сварных соединений Начало работ «____»_____________г. Окончание работ «____»__________г. Начальник службы контроля качества_________________________ _____________ ________________ (должность, организация, Ф.И.О.) (подпись) (дата)
|
Продолжение формы 33
|
Продолжение формы 33
Продолжение формы 33
|
|||||||||||||||||||||||||||||||||||||||||||||||||||||||||||||||||||||||||||||||||||||||||||||||
|
Капитальный ремонт нефтепровода РУМН _____________________ _______________________________ РСУ_____________________ диаметром__________________мм Участок_____________________ от км/ПК_______________________ до км/ПК_______________________ АКТ № на засыпку (обваловку) уложенного трубопровода от «____»___________________г. Мы, нижеподписавшиеся, представитель заказчика________________________ (должность, организация, Ф.И.О.) _________________________________________________и производитель работ __________________________________________________________составили (должность, организация, Ф.И.О.) настоящий акт о том, что на участке трубопровода общей протяженностью_________м от км____________________ПК до км____________________ПК от км____________________ПК до км _____________________ПК от км____________________ПК до км ____________________ПК произведена засыпка трубпровода в соответствии с требованиями проекта и рабочих чертежей №___________________________________________________________. На участках общей протяженностью_________________________________м. от км____________________ПК до км ____________________ПК от км____________________ПК до км ____________________ПК засыпка произведена грунтом с гранулометрическими размерами, не превышающих требования СНиП _______________________________. На участках общей протяженностью________________________________________м. от км____________________ПК до км____________________ПК от км____________________ПК до км____________________ПК выполнена присыпка уложенного нефтепровода для защиты от повреждений измельченным грунтом толщиной слоя__________________см, после чего выполнена засыпка грунтом с фракциями, превышающими требования строительных норм и правил. На основании изложенного засыпка трубопровода на указанных участках считается принятой. Представитель заказчика ________________________ __________ ________ (должность, организация, Ф.И.О.) (подпись) (дата) Производитель работ ________________________ __________ ________ (должность, организация, Ф.И.О.) (подпись) (дата)
|
|
Капитальный ремонт нефтепровода РУМН _____________________ _______________________________ РСУ_____________________ диаметром__________________мм Участок_____________________ от км/ПК_______________________ до км/ПК_______________________ РАЗРЕШЕНИЕ на вывозку секций (звеньев) труб на трассу от «____»__________________г. Разрешается вывозка секций (звеньев) труб___________________________________ _________________________________________________________________________ (номера секций (звеньев) труб) _______________________________________________________________________ __________________________________________________________________________ _______________________________________________________________________ на трассу _____________________________________________________________ _________________________________________________________________________ (наименование объекта, пункта назначения, __________________________________________________________________________ местонахождение участка трубопровода) Перечисленные секции (звеньев) сварены из труб, соответствующих проекту на данный участок, проконтролированы в соответствии с требованиями проекта и действующих норм и правил, не имеют на момент отправки механических повреждений, дефектов и повреждений изоляции (в случае отправки секций изолированных труб). Представитель технадзора заказчика ________________________ __________ ________ (должность, организация, Ф.И.О.) (подпись) (дата)
|
|
РУМН______________________ РСУ _______________________ Участок ____________________ АКТ №_________ от «____»________________________г. приемки в эксплуатацию законченного капитальным ремонтом участка нефтепровода_____________________________ от км/ПК____________________ до км/ПК____________________ Приемочная комиссия, назначенная_______________________________________ ________________________________________________________________________ (наименование организации, назначившей приемочную комиссию, № и дата приказа или распоряжения) с участием представителей привлеченных организаций__________________________ (наименования организаций) составили настоящий акт о нижеследующем: 1 Капитальный ремонт участка нефтепровода__________________________________ от км/ПК__________________до км/ПК________________диаметром____________мм, общей протяженностью________________км выполнен___________________________ (наименование подрядной организации) ___________________согласно заданию (договору) на ремонт №________от__________, и проекта, разработанного___________________________________. 2 Капитальный ремонт был осуществлен: начало работ_____________________ окончание работ______________________. 3 Приемочной комиссии представлена генеральным подрядчиком документация: ___________________________________________________________________________ ___________________________________________________________________________ ___________________________________________________________________________ __________________________________________________________________________ ___________________________________________________________________________ На основании рассмотрения представленной генеральным подрядчиком документации и осмотра предъявленного к приёмке отремонтированного участка нефтепровода в натуре рабочая комиссия устанавливает следующее: а) капитальный ремонт предъявленного к приемке в эксплуатацию участка нефтепровода осуществлен с отступлением / без отступления от утвержденного технического проекта ____________________________________________________________________________ (при наличии отступления указать причину, кем и когда решено, № документа) б) полная сметная стоимость произведенного капитального ремонта (по утвержденной сметной документации)_____________________ ____________________ Фактические затраты (для заказчика)________________________________________. |
Продолжение формы 36
|
Заключение Работы по капитальному ремонту участка нефтепровода______________________ ________________________________________________________________выполнены в соответствии с проектом, строительными нормами и правилами и отвечают требованиям приёмки в эксплуатацию отремонтированных объектов. Качество выполнения работ (по видам работ): __________________________________________________________________________ __________________________________________________________________________ __________________________________________________________________________ __________________________________________________________________________ Решение приемочной комиссии Предъявленный к приемке участок нефтепровода______________________диметром ________мм от км/ПК__________________до км/ПК___________________общей протяженностью ______________км считать принятым в эксплуатацию с общей оценкой качества выполненных работ:_________________________________________. (отлично, хорошо, удовлетворительно) Приложения к акту:_______________________ ___________________________ _______________________________________________________________________ Председатель приемочной комиссии _____________ ___________ ____________ (Ф.И.О.) (подпись) (дата) Члены комиссии _____________ ___________ ____________ _____________ ___________ ____________ _____________ ___________ ____________ _____________ ___________ ____________ _____________ ___________ ____________ Представители привлеченных организаций _____________ ___________ ____________ _____________ ___________ ____________ _____________ ___________ ____________ |
Настоящий документ представляет комплект типовых технологических карт на капитальный ремонт магистральных нефтепроводов диаметрами 219...1220 мм в нормальных условиях.
Комплект типовых технологических карт разработан на производство работ при следующих видах ремонта:
капитальный ремонт с заменой изоляционного покрытия с восстановлением или без восстановления стенки труб;
капитальный ремонт с заменой труб;
выборочный ремонт.
Технологические операции при капитальном ремонте нефтепровода выполняются механизированной колонной, оснащенной согласно РД 39-00147105-011-97 «Табель технического оснащения служб капитального ремонта магистральных нефтепроводов».
При изменении производственных условий, технологии и других исходных положений типовые технологические карты должны быть скорректированы и приведены к изменившимся условиям производства работ или технологии.
Типовые технологические карты предназначены для проектных организаций и организаций, разрабатывающих проекты производства работ, для исполнителей работ (мастеров и рабочих) в качестве руководства при выполнении капитального ремонта нефтепроводов.
Капитальный ремонт магистральных нефтепроводов с заменой изоляционного покрытия проводится следующими способами:
с подъемом нефтепровода в траншее;
с подъемом и укладкой нефтепровода на лежки в траншее;
без подъема нефтепровода с сохранением его положения.
Б 2.1 ТЕХНОЛОГИЧЕСКАЯ СХЕМА РЕМОНТА С ПОДЪЕМОМ НЕФТЕПРОВОДА В ТРАНШЕЕ И ЗАМЕНОЙ ИЗОЛЯЦИОННОГО ПОКРЫТИЯ
ОБЛАСТЬ И УСЛОВИЯ ПРИМЕНЕНИЯ
Схема капитального ремонта с подъемом в траншее рекомендуется для нефтепроводов диаметрами 219...720 мм при замене дефектного изоляционного покрытия без восстановления стенки трубы.
Ремонт проводится без остановки перекачки при внутреннем давлении до 2,5 МПа. Последовательность выполнения ремонтных работ приведена в типовой технологической карте № 1.
Б 2.2 ТЕХНОЛОГИЧЕСКАЯ СХЕМА РЕМОНТА С ПОДЪЕМОМ И УКЛАДКОЙ НЕФТЕПРОВОДА НА ЛЕЖКИ В ТРАНШЕЕ
ОБЛАСТЬ И УСЛОВИЯ ПРИМЕНЕНИЯ
Схема капитального ремонта с подъемом и укладкой нефтепровода на лежки в траншее рекомендуется для нефтепроводов диаметрами 219...720 мм при замене дефектного изоляционного покрытия с восстановлением стенки трубы (зачисткой, заваркой язв или приваркой усилительных элементов).
Подъем и укладка нефтепровода на лежки проводятся при остановленной перекачке.
Последовательность выполнения ремонтных работ приведена в типовой технологической карте № 2.
Б 2.3 ТЕХНОЛОГИЧЕСКАЯ СХЕМА РЕМОНТА БЕЗ ПОДЪЕМА НЕФТЕПРОВОДА С СОХРАНЕНИЕМ ЕГО ПОЛОЖЕНИЯ
ОБЛАСТЬ И УСЛОВИЯ ПРИМЕНЕНИЯ
Схема капитального ремонта без подъема нефтепровода с сохранением его положения рекомендуется для нефтепроводов диаметрами 720 мм и более при замене изоляционного покрытия с восстановлением или без восстановления стенки трубы. Ремонт проводится без остановки перекачки при внутреннем давлении до 2,5 МПа. Последовательность выполнения ремонтных работ приведена в типовой технологической карте № 3.
ТИПОВАЯ ТЕХНОЛОГИЧЕСКАЯ КАРТА № 1
РЕМОНТ С ПОДЪЕМОМ НЕФТЕПРОВОДА В ТРАНШЕЕ
|
Выполняемые работы |
Оборудование, приспособления, материалы |
Состав бригады |
Примечания |
|
1 |
2 |
3 |
4 |
|
1 Определить положение нефтепровода и установить вешки. Вешки установить через каждые 50 м, а при неровном рельефе местности - через каждые 25 м; в местах изменения рельефа, в вершинах углов поворотов трассы, в местах пересечений с подземными коммуникациями, в местах расположения объектов ЭХЗ, на границах разработки грунта вручную, перед началом и в конце участка вскрышных работ. Сдача трассы заказчиком подрядчику |
Трассоискатель, вешки, автомобиль грузопассажирский |
Линейные трубопроводчики, водитель автомобиля, представители службы ЭХЗ, геодезические службы заказчика, подрядчика и других заинтересованных организаций |
Высота вешек - 1,5 м. На вешках указать глубину заложения трубы (от поверхности земли до нижней образующей трубы). При невозможности определения местоположения трассоискателем, провести шурфование. Сдача трассы проводится по акту |
|
2 Снять плодородный слой почвы и переместить его во временный отвал: толщина плодородного слоя - м; ширина полосы, с которой снимается плодородный слой почвы - м; дальность перемещения во временный отвал - м; расположение отвала от оси трубы - |
Бульдозер |
Машинист бульдозера, разнорабочий |
Производитель работ (прораб, мастер) обязан ознакомить машиниста бульдозера с особенностями участка под роспись |
|
3 Провести планировку полосы трассы в зоне движения ремонтно-строительной колонны |
Бульдозер |
Машинист бульдозера |
|
|
4 Восстановить вешки, определяющие положение нефтепровода и коммуникаций, находящихся в одном техническом коридоре |
Теодолит (нивелир), трассоискатель, вешки |
Мастер, геодезист, разнорабочий |
|
|
5 Вскрыть нефтепровод до нижней образующей, минеральный грунт уложить с одной стороны траншеи. Схема производства земляных работ приведена на рис. Б.1 |
Машина для вскрытия трубопровода МВТ или одноковшовый экскаватор |
Машинист МВТ или экскаватора, помощник машиниста экскаватора |
Расстояние от отвала минерального грунта до бровки траншеи должно быть не менее 0,5 м. Во избежание повреждения нефтепровода расстояние между и ковшом экскаватора должно быть не менее 0,15...0,20 м |
|
6 Провести предварительный осмотр технического состояния нефтепровода, определить места расположения дефектов, обнаруженных при диагностике, и при необходимости провести их ремонт |
Сварочный агрегат, шлифмашинка, электроды, электростанция |
Мастер, сварщик, разнорабочий, машинист электростанции |
Следует принять меры против возможного обрушения траншеи, по обустройству рабочих мест средствами индивидуальной и коллективной защиты |
|
7 Подготовить изоляционные материалы, провести заправку изоляционной машины |
Изоляционная машина, изоляционные материалы |
Машинист изоляционной машины, помощник машиниста изоляционной машины, изолировщик, лаборант |
Работы вести согласно инструкциям по приготовлению и нанесению покрытий, а также инструкции по эксплуатации машины |
|
8. Расставить грузоподъемные механизмы с соблюдением технологических параметров ремонтной колонны (рис. Б.2) |
Краны-трубоукладчики, троллейные роликоканатные подвески |
Машинисты трубоукладчиков |
Технологические параметры колонны должны соответствовать значениям табл. Б.1. Краны-трубоукладчики должны быть снабжены троллейными роликоканатными подвесками |
|
9. Смонтировать на нефтепроводе очистную и изоляционную машины, проверить их работу на холостом ходу. Монтаж машин проводить с разработкой приямков. В случае монтажа с подъемом трубы - подъем проводить по согласованию с диспетчерской службой РУМН |
Очистная и изоляционная машины, кран-трубоукладчик, радиосвязь, электростанция |
Мастер, машинист изоляционной машины, машинист очистной машины, помощник машиниста очистной машины, помощник машиниста изоляционной машины, машинист трубоукладчика, дежурные на отсекающих задвижках, машинист электростанции |
В ходе работы соблюдать расстояние: 2...3 м - от очистной машины до трубоукладчика Т1 (сзади по ходу движения); 2...3 м - от последнего трубоукладчика до изоляционной машины |
|
10. Провести подъем нефтепровода одновременно всеми грузоподъемными механизмами |
Краны-трубоукладчики |
Машинисты трубоукладчиков, мастер |
Подъем нефтепровода осуществлять плавно, без рывков. Усилие на крюках трубоукладчиков контролировать динамометром. Все работы проводить по письменному разрешению диспетчера РУМН |
|
11. Очистить нефтепровод и нанести новое изоляционное покрытие за один проход колонны |
Краны-трубоукладчики, очистная и изоляционная машины, электростанция |
Машинисты трубоукладчиков, машинист очистной машины, машинист изоляционной машины, помощник машиниста очистной машины, помощник машиниста изоляционной машины, машинист электростанции, мастер |
Степень очистки поверхности нефтепровода должна соответствовать требованиям ВСН 008-88 и типу наносимого изоляционного покрытия |
|
12. Осуществить контроль качества изоляционного покрытия визуально и дефектоскопом (на сплошность). При выполнении контрольных замеров все работы прекращаются. При автоматическом контроле разрешается непрерывная работа |
Дефектоскоп |
Дефектоскопист |
Сплошность изоляционного покрытия определяется из расчета 5 кВ на 1 мм толщины покрытия |
|
13. Заизолированный участок уложить в траншею |
Краны-трубоуклачики |
Машинисты трубоукладчиков |
|
|
14. Восстановить средства электрохимзащиты |
Сварочный агрегат, электроды |
Сварщик, слесарь КИП и А |
|
|
15. Присыпать нефтепровод мягким или размельченным грунтом |
Бульдозер |
Машинист бульдозера |
Грунт не должен содержать камней, крупных комьев |
|
16. Провести окончательную засыпку траншеи минеральным грунтом. При наличии горизонтальных кривых на нефтепроводе вначале засыпать криволинейный участок, начиная от его середины в обе стороны, а затем остальную часть |
Бульдозер |
Машинист бульдозера |
Засыпку траншеи можно выполнить без уплотнения грунта с отсыпкой валика высотой, учитывающей последующую осадку грунта |
|
17. Провести рекультивацию плодородного слоя почвы бульдозером. При обратном движении спланировать трассу опущенным отвалом бульдозера |
Бульдозер |
Машинист бульдозера |
|
|
18. Осуществить контроль качества изоляционно-укладочных работ искателем повреждений, при необходимости провести ремонт дефектов |
Искатель повреждений |
Дефектоскопист, разнорабочий, представители заказчика, подрядчика, технадзора |
Контроль сплошности провести не ранее, чем через две недели после засыпки трубопровода |
Таблица № Б.1 технологические параметры колонны
|
Количество грузоподъемных механизмов, шт. |
Высота подъема нефтепровода, м |
Расстояния между грузоподъемными механизмами, м |
Длина приподнятого участка, м |
Усилия подъема нефтепровода грузоподъемными механизмами, кН |
|||
|
D |
n |
h1 |
h2 |
l |
L |
P1 |
Р2 |
|
219 |
3 |
0,63 |
1,01 |
13,0 |
59,0 |
19,9 |
8,0 |
|
273 |
3 |
0,77 |
1,20 |
14,0 |
67,0 |
25,6 |
12,0 |
|
325 |
3 |
0,73 |
1,11 |
15,0 |
72,0 |
33,1 |
17,0 |
|
377 |
3 |
0,70 |
1,03 |
16,0 |
77,0 |
51,4 |
25,0 |
|
426 |
3 |
0,68 |
1,01 |
17,0 |
82,0 |
62,1 |
33,0 |
|
530 |
4 |
0,66 |
1,17 |
20,0 |
112,0 |
97,2 |
60,0 |
|
630 |
4 |
0,65 |
1,10 |
20,0 |
115,0 |
129,0 |
80,0 |
|
720 |
4 |
0,63 |
1,02 |
20,0 |
118,0 |
174,0 |
100,0 |
Рис. Б.1 Разработка грунта до нижней образующей трубопровода
Рис. Б.2 Схема производства изоляционных работ
ТИПОВАЯ ТЕХНОЛОГИЧЕСКАЯ КАРТА № 2
РЕМОНТ НЕФТЕПРОВОДА С ПОДЪЕМОМ И УКЛАДКОЙ НА ЛЕЖКИ В ТРАНШЕЕ
|
Выполняемые работы |
Оборудование, приспособления, материалы |
Состав бригады |
Примечания |
|
1 |
2 |
3 |
4 |
|
1. Определить положение нефтепровода и установить вешки. Вешки установить через каждые 50 м, а при неровном рельефе местности - через каждые 25 м; в местах изменения рельефа, в вершинах углов поворотов трассы, в местах пересечений с подземными коммуникациями, в местах расположения объектов ЭХЗ, на границах разработки грунта вручную, перед началом и в конце участка вскрышных работ. Сдача трассы заказчиком подрядчику |
Трассоискатель, вешки, автомобиль грузопассажирский |
Линейные трубопроводчики, водитель автомобиля, представители службы ЭХЗ, геодезических служб, заказчика и других заинтересованных организаций |
Высота вешек - 1,5 м. На вешках указать глубину заложения трубы (от поверхности земли до нижней образующей трубы). При невозможности определения местоположения трассоискателем, провести шурфование. Сдача трассы проводится по акту |
|
2. Снять плодородный слой почвы и переместить его во временный отвал: толщина плодородного слоя - м; ширина полосы, с которой снимается плодородный слой почвы - м; расположение отвала от оси трубопровода - ; дальность перемещения во временный отвал - м |
Бульдозер |
Машинист бульдозера, разнорабочий |
Производитель работ (прораб, мастер) обязан ознакомить машиниста бульдозера с особенностями участка под роспись |
|
3. Провести планировку полосы трассы в зоне движения ремонтно-строительной колонны |
Бульдозер |
Машинист бульдозера |
|
|
4. Восстановить вешки, определяющие положение нефтепровода и коммуникаций, находящихся в одном техническом коридоре |
Теодолит (нивелир), трассоискатель, вешки |
Мастер, геодезист, разнорабочий |
|
|
5. Вскрыть нефтепровод до нижней образующей, минеральный грунт уложить с одной стороны траншеи. Схема производства земляных работ приведена на рис. Б.1 |
Машина для вскрытия трубопровода МВТ или одноковшовый экскаватор |
Машинист МВТ или экскаватора, помощник машиниста экскаватора |
Расстояние от отвала минерального грунта до бровки траншеи должно быть не менее 0,5 м. Во избежание повреждения нефтепровода расстояние между трубой и ковшом экскаватора должно быть не менее 0,15...0,20 м |
|
6. Провести предварительный осмотр технического состояния нефтепровода, определить места расположения дефектов, обнаруженных при диагностике, и провести ремонт их при необходимости |
Сварочный агрегат, шлифмашинка, электроды, электростанция |
Мастер, сварщик, разнорабочий, машинист электростанции |
Следует принять меры против возможного обрушения траншеи, по обустройству рабочих мест средствами индивидуальной и коллективной защиты |
|
7. Провести расстановку грузоподъемных механизмов с соблюдением технологических параметров ремонтной колонны, смонтировать на нефтепроводе очистную машину (рис. Б.3) |
Краны-трубоукладчики, очистная машина, троллейные роликоканатные подвески |
Машинисты трубоукладчиков, машинист очистной машины, помощник машиниста очистной машины |
Технологические параметры определяются расчетным путем по РД 39-00147105-016-98 «Методика расчета прочности и устойчивости ремонтируемых линейных участков магистральных нефтепроводов с учетом дефектов, обнаруженных при диагностическом обследовании». Очистная машина должна находиться на расстоянии 2 … 3 м от второго трубоукладчика |
|
8. Поднять нефтепровод грузоподъемными механизмами |
Краны-трубоукладчики |
Машинисты трубоукладчиков |
Подъем нефтепровода осуществлять плавно, без рывков. Усилие на крюках трубоукладчиков контролировать динамометрами |
|
9. Очистить нефтепровод от старой изоляции, земли, ржавчины при одновременном перемещении колонны |
Краны-трубоукладчики, очистная машина |
Машинисты трубоукладчиков, машинист очистной машины, помощник машиниста очистной машины |
|
|
10. Уложить очищенный от старой изоляции нефтепровод на лежки в траншее |
Краны-трубоукладчики, лежки |
Машинисты трубоукладчиков, разнорабочие |
Лежки должны быть расположены от поперечных сварных швов на расстоянии не менее 3 м |
|
11. Выполнить ремонтные работы по восстановлению несущей способности стенки трубы на участке, уложенном на лежки |
|
|
Ремонтные работы по заварке дефектов, установке усилительных муфт следует проводить по специально разработанным технологическим картам |
|
12. Подготовить изоляционные материалы, провести заправку изоляционной машины |
Изоляционная машина |
Машинист изоляционной машины, помощник машиниста изоляционной машины, изолировщик, лаборант |
Работы вести согласно инструкциям по приготовлению и нанесению покрытий и инструкции по эксплуатации машины |
|
13. Провести расстановку грузоподъемных механизмов с соблюдением технологических параметров ремонтной колонны (табл. Б.1), смонтировать на нефтепроводе очистную и изоляционную машины (рис. Б.3), проверить их работу на холостом ходу. Монтаж машин проводить с разработкой приямков. В случае монтажа с подъемом трубы - подъем проводить по согласованию с диспетчерской службой РУМН |
Краны-трубоукладчики, троллейные роликоканатные подвески, очистная и изоляционная машины, радиостанция, электростанция |
Машинисты трубоукладчиков, машинист изоляционной машины, машинист очистной машины, помощник машиниста изоляционной машины, помощник машиниста очистной машины, мастер, дежурные на отсекающих участок задвижках, машинист электростанции |
В ходе работы соблюдать расстояние: 2...3 м - от очистной машины до первого трубоукладчика; 2...3 м - от изоляционной машины до последнего трубоукладчика |
|
14. Поднять нефтепровод одновременно всеми грузоподъемными механизмами; убрать лежки из-под нефтепровода на бровку траншеи с помощью багров. Не допускается нахождение людей в траншее во время изоляционно-укладочных работ |
Краны-трубоукладчики, багры |
Машинисты трубоукладчиков, слесари-трубопроводчики |
Подъем нефтепровода осуществлять плавно, без рывков. Усилие на крюках трубоукладчиков контролировать динамометрами. Все работы проводить по письменному разрешению диспетчера РУМН |
|
15. Почистить нефтепровод и нанести новое изоляционное покрытие за один проход колонны |
Краны-трубоукладчики, очистная машина, изоляционная машина, электростанция |
Машинисты трубоукладчиков, машинист изоляционной машины, машинист очистной машины, помощник машиниста изоляционной машины, помощник машиниста очистной машины, мастер, машинист электростанции |
Степень очистки поверхности нефтепровода должна соответствовать требованиям ВСН 008-88 и типу наносимого изоляционного покрытия |
|
16. Осуществить контроль качества изоляционного покрытия визуально и дефектоскопом на сплошность. При выполнении контрольных замеров все работы прекращаются. При автоматическом контроле разрешается непрерывная работа |
Дефектоскоп |
Дефектоскопист |
Сплошность изоляционного покрытия определяется из расчета 5 кВ на 1 мм толщины покрытия |
|
17. Заизолированный участок уложить в траншею |
Краны-трубоукладчики |
Машинисты трубоукладчиков |
|
|
18. Восстановить средства электрохимзащиты |
Сварочный агрегат, электроды |
Сварщик, слесарь КИП и А |
|
|
19. Присыпать нефтепровод мягким или размельченным грунтом |
Бульдозер |
Машинист бульдозера |
Грунт не должен содержать камней, крупных комьев |
|
20. Провести окончательную засыпку траншеи минеральным грунтом. При наличии горизонтальных кривых на нефтепроводе вначале засыпать криволинейный участок, начиная от его середины в обе стороны, а затем остальную часть |
Бульдозер |
Машинист бульдозера |
Засыпку траншеи можно выполнить без уплотнения грунта с отсыпкой валика высотой, учитывающей последующую осадку грунта |
|
21. Провести рекультивацию плодородного слоя почвы бульдозером. При обратном движении спланировать трассу опущенным отвалом бульдозера |
Бульдозер |
Машинист бульдозера |
|
|
22. Осуществить контроль качества изоляционно-укладочных работ искателем повреждений, при необходимости провести ремонт дефектов |
Искатель повреждений |
Дефектоскопист, разнорабочий, представители заказчика, подрядчика, технадзора |
Контроль сплошности провести не ранее, чем через две недели после засыпки трубопровода |
ТИПОВАЯ ТЕХНОЛОГИЧЕСКАЯ КАРТА №3
РЕМОНТ БЕЗ ПОДЪЕМА НЕФТЕПРОВОДА С СОХРАНЕНИЕМ ЕГО ПОЛОЖЕНИЯ
|
Выполняемые работы |
Оборудование, приспособления, материалы |
Состав бригады |
Примечания |
|
1 |
2 |
3 |
4 |
|
1 .Определить положение нефтепровода и установить вешки. Вешки установить через каждые 50 м, а при неровном рельефе местности - через каждые 25 м Вешки установить в местах изменения рельефа, вершинах углов поворотов трассы, в местах пересечений с подземными коммуникациями, в местах расположения объектов ЭХЗ, на границах разработки грунта вручную, перед началом и в конце участка вскрышных работ. Сдача трассы заказчиком подрядчику |
Трассоискатель, вешки, автомобиль грузопассажирский |
Линейные трубопроводчики, водитель автомобиля, представители службы ЭХЗ, геодезических служб, заказчика, подрядчика и других заинтересованных организаций |
Высота вешек - 1,5 м. На вешках указать глубину заложения трубы (от поверхности земли до нижней образующей трубы). При невозможности определения местоположения трассоискателем, провести шурфование. Сдача трассы проводится по акту |
|
2. Снять плодородный слой почвы и переместить его во временный отвал: толщина плодородного слоя - м; ширина полосы, с которой снимается плодородный слой почвы - м; расположение отвала от оси трубы - ; дальность перемещения во временный отвал - м |
Бульдозер |
Машинист бульдозера, разнорабочий |
Производитель работ (прораб, мастер) обязан ознакомить машиниста бульдозера с особенностями участка под роспись |
|
3. Провести планировку полосы трассы в зоне движения ремонтно-строительной колонны |
Бульдозер |
Машинист бульдозера |
|
|
4. Восстановить вешки, определяющие положение нефтепровода и коммуникаций, находящихся в одном техническом коридоре |
Теодолит (нивелир), трассоискатель, вешки |
Мастер, геодезист, разнорабочий |
|
|
5. Разработать траншею ниже нижней образующей нефтепровода (рис. Б.4). Экскаватор № 1 снимает слой грунта над нефтепроводом и разрабатывает грунт с одной стороны нефтепровода на заданную глубину от нижней образующей трубы, укладывает грунт во временный отвал. Экскаватор № 2 разрабатывает грунт с другой стороны на ту же глубину, укладывает грунт во временный отвал. Расстояние между экскаваторами должно быть не менее 14 м для обеспечения безопасной работы |
Одноковшовые экскаваторы |
Машинисты экскаваторов, помощники машинистов экскаваторов |
Глубина траншеи определяется расчетом, исходя из условия размещения грунта из-под нефтепровода в боковых приямках и обеспечения свободной зоны вокруг нефтепровода 0,5 м со всех сторон. Грунт располагать не ближе 0,5 м от края траншеи во избежание обвала грунта в траншею, а также обрушения стенок траншеи. Во избежание повреждения трубопровода расстояние между трубой и ковшом экскаватора должно быть не менее 0,15…0,20 м. При вскрытии трубопровода в «задел» следует оставлять грунтовые перемычку через 20...50 м длиной 1 м |
|
6. Провести предварительный осмотр технического состояния нефтепровода, определить места расположения дефектов, обнаруженных при диагностике и провести ремонт их при необходимости |
Сварочный агрегат, шлифмашинка, электроды, электростанция |
Мастер, сварщик, разнорабочий, машинист электростанции |
Следует принять меры против возможного обрушения траншеи, по обустройству рабочих мест средствами индивидуальной и коллективной защиты |
|
7. Провести расстановку грузоподъемных механизмов с соблюдением технологических параметров ремонтной колонны, смонтировать подкапывающую, очистную и изоляционную машины (рис. Б.5) Подготовить изоляционные материалы, заправить изоляционные машины |
Краны-трубоукладчики, троллейные подвески или полотенца, стрелы-опоры, очистная машина, изоляционная машина, подкапывающая машина, изоляционные материалы |
Машинисты трубоукладчиков, машинист очистной машины, машинист изоляционной машины, помощник машиниста очистной машины, помощник машиниста изоляционной машины, слесарь-трубопроводчик, машинист подкапывающей машины, изолировщик, мастер, лаборант |
Количество грузоподъемных механизмов, технологические параметры определяются по РД 39-00147105-016-98 «Методика расчета прочности и устойчивости ремонтируемых линейных участков магистральных нефтепроводов с учетом дефектов, обнаруженных при диагностическом обследовании». Работы по подготовке изоляционных материалов вести согласно инструкциям по приготовлению и нанесению покрытий. |
|
8. Разработать грунт под трубой на расчетную длину |
Машина подкапывающая |
Машинист подкапывающей машины |
Длина вскрытого участка рассчитывается по РД 39-00147105-016-98 «Методика расчета прочности и устойчивости ремонтируемых линейных участков магистральных нефтепроводов с учетом дефектов, обнаруженных при диагностическом обследовании» |
|
9. Осуществить поддержку вскрытого участка нефтепровода кранами-трубоукладчиками, снабженными стрелами-опорами |
Краны-трубоукладчики, стрелы-опоры, троллейные подвески или полотенца |
Машинист трубоукладчика, слесарь-трубопроводчик |
Все работы проводить по письменному разрешению диспетчера РУМН. Усилие на крюках трубоукладчиков контролировать динамометром |
|
10. На подкопанном участке провести очистку нефтепровода от старой изоляции, земли, ржавчины |
Очистная машина, электростанция |
Машинист очистной машины, машинист электростанции |
|
|
11. Провести осмотр и обозначить мелом дефекты стенки трубы, выявленные при обследовании |
|
Мастер, представитель технадзора |
По результатам осмотра составить акт |
|
12. Выполнить ремонтные работы по восстановлению несущей способности стенки трубы |
Сварочный агрегат, электроды, шлифмашинка, электростанция |
Сварщик, разнорабочий, машинист электростанции |
Ремонтные работы по заварке дефектов, установке муфт следует проводить по специально разработанным технологическим картам |
|
13. Провести повторную очистку участка нефтепровода от окалины, брызг металла |
Шлифмашинка, очистная машина, электростанция |
Машинист очистной машины, разнорабочий, машинист электростанции |
|
|
14. Нанести изоляционное покрытие на очищенном участке нефтепровода |
Изоляционная машина |
Машинист изоляционной машины |
|
|
15. Заизолированный участок присыпать мягким или размельченным грунтом с обеих сторон траншеи. Перед засыпкой провести восстановление средств электрохимзащиты |
Бульдозер, сварочный агрегат, электроды |
Машинист изоляционной машины |
Грунт присыпки не должен закрывать верхнюю образующую нефтепровода или быть ниже оси нефтепровода |
|
16. На присыпанном участке установить машину для подбивки грунта под нефтепровод и провести подбивку |
Машина для подбивки грунта |
Машинист бульдозера, сварщик, слесарь КИП и А |
При уплотнении грунта следить за сохранностью изоляционного покрытия трубы |
|
17. Засыпать траншею минеральным грунтом. При наличии горизонтальных кривых на трубопроводе вначале засыпать криволинейный участок, начиная от его середины в обе стороны, а затем остальную часть |
Бульдозер |
Машина для подбивки грунта |
Засыпку траншеи можно выполнить без уплотнения грунта с отсыпкой валика высотой учитывающей последующую осадку грунта |
|
18. Далее повторить работы согласно пп. 8...17 |
|
|
|
|
19. Провести рекультивацию плодородного слоя почвы поперечными ходами бульдозера. При обратном движении провести планировку трассы опушенным отвалом бульдозера. |
Бульдозер |
Машинист бульдозера |
|
|
20. Осуществить контроль качества изоляционно-укладочных работ искателем повреждений, при необходимости провести ремонт дефектов |
Искатель повреждений |
Дефектоскопист, разнорабочий, представители заказчика, подрядчика, технадзора |
Контроль сплошности провести не ранее, чем через две недели после засыпки трубопровода |
Примечания:

1. Расстояние между экскаваторами должно быть не
менее 14 м для обеспечения безопасной работы каждого.
2. На разрезе III-III бульдозер и экскаваторы условно не показаны.
Рис. Б.4 Разработка грунта ниже образующей трубопровода

Рис. Б.4 Разработка грунта ниже образующей трубопровода
Рис. Б.5 Схема производства изоляционных работ
Капитальный ремонт магистральных нефтепроводов с заменой труб проводится следующими способами:
путем укладки в совмещенную траншею вновь прокладываемого участка нефтепровода рядом с заменяемым с последующим демонтажом последнего;
путем укладки в отдельную траншею вновь прокладываемого участка нефтепровода, с последующим вскрытием и демонтажом заменяемого, в пределах существующего коридора технических коммуникаций;
путем демонтажа заменяемого нефтепровода и укладки вновь прокладываемого нефтепровода в существующую или вновь разработанную траншею.
Б 3.1 ТЕХНОЛОГИЧЕСКАЯ СХЕМА РЕМОНТА С ЗАМЕНОЙ ТРУБ ПУТЕМ УКЛАДКИ В СОВМЕЩЕННУЮ ТРАНШЕЮ
ОБЛАСТЬ И УСЛОВИЯ ПРИМЕНЕНИЯ
Схема капитального ремонта с заменой труб путем укладки в совмещенную траншею вновь прокладываемого участка рядом с заменяемым с последующим демонтажом последнего рекомендуется для нефтепроводов диаметрами 219...1220 мм. Последовательность выполнения ремонтных работ приведена в типовой технологической карте № 4.
Б 3.2 ТЕХНОЛОГИЧЕСКАЯ СХЕМА РЕМОНТА НЕФТЕПРОВОДА С ЗАМЕНОЙ ТРУБ ПУТЕМ УКЛАДКИ В ОТДЕЛЬНУЮ ТРАНШЕЮ
ОБЛАСТЬ И УСЛОВИЯ ПРИМЕНЕНИЯ
Схема капитального ремонта с заменой труб путем укладки в отдельную траншею вновь прокладываемого нефтепровода в пределах существующего технического коридора коммуникаций с последующим вскрытием и демонтажом заменяемого рекомендуется для нефтепроводов диаметрами 219...1220 мм.
Последовательность выполнения ремонтных работ приведена в типовой технологической карте № 5.
Б 3.3 ТЕХНОЛОГИЧЕСКАЯ СХЕМА РЕМОНТА НЕФТЕПРОВОДА С ЗАМЕНОЙ ТРУБ ПУТЕМ УКЛАДКИ В ДОРАБОТАННУЮ СУЩЕСТВУЮЩУЮ ИЛИ ВНОВЬ РАЗРАБОТАННУЮ ПОСЛЕ ЗАСЫПКИ ТРАНШЕЮ
ОБЛАСТЬ И УСЛОВИЯ ПРИМЕНЕНИЯ
Схема капитального ремонта путем демонтажа заменяемого нефтепровода и укладки прокладываемого участка в доработанную существующую или вновь разработанную на прежнем месте после засыпки траншею рекомендуется для нефтепроводов диаметрами 219...1220 мм.
Последовательность выполнения ремонтных работ приведена в типовой технологической карте № 6.
ТИПОВАЯ ТЕХНОЛОГИЧЕСКАЯ КАРТА №4
РЕМОНТ С ЗАМЕНОЙ ТРУБ ПУТЕМ УКЛАДКИ В СОВМЕЩЕННУЮ ТРАНШЕЮ
|
Выполняемые работы |
Оборудование, приспособления, материалы |
Состав бригады |
Примечания |
|
1 |
2 |
3 |
4 |
|
1. Определить положение заменяемого нефтепровода и установить вешки. Вешки установить через каждые 50 м, а при неровном рельефе местности - через каждые 25 м; в местах изменения рельефа, в вершинах углов поворотов трассы, в местах пересечений с подземными коммуникациями, в местах расположения объектов ЭХЗ, на границах разработки грунта вручную, перед началом и в конце участка вскрышных работ, вешками обозначить ось трассы вновь прокладываемого трубопровода. Сдача трассы заказчиком подрядчику |
Трассоискатель, вешки, автомобиль грузопассажирский, теодолит (нивелир) |
Линейные трубопроводчики, водитель автомобиля, представители службы ЭХЗ, геодезических служб, заказчика, подрядчика и других заинтересованных организаций |
Высота вешек - 1,5 м. На вешках указать глубину заложения трубы (от поверхности земли до нижней образующей трубы). При невозможности определения местоположения трассоискателем, провести шурфование Сдача трассы проводится по акту |
|
2. Снять плодородный слой почвы и переместить его во временный отвал: толщина плодородного слоя - м; ширина полосы, с которой снимается плодородный слой почвы - м; расположение отвала от оси трубопровода - ; дальность перемещения во временный отвал - м |
Бульдозер |
Машинист бульдозера, разнорабочий |
Производитель работ (прораб, мастер) обязан ознакомить машиниста бульдозера с особенностями участка под роспись |
|
3. Восстановить вешки, определяющие положение нефтепровода, ось трассы вновь прокладываемого участка коммуникаций, находящихся в одном техническом коридоре |
Теодолит (нивелир), трассоискатель, вешки |
Мастер, геодезист, разнорабочий |
|
|
4. Провести вскрытие нефтепровода до верхней образующей одноковшовым экскаватором и разработку совмещенной траншеи (рис. Б.6). Траншея для укладки вновь прокладываемого нефтепровода должна соответствовать требованиям проекта. Если расположение заменяемого нефтепровода по глубине не соответствует требованиям, дно траншеи заглубить с оставлением перемычек (рис. Б.7). Перед укладкой трубопровода грунт перемычек доработать до низа траншеи. Минеральный грунт следует укладывать по обе стороны траншеи |
Одноковшовый экскаватор |
Машинист экскаватора, помощник машиниста экскаватора |
Во избежание повреждения нефтепровода минимальное расстояние между стенкой трубы и ковшом экскаватора должно быть 0,15...0,20 м. Расстояние между стенками действующего нефтепровода, подлежащего демонтажу, и вновь прокладываемого должно быть не менее: 300 мм - для нефтепроводов диаметром до 700 мм; 450 мм - для нефтепроводов диаметром более 700 мм. Расстояние между перемычками должно быть не менее: 15...20 м - для нефтепроводов диаметром до 530 мм; 20...25 м – для нефтепроводов диаметром более 530 мм. Ширина перемычки 1 м. Расстояние от отвала минерального грунта до бровки траншеи должно быть не менее 0,5 м |
|
5. Провести планировку отвала минерального грунта со стороны движения РСК |
Бульдозер |
Машинист бульдозера |
|
|
6. Подготовить секции труб на трубосварочной базе, вывезти секции на трассу и провести раскладку их на бровке траншеи. Провести сварку секций труб в нитку с контролем качества сварных швов. Допускается сварка одиночных труб, вывезенных на трассу, в нитку с контролем качества сварных швов |
Трубосварочная база, краны-трубоукладчики, трубовоз, рентгеновский аппарат, сварочный агрегат, электроды |
Сварщики, машинисты трубоукладчиков, водители трубовозов, дефектоскопист, разнорабочие, мастер |
Работы вести по специально разработанным технологическим картам. Раскладку труб на трассе вести под углом 15...20 град, к проектной оси траншеи не ближе 1,5 м до бровки траншеи |
|
7. Подготовить изоляционные материалы, провести заправку изоляционной машины |
Изоляционная машина, изоляционные материалы |
Машинист изоляционной машины, помощник машиниста изоляционной машины, изолировщик, лаборант |
Вид и тип изоляционного покрытия определяются рабочим проектом. Работы вести согласно инструкциям по приготовлению и нанесению покрытий, а также инструкции по эксплуатации машины |
|
8. Расставить грузоподъемные механизмы с соблюдением технологических параметров ремонтной колонны (рис. Б.8). На рисунке условно показаны три трубоукладчика |
Краны-трубоукладчики, троллейные роликоканатные подвески |
Машинисты трубоукладчиков, мастер |
Технологические параметры колонны должны соответствовать данным табл. Б.2. Краны-трубоукладчики должны быть снабжены троллейными роликоканатными подвесками |
|
9. Смонтировать очистную и изоляционную машины в начале плети вновь прокладываемого трубопровода, проверить их работу на холостом ходу |
Очистная и изоляционная машины, кран-трубоукладчик, лежки, электростанция |
Машинист очистной машины, машинист изоляционной машины, помощник машиниста очистной машины, помощник машиниста изоляционной машины, машинист трубоукладчика, машинист электростанции, разнорабочий |
Для монтажа очистной и изоляционной машин начало плети следует уложить на лежки |
|
10. Поднять вновь прокладываемый участок трубопровода одновременно всеми грузоподъемными механизмами с соблюдением параметров подъема |
Краны-трубоукладчики |
Машинисты трубоукладчиков, мастер |
Подъем трубопровода осуществлять плавно, без рывков. Трубоукладчик ТЗ смещает конец плети таким образом, чтобы идущая за ним изоляционная машина располагалась по оси траншеи и была опущена в нее примерно на 0,5 м |
|
11. Очистить поверхность вновь прокладываемого трубопровода и нанесение нового изоляционного покрытия. При перемещении в процессе работ трубоукладчики должны надвигать плеть нефтепровода в сторону траншеи так, чтобы изоляционная машина находилась над траншеей, а изолированный трубопровод по мере продвижения колонны свободно укладывался на дно траншеи |
Краны-трубоукладчики, очистная и изоляционная машины, электростанция |
Машинисты трубоукладчиков, машинист очистной машины, машинист изоляционной машины, помощник машиниста очистной машины, помощник машиниста изоляционной машины, машинист электростанции, мастер |
Движение колонны должно происходить синхронно: очистная и изоляционная машины - непрерывно (за исключением технологических остановок); трубоукладчики - прерывисто, приспосабливаясь к ходу машин и выдерживая расстояние друг от друга в пределах допусков |
|
12. Осуществить контроль качества изоляционного покрытия визуально и дефектоскопом (на сплошность). Во время выполнения контрольных замеров все работы прекращаются. При наличии средств автоматического контроля разрешается непрерывная работа |
Дефектоскоп |
Дефектоскопист, представитель технадзора |
Сплошность изоляционного покрытия определяется из расчета 5 кВ на 1 мм толщины покрытия |
|
13. Заизолированный участок уложить в траншею |
Краны-трубоукладчики |
Машинисты трубоукладчиков |
Дно траншеи должно быть спланировано. Наличие камней, крупных включений не допускается. |
|
14. Подключить средства электрохимзащиты |
Сварочный агрегат, электроды |
Сварщик, слесарь КИП и А |
|
|
15. Провести присыпку вновь прокладываемого участка трубопровода мягким или размельченным грунтом до верхней образующей. Концы вновь прокладываемого участка оставить незасыпанными для подключения в действующую магистраль |
Бульдозер |
Машинист бульдозера |
Грунт присыпки не должен содержать камней, крупных включений |
|
16. Подготовить механизмы и оборудование для проведения работ по очистке полости вновь проложенного участка и проведению испытаний на прочность и герметичность |
|
Мастер, механик |
|
|
17. Вставить очистное или разделительное устройство с одной стороны вновь проложенного трубопровода и приварить сферическую заглушку, с другой стороны - задвижку со сливным патрубком |
Сварочный агрегат, электроды, очистное или разделительное устройство, сферическая заглушка, задвижка со сливным патрубком, кран-трубоукладчик |
Сварщик, линейный трубопроводчик, машинист трубоукладчика, разнорабочий |
На рис. Б.9 представлена схема промывки трубопровода с пропуском очистного или разделительного устройства |
|
18. Провести обвязку вновь проложенного участка трубопровода с наполнительным агрегатом |
Наполнительный агрегат, комплект инвентарных узлов подключения агрегатов к трубопроводу, сварочный агрегат, электроды, кран-трубоукладчик |
Машинист наполнительного агрегата, помощник машиниста наполнительного агрегата, сварщик, линейные трубопроводчики, машинист трубоукладчика |
|
|
19. Установить контрольно-измерительные приборы в начале и в конце испытуемого участка, а также в некоторых промежуточных точках |
Контрольно-измерительные приборы, штуцеры, сварочный агрегат, электроды |
Сварщик, линейный трубопроводчик, слесарь КИП и А |
Места установки контрольно-измерительных приборов определяются рабочим проектом |
|
20. Смонтировать воздухоспускные и сливные краны |
Комплект воздухоспускных и сливных кранов, сварочный агрегат |
Сварщик, линейный трубопроводчик |
Места установки кранов определяются рабочим проектом |
|
21. Вывести основную ремонтную технику и персонал за пределы охранной зоны; провести расстановку дежурных на постах наблюдения |
|
Мастер |
|
|
22. Перед очистным устройством залить воду в объеме 10...15 % объема полости очищаемого трубопровода для смачивания и размыва загрязнений. Провести заполнение трубопровода водой. Допускается очистка внутренней полости трубы продувкой воздухом. В этом случае работы следует вести по специально разработанным технологическим картам |
Наполнительный агрегат, разделительное или очистное устройство |
Машинист наполнительного агрегата, помощник машиниста наполнительного агрегата, разнорабочий |
В качестве источника воды использовать естественные или искусственные емкости или котлованы для очистки. Объем воды должен быть достаточным для проведения очистки внутренней полости. Скорость перемещения очистного устройства должна быть не менее - 1 км/ч |
|
23. После выхода поршня - разделителя через сливной патрубок закрыть запорную арматуру, срезать патрубок и приварить сферическую заглушку на конце трубопровода после задвижки |
Газовый резак, сферическая заглушка, сварочный агрегат |
Линейный трубопроводчик, газорезчик, сварщик |
|
|
24. Поднять давление на испытуемом участке нефтепровода до давления испытания: давление испытания - не менее 1,1 Рраб в верхней точке, рраб = 0,95sт в нижней точке; общее время выдержки под испытательным давлением - 24 ч; число циклов - 3 |
Наполнительный и опрессовочный агрегаты |
Машинист наполнительного агрегата, помощник машиниста наполнительного агрегата, машинист опрессовочного агрегата, помощник машиниста опрессовочного агрегата, мастер, представитель технадзора |
Если наполнительный агрегат по техническим характеристикам не обеспечивает давление испытания, установить опрессовочный агрегат |
|
25. Провести сброс давления до проектного рабочего Рраб |
|
Мастер, разнорабочий |
|
|
26. Провести осмотр трассы трубопровода с целью обнаружения утечек. Осмотр проводить не ранее, чем через 12 часов, после снижения давления до Рраб |
Течеискатель |
Обходчик, разнорабочий, мастер, представитель технадзора |
Осмотр вести визуально и с помощью течеискателя. При обходе трассы трубопровода необходимо находиться на расстоянии не менее 5 м от оси трубопровода |
|
27. При обнаружении утечек или разрушений трубопровода провести ремонтные работы и повторить испытания на прочность и герметичность |
|
|
Работы вести согласно пп. 22...26 настоящей технологической карты |
|
28. Провести сброс давления до 0,1 ...0,2 МПа и удалить воду из трубопровода в направлении от наиболее высоких точек (по рельефу местности) к пониженным через сливные краны |
|
Разнорабочие, мастер |
Сливные краны установить в местах скопления воды. Места слива воды определяются в рабочем проекте и согласовываются с заинтересованными организациями. Использованную воду отвести в специально подготовленные емкости или котлованы для очистки |
|
29. Подготовить необходимую технику и материалы для подключения вновь проложенного участка трубопровода к действующей магистрали, получить письменное разрешение диспетчера РУМН на дальнейшее проведение работ |
|
Мастер |
В рабочем проекте определить места установки задвижек, объем опорожнения, емкость для размещения откачиваемой нефти |
|
30. Вскрыть действующий заменяемый нефтепровод в местах подключения и разработать ремонтный котлован на глубину 0,5...0,6 м ниже нижней образующей трубы; оставшийся грунт доработать вручную |
Экскаватор, лопаты |
Машинист экскаватора, помощник машиниста экскаватора, разнорабочие |
Размеры ремонтного котлована должны обеспечить проведение захлеста действующего нефтепровода и вновь проложенного трубопровода по радиусу упругого изгиба для данного диаметра труб |
|
31. На ремонтируемом участке нефтепровода приварить патрубки с задвижками и вырезать отверстия с помощью приспособления для холодной врезки |
Приспособление для холодной врезки, патрубки с задвижками, сварочный агрегат |
Сварщик, линейный трубопроводчик |
Работы разрешается вести при давлении Рраб £ 3 МПа |
|
32. Выполнить одну из следующих подготовительных работ по откачке нефти из заменяемого участка: в параллельный нефтепровод - провести врезку отвода на параллельном нефтепроводе и осуществить обвязку с отводом на заменяемом участке и с насосным агрегатом; |
Сварочный агрегат, комплект оборудования для обвязки, приспособление для холодной врезки, экскаватор |
Сварщик, линейный трубопроводчик, машинист экскаватора, помощник машиниста экскаватора |
Способ опорожнения участка определяется рабочим проектом. При откачке нефти в резинотканевые резервуары или в земляной амбар по окончании сварочно-монтажных работ провести обратную закачку нефти в отремонтированный нефтепровод. На месте разработки земляного амбара снять плодородный слой и переместить его во временный отвал. Объем земляного амбара должен обеспечить размещение всей нефти из опорожняемого участка. После закачки нефти из земляного амбара в нефтепровод остатки нефти собирают сорбентом и вывозят на утилизацию |
|
за ближайшую задвижку - проложить временный нефтепровод и провести врезку отвода в месте закачки; |
Сварочный агрегат, комплект труб и задвижек, приспособление для холодной врезки |
Сварщик, линейный трубопроводчик |
|
|
в резино-тканевые резервуары - соорудить площадку с обвалованием и установить резервуары; |
Бульдозер, автокран |
Машинист бульдозера, водитель автокрана, такелажник |
|
|
в земляной амбар - соорудить земляной амбар, дно и стенки которого обложить полимерной пленкой или слоем уплотненной глины |
Экскаватор, глина, полимерная пленка |
Машинист экскаватора, помощник машиниста экскаватора, разнорабочие |
|
|
33. Постановить перекачку нефти и отключить заменяемый участок ближайшими линейными задвижками |
|
Диспетчер, обходчики |
|
|
34. Провести откачку нефти из заменяемого участка нефтепровода с подачей воздуха на вантузах. Для контроля за уровнем нефти на демонтируемом участке нефтепровода просверлить отверстие диаметром 6...8 мм рядом с патрубком, из которого проводится откачка нефти |
Насосный агрегат, дрель ручная, электростанция |
Машинист насосного агрегата, помощник машиниста установки, линейный трубопроводчик, разнорабочий, машинист электростанции |
|
|
35. Очистить трубу по всему периметру от изоляции и ржавчины в местах вырезки заменяемого участка. Установить перемычку между концами разрезаемого нефтепровода или заземлить их |
Шлифмашинка, скребок, электростанция |
Разнорабочий, машинист электростанции, бригада ABC |
Очистку проводить на ширину: 100...150 мм - для установки удлиненных кумулятивных зарядов, 500 мм для установки машинки для резки труб |
|
36. Провести вырезку заменяемого участка нефтепровода (с применением энергии взрыва или машинкой для резки труб), а также вырезку катушек с обоих концов участка, подлежащего демонтажу. Катушки удалить из траншеи |
Удлиненные кумулятивные заряды, машинка для резки труб МРТ, «Файн», трубоукладчики, электростанция |
Взрывники, машинисты трубоукладчиков, разнорабочие, мастер, бригада ABC, машинист электростанции |
Длина вырезаемых катушек должна обеспечить образование свободного пространства для проведения работ по герметизации полости нефтепровода |
|
37. Провести герметизацию открытых концов ремонтируемого нефтепровода и демонтируемого участка одним из существующих способов (глиняными тампонами, резиновыми шарами, резинокордными оболочками и др.) |
Глина, трамбовки, резиновые шары, резино-кордные оболочки |
Разнорабочие, бригада ABC |
|
|
38. Просверлить контрольные отверстия диаметром 6...8 мм на верхней образующей трубопровода на расстоянии не менее 30 м от места вырезки для стравливания избыточного давления газов из трубы и контроля за уровнем нефти |
Ручная дрель |
Разнорабочий, мастер, бригада ABC |
|
|
39. Очистить дно ремонтного котлована от пропитанного нефтью грунта и провести анализ воздуха в ремонтном котловане на взрывобезопасность |
Экскаватор, газоанализатор, лопаты |
Машинист экскаватора, помощник машиниста экскаватора, лаборант, разнорабочие |
Допуск к сварочным работам возможен, если содержание вредных и горючих паров и газов не выше: а) ПДК углеводородов C1...C10 - 300 мг/м3; сероводорода в смеси с углеводородом C1…C5 - 3 мг/м3; б) ПДВК - 5 % величины нижнего предела воспламенения данного пара или газа в воздухе; для нефти - 2,1 мг/л |
|
40. Подготовить трубопроводы к монтажу захлеста: конец действующего трубопровода подготовить под сварку и уложить на опору высотой 50...60 см от дна ремонтного котлована; плеть, образующую другой конец трубопровода, вывесить рядом с первой и разметить место реза с помощью шаблона; отрезать конец плети с одновременным снятием фаски |
Шаблон, мел, шлифовальная машинка, станок типа СПК или газовый резак, кран-трубоукладчик |
Газорезчик, машинист трубоукладчика, бригада ABC, мастер, разнорабочие |
|
|
41. Провести сборку и монтаж технологических захлестов с помощью наружных центраторов при поддержке стыкуемых концов нефтепровода грузоподъемными механизмами |
Краны-трубоукладчики, наружные центраторы |
Машинисты трубоукладчиков, бригада ABC, разнорабочие |
|
|
42. Зафиксировать равномерно по периметру стыкуемые трубы при помощи прихваток |
Сварочный агрегат, электроды |
Сварщик |
Количество и длина прихваток зависят от диаметра нефтепровода (табл. Б.3) |
|
43. Тщательно зачистить прихватки от шлака и провести сварку шва |
Сварочный агрегат, электроды, шлифовальная машина, электростанция |
Сварщики, машинист электростанции, разнорабочий |
Наложение прихваток и сварку стыка труб диаметром 530...1220 мм выполнить двумя сварщиками без перерывов в работе. Не разрешается оставлять незаконченными сварные соединения захлестов |
|
44. Провести контроль сварных швов нефтепровода визуально и физическими методами |
Рентгеновский аппарат |
Дефектоскопист, мастер, представитель технадзора |
|
|
45. Заглушить технологические отверстия металлическими пробками и обварить их |
Металлические пробки, сварочный агрегат, электроды |
Сварщик, разнорабочие |
|
|
46. Получить разрешение диспетчера РУМН и открыть линейные задвижки |
|
Мастер, обходчики |
|
|
47. Возобновить перекачку нефти по отремонтированному нефтепроводу, поднять давление до рабочего |
|
|
|
|
48. Провести осмотр мест подключения и герметичность сварных швов |
|
Мастер, представитель технадзора |
|
|
49. Очистить трубы в местах захлестов и нанести противокоррозионную изоляцию вручную |
Шлифмашинка, изоляционные материалы, электростанция |
Трубоукладчик, изолировщики, машинист электростанции |
Изоляционное покрытие в зоне сварных швов должно быть усиленного типа |
|
50. Проверить качество нанесения изоляции |
Дефектоскоп |
Дефектоскопист, мастер, представитель технадзора |
Сплошность изоляционного покрытия определяется из расчета 5 кВ на 1 мм толщины покрытия |
|
51. Подготовить демонтируемый участок трубопровода к промывке: заглушить один конец демонтируемого участка сферической заглушкой; другой - оборудовать сливным патрубком. Провести обвязку участка с наполнительным агрегатом по принципиальной схеме очистки трубопровода (рис. Б.9), установить сливные краны в местах скопления воды |
Сварочный агрегат, сферическая заглушка, сливной патрубок, комплект оборудования для обвязки, наполнительный агрегат, очистное устройство, сливные краны |
Сварщик, машинист наполнительного агрегата, помощник машиниста наполнительного агрегата, разнорабочие, мастер |
|
|
52. Осуществить промывку демонтируемого участка водой, содержащей поверхностно-активные вещества с пропуском очистного устройства |
Наполнительный агрегат |
Машинист наполнительного агрегата, помощник машиниста наполнительного агрегата, мастер |
Скорость перемещения очистного устройства по трубе - 1 км/ч. Промывку считать законченной после выхода очистного устройства через сливной патрубок не разрушенным |
|
53. Удалить воду из промываемого участка через сливные краны в направлении от наиболее высоких точек (по рельефу местности) к пониженным |
|
Мастер, разнорабочие |
Сливные краны установить в местах скопления воды. Места слива воды определяются рабочим проектом и согласовываются с заинтересованными организациями. Использованную воду отвести в специально подготовленные емкости или котлованы для очистки для очистки. Способ очистки использованной воды должен быть определен в рабочем проекте |
|
54. Расставить грузоподъемные механизмы с соблюдением технологических параметров ремонтной колонны согласно табл. Б.4. Перед трубоукладчиком на трубопроводе установить очистную машину |
Краны-трубоукладчики, троллейные роликоканатные подвески, очистная машина, электростанция |
Машинисты трубоукладчиков, машинист очистной машины, помощник машиниста очистной машины, машинист электростанции, мастер |
Расстояние от очистной машины до ближайшего трубоукладчика должно быть в пределах 2...3 м |
|
55. Разработать приямки для пропуска троллейных подвесок трубоукладчиков под трубопроводом и провести подъем начального участка выдергиванием из грунта |
Краны-трубоукладчики, экскаватор |
Машинист экскаватора, помощник машиниста экскаватора, машинисты трубоукладчиков |
|
|
56. Провести подъем, очистку и укладку всего демонтируемого участка трубопровода с соблюдением технологических параметров. Провести засыпку траншеи минеральным грунтом под приподнятым участком трубопровода. Схема производства работ приведена на рис. Б.10 |
Краны-трубоукладчики, очистная машина, бульдозер |
Машинисты трубоукладчиков, машинист очистной машины, помощник машиниста очистной машины, машинист бульдозера |
Подъем и укладку трубопровода проводить без смещения в боковых направлениях для предохранения изоляционного покрытия вновь проложенного участка нефтепровода от повреждения |
|
57. Уложить демонтируемый трубопровод поверх засыпанной траншеи на прежнее проектное положение на лежки или земляные тумбы |
Краны-трубоукладчики |
Машинисты трубоукладчиков |
|
|
58. Демонтируемый участок трубопровода разрезать на отдельные трубы или секции (механической резкой, резкой взрывом, газовой резкой) |
Машина для резки труб МРТ, ФАЙН, удлиненные кумулятивные заряды, газовый резак, электростанция |
Взрывник, газорезчик, разнорабочий, машинист электростанции |
При резке трубопровода соблюдать необходимые требования по проведению работ и технике безопасности |
|
59. Провести погрузку, транспортировку и выгрузку секций труб в местах складирования |
Кран-трубоукладчик, захваты торцевые, захваты клещевые, трубовоз |
Машинист трубоукладчика, водитель трубовоза, разнорабочий, стропальщик, кладовщик |
|
|
60. Провести рекультивацию плодородного слоя почвы бульдозером. При обратном движении провести планировку полосы трассы опущенным отвалом бульдозера |
Бульдозер |
Машинист бульдозера |
|
|
61. Осуществить контроль качества изоляционно-укладочных работ искателем повреждений, при необходимости провести ремонт дефектов |
Искатель повреждений |
Дефектоскопист, разнорабочий, представители заказчика, подрядчика, технадзора |
Контроль провести не ранее, чем через две недели после засыпки трубопровода |
Таблица № б.2 технологические параметры колонны при укладке вновь прокладываемого участка трубопровода
|
Количество трубоукладчиков, шт. |
Расстояния между трубоукладчиками (группами), м |
Максимально допустимое расстояние между очистной и изоляционной машинами, м |
||
|
11 |
l2 |
|||
|
325...530 |
3 |
15...20 |
10...15 |
35 |
|
720...820 |
4 |
20...25 |
15...20 |
45 |
|
1020 |
4 |
20...25 |
15...25 |
50 |
|
1220 |
5 |
25...35 |
20...30 |
65 |
Таблица № б.3 количество и длина прихваток
|
Диаметр нефтепровода, мм |
|||
|
до 400 |
400...1000 |
1000...1400 |
|
|
Количество прихваток, не менее |
2 |
3 |
4 |
|
Длина прихваток, мм |
30...50 |
60...100 |
100...120 |
Таблица № б.4 технологические параметры колонны при демонтаже заменяемого участка
|
Количество трубоукладчиков |
Расстояния между трубоукладчиками |
||
|
l1 |
l2 |
||
|
219...530 |
2 |
15...20 |
- |
|
720 |
3 |
20...25 |
20...25 |
|
820 |
3 |
20...25 |
20...25 |
|
1020 |
3 |
25...30 |
25...30 |
Рис. Б.6 Схема производств земляных работ при ремонте с заменой труб путем укладки в совмещенную траншею
1 - заменяемый нефтепровод;
2 - траншея для нового нефтепровода;
3 - земляная перемычка;
L - расстояние между перемычками; h - величина заглубления.
Рис. Б.7 Схема траншеи с перемычками
а - подготовка участка к проведению промывки; б - подача воды перед поршнем-разделителем; в - пропуск поршня-разделителя в потоке воды; г - подготовка участка к испытанию; 1 - очищаемый участок; 2 и 7 - перепускные патрубки с кранами; 3 - поршень-разделитель; 4 - коллектор; 5 - наполнительные агрегаты; 6 - подводящий патрубок; 8 - линейная арматура; 9 - сливной патрубок.
Рис. Б.9 Принципиальная схема производства работ при промывке нефтепроводов
ТИПОВАЯ ТЕХНОЛОГИЧЕСКАЯ КАРТА № 5
РЕМОНТ С ЗАМЕНОЙ ТРУБ ПУТЕМ УКЛАДКИ В ОТДЕЛЬНУЮ ТРАНШЕЮ
|
Выполняемые работы |
Оборудование, приспособления, материалы |
Состав бригады |
Примечания |
|
1 |
2 |
3 |
4 |
|
1. Определить положение нефтепровода и установить вешки, вешками обозначить ось трассы вновь прокладываемого трубопровода. Вешки установить через каждые 50 м, а при неровном рельефе местности - через каждые 25 м. Вешки установить в местах изменения рельефа, вершинах углов поворотов трассы, в местах пересечений с подземными коммуникациями, в местах расположения объектов ЭХЗ, на границах разработки грунта вручную, перед началом и в конце участка вскрышных работ. Сдача трассы заказчиком подрядчику |
Трассоискатель, вешки, теодолит (нивелир) автомобиль грузопассажирский |
Линейные трубопроводчики, водитель автомобиля, представители службы ЭХЗ, геодезических служб, заказчика, подрядчика и других заинтересованных организаций |
Высота вешек - 1,5 м. На вешках указать глубину заложения трубы (от поверхности земли до нижней образующей) трубы. При невозможности определения местоположения трассоискателем, провести шурфование. Сдача трассы проводится по акту |
|
2. Снять плодородный слой почвы и переместить его во временный отвал: толщина плодородного слоя - м; ширина полосы, с которой снимается плодородный слой почвы - м; расположение отвала от оси трубопровода ; дальность перемещения во временный отвал - м |
Бульдозер |
Машинист бульдозера, разнорабочий |
Производитель работ (мастер, прораб) обязан ознакомить машиниста бульдозера с особенностями участка под роспись |
|
3. Провести планировку полосы трассы в зоне движения РСК |
Бульдозер |
Машинист бульдозера |
|
|
4. Восстановить вешки, определяющие положение нефтепровода, ось трассы вновь прокладываемого участка, коммуникаций, находящихся в одном техническом коридоре |
Теодолит (нивелир), трассоискатель, вешки |
Мастер, геодезист, разнорабочий |
|
|
5. Подготовить секции труб на трубосварочной базе, вывезти секции на трассу и провести раскладку их вдоль будущей траншеи. Провести сварку секций труб в нитку с контролем качества монтажных сварных швов. Допускается сварка одиночных труб в нитку с контролем качества сварных швов |
Трубосварочная база, краны-трубоукладчики, трубовоз, рентгеновский аппарат, сварочный агрегат, электроды |
Сварщики, машинисты трубоукладчиков, водители трубовозов, дефектоскопист, разнорабочие, мастер |
Раскладку труб на трассе вести под углом 15...20 град, к проектной оси траншеи не ближе 1,5 м до бровки траншеи. Работы выполнять по специально разработанным технологическим картам |
|
6. Разработать новую траншею для укладки вновь прокладываемого участка трубопровода. Схема выполнения земляных работ приведена на рис. Б.11 (вариант б). Минеральный грунт следует укладывать в отвал с одной стороны траншеи. |
Одноковшовый экскаватор |
Машинист экскаватора, помощник машиниста экскаватора |
Разработку траншеи вести с соблюдением требований СНиП 2.05.06-85*. Расстояние от новой траншеи до параллельно проложенных действующих нефтепроводов в едином техническом коридоре принимать по табл. Б.5; в стесненных условиях прокладки - по табл. Б.6, исходя из условия безопасной эксплуатации |
|
7. Подготовить изоляционные материалы, заправить изоляционную машину |
Изоляционная машина, изоляционные материалы |
Машинист изоляционной машины, помощник машиниста изоляционной машины, изолировщик, лаборант |
Вид и тип изоляционного покрытия определяются рабочим проектом. Работы вести согласно инструкциям по приготовлению и нанесению покрытий, а также инструкции по эксплуатации машины |
|
8. Расставить грузоподъемные механизмы с соблюдением технологических параметров ремонтной колонны (рис. Б.7). На рисунке условно показаны три трубоукладчика. |
Краны-трубоукладчики, троллейные роликоканатные подвески |
Машинисты трубоукладчиков, мастер |
Технологические параметры колонны должны соответствовать данным табл. Б.2. Краны-трубоукладчики должны быть снабжены троллейными роликоканатными подвесками |
|
9. Смонтировать очистную и изоляционную машины в начале плети вновь прокладываемого трубопровода, проверить их работу на холостом ходу |
Очистная и изоляционная машины, кран-трубоукладчик, лежки, электростанция |
Машинист очистной машины, машинист изоляционной машины, помощник машиниста очистной машины, помощник машиниста изоляционной машины, машинист трубоукладчика, машинист электростанции, разнорабочий |
Для монтажа очистной и изоляционной машин начало плети следует уложить на лежки |
|
10. Поднять вновь прокладываемый участок трубопровода одновременно всеми грузоподъемными механизмами с соблюдением параметров подъема |
Краны-трубоукладчики |
Машинисты трубоукладчиков, мастер |
Подъем трубопровода осуществлять плавно, без рывков. Трубоукладчик ТЗ смещает конец плети таким образом, чтобы идущая за ним изоляционная машина располагалась по оси траншеи и была опущена в нее примерно на 0,5 м |
|
11. Очистить поверхность вновь прокладываемого трубопровода и нанести новое изоляционное покрытие. При перемещении в процессе работ трубоукладчики должны надвигать плеть нефтепровода в сторону траншеи так, чтобы изоляционная машина находилась над траншеей, а изолированный трубопровод по мере продвижения колонны свободно укладывался на дно траншеи |
Краны-трубоукладчики, очистная и изоляционная машины, электростанция |
Машинисты трубоукладчиков, машинист очистной машины, машинист изоляционной машины, помощник машиниста очистной машины, помощник машиниста изоляционной машины, машинист электростанции, мастер |
Движение колонны должно происходить синхронно: очистная и изоляционная машины - непрерывно (за исключением технологических остановок); трубоукладчики - прерывисто, приспосабливаясь к ходу машин и выдерживая расстояние друг от друга в пределах допусков |
|
12. Осуществить контроль качества изоляционного покрытия визуально и дефектоскопом (на сплошность). Во время выполнения контрольных замеров все работы прекращаются. При наличии средств автоматического контроля разрешается непрерывная работа |
Дефектоскоп |
Дефектоскопист, представитель технадзора |
Сплошность изоляционного покрытия определяется из расчета 5 кВ на 1 мм толщины покрытия |
|
13. Заизолированный участок уложить в траншею |
Краны-трубоукладчики |
Машинисты трубоукладчиков |
Дно траншеи должно быть спланировано. Наличие камней, крупных включений не допускается |
|
14. Подключить средства электрохимзащиты |
Сварочный агрегат, электроды |
Сварщик, слесарь КИП и А |
|
|
15. Выполнить присыпку вновь проложенного участка трубопровода размельченным или мягким грунтом и последующую засыпку траншеи минеральным грунтом. Концы участка трубопровода оставить незасыпанными для подключения в действующую магистраль |
Бульдозер |
Машинист бульдозера |
Грунт присыпки не должен содержать камней, крупных включений |
|
16. Подготовить механизмы и оборудование для проведения работ по очистке полости вновь проложенного участка и проведению испытаний на прочность и герметичность |
|
Мастер, механик |
|
|
17. Вставить очистное или разделительное устройство и приварить сферическую заглушку с одной стороны вновь проложенного трубопровода, с другой стороны - задвижку со сливным патрубком |
Сварочный агрегат, электроды, очистное или разделительное устройство, сферическая заглушка, задвижка со сливным патрубком, кран-трубоукладчик |
Сварщик, линейный трубопроводчик, машинист трубоукладчика, разнорабочий |
На рис. Б.8 представлена схема промывки трубопровода с пропуском очистного или разделительного устройства |
|
18. Провести обвязку вновь проложенного участка трубопровода с наполнительным агрегатом |
Наполнительный агрегат, комплект инвентарных узлов подключения агрегатов к трубопроводу, сварочный агрегат, электроды, кран-трубоукладчик |
Машинист наполнительного агрегата, помощник машиниста наполнительного агрегата, сварщик, линейные трубопроводчики, машинист трубоукладчика |
|
|
19. Установить контрольно-измерительные приборы в начале и в конце испытуемого участка, а также в некоторых промежуточных точках |
Контрольно-измерительные приборы, штуцеры, сварочный агрегат, электроды |
Сварщик, линейный трубопроводчик, слесарь КИП и А |
Места установки контрольно-измерительных приборов определяются рабочим проектом |
|
20. Смонтировать воздухоспускные и сливные краны |
Комплект воздухоспускных и сливных кранов, сварочный агрегат |
Сварщик, линейный трубопроводчик |
Места установки кранов определяются рабочим проектом |
|
21. Вывести основную ремонтную технику и персонал за пределы охранной зоны; провести расстановку дежурных на постах наблюдения. |
|
Мастер |
|
|
22. Перед очистным устройством залить воду в объеме 10...15 % объема полости очищаемого трубопровода для смачивания и размыва загрязнений. Заполнить трубопровод водой. Допускается очистка внутренней полости трубы продувкой воздухом. В этом случае работы следует вести по специально разработанным технологическим картам |
Наполнительный агрегат, разделительное или очистное устройство |
Машинист наполнительного агрегата, помощник машиниста наполнительного агрегата, разнорабочий |
В качестве источника воды использовать естественные или искусственные емкости или котлованы для очистки. Объем воды должен быть достаточным для проведения очистки внутренней полости. Скорость перемещения очистного устройства должна быть не менее - 1 км/ч |
|
23. После выхода поршня - разделителя через сливной патрубок закрыть запорную арматуру, срезать патрубок и приварить сферическую заглушку на конце трубопровода после задвижки |
Газовый резак, сферическая заглушка, сварочный агрегат |
Линейный трубопроводчик, газорезчик, сварщик |
|
|
24. Поднять давление на испытуемом участке нефтепровода до давления испытания; давление испытания - не менее 1,1 Рраб в верхней точке, Рраб = 0,95 т в нижней точке; общее время выдержки под испытательным давлением - 24 ч; число циклов - 3 |
Наполнительный и опрессовочный агрегаты |
Машинист наполнительного агрегата, помощник машиниста наполнительного агрегата, машинист опрессовочного агрегата, помощник машиниста опрессовочного агрегата, мастер, представитель технадзора |
|
|
25. Провести сброс давления до проектного рабочего Рраб |
|
Мастер, разнорабочий |
|
|
26. Провести осмотр трассы трубопровода с целью обнаружения утечек. Осмотр проводить не ранее, чем через 12 часов, после снижения давления до Рраб |
Течеискатель |
Обходчик, разнорабочий, мастер, представитель технадзора |
Осмотр вести визуально и с помощью течеискателя. При обходе трассы трубопровода необходимо находиться на расстоянии не менее 5 м от оси трубопровода |
|
27. При обнаружении утечек или разрушений трубопровода провести ремонтные работы и повторить испытания на прочность и герметичность |
|
|
Работы вести согласно пп. 22...26 настоящей технологической карты |
|
28. Провести сброс давления до 0,1...0,2 МПа и удалить воду из трубопровода в направлении от наиболее высоких точек (по рельефу местности) к пониженным через сливные краны |
|
Разнорабочие, мастер |
Сливные краны установить в местах скопления воды. Места слива воды определяются в рабочем проекте и согласовываются с заинтересованными организациями. Использованную воду отвести в специально подготовленные емкости и котлованы для очистки |
|
29. Подготовить необходимую технику и материалы для подключения вновь проложенного участка трубопровода к действующей магистрали, получить письменное разрешение диспетчера РУМН на дальнейшее проведение работ |
|
Мастер |
В рабочем проекте определить места установки задвижек, объем опорожнения, емкость для размещения откачиваемой нефти |
|
30. Вскрыть действующий заменяемый нефтепровод в местах подключения и разработать ремонтный котлован на глубину 0,5...0,6 м ниже нижней образующей трубы |
Экскаватор, лопаты |
Машинист экскаватора, помощник машиниста экскаватора, разнорабочие |
Размеры ремонтного котлована должны обеспечить проведение захлеста действующего нефтепровода и вновь проложенного трубопровода по радиусу упругого изгиба для данного диаметра труб |
|
31. На ремонтируемом участке нефтепровода приварить патрубки с задвижками и вырезать отверстия с помощью приспособления для холодной врезки |
Приспособление для холодной врезки, патрубки с задвижками, сварочный агрегат |
Сварщик, линейный трубопроводчик |
Работы разрешается вести при давлении Рраб £ 3 МПа. |
|
32. Выполнить одну из следующих подготовительных работ по откачке нефти из заменяемого участка: |
Сварочный агрегат, комплект оборудования для обвязки, приспособление для холодной врезки, экскаватор Сварочный агрегат, комплект труб и задвижек, приспособление для холодной резки Бульдозер, автокран
|
Сварщик, линейный трубопроводчик, машинист экскаватора, помощник машиниста экскаватора |
Способ опорожнения участка определяется рабочим проектом. При откачке в резинотканевые резервуары или в земляной амбар по окончании сварочно-монтажных работ провести обратную закачку нефти в отремонтированный нефтепровод. На месте разработки земляного амбара снять плодородный слой и переместить его во временный отвал. Объем земляного амбара должен обеспечить размещение всей нефти из опорожняемого участка. После закачки нефти из земляного амбара в нефтепровод остатки нефти собирают сорбентом и вывозят на утилизацию |
|
в параллельный нефтепровод - провести врезку отвода на параллельном нефтепроводе и осуществить обвязку с отводом на заменяемом участке и с насосным агрегатом; |
Сварщик, линейный трубопроводчик |
||
|
за ближайшую задвижку - проложить временный нефтепровод и провести врезку отвода в месте закачки; |
Машинист бульдозера, водитель автокрана, такелажник |
||
|
в резинотканевые резервуары - соорудить площадку с обвалованием и установить резервуары; |
Машинист экскаватора, помощник машиниста экскаватора, |
||
|
в земляной амбар - соорудить земляной амбар, дно и стенки которого обложить полимерной пленкой или слоем уплотненной глины |
Экскаватор, глина, полимерная пленка |
разнорабочие |
|
|
33. Остановить перекачку нефти и отключить заменяемый участок ближайшими линейными задвижками |
|
Диспетчер, обходчики |
|
|
34. Провести откачку нефти из заменяемого участка нефтепровода с подачей воздуха на вантузах. Для контроля за уровнем нефти на демонтируемом участке нефтепровода просверлить отверстие диаметром 6...8 мм на верхней образующей трубопровода |
Насосный агрегат, дрель ручная, электростанция |
Машинист насосного агрегата, помощник машиниста установки, линейный трубопроводчик, разнорабочий, машинист электростанции |
|
|
35. Очистить трубу по всему периметру от изоляции и ржавчины в местах вырезки заменяемого участка. Установить перемычку между концами разрезаемого нефтепровода или заземлить их |
Шлифмашинка, скребок, электростанция |
Разнорабочий, машинист электростанции, бригада ABC |
Очистку проводить на ширину: 100...150 мм - для установки удлиненных кумулятивных зарядов, 500 мм - для установки машинки для резки труб |
|
36. Вырезать заменяемый участок нефтепровода (с применением энергии взрыва или машинкой для резки труб), а также катушки с обоих концов участка, подлежащего демонтажу. Катушки удалить из траншеи |
Удлиненные кумулятивные заряды, машинка для резки труб МРТ, «Файн», трубоукладчики, электростанция |
Взрывники, машинисты трубоукладчиков, разнорабочие, мастер, бригада ABC, машинист электростанции |
Длина вырезаемых катушек должна обеспечить образование свободного пространства для проведения работ по герметизации полости нефтепровода |
|
37. Провести герметизацию открытых концов ремонтируемого нефтепровода и демонтируемого участка одним из существующих способов (глиняными тампонами, резиновыми шарами, резинокордными оболочками и др.) |
Глина, трамбовки, резиновые шары, резинокордные оболочки |
Разнорабочие, бригада ABC |
|
|
38. Просверлить контрольные отверстия диаметром 6...8 мм на верхней образующей трубопровода на расстоянии не менее 30 м от места вырезки для стравливания избыточного давления газов из трубы и контроля за уровнем нефти |
Ручная дрель |
Разнорабочий, мастер, бригада ABC |
|
|
39. Очистить дно ремонтного котлована от пропитанного нефтью грунта и провести анализ воздуха в ремонтном котловане на взрывобезопасность |
Экскаватор, газоанализатор, лопаты |
Машинист экскаватора, помощник машиниста экскаватора, лаборант, разнорабочие |
Допуск к сварочным работам возможен, если содержание вредных и горючих паров и газов не выше: а) ПДК углеводородов С1...С10 - 300 мг/м3; сероводорода в смеси с углеводородом С1...С5 - 3 мг/м3; б) ПДВК - 5 % величины нижнего предела воспламенения данного пара или газа в воздухе; для нефти - 2,1 мг/л |
|
40. Подготовить трубопроводы к монтажу захлеста: конец действующего трубопровода подготовить под сварку и уложить на опору высотой 50...60 см от дна ремонтного котлована; плеть, образующую другой конец трубопровода, вывесить рядом с первой и разметить место реза с помощью шаблона; отрезать конец плети с одновременным снятием фаски |
Шаблон, мел, шлифовальная машинка, станок типа СПК или газовый резак, кран-трубоукладчик |
Газорезчик, машинист трубоукладчика, бригада ABC, мастер, разнорабочие |
|
|
41. Провести сборку и монтаж технологических захлестов с помощью наружных центраторов при поддержке стыкуемых концов нефтепроводов грузоподъемными механизмами |
Краны-трубоукладчики, наружные центраторы |
Машинисты трубоукладчиков, бригада ABC, разнорабочие |
|
|
42. Зафиксировать равномерно по периметру стыкуемые трубы при помощи прихваток |
Сварочный агрегат, электроды |
Сварщик |
Количество и длина прихваток зависят от диаметра нефтепровода (табл. Б.3) |
|
43. Тщательно зачистить прихватки от шлака и сварить стык |
Сварочный агрегат, электроды, шлифовальная машина, электростанция |
Сварщики, машинист электростанции, разнорабочий |
Наложение прихваток и сварку стыка труб диаметром 530...1220 мм выполнить двумя сварщиками без перерывов в работе. Не разрешается оставлять незаконченными сварные соединения захлестав |
|
44. Провести контроль сварных швов нефтепровода визуально и физическими методами |
Рентгеновский аппарат |
Дефектоскопист, мастер, представитель технадзора |
|
|
45. Заглушить технологические отверстия металлическими пробками и обварить их |
Металлические пробки, сварочный агрегат, электроды |
Сварщик, разнорабочий |
|
|
46. Получить разрешение диспетчера РУМН и открыть линейные задвижки |
|
Мастер, обходчики |
|
|
47. Возобновить перекачку нефти по отремонтированному нефтепроводу, поднять давление до рабочего |
|
|
|
|
48. Провести осмотр мест подключения |
|
Мастер, представитель технадзора |
|
|
49. Очистить трубы в местах захлестав и нанести противокоррозионную изоляцию вручную |
Шлифмашинка, изоляционные материалы, электростанция |
Изолировщики, машинист электростанции |
Изоляционное покрытие в зоне сварных швов должно быть усиленного типа |
|
50. Проверить качество нанесения изоляции |
Дефектоскоп |
Дефектоскопист, мастер, представитель технадзора |
Сплошность изоляционного покрытия определяется из расчета 5 кВ на 1 мм толщины покрытия |
|
51. Подготовить демонтируемый участок трубопровода к промывке: заглушить один конец демонтируемого участка сферической заглушкой; другой - оборудовать сливным патрубком. Провести обвязку участка с наполнительным агрегатом по принципиальной схеме очистки трубопровода (рис. Б.9), установить сливные краны в местах скопления воды |
Сварочный агрегат, сферическая заглушка, сливной патрубок, комплект оборудования для обвязки, наполнительный агрегат, очистное устройство, сливные краны |
Сварщик, машинист наполнительного агрегата, помощник машиниста наполнительного агрегата, разнорабочие, мастер |
|
|
52. Осуществить промывку демонтируемого участка водой, содержащей поверхностно-активные вещества с пропуском очистного устройства |
Наполнительный агрегат |
Машинист наполнительного агрегата, помощник машиниста наполнительного агрегата, мастер |
Скорость перемещения очистного устройства по трубе - 1 км/ч. Промывку считать законченной после выхода очистного устройства через сливной патрубок неразрушенным |
|
53. Удалить воду из промываемого участка через сливные краны в направлении от наиболее высоких точек (по рельефу местности) к пониженным |
|
Мастер, разнорабочие |
Сливные краны установить в местах скопления воды. Места слива воды определяются рабочим проектом и согласовываются с заинтересованными организациями. Использованную воду отвести в специально подготовленные емкости или котлованы для очистки. Способ очистки использованной воды должен быть определен в рабочем проекте |
|
54. Вскрыть демонтируемый участок нефтепровода до верхней образующей трубы одноковшовым экскаватором. Схема проведения земляных работ приведена на рис. Б.11 (вариант а) |
Экскаватор |
Машинист экскаватора, помощник машиниста экскаватора |
Во избежание повреждения нефтепровода минимальное расстояние между стенкой трубы и ковшом работающего экскаватора должно быть 0,15...0,20 м |
|
55. Расставить грузоподъемные механизмы с соблюдением технологических параметров ремонтной колонны согласно табл. 4. Перед головным трубоукладчиком на трубопроводе установить очистную машину |
Краны-трубоукладчики, троллейные роликоканатные подвески, очистная машина, электростанция |
Машинисты трубоукладчиков, машинист очистной машины, помощник машиниста очистной машины, машинист электростанции, мастер |
Трубоукладчики должны быть снабжены троллейными подвесками. Расстояние от очистной машины до ближайшего трубоукладчика должно быть в пределах 2...3 м |
|
56. Разработать приямки для пропуска троллейных подвесок под трубопроводом и провести подъем начального участка выдергиванием из грунта |
Краны-трубоукладчики, экскаватор |
Машинист экскаватора, помощник машиниста экскаватора, машинисты трубоукладчиков |
|
|
57. Очистить демонтируемый участок от старой изоляции за один проход очистной машины |
Краны-трубоукладчики, очистная машина, электростанция |
Машинисты трубоукладчиков, машинист очистной машины, помощник машиниста очистной машины, машинист электростанции |
Для укладки на бровку траншеи проводить подъем нефтепровода с одновременным смещением в сторону ремонтной колонны |
|
58. Засыпать траншею минеральным грунтом |
Бульдозер |
Машинист бульдозера |
|
|
59. Демонтируемый участок трубопровода разрезать на отдельные трубы или секции (механической резкой, резкой взрывом, газовой резкой) |
Машина для резки труб МРТ, ФАЙН, удлиненные кумулятивные заряды, газовый резак, электростанция |
Взрывник, газорезчик, разнорабочий, машинист электростанции |
При резке трубопровода соблюдать необходимые требования по проведению работ и технике безопасности |
|
60. Провести погрузку, транспортировку и выгрузку секций труб в местах складирования |
Кран-трубоукладчик, захваты торцевые, захваты клещевые, трубовоз |
Машинист трубоукладчика, водитель трубовоза, разнорабочий, стропальщик, кладовщик |
При работе соблюдать необходимые требования по проведению работ и технике безопасности |
|
61. Провести рекультивацию плодородного слоя почвы бульдозером. При обратном движении провести планировку полосы трассы опущенным отвалом бульдозера |
Бульдозер |
Машинист бульдозера |
|
|
62. Осуществить контроль качества изоляционно-укладочных работ искателем повреждений, при необходимости провести ремонт дефектов |
Искатель повреждений |
Дефектоскопист, разнорабочий, представители заказчика, подрядчика, технадзора |
Контроль провести не ранее, чем через две недели после засыпки трубопровода |
Рис. Б.11 Схема производства земляных работ при ремонте с заменой труб путем укладки в отдельную траншею
Таблица № Б.5 расстояние от новой траншеи до параллельно проложенных действующих нефтепроводов в едином техническом коридоре
|
Минимальное расстояние в свету между осями проектируемого и действующего нефтепроводов, м, не менее |
||
|
на землях несельскохозяйственного назначения |
на землях сельскохозяйственного назначения |
|
|
до 400 вкл. |
11 |
20 |
|
св. 400 до 700 вкл. |
14 |
23 |
|
св. 700 до 1000 вкл. |
15 |
28 |
|
св. 1000 до 1200 вкл. |
32 |
32 |
Таблица № б.6 расстояние от новой траншеи до параллельно проложенных действующих нефтепроводов в едином техническом коридоре в стесненных условиях
|
Расстояния между трубопроводами (группами), м |
||
|
газопроводами |
нефтепроводами и нефтепродуктами |
|
|
до 400 вкл. |
6 |
5 |
|
св. 400 до 700 вкл. |
9 |
5 |
|
св. 700 до 1000 вкл. |
11 |
6 |
|
св. 1000 до 1200 вкл. |
13 |
6 |
ТИПОВАЯ ТЕХНОЛОГИЧЕСКАЯ КАРТА № 6
РЕМОНТ С ЗАМЕНОЙ ТРУБ ПУТЕМ УКЛАДКИ В ДОРАБОТАННУЮ СУЩЕСТВУЮЩУЮ ИЛИ ВНОВЬ РАЗРАБОТАННУЮ ПОСЛЕ ЗАСЫПКИ ТРАНШЕЮ
|
Выполняемые работы |
Оборудование, приспособления, материалы |
Состав бригады |
Примечания |
|
1 |
2 |
3 |
4 |
|
1. Определить положение заменяемого участка нефтепровода и установить вешки. Вешки установить через каждые 50 м, а при неровном рельефе местности - через каждые 25 м. Вешки установить в местах изменения рельефа, вершинах углов поворотов трассы, в местах пересечений с подземными коммуникациями, в местах расположения объектов ЭХЗ, на границах разработки грунта вручную, перед началом и в конце участка вскрышных работ. Сдача трассы заказчиком подрядчику |
Трассоискатель, вешки, автомобиль грузопассажирский |
Линейные трубопроводчики, водитель автомобиля, представители службы ЭХЗ, геодезических служб, заказчика и других заинтересованных организаций |
Высота вешек - 1,5 м. На вешках указать глубину заложения трубы (от поверхности земли до нижней образующей) трубы. При невозможности определения местоположения трассоискателем, провести шурфование. Сдача трассы проводится по акту |
|
2. Снять плодородный слой почвы в местах подключения прокладываемого участка в действующую магистраль и переместить его во временный отвал: толщина плодородного слоя - м; дальность перемещения во временный отвал - м |
Бульдозер |
Машинист бульдозера |
|
|
3. Вскрыть нефтепровод ниже нижней образующей трубы в местах подключения прокладываемого участка в действующую магистраль с доработкой оставшегося грунта вручную |
Экскаватор, лопаты |
Машинист экскаватора, помощник машиниста экскаватора, бригада землекопов |
Во избежание повреждения нефтепровода минимальное расстояние между стенкой трубы и ковшом экскаватора должно быть 0,15...0,20 м |
|
4. Разработать ремонтный котлован для проведения работ по промывке заменяемого нефтепровода |
Экскаватор |
Машинист экскаватора, помощник машиниста экскаватора |
Размеры ремонтного котлована должны обеспечить размещение необходимой ремонтной техники и рабочего персонала |
|
5. На ремонтируемом участке нефтепровода приварить патрубки с задвижками и вырезать отверстия с помощью приспособления для холодной врезки |
Приспособление для холодной врезки, патрубки с задвижками, сварочный агрегат |
Сварщик, линейный трубопроводчик |
Работы разрешается вести при давлении Рраб £ 3 МПа |
|
6. Выполнить следующие подготовительные работы при откачке нефти из заменяемого участка: в параллельный нефтепровод - провести врезку отвода на параллельном нефтепроводе и осуществить обвязку с отводом на заменяемом участке и с насосным агрегатом; |
Сварочный агрегат, комплект оборудования для обвязки, приспособление для холодной врезки, экскаватор |
Сварщик, линейный трубопроводчик, машинист экскаватора, помощник машиниста экскаватора |
Способ опорожнения участка определяется рабочим проектом. При откачке в резинотканевые резервуары или в земляной амбар по окончании сварочно-монтажных работ провести обратную закачку нефти в отремонтированный нефтепровод |
|
за ближайшую задвижку - проложить временный нефтепровод и провести врезку отвода в месте закачки; |
Сварочный агрегат, комплект труб и задвижек, приспособление для холодной резки |
Сварщик, линейный трубопроводчик
|
На месте разработки земляного амбара снять плодородный слой почвы и переместить его во временный отвал. Объем земляного амбара должен обеспечить размещение всей нефти из опорожняемого участка. После откачки нефти из земляного амбара остатки нефти собирают сорбентом и вывозят на утилизацию |
|
в резинотканевые резервуары - соорудить площадку с обвалованием и установить резервуары; |
Бульдозер, автокран |
Машинист бульдозера, водитель автокрана, такелажник |
|
|
в земляной амбар - соорудить земляной амбар, дно и стенки которого обложить полимерной пленкой или слоем уплотненной глины |
Экскаватор, глина, полимерная пленка |
Машинист экскаватора, помощник машиниста экскаватора, разнорабочие |
|
|
7. Остановить перекачку нефти и отключить заменяемый участок ближайшими линейными задвижками |
|
Диспетчер, обходчики |
|
|
8. Откачать нефть из заменяемого участка нефтепровода с подачей воздуха на вантузах. Для контроля за уровнем нефти на демонтируемом участке нефтепровода просверлить отверстие диаметром 6...8 мм |
Насосный агрегат, дрель ручная, электростанция |
Машинист насосного агрегата, помощник машиниста насосного агрегата, установки, линейный трубопроводчик, разнорабочий, машинист электростанции |
|
|
9. Очистить трубу по всему периметру от изоляции и ржавчины в местах вырезки заменяемого участка. Установить перемычку между концами разрезаемого нефтепровода или заземлить их |
Шлифмашинка, скребок, электростанция |
Разнорабочий, машинист электростанции, бригада ABC |
Очистку проводить на ширину: 100...150 мм - для установки удлиненных кумулятивных зарядов, 500 мм - для установки машинки для резки труб |
|
10. Вырезать заменяемый участок нефтепровода (с применением энергии взрыва или машинкой для резки труб), а также катушки с обоих концов участка, подлежащего демонтажу. Катушки удалить из траншеи |
Удлиненные кумулятивные заряды, машинки для резки труб МРТ, «Файн», трубоукладчики, электростанция |
Взрывники, машинисты трубоукладчиков, разнорабочие, мастер, бригада ABC, машинист электростанции |
Длина вырезаемых катушек должна обеспечить образование свободного пространства для проведения работ по герметизации полости нефтепровода |
|
11. Провести герметизацию открытых концов ремонтируемого нефтепровода и демонтируемого участка одним из существующих способов (глиняными тампонами, резиновыми шарами, резинокордными оболочками и др.) |
Глина, трамбовки, резиновые шары, резинокордные оболочки |
Разнорабочие, бригада ABC |
|
|
12. Просверлить контрольные отверстия диаметром 6...8 мм на верхней образующей трубопровода на расстоянии не менее 30 м от места вырезки для стравливания избыточного давления газов из трубы и контроля за уровнем нефти |
Ручная дрель |
Разнорабочий, мастер, бригада ABC |
|
|
13. Очистить дно ремонтного котлована от пропитанного нефтью грунта и провести анализ воздуха в ремонтном котловане на взрывобезопасность |
Экскаватор, газоанализатор, лопаты |
Машинист экскаватора, помощник машиниста экскаватора, лаборант, разнорабочие |
Допуск к сварочным работам возможен, если содержание вредных и горючих паров и газов не выше: а) ПДК углеводородов С1...С10 - 300 мг/м3; сероводорода в смеси с углеводородом С1...С5 - 3 мг/м3; б) ПДВК - 5 % величины нижнего предела воспламенения данного пара или газа в воздухе; для нефти - 2,1 мг/л |
|
14. Подготовить демонтируемый участок трубопровода к промывке: заглушить один конец демонтируемого участка сферической заглушкой; другой - оборудовать сливным патрубком. Провести обвязку участка с наполнительным агрегатом по принципиальной схеме очистки трубопровода (рис. Б.9), установить сливные краны в местах скопления воды |
Сварочный агрегат, сферическая заглушка, сливной патрубок, комплект оборудования для обвязки, наполнительный агрегат, очистное устройство, сливные краны |
Сварщик, машинист наполнительного агрегата, помощник машиниста наполнительного агрегата, разнорабочие, мастер |
|
|
15. Осуществить промывку демонтируемого участка водой, содержащей поверхностно-активные вещества с пропуском очистного устройства |
Наполнительный агрегат |
Машинист наполнительного агрегата, помощник машиниста наполнительного агрегата, мастер |
Скорость перемещения очистного устройства по трубе - 1 км/ч. Промывку считать законченной после выхода очистного устройства через сливной патрубок не разрушенным |
|
16. Удалить воду из промываемого участка через сливные краны в направлении от наиболее высоких точек (по рельефу местности) к пониженным |
|
|
Сливные краны установить в местах скопления воды. Места слива воды определяются рабочим проектом и согласовываются с заинтересованными организациями. Использованную воду отвести в специально подготовленные емкости или котлованы для очистки. Способ очистки использованной воды должен быть определен в рабочем проекте |
|
17. Снять плодородный слой почвы над демонтируемым участком трубопровода и переместить его во временный отвал: толщина плодородного слоя - м; ширина полосы, с которой снимается плодородный слой почвы - м; расположение отвала от оси трубопровода - ; дальность перемещения во временный отвал - м |
Бульдозер |
Машинист бульдозера, разнорабочий |
Производитель работ (прораб, мастер) обязан ознакомить машиниста бульдозера с особенностями участка под роспись |
|
18. Провести планировку полосы трассы в зоне движения РСК |
Бульдозер, трассоискатель, вешки |
Мастер, разнорабочие |
|
|
19. Восстановить вешки, определяющие положение нефтепровода, коммуникаций, находящихся в одном техническом коридоре |
Трассоискатель, вешки |
Мастер, разнорабочие |
|
|
20. Вскрыть демонтируемый участок трубопровода до нижней образующей. Схема выполнения земляных работ приведена на рис. Б.12 |
Экскаватор |
Машинист экскаватора, помощник машиниста экскаватора |
|
|
21. Расставить грузоподъемные механизмы с соблюдением технологических параметров ремонтной колонны согласно табл. Б.4. Перед трубоукладчиком на трубопроводе установить очистную машину |
Краны-трубоукладчики, троллейные подвески, очистная машина, электростанция |
Машинисты трубоукладчиков, машинист очистной машины, помощник машиниста очистной машины, машинист электростанции, мастер |
Трубоукладчики должны быть снабжены троллейными подвесками. Расстояние от очистной машины до ближайшего трубоукладчика должно быть не менее 2...3 м |
|
22. Разработать приямки для пропуска троллейных подвесок под трубопроводом и провести подъем начального участка выдергиванием из грунта |
Краны-трубоукладчики, экскаватор |
Машинист экскаватора, помощник машиниста экскаватора, машинисты трубоукладчиков |
|
|
23. Очистить демонтируемый участок от старой изоляции за один проход очистной машины и уложить на бровку траншеи. Схема выполнения работ приведена на рис. Б.13 |
Краны-трубоукладчики, очистная машина, электростанция |
Машинисты трубоукладчиков, машинист очистной машины, помощник машиниста очистной машины, машинист электростанции |
|
|
24. Демонтируемый участок трубопровода разрезать на отдельные трубы или секции (механической резкой, резкой взрывом, газовой резкой) |
Машина для резки труб МРТ, ФАЙН, удлиненные кумулятивные заряды, газовый резак, электростанция |
Взрывники, газорезчик, разнорабочий, машинист электростанции |
При резке трубопровода соблюдать требования по проведению работ и технике безопасности |
|
25. Провести погрузку, транспортировку и выгрузку секций труб в местах складирования |
Кран-трубоукладчик, захваты торцевые, захваты клещевые, трубовоз |
Машинист трубоукладчика, водитель трубовоза, разнорабочий, стропальщик, кладовщик |
Работы вести с соблюдением необходимых требований по проведению работ и технике безопасности |
|
26. Доработать существующую траншею - очистить от обвалившегося грунта. При невозможности доработки, существующую траншею засыпать и разработать новую на месте старой. |
Экскаватор, бульдозер |
Машинист экскаватора, машинист бульдозера, помощник машиниста экскаватора |
Доработку траншеи вести с соблюдением требований СНиП 2.05.06-85*. Во избежание обрушения стенок траншеи расстояние от края траншеи до гусеницы экскаватора должно быть не менее 0,5 м |
|
27. Подготовить секции труб на трубосварочной базе |
Трубосварочная база |
Сварщики |
Работы вести по специально разработанным технологическим картам |
|
28. Вывезти секции труб на трассу и провести раскладку их вдоль бровки траншеи. Провести сварку секций труб в нитку с контролем качества сварных швов |
Краны-трубоукладчики, трубовозы, рентгеновский аппарат, сварочный агрегат, электроды |
Водители трубовозов, машинисты трубоукладчиков, дефектоскопист, сварщики, разнорабочие, мастер |
Работы вести по специально разработанным технологическим картам. Раскладку труб на трассе вести под углом 15...20 град, к траншее не ближе 1,5 м до бровки траншеи |
|
29. Подготовить изоляционные материалы, заправить изоляционную машину |
Изоляционная машина, изоляционные материалы |
Машинист изоляционной машины, помощник машиниста изоляционной машины, изолировщик, лаборант |
Вид и тип изоляционного покрытия определяются рабочим проектом. Работы вести согласно инструкциям по приготовлению и нанесению покрытий, а также инструкции по эксплуатации машины |
|
30. Расставить грузоподъемные механизмы с соблюдением технологических параметров ремонтной колонны (рис. Б.8). На рисунке условно показаны три трубоукладчика |
Краны-трубоукладчики, троллейные роликоканатные подвески |
Машинисты трубоукладчиков, мастер |
Технологические параметры колонны должны соответствовать данным табл. Б.2. Краны-трубоукладчики должны быть снабжены троллейными роликоканатными подвесками |
|
31. Смонтировать очистную и изоляционную машины в начале плети вновь прокладываемого трубопровода, проверить их работу на холостом ходу |
Очистная и изоляционная машины, кран-трубоукладчик, лежки, электростанция |
Машинист очистной машины, машинист изоляционной машины, помощник машиниста очистной машины, помощник машиниста изоляционной машины, машинист трубоукладчика, машинист электростанции, разнорабочий |
Для монтажа очистной и изоляционной машин начало плети следует уложить на лежки |
|
32. Поднять вновь прокладываемый участок трубопровода одновременно всеми грузоподъемными механизмами с соблюдением параметров подъема |
Краны-трубоукладчики |
Машинисты трубоукладчиков, мастер |
Подъем трубопровода осуществлять плавно, без рывков. Трубоукладчик ТЗ смещает конец плети таким образом, чтобы идущая за ним изоляционная машина располагалась по оси траншеи и была опущена в нее примерно на 0,5 м |
|
33. Очистить поверхность вновь прокладываемого трубопровода и нанести новое изоляционное покрытие за один проход колонны. При перемещении в процессе работ трубоукладчики должны надвигать плеть нефтепровода в сторону траншеи так, чтобы изоляционная машина находилась над траншеей, а изолированный трубопровод по мере продвижения колонны свободно укладывался на дно траншеи |
Краны-трубоукладчики, очистная и изоляционная машины, электростанция |
Машинисты трубоукладчиков, машинист очистной машины, машинист изоляционной машины, помощник машиниста очистной машины, помощник машиниста изоляционной машины, машинист электростанции, мастер |
Движение колонны должно происходить синхронно: очистная и изоляционная машины - непрерывно (за исключением технологических остановок); трубоукладчики - прерывисто, приспосабливаясь к ходу машин и выдерживая расстояние друг от друга в пределах допусков |
|
34. Осуществить контроль качества изоляционного покрытия визуально и дефектоскопом (на сплошность). Во время выполнения контрольных замеров все работы прекращаются. При наличии средств автоматического контроля разрешается непрерывная работа |
Дефектоскоп |
Дефектоскопист, представитель технадзора |
Сплошность изоляционного покрытия определяется из расчета 5 кВ на 1 мм толщины покрытия |
|
35. Заизолированный участок уложить в траншею |
Краны-трубоукладчики |
Машинисты трубоукладчиков |
Дно траншеи должно быть спланировано. Наличие камней, крупных включений не допускается |
|
36. Подключить средства электрохимзащиты |
Сварочный агрегат |
Сварщик, слесарь КИП и А |
|
|
37. Провести присыпку вновь проложенного участка трубопровода размельченным или мягким грунтом и последующую засыпку траншеи минеральным грунтом Концы участка трубопровода оставить незасыпанными для последующего подключения в действующую магистраль |
Бульдозер |
Машинист бульдозера |
Грунт присыпки не должен содержать камней, крупных включений |
|
38. Подготовить механизмы и оборудование для проведения работ по очистке полости вновь проложенного участка и проведению испытаний на прочность и герметичность |
|
Мастер, механик |
|
|
39. Вставить очистное или разделительное устройство и приварить сферическую заглушку с одной стороны вновь проложенного трубопровода, с другой стороны - задвижку со сливным патрубком |
Сварочный агрегат, электроды, очистное или разделительное устройство, сферическая заглушка, задвижка со сливным патрубком, кран-трубоукладчик |
Сварщик, линейный трубопроводчик, машинист трубоукладчика, разнорабочий |
На рис. Б.9 представлена схема промывки трубопровода с пропуском очистного или разделительного устройства |
|
40. Провести обвязку вновь проложенного участка трубопровода с наполнительным агрегатом |
Наполнительный агрегат, комплект инвентарных узлов подключения агрегатов к трубопроводу, сварочный агрегат, электроды, кран-трубоукладчик |
Машинист наполнительного агрегата, помощник машиниста наполнительного агрегата, сварщик, линейные трубопроводчики, машинист трубоукладчика |
|
|
41. Установить контрольно-измерительные приборы в начале и в конце испытуемого участка, а также в некоторых промежуточных точках |
Контрольно-измерительные приборы, штуцеры, сварочный агрегат, электроды |
Сварщик, слесарь-трубопроводчик, слесарь КИП и А |
Места установки контрольно-измерительных приборов определяются рабочим проектом |
|
42. Смонтировать воздухоспускные и сливные краны |
Комплект воздухоспускных и сливных кранов, сварочный агрегат |
Сварщик, линейный трубопроводчик |
Места установки кранов определяются рабочим проектом |
|
43. Вывести основную ремонтную технику и персонал за пределы охранной зоны; провести расстановку дежурных постов за наблюдением |
|
Мастер |
|
|
44. Перед очистным устройством залить воду в объеме 10...15 % объема полости очищаемого трубопровода для смачивания и размыва загрязнений. Провести заполнение трубопровода водой. Допускается очистка внутренней полости трубы продувкой воздухом. В этом случае работы следует вести по специально разработанным технологическим картам |
Наполнительный агрегат, разделительное или очистное устройство |
Машинист наполнительного агрегата, помощник машиниста наполнительного агрегата, разнорабочий |
В качестве источника воды использовать естественные или искусственные емкости или котлованы для очистки. Объем воды должен быть достаточным для проведения очистки внутренней полости. Скорость перемещения очистного устройства должна быть не менее - 1 км/ч. |
|
45. После выхода поршня - разделителя через сливной патрубок закрыть запорную арматуру, срезать патрубок и приварить сферическую заглушку на конце трубопровода после задвижки |
Сварочный агрегат, сферическая заглушка, газовый резак |
Линейный трубопроводчик, газорезчик, сварщик |
|
|
46. Поднять давление на испытуемом участке нефтепровода до давления испытания: давление испытания - не менее 1,1 Рраб в верхней точке, Рраб = 0,95 sт в нижней точке; время выдержки под испытательным давлением –24 ч; число циклов - 3 |
Наполнительный и опрессовочный агрегаты |
Машинист наполнительного агрегата, помощник машиниста наполнительного агрегата, машинист опрессовочного агрегата, помощник машиниста опрессовочного агрегата, мастер, представитель технадзора |
Если наполнительный агрегат по техническим характеристикам не обеспечивает давление испытания, установить опрессовочный агрегат |
|
47. Провести сброс давления до проектного рабочего Рраб - для проверки на герметичность |
|
Мастер, разнорабочий |
|
|
48. Провести осмотр трассы трубопровода с целью обнаружения утечек. Осмотр проводить не ранее, чем через 12 часов, после снижения давления до Рраб |
|
Обходчик, разнорабочий, мастер, представитель технадзора |
Осмотр вести визуально и с помощью течеискателя. При обходе трассы трубопровода необходимо находиться на расстоянии не менее 5 м от оси трубопровода |
|
49. Провести ремонтные работы и повторить испытания на прочность и герметичность при обнаружении разрушений или негерметичности трубопровода |
|
|
Работы вести согласно пп. 46...48 настоящей технологической карты |
|
50. Провести сброс давления до 0,1 ...0,2 МПа и удалить воду из трубопровода в направлении от наиболее высоких точек (по рельефу местности) к пониженным через сливные краны |
|
Разнорабочие, мастер |
Сливные краны установить в местах скопления воды. Места слива воды определяются в рабочем проекте и согласовываются с заинтересованными организациями. Использованную воду отвести в специально подготовленные емкости или котлованы для очистки |
|
51. Подготовить трубопроводы к монтажу захлеста: конец действующего трубопровода подготовить под сварку и уложить на опору высотой 50...60 см от дна ремонтного котлована; плеть, образующую другой конец трубопровода, вывесить рядом с первой и разметить место реза с помощью шаблона; отрезать конец плети с одновременным снятием фаски |
Шаблон, мел, шлифовальная машинка, станок типа СПК или газовый резак, кран-трубоукладчик |
Газорезчик, машинист трубоукладчика, мастер, разнорабочие, бригада ABC |
|
|
52. Провести сборку и монтаж технологических захлестов с помощью наружных центраторов при поддержке стыкуемых концов нефтепроводов грузоподъемными механизмами |
Краны-трубоукладчики, наружные центраторы |
Машинисты трубоукладчиков, бригада ABC, разнорабочие |
|
|
53. Зафиксировать равномерно по периметру стыкуемые трубы при помощи прихваток |
Сварочный агрегат, электроды |
Сварщик |
Количество и длина прихваток зависят от диаметра нефтепровода (табл. Б.3) |
|
54. Тщательно зачистить прихватки от шлака и провести сварку стыка |
Сварочный агрегат, электроды, шлифовальная машина, электростанция |
Сварщики, машинист электростанции, разнорабочий |
Наложение прихваток и сварку стыка труб диаметром 530...1220 мм выполнить двумя сварщиками без перерывов в работе. Не разрешается оставлять незаконченными сварные соединения захлестов |
|
55. Провести контроль сварных швов нефтепровода визуально и физическими методами |
Рентгеновский аппарат |
Дефектоскопист, мастер, представитель технадзора |
|
|
56. Заглушить технологические отверстия металлическими пробками и обварить их |
Металлические пробки, сварочный агрегат, электроды |
Сварщик, разнорабочие |
|
|
57. Получить разрешение диспетчера РУМН и открыть линейные задвижки |
|
Мастер, обходчики |
|
|
58. Возобновить перекачку нефти по отремонтированному нефтепроводу, поднять давление до рабочего |
|
|
|
|
59. Провести осмотр мест подключения и герметичность сварных швов |
|
Мастер, представитель технадзора |
|
|
60. Очистить трубы в местах захлестов и нанести противокоррозионную изоляцию вручную |
Шлифмашинка, изоляционные материалы, электростанция |
Трубоукладчик, изолировщики, машинист электростанции |
Изоляционное покрытие в зоне сварных швов должно быть усиленного типа |
|
61. Проверить качество нанесения изоляции |
Дефектоскоп |
Дефектоскопист, мастер, представитель технадзора |
Сплошность изоляционного покрытия определяется из расчета 5 кВ на 1 мм толщины покрытия |
|
62. Провести присыпку вновь проложенного участка трубопровода размельченным или мягким грунтом и последующую засыпку траншеи минеральным грунтом |
Бульдозер |
Машинист бульдозера |
|
|
63. Провести рекультивацию плодородного слоя почвы бульдозером. При обратном движении провести планировку полосы трассы опущенным отвалом бульдозера |
Бульдозер |
Машинист бульдозера |
|
|
64. Осуществить контроль качества изоляционно-укладочных работ искателем повреждений, при необходимости провести ремонт дефектов |
Искатель повреждений |
Дефектоскопист, разнорабочий, представители заказчика, подрядчика, технадзора |
Контроль сплошности провести не ранее, чем через две недели после засыпки трубопровода |
Рис. Б.12 Разработка грунта до нижней образующей трубопровода
Рис. Б.13 Схема демонтажа участка нефтепровода
Выборочный ремонт - это ремонт участков нефтепровода с опасными и потенциально опасными дефектами стенки, а также ремонт сложных участков (мест пересечений с наземными и подземными коммуникациями, участков, примыкающих к узлам линейной арматуры).
Выборочный ремонт проводится без подъема нефтепровода и включает в себя следующие технологические схемы ремонта:
ремонт участков, прилегающих к узлам линейной арматуры;
ремонт участков нефтепроводов длиной до 20Ду диаметрами 530..1220 мм (Ду - условный диаметр трубопровода, м);
ремонт протяженных участков нефтепроводов (длиной более 20Ду) методом последовательных захваток или с использованием грунтовых опор;
ремонт участков с заменой катушки, трубы, узлов линейной арматуры;
ремонт участков нефтепроводов в местах пересечений с коммуникациями.
Длина ремонтируемых участков нефтепроводов 20Ду определена по РД 39-00147105-016-98 «Методика расчета прочности и устойчивости ремонтируемых линейных участков магистральных нефтепроводов с учетом дефектов, обнаруженных при диагностическом обследовании» и представляет максимально допустимую длину дефектного участка, вскрытого с подкопом грунта под трубой.
Б 4.1 ТЕХНОЛОГИЧЕСКАЯ СХЕМА РЕМОНТА УЧАСТКОВ НЕФТЕПРОВОДА, ПРИЛЕГАЮЩИХ К УЗЛАМ ЛИНЕЙНОЙ АРМАТУРЫ
ОБЛАСТЬ И УСЛОВИЯ ПРИМЕНЕНИЯ
Данная схема может быть использована при выборочном ремонте участков нефтепровода, прилегающих к узлам линейной арматуры и имеющих дефекты стенки трубы или изоляционного покрытия.
Ремонт проводится без остановки перекачки при внутреннем давлении не более 2,5 МПа.
Вскрытие нефтепровода и ремонтные работы следует начинать от жесткого основания узла линейной арматуры. Длина участка нефтепровода l1, вскрытого с подкопом, не должна превышать значений, приведенных в табл. Б.7.
Технологическая схема размещения машин и механизмов приведена на рис. Б.14.
Последовательность выполнения ремонтных работ приведена в типовой технологической карте № 7.
Б 4.2. ТЕХНОЛОГИЧЕСКАЯ СХЕМА РЕМОНТА УЧАСТКОВ ДЛИНОЙ ДО 20Ду ДЛЯ НЕФТЕПРОВОДОВ ДИАМЕТРАМИ 530...1220 мм
ОБЛАСТЬ И УСЛОВИЯ ПРИМЕНЕНИЯ
Данная схема может быть использована при выборочном ремонте участков нефтепровода длиной до 20Ду, имеющих дефекты стенки трубы при остаточной толщине стенки не менее 5 мм или повреждения изоляционного покрытия. Ремонт проводится без вырезки дефектных мест и остановки перекачки при внутреннем давлении до 2,5 МПа. Максимально допустимая длина вскрытого участка нефтепровода с подкопом под трубой l2 зависит от диаметра и не должна превышать значений, приведенных в табл. Б.9.
Технологическая схема размещения машин и механизмов приведена на рис. Б.15.
Последовательность выполнения ремонтных работ приведена в типовой технологической карте № 8.
Б 4.3 ТЕХНОЛОГИЧЕСКАЯ СХЕМА РЕМОНТА ПРОТЯЖЕННЫХ УЧАСТКОВ (ДЛИНОЙ БОЛЕЕ 20Ду ДЛЯ НЕФТЕПРОВОДОВ ДИАМЕТРАМИ 530...1220 мм) МЕТОДОМ ПОСЛЕДОВАТЕЛЬНЫХ ЗАХВАТОК
ОБЛАСТЬ И УСЛОВИЯ ПРИМЕНЕНИЯ
Данная схема может быть использована при выборочном ремонте протяженных участков нефтепроводов (длиной более 20Ду), имеющих дефекты стенки трубы при остаточной толщине стенки не менее 5 мм или повреждения изоляционного покрытия. Ремонт проводится методом последовательных захваток. Ремонтные работы ведутся без вырезки дефектных мест и остановки перекачки при внутреннем давлении до 2,5 МПа. Схема предусматривает поэтапное выполнение работ. Ремонт последующих участков нефтепровода проводится после окончания всех ремонтных работ и подбивки грунта под трубу на предыдущем участке. Технологические параметры схемы ремонта выбирают таким образом, чтобы на любом этапе процесса ремонта, включая первоначальный, длина подкопанного участка l3 не превышала значений, указанных в табл. Б.10.
Технологическая схема размещения машин и механизмов приведена на рис. Б.17.
Последовательность выполнения работ представлена в типовой технологической карте № 9 и на рис. Б.18.
Б 4.4 ТЕХНОЛОГИЧЕСКАЯ СХЕМА РЕМОНТА ПРОТЯЖЕННЫХ УЧАСТКОВ (ДЛИНОЙ БОЛЕЕ 20Ду ДЛЯ НЕФТЕПРОВОДОВ ДИАМЕТРАМИ 530...1220 мм) С ПРИМЕНЕНИЕМ ГРУНТОВЫХ ОПОР
ОБЛАСТЬ И УСЛОВИЯ ПРИМЕНЕНИЯ
Данная схема может быть использована при выборочном ремонте участков длиной более 20Ду для нефтепроводов диаметрами 530...1220 мм. Вскрытие дефектного участка нефтепровода с подкопом по данной схеме проводится с оставлением грунтовых опор. Ремонтные работы ведутся без вырезки дефектных мест и при давлении до 2,5 МПа. Разработка грунта проводится одноковшовым экскаватором типа УДС-114 с поворотным ковшом. Технологические параметры схемы ремонта выбираются таким образом, чтобы на любом этапе процесса ремонта длина подкопанного участка не превышала максимально допустимую l4. Технологические параметры вскрытия и подкопа зависят от диаметра нефтепровода и не должны превышать значений, указанных в табл. Б.11.
Технологическая схема размещения машин и механизмов приведена на рис. Б.19.
Последовательность выполнения работ представлена в типовой технологической карте № 10 и на рис. Б.20.
Б 4.5 ТЕХНОЛОГИЧЕСКАЯ СХЕМА РЕМОНТА УЧАСТКОВ НЕФТЕПРОВОДОВ С ЗАМЕНОЙ КАТУШКИ, ТРУБЫ ОБЛАСТЬ И УСЛОВИЯ ПРИМЕНЕНИЯ
Данная схема может быть использована при выборочном ремонте участков нефтепроводов, имеющих:
1) местные сужения проходного сечения (вмятины, гофры) глубиной более:
01Дн для труб диаметром 325...530 мм (Дн - номинальный наружный диаметр трубы),
50 мм для труб диаметром 720 мм,
48 мм для труб диаметром 820 мм,
45 мм для труб диаметром 1020...1220 мм;
2) дефекты потери металла на внешней поверхности трубы глубиной: более 0,9t (t-толщина стенки трубы);
от 0,75t
до 0,9t длиной более
;
3) дефекты потери металла на внутренней поверхности трубы глубиной более 0,5t;
4) дефекты поперечных сварных швов глубиной: более 0,9t;
от 0,7t до 0,9t суммарной длиной более 0,6 длины по окружности трубы;
5) дефекты спиральных швов глубиной:
более 0,7t;
от 0,3t до 0,7t суммарной длиной по окружности более 0,6 длины окружности трубы или не более 0,5Дн по оси трубы на длине 1,5Дн;
6) дефекты продольных швов глубиной: более 0,7t;
от 0,3t до 0,7t суммарной длиной более 0,5Дн по оси трубы на длине 1,0ДН;
7) трещины глубиной:
более 0,7t;
от 0,3t до 0,7t длиной по оси трубы более 0,5Дн,
от 0,3t до 0,7t длиной по окружности трубы более 0,6 длины окружности трубы;
8) расслоения металла трубы глубиной более 0,7t с выходом на поверхность трубы.
Ремонт проводится с вырезкой дефектного участка нефтепровода и заменой на новый с остановкой перекачки. Длина вырезаемого дефектного участка должна быть больше самого дефекта не менее, чем на 100 мм с каждой стороны. Минимально допустимая длина катушки должна быть равной диаметру ремонтируемого нефтепровода. Опорожнение ремонтируемого участка нефтепровода проводится откачиванием нефти в резервуарные парки нефтеперекачивающих станций, параллельные нефтепроводы, мягкие резинотканевые резервуары. При отсутствии параллельных нефтепроводов, герметичных емкостей и резервуаров разрабатывается земляной амбар, объем которого должен быть достаточным для размещения откачиваемой нефти.
Последовательность выполнения ремонтных работ приведена в типовой технологической карте № 11.
Технологическая схема размещения машин и механизмов приведена на рис. Б.22.
Б 4.6 ТЕХНОЛОГИЧЕСКАЯ СХЕМА РЕМОНТА УЧАСТКОВ НЕФТЕПРОВОДОВ С ЗАМЕНОЙ УЗЛОВ ЛИНЕЙНОЙ АРМАТУРЫ
ОБЛАСТЬ И УСЛОВИЯ ПРИМЕНЕНИЯ
Данная схема может быть использована при выборочном ремонте участков нефтепроводов с заменой узлов линейной арматуры.
Ремонт проводится с вырезкой дефектного узла линейной арматуры и заменой на новый с остановкой перекачки. Опорожнение ремонтируемого участка нефтепровода проводится откачиванием нефти в резервуарные парки нефтеперекачивающих станций, параллельные нефтепроводы, мягкие резинотканевые резервуары. При отсутствии параллельных нефтепроводов, герметичных емкостей и резервуаров разрабатывается земляной амбар, объем которого должен быть достаточным для размещения откачиваемой нефти.
Последовательность выполнения ремонтных работ приведена в типовой технологической карте № 12.
Б 4.7 ТЕХНОЛОГИЧЕСКАЯ СХЕМА РЕМОНТА УЧАСТКОВ НЕФТЕПРОВОДА В МЕСТАХ ПЕРЕСЕЧЕНИЯ С КОММУНИКАЦИЯМИ
ОБЛАСТЬ И УСЛОВИЯ ПРИМЕНЕНИЯ
Схема может быть использована при выборочном ремонте участков нефтепроводов в местах пересечений с коммуникациями, проходящими как над трубопроводом, так и под ним.
Схема предусматривает ремонт только мест пересечений. Участки, прилегающие к ним с обеих сторон, ремонтируются с оставлением грунтовой перемычки над местом пересечения длиной 2,0 м. Ремонтные работы ведутся без остановки перекачки при внутреннем давлении до 2,5 МПа.
Последовательность выполнения ремонтных работ приведена в типовой технологической карте № 13.
Таблица № б.7 максимально допустимая длина подкопанного участка l1 при выборочном ремонте участков нефтепровода, прилегающих к узлам линейной арматуры
|
Максимально допустимая длина подкопанного участка l1, м |
|
|
530 |
7 |
|
630 |
8 |
|
720 |
10 |
|
820 |
12 |
|
1020 |
13 |
|
1220 |
14 |
Таблица № б.8 глубина разрабатываемой траншеи
|
|
Глубина копания траншеи экскаватором, м |
||||||
|
с поворотным ковшом |
с ковшом «обратная лопата» |
||||||
|
с последующим односторонним подкопом при ширине ковша экскаватора, м |
с последующим двухсторонним подкопом при ширине ковша экскаватора, м |
||||||
|
0,5 |
0,75 |
1,0 |
0,5 |
0,75 |
1,0 |
||
|
Д |
h1 |
h2 |
h3 |
|
|
|
|
|
530 |
1,8 |
3,0 |
2,6 |
2,4 |
2,4 |
2,2 |
2,1 |
|
630 |
1,9 |
3,2 |
2,8 |
2,6 |
2,6 |
2,4 |
2,3 |
|
720 |
2,0 |
3,4 |
3,0 |
2,7 |
2,7 |
2,5 |
2,4 |
|
820 |
2,1 |
3,7 |
3,2 |
2,9 |
2,8 |
2,7 |
2,6 |
|
1020 |
2,5 |
- |
3,8 |
3,5 |
3,5 |
3,1 |
3,0 |
|
1220 |
2,7 |
- |
- |
3,9 |
3,9 |
3,5 |
3,3 |
Примечание: Глубина копания указана для грунтов с допускаемой крутизной откосов 63 град. (1:0,5) при глубине заложения нефтепровода согласно СНиП 2.05.06-85* для диаметров 530...820 мм - 0,8 м, для диаметров 1020...1220 мм - 1,0 м над верхней образующей трубы.
1 - бульдозер; 2 - экскаватор; 3 - устройство подкопа нефтепровода; 4 - устройство очистки нефтепровода; 5 - лестница; 6 - устройство изоляции нефтепровод; 7 - устройство уплотнения грунта; 8 - задвижка; 11 - максимально допустимая длина вскрытого участка нефтепровода с подкопом.
Рис. Б.14 Технологическая схема ремонта участка нефтепровода, примыкающего к линейной арматуре
ТИПОВАЯ ТЕХНОЛОГИЧЕСКАЯ КАРТА № 7
РЕМОНТ УЧАСТКОВ НЕФТЕПРОВОДА, ПРИЛЕГАЮЩИХ К УЗЛАМ ЛИНЕЙНОЙ АРМАТУРЫ
|
Выполняемые работы |
Оборудование, приспособления, материалы |
Состав бригады |
Примечания |
|
1 |
2 |
3 |
4 |
|
1. Определить границы ремонтируемого участка, установить вешки в начале и в конце вскрываемого участка, а также в местах пересечений с подземными коммуникациями. Сдача трассы заказчиком подрядчику |
Трассоискатель, вешки, автомобиль грузопассажирский |
Линейные трубопроводчики, водитель автомобиля, представители службы ЭХЗ, геодезических служб, заказчика, подрядчика и других заинтересованных организаций |
Сдача трассы проводится по акту вместе с информацией по внутритрубной диагностике |
|
2. Снять плодородный слой почвы в пределах ремонтируемого участка с перемещением его во временный отвал: толщина плодородного слоя - м; ширина полосы, с которой снимается плодородный слой почвы - м; расположение отвала от оси трубопровода - ; дальность перемещения во временный отвал - м |
Бульдозер, экскаватор |
Машинист бульдозера, машинист экскаватора, помощник машиниста экскаватора |
Производитель работ (прораб, мастер) обязан ознакомить машинистов с особенностями участка под роспись |
|
3. Провести планировку ремонтной площадки, восстановить вешки определяющие положение нефтепровода и коммуникаций, находящихся в одном техническом коридоре |
Бульдозер, теодолит (нивелир), трассоискатель, вешки |
Машинист бульдозера, геодезист, разнорабочий, мастер |
|
|
4. Вскрыть нефтепровод с подкопом грунта под трубой. Расстояние от стенок и дна траншеи до нефтепровода должно быть не менее 0,5 м для возможности работы ремонтной техники. Профиль траншеи при вскрытии нефтепровода показан на рис. 19. Рекомендуемую глубину траншеи в зависимости от применяемой землеройной техники принять по табл. Б.8. Допускается разработка траншеи одноковшовым экскаватором с последующей разработкой грунта под трубой устройством подкопа |
Экскаватор типа УДС-114 или экскаватор и устройство для подкопа нефтепровода |
Машинист экскаватора, помощник машиниста экскаватора |
Минимальное расстояние между стенкой трубы и ковшом работающего экскаватора должно быть не менее 0,15...0,20 м. Основание отвала минерального грунта следует располагать не ближе 0,5 м от края траншеи во избежание обвала |
|
5. Сообщить диспетчерской службе РУМН о начале ремонтных работ на трубопроводе |
|
Мастер |
Все работы проводить по письменному разрешению диспетчера РУМН |
|
6. Смонтировать очистное устройство на ремонтируемом участке нефтепровода |
Кран-трубоукладчик, очистное устройство, электростанция |
Машинист трубоукладчика, машинист очистного устройства, разнорабочий, машинист электростанции |
|
|
7. Очистить дефектный участок нефтепровода очистным устройством |
Очистное устройство, электростанция |
Машинист очистного устройства, машинист электростанции |
Степень очистки поверхности должна соответствовать требованиям ВСН 008-88 и типу наносимого изоляционного покрытия |
|
8. Провести осмотр дефектного участка, зафиксировать расположение дефектов на трубе мелом, замерить протяженность и площадь дефектов, выбрать способ восстановления (ремонта) стенки трубы |
|
Мастер, представитель технадзора |
|
|
9. Восстановить стенку трубы путем приварки накладных муфт, заварки (наплавки) коррозионных язв и т.д. |
Сварочный агрегат, шлифмашинка, металлические щетки, электроды, шлифовальные круги, электростанция |
Сварщик, разнорабочий, машинист электростанции |
Работы вести по специально разработанным технологическим картам после проверки состояния воздушной среды на месте проведения работ |
|
10. Провести монтаж изоляционного устройства на отремонтированном участке |
Кран-трубоукладчик, изоляционное устройство |
Машинист трубоукладчика, машинист изоляционного устройства |
|
|
11. Огрунтовать очищенную поверхность нефтепровода. Нанесение грунтовки осуществить валиком, кистью, распылением или поливом из лейки |
Кисть, валик, лейка |
Изолировщики |
|
|
12. Нанести изоляционное покрытие на отремонтированный участок, демонтировать изоляционное устройство |
Изоляционные материалы, изоляционное устройство, электростанция |
Машинист изоляционного устройства, изолировщики, машинист электростанции |
При восстановлении стенки трубы путем приварки накладных муфт изоляцию участка провести вручную |
|
13. Проверить качество нанесения изоляционного покрытия |
Дефектоскоп |
Дефектоскопист, мастер, представитель технадзора |
Сплошность изоляционного покрытия не менее 5 кВ на 1 мм толщины покрытия |
|
14. Очистить вручную участок нефтепровода, примыкающий непосредственно к задвижке, и участок, с которого демонтировано устройство для изоляции |
Шлифмашинка, металлические щетки, электростанция |
Разнорабочий, машинист электростанции |
|
|
15. Огрунтовать очищенную поверхность участка |
Кисть, валик, лейка |
Изолировщики |
|
|
16. Нанести вручную изоляционное покрытие на огрунтованный участок и проверить качество нанесения |
Изоляционные материалы |
Изолировщики, дефектоскопист, мастер, представитель технадзора |
|
|
17. Восстановить средства электрохимзащиты (при необходимости) |
Сварочный агрегат, электроды |
Сварщик, слесарь КИП и А, разнорабочий |
|
|
18. Подсыпать отремонтированный участок размельченным или мягким грунтом |
Бульдозер |
Машинист бульдозера |
Грунт подсыпки не должен закрывать верхнюю образующую или быть ниже оси нефтепровода |
|
19. Смонтировать устройство подбивки грунта и провести уплотнение грунта подсыпки под нефтепроводом |
Устройство подбивки грунта, экскаватор, грузоподъемный механизм |
Машинист экскаватора, помощник машиниста экскаватора, машинист грузоподъемного механизма |
Во время подбивки грунта под нефтепровод следить за сохранностью изоляционного покрытия. При ремонте участка нефтепровода длиной более 0,5l1 (l1 - максимально-допустимая длина подкопанного участка) подсыпку и уплотнение выполнить с поддержкой грузоподъемным механизмом. Поддержку осуществлять в средней части ремонтируемого участка |
|
20. Присыпать участок мягким грунтом на высоту не менее 0,2 м от верха трубы |
Бульдозер |
Машинист бульдозера |
В скальных грунтах присыпка мягким грунтом обязательна |
|
21. Провести окончательную засыпку траншеи минеральным грунтом и рекультивацию плодородного слоя почвы бульдозером. При обратном движении провести планировку полосы опущенным отвалом бульдозера |
Бульдозер |
Машинист бульдозера |
|
|
22. Осуществить контроль качества изоляционно-укладочных работ искателем повреждений, при необходимости провести ремонт |
Искатель повреждений |
Дефектоскопист, разнорабочий, представители заказчика, подрядчика, технадзора |
Контроль сплошности провести не ранее, чем через две недели после засыпки трубопровода |
Таблица № б.9 максимально допустимая длина подкопанного участка
|
Максимально допустимая длина подкопанного участка l2, м |
|
|
530 |
11 |
|
630 |
12 |
|
720 |
15 |
|
820 |
17 |
|
1020 |
18 |
|
1220 |
20 |
1 - бульдозер; 2 - экскаватор; 3 - устройство подкопа нефтепровода; 4 - устройство очистки нефтепровода; 5 - лестница; 6 - устройство усиления нефтепровода; 7 - устройство изоляции нефтепровода; 8 - устройство уплотнения грунта; l2 - длина вскрытого участка нефтепровода с подкопом под трубой.
Рис. Б.15 Технологическая схема выборочного ремонта участка нефтепровода длиной до 20 Ду
ТИПОВАЯ ТЕХНОЛОГИЧЕСКАЯ КАРТА № 8
РЕМОНТ УЧАСТКОВ ДЛИНОЙ ДО 20Ду ДЛЯ НЕФТЕПРОВОДОВ ДИАМЕТРОМ 530...1220 мм
|
Выполняемые работы |
Оборудование, приспособления, материалы |
Состав бригады |
Примечания |
|
1 |
2 |
3 |
4 |
|
1. Определить положение дефектного участка нефтепровода, установить вешки в начале и в конце вскрываемого участка, а также в местах пересечений с подземными коммуникациями. Сдача трассы заказчиком подрядчику |
Трассоискатель, вешки, автомобиль грузопассажирский |
Линейные трубопроводчики, водитель автомобиля, представители службы ЭХЗ, геодезических служб, заказчика, подрядчика и других заинтересованных организаций |
Сдача трассы проводится по акту вместе с информацией по внутритрубной диагностике |
|
2. Снять плодородный слой почвы в пределах ремонтируемого участка с перемещением его во временный отвал: толщина плодородного слоя - м; ширина полосы, с которой снимается плодородный слой почвы - м; расположение отвала от оси трубопровода - ; дальность перемещения во временный отвал - м |
Бульдозер, экскаватор |
Машинист бульдозера, машинист экскаватора, помощник машиниста экскаватора |
Производитель работ (прораб, мастер) обязан ознакомить машинистов с особенностями участка под роспись |
|
3. Провести планировку ремонтной площадки, восстановить вешки, определяющие положение нефтепровода и коммуникаций, находящихся в одном техническом коридоре |
Бульдозер, теодолит (нивелир), трассоискатель, вешки |
Машинист бульдозера, геодезист, разнорабочий, мастер |
|
|
4. Вскрыть нефтепровод с подкопом грунта под трубой. Расстояние от стенок и дна траншеи до нефтепровода должно быть не менее 0,5 м для возможности работы ремонтной техники. Профиль траншеи при вскрытии нефтепровода показан на рис. Б.16. Рекомендуемую глубину траншеи в зависимости от применяемой землеройной техники принять по табл. Б.8. Допускается вскрытие нефтепровода одноковшовым экскаватором с последующей разработкой грунта под трубой устройством подкопа |
Экскаватор типа УДС-114 или экскаватор и устройство для подкопа нефтепровода |
Машинист экскаватора, помощник машиниста экскаватора |
Минимальное расстояние между стенкой трубы и ковшом работающего экскаватора должно быть не менее 0,15...0,20 м. Основание отвала минерального грунта следует располагать не ближе 0,5 м от края траншеи во избежание обвала |
|
5. Сообщить диспетчеру РУМН о начале ремонтных работ на трубопроводе |
|
Мастер |
Все работы проводить по письменному разрешению диспетчера РУМН |
|
6. Смонтировать очистное устройство на ремонтируемом участке нефтепровода |
Кран-трубоукладчик, очистное устройство, электростанция |
Машинист трубоукладчика, машинист очистного устройства, разнорабочий, машинист электростанции |
|
|
7. Очистить дефектный участок нефтепровода очистным устройством или вручную |
Очистное устройство, электростанция, скребки, щетки, шлифмашинка |
Машинист очистного устройства, машинист электростанции, разнорабочие |
Степень очистки поверхности должна соответствовать требованиям ВСН 008-88 и типу наносимого изоляционного покрытия |
|
8. Провести осмотр дефектного участка, зафиксировать расположение дефектов на трубе мелом, замерить протяженность и площадь дефектов, выбрать способ восстановления (ремонта) стенки трубы |
|
Мастер, представитель технадзора |
|
|
9. Провести восстановление стенки трубы путем установки муфт, заварки (наплавки) коррозионных язв и т.д. |
Сварочный агрегат, шлифмашинка, металлические щетки, электроды, шлифовальные круги, электростанция |
Сварщик, разнорабочий, машинист электростанции, лаборант |
Работы вести по специально разработанным технологическим картам после проверки состояния воздушной среды на месте проведения работ |
|
10. Провести монтаж изоляционного устройства на отремонтированном участке |
Кран-трубоукладчик, изоляционное устройство, электростанция |
Машинист трубоукладчика, машинист изоляционного устройства, машинист электростанции |
При восстановлении стенки трубы путем приварки накладных муфт изоляцию участка провести вручную |
|
11. Огрунтовать очищенную поверхность нефтепровода. Нанесение грунтовки осуществить валиком, кистью, распылением или поливом из лейки |
Кисть, валик, лейка |
Изолировщики |
|
|
12. Нанести изоляционное покрытие на отремонтированный участок, демонтировать устройство для изоляции |
Изоляционные материалы, изоляционное устройство |
Машинист изоляционного устройства, изолировщик |
|
|
13. Проверить качество нанесения изоляционного покрытия |
Дефектоскоп |
Дефектоскопист, мастер, представитель технадзора |
Сплошность изоляционного покрытия не менее 5 кВ на 1 мм толщины покрытия |
|
14. Очистить вручную участки, примыкающие к отремонтированному |
Шлифмашинка, металлические щетки, электростанция |
Разнорабочий, машинист электростанции |
|
|
15. Огрунтовать очищенную поверхность трубопровода |
Кисть, валик, лейка |
Изолировщики |
|
|
16. Нанести вручную изоляционное покрытие на огрунтованный участок и проверить качество нанесения |
Изоляционные материалы |
Изолировщики, дефектоскопист, мастер, представитель технадзора |
|
|
17. Восстановить средства электрохимзащиты (при необходимости) |
Сварочный агрегат, электроды |
Сварщик, слесарь КИП и А, разнорабочий |
|
|
18. Подсыпать отремонтированный участок размельченным или мягким грунтом |
Бульдозер |
Машинист бульдозера |
Грунт подсыпки не должен закрывать верхнюю образующую или быть ниже оси нефтепровода |
|
19. Смонтировать устройство подбивки грунта и провести уплотнение грунта подсыпки под нефтепроводом |
Устройство подбивки грунта, экскаватор, грузоподъемный механизм |
Машинист экскаватора, помощник машиниста экскаватора, машинист грузоподъемного механизма |
Во время подбивки грунта под нефтепровод следить за сохранностью изоляционного покрытия. При ремонте участка нефтепровода длиной более 0,512 (l2 - максимально-допустимая длина подкопанного участка) подсыпку и уплотнение выполнить с поддержкой грузоподъемным механизмом. Поддержку осуществлять в средней части ремонтируемого участка |
|
20. Присыпать участок мягким грунтом на высоту не менее 0,2 м от верха трубы |
Бульдозер |
Машинист бульдозера |
В скальных грунтах присыпка мягким грунтом обязательна |
|
21. Провести окончательную засыпку траншеи минеральным грунтом и рекультивацию плодородного слоя почвы бульдозером. При обратном движении провести планировку полосы опущенным отвалом бульдозера |
Бульдозер |
Машинист бульдозера |
|
|
22. Осуществить контроль качества изоляционно-укладочных работ искателем повреждений, при необходимости провести ремонт |
Искатель повреждений |
Дефектоскопист, разнорабочий, представители заказчика, подрядчика, технадзора |
Контроль сплошности провести не ранее, чем через две недели после засыпки трубопровода |
а) - двустороннее расположение минерального грунта;
б) - одностороннее расположение минерального грунта.
1 - экскаватор; 2 - отвал минерального грунта; 3 - отвал плодородного грунта; 4 - бульдозер.
Рис. Б.16 Схема разработки траншеи одноковшовым экскаватором в два этапа
Таблица № 10 технологические параметры схемы ремонта протяженных участков (длиной более 20ду) методом последовательных захваток
|
Технологические параметры ремонтируемого участка |
||||
|
а, м |
b, м |
l3, м |
t, м |
|
|
530 |
6 |
3,5 |
9 |
5,5 |
|
630 |
7 |
3,5 |
10 |
6,5 |
|
720 |
9 |
3,5 |
12 |
8,5 |
|
820 |
10 |
3,5 |
14 |
10,5 |
|
1020 |
10 |
4,0 |
16 |
12,0 |
|
1220 |
12 |
4,0 |
18 |
14,0 |
1 - бульдозер; 2 - экскаватор; 3 - устройство подкопа нефтепровода; 4 - устройство очистки нефтепровода; 5 - лестница; 6 - устройство изоляции нефтепровода; 7 - устройство уплотнения грунта; l3 - длина вскрытого участка нефтепровода с подкопом под трубой; t - длина шага засыпки траншеи; а - участок нефтепровода, вскрытый ниже образующей трубы.
Рис. Б.17 Технологическая схема выборочного ремонта участка нефтепровода длиной более 20 Ду методом последовательных захваток
ТИПОВАЯ ТЕХНОЛОГИЧЕСКАЯ КАРТА № 9
РЕМОНТ ПРОТЯЖЕННЫХ УЧАСТКОВ МЕТОДОМ ПОСЛЕДОВАТЕЛЬНЫХ ЗАХВАТОК
|
Выполняемые работы |
Оборудование, приспособления, материалы |
Состав бригады |
Примечания |
|
1 |
2 |
3 |
4 |
|
1. Определить положение дефектного участка нефтепровода, установить вешки в начале и в конце вскрываемого участка, а также в местах пересечений с подземными коммуникациями. Сдача трассы заказчиком подрядчику |
Трассоискатель, вешки, автомобиль грузопассажирский |
Линейные трубопроводчики, водитель автомобиля, представители службы ЭХЗ, геодезических служб, заказчика, подрядчика и других заинтересованных организаций |
Сдача трассы проводится по акту вместе с информацией по внутритрубной диагностике |
|
2. Снять плодородный слой почвы в пределах ремонтируемого участка с перемещением его во временный отвал: толщина плодородного слоя - м; ширина полосы, с которой снимается плодородный слой почвы - м; расположение отвала от оси трубопровода дальность перемещения во временный отвал - м |
Бульдозер |
Машинист бульдозера |
Производитель работ (прораб, мастер) обязан ознакомить машинистов с особенностями участка под роспись |
|
3. Провести планировку ремонтной полосы, восстановить вешки, определяющие положение дефектного участка и коммуникаций, находящихся в одном техническом коридоре |
Бульдозер, теодолит (нивелир), трассоискатель, вешки |
Машинист бульдозера, геодезист, разнорабочий, мастер |
|
|
4. Сообщить диспетчерской службе РУМН о начале ремонтных работ на трубопроводе |
|
Мастер |
Все работы проводить по письменному разрешению диспетчера РУМН |
|
5. Вскрыть ремонтируемый участок нефтепровода длиной l3 + а ниже нижней образующей трубы с образованием приямков для размещения грунта, разрабатываемого под трубой. Глубина траншеи в зависимости от применяемой землеройной техники принимается по табл. Б.8, профиль траншеи при вскрытии нефтепровода показан на рис. Б.15. Вынутый минеральный грунт размещать во временный отвал на бровке траншеи (поз. I, II рис. Б.18) |
Экскаватор |
Машинист экскаватора, помощник машиниста экскаватора |
Минимальное расстояние между стенкой трубы и ковшом работающего экскаватора должно быть не менее 0,15...0,20 м. Основание отвала минерального грунта следует располагать не ближе 0,5 м от края траншеи во избежание обвала |
|
6. Разработать грунт под нефтепроводом устройством подкопа на участке длиной l3 (поз. III рис. Б.18) |
Устройство подкопа, экскаватор |
Машинист экскаватора, помощник машиниста экскаватора |
|
|
7. Установить очистное устройство на нефтепроводе и провести очистку подкопанного участка от старого изоляционного покрытия |
Кран-трубоукладчик, очистное устройство, электростанция |
Машинист трубоукладчика, машинист очистного устройства, разнорабочий, машинист электростанции |
|
|
8. Восстановить стенку трубы путем установки муфт, заварки (наплавки) коррозионных язв и т.д. |
Сварочный агрегат, шлифмашинка, металлические щетки, электроды, шлифовальные круги, электростанция |
Сварщик, разнорабочий, машинист электростанции, лаборант |
Работы вести по специально разработанным технологическим картам после проверки состояния воздушной среды на месте проведения работ |
|
9. Провести монтаж изоляционного устройства на отремонтированном участке |
Кран-трубоукладчик, изоляционное устройство |
Машинист трубоукладчика, машинист изоляционного устройства |
|
|
10. Нанести грунтовку и новое изоляционное покрытие на участке длиной t (поз. IV рис. Б.18) и проверить качество нанесения покрытия |
Изоляционные материалы, изоляционное устройство, кисть, валик, лейка, дефектоскоп, электростанция |
Машинист изоляционного устройства, изолировщики, дефектоскопист, машинист электростанции, мастер, представитель технадзора |
t - длина шага поэтапного выполнения работ |
|
11. Провести подсыпку и подбивку размельченного или мягкого грунта под нефтепровод на участке длиной l3 - b (поз. V рис. Б.18) |
Бульдозер, устройство подбивки |
Машинист бульдозера, машинист экскаватора, помощник машиниста экскаватора |
b - минимальная длина участка, необходимая для размещения ремонтных машин и механизмов на нефтепроводе |
|
12. Вскрыть следующий участок трубы длиной t ниже нижней образующей с образованием приямков для размещения грунта, разрабатываемого под трубой (поз. VI рис. Б.18) |
Экскаватор |
Машинист экскаватора, помощник машиниста экскаватора |
|
|
13. Засыпать минеральным грунтом отремонтированный участок нефтепровода |
Бульдозер |
Машинист бульдозера |
|
|
14. Разработать грунт под трубой устройством подкопа на участке длиной t (поз. VII рис. Б.18) |
Устройство подкопа |
Машинист экскаватора, помощник машиниста экскаватора |
|
|
15. Повторить комплекс работ по очистке, ремонту, изоляции и засыпке отремонтированных участков нефтепровода |
|
Машинист экскаватора, помощник машиниста экскаватора |
Работы вести согласно пп. 10...14 (поз. IV - VII рис. Б.18) в зависимости от протяженности ремонтируемого участка с шагом t по настоящей технологической карте |
|
16. Вскрыть нефтепровод ниже нижней образующей на последнем участке длиной а |
Экскаватор |
Машинист экскаватора, помощник машиниста экскаватора |
|
|
17. Разработать грунт под трубой устройством подкопа на последнем участке ремонтных работ |
Устройство подкопа грунта, экскаватор |
Машинист экскаватора, помощник машиниста экскаватора |
|
|
18. Очистить нефтепровод от старого изоляционного покрытия |
Очистное устройство, электростанция |
Машинист очистного устройства, машинист электростанции |
|
|
19. Провести демонтаж очистного устройства |
Кран-трубоукладчик, очистное устройство |
Машинист трубоукладчика, машинист очистного устройства, разнорабочий |
|
|
20. Выполнить ремонтно-восстановительные работы стенки трубы на последнем участке работ |
Сварочный агрегат, шлифмашинка, металлические щетки, электроды, шлифовальные круги, электростанция |
Сварщик, разнорабочий, машинист электростанции |
|
|
21. Нанести грунтовку и новое изоляционное покрытие на отремонтированный участок и проверить качество нанесения покрытия |
Изоляционные материалы, изоляционное устройство, кисть, валик, лейка, дефектоскоп, электростанция) |
Машинист изоляционного устройства, изолировщики, дефектоскопист, машинист электростанции, мастер, представитель технадзора |
|
|
22. Демонтировать изоляционное устройство, нанести вручную новое изоляционное покрытие на участок демонтажа устройства и проверить качество нанесения изоляции |
Кран-трубоукладчик, изоляционное устройство |
Машинист трубоукладчика, машинист изоляционного устройства, изолировщики |
Во время демонтажа изоляционного устройства следить за сохранностью изоляционного покрытия |
|
23. Подсыпать и подбить размельченный или мягкий грунт под отремонтированный участок нефтепровода |
Бульдозер, устройство подбивки грунта |
Машинист бульдозера, машинист экскаватора, помощник машиниста экскаватора |
|
|
24. Провести окончательную засыпку траншеи минеральным грунтом |
Бульдозер |
Машинист бульдозера |
|
|
25. Провести рекультивацию плодородного слоя почвы |
Бульдозер |
Машинист бульдозера |
|
|
26. Осуществить контроль качества изоляционно-укладочных работ искателем повреждений |
Искатель повреждений |
Дефектоскопист, разнорабочий, представители заказчика, подрядчика, технадзора |
Контроль сплошности провести не ранее, чем через две недели после засыпки трубопровода |
П - устройство подкопа; О - устройство очистки; И - устройство изоляции; Т - устройство трамбовки (уплотнения); l3 - длина вскрытого участка с подкопом под трубой; а - длина вскрытого участка без подкопа под трубой; в - минимальная длина участка размещения машин и механизмов; t - длина шага поэтапного выполнения ремонтных работ.
Рис. Б.18 Последовательность выполнения ремонтных работ при вскрытии ремонтируемого протяженного участка нефтепровода методом захваток
Таблица № б.11 технологические параметры схемы ремонта протяженных участков с применением грунтовых опор
|
Технологические параметры ремонтируемого участка |
|||
|
l4,м |
b, м |
с, м |
|
|
530 |
9 |
3,5 |
1,0 |
|
630 |
10 |
3,5 |
1,0 |
|
720 |
12 |
3,5 |
1,0 |
|
820 |
14 |
3,5 |
1,2 |
|
1020 |
16 |
4,0 |
1,5 |
|
1220 |
18 |
4,0 |
1,5 |
1 - бульдозер; 2 - экскаватор; 3 - грунтовая опора; 4 - устройство очистки нефтепровода; 5 - лестница; 6 - устройство изоляции нефтепровода; 7 - устройство уплотнения грунта; l - длина вскрытого участка нефтепровода с подкопом под трубой; с - длина грунтовой опоры.
Рис. Б.19 Технологическая схема выборочного ремонта участка нефтепровода длиной более 20 Ду с применением грунтовых опор
ТИПОВАЯ ТЕХНОЛОГИЧЕСКАЯ КАРТА № 10
РЕМОНТ ПРОТЯЖЕННЫХ УЧАСТКОВ С ПРИМЕНЕНИЕМ ГРУНТОВЫХ ОПОР
|
Выполняемые работы |
Оборудование, приспособления, материалы |
Состав бригады |
Примечания |
|
1 |
2 |
3 |
4 |
|
1. Определить положение дефектного участка нефтепровода, установить вешки в начале и в конце вскрываемого участка, а также в местах пересечений с подземными коммуникациями. Сдача трассы заказчиком подрядчику |
Трассоискатель, вешки, автомобиль грузопассажирский |
Линейные трубопроводчики, водитель автомобиля, представители службы ЭХЗ, геодезических служб, заказчика, подрядчика и других заинтересованных организаций |
Сдача трассы проводится по акту вместе с информацией по внутритрубной диагностике |
|
2. Снять плодородный слой почвы в пределах ремонтируемого участка с перемещением его во временный отвал: толщина плодородного слоя - м; ширина полосы, с которой снимается плодородный слой почвы - м; расположение отвала от оси трубопровода ; дальность перемещения во временный отвал - м |
Бульдозер |
Машинист бульдозера |
Производитель работ (прораб, мастер) обязан ознакомить машинистов с особенностями участка под роспись |
|
3. Провести планировку ремонтной полосы, восстановить вешки, определяющие положение дефектного участка и коммуникаций, находящихся в одном техническом коридоре |
Бульдозер, теодолит (нивелир), трассоискатель, вешки |
Машинист бульдозера, геодезист, разнорабочий, мастер |
|
|
4. Сообщить диспетчерской службе РУМН о начале ремонтных работ на трубопроводе |
Экскаватор типа УДС-114 |
Мастер |
Все работы проводить по письменному разрешению диспетчера РУМН |
|
5. Вскрыть ремонтируемый участок нефтепровода с подкопом грунта под трубой и с оставлением грунтовых опор длиной с. На рис. Б.21 представлены форма и размеры грунтовой опоры. Вынутый минеральный грунт размещать во временный отвал |
Кран-трубоукладчик, очистное устройство, электростанция |
Машинист экскаватора, помощник машиниста экскаватора |
Минимальное расстояние между стенкой трубы и ковшом работающего экскаватора должно быть не менее 0,15...0,20 м. Основание отвала минерального грунта следует располагать не ближе 0,5 м от края траншеи во избежание обвала. Расстояние от стенок и дна траншеи до нефтепровода должно быть не менее 0,5 м для возможности работы ремонтной техники. Длины вскрытых участков с подкопом между опорами не должны превышать максимально-допустимую величину l4 |
|
6. Установить очистное устройство на первом по ходу работ пролете (до грунтовой опоры) длиной l4 |
|
Машинист трубоукладчика, машинист очистного устройства, машинист электростанции |
|
|
7. Очистить нефтепровод от старого изоляционного покрытия |
Очистное устройство, электростанции |
Машинист очистного устройства, машинист электростанции |
|
|
8. Восстановить стенку трубы путем установки муфт, заварки (наплавки) коррозионных язв и т.д. |
Сварочный агрегат, шлифмашинка, металлические щетки, электроды, шлифовальные круги, электростанция |
Сварщик, разнорабочий, машинист электростанции, линейные трубопроводчики |
Работы вести по специально разработанным технологическим картам после проверки состояния воздушной среды на месте проведения работ |
|
9. Провести монтаж изоляционного устройства на отремонтированном участке |
Кран-трубоукладчик, изоляционное устройство, электростанция |
Машинист трубоукладчика, машинист изоляционного устройства, машинист электростанции |
|
|
10. Нанести грунтовку и новое изоляционное покрытие на участке длиной t (поз. I - II рис. Б.20) |
Изоляционные материалы, изоляционное устройство, кисть, валик, лейка, электростанция |
Машинист изоляционного устройства, изолировщики, машинист электростанции |
t - длина шага поэтапного выполнения работ |
|
11. Провести проверку качества изоляционного покрытия |
Дефектоскоп |
Дефектоскопист, мастер, представитель технадзора |
Сплошность изоляционного покрытия не менее 5 кВ на 1 мм толщины покрытия |
|
12. Провести подсыпку и подбивку размельченного или мягкого грунта под нефтепровод на участке длиной l4 - b (поз. III рис. Б.20) |
Бульдозер, устройство подбивки грунта, экскаватор |
Машинист бульдозера, машинист экскаватора, помощник машиниста экскаватора, мастер |
b - минимальная длина участка, необходимая для размещения ремонтных машин и механизмов на нефтепроводе. Грунт присыпки не должен закрывать верхнюю образующую трубы или быть ниже оси нефтепровода. Во время выполнения работ по подбивке грунта следить за сохранностью изоляционного покрытия |
|
13. Засыпать минеральным грунтом отремонтированный участок нефтепровода |
Бульдозер |
Машинист бульдозера |
|
|
14. Провести разработку грунтовой опоры с подкопом под трубой на глубину 0,5 м ниже нижней образующей трубы. Оставшийся грунт доработать вручную |
Экскаватор типа УДС-114, лопаты |
Машинист экскаватора, помощник машиниста экскаватора, разнорабочие |
|
|
15. Очистить нефтепровод от старого изоляционного покрытия на участке длиной l4 |
Очистное устройство, электростанция |
Машинист очистного устройства, машинист электростанции |
|
|
16. Выполнить восстановление стенки трубы путем установки муфт, заварки (наплавки) коррозионных язв и т.д. |
Сварочный агрегат, шлифмашинка, металлические щетки, электроды, шлифовальные круги, электростанция |
Сварщик, разнорабочий, машинист электростанции, линейные трубопроводчики |
|
|
17. Нанести грунтовку и новое изоляционное покрытие на участке длиной l4, проверить качество нанесения изоляционного покрытия |
Изоляционные материалы, изоляционное устройство, кисть, валик, лейка, дефектоскоп, электростанция |
Машинист изоляционного устройства, изолировщики, дефектоскопист, мастер, машинист электростанции, представитель технадзора |
|
|
18. Провести подсыпку и подбивку размельченного или мягкого грунта под нефтепровод на участке длиной 14 - b (поз. IV рис. Б.20) |
Бульдозер, устройство подбивки, экскаватор |
Машинист бульдозера, машинист экскаватора, помощник машиниста экскаватора |
b - минимальная длина участка, необходимая для размещения ремонтных машин и механизмов на нефтепроводе. Грунт подсыпки не должен закрывать верхнюю образующую трубы или быть ниже оси нефтепровода. Во время выполнения работ по подбивке грунта следить за сохранностью изоляционного покрытия |
|
19. Засыпать минеральным грунтом отремонтированный участок нефтепровода |
Бульдозер |
Машинист бульдозера |
|
|
20. Провести разработку следующей грунтовой опоры с доработкой грунта вручную (поз. V рис. Б.20) |
Экскаватор типа УДС-114, лопаты |
Машинист экскаватора, помощник машиниста экскаватора, разнорабочие |
|
|
21. Повторить комплекс работ по очистке, ремонту, изоляции и засыпке отремонтированных участков нефтепровода |
|
|
Работы вести согласно пп. 15...20 (поз. III-V рис. Б.20) |
|
22. Разработать последнюю грунтовую опору с доработкой грунта вручную |
Экскаватор типа УДС-114, лопаты |
Машинист экскаватора, помощник машиниста экскаватора, бригада землекопов |
|
|
23. Очистить от старого изоляционного покрытия последний пролет ремонтируемого нефтепровода |
Очистное устройство, электростанция |
Машинист очистного устройства, машинист электростанции |
|
|
24. Провести демонтаж очистного устройства |
Кран-трубоукладчик, очистное устройство |
Машинист трубоукладчика, машинист очистного устройства |
|
|
25. Выполнить ремонтно-восстановительные работы стенки трубы на последнем участке работ |
Сварочный агрегат, шлифмашинка, металлические щетки, электроды, шлифовальные круги, электростанция |
Сварщик, разнорабочий, машинист электростанции |
|
|
26. Нанести грунтовку и новое изоляционное покрытие на отремонтированный участок и проверить качество нанесения покрытия |
Изоляционные материалы, изоляционное устройство, кисть, валик, лейка, дефектоскоп, электростанция |
Машинист изоляционного устройства, изолировщик, дефектоскопист, машинист электростанции, мастер, представитель технадзора |
|
|
27. Демонтировать изоляционное устройство, нанести вручную новое изоляционное покрытие на участок демонтажа устройства и проверить качество нанесения покрытия |
Кран-трубоукладчик, изоляционное устройство |
Машинист трубоукладчика, машинист изоляционного устройства, изолировщики |
Во время демонтажа изоляционного устройства следить за сохранностью изоляционного покрытия |
|
28. Провести подсыпку и подбивку размельченного или мягкого грунта под отремонтированный участок нефтепровода |
Бульдозер, устройство подбивки грунта, экскаватор |
Машинист бульдозера, машинист экскаватора, помощник машиниста экскаватора |
|
|
29. Провести окончательную засыпку траншеи минеральным грунтом |
Бульдозер |
Машинист бульдозера |
|
|
30. Провести рекультивацию плодородного слоя почвы |
Бульдозер |
Машинист бульдозера |
|
|
31. Осуществить контроль качества изоляционно-укладочных работ искателем повреждений |
Искатель повреждений |
Дефектоскопист, разнорабочий, представители заказчика, подрядчика, технадзора |
Контроль сплошности провести не ранее, чем через две недели после засыпки трубопровода |
П - устройство подкопа; О - устройство очистки; И - устройство изоляции; Т - устройство трамбовки (уплотнения); l4 - длина вскрытого участка с подкопом под трубой; в - минимальная длина участка размещения машин и механизмов; с - длина грунтовой опоры.
Рис. Б.20 Последовательность выполнения ремонтных работ при вскрытии ремонтируемого протяженного участка нефтепровода методом захваток
1 - ремонтируемый нефтепровод; 2 - приямок; 3 - грунтовая опора.
Рис. Б.21 Грунтовая опора
ТИПОВАЯ ТЕХНОЛОГИЧЕСКАЯ КАРТА № 11
РЕМОНТ УЧАСТКОВ НЕФТЕПРОВОДОВ С ЗАМЕНОЙ КАТУШКИ, ТРУБЫ
|
Выполняемые работы |
Оборудование, приспособления, материалы |
Состав бригады |
Примечания |
|
1 |
2 |
3 |
4 |
|
1. Определить положение дефектного участка нефтепровода, установить вешки в начале и в конце вскрываемого участка, а также в местах пересечений с подземными коммуникациями. Сдача трассы заказчиком подрядчику |
Трассоискатель, вешки, автомобиль грузопассажирский |
Линейные трубопроводчики, водитель автомобиля, представители службы ЭХЗ, геодезических служб, заказчика, подрядчика и других заинтересованных организаций |
Сдача трассы проводится по акту |
|
2. Снять плодородный слой почвы в пределах ремонтируемого участка с перемещением его во временный отвал: толщина плодородного слоя - м; ширина полосы, с которой снимается плодородный слой почвы - м; расположение отвала от оси трубопровода дальность перемещения во временный отвал - м |
Бульдозер |
Машинист бульдозера |
Производитель работ (прораб, мастер) обязан ознакомить машинистов с особенностями участка под роспись |
|
3. Провести планировку ремонтной полосы, восстановить вешки, определяющие положение дефектного участка и коммуникаций, находящихся в одном техническом коридоре |
Бульдозер, теодолит (нивелир), трассоискатель, вешки |
Машинист бульдозера, геодезист, разнорабочий, мастер |
|
|
4. Сообщить диспетчеру РУМН о начале ремонтных работ на трубопроводе |
|
Мастер |
Все работы проводить по письменному разрешению диспетчера РУМН |
|
5. Выполнить следующие подготовительные работы при откачке нефти из заменяемого участка: в параллельный нефтепровод - провести врезку отвода на параллельном нефтепроводе и осуществить обвязку с отводом на заменяемом участке и с насосным агрегатом; |
Сварочный агрегат, комплект оборудования для обвязки, приспособление для холодной врезки, экскаватор |
Сварщик, линейный трубопроводчик, машинист экскаватора, помощник машиниста экскаватора |
Способ опорожнения участка определяется рабочим проектом |
|
за ближайшую задвижку - проложить временный нефтепровод и провести врезку отвода в месте закачки; |
Сварочный агрегат, комплект труб и задвижек, приспособление для холодной резки |
Сварщик, линейный трубопроводчик |
|
|
в резинотканевые резервуары - соорудить площадку с обвалованием и установить резервуары; |
Бульдозер, автокран |
Машинист бульдозера, водитель автокрана, такелажник |
|
|
в земляной амбар - соорудить земляной амбар, дно и стенки которого обложить полимерной пленкой или слоем уплотненной глины |
Экскаватор, глина, полимерная пленка |
Машинист экскаватора, помощник машиниста экскаватора, разнорабочие |
|
|
6. Разработать ремонтный котлован со вскрытием нефтепровода ниже нижней образующей и образованием приямков для размещения грунта из-под трубы. Вынутый минеральный грунт размещать во временный отвал. Оставшийся грунт доработать вручную |
Экскаватор, лопаты |
Машинист экскаватора, разнорабочие |
Размеры ремонтного котлована зависят от длины дефектного участка. Минимальное расстояние между стенкой трубы и ковшом работающего экскаватора должно быть 0,15...0,20 м. Основание отвала минерального грунта следует располагать не ближе 0,5 м от края траншеи во избежание обвала |
|
7. Разработать приямки с обоих концов дефектного участка в местах реза на глубину 0,5...0,6 м ниже нижней образующей трубы. Грунт под трубой подкопать вручную |
Экскаватор, лопаты |
Машинист экскаватора, разнорабочие |
При ручной доработке грунта запрещается применять ломы, кирки и другой ударный инструмент |
|
8. На заменяемом участке приварить патрубок (отвода) с задвижкой и вырезать отверстие с помощью приспособления для холодной врезки |
Приспособление для холодной врезки, патрубок с задвижкой, сварочный агрегат, электроды, электростанция |
Сварщик, линейный трубопроводчик, машинист электростанции |
Работы разрешается вести при давлении Рраб £ 3 МПа |
|
9. Провести обвязку отводов, смонтированных на нефтепроводе с насосным агрегатом для откачки нефти из ремонтируемого участка |
Насосный агрегат, комплект оборудования для обвязки |
Линейные трубопроводчики |
|
|
10. Остановить перекачку нефти и отключить заменяемый участок ближайшими линейными задвижками |
|
Диспетчер, обходчики |
|
|
11. Откачать нефть из заменяемого участка нефтепровода с подачей воздуха на вантузах |
Наносный агрегат, дрель ручная, электростанция |
Машинист насосного агрегата, помощник машиниста установки, линейный трубопроводчик, разнорабочий, машинист электростанции |
Для контроля за уровнем нефти на заменяемом участке нефтепровода просверлить отверстие диаметром 6...8 мм |
|
12. Очистить трубу по всему периметру от изоляции и ржавчины в местах вырезки катушки, приварить перемычку между концами разрезаемого трубопровода или заземлить концы |
Шлифмашинка, скребок, сварочный агрегат, электроды, электростанция |
Сварщик, разнорабочий, машинист электростанции, бригада ABC |
Очистку проводить на ширину: 100...150 мм - для установки удлиненных кумулятивных зарядов; 500 мм - для установки машинки для резки труб |
|
13. Вырезать заменяемый участок трубопровода (с применением энергии взрыва или машинкой для резки труб) |
Удлиненные кумулятивные заряды, машинка для резки труб МРТ, «Файн», трубоукладчик, электростанция |
Взрывники, машинист трубоукладчика, разнорабочие, мастер, бригада ABC, машинист электростанции |
|
|
14. Провести герметизацию открытых концов ремонтируемого трубопровода одним из существующих способов (глиняными тампонами, резиновыми шарами, резинокордными оболочками и др.) |
Глина, трамбовки, резиновые шары, резинокордные оболочки |
Разнорабочие, бригада ABC |
|
|
15. Просверлить контрольные отверстия диаметром 6...8 мм на верхней образующей трубопровода на расстоянии не менее 30 м от места вырезки для стравливания избыточного давления газов из трубы и контроля за уровнем нефти |
Ручная дрель |
Разнорабочий, мастер |
|
|
16. Очистить дно ремонтного котлована от пропитанного нефтью грунта и провести анализ воздуха в ремонтном котловане |
Экскаватор, газоанализатор, лопаты |
Машинист экскаватора, лаборант, разнорабочие, помощник машиниста экскаватора, мастер |
Допуск к сварочным работам возможен, если содержание вредных и горючих паров и газов не выше: а) ПДК углеводородов С1...С10 - 300 мг/м3; сероводорода в смеси с углеводородом С1...С5 - 3 мг/м3; б) ПДВК - 5 % величины нижнего предела воспламенения данного пара или газа в воздухе; для нефти - 2,1 мг/л |
|
17. Подготовить заранее опрессованную катушку заданной длины |
Оборудование для газовой резки |
Мастер, газорезчик, разнорабочий |
Минимальная длина катушки должна составлять не менее 0,5 м для труб диаметром до 530 мм; для труб диаметром 530 мм и более - равной диаметру нефтепровода. Толщина стенки ввариваемой вставки должна быть не менее толщины стенки трубопровода |
|
18. Провести разметку и подготовку концов трубопровода под монтаж и сварку (обрезка кромок со снятием фасок) |
Оборудование для газовой резки, приспособление для резки труб, шаблон сварщика |
Газорезчик, разнорабочий, мастер |
|
|
19. Провести монтаж катушки с прихваткой. Катушку к трубопроводу пристыковывают трубоукладчиком, стык собирают с применение наружных центраторов и фиксируют стыкуемые концы при помощи прихваток равномерно по периметру |
Кран-трубоукладчик, наружный центратор, сварочный агрегат, электроды, электростанция |
Машинист трубоукладчика, сварщик, разнорабочий, машинист электростанции |
Количество и длина прихваток зависит от диаметра трубопровода (табл. Б.3) |
|
20. Тщательно зачистить прихватки от шлака и провести сварку шва |
Сварочный агрегат, шлифовальная машина, электроды, электростанция |
Сварщик, разнорабочий, машинист электростанции |
|
|
21. Провести контроль сварных швов трубопровода визуально и физическими методами |
Рентгеновский аппарат |
Дефектоскопист, мастер, представитель технадзора |
|
|
22. Заглушить технологические отверстия металлическими пробками и обварить их |
Металлические пробки, сварочный агрегат |
Сварщик, разнорабочий |
|
|
23. Провести обратную закачку нефти из резинотканевых резервуаров или земляного амбара и демонтировать схему обвязки трубопровода с насосным агрегатом |
Насосный агрегат, электростанция |
Машинист насосного агрегата, разнорабочий, машинист электростанции |
|
|
24. Получить разрешение диспетчера РУМН и открыть линейные задвижки |
|
Мастер, обходчики |
|
|
25. Возобновить перекачку нефти по отремонтированному нефтепроводу, поднять давление до рабочего |
|
Диспетчер |
|
|
26. Провести осмотр мест подключения и герметичность сварных швов |
|
Мастер, представитель технадзора |
|
|
27. Разработать грунт под замененной катушкой (трубой) на 0,5 м ниже нижней образующей трубы |
Устройство подкопа грунта, экскаватор, лопаты |
Машинист экскаватора, помощник машиниста экскаватора, разнорабочие |
Длина участка с подкопом не должна превышать максимально-допустимых значений l2 табл. Б.9. В противном случае применять ремонт методом захваток или с применением грунтовых опор |
|
28. Смонтировать очистное устройство на нефтепроводе и провести очистку поверхности катушки (трубы) |
Очистное устройство, кран-трубоукладчик, скрепки, металлические щетки, шлифмашинка, электростанция |
Машинист очистного устройства, машинист трубоукладчика, разнорабочий, машинист электростанции |
|
|
29. Демонтировать очистное и смонтировать изоляционное устройство |
Очистное устройство, кран-трубоукладчик, изоляционное устройство, электростанция |
Машинист очистного устройства, машинист трубоукладчика, машинист изоляционного устройства, машинист электростанции |
|
|
30. Нанести новое изоляционное покрытие и проверить качество нанесения изоляции. Нанесение изоляционного покрытия на коротких участках следует выполнить вручную |
Изоляционное устройство, изоляционные материалы, дефектоскоп, валик, кисть, лейка, электростанция |
Изолировщики, машинист изоляционного устройства, машинист электростанции, дефектоскопист |
Сплошность изоляционного покрытия определяется из расчета 5 кВ на 1 мм толщины покрытия |
|
31. Провести демонтаж изоляционного устройства |
Кран-трубоукладчик, изоляционное устройство |
Машинист трубоукладчика, машинист изоляционного устройства |
|
|
32. Очистить вручную зоны сварных швов и нанести новое изоляционное покрытие, проверить качество нанесения покрытия |
Изоляционные материалы, дефектоскоп, валик, кисть, лейка, шлифмашинка, металлические щетки, электростанция |
Изолировщики, разнорабочий, дефектоскопист, мастер, представитель технадзора, машинист электростанции |
|
|
33. Подсыпать размельченный или мягкий грунт под нефтепровод и уплотнить |
Бульдозер, устройство уплотнения грунта, экскаватор |
Машинист бульдозера, машинист экскаватора |
Грунт не должен содержать камней, крупных включений. Грунт подсыпки не должен закрывать верхнюю образующую трубы или быть ниже оси нефтепровода |
|
34. Провести засыпку ремонтного котлована минеральным грунтом |
Бульдозер |
Машинист бульдозера |
|
|
35. После закачки нефти из земляного амбара в нефтепровод остатки нефти собрать с помощью сорбента. Пропитанный нефтью сорбент собирать и вывезти на утилизацию |
Экскаватор, сорбент, лопаты |
Машинист экскаватора, разнорабочие |
В качестве сорбента применяют торф, солому и т.д. Сорбент наносят из расчета 0,5 м3 на 10 м2 нефтяного пятна |
|
36. Провести рекультивацию плодородного слоя почвы |
Бульдозер |
Машинист бульдозера |
|
|
37. Осуществить контроль качества изоляционно-укладочных работ искателем повреждений, при необходимости провести ремонт дефектов |
Искатель повреждений |
Дефектоскопист, разнорабочий, представители заказчика, подрядчика, технадзора |
Контроль сплошности провести не ранее, чем через две недели после засыпки трубопровода |
1 - бульдозер; 2 - экскаватор; 3 - ПНА-2; 4 - глиняные пробки; 5 - задвижка; 6 - кран-трубоукладчик; 7 - катушка; 8 - электростанция; 9 - лестница; 10 - сварочный агрегат.
Рис. Б.22 Технологическая схема выборочного ремонта участка нефтепровода с заменой «катушки», трубы, узлов линейной арматуры
ТИПОВАЯ ТЕХНОЛОГИЧЕСКАЯ КАРТА № 12
РЕМОНТ С ЗАМЕНОЙ УЗЛОВ ЛИНЕЙНОЙ АРМАТУРЫ
|
Выполняемые работы |
Оборудование, приспособления, материалы |
Состав бригады |
Примечания |
|
1 |
2 |
3 |
4 |
|
1. Обозначить вешками ремонтируемый участок с дефектным узлом линейной арматуры. Сдача трассы заказчиком подрядчику |
Трассоискатель, вешки, автомобиль грузопассажирский |
Линейные трубопроводчики, водитель автомобиля, представители службы ЭХЗ, геодезических служб, заказчика, подрядчика |
Сдача трассы проводится по акту |
|
2. Снять плодородный слой почвы в пределах ремонтируемого участка с перемещением его во временный отвал: толщина плодородного слоя - м; ширина полосы, с которой снимается плодородный слой почвы - м; расположение отвала от оси трубопровода ; дальность перемещения во временный отвал - м |
Бульдозер |
Машинист бульдозера |
Производитель работ (прораб, мастер) обязан ознакомить машинистов с особенностями участка под роспись |
|
3. Провести планировку ремонтной полосы, восстановить вешки, определяющие положение дефектного участка |
Бульдозер, теодолит (нивелир), трассоискатель, вешки |
Машинист бульдозера, геодезист, разнорабочий, мастер |
|
|
4. Сообщить диспетчеру РУМН о начале ремонтных работ на трубопроводе |
|
Мастер |
Все работы проводить по письменному разрешению диспетчера РУМН |
|
5. Выполнить следующие подготовительные работы при откачке нефти из заменяемого участка: в параллельный нефтепровод - провести врезку отвода на параллельном нефтепроводе и осуществить обвязку с отводом на заменяемом участке и с насосным агрегатом; |
Сварочный агрегат, комплект оборудования для обвязки, приспособление для холодной врезки, экскаватор |
Сварщик, линейный трубопроводчик, машинист экскаватора, помощник машиниста экскаватора |
Способ опорожнения участка определяется рабочим проектом |
|
за ближайшую задвижку - проложить временный нефтепровод и провести врезку отвода в месте закачки; |
Сварочный агрегат, комплект труб и задвижек, приспособление для холодной резки |
Сварщик, линейный трубопроводчик |
|
|
в резинотканевые резервуары - соорудить площадку с обвалованием и установить резервуары; в земляной амбар - соорудить земляной амбар, дно и стенки которого обложить полимерной пленкой или слоем уплотненной глины |
Бульдозер, автокран Экскаватор, глина, полимерная пленка |
Машинист бульдозера, водитель автокрана, такелажник Машинист экскаватора, помощник машиниста экскаватора, разнорабочие |
|
|
6. Провести разработку ремонтного котлована со вскрытием нефтепровода ниже нижней образующей трубы по обе стороны от жесткого основания узла линейной арматуры. Временный отвал вынутого минерального грунта следует располагать не ближе 0,5 м от края траншеи |
Экскаватор |
Машинист экскаватора, помощник машиниста экскаватора |
Размеры ремонтного котлована должны обеспечить размещение оборудования и техники для дальнейших ремонтных работ. Минимальное расстояние между стенкой трубы и ковшом работающего экскаватора должно быть 0,15...0,20 м |
|
7. Разработать приямки с обоих концов узла линейной арматуры на расстоянии примерно 1,0...1,5 м глубиной 0,5...0,6 м ниже нижней образующей трубы. Оставшийся грунт разработать вручную |
|
|
При ручной доработке запрещается применять ломы, кирки и другой ударный инструмент |
|
8. На заменяемом участке приварить патрубок (отвода) с задвижкой и вырезать отверстие с помощью приспособления для холодной врезки |
Приспособление для холодной врезки, патрубок с задвижкой, сварочный агрегат, электроды, электростанция |
Сварщик, линейный трубопроводчик |
Работы разрешается вести при давлении Рраб £ 3 МПа. |
|
9. Провести обвязку отводов, смонтированных на нефтепроводе с насосным агрегатом для откачки нефти из ремонтируемого участка |
Насосный агрегат, комплект оборудования для обвязки |
Разнорабочие |
|
|
10. Остановить перекачку нефти и отключить заменяемый участок ближайшими линейными задвижками |
|
Диспетчер, обходчики |
|
|
11. Откачать нефть из заменяемого участка нефтепровода с подачей воздуха на вантузах |
Наносный агрегат, дрель ручная, электростанция |
Машинист насосного агрегата, помощник машиниста, линейный трубопроводчик, разнорабочий, машинист электростанции |
Для контроля за уровнем нефти на заменяемом участке нефтепровода просверлить отверстие диаметром 6...8 мм рядом с патрубком для откачивания нефти |
|
12. Подготовить заранее спрессованную задвижку |
|
Мастер |
Результаты испытаний линейной арматуры должны быть оформлены актом приемки |
|
13. Провести подготовку и приварку двух катушек из труб с промежуточной толщиной стенки к новой задвижке |
Сварочный агрегат, электроды, шаблон сварщика |
Мастер, сварщик, разнорабочий |
Длина катушки должна быть не менее 250 мм. Соединение узла линейной арматуры с нефтепроводом может проводиться также с помощью переходников заводского изготовления |
|
14. Очистить трубу от изоляции и ржавчины в местах вырезки дефектного узла, приварить перемычку между концами разрезаемого нефтепровода или заземлить |
Шлифмашинка, скребок, металлические щетки, сварочный агрегат, электроды, электростанция |
Сварщик, машинист электростанции, разнорабочий |
Очистку проводить на ширину: 100...150 мм - для установки удлиненных кумулятивных зарядов; 500 мм - для установки машинки для резки труб |
|
15. Вырезать узел линейной арматуры нефтепровода (с применением энергии взрыва или машинкой для резки труб). Отрезанный дефектный узел линейной арматуры удалить на бровку траншеи |
Удлиненные кумулятивные заряды, машинка для резки труб МРТ, «Файн», кран-трубоукладчик, электростанция |
Машинист трубоукладчика, взрывники, разнорабочие, мастер, бригада ABC, машинист электростанции |
|
|
16. Провести герметизацию открытых концов ремонтируемого трубопровода одним из существующих способов (глиняными тампонами, резиновыми шарами, резинокордными оболочками и др.) |
Глина, трамбовки, резиновые шары, резинокордные оболочки |
Разнорабочий, мастер |
|
|
17. Просверлить контрольные отверстия диаметром 6...8 мм на верхней образующей трубопровода на расстоянии не менее 30 м от места вырезки для стравливания избыточного давления газов из трубы и контроля за уровнем нефти |
Ручная дрель |
Разнорабочий, мастер |
|
|
18. Очистить дно ремонтного котлована от пропитанного нефтью грунта и провести анализ воздуха в ремонтном котловане |
Экскаватор, газоанализатор, лопаты |
Машинист экскаватора, лаборант, разнорабочие, помощник машиниста экскаватора, мастер |
Допуск к сварочным работам возможен, если содержание вредных и горючих паров и газов не выше: а) ПДК углеводородов С1 ...С10 - 300 мг/м3, сероводорода в смеси с углеводородом С1…С5 - 3 мг/м3; б) ПДВК - 5 % величины нижнего предела воспламенения данного пара или газа в воздухе; для нефти - 2,1 мг/л |
|
19. Подготовить концы нефтепровода под монтаж и сварку с применением специальных приспособлений |
Оборудование для газовой резки, приспособление для резки труб |
Газорезчик, разнорабочий |
|
|
20. Провести монтаж узла линейной арматуры. Для этого трубоукладчиком установить новый узел линейной арматуры на фундаментную плиту и пристыковать ее к нефтепроводу. Собрать стыки с применением наружных центраторов и выполнить прихватку и сварку |
Кран-трубоукладчик, наружные центраторы, сварочный агрегат, электроды |
Машинисты трубоукладчиков, сварщик, линейные трубопроводчики |
|
|
21. Тщательно зачистить прихватки от шлака и провести сварку шва |
Сварочный агрегат, шлифовальная машина, электроды, электростанция |
Сварщик, разнорабочий, машинист электростанции |
|
|
22. Провести контроль сварных швов трубопровода визуально и физическими методами |
Дефектоскоп |
Дефектоскопист, мастер, представитель технадзора |
|
|
23. Заглушить технологические отверстия металлическими пробками и обварить |
Металлические пробки, сварочный агрегат |
Сварщик, разнорабочий |
|
|
24. Провести обратную закачку нефти из резинотканевых резервуаров или земляного амбара и демонтировать обвязку трубопровода с насосным агрегатом |
Насосный агрегат, электростанция |
Машинист насосного агрегата, разнорабочий, машинист электростанции |
|
|
25. Получить разрешение диспетчера РУМН и открыть линейные задвижки |
|
Мастер, обходчики |
|
|
26. Возобновить перекачку нефти по отремонтированному нефтепроводу, поднять давление до рабочего |
|
Диспетчер |
|
|
27. Провести осмотр мест подключения, герметичность сварных швов и узла линейной арматуры |
|
Мастер, представитель технадзора |
|
|
28. Провести работы по заземлению и подключению задвижки |
|
Мастер, разнорабочие, слесари КИП и А |
|
|
29. Очистить вручную зоны сварных швов и поверхности катушек, прилегающих к задвижке |
Шлифмашинка, металлические щетки, электростанция |
Разнорабочий, машинист электростанции |
|
|
30. Нанести новое изоляционное покрытие на очищенную поверхность вручную и проверить качество нанесения изоляции |
Изоляционные материалы, кисть, валик, лейка, дефектоскоп |
Изолировщик, дефектоскопист, мастер, представитель технадзора |
|
|
31. Подсыпать размельченный или мягкий грунт под нефтепровод |
Бульдозер |
Машинист бульдозера |
Грунт не должен содержать камней, крупных включений |
|
32. Засыпать ремонтный котлован минеральным грунтом |
Бульдозер |
Машинист бульдозера |
|
|
33. После закачки нефти из земляного амбара в нефтепровод остатки нефти собрать с помощью сорбента. Пропитанный нефтью сорбент собрать и вывезти на утилизацию |
Экскаватор, сорбент, лопаты |
Машинист экскаватора, разнорабочие |
В качестве сорбента применяют торф, солому и т д. Сорбент наносят из расчета 0,5 м3 на 10 м2 нефтяного пятна |
|
34. Провести рекультивацию плодородного слоя почвы. При обратном движении провести планировку ремонтной полосы опущенным отвалом бульдозера |
Бульдозер |
Машинист бульдозера |
|
ТИПОВАЯ ТЕХНОЛОГИЧЕСКАЯ КАРТА № 13
РЕМОНТ УЧАСТКОВ НЕФТЕПРОВОДА В МЕСТАХ ПЕРЕСЕЧЕНИЙ С ПОДЗЕМНЫМИ КОММУНИКАЦИЯМИ
|
Выполняемые работы |
Оборудование, приспособления, материалы |
Состав бригады |
Примечания |
|
1 |
2 |
3 |
4 |
|
1. Определить положение нефтепровода и установить вешки в начале и в конце вскрываемого участка, а также в месте пересечения с подземной коммуникацией. Сдача трассы заказчиком подрядчику |
Трассоискатель, вешки, автомобиль грузопассажирский |
Линейные трубопроводчики, водитель автомобиля, представители службы ЭХЗ, геодезических служб, заказчика, подрядчика и других заинтересованных организаций |
Сдача трассы проводится по акту |
|
2. Снять плодородный слой почвы над местом пересечения экскаватором перекидкой почвы и последующим перемещением ее во временный отвал бульдозером: толщина плодородного слоя - м; ширина полосы, с которой снимается плодородный слой почвы - м; расположение отвала от оси трубопровода - ; дальность перемещения во временный отвал - м |
Бульдозер, экскаватор |
Машинист бульдозера, машинист экскаватора, помощник машиниста экскаватора |
Производитель работ (прораб, мастер) обязан ознакомить машинистов с особенностями участка под роспись |
|
3. Сообщить диспетчеру РУМН о начале ремонтных работ на нефтепроводе |
|
Мастер |
Все работы проводить по письменному разрешению диспетчера РУМН |
|
4. Провести разработку ремонтного котлована вручную с целью высвобождения места пересечения от грунта, а также разработку грунта под ремонтируемым нефтепроводом на глубину 0,2...0,3 м ниже нижней образующей трубы |
Лопаты |
Разнорабочие |
Запрещается использование ломов, кирок и других ударных инструментов |
|
5. Очистить наружную поверхность ремонтируемого нефтепровода вручную |
Шлифмашинка, металлические щетки, скребки, электростанция |
Разнорабочие, машинист электростанции |
|
|
6. Провести осмотр поверхности ремонтируемого нефтепровода и коммуникации, пересекающей сверху и измерить расстояние между нефтепроводом и пересекающей коммуникацией |
|
Мастер, представители заинтересованных организаций |
Расстояние в свету между пересекающимися коммуникациями должно быть не менее 350 мм согласно СНиП 2.05.06-85* |
|
7. Провести работы по восстановлению несущей способности стенки трубы |
|
|
Работы вести по специально разработанным технологическим картам и в соответствии с техническими условиями, выданными организацией-владельцем пересекающей коммуникации |
|
8. Нанести грунтовку и новое изоляционное покрытие на очищенную поверхность трубы |
Изоляционные материалы, кисть, валик, лейка |
Изолировщик |
|
|
9. Проверить качество нанесения изоляционного покрытия |
Дефектоскоп |
Дефектоскопист, мастер, представитель технадзора |
Сплошность изоляционного покрытия определяется из расчета не менее 5 кВ на 1 мм толщины покрытия |
|
10. Присыпать ремонтный котлован размельченным минеральным грунтом и подбить грунт вручную под отремонтированный участок нефтепровода |
Бульдозер, трамбовки |
Машинист бульдозера, разнорабочие |
Грунт присыпки не должен содержать крупных включений, камней |
|
11. Засыпать отремонтированный нефтепровод и осуществить подбивку грунта под коммуникацию, пересекающую нефтепровод сверху |
Бульдозер, трамбовки |
Машинист бульдозера, разнорабочие |
Допускается устанавливать опоры, поддерживающие коммуникацию |
|
12. Провести окончательную засыпку траншеи и рекультивацию плодородного слоя почвы |
Бульдозер |
Машинист бульдозера |
|
|
13. Осуществить контроль качества изоляционных работ искателем повреждений, при необходимости провести ремонт дефектов |
Искатель повреждений |
Дефектоскопист, разнорабочий, представители заказчика, подрядчика, технадзора |
Контроль сплошности провести не ранее, чем через две недели после засыпки трубопровода |