МИНИСТЕРСТВО РОССИЙСКОЙ ФЕДЕРАЦИИ
ПО СВЯЗИ И ИНФОРМАТИЗАЦИИ
РУКОВОДЯЩИЙ ДОКУМЕНТ ОТРАСЛИ
ОБОРУДОВАНИЕ
СИСТЕМ АБОНЕНТСКОГО
РАДИОДОСТУПА ДИАПАЗОНА 800 МГЦ С КОДОВЫМ
РАЗДЕЛЕНИЕМ КАНАЛОВ (CDMA)
ПРОТОКОЛА
IS-95
Общие технические требования
РД 45.177-2001
ЦНТИ «ИНФОРМСВЯЗЬ»
Москва - 2000
Предисловие
1. РАЗРАБОТАН Государственным научно-исследовательским институтом Радио (НИИР)
ВНЕСЕН Департаментом электросвязи Министерства Российской Федерации по связи и информатизации
2. ПРИНЯТ Министерством Российской Федерации по связи и информатизации
3. ВВЕДЕН В ДЕЙСТВИЕ информационным письмом от 23.05.2001 № 3723
4. ВВЕДЕН ВЗАМЕН «Общих технических требований к оборудованию систем радиотелефонной связи с кодовым разделением каналов (CDMA)», утвержденных 30.12.1996 г.
СОДЕРЖАНИЕ
Еb - средняя энергия информационного бита в Канале, приведённая к антенному входу станции.
Eb/Nt - отношение энергии принимаемого бита к эффективной спектральной плотности шума в Канале, приведённое к антенному входу абонентской станции.
Ес - средняя энергия чипа ПСП в Пилот Канале, Канале синхронизации, Пейджинговом Канале, Прямом Канале Трафика, подканале Управления мощностью или на выходе Иммитатора Шума Ортогональных Каналов (ИШОК).
Ес/Ior - отношение средней излучаемой энергии чипа ПСП в Пилот Канале, Канале Синхронизации, Пейджинговом Канале, Прямом Канале Трафика, подканале Управления Мощностью, или выходе ИШОК к общей излучаемой спектральной плотности мощности.
Io - полная принимаемая спектральная плотность мощности, включая сигнал и помехи, приведённая к антенному входу абонентской станции.
Ioc - спектральная плотность мощности ограниченного по полосе белого шума (имитирующего помехи от соседних ячеек), приведённая к антенному входу абонентской станции.
Ior - полная излучаемая спектральная плотность мощности Прямого Канала CDMA на антенном разъёме базовой станции.
Ior - принимаемая спектральная плотность мощности Прямого Канала CDMA, приведённая к антенному входу абонентской станции.
Ni - эффективная спектральная плотность шума, приведённая к антенному входу абонентской станции.
Пейджинг Ес - средняя энергия чипа ПСП в Пейджинговом канале.
Пейджинг Ес/Ior - отношение средней передаваемой энергии чипа ПСП в Пейджинговом канале к полной передаваемой спектральной плотности мощности.
Пилот Ес - средняя энергия чипа ПСП в Пилот Канале.
Пилот Ес/Iо - отношение энергии чипа ПСП Пилот Канала к полной принимаемой спектральной плотности мощности, приведённое к антенному входу станции.
Пилот Ес/Ior - отношение средней передаваемой энергии чипа ПСП в Пилот Канале к полной передаваемой спектральной плотности мощности.
Синхр. Ес - средняя энергия чипа ПСП в Канале Синхронизации.
Синхр. Ес/Ior - отношение средней передаваемой энергии чипа ПСП в Канале Синхронизации к полной передаваемой спектральной плотности мощности.
Трафик Eс - средняя энергия чипа ПСП в Прямом Канале Трафика, равная [11/(11 + V)]х (полная энергия чипа ПСП в Прямом Канале Трафика).
Полный Прямой Канал Трафика включает в себя информационный трафик и подканал управления мощностью. При скорости передачи информации в трафиковом канале:
9600 бит/с, V = 1
4800 бит/с, V = 2
2400 бит/с, V = 4
1200 бит/с, V = 8.
В подканале управления мощностью используется тот же уровень мощности, что и для передачи информации со скоростью 9600 бит/с.
Трафик Ес/Ior - отношение средней передаваемой энергии чипа ПСП в Прямом Канале Трафика к полной передаваемой спектральной плотности мощности.
AMPS (Advanced Mobile Phone System) - система подвижной улучшенной телефонной связи
BER (BIT ERROR RATE) - коэффициент искаженных бит
![]()
CDMA (Code Division Multiple Access) - многостанционный доступ с кодовым разделением (МДКР)
CELP (Code Excited Linear Prediction) - линейное предсказание с кодовым возбуждением
EVRC (Enhanced Variable Rate Coder) - улучшенный вокодер с переменной скоростью
ERP (EFFECTIVE RADIATED POWER) - эффективная излучаемая мощность по отношению к эталонному излучателю типа полуволнового диполя.
FER (FRAME ERROR RATE) - коэффициент искаженных кадров
![]()
МER (MESSAGE ERROR RATE) - коэффициент искаженных сообщений
![]()
PN (Pseudo Noise) - псевдошумовой
PSMM (PILOT STRENGTH MEASUREMENT MESSAGE) - сообщение об измерении уровня принимаемого сигнала, посылаемое абонентской станцией
RSSI (RECEIVED SIGNAL STRENGTH INDICATOR) - индикатор уровня принимаемого сигнала.
QCELP (QUALCOMM Code Excited Linear Prediction) - линейное предсказание с кодовым возбуждением фирмы QUALCOMM
АБГШ - аддитивный белый гауссовский шум.
ПСП - псевдослучайная последовательность.
Бит - двоичный символ информационной последовательности
Дециматор - устройство для прореживания цифровых последовательностей
Искажённый кадр - кадр, в котором обнаружены неисправимые ошибки
ИШОК - имитатор шума ортогональных каналов (имитатор структурной помехи)
Кадр (слот, фрейм) - временной интервал в системах с временным уплотнением или цифровая последовательность, передаваемая в этом интервале
Канал доступа - канал, используемый абонентской станцией для связи с базовой станцией. Канал доступа используется для обмена короткими сообщениями, такими как регистрация, отклик на поиск, идентификация.
Пейджинговый канал - канал, используемый для передачи управляющей и поисковой информации от базовой станции к абонентской станции.
Пилотный канал - неинформационный шумоподобный сигнал, передаваемый непрерывно каждой базовой станцией. Пилотный канал используется абонентской станцией для синхронизации, обеспечивает выделение опорного сигнала для асинхронного демодулятора и позволяет осуществлять сравнение сигналов от различных базовых станций для процедуры хэндовера.
Правильное сообщение - сообщение, в котором не обнаружено ошибок
Режим без выделенного слота - режим, при котором абонентская станция при вхождении в связь анализирует все слоты Пейджингового канала
Pежим с выделенным слотом - режим, при котором абонентская станция при вхождении в связь анализирует только выделенные слоты Пейджингового канала
Сектор - часть ячейки, обслуживаемая направленной антенной
Скремблирование - см. стр. 19
Сообщение - структурированная порция цифровых данных, содержащих управляющую или иную информацию пользователя
Функции УОЛША - определённый набор двоичных последовательностей одинаковой длительности, обладающий свойством ортогональности, которое обеспечивает разделимость сформированных на основе этих последовательностей сигналов без взаимных помех.
Чип - двоичный символ расширяющей ПСП.
Ячейка - территория, обслуживаемая базовой станцией.
Хэндовер - см. стр. 19.
Настоящие «Общие технические требования» распространяются на оборудование систем абонентского радиодоступа с кодовым разделением каналов (систем с CDMA) протокола IS-95A (далее по тексту - IS-95), работающего в диапазоне частот 800 МГц и обеспечивающего передачу данных со скоростью не более 14,4 кбит/сек.
В России оборудование предназначено для построения фиксированных сетей абонентского радиодоступа к местным телефонным сетям.
В разделе 2 приведена краткая характеристика системы CDMA, в разделе 3 рассмотрена схема организации связи, а в разделах 4 и 5 приведены технические требования к абонентской и базовой станциям с указанием методики измерений. В разделе 6 приведены технические требования к коммутационному оборудованию.
В Приложении 1 приведены схемы измерений и требования к параметрам используемых измерительных приборов.
В Приложении 2 поясняется метод достижения заданной доверительной вероятности для случаев, когда значение доверительной вероятности оговаривается в технических требованиях.
Система абонентского радиодоступа с CDMA представляет собой комплекс оборудования, в котором в радиоканалах используется принцип частотно-кодового разделения сигналов. Диапазон рабочих частот в направлении от абонентской станции к базовой (линия «вверх») находится в пределах 824 - 849 МГц, а в обратном направлении (линия «вниз») - в пределах 869 - 894 МГц. Дуплексный разнос равен 45 МГц. Несущие частоты передатчиков и приёмников устанавливаются в пределах указанных диапазонов частот с шагом 30 кГц.
Система абонентского радиодоступа подключается к местной телефонной сети через сетевой интерфейс. Сетевой интерфейс является принадлежностью системы абонентского радиодоступа и определяется производителем оборудования. В случае реализации сетевого интерфейса на базе коммутационной системы, обеспечивающей связь «радиоабонент - радиоабонент» без выхода на ТФОП, система абонентского радиодоступа должна обеспечивать требования СОРМ.
Система абонентского радиодоступа должна обеспечивать возможность ограничения допустимой области перемещения абонентов пределами зоны обслуживания (сектора) одной базовой станции, без передачи обслуживания другой базовой станции (сектору базовой станции).
Выход абонентской станции из установленной ей зоны обслуживания или попытка установить соединение вне зоны должны приводить к отказу в обслуживании данной абонентской станции системой абонентского радиодоступа.
Система с CDMA является широкополосной системой. Один её частотный канал занимает полосу шириной 1,23 МГц, в которой может разместиться 41 узкополосный канал.
В пределах одного частотного канала организованы 64 кодовых канала. На линии «вниз» адресным признаком кодового канала служит одна из 64 взаимно ортогональных функций Уолша, а на линии «вверх» - квазиортогональные длинные псевдослучайные последовательности.
В системе с CDMA кластер (группа ячеек с различными несущими частотами) имеет размерность единицы. Это означает, что соседние ячейки используют одни и те же несущие частоты. Если в ячейке используется несколько несущих частот, они размещаются с шагом 1,23 МГц (т.е. через 41 узкополосный канал AMPS). По краям рабочего диапазона частот, выделенного оператору сети с CDMA, следует предусмотреть наличие защитных полос, как это проиллюстрировано на рис. 2.1 и 2.2 для случаев использования одной и двух несущих частот соответственно. Если система с CDMA работает по соседству с системой АМРS, ширина защитной полосы должна составлять 270 кГц (т.е. 9 узкополосных каналов); в случае её размещения по соседству с какой-либо другой системой, защитную полосу следует увеличить до половины основной полосы, т.е. до 615 кГц.
Рис. 2.2. Полоса частот, занимаемая системой CDMA, для случая двух несущих.
Для того, чтобы абонентская станция могла войти в контакт с системой, она должна обмениваться сигналами управления с базовой станцией на заранее определённой дуплексной паре несущих частот. В Российской Федерации Приказом Министра связи от 24.02.96 г. за № 18 работа систем с CDMA допускается в полосе частот шириной в 10 МГц (824 - 834 МГц и 869 - 879 МГц), причём на конкретной территории может быть развёрнута только одна сеть с CDMA.
Решением ГКРЧ от 24.04.2000 (протокол № 22/3) признано нецелесообразным дальнейшее выделение полос радиочастот для развертывания новых или развития существующих сетей беспроводного доступа с кодовым разделением каналов протокола IS-95 и внесено изменение в действующую «Таблицу распределения полос частот между радиослужбами Российской Федерации в диапазоне частот от 3 кГц до 400 ГГц» в части, касающейся ограничения срока эксплуатации данных сетей. Эти сети могут работать до конца амортизационного срока оборудования, но не позднее 2010 года.
В системе с CDMA различают физические каналы и логические каналы.
Физические каналы определяются совокупностью несущей частоты и кодовой последовательности.
Логические каналы определяются своим назначением и подразделяются на каналы управления и каналы трафика. К каналам управления относятся:
- пилотный канал
- пейджинговый канал
- канал синхронизации
- канал доступа.
Каналы трафика используются для передачи информации между базовой и абонентской станциями (речь, данные) и для передачи попутной сигнализации. В системе предусмотрено четыре категории скоростей передачи информации (режим работы с переменой скоростью не является обязательным):
- скорость 1
- скорость 1/2
- скорость 1/4
- скорость 1/8.
и два вида попутной сигнализации:
- с замещением всего пакета речи (данных) при передаче в режиме «скорость 1»;
- с замещением части пакета речи (данных) при передаче в режиме «скорость < 1».
К попутной сигнализации относится также и канал управления мощностью абонентской станции.
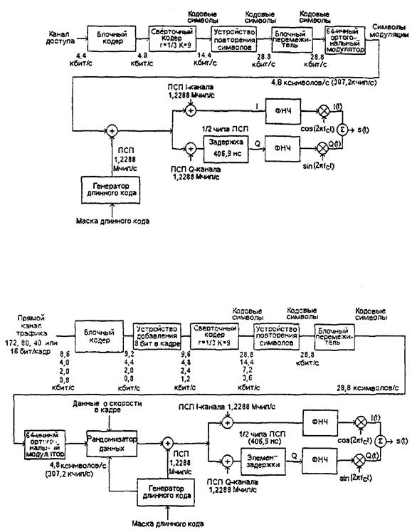
Структура дуплексного радиоканала для обоих направлений связи показана на рис. 2.3. Блок-схема формирования сигналов CDMA в базовой и абонентской станциях приведены на рис. 2.4 и 2.5 соответственно. В направлении «вниз» канал системы с CDMA называется прямым каналом. Прямой канал включает в себя пилотный канал, до одного канала синхронизации, до 7 пейджинговых каналов и каналы трафика; все эти каналы, общая численность которых составляет 64, размещаются на одной и той же несущей частоте. В качестве примера на рис. 2.3 показан пилотный канал (он присутствует всегда), один канал синхронизации, семь пейджинговых каналов (максимально допустимое число) и 55 каналов трафика. При использовании в ячейке более одной несущей частоты возможна другая конфигурация, где все пейджинговые каналы и канал синхронизации заменяются на каналы трафика, так что на других несущих прямой канал будет включать в себя один пилотный канал и 63 канала трафика.
При вхождении в связь абонентская станция сначала будет искать первичный пейджинговый канал 1-W1. Обнаружив его, она проанализирует в блоке сообщения о параметрах системы номер этого пейджингового канала. Если этот номер не равен «1», абонентская станция задействует специальный алгоритм для вычисления другого не занятого в данный момент пейджингового канала.
В прямом канале организован также непрерывный субканал управления мощностью путём замещения нескольких бит речевых данных со скоростью 800 бит/с (1 бит каждые 1,25 мс). Передача «0» означает, что абонентская станция должна увеличить уровень своей средней выходной мощности на 1 дБ, а передача «1» - уменьшить на 1 дБ. Максимально возможная скорость изменения мощности составляет ±16 дБ на интервале одного кадра длительностью 20 мс.
В направлении «вверх» канал системы с CDMA называется обратным каналом. Обратный канал включает в себя n каналов доступа и (64 - n) обратных каналов трафика: все эти каналы, общей численностью 64, размещаются на одной и той же несущей частоте. В качестве примера на рис. 2.3 число n выбрано равным 9.
Рис. 2.3. Дуплексный радиоканал системы с CDMA (с 55-ю каналами трафика)
Рис. 2.4. Схема формирования сигнала с CDMA на базовой станции
Рис. 2.5. Схема формирования сигнала с CDMA на абонентской станции
Различают четыре состояния абонентской станции:
- состояние инициализации
- дежурное состояние
- состояние доступа
- активное состояние.
В состоянии инициализации абонентская станция ведёт поиск пилотного канала. Обнаружив его, на 32-й функции Уолша (см. рис. 2.3) она обнаруживает канал синхронизации. Из сообщения, передаваемого по каналу синхронизации, абонентская станция получает данные о конфигурации системы и о её временной структуре.
На следующем этапе абонентская станция входит в режим дежурного состояния, обнаруживает пейджинговый канал и ведёт непрерывный контроль за поступающими сообщениями. Эти сообщения от базовой станции могут содержать все необходимые данные, чтобы инициировать вызов либо принять его от другого абонента.
Если состоялся исходящий или входящий вызов, абонентская станция переходит в состояние доступа. При этом обмен необходимыми параметрами с базовой станцией производится по каналу доступа и пейджинговому каналу.
При успешной попытке доступа абонентская станция входит в активное состояние. В этом состоянии она поддерживает речевую связь с базовой станцией по каналу трафика и по этому же каналу трафика обменивается попутной сигнализацией.
В системе с CDMA предусмотрено несколько типов хэндовера - автоматического переключения вызова на другой канал.
В системах абонентского радиодоступа процедуры хэндовера применяются для повышения качества обслуживания стационарных абонентов.
Мягкий хэндовер - это хэндовер между различными ячейками либо различными секторами одной ячейки в пределах одной и той же несущей частоты, при котором абонентская станция поддерживает связь одновременно с двумя либо тремя базовыми станциями. Абонентская станция ведёт непрерывный поиск всех пилот-сигналов на рабочей несущей частоте с фиксацией их уровней. При обнаружении достаточно сильного пилот-сигнала, не принадлежащего к обслуживающей её ячейке/секторе, она посылает сообщение своей базовой станции. На основе сообщений, поступающих от различных базовых станций, сетевой контроллер принимает решение о том, какая базовая станция будет вовлечена в процедуру хэндовера, назначает этой базовой станции свободную функцию Уолша из принадлежащего ей набора и сообщает ей длинный код абонентской станции. Обслуживающей базовой станции поступает команда направить абонентской станции сообщение начать процедуру мягкого хэндовера. Абонентская станция, принимая информацию одновременно от двух базовых станций, производит выбор лучшего речевого кадра из двух. Аналогичным образом, сетевой интерфейс, принимая одну и ту же информацию от двух базовых станций, выбирает лучшую на основе покадрового сравнения.
Жёсткий хэндовер - это хэндовер между различными ячейками с различными несущими частотами. Жёсткий хэндовер реализуется по обычному алгоритму, используемому в других сотовых системах, после того, как абонентская станция не сможет осуществить мягкий хэндовер.
Процесс формирования цифрового сигнала для его передачи по радиолинии происходит следующим образом. На линии «вниз» (Рис. 2.4) речевой сигнал подвергается преобразованию в низкоскоростном речевом кодеке. Допускается использование трёх типов вокодеров: 8 кбит/с (QCELP) и 13,25 кбит/с (CELP) с постоянной скоростью и 8 кбит/с (EVRC) с переменной скоростью. Применение вокодеров типа EVRC позволяет существенно увеличить ёмкость системы. Речевой кодек работает по алгоритму линейного предсказания с кодовым возбуждением, анализируя по 160 отсчётов дискретизированной речи на интервале длительностью 20 мс. В зависимости от активности речи (т.е. энергии сигнала на анализируемом интервале) кодек вырабатывает различные количества бит (172, 80, 40 или 16) на интервале 20 мс, формируя таким образом цифровой поток с переменной скоростью, причем наинизшая из четырёх возможных скоростей используется, как правило, в паузах речи. Далее к этим битам добавляются служебные биты и цифровая последовательность с переменной скоростью поступает на устройство блочного помехоустойчивого кодирования. После блочного кодирования на каждом интервале в 20 мс дополнительно вставляются по 8 «хвостовых» бит, в результате чего цифровая последовательность приобретает структуру с переменной скоростью, кратной 1,2 кбит/с:
- скорость 1: 9,6 кбит/с
- скорость 1/2: 4,8 кбит/с
- скорость 1/4: 2,4 кбит/с
- скорость 1/8: 1,2 кбит/с
Эта кратно изменяемая последовательность подводится далее к свёрточному помехоустойчивому кодеру с кодовой скоростью 1/2. При максимальной входной скорости 96 кбит/с выходная скорость равна 19,2 кбит/с. При входных скоростях, меньших максимальной, выходные биты повторяются таким образом, чтобы на интервале 20 мс всегда было 384 бита, формирующих равномерный поток со скоростью 19,2 кбит/с независимо от скорости входного потока. Таким образом, из каждого входного бита свёрточный кодек формирует следующие количества выходных бит:
- скорость 1: 1 вх. бит → 2 вых. бита
- скорость 1/2: 1 вх. бит → 2 вых. бита → 2 ´ 2 = 4 вых. бита
- скорость 1/4: 1 вх. бит → 2 вых. бита → 4 ´ 2 = 8 вых. бит
- скорость 1/8: 1 вх. бит → 2 вых. бита → 8 ´ 2 = 16 вых. бит.
Для того, чтобы канальный помехоустойчивый декодер мог работать при наличии фединга, т.е. исправно функционировать в условиях пакетирования ошибок, цифровой поток с выхода свёрточного кодера подаётся на блочный перемежитель бит (интерливер). Перемежение бит осуществляется в пределах каждого блока длительностью 20 мс, содержащего при скорости 19,2 кбит/с 384 бита. Эти биты записываются в матрицу размером 24 строки ´ 16 столбцов в соответствии с расстановкой бит, определяемой записанной в памяти таблицей, а затем считываются столбец за столбцом со скоростью записи. Последовательность бит с перемежением подводится к устройству шифрования.
Шифрование информации в протоколе IS-95 обеспечивается процедурой скремблирования. В том случае, если абонентская станция системы CDMA была подвергнута процедуре аутентификации, на обоих концах радиолинии связи генерируется так называемая частная маска длинного кода. Если аутентификация не используется, генерируется маска длинного кода общего пользования, параметры которой задаются электронным серийным номером (ESN) абонентской станции: эта маска тоже позволяет вести закрытые переговоры, однако без гарантированного засекречивания.
Скремблирование информационной цифровой последовательности производится путём её побитного суммирования по модулю 2 с другой цифровой последовательностью, формируемой с использованием кодовой маски из длинного кода. Для получения длинного кода с периодом 242 - 1 чипов на скорости 1,2288 Мчип/с (длительность чипа = 813,8 нс) используется кодовая маска длиной в 42 бита в сочетании с каждым состоянием 42-битного вектора генератора псевдослучайной последовательности. Генерирование каждого чипа длинного кода происходит следующим образом:
42-битный сдвиговый регистр включён как генератор последовательности, имеющий 242 - 1 состояний. Для каждого состояния выход каждого из 42-х каскадов регистра логически объединяется по схеме «И» с одним из 42-х битов маски. Все 42 выхода схем «И» суммируются по модулю 2, формируя таким образом один чип длинного кода: чётное количество «1» даёт «0», а нечётное - «1».
Длинный код, генерируемый с тактовой частотой 1,2288 Мчип/с, преобразуется в последовательность с тактовой частотой 19,2 кбит/с путём удерживания первого чипа каждого сегмента, состоящего из 64 чипов длинного кода. Таким образом в устройстве, называемом дециматором, формируется цифровая последовательность, используемая для скремблирования информационной цифровой последовательности.
Каждый кодовый канал, формируемый на линии «вниз», модулируется одной из 64-х ортогональных функций Уолша, генерируемых с фиксированной скоростью 1,2288 Мчип/с. Модулирующая Функция Уолша Wi придаёт кодовому каналу адресный признак, поэтому кодовые каналы нумеруются в соответствии с номером модулирующей функции от i = 0 до i = 63.
Использование речевого кодека с переменным набором скоростей позволяет существенно снизить структурную помеху, создаваемую абонентам соседних базовых станций за счёт снижения средней мощности передаваемых сигналов: когда излучается сигнал, соответствующий пониженным скоростям работы речевого кодека, его мощность может быть снижена прямо пропорционально величине снижения скорости. В этом случае будет поддерживаться одинаковая величина энергии, приходящейся на каждый бит передаваемой информации (энергия бита равна передаваемой мощности, умноженной на длительность бита) и, как следствие, одинаковая вероятность неискажённого приёма этой информации. Такой алгоритм работы реализован путём включения на выходе модулятора Уолша аттенюатора с изменяемой величиной затухания, позволяющего регулировать мощность в каналах, излучаемых базовой станцией. Величина затухания вносится согласно приведённой ниже табл. 2.1.
|
Величина затухания |
|
|
1 |
0 дБ |
|
1/2 |
3 дБ |
|
1/4 |
6 дБ |
|
1/8 |
9 дБ |
Цифровая последовательность, модулированная функцией Уолша, поступает далее на квадратурный модулятор, где она «размазывается» по спектру парой псевдослучайных последовательностей - синфазной ПСП-I-i(t) и квадратурной ПСП-Q-i(t) длиной 215 = 32768 чипов. Скорость следования чипов составляет 1,2288 Мчип/с, а период этой последовательности равен 26,66 мс. Все абоненты одной ячейки (или сектора) используют одну и ту же пару ПСП кодов. Коды ПСП-I-i(t) и ПСП-Q-i(t) для различных ячеек и секторов различаются индексом временного сдвига от базовой последовательности с нулевым сдвигом: ПСП-I-0(t) и ПСП-Q-0(t). Всего имеется 512 временных сдвигов на длине 32768 чипов, взятых через 64 чипа. Одна пара последовательностей с i-м сдвигом служит для идентификации ячейки в системе, что позволяет идентифицировать 512 ячеек/секторов.
Синфазный и квадратурный сигналы с выходов квадратурного модулятора ограничиваются по спектру фильтрами нижних частот со специальной формой импульсной реакции, минимизирующей межсимвольные помехи. Далее все синфазные сигналы всех кодовых каналов объединяются вместе и подаются на одно из плеч модулятора несущей частоты cos 2πfct: все квадратурные сигналы также объединяются вместе и подаются на второе плечо модулятора несущей частоты sin 2πfct. Косинусная и синусная составляющие модулированной несущей объединяются вместе и излучаются в эфир.
Помимо каналов трафика для передачи по линии «вниз» формируются четыре типа каналов управления. Сигнал пилотного канала W0 поступает на модулятор Уолша со скоростью 0 кбит/с; сигнал канала синхронизации W32 - со скоростью 4,8 кбит/с (с перемежением бит, но без скремблирования); сигналы пейджинговых каналов W1 - W7 - со скоростью 19,2 кбит/с.
На линии «вверх» процесс формирования сигналов на некоторых этапах существенно отличается от описанного выше на линии «вниз» (Рис. 2.5).
Речевой сигнал преобразуется в цифровую форму с использованием того же речевого низкоскоростного кодека и блочного кодера, что и на линии «вниз», приобретая структуру цифровой последовательности с переменной скоростью, кратной 1,2 кбит/с.
Свёрточный кодер отличается от кодера на линии «вниз» кодовой скоростью, которая равна 1/3. С учётом описанной выше процедуры повторения бит скорость цифрового потока на выходе свёрточного кодера равна 28,8 кбит/с независимо от скорости входного потока.
Перемежение бит производится на интервале 20 мс, на котором размещается 576 бит. Эти биты столбец за столбцом высотой 32 бита записываются в матрицу 32´18 и затем построчно считываются.
Цифровой поток, поступающий с выхода перемежителя, разбивается на блоки по 6 бит и каждый такой блок замещается одной из 64 функций Уолша, порядковый номер которой соответствует двоичному числу, выражаемому шестью битами кодируемого блока. При этом следует иметь ввиду, что число различных блоков составляет величину 26 = 64, равную количеству функций Уолша.
После 64-ичной модуляции обратный канал трафика имеет скорость 307,2 кбит/с, образованную последовательностью символов в виде функций Уолша, передаваемые со скоростью (28,8 : 6) = 4,8 килосимволов в секунду. На этом этапе группы битов, которые появились на выходе сверточного кодера в результате повторения предыдущих (что происходило при скоростях передачи речи, меньших «скорости 1»), удаляются из потока в блоке рандомизатора данных. Такое удаление повторенных бит снижает уровень взаимных помех всем каналам, организованным в одной и той же полосе частот.
Прореженный поток попрежнему имеет скорость 307,2 кбит/с. Этот поток поступает далее на сумматор по модулю 2, где он «перемалывается» длинным кодом со скоростью 1,2288 Мбит/с (на один бит функции Уолша в прореженном потоке приходится четыре от псевдослучайной последовательности длинного кода). Характеристический полином, используемый для формирования длинного кода (242 - 1) имеет вид:
Р(х) = х42 + х35 + х33 + х31 + х27 + х26 + х25 + х22 + х21 + х19 + х18 + х17 + х16 + ... + х7 + х6 + х5 + х3 + х2 + х1 + 1
Если длинный код формировался с использованием частной маски, то описанная процедура «перемалывания» выполняет роль шифрователя информации. В отличие от линии «вниз», где роль идентификаторов кодовых каналов выполняют функции Уолша, на линии «вверх» каналы идентифицируются длинными кодами.
Процедура квадратурной обработки сигнала в каждом канале на линии «вверх» совпадает с таковой на линии «вниз» за исключением того, что для всех 64 каналов используется одна и та же пара квадратурных последовательностей ПСП-I-i(t) и ПСП-Q-i(t) с нулевым сдвигом, т.е. пара последовательностей ПСП-I-0(t) и ПСП-Q-0(t), где ПСП-Q-0(t) задержана на половину длительности одного чипа. Характеристические полиномы, используемые для формирования квадратурных ПСП имеют вид:
Р(х)I = х15 + х13 + х9 + х8 + х7 + х5 + 1
Р(х)Q = х15 + х12 +х11 + х10 + х6 + х5 + х4 + х3 + 1
Конфигурация системы абонентского радиодоступа с CDMA приведена на рис. 3. Она включает в себя следующие функциональные элементы:
- абонентские радиостанции;
- систему базовых станций в составе приёмо-передающих базовых станций и контроллера;
- сетевой интерфейс;
- центр технического обслуживания и эксплуатации.
Рис. 3. Конфигурация системы радиодоступа с CDMA
Абонентская радиостанция - это приёмо-передающее оборудование, устанавливаемое у абонента и обеспечивающее доступ к ТФОП по радиоинтерфейсу IS-95 (IS-95 CAI). К абонентской радиостанции могут подключаться стандартные оконечные абонентские установки (телефонный аппарат, факс, модем и т.д.).
Приёмо-передающая базовая станция - это комплекс оборудования, обеспечивающих многостанционный радиодоступ абонентских станций с одной стороны и связь через сетевой интерфейс с ТФОП с другой стороны.
Контроллер базовой станции - это комплекс оборудования, предназначенный для управления системой базовых станций и для взаимного преобразования систем сигнализации ТФОП и радиоинтерфейса.
Сетевой интерфейс является оборудованием стыка системы с CDMA с ТФОП. Сетевой интерфейс может содержать в своём составе коммутационное оборудование, в этом случае в системе должны обеспечиваться требования СОРМ.
Центр технического обслуживания и эксплуатации - это комплекс средств, обеспечивающий надёжное функционирование и восстановление системы в случае возникновения неполадок в её работе.
Приведённая на рис. 3 конфигурация системы абонентского радиодоступа с CDMA является обобщённой. Она может видоизменяться в части объединения различных блоков, либо создания распределённых структур с введением внутрисистемных интерфейсов. Неизменными должны быть радиоинтерфейс и интерфейс с ТФОП.
В настоящих ОТТ изложены требования к этим двум интерфейсам:
- радиоинтерфейсу между абонентской станцией и базовой станцией (базируется на основе протоколов IS-95, IS-95A, IS-97, IS-98);
- интерфейсу между сетевым интерфейсом и коммутируемой телефонной сетью общего пользования (ТФОП) - базируется на основе национальных стандартов.
Интерфейсы между остальными элементами системы в настоящее время не стандартизованы и осуществляются по оригинальным стыкам и протоколам фирм-изготовителей.
В системах абонентского радиодоступа протокола IS-95 должны применяться стационарные абонентские станции, имеющие электропитание от сети переменного тока напряжением 220 В, в соответствии с ГОСТ 5237-83. Абонентская станция должна иметь разъем для подключения внешней антенны.
Абонентской станции в системе абонентского радиодоступа протокола IS-95 назначается установленная зона обслуживания. Выход абонентской станции за пределы этой зоны должен приводить к отказу системы радиодоступа в установлении соединения с данной абонентской станцией.
Эти требования изложены в разделе 2 «Краткая характеристика системы». Они относятся к разряду требований, закладываемых при проектировании системы, которые проверяются косвенным образом в процессе проверки других параметров.
4.1.2.1. Хендовер в дежурном режиме при анализе каждого слота пейджингового канала (режим без выделенного слота) (n. 9.2.2, IS-98).
Испытания, описываемые в данном разделе, имеют отношение ТОЛЬКО к абонентским станциям, работающим в режиме без выделенного слота. Для абонентских станций, работающих в режиме с выделенным слотом, данные испытания проводить НЕ ТРЕБУЕТСЯ.
В РЕЖИМЕ ДЕЖУРНОГО ПРИЕМА абонентская станция НЕПРЕРЫВНО ведёт поиск наиболее сильного сигнала в Пилот-канале на присвоенной частоте диапазона CDMA. Абонентская станция принимает решение о хэндовере тогда, когда обнаруживает пилот-сигнал существенно более сильный, чем находящийся на текущем контроле.
ТЕСТ 1 Посредством контроля количества хэндоверов и коэффициента искаженных сообщений (MER) в Пейджинговом канале проверяется отсутствие хэндоверов между двумя пилот-сигналами настолько частых, что абонентская станция не может принимать пейджинговые сообщения по Прямому каналу CDMA.
ТЕСТ 2 Посредством контроля количества хэндоверов и коэффициента искаженных сообщений (MER) в Пейджинговом канале проверяется, что абонентская станция осуществляет хэндовер при условии превышения уровня пилот-сигнала от соседней ячейки над уровнем пилот-сигнала в активной ячейке на 3 дБ, измеренными на антенном разъёме абонентской станции, в течение времени, большем, чем одна секунда.
Методика измерения:
Методика измерения, базирующаяся на сервисном программном обеспечении базовых и абонентских станций, приведена в п. 9.2.2.2 спецификации IS-98. Параметры тестовых сигналов приведены в Табл. 4.1.2.1.1. Схема измерений приведена на рис. 1.1.3 Приложения 1.
Таблица 4.1.2.1.1
Допустимое значение:
При проведении ТЕСТА 1:
- абонентская станция не должна осуществлять хэндоверы;
- коэффициент искаженных сообщений (MER) не должен превышать 0,1.
При проведении ТЕСТА 2:
- число хэндоверов, осуществлённых абонентской станцией, должно быть равно числу изменений уровня сигнала в пилот-канале 1;
- коэффициент искажённых сообщений (MER) не должен превышать 0,1.
4.1.2.2. Хэндовер в дежурном режиме при анализе только назначенного слота пейджингового канала (режим с выделенным слотом) (n. 9.2.3, IS-98).
Испытания, описываемые в данном разделе, имеют отношение ТОЛЬКО к абонентским станциям, работающим в режиме с выделенным слотом. Для абонентских станций, работающих в режиме без выделенного слота, данные испытания проводить НЕ ТРЕБУЕТСЯ.
В РЕЖИМЕ ДЕЖУРНОГО ПРИЕМА абонентская станция осуществляет поиск наиболее сильного сигнала в Пилот-канале В ТЕЧЕНИЕ ВЫДЕЛЕННЫХ СЛОТОВ на присвоенной частоте диапазона CDMA. Абонентская станция принимает решение о хэндовере тогда, когда обнаруживает пилот-сигнал существенно более сильный, чем находящийся на текущем контроле.
ТЕСТ: Посредством контроля количества хэндоверов за фиксированный период времени проверяется, что абонентская станция осуществляет хэндовер при условии превышения уровня пилот-сигнала от соседней ячейки над уровнем пилот-сигнала в активной ячейке на 3 дБ, измеренными на антенном разъеме абонентской станции.
Методика измерения:
Методика измерения, базирующаяся на сервисном программном обеспечении базовых и абонентских станций, приведена в п. 9.2.3.2 спецификации IS-98. Параметры тестовых сигналов приведены в Табл. 4.1.2.2.1. Схема измерений приведена на рис. 1.1.3 Приложения 1.
|
Ед. измерения |
пилот канал 1 |
пилот канал 2 |
|
|
Ior/Ioc |
дБ |
Мах = 3 Min = -16,7 |
Мах = 0 Min = -4,7 |
|
Пилот Ес/Ior |
дБ |
-7 |
-7 |
|
Пейджинг Ес/Ior |
дБ |
-12 |
-12 |
|
Ioc |
дБм/1,23 МГц |
-75 |
|
|
Пилот Ec/Io |
дБ |
Мах = -10 Min = - 25 |
-13 |
Допустимое значение:
В течение ТЕСТА производится 20 изменений уровня пилот-сигнала активной ячейки, при этом количество хэндоверов должно быть не менее 18.
4.1.2.3. Обнаружение пилот-сигнала в соседней ячейке/секторе и ошибочное обнаружение при мягком хэндовере (п. 9.2.4, IS-98).
Правильное обнаружение определяется как захват пилот-сигнала от соседней ячейки/сектора с энергией выше пороговой. Ошибочное обнаружение определяется как захват пилот-сигнала от соседней ячейки/сектора с энергией ниже пороговой.
ТЕСТ: 1) Проверяется время обнаружения пилот-сигнала от соседней ячейки/сектора при трех значениях энергии пилот-сигнала. [Время обнаружения определяется как время от момента, когда пилот-сигнал возрастает до заданного уровня, до момента посылки абонентской станцией Сообщения об Измерении Уровня Сигнала (PSMM)].
2) Проверяется точность определения задержки ПСП (PN) пилот-сигнала ячейки/сектора-кандидата.
Методика измерения:
Методика измерения, базирующаяся на сервисном программном обеспечении базовых и абонентских станций, приведена в п. 9.2.4.2 спецификации IS-98.
Параметры тестовых сигналов приведены в Табл. 4.1.2.3.1; 4.1.2.3.2; 4.1.2.3.3. Схема измерений приведена на рис. 1.1.3 Приложения 1.
Таблица 4.1.2.3.1
Тест 1
|
Ед. измерения |
пилот канал 1 |
пилот канал 2 |
|
|
Ior/Ioc |
дБ |
Мах = 1,4 Min = -1,8 |
Мах = 0,4 Min = -¥ |
|
Пилот Ес/Ior |
дБ |
-7 |
-7 |
|
Трафик Ес/Ior |
дБ |
-7 |
N/A |
|
Ioc |
дБм/1,23 МГц |
-75 |
|
|
Пилот Ec/Io |
дБ |
-11 |
Мах = -12 Min = -¥ |
Тест 2
|
Ед. измерения |
пилот канал 1 |
пилот канал 2 |
|
|
Ior/Ioc |
дБ |
Мах = 0 Min = -1,8 |
Мах = -3 Min = -¥ |
|
Пилот Ес/Ior |
дБ |
-7 |
-7 |
|
Трафик Ес/Ior |
дБ |
-7 |
N/A |
|
Ioc |
дБм/1,23 МГц |
-75 |
|
|
Пилот Ec/Io |
дБ |
-11 |
Мах = -14 Min = -¥ |
Таблица 4.1.2.3.3
Тест 3
|
Ед. измерения |
пилот канал 1 |
пилот канал 2 |
|
|
Ior/Ioc |
дБ |
Мах = -0,9 Min = -1,8 |
Мах = -6,4 Min = -¥ |
|
Пилот Ес/Ior |
дБ |
-7 |
-7 |
|
Трафик Ес/Ior |
дБ |
-7 |
N/A |
|
Ioc |
дБм/1,23 МГц |
-75 |
|
|
Пилот Ec/Io |
дБ |
-11 |
Max = -16,5 Min = -¥ |
Допустимое значение:
ТЕСТ 1: 1) Время обнаружения (при значении параметров сигналов, соответствующих Табл. 4.1.2.3.1) должно быть меньше 0,8 сек в 90 % попыток с доверительной вероятностью 95 %.
2) Все PSMM, переданные абонентской станцией как отклики на запрос от базовой станции, должны содержать информацию только о пилот-сигнале 1.
3) Задержка ПСП пилот-сигнала 2 не должна отличаться более чем на ±1 чип от истинного значения.
ТЕСТ 2: Время обнаружения (при значении параметров сигналов, соответствующих таблице 4.1.2.3.2) должно быть меньше 0,85 сек в 50 % попыток с доверительной вероятностью 95 %.
ТЕСТ 3: За время испытаний должно быть зафиксировано не более одного PSMM.
Примечание: Объём испытаний, обеспечивающий заданную доверительную вероятность, определяется по методике, приведённой в Приложении 2.
4.1.2.4. Обнаружение пилот-сигнала в ячейке/секторе-кандидате и ошибочное обнаружение при мягком хэндовере (п. 9.2.5, IS-98).
ПРАВИЛЬНОЕ обнаружение ячейки/сектора-кандидата определяется как обнаружение пилот-сигнала с заданным превышением энергии по сравнению с сигналом в активной ячейке/секторе. ОШИБОЧНОЕ обнаружение определяется как обнаружение пилот-сигнала от ячейки/сектора-кандидата с превышением менее заданного.
ТЕСТ: 1) Проверяется время обнаружения пилот-сигнала от ячейки/сектора-кандидата. [Время обнаружения пилот-сигнала определяется как время от момента, когда пилот-сигнал возрастает до заданного уровня, до момента посылки абонентской станцией Сообщения об Измерении Уровня Сигнала (PSMM)].
2) Проверяется точность определения задержки ПСП (PN) и энергии пилот-сигнала активной ячейки/сектора.
Методика измерения:
Методика измерения, базирующаяся на сервисном программном обеспечении базовых и абонентских станций, приведена в п. 9.2.5.2 спецификации IS-98.
Параметры тестовых сигналов приведены в Табл. 4.1.2.4.1; 4.1.2.4.2. Схема измерений приведена на рис. 1.1.3 Приложения 1.
Тест 1
|
Ед. измерения |
пилот канал 1 |
пилот канал 2 |
|
|
Ior/Ioc |
дБ |
Мах = -3,1 Min = -4,8 |
Мах = -0,1 Min = -4,8 |
|
Пилот Ес/Ior |
дБ |
-7 |
-7 |
|
Трафик Ес/Ior |
дБ |
-7 |
N/A |
|
Ioc |
дБм/1,23 МГц |
-75 |
|
|
Пилот Ec/Io |
дБ |
-14 |
Мах = -11 Min = -14 |
Тест 2
|
Ед. измерения |
пилот канал 1 |
пилот канал 2 |
|
|
Ior/Ioc |
дБ |
Мах = -4,2 Min = -4,8 |
Мах = -2,7 Min = -4,8 |
|
Пилот Ес/Ior |
дБ |
-7 |
-7 |
|
Трафик Ес/Ior |
дБ |
-7 |
N/A |
|
Ioc |
дБм/1,23 МГц |
-75 |
|
|
Пилот Ec/Io |
дБ |
-14 |
Max = -12,5 Min = -14 |
Допустимое значение:
ТЕСТ 1: 1) Время обнаружения (при значении параметров сигналов, соответствующих Табл. 4.1.2.4.1) должно быть менее 2,5 сек в 90 % попыток с доверительной вероятностью 95 %.
2) Задержка ПСП пилот-сигнала 2 не должна отличаться более чем на ±1 чип от истинного значения.
ТЕСТ 2: Время обнаружения (при значении параметров сигналов, соответствующих таблице 4.1.2.4.2) должно быть более чем 2,5 сек в 80 % попыток с доверительной вероятностью 95 %.
Примечание: Объём испытаний, обеспечивающий заданную доверительную вероятность, определяется по методике, приведённой в Приложении 2.
4.1.2.5. Обнаружение пропадания пилот-сигнала в активной ячейке/секторе при мягком хэндовере (п. 9.2.6, IS-98).
Абонентская станция посылает Сообщение об Измерении Уровня Сигнала тогда, когда энергия пилот-сигнала от активной ячейки/сектора падает ниже пороговой на время 3 (4) сек.
ТЕСТ: 1) Проверяется время обнаружения пропадания пилот-сигнала в активной ячейке/секторе. [Время обнаружения пропадания определяется как время от момента уменьшения энергии сигнала до заданного уровня до момента посылки абонентской станцией Сообщения об Измерении Уровня Сигнала (PSMM)], не содержащего информации о данном пилот-сигнале.
2) Проверяется точность определения задержки ПСП (PN) и уровня пилот-сигналов.
Методика измерения:
Методика измерения, базирующаяся на сервисном программном обеспечении базовых и абонентских станций, приведена в п. 9.2.6.2 спецификации IS-98. Параметры тестовых сигналов приведены в Табл. 4.1.2.5.1; 4.1.2.5.2. Схема измерений приведена на рис. 1.1.3 Приложения 1.
ТЕСТ 1
|
Ед. измерения |
пилот канал 1 |
пилот канал 2 |
|
|
Ior/Ioc |
дБ |
-0,5 |
-4,5 |
|
Пилот Ес/Ior |
дБ |
-7 |
-7 |
|
Трафик Ес/Ior |
дБ |
-7 |
-7 |
|
Ioc |
дБм/1,23 МГц |
-75 |
|
|
Пилот Ec/Io |
дБ |
-11 |
-15 |
ТЕСТ 2
|
Ед. измерения |
пилот канал 1 |
пилот канал 2 |
|
|
Ior/Ioc |
дБ |
Мах = 2,9 Min = -1,0 |
Мах = 2,9 Min = -7,0 |
|
Пилот Ес/Ior |
дБ |
-7 |
-7 |
|
Трафик Ес/Ior |
дБ |
-7 |
-7 |
|
Ioc |
дБм/1,23 МГц |
-75 |
|
|
Пилот Ec/Io |
дБ |
-11 |
Мах = -11 Min = -17 |
Допустимое значение:
ТЕСТ 1: При подаче на вход абонентской станции сигналов с параметрами, соответствующими Табл. 4.1.2.5.1, не должно быть передано ни одного PSMM в течение теста.
ТЕСТ 2: 1) Время обнаружения пропадания (при значении параметров сигналов, соответствующих таблице 4.1.2.5.2) должно быть менее 7 сек в 80 % попыток с доверительной вероятностью 95 %.
2) Задержка ПСП пилот-сигнала 2 не должна отличаться более чем на ±1 чип от истинного значения.
3) Значения энергии пилот-сигналов 1 и 2, передаваемых в PSMM, не должны отличаться от установленных более чем на ±1,5 дБ.
Примечание: Объём испытаний, обеспечивающий заданную доверительную вероятность, определяется по методике, приведённой в Приложении 2.
4.1.3.1. Демодуляция сигнала Пейджингового Канала в режиме без выделенного слота в условиях аддитивного белого гауссовского шума (АБГШ) (n. 9.3.1, IS-98).
Испытания, описываемые в данном разделе, имеют отношение ТОЛЬКО к абонентским станциям, работающим в режиме без выделенного слота. Для абонентских станций, работающих в режиме с выделенным слотом, данные испытания проводить НЕ ТРЕБУЕТСЯ.
Эффективность демодуляции сигнала в Пейджинговом Канале в условиях АБГШ (отсутствие федингов и многолучёвости) определяется значением коэффициента искажённых сообщений (MER). MER измеряется только для скорости 9600 бит/с.
Методика измерения:
Методика измерения, базирующаяся на сервисном программном обеспечении базовых и абонентских станций, приведена в п. 9.3.1.2 спецификации IS-98.
Параметры тестовых сигналов приведены в Табл. 4.1.3.1.1. Схема измерений приведена на рис. 1.1.4 Приложения 1.
|
Ед. измерения |
Величина |
|
|
Ior/Ioc |
дБ |
-1 |
|
Пилот Ес/Ior |
дБ |
-7 |
|
Синхр. Ес/Ior |
дБ |
-16 |
|
Пейджинг Ес/Ior |
дБ |
-16,2 |
|
Ioc |
дБм/1,23 МГц |
-74 |
|
Пейджинг Еb/Nt |
дБ |
3,9 |
Допустимое значение:
Действующее значение Eb/Nt в процессе испытаний не должно отклоняться от приведённого в Табл. 4.1.3.1.1 более чем на 0,2 дБ.
MER не должен превышать значений, ограниченных кривой, определяемой точками, приведёнными в Табл. 4.1.3.1.2. с доверительной вероятностью 95 %.
Примечание: Объём испытаний, обеспечивающий заданную доверительную вероятность, определяется по методике, приведённой в Приложении 2.
|
Еb/Nt |
MER |
|
3,5 |
0,055 |
|
3,9 |
0,035 |
|
4,1 |
0,03 |
4.1.3.2. Демодуляция сигнала Пейджингового Канала в режиме с выделенным слотом в условиях АБГШ (п. 9.3.2, IS-98).
Испытания, описываемые в данном разделе, имеют отношение ТОЛЬКО к абонентским станциям, работающим в режиме с выделенным слотом. Для абонентских станций, работающих в режиме без выделенного слота, данные испытания проводить НЕ ТРЕБУЕТСЯ.
При работе в режиме с выделенным слотом абонентская станция включает контроль Пейджингового Канала в начале назначенного слота. Данный тест подтверждает, что абонентская станция не теряет начало выделенного слота. Кроме того, данный тест проверяет модуляционную характеристику Пейджингового Канала. Эффективность демодуляции сигнала в Пейджинговом Канале в условиях АБГШ (отсутствие федингов и многолучёвости) определяется значением коэффициента искаженных сообщений (MER). MER измеряется только для скорости 9600 бит/с.
Методика измерения:
Методика измерения, базирующаяся на сервисном программном обеспечении базовых и абонентских станций, приведена в п. 9.3.2.2 спецификации IS-98. Параметры тестовых сигналов приведены в Табл. 4.1.3.2.1. Схема измерений приведена на рис. 1.1. Приложения 1.
|
Ед. измерения |
Величина |
|
|
Ior/Ioc |
дБ |
-1 |
|
Пилот Ес/Ior |
дБ |
-7 |
|
Синхр. Ес/Ior |
дБ |
-16 |
|
Пейджинг Ес/Ior |
дБ |
-16,2 |
|
Ioc |
дБм/1,23 МГц |
-74 |
|
Пейджинг Еb/Nt |
дБ |
3,9 |
Допустимое значение:
Действующее значение Eb/Nt в процессе испытаний не должно отклоняться от приведенного в Табл. 4.1.3.2.1 более чем на 0,2 дБ.
MER не должен превышать значений, ограниченных кривой, определяемой точками, приведёнными в Табл. 4.1.3.2.2, с доверительной вероятностью 95 %.
Примечание: Объём испытаний, обеспечивающий заданную доверительную вероятность, определяется по методике, приведённой в Приложении 2.
|
Еb/Nt |
MER |
|
3,5 |
0,055 |
|
3,9 |
0,035 |
|
4,1 |
0,03 |
4.1.3.3. Демодуляция сигнала Прямого Канала Трафика в условиях АБГШ (п. 9.3.3, IS-98).
Эффективность демодуляции сигнала в Прямом Канале Трафика в условиях АБГШ (отсутствие федингов и многолучевости) определяется значением коэффициента искаженных кадров (FER). FER вычисляется для каждого значения скорости передачи информации.
Методика измерения:
Методика измерения, базирующаяся на сервисном программном обеспечении базовых и абонентских станций, приведена в п. 9.3.3.2 спецификации IS-98. Параметры тестовых сигналов приведены в Табл. 4.1.3.3.1. Схема измерений приведена на рис. 1.1.4 Приложения 1.
Таблица 4.1.3.3.1. Часть 1
|
Ед. измерения |
Тест 1 |
Тест 2 |
Тест 3 |
Тест 4 |
Тест 5 |
Тест 6 |
|
|
Ior/Ioc |
дБ |
-1 |
|||||
|
Пилот Ес/Ior |
дБ |
-7 |
|||||
|
Трафик Ес/Ior |
дБ |
-16,3 |
-15,8 |
-15,6 |
-19,1 |
-21,6 |
-24,5 |
|
Ioc |
дБм/1,23 МГц |
-74 |
|||||
|
Скорость информации |
бит/с |
9600 |
9600 |
9600 |
4800 |
2400 |
1200 |
|
Трафик Еb/Nt |
дБ |
3,8 |
4,3 |
4,5 |
4,0 |
4,5 |
4,6 |
Допустимое значение:
Значение Еb/Nt, определённое в процессе испытаний, не должно отклоняться от приведённого в Табл. 4.1.3.3.1 более чем на 0,2 дБ.
Значения FER при доверительной вероятности 95 % не должны превышать значений, ограниченных кривой, образованной путём линейно-ломаной аппроксимации с использованием точек FER из следующих таблиц:
для скорости 9600 бит/с (ТЕСТ 1, 2, 3) - Табл. 4.1.3.3.2;
для скорости 4800 бит/с (ТЕСТ 4) - Табл. 4.1.3.3.3;
для скорости 2400 бит/с (ТЕСТ 5) - Табл. 4.1.3.3.4;
для скорости 1200 бит/с (ТЕСТ 6) - Табл. 4.1.3.3.5.
Табл. 4.1.3.3.2
9600 бит/с
|
Еb/Nt (дБ) |
FER |
|
3,6 |
0,05 |
|
3,8 |
0,03 |
|
4,3 |
0,01 |
|
4,5 |
0,005 |
|
4,7 |
0,003 |
Табл. 4.1.3.3.3
4800 бит/с
|
Еb/Nt (дБ) |
FER |
|
3,6 |
0,03 |
|
4,0 |
0,01 |
|
4,2 |
0,005 |
Табл. 4.1.3.3.4
2400 бит/с
|
Еb/Nt (дБ) |
FER |
|
4,0 |
0,03 |
|
4,5 |
0,01 |
|
4,8 |
0,005 |
Табл. 4.1.3.3.5
1200 бит/с
|
Еb/Nt (дБ) |
FER |
|
3,9 |
0,03 |
|
4,6 |
0,01 |
|
4,9 |
0,005 |
Примечание: Объём испытаний, обеспечивающий заданную доверительную вероятность, определяется по методике, приведённой в Приложении 2.
4.1.3.4. Демодуляция сигнала Прямого Канала Трафика в условиях замираний, обусловленных многолучевым распространением (п. 9.3.4, IS-98).
Эффективность демодуляции сигнала Прямого Канала Трафика в многолучевом канале с федингами определяется коэффициентом искаженных кадров (FER) или коэффициентом ошибок в каждом виде кадров. FER вычисляется для каждого значения скорости передачи информации.
Группа тестов определяет эффективность демодуляции при скорости движения абонентской станции 8 км/час в условиях двухлучевого распространения сигнала путём оценки FER на полной скорости передачи информации.
Методика измерения:
Методика измерения, базирующаяся на сервисном программном обеспечении базовых и абонентских станций, приведена в п. 9.3.42 спецификации IS-98.
Параметры тестовых сигналов приведены в Табл. 4.1.3.4.1.
Схема измерений приведена на рис. 1.1.1 Приложения 1.
Таблица 4.1.3.4.1
|
Ед. измерения |
Тест 1 |
Тест 2 |
Тест 3 |
|
|
Ior/Ioc |
дБ |
8 |
||
|
Пилот Ес/Ior |
дБ |
-7 |
||
|
Трафик Ес/Ior |
дБ |
-16,1 |
-13,5 |
-11,5 |
|
Ioc |
дБм/1,23 МГц |
-83 |
||
|
Скорость информации |
бит/с |
9600 |
||
|
Трафик Еb/Nt |
дБ |
6,8 |
9,4 |
11,4 |
|
Конфигурация имитатора канала |
|
1 |
||
Допустимое значение:
Значение Еb/Nt, определённое в процессе испытаний, не должно отклоняться от приведённых в Табл. 4.1.3.4.1 более чем ±0,5 дБ.
FER для всех тестов на скорости 9600 бит/с не должен превышать значений, ограниченных кривой, образованной путём линейно-ломаной аппроксимации по точкам, приведённым в Табл. 4.1.3.4.4, с доверительной вероятностью 95 %.
Примечание: Объем испытаний, обеспечивающий заданную доверительную вероятность, определяется по методике, приведённой в Приложении 2.
Тест 1, 2, 3
|
Еb/Nt (дБ) |
FER |
|
6,0 |
0,04 |
|
6,8 |
0,03 |
|
9,4 |
0,01 |
|
11,4 |
0,005 |
|
11,9 |
0,004 |
4.1.3.5. Демодуляция сигнала Прямого Канала Трафика в процессе осуществления мягкого хендовера (п. 9.3.5, IS-98).
Эффективность демодуляции сигнала Прямого Канала Трафика при мягком хэндовере определяется коэффициентом искаженных кадров (FER).
Методика измерения:
Методика измерения, базирующаяся на сервисном программном обеспечении базовых и абонентских станций, приведена в п. 9.3.5.2 спецификации IS-98.
Параметры тестовых сигналов приведены в Табл. 4.1.3.5.1. Схема измерений приведена на рис. 1.1.2 Приложения 1.
Таблица 4.1.3.5.1
|
Ед. измерения |
Тест 1 |
Тест 2 |
Тест 3 |
|
|
Ior1/Ioc и Ior2/Ioc |
дБ |
10 |
||
|
Пилот Ес/Ior |
дБ |
-7 |
||
|
Трафик Ес/Ior |
дБ |
-15,3 |
-13,9 |
-13,0 |
|
Ioc |
дБм/1,23 МГц |
-85 |
||
|
Трафик Еb/Nt |
дБ |
5,5 |
6,9 |
7,8 |
Допустимое значение:
Значение Eb/Nt, определенное в процессе испытаний, не должно отклоняться от приведённых в Табл. 4.1.3.5.1 более чем на ±0,3 дБ.
FER для каждого теста не должен превышать значений, ограниченных кривой, образованной путём линейно-ломаной аппроксимации по точкам, приведённым в Табл. 4.1.3.5.2, с доверительной вероятностью 95 %.
Таблица 4.1.3.5.2
|
Еb/Nt (дБ) |
FER |
|
5,1 |
0,04 |
|
5,5 |
0,03 |
|
6,9 |
0,01 |
|
7,8 |
0,005 |
|
8,1 |
0,004 |
4.1.3.6. Принятие решения об изменении мощности, излучаемой абонентской станцией в процессе осуществления мягкого хэндовера, для каналов, принадлежащих различным базовым станциям (п. 9.3.6, IS-98).
В случае, когда принимаются сигналы каналов управления мощностью, принадлежащие различным станциям одновременно, абонентская станция должна увеличивать свою излучаемую мощность, если все принимаемые биты управления от всех станций указывают на приращение, и снижать мощность, если хотя бы один бит указывает на снижение. Этот тест проверяет логику управления «вниз через функцию <или>».
Методика измерения:
Методика измерения, базирующаяся на сервисном программном обеспечении базовых и абонентских станций, приведена в п. 9.3.6.2 спецификации IS-98.
Параметры тестовых сигналов приведены в Табл. 4.1.3.6.1. Схема измерений приведена нa рис. 1.1.3 Приложения 1.
|
Ед. измерения |
Величина |
|
|
Ior1 |
дБм/1,23 МГц |
-75 |
|
Ior2 |
дБм/1,23 МГц |
-75 |
|
Пилот Ес/Ior |
дБ |
-7 |
|
Трафик Еc/Ior |
дБ |
-7,4 |
|
Управление мощностью Ес/Ior |
дБ |
-17,8 |
Допустимое значение:
Выходная мощность абонентской станции, измеренная на антенном разъёме, должна периодически калиброваться. На каждом периоде калибровки мощность должна монотонно увеличиваться в течение 20 шагов управления (25 мс) и затем монотонно уменьшаться в течение 20 шагов управления.
4.1.3.7. Принятие решения об изменении мощности, излучаемой абонентской станцией для каналов, принадлежащих одной и той же базовой станции (п. 9.3.7, IS-98).
При приеме группы идентичных сигналов управления мощностью абонентская станция должна обеспечивать разделение подканалов и выбор наиболее мощного сигнала. Этот тест частично проверяет способность абонентской станции разделять сигналы различных подканалов и сигналы, принадлежащие различным лучам одного и того же подканала.
Методика измерения:
Методика измерения, базирующаяся на сервисном программном обеспечении базовых и абонентских станций, приведена в п. 9.3.7.2 спецификации IS-98.
Параметры тестовых сигналов приведены в Табл. 4.1.3.7.1. Схема измерений приведена на рис. 1.1.2 Приложения 1.
Таблица 4.1.3.7.1
|
Ед. измерения |
канал 1 |
канал 2 |
|
|
Ior |
дБм/1,23 МГц |
-75 |
-77 |
|
Пилот Еc/Ior |
дБ |
-7 |
|
|
Трафик Еc/Ior |
дБ |
-7,4 |
|
|
Управление мощностью Еc/Ior |
дБ |
-17,8 |
|
|
Конфигурация имитатора |
|
5 |
- |
Допустимое значение:
Выходная мощность абонентской станции, измеренная на антенном разъёме, должна изменяться соответственно сигналам управления, передаваемым по каналу 1.
4.1.3.8. Демодуляция сигнала в подканале управления мощностью в процессе осуществления мягкого хэндовера (п. 9.3.8, IS-98).
Абонентская станция не должна использовать подканал управления мощностью в случае, когда энергия пилот-сигнала соответствующего Канала CDMA слишком низка. Этот тест проверяет то, что абонентская станция прекращает использование подканала управления мощностью по логике «вниз через функцию <или>», когда энергия пилот-сигнала становится слишком низкой.
Методика измерения:
Методика измерения, базирующаяся на сервисном программном обеспечении базовых и абонентских станций, приведена в п. 9.3.8.2 спецификации IS-98.
Параметры тестовых сигналов приведены в Табл. 4.1.3.8.1. Схема измерений приведена на рис. 1.1.3 Приложения 1.
|
Ед. измерения |
канал 1 |
канал 2 |
|
|
Ior |
дБм/1,23 МГц |
Мах = -72,2 Min = -75 |
Мах = -75 Min = -85 |
|
Пилот Еc/Ior |
дБ |
-7 |
-7 |
|
Трафик Еc/Ior |
дБ |
-7,4 |
-12,4 |
|
Управление мощностью Еc/Ior |
дБ |
-17,8 |
-22,8 |
|
Пилот Еc/Io |
дБ |
Мах = -7,2 Min = -10 |
Мах = -10 Min = -20 |
Допустимое значение:
Выходная мощность абонентской станции, измеренная на антенном разъёме, должна быть в стабильном состоянии, определяемом как состояние 1, когда энергия пилот-сигнала (Пилот Еc/Io) в Канале 2 на 10 дБ ниже чем в Канале 1, и должна следовать сигналам управления вверх и вниз. Выходная мощность абонентской станции должна быть в стабильном состоянии, определяемом как состояние 2 не позднее чем через 40 мс в 90 % попыток после того, как энергия пилот-сигнала в Канале 2 упадет до -20 дБ относительно Канала 1, и должна следовать сигналам управления мощностью вверх и вниз. Выходная мощность абонентской станции в состоянии 2 (Р2) не должна превышать мощность абонентской станции в состоянии 1 (Р1) и должно выполняться соотношение Р2 > Р1 - 12 дБ.
4.1.4.1. Чувствительность приёмника и динамический диапазон (п. 9.4.1, IS-98).
Чувствительностью приёмника абонентской станции называется минимальная принимаемая мощность, измеренная на антенном разъёме, при которой коэффициент искаженных кадров (FER) не превышает установленной величины.
Методика измерения:
Методика измерения, базирующаяся на сервисном программном обеспечении базовых и абонентских станций, приведена в п. 9.4.1.2 спецификации IS-98. Параметры тестовых сигналов приведены в Табл. 4.1.4.1.1. Схема измерений приведена на рис. 1.1.4 Приложения 1.
Таблица 4.1.4.1.1
|
Ед. измерения |
Тест 1 |
Тест 2 |
|
|
Ior |
дБм/1,23 МГц |
-105 |
-25 |
|
Пилот Еc/Ior |
дБ |
-7 |
|
|
Трафик Еc/Ior |
дБ |
-15,6 |
|
Допустимое значение:
Чувствительность составляет - 105 дБм
Динамический диапазон 80 дБ
Пороговый FER £ 0,005 с доверительной вероятностью 95 %.
Примечание: Объём испытаний, обеспечивающий заданную доверительную вероятность, определяется по методике, приведённой в Приложении 2.
4.1.4.2. Ослабление чувствительности к синусоидальной помехе (п. 9.4.2, IS-98).
Ослаблением чувствительности к синусоидальной помехе называется мера способности приёмника принимать CDMA сигнал на присвоенной частоте в присутствии синусоидальной помехи, смещенной относительно центральной частоты канала. Эффективность подавления синусоидальной помехи оценивается измерением коэффициента искаженных кадров (FER).
Методика измерения:
Методика измерения, базирующаяся на сервисном программном обеспечении базовых и абонентских станций, приведена в п. 9.4.2.2 спецификации IS-98.
Параметры тестовых сигналов приведены в Табл. 4.1.4.2.1. Схема измерений приведена на рис. 1.1.4 Приложения 1.
Таблица 4.1.4.2.1
|
Ед. измерения |
Тест 1 |
Тест 2 |
|
|
Расстройка помехи |
кГц |
+900 |
-900 |
|
Мощность помехи |
дБм |
-30 |
|
|
Ior |
дБм/1,23 МГц |
-102 |
|
|
Пилот Еc/Ior |
дБ |
-7 |
|
|
Трафик Еc/Ior |
дБ |
-15,6 |
|
Допустимое значение:
При воздействии помехи с мощностью на 72 дБ выше мощности сигнала FER не должен превышать 0,01 с доверительной вероятностью 95 %.
Примечание: Объём испытаний, обеспечивающий заданную доверительную вероятность, определяется по методике, приведённой в Приложении 2.
4.1.4.3. Ослабление продуктов интермодуляции (п. 9.4.3, IS-98)
Ослаблением продуктов интермодуляции называется мера способности приёмника принимать CDMA сигнал на присвоенной частоте в присутствии двух мешающих синусоидальных сигналов. Частоты этих сигналов отличаются друг друга и частоты канала так, что продукты интерференции, возникающие на нелинейных элементах приёмника, попадают в полосу назначенного CDMA сигнала. Эффективность приёмника оценивается по коэффициенту искажённых кадров (FER).
Методика измерения:
Методика измерения, базирующаяся на сервисном программном обеспечении базовых и абонентских станций, приведена в п. 9.4.3.2 спецификации IS-98.
Параметры тестовых сигналов приведены в Табл. 4.1.4.3.1. Схема измерений приведена рис. 1.1.4 Приложения 1.
Допустимое значение:
При мощностях помех, приведённых в Табл. 4.1.4.3.1, FER не должен превышать значения 0,01 с доверительной вероятностью 95 %.
Примечание: Объём испытаний, обеспечивающий заданную доверительную вероятность, определяется по методике, приведённой в Приложении 2.
4.1.5.1. Побочные излучения, измеренные на эквиваленте антенны (п. 9.5.1, IS-98).
Побочные излучения, измеренные на эквиваленте антенны - это побочные излучения, генерируемые или усиливаемые в приёмнике и приложенные к антенному разъему.
Методика измерения:
Методика измерения, базирующаяся на сервисном программном обеспечении абонентской станции, приведена в п. 9.5.1.2 спецификации IS-98.
Допустимое значение:
Уровень побочных излучений на антенном разъёме должен быть:
1. Менее чем - 81 дБм, измеренный в системной полосе приемника абонентской станции 869 - 894 МГц с разрешением 1 МГц.
2. Менее чем - 61 дБм, измеренный в системной полосе передатчика абонентской станции 824 - 849 МГц с разрешением 1 МГц.
3. Менее чем - 47 дБм, измеренный в полосе от нижней промежуточной частоты до 2,6 ГГц (кроме частот, оговоренных выше) с разрешением 30 кГц.
4.1.5.2. Побочные излучения, оцененные измерителем напряженности электромагнитного поля (п. 9.5.2, IS-98).
Побочные излучения, оцениваемые измерителем поля - это побочные излучения, генерируемые или усиливаемые приемником и излучаемые антенной, корпусом и всеми цепями питания, управления и звукового тракта, подключёнными к приемнику установленным образом.
Методика измерения:
Методика измерения приведена в п. 9.5.2.2 спецификации IS-98.
Допустимое значение:
Уровень побочных излучений, измеренный согласно процедуре, изложенной в разделе 5 спецификации IS-98, не должен превышать значений, приведенных в Табл. 4.1.5.2.1.
|
Максимально допустимое значение ЭИИМ*) |
|
|
25 - 70 МГц |
-45 дБм |
|
77 - 130 МГц |
-41 дБм |
|
130 - 174 МГц |
-41 - -32 дБм*) |
|
174 - 260 МГц |
-32 дБм |
|
260 - 470 МГц |
-32 дБм - -26 дБм*) |
|
470 - 1000 МГц |
-21 дБм |
ЭИИМ*) - эквивалентная изотропно излучаемая мощность
*) Интерполировать линейно в логарифмическом масштабе частоты.
4.1.6.1. Контроль и управление по пейджинговому каналу (п. 9.6.1, IS-98).
В Режиме Доступа к Системе абонентская станция должна контролировать Канал Пейджинга. Абонентская станция должна переустанавливать таймер за T40m = l с, как только по Пейджинговому Каналу принимается правильное сообщение, адресованное этой абонентской станции или нет. Если за это время таймер не переустановился, абонентская станция должна прекратить попытки доступа. Этот тест проверяет управление абонентской станцией по Пейджинговому Каналу в режиме доступа.
Методика измерения:
Методика измерения, базирующаяся на сервисном программном обеспечении базовых и абонентских станций, приведена в п. 9.6.1.2 спецификации IS-98.
Параметры тестовых сигналов приведены в Табл. 4.1.6.1.1. Схема измерений приведена на рис. 1.1.4 Приложения 1.
Таблица 4.1.6.1.1
|
Ед. измерения |
Величина |
|
|
Ior |
дБ |
-75 |
|
Пилот Еc/Ior |
дБ |
-7 |
|
Пейджинг Еc/Ior |
дБ |
-16 |
Допустимое значение:
Абонентская станция должна передавать данные о попытках доступа в виде откликов на сигналы пейджинга. Абонентская станция должна прекратить передачу попыток доступа через T40m = 1 с после того, как прекращена передача в Пейджинговом Канале.
4.1.6.2. Контроль и управление по Прямому Каналу Трафика (п. 9.6.2, IS-98).
В режиме управления по каналу трафика абонентская станция должна всё время контролировать Прямой Канал Трафика. Если абонентская станция принимает Т2m последовательных искажённых кадров по Прямому Каналу Трафика, она должна прекратить передачу. Если после этого абонентская станция примет N3m последовательных кадров без ошибок, она должна возобновить передачу.
Абонентская станция должна устанавливать таймер пропадания Канала Трафика. Этот таймер должен переустановиться в течение T5m секунд после приёма N3m последовательных кадров без ошибок. Если таймер отработал время T5m, абонентская станция должна прекратить передачу и сообщить о потере Прямого Канала Трафика.
ТЕСТ 1: проверяет, что абонентская станция прекратила передачу после приёма N2m искажённых кадров.
ТЕСТ 2: проверяет, что абонентская станция прекратила передачу и сообщила о потере Прямого Канала Трафика после неприёма N3m последовательных кадров без ошибок за время Т5m секунд.
Методика измерения:
Методика измерения, базирующаяся на сервисном программном обеспечении базовых и абонентских станций, приведена в п. 9.6.2.2 спецификации IS-98.
Параметры тестовых сигналов приведены в Табл. 4.1.6.2.1. Схема измерений приведена на рис. 1.1.4 Приложения 1.
|
Ед. измерения |
Величина |
|
|
Ior |
дБ |
-75 |
|
Пилот Ес/Ior |
дБ |
-7 |
|
Трафик Ес/Iог |
дБ |
-16 |
Допустимое значение:
ТЕСТ 1: Абонентская станция должна прекратить передачу через N2m ´ 0,02 + 0,02 = 0,26 сек после приёма первого искажённого кадра. Абонентская станция должна возобновить передачу через N3m ´ 0,02 + 0,02 = 0,06 сек после начала первого неискажённого кадра.
Примечание l: N2m = 12 кадров
N3m = 2 кадра
ТЕСТ 2: Абонентская станция должна прекратить передачу через Т5m + 0,02 = 5,02 сек после приёма первого искажённого кадра. После этого абонентская станция не должна возобновлять передачу.
Примечание 2: Т5m = 5 сек
Точность установки несущей частоты определяется как способность передатчика абонентской станции осуществлять передачу на назначенной частоте.
Методика измерения:
Измерение точности установки несущей частоты производится совместно и по методике измерения коэффициента качества формы сигнала (п. 4.2.3.2).
Методика, базирующаяся на сервисном программном обеспечении базовых и абонентских станций, приведена в п. 10.3.2.2 спецификации IS-98. Схема измерений приведена на рис. 1.1.4 Приложения 1.
Допустимое значение:
Несущая частота абонентской станции должна быть на 45 МГц ± 300 Гц ниже несущей частоты Прямого Канала CDMA.
Базовая станция принуждает абонентскую станцию осуществить жёсткий хэндовер CDMA-CDMA посылкой Сообщения Управления Хэндовером, в результате исполнения которого абонентская станция передаётся другой группе базовых станций, другому частотному каналу или другому временному сдвигу кадров. Жёсткий хэндовер характеризуется временным разрывом Канала Трафика.
Этот тест измеряет время, необходимое для выполнения жёсткого CDMA-CDMA хендовера между Каналами Трафика, принадлежащими различным базовым станциям (с различными сдвигами пилотной ПСП) с различными назначенными частотами диапазона CDMA. Этот тест также проверяет то, что абонентская станция блокирует передачу на старой частоте.
Методика измерения:
Методика измерения, базирующаяся на сервисном программном обеспечении базовых и абонентских станций, приведена в п. 10.2.1.2 спецификации IS-98.
Параметры тестовых сигналов приведены в Табл. 4.2.2.1. Схема измерений приведена на рис. 1.1.3 Приложения 1.
|
Ед. измерения |
канал 1 |
канал 2 |
|
|
Ior |
дБм/1,23 МГц |
-75 |
-75 |
|
Пилот Еc/Ior |
дБ |
-7 |
-7 |
|
Трафик Еc/Ior |
дБ |
-7,4 |
-7,4 |
Допустимое значение:
Выходная мощность абонентской станции должна сохраняться до момента получения Сообщения Управления Хэндовером при открытой и закрытой петлях управления мощностью.
Время Т1 от момента получения Сообщения Управления Хэндовером до снижения мощности передатчика на прежнем частотном канале до уровня - 61 дБм/МГц должно быть менее 2 мс.
Время Т2 от момента получения Сообщения Управления Хэндовером до переключения абонентской станции на новый частотный канал должно быть менее 160 мс.
При переходе абонентской станции на новый частотный канал её выходная мощность должна составить уровень +10 дБ по отношению к значению на прежнем частотном канале.
4.2.3.1. Установка и коррекция опорного времени (п. 10.3.1, IS-98).
Опорное время абонентской станции определяется по самой ранней компоненте многолучевого сигнала, используемого для демодуляции. В режиме приёма Прямого Канала Трафика опорное время абонентской станции используется как опорное время передачи Обратного Канала Трафика.
ТЕСТ 1 проверяет точность установки опорного времени абонентской станции в статических условиях.
ТЕСТ 2 проверяет скорость корректировки опорного времени абонентской станции.
Методика измерения:
Методика измерения, базирующаяся на сервисном программном обеспечении базовых и абонентских станций, приведена в п. 10.3.1.2 спецификации IS-98.
Параметры тестовых сигналов приведены в Табл. 4.2.3.1.1. Схема измерений приведена на рис. 1.1.4 Приложения 1.
|
Ед. измерения |
Величина |
|
|
Ior |
дБм/1,23 МГц |
-75 |
|
Пилот Еc/Ior |
дБ |
-7 |
|
Трафик Еc/Ior |
дБ |
-14 |
Допустимое значение:
Опорное время абонентской станции в статических условиях, приведенное к антенному разъему, должно устанавливаться с точностью ±1 мкс относительно времени приёма самой ранней компоненты многолучевого сигнала, используемой для демодуляции.
В случае, если необходима корректировка опорного времени, она должна производиться не быстрее чем 1/4 чипа ПСП (203,451 нс), на интервале 200 мс и не медленнее чем 3/8 чипа ПСП (305,18 нс) на интервале 1 с.
4.2.3.2. Коэффициент качества формы сигнала (п. 10.3.2, IS-98).
В
данном тесте измеряется коэффициент качества формы сигнала ρ
(нормированный коэффициент корреляции между используемым сигналом и идеальной моделью). Измеряются также величины ошибки по частоте
Δt и задержке
.
Методика измерения:
Методика измерения, базирующаяся на сервисном программном обеспечении базовых и абонентских станций, приведена в п. 10.3.2.2 спецификации IS-98.
Параметры тестовых сигналов приведены в Табл. 4.2.3.2.1. Схема измерений приведена на рис. 1.1.4 Приложения 1.
|
Ед. измерения |
Величина |
|
|
Ior |
дБм/1,23 МГц |
-75 |
|
Пилот Еc/Ior |
дБ |
-7 |
|
Трафик Еc/Ior |
дБ |
-7,4 |
Допустимое значение:
Коэффициент качества формы сигнала ρ должен быть не менее 0,944 (при перегрузке по мощности не более 0,25 дБ).
Ошибка по частоте не должна превышать ±300 Гц.
Ошибка по задержке не должна превышать ±1 мкс.
4.2.3.3. Точность кодирования сигнала в обратном канале трафика (п. 10.3.3, IS-98).
Точность кодирования сигнала в Обратном Канале Трафика - это способность абонентской станции правильно кодировать данные. Эта способность проверяется посредством демодуляции кадров информации, передаваемых абонентской станцией, и сверкой чипов данных в синфазном (I) и квадратурном (Q) каналах с записанным эталоном.
Методика измерения:
Методика измерения, базирующаяся на сервисном программном обеспечении базовых и абонентских станций, приведена в п. 10.3.3.2 спецификации IS-98.
Параметры тестовых сигналов приведены в Табл. 4.2.3.3.1. Схема измерений приведена на рис. 1.1.4 Приложения 1.
|
Ед. измерения |
Величина |
|
|
Ior |
дБм/1,23 МГц |
-75 |
|
Пилот Еc/Ior |
дБ |
-7 |
|
Трафик Еc/Ior |
дБ |
-7,4 |
Допустимое значение:
Не должно наблюдаться ни одной ошибки при передаче 24576 чипов по каналам I и Q.
4.2.4.1. Диапазон выходной мощности при открытой петле её регулирования (п. 10.4.1, IS-98).
Абонентская станция вычисляет среднюю выходную мощность из входной мощности следующим образом:
[средняя вых. мощность (дБм)] = - [средняя вх. мощность (дБм)] - 73
В этом тесте производится оценка диапазона средних значений выходной мощности при открытой петле регулирования.
Методика измерения:
Методика измерения, базирующаяся на сервисном программном обеспечении базовых абонентских станций, приведена в п. 10.4.1.2 спецификации IS-98. Схема измерений приведена на рис. 1.1.4 Приложения 1.
Допустимое значение:
Выходная мощность абонентской станции должна находиться в пределах диапазонов, приведённых в Табл. 4.2.4.1.1.
|
|
|
Тест 1 |
Тест 2 |
Тест 3 |
|
Параметр |
Ед. измерения |
Величина |
||
|
Входная мощность |
дБм/1,23 МГц |
-25 |
-65 |
-105 |
|
Выходная мощность |
дБм/1,23 МГц |
-48 ± 9,5 |
-8 ± 9,5 |
от +19 до max |
где max означает выходную мощность, которая обеспечивает максимально допустимую ЭИМ для абонентской станции, использующей антенну с усилением, рекомендованным производителем. Отметим, что минимальные нормы в Тесте 3 допустимы для приёмника с коэффициентом шума 9 дБ.
4.2.4.2. Временной отклик открытой петли управления мощностью (п. 10.4.2, IS-98).
Выходная мощность абонентской станции изменяется в соответствии с законом открытой петли регулирования, следуя за ступенчатым изменением средней входной мощности.
Этот тест измеряет время отклика открытой петли управления мощностью на ступенчатое изменение средней входной мощности.
Методика измерения:
Методика измерения, базирующаяся на сервисном программном обеспечении базовых и абонентских станций, приведена в п. 10.4.2.2 спецификации IS-98.
Параметры тестовых сигналов приведены в Табл. 4.2.4.2.1. Схема измерений приведена на рис. 1.1.4 Приложения 1.
|
Ед. измерения |
Величина |
|
|
Ior |
дБм/1,23 МГц |
-60 |
|
Пилот Еc/Ior |
дБ |
-7 |
|
Трафик Еc/Ior |
дБ |
-7,4 |
Допустимое значение:
При изменении средней входной мощности скачком на ΔРin, средняя выходная мощность абонентской станции должна приходить к установившемуся значению в направлении, противоположном знаку ΔРin в пределах шаблона, определяемого как:
а) верхняя граница:
для 0 < t < 24 мс: mах[1,2 ´ |ΔРin| ´ [(t/24), |ΔРin| ´ [(t/24) + 0,5 дБ] + 1 дБ
для t ³ 24 мс: mах[1,2 ´ |ΔРin|, |ΔРin| + 0,5 дБ] + 1 дБ
б) нижняя граница
для t > 0; max (0,8 ´ |ΔРin| ´ [1 - е(1,25 - t)/36] - 0,5 дБ) - 1 дБ
где t - время в мс,
ΔРin - изменение входной мощности в дБ,
max[x, у] - максимум среди х и у.
На рис. 4.2.4.2.1 показаны границы изменения выходной мощности для скачка входной мощности ΔРin = 20 дБ.
Абсолютное значение изменения средней выходной мощности при открытой петле регулирования должно быть монотонной функцией времени. Если в процессе изменения средней выходной мощности имеют место дискретные приращения, то каждое такое приращение не должно превышать 0,75 дБ.
Рис. 4.2.4.2.1. Шаблон изменения выходной мощности при ΔР = 20 дБ
4.2.4.3. Выходная мощность при попытках доступа (п. 10.4.3, IS-98).
Этот тест проверяет следующие параметры доступа: отклонение мощности от номинального значения, приращение мощности при последовательных попытках доступа, число попыток доступа в одной последовательности попыток, число последовательностей в одной процедуре доступа.
Методика измерения:
Методика измерения, базирующаяся на сервисном программном обеспечении базовых и абонентских станций, приведена в п. 10.4.3.2 спецификации IS-98. Схема измерений приведена на рис. 1.1.4 Приложения 1.
Допустимое значение:
В первой процедуре доступа:
а) мощность при всех попытках доступа не должна отличаться более чем на ±1 дБ;
б) число попыток доступа в одной последовательности доступа должно быть равно 5;
в) в процедуре доступа должна быть одна последовательность доступа.
Во второй процедуре доступа:
а) излучаемая мощность первой попытки доступа каждой последовательности доступа должна быть на 6 ± 1,2 дБ выше мощности попытки доступа в первой процедуре доступа;
б) приращение излучаемой мощности между попытками доступа в каждой последовательности доступа должно составлять 1 ± 0,5 дБ;
в) число попыток доступа в каждой последовательности доступа должно быть равно 5;
г) число последовательностей доступа в процедуре доступа должно быть равно 3;
д) попытки доступа должны быть рандоминизированы согласно п. 6.6.3.1.1 спецификации IS-95.
4.2.4.4. Диапазон выходной мощности при замкнутой петле её регулирования (п. 10.4.4, IS-98).
Дополнительно к открытой петле абонентская станция обеспечивает закрытую петлю регулирования. Корректировки делаются как отклик на принимаемые биты управления мощностью. Диапазон коррекции определяется разницей между максимальной выходной мощностью абонентской станции и результатами оценки в открытой петле, а также разницей между минимальной мощностью и результатами оценки в открытой петле.
Методика измерения:
Методика измерения, базирующаяся на сервисном программном обеспечении базовых и абонентских станций, приведена в п. 10.4.4.2 спецификации IS-98. Схема измерений приведена на рис. 1.1.4 Приложения 1.
Допустимое значение:
Приведённые ниже требования на усреднённую скорость изменения средней выходной мощности применимы к выходной мощности абонентской станции, не превышающей значения - 3 дБ относительно нижнего предела максимальной выходной мощности, приведённой ниже в Табл. 4.2.4.5.2.
а) Диапазон регулирования мощности в закрытой петле должен быть по крайней мере на ±24 дБ шире, чем при открытой петле.
б) Интервал от окончания первого единичного бита управления мощностью, следующего за 100 последовательных нулевых битов управления, до момента начала уменьшения выходной мощности абонентской станции должен быть не более 2,5 мс.
в) Среднее значение скорости изменения выходной мощности при скорости передачи информации 9600 бит/с должно быть в пределах 12,8 ÷ 19,2 дБ за 20 мс.
г) Время, за которое выходная мощность абонентской станции после приёма бита управления достигает установившегося значения с точностью 0,3 дБ, должно быть не более 500 мкс.
Тест 2: (скорость 9600 бит/с; вых. мощность +19 дБм)
а) Интервал от окончания первого единичного бита управления мощностью, следующего за 100 последовательных нулевых битов управления, до момента начала уменьшения выходной мощности абонентской станции должен быть не более 2,5 мс.
Тест 3: (скорость 4800 бит/с: мощность - 15 дБм)
а) Диапазон регулирования мощности в закрытой петле должен быть по крайней мере на ±24 дБ шире чем при открытой петле.
б) Интервал от окончания первого единичного бита управления мощностью, следующего за 100 последовательных нулевых битов управления, до момента начала уменьшения выходной мощности абонентской станции должен быть не более 5 мс.
в) Среднее значение скорости изменения выходной мощности при скорости передачи информации 4800 бит/с должно быть в пределах 6,4 ÷ 9,6 дБ за 20 мс.
Тест 4: (скорость 2400 бит/с: мощность +15 дБм)
а) Диапазон регулирования мощности в закрытой петле должен быть по крайней мере на ±24 дБ шире чем при открытой петле.
б) Интервал от окончания первого единичного бита управления мощностью, следующего за 100 последовательных нулевых битов управления, до момента начала уменьшения выходной мощности абонентской станции должен быть не более 10 мс.
в) Среднее значение скорости изменения выходной мощности при скорости передачи информации 2400 бит/с должно быть в пределах 3,2 ÷ 4,8 дБ за 20 мс.
Тест 5: (скорость 1200 бит/с; мощность +15 дБм)
а) Диапазон регулирования мощности в закрытой петле должен быть по крайней мере на ±24 дБ шире чем при открытой петле.
б) Интервал от окончания первого единичного бита управления мощностью, следующего за 100 последовательных нулевых битов управления, до момента начала уменьшения выходной мощности абонентской станции должен быть не более 20 мс.
в) Среднее значение скорости изменения выходной мощности при скорости передачи информации 1200 бит/с должно быть в пределах 1,6 ÷ 2,4 дБ за 20 мс.
4.2.4.5. Максимальная выходная мощность ВЧ передатчика (п. 10.4.5, IS-98).
Максимальная выходная мощность определяется как максимальная мощность, измеренная на антенном разъёме абонентской станции в режиме передачи.
Методика измерения:
Методика измерения, базирующаяся на сервисном программном обеспечении базовых и абонентских станций, приведена в п. 10.4.5.2 спецификации IS-98.
Параметры тестовых сигналов приведены в Табл. 4.2.4.5.1.
Схема измерений приведена на рис. 1.1.4 Приложения 1.
|
Ед. измерения |
Величина |
|
|
Ior |
дБм/1,23 МГц |
-105 |
|
Пилот Еc/Ior |
дБ |
-7 |
|
Трафик Еc/Ior |
дБ |
-7,4 |
Допустимое значение:
Максимальная выходная мощность для каждого класса абонентских станций (см. п. 6.1.2.1 спецификации IS-95) должна быть такой, чтобы максимальная эффективно излучаемая мощность (ЭИМ) станций, использующих антенны с усилением, рекомендованным производителем, находилась в пределах, указанных в Табл. 4.2.4.5.2.
При передаче на любом канале CDMA уровень побочных излучений, измеренных с разрешением 30 кГц в полосе 824 - 849 МГц, не должен превышать значений, указанных в Табл. 4.2.4.5.3.
|
ЭИМ нижний предел |
ЭИМ верхний предел |
|
|
I |
1 дБВт (1,25 Вт) |
8 дБВт (6,3 Вт) |
|
II |
-3 дБВт (0,5 Вт) |
4 дБВт (2,5 Вт) |
|
III |
-7 дБВт (0,2 Вт) |
0 дБВт (1,0 Вт) |
|
Макс. уровень побочных излучений |
|
|
Больше чем 900 кГц |
-42 дБн/30 кГц |
|
Больше чем 1,98 МГц |
-54 дБн/30 кГц |
4.2.4.6. Минимальное значение управляемой выходной мощности (п. 10.4.6, IS-98).
Минимальной управляемой выходной мощностью абонентской станции называется выходная мощность, измеренная на антенном разъёме, когда открытая и замкнутая петли управления мощностью индицируют минимальную мощность.
Методика измерения:
Методика измерения, базирующаяся на сервисном программном обеспечении базовых и абонентских станций, приведена в п. 10.4.6.2 спецификации IS-98.
Параметры тестовых сигналов приведены в Табл. 4.2.4.6.1. Схема измерений приведена на рис. 1.1.4 Приложения 1.
|
Ед. измерения |
Величина |
|
|
Ior |
дБм/1,23 МГц |
-25 |
|
Пилот Еc/Ior |
дБ |
-7 |
|
Трафик Еc/Ior |
дБ |
-7,4 |
Допустимое значение:
В обоих режимах с открытой и замкнутой петлях регулирования, установленных на минимум, средняя выходная мощность абонентской станции не должна превышать - 50 дБм/1,23 МГц в центральной части частотного канала CDMA.
4.2.4.7. Выходная мощность в дежурном режиме и в активные периоды режима передачи данных с переменной скоростью (п. 10.4.7, IS-98).
Мощность в дежурном режиме - это выходная мощность абонентской станции в режиме отсутствия передачи (т.е. в течение режима Инициализации абонентской станции, режима дежурного приёма и режима доступа к системе в периоды, когда станция не осуществляет попыток доступа). При работе в режиме передачи данных с переменной скоростью абонентская станция ведёт передачу на номинальном управляемом уровне мощности только в течение активных периодов. В течение пассивных периодов производится подавление излучаемой мощности.
Данный тест измеряет временную характеристику средней выходной мощности для одиночного активного периода (1,25 мс).
Методика измерения:
Методика измерения, базирующаяся на сервисном программном обеспечении базовых и абонентских станций, приведена в п. 10.4.7.2 спецификации IS-98. Параметры тестовых сигналов приведены в Табл. 4.2.4.7.1. Схема измерений приведена на рис. 1.1.4 Приложения 1.
|
Ед. измерения |
Величина |
|
|
Ior |
дБм/1,23 МГц |
-75 |
|
Пилот Еc/Ior |
дБ |
-7 |
|
Трафик Еc/Ior |
дБ |
-7,4 |
Допустимое значение:
Дежурный режим:
При выключенном передатчике уровень спектральной плотности мощности шума абонентской станции, измеренный на антенном разъёме с разрешением 1 МГц, должен быть не более - 61 дБм в полосе частот 824 ÷ 849 МГц.
Активный период:
При работе с активным и пассивным периодами изменение уровня выходной мощности во времени, усреднённое по крайней мере по 100 реализациям, должно укладываться в шаблон, приведённый на рис. 4.2.4.7.
Рис. 4.2.4.7. Шаблон огибающей мощности передатчика.
4.2.5.1. Побочные излучения, измеренные на антенном разъёме (п. 10.5.1, IS-98).
Побочные излучения на антенном разъёме - это излучения на частотах за полосой назначенного канала CDMA.
Данный тест измеряет побочные излучения в режиме непрерывной передачи и в режиме с активным периодом.
Методика измерения:
Методика измерения, базирующаяся на сервисном программном обеспечении базовых и абонентских станций, приведена в п. 10.5.1.2 спецификации IS-98. Схема измерений приведена на рис. 1.1.4 Приложения 1.
Допустимое значение:
Уровни побочных излучений не должны превышать указанных в Табл. 4.2.5.1.1. (Эти требования более жесткие, чем по «Нормам 18-85»).
|
Δf > 900 кГц при полосе измерения 30 кГц или Δf > 1,385 МГц при полосе измерения 1 МГц |
Δf > 1,98 МГц при полосе измерения 30 кГц или Δf ³ 2,465 МГц при полосе измерения 1 МГц |
|
|
Уровень паразитных излучений должен быть ниже чем хотя бы (а) или оба (б) и (в) |
(а) - 42 дБн/30 кГц |
(а) - 54 дБн/30 кГц |
|
(б) - 60 дБм/30 кГц |
(б) - 60 дБм/30 кГц |
|
|
(в) - 55 дБм/1 МГц |
(в) - 55 дБм/1 МГц |
4.2.5.2. Побочные излучения, оцененные измерителем напряженности электромагнитного поля (п. 10.5.2, IS-98).
Побочные излучения, оцениваемые измерителем напряженности электромагнитного поля - это излучения на частотах вне полосы назначенного канала, генерируемые или усиливаемые абонентской станцией и излучаемые корпусом и всеми цепями питания, управления и звукового тракта, подключенными к абонентской станции при условии, что передатчик нагружен на поглощающую нагрузку.
Методика измерения:
Методика измерения, базирующаяся на сервисном программном обеспечении базовых и абонентских станций, приведена в п. 10.5.2.2 спецификации IS-98. Схема измерений приведена на рис. 1.1.4 Приложения 1.
Допустимое значение:
Уровни побочных излучений не должны превышать указанных в Табл. 4.2.5.1.1.
● Должны быть обеспечены средства управления режимами питания абонентской станции (экономичный режим в состоянии ожидания вызова). Органы управления включением/выключением питания должны быть выполнены так, чтобы минимизировать случайное срабатывание.
● Должны быть предусмотрены органы управления для инициализации вызова.
● Должны быть предусмотрены органы управления для завершения вызова.
● При нажатии двух или более кнопок управления одновременно, или почти одновременно, информация с клавиатуры должна либо блокироваться, либо соответствовать кнопке, нажатой первой (выдача ложного кода должна быть исключена).
Средства индикации должны обеспечивать предупреждение пользователя о входящем вызове. Дополнительно, желательно обеспечить индикацию следующих состояний абонентской станции:
● Питание включено
● Станция в состоянии вызова
● Обслуживание невозможно
Должна поддерживаться 15-ти значная нумерация.
Пользователь должен быть защищен от воздействия акустического удара, т.е. уровень громкости не должен превышать 120 дБ (ГОСТ 7153-85 «Аппараты телефонные общего применения. Общие технические требования»).
Экстремальными условиями называются одновременное воздействие повышенной/пониженной рабочей температуры и максимального/минимального напряжения источника электропитания.
Диапазоном рабочих температур и напряжений питания называется диапазон температур окружающей среды и напряжений питания, при которых мобильная станция сохраняет работоспособность и отвечает настоящим техническим требованиям. Температура окружающей среды - это средняя температура окружающего мобильную станцию воздуха. Напряжение питания - это напряжение, прикладываемое к входным клеммам питания абонентской станции. Диапазон рабочих температур и напряжений должен определяться техническими условиями на оборудование. Для того чтобы обеспечить удобные способы для производителей обозначать температурный диапазон, который согласуется с требованиями данных технических требований, введены буквенные обозначения, приведённые в Табл. 4.4.1.1.
|
Диапазон |
|
|
А |
-40 °С ÷ +70 °С |
|
В |
-30 °С ÷ +60 °C |
Методы измерения:
Абонентская станция должна быть установлена в нормальной конфигурации (т.е. полностью смонтированная в нормальной комплектации) и помещена в термокамеру. Термокамера должна быть стабилизирована на верхней рабочей температуре, устанавливаемой техническими условиями на оборудование, при этом питание абонентской станции осуществляется в диапазоне напряжений, устанавливаемом техническими условиями, но не менее ±10 % от номинального. Испытания проводятся без принудительной циркуляции воздуха внутри термокамеры. Перечень измеряемых параметров приведён ниже.
Далее термокамера должна быть стабилизирована на комнатной температуре и проведены повторные измерения.
После этого термокамера стабилизируется на нижней рабочей температуре и повторяются измерения при вариациях питающего напряжения.
Допустимое значение:
В экстремальных условиях должны удовлетворять нормативным значениям следующие параметры абонентской станции:
1. Чувствительность приёмника и динамический диапазон по п. 4.1.4.1.
2. Стабильность частоты по п. 4.2.1.
3. Коэффициент качества формы сигнала по п. 4.2.3.2.
4. Диапазон выходной мощности при открытой петле регулирования 4.2.4.1.
Выходная мощность абонентской станции должна сохраняться в диапазоне, установленном в Табл. 4.4.1.2.
|
Ед. Измерения |
Тест 1 |
Тест 2 |
Тест 3 |
|
|
Класс I, II, III |
дБм/1,23 МГц |
-48 + 9,5/-12,5 |
-8 + 9,5/-12,5 |
от 16 до max |
где max означает выходную мощность, которая обеспечивает максимально допустимую ЭИМ абонентских станций, использующих антенны с усилением, указанным в технических условиях.
5. Диапазон выходной мощности при замкнутой петле регулирования по п. 4.2.4.4.
6. Максимальная выходная мощность передатчика по п. 4.2.4.5.
7. Минимальная управляемая выходная мощность по п. 4.2.4.6.
8. Побочные излучения, измеренные на антенном разъёме по п. 4.2.5.1.
Термин «повышенная влажность» обозначает относительную влажность, при которой абонентская станция сохраняет работоспособность с установленными характеристиками.
Методика измерения:
Мобильная станция после тестирования в нормальных условиях помещается во включённом состоянии в камеру влажности с влажностью 0,024 г. Н2О/1 г сухого воздуха при 50 °С (40 % относительной влажности) и выдерживается в ней не менее 8 час.
После этого проводятся испытания по п. 4.1.4.1 (чувствительность приёмника и динамический диапазон) и по п. 4.2.3.2 (коэффициент качества формы сигнала).
Регулировка абонентской станции в течение теста не допускается.
Далее станция вынимается, выдерживается 6 часов в нормальных условиях и тестируется по всем пунктам разделов 4.1 и 4.2 настоящих требований.
Допустимое значение:
Оборудование абонентской станции должно отвечать техническим требованиям, изложенным в п. 4.1.4.1 и п. 4.2.3.2, в течение испытаний в условиях повышенной влажности. После выдержки в нормальных условиях абонентская станция должна отвечать требованиям, изложенным в разделах 4.1 и 4.2 настоящих требований.
Устойчивость к вибрации - это способность абонентской станции сохранять установленные механические и электрические характеристики после вибрационных воздействий.
Методика измерения:
Абонентская станция подвергается воздействию синусоидальной вибрации с ускорением 1,5 g в диапазоне частот 5 ÷ 500 Гц со скоростью изменения частоты 0,1 октава/с последовательно в трёх плоскостях для одного свипирования от низшей частоты к высшей и одного свипирования от высшей к низшей.
Допустимое значение:
Абонентская станция должна отвечать требованиям, изложенным в разделах 4.1 и 4.2, после описанного выше вибрационного теста.
Устойчивость к ударным нагрузкам - это способность абонентской станции сохранять установленные механические и электрические характеристики.
Методика измерения:
Абонентская станция должна быть подвергнута механическим ударам с длительностью ударных импульсов от 5 до 10 мс с пиковым ударным ускорением 147 м/с2 при общем количестве ударов не менее 60.
Допустимое значение:
Абонентская станция после ударных тестов должна отвечать настоящим требованиям, изложенным в разделах 4.1 и 4.2, и не иметь механических повреждений.
4.5.1.1. Требования к основному оборудованию
Оборудование должно быть комплектным и любые необходимые регулировки должны быть выполнены в соответствии с инструкцией производителя для требуемого режима работы. Когда используются альтернативные режимы работы, оборудование должно быть скомплектовано и отрегулировано в соответствии с инструкцией. Для каждого режима работы должна быть выполнена полная серия измерений.
4.5.1.2. Требования к дополнительному оборудованию.
Абонентская станция может включать дополнительное оборудование в течение испытаний, если это оборудование обычно используется для работы. Для абонентской станции это могут быть: источники питания, чехлы, зарядные устройства, кабели управления, кабели для подключения батарей и т.д.
Нормальные условия проведения испытаний соответствуют следующим значениям параметров окружающей среды:
- температура: +15 °С ÷ +35 °С
- относительная влажность: 45 - 75 %
- атмосферное давление: 86 - 106 кПа. (860 - 1060 мм. рт. ст.)
4.5.3.1. Общие требования
Испытания должны проводиться с источниками, установленными или рекомендованными производителем, либо эквивалентными им по напряжению, внутреннему импедансу и ёмкости.
4.5.3.2. Требования к испытаниям при питании от источника постоянного тока
Номинальное напряжение источника питания постоянного тока, используемого при испытаниях, должно быть равно номинальному напряжению аккумуляторной батареи минус потери в кабеле питания, установленные производителем как типичные для данной комплектации абонентской станции.
Также должны проводиться испытания оборудования при ожидаемых в процессе эксплуатации напряжениях на аккумуляторной батарее (ниже и выше номинального).
В течение серии испытаний напряжение питания не должно меняться более чем на ±2 % от номинального значения.
4.5.3.3. Требования к испытаниям при питании от источника переменного тока
Для оборудования с питанием от сети переменного тока номинальное напряжение при испытаниях должно быть равно номинальному напряжению питания, установленному производителем. Если оборудование работает при различных входных напряжениях, испытания проводятся при одном назначенном. В течение испытаний напряжение и частота питающего тока не должны отличаться от номинального более чем на ±2 %.
Оборудование должно работать без ухудшения параметров при вариациях входного напряжения питания ±10 % и должно сохранять стабильность частоты передатчика при изменении напряжения питания ±15 %. Пределы изменения частоты питающего тока устанавливаются производителем.
При пользовании портативной абонентской станцией, со встроенной в микротелефонную трубку антенной, допустимые значения ЭМП определяются мощностью радиопередатчика станции. Величина мощности должна соответствовать значениям, приведённым в Табл. 4.2.4.5.2 раздела 4.2.4.5.
В состав базовой станции входят приёмо-передающее оборудование и оборудование управления (контроллер). В настоящих технических требованиях в соответствии с общепринятыми правилами приводятся раздельные требования к приемнику и передатчику, которые функционируют под управлением контроллера.
Частота, присвоенная приёмнику базовой станции, должна находиться в строгом соответствии с частотой, присвоенной системе CDMA. Приемник базовой станции может быть настроен на одну фиксированную частоту либо может перекрывать весь диапазон доступных частот. Базовая станция должна поддерживать первичный либо вторичный каналы CDMA, либо оба этих канала.
Степень успешного завершения попыток доступа абонентской станции измеряется вероятностью (коэффициентом) отказа от обслуживания при заданных значениях Eb/No на входе приёмника базовой станции.
Методика измерения:
Методика измерения, базирующаяся на сервисном программном обеспечении базовых и абонентских станций, приведена в п. 9.2.2 спецификации IS-97. Схема измерений приведена на рис. 1.1.5 Приложения 1.
Допустимое значение:
Коэффициент отказа при попытках доступа с доверительной вероятностью 90 % не должен превышать максимальных значений, приведенных в Табл. 5.1.2.
Таблица 5.1.2
Максимальные коэффициенты отказа при попытках доступа.
|
Отношение сигнал/шум (Еb/No) на радиочастотном входе приемника (дБ) |
Максимальный коэффициент отказа |
|
5,5 |
0,5 |
|
6,5 |
0,1 |
Здесь:
Еb - энергия бита принимаемой информации
No - спектральная плотность шума
При демодуляции сигнала в приемнике БС вычисляется коэффициент ошибок FER, который определяет процент не принятых кадров информации по отношению к общему числу переданных кадров в обратном канале трафика при разных условиях приема.
5.1.3.1. Характеристики в аддитивном шуме (обратный канал трафика) (n. 9.3.1, IS-97).
Характеристика демодуляции обратного канала трафика в аддитивном шуме (не в условиях замираний либо многолучёвости) оценивается через коэффициент искажённых кадров (FER) при заданных значениях Еb/Nо. FER вычисляется для каждой из четырёх возможных скоростей передачи данных.
Коэффициент ошибок FER с достоверной вероятностью 95 % не должен превышать величины, которая определяется Табл. 5.1.3-1.
Примечание: Объём испытаний, обеспечивающий заданную доверительную вероятность, определяется по методике, приведённой в Приложении 2.
Методика измерения:
Методика измерения, базирующаяся на сервисном программном обеспечении базовых и абонентских станций, приведена в п. 9.3.1.2 спецификации IS-97. Схема измерений приведена на рис. 1.1.5 Приложения 1.
Допустимое значение:
Коэффициент искажённых кадров FER при демодуляции в приемнике в условиях аддитивного шума не должен превышать значений, полученных из Табл. 5.1.3-1 путем интерполяции величин для нижнего и верхнего значений отношения Eb/Nо. Интерполяция производится по логарифмическому закону в масштабе децибел согласно выражению:
![]()
Предельные значения FER для тестирования характеристик демодуляции приемника в аддитивном шуме.
|
Предельные значения FER (%) |
||
|
(FER)н |
(FER)в |
|
|
При нижнем значении (Еb/Nо)н = 5,5 дБ |
При верхнем значении (Еb/No)в = 6,1 дБ |
|
|
9600 |
4,2 |
0,4 |
|
4800 |
7,0 |
0,8 |
|
2400 |
49 |
5,7 |
|
1200 |
49 |
9,7 |
5.1.3.2. Характеристики в условиях замираний, обусловленных многолучевым распространением (обратный канал трафика) (п. 9.3.2, IS-97).
Характеристика демодуляции обратного канала трафика в условиях замираний, обусловленных многолучевым распространением, оценивается через коэффициент искажённых кадров (FER) при заданных значениях Еb/No. FER вычисляется для каждой из четырех возможных скоростей передачи данных и для трёх возможных стандартных конфигураций имитатора канала, приведённых в Табл. 5.1.3-2.
Таблица 5.1.3-2
Стандартные конфигурации имитатора канала.
|
Скорость передвижения абонентской станции |
Число лучей |
Мощность 2-го луча относительно 1-го |
Мощность 3-го луча относительно 1-го |
Задержка 1-го луча |
Задержка 2-го луча |
Задержка 3-го луча |
|
|
1 |
8 км/ч |
2 |
0 дБ |
- |
0 мкс |
2,0 мкс |
- |
Методика измерения:
Методика измерения, базирующаяся на сервисном программном обеспечении базовых и абонентских станций, приведена в п. 9.3.2.2 спецификации IS-97. Схема измерений приведена на рис. 1.1.6 Приложения 1.
Допустимое значение:
Коэффициент искажённых кадров FER, измеренный с доверительной вероятностью 95 %, в условиях стандартной конфигурации № 1 имитатора канала (Табл. 5.1.3-2) не должен превышать значений, приведенных в Табл. 5.1.3-3.
Примечание: Объём испытаний, обеспечивающий заданную доверительную вероятность, определяется по методике, приведённой в Приложении 2.
Допустимый коэффициент искаженных кадров FER при демодуляции обратного канала в условиях многолучевой стандартной конфигурации № 1 имитатора канала.
|
Коэффициент искажённых кадров (%) |
||
|
(FER)н |
(FER)в |
|
|
При нижнем значении (Еb/Nо)н = 14,9 дБ |
При верхнем значении (Еb/Nо)в = 15,5 дБ |
|
|
9600 |
1,3 |
0,8 |
|
4800 |
1,3 |
0,8 |
|
2400 |
1,9 |
1,2 |
|
1200 |
2,0 |
1,1 |
При значениях отношения сигнал/шум (Еb/No) в пределах (Еb/No)н < (Еb/No) < (Еb/No)в коэффициент искажённых кадров FER не должен превышать величины, которая определяется путем интерполяции с помощью нижеследующего выражения
![]()
5.1.4.1. Чувствительность приемника (п. 9.4.1, IS-97).
Чувствительность приемника базовой станции - это минимальный уровень сигнала на входе приемника, при котором коэффициент искажённых кадров FER в обратном канале трафика не превышает 1 %.
Методика измерения:
Методика измерения, базирующаяся на сервисном программном обеспечении базовых и абонентских станций, приведена в п. 9.4.1.2 спецификации IS-97. Схема измерений приведена на рис. 1.1.5 Приложения 1.
Допустимое значение:
Чувствительность приемника должна быть не хуже -117 дБм при FER £ 1,0 % с доверительной вероятностью 95 %.
Примечание: Объём испытаний, обеспечивающий заданную доверительную вероятность, определяется по методике, приведённой в Приложении 2.
5.1.4.2. Динамический диапазон приемника (п. 9.4.2, IS-97).
Динамический диапазон приёмника - это диапазон входных мощностей на радиочастотном входе базовой станции, при котором величина FER не превышает заданного значения. Нижнее значение этого диапазона - это чувствительность приемника, измеренная по п. 5.1.4.1 настоящих требований. Его верхнее значение - это максимально допустимая суммарная мощность на радиочастотном входе, при которой величина FER не превышает 1,0 %.
Методика измерения:
Методика измерения, базирующаяся на сервисном программном обеспечении базовых и абонентских станций, приведена в п. 9.4.2.2 спецификации IS-97. Схема измерений приведена на рис. 1.1.5 Приложения 1.
Допустимое значение:
В условиях оговоренной методики измерения коэффициент искажённых кадров FER не должен превышать 1,0 % с доверительной вероятностью 95 %.
Примечание: Объём испытаний, обеспечивающий заданную доверительную вероятность, определяется по методике, приведённой в Приложении 2.
5.1.4.3. Ослабление чувствительности к синусоидальной помехе (п. 9.4.3, IS-97)
Ослабление чувствительности к синусоидальной помехе - это способность приёмника принимать сигналы системы с CDMA на присвоенной канальной частоте в присутствии синусоидальной помехи, которая смещена от центральной частоты канала. Этот параметр измеряется как избирательность, которая определяется через отношение мощности мешающей синусоидальной помехи к мощности сигнала, при котором система управления мощностью по замкнутой петле повышает мощность, излучаемую абонентской станцией, на 3 дБ. Мощность сигнала, используемая в данных расчётах, соответствует случаю отсутствия помех.
Методика измерения:
Методика измерения, базирующаяся на сервисном программном обеспечении базовых и абонентских станций, приведена в п. 9.4.3.2 спецификации IS-97. Схема измерений приведена на рис. 1.1.7 Приложения 1.
Допустимое значение:
При смещении на ±900 кГц выходная мощность имитатора абонентской станции должна увеличиться не более чем на 3 дБ, a FER не должен превышать 1,5 % с доверительной вероятностью 95 %. При смещении на ±750 кГц выходная мощность имитатора абонентской станции должна увеличиться не более чем на 3 дБ, a FER не должен превышать 1,5 % с доверительной вероятностью 95 %. Требование к оценке чувствительности при смещении на ±750 кГц применимо в том случае, когда по соседству с каналом CDMA предполагается работа системы AMPS на расстоянии ±750 кГц.
Примечание: Объём испытаний, обеспечивающий заданную доверительную вероятность, определяется по методике, приведённой в Приложении 2.
5.1.4.4 Ослабление продуктов интермодуляции (n. 9.4.4, IS-97).
Ослабление продуктов интермодуляции - это способность приемника CDMA обеспечивать требуемое качество работы в условиях воздействия на его вход 2-х интерферирующих синусоидальных сигналов, частоты которых расставлены так, что при наличии нелинейности в приемном тракте они могут в полосе полезного сигнала создать комбинационные продукты 3-го порядка. Ослабление продуктов интермодуляции определяется через отношение мощности интерферирующего синусоидального сигнала к мощности сигнала, при котором система управления мощностью по замкнутой петле повышает мощность имитатора абонентской станции на 3 дБ.
Методика измерения:
Методика измерения, базирующаяся на сервисном программном обеспечении базовых и абонентских станций, приведена в п. 9.4.4.2 спецификации IS-97. Схема измерений приведена на рис. 1.1.8 Приложения 1.
Допустимое значение:
Выходная мощность имитатора абонентской станции должна увеличиться не более чем на 3 дБ, a FER не должен превышать 1,5 % с доверительной вероятностью 95 %.
Примечание: Объём испытаний, обеспечивающий заданную доверительную вероятность, определяется по методике, приведённой в Приложении 2.
5.1.5.1. Побочные излучения, измеренные на антенном разъеме (п. 9.5.1, IS-97)
Побочные излучения, измеренные на антенном разъёме - это побочные излучения, генерируемые либо усиливаемые в оборудовании базовой станции.
Методика измерения:
Методика измерения, базирующаяся на сервисном программном обеспечении базовых и абонентских станций, приведена в п. 9.5.1.2 спецификации IS-97.
Допустимое значение:
Уровень побочных излучений при измерительной полосе анализатора спектра 30 кГц не должен превышать:
1) -80 дБм в полосе частот (824 - 849) МГц (диапазон частот приема БС)
2) -60 дБм в полосе частот (869 - 894) Мгц (диапазон частот передачи БС)
3) -47 дБм в полосе частот от 1 Мгц до 2600 Мгц (за исключением полос частот приема и передачи БС)
5.1.5.2. Побочные излучения, оцененные измерителем напряженности электромагнитного поля (п. 9.5.2, IS-97).
Испытания проводятся для приемника и передатчика БС, работающих совместно, см. п. 5.2.6 настоящих требований.
Качество принимаемого сигнала CDMA оценивается через отношение сигнал/шум Еb/No, где Еb - энергия бита, a No - усредненная спектральная плотность шума и принимаемой помехи в полосе сигнала 1,23 Мгц
(No = Суммарная мощность шума и помехи / 1,23 Мгц)
Результат измерения используется для сравнения качества приема разными базовыми станциями.
Результат измерения (RSSI) фиксируется в виде шестиразрядного двоичного тела без указания знака следующим образом:
RSSI = 0 если (Еb/No) <= 1
RSSI = 63 если (Еb/No) >= 103,15(31,5 дБ)
RSSI = 20 log10(Еb/No) в остальных случаях (округляется до целого числа)
Методика измерения:
Методика измерения, базирующаяся на сервисном программном обеспечении базовых и абонентских станций, приведена в п. 9.6.2 спецификации IS-97. Схема измерений приведена на рис. ? Приложения 1.
Допустимое значение:
Значение RSSI должно фиксироваться в пределах, которые приведены в Табл. 5.1.6-1
Допустимые пределы значений RSSI
|
Еb/No на антенном входе (дБ) |
Минимально допустимая величина |
Максимально допустимая величина |
|
4 |
10 |
18 |
|
5 |
12 |
20 |
|
6 |
14 |
22 |
|
7 |
16 |
24 |
|
8 |
18 |
26 |
|
9 |
20 |
28 |
|
10 |
22 |
30 |
|
11 |
24 |
32 |
|
12 |
26 |
34 |
|
13 |
28 |
36 |
|
14 |
30 |
38 |
Для (Еb/No) > 14 дБ значения RSSI должны быть монотонными и неубывающими.
Частота, присвоенная приёмнику базовой станции, должна находиться в строгом соответствии с частотой, присвоенной передатчику в системе CDMa. Передатчик базовой станции может быть настроен на одну фиксированную частоту либо может перекрывать весь диапазон доступных частот. Базовая станция должна поддерживать первичный либо вторичный каналы CDMA, либо оба этих канала.
Для всего диапазона рабочих температур средняя величина расхождения между фактический частотой несущей передатчика CDMA и её присвоенным номинальным значением не должна быть более, чем ±5 ´ 10-8 относительно присвоенного значения (±0,05 р.р.m.).
Требования к форме сигнала устанавливаются посредством измерения коэффициента качества формы сигнала ρр, как это определено в п. 1.2.7.1 и коэффициента мощности в кодовой ρi области, как это определено в п. 1.2.7.2 Приложения 1.
Качество формы передаваемого сигнала можно рассматривать как качество сигнала на выходе нормализованного идеального согласованного фильтра. Диапазон значений качества формы передаваемого сигнала варьируется от 1,0 для идеальной формы сигнала CDMA до 0,0 для сигнала, форма которого далека от требуемой.
5.2.2.1. Синхронизация и установка временных соотношений (n. 10.3.1, IS-97).
5.2.2.1.1. Допустимое отклонение времени по пилот-сигналу (п. 10.3.1.1, IS-97).
Каждая базовая станция должна использовать эталонное время при установке всех временных соотношений в передаваемом сигнале (псевдослучайные пилот-последовательности, кадры, функции Уолша). Эталонное время должно синхронизироваться сигналами Системного Времени CDMA (CDMA System Time), которое использует временную шкалу Системы Глобального Позиционирования (Global Positioning System - GPS, Рекомендация МСЭ-Р М.1088). Система Глобального Позиционирования синхронизирует универсальное Скоординированное Время (Universal Coordinated Time - UTC). Системное Время фиксирует сигналы коррекции универсального Скоординированного Времени, но не использует их для физической коррекции часов Системного Времени.
Каждая базовая станция должна иметь надежные внешние источники синхронизации с Системным Временем CDMA. Стабильность собственного генератора должна быть достаточна, чтобы синхронизироваться Системным Временем. При отключении внешнего источника Системного Времени расхождение Эталонного Времени базовой станции и Системного Времени не должно превышать ±10 мкс за 8 часов.
Пилот-сигналы времени, которые передаются базовой станцией, служат для оценки Системного Времени на радиочастотном выходе базовой станции. Ошибка коррекции времени по пилот-сигналу - это разница между измеренным временем пилот-сигнала и ожидаемым Системным Временем CDMA.
Методика измерения:
Методика измерения, базирующаяся на сервисном программном обеспечении базовых и абонентских станций, приведена в п. 10.3.1.1.2 спецификации IS-97. Схема измерений приведена на рис. 1.1.9 Приложения 1.
Допустимое значение:
Ошибка времени по пилот-сигналу не должна превышать 10 мкс и, по возможности, должна быть меньше 3 мкс.
Если базовая станция одновременно передает несколько сигналов CDMA, то расхождение по времени между этими сигналами не должно быть больше ±1 мкс.
5.2.2.1.2. Допустимое отклонение времени между пилот-сигналом и другими кодовыми сигналами в прямом канале (п. 10.3.1.2, IS-97).
Методика измерения:
Методика измерения, базирующаяся на сервисном программном обеспечении базовых и абонентских станций, приведена в п. 10.3.1.2.2 спецификации IS-97. Схема измерения приведена на рис. 1.1.10 Приложения 1.
Допустимое значение:
Время задержки между пилот-сигналом (пилот-каналом) и другими кодовыми сигналами (кодовыми каналами) одного прямого канала CDMA не должно быть больше ±50 нс.
5.2.2.1.3. Допустимое отклонение фазы между пилот-сигналом и другими кодовыми ВЧ сигналами в прямом канале (п. 10.3.1.3, IS-97).
Методика измерения:
Методика измерения, базирующаяся на сервисном программном обеспечении базовых и абонентских станций, приведена в п. 10.3.1.3.2 спецификации IS-97. Схема измерений приведена на рис. 1.1.10 Приложения 1.
Допустимое значение:
Разница фаз между ВЧ сигналом пилот-канала и любыми другими ВЧ сигналами других кодовых каналов в одном прямом канале CDMA не должна быть больше 0,05 радиан.
Качество сигнала определяется величиной коэффициента формы сигнала.
Методика измерения:
Методика измерения, базирующаяся на сервисном программном обеспечении базовых и абонентских станций, приведена в п. 10.3.2.2 спецификации 1S-97. Схема измерений приведена на рис. 1.1.9 Приложения 1.
Допустимое значение:
Коэффициент качества формы сигнала должен быть не менее 0,912.
Подканал управления мощностью постоянно существует в Прямом Канале Трафика. Биты управления («0» или «1») передаются каждые 1,25 мс. «0» означает увеличение выходной мощности, «1» - уменьшение мощности.
При испытаниях должна быть проверена правильность функционирования бит управления, их положение, задержка и амплитуда.
Методика измерения:
Методика измерения, базирующаяся на сервисном программном обеспечении базовых и абонентских станций, приведена в п. 10.3.3.2 спецификации IS-97. Схема измерений приведена на рис. 1.1.5 Приложения 1.
Допустимое значение:
На рис. 5.2.4-1 и 5.2.4-2 показаны временные соотношения в подканале управления.
Рис. 5.2.4-1 Интервалы команд увеличения мощности АС
Рис. 5.2.4-2 Интервалы команд уменьшения мощности АС
Интервалы b-с и c-d (Рис. 5.2.4-1) - это 2-ой и 3-ий интервалы, которые предназначены для передачи команд управления мощностью АС после снижения мощности АС.
Интервалы f-g и g-h (Рис. 5.2.4-2) - это 2-ой и 3-ий интервалы, которые предназначены для передачи команд управления мощностью АС после возрастания мощности АС.
Из всех бит, которые передаются базовой станцией (БС) в интервалах b-с и c-d, не менее 70 % должны быть битами увеличения мощности.
Из всех бит, которые передаются БС в интервалах f-g и g-h не менее 90 % должны быть битами уменьшения мощности.
5.2.5.1. Средняя мощность, выделяемая на эквиваленте антенной нагрузки (п. 10.4.1, IS-97).
Методика измерения:
Методика измерения, базирующаяся на сервисном программном обеспечении базовых и абонентских станций, приведена в п. 10.4.1.2 спецификации IS-97.
Допустимое значение:
Величина общей выходной мощности при всех условиях работы, приведенных в разделах 5.4.1 и 5.4.2, должна оставаться в пределах +2 дБ, -4 дБ от номинальной мощности, которая заявлена изготовителем.
5.2.5.2. Мощность пилот-сигнала (п. 10.4.3, IS-97)
Методика измерения:
Методика измерения, базирующаяся на сервисном программном обеспечении базовых и абонентских станций, приведена в п. 10.4.3.2 спецификации IS-97.
Допустимое значение:
Мощность пилот-сигнала определяется в дБ по отношению к общей мощности и должна быть (-7,0 ± 0,5) дБ.
5.2.5.3. Мощность сигналов в кодовых каналах (п. 10.4.4, IS-97)
Методика измерения:
Методика измерения, базирующаяся на сервисном программном обеспечении базовых и абонентских станций, приведена в п. 10.4.4.2 спецификации IS-97. Схема измерений приведена на рис. 1.1.10 Приложения 1.
Допустимое значение:
Мощность сигналов в каждом неактивном кодовом канале должна быть ниже общей выходной мощности не менее чем на 32 дБ.
5.2.6.1. Побочные излучения, измеренные на антенном разъёме (п. 10.5.1, IS-97).
Методика измерения:
Методики измерения, базирующаяся на сервисном программном обеспечении базовых и абонентских станций, приведена в п. 10.5.1.2 спецификации IS-97.
Допустимое значение:
Уровень побочных продуктов, измеренный с разрешением в 30 кГц, должен быть ниже среднего уровня выходной мощности на величину Табл. 5.2.6-1.
Допустимый уровень побочных излучений
|
Уровень побочных излучений, измеренных в полосе 30 кГц |
|
|
1) Диапазон сотовой связи |
|
|
В диапазоне частот (869 - 894) Мгц на частотах, выделенных оператору системы связи |
|
|
- при смещении частоты > 750 кГц относительно центральной частоты канала CDMA |
<= -45 дБ |
|
- при смещении частоты > 1,98 МГц |
<= 60 дБ |
|
На частотах, не предоставленных оператору |
<= 60 дБ, но не более 50 мкВт (-13 дБм) |
|
На всех остальных частотах в диапазоне частот от 1 Мгц до 10 f0 (кроме диапазона указанного выше) (f0 - несущая частота канала передачи CDMA) |
<= 60 дБ, но не более 50 мкВт (-13 дБм) |
5.2.6.2. Побочные излучения, оцененные измерителем напряженности электромагнитного поля (п. 10.5.2, IS-97)
Методика измерения:
Методика измерения, базирующаяся на сервисном программном обеспечении базовых и абонентских станций, приведена в п. 10.5.2.2 спецификации IS-97.
Допустимое значение:
Уровень побочных излучений не должен превышать значений, приведенных в Табл. 5.2.6-1 в разделе 5.2.6.1.
Занимаемая полоса частот канала CDMA определяется минимальной частотной расстройкой от номинального значения несущей частоты, при которой уровень спектральных составляющих модулированного сигнала по крайней мере на 45 дБ меньше уровня средней мощности излучаемого сигнала.
Методика измерения:
Методика измерения, базирующаяся на сервисном программном обеспечении базовых и абонентских станций, приведена в п. 10.5.1.2 спецификации IS-97 при условии, что в последнем (четвёртом) пункте этой методики измеряются только составляющие спектра, отстоящие от центральной частоты канала на ±750 кГц.
Допустимое значение:
Уровень спектральных составляющих модулированного сигнала, измеренный в полосе 30 кГц, на частотах, отстоящих от несущей на ±750 кГц, должен быть по крайней мере на 45 дБ ниже среднего уровня мощности выходного сигнала.
1. Внешняя синхронизация оборудования подсистемы базовых станций (базовых станций БС и контроллера базовых станций КБС) необходима для поддержания актовой синхронизации в радиоканале и линии связи БС-КБС и для взаимной синхронизации «длинных» кодов, назначенных БС.
2. В качестве источника внешней синхронизации должна использоваться отечественная спутниковая радионавигационная система ГЛОНАСС.
Допускается использование американской спутниковой радионавигационной системы GPS в качестве резерва при условии обеспечения приоритетного использования сигналов системы ГЛОНАСС в комбинированных приемниках ГЛОНАСС/GPS.
3. Приемники ГЛОНАСС (либо комбинированные приемники ГЛОНАСС/GPS) отечественного производства, входящие в состав оборудования подсистемы базовых станций, должны выпускаться российской фирмой производителем в соответствии с техническим заданием, согласованным с ФСБ России и Минсвязи России.
4. Приемники ГЛОНАСС (либо комбинированные приемники ГЛОНАСС/GPS) зарубежного производства, входящие в состав оборудования подсистемы базовых станций, должны иметь заключение по безопасности от ФСБ России.
5. При наличии в оборудовании подсистемы базовых станций комбинированного приемника ГЛОНАСС/GPS по заданию оператора должна обеспечиваться работа оборудования только в режиме ГЛОНАСС.
6. В оборудовании подсистемы базовых станций должна быть предусмотрена непрерывная индикация текущего режима работы оборудования (ГЛОНАСС либо ГЛOHACC/GPS).
Аппаратура базовой станции может питаться как от сети переменного тока, так и от источников постоянного тока.
При питании от сети переменного тока (ГОСТ 5237-83) аппаратура должна быть работоспособной в диапазоне напряжений (187 - 242) В при частоте сети питания 50 ± 2,5 Гц.
При питании от внешнего источника постоянного тока номинальное напряжение и диапазон допустимых напряжений определяются изготовителем.
В качестве внешних источников могут быть либо источник вторичного питания, либо аккумуляторные батареи, которые должны иметь сертификат Российской Федерации.
Для обеспечения надёжного функционирования оборудование базовой станции должно иметь систему автоматического резервирования электропитания. Система должна осуществлять переключение основного и резервного источников без нарушения текущих вызовов.
Экстремальными условиями называются одновременное воздействие повышенной/пониженной рабочей температуры и максимального/минимального напряжения источника электропитания.
Диапазоном рабочих температур и напряжений питания называется диапазон температур окружающей среды и напряжений питания, при которых базовая станция сохраняет работоспособность и отвечает требованиям настоящих ОТТ. Температура окружающей среды - это средняя температура окружающего базовую станцию воздуха. Напряжение питания - это напряжение, прикладываемое к входным клеммам питания базовой станции.
Диапазон рабочих температур и напряжений должен определяться техническими условиями на конкретное оборудование.
Диапазон рабочих температур по ГОСТ 16019-78:
для оборудования, устанавливаемого в помещении +5 °С ÷ +40 °С;
для оборудования, устанавливаемого на открытом воздухе -25 °С ÷ +55 °С.
Методика измерения:
Базовая станция должна быть установлена в нормальной конфигурации (т.е. полностью смонтированная в нормальной комплектации) и помещена в термокамеру. Термокамера должна быть стабилизирована на верхней рабочей температуре, устанавливаемой техническими условиями на оборудование; при этом питание базовой станции осуществляется в диапазоне напряжений, устанавливаемом техническими условиями, но не менее ±10 % от номинального. Испытания проводятся без принудительной циркуляции воздуха внутри термокамеры. Перечень измеряемых параметров приведён ниже.
Далее термокамера должна быть стабилизирована на комнатной температуре и проведены повторные измерения.
После этого термокамера стабилизируется на нижней рабочей температуре и повторяются измерения при вариациях питающего напряжения.
Допустимое значение:
В экстремальных условиях должны удовлетворять нормативным значениям следующие параметры базовой станции:
1. Допустимое отклонение несущей частоты передатчика ±5 ´ 10-8 (п. 5.2.1.1).
2. Отклонение от номинального значения установки времени по пилот-сигналу ±10 мкс (п. 5.2.2.1).
3. Коэффициент качества формы сигнала ρ0 > 0,912 (п. 5.2.3).
4. Изменение выходной ВЧ мощности (п. 5.2.5.1).
Термин «повышенная влажность» означает относительную влажность, при которой базовая станция сохраняет работоспособность с установленными характеристиками.
Методика измерения:
Базовая станция после тестирования в нормальных условиях помещается во включенном состоянии в камеру влажности с влажностью 0,024 г. H2O/1 г сухого воздуха при 50 °С (40 % относительной влажности) и выдерживается в ней не менее 8 час.
После этого проводятся испытания по п. 5.2.1; 5.2.2.1; 5.2.3 и 5.2.5.1.
Регулировка базовой станции в течение теста не допускается.
Далее станция вынимается, выдерживается 6 часов в нормальных условиях и тестируется по всем пунктам разделов 5.1 и 5.2 настоящих требований.
Допустимое значение:
Оборудование базовой станции должно отвечать техническим требованиям, изложенным в п. 5.2.1; 5.2.2.1; 5.2.3 и 5.2.5.1 в течение испытаний в условиях повышенной влажности. После выдержки в нормальных условиях абонентская станция должна отвечать требованиям, изложенным в разделах 5.1 и 5.2 настоящих требований.
В соответствии с ГОСТ 16019-78 (Таблица 1 п. 1).
В соответствии с ГОСТ 16019-78 (Таблица 1 п. 11).
Длительность ударного импульса от 5 до 10 мс.
Число ударов в минуту от 40 до 80.
Пиковое ударное ускорение 49 м/с2 (не менее 10000 ударов).
98 м/с2 (не менее 2000 ударов); 245 м/с2 (не менее 1000 ударов).
Методика испытаний: ГОСТ 16019-78 п. 3.4.11.
5.6.1.1. Требования к основному оборудованию.
Оборудование должно быть комплектным и любые необходимые регулировки должны быть выполнены в соответствии с инструкцией производителя для требуемого режима работы. Когда возможны альтернативные режимы работы, оборудование должно быть скомплектовано и отрегулировано в соответствии с инструкцией. Для каждого режима работы должна быть выполнена полная серия измерений.
5.6.1.2. Требования к дополнительному оборудованию.
Базовая станция может включать дополнительное оборудование в течение испытаний, если это оборудование обычно используется для работы. Для базовой станции это могут быть: источники питания, контейнеры, антенные соединители и многовходовые соединители для приёмника.
Нормальные условия проведения испытаний соответствуют следующим значениям параметров окружающей среды:
- температура: +15 °С ÷ +35 °С
- относительная влажность: 45 - 75 %
- атмосферное давление: 86 - 106 кПа. (860 - 1060 мм. рт. ст.)
5.6.3.1. Общие требования
Стандартные значения напряжений при испытаниях должны быть такими, которые указаны в технических условиях на оборудование в качестве минимальных, нормальных и максимальных. Эти значения не должны отклоняться от указанных более чем на ±2 % в течение всей серии испытаний.
5.6.3.2. Требования к испытаниям при питании от источника постоянного тока.
Номинальное напряжение источника питания постоянного тока, используемого при испытаниях, должно быть равно номинальному напряжению аккумуляторной батареи минус потери в кабеле питания, установленные производителем как типичные для данной комплектации базовой станции. Также должны проводиться испытания оборудования при ожидаемых в процессе эксплуатации напряжениях на аккумуляторной батарее (ниже и выше номинального).
В течение серии испытаний напряжение питания не должно меняться более чем на ±2 % от номинального значения.
5.6.3.3. Требования к испытаниям при питании от источника переменного тока
Для оборудования с питанием от сети переменного тока номинальное напряжение при испытаниях должно быть равно ≈ 220 В. В течение испытаний напряжение и частота питающего тока не должны отличаться от установленного более чем на ±2 %.
Оборудование должно работать без ухудшения параметров при вариациях входного напряжения питания 220 ±10 % и должно обеспечивать заданную стабильность частоты передатчика при изменении напряжения питания ±15 %. Частота питающего тока 50 Гц.
Требования к уровню радиочастотных электромагнитных полей на рабочих местах обслуживающего персонала должны соответствовать ГОСТ 12.1.006-84. Предельно допустимая величина энергетической нагрузки при воздействии ЭМП на организм человека не должна превышать за одну смену работы 200 мкВт час/см2.
Максимальное значение плотности потока энергии не должно превышать 1000 мкВт/см2.
Плотность потока ЭМП вне помещения базовой станции в местах, доступных для посторонних лиц («Временные санитарные нормы и правила зашиты населения от воздействия ЭМП, создаваемых радиотехническими объектами», Москва, 1984) не должна превышать 10 мкВт/см2.
Настоящие Технические требования распространяются на недемодулирующие ретрансляторы без переноса частоты.
Недемодулируюший ретранслятор без переноса частоты представляет собой двунаправленный полосовой усилитель с полосой пропускания, равной или меньшей системной полосе CDMA 828 - 831 МГц (от абонентской станции (АС) к базовой станции (БС)) 873 - 876 МГц (от БС к АС).
Ретрансляторы этого типа применяются преимущественно для улучшения зоны покрытия БС и не требуют дополнительных частотных ресурсов.
Структурная схема ретранслятора приведена на рис. 6.1.
Технические требования приведены в разделе 6.2.
Рис. 6.1. Структурная схема недемодулирующего ретранслятора
Ретранслятор должен обеспечивать прием и передачу сигналов в пределах диапазонов частот: 828 - 831 МГц и 873 - 876 МГц.
Примечание: Полоса рабочих частот ретранслятора устанавливается (программируется или обеспечивается дополнительными техническими действиями) оператором по согласованию с частотным органом России.
Максимальная выходная мощность ретранслятора не должна превышать максимальной мощности базовых станций (п. 5.2.5.1, ОТТ на оборудование CDMA).
Коэффициент усиления должен устанавливаться (программироваться) оператором для обеспечения устойчивой работы ретранслятора (без самовозбуждения).
Диапазон регулировки усиления устанавливается производителем и указывается в технических условиях.
Динамический диапазон входного сигнала ретранслятора устанавливается в технических условиях на конкретный ретранслятор.
Уровень побочных излучений, измеренный с разрешением 30 кГц, должен быть ниже среднего уровня выходной мощности на величину, приведённую в Таблице 6.1.
|
Диапазон частот |
Уровень побочных излучений, измеренных в полосе 30 кГц |
|
|
1) |
В диапазоне частот системы связи (824 - 834 МГц и 869 - 879 МГц): |
|
|
- при смещении частоты более чем на 750 кГц относительно центральной частоты канала CDMA; |
не более -45 дБ |
|
|
- при смещении частоты более чем на 1,98 МГц относительно центральной частоты канала CDMA; |
не более -60 дБ |
|
|
- на частотах не предоставленных оператору |
не более -60 дБ (но не более -13 дБм (50 мкВ)) |
|
|
2) |
На остальных частотах в диапазоне частот от 1 МГц до 10 f0 |
не более -60 дБ (но не более -13 дБм (50 мкВ)) |
Требования к допустимому коэффициенту усиления внеполосных сигналов распространяются на диапазон частот 9 кГц - 12,75 ГГц, за исключением рабочего диапазона частот ретранслятора.
Усиление внеполосных сигналов в направлениях «ретранслятор - АС» и «ретранслятор - БС» при максимальном коэффициенте усиления должно быть не более:
50 дБ - на частотах 400 кГц и более от границ рабочего диапазона;
40 дБ - на частотах 600 кГц и более от границ рабочего диапазона;
35 дБ - на частотах 1 МГц и более от границ рабочего диапазона;
25 дБ - на частотах 5 МГц и более от границ рабочего диапазона.
6.2.6.1. Измерение полосы рабочих частот и усиления внеполосных сигналов производить следующим образом:
- собрать схему, приведенную на рис. 1.1.11 Приложения 1;
- установить заданную рабочую полосу частот ретранслятора;
- установить максимальный коэффициент усиления;
- коммуникационный тестер установить в режим измерения амплитудно-частотных характеристик (АЧХ);
- определить полосу усиления на уровне минус 3 дБ;
- определить коэффициент усиления внеполосных сигналов как разницу между уровнем, по которому определена полоса усиления, и линией АЧХ.
Измерения проводить при нормальных условиях. Требования к средствам измерений приведены в п. 1.2.9, п. 1.2.3 и п. 1.2.4 Приложения 1.
6.2.6.2. Измерение максимальной выходной мощности, уровня излучений в смежном канале и уровня побочных излучений производить следующим образом:
- собрать схему, приведенную на рис. 1.1.11 Приложения 1;
- установить максимальный коэффициент усиления;
- коммуникационный тестер установить в режим генератора ВЧ и измерителя мощности;
- плавно увеличивать уровень входного сигнала на частоте, соответствующей центральной частоте полосы усиления, до величины, обеспечивающей максимальное усиление ретранслятора;
- определить максимальный уровень выходной мощности;
- контролировать по анализатору спектра уровень излучений в смежном канале в заданном диапазоне частот и зафиксировать максимальный уровень;
- контролировать по анализатору спектра уровень побочных излучений в заданном диапазоне частот и зафиксировать максимальный уровень.
Измерения проводить при нормальных условиях, а также в диапазоне рабочих температур и при вариациях питающего напряжения. Требования к средствам измерений приведены в п. 1.2.9, п. 1.2.3 и п. 1.2.4 Приложения 1.
Уровни индустриальных помех от ретрансляторов должны соответствовать п. 5 ГОСТ 30429-96 для оборудования группы 1.1.1.
Электропитание ретрансляторов осуществляется от сети переменного тока 220 В/50 Гц.
Ретранслятор должен сохранять работоспособность при изменениях напряжения питания согласно п. 2.1 табл. 2 ГОСТ 5237-69.
В зависимости от условий эксплуатации ретрансляторы могут быть отнесены производителем к одной из следующих групп, согласно п. 1.1 ГОСТ 16019-78:
1 - стационарные, работающие в отапливаемых наземных и подземных сооружениях;
2 - стационарные, работающие на открытом воздухе или в неотапливаемых наземных или подземных сооружениях.
Ретрансляторы должны выдерживать механические и климатические воздействия, определенные в таблице 1 ГОСТ 16019-78 для аппаратуры 1 или 2 групп.
6.6.1. Требования к изоляции должны соответствовать п. 6.20 ГОСТ Р 50829-95.
6.6.2. Значение энергетической нагрузки, создаваемой электрическим полем элементов системы в диапазоне частот до 1000 МГц при установке ретранслятора в местах возможного нахождения людей, не должно превышать 200 мкВт · ч/см2 за рабочий день (п. 7.2 ГОСТ Р 50829-95).
6.6.3. Открытые токоведущие части, находящиеся под переменным напряжением свыше 34 В и постоянным напряжением свыше 110 В, доступные для случайных прикосновений, должны быть закрыты щитками (п. 6.14.1 ГОСТ Р 50829-95).
7.1. В системах абонентского радиодоступа с CDMA допускается применение сетевых интерфейсов двух типов: с выполнением функций коммутации и без их выполнения.
7.2. Сетевой интерфейс без выполнения функций коммутации:
7.2.1. является устройством согласования системы радиодоступа с АТС местной телефонной сети. При этом выполнение функций СОРМ должна обеспечивать АТС местной телефонной сети;
7.2.2. подключается к АТС местной телефонной сети по линиям связи и с использованием систем сигнализации, удовлетворяющих требованиям ОТТ к АТС местных телефонных сетей.
7.1. Сетевой интерфейс с функциями коммутации:
7.3.1. должен соответствовать «Общим техническим требованиям на АТС с услугами стационарной и подвижной связи», утверждённым 17.02.1998 Госкомсвязи России;
7.3.2. не должен выполнять функции центра коммутации подвижной связи (ЦКП) в соответствии с Приказом Министерства связи Российской Федерации от 24.02.96 за № 18;
7.3.3. должен обеспечивать возможность ограничения допустимой области перемещения абонентов пределами зоны обслуживания (сектора) одной базовой станции, без передачи обслуживания другой базовой станции (сектору базовой станции).
Выход абонентской станции из установленной ей зоны обслуживания или попытка установить соединение вне зоны должны приводить к отказу в обслуживании данной абонентской станции системой абонентского радиодоступа.
Рис. 1.1.1. Схема измерений параметров Канала Трафика в условиях замираний
Рис. 1.1.2. Схема измерений параметров Канала Трафика при мягком хэндовере в условиях замираний
Рис. 1.1.3. Схема измерений параметров Канала Трафика при мягком хэндовере
Рис. 1.1.4. Схема измерений параметров абонентской станции при отсутствии замираний
Рис. 1.1.5. Схема измерений параметров демодуляции и чувствительности базовой станции в условиях воздействия АБГШ
Рис. 1.1.6. Схема измерений параметров базовой станции в условиях канала с замираниями
Рис. 1.1.7. Схема измерения снижения чувствительности приемника в присутствии синусоидальной помехи
Pиc. 1.1.8. Схема измерения ослабления уровня продуктов интермодуляции базовой станции
Рис. 1.1.9. Схема измерения качества формы сигнала
Рис 1.1.10. Схема измерения параметров кодовых сигналов
Примечание: На схеме показан один усилитель прямого канала, т.к. схема для обратного канала АС-БС аналогична.
Рис. 1.1.11. Схема измерения параметров ретранслятора
1.2.1.1. Передающее оборудование.
Передатчик базовой станции должен быть способен формировать следующие каналы с определённым ниже уровнем выходных сигналов (относительно общей мощности).
● Пилот Канал: от -5 до -10 дБ или Выкл.
● Пейджинговый Канал: от -7 до -20 дБ или Выкл.
● Канал Синхронизации: от -7 до -20 дБ или Выкл.
● Канал Трафика: от -7 до -20 дБ для полной скорости. На пониженных скоростях мощность в Канале Трафика снижается так, чтобы энергия на бит оставалась постоянной.
● Подканал Управления Мощностью: всегда передаётся с той же мощностью что и полноскоростной Канал Трафика.
● ИШОК: от 0 до -6 дБ или Выкл.
ИШОК может как дополнение, быть составлен с Каналами Пейджера, синхронизации или трафика работающими на Уолш-каналах отличных от канала на котором проводятся испытания.
Дополнительно имитатор базовых станций должен отвечать следующим требованиям:
● Частотный диапазон: требования к базовой станции по IS-95
● Стабильность частоты: ±0,2 · 10-6
● Шаг перестройки частоты: 10 Гц
● Диапазон выходной мощности: от 0 до -110 дБм/1,23 МГц
● Шаг изменения мощности: 0,1 дБ на всех каналах
● Точность установки мощности (относительный уровень между двумя любыми каналами): ±0,1 дБ
● Абонентская точность установки мощности: ±2,0 дБ
● Минимальное значение коэффициента качества формы сигнала (ρ): лучше чем 0,966
● СВН: £ 2
1.2.1.2. Приёмное оборудование.
Диапазон входных сигналов: от +40 дБм до -50 дБм. Внешние аттенюаторы и/или усилители могут быть использованы для выполнения этих требований и могут рассматриваться как часть оборудования.
1.2.1.3. Требования к поддержке протоколов
Имитатор базовой станции должен быть способен поддерживать протоколы, оговоренные настоящим документом.
1.2.1.4. Требования к сигналам синхронизации.
Имитатор базовой станции должен обеспечивать следующие сигналы системной синхронизации приведенные к антенному разъёму для целей синхронизации измерительного оборудования:
● 20 мс метки кадрового интервала
● 26,67 метки ... Сдвиги коротких ПСП
● 80 мс метки ... Подстройка кадровой метки и метки нулевого сдвига ПСП
● Секундная метка
● 1,25 мс - метка интервала управления мощностью.
Сигналы синхронизированные со следующими событиями:
● индикаторами плохих кадров (метками стирания кадров)
● начало последовательности бит управления мощностью.
Генератор АБГШ должен отвечать следующим требованиям:
● минимальная эквивалентная шумовая полоса: 1,8 МГц
● диапазон частот: в соответствии с диапазоном по IS-95.
● шаг перестройки: 1 кГц
● точность установки выходной мощности: ±2 дБ для выходного уровня большего или равного -80 дБм/1,23 МГц
● шаг установки выходного уровня: 0,1 дБ
● диапазон выходных уровней: (от -20 до -120) дБм/1,23 МГц
● сигнал генератора АБГШ должен быть некоррелированным с идеальным сигналом передатчика.
Генератор синусоидального сигнала должен отвечать следующим требованиям:
● диапазон выходных частот: весь диапазон применяемых радиочастот.
● точность установки частоты: ±10 · 10-6
● шаг перестройки частоты: 1 кГц
● диапазон выходных уровней: от -50 дБм до -10 дБм и Выкл.
● точность установки выходного уровня: ±1 дБ во всём диапазоне
● шаг установки выходного уровня: 0,1 дБ.
Анализатор спектра должен обеспечивать следующие функции:
● измерение основных параметров в частотной области.
● измерение интегральной мощности в канале (с разрешающей способностью 1,23 МГц).
Анализатор спектра должен отвечать следующим требованиям:
● частотный диапазон: весь используемый диапазон радиочастот
● шаг установки частоты: 1 кГц
● точность установки частоты: ±0,2 · 10-6
● отображаемый динамический диапазон: 70 дБ
● погрешность логарифмической шкалы: ±1 дБ во всём отображаемом динамическом диапазоне.
● диапазон измерения уровней сигналов в диапазоне частот от 10 МГц до 2,6 ГГц:
1. Мощность, измеряемая в полосе фильтра 30 кГц: от -90 до +20 дБм
2. Интегральная мощность в полосе канала 1,23 МГц: от -70 до +40 дБм
● Уровень собственных шумов: -140 дБм/Гц
3. Для обеспечения требуемого диапазона могут быть использованы внешние аттенюаторы, которые рассматриваются как часть оборудования
● Абсолютная точность измерения амплитуды в диапазоне CDMA (для измерений интегральной канальной мощности):
1. ±1 дБ в диапазоне от -40 дБм до +20 дБм
2. ±1,3 дБ в диапазоне от -70 дБм до +20 дБм
● Относительная неравномерность АЧХ: ±1,5 дБ в диапазоне частот от 10 МГц до 2,6 ГГц
● Фильтр, определяющий разрешение по полосе частот: синхронно сканирующий или гауссовский с полосой по уровню 3 дБ - 1 МГц, 300 кГц, 100 кГц и 30 кГц.
● Последетекторный ФНЧ: переключаемый декадными шагами от 100 Гц до, по крайней мере, 1 МГц.
● Режим детектирования: пиковый или выборка/хранение.
● Входной импеданс на радиочастоте: 50 Ом.
Спектроанализатор может также обеспечивать функцию измерений во временной области. Если эта функция обеспечивается, то спектроанализатор должен отвечать следующим минимальным требованиям:
● Время развёртки: переключаемое от 50 мкс до 100 мс
● Задержанная развёртка: переключаемая от 5 мкс до 40 мс
● Возможность внешнего запуска развёртки
● Достаточная полоса пропускания, обеспечивающая требуемые измерения.
Измеритель мощности должен обеспечивать следующие функции:
● Измерение средней мощности
● Среднеквадратичное детектирование для синусоидальных и несинусоидальных сигналов
● Отображение абсолютного уровня мощности в линейной (Вт) и логарифмической (дБм) шкалах.
● Отображение относительного уровня мощности в дБ и процентах.
● Автоматическая калибровка.
Измеритель мощности должен отвечать следующим минимальным требованиям:
● Диапазон частот: от 10 МГц до 1 ГГц
● Диапазон входных мощностей: от -70 дБм (100 пВт) до +40 дБм (90 Вт).
Для обеспечения этого диапазона мощностей могут потребоваться различные измерительные датчики. Для обеспечения верхней границы диапазона могут потребоваться внешние аттенюаторы, которые рассматриваются как часть оборудования.
● Абсолютная и относительная точность: ±0,2 дБ (±5 %)
● Шаг измерения: 0,1 или 0,01 дБ
● КСВН датчика: £ 1,15
Имитатор канала должен поддерживать следующие функции и параметры модели канала:
- все лучи должны быть независимы;
- замирание должно осуществляться по закону Рэлея;
функция распределения вероятности мощности

где Р - уровень мощности сигнала;
Рave - среднее значение мощности.
Число пересечений уровня средней мощности в единицу времени (коэффициент пересечений уровня)

где fd - доплеровский сдвиг частоты, который соответствует имитируемой скорости движения автомобиля V
fd = (V/C)fc
(fc - частота несущей, С - скорость света в вакууме)
Спектральная плотность мощности

Функция автокорреляции фазы R(τ) определяется при условии, что фаза непрерывна и не ограничивается величиной 2π. Нормированная функция автокорреляции фазы приведена на рис. 1.2.1.
Параметры имитатора канала могут иметь следующие допуски:
- Точность установки допплеровского сдвига частоты.
Должна быть не хуже ±5 %. Устанавливаемая в имитаторе скорость движения автомобиля должна соответствовать значениям, приведенным в Табл. 1.2.1.
- Функция распределения мощности
Рис. 1.2.1. Функция автокорреляции фазы
1. Уровни мощности в диапазоне от +10 дБ до минус 20 дБ относительно среднего значения должны устанавливаться с допуском не более ±1 дБ
2. Уровни мощности в диапазоне от минус 20 дБ до минус 30 дБ относительно среднего значения должны устанавливаться с допуском не более ±5 дБ
- Число пересечений уровня средней мощности в единицу времени (коэффициент пересечений уровня) L (P)
В диапазоне уровней мощности от +3 дБ до минус 30 дБ относительно средней мощности допустимое отклонение L(P) от расчетного значения не должно превышать ±10 %.
- Спектральная плотность мощности S(f) около несущей частоты fc:
1. На частотах, отстоящих от несущей на величину I f - fc I = fd, спектральная плотность мощности S(f) должна превышать S(fc) не менее чем на 6 дБ.
2. На частотах, отстоящих от несущей на величину I f - fc I > fd, спектральная плотность мощности S(f) должна быть меньше S(fc) как минимум на 30 дБ.
- Доплеровское смещение частоты fd:
Имитируемое доплеровское смещение частоты fd должно вычисляться в зависимости от S(f) следующим образом

- Функция автокорреляции фазы R(τ)
1. При задержке, равной 0,05/fd, R(τ) = 0,8 ± 0,1
2. При задержке, равной 0,15/fd, R(τ) = 0,5 ± 0,1
Таблица 1.2.1
Стандартные конфигурации имитатора канала.
|
Скорость движения автомобиля |
Число лучей |
Средняя мощность 2-го луча относительно 1-го |
Средняя мощность 3-го луча относительно 1-го |
Задержка 1-го луча |
Задержка 2-го луча |
Задержка 3-го луча |
|
|
1 |
8 км/час |
2 |
0 дБ |
- |
0 мкс |
2 мкс |
- |
|
2 |
30 км/час |
1 |
- |
- |
0 мкс |
- |
- |
|
3 |
100 км/час |
3 |
0 дБ |
-3 дБ |
0 мкс |
2 мкс |
14,5 мкс |
1.2.7.1. ρ - метр. (Измеритель коэффициента качества формы сигнала).
Коэффициент качества формы сигнала ρ0 представляет собой квадрат коэффициента корреляции между реальным и идеальным сигналом пилот-канала.
Прибор должен использоваться при измерении частотных отклонений в прямом канале, при определении точности установки времени по пилот-сигналу и при определении пригодности формы сигнала.
Требования к точности перечисленных измерений приведены в Табл. 1.2.2.
Допустимая погрешность ρ - метра.
|
Обозначение параметра |
Требуемая точность измерений |
|
|
Качество формы сигнала |
ρ0 |
±5 ´ 10-4 при измерении ρ0 в диапазоне от 0,9 до 1 |
|
Частотная ошибка |
Δf |
±10 Гц |
|
Ошибка времени пилот-сигнала |
τ0 |
±135 нс |
1.2.7.2 Измеритель коэффициента мощности в кодовой области.
Коэффициенты мощности в кодовой области ρi представляют собой квадрат коэффициента корреляции между реальным и идеальным сигналами i-го кодового канала.
Прибор измеряет следующие параметры кодовых сигналов:
1. Коэффициенты ρ0, ρ1, ρ2, ..., ρ63, характеризующие искажение формы сигнала i-го кодового канала относительно идеального сигнала.
2. Смещение по задержке Δτi сигнала i-го кодового канала относительно пилот-сигнала
Δτi = τi - τ0
3. Смещение по фазе Δθi сигнала i-го кодового канала относительно пилот-сигнала
Δθi = θi - θ0
Допустимая погрешность измерений анализатора параметров кодовых сигналов приведена в Табл. 1.2.3.
Погрешность измерений параметров кодовых сигналов
|
Обозначение параметра |
Требуемая точность измерений |
|
|
Искажение формы сигнала (Коэффициент мощности в кодовой области) |
ρi |
±5 ´ 10-4 при измерении ρi в диапазоне от 5 ´ 10-4 до 1,0 |
|
Частотная ошибка |
Δf |
+10 Гц |
|
Смещение кодового сигнала по задержке относительно пилот-сигнала |
Δτi |
±10 нс |
|
Смещение кодового сигнала по фазе относительно пилот-сигнала |
Δθi |
±0,01 радиан |
Имитатор используется при измерении параметров в цепи управления мощностью в обратном канале. Должна быть возможность отключить управление мощностью имитатора подвижной станции в обратном канале. В этом случае в имитаторе должна иметься возможность устанавливать любой фиксированный уровень мощности с точностью ±0,1 дБ во всем динамическом диапазоне.
Имитатор подвижной станции должен содержать испытательную программу управления мощностью. Длительность периодов увеличения и уменьшения мощности должна быть не менее 5 мс (4 группы сигналов управления мощностью).
Выход передатчика базовой станции должен подключаться к измерительному оборудованию или имитатору подвижной станции с помощью специальных устройств, которые непрерывно рассеивают выходную мощность передатчика и не должны излучать. Коэффициент стоячей волны по напряжению (КСВН) на выходе передатчика в полосе 1,23 МГц при испытаниях должен быть меньше 1,1.
Передатчик базовой станции может быть нагружен на эквивалентную нагрузку, аттенюатор, направленный ответвитель или какую-либо комбинацию из этих приборов.
Технические характеристики:
● Диапазон частот: 0,4 - 2400 МГц
● Диапазон измерения мощности ВЧ: до 50 Вт.
● Динамический диапазон в режиме анализатора спектра: 100 дБ
● Точность измерения частоты: 10-8
● Точность измерения девиации: 1 %
В качестве коммуникационного тестера может использоваться тестер STABILOCK 4032 или аналогичный по параметрам.
1. Прямой канал CDMA может включать в себя Пилот канал, Канал синхронизации, Канал пейджинга, Канал Трафика и другие ортогональные каналы (ИШОК).
2. В любом случае, когда Каналы пейджинга и синхронизации необходимы для выполнения теста, а их мощностные соотношения не специфизированы, используйте Синхр Ес/Ior равное - 16 дБ и Пейджинг Ес/Ior равное - 12 дБ при скорости данных в Канале пейджинга 4800 бит/с. Настройте усиление ИШОК так, чтобы сумма отношений Ес/Ior в каждом прямом канале равнялась единице.
3. В течение испытаний хэндовера Канал 2 от Базовой станции 2 всегда имеет относительно Канала 1 от базовой станции 1 задержку 12 мкс на антенном разъёме абонентской станции.
4. Базовая станция должна быть сконфигурирована для нормальной работы, как определено в IS-95 за исключением оговоренных состояний для специфических тестов.
5. Обратный Канал Трафика должен работать при достаточно высоких отношениях Ес/Ior для получения гарантированно малых значений коэффициента, искажённых кадров (например < 10-5), если условиями испытаний не определено иначе.
6. Для абонентской станции со встроенной антенной, производитель должен поставлять калиброванное радиочастотное устройство сопряжения для обеспечения возможности подключения стандартного тестового оборудования.
В технических требованиях настоящего документа иногда используется понятие максимального коэффициента ошибок при приеме данных, который не может быть превышен с некоторой доверительной вероятностью. Чтобы обеспечить указанную доверительную вероятность, можно использовать любую процедуру получения статистических данных. Длительность испытаний может быть как фиксированной, так и переменной.
Процедура испытаний должна удовлетворять следующим требованиям:
● Она должна быть заранее известной, включая:
- определение минимальной и максимальной длительности испытаний:
- определение критерия раннего завершения испытания
● должен быть определен критерий соответствия или не соответствия проверяемого параметра требованиям стандарта
● должны быть определены шаги для повторения испытаний в случае, если коэффициент ошибок превышает требуемую величину
При испытаниях необходимо учитывать корреляцию ошибок, которая может возникать при медленных замираниях. Кроме того, при интерпретации результатов необходимо учитывать систематические ошибки, вызванные погрешностью измерительных приборов.
Предполагается, что мы имеем дело с независимыми испытаниями Бернулли, когда после каждого испытания принимается двоичное решение о наличии или отсутствии ошибки. Предполагается, что заданы предельное значение коэффициента ошибок λlim и доверительная вероятность С.
Последовательность проведения испытаний выглядит следующим образом.
1. Выбирается необходимая длительность испытаний в виде максимального числа ошибок Кmax. Точное значение этой величины не является критичным, но должно быть достаточно большим, чтобы получить ожидаемый результат с большой вероятностью. Эта вероятность зависит от отношения λ/λlim, где λ - это измеренный при данном испытании коэффициент ошибок. Кmax выбирается в диапазоне от 30 до 100.
2. Для заданных условий проводится Nmax испытаний:
![]()
где χ2(Р, n) - инверсная функция распределения χ2 с n степенями свободы, а вероятность Р = 1 - С, n = 2Кmax
В Табл. 1 приведены значения Nmax в зависимости от реального числа ошибок для случая С = 95 % для разных значений λlim.
Объём испытаний Nmax для доверительной вероятности 95 %
|
|
λlim |
|
||
|
К |
0,005 |
0,01 |
0,05 |
В общем случае |
|
32 |
8368 |
4184 |
837 |
41,84/λlim |
|
64 |
15540 |
7770 |
1554 |
77,70/λlim |
|
128 |
29432 |
14716 |
2943 |
147,16/λlim |
|
256 |
56575 |
28287 |
5657 |
282,87/λlim |
3. Подсчитывается эмпирический коэффициент ошибок λn = KN/N
и эмпирическое отношение λN/λlim, где Kn - число обнаруженных ошибок при сделанном числе испытаний N.
4. Если выполняется условие
![]()
или эквивалентно
то
считается, что испытуемое устройство успешно прошло испытания. В
противном случае считается, что устройство не
прошло испытания.
5. Если устройство не прошло испытания, то необходимо повторить операции по пунктам 2 - 4.
Эта процедура может быть модифицирована с целью более раннего завершения испытаний. Операции по пунктам 3 и 4 модифицируются следующим образом:
3. После каждого испытания или блока испытаний подсчитывается величина λn = KN/N, где Kn - число ошибок за N испытаний, включая текущее N-ое испытание и вычисляется отношение λN/λlim.
4. Если после N-го испытания выполняется условие
![]()
или эквивалентно
то
считается, что испытуемое устройство
успешно прошло испытания и испытания прекращаются. Если число испытаний
достигло Nmaх и
приведенное выше условие не выполняется, то испытания прекращаются и считается,
что устройство не выдержало испытания.
Если требования к коэффициенту ошибок испытуемой аппаратуры приведены с большим запасом, то длительность испытаний часто будет малой и в этом случае можно пользоваться предельными значениями числа испытаний, которые приведены в Табл. 2.
Пороговые значения числа испытаний для доверительной вероятности 95 %
В общем случае можно пользоваться графиком, приведенным на рис. 1.
Рис. 1 Зависимость допустимого значения λN/λlim от числа ошибок К для доверительной вероятности 95 %
ЛИСТ РЕГИСТРАЦИИ ИЗМЕНЕНИЙ
|
Номера листов (страниц) |
Всего листов (страниц) в документе |
Наименование документа |
Входящий номер сопроводительного документа |
Подписи согласующих сторон |
Дата |
||||
|
измененных |
замененных |
новых |
аннулированных |
||||||
|
|
|
|
|
|
|
|
|
|
|