OCT 26-2013-83
ОТРАСЛЕВОЙ СТАНДАРТ
УСТРОЙСТВА
ПОДЪЕМНО-ПОВОРОТНЫЕ
ДЛЯ КРЫШЕК ЛЮКОВ СТАЛЬНЫХ СВАРНЫХ
СОСУДОВ И АППАРАТОВ
Конструкция
Предисловие
1. РАЗРАБОТАН Центральным конструкторским бюро нефтеаппаратуры (ЦКБН)
2. УТВЕРЖДЕН И ВВЕДЕН В ДЕЙСТВИЕ письмом министерства химического и нефтяного машиностроения от 23 мая 1983 г. № 11-10-4/740.
3. ЗАРЕГИСТРИРОВАН ВНИИКИ ГР № 8297635 от 16 сентября 1983 г.
4. ВЗАМЕН ОСТ 26-2013-77, ОСТ 26-2014-77.
5. ПЕРЕИЗДАНИЕ 1994 г., июнь С ИЗМЕНЕНИЯМИ № 1; 2; 3; 4: 1 - ИУС № 3-1987 г.; 2 - ИУС № 6-1989 г.; 3 - ИУС № 12-1990 г.; 4 - ИУС № 7; 8-1992 г.
6. СРОК ПЕРВОЙ ПРОВЕРКИ - 1997 г., периодичность проверки - 5 лет.
СОДЕРЖАНИЕ
ОТРАСЛЕВОЙ СТАНДАРТ
УСТРОЙСТВА
ПОДЪЕМНО-ПОВОРОТНЫЕ
ДЛЯ КРЫШЕК ЛЮКОВ СТАЛЬНЫХ СВАРНЫХ
СОСУДОВ И АППАРАТОВ
Дата введения 1994-01-01
Настоящий стандарт распространяется на устройства подъемно-поворотные для люков по ОСТ 26-2002, ОСТ 26-2003, ОСТ 26-2005 ¸ ОСТ 26-2007 и ОСТ 26-2094, масса крышек которых превышает 40 кг.
В настоящем стандарте использованы ссылки на следующие стандарты:
ГОСТ 397-79 Шплинты. Технические условия.
ГОСТ 13716-73 Устройства строповые для сосудов и аппаратов. Технические условия.
ОСТ 26-2003-83 Люки со сферическими крышками стальных сварных сосудов и аппаратов. Конструкция.
ОСТ 26-2005-83 Люки с фланцами, приварными встык, с уплотнительной поверхностью «выступ-впадина» стальных сварных сосудов и аппаратов. Конструкция.
OCT 26-2006-83 Люки с фланцами, приварными встык, с уплотнительной поверхностью «шип-паз» стальных сварных сосудов и аппаратов. Конструкция.
ОСТ 26-2007-83 Люки с фланцами, приварными встык, под прокладку восьмиугольного сечения стальных сварных сосудов и аппаратов. Конструкция.
ОСТ 26-2015-83 Устройства шарнирные и подъемно-поворотные для крышек люков стальных сварных сосудов и аппаратов. Технические требования.
ОСТ 26-2038-96 Гайки шестигранные для фланцевых соединений. Конструкция и размеры.
ОСТ 26-2042-96 Шайбы для фланцевых соединений. Конструкция и размеры.
ОСТ 26-2094-83 Люки с фланцами и крышками, облицованными листом из коррозионностойкой стали, стальных сварных сосудов и аппаратов. Конструкция.
(Измененная редакция. Изм. № 5).
3.1. Стандарт устанавливает конструкции подъемно-поворотных устройств следующих исполнений:
1 - для вертикально установленных люков с плоскими крышками;
2 - для вертикально установленных люков со сферическими крышками;
3 - для горизонтально установленных люков.
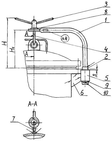
3.2. Конструкция и размеры подъемно-поворотных устройств исполнения 1 должны соответствовать указанным на рисунке 1 и в таблице 1.
1. Кронштейн. 2. Втулка. 3. Рукоятка. 4. Болт. 5. Втулка. 6. Ребро. 7. Серьга по ГОСТ 13716.
8. Шайба по ОСТ 26-2042. 9. Шайба. 10. Шплинт по ГОСТ 397
Рисунок 1
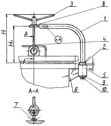
3.3. Конструкция и размеры подъемно-поворотных устройств исполнения 2 должны соответствовать указанным на рисунке 2 и в таблице 1
1. Кронштейн. 2. Втулка. 3. Рукоятка. 4. Болт. 5. Втулка. 6. Ребро.
7. Серьга по ГОСТ 13716.
8. Шайба по ОСТ
26-2042. 9. Шайба. 10. Шплинт по ГОСТ 397
Рисунок 2
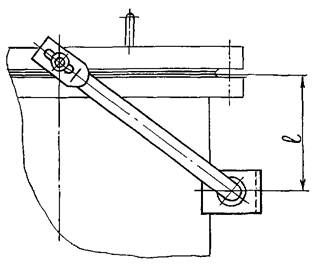
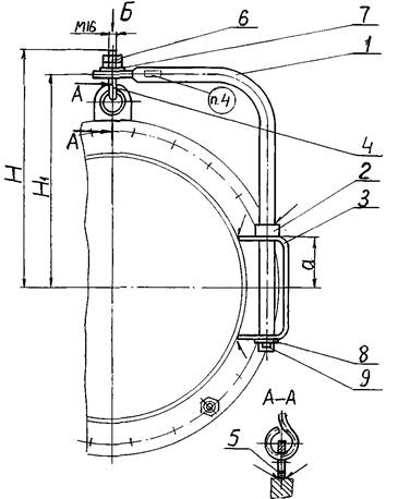
3.4. Конструкция и размеры подъемно-поворотных устройств исполнения 3 должны соответствовать указанным на рисунках 3, 4 и в таблице 1
1. Кронштейн. 2. Втулка. 3. Скоба. 4. Болт. 5. Серьга по ГОСТ
13716. 6. Гайка по ОСТ 26-2038.
7. Шайбы по ОСТ 26-2042. 8. Шайба. 9. Шплинт по ГОСТ 397
Рисунок 3
Б
Рисунок 4
Таблица 1
Размеры в миллиметрах
|
Давление условное |
Диаметр внутренний люка |
Толщина стенки обечайки люка |
H |
H1 |
l |
a |
|
||||||
|
МПа |
кгс/см2 |
Исполнение устройства |
|
||||||||||
|
1 |
2 |
3 |
1 |
2 |
3 |
3 |
3 |
|
|||||
|
1,0 |
10 |
400 |
8 |
335 |
- |
475 |
250 |
- |
420 |
135 |
100 |
|
|
|
1,6 |
16 |
||||||||||||
|
10 |
140 |
||||||||||||
|
2,5 |
25 |
||||||||||||
|
16 |
160 |
|
|||||||||||
|
24 |
170 |
|
|||||||||||
|
32 |
180 |
|
|||||||||||
|
40 |
|
||||||||||||
|
4,0 |
40 |
12 |
540 |
450 |
165 |
|
|||||||
|
20 |
180 |
|
|||||||||||
|
30 |
200 |
|
|||||||||||
|
45 |
220 |
|
|||||||||||
|
50 |
|
||||||||||||
|
6,3 |
63 |
14 |
205 |
|
|||||||||
|
20 |
210 |
|
|||||||||||
|
32 |
220 |
|
|||||||||||
|
45 |
230 |
|
|||||||||||
|
50 |
|
||||||||||||
|
65 |
250 |
|
|||||||||||
|
10,0 |
100 |
20 |
560 |
- |
470 |
250 |
|
||||||
|
30 |
260 |
|
|||||||||||
|
40 |
270 |
|
|||||||||||
|
50 |
280 |
|
|||||||||||
|
60 |
300 |
|
|||||||||||
|
65 |
|
||||||||||||
|
75 |
|
||||||||||||
|
16,0 |
160 |
32 |
605 |
510 |
320 |
|
|||||||
|
45 |
375 |
|
|||||||||||
|
60 |
|
||||||||||||
|
75 |
|
||||||||||||
|
80 |
|
||||||||||||
|
90 |
|
||||||||||||
|
0,6 |
6 |
450 |
8 |
540 |
250 |
420 |
135 |
|
|||||
|
1,0 |
10 |
460 |
|
||||||||||
|
1,6 |
16 |
10 |
335 |
250 |
|
||||||||
|
2,5 |
25 |
- |
- |
140 |
|||||||||
|
16 |
|
||||||||||||
|
26 |
175 |
|
|||||||||||
|
36 |
|
||||||||||||
|
45 |
|
||||||||||||
|
4,0 |
40 |
12 |
565 |
- |
470 |
175 |
|
||||||
|
20 |
190 |
|
|||||||||||
|
28 |
210 |
|
|||||||||||
|
36 |
340 |
260 |
|
||||||||||
|
45 |
|
||||||||||||
|
55 |
335 |
250 |
220 |
|
|||||||||
|
6,3 |
63 |
16 |
|
||||||||||
|
22 |
|
||||||||||||
|
30 |
|
||||||||||||
|
40 |
|
||||||||||||
|
50 |
230 |
|
|||||||||||
|
55 |
340 |
260 |
|
||||||||||
|
65 |
250 |
|
|||||||||||
|
70 |
|
||||||||||||
|
10,0 |
100 |
24 |
375 |
590 |
290 |
500 |
|
||||||
|
32 |
|
||||||||||||
|
45 |
290 |
|
|||||||||||
|
55 |
390 |
295 |
|
||||||||||
|
65 |
300 |
|
|||||||||||
|
75 |
|
||||||||||||
|
80 |
|
||||||||||||
|
16,0 |
160 |
34 |
375 |
635 |
290 |
540 |
|
||||||
|
50 |
385 |
|
|||||||||||
|
70 |
|
||||||||||||
|
85 |
405 |
335 |
|
||||||||||
|
95 |
|
||||||||||||
|
100 |
|
||||||||||||
|
0,6 |
6 |
500 |
8 |
335 |
515 |
250 |
460 |
135 |
|
||||
|
1,0 |
10 |
335 |
525 |
250 |
|
||||||||
|
1,6 |
16 |
10 |
125 |
|
|||||||||
|
2,5 |
25 |
- |
- |
145 |
|||||||||
|
16 |
|
||||||||||||
|
26 |
|
||||||||||||
|
36 |
180 |
|
|||||||||||
|
45 |
|
||||||||||||
|
4,0 |
40 |
12 |
595 |
500 |
|
||||||||
|
20 |
200 |
|
|||||||||||
|
30 |
230 |
|
|||||||||||
|
40 |
|
||||||||||||
|
50 |
|
||||||||||||
|
55 |
|
||||||||||||
|
6,3 |
63 |
16 |
200 |
|
|||||||||
|
26 |
|
||||||||||||
|
36 |
260 |
|
|||||||||||
|
45 |
|
||||||||||||
|
55 |
|
||||||||||||
|
65 |
|
||||||||||||
|
75 |
|
||||||||||||
|
10,0 |
100 |
26 |
375 |
620 |
290 |
530 |
270 |
|
|||||
|
36 |
|
||||||||||||
|
45 |
|
||||||||||||
|
70 |
325 |
|
|||||||||||
|
80 |
|
||||||||||||
|
90 |
|
||||||||||||
|
0,3 |
3 |
600 |
8 |
335 |
370 |
565 |
250 |
285 |
510 |
135 |
100 |
|
|
|
0,6 |
6 |
|
|||||||||||
|
1,0 |
10 |
10 |
575 |
|
|||||||||
|
1,6 |
16 |
125 |
|
||||||||||
|
2,5 |
25 |
12 |
- |
- |
145 |
|
|||||||
|
16 |
|
||||||||||||
|
30 |
170 |
|
|||||||||||
|
40 |
|
||||||||||||
|
50 |
190 |
|
|||||||||||
|
4,0 |
40 |
14 |
595 |
550 |
|
||||||||
|
20 |
|
||||||||||||
|
32 |
210 |
|
|||||||||||
|
45 |
|
||||||||||||
|
60 |
230 |
|
|||||||||||
|
65 |
|
||||||||||||
|
0,1 |
1 |
700 |
4 |
370 |
610 |
285 |
560 |
150 |
|
||||
|
0,3 |
3 |
8 |
615 |
|
|||||||||
|
0,6 |
6 |
|
|||||||||||
|
1,0 |
10 |
10 |
625 |
|
|||||||||
|
1,6 |
16 |
12 |
|
||||||||||
|
0,1 |
1 |
800 |
5 |
- |
670 |
- |
610 |
|
|||||
|
0,3 |
3 |
8 |
665 |
|
|||||||||
|
0,6 |
6 |
|
|||||||||||
|
|||||||||||||
Пример условного обозначения подъемно-поворотного устройства исполнения 2 для люка диаметром 400 мм на условное давление 1,6 МПа с шифром материального исполнения 1:
Устройство 2-400-1,6-1 ОСТ 26-2013-83
3.5. Конструкция и размеры кронштейнов, поз. 1, должны соответствовать указанным на рисунке 5 и в таблице 2
Рисунок 5
Таблица 2
Размеры в миллиметрах
|
Давление условное |
Диаметр внутренний люка |
Толщина стенки обечайки люка |
d |
l |
h |
b |
|
|||||
|
Исполнение устройства |
|
|||||||||||
|
МПа |
кгс/см2 |
1 |
2 |
3 |
1 |
2 |
3 |
|
||||
|
1,0 |
10 |
400 |
8 |
30 |
345 |
- |
330 |
415 |
- |
540 |
35 |
|
|
1,6 |
16 |
45 |
350 |
420 |
45 |
|
||||||
|
2,5 |
25 |
10 |
|
|||||||||
|
16 |
360 |
|
||||||||||
|
24 |
390 |
|
||||||||||
|
32 |
|
|||||||||||
|
4,0 |
40 |
12 |
370 |
370 |
440 |
570 |
|
|||||
|
20 |
380 |
|
||||||||||
|
30 |
|
|||||||||||
|
45 |
420 |
|
||||||||||
|
50 |
|
|||||||||||
|
6,3 |
63 |
14 |
390 |
|
||||||||
|
20 |
410 |
|
||||||||||
|
32 |
430 |
|
||||||||||
|
45 |
440 |
|
||||||||||
|
50 |
|
|||||||||||
|
65 |
470 |
|
||||||||||
|
10,0 |
100 |
20 |
390 |
430 |
590 |
|
||||||
|
30 |
440 |
|
||||||||||
|
40 |
460 |
|
||||||||||
|
50 |
480 |
|
||||||||||
|
60 |
500 |
|
||||||||||
|
65 |
510 |
|
||||||||||
|
75 |
520 |
|
||||||||||
|
16,0 |
160 |
32 |
60 |
430 |
500 |
510 |
630 |
60 |
|
|||
|
45 |
530 |
|
||||||||||
|
60 |
|
|||||||||||
|
75 |
580 |
|
||||||||||
|
80 |
|
|||||||||||
|
90 |
|
|||||||||||
|
0,6 |
6 |
450 |
8 |
30 |
345 |
330 |
415 |
540 |
35 |
|
||
|
1,0 |
10 |
|
||||||||||
|
1,6 |
16 |
10 |
45 |
370 |
345 |
370 |
440 |
415 |
570 |
45 |
|
|
|
2,5 |
25 |
- |
- |
|||||||||
|
16 |
|
|||||||||||
|
26 |
|
|||||||||||
|
36 |
420 |
|
||||||||||
|
45 |
|
|||||||||||
|
4,0 |
40 |
12 |
390 |
390 |
590 |
|
||||||
|
20 |
410 |
|
||||||||||
|
28 |
440 |
|
||||||||||
|
36 |
|
|||||||||||
|
45 |
|
|||||||||||
|
55 |
460 |
|
||||||||||
|
6,3 |
63 |
16 |
50 |
390 |
430 |
440 |
610 |
50 |
|
|||
|
22 |
|
|||||||||||
|
30 |
440 |
|
||||||||||
|
40 |
|
|||||||||||
|
50 |
460 |
|
||||||||||
|
55 |
|
|||||||||||
|
65 |
490 |
|
||||||||||
|
70 |
|
|||||||||||
|
10,0 |
100 |
24 |
60 |
420 |
460 |
510 |
645 |
60 |
|
|||
|
32 |
|
|||||||||||
|
45 |
510 |
|
||||||||||
|
55 |
|
|||||||||||
|
65 |
|
|||||||||||
|
75 |
530 |
|
||||||||||
|
80 |
540 |
|
||||||||||
|
16,0 |
160 |
34 |
70 |
460 |
510 |
550 |
685 |
70 |
|
|||
|
50 |
570 |
|
||||||||||
|
70 |
600 |
|
||||||||||
|
85 |
|
|||||||||||
|
95 |
|
|||||||||||
|
100 |
|
|||||||||||
|
0,6 |
6 |
500 |
8 |
30 |
370 |
- |
360 |
415 |
- |
580 |
35 |
|
|
1,0 |
10 |
70 |
415 |
|
||||||||
|
1,6 |
16 |
10 |
390 |
390 |
440 |
615 |
50 |
|
||||
|
50 |
390 |
- |
- |
|
||||||||
|
16 |
|
|||||||||||
|
26 |
430 |
|
||||||||||
|
2,5 |
25 |
36 |
|
|||||||||
|
45 |
|
|||||||||||
|
4,0 |
40 |
12 |
420 |
470 |
630 |
|
||||||
|
20 |
|
|||||||||||
|
30 |
|
|||||||||||
|
40 |
|
|||||||||||
|
50 |
|
|||||||||||
|
55 |
|
|||||||||||
|
6,3 |
63 |
16 |
430 |
645 |
|
|||||||
|
26 |
460 |
|
||||||||||
|
36 |
|
|||||||||||
|
45 |
470 |
|
||||||||||
|
55 |
|
|||||||||||
|
65 |
500 |
|
||||||||||
|
75 |
|
|||||||||||
|
10,0 |
100 |
26 |
60 |
450 |
490 |
550 |
- |
675 |
60 |
|
||
|
36 |
|
|||||||||||
|
45 |
570 |
|
||||||||||
|
70 |
|
|||||||||||
|
80 |
|
|||||||||||
|
90 |
|
|||||||||||
|
0,3 |
3 |
600 |
8 |
30 |
425 |
425 |
410 |
415 |
415 |
630 |
35 |
|
|
0,6 |
6 |
|
||||||||||
|
1,0 |
10 |
10 |
36 |
450 |
36 |
|
||||||
|
1,6 |
16 |
50 |
440 |
440 |
440 |
665 |
50 |
|
||||
|
12 |
- |
- |
|
|||||||||
|
16 |
|
|||||||||||
|
2,5 |
25 |
30 |
500 |
|
||||||||
|
40 |
|
|||||||||||
|
50 |
|
|||||||||||
|
14 |
60 |
470 |
460 |
695 |
60 |
|
||||||
|
20 |
470 |
|
||||||||||
|
4,0 |
40 |
32 |
500 |
|
||||||||
|
45 |
|
|||||||||||
|
60 |
530 |
|
||||||||||
|
65 |
|
|||||||||||
|
0,1 |
1 |
700 |
4 |
30 |
480 |
480 |
470 |
415 |
45 |
710 |
35 |
|
|
0,3 |
3 |
8 |
36 |
36 |
|
|||||||
|
0,6 |
6 |
|
||||||||||
|
1,0 |
10 |
10 |
|
|||||||||
|
1,6 |
16 |
12 |
45 |
430 |
45 |
|
||||||
|
0,1 |
1 |
800 |
5 |
30 |
520 |
- |
520 |
415 |
- |
760 |
35 |
|
|
0,3 |
3 |
8 |
36 |
430 |
36 |
|
||||||
|
0,6 |
6 |
45 |
45 |
|
||||||||
Пример условного обозначения кронштейна с размерами d = 30 мм, l = 345 мм и h = 415 мм из стали марки Ст3пс4:
Кронштейн 30-345-415-Ст3пс ОСТ 26-2013-83.
3.6. Конструкция и размеры втулок, поз. 2, должны соответствовать указанным на черт. 6 и в табл. 3, втулок, поз. 5 подъемно-поворотных устройств исполнения 1 и 2, указанным на рисунке 6 и в таблице 4.
Рисунок 6
Таблица 3
В миллиметрах
|
Диаметр кронштейна, поз. 1 |
dн |
S |
h |
|
30 |
38 |
3,5 |
30 |
|
36 |
45 |
4,0 |
|
|
45 |
57 |
5,0 |
|
|
50 |
60 |
4,0 |
|
|
60 |
73 |
6,0 |
|
|
70 |
83 |
6,0 |
Таблица 4
В миллиметрах
|
Диаметр кронштейна, поз. 1 |
dн |
S |
h |
|
30 |
45 |
7 |
135 |
|
36 |
57 |
10 |
|
|
45 |
60 |
6 |
150 |
|
50 |
68 |
8 |
|
|
60 |
76 |
7 |
220 |
|
70 |
89 |
8 |
Пример условного обозначения втулки с размерами dн = 38 мм и S = 3,5 мм из стали марки 20:
Втулка 38-3,5-20 ОСТ 26-2013-83.
3.7. Конструкция и размеры рукояток, поз. 3 подъемно-поворотных устройств исполнения 1 и 2 должны соответствовать указанным на рисунке 7.
_____________
* Для справок
1. Ручка. 2. Гайка.
Рисунок 7
Пример условного обозначения рукоятки подъемно-поворотного устройства с шифром материального исполнения 1:
Рукоятка 1 ОСТ 26-2013-83.
3.8. Конструкция к размеры ручек, поз. 1, должны соответствовать указанным на рисунке 8.
Масса - 0,1* кг
_____________
* Для справок
Рисунок 8
Пример условного обозначения ручки из стали марки Ст3пс4:
Ручка Ст3пс4 ОСТ 26-2013-83.
3,9, Конструкция и размеры гаек, поз. 2, должны соответствовать указанным на рисунке 9.
Масса - 0,19* кг
_____________
* Для справок
Рисунок 9
Пример условного обозначения гайки из стали марки Ст3сп4:
Гайка Ст3сп4 ОСТ 26-2013-83.
3.10. Конструкция и размеры болтов поз. 4 должны соответствовать указанным на рисунке 10 и в таблице 5.
Рисунок 10
Таблица 5
В миллиметрах
|
L |
l |
|
|
1 |
180 |
120 |
|
200 |
140 |
|
|
220 |
180 |
|
|
2 |
130 |
70 |
|
3 |
130 |
70 |
|
180 |
120 |
|
|
220 |
180 |
Пример условного обозначения болта с размером L = 200 мм из стали марки Ст3сп4:
Болт 200-Ст3сп4 ОСТ 26-2013-83.
3.11. Конструкция и размеры ребер, поз. 6 подъемно-поворотных устройств исполнения 1 и 2 для люков с плоскими фланцами должны соответствовать указанным на рисунке 11 и в таблице 6.
Рисунок 11
Таблица 6
Размеры в миллиметрах
|
Давление условное |
Диаметр внутренний люка |
С |
|
|
МПа |
кгс/см2 |
||
|
0,1 |
1 |
700 |
|
|
0,3 |
3 |
600, 700, 800 |
51 |
|
0,6 |
6 |
450, 500, 600, 700, 800 |
|
|
0,1 |
1 |
800 |
57 |
|
1,6 |
16 |
700 |
|
|
1,0 |
10 |
400, 600, 700 |
59 |
|
1,6 |
16 |
400, 450, 500, 600 |
|
|
1,0 |
10 |
450, 500 |
61 |
Пример условного обозначения ребра с размером С = 51 мм из стали марки Ст3пс4:
Ребро 51-Ст3пс4 ОСТ 26-2013-83.
3.12. Конструкция и размеры ребер, поз. 6, подъёмно-поворотных устройств, исполнения 1, для люков с фланцами приварными встык должны соответствовать указанным на рисунке 12 и в таблице 7.
Рисунок 12
Таблица 7
Размеры в миллиметрах
|
Диаметр внутренний люка |
Толщина обечайки люка |
C |
a |
b |
b1 |
||
|
МПа |
кгс/см2 |
||||||
|
1,6 |
16 |
400 |
10 |
58 |
120 |
20 |
70 |
|
2,5 |
25 |
10 |
|||||
|
16 |
52 |
10 |
|||||
|
24 |
44 |
- |
- |
||||
|
32 |
36 |
- |
- |
||||
|
40 |
28 |
- |
- |
||||
|
4,0 |
40 |
12 |
83 |
20 |
70 |
||
|
20 |
75 |
||||||
|
30 |
65 |
- |
- |
||||
|
45 |
50 |
- |
- |
||||
|
50 |
45 |
- |
- |
||||
|
6,3 |
63 |
14 |
81 |
140 |
30 |
70 |
|
|
20 |
75 |
20 |
|||||
|
32 |
63 |
10 |
|||||
|
45 |
50 |
- |
- |
||||
|
50 |
45 |
- |
- |
||||
|
65 |
30 |
- |
- |
||||
|
10,0 |
100 |
20 |
95 |
200 |
30 |
120 |
|
|
30 |
85 |
10 |
70 |
||||
|
40 |
75 |
- |
- |
||||
|
50 |
65 |
- |
- |
||||
|
60 |
55 |
- |
- |
||||
|
65 |
50 |
- |
- |
||||
|
75 |
40 |
- |
- |
||||
|
16,0 |
160 |
32 |
126 |
250 |
40 |
140 |
|
|
45 |
113 |
- |
- |
||||
|
60 |
98 |
- |
- |
||||
|
75 |
83 |
- |
- |
||||
|
80 |
78 |
- |
- |
||||
|
90 |
68 |
- |
- |
||||
|
1,6 |
16 |
450 |
10 |
60 |
120 |
15 |
60 |
|
2,5 |
25 |
10 |
|||||
|
16 |
54 |
||||||
|
26 |
44 |
- |
- |
||||
|
36 |
34 |
- |
- |
||||
|
45 |
25 |
- |
- |
||||
|
4,0 |
40 |
12 |
83 |
140 |
25 |
70 |
|
|
20 |
75 |
17 |
90 |
||||
|
28 |
67 |
- |
- |
||||
|
36 |
59 |
- |
- |
||||
|
45 |
50 |
- |
- |
||||
|
55 |
40 |
- |
- |
||||
|
6,3 |
63 |
16 |
79 |
24 |
70 |
||
|
22 |
73 |
14 |
60 |
||||
|
30 |
65 |
- |
- |
||||
|
40 |
55 |
170 |
- |
- |
|||
|
50 |
45 |
- |
- |
||||
|
55 |
40 |
- |
- |
||||
|
65 |
30 |
- |
- |
||||
|
70 |
25 |
- |
- |
||||
|
10,0 |
100 |
24 |
96 |
200 |
30 |
120 |
|
|
32 |
88 |
- |
- |
||||
|
45 |
75 |
- |
- |
||||
|
55 |
65 |
- |
- |
||||
|
65 |
55 |
- |
- |
||||
|
75 |
45 |
- |
- |
||||
|
80 |
40 |
- |
- |
||||
|
16,0 |
160 |
34 |
128 |
250 |
40 |
150 |
|
|
50 |
112 |
- |
- |
||||
|
70 |
92 |
- |
- |
||||
|
85 |
77 |
- |
- |
||||
|
95 |
67 |
- |
- |
||||
|
100 |
62 |
- |
- |
||||
|
1,6 |
16 |
500 |
10 |
60 |
120 |
24 |
60 |
|
2,5 |
25 |
10 |
|||||
|
16 |
54 |
15 |
|||||
|
26 |
44 |
- |
- |
||||
|
36 |
34 |
- |
- |
||||
|
45 |
25 |
- |
- |
||||
|
4,0 |
40 |
12 |
85 |
140 |
24 |
70 |
|
|
20 |
77 |
- |
- |
||||
|
30 |
67 |
- |
- |
||||
|
40 |
57 |
- |
- |
||||
|
50 |
47 |
- |
- |
||||
|
55 |
42 |
- |
- |
||||
|
6,3 |
63 |
16 |
81 |
24 |
80 |
||
|
26 |
71 |
- |
- |
||||
|
36 |
61 |
- |
- |
||||
|
45 |
52 |
170 |
- |
- |
|||
|
55 |
42 |
- |
- |
||||
|
65 |
32 |
- |
- |
||||
|
75 |
22 |
- |
- |
||||
|
10,0 |
100 |
26 |
99 |
200 |
34 |
130 |
|
|
36 |
89 |
- |
- |
||||
|
45 |
80 |
- |
- |
||||
|
70 |
55 |
- |
- |
||||
|
80 |
45 |
- |
- |
||||
|
90 |
35 |
- |
- |
||||
|
1,6 |
16 |
600 |
10 |
60 |
120 |
20 |
60 |
|
2,5 |
25 |
12 |
58 |
||||
|
16 |
54 |
||||||
|
30 |
40 |
- |
- |
||||
|
40 |
30 |
- |
- |
||||
|
50 |
20 |
- |
- |
||||
|
4,0 |
40 |
14 |
82 |
140 |
20 |
70 |
|
|
20 |
76 |
||||||
|
32 |
64 |
- |
- |
||||
|
45 |
51 |
- |
- |
||||
|
60 |
36 |
- |
- |
||||
|
65 |
31 |
- |
- |
||||
Пример условного обозначения ребра с размерами С = 60 мм, а = 120 мм из стали марки Ст3пс4:
Ребро 60-120 Ст3пс4 ОСТ 26-2013-83
3.13. Конструкция и размеры скоб, поз. 3 подъемно-поворотных устройств исполнения 3, должны соответствовать указанным на рисунке 13 и в таблице 8.
Рисунок 13
Таблица 8
Размеры в миллиметрах
|
Диаметр внутренний люка |
B |
H |
l |
d1 |
l1 |
f |
||
|
МПа |
кгс/см2 |
|||||||
|
1,0 |
10 |
400 |
100 |
200 |
70 |
32 |
35 |
50 |
|
1,6; 2,5; 4,0; 6,3; |
16; 25; 40; 63; |
120 |
90 |
47 |
45 |
|||
|
10,0 |
100 |
|||||||
|
16,0 |
160 |
62 |
||||||
|
0,6; 1,0 |
6; 10 |
450 |
100 |
70 |
32 |
35 |
||
|
1,6; 2,5; 4,0; 6,3 |
16; 25; 40; 63 |
120 |
90 |
47 |
45 |
|||
|
10,0 |
100 |
62 |
||||||
|
16,0 |
160 |
72 |
60 |
|||||
|
0,6; 1,0 |
6; 10 |
500 |
100 |
70 |
32 |
35 |
50 |
|
|
1,6; 2,5; 4,0; 6,3 |
16; 25; 40; 6,3 |
120 |
250 |
90 |
52 |
45 |
||
|
10,0 |
100 |
62 |
||||||
|
0,3; 0,6 |
3; 6 |
600 |
100 |
200 |
70 |
32 |
35 |
|
|
1,0 |
10 |
38 |
||||||
|
1,6; 2,5 |
16; 25 |
120 |
250 |
90 |
52 |
45 |
||
|
4,0 |
40 |
62 |
||||||
|
0,1 |
1 |
700 |
120 |
250 |
90 |
32 |
45 |
|
|
0,3; 0,6; 1,0; 1,6 |
3; 6; 10; 16 |
38 |
||||||
|
0,1 |
1 |
800 |
32 |
|||||
|
0,3 |
3 |
38 |
||||||
|
0,61 |
6 |
47 |
||||||
Пример условного обозначения скобы с размерами В = 100 мм, Н = 200 мм и d1 = 32 мм из стали марки Ст3пс4:
Скоба 100-200-32-Ст3пс4 ОСТ 26-2013-83.
4. Материальное исполнение, пределы применения в зависимости от температуры, технические требования и маркировка по ОСТ 26-2015.
5. Масса подъемно-поворотных устройств и их деталей указана в справочном приложении А.
6. Конструкция и размеры шайб, поз. 9, рисунок 1, 2 и поз. 8 рисунок 3 должны соответствовать указанным на черт. 14 и в табл. 9.
Рисунок 14
Таблица 9
В миллиметрах
|
d1 |
D |
|
|
30 |
31 |
45 |
|
36 |
37 |
57 |
|
45 |
48 |
60 |
|
50 |
52 |
68 |
|
60 |
62 |
76 |
|
70 |
73 |
89 |
Пример условного обозначения шайбы для кронштейна диаметром 30 мм из стали марки Ст3сп4:
Шайба 30-Ст3сп4 ОСТ 26-2013-83.
Таблица A.1
Масса подъемно-поворотных устройств
|
Давление условное |
Диаметр внутренний люка, мм |
Толщина стенки обечайки люка, мм |
Наименование |
|
|||||||||||||||||||
|
Кронштейн, поз. 1 |
Ребро, поз. 6 |
Болт, поз. 4 |
Скоба, поз. 3 |
Рукоятка, поз. 3 |
Втулка |
Шайба поз. 9, рис. 1, 2; поз. 8 рис. 3 |
Устройство |
|
|||||||||||||||
|
поз. 5 |
поз. 2 |
|
|||||||||||||||||||||
|
МПа |
кгс/см2 |
Масса, кг, при исполнении устройства |
|
||||||||||||||||||||
|
1 |
2 |
3 |
1 |
2 |
1 |
2 |
3 |
3 |
1 |
2 |
1 |
2 |
1; 3 |
2 |
1; 2; 3 |
1 |
2 |
3 |
|
||||
|
1,0 |
10 |
400 |
8 |
3,86 |
- |
4,15 |
0,4 |
- |
0,52 |
- |
0,41 |
2,00 |
0,41 |
- |
0,89 |
- |
0,09 |
- |
0,05 |
6,74 |
- |
7,22 |
|
|
1,6 |
16 |
8,75 |
10,4 |
0,45 |
2,75 |
1,20 |
0,19 |
0,06 |
12,12 |
14,37 |
|||||||||||||
|
10 |
|||||||||||||||||||||||
|
2,5 |
25 |
||||||||||||||||||||||
|
16 |
10,70 |
14,67 |
|
||||||||||||||||||||
|
24 |
10,83 |
0,49 |
12,16 |
14,80 |
|
||||||||||||||||||
|
32 |
11,00 |
14,98 |
|
||||||||||||||||||||
|
40 |
11,10 |
|
|||||||||||||||||||||
|
4,0 |
40 |
12 |
9,31 |
10,86 |
0,59 |
12,83 |
14,84 |
|
|||||||||||||||
|
20 |
11,20 |
10,49 |
12,73 |
15,18 |
|
||||||||||||||||||
|
30 |
11,35 |
0,45 |
12,69 |
15,33 |
|
||||||||||||||||||
|
45 |
11,58 |
0,38 |
12,61 |
15,56 |
|
||||||||||||||||||
|
50 |
0,34 |
12,57 |
|
||||||||||||||||||||
|
6,3 |
63 |
14 |
11,20 |
0,65 |
12,89 |
15,18 |
|
||||||||||||||||
|
20 |
11,40 |
0,57 |
12,81 |
15,38 |
|
||||||||||||||||||
|
32 |
11,60 |
0,50 |
12,75 |
15,58 |
|
||||||||||||||||||
|
45 |
11,83 |
0,44 |
12,67 |
15,81 |
|
||||||||||||||||||
|
50 |
0,40 |
12,63 |
|
||||||||||||||||||||
|
65 |
12,20 |
0,26 |
12,49 |
16,19 |
|
||||||||||||||||||
|
10,0 |
100 |
20 |
9,56 |
12,08 |
1,06 |
13,55 |
16,07 |
|
|||||||||||||||
|
30 |
12,21 |
1,00 |
13,49 |
16,20 |
|
||||||||||||||||||
|
40 |
12,45 |
0,91 |
13,40 |
16,44 |
|
||||||||||||||||||
|
50 |
12,67 |
0,81 |
13,24 |
16,6 |
|
||||||||||||||||||
|
60 |
12,80 |
0,69 |
13,18 |
16,8 |
|
||||||||||||||||||
|
65 |
12,94 |
0,62 |
13,11 |
16,9 |
|
||||||||||||||||||
|
75 |
13,22 |
0,50 |
13,00 |
17,22 |
|
||||||||||||||||||
|
16,0 |
160 |
32 |
19,43 |
23,65 |
1,79 |
2,54 |
2,62 |
0,30 |
0,09 |
25,84 |
27,62 |
|
|||||||||||
|
45 |
24,32 |
1,57 |
25,61 |
28,3 |
|
||||||||||||||||||
|
60 |
1,45 |
25,49 |
|
||||||||||||||||||||
|
75 |
25,43 |
1,28 |
25,32 |
29,48 |
|
||||||||||||||||||
|
80 |
1,22 |
25,26 |
|
||||||||||||||||||||
|
90 |
1,06 |
25,10 |
|
||||||||||||||||||||
|
0,6 |
6 |
450 |
8 |
3,86 |
4,47 |
0,35 |
0,52 |
0,41 |
2,00 |
0,41 |
0,89 |
0,09 |
0,05 |
6,69 |
7,54 |
|
|||||||
|
1,0 |
10 |
0,41 |
0,19 |
6,75 |
|
||||||||||||||||||
|
1,6 |
16 |
10 |
8,68 |
10,93 |
0,42 |
0,41 |
0,41 |
2,75 |
0,41 |
1,20 |
1,20 |
0,19 |
0,06 |
12,65 |
11,96 |
14,91 |
|
||||||
|
2,5 |
25 |
9,31 |
- |
- |
- |
- |
- |
||||||||||||||||
|
16 |
|
||||||||||||||||||||||
|
26 |
11,56 |
0,31 |
12,54 |
15,54 |
|
||||||||||||||||||
|
36 |
0,26 |
12,50 |
|
||||||||||||||||||||
|
45 |
0,19 |
12,42 |
|
||||||||||||||||||||
|
4,0 |
40 |
12 |
9,56 |
11,43 |
0,72 |
13,21 |
15,41 |
|
|||||||||||||||
|
20 |
11,68 |
0,68 |
13,17 |
15,66 |
|
||||||||||||||||||
|
28 |
12,06 |
0,59 |
13,08 |
16,05 |
|
||||||||||||||||||
|
36 |
0,50 |
13,00 |
|
||||||||||||||||||||
|
45 |
0,44 |
12,93 |
|
||||||||||||||||||||
|
55 |
12,31 |
0,35 |
12,84 |
16,3 |
|
||||||||||||||||||
|
6,3 |
63 |
16 |
12,88 |
- |
15,04 |
0,67 |
- |
- |
2,75 |
- |
1,78 |
- |
0,17 |
0,09 |
17,10 |
19,07 |
|
||||||
|
22 |
0,61 |
17,05 |
|
||||||||||||||||||||
|
30 |
15,19 |
0,55 |
16,99 |
19,22 |
|
||||||||||||||||||
|
40 |
0,59 |
16,95 |
|
||||||||||||||||||||
|
50 |
15,35 |
0,48 |
16,92 |
19,38 |
|
||||||||||||||||||
|
55 |
0,43 |
16,87 |
|
||||||||||||||||||||
|
65 |
15,96 |
0,32 |
16,75 |
20,00 |
|
||||||||||||||||||
|
70 |
0,27 |
16,70 |
|
||||||||||||||||||||
|
10,0 |
100 |
24 |
19,21 |
23,10 |
1,06 |
2,54 |
2,62 |
0,30 |
24,87 |
27,13 |
|
||||||||||||
|
32 |
1,01 |
24,82 |
|
||||||||||||||||||||
|
45 |
24,21 |
0,91 |
24,72 |
28,25 |
|
||||||||||||||||||
|
55 |
0,81 |
24,62 |
|
||||||||||||||||||||
|
65 |
0,69 |
24,50 |
|
||||||||||||||||||||
|
75 |
24,65 |
0,56 |
24,37 |
28,69 |
|
||||||||||||||||||
|
80 |
24,87 |
0,50 |
24,31 |
28,92 |
|
||||||||||||||||||
|
16,0 |
160 |
34 |
28,57 |
34,16 |
1,78 |
2,38 |
3,52 |
0,34 |
0,12 |
36,04 |
38,20 |
|
|||||||||||
|
50 |
35,97 |
1,61 |
35,86 |
40,04 |
|
||||||||||||||||||
|
70 |
36,87 |
1,40 |
35,65 |
40,94 |
|
||||||||||||||||||
|
85 |
1,22 |
35,47 |
|
||||||||||||||||||||
|
95 |
1,06 |
35,40 |
|
||||||||||||||||||||
|
100 |
0,97 |
35,22 |
|
||||||||||||||||||||
|
0,6 |
6 |
500 |
8 |
4,00 |
4,86 |
0,35 |
0,52 |
2,00 |
0,89 |
0,09 |
0,05 |
6,83 |
8,34 |
|
|||||||||
|
1,0 |
10 |
4,00 |
0,41 |
0,41 |
0,41 |
0,41 |
0,89 |
0,09 |
6,89 |
6,78 |
|
||||||||||||
|
1,6 |
16 |
10 |
11,80 |
11,11 |
14,5 |
0,42 |
3,04 |
1,78 |
1,78 |
0,17 |
0,17 |
0,09 |
15,78 |
14,95 |
17,64 |
|
|||||||
|
2,5 |
25 |
14,50 |
0,42 |
- |
- |
- |
1,78 |
- |
0,17 |
- |
15,77 |
- |
18,82 |
|
|||||||||
|
16 |
0,33 |
15,68 |
|
||||||||||||||||||||
|
26 |
15,11 |
0,28 |
15,63 |
19,43 |
|
||||||||||||||||||
|
36 |
0,25 |
15,59 |
|
||||||||||||||||||||
|
45 |
0,20 |
15,54 |
|
||||||||||||||||||||
|
4,0 |
40 |
12 |
15,96 |
0,69 |
16,47 |
|
|||||||||||||||||
|
20 |
0,68 |
16,49 |
|
||||||||||||||||||||
|
30 |
0,59 |
16,40 |
|
||||||||||||||||||||
|
40 |
0,50 |
16,30 |
|
||||||||||||||||||||
|
50 |
0,41 |
16,22 |
|
||||||||||||||||||||
|
55 |
0,37 |
16,18 |
|
||||||||||||||||||||
|
6,3 |
63 |
16 |
15,58 |
0,66 |
16,47 |
19,91 |
|
||||||||||||||||
|
26 |
16,04 |
0,62 |
16,43 |
20,37 |
|
||||||||||||||||||
|
36 |
0,53 |
16,34 |
|
||||||||||||||||||||
|
45 |
16,19 |
0,56 |
16,37 |
20,52 |
|
||||||||||||||||||
|
55 |
0,45 |
16,26 |
|
||||||||||||||||||||
|
65 |
16,66 |
0,34 |
16,15 |
21,00 |
|
||||||||||||||||||
|
75 |
0,23 |
16,04 |
|
||||||||||||||||||||
|
10,0 |
100 |
26 |
20,77 |
24,43 |
1,09 |
2,90 |
2,62 |
0,30 |
26,48 |
28,85 |
|
||||||||||||
|
36 |
0,98 |
26,37 |
|
||||||||||||||||||||
|
45 |
26,20 |
0,81 |
26,20 |
30,63 |
|
||||||||||||||||||
|
70 |
0,69 |
26,08 |
|
||||||||||||||||||||
|
80 |
0,56 |
25,95 |
|
||||||||||||||||||||
|
90 |
0,44 |
25,83 |
|
||||||||||||||||||||
|
0,3 |
3 |
600 |
8 |
4,30 |
4,30 |
5,41 |
0,35 |
0,35 |
0,52 |
0,41 |
0,41 |
2,00 |
0,41 |
0,41 |
0,89 |
0,89 |
0,09 |
0,09 |
0,05 |
7,19 |
7,02 |
8,48 |
|
|
0,6 |
6 |
|
|||||||||||||||||||||
|
1,0 |
10 |
10 |
6,20 |
6,20 |
7,80 |
0,40 |
0,40 |
1,95 |
1,56 |
1,56 |
0,12 |
0,12 |
0,09 |
9,9 |
9,71 |
10,89 |
|
||||||
|
1,6 |
16 |
12,57 |
12,57 |
16,04 |
0,42 |
3,04 |
1,78 |
1,78 |
0,17 |
0,17 |
16,5 |
16,41 |
20,37 |
|
|||||||||
|
2,5 |
25 |
12 |
- |
0,40 |
- |
- |
- |
- |
- |
- |
|
||||||||||||
|
16 |
0,39 |
|
|||||||||||||||||||||
|
30 |
16,96 |
0,37 |
16,43 |
21,30 |
|
||||||||||||||||||
|
40 |
0,31 |
16,4 |
|
||||||||||||||||||||
|
50 |
0,27 |
|
|||||||||||||||||||||
|
4,0 |
40 |
14 |
18,77 |
21,21 |
1,06 |
2,90 |
2,62 |
0,30 |
24,43 |
28,62 |
|
||||||||||||
|
20 |
24,43 |
0,75 |
24,12 |
28,84 |
|
||||||||||||||||||
|
32 |
25,09 |
0,68 |
24,05 |
29,5 |
|
||||||||||||||||||
|
45 |
0,60 |
23,96 |
|
||||||||||||||||||||
|
60 |
25,76 |
0,39 |
23,76 |
30,2 |
|
||||||||||||||||||
|
65 |
0,28 |
23,65 |
|
||||||||||||||||||||
|
0,1 |
1 |
700 |
4 |
4,61 |
4,61 |
6,19 |
0,35 |
0,35 |
0,41 |
3,24 |
0,41 |
0,89 |
0,89 |
0,09 |
0,09 |
0,06 |
7,44 |
7,33 |
10,50 |
|
|||
|
0,3 |
3 |
8 |
6,64 |
5,64 |
8,91 |
3,19 |
1,56 |
1,56 |
0,12 |
0,12 |
0,09 |
10,21 |
10,1 |
13,27 |
|
||||||||
|
0,6 |
6 |
|
|||||||||||||||||||||
|
1,0 |
10 |
10 |
|
||||||||||||||||||||
|
1,6 |
16 |
12 |
10,56 |
10,56 |
13,93 |
0,40 |
0,40 |
1,20 |
1,20 |
0,19 |
0,19 |
0,06 |
13,90 |
13,79 |
18,38 |
|
|||||||
|
0,1 |
1 |
800 |
5 |
4,83 |
- |
6,75 |
0,39 |
- |
- |
3,24 |
- |
0,89 |
- |
0,09 |
- |
0,05 |
7,71 |
- |
11,07 |
|
|||
|
0,3 |
3 |
8 |
7,08 |
9,71 |
0,35 |
3,19 |
1,56 |
0,12 |
0,09 |
10,66 |
14,08 |
|
|||||||||||
|
0,6 |
6 |
11,06 |
13,93 |
3,10 |
1,20 |
0,19 |
0,06 |
14,35 |
18,30 |
|
|||||||||||||
Примечание - Масса крышек подсчитана при плотности стали 7,85 кгс/cм3.