ОАО «ЦНИИПРОМЗДАНИЙ»
НАРУЖНЫЕ СТЕНЫ, СТЕНЫ
ПОДВАЛА, ПОКРЫТИЯ,
ЧЕРДАЧНЫЕ ПЕРЕКРЫТИЯ И ПОЛЫ С ТЕПЛОИЗОЛЯЦИЕЙ ИЗ
ПЕНОСТЕКЛА «FOAMGLAS» ФИРМЫ «Pittsburgh Corning» (Бельгия)
Материалы для проектирования и рабочие чертежи узлов
Шифр М24.30/06
Зам. генерального директора С.М. Гликин
Руководитель отдела A.M. Воронин
Москва, 2006 г.
СИСТЕМА СЕРТИФИКАЦИИ ГОСТ Р
ГОССТАНДАРТ РОССИИ
ОРГАН ПО СЕРТИФИКАЦИИ
ОРГАН ПО СЕРТИФИКАЦИИ ПРОЕКТНОЙ ПРОДУКЦИИ В СТРОИТЕЛЬСТВЕ
№ РОСС RU.0001.11СР48 от 19.12.2005
Россия, 127238, Москва, Дмитровское шоссе, д. 46, корп. 2, тел. 482-07-78
ПРОДУКЦИЯ
ПРОЕКТНАЯ ДОКУМЕНТАЦИЯ «НАРУЖНЫЕ СТЕНЫ, СТЕНЫ ПОДВАЛА, ПОКРЫТИЯ, ЧЕРДАЧНЫЕ ПЕРЕКРЫТИЯ И ПОЛЫ С ТЕПЛОИЗОЛЯЦИЕЙ ИЗ ПЕНОСТЕКЛА «FOAMGLAS» ФИРМЫ «PITTSBURGH CORNIng» (БЕЛЬГИЯ): МАТЕРИАЛЫ ДЛЯ ПРОЕКТИРОВАНИЯ И РАБОЧИЕ ЧЕРТЕЖИ УЗЛОВ», ШИФР М24.30/06
СООТВЕТСТВУЕТ ТРЕБОВАНИЯМ НОРМАТИВНЫХ ДОКУМЕНТОВ
СНиП 23-02-2003, СНиП 21-01-97* (издание 2004 г.),
СНиП 23-03-2003, СНиП 2.03.13-88,
СНиП 31-01-2003, СНиП 2.09.04-87* (издание 2001 г.),
СНиП 31-03-2001, СНиП II-22-81* (издание 2004).
СНиП 31-05-2003, СНиП II-26-76
ИЗГОТОВИТЕЛЬ
ОАО «ЦНИИПРОМЗДАНИЙ»
Россия, 127238, г. Москва, Дмитровское шоссе, д. 46, корп. 2; тел. 482-18-23
ИНН 7713006939
СЕРТИФИКАТ ВЫДАН
ОАО «ЦНИИПРОМЗДАНИЙ»
НА ОСНОВАНИИ
экспертного заключения № 426с/06 от 25.09.2006, выполненного органом по сертификации проектной продукции в строительстве № РОСС RU.0001.11СР48 от 19.12.2005
ДОПОЛНИТЕЛЬНАЯ ИНФОРМАЦИЯ
Сертификация по схеме 1.
Маркировка проектной документации производится знаком соответствия органа по сертификации № РОСС RU.0001.11СР48 в правом верхнем углу титульного листа
Руководитель органа ___________________ ______Г.П. Володин_______
подпись инициалы, фамилия
Эксперт ___________________ ______Л.А. Кан_______
подпись инициалы, фамилия
Сертификат не применяется при обязательной сертификации
СОДЕРЖАНИЕ
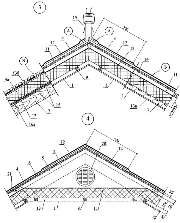
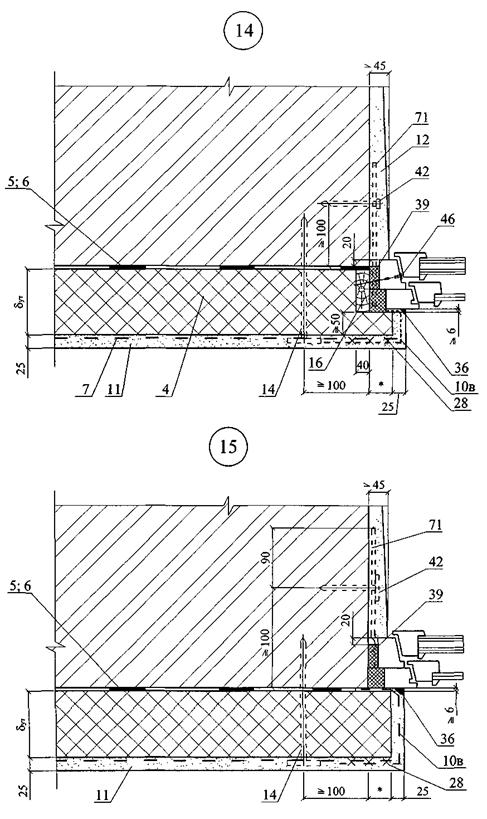
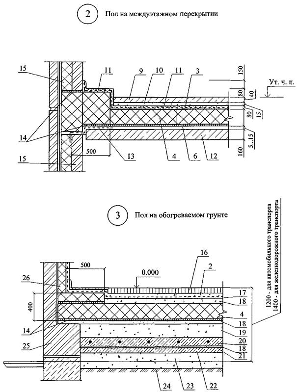
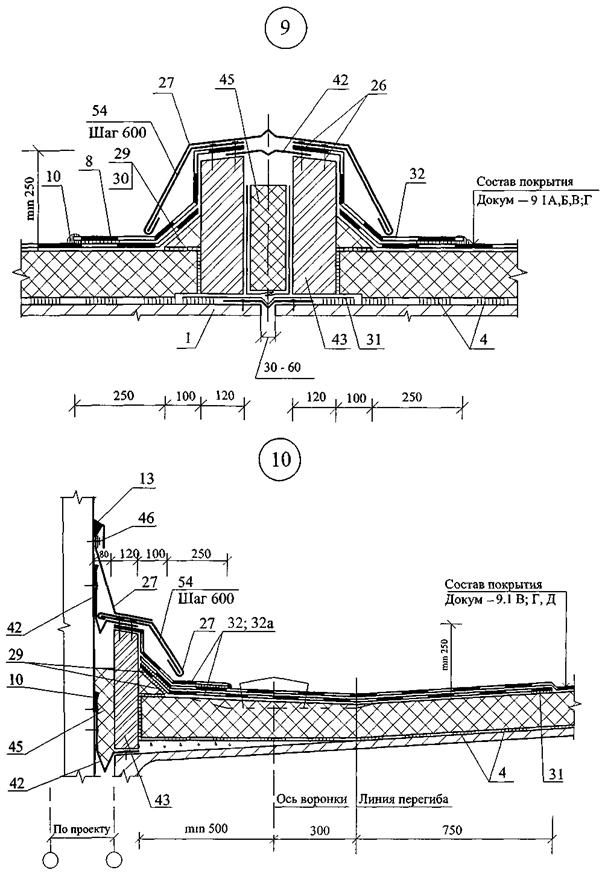
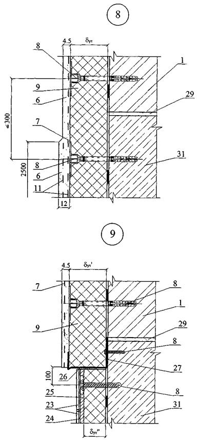
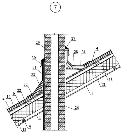
1.1. Альбом содержит материалы для проектирования и рабочие чертежи наружных стен, стен подвала, покрытий и полов отапливаемых зданий различного назначения и полов холодильников с теплоизоляцией из плитного пеностекла «Фоамглас».
1.2. Материалы разработаны для следующих условий:
здания одно- и многоэтажные, I - IV степени огнестойкости с сухим, нормальным и влажным температурно-влажностным режимом для строительства на всей территории страны;
стены несущие или самонесущие из штучных материалов (кирпич, камни, бетонные блоки) или монолитного железобетона;
покрытия из железобетона и стального профнастила;
температура холодной пятидневки обеспеченностью 0,92 - до минус 55 °С.
1.3. Проектирование следует вести с учетом указаний следующих действующих нормативных документов:
СНиП 31-01-2003 «Здания жилые многоквартирные»;
СНиП 31-05-2003 «Общественные здания административного назначения»;
СНиП 31-03-2001 «Производственные здания»;
СНиП 2.09.04-87* «Административные и бытовые здания» (изд. 2001);
СНиП 23-02-2003 «Тепловая защита зданий»;
СНиП II-22-81 «Каменные и армокаменные конструкции»;
СНиП 21-01-97* «Пожарная безопасность зданий и сооружений»;
СНиП 23-01-99 «Строительная климатология»;
СНиП II-26-76 «Кровли»;
«Кровли. Руководство по проектированию, устройству, правилам приемки и методам оценки качества», М., ОАО «ЦНИИПромзданий», 2002 г.
«Полы. Технические требования и правила проектирования, устройства, приемки, эксплуатации и ремонта», М, ОАО «ЦНИИПромзданий», 2004 г.
1.4. С дополнительной технической информацией, фотографиями объектов и видеофильмами по монтажу систем изоляции можно ознакомиться на сайте Представительства «Pittsburgh Corning S.A.» в России: http://www.foamglas.ru/ и получить необходимые консультации у сотрудников Представительства.
Адрес: 129337, г. Москва, ул. Красная сосна, д. 3, стр. 1. Многоканальный телефон: (495) 995-58-77.
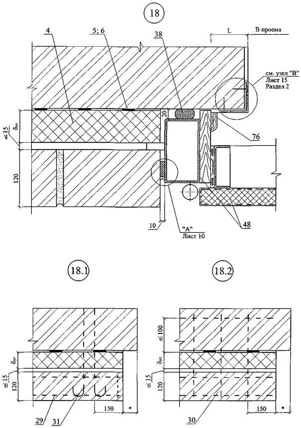
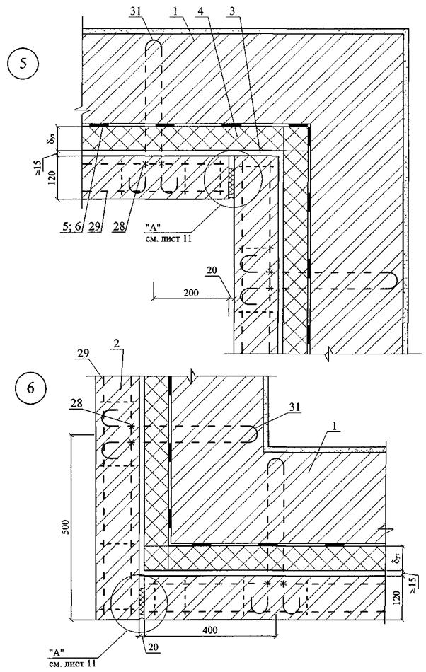
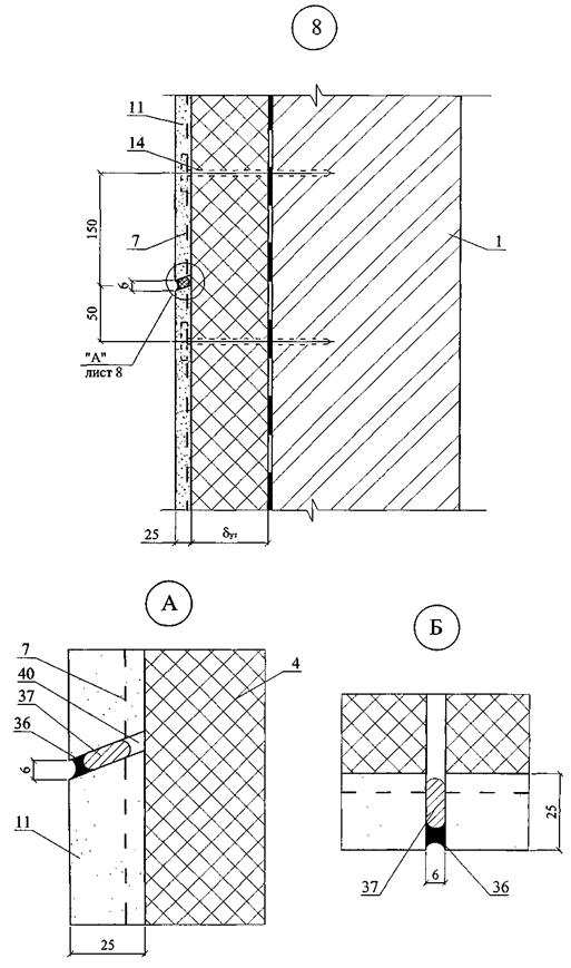
2.1. В качестве теплоизоляции применяются плиты из плитного пеностекла FOAMGLAS T4, FOAMGLAS S3, FOAMGLAS F, FOAMGLAS WALL BOARD, FOAMGLAS READI BOARD, FOAMGLAS FLOOR BOARD, FOAMGLAS FLOOR BOARD F.
В зависимости от физико-технических характеристик плиты FOAMGLAS предназначаются для применения в качестве теплоизоляции:
- FOAMGLAS T4, FOAMGLAS WALL BOARD - в наружных стенах и стенах подвала;
- FOAMGLAS T4, FOAMGLAS READI BOARD - в покрытиях с неэксплуатируемой кровлей;
- FOAMGLAS T4, FOAMGLAS S3, FOAMGLAS F, FOAMGLAS READI BOARD - в эксплуатируемых кровлях, включая паркинги и зеленые кровли;
- FOAMGLAS Т4, FOAMGLAS S3, FOAMGLAS F, FOAMGLAS FLOOR BOARD, FOAMGLAS FLOOR BOARD F - в полах.
2.2. Физико-технические характеристики плит пеностекла «FOAMGLAS» приведены в таблице 1.
2.3. Плиты теплоизоляционные из пеностекла «FOAMGLAS» относятся к группе НГ по ГОСТ 30244.
Физико-технические характеристики плит пеностекла «FOAMGLAS»
|
Наименование показателя, ед. измерения |
Размерность |
Марка плиты утеплителя FOAMGLAS |
|||||||
|
Т4 |
S3 |
F |
READI BOARD |
FLOOR BOARD |
FLOOR BOARD F |
WALL BOARD |
|||
|
1 |
Длина´ширина |
мм |
600´450 |
600´450 |
600´450 |
1200´600 |
1200´600 |
1200´600 |
1200´600 |
|
300´450 |
|||||||||
|
2 |
Толщина |
мм |
40 - 180 |
40 - 180 |
40 - 130 |
40 - 120 |
40 - 150 |
40 - 120 |
40 - 150 |
|
через 10 |
через 10 |
через 10 |
через 10 |
через 10 |
через 10 |
через 10 |
|||
|
3 |
Плотность |
кг/м3 |
120 |
135 |
165 |
120 |
120 |
165 |
110 |
|
4 |
Коэффициент теплопроводности при (25 ± 5) °С |
Вт/(м°К) |
0,043 |
0,047 |
0,052 |
0,043 |
0,047 |
0,053 |
0,04 |
|
5 |
Расчетный коэффициент теплопроводности при условиях эксплуатации «А» и «Б» |
Вт/(м°К) |
0,044 |
0,049 |
0,054 |
0,044 |
0,048 |
0,058 |
0,042 |
|
6 |
Предел прочности при сжатии |
кН/м2 |
700 |
900 |
1600 |
700 |
700 |
1500 |
600 |
|
7 |
Предел прочности при изгибе |
кН/м2 |
500 |
600 |
800 |
550 |
550 |
800 |
400 |
|
8 |
Водопоглащение по объёму через 24 часа при полном погружении в воду |
% |
0 |
0 |
0 |
0 |
0 |
0 |
0 |
|
9 |
Коэффициент паропроницаемости |
мг/(м · ч · Па) |
0 |
0 |
0 |
0 |
0 |
0 |
0 |
3.1. Минимальное допустимое сопротивление теплопередаче стен и покрытий зданий различного назначения и разных климатических условий регламентировано СНиП 23-02-2003 «Тепловая защита зданий».
Сопротивление теплопередаче стен подвалов, расположенных выше уровня земли, принимается с учетом расчетной температуры воздуха подвала как для наружных стен, а расположенных ниже уровня земли по формуле:
Ro = 1,05 + Rст + Ryт,
где Rст - термическое сопротивление несущей части стены;
Ry - термическое сопротивление слоя теплоизоляции.
Показатель теплоусвоения полов общественных и производственных зданий не должен превышать значений, приведенных в СНиП 23-02-2003. В противном случае предусматривается устройство слоя дополнительной теплоизоляции из плит.
3.2. По назначению рассматриваемые в работе здания образуют три группы:
1. Жилые, лечебно-профилактические и детские учреждения, школы, интернаты;
2. Общественные, кроме указанных выше, административные и бытовые, за исключением помещений с влажным режимом;
3. Производственные с сухим и нормальным режимами.
3.3. При новом строительстве необходимая толщина слоя теплоизоляции из пеностекла «ФОАМГЛАС» определялась с учетом следующих условий.
Стены имеют несущую часть из полнотелого керамического кирпича или камней толщиной 380 мм и отделочный слой из тонкослойной штукатурки. В зданиях 1 и 2 группы стена с внутренней стороны имеет отделочный штукатурный слой толщиной 20 мм. Коэффициент теплотехнической однородности 0,95, без учета откосов проемов и других теплопроводных включений. Требуемое сопротивление теплопередаче определяется по таблице СНиП 23-02-2003, а коэффициенты теплопроводности теплоизоляции «FOAMGLAS T4» приняты равными: λА = λБ = 0,044 Вт/(м · °С).
Покрытия - совмещенные из сборных железобетонных ребристых плит по серии 1.465.1-21 или многопустотных железобетонных плит толщиной 220 мм по ГОСТ 9561-91 или монолитного железобетона и кровлей по керамзитобетонной стяжке в 30 мм.
Требуемое сопротивление теплопередаче определяется по таблице СНиП 23-02-2003.
3.4. При реконструкции толщина слоя дополнительной теплоизоляции стен определена из условия:
![]()
где
-
приведенное сопротивление теплопередаче стены по СНиП 23-02-2003;
- сопротивление теплопередаче
существующей конструкции стены, вычисленное по формуле:
где: tв - расчетная температура внутреннего воздуха принятая для зданий 1 и 2 группы равной 18 °С;
tн - расчетная зимняя температура воздуха наиболее холодной пятидневки обеспеченностью 0,92 для рассматриваемого района по СНиП 2.01.01-82 «Строительная климатология и геофизика»;
Dtн - нормативный температурный перепад между температурой внутреннего воздуха и температурой внутренней поверхности конструкции приняты равным для зданий 1 группы - 6 °С, для зданий 2 группы - 7 °С и для зданий 3 группы - 8 °С;
aв = 8,7 Вт/(м2 · °С) - коэффициент теплоотдачи внутренней поверхности ограждения.
Покрытия имеют существующее сопротивление теплопередаче, равное его значению, определенному по формуле (1).
При этом значения Dtн принимаются равными:
- для зданий 1 группы - 4 °С;
- для зданий 2 группы - 5,5 °С;
- для зданий 3 группы - 7 °С.
Необходимая толщина теплоизоляции в стенах, покрытиях и стенах подвала для трех групп зданий и всех областных и республиканских центров страны приведена в таблицах 2, 2а и 2б.
3.5. Требуемая толщина теплоизоляции из плит пеностекла «ФОАМГЛАС» с λА = λБ = 0,044 Вт/(м · °С) в зданиях холодильников, установленная с учетом требований СНиП 2.11.02-87 для полов на перекрытиях многоэтажных холодильников, полов на обогреваемых грунтах и над вентилируемыми подпольями приведена в таблицах 2в, 2г и 2д.
|
Город РФ |
Условия эксплуатации |
Градусо-сутки |
Тип помещения |
СТЕНЫ |
||||
|
Новое строительство |
Реконструкция |
|||||||
|
|
Толщина теплоизоляции, мм |
|
Толщина дополнительной теплоизоляции, мм |
|||||
|
1 |
2 |
3 |
4 |
5 |
6 |
7 |
8 |
9 |
|
1 |
Архангельск |
Б |
6170 |
1 |
3,56 |
130 |
1,03 |
90 |
|
|
|
|
5670 |
2 |
2,90 |
90 |
0,89 |
80 |
|
|
|
|
3 |
2,13 |
50 |
0,75 |
60 |
|
|
2 |
Астрахань |
А |
3540 |
1 |
2,64 |
80 |
0,84 |
70 |
|
|
|
|
3200 |
2 |
2,08 |
60 |
0,72 |
50 |
|
|
|
|
3 |
1,64 |
40 |
0,60 |
40 |
|
|
3 |
Анадырь |
Б |
9500 |
1 |
4,72 |
170 |
1,15 |
130 |
|
|
|
|
8900 |
2 |
3,87 |
120 |
0,99 |
120 |
|
|
|
|
3 |
2,76 |
90 |
0,83 |
80 |
|
|
4 |
Барнаул |
А |
6120 |
1 |
3,54 |
120 |
1,15 |
90 |
|
|
|
|
5680 |
2 |
2,90 |
90 |
0,99 |
70 |
|
|
|
|
3 |
2,13 |
60 |
0,83 |
50 |
|
|
5 |
Белгород |
А |
4180 |
1 |
2,86 |
90 |
0,88 |
90 |
|
|
|
|
3800 |
2 |
2,32 |
60 |
0,76 |
60 |
|
|
|
|
3 |
1,76 |
60 |
0,63 |
40 |
|
|
6 |
Благовещенск |
Б |
6670 |
1 |
3,74 |
120 |
1,05 |
100 |
|
|
|
|
6240 |
2 |
3,07 |
100 |
0,90 |
90 |
|
|
|
|
3 |
2,25 |
70 |
0,76 |
60 |
|
|
7 |
Брянск |
Б |
4570 |
1 |
3,00 |
100 |
0,92 |
80 |
|
|
|
|
4160 |
2 |
2,45 |
80 |
0,79 |
70 |
|
|
|
|
3 |
1,83 |
50 |
0,66 |
50 |
|
|
8 |
Волгоград |
А |
3950 |
1 |
2,78 |
90 |
0,92 |
70 |
|
|
|
|
3600 |
2 |
2,24 |
60 |
0,79 |
60 |
|
|
|
|
3 |
1,72 |
40 |
0,66 |
40 |
|
|
9 |
Вологда |
Б |
5570 |
1 |
3,35 |
110 |
1,03 |
90 |
|
|
|
|
5100 |
2 |
2,73 |
80 |
0,89 |
70 |
|
|
|
|
3 |
2,02 |
50 |
0,75 |
50 |
|
|
10 |
Воронеж |
А |
4530 |
1 |
3,0 |
90 |
0,92 |
90 |
|
|
|
|
4140 |
2 |
2,44 |
60 |
0,79 |
60 |
|
|
|
|
3 |
1,83 |
60 |
0,66 |
40 |
|
|
11 |
Владимир |
Б |
5000 |
1 |
3,3 |
100 |
0,98 |
90 |
|
|
|
|
4580 |
2 |
2,57 |
80 |
0,84 |
70 |
|
|
|
|
3 |
1,91 |
50 |
0,70 |
50 |
|
|
12 |
Владивосток |
Б |
4680 |
1 |
3,04 |
100 |
0,84 |
90 |
|
|
|
|
4300 |
2 |
2,49 |
80 |
0,72 |
70 |
|
|
|
|
3 |
1,86 |
50 |
0,60 |
50 |
|
|
13 |
Владикавказ |
А |
3410 |
1 |
2,59 |
80 |
0,73 |
70 |
|
|
|
|
3060 |
2 |
2,02 |
60 |
0,62 |
50 |
|
|
|
|
3 |
1,61 |
40 |
0,52 |
40 |
|
|
14 |
Грозный |
А |
3060 |
1 |
2,47 |
60 |
0,77 |
60 |
|
|
|
|
2740 |
2 |
1,9 |
60 |
0,66 |
60 |
|
|
|
|
3 |
1,55 |
40 |
0,55 |
40 |
|
|
15 |
Екатеринбург |
А |
5980 |
1 |
3,49 |
120 |
1,09 |
90 |
|
|
|
|
5520 |
2 |
2,85 |
90 |
0,94 |
70 |
|
|
|
|
3 |
2,10 |
60 |
0,79 |
50 |
|
|
16 |
Иваново |
Б |
5230 |
1 |
3,23 |
100 |
0,98 |
90 |
|
|
|
|
4800 |
2 |
2,64 |
80 |
0,84 |
70 |
|
|
|
|
3 |
1,96 |
50 |
0,70 |
50 |
|
|
17 |
Игарка |
Б |
9660 |
1 |
4,78 |
170 |
1,42 |
130 |
|
|
|
|
9090 |
2 |
3,93 |
120 |
1,22 |
100 |
|
|
|
|
3 |
2,82 |
90 |
1,03 |
70 |
|
|
18 |
Иркутск |
А |
6480 |
1 |
3,79 |
120 |
1,09 |
100 |
|
|
|
|
6360 |
2 |
3,12 |
90 |
0,94 |
90 |
|
|
|
|
3 |
2,27 |
60 |
0,79 |
60 |
|
|
19 |
Ижевск |
Б |
5680 |
1 |
3,39 |
110 |
1,07 |
90 |
|
|
|
|
5240 |
2 |
2,77 |
90 |
0,92 |
70 |
|
|
|
|
3 |
20,5 |
50 |
0,78 |
50 |
|
|
20 |
Йошкар-Ола |
Б |
5520 |
1 |
3,33 |
100 |
1,07 |
90 |
|
|
|
|
5080 |
2 |
2,72 |
80 |
0,92 |
70 |
|
|
|
|
3 |
2,02 |
50 |
0,78 |
50 |
|
|
21 |
Казань |
Б |
5420 |
1 |
3,30 |
100 |
1,03 |
90 |
|
|
|
|
4990 |
2 |
2,70 |
80 |
0,89 |
70 |
|
|
|
|
3 |
2,0 |
50 |
0,75 |
50 |
|
|
22 |
Калининград |
Б |
3650 |
1 |
2,68 |
80 |
0,77 |
80 |
|
|
|
|
3260 |
2 |
2,10 |
50 |
0,66 |
60 |
|
|
|
|
3 |
1,65 |
40 |
0,55 |
40 |
|
|
23 |
Калуга |
Б |
4810 |
1 |
3,08 |
100 |
0,94 |
90 |
|
|
|
|
4400 |
2 |
2,52 |
80 |
0,8 |
70 |
|
|
|
|
3 |
1,88 |
50 |
0,66 |
50 |
|
|
24 |
Кемерово |
А |
6540 |
1 |
3,69 |
120 |
1,15 |
100 |
|
|
|
|
6080 |
2 |
3,02 |
90 |
0,99 |
90 |
|
|
|
|
3 |
2,21 |
60 |
0,83 |
50 |
|
|
25 |
Вятка |
Б |
5870 |
1 |
3,45 |
110 |
1,03 |
100 |
|
|
|
|
5400 |
2 |
2,82 |
90 |
0,89 |
80 |
|
|
|
|
3 |
2,08 |
50 |
0,75 |
50 |
|
|
26 |
Кострома |
Б |
5300 |
1 |
3,25 |
100 |
1,02 |
90 |
|
|
|
|
4860 |
2 |
2,66 |
80 |
0,87 |
70 |
|
|
|
|
3 |
1,97 |
50 |
0,73 |
50 |
|
|
27 |
Краснодар |
А |
2680 |
1 |
2,34 |
60 |
0,79 |
60 |
|
|
|
|
2380 |
2 |
1,75 |
40 |
0,67 |
40 |
|
|
|
|
3 |
1,48 |
30 |
0,56 |
30 |
|
|
28 |
Красноярск |
А |
6340 |
1 |
3,62 |
120 |
1,19 |
90 |
|
|
|
|
5870 |
2 |
2,96 |
90 |
1,02 |
70 |
|
|
|
|
3 |
2,17 |
60 |
0,86 |
50 |
|
|
29 |
Курган |
А |
5980 |
1 |
3,49 |
110 |
1,13 |
90 |
|
|
|
|
5550 |
2 |
2,86 |
90 |
0,97 |
70 |
|
|
|
|
3 |
2,11 |
60 |
0,82 |
50 |
|
|
30 |
Курск |
Б |
4400 |
1 |
2,95 |
100 |
0,92 |
80 |
|
|
|
|
4040 |
2 |
2,41 |
80 |
0,79 |
60 |
|
|
|
|
3 |
1,80 |
50 |
0,66 |
50 |
|
|
31 |
Кызыл |
А |
7880 |
1 |
4,16 |
120 |
1,28 |
120 |
|
|
|
|
7430 |
2 |
3,43 |
90 |
1,1 |
90 |
|
|
|
|
3 |
2,49 |
60 |
0,93 |
60 |
|
|
32 |
Липецк |
А |
4730 |
1 |
3,06 |
90 |
0,94 |
90 |
|
|
|
|
4320 |
2 |
2,50 |
70 |
0,80 |
70 |
|
|
|
|
3 |
1,86 |
60 |
0,66 |
50 |
|
|
33 |
Магадан |
Б |
7800 |
1 |
4,13 |
140 |
0,96 |
120 |
|
|
|
|
7230 |
2 |
3,37 |
110 |
0,82 |
100 |
|
|
|
|
3 |
2,45 |
80 |
0,69 |
70 |
|
|
34 |
Махачкала |
А |
2560 |
1 |
2,30 |
60 |
0,71 |
60 |
|
|
|
|
2260 |
2 |
1,7 |
40 |
0,61 |
40 |
|
|
|
|
3 |
1,45 |
30 |
0,53 |
30 |
|
|
35 |
Москва |
Б |
4940 |
1 |
3,13 |
100 |
0,84 |
90 |
|
|
|
|
4520 |
2 |
2,55 |
80 |
0,72 |
70 |
|
|
|
|
3 |
1,9 |
50 |
0,60 |
50 |
|
|
36 |
Мурманск |
Б |
6380 |
1 |
3,63 |
120 |
0,96 |
100 |
|
|
|
|
5830 |
2 |
2,95 |
100 |
0,82 |
90 |
|
|
|
|
3 |
2,17 |
60 |
0,69 |
60 |
|
|
37 |
Нальчик |
А |
3260 |
1 |
2,54 |
60 |
0,75 |
70 |
|
|
|
|
2920 |
2 |
1,97 |
60 |
0,64 |
50 |
|
|
|
|
3 |
1,58 |
40 |
0,53 |
40 |
|
|
38 |
Нижний Новгород |
Б |
5180 |
1 |
3,21 |
100 |
1,0 |
90 |
|
|
|
|
4750 |
2 |
2,63 |
80 |
0,85 |
70 |
|
|
|
|
3 |
1,95 |
50 |
0,72 |
50 |
|
|
39 |
Новгород |
Б |
4930 |
1 |
3,13 |
100 |
0,94 |
90 |
|
|
|
|
4490 |
2 |
2,55 |
80 |
0,80 |
70 |
|
|
|
|
3 |
1,9 |
50 |
0,66 |
50 |
|
|
40 |
Новосибирск |
А |
6600 |
1 |
3,71 |
120 |
1,15 |
110 |
|
|
|
|
6140 |
2 |
3,04 |
90 |
0,99 |
90 |
|
|
|
|
3 |
2,23 |
60 |
0,83 |
50 |
|
|
41 |
Омск |
А |
6280 |
1 |
3,60 |
120 |
1,13 |
90 |
|
|
|
|
5840 |
2 |
2,85 |
90 |
0,97 |
70 |
|
|
|
|
3 |
2,17 |
60 |
0,82 |
50 |
|
|
42 |
Оренбург |
А |
5310 |
1 |
3,26 |
90 |
1,03 |
90 |
|
|
|
|
4900 |
2 |
2,67 |
80 |
0,89 |
70 |
|
|
|
|
3 |
1,98 |
60 |
0,75 |
50 |
|
|
43 |
Орел |
Б |
4650 |
1 |
3,03 |
100 |
0,94 |
80 |
|
|
|
|
4250 |
2 |
2,48 |
80 |
0,80 |
70 |
|
|
|
|
3 |
1,85 |
50 |
0,66 |
50 |
|
|
44 |
Пенза |
А |
5070 |
1 |
3,17 |
90 |
0,98 |
90 |
|
|
|
|
4660 |
2 |
2,60 |
80 |
0,84 |
70 |
|
|
|
|
3 |
1,93 |
60 |
0,70 |
50 |
|
|
45 |
Пермь |
Б |
5930 |
1 |
3,48 |
100 |
1,09 |
100 |
|
|
|
|
5470 |
2 |
2,84 |
90 |
0,94 |
80 |
|
|
|
|
3 |
2,09 |
50 |
0,79 |
50 |
|
|
46 |
Петрозаводск |
Б |
5540 |
1 |
3,34 |
100 |
1,00 |
90 |
|
|
|
|
5060 |
2 |
2,85 |
90 |
0,85 |
80 |
|
|
|
|
3 |
2,10 |
50 |
0,72 |
60 |
|
|
47 |
Петропавловск-Камчатский |
Б |
4760 |
1 |
3,07 |
100 |
0,77 |
90 |
|
|
|
|
4250 |
2 |
2,48 |
80 |
0,66 |
70 |
|
|
|
|
3 |
1,85 |
50 |
0,55 |
50 |
|
|
48 |
Псков |
Б |
4580 |
1 |
3,0 |
100 |
0,94 |
80 |
|
|
|
|
4160 |
2 |
2,45 |
80 |
0,80 |
70 |
|
|
|
|
3 |
1,83 |
50 |
0,66 |
50 |
|
|
49 |
Ростов-на-Дону |
А |
3520 |
1 |
2,63 |
60 |
0,94 |
60 |
|
|
|
|
3180 |
2 |
2,07 |
60 |
0,80 |
50 |
|
|
|
|
3 |
1,64 |
40 |
0,66 |
40 |
|
|
50 |
Рязань |
Б |
4890 |
1 |
3,11 |
100 |
0,98 |
90 |
|
|
|
|
4470 |
2 |
2,54 |
80 |
0,84 |
70 |
|
|
|
|
3 |
1,90 |
50 |
0,70 |
50 |
|
|
51 |
Самара |
Б |
5110 |
1 |
3,19 |
100 |
1,03 |
90 |
|
|
|
|
4710 |
2 |
2,61 |
80 |
0,89 |
70 |
|
|
|
|
3 |
1,94 |
50 |
0,75 |
50 |
|
|
52 |
Санкт-Петербург |
Б |
4800 |
1 |
3,08 |
100 |
0,90 |
90 |
|
|
|
|
4360 |
2 |
2,51 |
80 |
0,77 |
70 |
|
|
|
|
3 |
1,87 |
50 |
0,65 |
50 |
|
|
53 |
Саранск |
А |
5120 |
1 |
3,19 |
90 |
1,0 |
90 |
|
|
|
|
4700 |
2 |
2,61 |
80 |
0,85 |
70 |
|
|
|
|
3 |
1,94 |
60 |
0,72 |
50 |
|
|
54 |
Саратов |
А |
4760 |
1 |
3,07 |
90 |
0,98 |
90 |
|
|
|
|
4370 |
2 |
2,51 |
70 |
0,84 |
70 |
|
|
|
|
3 |
1,87 |
60 |
0,70 |
40 |
|
|
55 |
Салехард |
Б |
9170 |
1 |
4,61 |
170 |
1,23 |
130 |
|
|
|
|
8590 |
2 |
3,78 |
120 |
1,05 |
120 |
|
|
|
|
3 |
2,72 |
80 |
0,89 |
70 |
|
|
56 |
Смоленск |
Б |
4820 |
1 |
3,09 |
100 |
0,94 |
90 |
|
|
|
|
4400 |
2 |
2,52 |
80 |
0,80 |
70 |
|
|
|
|
3 |
1,88 |
50 |
0,66 |
50 |
|
|
57 |
Ставрополь |
А |
3210 |
1 |
2,52 |
60 |
0,79 |
70 |
|
|
|
|
2880 |
2 |
1,95 |
60 |
0,67 |
50 |
|
|
|
|
3 |
1,58 |
40 |
0,56 |
40 |
|
|
58 |
Сыктывкар |
Б |
6320 |
1 |
3,61 |
120 |
1,11 |
100 |
|
|
|
|
5830 |
2 |
2,95 |
100 |
0,95 |
80 |
|
|
|
|
3 |
2,17 |
50 |
0,80 |
60 |
|
|
59 |
Тамбов |
А |
4760 |
1 |
3,07 |
90 |
0,96 |
90 |
|
|
|
|
4360 |
2 |
2,51 |
70 |
0,82 |
70 |
|
|
|
|
3 |
1,87 |
60 |
0,69 |
50 |
|
|
60 |
Тверь |
Б |
5010 |
1 |
3,15 |
100 |
0,98 |
90 |
|
|
|
|
4580 |
2 |
2,57 |
80 |
0,84 |
70 |
|
|
|
|
3 |
1,92 |
50 |
0,70 |
50 |
|
|
61 |
Томск |
Б |
6700 |
1 |
3,75 |
120 |
1,19 |
100 |
|
|
|
|
6230 |
2 |
3,07 |
100 |
1,02 |
80 |
|
|
|
|
3 |
2,25 |
70 |
0,86 |
60 |
|
|
62 |
Тула |
Б |
4760 |
1 |
3,07 |
100 |
0,94 |
90 |
|
|
|
|
4350 |
2 |
2,50 |
80 |
0,80 |
70 |
|
|
|
|
3 |
1,87 |
50 |
0,66 |
50 |
|
|
63 |
Тюмень |
А |
6120 |
1 |
3,54 |
120 |
1,15 |
90 |
|
|
|
|
5670 |
2 |
2,90 |
90 |
0,99 |
70 |
|
|
|
|
3 |
2,13 |
60 |
0,83 |
50 |
|
|
64 |
Ульяновск |
А |
5380 |
1 |
3,29 |
90 |
1,03 |
90 |
|
|
|
|
4960 |
2 |
2,69 |
80 |
0,89 |
70 |
|
|
|
|
3 |
1,99 |
60 |
0,75 |
50 |
|
|
65 |
Улан-Удэ |
А |
7200 |
1 |
3,92 |
120 |
1,15 |
120 |
|
|
|
|
6730 |
2 |
3,22 |
90 |
0,99 |
90 |
|
|
|
|
3 |
2,35 |
70 |
0,83 |
70 |
|
|
66 |
Уфа |
А |
5520 |
1 |
3,33 |
110 |
1,07 |
90 |
|
|
|
|
5090 |
2 |
2,73 |
80 |
0,92 |
70 |
|
|
|
|
3 |
2,02 |
60 |
0,78 |
50 |
|
|
67 |
Хабаровск |
Б |
6180 |
1 |
3,56 |
120 |
1,0 |
100 |
|
|
|
|
5760 |
2 |
2,93 |
90 |
0,85 |
80 |
|
|
|
|
3 |
2,15 |
50 |
0,72 |
60 |
|
|
68 |
Чебоксары |
Б |
5400 |
1 |
3,29 |
100 |
1,02 |
90 |
|
|
|
|
4970 |
2 |
2,70 |
80 |
0,87 |
70 |
|
|
|
|
3 |
2,00 |
50 |
0,73 |
50 |
|
|
69 |
Челябинск |
А |
5780 |
1 |
3,43 |
120 |
1,07 |
90 |
|
|
|
|
5340 |
2 |
2,80 |
90 |
0,92 |
70 |
|
|
|
|
3 |
2,07 |
60 |
0,78 |
50 |
|
|
70 |
Чита |
А |
7600 |
1 |
4,06 |
130 |
1,13 |
120 |
|
|
|
|
7120 |
2 |
3,34 |
110 |
0,97 |
90 |
|
|
|
|
3 |
2,42 |
70 |
0,82 |
70 |
|
|
71 |
Элиста |
А |
3670 |
1 |
2,68 |
80 |
0,86 |
70 |
|
|
|
|
3320 |
2 |
2,13 |
60 |
0,74 |
50 |
|
|
|
|
3 |
1,66 |
40 |
0,62 |
40 |
|
|
72 |
Южно-Сахалинск |
Б |
5590 |
1 |
3,36 |
110 |
0,84 |
100 |
|
|
|
|
5130 |
2 |
2,74 |
80 |
0,72 |
80 |
|
|
|
|
3 |
2,03 |
50 |
0,60 |
60 |
|
|
73 |
Якутск |
А |
10400 |
1 |
5,04 |
180 |
1,46 |
140 |
|
|
|
|
9900 |
2 |
4,17 |
130 |
1,25 |
120 |
|
|
|
|
3 |
2,98 |
90 |
1,06 |
70 |
|
|
74 |
Ярославль |
Б |
5300 |
1 |
3,26 |
100 |
1,00 |
90 |
|
|
|
|
4860 |
2 |
2,66 |
80 |
0,85 |
70 |
|
|
|
|
3 |
1,97 |
50 |
0,72 |
50 |
|
|
Город РФ |
Условия эксплуатации |
Градусо-сутки |
Тип помещения |
ПОКРЫТИЯ |
||||
|
Новое строительство |
Реконструкция |
|||||||
|
|
Толщина теплоизоляции, мм |
|
Толщина дополнительной теплоизоляции, мм |
|||||
|
1 |
2 |
3 |
4 |
5 |
6 |
7 |
8 |
9 |
|
1 |
Архангельск |
Б |
6170 |
1 |
5,29 |
230 |
1,55 |
150 |
|
|
|
|
5670 |
2 |
3,86 |
160 |
1,13 |
100 |
|
|
|
|
3 |
2,91 |
120 |
0,85 |
80 |
|
|
2 |
Астрахань |
А |
3540 |
1 |
3,97 |
160 |
1,26 |
90 |
|
|
|
|
3200 |
2 |
2,88 |
120 |
0,92 |
70 |
|
|
|
|
3 |
2,30 |
90 |
0,69 |
60 |
|
|
3 |
Анадырь |
Б |
9500 |
1 |
6,95 |
290 |
1,72 |
200 |
|
|
|
|
8900 |
2 |
5,16 |
210 |
1,25 |
160 |
|
|
|
|
3 |
3,72 |
160 |
0,95 |
100 |
|
|
4 |
Барнаул |
А |
6120 |
1 |
5,26 |
220 |
1,72 |
120 |
|
|
|
|
5680 |
2 |
3,87 |
160 |
1,25 |
90 |
|
|
|
|
3 |
2,92 |
120 |
0,95 |
70 |
|
|
5 |
Белгород |
А |
4180 |
1 |
4,29 |
180 |
1,32 |
90 |
|
|
|
|
3800 |
2 |
3,12 |
120 |
0,96 |
70 |
|
|
|
|
3 |
2,45 |
100 |
0,72 |
60 |
|
|
6 |
Благовещенск |
Б |
6670 |
1 |
5,54 |
230 |
1,58 |
160 |
|
|
|
|
6240 |
2 |
4,10 |
170 |
1,15 |
120 |
|
|
|
|
3 |
3,06 |
120 |
0,87 |
90 |
|
|
7 |
Брянск |
Б |
4570 |
1 |
4,49 |
180 |
1,38 |
120 |
|
|
|
|
4160 |
2 |
3,26 |
120 |
1,00 |
90 |
|
|
|
|
3 |
2,54 |
100 |
0,76 |
70 |
|
|
8 |
Волгоград |
А |
3950 |
1 |
4,17 |
180 |
1,38 |
80 |
|
|
|
|
3600 |
2 |
3,04 |
120 |
1,00 |
70 |
|
|
|
|
3 |
2,40 |
90 |
0,76 |
60 |
|
|
9 |
Вологда |
Б |
5570 |
1 |
4,98 |
200 |
1,99 |
120 |
|
|
|
|
5100 |
2 |
3,64 |
160 |
1,55 |
90 |
|
|
|
|
3 |
2,77 |
100 |
1,13 |
70 |
|
|
10 |
Воронеж |
А |
4530 |
1 |
4,47 |
200 |
1,38 |
100 |
|
|
|
|
4140 |
2 |
3,26 |
130 |
1,00 |
70 |
|
|
|
|
3 |
2,53 |
100 |
0,76 |
60 |
|
|
11 |
Владимир |
Б |
5000 |
1 |
4,70 |
200 |
1,47 |
120 |
|
|
|
|
4580 |
2 |
3,43 |
140 |
1,17 |
90 |
|
|
|
|
3 |
2,64 |
100 |
0,8 |
70 |
|
|
12 |
Владивосток |
Б |
4680 |
1 |
4,54 |
180 |
1,26 |
120 |
|
|
|
|
4300 |
2 |
3,32 |
120 |
0,92 |
90 |
|
|
|
|
3 |
2,57 |
100 |
0,69 |
70 |
|
|
13 |
Владикавказ |
А |
3410 |
1 |
3,91 |
160 |
1,09 |
90 |
|
|
|
|
3060 |
2 |
2,82 |
120 |
0,79 |
70 |
|
|
|
|
3 |
2,26 |
90 |
0,59 |
60 |
|
|
14 |
Грозный |
А |
3060 |
1 |
3,73 |
160 |
1,15 |
90 |
|
|
|
|
2740 |
2 |
2,70 |
120 |
0,84 |
70 |
|
|
|
|
3 |
2,18 |
90 |
0,62 |
60 |
|
|
15 |
Екатеринбург |
А |
5980 |
1 |
5,19 |
220 |
1,64 |
120 |
|
|
|
|
5520 |
2 |
3,81 |
160 |
1,19 |
90 |
|
|
|
|
3 |
2,88 |
120 |
0,9 |
70 |
|
|
16 |
Иваново |
Б |
5230 |
1 |
4,82 |
200 |
1,47 |
130 |
|
|
|
|
4800 |
2 |
3,52 |
140 |
1,17 |
90 |
|
|
|
|
3 |
2,70 |
100 |
0,8 |
80 |
|
|
17 |
Игарка |
Б |
9660 |
1 |
7,03 |
290 |
2,13 |
190 |
|
|
|
|
9090 |
2 |
5,24 |
230 |
1,55 |
140 |
|
|
|
|
3 |
3,77 |
160 |
1,18 |
100 |
|
|
18 |
Иркутск |
А |
6480 |
1 |
5,62 |
250 |
1,64 |
120 |
|
|
|
|
6360 |
2 |
4,16 |
180 |
1,19 |
90 |
|
|
|
|
3 |
3,10 |
120 |
0,9 |
70 |
|
|
19 |
Ижевск |
Б |
5680 |
1 |
5,04 |
210 |
1,61 |
130 |
|
|
|
|
5240 |
2 |
3,70 |
160 |
1,17 |
100 |
|
|
|
|
3 |
2,81 |
100 |
0,89 |
80 |
|
|
20 |
Йошкар-Ола |
Б |
5520 |
1 |
4,96 |
200 |
1,61 |
130 |
|
|
|
|
5080 |
2 |
3,63 |
140 |
1,17 |
90 |
|
|
|
|
3 |
2,77 |
100 |
0,89 |
70 |
|
|
21 |
Казань |
Б |
5420 |
1 |
4,91 |
200 |
1,99 |
120 |
|
|
|
|
4990 |
2 |
3,60 |
140 |
1,55 |
80 |
|
|
|
|
3 |
2,75 |
100 |
1,13 |
70 |
|
|
22 |
Калининград |
Б |
3650 |
1 |
4,03 |
160 |
1,15 |
100 |
|
|
|
|
3260 |
2 |
2,90 |
120 |
0,84 |
70 |
|
|
|
|
3 |
2,31 |
90 |
0,62 |
70 |
|
|
23 |
Калуга |
Б |
4810 |
1 |
4,61 |
180 |
1,41 |
120 |
|
|
|
|
4400 |
2 |
3,36 |
120 |
1,02 |
90 |
|
|
|
|
3 |
2,60 |
100 |
0,77 |
70 |
|
|
24 |
Кемерово |
А |
6540 |
1 |
5,48 |
230 |
1,72 |
120 |
|
|
|
|
6080 |
2 |
4,03 |
160 |
1,25 |
90 |
|
|
|
|
3 |
3,02 |
120 |
0,95 |
70 |
|
|
25 |
Вятка |
Б |
5870 |
1 |
5,13 |
210 |
1,99 |
120 |
|
|
|
|
5400 |
2 |
3,76 |
160 |
1,55 |
90 |
|
|
|
|
3 |
2,85 |
120 |
1,13 |
70 |
|
|
26 |
Кострома |
Б |
5300 |
1 |
4,85 |
200 |
1,52 |
130 |
|
|
|
|
4860 |
2 |
3,53 |
140 |
1,11 |
90 |
|
|
|
|
3 |
2,71 |
100 |
0,84 |
70 |
|
|
27 |
Краснодар |
А |
2680 |
1 |
3,54 |
150 |
1,18 |
80 |
|
|
|
|
2380 |
2 |
2,56 |
100 |
0,86 |
60 |
|
|
|
|
3 |
2,10 |
70 |
0,64 |
50 |
|
|
28 |
Красноярск |
А |
6340 |
1 |
5,37 |
230 |
1,78 |
120 |
|
|
|
|
5870 |
2 |
3,95 |
160 |
1,30 |
90 |
|
|
|
|
3 |
2,97 |
120 |
0,99 |
70 |
|
|
29 |
Курган |
А |
5980 |
1 |
5,20 |
220 |
1,7 |
110 |
|
|
|
|
5550 |
2 |
3,82 |
160 |
1,23 |
90 |
|
|
|
|
3 |
2,88 |
120 |
0,94 |
70 |
|
|
30 |
Курск |
Б |
4400 |
1 |
4,42 |
170 |
1,38 |
120 |
|
|
|
|
4040 |
2 |
3,21 |
120 |
1,0 |
90 |
|
|
|
|
3 |
2,51 |
100 |
0,76 |
70 |
|
|
31 |
Кызыл |
А |
7880 |
1 |
6,14 |
270 |
1,93 |
130 |
|
|
|
|
7430 |
2 |
4,57 |
200 |
1,4 |
110 |
|
|
|
|
3 |
3,35 |
130 |
1,07 |
70 |
|
|
32 |
Липецк |
А |
4730 |
1 |
4,57 |
200 |
1,41 |
100 |
|
|
|
|
4320 |
2 |
3,33 |
130 |
1,02 |
70 |
|
|
|
|
3 |
2,58 |
100 |
0,77 |
60 |
|
|
33 |
Магадан |
Б |
7800 |
1 |
6,10 |
250 |
1,44 |
170 |
|
|
|
|
7230 |
2 |
4,49 |
180 |
1,04 |
130 |
|
|
|
|
3 |
3,48 |
120 |
0,79 |
100 |
|
|
34 |
Махачкала |
А |
2560 |
1 |
3,33 |
130 |
1,06 |
70 |
|
|
|
|
2260 |
2 |
2,50 |
100 |
0,77 |
60 |
|
|
|
|
3 |
2,06 |
70 |
0,57 |
50 |
|
|
35 |
Москва |
Б |
4940 |
1 |
4,67 |
200 |
1,26 |
130 |
|
|
|
|
4520 |
2 |
3,41 |
120 |
0,92 |
90 |
|
|
|
|
3 |
2,63 |
90 |
0,69 |
80 |
|
|
36 |
Мурманск |
Б |
6380 |
1 |
5,39 |
230 |
1,44 |
160 |
|
|
|
|
5830 |
2 |
3,93 |
160 |
1,04 |
120 |
|
|
|
|
3 |
2,96 |
120 |
0,79 |
90 |
|
|
37 |
Нальчик |
А |
3260 |
1 |
3,83 |
160 |
1,12 |
90 |
|
|
|
|
2920 |
2 |
2,78 |
120 |
0,82 |
70 |
|
|
|
|
3 |
2,24 |
90 |
0,61 |
60 |
|
|
38 |
Нижний Новгород |
Б |
5180 |
1 |
4,80 |
200 |
1,49 |
130 |
|
|
|
|
4750 |
2 |
3,50 |
140 |
1,09 |
90 |
|
|
|
|
3 |
2,69 |
90 |
0,82 |
70 |
|
|
39 |
Новгород |
Б |
4930 |
1 |
4,67 |
200 |
1,41 |
120 |
|
|
|
|
4490 |
2 |
3,40 |
120 |
1,02 |
90 |
|
|
|
|
3 |
2,63 |
90 |
0,77 |
70 |
|
|
40 |
Новосибирск |
А |
6600 |
1 |
5,50 |
230 |
1,72 |
120 |
|
|
|
|
6140 |
2 |
4,06 |
160 |
1,25 |
90 |
|
|
|
|
3 |
3,04 |
120 |
0,95 |
70 |
|
|
41 |
Омск |
А |
6280 |
1 |
5,39 |
230 |
1,7 |
120 |
|
|
|
|
5840 |
2 |
3,94 |
160 |
1,23 |
90 |
|
|
|
|
3 |
2,96 |
120 |
0,94 |
70 |
|
|
42 |
Оренбург |
А |
5310 |
1 |
4,85 |
200 |
1,99 |
90 |
|
|
|
|
4900 |
2 |
3,56 |
150 |
1,55 |
70 |
|
|
|
|
3 |
2,73 |
120 |
1,13 |
60 |
|
|
43 |
Орел |
Б |
4650 |
1 |
4,53 |
180 |
1,41 |
120 |
|
|
|
|
4250 |
2 |
3,30 |
140 |
1,02 |
90 |
|
|
|
|
3 |
2,56 |
100 |
0,77 |
70 |
|
|
44 |
Пенза |
А |
5070 |
1 |
4,74 |
200 |
1,47 |
100 |
|
|
|
|
4660 |
2 |
3,46 |
150 |
1,17 |
70 |
|
|
|
|
3 |
2,66 |
100 |
0,8 |
70 |
|
|
45 |
Пермь |
Б |
5930 |
1 |
5,15 |
210 |
1,64 |
140 |
|
|
|
|
5470 |
2 |
3,81 |
160 |
1,19 |
100 |
|
|
|
|
3 |
2,88 |
120 |
0,9 |
80 |
|
|
46 |
Петрозаводск |
Б |
5540 |
1 |
4,97 |
200 |
1,49 |
130 |
|
|
|
|
5060 |
2 |
3,62 |
140 |
1,09 |
100 |
|
|
|
|
3 |
2,53 |
100 |
0,82 |
70 |
|
|
47 |
Петропавловск-Камчатский |
Б |
4760 |
1 |
4,58 |
180 |
1,15 |
130 |
|
|
|
|
4250 |
2 |
3,30 |
120 |
0,84 |
90 |
|
|
|
|
3 |
2,56 |
100 |
0,62 |
80 |
|
|
48 |
Псков |
Б |
4580 |
1 |
4,49 |
180 |
1,41 |
120 |
|
|
|
|
4160 |
2 |
3,26 |
120 |
1,02 |
90 |
|
|
|
|
3 |
2,54 |
100 |
0,77 |
70 |
|
|
49 |
Ростов-на-Дону |
А |
3520 |
1 |
3,96 |
160 |
1,41 |
90 |
|
|
|
|
3180 |
2 |
2,87 |
120 |
1,02 |
70 |
|
|
|
|
3 |
2,29 |
90 |
0,77 |
50 |
|
|
50 |
Рязань |
Б |
4890 |
1 |
4,65 |
200 |
1,47 |
120 |
|
|
|
|
4470 |
2 |
3,39 |
120 |
1,17 |
90 |
|
|
|
|
3 |
2,62 |
100 |
0,8 |
70 |
|
|
51 |
Самара |
Б |
5110 |
1 |
4,76 |
200 |
1,99 |
100 |
|
|
|
|
4710 |
2 |
3,78 |
160 |
1,55 |
90 |
|
|
|
|
3 |
2,68 |
140 |
1,13 |
70 |
|
|
52 |
Санкт-Петербург |
Б |
4800 |
1 |
4,60 |
180 |
1,35 |
120 |
|
|
|
|
4360 |
2 |
3,34 |
120 |
0,98 |
90 |
|
|
|
|
3 |
2,59 |
100 |
0,74 |
70 |
|
|
53 |
Саранск |
А |
5120 |
1 |
4,76 |
200 |
1,49 |
100 |
|
|
|
|
4700 |
2 |
3,48 |
150 |
1,09 |
80 |
|
|
|
|
3 |
2,62 |
120 |
0,82 |
60 |
|
|
54 |
Саратов |
А |
4760 |
1 |
4,58 |
200 |
1,47 |
100 |
|
|
|
|
4370 |
2 |
3,34 |
130 |
1,17 |
80 |
|
|
|
|
3 |
2,59 |
100 |
0,8 |
60 |
|
|
55 |
Салехард |
Б |
9170 |
1 |
6,78 |
290 |
1,84 |
190 |
|
|
|
|
8590 |
2 |
5,04 |
210 |
1,34 |
150 |
|
|
|
|
3 |
3,65 |
160 |
1,02 |
100 |
|
|
56 |
Смоленск |
Б |
4820 |
1 |
4,61 |
180 |
1,41 |
120 |
|
|
|
|
4400 |
2 |
3,36 |
120 |
1,02 |
90 |
|
|
|
|
3 |
2,60 |
100 |
0,77 |
70 |
|
|
57 |
Ставрополь |
А |
3210 |
1 |
3,80 |
160 |
1,18 |
90 |
|
|
|
|
2880 |
2 |
2,75 |
120 |
0,86 |
70 |
|
|
|
|
3 |
2,22 |
90 |
0,64 |
50 |
|
|
58 |
Сыктывкар |
Б |
6320 |
1 |
5,37 |
230 |
1,67 |
120 |
|
|
|
|
5830 |
2 |
3,95 |
160 |
1,2 |
100 |
|
|
|
|
3 |
2,97 |
120 |
0,92 |
80 |
|
|
59 |
Тамбов |
А |
4760 |
1 |
4,58 |
200 |
1,44 |
100 |
|
|
|
|
4360 |
2 |
3,35 |
130 |
1,04 |
80 |
|
|
|
|
3 |
2,59 |
100 |
0,79 |
60 |
|
|
60 |
Тверь |
Б |
5010 |
1 |
4,70 |
200 |
1,47 |
120 |
|
|
|
|
4580 |
2 |
3,43 |
120 |
1,17 |
90 |
|
|
|
|
3 |
2,64 |
100 |
0,8 |
70 |
|
|
61 |
Томск |
Б |
6700 |
1 |
5,55 |
250 |
1,78 |
150 |
|
|
|
|
6230 |
2 |
4,09 |
170 |
1,3 |
100 |
|
|
|
|
3 |
3,09 |
120 |
0,99 |
90 |
|
|
62 |
Тула |
Б |
4760 |
1 |
4,58 |
180 |
1,41 |
120 |
|
|
|
|
4350 |
2 |
3,33 |
120 |
1,02 |
90 |
|
|
|
|
3 |
2,58 |
100 |
0,77 |
70 |
|
|
63 |
Тюмень |
А |
6120 |
1 |
5,26 |
220 |
1,72 |
120 |
|
|
|
|
5670 |
2 |
3,87 |
160 |
1,25 |
90 |
|
|
|
|
3 |
2,92 |
120 |
0,95 |
70 |
|
|
64 |
Ульяновск |
А |
5380 |
1 |
4,90 |
200 |
1,55 |
40 |
|
|
|
|
4960 |
2 |
3,58 |
150 |
1,13 |
80 |
|
|
|
|
3 |
2,69 |
120 |
0,85 |
70 |
|
|
65 |
Улан-Удэ |
А |
7200 |
1 |
5,80 |
250 |
0,72 |
130 |
|
|
|
|
6730 |
2 |
4,29 |
180 |
1,25 |
100 |
|
|
|
|
3 |
3,18 |
130 |
0,95 |
70 |
|
|
66 |
Уфа |
А |
5520 |
1 |
4,96 |
200 |
1,61 |
110 |
|
|
|
|
5090 |
2 |
3,64 |
150 |
1,17 |
80 |
|
|
|
|
3 |
2,78 |
120 |
0,89 |
70 |
|
|
67 |
Хабаровск |
Б |
6180 |
1 |
5,30 |
230 |
1,49 |
150 |
|
|
|
|
5760 |
2 |
3,90 |
160 |
1,09 |
110 |
|
|
|
|
3 |
2,94 |
120 |
0,82 |
90 |
|
|
68 |
Чебоксары |
Б |
5400 |
1 |
4,90 |
200 |
1,52 |
130 |
|
|
|
|
4970 |
2 |
3,60 |
140 |
1,11 |
100 |
|
|
|
|
3 |
2,75 |
100 |
0,84 |
80 |
|
|
69 |
Челябинск |
А |
5780 |
1 |
5,10 |
200 |
1,61 |
110 |
|
|
|
|
5340 |
2 |
3,74 |
160 |
1,17 |
90 |
|
|
|
|
3 |
2,84 |
120 |
0,89 |
70 |
|
|
70 |
Чита |
А |
7600 |
1 |
6,0 |
250 |
1,7 |
140 |
|
|
|
|
7120 |
2 |
4,45 |
200 |
1,23 |
100 |
|
|
|
|
3 |
3,28 |
130 |
0,94 |
80 |
|
|
71 |
Элиста |
А |
3670 |
1 |
4,04 |
160 |
1,29 |
90 |
|
|
|
|
3320 |
2 |
2,93 |
120 |
0,94 |
70 |
|
|
|
|
3 |
2,33 |
90 |
0,71 |
60 |
|
|
72 |
Южно-Сахалинск |
Б |
5590 |
1 |
4,99 |
200 |
1,26 |
150 |
|
|
|
|
5130 |
2 |
3,65 |
160 |
0,92 |
100 |
|
|
|
|
3 |
2,78 |
100 |
0,69 |
90 |
|
|
73 |
Якутск |
А |
10400 |
1 |
7,40 |
330 |
2,18 |
160 |
|
|
|
|
9900 |
2 |
5,56 |
230 |
1,59 |
120 |
|
|
|
|
3 |
3,98 |
160 |
1,21 |
90 |
|
|
74 |
Ярославль |
Б |
5300 |
1 |
4,85 |
200 |
1,49 |
130 |
|
|
|
|
4860 |
2 |
3,54 |
140 |
1,09 |
90 |
|
|
|
|
3 |
2,72 |
100 |
0,82 |
80 |
|
|
Город РФ |
Условия эксплуатации |
Градусо-сутки |
Тип помещения |
СТЕНЫ ПОДВАЛА |
|||
|
Выше уровня земли |
Ниже уровня земли |
||||||
|
|
Толщина теплоизоляции, мм |
Толщина теплоизоляции, мм |
|||||
|
1 |
2 |
3 |
4 |
5 |
6 |
7 |
8 |
|
1 |
Архангельск |
Б |
6170 |
1 |
3,56 |
140 |
110 |
|
|
|
|
5670 |
2 |
2,90 |
110 |
80 |
|
|
|
|
3 |
2,13 |
80 |
70 |
|
|
2 |
Астрахань |
А |
3540 |
1 |
2,64 |
110 |
100 |
|
|
|
|
3200 |
2 |
2,08 |
80 |
80 |
|
|
|
|
3 |
1,64 |
60 |
30 |
|
|
3 |
Анадырь |
Б |
9500 |
1 |
4,72 |
210 |
160 |
|
|
|
|
8900 |
2 |
3,87 |
160 |
140 |
|
|
|
|
3 |
2,76 |
110 |
80 |
|
|
4 |
Барнаул |
А |
6120 |
1 |
3,54 |
150 |
110 |
|
|
|
|
5680 |
2 |
2,90 |
110 |
80 |
|
|
|
|
3 |
2,13 |
80 |
70 |
|
|
5 |
Белгород |
А |
4180 |
1 |
2,86 |
110 |
80 |
|
|
|
|
3800 |
2 |
2,32 |
80 |
80 |
|
|
|
|
3 |
1,76 |
8 |
60 |
|
|
6 |
Благовещенск |
Б |
6670 |
1 |
3,74 |
160 |
140 |
|
|
|
|
6240 |
2 |
3,07 |
140 |
100 |
|
|
|
|
3 |
2,25 |
80 |
70 |
|
|
7 |
Брянск |
Б |
4570 |
1 |
3,00 |
110 |
80 |
|
|
|
|
4160 |
2 |
2,45 |
100 |
80 |
|
|
|
|
3 |
1,83 |
70 |
50 |
|
|
8 |
Волгоград |
А |
3950 |
1 |
2,78 |
110 |
80 |
|
|
|
|
3600 |
2 |
2,24 |
80 |
80 |
|
|
|
|
3 |
1,72 |
80 |
60 |
|
|
9 |
Вологда |
Б |
5570 |
1 |
3,35 |
140 |
110 |
|
|
|
|
5100 |
2 |
2,73 |
110 |
80 |
|
|
|
|
3 |
2,02 |
80 |
70 |
|
|
10 |
Воронеж |
А |
4530 |
1 |
3,0 |
140 |
100 |
|
|
|
|
4140 |
2 |
2,44 |
100 |
80 |
|
|
|
|
3 |
1,83 |
80 |
60 |
|
|
11 |
Владимир |
Б |
5000 |
1 |
3,3 |
140 |
100 |
|
|
|
|
4580 |
2 |
2,57 |
100 |
80 |
|
|
|
|
3 |
1,91 |
70 |
50 |
|
|
12 |
Владивосток |
Б |
4680 |
1 |
3,04 |
110 |
80 |
|
|
|
|
4300 |
2 |
2,49 |
100 |
80 |
|
|
|
|
3 |
1,86 |
70 |
50 |
|
|
13 |
Владикавказ |
А |
3410 |
1 |
2,59 |
100 |
80 |
|
|
|
|
3060 |
2 |
2,02 |
80 |
60 |
|
|
|
|
3 |
1,61 |
60 |
30 |
|
|
14 |
Грозный |
А |
3060 |
1 |
2,47 |
100 |
80 |
|
|
|
|
2740 |
2 |
1,9 |
80 |
60 |
|
|
|
|
3 |
1,55 |
60 |
30 |
|
|
15 |
Екатеринбург |
А |
5980 |
1 |
3,49 |
150 |
110 |
|
|
|
|
5520 |
2 |
2,85 |
110 |
80 |
|
|
|
|
3 |
2,10 |
80 |
80 |
|
|
16 |
Иваново |
Б |
5230 |
1 |
3,23 |
140 |
100 |
|
|
|
|
4800 |
2 |
2,64 |
100 |
80 |
|
|
|
|
|
3 |
1,96 |
70 |
50 |
|
17 |
Игарка |
Б |
9660 |
1 |
4,78 |
210 |
160 |
|
|
|
|
9090 |
2 |
3,93 |
160 |
140 |
|
|
|
|
|
3 |
2,82 |
110 |
80 |
|
18 |
Иркутск |
А |
6480 |
1 |
3,79 |
170 |
140 |
|
|
|
|
6360 |
2 |
3,12 |
140 |
100 |
|
|
|
|
|
3 |
2,27 |
80 |
80 |
|
19 |
Ижевск |
Б |
5680 |
1 |
3,39 |
140 |
100 |
|
|
|
|
5240 |
2 |
2,77 |
110 |
80 |
|
|
|
|
|
3 |
20,5 |
70 |
50 |
|
20 |
Йошкар-Ола |
Б |
5520 |
1 |
3,33 |
140 |
100 |
|
|
|
|
5080 |
2 |
2,72 |
100 |
80 |
|
|
|
|
|
3 |
2,02 |
70 |
50 |
|
21 |
Казань |
Б |
5420 |
1 |
3,30 |
140 |
100 |
|
|
|
|
4990 |
2 |
2,70 |
100 |
80 |
|
|
|
|
|
3 |
2,0 |
70 |
50 |
|
23 |
Калуга |
Б |
4810 |
1 |
3,08 |
140 |
100 |
|
|
|
|
4400 |
2 |
2,52 |
100 |
80 |
|
|
|
|
|
3 |
1,88 |
70 |
50 |
|
24 |
Кемерово |
А |
6540 |
1 |
3,69 |
150 |
110 |
|
|
|
|
6080 |
2 |
3,02 |
110 |
80 |
|
|
|
|
|
3 |
2,21 |
80 |
80 |
|
25 |
Вятка |
Б |
5870 |
1 |
3,45 |
140 |
110 |
|
|
|
|
5400 |
2 |
2,82 |
110 |
80 |
|
|
|
|
|
3 |
2,08 |
80 |
70 |
|
26 |
Кострома |
Б |
5300 |
1 |
3,25 |
140 |
100 |
|
|
|
|
4860 |
2 |
2,66 |
100 |
80 |
|
|
|
|
|
3 |
1,97 |
70 |
50 |
|
27 |
Краснодар |
А |
2680 |
1 |
2,34 |
80 |
80 |
|
|
|
|
2380 |
2 |
1,75 |
60 |
30 |
|
|
|
|
|
3 |
1,48 |
60 |
30 |
|
28 |
Красноярск |
А |
6340 |
1 |
3,62 |
150 |
110 |
|
|
|
|
5870 |
2 |
2,96 |
110 |
80 |
|
|
|
|
|
3 |
2,17 |
80 |
80 |
|
29 |
Курган |
А |
5980 |
1 |
3,49 |
150 |
110 |
|
|
|
|
5550 |
2 |
2,86 |
110 |
80 |
|
|
|
|
|
3 |
2,11 |
80 |
80 |
|
30 |
Курск |
Б |
4400 |
1 |
2,95 |
110 |
80 |
|
|
|
|
4040 |
2 |
2,41 |
100 |
80 |
|
|
|
|
|
3 |
1,80 |
70 |
50 |
|
31 |
Кызыл |
А |
7880 |
1 |
4,16 |
180 |
150 |
|
|
|
|
7430 |
2 |
3,43 |
150 |
110 |
|
|
|
|
|
3 |
2,49 |
100 |
80 |
|
32 |
Липецк |
А |
4730 |
1 |
3,06 |
140 |
100 |
|
|
|
|
4320 |
2 |
2,50 |
100 |
80 |
|
|
|
|
|
3 |
1,86 |
80 |
60 |
|
33 |
Магадан |
Б |
7800 |
1 |
4,13 |
180 |
140 |
|
|
|
|
7230 |
2 |
3,37 |
140 |
100 |
|
|
|
|
|
3 |
2,45 |
100 |
80 |
|
34 |
Махачкала |
А |
2560 |
1 |
2,30 |
80 |
80 |
|
|
|
|
2260 |
2 |
1,7 |
60 |
30 |
|
|
|
|
|
3 |
1,45 |
60 |
30 |
|
35 |
Москва |
Б |
4940 |
1 |
3,13 |
140 |
100 |
|
|
|
|
4520 |
2 |
2,55 |
100 |
80 |
|
|
|
|
|
3 |
1,9 |
70 |
50 |
|
36 |
Мурманск |
Б |
6380 |
1 |
3,63 |
140 |
110 |
|
|
|
|
5830 |
2 |
2,95 |
110 |
100 |
|
|
|
|
|
3 |
2,17 |
80 |
70 |
|
37 |
Нальчик |
А |
3260 |
1 |
2,54 |
100 |
80 |
|
|
|
|
2920 |
2 |
1,97 |
80 |
60 |
|
|
|
|
|
3 |
1,58 |
60 |
30 |
|
38 |
Нижний Новгород |
Б |
5180 |
1 |
3,21 |
140 |
100 |
|
|
|
|
4750 |
2 |
2,63 |
100 |
80 |
|
|
|
|
|
3 |
1,95 |
70 |
50 |
|
39 |
Новгород |
Б |
4930 |
1 |
3,13 |
140 |
100 |
|
|
|
|
4490 |
2 |
2,55 |
100 |
80 |
|
|
|
|
|
3 |
1,9 |
70 |
50 |
|
40 |
Новосибирск |
А |
6600 |
1 |
3,71 |
150 |
110 |
|
|
|
|
6140 |
2 |
3,04 |
110 |
100 |
|
|
|
|
|
3 |
2,23 |
80 |
80 |
|
41 |
Омск |
А |
6280 |
1 |
3,60 |
150 |
110 |
|
|
|
|
5840 |
2 |
2,85 |
110 |
100 |
|
|
|
|
|
3 |
2,17 |
80 |
80 |
|
42 |
Оренбург |
А |
5310 |
1 |
3,26 |
140 |
100 |
|
|
|
|
4900 |
2 |
2,67 |
100 |
80 |
|
|
|
|
|
3 |
1,98 |
80 |
60 |
|
43 |
Орел |
Б |
4650 |
1 |
3,03 |
110 |
80 |
|
|
|
|
4250 |
2 |
2,48 |
100 |
80 |
|
|
|
|
|
3 |
1,85 |
70 |
50 |
|
44 |
Пенза |
А |
5070 |
1 |
3,17 |
140 |
100 |
|
|
|
|
4660 |
2 |
2,60 |
100 |
80 |
|
|
|
|
|
3 |
1,93 |
80 |
60 |
|
45 |
Пермь |
Б |
5930 |
1 |
3,48 |
140 |
110 |
|
|
|
|
5470 |
2 |
2,84 |
100 |
80 |
|
|
|
|
|
3 |
2,09 |
80 |
70 |
|
46 |
Петрозаводск |
Б |
5540 |
1 |
3,34 |
140 |
100 |
|
|
|
|
5060 |
2 |
2,85 |
110 |
80 |
|
|
|
|
|
3 |
2,10 |
70 |
50 |
|
47 |
Петропавловск-Камчатский |
Б |
4760 |
1 |
3,07 |
110 |
80 |
|
|
|
|
4250 |
2 |
2,48 |
100 |
80 |
|
|
|
|
|
3 |
1,85 |
70 |
50 |
|
48 |
Псков |
Б |
4580 |
1 |
3,0 |
110 |
80 |
|
|
|
|
4160 |
2 |
2,45 |
100 |
80 |
|
|
|
|
|
3 |
1,83 |
70 |
50 |
|
49 |
Ростов-на-Дону |
А |
3520 |
1 |
2,63 |
100 |
80 |
|
|
|
|
3180 |
2 |
2,07 |
80 |
60 |
|
|
|
|
|
3 |
1,64 |
60 |
30 |
|
50 |
Рязань |
Б |
4890 |
1 |
3,11 |
140 |
100 |
|
|
|
|
4470 |
2 |
2,54 |
100 |
80 |
|
|
|
|
|
3 |
1,90 |
70 |
50 |
|
51 |
Самара |
Б |
5110 |
1 |
3,19 |
140 |
100 |
|
|
|
|
4710 |
2 |
2,61 |
100 |
80 |
|
|
|
|
|
3 |
1,94 |
70 |
50 |
|
52 |
Санкт-Петербург |
Б |
4800 |
1 |
3,08 |
110 |
80 |
|
|
|
|
4360 |
2 |
2,51 |
100 |
80 |
|
|
|
|
|
3 |
1,87 |
70 |
50 |
|
53 |
Саранск |
А |
5120 |
1 |
3,19 |
140 |
100 |
|
|
|
|
4700 |
2 |
2,61 |
100 |
80 |
|
|
|
|
|
3 |
1,94 |
80 |
60 |
|
54 |
Саратов |
А |
4760 |
1 |
3,07 |
110 |
80 |
|
|
|
|
4370 |
2 |
2,51 |
100 |
80 |
|
|
|
|
|
3 |
1,87 |
80 |
60 |
|
55 |
Салехард |
Б |
9170 |
1 |
4,61 |
190 |
160 |
|
|
|
|
8590 |
2 |
3,78 |
160 |
140 |
|
|
|
|
|
3 |
2,72 |
100 |
80 |
|
56 |
Смоленск |
Б |
4820 |
1 |
3,09 |
140 |
100 |
|
|
|
|
4400 |
2 |
2,52 |
100 |
80 |
|
|
|
|
|
3 |
1,88 |
70 |
50 |
|
57 |
Ставрополь |
А |
3210 |
1 |
2,52 |
100 |
80 |
|
|
|
|
2880 |
2 |
1,95 |
80 |
60 |
|
|
|
|
|
3 |
1,58 |
60 |
30 |
|
58 |
Сыктывкар |
Б |
6320 |
1 |
3,61 |
140 |
110 |
|
|
|
|
5830 |
2 |
2,95 |
110 |
80 |
|
|
|
|
|
3 |
2,17 |
80 |
70 |
|
59 |
Тамбов |
А |
4760 |
1 |
3,07 |
140 |
100 |
|
|
|
|
4360 |
2 |
2,51 |
100 |
80 |
|
|
|
|
|
3 |
1,87 |
80 |
60 |
|
60 |
Тверь |
Б |
5010 |
1 |
3,15 |
140 |
100 |
|
|
|
|
4580 |
2 |
2,57 |
100 |
80 |
|
|
|
|
|
3 |
1,92 |
70 |
50 |
|
61 |
Томск |
Б |
6700 |
1 |
3,75 |
160 |
140 |
|
|
|
|
6230 |
2 |
3,07 |
110 |
80 |
|
|
|
|
|
3 |
2,25 |
80 |
70 |
|
62 |
Тула |
Б |
4760 |
1 |
3,07 |
140 |
100 |
|
|
|
|
4350 |
2 |
2,50 |
100 |
80 |
|
|
|
|
|
3 |
1,87 |
70 |
50 |
|
63 |
Тюмень |
А |
6120 |
1 |
3,54 |
150 |
110 |
|
|
|
|
5670 |
2 |
2,90 |
110 |
80 |
|
|
|
|
|
3 |
2,13 |
80 |
80 |
|
64 |
Ульяновск |
А |
5380 |
1 |
3,29 |
140 |
100 |
|
|
|
|
4960 |
2 |
2,69 |
100 |
80 |
|
|
|
|
|
3 |
1,99 |
80 |
60 |
|
65 |
Улан-Удэ |
А |
7200 |
1 |
3,92 |
170 |
140 |
|
|
|
|
6730 |
2 |
3,22 |
140 |
100 |
|
|
|
|
|
3 |
2,35 |
80 |
80 |
|
66 |
Уфа |
А |
5520 |
1 |
3,33 |
140 |
100 |
|
|
|
|
5090 |
2 |
2,73 |
110 |
80 |
|
|
|
|
|
3 |
2,02 |
80 |
60 |
|
67 |
Хабаровск |
Б |
6180 |
1 |
3,56 |
140 |
110 |
|
|
|
|
5760 |
2 |
2,93 |
100 |
80 |
|
|
|
|
|
3 |
2,15 |
80 |
70 |
|
68 |
Чебоксары |
Б |
5400 |
1 |
3,29 |
140 |
100 |
|
|
|
|
4970 |
2 |
2,70 |
100 |
80 |
|
|
|
|
|
3 |
2,00 |
70 |
50 |
|
69 |
Челябинск |
А |
5780 |
1 |
3,43 |
150 |
110 |
|
|
|
|
5340 |
2 |
2,80 |
100 |
80 |
|
|
|
|
|
3 |
2,07 |
80 |
80 |
|
70 |
Чита |
А |
7600 |
1 |
4,06 |
180 |
150 |
|
|
|
|
7120 |
2 |
3,34 |
140 |
100 |
|
|
|
|
|
3 |
2,42 |
100 |
80 |
|
71 |
Элиста |
А |
3670 |
1 |
2,68 |
100 |
80 |
|
|
|
|
3320 |
2 |
2,13 |
80 |
80 |
|
|
|
|
|
3 |
1,66 |
60 |
30 |
|
72 |
Южно-Сахалинск |
Б |
5590 |
1 |
3,36 |
140 |
100 |
|
|
|
|
5130 |
2 |
2,74 |
100 |
80 |
|
|
|
|
|
3 |
2,03 |
70 |
50 |
|
73 |
Якутск |
А |
10400 |
1 |
5,04 |
230 |
180 |
|
|
|
|
9900 |
2 |
4,17 |
180 |
150 |
|
|
|
|
|
3 |
2,98 |
110 |
80 |
|
74 |
Ярославль |
Б |
5300 |
1 |
3,26 |
140 |
100 |
|
|
|
|
4860 |
2 |
2,66 |
100 |
80 |
|
|
|
|
|
3 |
1,97 |
70 |
50 |
|
Требуемая толщина теплоизоляции из плит пеностекла «ФОАМГЛАС», мм, внутренних стен, перегородок и междуэтажных перекрытий охлаждаемых помещений, при температуре воздуха в более холодном помещении, °С |
|||||||
|
Минус 30 |
Минус 20 |
Минус 10 |
Минус 5 |
0 |
5 |
12 |
|
|
Минус 30 |
100 |
- |
- |
- |
- |
- |
- |
|
Минус 20 |
110 |
100 |
- |
- |
- |
- |
- |
|
Минус 10 |
180 |
150 |
100 |
- |
- |
- |
- |
|
Минус 5 |
200 |
180 |
110 |
100 |
- |
- |
- |
|
0 |
230 |
200 |
150 |
110 |
100 |
- |
- |
|
5 |
230 |
200 |
180 |
150 |
110 |
100 |
- |
|
10 |
260 |
230 |
200 |
180 |
150 |
110 |
100 |
|
20 |
300 |
260 |
230 |
200 |
150 |
110 |
110 |
|
Требуемая толщина теплоизоляции из плит пеностекла «ФОАМГЛАС», мм, полов на обогреваемых грунтах |
|
|
Минус 1 |
190 |
|
Минус 10 |
230 |
|
Минус 20 |
330 |
|
Минус 30 |
400 |
|
Среднегодовая температура наружного воздуха в районе строительства, °С |
Требуемая толщина теплоизоляции из плит пеностекла «ФОАМГЛАС», мм, перекрытий над проветриваемыми подпольями для различных районов СНиП 23-01-99, при температуре воздуха в более холодном помещении, °С |
||||
|
Минус 30 |
Минус 20 |
Минус 10 |
Минус 5 |
0 и не нормируется |
|
|
3 и ниже |
330 |
250 |
230 |
190 |
190 |
|
выше 3 и ниже 9 |
330 |
290 |
250 |
190 |
190 |
|
9 и выше |
370 |
330 |
290 |
250 |
230 |
4.1. Стена может быть несущей или самонесущей и представляет собой трехслойную конструкцию с несущим слоем из полнотелого керамического кирпича толщиной не менее 380 мм (со слоем внутренней штукатурки 20 мм для помещений 1 и 2 группы и без штукатурки - для третьей группы), слоем теплоизоляции из плит пенополистирола и защитно-декоративным наружным слоем из кирпича толщиной 120 мм или штукатурки.
4.2. Теплоизоляционные плиты крепят к несущему слою стены на клею и дополнительно распорными дюбелями.
При подготовке несущей части стены до закрепления к ней теплоизоляции рекомендуется использовать при необходимости, выравнивающую штукатурку из сухой смеси БИРСС РСМ 350 (ТУ 5745-004-05668056-97), штукатурной смеси М-150 (ТУ 5745-003-05668056-01) производства опытного завода сухих смесей БИРСС (г. Москва), а также грунтовки Ceresit CT16 и Ceresit CT17 (ТУ 5745-008-58239148-03). Допускается применение штукатурных смесей других производителей, если они отвечают требованиям табл. 8 СНиП 3.04.01-87.
4.3. Для наклейки плит «ФОАМГЛАС» к несущей части стены рекомендуется клеевой состав № 51 (ТУ 5745-011-05668056-98) производства опытного завода сухих смесей БИРСС (г. Москва), а также клей Ceresit CT83 (ТУ 5745-008-58239148-03) или клеевые составы других производителей, включенные в перечень разрешенных для применения в многослойных системах наружного утепления фасадов.
4.4. Клей следует наносить на оборотную сторону и две боковые стенки теплоизоляционной плиты с помощью зубчатого шпателя по всему периметру (рис. 1а - для цементосодержащих клеев; рис. 1б - для битумных клеевых составов), а при неровной поверхности стены - пятнами около 10 см в диаметре (рис. 1в), количество которых должно быть не менее 5 шт на плиту.
Рис. 1. Крепление плит к стене
а) цементосодержащим клеем по всей поверхности; б) битумными клеевыми составами по всей поверхности; в) пятнами для приклейки к неровной поверхности.
4.5. Установку плит в проектное положение осуществляют с прижатием к поверхности несущей части стены немного выше требуемого уровня вплотную к нижнему ряду и на некотором расстоянии от соседней с последующим прижимом к ней. Образование излишков выступающего клея недопустимо.
4.6. Выравнивание по горизонтали теплоизоляционных плит может осуществляться с помощью временно закрепленной к несущей части стены деревянной рейки или с применением цокольного профиля (изготовленного из алюминия или оцинкованной стали) толщиной 1 - 1,5 мм, который закрепляют к несущей части стены дюбелями, расположенными с шагом не более 300 мм.
4.7. При установке цокольных профилей необходимо оставлять зазор в стыке между ними в 2 - 3 мм. Для выравнивания вдоль несущей части стены необходимо использовать соответствующие подкладочные шайбы из ПВХ, а для соединения профилей между собой пластмассовые соединительные элементы.
4.8. После установки первого ряда теплоизоляционных плит на цокольный профиль зазор между поверхностью несущей части стены и профилем необходимо заполнить полиуретановой пеной.
4.9. Теплоизоляционные плиты устанавливают в направлении снизу вверх вплотную друг к другу. В случае если между ними образуются зазоры более 2 мм их необходимо заполнить полиуретановой пеной.
4.10. Установку и наклеивание теплоизоляционных плит следует выполнять с перевязкой швов.
4.11. Плиты теплоизоляционного материала, устанавливаемые в углах оконных и дверных проемов, должны быть цельными с вырезанными по месту фрагментами. Не допускается стыковать плиты на линиях углов оконных и дверных проемов.
4.12. Рекомендуемые типы дюбелей для крепления теплоизоляции приведены в таблице 3.
4.13. Для крепления теплоизоляции к несущей части стены могут быть использованы другие виды дюбелей, отвечающие требованиям таблицы 4.
4.14. Установка дюбелей для крепления плит теплоизоляции должна выполняться после полного высыхания клеевого состава. Срок высыхания при температуре наружного воздуха 20 °С и относительной влажности 65 % составляет не менее 72 часов. Перед установкой дюбелей, выполняется шлифовка плит теплоизоляции при наличии неровностей в местах стыка.
Рекомендуемые типы дюбелей для крепления фасадной теплоизоляции
|
Фирма-изготовитель |
Æнар, мм |
Глубина заделки, мм |
Расчетное выдергивающее усилие, кН |
|
|
Комплект Д1 В3-1 III Ст. 5,5-L-l |
Бийский завод стеклопластиков ТУ 2291-006-994511-99 |
8 |
45 |
0,30* |
|
HPS-I |
«Хилти» |
6 |
40 |
0,25* |
|
8 |
50 |
0,40* |
||
|
ДГ 3,7´40 |
ТУ 14-4-1231-83 |
3,7 |
35 |
0,40** |
|
ДГ 4,5´40 |
4,5 |
0,25*** |
||
|
EJOT TID-T |
EJOT Holding |
8 |
35 |
0,28** |
|
GmbH Co.KG |
0,27*** |
|||
|
ДЗ «Термозит» |
ЗАО «Завод Искра» |
|
|
|
|
ТУ 2456-95633632-001-2002 |
4,15 |
60 |
0,65** |
|
|
5,1 |
60 |
0,55*** |
||
|
* В бетоне В ³ 15, кладке из полнотелого керамического кирпича. В кладке из дырчатого кирпича или легкого бетона расчетное усилие уменьшить на половину. ** В бетоне В ³ 12,5. *** В кладке из силикатного кирпича. |
||||
Основные требования к дюбелям для крепления фасадной теплоизоляции
|
Материал |
Глубина заделки, мм |
Длина дюбеля, мм |
Диаметр, мм |
Вырывающее усилие, кН, не менее |
||
|
дюбеля |
шляпки |
|||||
|
Винтовой с обычной распорной зоной |
Бетон, кирпич и камни керамические полнотелые, кирпич и камни силикатные полнотелые, трехслойные панели при толщине наружного бетонного слоя не менее 40 мм |
50 |
100 ÷ 340 |
8; 10 |
60 |
0,5 |
|
Забивной |
Бетон, кирпич и камни керамические полнотелые, кирпич и камни силикатные полнотелые, трехслойные панели при толщине наружного бетонного слоя не менее 40 мм |
35 ÷ 50 |
75 ÷ 295 |
8 |
60 |
0,25 |
|
Винтовые с удлиненной распорной зоной |
Пустотелый кирпич и легкий бетон |
90 |
20 ÷ 340 |
8; 10 |
60 |
0,2 |
|
Винтовой для пустотелых материалов |
Пенобетон, газобетон плотностью от 600 кг/м3 |
110 |
150 ÷ 340 |
8 |
60 |
0,2 |
4.15. В случае необходимости применения закрытого крепления теплоизоляционных плит к стенам и потолкам используют анкера PC - Anker F фирмы FOAMGLAS (рис. 2). В зависимости от толщины теплоизоляции анкера применяются двух типов: тип 1 - для теплоизоляции толщиной от 50 до 80 мм; тип 2 - теплоизоляции толщиной более 80 мм.
Анкеры устанавливаются из расчета 2 анкера на 1 м2 в стенах и 3 анкера на 1 м2 - на потолках.
Анкер PC - Anker F устанавливается одновременно с монтажом плит «FOAMGLAS» - на дюбелях (рис. 3).
Рис. 2. Анкер PC - Anker F фирмы FOAMGLAS
Рис. 3. Установка анкера Anker F фирмы FOAMGLAS
4.16. При отделке фасадов штукатуркой сетку, армирующую штукатурный слой, крепят к несущему слою стены также распорными дюбелями (см. таблицы 3 и 4). При защитно-декоративном слое из штукатурки необходимо, чтобы она имела нулевой предел распространения огня.
4.17. Традиционная штукатурка выполняется толщиной 25 - 30 мм из известково-цементного раствора, приготавливаемого на месте из извести, песка, цемента, воды и добавок, в том числе обязательно пластифицирующих, или из сухих растворных смесей, и армируется стальной сеткой.
4.18. Внешние углы здания, а также углы дверных и оконных проемов должны быть усиленны дополнительными стальными сетками 250´400 мм на скрутках.
4.19. В качестве вяжущего рекомендуется портландцемент или шлакопортландцемент по ГОСТ 10178-85* марок 300; 400 и известь строительная по ГОСТ 9179-77 в виде известкового теста (γ = 1400 кг/м3). Технические требования - по ГОСТ 28013-98 «Растворы строительные. Общие технические условия». Приготовление раствора в соответствии с указаниями Инструкции по приготовлению и применению строительных растворов, СН 290-74.
Рекомендуемые рецептуры штукатурных смесей приведены в табл. 5.
|
Состав в №, для смесей |
|||
|
№ 1 |
№ 2 |
№ 3 |
|
|
1. Цемент |
8,9 |
8,9 |
10 |
|
2. Известь |
9 |
9 |
8 |
|
3. Заполнитель |
82 |
82 |
81 |
|
4. Добавки |
0,1 |
0,1 |
0,5 |
|
5. Пигмент |
- |
- |
0,5 |
4.20. Штукатурка выполняется улучшенного качества или высококачественная с нанесением ее соответственно в 2 или 3 слоя.
Из приведенных в табл. 5 смесей № 1 служит для приготовления грунтовки, № 2 - для грунта и № 3 - для отделочного слоя, окрашенного в массе (см. ниже).
4.21. При улучшенной штукатурке (под окраску) общая толщина штукатурного слоя доводится до 30 мм и поверхность ее выравнивается «под правило».
При высококачественной штукатурке и окраске фасадов второй слой грунта выравнивают по маякам и после его схватывания наносят отделочный слой - накрывку толщиной 1 - 2 мм из мелкозернистого раствора, который затирается гладилками или затирочно-шлифовальными машинами. При отделке цветным раствором толщина выполненного к этому моменту штукатурного слоя должна составлять около 25 ... 27 мм.
4.22. После полного затвердевания штукатурки ее в соответствии с проектом прорезают на всю толщину горизонтальными и вертикальными деформационными швами шириной 6 мм с шагом не более 8 м. Крайний вертикальный шов должен располагаться не ближе 150 мм от угла фасада (наружного или входящего). Затем швы заделывают вулканизующейся мастикой.
4.23. Между штукатурным слоем и элементами заполнения проемов окон, дверей, ворот и др. предусматривается паз на всю толщину штукатурки, заполняемый вулканизующейся мастикой, в качестве которой рекомендуются силиконовые или тиоколовые составы - клей-герметик кремний-органический марок «Эластосил 11-06» (ТУ 6-02-775-76) и «Эластосил 137-181» (ТУ 6-02-1-362-84), выпускаемые Данковским химзаводом (Липецкая обл.), и мастика тиоколовая марки «АМ-0,5» (ТУ 84-246-95), выпускаемая Московским заводом строительных красок.
4.24. Армирование штукатурного слоя выполняется стальной цельнопаянной оцинкованной тканой сеткой по ГОСТ 2715-75 с размером ячейки 20 мм и диаметром проволоки 1 - 1,6 мм. Сетку закрепляют на дюбелях.
4.25. Фасады отделывают нанесением слоя цветного раствора (цветной накрывки) или окрашиванием поверхности. Первый вариант предпочтительнее из-за меньшей стоимости, большей прочности поверхности и практичности отделки, на которой незаметны мелкие дефекты.
4.26. Отделочный слой выполняется также из известково-цементного раствора с добавлением необходимых пигментов (от 3 до 12 % к весу сухого вяжущего). Подробные рекомендации содержатся в Инструкции по приготовлению и применению строительный раствор, СН 290-74. Оптимальным является применение раствора, получаемого из сухих смесей заводского изготовления.
4.27. Отделочный слой из цветного раствора наносится с помощью пневматической форсунки непосредственно по 2-му слою штукатурки (грунту).
Характеристика вариантов отделки из цветного раствора дана в табл. 6.
|
Шероховатость |
Наибольший размер зерна, мм |
Условная толщина слоя, мм |
Масса (сухого слоя), кг/м2 |
|
|
1 |
Грубая |
5 |
5 |
10 |
|
2 |
Средняя |
3 |
3,5 |
7 |
|
3 |
Мелкая |
1 |
2 |
4 |
4.28. Для цветовой отделки применяют известково-цементные или цементные краски, которые отличаются высокой атмосферостойкостью и представляют собой смесь белого портландцемента и извести со щелочестойкими пигментами и добавками хлористого кальция.
Применяют также и другие долговечные и атмосферостойкие краски, перечень которых приведен в Приложении 3 СНиП 2.03.11-85, в том числе полимерцементные краски на основе поливинилацетатной дисперсии, алкидные, перхлорвиниловые и хлоркаучуковые эмали.
4.29. При отсутствии требований к получению особо гладкой поверхности краску наносят без какой-либо дополнительной обработки выполненной штукатурки с расходом ее около 0,9 кг/м2.
4.30. Для получения особо гладкой поверхности по грунту выполняют слой накрывки толщиной до 2 мм из мелкозернистого раствора (крупностью зерна до 1 мм). В этом варианте нет необходимости в тщательной затирке поверхности 2-го слоя штукатурки (грунта); она должна быть лишь ровной после ее выравнивания правилом. По накрывке наносится краска с расходом ее около 0,8 кг/м2.
4.31. Отделку цоколя рекомендуется выполнять из материалов повышенной прочности и декоративности, допускающих их очистку и мойку, например, из лицевого кирпича, плит из натурального или искусственного камня, керамической и стеклянной плитки и др.
Верхняя кромка этой защитно-декоративной отделки должна располагаться не ниже 2,5 м от уровня планировки.
Аналогичную отделку могут иметь углы стен, порталы дверей, арок, ворот, оконные наличники или отдельные участки глухих стен.
4.32. Продолжительность эксплуатации наружной штукатурки из сложного раствора до капитального ремонта в соответствии с «Положением об организации и проведении реконструкции, ремонта и технического обслуживания зданий, объектов коммунального и социально-культурного назначения. Нормы проектирования», ВСН 58-88 (р), Госкомархитектуры, М., 1990) составляет 30 лет.
4.33. Тонкослойная штукатурка выполняется толщиной 4,5 - 7,5 мм и армируется щелочестойкой стеклосеткой.
Защитный слой по теплоизоляции выполняют из штукатурки толщиной 4,5 мм, армированной сеткой стеклянной щелочестойкой сеткой (таблица 7).
4.34. Внешние углы здания, а также углы дверных и оконных проемов должны быть усилены пластмассовыми уголками с вклеенной сеткой, которые устанавливают встык по отношению друг к другу с нахлесткой сетки в месте стыка.
4.35. После устройства усиливающего уголка на плоскости откосов дверных и оконных проемов следует наклеить стеклосетку размером 20´30 см. При этом усилительная полоска армирующей сетки наносится без напуска на пластмассовую часть уголка.
4.36. При устройстве защитного слоя на поверхность закрепленного утеплителя наносится кельмой клеевой состав, на котором фиксируется полотно стеклосетки, после чего сразу же устанавливается второе полотно с напуском 9 - 10 см на первое, а в местах примыкания защитного слоя к оконным и дверным блокам снимается фаска под углом 45° для уплотнительной ленты или герметизирующей мастики.
Физико-технические показатели стеклосеток
|
Требуемые значения для сеток марок |
|||||||
|
R 131 |
R 275 |
SD 4418 |
SD 4420 |
SDA 4412 |
SD 4512 |
Строби СЕКО 5´5 |
|
|
1. Масса 1 м2, номинальная, г |
160 |
343 |
149 |
161 |
161 |
327 |
160 |
|
2. Толщина номинальная, мм |
0,47 |
0,9 |
0,48 |
0,5 |
0,52 |
0,85 |
0,36 |
|
3. Размер ячеек, мм |
3,5´3,5 |
6´6 |
4´5,5 |
4´5 |
7´8,5 |
7´8 |
5´5 |
|
6´6 |
|||||||
|
4. Разрывная нагрузка в исходном состоянии, Н/5 см, не менее: |
|
|
|
|
|
|
|
|
- по основе |
1900 |
3800 |
2000 |
2000 |
1900 |
4000 |
1800 |
|
- по утку |
1900 |
3500 |
1800 |
2000 |
2000 |
5500 |
1800 |
|
5. Разрывная нагрузка после «быстрого» теста, Н/5 см, не менее: |
|
|
|
|
|
|
|
|
- по основе |
1250 |
2300 |
1200 |
1200 |
1100 |
2400 |
1000 |
|
- по утку |
1250 |
2300 |
1100 |
1200 |
1300 |
3300 |
1000 |
|
6. Разрывная нагрузка после 28 дней выдержки в 5 %-ном растворе NaOH при температуре (18 - 30) °С, Н/5 см, не менее: |
|
|
|
|
|
|
|
|
- по основе |
1200 |
1900 |
1000 |
1000 |
950 |
2000 |
1100 |
|
- по утку |
1200 |
1750 |
900 |
1000 |
1100 |
2750 |
1100 |
4.37. После технологического перерыва не менее 72 часов, необходимого для высыхания клеевого состава, на поверхность защитного слоя наносят выравнивающий состав № 52 (ТУ 5745-011-05668056-98) опытного завода сухих смесей БИРСС или состав Ceresit CT16 (ТУ 5745-008-58239148-03) или других составов применяемых для тонкослойной штукатурки.
4.38. До нанесения декоративного слоя необходимо выдержать технологический перерыв не менее 24 часов.
4.39. Основание под декоративную штукатурку или окраску должно соответствовать требованиям СНиП 3.04.01-87.
4.40. На заармированную стеклосеткой поверхность теплоизоляции теркой наносят декоративный штукатурный слой из смеси № 50 (ТУ 5745-003-05668056-01) производства опытного завода сухих смесей БИРСС (г. Москва).
4.41. Работы по нанесению штукатурной смеси следует выполнять при температуре воздуха от +5 до +30 °С и относительной влажности не более 80 %.
4.42. При выполнении работ следует избегать нанесения штукатурки на участки фасада, находящиеся под воздействием прямых солнечных лучей, ветра и дождя, для чего строительные леса закрывают пленкой.
4.43. Свеженанесенный штукатурный слой в течение 3х суток (для белой штукатурки) и в течение 24 часов (под окраску) следует защищать от прямого воздействия дождя и пересыхания под воздействием прямых солнечных лучей.
4.44. Окрашивание штукатурки следует выполнять силикатными фасадными красками через 3 дня, а акриловыми - через 2 недели после устройства штукатурки.
4.45. Между штукатурным слоем и элементами заполнения проемов (окон, дверей) применяется профиль из ПВХ с уплотнительной лентой. Как вариант, предусматривается паз на всю толщину штукатурки, заполняемый уплотнительной лентой, герметиком или вулканизирующимися мастиками - клей-герметиком «Эластосил» 11-06 (ТУ 6-02-275-76), «Эластосил» 137-181 (ТУ 6-02-1-362-84), тиоколовой мастикой «АМ-0,5» (ТУ 84-246-95) и т.п.
4.46. На высоту не менее 2,5 м от планировочной отметки защитно-декоративный слой должен выполняться из цементно-песчаной штукатурки толщиной не менее 12 мм с использованием дополнительного слоя стеклосетки.
4.47. Отделку цоколя рекомендуется выполнять из материалов повышенной прочности и стойкости к истиранию, допускающих их очистку и мойку, например, из лицевого кирпича, плит из натурального или искусственного камня, керамической и стеклянной плитки, мозаичной штукатурки и др.
4.48. Аналогичная отделка цоколя на высоту не менее 0,6 м от планировочной отметки должна предусматриваться и при реконструкции стены.
4.49. Парапеты, пояса, подоконники и т.п. должны иметь надежные сливы из оцинкованной стали, которые обеспечивают отвод атмосферной влаги и исключают возможность ее сбегания непосредственно по стене.
4.50. Для защитной стенки может применяться кирпич или камни керамические лицевые (ГОСТ 7484-78) или отборные стандартные (ГОСТ 530-95) предпочтительно полусухого прессования, а также силикатный кирпич (ГОСТ 379-95). При облицовке силикатным кирпичом цоколь, пояса, парапеты и карниз выполняют из керамического кирпича.
4.51. При новом строительстве защитная стенка из кирпича может выполняться на всю высоту здания. При этом она может быть самонесущей до высоты 6 ... 7 м, а далее навесной с опиранием на пояса, выступающие из несущей стены через каждые 2 этажа (6 ... 7 м) по высоте здания.
4.52. При реконструкции кирпичная защитная стенка обязательна в виде цоколя высотой не менее 2,5 м от планировочной отметки. По архитектурным соображениям она может быть выполнена самонесущей и большей высоты.
4.53. При защитной стенке из кирпича кладка ведется с обязательным заполнением раствором горизонтальных и вертикальных швов и расшивкой с фасадной стороны.
4.54. Шаг температурных швов в кирпичной облицовке принимается по СНиП II-22-81* как для неотапливаемых зданий.
4.55. При облицовке кирпичной кладкой в новом строительстве последняя армируется с несущей частью стены сварными арматурными сетками, располагаемыми с шагом по высоте 600 мм; площадь поперечных стержней (связей) должна быть не менее 0,4 см2/м2 (глава СНиП II-22-81, п. 6.32).
4.56. Отделку цоколя рекомендуется выполнять из материалов повышенной прочности и декоративности, допускающих их очистку и мойку, например, из лицевого кирпича, плит из натурального или искусственного камня, керамической и стеклянной плитки и др.
4.57. Аналогичную отделку могут иметь углы стен, порталы дверей, арок, ворот, оконные наличники или отдельные участки глухих стен.
4.58. Все открытые поверхности стальных элементов, выходящих на фасад, и анкера, устанавливаемые в кладке, должны быть защищены от коррозии металлизацией слоем толщиной 120 мкм или лакокрасочными покрытиями (п. 2.40 - 2.45 СНиП 2.03.11-85).
4.59. Необходимость устройства в стене слоя пароизоляции определяется расчетом в соответствии со СНиП 23-02-2003.
5.1. Стены с вентилируемой воздушной прослойкой включают несущую часть, выполненную из полнотелого керамического кирпича, бетонных блоков или из монолитного железобетона, металлический каркас, теплоизоляционный слой из плитного пеностекла «FOAMGLAS T4» или «FOAMGLAS WALL BOAD», ветрозащитную пленку и защитный облицовочный экран.
5.2. Каркас состоит из кронштейнов, направляющих и кляммеров для закрепления облицовки.
5.3. Кронштейны и направляющие каркаса, а также кляммеры для крепления плит облицовки изготавливаются в соответствии с применяемой сертифицированной фасадной системой. Толщина прижимов кляммеров должна составлять не менее 1 мм, ширина прижима - не менее 10 мм.
5.4. Кронштейн имеет подвижную вставку, позволяющую осуществлять регулировку установки направляющих в заданной плоскости. Длина подвижной вставки установлена исходя из толщины теплоизоляционного слоя от 55 до 200 мм.
5.5. Шаг кронштейнов по горизонтали рекомендуется принимать равным 600 мм, а по вертикали не менее 1400 мм.
5.6. Кронштейны крепятся к несущей части стены анкерными дюбелями, число которых определяется расчетом, исходя из величины ветровой нагрузки и веса облицовки с каркасом.
5.7. Стандартная длина направляющей составляет 3000 мм. Направляющие выполнены Т и Г-образного профиля и закрепляются к кронштейнам двумя вытяжными заклепками диаметром 3,2 ÷ 4,8 мм. При этом свободный конец направляющей от места закрепления к кронштейну не должен превышать 300 мм.
5.8. Стык направляющих по вертикали осуществляется с помощью вставок. При этом между направляющими предусматривается зазор в 8 ÷ 10 мм.
5.9. Плиты пеностекла крепятся к несущей части стены тарельчатыми дюбелями. Схема установки плит теплоизоляции, тарельчатых дюбелей и кляммеров представлена на стр. 165.
5.10. Во избежание продувания и увлажнения теплоизоляции из плит пеностекла поверх их закрепляется тарельчатыми дюбелями диффузионно-гидроизоляционная пленка типа «TYVEK SOFT», или другой подобный материал. Пленка должна устанавливаться в один слой с перехлестом смежных полотен в зоне стыков не более чем на 100 ÷ 150 мм.
5.11. При креплении облицовки из естественного, искусственного камня или керамической плитки кляммеры располагаемые с шагом, соответствующим размеру облицовочных плит, крепят к направляющим на заклепках. При этом конструкция кляммера определяет величину горизонтального зазора между плитами облицовки, равную 4 мм. Вертикальный зазор между плитами также принимается равным 4 мм.
5.12. Решения стен с вентилируемой воздушной прослойкой разработаны на основе системы «КРАСПАН» с применением фасадной керамогранитной плитки.
6.1. Несущая часть стен подвала может быть выполнена из кирпичной кладки, бетонных блоков или из монолитного железобетона.
6.2. Теплоизоляция стен подвала необходима только для «теплых» подвалов, в которых размещена нижняя разводка труб систем отопления, горячего водоснабжения, а также труб систем водоснабжения и канализации.
6.3. Требуемая толщина теплоизоляции стены подвала, расположенной выше уровня земли, принимается равной толщине теплоизоляции наружной стены и вычисляется по формуле:
![]()
где
-
приведенное сопротивление теплопередаче наружной стены, принимаемое по СНиП 23-02-2003;
δ - толщина несущей части стены, м;
λ - коэффициент теплопроводности материала несущей части стены, Вт/(м · °С);
λут - коэффициент теплопроводности материала теплоизоляции, Вт/(м · °С).
6.4. Приведенное сопротивление теплопередаче, м2 · °С/Вт, стены подвала, расположенной ниже уровня земли, определяется по формуле:
![]()
где δут - толщина теплоизоляции, м.
6.5. Требуемая
толщина теплоизоляции стены подвала, расположенной ниже уровня земли, находится
из условия
=
и вычисляется по формуле:
![]()
6.6. Теплоизоляция из плит располагается по выровненной наружной поверхности стен подвала в соответствии с указаниями п. 4.2.
6.7. Плиты пеностекла к стене крепят на холодных битумных мастиках с сухим остатком не менее 80 %, отвечающих требованиям ГОСТ на клеевых составах, указанных в п. 4.3. В зоне цоколя обязательна установка дюбелей в соответствии со схемой на стр.
6.8. Стыки между теплоизоляционными плитами промазывают горячей или холодной битумной мастикой.
Примыкание теплоизоляции к окнам и дверям наружных стен подвальных помещений выполняется аналогично таковым для надземной части.
6.9. По теплоизоляционному слою из плит «FOAMGLAS T4» выполняется оклеечная гидроизоляция из двух слоев битумно-полимерного рулонного материала или обмазочная гидроизоляция горячей битумной мастикой. При этом первый слой оклеечной гидроизоляции закрепляют к несущей части стены подвала дюбелями, а второй наклеивают на него методом подплавления.
По теплоизоляционному слою из плит «FOAMGLAS WALL BOARD» гидроизоляция не требуется, так как плиты имеют собственный гидроизоляционный слой.
6.10. В уровне подошвы фундамента вертикальная гидроизоляция должна быть наплавлена на горизонтальную гидроизоляцию, а в уровне верха теплоизоляционного слоя к несущей части стены подвала.
6.11. Защита тепло- гидроизоляционного слоя в первую очередь обмазочного, может быть выполнена с использованием термопластичной пленки марки «ТЕФОНД» (ТУ 5774-003-45940433-99), которая внизу цоколя крепится к несущей части стены дюбелями.
6.12. При невозможности устройства теплоизоляции с наружной стороны поверхности стен подвала допускается размещение ее со стороны помещения. При этом обязательна проверка стены подвала, согласно СНиП 23-02-2003, на возможность накопления в ней конденсационной влаги.
6.13. Теплоизоляция стены подвала со стороны помещения должна быть приклеена к поверхности стены, клеевыми составами, указанными в п. 4.3, либо закреплена механическим способом с последующим устройством отделочного слоя.
7.1. Полы с теплоизоляционным слоем из плит пеностекла «FOAMGLAS» могут выполняться по подстилающему песчаному или бетонному слою (в полах по грунту) или по железобетонному перекрытию.
7.2. В полах по грунту плиты пеностекла должны, как правило, укладываться на слой гидроизоляции. Они крепятся к подстилающему слою на битумной мастике, а при наличии гидроизоляции из наплавляемого рулонного битумно-полимерного материала методом подплавления последнего.
7.3. В подвальных помещениях теплоизоляционный слой должен предусматриваться в полах с нормируемым теплоусвоением.
7.4. Полы на грунте в помещениях с нормируемой температурой внутреннего воздуха, расположенные выше отмостки здания или ниже ее не более, чем на 0,5 м, должны быть утеплены в зоне примыкания пола к наружным стенам или стенам, отделяющим отапливаемые помещения от неотапливаемых на ширину 0,8 м путем укладки по грунту слоя утеплителя толщиной, определяемой из условия обеспечения термического сопротивления этого слоя не менее термического сопротивления наружной стены.
7.5. Требуемая толщина теплоизоляционного слоя должна устанавливаться расчетом в соответствии с указаниями СНиП 23-02-2003.
7.6. В полах по железобетонному перекрытию плиты пеностекла «FOAMGLAS» укладываются на предварительно выровненную поверхность перекрытия, а при необходимости на слой пароизоляции.
7.7. Необходимость устройства пароизоляции в каждом конкретном случае должна определяться расчетом сопротивления паропроницанию в соответствии с указаниями СНиП 23-02-2003.
7.8. По теплоизоляционному слою из плит пеностекла «FOAMGLAS» укладывается разделительный слой из принятого по проекту материала, поверх нее выполняется монолитная стяжка или сборная стяжка из гипсоволокнистых листов.
7.9. Монолитная стяжка выполняется на основе цементного или гипсового вяжущего и должна быть толщиной не менее 40 мм.
7.10. Прочность стяжки на изгиб должна быть не менее 2,5 МПа (СНиП 2.03.13-88 «Полы»).
7.11. При сосредоточенных нагрузках на пол более 20 кН толщина монолитной стяжки по теплоизоляционному слою должна устанавливаться расчетом из условия исключения деформации последнего (СНиП 2.03.13-88 «Полы»).
7.12. В местах сопряжения стяжек, выполненных по теплоизоляционному слою с другими конструкциями здания (стенами, перегородками и т.п.) должны быть предусмотрены зазоры шириной 25 - 30 мм на всю толщину стяжки, заполняемые звукоизоляционным материалом.
7.13. Сборные стяжки следует выполнять из спаренных гипсоволокнистых листов размером 1500´500 мм в соответствии с указаниями СП 55-102-2001.
7.14. Общая толщина сборной стяжки склеенных из двух гипсоволокнистых листов составляет 20 мм.
7.15. При стыковке сборной стяжки из спаренных гипсоволокнистых листов на фальцы уложенных элементов стяжки сплошным слоем наносится дисперсия ПВА или клеящая мастика с последующим скреплением фальцев шурупами длиной не менее 19 мм, располагаемых с шагом 300 мм.
7.16. В местах примыкания сборной стяжки к стенам, перегородкам и т.п. конструкциям следует предусматривать зазор толщиной 8 - 10 мм, который заполняют кромочной лентой.
7.17. Полы автостоянок рекомендуется выполнять с бетонным покрытием, толщину которого следует назначать в зависимости от интенсивности механического воздействия.
7.18. Покрытия толщиной от 50 до 120 мм рекомендуется армировать одним слоем металлической сетки из проволоки диаметром 5 мм с ячейками 100´100 мм или 150´150 мм, толщиной 120 - 180 мм - двумя слоями металлической сетки, а при толщине более 180 мм каркас определяется расчетом. Нижний слой металлической сетки укладывается на прокладки толщиной не менее 20 мм, верхний картами 6´6 м, а в особых случаях картами 3´3 м на опоры, приваренные к нижнему слою сетки.
7.19. Для армирования бетонных покрытий может также использоваться стальная фибра длиной 50 - 80 мм и диаметром 0,3 - 1 мм. При этом в качестве матричного состава рекомендуется использовать мелкозернистый бетон класса В25 и В35 с максимальным размером крупного заполнителя 20 мм.
7.20. В покрытиях полов толщиной более 50 мм рекомендуется предусматривать деформационные швы в продольном и поперечном направлениях с шагом от 3 до 6 м. Швы должны совпадать с осями колонн, со швами плит перекрытий, деформационными швами подстилающего слоя, а при двухслойном армировании сетками с границами верхнего слоя арматуры. Глубина деформационного шва должна быть не менее 40 мм и не менее 1/3 толщины покрытия, ширина 3 - 5 мм.
8.1. Полы холодильников представлены конструкциями:
на междуэтажных перекрытиях;
на обогреваемых грунтах;
над вентилируемыми подпольями.
8.2. Сборный железобетонный каркас многоэтажных холодильников принят по серии 1.420.1-14 для сетки колонн 6´6 м.
8.3. Несущие конструкции перекрытий над проветриваемыми подпольями приняты по серии 1.44-3М/92. «Конструкции железобетонные над холодными вентилируемыми подпольями».
8.4. Требуемое сопротивление паропроницанию пароизоляции в конструкциях полов принимается по главе СНиП 2.11.02-87 «Холодильники»: для перекрытий над вентилируемым подпольем - по табл. 9, для полов на междуэтажных перекрытиях - по табл. 10 и для полов на обогреваемом грунте - по табл. 11.
8.5. Пароизоляция выполняется оклеечной - из битумно-полимерных рулонных материалов или из полимерной пленки, и располагается, как правило, между плитой перекрытия или подготовкой под полы и теплоизоляционным слоем.
8.6. Требуемую толщину теплоизоляции из пеностекла марок «FOAMGLAS S3», «FOAMGLAS F» и «FOAMGLAS FLOOR BOARD» следует принимать по таблицам 2в, 2г и 2д.
9.1. Конструкции разработаны для совмещенных покрытий при сборных железобетонных плитах (или с монолитным железобетонным основанием), при стальных профилированных настилах и при деревянных несущих конструкциях с утеплением из плит «FOAMGLAS» и кровлями из рулонных материалов, из мастик, армированных стекломатериалами, и из металлических листов.
9.2. Покрытия при сборных железобетонных плитах или с монолитным железобетонным основанием либо при стальных профнастилах включают следующие слои:
• грунтовка (праймер), например, «КТ-Праймер» (ТУ 5774-023-10861980-03), или приготовленная из битума и керосина взятых в соотношении 1:2 (по массе);
• теплоизоляцию из плит «FOAMGLAS» марок Т4 или S3 или READI BOARD с верхним битумным покрытием;
• слои из мастик марок RC® 11, RC® 56, RC® 88 или из тугоплавкого горячего битума или битумных мастик по ГОСТ - для приклеивания теплоизоляционных плит к несущему основанию и друг с другом;
• водоизоляционный ковёр из рулонных материалов, наклеенных на горючих битумных мастиках (ГОСТ), из полимерных плёнок или из наплавляемых рулонных материалов, или из мастик, армированных стеклосетками (тканями), либо из металлических листов.
9.3. Покрытия при деревянных несущих конструкций включают следующие основные слои:
• стропила со сплошным деревянным настилом;
• прокладочный слой из битумных рулонных материалов с механическим креплением к настилу;
• теплоизоляция, приклеивающий слой и водоизоляционный ковер по аналогии с п. 9.2.
9.4. Теплоизоляционные работы следует совмещать с работами по устройству кровель. Уклада плит и устройство нижнего слоя водоизоляционного ковра должны производиться в одну и ту же смену. Плиты следует укладывать «на себя». Если процесс производства работ временно прерывается, то поверхность плит «FOAMGLAS» должна быть защищена слоем тугоплавкого битума.
9.5. При укладке плит «FOAMGLAS» марок Т4 и S3 выполняются следующие операции:
перед укладкой утеплителя на основание нижнюю плоскость и две смежные грани плиты смачивают горячим (160 - 180 °С) битумом путем погружения плит в емкость с битумом при помощи специальных щипцов;
первый ряд плит укладывают строго перпендикулярно и параллельно ребру профлиста, следующие ряды плотно подгоняют к первому с соблюдением перевязки стыков. Стыки плит должны быть полностью заполнены битумом. Избыток битума удаляют планкой до его остывания.
Блоки «FOAMGLAS READI BOARD» приклеивается на «густых» мастиках, с сухим остатком не менее 80 %.
9.6. При укладке «FOAMGLAS» по стальным профнастилам раскладку плит желательно выполнять так, чтобы стыки плит находились на полках профнастилов, или при проектировании обеспечивать условия по сочетанию толщины теплоизоляционных плит (δ) и расстояния (b) между полками профнастилов.
|
b, мм |
Минимальная толщина δ, мм |
|
40 - 80 |
50 |
|
81 - 110 |
60 |
|
111 - 140 |
70 |
|
141 - 190 |
80 |
9.7. При устройстве теплоизоляции из двух слоев плит необходимо швы между ними выполнять «в разбежку».
9.8. В местах примыкания теплоизоляционных плит к выступающим над покрытием конструктивным элементам (стенам парапетов, фонарей, вентшахт и т.п.) необходимо выполнять переходные наклонные (под углом 45 °С) бортики из плит «FOAMGLAS». Высота бортика должна быть не менее 100 мм. Для этой цели могут быть использованы готовые уголки высотой 100; 130 мм, длиной 400 мм, или напиленные из плит.
9.9. Эксплуатируемое покрытие может быть устроено только по сборному или монолитному железобетонному основанию. В качестве защитного слоя могут служить бетонные плиты, монолитная стяжка или почвенно-растительный слой.
9.10. При уклонах кровель свыше 15 % и до 60 % укладку плит следует производить только на горячем тугоплавком битуме, а на уклонах более 60 % - с дополнительным механическим креплением.
10.1. До начала изоляционных работ должны быть выполнены и приняты все строительно-монтажные работы на изолируемых участках, включая замоноличивание швов между плитами, устройство выравнивающей стяжки из раствора, установку и закрепление к плитам чаш водосточных воронок, компенсаторов деформационных швов, патрубков (или стаканов) для пропуска инженерного оборудования и т.п. Кирпичные парапеты должны быть оштукатурены, и иметь необходимые закладные детали.
10.2. Поверхности основания из сборных железобетонных плит или монолитного железобетона должны быть выровнены, а стыки между плитами зачеканены цементно-песчаным раствором марки не ниже 50 (ГОСТ 28031-98) или легким бетонном класса не ниже В7.5 (ГОСТ 25820-2000). Уклонообразующий слой рекомендуется выполнять из раствора или легкого бетона.
10.3. Теплоизоляционные плиты при укладке по толщине в 2 и более слоев следует располагать вразбежку с плотным прилеганием друг к другу. Нахлестки между слоями должны составлять 1/2 - 1/3 поверхности плит.
10.4. Плиты точечно приклеивают к основанию и между собой (при толщине в два и более слоя) горячим битумом строительных марок или мастикой (см. п. 9.2).
При наклейке плиты плотно прижимают друг к другу и к основанию. Точечная либо полосовая приклейка должна быть равномерной и составлять 25 - 35 % склеиваемых поверхностей. На поверхность плит наносят битум или мастику с расходом около 2,5 кг/м2.
10.5. При эксплуатируемой кровле по плитам теплоизоляции предусматривают слой цементно-песчаного раствора или тротуарные плитки на растворе по разделительному слою, устраиваемому по проекту, и выполняют из жесткого (с осадкой конуса до 30 мм) раствора марок 50 - 100. Затирку из раствора по железобетонному основанию предусматривают толщиной 10 - 15 мм.
10.6. В слое из цементно-песчаного раствора предусматривают температурно-усадочные швы шириной 10 мм, разделяющие слой раствора на участки не более 3´3 м.
10.7. Температурно-усадочные швы в монолитном слое раствора рекомендуется выполнять путем прорезки механической пилой. Допускается образовывать их путем установки реек при укладке цементно-песчаного раствора, которые удаляют после твердения раствора, а швы заполняют мастикой - герметиком с последующей укладкой на шов полосок рулонного материала шириной 150 - 200 мм с наклейкой их по кромкам. Также проклеивают стыки, образуемые листами сборной стяжки.
10.8. Для обеспечения необходимой адгезии рулонных и кровельных материалов все поверхности основания из бетона или цементно-песчаного раствора должны быть огрунтованы холодными составами (праймерами, см. п. 9.2).
10.9. Грунтовку наносят на сухую и обеспыленную поверхность при помощи окрасочного распылителя или вручную кистью. Грунтовка должна иметь прочное сцепление с основанием. На приложенном к ней после высыхания тампоне не должно оставаться следов цементного вяжущего или пыли.
10.10. Кровля может быть выполнена двухслойной из рулонных наплавляемых битумно-полимерных материалов, либо однослойной из полимерных рулонных материалов. Мастичная кровля может быть армирована одной - тремя армирующими слоями из стеклоткани.
10.11. При однослойной кровле из полимерной пленки, ее, как правило, укладывают насухо с механическим креплением или пригрузом.
При двухслойной кровле из наплавляемых битумно-полимерных рулонных материалов (с верхним слоем из материала с крупнозернистой посыпкой) эти материалы укладывают, как правило, путем сплошной приклейки к основанию под кровлю; допускается нижний слой ковра приклеивать частично (полосами) или крепить механическим способом.
10.12. На участках примыканий кровли к парапетам, деформационным швам и другим конструктивным элементам основанием под кровлю должны служить наклонные бортики высотой не менее 100 мм (под углом 45°) из теплоизоляционных плит «FOAMGLAS», применяемых для утепления покрытий.
Бортики из теплоизоляционных материалов должны быть приклеены к основанию под кровлю.
10.13. Изоляционные работы выполняют в соответствии с требованиями главы СНиП 3.04.01-87 «Изоляционные и отделочные работы», СНиП III-4-80* «Техника безопасности в строительстве», а также СО-002-02495342-2005 «Кровли зданий и сооружений. Проектирование и строительство», М., ОАО «ЦНИИПромзданий», 2005 г.
10.14. Максимально допустимая площадь кровли из рулонных и мастичных материалов групп горючести Г-3 и Г-4 при общей толщине водоизоляционного ковра до 6 мм не имеющей защиты слоем гравия, а также площадь участков разделенных противопожарными поясами (стенами) не должна превышать значений, приведенных в таблице 9.
10.15. Противопожарные пояса должны быть выполнены как защитные слои эксплуатируемых кровель шириной не менее 6 м.
|
Группа горючести (Г) и распространения пламени (РП) водоизоляционного ковра кровли, не ниже |
Группа горючести материала основания под кровлю |
Максимально допустимая площадь кровли без гравийного слоя или крупнозернистой посыпки, а также участков кровли, разделенных противопожарными поясами, м2 |
|
Г2; РП2 |
нг |
Без ограничений |
|
Г3; РП2 |
нг |
10000 |
|
Г3; РП3 |
нг |
5200 |
|
Г4 |
нг |
3600 |
11.1. Покрытие включает следующие конструкционные слои:
• стальной профилированный настил;
• теплоизоляцию из плит «FOAMGLAS»;
• водоизоляционный ковер из рулонных или мастичных материалов (см. п. 9.2).
11.2. В местах примыкания профнастила к стенкам парапетов, к деформационным швам, к водосточным воронкам, а также с каждой стороны конька и ендовы следует предусматривать заполнение пустот ребер настилов (со стороны теплоизоляции) на длину 250 мм заглушками из негорючих минераловатных материалов.
11.3. Теплоизоляционные плиты могут закрепляться к профнастилу наклейкой горячим битумом или мастикой по полкам профнастила.
11.4. Водоизоляционный ковёр выполняют по аналогии с п. 10.10 ... 10.14.
11.5. Теплоизоляционные плиты «FOAMGLAS» укладывают на профнастил тремя методами:
метод 1 - укладка плит «FOAMGLAS» T4 и S на горячий битум (рис. 4);
метод 2 - укладка плит «FOAMGLAS» T4 и S по пароизоляционному слою из наплавляемых материалов (рис. 5);
метод 3 - укладка плит «FOAMGLAS READI BOARD» по нанесенному полосами битуму (рис. 6).
Рис. 4. Метод укладки плит «FOAMGLAS» T4 и S на горячий битум
Рис. 5. Метод укладки плит «FOAMGLAS» T4 и S по пароизоляционному слою
Рис. 6. Метод укладки плит «FOAMGLAS READI BOARD» по нанесенному полосами битуму
11.6. После укладки теплоизоляционных плит «FOAMGLAS» (рис. 7) и нанесения на них горячего битума (рис. 8) производят наклейку прокладочного слоя из наплавляемого рулонного материала (рис. 9).
Рис. 7. Уложенные плиты «FOAMGLAS»
Рис. 8. Нанесение горячего битума по плитам «FOAMGLAS»
Рис. 9. Устройство подстилающего слоя из наплавляемого рулонного материала
12.1. Несущие конструкции мансард могут быть выполнены из дерева или стали марок С235, С245, С255, С345 по ГОСТ 27772-88*.
12.2. В поперечнике несущие конструкции мансард представляют собой раму. Шаг рам и сечения элементов определяются статическим расчетом.
12.3. Соединения металлоконструкций предусматривается на сварке и монтажных болтах или на постоянных болтах.
12.4. Сечения узловых элементов и величина сварных швов определяются расчетом.
12.5. Деревянные несущие конструкции следует выполнять из пиломатериалов хвойных пород второго сорта по ГОСТ 8486-86*.
12.6. Для изготовления настилов и обрешетки применяется древесина 3 сорта, а для несущих элементов стропильной системы (стропильные ноги, ендов, мауэрлатов, прогонов, стоек, подкосов, связей) - древесина 2 сорта.
12.7. Соединения деревянных элементов несущих конструкций предусмотрены гвоздевыми с прямой расстановкой гвоздей или расположением их в шахматном порядке.
12.8. Для устройства деревянных несущих конструкций должны применяться элементы с глубокой антипиреновой пропиткой.
12.9. Огнезащитная облицовка стальных и деревянных несущих конструкций предусмотрена двумя слоями гипсокартонных листов марок ГКЛО и ГКЛВО (ГОСТ 6266-97), или гипсоволокнистых листов марок ГВЛ и ГВЛВ (ГОСТ Р 51829). Под обшивкой предварительно закрепляют просечно-вытяжную сетку или стальные струны диаметром не менее 2,0 мм с шагом 250 ... 300 мм.
12.10. Устройство огнезащитной облицовки несущих стальных и деревянных конструкций следует выполнять в соответствии с указаниями СП 55-101-2000 и СП 55-102-2001.
13.1. Покрытия с кровлей из металлических листов предусмотрены с несущими сборными железобетонными плитами (или железобетонным монолитным основанием), профнастилом или деревянными конструкциями.
13.2. Покрытие с кровлей из металлических листов состоит из слоев, представленных на рис. 10.
13.3. Требования к деревянным конструкциям приведены в п.п. 12.5 ... 12.10.
Рис. 10. Покрытие с кровлей из стальных листов.
1 - несущая деревянная конструкция; 2 - прокладочный слой из рулонного битумного материала; 3 - плиты «FOAMGLAS», наклеенные полосами (как вариант - сплошная наклейка); 4 - покровный слой горячего битума или мастики; 5 - закладная металлическая деталь; 6 - прокладочный слой из рулонного материала, наклеенный на битуме или мастике (как вариант наплавляемый материала); 7 - слой геотекстиля массой 150 г/м2; 8 - кляммер; 9 - металлический лист.
13.4. Последовательность выполнения ограждающей части покрытия приведена на рис. 11:
Рис. 11. Выполнение слоев покрытия
1 - сплошная наклейка теплоизоляционных плит «FOAMGLAS» горячим битумом; 2 - окончание наклейки плит (на заднем плане произведена наклейка прокладочного слоя), поверхность плит покрыта битумом; 4 - раскладка закладных деталей с разогревом битума под полкой детали при помощи газовой горелки и вдавливание деталей в плиты «FOAMGLAS»; 5 - наклейка прокладочного слоя.
13.5. После укладки геотекстиля на прокладочный слой из рулонного материала (см. рис. 10) к закладным деталям прикрепляют самонарезающими винтами кляммеры, которыми соединяются и закрепляются металлические листы в процессе закатки стоячих фальцев.
14.1. Чердачные перекрытия предусмотрены железобетонными (из сборных плит или монолитного железобетона) и деревянными.
14.2. На перекрытии из железобетона в качестве теплоизоляционного слоя применяют теплоизоляционные плиты «FOAMGLAS» марки Т4 и WALL BOARD, которые размещаются по пароизоляционному слою из битумного или битумно-полимерного наплавляемого рулонного материала.
14.3. По поверхности теплоизоляционных плит выполняют армированную цементно-песчаную стяжку из раствора марки 100 толщиной 40 мм.
14.4. На деревянном чердачном перекрытии теплоизоляционные плиты укладываются также на слой пароизоляции из битумного, битумно-полимерного рулонного материала или из полиэтиленовой пленки.
14.5. По верху деревянных балок перекрытия раскладывают цементно-стружечные плиты толщиной 20 мм, которые закрепляют к балкам шурупами с шагом 300 мм.
|
Наименование |
№ поз. |
Наименование |
|
|
1 |
Стена (несущая часть) |
11 |
Наружная штукатурка |
|
2 |
Междуэтажное перекрытие |
11а |
Грунтовка, сухая смесь |
|
3 |
Плита покрытия |
11б |
Нижний слой грунта, штукатурная цементно-песчаная смесь |
|
4 |
Теплоизоляция из пеностекла FOAMGLAS T4 или FOAMGLAS WALL BOAD |
11в |
Второй слой грунта, цементно-известково-песчаная штукатурная смесь |
|
5 |
Клеевой состав для приклейки плит теплоизоляции сухая смесь № 51 |
11г |
Поверхность увлажнить или огрунтовать |
|
6 |
Выравнивающая штукатурка, сухая смесь № 12, 15* |
11д |
Отделочный слой, смесь штукатурная декоративная |
|
7 |
Сварная оцинкованная металлическая сетка 20´20 Æ 1,0 ... 1,6 по ТУ 14-4-647-95 Солнечногорского завода металлических сеток «Лепсе»; или по ГОСТ 2715-75 |
12 |
Внутренняя штукатурка |
|
8 |
Два ряда металлической сетки |
13 |
Плитка облицовочная глазурованная |
|
9 |
Стык сеток внахлест 100 мм |
13а |
Выравнивающая цементно-песчаная штукатурная смесь |
|
10 |
Дополнительная сетка 250´400 на скрутках |
13б |
Клей для плитки облицовочной |
|
10а |
Z - образная сетка |
14 |
Дюбельный комплект |
|
10б |
Г - образная сетка |
15 |
Стеклопакет |
|
10в |
П - образная сетка |
16 |
Доска, пропитанная антипиреном |
|
16а |
Пластина 6´40 с болтом Æ 10 и шагом 600 мм, но не менее 2 штук на проем |
||
|
|
|
17 |
Рейка 40´50, закрепленная к пробкам 50´60 шурупами. Пробки закреплены к стене дюбелями без шайбы |
* Рецептура клеев и штукатурных смесей взяты по каталогу завода «БИРСС» (Бирюлевские сухие смеси).
|
Наименование |
№ поз. |
Наименование |
|
|
18 |
Антисептированная доска |
40 |
Горизонтальный шов |
|
19 |
Защитная стенка из кирпича |
41 |
Вертикальный шов |
|
20 |
Прокладка уплотняющая типа Вилатерм-СМ Æ 30; 40 (трубчатая), ТУ 6-05-221-872-86 |
42 |
Дюбель HPS-I, «Хилти», Æ 6 или 8 |
|
21 |
Слив С2 |
43 |
Дюбель из полиамида ТУ 36-941-79 |
|
22 |
Слив С4 |
44 |
Шуруп ГОСТ 1144-80 |
|
23 |
Слив С1 |
45 |
Трубчатый уплотнитель из резины |
|
24 |
Слив С3 |
46 |
Гвоздь Æ 6 с шагом 600 мм, но не менее 2 шт. на проем |
|
25 |
Антисептированный брус 140´140 мм |
47 |
Окно деревянное |
|
26 |
Костыль К2 |
48 |
Рама и полотно распашных складчатых ворот серии 1.435-28 |
|
27 |
Костыль К3 |
49 |
Костыль МС-1 с шагом 700 мм, см. в серии 1.435-28 |
|
28 |
Вязальная проволока ГОСТ 3282-74 |
50 |
Стальная планка для крепления рамы ворот, см. в серии 1.435-28 |
|
29 |
Антисептированный брусок 100´40 |
51 |
Подоконник по проекту |
|
30 |
Кровельный ковер |
52 |
Капельник |
|
31 |
Прокладка из рулонного битумного материала марки «БИКРОСТ» или «ЛИНОКРОМ» |
53 |
Отмостка по проекту |
|
32 |
Теплоизоляция чердачного перекрытия плитами «FOAMGLAS» марки Т4 и WALL BOARD |
54 |
Гидроизоляция - цементно-песчаный раствор |
|
33 |
Стропильная нога |
55 |
Гидроизоляция |
|
34 |
Кровля |
56 |
Антисептированная доска |
|
35 |
Подшивка карниза из доски 150´30 мм |
57 |
Железобетонная перемычка над воротным проемом |
|
36 |
Мастика, см. п. 4.23 |
58 |
Стена подвала |
|
37 |
Прокладка уплотняющая из пенорезины сечением 8´8 мм по ТУ 38-406316-87 |
59 |
Пол подвала или 1-го этажа: |
|
- линолеум; |
|||
|
- стяжка из цементно-песчаного раствора М 50 - 30 мм; |
|||
|
- теплоизоляция из плит пеностекла «FOAMGLAS S3», «FOAMGLAS F» или «FOAMGLAS FLOR BOARD F»; |
|||
|
- гидроизоляция; |
|||
|
- бетонная подготовка марки В7,5 - 80 мм. |
|||
|
38 |
Прокладка уплотняющая типа Вилатерм-СМ Æ 30; 40, ТУ 6-05-221-872-86 |
60 |
Щебень |
|
39 |
Пена строительная |
61 |
Труба дренажная |
|
62 |
Бортовой камень |
70 |
Плита перекрытия |
|
63 |
Перекрытие подвала |
71 |
Пластина 6´40, заранее скрепленная с оконной рамой шурупами |
|
64 |
Крупный песок |
72 |
Обрамляющий уголок 50´4 |
|
65 |
Термовставка из ячеистобетонных блоков по ГОСТ 21520-89 |
73 |
Полосу 4´40 крепить к стене дюбелями |
|
66 |
Фартук из оцинкованной кровельной стали |
74 |
Мастика, см. п. 4.22 |
|
67 |
Оконное стекло |
75 |
Теплоизоляция покрытия плитами FOAMGLAS T4 и S3 |
|
68 |
Железобетонная надоконная перемычка |
76 |
Выравнивающая стяжка |
|
69 |
Прокладка уплотняющая |
77 |
Наклонный бортик из теплоизоляционных плит FOAMGLAS T4 и S3 |
СХЕМА № 1. Расположение плит утеплителя, рассечек, сетки и штукатурки
* - размер по проекту
СХЕМА № 2. Расположение анкеров в углах, температурных швах и у проемов
* - размер по проекту
1. Количество дюбелей, устанавливаемых на 1 м2 системы, зависит от размеров плиты утеплителя и допустимой нагрузки на дюбель + высоты (h).
2. Границы краевой зоны расположены на расстоянии 1 м £ а/8 £ 2 м, где а - ширина торца здания.
Вариант с поверхностным сбросом дождевой воды без утепления подземной части стен подвала
Вариант с дренажем без утепления подземной части стен подвала
* - размер по проекту
* - размер по проекту
|
Наименование |
№ поз. |
Наименование |
|
|
1 |
Стена (несущая часть) |
16 |
Слив С4 |
|
2 |
Грунтовка типа Ceresit CT 16, Ceresit СТ 17 (ТУ 5745-008-58239148-03) |
17 |
Костыль К3 |
|
3 |
Междуэтажное перекрытие |
18 |
Мастика, см. п. 4.22. |
|
4 |
Плита покрытия |
19 |
Прокладка уплотняющая из пенорезины сечением 8´8 мм по ТУ 38-406316-87 |
|
5 |
Клеевой состав для приклейки плит теплоизоляции и устройства базового защитного слоя, сухая смесь № 51 (опытный завод сухих смесей БИРСС (г. Москва)) |
20 |
Прокладка пенополиэтиленовая уплотняющая марки Вилатерм-СМ Æ 30; 40 (трубчатая), ТУ 6-05-221-872-86 |
|
6 |
Декоративная штукатурка, сухая смесь № 50 (опытный завод сухих смесей БИРСС (г. Москва)) |
21 |
Пена строительная |
|
6а |
Выравнивающая штукатурка - сухая смесь № 12, 15 (з-д БИРСС), РСМ 350 М 150 (оп. з-д сухих смесей) |
22 |
Компенсатор |
|
7 |
Стеклотканевая сетка типа «Строби» ССКО 5´5 (ТУ 6-48-00204961-98) (ТС-07-076-03/2), стеклосетки |
23 |
Плитка облицовочная |
|
8 |
Дюбель из полиамида или полиэтилена EJOT (ТС-07-1051-05) |
24 |
Клей для плитки облицовочной |
|
9 |
Теплоизоляция FOAMGLAS T4 или FOAMGLAS WALL BOARD |
25 |
Цокольная плита (цементно-волокнистая) |
|
10 |
Доска, пропитанная антипиреном; пластина 6´40 с болтом Æ 10 и шагом 600 мм, но не менее 2 штук на проем |
26 |
Уплотнительная лента |
|
11 |
Стык сеток внахлест 100 мм |
27 |
Опорный профиль |
|
12 |
Усиливающий уголок со стеклосеткой |
28 |
Отмостка по проекту |
|
13 |
Рейка 40´50, закрепленная к пробкам 50´60 шурупами. Пробки закреплены к стене дюбелями без шайбы |
29 |
Гидроизоляция - цементно-песчаный раствор |
|
14 |
Слив С1 |
30 |
Обмазочная гидроизоляция 2 слоя |
|
15 |
Слив С2 |
31 |
Стены подвала |
|
32 |
Пол подвала или 1-го этажа: |
48 |
Подоконник по проекту |
|
- линолеум; |
|||
|
- стяжка из цементно-песчаного раствора М50 - 30 мм; |
|||
|
- плита теплоизоляции из пеностекла FOAMGLAS T4 или FOAMGLAS WALL BOARD; |
|||
|
- гидроизоляция; |
|||
|
- бетонная подготовка марки В7,5 - 80 мм. |
|||
|
33 |
Перекрытие подвала |
49 |
Прокладка уплотнительная |
|
34 |
Защитная стенка из кирпича |
50 |
Рама и полотно распашных складчатых ворот серии 1.435-28 |
|
35 |
Щебень |
51 |
Костыль МС-1 с шагом 700 мм, см. в серии 1.435-28 |
|
36 |
Труба дренажная |
52 |
Стальная планка для крепления рамы ворот, см. в серии 1.435-28 |
|
37 |
Бортовой камень |
53 |
Наличник деревянный |
|
38 |
Крупный песок |
54 |
Обрамляющий уголок 50´4 |
|
39 |
Термовставка из ячеистобетонных блоков по ГОСТ 21520-89 |
55 |
Полосу 4´40 крепить к стене дюбелями |
|
40 |
Фартук из оцинкованной стали |
56 |
Антисептированная доска |
|
41 |
Гвоздь Æ 6 через деревянную прокладку с шагом 600 мм, но не менее 2 шт. на проем |
57 |
Костыль К2 |
|
42 |
Дюбель HPS-I, «Хилти», Æ 6 или 8 |
58 |
Теплоизоляция покрытия плитами FOAMGLAS T4 и S3 |
|
43 |
Пластина 6´40, заранее скрепленная с окном шурупами |
59 |
Кровля |
|
44 |
Железобетонная перемычка |
60 |
Трубчатый уплотнитель из резины |
|
45 |
Окно деревянное |
61 |
Наклонный бортик из теплоизоляционных плит FOAMGLAS T4 и S3 |
|
46 |
Шуруп ГОСТ 1144-80 |
62 |
Теплоизоляция чердачного перекрытия плитами «FOAMGLAS» марки Т4 и WALL BOARD |
|
47 |
Дюбель из полиамида (ТУ 36-941-79) |
|
|
СХЕМА № 1. Расположение плит утеплителя, сетки и штукатурки
* - размер по проекту
СХЕМА № 2. Расположение анкеров в углах, температурных швах и у проемов
* - размер по проекту
1. Количество дюбелей, устанавливаемых на 1 м2 системы, зависит от размеров плиты утеплителя и допустимой нагрузки на дюбель + высоты (h).
2. Границы краевой зоны расположены на расстоянии 1 м £ а/8 £ 2 м, где а - ширина торца здания.
Вариант с поверхностным сбросом дождевой воды без утепления подземной части стен подвала
Вариант с дренажем без утепления подземной части стен подвала
* - размер по проекту
|
Наименование |
№ поз. |
Наименование |
|
|
1 |
Стена (несущая часть) |
23 |
Плита покрытия |
|
2 |
Защитно-декоративная кладка |
24 |
Надворотная перемычка |
|
3 |
Рихтовочный зазор |
25 |
Костыль К1 |
|
4 |
Теплоизоляция из плит пеностекла FOAMGLAS T4 или FOAMGLAS WALL BOARD |
26 |
Теплоизоляция из плит пеностекла FOAMGLAS T4 или FOAMGLAS READI BOARD |
|
5 |
Клеевой состав для приклейки плит теплоизоляции - сухая смесь № 51 (опытный завод БИРСС (г. Москва)) |
27 |
Костыль К3 |
|
6 |
Выравнивающая штукатурка - сухая смесь № 12, 15 (опытный завод БИРСС (г. Москва)) |
28 |
Вязальная проволока ГОСТ 3282-74 |
|
7 |
Сварная оцинкованная металлическая сетка 20´20 Æ 1,0 ... 1,6 по ТУ 14-4-647-95 Солнечногорского завода металлических сеток «Лепсе»; или по ГОСТ 2715-75 |
29 |
Закладная сетка M1 |
|
8 |
Антисептированнный деревянный брусок 210´40 мм |
30 |
Закладная сетка М2 |
|
9 |
Антисептированный деревянный брусок 140´40 мм |
31 |
Закладная петля ЗП1 |
|
10 |
Желоб |
32 |
2 Æ 6 |
|
11 |
Наружная штукатурка |
33 |
Подшивка карниза |
|
12 |
Внутренняя штукатурка |
34 |
Анкер А2 |
|
13 |
Кровля |
35 |
Уголок - перемычка с опиранием на боковую кладку проема не менее 120 мм |
|
14 |
Дюбель EJOT (ТС-07-1051-05) |
36 |
Мастика, см. п. 4.22 |
|
15 |
Стеклопакет |
37 |
Прокладка уплотняющая из пенорезины сечением 8´8 мм по ТУ 38-406316-87 |
|
16 |
Доска, пропитанная антипиреном |
38 |
Прокладка пенополиэтиленовая уплотняющая марки Вилатерм-СМ Æ 30; 40 (трубчатая), ТУ 6-05-221-872-86 |
|
16а |
Пластина 6´40 с болтом Æ 10 и шагом 600 мм, но не менее 2 штук на проем |
39 |
Пена строительная |
|
17 |
Стропила |
40 |
Надоконная перемычка |
|
18 |
Междуэтажное перекрытие |
41 |
Цементный раствор |
|
19 |
Чердачное перекрытие |
42 |
Дюбель HPS-I, «Хилти», Æ 6 или 8 |
|
20 |
Слив С1 |
43 |
Оконное стекло |
|
21 |
Слив С2 |
44 |
Шуруп ГОСТ 1144-80 |
|
22 |
Слив С4 |
45 |
Шуруп ГОСТ 1144-80 |
|
46 |
Гвоздь Æ 6 через деревянную прокладку с шагом 600 мм, но не менее 2 шт. на проем |
59 |
Пол подвала или 1-го этажа: |
|
- линолеум; |
|||
|
- стяжка из цементно-песчаного раствора М 50 - 30 мм; |
|||
|
- плита теплоизоляции из пеностекла FOAMGLAS T4 или FOAMGLAS WALL BOARD; |
|||
|
- гидроизоляция; |
|||
|
- бетонная подготовка марки В7,5 - 80 мм или плита перекрытия. |
|||
|
47 |
Окно деревянное |
60 |
Крупный песок |
|
48 |
Рама и полотно распашных складчатых ворот серии 1.435-28 |
61 |
Термовставка из ячеистобетонных блоков по ГОСТ 21520-89 |
|
49 |
Костыль МС-1 с шагом 700 мм, см. в серии ворот |
62 |
Фартук из оцинкованной кровельной стали |
|
50 |
Стальная планка для крепления рамы ворот, см. в серии ворот |
63 |
Несущая балка - пояс |
|
51 |
Подоконник по проекту |
64 |
Декоративная плитка |
|
52 |
Капельник |
65 |
Прокладка уплотняющая |
|
53 |
Отмостка по проекту |
66 |
Пластина 6´40, заранее скрепленная с окном шурупами |
|
54 |
Гидроизоляция - цементно-песчаный раствор |
67 |
Наличник деревянный |
|
55 |
Отделка цоколя |
68 |
Теплоизоляция чердачного перекрытия плитами «FOAMGLAS» марки Т4 и WALL BOARD |
|
56 |
Фундаментная балка |
69 |
Трубчатый уплотнитель из резины |
|
57 |
Бортовой камень |
70 |
Наклонный бортик из теплоизоляционных плит FOAMGLAS T4 и S3 |
|
58 |
Стена подвала |
|
|
СХЕМА № 1. Расположение плит утеплителя, рассечек, защитно-декоративной кладки, несущей балки-пояса
СХЕМА № 2. Расположение анкеров в углах, температурных швах и у проемов
Максимальный шаг (м) температурных швов в защитно-декоративной стене L1
|
Шаг швов при средней температуре наружного воздуха наиболее холодной пятидневки |
|||
|
минус 40 °С и ниже |
минус 30 °С |
минус 20 °С и выше |
|
|
Из кирпича, в т.ч. лицевого на растворе марки 50 и более |
30 |
42 |
70 |
|
Из силикатного кирпича на растворе марки 50 |
21 |
30 |
42 |
* - размер по проекту
* - размер по проекту
* - размер по проекту
* - размер по проекту
* - размер по проекту
* - размер справочный
|
Наименование |
№ поз. |
Наименование |
|
|
1 |
Стена (несущая часть) |
23 |
Оконное стекло |
|
2 |
Защитно-декоративная кладка |
24 |
Надворотная перемычка |
|
3 |
Рихтовочный зазор |
25 |
Костыль К1 |
|
4 |
Теплоизоляция из плит пеностекла FOAMGLAS T4 или FOAMGLAS WALL BOARD |
26 |
Теплоизоляция из плит пеностекла FOAMGLAS T4 или FOAMGLAS READI BOARD |
|
5 |
Клеевой состав для приклейки плит теплоизоляции - сухая смесь № 51 (опытного завода БИРСС (г. Москва)) |
27 |
Костыль К3 |
|
6 |
Выравнивающая штукатурка - сухая смесь № 12, 15 (опытного завода БИРСС (г. Москва)) |
28 |
Вязальная проволока ГОСТ 3282-74 |
|
7 |
Сварная оцинкованная металлическая сетка 20´20 Æ 1,0...1,6 по ТУ 14-4-647-95 Солнечногорского завода металлических сеток «Лепсе»; или по ГОСТ 2715-75 |
29 |
Закладная сетка M1 |
|
8 |
Антисептированный деревянный брусок 210´40 мм |
30 |
Закладная сетка М2 |
|
9 |
Антисептированный деревянный брусок 140´40 мм |
31 |
Закладная петля ЗП1 |
|
10 |
Желоб |
32 |
2 Æ 6 |
|
11 |
Наружная штукатурка |
33 |
Анкер А1 |
|
12 |
Внутренняя штукатурка |
34 |
Анкер А2 |
|
13 |
Кровля |
35 |
Уголок - перемычка с опиранием на боковую кладку проема не менее 120 мм |
|
14 |
Дюбель EJOT (ТС-07-1051-05) |
36 |
Мастика |
|
15 |
Стеклопакет |
37 |
Прокладка уплотняющая из пенорезины сечением 8´8 мм по ТУ 38-406316-87 |
|
16 |
Доска, пропитанная антипиреном |
38 |
Прокладка пенополиэтиленовая уплотняющая марки Вилатерм-СМ Æ 30; 40 (трубчатая), ТУ 6-05-221-872-86 |
|
16а |
Пластина 6´40 с болтом Æ 10 и шагом 600 мм, но не менее 2 штук на проем |
39 |
Пена строительная |
|
17 |
Стропила |
40 |
Надоконная перемычка |
|
18 |
Плита покрытия |
41 |
Цементный раствор |
|
19 |
Чердачное перекрытие |
42 |
Дюбель HPS-I, «Хилти», Æ 6 или 8 |
|
20 |
Слив С1 |
43 |
Дюбель из полиамида ТУ 36-941-79 |
|
21 |
Слив С2 |
44 |
Шуруп ГОСТ 1144-80 |
|
22 |
Слив С4 |
45 |
Шуруп ГОСТ 1144-80 |
|
46 |
Гвоздь Æ 6 через деревянную прокладку с шагом 600 мм, но не менее 2 шт. на проем |
56 |
Фундаментная балка |
|
47 |
Окно деревянное |
57 |
Консоль под фундаментную балку |
|
48 |
Рама и полотно распашных складчатых ворот серии 1.435-28 |
58 |
Стена подвала |
|
49 |
Костыль МС-1 с шагом 700 мм, см. в серии 1.435-28 |
59 |
Крупный песок |
|
50 |
Стальная планка для крепления рамы ворот, см. в серии 1.435-28 |
60 |
Термовставка из ячеистобетонных блоков по ГОСТ 21520-89 |
|
51 |
Подоконник по проекту |
61 |
Фартук из оцинкованной кровельной стали |
|
52 |
Капельник |
62 |
Подшивка карниза |
|
53 |
Отмостка по проекту |
63 |
Трубчатый уплотнитель из резины |
|
54 |
Гидроизоляция - цементно-песчаный раствор |
64 |
Наклонный бортик из теплоизоляционных плит FOAMGLAS T4 и S3 |
|
55 |
Перекрытие над подвалом |
65 |
Теплоизоляция чердачного перекрытия плитами «FOAMGLAS» марки Т4 и WALL BOARD |
СХЕМА № 1. Расположение плит утеплителя, рассечек
* - размер по проекту
СХЕМА № 2. Расположение анкеров в углах, температурных швах и у проемов
Максимальный шаг температурных швов в защитно-декоративной стене L1 см. в таблице № 1 на листе 2 докум. М24.32/05-3.1
* - размер по проекту
* - размеры по проекту
* - размер по проекту
* - размер по проекту
* - размер по проекту
* - размер справочный
|
Наименование |
№ поз. |
Наименование |
|
|
1 |
Направляющая из Т-образного профиля |
21 |
Дюбель HPS-1, «Хилти», Æ 6 или 8 мм |
|
2 |
Направляющая из Г-образного профиля |
22 |
Главный профиль, δ = 1,5 мм |
|
3 |
Кляммер К-1 |
23 |
Лист оцинкованной стали 1250´50´0,7 мм с шагом 600 мм |
|
4 |
Плитка керамогранитная |
24 |
Вставка рядовая 130´100´2 мм |
|
5 |
Кляммер К-2 |
25 |
Пленка типа «Тайвек» (TYVEK) |
|
6 |
Теплоизоляция из плит пеностекла FOAMGLAS T4 или FOAMGLAS WALL BOARD |
26 |
Кронштейн угловой |
|
7 |
Кляммер К-3 |
27 |
Зажимной профиль |
|
8 |
Кляммер К-4 |
28 |
Направляющая из А-образного профиля |
|
9 |
Кляммер К-5 |
29 |
Регулировочный винт |
|
10 |
Кляммер К-6 |
30 |
Кляммер угловой К-7 |
|
11 |
Дюбели и крепления теплоизоляции |
31 |
Тарельчатый дюбель или дюбель с шайбой |
|
12 |
Заклепка вытяжная нержавеющая 3,2 - 4,8 |
32 |
Вставка угловая 250´250´2 мм |
|
13 |
Анкерный дюбель |
33 |
Самонарезающий винт |
|
14 |
Поронитовая прокладка |
34 |
Отрезки Г-образного профиля l = 200 - 300 мм |
|
15 |
Резиновая прокладка |
35 |
Клей |
|
16 |
Стальной элемент рамы обрамления оконной коробки, δ = 0,55 мм |
36 |
Защитный фартук из оцинкованной стали |
|
17 |
Слив оконного блока |
37 |
Гнутый уголок 100´100´2 мм |
|
18 |
Оконный блок |
38 |
Слив цоколя |
|
19 |
Кронштейн рядовой |
39 |
Гидроизоляция |
|
20 |
Стыковочный профиль |
40 |
Отмостка |
Схема № 1. Раскладка плит теплоизоляции, размещения кляммеров и дюбелей
Схема № 2. Крепление несущих элементов при установке оконного отлива
|
Наименование |
№ поз |
Наименование |
|
|
1 |
Несущая часть стены |
12 |
Пол подвала |
|
2 |
Отделочный штукатурный слой |
13 |
Защитная пленка «Тефонд» (ТУ 5774-003-45940433-99) |
|
3 |
Теплоизоляция FOAMGLAS T4 или FOAMGLAS READI BOARD |
14 |
Опорный профиль |
|
4 |
Горизонтальная гидроизоляция из цементно-песчаного раствора М 50 |
15 |
Отделка цоколя |
|
5 |
Клеевой слой для крепления теплоизоляции |
16 |
Щебень |
|
6 |
Перекрытие над подвалом |
17 |
Крупный песок |
|
7 |
Дюбели для крепления внутреннего слоя гидроизоляции из битумно-полимерного рулонного материала |
18 |
Дренажная труба |
|
8 |
Двухслойная рулонная гидроизоляция из битумно-полимерного материала |
19 |
Дюбели для крепления теплоизоляции FOAMGLAS |
|
9 |
Обмазочная гидроизоляция |
20 |
Обратная засыпка грунтом |
|
10 |
Отмостка |
21 |
Теплоизоляция из плит пеностекла FOAMGLAS T4 или FOAMGLAS WALL BOARD |
|
11 |
Бортовой камень |
22 |
Отделка потолка |
Теплоизоляция стены подвала плитами из пеностекла «ФОАМГЛАС» с наружной стороны
Вариант с поверхностным сбросом дождевой воды и защитой обмазочной гидроизоляции пленкой «Тефонд»
Вариант с дренажем
|
Наименование |
№ поз. |
Наименование |
|
|
1 |
Покрытие пола |
13 |
Опорное кольцо |
|
2 |
Клеевой слой из горячего тугоплавкого битумной мастики |
14 |
Металлическая сетка |
|
3 |
Сборная стяжка из гипсоволокнистых листов |
15 |
Цементно-песчаный раствор |
|
4 |
Монолитная стяжка из раствора на основе цемента или гипса |
16 |
Хомут |
|
5 |
Плитное пеностекло FOAMGLAS S3, FOAMGLAS F или FOAMGLAS FLOOR F |
17 |
Силиконовый герметик |
|
6 |
Перекрытие |
18 |
Дюбель |
|
7 |
Бетонный подстилающий слой |
19 |
Фартук из оцинкованной стали |
|
8 |
Гидроизоляция из рулонных материалов |
20 |
Зонт из оцинкованной стали |
|
9 |
Пароизоляция |
21 |
Стеновое ограждение |
|
10 |
Утрамбованный грунт основания |
22 |
Уплотнительный шнур «Вилатерм-СМ» |
|
11 |
Трубопровод |
23 |
Уретановая мастика |
|
12 |
Стальной патрубок |
24 |
Песчаный подстилающий слой |
Пол на грунте
Пол на перекрытии над неотапливаемым подвалом
Пол автостоянки над подземным гаражом
Деформационный шов в полу автостоянки над подземным гаражом
|
Наименование |
№ поз. |
Наименование |
|
|
1 |
Монолитное бетонное покрытие класса В22,5 - 40 мм |
15 |
Железобетонная наружная стеновая панель с теплоизоляцией |
|
2 |
Армобетонная стяжка - 80 мм |
16 |
Монолитное бетонное покрытие класса В22,5 - 40 мм |
|
3 |
Слой пергамина насухо с промазкой швов битумной мастикой |
17 |
Фольгоизол по битумной грунтовке - 5 мм |
|
4 |
Теплоизоляция - плиты пеностекла FOAMGLAS S3, FOAMGLAS F или FOAMGLAS FLOOR BOARD F |
18 |
Стяжка из цементно-песчаного раствора марки 100 - 20 мм |
|
5 |
Оклеенная пароизоляция |
19 |
Уплотненный песок влажностью 10 % - 200 мм |
|
6 |
Выравнивающая стяжка по перекрытию подполья |
20 |
Бетонная подготовка класса В20 с электронагревателями |
|
7 |
Железобетонная плита перекрытия подполья |
21 |
Гидроизоляция оклеенная (по расчету) |
|
8 |
Ригель перекрытия |
22 |
Стяжка из бетона В10 с выравниванием поверхности под гидроизоляцию - 50 мм |
|
9 |
Сборные железобетонные плиты 500´500´40 мм |
23 |
Подсыпка местным грунтом с уплотнением |
|
10 |
Прослойка из цементно-песчаного раствора марки 300 - 15 мм |
24 |
Грунт основания |
|
11 |
Стяжка из бетона класса В15, армированная сеткой 60-3,0-0 по ГОСТ 5336-80 - 80 мм |
25 |
Наружная стена холодильника |
|
12 |
Железобетонная плита безбалочного перекрытия - 160 мм |
26 |
Теплоизоляция стены из плит пеностекла FOAMGLAS T3 или FOAMGLAS WALL BOARD |
|
13 |
Цементно-песчаный раствор марки 200 по металлической сетке 35-2,0-0 по ГОСТ 5336-80 |
||
|
14 |
Точечная приклейка теплоизоляции резинобитумной мастикой «Битрэк-И» |
|
|
|
Наименование |
№ поз. |
Наименование |
|
|
1 |
Несущая железобетонная плита |
18 |
Геотекстиль |
|
2 |
Выравнивающая затирка цементно-песчаным раствором марки 50 толщиной до 15 мм или уклонообразующий слой из легкого бетона |
19 |
Пригрузочный слой из гравия |
|
3 |
Грунтовка раствором битума в керосине (1:3) |
20 |
Керамические, керамогранитные или бетонные плитки покрытия на цементно-песчаном растворе или пластиковых подставках |
|
4 |
Полосовая и точечная приклейка плит FOAMGLAS горячим битумом или мастикой с расходом 0,3 кг/м2 |
21 |
Цементно-песчаный раствор |
|
5 |
Плиты FOAMGLAS марки Т4 или S3 |
22 |
Почвенный слой |
|
6 |
Слой горячего битума или мастики с расходом 2,5 кг/м2 |
23 |
Дренажный слой из гравия |
|
7 |
Водоизоляционный ковёр из полимерной плёнки |
24 |
Парапет |
|
8 |
Склейка полимерной мастикой или сварной шов в нахлёстке полимерной плёнки |
24а |
Стена |
|
9 |
Крепёжный элемент |
25 |
Уплотнитель типа «Вилатерм» по ТУ 2291-002-05794463-97 |
|
10 |
Краевой герметик в кровле из полимерной плёнки |
26 |
Дюбель ДГ3,7´70 Ц6 |
|
11 |
Закладная деталь ЗД-1 |
27 |
Защитный фартук из оцинкованной стали толщиной 0,8 мм |
|
12 |
Водоизоляционный ковёр из битумно-полимерных рулонных материалов |
28 |
Ограждение кровли |
|
13 |
Герметик - мастика |
29 |
Приклейка горячим битумом или мастикой |
|
14 |
Приклейка битумной мастикой |
30 |
Бортик из теплоизоляционных плит FOAMGLAS |
|
15 |
Плиты FOAMGLAS марки READY BOARD |
|
|
|
16 |
Водоизоляционный ковёр мастичный или из наклеенных битумно-полимерных рулонных материалов |
31 |
Приклейка по кромкам |
|
17 |
Защитный слой (посыпка на верхнем слое рулонного материала или гравий либо посыпка на верхнем слое мастичной кровли) |
31а |
Механическое крепление по кромкам |
|
32 |
Дополнительные слои ковра (усиление примыкания кровли к парапету, стене) |
52 |
Труба |
|
32а |
Слой рулонного материала (усиление кровли в ендове) |
53 |
Легкий бетон класса В7,5 на пористых заполнителях |
|
33 |
Усиление кровли в коньке |
54 |
Костыль из стальной полосы 4´40 мм |
|
34 |
Патрубок с фланцем |
55 |
Прокладочный слой |
|
35 |
Хомут |
56 |
Тротуарные плиты |
|
36 |
Местное понижение воронки |
57 |
Плиты покрытия (бетонные, деревянные) |
|
37 |
Колпак воронки |
58 |
Резиновые подставки |
|
38 |
Прижимной фланец |
59 |
Дорожные железобетонные плиты |
|
39 |
Минеральная вата |
60 |
Армированная бетонная стяжка |
|
40 |
Подливка цементно-песчаным раствором |
61 |
Полиэтиленовая пленка 2 слой (слой скольжения) |
|
41 |
Дополнительный слой вокруг воронки; трубы; анкера |
62 |
Бетонные плиты покрытия |
|
42 |
Компенсатор из оцинкованной стали толщиной 1,0 мм |
63 |
Асфальтобетон |
|
43 |
Стена деформационного шва (бетон, кирпичная кладка) |
64 |
Пергамин |
|
44 |
Пароизоляция |
65 |
Пробка деревянная антисептированная 65´120´120 через 510 |
|
45 |
Минеральная плита |
66 |
Противокорневой слой |
|
46 |
Стальная полоса 4´40 мм |
67 |
Разделительный слой из кровельного рулонного материала |
|
47 |
Рамка из уголка 30´30 мм |
68 |
Водоприемная воронка |
|
48 |
Анкер |
69 |
Уплотнитель - ПРП по ГОСТ 19177-81 |
|
49 |
Стальная шайба 100´100´5 мм |
70 |
Защитная решетка |
|
50 |
Парапетная плита |
71 |
Гравийная засыпка |
|
51 |
Стальной стакан с фланцем |
72 |
Грунтовочный слой |
А. Кровля из полимерной пленки с механическим креплением (неэксплуатируемая)
Б. Кровля из битумно-полимерных рулонных материалов (в том числе наплавляемых) с механическим креплением нижнего слоя (неэксплуатируемая)
В. Кровля мастичная, армированная стекломатериалами или с приклейкой битумно-полимерных рулонных материалов, в том числе наплавляемых (неэксплуатируемая)
Г. Кровля эксплуатируемая для пешеходного движения и озеленения
Д. Кровля эксплуатируемая для автостоянок и паркингов
Схема маркировки узлов
Узел «Д» для покрытия 9.1Б
Узел «Д» для покрытия 9.1Б
|
Наименование |
№ поз |
Наименование |
|
|
1 |
Стальной профнастил |
17а |
Герметик-мастика |
|
2 |
Полосовая приклейка плит FOAMGLAS горячим битумом или мастикой с расходом 0,3 кг/м2 |
18 |
Сварной шов в кровле из полимерных пленок |
|
3 |
Плиты теплоизоляционные FOAMGLAS марки Т4 или S3 |
19 |
Дополнительные слои рулонного материала (усиление примыкания кровли) |
|
4 |
Слой горячего битума - расход 2,5 кг/м2 |
20 |
Защитный фартук из оцинкованной стали толщиной 0,8 мм |
|
5 |
Закладная деталь ЗД-1 |
21 |
Костыль из полосы 4´40 мм |
|
6 |
Основной водоизоляционный ковер из полимерной пленки |
22 |
Ограждение |
|
6а |
То же, из 2х слоев битумно-полимерного рулонного материала: нижний слой механически закреплён |
23 |
Дюбель ДГ3,7´70 Ц6 |
|
6б |
Водоизоляционный ковер из приклеенных слоев битумно-полимерных рулонных материалов или слоев мастик, армированных стекломатериалами |
24 |
Парапет (стена) |
|
7 |
Защитный слой (посыпка на верхнем слое рулонного материала) |
25 |
Трехслойная стеновая панель |
|
8 |
Крепёжный элемент |
26 |
|
|
9 |
Приклейка полимерной мастикой или сварной шов в нахлёстке полимерной плёнки |
27 |
Комплект деталей для крепления ограждения парапета |
|
10 |
Приклейка битумной мастикой |
28 |
Толевые гвозди |
|
11 |
Плиты FOAMGLAS марки READY BOARD |
29 |
Заглушка из негорючего утеплителя |
|
12 |
Приклейка по кромкам |
30 |
Деревянный брус антисептированный и антипирерованный |
|
13 |
Оцинкованная сталь толщиной 0,8 мм |
31 |
Заклепка комбинированная ЗК-10 |
|
14 |
Стальная гребенка |
32 |
Винт самонарезающий В6´25 |
|
14а |
Механическое крепление по кромкам |
33 |
Слой рулонного материала (усиление ковра в коньке) |
|
15 |
Бортик из теплоизоляционный плиты |
34 |
Стальной поддон |
|
16 |
Слой рулонного материала (усиление ендовы) |
35 |
Патрубок с фланцем |
|
17 |
Герметик полимерный (в кровлях из полимерных пленок) |
36 |
Стальной хомут |
|
37 |
Колпак воронки |
48 |
Стальная пластина 220´120´10 мм |
|
38 |
Прижимной фланец |
49 |
Уголок 125´80´7 |
|
39 |
Дополнительный слой ковра вокруг воронки |
50 |
Компенсатор из оцинкованной стали толщиной 2 мм |
|
40 |
Местное понижение вокруг воронки |
51 |
Выкружка из оцинкованной стали толщиной 1,5 мм |
|
41 |
Прогон |
52 |
Слой кровельного рулонного материала «насухо» (крупнозернистой посыпкой вниз) |
|
42 |
Опорный столбик |
53 |
Труба |
|
43 |
Бортик из гнутого профиля |
54 |
Стальной стакан |
|
44 |
Минеральная вата |
55 |
Дополнительный слой рулонного материала (усиление ковра в коньке) |
|
45 |
Компенсатор из оцинкованной стали толщиной 0,8 мм |
56 |
Цементно-песчаный раствор |
|
46 |
Стальная полоса 4´40 мм |
57 |
Шуруп |
|
47 |
Болт M10´30-011 с шайбой и гайкой |
58 |
Подстилающий слой |
А. Кровля из полимерной пленки с механическим креплением
Б. Кровля из битумно-полимерных рулонных материалов (в том числе наплавляемых) с механическим креплением нижнего слоя
В. Кровля мастичная, армированная стекломатериалами или с приклейкой битумно-полимерных рулонных материалов, в том числе наплавляемых
Схема маркировки узлов
Узел «Г» для покрытия 10.1Б
|
Наименование |
№ поз |
Наименование |
|
|
1 |
Гипсокартонный лист (2 слоя) |
24 |
Кровельный низкий вентилятор скатного типа |
|
2 |
Стропила стальные |
25 |
Кровельный высокий вентилятор скатного типа |
|
3 |
Стропила деревянные |
26 |
Штукатурка |
|
4 |
Кровля из гибкой битумной черепицы |
27 |
Герметик |
|
4а |
Кровля из наплавляемых битумно-полимерных рулонных (в т.ч. наплавляемых) материалов или из мастик, армированных стекломатериалами |
28 |
Разжелобок |
|
5 |
Контробрешетка |
29 |
Дымовая труба |
|
6 |
Сплошной настил из обрезной доски, влагостойкой фанеры или плит OSB |
30 |
Металлическая планка |
|
7 |
Стальной профлист |
31 |
Ендовный ковер |
|
8 |
Деревянный брусок 40´30 мм |
32 |
Треугольная рейка |
|
9 |
Деревянный брусок 60´40 мм |
33 |
Капельник |
|
10 |
Вкладыш из гипсокартона |
34 |
Крюк водостока |
|
11 |
Гидроизоляционно-диффузионная пленка типа «Тайвек» (TYVEK) |
35 |
Подшивка вагонкой |
|
12 |
Подкладочный ковер (битуминозный рулонный материал) |
36 |
Каркас из досок |
|
13 |
Теплоизоляционная плита FOAMGLAS марки WALL BOARD |
37 |
Стена |
|
13а |
Теплоизоляционная плита FOAMGLAS марки READY BOARD |
38 |
Дополнительная теплоизоляция по периметру наружной стены |
|
13б |
Теплоизоляционная плита FOAMGLAS марки Т4 или S3 |
39 |
Чердачное перекрытие |
|
14 |
Вентилируемая воздушная прослойка |
40 |
Гибкие связи |
|
15 |
Толевые гвозди |
41 |
Анкер стропила |
|
16 |
Битумно-полимерная мастика |
42 |
Мауэрлат |
|
16а |
Сплошная приклейка теплоизоляционных плит горячим битумом или мастикой |
43 |
Гидроизоляция |
|
17 |
Оконный оклад «VELUX» |
44 |
Кобылка |
|
18 |
Вентиляционное отверстие |
45 |
Защитно-декоративная стенка |
|
19 |
Точечный коньковый аэратор |
46 |
Толевые гвозди |
|
20 |
Щипцовое окно с решеткой |
47 |
Кирпичная кладка |
|
21 |
Затяжка |
48 |
Блоки |
|
22 |
Вентиляционное отверстие (шаг 500 мм) |
49 |
Бруски (каркас) |
|
23 |
Сплошной коньковый аэратор |
|
|
А. Кровля из гибкой (битумной) черепицы в покрытии по деревянному основанию
В. Кровля из рулонных битумно-полимерных, в т.ч. наплавляемых, материалов и из мастик со стекломатериалами в покрытии по деревянному настилу
* - обеспечивает циркуляцию воздуха межстропильных пространств.
|
Наименование |
№ поз |
Наименование |
|
|
1 |
Сборное или монолитное железобетонное основание |
20 |
Стена (парапет) |
|
2 |
Грунтовка |
21 |
Теплоизоляция FOAMGLAS марки PERINSUL |
|
3 |
Приклейка горячим битумом или мастикой |
22 |
Деревянный брус - пробка 65´120 мм через 600 мм |
|
4 |
Теплоизоляционные плиты FOAMGLAS марки Т4 или S3 |
23 |
Костыль из пластины 4´40 мм |
|
5 |
Слой горячего битума или мастики с расходом 2,5 кг/м2 |
24 |
Нащельник |
|
5а |
Кровля из листовой стали |
25 |
Прогон |
|
6 |
Стоячий фальц кровли с кряммерой |
26 |
Винт |
|
7 |
Закладная деталь ЗД-1 |
27 |
Комбинированная заклепка |
|
8 |
Крепежные элементы |
28 |
Мауэрлат |
|
9 |
Подкладочный слой из битумного материала |
29 |
Внутренняя отделка |
|
10 |
Кровельные гвозди |
30 |
Бортик из теплоизоляции FOAMGLAS марки Т4 или S3 |
|
11 |
Стропило |
31 |
Кронштейн |
|
12 |
Сплошной деревянный настил из досок |
32 |
Фасонный элемент |
|
13 |
Профилированный настил |
33 |
Дополнительный прогон |
|
14 |
Деревянный брус 60´h |
34 |
Труба |
|
15 |
Гвозди |
35 |
Минеральная вата |
|
16 |
Кобылка |
36 |
Стакан стальной |
|
17 |
Капельник |
37 |
Зонт из оцинкованной стали |
|
18 |
Лоток |
38 |
Хомут |
|
19 |
Скоба |
39 |
Мастика - герметик |
A. Кровля из листовой стали в покрытии по сборному или монолитному железобетонному основанию
Б. Кровля из листовой стали в покрытии по профилированному настилу.
B. Кровля из листовой стали в покрытии по деревянному основанию.
|
Наименование |
№ поз. |
Наименование |
|
|
1 |
Сборное или монолитное железобетонное основание |
20 |
Стена (парапет) |
|
2 |
Грунтовка |
21 |
Теплоизоляция FOAMGLAS марки PERINSUL |
|
3 |
Приклейка горячим битумом или мастикой |
22 |
Деревянный брус - пробка 65´120 мм через 600 мм |
|
4 |
Теплоизоляционные плиты FOAMGLAS марки Т4 или S3 |
23 |
Костыль из пластины 4´40 мм |
|
5 |
Слой горячего битума или мастики с расходом 2,5 кг/м2 |
24 |
Нащельник |
|
5а |
Кровля из листовой стали |
25 |
Прогон |
|
6 |
Стоячий фальц кровли с кряммерой |
26 |
Винт |
|
7 |
Закладная деталь ЗД-1 |
27 |
Комбинированная заклепка |
|
8 |
Крепежные элементы |
28 |
Мауэрлат |
|
9 |
Подкладочный слой из битумного материала |
29 |
Внутренняя отделка |
|
10 |
Кровельные гвозди |
30 |
Бортик из теплоизоляции FOAMGLAS марки Т4 или S3 |
|
11 |
Стропило |
31 |
Кронштейн |
|
12 |
Сплошной деревянный настил из досок |
32 |
Фасонный элемент |
|
13 |
Профилированный настил |
33 |
Дополнительный прогон |
|
14 |
Деревянный брус 60´h |
34 |
Труба |
|
15 |
Гвозди |
35 |
Минеральная вата |
|
16 |
Кобылка |
36 |
Стакан стальной |
|
17 |
Капельник |
37 |
Зонт из оцинкованной стали |
|
18 |
Лоток |
38 |
Хомут |
|
19 |
Скоба |
39 |
Мастика - герметик |
А. Кровля из листовой стали в покрытии по сборному или монолитному железобетонному основанию.
Б. Кровля из листовой стали в покрытии по профилированному настилу.
В. Кровля из листовой стали в покрытии по деревянному основанию.
1 - 1 (узел 5)
|
Наименование |
№ поз |
Наименование |
|
|
1 |
Железобетонная плита перекрытия |
6 |
Деревянная балка перекрытия |
|
2 |
Пароизоляция (см. п. 8.2) |
7 |
Деревянный щит |
|
3 |
Теплоизоляционные плиты «FOAMGLAS» марки Т4 и WALL BOARD |
8 |
Цементно-стружечная плита, δ = 20 мм |
|
4 |
Армированная цементно-песчаная стяжка |
9 |
Штукатурка |
|
5 |
Выравнивающая стяжка |
|
|
АНКЕР А1
* поз. 2 - оцинковать
|
№ поз. |
Наименование |
Кол. |
Масса ед., кг |
Примечание |
|
|
А1 |
1 |
6 А-III, ГОСТ 5781-82, L = 150 |
1 |
0,03 |
0,31 ... 0,43 |
|
2* |
Лист |
1 |
0,3 ... 0,4 |
АНКЕР А2
|
№ поз. |
Наименование |
Кол. |
Масса ед., кг |
Примечание |
|
|
А2 |
1 |
6 А-III, ГОСТ 5781-82, L = 240 |
2 |
0,053 |
0,42 |
|
2 |
Лист |
1 |
0,314 |
ЗАКЛАДНАЯ СЕТКА M1
ЗАКЛАДНАЯ СЕТКА М2
ЗАКЛАДНАЯ ПЕТЛЯ ЗП1
ЗП1 и М2 - оцинковать
СЛИВ C1
СЛИВ С2
слив с3
СЛИВ С4
СЛИВ С5
Материал: ОЦ ![]()
* - толщина слива С2; С3 - 1 мм
** - по проекту
![]()
КОСТЫЛЬ K1
КОСТЫЛЬ К2
КОСТЫЛЬ К3
КОСТЫЛЬ К4
Материал: ![]()
1. * Уточняется в проекте.
2. Костыли окрасить за 2 раза или оцинковать
ПРИМЕР: Сборная несущая балка из керамзитобетона плотностью 1400 кг/м3 класса В12.5
* а = 30 ... 140 (по толщине теплоизоляции)
СТАЛЬНАЯ НАПРАВЛЯЮЩАЯ
Н - направляющая нижняя
В - направляющая верхняя
Материал: ОЦ ![]()
* Болты М8 с гайкой и 2-мя шайбами
Р - направляющая рядовая
КЛЯММЕР A1
КЛЯММЕР А2
СКОБА
УГОЛОК
ШАЙБА
ПРИЖИМНАЯ ПЛАНКА
Материал: ОЦ ![]()
КРОНШТЕЙН ФИРМЫ «КРАСПАН»
НАЩЕЛЬНИК H1
НАЩЕЛЬНИК Н2
НАЩЕЛЬНИК Н3
НАЩЕЛЬНИК Н4
НАЩЕЛЬНИК Н5
* - размеры по проекту
ЗАКЛАДНАЯ ДЕТАЛЬ ЗД-1
Тип здания - жилой дом с нижней разводкой систем отопления и горячего водоснабжения;
Место строительства - Москва;
Конструкция стены - кирпичная с толщиной несущей части 640 мм, утепленная плитным пеностеклом «FOAMGLAS» с λБ = 0,044 Вт/(м · °С) и защитным слоем из цементно-известковой штукатурки толщиной 30 мм.
1. Определяем значение градусо-суток отопительного периода:
ГСОП = (tв - tот.п.) · Zот.п. = (20 + 3,1) · 214 = 4943
2. По СНиП 23-02-2003 г. находим значение приведенного сопротивления теплопередачи:
![]()
3. Требуемая толщина теплоизоляции стены подвала, расположенной выше уровня земли:
![]()
Принимаем толщину теплоизоляции равной 100 мм;
4. Вычисляем толщину теплоизоляции стены подвала, расположенной ниже уровня земли:
![]()
Принимаем толщину теплоизоляции равной 60 мм;
При размещении теплоизоляционного слоя с внутренней стороны стены определяют расположение зоны конденсации графическим способом.
Административное здание в г. Москве.
Усиление теплозащиты выполнено с применением плитного пеностекла «FOAMGLAS». Принятая конструкция стены дана на расчетной схеме.
Расчетная схема стены
1 - цементно-известковая штукатурка, λ1 = 0,87 Вт/(м · °С); 2; 4 - кирпичная кладка, λ2 = 0,81 Вт/(м · °С); 3 - плита пеностекла «FOAMGLAS», λ3 = 0,044 Вт/(м · °С).
Требуемое сопротивление теплопередаче стены является функцией числа градусо-суток отопительного периода (ГСОП):
ГСОП = (tв - tот.пep.) · Zот.пep.;
где: tв - расчетная температура внутреннего воздуха, °С;
tот.пep., Zот.пep. - средняя температура, °С и продолжительность, сут. периода со средней суточной температурой воздуха ниже или равной 8 °С по СНиП 23-01-99 «Строительная климатология».
Для г. Москвы ГСОП = 4963 и Rтp = 2,67 м2 · °С/Вт.
![]()
Требуется усиление теплозащитной способности стены на:
![]()
а за вычетом R облицовочного слоя из кирпича, равного 0,148 м2 · °С/Вт, получаем
![]()
Толщина слоя дополнительной теплоизоляции при λ3 = 0,044 Вт/(м · °С) и коэффициенте теплотехнической однородности r = 0,92 составит:
![]()
Принимаем слой изоляции равным 80 мм, тогда фактическое сопротивление теплопередаче составит:
![]()
(Наружная стена)
1. Цель расчета - определение необходимости устройства специальной парозащиты в многослойной стене.
Расчет выполнен по СНиП 23-02-2003 «Тепловая защита зданий».
2. Исходные данные - административное здание в г. Москва tвн = 18 °С; φвн = 50 %; Rфак = 2,63 м2 · °С/Вт (см. расчет теплозащиты стены).
3. Конструкция стены:
1 - цементно-известковая штукатурка, λ = 0,87 Вт/м · °С;
μ = 0,098 мг/м · ч · Па
2; 4 - кирпичная кладка, λ = 0,81 Вт/м · °С;
μ = 0,11 мг/м · ч · Па
3 - плита пеностекла λ = 0,044 Вт/м · °С;
«FOAMGLAS» μ = 0,005 мг/м · ч · Па
а-а - плоскость возможной конденсации
Сопротивление теплопередаче внутренних слоев составит:
![]()
4. Требуемое сопротивление паропроницанию слоев стены до плоскости возможной конденсации должно быть не менее его значения:
по формуле:
или
по формуле: ![]()
5. Проверка возможности влагонакопления за годовой период.
Значения среднемесячных температур наружного воздуха для Москвы по СНиП 23-01-99 «Строительная климатология» приведены в таблице, Zо по тому же СНиПу (стр. 8) и средней упругости водяных паров наружного воздуха по СНиП 2.01.01-82 «Строительная климатология геофизика», т.к. в новом СНиПе эти данные отсутствуют.
|
1 |
2 |
3 |
4 |
5 |
6 |
7 |
8 |
9 |
10 |
11 |
12 |
|
|
Тн, °С |
-10,2 |
-9,2 |
-4,3 |
4,4 |
11,9 |
16,0 |
18,1 |
16,3 |
10,7 |
4,3 |
-1,9 |
-7,3 |
|
ен, гПа |
2,8 |
2,9 |
3,7 |
6 |
8,9 |
12,4 |
14,7 |
14,2 |
10,4 |
6,9 |
4,8 |
3,6 |
Zо = 145 сут
Сезонные и среднемесячные температуры:
Z1 = 3 мес; tн1 = -8,9 °С;
Z2 = 4 мес; tн2 = +0,625 °С;
Z3 = 5 мес; tн3 = +14,6 °С.
Температура в плоскости возможной конденсации,
соответствующая среднезонным температурам, определяется по формуле: tв = tв - (tв - tн) ·
,
![]()
![]()
![]()
соответственно E1 = 351 Па; Е2 = 513 Па; Е3 = 1695 Па, тогда
Е = (351 · 3 + 513 · 4 + 1695 · 5)/12 = 965 Па
ев = 1032 Па;
ен = 761 Па (см. таблицу выше).
RП.НАР.СЛОЯ = 0,12/0,11 = 1,09 м2 · ч · Па/мг;
RП.ВНУТ.СЛОЯ = 0,1/0,005 + 0,51/0,11 + 0,02/0,098 = 24,65 м2 · ч · Па/мг.
По формуле: RП1 = (1032 - 965) · 1,09/(965-761) = 0,358 < 8,16 м2 · ч · Па/мг.
то есть по этому условию устройство парозащиты не требуется.
6. Проверка возможности влагонакопления за период с отрицательными среднемесячными температурами.
Средняя упругость водяного пара наружного воздуха за период Zо (см. таблицу выше).
ено = 356 Па.
Средняя температура наружного воздуха за тот же период
tно = -6,58 °С.
По формуле: ![]()
этой температуре соответствует Ео = 419 Па.
По формуле: η = 0,0024 · (419 - 356) · 145/1,09 = 20,11.
При γ = 150 кг/м3; δ = 0,1 м; DWcp = 1,5 %, находим:
RП2 = 0,0024 · 145 · (1032 - 419)/(1,5 · 0,1 · 150 + 20,11) = 5,0 < 8,16 м2 · ч · Па/мг, то есть по этому условию устройство дополнительной пароизоляции также не требуется.
Исходные данные: пол подвала производственного здания с помещениями административно-хозяйственного назначения, воздействия - умеренные.
Нормативная величина теплоусвоения для помещений различного назначения приведена в таблице 11.
1. Конструкция пола:
Таблица физико-технических характеристик составляющих пола
|
Материал |
Толщина слоя, м |
Плотность материала в сухом состоянии, γо, кг/м3 |
Коэффициенты при условии эксплуатации А |
Теплотермическое сопротивление, R, м2 °С/Вт |
||
|
Теплопроводность, λ, Вт/м °С |
Теплоусвоения, s, Вт/м2 °С |
|||||
|
1 |
Линолеум |
0,003 |
1600 |
0,33 |
7,52 |
0,009 |
|
2 |
Мастика водостойкая |
0,001 |
1000 |
0,18 |
4,56 |
0,0055 |
|
3 |
Стяжка из цементно-керамзитового раствора |
0,02 |
1150 |
0,30 |
6,00 |
0,066 |
|
4 |
Теплоизоляция из плит пеностекла FOAMGLAS |
0,04 |
35 |
0,044 |
0,90 |
0,93 |
|
5 |
Бетонный подстилающий слой |
0,14 |
2400 |
1,86 |
17,88 |
0,075 |
Тепловую инерцию каждого слоя определяем по формуле 2:
D1 = R1 · S1 = 0,009 · 7,52 = 0,068;
D2 = R2 · S2 = 0,0055 · 4,56 = 0,025;
D3 = R3 · S3 = 0,066 · 6,00 = 0,396;
D5 = R5 · S5 = 0,075 · 17,88 = 1,34.
Т.к. суммарная тепловая инерция первых трех слоев D1 + D2 + D3 = 0,068 + 0,025 + 0,396 = 0,489 < 0,5, а суммарная тепловая инерция трех плюс пятый слой D1 + D2 + D3 + D5 = 0,489 + 1,34 = 1,829 > 0,5. Следовательно показатель теплоусвоения пола Yп следует определять последовательно расчетом показателей теплоусвоения поверхностей слоев конструкции, начиная с третьего слоя:
![]()
![]()
![]()
что не удовлетворяет требованиям СНиП «Защита от шума» 2003 г. предъявляемым к теплоусвоению поверхности пола в жилых, больничных и других подобных зданиях (1 группа зданий и помещений). Поэтому вводим в конструкцию пола дополнительный слой из плит пеностекла:
![]()
![]()
![]()
Таким образом, выбранная конструкция отвечает требованиям СНиП 23-02-2003 для зданий и помещений всех трех групп.