ПРАВИТЕЛЬСТВО МОСКВЫ

КОМПЛЕКС АРХИТЕКТУРЫ, СТРОИТЕЛЬСТВА,
РАЗВИТИЯ И РЕКОНСТРУКЦИИ ГОРОДА МОСКВЫ

УПРАВЛЕНИЕ НАУЧНО-ТЕХНИЧЕСКОЙ ПОЛИТИКИ
В СТРОИТЕЛЬНОЙ ОТРАСЛИ
ГУП НИИМОССТРОЙ

 

ТЕХНИЧЕСКИЕ РЕКОМЕНДАЦИИ
по устройству кровель
с применением рулонного
кровельного материала Шунгомаст

ТР 183-07

 

 

Москва 2007

 

Технические рекомендации по устройству кровель и гидроизоляции с применением рулонного материала Шунгомаст разработаны лабораторией подземных сооружений и кровель ГУП «НИИМосстрой» (канд. техн. наук Б.В. Ляпидевский, инж. А.Б. Вальницев).

Технические рекомендации согласованы с ОАО «Главмосстрой», ОАО «Моспроект», ООО «ГЕРЛЕН РЕСУРС», ООО «БКВ XXI век».

Правительство Москвы

Комплекс архитектуры, строительства, развития и реконструкции города

Технические рекомендации по устройству кровель с применением рулонного материала Шунгомаст

ТР 183-07

Вводятся впервые

 

 

Разработаны

ГУП «НИИМосстрой»

Утверждены:

Начальник Управления научно-технической политики в строительной отрасли

А.Н. Дмитриев

Дата введения в действие

2007 г.

1 ОБЩИЕ ПОЛОЖЕНИЯ

1.1 Настоящие Технические рекомендации разработаны на период, рассчитанный до выхода Технического регламента (Закон № 184-ФЗ от 27.12.02 «О техническом регулировании»), и предназначены для использования при устройстве кровель жилых, общественных и промышленных зданий в г. Москве.

1.2 Рекомендации разработаны в соответствии с требованиями следующих нормативных документов: СНиП II-26-76* «Кровли. Нормы проектирования», СНиП 3.04.01-87 «Изоляционные и отделочные покрытия», «Кровли. Руководство по проектированию, устройству, правилам приемки и методам оценки качества» (ОАО «ЦНИИПромзданий», Москва, 2002 г.), СНиП 12-03-2001 «Безопасность труда в строительстве», ППБ-01-03 «Правила пожарной безопасности в Российской Федерации».

1.3 Устройство кровель должно выполняться из сертифицированных материалов специализированными организациями на основе проекта производства работ, рабочих чертежей кровли и настоящих рекомендаций.

2 МАТЕРИАЛЫ И КОНСТРУКТИВНЫЕ РЕШЕНИЯ ВОДОИЗОЛЯЦИОННОГО КОВРА

2.1 Рабочие чертежи кровли и гидроизоляции разрабатываются проектной организацией в соответствии с «Руководством по устройству кровель и гидроизоляции с применением материалов типа Филизол и ему подобных» (ОАО «ЦНИИПромзданий», Москва, 1996 г.).

2.2 Кровельный ковер на уклонах 0 - 1,5 % выполняется из двух слоев Филизола Н или Филизол-Маст Н и одного слоя Шунгомаста.

2.3 Кровельный ковер на уклонах 1,5 - 10 % выполняется из одного слоя Филизола Н или Филизол-Маст Н и одного слоя Шунгомаста.

2.4 Кровельный ковер на уклонах более 10 % выполняется из одного слоя Шунгомаста. При этом необходимо предусматривать дополнительное крепление материалов.

2.5 Для устройства кровли применяются следующие материалы:

- материал рулонный кровельный и гидроизоляционный наплавляемый битумно-полимерный Филизол (ТУ 5774-008-05108038).

- материал рулонный кровельный и гидроизоляционный наплавляемый битумно-полимерный Филизол-Маст (ТУ 5774-019-05108038).

- материал рулонный кровельный наплавляемый битумно-полимерный Шунгомаст (ТУ 5774-021-05108038).

2.6 В качестве грунтовки рекомендуется применять раствор битума в керосине в соотношении 1:3 - 1:4 или праймер битумный (ТУ 5775-011-17925162). В летнее время может быть применена мастика битумно-полимерная эмульсионная кровельная и гидроизоляционная МЭБИС (ТУ 5775-008-42788835).

2.7 Для изготовления фартуков рекомендуется применять тонколистовую оцинкованную сталь с непрерывных линий (ГОСТ 14918).

2.8 Для заделки стыков рекомендуется применять герметизирующую мастику АМ-0.5 (ТУ 84-240), герметик СП-1М (ТУ 5770-002-56643999), мастику Тиобит (ТУ 5775-012-3247830) или аналогичные.

3 ПОДГОТОВИТЕЛЬНЫЕ РАБОТЫ

3.1 Основанием под кровельный ковер могут служить бетонные и железобетонные конструкции, цементно-песчаная или асфальтобетонная стяжки.

3.2 Перед началом работ наименования и марки материалов проверяют на соответствие проекту, качество материалов - на соответствие требованиям технических условий. Готовят инструмент и инвентарь.

3.3 После составления и подписания акта на скрытые работы приступают к укладке материалов.

4 ТЕХНОЛОГИЯ УСТРОЙСТВА КРОВЕЛЬНОГО КОВРА

4.1 Кровельный ковер с верхним слоем из Шунгомаста устраивается по проекту: в лотках, ендовах, перепадах высот, температурных швах (на одном уровне с плоскостью кровли), на коньках и у водоприемных воронок укладывается дополнительный слой.

4.2 Кровельный ковер укладывают, подплавляя с нижней стороны полотна материала битумно-полимерное вяжущее пламенем газовых или соляровых горелок, или инфракрасными излучателями (машина «Луч», облучатели «ИКО-500», ИКО «1000»). Укладка материалов с применением инфракрасных излучателей выполняется в соответствии с ТР 113-01 «Технические рекомендации по устройству кровель из наплавляемых рулонных материалов с применением инфракрасного метода».

4.3 Размер нахлеста полотнищ для нижних слоев составляет 70 - 90, для верхних слоев вдоль рулона - 85 - 100, для нижних и верхних слоев поперек рулона - 100 - 120 мм.

4.4 Не менее, чем за 1 сутки до начала работ по приклеиванию первого слоя кровельного материала железобетонные, бетонные и оштукатуренные поверхности очищаются от мусора и пыли, грунтуются мастикой МЭБИС (только при положительных температурах) или праймером.

4.5 Устройство кровельного ковра выполняется в следующей последовательности:

а) в зоне водоприемной воронки укладывается полотно Филизола или Филизол-Маста марки Н размером 700´700 мм;

б) на коньках и перепадах высот шириной 250 мм с каждой стороны от перегиба укладывается дополнительный слой; в ендовах или лотках - шириной 750 мм с каждой стороны от оси;

в) на температурных швах укладывается один слой шириной 150 мм с каждой стороны от оси, приклеиваемый к основанию только по одной стороне от оси;

в) начиная с нижележащих участков, укладывается нижний слой Филизола или Филизол-Маста марки Н, поперечные стыки смежных полотнищ разносятся между собой на расстояние не менее 500 мм;

г) укладывается второй слой Филизола или Филизол-Маста марки Н (при трехслойном ковре) со сдвигом на 1/3 по ширине рулона; поперечные стыки смежных полотнищ разносятся между собой на расстояние не менее 500 мм и не менее 1000 мм по отношению к нижележащим стыкам,

д) укладывается верхний слой из Шунгомаста со сдвигом на 1/3 по ширине рулона при трехслойном ковре или на 1/2 по ширине рулона при двухслойном ковре; поперечные стыки смежных полотнищ разносятся между собой на расстояние не менее 500 мм и не менее 1000 мм по отношению к нижележащим стыкам;

е) в местах примыканий к вертикальным поверхностям укладываются два дополнительных слоя Филизола Н или Филизол-Маста Н (нижний слой) и Шунгомаста (верхний слой);

ж) на вертикальных поверхностях устанавливаются защитные фартуки.

4.6 На горизонтальной поверхности укладка Филизола, Филизол-Маста или Шунгомаста выполняется следующим образом:

а) рулон раскатывают на длину 3 - 4 м для уточнения направления и величины нахлеста;

б) конец полотна приклеивают к основанию;

в) рулон скатывают до места приклеивания;

г) подплавляют слой вяжущего, прогревают основание, и рулон постепенно раскатывают, наклеивая на основание;

д) в местах примыканий к вертикальным поверхностям конец полотна заводят на высоту 100 мм.

4.7 В местах примыканий к вертикальным поверхностям дополнительные слои укладываются в следующем порядке:

а) от рулона отмеряют и отрезают кусок материала размером, необходимым для расположения его на вертикальной поверхности, предусмотрев для нижнего слоя дополнительные 100 мм для укладки по горизонтали, и для верхнего слоя - 150 мм.

б) отрезанный кусок складывают в поперечном направлении для нижнего слоя, отступив от края 100 мм и для верхнего слоя 150 мм; материал прикладывают к вертикальной поверхности для уточнения величины нахлеста и высоты подъема полотна;

в) полотно прижимают к основанию, подплавляют и укладывают на вертикальной поверхности;

г) нижний конец полотна укладывают на горизонтальной поверхности.

4.8 Верхние кромки дополнительных слоев закрывают фартуками из оцинкованной стали, которые закрепляют в соответствии с проектом или заклеивают полосой Шунгомаст шириной 100 мм. Зазор между фартуком и стеной заделывают герметизирующей мастикой.

5 КОНТРОЛЬ КАЧЕСТВА РАБОТ

5.1 Контроль качества применяемых материалов возлагается на строительную лабораторию, производства работ - на мастера или бригадира.

5.2 К укладке материалов приступают после подписания акта на скрытые работы по устройству основания.

5.3 На объекте заводится «Журнал производства работ» и устанавливается постоянный контроль за соблюдением технологии выполнения отдельных этапов.

5.4 Качество укладки материалов и устройства мест примыканий устанавливается путём осмотра их поверхности, на которой не должно быть сквозных отверстий и других дефектов

В местах соединения полотнищ материала размеры нахлеста должны быть соблюдены. Места примыкания материала к вертикальным поверхностям должны быть выполнены в соответствии с проектом.

5.5 Дефекты или отклонения от проекта, обнаруженные при осмотре слоев, должны быть исправлены до подписания акта на выполненные работы по укладке материалов.

6 ТЕХНИКА БЕЗОПАСНОСТИ И ОХРАНА ОКРУЖАЮЩЕЙ СРЕДЫ

6.1 Работы по устройству кровли должны проводиться в соответствии с требованиями СНиП 12-03-2001 «Безопасность труда в строительстве», ППБ 01-03 «Правилами пожарной безопасности в Российской Федерации», СП 12-136-2002 «Решения по охране труда и промышленной безопасности в проектах организации строительства и проектах производства работ».

6.2 К работам по устройству кровли допускаются мужчины не моложе 18 лет, прошедшие предварительный (при поступлении на работу) и периодический медицинские осмотры, имеющие наряд-допуск.

6.3 Работы по устройству кровли производятся только при использовании средств индивидуальной защиты (СИЗ). Для защиты тела должны быть использованы брезентовые комбинезоны (ГОСТ 27653); для защиты ног - ботинки кожаные (ГОСТ 28507); для защиты рук - брезентовые рукавицы (ГОСТ 12.4.010).

6.4 Рабочие допускаются к работам по устройству кровли только после осмотра основания, ограждений и мест страховки прорабом или мастером вместе с бригадиром.

По окончании работ (смены) материалы и инструменты должны быть убраны с кровли.

6.5 Отходы, образующиеся при использовании кровельных материалов, должны быть собраны в специальные контейнеры и направлены на уничтожение в соответствии с СанПиН 2.1.7.1322-03 «Гигиенические требования к размещению и обезвреживанию отходов производства и потребления».

6.6 Место производства работ должно быть оснащено следующими средствами пожаротушения и медицинской помощи:

- огнетушитель пенный марки ОХП-10 (ТУ-22-4720) из расчета на одну секцию кровли, не менее - 2 шт.

- ящик с песком ёмкостью 0,05 м3 - 1 шт.

- лопата - 2 шт.

- асбестовое полотно - 1 кв. м.

- аптечка с набором медикаментов - 1 шт.

ПРИЛОЖЕНИЯ

Приложение 1

Нормативные ссылки

1 СНиП II-26-76* «Кровли. Нормы проектирования».

2 СНиП 3.04.01-87 «Изоляционные и отделочные покрытия».

3 «Кровли. Руководство по проектированию, устройству, правилам приемки и методам оценки качества», ОАО «ЦНИИПромзданий», Москва, 2002 г.

4 «Руководство по устройству кровель и гидроизоляции с применением материалов типа Филизол и ему подобных», ОАО «ЦНИИПромзданий», Москва, 1996 г.

5 ГОСТ 14918-80* «Сталь тонколистовая оцинкованная с непрерывных линий. Технические условия».

6 ТУ 57774-008-05108038-99 «Материал рулонный кровельный и гидроизоляционный наплавляемый битумно-полимерный Филизол».

7 ТУ 5774-019-05108038-2005 «Материал рулонный кровельный и гидроизоляционный наплавляемый битумно-полимерный Филизол-Маст».

8 ТУ 5774-021-05108038-2006 «Материал рулонный кровельный наплавляемый битумно-полимерный Шунгомаст».

9 ТУ 5775-011-17925162-2003 «Праймер битумный».

10 ТУ 5775-008-42788835-99 «Мастика битумно-полимерная эмульсионная кровельная и гидроизоляционная МЭБИС».

11 ТУ 84-240-85 «Мастика тиоколовая строительного назначения».

12 СНиП 12-03-2001 «Безопасность труда в строительстве».

13 ППБ 01-03 «Правила пожарной безопасности в Российской Федерации».

14 ГОСТ 27653-88 «Костюмы мужские для защиты от механических воздействий, воды и щелочей. Технические условия».

15 ГОСТ 28507-90 «Обувь специальная кожаная для защиты от механических воздействий. Общие технические условия».

16 ГОСТ 12.4.010-75 «Средства индивидуальной защиты. Рукавицы специальные. Технические условия».

17 ТУ 22-4720-80 «Огнетушитель химический пенный».

18 ТУ 5775-012-32478306-01 «Мастика кровельная «Тиобит».

19 ТУ 5770-002-56643999-01 «Герметик полиуретановый СП-1М».

20 ТР 113-01 «Технические рекомендации по устройству кровель из наплавляемых рулонных материалов с применением инфракрасного метода».

21 СП 12-136-2002 «Решения по охране труда и промышленной безопасности в проектах организации строительства и проектах производства работ».

22 СанПиН 2.1.7.1322-03 «Гигиенические требования к размещению и обезвреживанию отходов производства и потребления».

Приложение 2

Основные примеры узлов кровли

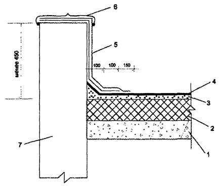
1 - железобетонная плита; 2 - утеплитель; 3 - цементно-песчаная стяжка; 4 - основной водоизоляционный ковер; 5 - дополнительные слои; 6 - фартук из оцинкованной стали; 7 - парапет.

Рисунок 1 - Примыкание водоизоляционного ковра к парапету высотой до 450 мм

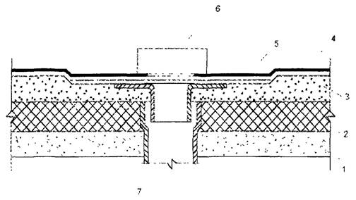
1 - железобетонная плита; 2 - утеплитель; 3 - цементно-песчаная стяжка; 4 - основной водоизоляционный ковер; 5 - дополнительные слои; 6 - колпак водоприемной воронки; 7 - водоприемная воронка

Рисунок 2 - Примыкание водоизоляционного ковра к водоприемной воронке

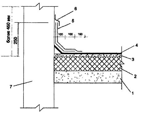
1 - железобетонная плита; 2 - утеплитель; 3 - цементно-песчаная стяжка; 4 - основной водоизоляционный ковер; 5 - дополнительные слои; 6 - фартук из оцинкованной стали или рулонного материала; 7 - парапет, стена или труба

Рисунок 3 - Примыкание водоизоляционного ковра к парапету высотой более 450 мм стенам и трубам

1 - железобетонная плита; 2 - утеплитель; 3 - цементно-песчаная стяжка; 4 - основной водоизоляционный ковер; 5 - дополнительный слой; 6 - компенсатор

Рисунок 4 - Узел устройства температурного шва

а) шириной до 60 мм; б) шириной более 60 мм

 

СОДЕРЖАНИЕ

1 общие положения. 1

2 материалы и конструктивные решения водоизоляционного ковра. 2

3 подготовительные работы.. 2

4 технология устройства кровельного ковра. 2

5 контроль качества работ. 4

6 техника безопасности и охрана окружающей среды.. 4

Приложение 1. Нормативные ссылки. 4

Приложение 2. Основные примеры узлов кровли. 6