Fire fighting lifts placing. Requirements of fire safety

ФЕДЕРАЛЬНОЕ АГЕНТСТВО

ПО ТЕХНИЧЕСКОМУ РЕГУЛИРОВАНИЮ И МЕТРОЛОГИИ

НАЦИОНАЛЬНЫЙ
СТАНДАРТ
РОССИЙСКОЙ
ФЕДЕРАЦИИ

ГОСТ Р
53296-
2009

УСТАНОВКА ЛИФТОВ ДЛЯ ПОЖАРНЫХ
В ЗДАНИЯХ И СООРУЖЕНИЯХ

Требования пожарной безопасности

Москва

Стандартинформ

2019

Предисловие

1 РАЗРАБОТАН Федеральным государственным учреждением «Всероссийский ордена «Знак Почета» научно-исследовательский институт обороны» МЧС России (ФГУ «ВНИИПО» МЧС России), Открытым акционерным обществом «МОС ОТИС» (ОАО «МОС ОТИС»)

2 ВНЕСЕН Техническим комитетом по стандартизации ТК 274 «Пожарная безопасность»

3 УТВЕРЖДЕН И ВВЕДЕН В ДЕЙСТВИЕ Приказом Федерального агентства по техническому регулированию и метрологии от 18 февраля 2009 г. № 72-ст

4 ВВЕДЕН ВПЕРВЫЕ

5 ПЕРЕИЗДАНИЕ. Сентябрь 2019 г.

Правила применения настоящего стандарта установлены в статье 26 Федерального закона от 29 июня 2015 г. № 162-ФЗ «О стандартизации в Российской Федерации». Информация об изменениях к настоящему стандарту публикуется в ежегодном (по состоянию на 1 января текущего года) информационном указателе «Национальные стандарты», а официальный текст изменений и поправок - в ежемесячном информационном указателе «Национальные стандарты». В случае пересмотра (замены) или отмены настоящего стандарта соответствующее уведомление будет опубликовано в ближайшем выпуске ежемесячного информационного указателя «Национальные стандарты». Соответствующая информация, уведомление и тексты размещаются также в информационной системе общего пользования - на официальном сайте Федерального агентства по техническому регулированию и метрологии в сети Интернет (www.gost.ru)

Содержание

1 Область применения. 2

2 Нормативные ссылки. 2

3 Термины и определения. 3

4 Функциональное назначение, основные параметры и размеры.. 3

5 Конструктивное исполнение. 3

6 Системы управления, сигнализации, связи и электроснабжения. 5

7 Методы контроля. 6

Приложение А (рекомендуемое) 7

Библиография. 10

ГОСТ Р 53296-2009

НАЦИОНАЛЬНЫЙ СТАНДАРТ РОССИЙСКОЙ ФЕДЕРАЦИИ

УСТАНОВКА ЛИФТОВ ДЛЯ ПОЖАРНЫХ
В ЗДАНИЯХ И СООРУЖЕНИЯХ

Требования пожарной безопасности

Fire fighting lifts placing. Requirements of fire safety

Дата введения - 2009-05-01

1 Область применения

1.1 Настоящий стандарт устанавливает требования пожарной безопасности к пассажирским лифтам, имеющим режим работы «перевозка пожарных подразделений».

1.2 Оборудование зданий и сооружений лифтами для пожарных должно производиться в соответствии с требованиями настоящего стандарта, а также государственных стандартов, норм и правил, действующих на территории Российской Федерации.

1.3 Требования настоящего стандарта обязательны для предприятий, организаций, объединений и юридических лиц независимо от форм собственности и принадлежности на всей территории Российской Федерации, а также для граждан.

2 Нормативные ссылки

В настоящем стандарте использованы нормативные ссылки на следующие стандарты:

ГОСТ 12.1.044 Пожаровзрывоопасность веществ и материалов. Номенклатура показателей и методы их определения

ГОСТ 28911 Лифты. Устройства управления, сигнализации и дополнительные приспособления

ГОСТ 30244 Материалы строительные. Методы испытаний на горючесть

ГОСТ 30247.1 Конструкции строительные. Методы испытаний на огнестойкость. Несущие и ограждающие конструкции

ГОСТ 30247.3 Конструкции строительные. Методы испытаний на огнестойкость. Двери шахт лифтов

ГОСТ 30402 Материалы строительные. Метод испытания на воспламеняемость

ГОСТ Р 52382 (ЕН 81-72:2003) Лифты пассажирские. Лифты для пожарных

ГОСТ Р 53299 Воздуховоды. Метод испытаний на огнестойкость

ГОСТ Р 53300 Противодымная защита зданий и сооружений. Методы приемо-сдаточных и периодических испытаний

ГОСТ Р 53303 Конструкции строительные. Противопожарные двери и ворота. Метод испытаний на дымогазопроницаемость

ГОСТ Р МЭК 63132-3-22-2005 Испытание электрических и оптических кабелей в условиях воздействия пламени. Часть 3-22. Распространение пламени по вертикальным пучкам проводов или кабелей. Категория А

Примечание - При пользовании настоящим стандартом целесообразно проверить действие ссылочных стандартов в информационной системе общего пользования - на официальном сайте Федерального агентства по техническому регулированию и метрологии в сети Интернет или по ежегодному информационному указателю «Национальные стандарты», который опубликован по состоянию на 1 января текущего года, и по выпускам ежемесячного информационного указателя «Национальные стандарты» за текущий год. Если заменен ссылочный стандарт, на который дана недатированная ссылка, то рекомендуется использовать действующую версию этого стандарта с учетом всех внесенных в данную версию изменений. Если заменен ссылочный стандарт, на который дана датированная ссылка, то рекомендуется использовать версию этого стандарта с указанным выше годом утверждения (принятия). Если после утверждения настоящего стандарта в ссылочный стандарт, на который дана датированная ссылка, внесено изменение, затрагивающее положение, на которое дана ссылка, то это положение рекомендуется применять без учета данного изменения. Если ссылочный стандарт отменен без замены, то положение, в котором дана ссылка на него, рекомендуется применять в части, не затрагивающей эту ссылку.

3 Термины и определения

В настоящем стандарте применяются следующие термины с соответствующими определениями:

3.1 лифт для транспортирования пожарных подразделений: Лифт, оснащенный системами управления, защиты и связи, обеспечивающими перемещение пожарных подразделений на этажи зданий (сооружений) при пожаре.

3.2 основной посадочный этаж: Этаж главного входа в здание (сооружение).

3.3 режим «пожарная опасность»: Установленная последовательность действий системы управления лифтом, предусматривающая при возникновении пожара в здании (сооружении) принудительное движение кабины лифта на основной посадочный этаж с исключением команд управления из кабины и зарегистрированных попутных вызовов.

3.4 режим «перевозка пожарных подразделений»: Установленная последовательность действий системы управления лифтом для транспортирования пожарных подразделений, обеспечивающая его работу с выполнением команд управления, подаваемых пожарными только из кабины лифта.

4 Функциональное назначение, основные параметры и размеры

4.1 Лифты для транспортирования пожарных подразделений (далее - лифты для пожарных) являются составной частью комплекса инженерного оборудования зданий и сооружений различного назначения, а также одним из видов пожарно-технических средств, обеспечивающих перемещение пожарных подразделений на этажи зданий (сооружений) различного назначения для выполнения работ по спасанию людей, обнаружению и тушению пожара.

4.2 Основные параметры и размеры лифтов для пожарных должны соответствовать требованиям ГОСТ Р 52382.

5 Конструктивное исполнение

5.1 Требования к конструкциям лифтов для пожарных

5.1.1 Конструкции лифтов для пожарных должны соответствовать требованиям настоящего стандарта, [4], ГОСТ 28911 и ГОСТ Р 52382.

5.1.2 На каждый наземный этаж здания (сооружения) должен быть обеспечен доступ пожарных подразделений как минимум одним лифтом для пожарных. Остановка лифтов для пожарных в подвальных и цокольных этажах должна обеспечиваться в оговоренных случаях. Размещение лифтов для пожарных должно быть предусмотрено на путях движения пожарных подразделений, которые должны иметь возможность доступа во все помещения на этажах.

5.1.3 В период нормального функционирования лифт для пожарных должен находиться в эксплуатации в качестве пассажирского либо служебно-хозяйственного лифта.

Лифты для пожарных могут устанавливаться в самостоятельном лифтовом холле или в общем лифтовом холле с другими пассажирскими лифтами и объединяться с ними системами автоматического группового управления.

5.1.4 В непосредственной близости от лифта для пожарных, как правило, должен предусматриваться выход на эвакуационную лестничную клетку.

5.1.5 Каждый этаж здания должен обслуживаться не менее чем одним лифтом для пожарных. Один и тот же лифт для пожарных, как правило, не должен иметь остановок в надземных и подземных частях зданий (сооружений). Допускается, чтобы лифт имел остановки в надземной и двух уровнях подземной частях здания (сооружения), включая цокольный этаж. При трех и большем количестве уровней (этажей) подземной части следует применять отдельный лифт для пожарных, имеющий остановки на этих уровнях и основном посадочном этаже.

5.1.6 Двери кабин и шахт лифтов для пожарных должны быть автоматическими горизонтальнораздвижными центрального или бокового открывания, включая телескопическое исполнение, и должны сохранять работоспособность при избыточном давлении в шахте, создаваемом приточной противодымной вентиляцией. Величина избыточного давления должна быть в пределах от 20 до 70 Па.

5.1.7 Двери шахт лифтов для пожарных должны быть противопожарными с пределами огнестойкости не менее 60 мин (EI 60 по [1] и ГОСТ 30247.3). В случае размещения лифта для пожарных в общей шахте с другими пассажирскими лифтами двери шахт всех лифтов в этой общей шахте (см. приложение А, рис. А.3) должны быть противопожарными с пределами огнестойкости не менее 60 мин (EI 60 по [1] и ГОСТ 30247.3).

5.1.8 В крыше кабины лифта для пожарных должен быть предусмотрен люк в соответствии с ГОСТ Р 52382.

5.1.9 Ограждающие конструкции (стены, пол, потолок и двери) купе кабины лифтов для пожарных следует изготавливать из негорючих материалов или материалов группы горючести Г1 по ГОСТ 30244.

Пожарно-технические характеристики материалов для отделки (облицовки) поверхностей конструкций стен и потолков, покрытий пола купе кабин лифтов для пожарных должны соответствовать требованиям ГОСТ Р 52382.

5.1.10 В кабине лифта для пожарных должно быть установлено сигнальное устройство о перегрузке.

5.2 Требования к строительным конструкциям и оборудованию систем противопожарной защиты

5.2.1 Лифт для пожарных должен размещаться в выгороженной шахте. Ограждающие конструкции шахт должны иметь предел огнестойкости не менее 120 мин (REI 120 по [1] и ГОСТ 30247.1). В ограждающих конструкциях шахт допускается выполнять проемы и отверстия для установки дверей, оборудования лифта, а также для систем вентиляции.

5.2.2 Перед дверьми шахт лифтов для пожарных должны быть предусмотрены лифтовые холлы (тамбуры), как показано на рис. А.1 - А.4, приведенных в приложении А, с размерами, указанными в соответствующих нормативных документах.

При установке лифтов для пожарных в группе с другими пассажирскими лифтами лифтовой холл на основном посадочном этаже допускается не выгораживать.

5.2.3 В случае установки лифта для пожарных в выгороженной шахте с общим лифтовым холлом с другими лифтами (см. приложение А, рис. А.2, А.4) ограждающие конструкции шахт этих лифтов должны иметь пределы огнестойкости не менее указанных в соответствующих нормативных документах, а двери шахт - 30 мин (Е 30 по [1], ГОСТ 30247.3, EI 30 по [1], ГОСТ 30247.3, в зданиях повышенной этажности).

5.2.4 Ограждающие конструкции лифтовых холлов (тамбуров) должны быть выполнены из противопожарных перегородок 1-го типа с противопожарными дверями 2-го типа по [1] в дымогазонепроницаемом исполнении. Удельное сопротивление дымогазопроницанию дверей не должно быть менее 1,96 · 105 м3/кг.

5.2.5 Ограждающие конструкции и двери машинных помещений лифтов для пожарных вне зависимости от типа привода лифтов должны быть противопожарными с пределами огнестойкости не менее 120 мин и 60 мин соответственно (REI 120 и EI 60 по [1] и ГОСТ 30247.1, ГОСТ 30247.2).

Удельное сопротивление дымогазопроницанию дверей не должно быть менее 1,96 · 105 м3/кг.

Каналы для прокладки гидроприводов должны иметь пределы огнестойкости не менее 60 мин (REI 60 по [2] и ГОСТ 30247.1).

5.2.6 Шахты лифтов для пожарных, а также их лифтовые холлы (тамбуры) в подземных и цокольных этажах зданий (сооружений) должны быть оснащены автономными системами приточной противодымной вентиляции для создания избыточного давления при пожаре по [3]. Количество подаваемого воздуха следует определять расчетом при скорости истечения не менее 1,3 м/с через одну открытую дверь лифтового холла или тамбура, для шахты - с учетом одной открытой двери на этаже пожара.

Для подачи воздуха в лифтовые холлы или тамбуры допускается применение систем, обслуживающих лифтовые шахты, при устройстве в проемах их ограждающих конструкций нормально закрытых противопожарных клапанов, пределы огнестойкости которых не меньше пределов огнестойкости ограждающих конструкций шахт.

5.2.7 В лифтовых холлах или тамбурах лифтов для пожарных должны быть установлены пожарные извещатели системы пожарной сигнализации зданий (сооружений). При применении систем пожарной сигнализации адресно-аналогового типа допускается установка этого пожарного извещателя в каждом лифтовом холле. При срабатывании хотя бы одного из двух извещателей приемно-контрольный прибор должен автоматически подать команду на перевод лифта в режим работы «пожарная опасность» в соответствии с 6.3 и на создание избыточного давления в шахте лифта (шахтах лифтов) согласно 5.1.6.

5.2.8 При оборудовании зданий (сооружений) водяными установками пожаротушения размещение оросителей перед лифтами для пожарных и в холлах (тамбурах) этих лифтов не допускается.

5.2.9 Проникновение воды, используемой для тушения пожара, в шахты и машинные помещения лифтов для пожарных следует предотвращать посредством необходимых строительных мероприятий и в соответствии с ГОСТ Р 52382.

6 Системы управления, сигнализации, связи и электроснабжения

6.1 Система управления лифтом для пожарных должна отвечать требованиям настоящего раздела, [4], ГОСТ Р 52382 и ГОСТ 28911.

6.2 Система управления должна:

- объединять групповым управлением лифты для пожарных между собой, а также с другими пассажирскими лифтами в соответствии с [4];

- обеспечивать возможность подключения к системе диспетчеризации и/или центральному пульту управления системы противопожарной защиты (ЦПУ СПЗ).

6.3 Система управления лифтом для пожарных должна обеспечивать выполнение режимов:

- «пожарная опасность»;

- «перевозка пожарных подразделений».

6.4 В режиме «пожарная опасность» должен выполняться алгоритм согласно ГОСТ Р 52382.

6.5 Перевод лифта в режим «перевозка пожарных подразделений» может быть произведен только после выполнения режима «пожарная опасность».

6.6 Режим «перевозка пожарных подразделений» должен осуществляться по ГОСТ Р 52382.

6.7 В режиме работы лифта «перевозка пожарных подразделений» должна быть обеспечена прямая переговорная связь между диспетчерским пунктом или ЦПУ СПЗ, если такие имеются, и кабиной лифта, а также с основным посадочным этажом.

6.8 Энергоснабжение лифтов для пожарных должно производиться как для электроприемников I категории согласно 1.2.17 и 1.2.18 [5]. При этом в общественных зданиях высотой более 50 м от уровня подъезда пожарных машин до низа оконных проемов верхнего этажа (не считая верхних технических этажей) энергоснабжение лифтов для пожарных производится как для особой группы электроприемников I категории.

7 Методы контроля

7.1 Конструкции, оборудование и материалы, применяемые в лифтах для пожарных, подлежат испытаниям на огнестойкость и пожарную опасность.

Перечень конструкций, оборудования и материалов лифтов для пожарных, для которых необходимо проведение испытаний, включает в себя:

- противопожарные двери шахт;

- противопожарные дымогазонепроницаемые двери лифтовых холлов (тамбуров) и машинных помещений;

- воздуховоды приточной противодымной вентиляции;

- противопожарные клапаны приточной противодымной вентиляции;

- силовые и слаботочные электрокабели систем электропитания и связи пожарных лифтов;

- материалы кабин.

7.2 Противопожарные двери шахт лифтов для пожарных подлежат испытаниям на огнестойкость согласно требованиям ГОСТ 30247.3.

7.3 Противопожарные дымогазонепроницаемые двери лифтовых холлов (тамбуров) и машинных помещений лифтов для пожарных подлежат испытаниям на огнестойкость согласно требованиям ГОСТ 30247.2, ГОСТ Р 53303.

7.4 Воздуховоды приточной противодымной вентиляции подлежат испытаниям на огнестойкость согласно требованиям ГОСТ Р 53299.

7.5 Противопожарные клапаны приточной противодымной вентиляции подлежат испытаниям на огнестойкость согласно требованиям ГОСТ Р 53303.

7.6 Электрокабели систем электропитания и связи лифтов для пожарных, подводимые к машинным помещениям, подлежат испытаниям на пожарную опасность согласно требованиям стандарта ГОСТ Р МЭК 63132-3-2-22.

7.7 Материалы кабин лифтов для пожарных подлежат испытаниям на пожарную опасность согласно требованиям ГОСТ 30244, ГОСТ 12.1.044, ГОСТ 30402.

7.8 Лифты для пожарных должны подвергаться техническому освидетельствованию согласно требованиям раздела 11 [4].

При проведении полного и периодического технических освидетельствований должна проверяться работоспособность лифта в режимах «пожарная опасность» и «перевозка пожарных подразделений».

7.9 Системы приточной противодымной вентиляции лифтов для пожарных подлежат приемо-сдаточным и периодическим испытаниям согласно требованиям ГОСТ Р 53300.

Приложение А
(рекомендуемое)

1 - лифт для пожарных; 2 - противопожарная дверь шахты лифта для пожарных с пределом огнестойкости EI 60;
3 - ограждающие конструкции шахты с пределом огнестойкости REI 120; 4 - противопожарные перегородки 1-го типа,
ограждающие лифтовый холл (тамбур); 5 - лифтовый холл (тамбур); 6 - противопожарные двери 2-го типа
лифтового холла (тамбура) в дымогазонепроницаемом исполнении

Рисунок А.1 - Схема размещения одиночного лифта для пожарных

1 - лифт для пожарных; 2 - пассажирские лифты; 3 - противопожарная дверь шахты лифта
для пожарных с пределом огнестойкости
EI 60; 4 - противопожарные двери шахты пассажирских лифтов
с пределом огнестойкости по 5.2.3 настоящего стандарта; 5 - ограждающие конструкции шахты лифта для пожарных с пределом
огнестойкости REI 120; 6 - ограждающие конструкции шахты пассажирских лифтов с пределами огнестойкости,
установленными соответствующими нормативными документами; 7 - противопожарные перегородки 1-го типа,
ограждающие лифтовый холл; 8 - лифтовый холл (тамбур); 9 - противопожарные двери 2-го типа лифтового холла
в дымогазонепроницаемом исполнении

Рисунок А.2 - Схема размещения лифта для пожарных в обособленной (выгороженной) шахте
с общим лифтовым холлом с другими пассажирскими лифтами

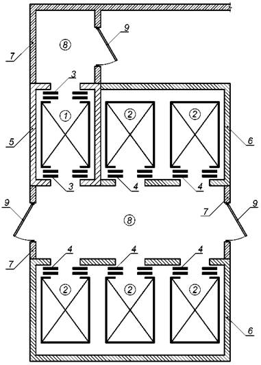
1 - лифт для пожарных; 2 - пассажирские лифты; 3 - противопожарная дверь шахты лифта для пожарных
с пределом огнестойкости EI 60; 4 - противопожарные двери шахты пассажирских лифтов с пределом
огнестойкости EI 60; 5 - ограждающие конструкции общей шахты с пределом огнестойкости REI 120; 6 - противопожарные
перегородки 1-го типа, ограждающие лифтовый холл (тамбур); 7 - противопожарные двери 2-го типа лифтового холла
(тамбура) в дымогазонепроницаемом исполнении; 8 - лифтовый холл (тамбур)

Рисунок А.3 - Схема размещения лифта для пожарных в общей шахте
с другими пассажирскими лифтами

1 - лифт для пожарных; 2 - пассажирские лифты; 3 - противопожарная дверь шахты лифта для пожарных
с пределом огнестойкости EI 60; 4 - противопожарные двери шахт пассажирских лифтов с пределом огнестойкости
по 5.2.3 настоящего стандарта; 5 - ограждающие конструкции шахты лифта для пожарных с пределом
огнестойкости REI 120; 6 - ограждающие конструкции шахт пассажирских лифтов с пределами огнестойкости,
установленными соответствующими нормативными документами; 7 - противопожарные перегородки 1-го типа,
ограждающие лифтовые холлы; 8 - лифтовые холлы (тамбуры); 9 - противопожарные двери 2-го типа лифтовых
холлов в дымогазонепроницаемом исполнении

Рисунок А.4 - Схема размещения лифта для пожарных с проходной кабиной в обособленной (выгороженной)
шахте с общим лифтовым холлом с другими пассажирскими лифтами

Библиография

[1]

СНиП 21-01-97

Пожарная безопасность зданий и сооружений

[2]

СНиП 31-01-2001

Здания жилые многоквартирные

[3]

Проект СП

Отопление, вентиляция и кондиционирование. Противопожарные требования

[4]

ПБ 10-558-03

Правила устройства и безопасной эксплуатации лифтов

[5]

ПУЭ

Правила устройства электроустановок

 

Ключевые слова: испытания, вентиляция, лифт для пожарных, лифтовый холл, двери шахт лифтов