|
ФЕДЕРАЛЬНОЕ
АГЕНТСТВО |
||
|
|
НАЦИОНАЛЬНЫЙ |
ГОСТ Р |
ВОЗДУХОВОДЫ
Метод испытаний на огнестойкость
|
|
Москва |
Предисловие
1 РАЗРАБОТАН Федеральным государственным бюджетным учреждением «Всероссийский ордена «Знак Почета» научно-исследовательский институт противопожарной обороны» МЧС России (ФГБУ ВНИИПО МЧС России)
2 ВНЕСЕН Техническим комитетом по стандартизации ТК 274 «Пожарная безопасность»
3 УТВЕРЖДЕН И ВВЕДЕН В ДЕЙСТВИЕ Приказом Федерального агентства по техническому регулированию и метрологии от 9 декабря 2013 г. № 2213-ст
4 ВЗАМЕН ГОСТ Р 53299-2009
5 ИЗДАНИЕ (сентябрь 2019 г.) с Поправкой (ИУС 4-2015)
Правила применения настоящего стандарта установлены в статье 26 Федерального закона от 29 июня 2015 г. № 162-ФЗ «О стандартизации в Российской Федерации». Информация об изменениях к настоящему стандарту публикуется в ежегодном (по состоянию на 1 января текущего года) информационном указателе «Национальные стандарты», а официальный текст изменений и поправок - в ежемесячном информационном указателе «Национальные стандарты». В случае пересмотра (замены) или отмены настоящего стандарта соответствующее уведомление будет опубликовано в ближайшем выпуске ежемесячного информационного указателя «Национальные стандарты». Соответствующая информация, уведомление и тексты размещаются также в информационной системе общего пользования - на официальном сайте Федерального агентства по техническому регулированию и метрологии в сети Интернет (www.gost.ru)
ГОСТ Р 53299-2013
|
НАЦИОНАЛЬНЫЙ СТАНДАРТ РОССИЙСКОЙ ФЕДЕРАЦИИ |
|
ВОЗДУХООДЫ Метод испытаний на огнестойкость Ventilation ducts. |
Дата введения - 2014-09-01
1.1 Настоящий стандарт устанавливает метод испытания на огнестойкость следующих элементов конструкций:
- воздуховодов (вентиляционных каналов) приточно-вытяжных систем общеобменной, аварийной и противодымной вентиляции, систем местных отсосов и кондиционирования воздуха, а также дымоходов различного назначения;
- каналов технологической вентиляции, в том числе газоходов.
1.2 Настоящий стандарт не предназначен для проведения испытаний на огнестойкость:
- вентиляционных каналов, расположенных в пустотах конструкций стен и перекрытий;
- дымовых вытяжных каналов, выполненных в элементах ограждающих строительных конструкций.
В настоящем стандарте использованы нормативные ссылки на следующие стандарты:
ГОСТ 12.1.019 Система стандартов безопасности труда. Электробезопасность. Общие требования и номенклатура видов защиты
ГОСТ 12.2.003 Система стандартов безопасности труда. Оборудование производственное. Общие требования безопасности
ГОСТ 6616 Преобразователи термоэлектрические. Общие технические условия
ГОСТ 30247.0 (ИСО 834-75) Конструкции строительные. Методы испытаний на огнестойкость. Общие требования
ГОСТ Р 8.585 Государственная система обеспечения единства измерений. Термопары. Номинальные статические характеристики преобразования
Примечание - При пользовании настоящим стандартом целесообразно проверить действие ссылочных стандартов в информационной системе общего пользования - на официальном сайте Федерального агентства по техническому регулированию и метрологии в сети Интернет или по ежегодному информационному указателю «Национальные стандарты», который опубликован по состоянию на 1 января текущего года, и по выпускам ежемесячного информационного указателя «Национальные стандарты» за текущий год Если заменен ссылочный стандарт, на который дана недатированная ссылка, то рекомендуется использовать действующую версию этого стандарта с учетом всех внесенных в данную версию изменений. Если заменен ссылочный стандарт, на который дана датированная ссылка, то рекомендуется использовать версию этого стандарта с указанным выше годом утверждения (принятия). Если после утверждения настоящего стандарта в ссылочный стандарт, на который дана датированная ссылка, внесено изменение, затрагивающее положение, на которое дана ссылка, то это положение рекомендуется применять без учета данного изменения. Если ссылочный стандарт отменен без замены, то положение, в котором дана ссылка на него, рекомендуется применять в части, не затрагивающей эту ссылку.
(Поправка)
3.1 Огнестойкость воздуховода определяется временем от начала нагревания испытуемой конструкции до наступления одного из предельных состояний.
3.1.1 Различаются два вида предельных состояний конструкций воздуховодов по огнестойкости:
- потеря теплоизолирующей способности (I);
- потеря плотности (E).
Обозначение предела огнестойкости конструкции воздуховода состоит из условных обозначений нормируемых предельных состояний и цифры, соответствующей времени достижения одного из этих состояний (первого по времени) в минутах, например:
- I 120 - предел огнестойкости 120 мин по признаку потери теплоизолирующей способности;
- EI 60 - предел огнестойкости 60 мин по признакам теплоизолирующей способности и потери плотности независимо от того, какой из двух признаков достигается ранее.
Когда для конструкции нормируются (или устанавливаются) различные пределы огнестойкости по разным предельным состояниям, их обозначение состоит из двух частей, разделенных наклонной чертой, например:
Е 120/I 60 - требуемый предел огнестойкости по признаку потери плотности 120 мин, а теплоизолирующей способности - 60 мин.
При различных значениях пределов огнестойкости одной и той же конструкции по разным предельным состояниям обозначение таких пределов перечисляется по убыванию.
3.1.2 Потеря теплоизолирующей способности конструкций воздуховодов характеризуется повышением температуры в среднем более чем на 140 °С или локально более чем на 180 °С на наружных поверхностях:
- конструкций воздуховодов вне зоны их нагрева на расстояниях 0,05 и 1,0 м от ограждающих конструкций печи (не менее чем в четырех точках каждого сечения на указанных расстояниях);
- узлов уплотнения зазоров с необогреваемой стороны в местах прохода воздуховодов через ограждения печи (не менее чем в четырех точках).
Вне зависимости от первоначальной температуры указанных поверхностей значение локальной температуры не должно превышать 220 °С в любых точках (в том числе в тех, где ожидается локальный прогрев, - стыки, углы, теплопроводные включения).
3.1.3 Потеря плотности характеризуется:
- образованием в узлах уплотнения зазоров в местах прохода воздуховодов через ограждения печи или в их конструкциях с необогреваемой стороны визуально обнаруживаемых сквозных трещин или сквозных отверстий, через которые проникают продукты горения или пламя;
- превышением допустимых величин подсосов или утечек газа через неплотности конструкций воздуховодов.
Допустимая величина подсосов или утечек на 1 м2 развернутой площади воздуховода определяется по формуле
|
|
(1) |
где Qпр - предельно допустимые подсосы (утечки) через неплотности конструкции воздуховода при температуре 20 °С, м3/ч;
Р - разрежение (избыточное давление) во внутренней полости воздуховода по отношению к атмосферному давлению, Па.
4.1 Сущность метода заключается в определении времени, по истечении которого наступает одно из предельных состояний конструкции воздуховода (по 3.1.1 - 3.1.3 настоящего стандарта) при ее наружном обогреве с одновременным нагружением избыточным давлением (разрежением) во внутренней полости.
4.2 Тепловое воздействие на конструкции воздуховодов осуществляется в соответствии с температурным режимом в печи и допускаемыми отклонениями температур согласно требованиям ГОСТ 30247.0.
4.3 Величина избыточного давления (разрежения) во внутренних полостях конструкций воздуховодов должна быть (300 ± 6) Па.
4.4 С учетом специфики функционального назначения воздуховодов температурные режимы и значение величины избыточного давления (разрежения) во внутренних полостях их конструкций, указанные в 4.2, 4.3 настоящего стандарта, могут быть изменены в соответствии с технической документацией на изделие.
4.5 Режимы испытаний дымоходов и газоходов могут быть установлены в соответствии с 4.2, 4.3 при необходимой корректировке с учетом особенностей их исполнения, технических характеристик и условий эксплуатации.
5.1 Стенд для проведения испытаний воздуховодов состоит (в соответствии с приложениями Б, В) из печи с внутренними размерами не менее 2,5×2,5×2,5 м, вентилятора, дросселирующего устройства и обвязки вентилятора.
Печь должна быть оборудована форсунками, работающими на жидком топливе, и обеспечивать требуемый тепловой режим согласно 4.2 настоящего стандарта.
Дросселирующее устройство должно обеспечивать возможность регулирования подачи давления вентилятора для поддержания параметров работы оборудования по 4.3 настоящего стандарта.
5.2 Испытательный стенд подлежит оснащению средствами измерения температуры, интервалов времени, расхода газов и давлений.
5.2.1 Для измерения температуры на необогреваемых поверхностях воздуховодов, на поверхности уплотнений в проеме печи и сечении установки расходомерного устройства (обязательные приложения Б, В) следует применять хромель-алюмелевые термоэлектрические преобразователи (ТЭП) по ГОСТ 6616 с диаметром электродов не более 0,7 мм.
5.2.2 Для измерения температуры в печи используют хромель-алюмелевые ТЭП по ГОСТ 6616 с диаметром электродов от 1,2 до 3,0 мм.
5.2.3 ТЭП в сечении установки расходомерного устройства (в соответствии с приложением В) должен располагаться на расстоянии не более 0,2 d от оси мерного участка и от расходомерного устройства, где d - диаметр мерного участка воздуховода.
5.2.4 Для регистрации измеряемых температур применяют приборы класса точности не менее 1,0 с диапазоном измерений от 0 °С до 1300 °С.
5.2.5 Для регистрации давления газовой среды используют приборы (манометры, микроманометры и т.п.) класса точности не ниже 1,0.
5.2.6 Для измерения расхода газов применяют расходомерные устройства, позволяющие измерять величины расходов, составляющие не менее 15 % Qпр по 3.1.3 настоящего стандарта.
5.2.7 Конструкция расходомерного устройства должна исключать возможность образования осадков и отложений перед ним.
5.2.8 Для измерения интервалов времени используют секундомеры класса точности не менее 0,2s.
5.2.9 Расположение ТЭП, а также места отбора давления и установки расходомерного устройства принимают в соответствии с приложениями Б, В.
5.2.10 Номинальные статические характеристики и пределы допускаемых отклонений термоэлектродвижущей силы (т.э.д.с.) ТЭП по 5.2.1 - 5.2.2 настоящего стандарта должны соответствовать ГОСТ Р 8.585 или индивидуальным градуировкам.
(Поправка)
6.1 Испытанию на огнестойкость подлежат образцы воздуховодов, поставляемые в сборе, включая предусмотренные конструкторской документацией разработчика покрытия, термоизоляцию, узлы крепления, уплотнения и подвески.
На испытания поставляется образец воздуховода прямоугольного сечения с соотношением внутренних размеров поперечного сечения 1,5 ≤ b / а ≤ 2 согласно рисунку Б.3 (приложение Б).
Длина участка образца, подлежащего нагреву (обогреваемого), должна быть не менее 2,5 м, необогреваемого - не менее 1,5 м. На длине обогреваемого участка может быть не менее двух соединений, выполненных по типовому способу (фланцевых, сварных и т.п.), на длине необогреваемого - по крайней мере одно соединение. Обогреваемый участок должен быть заглушен с торца пластиной из того же материала, который использован для воздуховода. Присоединение заглушки осуществляется тем же способом, что и соединение звеньев воздуховода, образец которого крепится в огневой камере в соответствии с технической (конструкторской) документацией.
6.2 Образцы воздуховодов, поставленные для испытаний, должны соответствовать конструкторской документации. Степень соответствия устанавливается входным контролем.
6.3 Для проведения испытаний образец устанавливается на стенде горизонтально (в соответствии с приложениями Б, В). Плотность вентиляционного канала, присоединяемого к испытуемому образцу, должна быть определена предварительно по величине утечек и подсосов воздуха и составлять не более 15 % максимально допустимого расхода газов по 3.1.3 настоящего стандарта.
6.4 При предъявления к конструкциям воздуховодов особых требований в соответствии с технической документацией можно проводить испытания при их вертикальном расположении на стенде (в соответствии с приложениями Б, В), а также воздуховодов непрямоугольного сечения.
7.1 Испытания должны выполняться при температуре окружающей среды от 0 °С до 40 °С.
7.2 Избыточное давление (разрежение) во внутренней полости образца создается подключением мерного участка вентиляционного канала, присоединяемого к образцу и нагнетательному (всасывающему) патрубку вентилятора.
Регулирование величины избыточного давления (разрежения) осуществляется дросселированием вентилятора с помощью заслонок.
7.3 Начало испытаний соответствует моменту включения форсунок печи, непосредственно перед которым включается вентилятор и регулируется величина избыточного давления (разрежения) во внутренней полости образца.
7.4 Во время испытаний регистрируют:
- температуру в печи;
- температуру на необогреваемых поверхностях образца и узла уплотнения мест его прохода через стенку печи;
- избыточное давление (разрежение) и расход газового потока в вентиляционной системе стенда;
- температуру газа в сечении установки расходомерного устройства;
- момент образования сквозных трещин или отверстий с обогреваемой стороны образца и узла его уплотнения в месте прохода через ограждение печи - по появлению дыма или пламени.
Одновременно визуально контролируется состояние конструкции и узлов сочленения образца как в зоне нагрева, так и снаружи печи, наблюдается поведение узлов его крепления (подвески), регистрируются появление и характер возможных деформаций.
Измерения температур, расходов и давлений должны проводиться в интервалах не более 2 мин.
7.5 Испытания выполняют до наступления одного из предельных состояний образца по огнестойкости согласно разделу 3.
8.1 Фактические значения подсосов (утечек) через неплотности конструкций образца при температуре 20 °С определяются по формуле
|
|
(2) |
где Qi пр - утечки (подсосы) через образец в i-м измерении, приведенные к температуре газа 20 °С, м3/с;
Qi - фактические утечки (подсосы) через образец по результатам i-го измерения, м3/с;
ti - температура газа, измеренная в сечении расходомерного устройства, °С.
9.1 Огнестойкость воздуховода определяется интервалом времени до наступления одного из предельных состояний по 3.1.1 - 3.1.3.
9.2 По итогам испытания воздуховоду присваивается классификационное обозначение в соответствии с 3.1.1 настоящего стандарта, например EI t, где t - одно из значений временного ряда 15, 30, 45, 60, 90, 120, 150, 180, 240 мин, меньшее предела огнестойкости воздуховода или равное ему.
9.3 По результатам испытаний двух и более воздуховодов аналогичной конструкции с различными толщинами огнезащитного покрытия могут быть определены промежуточные значения пределов огнестойкости по потере теплоизолирующей способности в соответствии с приложением А.
9.4 Результаты испытаний воздуховода распространяют на воздуховоды аналогичной конструкции прямоугольного и круглого сечения, если величина их гидравлического диаметра не превышает значения диаметра испытанного воздуховода более чем на 50 %, а внутренние размеры их поперечного сечения (диаметр или длина большей стороны) составляют не более 1500 мм. При этом величина гидравлического диаметра должна определяться соотношением
|
|
(3) |
где F и П - соответственно площадь и периметр проходного сечения воздуховода.
Пример записи в отчете об испытаниях: «Фактический предел огнестойкости конструкции стального воздуховода с огнезащитным покрытием из минераловатных матов толщиной 50 ± 5 мм, изготовленного в соответствии с ТР 00-000, составляет EI 120».
Отчет об испытании, составленный по рекомендуемой форме, должен содержать следующие данные:
1. Наименование организации, проводящей испытания;
2. Наименование и адрес заказчика;
3. Характеристику объекта испытаний;
4. Метод испытания (описание или ссылку);
5. Описание процедуры испытания;
6. Характеристики испытательного оборудования;
7. Результаты испытаний;
8. Оценку результатов.
11.1 При испытаниях воздуховодов на огнестойкость должны соблюдаться требования безопасности и производственной санитарии согласно ГОСТ 12.2.003 и ГОСТ 12.1.019.
11.2 К испытанию допускаются лица, ознакомленные с техническим описанием и инструкцией по эксплуатации испытательного стенда.
11.3 Все быстродвижущиеся и вращающиеся части стендовой установки должны иметь ограждения.
А.1 Общие положения
А.1.1 Настоящая инструкция предназначена для расчета пределов огнестойкости воздуховодов различного назначения по признаку потери теплоизолирующей способности в области применения, установленной 1.1.
А.1.2 Расчет пределов огнестойкости следует осуществлять для воздуховодов, имеющих аналогичное испытанным конструктивное и технологическое исполнение, включая конструкцию секций и технологию узлов соединения, используемые материалы, технологии монтажа и нанесения огнезащитного покрытия, а также исполнение узла пересечения каналами ограждающих строительных конструкций.
А.1.3 Настоящая инструкция не предназначена для расчетов пределов огнестойкости воздуховодов с применением в их конструкциях терморасширяющихся и вспучивающихся при тепловом воздействии материалов.
А.1.4 Результаты расчетов можно использовать при сертификации продукции.
А.2 Исходные данные
А.2.1 Расчеты выполняются для воздуховодов в соответствии с 6.1.
А.2.2 Конструкции воздуховодов, для которых проводится расчет, не должны превышать установленные 3.1.3 подсосы и утечки газа через их неплотности.
А.2.3 В качестве исходных данных для расчета принимаются результаты испытаний на огнестойкость не менее чем двух образцов конструкций вентиляционных каналов.
А.3 Расчет пределов огнестойкости вентиляционных каналов при различной толщине теплоогнезащитных покрытий
А.3.1 Расчетное значение предела огнестойкости t, мин, конструкции воздуховода с толщиной теплоогнезащитного покрытия δ, мм (с учетом исходных данных по А.2 настоящей инструкции), определяется по формуле
|
|
(А.1) |
где δ1, δ2 - значения толщины огнезащитного покрытия образцов конструкций воздуховодов, испытанных по настоящему стандарту, мм;
t1, t2 - соответствующие фактические значения пределов огнестойкости, полученные при проведении испытаний, мин.
При этом должны соблюдаться следующие требования:
δ1 < δ < δ2; t1 < t < t2.
А.3.2 В качестве предела огнестойкости для рассматриваемой конструкции выбирается одно из значений временного ряда 15, 30, 45, 60, 90, 120, 150, 180, 240 мин, меньшее расчетного значения или равное ему по А.3.1.
А.4 Расчет толщины огнезащитных покрытий, обеспечивающей требуемый предел огнестойкости воздуховода
А.4.1 Толщина огнезащитного покрытия конструкции вентиляционного канала δ, мм, соответствующая пределу огнестойкости t, мин (где t выбирается из значений временного ряда 15, 30, 45, 60, 90, 120, 150, 180 мин по ГОСТ 30247.0), рассчитывается по зависимости
|
|
(А.2) |
где Δ - допуск на толщину покрытия, принимаемый в соответствии с конструкторской и технологической документацией изготовителя, мм.
А.4.2 При использовании в конструкциях огнестойких воздуховодов материалов заводского изготовления (плит, матов, холстов и т.п.) толщина покрытия принимается равной ближайшему (большему или равному в пределах величины допуска) к расчетному значению толщины выпускаемой продукции.

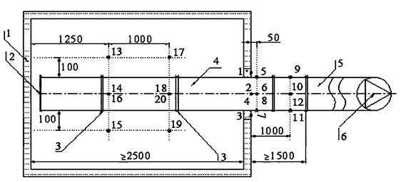
1 - печь; 2 - заглушенный торец образца; 3 - места
сочленения элементов образца; 4 - испытуемый образец воздуховода
(с отверстием или без него); 5 - переходной элемент; 6 - вентилятор;
- ТЭП, установленные: 1 - 4 - на поверхности
уплотнений воздуховода в проеме печи; 5 - 12 - на необогреваемых поверхностях
воздуховода; 13 - 20 - в печи
Рисунок Б.1 - Схема размещения горизонтальных воздуховодов на испытательном стенде

1 - печь; 2 - заглушенный торец образца; 3 - места
сочленения элементов образца; 4 - испытуемый образец воздуховода
(с отверстием или без него); 5 - переходной элемент; 6 - вентилятор;
- ТЭП, установленные: 1 - 4 - на поверхности
уплотнений воздуховода в проеме печи; 5 - 12 - на необогреваемых поверхностях
воздуховода; 13 - 20 - в печи
Рисунок Б.2 - Схема размещения вертикальных воздуховодов на испытательном стенде
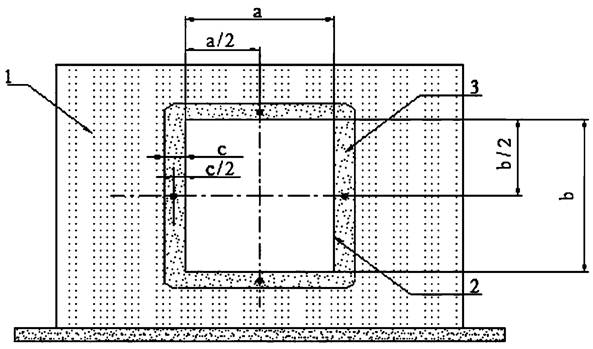
1 - печь; 2 - воздуховод; 3 - уплотнение места
проходки воздуховода через ограждающую конструкцию печи;
- ТЭП; а, b -
внутренние размеры поперечного сечения воздуховода; с - толщина заделки
Рисунок Б.3 -
Схема размещения ТЭП в узле уплотнения места проходки воздуховода
через ограждающую конструкцию печи

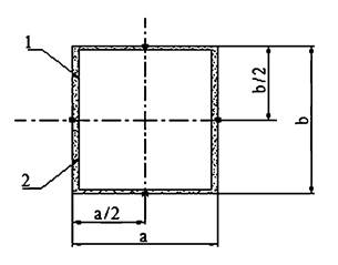
1 - воздуховод; 2 - покрытие
воздуховода;
- ТЭП; а, b -
размеры поперечного сечения воздуховода
Рисунок Б.4 - Схема размещения ТЭП на необогреваемой поверхности воздуховода

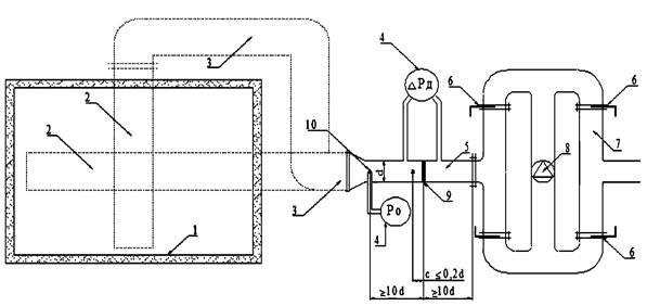
1 - печь; 2 - испытуемый образец
воздуховода (установленный вертикально или горизонтально); 3 - переходной
элемент; 4 - микроманометр; 5 - мерный участок; 6 - регулирующая заслонка; 7 -
воздуховоды обвязки вентилятора;
8 - вентилятор; 9 - расходомерная диафрагма; 10 - точка отбора давления в
полости испытуемого образца;
-
ТЭП
Рисунок В.1 - Схема стендового оборудования для испытания воздуховодов на огнестойкость
Ключевые слова: воздуховод, огнестойкость, метод испытаний