РЕКОМЕНДАЦИИ
ПО КОНСТРУКЦИИ ДЕФОРМАЦИОННЫХ ШВОВ
С МАСТИЧНО-ЩЕБЕНОЧНЫМ ЗАПОЛНЕНИЕМ
ТИПА «ТОРМА-ДЖОЙНТ» («ШОВ ТОРМА-МОСТ»)
1.1. Настоящее руководство касается конструкций деформационных швов, выполняемых на пролетных строениях, с использованием мастично-щебеночного заполнителя (обозначение конструкции по настоящим рекомендациям «Шов Торма-Мост»).
1.2. Конструкция деформационного шва основана на использовании технического решения конструкции деформационного шва Thorma ® Joint, разработанного английской фирмой Prismo и германской фирмой Lafrentz.
Конструкция деформационного шва адаптирована к отечественным конструкциям пролетных строений с использованием отечественных строительных материалов.
В основу настоящего руководства положено «Руководство по применению и монтажу конструкции деформационного шва системы Thorma ® Joint («Торма ® Джойнт») в проезжей части автодорожных мостовых сооружений, разработанное ФГУП «Союздорнии» и согласованное фирмами «Lafrentz» и «Prismo» (Приложение 1).
1.3. «Шов Торма-Мост» представляет собой конструкцию деформационного шва, предназначенную для перекрытия зазора между пролетными строениями, воспринятая и обеспечения продольных и угловых перемещений в надопорных сечениях и над шарнирными соединениями пролетных строений автодорожных мостовых сооружений.
1.4. Конструкцию «Шов Торма-Мост» применяют на пролетных строениях, имеющих перемещения в шве с амплитудой ± 15 мм, определяемые в соответствии с требованиями СНиП 2.05.03-84* и р. 3 настоящего руководства.
2.1. Конструкция «Шов Торма-Мост» относится к группе закрытых швов, в которых перемещение реализуется за счет деформации материала, перекрывающего деформационный шов. Конструкция подвижна во всех направлениях, т.е. она обеспечивает продольные, поперечные и угловые перемещения.
2.2. Эксплуатационные достоинства конструкции «Шов Торма-Мост» состоят в следующем: обеспечена непрерывность проезжей части, вследствие чего отсутствуют толчки и стук при проезде транспортных средств через деформационный шов; конструкция водонепроницаема; за счет применения материалов для перекрытия деформационного шва, подобных асфальтобетону, не изменяется характер движения через шов; обеспечивается высокий коэффициент сцепления поверхности шва с шиной автомобиля; конструкция шва не требует специального содержания, отличного от содержания покрытия проезжей части; конструкция может быть легко заменена в процессе эксплуатации при возникновении дефектов; при устройстве конструкции шва движение может быть открыто практически сразу после завершения строительных работ (рис. 2.1).
Рис. 2.1. Движение через «Шов Торма-Мост».
Темная зона на покрытии - деформационный шов.
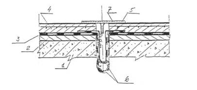
2.3. Конструкция «Шов Торма - Мост» представлена на рис. 2.2.
В ее состав входят: компенсатор из двух слоев рулонного гидроизоляционного материала «Мостопласт» по ТУ 5774-025-01393697-99, стального листа со штырями, перекрывающего зазор между смежными пролетными строениями и мастично-щебеночного заполнителя.
Рис. 2.2. Конструкция деформационного шва «Шов Торма-Мост»
1 - плита проезжей части; 2 - выравнивающий слой; 3 - гидроизоляция; 4 - компенсатор из 2 слоев гидроизоляционного материала; 5 - защитный армированный бетонный слой; 6 - двухслойное асфальтобетонное покрытие; 7 - металлическая пластина; 8 - обмазка горячей резино-битумной мастикой; 9 - щебеночно-мастичное заполнение, полученное смешением на месте; 10 - щебеночно-мастичное заполнение, полученное смешением в мешалке; 11 - резино-битумная мастика; 12 - мелкий щебень.
2.4. Конструкцию «Шов Торма-Мост» выполняют выше защитного слоя.
2.5. Конструкция «Шов Торма-Мост» может быть выполнена как по всей ширине мостового сооружения при тротуарах в уровне проезжей части, так и в пределах ширины проезжей части и на тротуарах при расположении из выше уровня проезда.
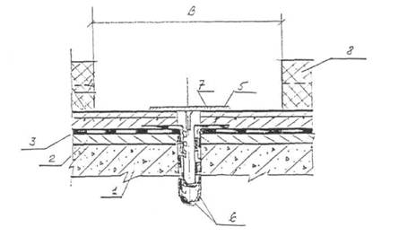
2.6. Конструкция «Шов Торма-Мост» может быть выполнена перпендикулярно или под углом к продольной оси сооружения; зигзагообразно при ступенчато расположенных торцах балок - в косых сооружениях; в продольных деформационных швах; над шарнирными соединениями (рис. 2.3).
Дно штрабы шва и поверхность покрытия должны быть строго параллельны.

Рис. 2.3. Расположение конструкции «Шов Торма-Мост»
а) перпендикулярно к оси сооружения; б) под углом к оси сооружения; в) зигзагообразное расположение; г) продольный шов. 1 - пролетное строение; 2 - конструкция «Шов Торма-Мост».
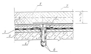
2.7. Конструкции «Шов Торма-Мост» выполняют шириной 300, 500, 750 мм.
Конструкции шириной 300 - 400 мм применяют над узлами с шарнирными соединениями; при продольных перемещениях не более ± 5 мм; в продольных деформационных швах. Конструкции шириной 500 мм являются оптимальными. Конструкции шириной более 750 мм применять не рекомендуется.
2.8. Конструкции «Шов Торма-Мост» применяют минимальной толщиной 70 мм, оптимальная толщина - 100 мм. При толщине более 150 мм выполняют несколько конструкций друг над другом. В зоне тротуаров применяют аналогичную конструкцию перекрытия шва. При интенсивном движении пешеходов поверху шва укладывают перекрывающую металлическую полосу.
2.9. Обычно конструкции «Шов Торма-Мост» применяют при косине до 45°. В этом случае ширину шва принимают равной 500 мм.
2.10. Швы «Шов Торма-Мост» не рекомендуется применять на участках дорог вблизи примыканий съездов и у светофоров, где могут быть остановки и торможение транспортных средств.
2.11. Максимальный уклон, при котором могут быть применены конструкции «Шов Торма-Мост», составляет 40 %.
Параметры конструкции «Шов Торма-Мост» и ее технические характеристики приведены в табл. 2.1.
Таблица 2.1.
|
Толщина шва, мм |
Максимальный продольный уклон, % |
Максимально допустимые перемещения, мм |
||
|
горизонт. |
вертикальн. |
|||
|
750 |
Более 100 |
20 |
± 15 |
± 5 |
|
100 |
± 15 |
|||
|
100 - 70 |
± 15 |
|||
|
70 |
± 7,5 |
|||
|
500 |
Более 100 |
40 |
± 15 |
± 5 |
|
100 |
± 15 |
|||
|
100 - 70 |
± 15 |
|||
|
70 |
± 7,5 |
|||
|
300 |
Более 100 |
40 |
± 5 |
± 1 |
|
100 |
||||
|
100 - 70 |
||||
|
70 |
||||
3.1. Область применения конструкций деформационных швов определяется предельно возможными перемещениями, указанными в табл. 2.1, в зависимости от конструктивных параметров шва.
3.2. Перемещения, возникающие в конструкциях пролетных строений, определяются: длиной «температурного» пролета (определяемого от неподвижных опорных частей до деформационного шва); изменением температуры сооружения в пределах расчетных значений температур в месте строительства мостового сооружения, определяемых по СНиП 2.05.03-84* и СНиП 2.01.01-82 с учетом температуры замыкания (устройства шва); поворотом торца пролетного строения от временной нагрузки; усадки и ползучести бетона - для новых сооружений:
ΔL = (αLtΔt ± φhб + Δус + Δn + ΔT) · 1,2
где α = 10-5 - коэффициент линейного удлинения материала пролетного строения;
Lt - длина температурного пролета;
Δt - температурный градиент с учетом температуры установки;
φ - угол поворота торца балки от временной нагрузки;
hб - высота балки пролетного строения;
Δус - перемещения от усадки, которые могут быть определены как перемещение от понижения температуры на 20 °C;
Δn - перемещения от ползучести;
ΔT - перемещения от торможения;
1,2 - коэффициент надежности.
4.1. В зазоре между пролетными строениями образуют двухъярусный компенсатор из гидроизоляционного рулонного материала «Мостопласт» ТУ 5774-025-01393697-99 (Приложение 2).
«Мостопласт» приклеивают к поверхности выравнивающего слоя или плиты проезжей части оплавлением пламенем горелки. Лоткам компенсатора следует придавать поперечный уклон, выполняя их переменной глубины. В стыках полос материал «Мостопласт» должен быть склеен.
4.2. Зазор между балками над лотком компенсатора перекрывают стальной пластиной или из другого материала (резиновый вкладыш, полиуретановая доска и др.) со штырем в нижней части во избежание сдвига пластины.
Ширина пластины должна быть в 1,5 - 2 раза шире зазора между торцами смежных пролетных строений. Толщина пластины должна быть не менее 1/10 ширины зазора.
Стальная пластина должна быть защищена от коррозии окраской резино-битумной мастикой, используемой для выполнения конструкции шва, со всех сторон.
4.3. Для заполнения шва применяют щебень, предпочтительно кубовидной формы, по ГОСТ 8267-93 фракции 5 - 20 мм.
Предпочтительно применение габбро-диабазового щебня. Щебень должен быть чистым.
4.4. В качестве мастичного заполнения применяют горячую резинобитумную мастику «Брит» ТУ 5718-010-05204776-02 производства ООО «Ринтек» /(095) 402-48-20, 402-48-24, т/ф 402-48-29/ (Приложение 3). Мастику поставляют в коробках с антиадгезионным покрытием.
4.5. Для составления рабочих составов заполнения шва сначала точно определяют длину шва (м) и объем штрабы (м3) в конструкции дорожной одежды.
4.6. Общее количество мастики (т) равно объему штрабы, умноженному на 2/3, минус 20 %.
4.7. Расход щебня (т) равен объему штрабы, умноженному на 2.
4.8. Соотношение по массе между количеством щебня и мастики составляет 3:0,8.
5.1. Конструкцию «Шов Торма - Мост» устраивают после выполнения всех слоев дорожной одежды на мосту.
5.2. Перед укладкой асфальтобетонного покрытия на ограждениях или перилах сооружения должны быть нанесены метки, соответствующие оси деформационного шва и кромкам конструкции шва
5.3. Гидроизоляция и защитный слой должны быть выполнены до кромок деформационного шва (рис. 5.1).

1 - несущая конструкция пролетного строения; 2 - выравнивающий слой; 3 - гидроизоляция; 4 - защитный слой; 5 - дополнительный слой лотка компенсатора; 6 - компенсатор.
Рис. 5.1. Слои дорожной одежды в зоне деформационного шва, уложенные до образования конструкции «Шов Торма-Мост».
5.4. На поверхность защитного слоя укладывают пластину со штырем, предназначенную для перекрытия зазора.

Рис. 5.2. Перекрытие зазора металлической пластиной 1 - 6 см. рис. 5.1;
7 - металлическая пластина.
5.5. Укладывают асфальтобетонное покрытие на полную толщину (рис. 5.3). Производят замер ровности покрытия стандартной трехметровой рейкой, располагая ее середину над осью шва.

Рис. 5.3. Укладка асфальтобетонного покрытия над зазором, поз 1 - 7 см. рис. 5.2;
8 - двухслойное асфальтобетонное покрытие.
5.6. После укладки асфальтобетонного покрытия и его остывания производят образование штрабы над деформационным швом необходимого по длине моста размера, ориентируясь на метки, нанесенные на ограждениях или перилах.
Штрабу образуют с помощью специального резательного оборудования с твердосплавными или алмазными дисками, прорезая слои асфальтобетонного покрытия, защитного слоя, гидроизоляции, выравнивающего слоя (рис. 5.4). Рекомендуется производить сухую резку.

Рис. 5.4. Образование штрабы в асфальтобетонном покрытии, поз. 1 - 8 см. рис. 5.3.
5.7. Из образованной в асфальтобетонном покрытии штрабы аккуратно выламывают вырезанные куски таким образом, чтобы не повредить ниже лежащий бетон, гидроизоляцию и кромки штрабы. С помощью лопаты и щетки тщательно удаляют все несвязанные остатки.
5.8. Все поверхности образованной штрабы должны быть зачищены проволочной щеткой, очищены и высушены с помощью горячего воздуха, подаваемого специальной штангой инфракрасной горелки или пламенем газовой горелки.
5.9. Сразу после очистки поверхности стенки штрабы должны быть покрыты горячей резинобитумной мастикой. Если между очисткой штрабы горячим воздухом и огрунтовкой проходит значительный промежуток времени, штрабу перед грунтованием следует повторно прогреть пламенем горелки или горячим воздухом (рис. 5.5).

Рис. 5.5. Обмазка поверхности штрабы резинобитумной мастикой, поз. 1 - 8 см. рис. 5.3;
9 - резинобитумная мастика.
5.10. В штрабу засыпают горячий щебень слоем толщиной 20 мм. Разогрев щебня производят в перфорированном барабане мешалки с подогревом его факелом горящего газа (рис. 5.6).
Рис. 5.6. Нагрев щебня в перфорированном барабане.
5.11. Резиново-битумную мастику загружают в установку для расплавления и нагревают до температуры 170 - 190 °С. При этой температуре мастика не должна храниться более 7 часов.
5.12. Горячую мастику выливают в штрабу с уложенным щебнем в необходимом соотношении и производят их перемешивание граблями для того, чтобы каждое зерно щебня было покрыто мастикой и промежутки заполнены ею.
5.13. Аналогично слоями заполняют штрабу, не доходя 25 мм (± 5 мм) до верха, определяемого верхом асфальтобетонного покрытия.
5.14. Все операции по очистке штрабы, укладке щебня, заливке мастики следует производить без продолжительных - максимум 1,5 часа - перерывов, т.к. только так может быть обеспечено достаточно прочное сцепление слоев между собой и с основанием.
5.15. На последнем этапе заполнения штрабы в мешалку с нагретым щебнем заливают разогретую до температуры 180 °C мастику в количестве, необходимом только для обволакивания зерен щебня, и тщательно перемешивают.
5.16. Смесь щебня с мастикой выгружают на уложенный в штрабе материал с таким расчетом, чтобы она возвышалась над уровнем поверхности покрытия примерно на половину толщины зерна щебня.
5.17. Уложенную смесь тщательно уплотняют вибратором, катком или ручной уплотняющей плитой до тех пор, пока поверхность конструкции «Шов Торма-Мост» не сравняется с поверхностью асфальтобетонного покрытия. Уплотнением достигается водонепроницаемость (герметичность) конструкции шва.
5.18. Поверх виброуплотненного слоя для придания конструкции шва полной водонепроницаемости устраивают герметизирующий слой.
Для этого вдоль продольных кромок шва «Шов Торма-Мост», отступив от них 4 - 5 см, наклеивают клейкую ленту (скотч) шириной 50 - 100 мм.
Горячую мастику разливают в пределах площади, ограниченной клейкой лентой. Таким образом, герметизирующий слой перекрывает плоскости реза. Ее распределяют с помощью гребка поверх виброуплотненного мастично-щебеночного слоя, заполняя все полости (рис. 2.2).
5.19. Поверх герметизирующего слоя рассыпают и прикатывают мелкий щебень фракции 5 мм.
5.20. Движение транспортных средств через шов открывают после его остывания.

а) загрузка штрабы щебнем, обработанным мастикой; б) завершающий этап заполнения штрабы.
Рис. 5.7. Заполнение штрабы.
6.1. Для устройства конструкции «Шов Торма-Мост» требуется следующее оборудование:
Нарезчик швов с ручным управлением, высокоскоростной (3000 об/мин). Должен обеспечивать нарезку шва глубиной до 200 мм.
Отбойный молоток для вскрытия асфальтобетона.
Штанга для подачи горячего воздуха под давлением со скоростью 550 м/сек при температуре 600 - 1000 °C от компенсатора минимальной производительности 2,8 м3 с масловлагоотделителем или газовые горелки.
Проволочная ручная или электрическая щетка.
Котел емкостью не менее 400 л с обогревом термальным маслом для разогрева мастики. Котел должен быть оборудован вращающейся лопастью для перемешивания вяжущего и обеспечен надежной терморегулирующей системой, предотвращающей его перегрев, а также системой безопасности, предотвращающей скапливание газа в котле при несрабатывании зажигания.
Передвижная бетономешалка с перфорированным барабаном для очистки щебня в процессе его нагревания.
Передвижная бетономешалка с барабаном без перфорации.
Вибратор с плитой массой не менее 85 кг.
6.2. Инструмент: алмазные диски, долото, лопаты, молоток, горелки газовые, горелки инфракрасные, грабли, рулетка, тележка, ведра.
6.3. Дополнительные материалы: гвозди, сжиженный газ в баллонах, мел, клейкая лента, вода, трос (веревка).
6.4. Приборы: термометр для диапазона температур от 50 до 250 °С.
7.1. В процессе выполнения работ контролируют их соответствие технологическому регламенту, изложенному в настоящих рекомендациях.
Проверяют соответствие полученных материалов настоящим рекомендациям, проверяют температуры щебня, мастики при их укладке.
7.2. После завершения работ проверяют ровность поверхности в зоне шва, сверяя ее с определенной ранее - до устройства шва.
8.1. При производстве работ соблюдают общие правила безопасного их выполнения в соответствии с требованиями СНиП III-4-80.
8.2. Соблюдают правила безопасного выполнения работ с режущими механизмами, горячими мастиками, газобаллонными установками.
8.3. Особое внимание следует уделять безопасному выполнению работ при нагреве щебня в бетономешалке горелками.
8.4. В процессе производства работ следует предусмотреть места утилизации отходов щебня, резинобитумной мастики, тары и других вспомогательных материалов.
Характеристики гидроизоляционного материала Мостопласт
|
Характеристики материала |
Количественные показатели |
|
1. Масса материала |
|
|
1.1. Масса полосы, не менее, кг/м2 |
5,5 |
|
1.2. Масса основы, г/м2 |
200 |
|
1.3. Масса вяжущего с наплавляемой стороны не менее, кг/м2 |
2,5 |
|
2. Размеры материала в рулоне |
|
|
2.1. Толщина полотна, мм, не менее |
5,3 |
|
2.2. Длина материала в рулоне, м, не менее |
7,5 |
|
2.3. Ширина материала в рулоне, см |
100 ± 1,0 |
|
3. Разрушающие факторы |
|
|
3.1. Разрывная сила при растяжении образца шириной 50 мм в произвольном направлении, Н (кгс), не менее |
900 (90) |
|
3.2. Относительное удлинение при разрыве, %, не менее |
35 |
|
4. Морозостойкость |
|
|
4.1. Гибкость на холоде на брусе радиусом 10 мм, отсутствие трещин при температуре, °C, не выше |
минус 25 |
|
4.2. Температура хрупкости по Фраасу, °C, не выше |
минус 32 |
|
5. Теплостойкость, °С, не менее |
130 |
|
6. Стойкость к статическому продавливанию при 250 Н (25 кгс) |
водонепроницаем |
ОСНОВНЫЕ ХАРАКТЕРИСТИКИ МАСТИКИ МАРКИ БРИТ ТУ 5718-010-05204776-02
|
Показатель свойств |
БРИТ-Д |
Метод испытаний |
|
Температура размягчения, °C, не ниже |
75 |
|
|
Водопоглощение, %, не более |
0,3 |
|
|
Температура хрупкости, при t °C |
-27 |
|
|
Предел прочности при растяжении, МПа, не менее, при |
||
|
+20 °C |
0,15 |
|
|
при -20 °C (5 час.) |
0,3 |
|
|
Относительное удлинение, %, не менее при |
||
|
+20 °C |
200 |
|
|
при -20 °C (5 час.) |
100 |
|
|
Прочность сцепления на отрыв, МПа, не менее, с металлом |
0,5 |
|
|
с бетоном |
0,5 |
|
|
Характер разрушения при отрыве |
когезионный |
|
|
Фасовка |
Крафтмешок или брикет |
ПЕРЕЧЕНЬ ИСПОЛЬЗОВАННЫХ ИСТОЧНИКОВ
1. Thorma ® Joint Handbuch.
Руководство по устройству деформационных швов.
ZTV-BEL-FÜ Vorläufige Zusätzliche Technische Vertragsbedinungen und Richtlinen für Herstellung von Fahrbahnubergängen aus Asphalt in Belägen auf Briücken und anderen In-geneurbanwerken aus Beton.
2. Информационные материалы фирмы «Prismo» «Thorma ® Joint Handbuch».
3. СНиП 2.01.01-82 Строительная климатология и геофизика.
СОДЕРЖАНИЕ