Information protection. Conformance testing of technical information processing facilities to unauthorized access protection requirements. Methods and techniques

ФЕДЕРАЛЬНОЕ АГЕНТСТВО
ПО ТЕХНИЧЕСКОМУ РЕГУЛИРОВАНИЮ И МЕТРОЛОГИИ

НАЦИОНАЛЬНЫЙ
СТАНДАРТ
РОССИЙСКОЙ
ФЕДЕРАЦИИ

ГОСТ Р
53115-
2008

Защита информации

ИСПЫТАНИЕ ТЕХНИЧЕСКИХ СРЕДСТВ
ОБРАБОТКИ ИНФОРМАЦИИ
НА СООТВЕТСТВИЕ ТРЕБОВАНИЯМ
ЗАЩИЩЕННОСТИ
ОТ НЕСАНКЦИОНИРОВАННОГО ДОСТУПА

Методы и средства

Москва
Стандартинформ

2018

Предисловие

1 РАЗРАБОТАН Федеральным государственным учреждением «32 Государственный научно- исследовательский испытательный институт Минобороны России» (ФГУ «32 ГНИИИ Минобороны России»), Федеральным государственным учреждением «Государственный научно-исследовательский испытательный институт проблем технической защиты информации Федеральной службы по техническому и экспортному контролю» (ФГУ «ГНИИИ ПТЗИ ФСТЭК России»)

2 ВНЕСЕН Федеральным агентством по техническому регулированию и метрологии

3 УТВЕРЖДЕН И ВВЕДЕН В ДЕЙСТВИЕ Приказом Федерального агентства по техническому регулированию и метрологии от 18 декабря 2008 г. № 534-ст

4 ВВЕДЕН ВПЕРВЫЕ

5 ПЕРЕИЗДАНИЕ. Октябрь 2018 г.

Правила применения настоящего стандарта установлены в статье 26 Федерального закона от 29 июня 2015 г. № 162-ФЗ «О стандартизации в Российской Федерации». Информация об изменениях к настоящему стандарту публикуется в ежегодном (по состоянию на 1 января текущего года) информационном указателе «Национальные стандарты», а официальный текст изменений и поправок - в ежемесячном информационном указателе «Национальные стандарты». В случае пересмотра (замены) или отмены настоящего стандарта соответствующее уведомление будет опубликовано в ближайшем выпуске ежемесячного информационного указателя «Национальные стандарты». Соответствующая информация, уведомление и тексты размещаются также в информационной системе общего пользования - на официальном сайте Федерального агентства по техническому регулированию и метрологии в сети Интернет (www.gost.ru)

Содержание

1 Область применения. 3

2 Нормативные ссылки. 3

3 Термины и определения. 3

4 Общие условия испытаний. 4

4.1 Конфигурация испытуемого оборудования. 4

4.2 Функционирование испытуемого оборудования. 6

5 Методы измерения кондуктивных побочных электромагнитных излучений
и наводок. 20

5.1 Основные положения. 20

5.2 Измерение побочных электромагнитных излучений и наводок на
сетевых зажимах. 20

5.3 Пластина заземления. 21

5.4 Установка оборудования. 22

5.5 Измерение побочных электромагнитных излучений и наводок на портах связи. 22

5.6 Регистрация результатов измерений. 25

6 Методы измерения побочных электромагнитных излучений и наводок. 25

6.1 Основные положения. 25

6.2 Антенна. 25

6.3 Измерительная площадка. 26

6.4 Установка оборудования. 27

6.5 Регистрация результатов измерений. 27

6.6 Измерения в присутствии мощных посторонних сигналов. 27

6.7 Испытание оборудования в местах его установки пользователем.. 28

Приложение А (обязательное) Испытательные установки для измерений общего несимметричного напряжения и тока побочных электромагнитных излучений и наводок на портах связи. 28

ГОСТ Р 53115-2008

НАЦИОНАЛЬНЫЙ СТАНДАРТ РОССИЙСКОЙ ФЕДЕРАЦИИ

Защита информации

ИСПЫТАНИЕ ТЕХНИЧЕСКИХ СРЕДСТВ ОБРАБОТКИ ИНФОРМАЦИИ НА СООТВЕТСТВИЕ
ТРЕБОВАНИЯМ ЗАЩИЩЕННОСТИ ОТ НЕСАНКЦИОНИРОВАННОГО ДОСТУПА

Методы и средства

Information protection. Conformance testing of technical information processing facilities
to unauthorized access protection requirements. Methods and techniques

Дата введения - 2009-10-01

1 Область применения

Настоящий стандарт распространяется на технические средства обработки информации и устанавливает методы их испытаний на соответствие требованиям защищенности от несанкционированного доступа в полосе частот от 200 Гц до 37,5 ГГц.

2 Нормативные ссылки

В настоящем стандарте использованы ссылки на следующие стандарты:

ГОСТ 30372 (IEC 60050-161:1990) Совместимость технических средств электромагнитная. Термины и определения

ГОСТ 30805.22 (CISPR 22:2006) Совместимость технических средств электромагнитная. Оборудование информационных технологий. Радиопомехи индустриальные. Нормы и методы измерений

ГОСТ Р 8.568 Государственная система обеспечения единства измерений. Аттестация испытательного оборудования. Основные положения

ГОСТ Р 50414 Совместимость технических средств электромагнитная. Оборудование для испытаний. Камеры экранированные. Классы, основные параметры, технические требования и методы испытаний

ГОСТ Р 51317.4.6 (МЭК 61000-4-6-96) Совместимость технических средств электромагнитная. Устойчивость к кондуктивным помехам, наведенным радиочастотными электромагнитными полями. Требования и методы испытаний

ГОСТ Р 51319 Совместимость технических средств электромагнитная. Приборы для измерения индустриальных радиопомех. Технические требования и методы испытаний

ГОСТ Р 53112-2008 Защита информации. Комплексы для измерений параметров побочных электромагнитных излучений и наводок. Технические требования и методы испытаний.

ГОСТ Р 55055 Радиопомехи индустриальные. Термины и определения

Примечание - При пользовании настоящим стандартом целесообразно проверить действие ссылочных стандартов в информационной системе общего пользования - на официальном сайте Федерального агентства по техническому регулированию и метрологии в сети Интернет или по ежегодному информационному указателю «Национальные стандарты», который опубликован по состоянию на 1 января текущего года, и по выпускам ежемесячного информационного указателя «Национальные стандарты» за текущий год. Если заменен ссылочный стандарт, на который дана недатированная ссылка, то рекомендуется использовать действующую версию этого стандарта с учетом всех внесенных в данную версию изменений. Если заменен ссылочный стандарт, на который дана датированная ссылка, то рекомендуется использовать версию этого стандарта с указанным выше годом утверждения (принятия). Если после утверждения настоящего стандарта в ссылочный стандарт, на который дана датированная ссылка, внесено изменение, затрагивающее положение, на которое дана ссылка, то это положение рекомендуется применять без учета данного изменения. Если ссылочный стандарт отменен без замены, то положение, в котором дана ссылка на него, рекомендуется применять в части, не затрагивающей эту ссылку.

3 Термины и определения

В настоящем стандарте применены термины по ГОСТ 14777, ГОСТ 30372, а также следующие термины с соответствующими определениями:

3.1 оборудование информационных технологий; ОИТ: Любое оборудование, выполняющее основную функцию, связанную с вводом, хранением, отображением, поиском, передачей, обработкой, коммутацией или управлением данных и сообщений связи, которое при этом может быть снабжено одним или несколькими портами, используемыми обычно для передачи информации и с номинальным напряжением питания не более 600 В.

Примечание - Оборудование информационных технологий может включать в себя оборудование обработки данных, офисные машины, электронное оборудование для делопроизводства и оборудование связи.

3.2 испытуемое оборудование; ИО: Отдельно применяемое оборудование информационных технологий или функционально взаимодействующая группа оборудования информационных технологий (система), которая включает в себя один или несколько основных блоков и используется для целей испытаний.

3.3 основной блок: Часть системы оборудования информационных технологий или блок, конструкция которого обеспечивает механическое размещение модулей, которые могут содержать источники радиочастотных сигналов и обеспечивать распределение напряжений электропитания для других оборудований информационных технологий.

Примечание - Распределение электропитания между основным блоком (блоками) и модулями или другими оборудованиями информационных технологий может осуществляться по постоянному току, по переменному току или одновременно по обоим.

3.4 модуль: Часть оборудования информационных технологий, выполняющая определенную функцию и имеющая источники радиочастотных сигналов.

3.5 идентичные модули и оборудование информационных технологий; идентичные модули и ОИТ: Модули и оборудование информационных технологий, изготовленные в значительном числе по единым техническим требованиям и в пределах установленных производственных допусков.

3.6 порты связи: Порты, предназначенные для подключения оборудования информационных технологий к сетям связи.

Примечание - В качестве сетей связи могут быть использованы общественные коммутируемые сети проводной связи, цифровые сети общего пользования, локальные сети и аналогичные сети связи.

3.7 порт: Граница между оборудованием информационных технологий и внешней электромагнитной средой.

Примечание - В качестве внешней электромагнитной среды могут использоваться: зажим, разъем, клемма, стык связи и т.п.

3.8 затухание продольного перехода; ЗПП: Отношение значения общего несимметричного напряжения побочного электромагнитного излучения и наводок, возникающего на портах связи из симметричного напряжения полезного сигнала в линии связи, к значению этого симметричного напряжения сигнала при измерении в регламентированных условиях.

3.9 низковольтная распределительная электрическая сеть: Низковольтная распределительная электрическая сеть энергоснабжающей организации (электрическая сеть общего назначения) или низковольтная электрическая сеть потребителя электрической энергии, предназначенная для питания различных приемников электрической энергии в местах их размещения.

4 Общие условия испытаний

4.1 Конфигурация испытуемого оборудования

4.1.1 Конфигурация ИО, его расположение, установка и порядок включения должны соответствовать типовому применению ОИТ.

4.1.2 Соединительные кабели (нагрузки, оборудование, связанное с ИО) подключают, по крайней мере, к одному из портов ИО. В качестве оборудования, связанного с ИО, используют устройства, типичные для реальных условий применения ИО.

4.1.3 При наличии значительного числа идентичных портов ИО может потребоваться подключение дополнительных соединительных кабелей (нагрузок, образцов оборудования, связанного с ИО). Число дополнительно подключаемых кабелей (нагрузок, образцов оборудования, связанного с ИО) определяют из условия, что подключение другого кабеля не уменьшает разность между нормой и измеренным уровнем помех более чем на 2 дБ.

4.1.4 В протоколе испытаний должно быть приведено обоснование выбора конфигурации ИО и нагрузки портов.

4.1.5 Типы и длины соединительных кабелей должны соответствовать установленным в технической документации на ОИТ. Если длина кабелей может меняться, то она должна быть такой, чтобы уровень побочного электромагнитного излучения и наводок (ПЭМИН) был максимальным. Если для обеспечения соответствия нормам во время испытаний используют экранированные или специальные кабели, то в эксплуатационные документы должно быть включено соответствующее указание об использовании таких кабелей.

4.1.6 При избыточной длине кабель укладывают в связку длиной от 30 до 40 см, располагаемую в середине кабеля. Если это неосуществимо на практике из-за размеров кабеля или его жесткости, или потому, что испытания проводятся на месте установки, расположение избыточного кабеля должно быть точно отражено в протоколе испытаний. Если имеется значительное число однотипных портов связи, то кабель подключают только к одному из портов каждого типа при условии, что может быть показано отсутствие существенного влияния дополнительно подключенных кабелей на результаты испытаний.

4.1.7 Для обеспечения воспроизводимости любые результаты испытаний сопровождают детальным описанием расположения соединительных кабелей и оборудования. Если для обеспечения соответствия нормам, установленным в соответствии с требованиями технической документации на конкретный тип средства, требуются определенные условия использования ОИТ, то эти условия должны быть установлены и отражены в протоколе испытаний, например, в части длин и типов кабелей, экранирования и заземления. Эти условия должны быть включены в эксплуатационные документы.

4.1.8 Оборудование, включающее в себя большое число модулей (выдвижные панели, съемные платы, печатные платы и т.п.), при проведении испытаний комплектуют набором определенного числа модулей, типичных для реальных условий применения ИО. Число других модулей должно ограничиваться условием, что добавление другой печатной или съемной платы не приведет к уменьшению разности между нормой и измеренным уровнем ПЭМИН более чем на 2 дБ. В протоколе испытаний должно быть приведено обоснование выбора числа и типов модулей.

4.1.9 Систему, состоящую из ряда отдельных блоков, формируют так, чтобы используемая конфигурация оборудования соответствовала типовому применению ОИТ, была минимальной и характерной. В протоколе испытаний должно быть приведено обоснование выбора блоков.

4.1.10 В каждом ОИТ при испытаниях допускается использовать один модуль каждого типа. В ИО, представляющее собой систему, включают одно ОИТ каждого типа, которое может входить в возможную конфигурацию системы.

4.1.11 Оборудование, представляющее собой часть системы, распределенной на значительной площади (терминалы обработки данных, автоматизированные рабочие места операторов, автоматические телефонные станции пользователей сети связи и т.п.), которое может являться подсистемой, испытывают независимо от основного блока или системы. Распределенные сети связи, например местные сети, могут моделироваться на измерительной площадке с применением отрезков кабеля и периферийных устройств, применяемых в реальных условиях, или имитаторов сети связи, расположенных на расстояниях, при которых отсутствует увеличение измеряемого уровня ПЭМИН.

4.1.12 Результаты оценки ИО, имеющего один модуль или одно ОИТ каждого типа, могут быть применены к конфигурациям, имеющим более одного такого модуля или ОИТ, что допустимо, так как практически подтверждено, что уровни ПЭМИН при использовании идентичных модулей или идентичных ОИТ обычно не возрастают.

4.1.13 Для ИО, функционально связанного с другим ОИТ, включая оборудование, связанное с основным блоком в части распределения напряжения электропитания, используют реальное взаимодействующее ОИТ либо имитаторы, обеспечивающие условия функционирования ИО. Если ИО разработано в качестве основного блока для другого ОИТ, то может потребоваться подсоединение указанного ОИТ для обеспечения нормальных условий работы основного блока.

4.1.14 Имитатор, используемый вместо реального оборудования, должен иметь электрические и, в необходимых случаях, механические характеристики взаимодействующего ОИТ, особенно в части радиочастотных сигналов и полных сопротивлений, что позволяет считать результаты измерений для отдельного ОИТ справедливыми для системы при объединении с другим аналогичным ОИТ, включая оборудование, произведенное и испытанное различными изготовителями.

4.1.15 Сборки изготавливаемых отдельно печатных плат, используемых для расширения возможности различных основных блоков ОИТ (например интерфейсы цифровых сетей связи, центральный процессор, платы адаптеров и т.п.), испытывают при их установке, по крайней мере, в одном характерном основном блоке по выбору изготовителя сборок, что позволяет гарантировать соответствие сборок элементам основных блоков ОИТ, в которых предполагается установить эти сборки. Основной блок должен быть типичным образцом изготовляемой продукции.

4.2 Функционирование испытуемого оборудования

4.2.1 ИО должно функционировать при напряжении электропитания, равном номинальному или находящемся в установленных для ИО пределах, и при типовой нагрузке (механической или электрической), для которой ИО было сконструировано. При испытаниях применяют, по возможности, реальные нагрузки. При использовании имитатора он должен представлять реальную нагрузку в отношении радиочастотных и функциональных характеристик.

4.2.2 Испытательные программы или другие средства проверки ИО должны обеспечивать испытания различных элементов системы так, чтобы были обнаружены все ПЭМИН, создаваемые ОИТ. Например, режимы функционирования дисководов и лентопротяжных устройств компьютерной системы при испытаниях должны включать в себя следующую последовательность: считывание - запись - стирание - и предусматривать адресование к различным участкам памяти. При испытаниях должны быть выполнены все виды механических действий, предусмотренных технической документацией на ОИТ.

4.2.3 В начале испытаний определяют частоту, на которой наблюдаются наибольшие ПЭМИН по отношению к норме, при типичных конфигурациях системы в обычных режимах функционирования ИО и характерных положениях соединительных кабелей. Определение частот, на которых уровни ПЭМИН являются максимальными по отношению к норме, проводят измерением уровней ПЭМИН на ряде основных частот с тем, чтобы удостовериться в выборе наиболее вероятных частот, соответствующих максимальным уровням ПЭМИН, при условии, что установлены соответствующие положения соединительных кабелей, конфигурация системы и режимы функционирования ИО.

4.2.4 Для проведения начальных испытаний оборудование размещают и расстояния между испытуемым оборудованием и оборудованием, связанным с ИО (периферийными устройствами), устанавливают в соответствии с рисунками 1 - 14.

Примечание - Объем над землей должен быть свободным от отражающих объектов.

Рисунок 1 - Размеры рабочей зоны измерительной площадки

Примечание - Внутри объема, ограниченного на поверхности земли линией, указанной на рисунке, а по высоте - горизонтальной плоскостью, расположенной на высоте не менее 3 м над самым высоким элементом измерительной антенны или ИО, не должно быть отражающего объекта.

Рисунок 2 - Минимальные размеры измерительной площадки

Примечания

1 D = d + 2 м, где d - максимальный размер ИО;

2 W = а + 2 м, где а - максимальный размер измерительной антенны;

3 L = 3 или 10 м.

Рисунок 3 - Минимальный размер металлической пластины заземления

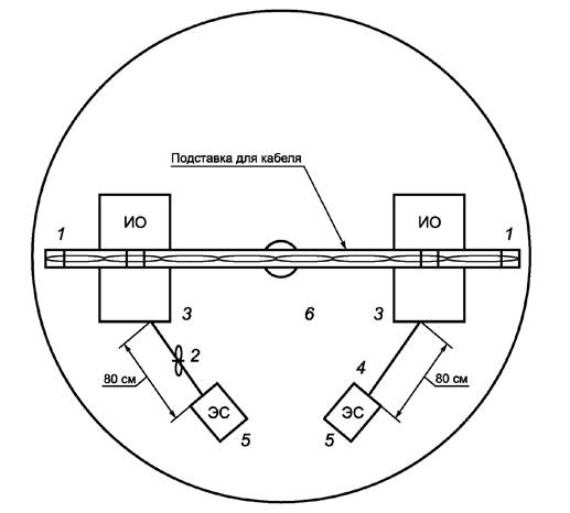
ЭС - V-образный эквивалент сети; ИО - испытуемое оборудование; ОС - оборудование, связанное с ИО;
ЭПСС - эквивалент полного сопротивления сети.

1 - кабели, которые висят на расстоянии менее 40 см от горизонтальной пластины заземления и не могут быть укорочены
до подходящей длины; укладывают в связки длиной от 30 до 40 см; 2 - излишняя часть сетевого кабеля; укладывают в связку,
расположенную в центральной части, или сетевой кабель укорачивают; 3 - ИО подсоединяют к одному из применяемых
ЭС. Все применяемые ЭС и ЭПСС подключают к вертикальной пластине заземления либо к металлической стене помещения
(см. рисунки
5 и 6). При этом возможны следующие варианты подключений: а) все другие блоки системы питают через
второй ЭС. Для подключения нескольких сетевых кабелей используют разветвитель, б) ЭС и ЭПСС размещают на расстоянии
80 см от ИО и не менее 80 см от других блоков и металлических пластин, в) сетевые и сигнальные кабели располагают
по возможности на полную длину на расстоянии 40 см от вертикальной пластины заземления; 4 - кабели и устройства;
управляемые вручную (например, клавиатуры, мыши и т.п.), располагают, как при обычном применении; 5 - периферийные
устройства; размещают на расстоянии 10 см друг от друга и от устройства управления, за исключением монитора, который
в соответствии с типовым применением располагают непосредственно на устройстве управления; 6 - сигнальный кабель,
предназначенный для подключения к оборудованию, связанному с основным; 7 - концы сигнальных кабелей, которые не
подключены к оборудованию, связанному с основным; нагружают при необходимости на соответствующие сопротивления
нагрузки; 8 - токосъемник; при использовании размещают на расстоянии 10 см от ЭПСС

Рисунок 4 - Расположение настольного оборудования при испытаниях (измерение кондуктивных ПЭМИН)

1 - кабели, которые висят на расстоянии менее 40 см от горизонтальной пластины заземления и не могут быть укорочены до
подходящей длины; укладывают в связки длиной от 30 до 40 см; 2 - лишняя часть сетевого кабеля; укладывают в связку, расположенную
в центральной части, или сетевой кабель укорачивают; 3 - ИО; подсоединяют к одному из применяемых ЭС. Все применяемые
ЭС и ЭПСС подключают к горизонтальной пластине заземления (см. рисунки
4 и 7). При этом возможны следующие варианты
подключений: а) все другие блоки системы питают через второй ЭС. Для нескольких сетевых кабелей используют разветвитель,
б) ЭС и ЭПСС размещают на расстоянии 80 см от ИО и не менее 80 см от других блоков и металлических пластин, в) сетевые и
сигнальные кабели располагают по возможности на полную длину на расстоянии 40 см от вертикальной пластины заземления;
4 - кабели и устройства, управляемые вручную (например, клавиатуры, мыши и т.п.), располагают, как при обычном применении;
5 - периферийные устройства; размещают на расстоянии 10 см друг от друга и от устройства управления, за исключением
монитора, который в соответствии с типовым применением располагают непосредственно на устройстве управления; 6 - сигнальный
кабель, предназначенный для подключения к оборудованию, связанному с основным; 7 - концы сигнальных кабелей, которые
не подключены к оборудованию, связанному с основным; нагружают при необходимости на соответствующее сопротивление
нагрузки; 8 - токосъемник; при использовании размещают на расстоянии 10 см от ЭПСС

Рисунок 5 - Альтернативное расположение настольного оборудования при испытаниях
(измерение кондуктивных ПЭМИН)

Рисунок 6 - Альтернативное (вид сверху) расположение настольного оборудования при испытаниях
(измерение кондуктивных ПЭМИН)

1 - кабели, которые висят на расстоянии менее 40 см от горизонтальной пластины заземления и не могут быть укорочены
до подходящей длины; укладывают в связки длиной от 30 до 40 см; 2 - лишняя часть сетевого кабеля; укладывают в связку,
расположенную в центральной части, или сетевой кабель укорачивают; 3 - ИО; подсоединяют к одному из применяемых
ЭС. Все применяемые ЭС и ЭПСС подключают к горизонтальной пластине заземления (см. рисунок
5). При этом возможны
следующие варианты подключений: а) все другие блоки системы питают через второй ЭС. Для нескольких сетевых кабелей
используют разветвитель, б) ЭС и ЭПСС размещают на расстоянии 80 см от ИО и не менее 80 см от других блоков и
металлических пластин, в) сетевые и сигнальные кабели располагают по возможности на полную длину на расстоянии 40 см
от горизонтальной пластины заземления; 4 - кабели и устройства, управляемые вручную (например, клавиатуры, мыши и
т.п.); располагают, как при обычном применении; 5 - периферийные устройства; размещают на расстоянии 10 см друг от друга
и от устройства управления, за исключением монитора, который в соответствии с типовым применением располагают непосредственно
на устройстве управления; 6 - сигнальный кабель, предназначенный для подключения к оборудованию, связанному с
основным; концы сигнальных кабелей, которые не подключены к оборудованию, связанному с основным; нагружают, при
необходимости, на соответствующее сопротивление нагрузки; 7 - токосъемник; при использовании размещают на расстоянии 10 см от ЭПСС

Рисунок 7 - Расположение настольного оборудования при испытаниях
(измерение излучаемых ПЭМИН на измерительной площадке)

1 - кабели; если кабели не могут быть укорочены до подходящей длины, то их излишние части укладывают в связки длиной от
30 до 40 см. Если сложить связку не представляется возможным, то кабели укладывают кольцами; 2 - лишняя часть сетевого
кабеля; укладывают в связку, расположенную в его центральной части, или сетевой кабель укорачивают; 3 - концы сигнальных
кабелей, не подсоединенных к периферийным устройствам; нагружают, при необходимости, на соответствующее сопротивление
нагрузки; 4 - ИО и кабели; изолируют от горизонтальной пластины заземления с использованием прокладки толщиной не более
12 мм; 5 - ИО; подсоединяют к одному из применяемых ЭС. ЭС могут быть расположены над горизонтальной пластиной заземления
или непосредственно под указанной пластиной; 6 - все другое оборудование; питают от второго ЭС или дополнительных
ЭС; 7 - токосъемник; при использовании его размещают на расстоянии 10 см от ЭПСС (или характерного оконечного устройства)

Рисунок 8 - Расположение напольного оборудования при испытаниях (измерение кондуктивных ПЭМИН)

1 - кабели; кабели, которые висят на расстоянии менее 40 см от горизонтальной пластины заземления и не могут быть укорочены
до подходящей длины, укладывают в связки длиной от 30 до 40 см; 2 - лишняя часть сетевого кабеля; укладывают в связку,
расположенную в центральной части, или сетевой кабель укорачивают; 3 - ИО; подключают к одному из применяемых ЭС.
Применяемые ЭС подсоединяют к вертикальной пластине заземления. При этом возможны следующие варианты подключений:
а) все другое оборудование питают от одного или нескольких дополнительных ЭС, б) ЭС размещают на расстоянии 80 см от ИО
и не менее 80 см от других блоков и металлических пластин;
4 - ИО и кабели; изолируют от горизонтальной пластины заземления; 5 - кабели и устройства, управляемые вручную (например
клавиатуры, мыши и т.п.); располагают, как при обычном применении; 6 - сигнальный кабель; к напольному блоку его опускают
перпендикулярно к пластине заземления, его лишнюю часть укладывают в связку. Кабели, которые не достигают пластины
заземления, опускают до высоты разъема напольного блока или до 40 см в зависимости от того, что ниже;
7 - настольная часть оборудования; располагают в соответствии с рисунком
4 или 7

Рисунок 9 - Расположение напольного и настольного оборудования при испытаниях
(измерение кондуктивных ПЭМИН)

1 - кабели; кабели, которые висят на расстоянии менее 40 см от горизонтальной пластины заземления и не могут быть укорочены
до подходящей длины, укладывают в связки длиной от 30 до 40 см; 2 - концы сигнальных кабелей, не подсоединенных к
периферийному устройству; нагружают при необходимости на соответствующее сопротивление нагрузки; 3 - сетевая разветвительная
коробка (коробки); монтируют заподлицо с горизонтальной пластиной заземления и соединяют с ней. При использовании
ЭС его устанавливают под горизонтальной пластиной заземления; 4 - кабели и устройства, управляемые вручную (например,
клавиатуры, мыши и т.п.); располагают, как при обычном применении; 5 - периферийные устройства; размещают на расстоянии
10 см друг от друга и от устройства управления, за исключением монитора, который в соответствии с типовым применением
располагают непосредственно на устройстве управления; 6 - сетевые кабели; спускают до пола и затем прокладывают к
разветвительной коробке. Удлинительные сетевые кабели не используют; 7 - концы сигнальных кабелей, которые не подключены к
оборудованию, связанному с основным; нагружают при необходимости на соответствующее сопротивление нагрузки

Рисунок 10 - Расположение настольного оборудования при испытаниях (измерение излучаемых ПЭМИН)

1 - кабели; кабели, которые висят на расстоянии менее 40 см от горизонтальной заземляющей пластины заземления и не могут
быть укорочены до подходящей длины, укладывают в связки длиной от 30 до 40 см; 2 - лишняя часть сетевого кабеля; укладывают
в связку, расположенную в центральной части, или сетевой кабель укорачивают; 3 - концы сигнальных кабелей, не
подсоединенных к периферийному устройству, нагружают при необходимости на соответствующее сопротивление нагрузки; 4 - ИО и
кабели; их изолируют от горизонтальной пластины заземления; 5 - сетевая разветвительная коробка (коробки); монтируют
заподлицо с горизонтальной пластиной заземления и соединяют с ней. При использовании ЭС его устанавливают под горизонтальной
пластиной заземления; 6 - сетевые и сигнальные кабели; опускают на пол. Удлинительные сетевые кабели не используют

Рисунок 11 - Расположение напольного оборудования при испытаниях (измерение излучаемых ПЭМИН)

1 - кабели; кабели, которые висят на расстоянии менее 40 см от горизонтальной пластины заземления и не могут быть
укорочены до подходящей длины, укладывают в связки длиной от 30 до 40 см; 2 - лишние части сигнальных кабелей, не
подсоединенных к периферийному устройству; укладывают в связки длиной 30 - 40 см в центре кабеля. Концы сигнальных кабелей,
не подключенных к периферийным устройствам, нагружают при необходимости на соответствующее сопротивление нагрузки;
3 - сетевая разветвительная коробка (коробки); монтируют заподлицо с горизонтальной пластиной заземления и соединяют с
ней. При использовании ЭС его устанавливают под горизонтальной металлической пластиной заземления; 4 - ИО и кабели;
изолируют от горизонтальной пластины заземления; 5 - кабели и устройства, управляемые вручную (например, клавиатуры, мыши
и т.п.); располагают, как при обычном применении; 6 - сигнальный кабель; к напольному блоку его опускают перпендикулярно к
пластине заземления. Кабель укорачивают до подходящей длины или его излишнюю часть укладывают в связку. Кабели, которые
не достигают пластины заземления, опускают до высоты разъема напольного блока или до 40 см в зависимости оттого, что ниже;
7 - сетевые и сигнальные кабели; их опускают до пола. Удлинительные сетевые кабели не используют

Рисунок 12 - Расположение напольного и настольного оборудования при испытаниях
(измерение излучаемых ПЭМИН)

1 - система, состоящая из типовых элементов; в этом случае допускается проводить испытания только с одним вертикальным
стояком; 2 - лишняя часть сетевого кабеля; укладывают в связку, расположенную в центральной части, или кабель укорачивают;
3 - ИО и кабели; их изолируют от горизонтальной заземляющей пластины. Расположение элементов оборудования при испытаниях
должно соответствовать требованиям технической документации на ИО и типовым условиям его применения;
4 - испытуемый сетевой кабель; подключают к одному из применяемых ЭС. Все другие сетевые кабели системы питают через другие
ЭС, при этом используют разветвитель с большим числом зажимов; 5 - V-образные эквиваленты сети при измерениях кондуктивных
ПЭМИН располагают на пластине заземления или непосредственно под ней и соединяют с пластиной заземления. При
измерениях излучаемых ПЭМИН V-образные эквиваленты сети при их использовании располагают под пластиной заземления.
Штепсельные разъемы V-образных эквивалентов сети должны быть заподлицо с пластиной заземления; 6 - сигнальные кабели
для подключения удаленного периферийного или вспомогательного оборудования. К концам указанных кабелей подключают при
необходимости соответствующие нагрузки; 7 - расположение оборудования для испытаний; при таком расположении учитывают
практический опыт его установки на месте эксплуатации

Рисунок 13 - Расположение напольного оборудования с воздушными кабелями при испытаниях (вид сбоку)

1 - система, состоящая из типовых элементов; в этом случае допускается проводить испытания только с одним вертикальным
стояком; 2 - лишняя часть сетевого кабеля; укладывают в связку, расположенную в центральной части, или кабель укорачивают;
3 - ИО и кабели; их изолируют от горизонтальной заземляющей пластины. Расположение элементов оборудования при
испытаниях должно соответствовать требованиям технической документации на ИО и типовым условиям его применения;
4 - испытуемый сетевой кабель; подключают к одному из применяемых ЭС. Все другие сетевые кабели системы питают через другие
ЭС, при этом используют разветвитель с большим числом зажимов; 5 - расположение V-образных эквивалентов сети при измерениях
кондуктивных ПЭМИН на пластине заземления или непосредственно под ней и соединяют с пластиной заземления. При
измерениях излучаемых ПЭМИН V-образные эквиваленты сети при их использовании располагают под пластиной заземления.
Штепсельные разъемы V-образных эквивалентов сети должны быть заподлицо с пластиной заземления; 6 - расположение
оборудования для испытаний; при таком расположении учитывают практический опыт его установки на месте эксплуатации

Рисунок 14 - Расположение напольного оборудования с воздушными кабелями при испытаниях (вид сверху)

4.2.5 Окончательные измерения кондуктивных ПЭМИН проводят в соответствии с разделом 5, излучаемых ПЭМИН - в соответствии с разделом 6.

4.2.6 Конфигурация измерительной площадки должна позволять отличать ПЭМИН, создаваемые ИО, от посторонних радиопомех. Пригодность площадки определяют измерением уровня посторонних радиопомех при неработающем ИО, при этом уровень посторонних радиопомех должен быть, по крайней мере, на 6 дБ ниже норм, на соответствие которым проводят испытания. Измерительная площадка должна быть аттестована в соответствии с ГОСТ Р 8.568 и соответствовать требованиям настоящего стандарта.

4.2.7 Если сумма уровней посторонних радиопомех и ПЭМИН от ИО не превышает нормы, на соответствие которой проводят испытания, то допускается не снижать уровень посторонних радиопомех на 6 дБ. В этом случае считают, что ИО соответствуют норме ПЭМИН. Если сумма уровней посторонних радиопомех и ПЭМИН от ИО превышает норму, то рекомендуется считать ИО соответствующим норме, если на частотах превышения выполняются два условия:

1) уровень посторонних радиопомех не менее чем на 6 дБ ниже суммарного уровня посторонних радиопомехи ПЭМИН;

2) уровень посторонних радиопомех не менее чем на 4,8 дБ ниже нормы.

4.2.8 Размещение ИО относительно пластины заземления должно быть эквивалентным размещению ИО в условиях применения, т. е. напольное оборудование размещают на пластине заземления или на изолирующем (например, деревянном) полу вблизи от пластины заземления. Портативное (переносное) оборудование размещают на неметаллическом столе. Кабели электропитания и сигнальные кабели располагают относительно пластины заземления в соответствии с условиями применения ОИТ. Пластина заземления должна быть металлической.

Требования к пластине заземления приведены в 5.3 применительно к измерениям кондуктивных ПЭМИН, в 6.3.4 - применительно к измерениям излучаемых ПЭМИН (см. также рисунки 4 - 14).

5 Методы измерения кондуктивных побочных электромагнитных излучений и наводок

5.1 Основные положения

Измерения проводят с помощью измерителей ПЭМИН с квазипиковым детектором и детектором средних значений. Оба детектора устанавливают в одном измерителе ПЭМИН.

Рекомендуется проводить измерения кондуктивных ПЭМИН в экранированном помещении.

Для уменьшения времени испытаний вместо измерителя ПЭМИН с детектором средних значений или квазипиковым детектором допускается применять измеритель ПЭМИН с детектором пиковых значений. В спорных случаях при испытаниях ОИТ на соответствие нормам для квазипиковых значений отдают преимущество измерителю ПЭМИН с квазипиковым детектором, а при испытаниях на соответствие нормам для средних значений - измерителю ПЭМИН с детектором средних значений.

Используемые при испытаниях средства измерений должны иметь действующее свидетельство о поверке, а испытательное оборудование - действующий аттестат.

5.2 Измерение побочных электромагнитных излучений и наводок на сетевых зажимах

5.2.1 При измерении кондуктивных ПЭМИН на сетевых зажимах используют эквивалент сети электропитания, обеспечивающий определенное значение полного сопротивления на высоких частотах в точке измерений на вилке сетевого кабеля, а также развязку ИО от радиопомех в сети питания. Используют V-образный эквивалент сети типа 1 с модулем полного входного сопротивления 50 Ом/50 мкГн в соответствии с ГОСТ Р 51319 (далее - эквивалент сети).

5.2.2 ИО подсоединяют к эквиваленту сети и размещают так, чтобы расстояние между внешней поверхностью ИО и эквивалентом сети было 0,8 м.

Если длина штатного гибкого сетевого кабеля ИО превышает 1 м, то часть его укладывают в связку, длина которой не должна превышать 0,4 м.

Если тип сетевого кабеля определен в технической документации на ИО, то для соединения ИО с эквивалентом сети используют кабель данного типа длиной 1 м.

5.2.3 Кондуктивные ПЭМИН измеряют между зажимом фазного провода и эталонным заземлением измерительной схемы (зажимом «Земля» эквивалента сети) и между зажимом нейтрального провода и эталонным заземлением. Оба измеренных значения должны соответствовать заданным нормам.

Отдельные провода защитного заземления (при их наличии) подключают к эталонному заземлению. Длина проводов должна быть 1 м, и они должны быть параллельно сетевому кабелю на расстоянии не более 0,1 м от него (если иные требования не установлены в технической документации на ИО).

Другие провода заземления (применяемые, например, для целей обеспечения ЭМС), которые в соответствии с технической документацией на ИО должны подключаться к тому же зажиму, что и провод защитного заземления, также подключают к эталонному заземлению.

5.2.4 Проведение измерений на некоторых частотах может оказаться невозможным из-за кондуктивных радиопомех, связанных с радиочастотными электромагнитными полями местных радиовещательных передатчиков. В этом случае между эквивалентом сети и сетью электропитания устанавливают дополнительный высокочастотный фильтр или измерения проводят в экранированном помещении. Дополнительный высокочастотный фильтр должен быть оборудован металлическим экраном, который соединяют с эталонным заземлением. Требования к полному сопротивлению эквивалента сети на частоте измерений должны выполняться при подключенном дополнительном высокочастотном фильтре.

5.2.5 Если ИО представляет собой группу ОИТ с одним или несколькими основными блоками, причем каждое ОИТ имеет отдельный кабель, точку подключения эквивалента сети определяют, применяя следующие правила:

а) каждый кабель питания, заканчивающийся вилкой стандартной конструкции, испытывают отдельно;

б) кабели питания или зажимы, которые в соответствии с технической документацией на ИО не определены для подключения через основной блок, испытывают отдельно;

в) кабели питания или зажимы, которые в соответствии с технической документацией на ИО определены для подключения к основному блоку или другому питающему оборудованию, подключают к указанному основному блоку (питающему оборудованию). Зажимы или кабели питания основного блока или питающего оборудования подключают к эквиваленту сети и проводят испытания;

г) если в соответствии с технической документацией на ИО предусмотрено специальное электрическое соединение, необходимые технические средства для его осуществления при испытаниях должны поставляться изготовителем;

д) при испытании оборудования, имеющего несколько сетевых кабелей, не подвергаемых испытанию, его подключают к разветвителю, который, в свою очередь, подключают к дополнительному эквиваленту сети.

5.3 Пластина заземления

5.3.1 Настольное ИО располагают на расстоянии 0,4 м от вертикальной металлической пластины заземления размерами не менее 2×2 м и на расстоянии не менее 0,8 м от любой другой металлической поверхности или другой пластины заземления, не являющейся частью ИО. Если измерения проводят в экранированном помещении, то расстояние 0,4 м относится к одной из стен помещения либо к горизонтальной пластине заземления. Если измерения проводят на открытой измерительной площадке, то расстояние до горизонтальной пластины заземления также должно быть 0,4 м.

5.3.2 Напольное ИО размещают на горизонтальной пластине заземления, при этом не должно быть электрического контакта между ИО и пластиной заземления, но соприкосновения возможны. Пластину заземления может заменить металлический пол. Горизонтальная пластина заземления должна выступать, по крайней мере, на 0,5 м за контуры ИО, и ее минимальный размер должен быть 2×2 м. Зажим «Земля» эквивалента сети подключают к пластине заземления с помощью проводника минимально возможной длины.

5.4 Установка оборудования

5.4.1 ИО должно быть размещено и функционировать в соответствии с требованиями раздела 6. Рабочее место для испытаний организуют в соответствии с рисунками 4 - 9 для настольного, напольного и комбинированного (настольного и напольного) оборудования. Рабочее место для испытаний напольного оборудования с воздушными кабелями показано на рисунках 13 и 14.

5.4.2 Настольные ИО располагают на неметаллическом столе высотой 80 см над горизонтальной пластиной заземления и на расстоянии 40 см от вертикальной пластины заземления, соединенной с горизонтальной пластиной заземления (см. рисунки 4 - 6). В случае, если ИО располагают на высоте 40 см над горизонтальной пластиной заземления (альтернативное рабочее место для испытаний см. на рисунке 7), это отражают в протоколе испытаний.

5.4.3 ИО, предназначенное как для настольного, так и для напольного применения, испытывают как настольное оборудование, за исключением случая, когда типовым применением ИО является напольное. В этом случае ИО испытывают как напольное. ИО, предназначенное для работы при настенном монтаже, испытывают как настольное, при этом расположение ИО должно соответствовать типовому применению.

5.4.4 Порт электропитания подключают к эквиваленту сети с использованием штатного сетевого кабеля. Порт связи подключают к эквиваленту полного сопротивления сети с использованием сигнального кабеля.

5.5 Измерение побочных электромагнитных излучений и наводок на портах связи

5.5.1 Целью испытаний является измерение напряжения и силы тока ПЭМИН на портах связи ИО. Полезный сигнал может вносить существенный вклад в уровни указанных ПЭМИН. ПЭМИН, создаваемые полезным сигналом, могут контролироваться при проектировании оборудования связи (передачи данных) с учетом требований настоящего стандарта.

5.5.2 Методы испытаний на соответствие нормам

5.5.2.1 Метод 1

Измерения проводят на портах связи с использованием эквивалента полного сопротивления сети (ЭПСС) с затуханием продольного перехода в соответствии с 5.5.3.4, пункт в), перечисление 1).

Изготовитель должен показать, что поставляемое оборудование при использовании кабелей, предусмотренных технической документацией на ОИТ, соответствует нормам ПЭМИН, установленным в соответствии с требованиями технической документации.

В спорных случаях в соответствии с ГОСТ 30805.22 предпочтение отдают методу измерений в соответствии с 5.5.3.4 для портов, предназначенных для подключения кабелей категорий 3 и 5. Для портов, предназначенных для подключения кабелей категории 5, измерения проводят с использованием ЭПСС с затуханием продольного перехода в соответствии с 5.5.3.4, пункт в), перечисление 3).

5.5.2.2 Метод 2

Для портов, предназначенных для подключения кабелей категории 3, измерения проводят с использованием ЭПСС с затуханием продольного перехода в соответствии с 5.5.3.4, пункт в), перечисление 2).

Для портов, предназначенных для подключения кабелей категории 5, измерения проводят с использованием ЭПСС с затуханием продольного перехода в соответствии с 5.5.3.4, пункт в), перечисление 3).

5.5.3 Эквивалент полного сопротивления сети

5.5.3.1 Измерение общего несимметричного напряжения или силы тока ПЭМИН на портах связи для неэкранированных симметричных пар проводят при подключении порта связи к ЭПСС с помощью кабеля; ЭПСС, таким образом, должен определять полное несимметричное сопротивление оборудования, связанного с ИО, со стороны порта связи. ЭПСС должен обеспечить нормальное функционирование ИО при подключении любого оборудования, связанного с основным, или нагрузки, необходимой для проверки ИО.

5.5.3.2 Создание ЭПСС, пригодного для использования с различными портами связи, не представляется возможным, так как его конструкция зависит от характеристик испытуемого порта связи. При отсутствии для экранированных и несимметричных кабелей подходящих ЭПСС допускается подключение таких кабелей непосредственно к вспомогательному оборудованию, связанному с основным, или к имитатору. В протоколе испытаний должны быть приведены сведения о реальной нагрузке, в том числе измеренные значения полного общего несимметричного сопротивления.

5.5.3.3 При использовании токосъемника должна существовать возможность измерений без отрыва кабеля от его подключений. Токосъемник должен иметь однородную частотную характеристику без резонансов и работать без насыщения рабочими токами в первичной обмотке. Токосъемник устанавливают на кабеле на расстоянии 0,1 м от ЭПСС. Вносимое полное сопротивление токосъемника должно быть не более 1 Ом (см. ГОСТ Р 51319).

5.5.3.4 ЭПСС должен иметь следующие характеристики:

а) модуль полного входного общего несимметричного сопротивления в полосе частот от 0,15 до 30 МГц должен быть равен (150 ± 20) Ом, фазовый угол 0° ± 20°;

б) ЭПСС должен обеспечивать достаточную развязку от ПЭМИН, создаваемых вспомогательным оборудованием, или от нагрузки, подключенной к испытуемому порту связи. Затухание для общих несимметричных напряжений и токов ПЭМИН от вспомогательного оборудования должно быть таким, чтобы измеренный уровень этих ПЭМИН был не менее чем на 10 дБ ниже соответствующей нормы ПЭМИН.

Рекомендуемые значения развязки составляют:

- от 35 до 55 дБ при линейном возрастании с логарифмом частоты в полосе частот от 0,15 до 1,5 МГц;

- более 55 дБ в полосе частот от 1,5 до 30 МГц;

в) значение развязки определяют на порте ЭПСС, предназначенном для подключения ИО:

1) для ЭПСС, используемых при проведении испытаний методом 1, затухание продольного перехода должно составлять:

- в полосе частот от 0,15 до 1,5 МГц (80 ± 3) дБ;

- при линейном уменьшении с логарифмом частоты в полосе частот от 1,5 до 30 МГц от (80 ± 3) дБ до (55 ± 3) дБ;

2) для ЭПСС, используемых при проведении испытаний методом 2 на портах для подключения кабелей категории 3, затухание продольного перехода должно быть:

- в полосе частот от 0,15 до 1,5 МГц (50 ± 3) дБ;

- при линейном уменьшении с логарифмом частоты в полосе частот от 1,5 до 30 МГц от (50 ± 3) до (25 ± 3) дБ;

3) для ЭПСС, используемых при проведении испытаний методом 2 на портах для подключения кабелей категории 5, затухание продольного перехода должно быть:

- в полосе частот от 0,15 до 1,5 МГц (60 ± 3) дБ;

- при линейном уменьшении с логарифмом частоты в полосе частот от 1,5 до 30 МГц от (60 ± 3) дБ до (35 ± 3) дБ.

Приведенные в пункте в), перечисления 2) и 3), требования к затуханию продольного перехода в зависимости от частоты соответствуют типичным сетям связи при их установке в характерной окружающей обстановке;

г) искажения, обусловленные затуханием, или другие изменения сигналов в полосе частот полезного сигнала, вызванные присутствием ЭПСС, не должны существенно влиять на работу ИО;

д) если у ЭПСС имеется выход высокочастотного напряжения (измерительный выход), то коэффициент калибровки напряжения должен быть определен с погрешностью ±1 дБ. Коэффициент калибровки напряжения определяется как отношение между общим несимметричным напряжением на выходе ЭПСС (зажимы для подключения ИО) и напряжением на измерительном выходе (разъем для подключения измерительного приемника). Выход ЭПСС должен быть нагружен на 50 Ом. Теоретически коэффициент калибровки определяют по формуле

20 lg (150/50) = 9,5 дБ.

(1)

5.5.4 Измерения на портах связи

5.5.4.1 ИО устанавливают в соответствии с рисунками 4 - 14, относящимися к настольному, напольному и комбинированному (напольному и настольному) оборудованию. Для проведения достоверных измерений ПЭМИН, представленных при различных вариантах использования локальных сетей, необходимо создать условие использования локальной сети с превышением 10 % и поддерживать этот уровень в течение времени не менее 250 мс. Для имитации реальных условий обмена данными при испытаниях необходимо предусмотреть передачу в локальной сети псевдослучайных сообщений (например, архивированных и зашифрованных файлов) и периодических сообщений (например, несжатых графических файлов, данных памяти). Если локальная сеть поддерживает передачу в течение периодов молчания (пауз), измерения проводят также во время периодов молчания.

5.5.4.2 Измерение напряжений на симметричных портах связи, предназначенных для подключения неэкранированных симметричных пар.

При проведении измерений напряжения ПЭМИН на портах связи используют ЭПСС, обеспечивающий подключение к измерителю ПЭМИН, удовлетворяющий требованиям к полному общему несимметричному сопротивлению.

Если измерения напряжения ПЭМИН проводят на одной неэкранированной симметричной паре, то используют соответствующий для двух проводов ЭПСС. При измерениях на неэкранированных кабелях, состоящих из двух симметричных пар, используют соответствующий для четырех проводов ЭПСС.

5.6 Регистрация результатов измерений

Регистрируют наибольшее значение уровней ПЭМИН и частот измерений, по крайней мере, шести ПЭМИН для каждого сетевого зажима и каждого порта связи, значения, превышающие уровень (L - 20) дБ, где L - норма в логарифмических единицах.

6 Методы измерения побочных электромагнитных излучений и наводок

6.1 Основные положения

6.1.1 Измерения проводят измерителем ПЭМИН с квазипиковым детектором в полосе частот от 200 Гц до 37,5 ГГц.

6.1.2 Для уменьшения времени испытаний вместо измерителя ПЭМИН с квазипиковым детектором допускается применять измеритель ПЭМИН с пиковым детектором. В спорных случаях преимуществом обладают результаты измерений квазипиковых значений ПЭМИН.

6.1.3 Измерители ПЭМИН с квазипиковым детектором и с пиковым детектором должны соответствовать ГОСТ Р 53112.

6.2 Антенна

6.2.1 Антенны должны соответствовать требованиям ГОСТ Р 53112-2008 (подраздел 4.5).

На частотах до 30 МГц для измерения электрической составляющей напряженности электромагнитного поля могут использоваться и другие антенны, но при условии, что полученные результаты могут коррелировать с результатами, полученными для симметричной дипольной антенны с приемлемой степенью точности.

6.2.2 Измерение излучаемого поля проводят с применением антенны, устанавливаемой так, чтобы расстояние между проекциями на землю центра антенны и ближайшей к антенне границы ИО соответствовало измерительному расстоянию 10 м.

Граница ИО определяется воображаемой линией, описывающей простую геометрическую фигуру, окружающую ИО. Все соединительные и внутрисистемные кабели ОИТ располагают внутри этой линии.

Если невозможно проводить на расстоянии 10 м из-за высоких уровней посторонних радиопомех или по другим причинам, то испытания ОИТ проводят на расстоянии 3 м. Для приведения результатов измерения напряженности поля ПЭМИН к определенному расстоянию используют коэффициент обратной пропорциональности 20 дБ на декаду изменения измерительного расстояния. Следует также протоколировать конфигурацию ИО и антенны при измерениях на расстоянии 3 м на частотах около 30 МГц из-за возможных влияний ближнего поля при испытании крупногабаритного оборудования.

6.2.3 Ввиду значительной погрешности измерений напряженности поля ПЭМИН при измерительном расстоянии 3 м допускается использовать результаты измерений на данном расстоянии для подтверждения соответствия ОИТ нормам, установленным при сертификационных и приемочных испытаниях. Погрешность E вычисляют по формуле:

E = (Eизм - 10),

(2)

только в том случае, если измеренное значение напряженности поля Еизм, приведенное к расстоянию 10 м (E), не менее чем на 8 дБ меньше нормы. Если это условие не выполняется, измерения должны быть повторены при измерительном расстоянии 10 м.

6.2.4 Высоту антенны над пластиной заземления увеличивают от 1 до 4 м до получения максимального отсчета измерительного прибора на каждой частоте измерений при измерительном расстоянии 10 м. При измерительном расстоянии 3 м высоту антенны увеличивают от 1 до 2 м.

6.2.5 Азимут антенны по отношению к ИО изменяют во время испытаний для выявления максимальных значений по напряженности поля ПЭМИН. Допускается вращение ИО. Если на практике это невозможно, то ИО оставляют неподвижным и измерения проводят вокруг ИО.

6.2.6 Для выявления максимальных значений по напряженности поля ПЭМИН во время измерений изменяют также поляризацию антенны (любая линейная поляризация с изменяющимся наклоном направления поляризации).

6.3 Измерительная площадка

6.3.1 Измерительную площадку поверяют измерением неравномерности амплитудного распределения электромагнитного поля в ее рабочей зоне.

Расстояние между приемной и передающей антеннами должно быть таким же, как при измерениях напряженности поля ПЭМИН во время испытаний.

6.3.2 На частотах до 1000 МГц значение неравномерности не должно превышать ±4 дБ при изменении положения приемной антенны относительно начального положения на расстояние 1 м (по вертикали и горизонтали) при неизменном положении передающей антенны.

На частотах свыше 1000 МГц значение неравномерности не должно превышать ±3 дБ при изменении положения приемной антенны относительно начального положения на расстояние 1 м при сонаправленности с передающей антенной.

6.3.3 Измерительная площадка должна быть плоской, свободной от навесных проводов и близко расположенных отражающих конструкций. Площадка должна быть достаточно большой, чтобы обеспечить размещение антенны на определенном расстоянии и гарантировать соответствующий пространственный разнос между антенной, испытуемым оборудованием и отражающими конструкциями. Под отражающими конструкциями понимают конструкции в основном из проводящего материала.

Открытая измерительная площадка должна быть оборудована горизонтальной пластиной заземления в соответствии с 6.3.4. Схема открытой измерительной площадки приведена на рисунке 1.

Схема минимальной измерительной площадки приведена на рисунке 2.

Открытая измерительная площадка должна соответствовать требованиям 6.3.2.

6.3.4 Пластина заземления должна, по крайней мере, на 1 м выступать за контур ИО и наибольшей измерительной антенны и покрывать внутреннее пространство между испытуемым оборудованием и антенной, которая представлена на рисунке 3.

Она должна изготавливаться из металла, при этом размеры отверстий и зазоров не должны превышать одной десятой длины волны, соответствующей наивысшей частоте измерений. Если требования к затуханию измерительной площадки не выполняются, применяют пластину заземления большего размера.

6.3.5 В случае если измерительная площадка не соответствует требованиям 6.3.2 в части неравномерности амплитудного распределения и 4.2.6 и 4.2.7 - в части уровня сторонних радиопомех, то применяют дополнительные меры по ее экранированию и покрытию стен радиопоглощающим материалом. В этом случае измерительные площадки аттестуют по ГОСТ Р 8.568 и ГОСТ Р 50414.

6.4 Установка оборудования

6.4.1 ИО должно быть установлено и функционировать в соответствии с требованиями раздела 4.

6.4.2 ИО устанавливают в соответствии с рисунками 10 - 12 для настольного, напольного и комбинированного (настольного и напольного) оборудования. Схемы установки для испытаний напольного оборудования с воздушными кабелями приведены на рисунках 13 и 14.

6.4.3 Настольное ИО располагают на столе из неметаллического материала высотой 80 см над горизонтальной пластиной заземления измерительной площадки. Напольное ИО размещают непосредственно на пластине заземления, при этом оборудование должно быть отделено от пластины заземления изоляционной прокладкой толщиной 15 мм.

Оборудование, сконструированное для настольного и напольного применения, испытывают как настольное, за исключением случаев, когда типовым является напольное применение оборудования.

Оборудование, сконструированное для применения при установке на стене, испытывают как настольное оборудование. При этом ориентация элементов ИО должна соответствовать типовому применению.

6.5 Регистрация результатов измерений

В процессе измерений регистрируют значения уровней и частот измерений, по крайней мере, шести ПЭМИН, имеющих наибольшие значения и превышающих уровень (L - 20 дБ), где L - соответствующая норма ПЭМИН, установленная в соответствии с требованиями технической документации в логарифмических единицах.

6.6 Измерения в присутствии мощных посторонних сигналов

6.6.1 В общем случае посторонние сигналы не должны превышать заданных уровней. Однако измерение излучаемых ПЭМИН от ИО на некоторых частотах может оказаться невозможным из-за электромагнитных полей, создаваемых местными радио- и телевизионными передатчиками, другими источниками ПЭМИН и естественными источниками.

6.6.2 Если напряженность поля посторонних сигналов велика, то для проверки соответствия ИО нормам ПЭМИН, установленным в соответствии с требованиями технической документации, применяют следующие методы:

а) проводят измерения на более близких расстояниях и определяют норму L2, соответствующую меньшему измерительному расстоянию d2, по формуле

L2 = L1 (d1/d2),

(3)

где L1 - норма в мкВ/м при измерительном расстоянии d1

Определяют условия испытаний для новой нормы L2 с учетом измерительного расстояния d2;

б) в полосах частот, где уровни посторонних сигналов выше заданных, значения напряженности поля ПЭМИН от ИО определяют интерполированием значений напряженности поля ПЭМИН, соседних по отношению к посторонним сигналам. Интерполированные значения напряженности поля ПЭМИН от ИО должны размещаться на кривой, описывающей непрерывную функцию значений ПЭМИН на частотах, соседних по отношению к частотам посторонних сигналов.

6.7 Испытание оборудования в местах его установки пользователем

6.7.1 В некоторых случаях может быть необходимо проведение испытаний ОИТ в местах его установки пользователем. В этих случаях измерения ПЭМИН целесообразно проводить на границе помещения пользователя (вне здания). Если указанная граница находится на расстоянии менее 10 м от ИО, измерения проводят на расстоянии 10 м от оборудования. Результаты таких измерений зависят от характеристик места установки оборудования и должны относиться только к конкретному месту установки.

6.7.2 К установленному пользователем оборудованию, удовлетворяющему нормам ПЭМИН, установленным в соответствии с требованиями технической документации, при испытаниях на месте установки могут быть добавлены отдельные образцы ОИТ, соответствующие требованиям настоящего стандарта при испытаниях на измерительной площадке.

6.7.3 Данный метод не применяют для испытаний ОИТ, имеющих очень большие геометрические размеры (например, оборудование центра связи).

Приложение А
(обязательное)

Испытательные установки для измерений общего несимметричного напряжения
и тока побочных электромагнитных излучений и наводок на портах связи

А.1 Испытательные установки для измерений общего несимметричного напряжения и тока ПЭМИН

При измерениях общего несимметричного напряжения и тока на портах связи ОИТ в соответствии с разделом А.2 в качестве эквивалента полного сопротивления сети могут быть применены устройства связи/развязки УСР-Т2, УСР-Т4, а также другие устройства связи/развязки, соответствующие требованиям ГОСТ Р 51317.4.6, применяемые с неэкранированными симметричными двух- и четырехпроводными линиями.

Метод испытаний и испытательная установка по разделу А.3 могут быть применены для экранированных кабелей всех типов.

Методы испытаний и испытательные установки в соответствии с разделом А.2 или А.5 применяют в случаях, когда невозможно применить другие методы (т.е. для неэкранированных кабелей, содержащих более двух симметричных пар).

А.1.1 Использование устройств связи/развязки по ГОСТ Р 51317.4.6 в качестве устройств связи/развязки и эквивалента полного сопротивления сети

При оценке соответствия ИО требованиям ГОСТ Р 51317.4.6 применяют норму напряжения ПЭМИН или норму силы тока ПЭМИН.

Подсоединяют устройства связи/развязки и эквивалента полного сопротивления сети (УСР/ЭПСС) непосредственно к пластине заземления (см. рисунок А.1).

Если применяют норму напряжения ПЭМИН, то измеряют напряжение ПЭМИН на порте УРС/ЭПСС, корректируют показания добавлением коэффициента передачи напряжения в УРС/ЭПСС и сравнивают с нормой напряжения ПЭМИН, установленной в соответствии с требованиями технической документации.

Для измерения силы тока ПЭМИН применяют токосъемник. При проведении измерений к порту УРС/ЭПСС подключают резистор сопротивлением 50 Ом. Результаты измерений сравнивают с нормой силы тока ПЭМИН, установленной в соответствии с требованиями технической документации.

1 - расстояние до пластины заземления (вертикальной или горизонтальной); 2 - расстояние до пластины заземления
(не является критичным)

Рисунок А.1 - Испытательная установка ПЭМИН

А.1.2 Применение нагрузки сопротивлением 150 Ом на внешней поверхности экранированного (коаксиального) кабеля

Нарушают изоляцию кабеля и подключают резистор сопротивлением 150 Ом между внешней поверхностью экрана и пластиной заземления (см. рисунок А.2).

Устанавливают ферритовую трубку или поглощающие клещи между точкой подключения резистора и оборудованием, связанным с основным ОИТ.

Измерение силы тока ПЭМИН проводят с помощью токосъемника. Результаты измерения сравнивают с нормой силы тока ПЭМИН, установленной в соответствии с требованиями технической документации.

Общее несимметричное сопротивление между точкой подключения резистора и пластиной заземления (справа от резистора, см. рисунок А.3) должно значительно превышать 150 Ом с тем, чтобы исключить влияние на результаты измерений тока ПЭМИН. Измерение указанного сопротивления проводят в соответствии с требованиями раздела А.2.

Измерение напряжения ПЭМИН проводят с помощью высокоомного пробника напряжения, подключенного параллельно резистору 150 Ом.

1 - расстояние до пластины заземления (вертикальной или горизонтальной); 2 - расстояние до пластины заземления (не
является критичным)

Рисунок А.2 - Испытательная установка ПЭМИН

А.1.3 Применение комбинации из токосъемника и емкостного пробника напряжения

Измеряют силу тока ПЭМИН с помощью токосъемника (см. рисунок А.3).

1 - расстояние до пластины заземления (вертикальной или горизонтальной); 2 - расстояние до пластины заземления
(не является критичным)

Рисунок А.3 - Испытательная установка

Измеряют напряжение ПЭМИН с помощью емкостного пробника напряжения, представляющего собой емкостные клещи длиной более 50 см. Полное сопротивление пробника напряжения должно соответствовать полному сопротивлению резистора сопротивлением более 1 МОм и параллельно соединенного с ним конденсатора емкостью менее 5 пФ.

Сравнивают измеренное напряжение с нормой напряжения ПЭМИН, установленной в соответствии с требованиями технической документации.

Сравнивают измеренную силу тока с нормой силы тока ПЭМИН, установленной в соответствии с требованиями технической документации.

ИО должно соответствовать нормам силы тока ПЭМИН и нормам напряжения ПЭМИН, установленным в соответствии с требованиями технической документации.

А.1.4 Измерения без подключения к экрану кабеля и без применения эквивалента полного сопротивления сети

При измерениях используют ферриты.

При проведении предварительных измерений определяют частоты создания ПЭМИН испытуемым оборудованием (см. рисунок А.4).

Определяют общее несимметричное сопротивление кабеля с ферритовой трубкой и оборудования, связанного с основным, в соответствии с требованиями раздела А.2 на предварительно выявленных частотах ПЭМИН. Положение ферритовой трубки выбирают так, чтобы общее несимметричное сопротивление было равно (150 ± 20) Ом, и это положение регистрируют. В указанном выше положении ферритовая трубка должна находиться при измерении тока ПЭМИН.

На различных частотах для получения значения общего несимметричного сопротивления (150 ± 20) Ом могут потребоваться разные типы ферритов.

1 - расстояние до пластины заземления (вертикальной или горизонтальной); 2 - расстояние до пластины заземления
(не является критичным)

Рисунок А.4 - Испытательная установка

Измеряют силу тока с помощью токосъемника. Второй токосъемник, используемый во время калибровки в соответствии с требованиями раздела А.2, применяют для проверки общего несимметричного сопротивления и не используют во время измерений силы тока ПЭМИН.

Сравнивают значение измеренного тока с нормой тока ПЭМИН, установленной в соответствии с требованиями технической документации.

А.2 Измерение общего несимметричного сопротивления кабеля с ферритовой трубкой и оборудования, связанного с основным

Калибруют токосъемники для настройки и измерений в пятидесятиомной системе (см. рисунок А.5). Для этого подают напряжение V1 от генератора сигналов на передвигаемый токосъемник и регистрируют ток I1 в измерительном токосъемнике.

Отсоединяют кабель от ИО и соединяют его с пластиной заземления на стороне ИО. Подают напряжение на передвигаемый токосъемник и через него ток в кабель. Регистрируют значение тока I2 в измерительном токосъемнике и определяют общее несимметричное сопротивление кабеля с ферритовой трубкой и оборудования, связанного с основным путем сравнения значения тока I2 со значением тока I1 Общее несимметричное сопротивление равно 50I1/I2. Например, если значение тока I2 равно половине значения тока I1, то общее несимметричное сопротивление равно 100 Ом.

Рисунок А.5 - Схема калибровки

 

Ключевые слова: защита информации, технические средства обработки информации, методы испытаний