Aviation fuels. Method of freezing point determination

ФЕДЕРАЛЬНОЕ АГЕНТСТВО
ПО ТЕХНИЧЕСКОМУ РЕГУЛИРОВАНИЮ И МЕТРОЛОГИИ

НАЦИОНАЛЬНЫЙ
СТАНДАРТ
РОССИЙСКОЙ
ФЕДЕРАЦИИ

ГОСТ Р
53706-2009

ТОПЛИВА АВИАЦИОННЫЕ

Метод определения температуры замерзания

Москва
Стандартинформ

2010

Предисловие

Цели и принципы стандартизации в Российской Федерации установлены Федеральным законом от 27 декабря 2002 г. № 184-ФЗ «О техническом регулировании», а правила применения национальных стандартов Российской Федерации - ГОСТ Р 1.0-2004 «Стандартизация в Российской Федерации. Основные положения»

Сведения о стандарте

1 ПОДГОТОВЛЕН Открытым акционерным обществом «Всероссийский научно-исследовательский институт по переработке нефти» (ОАО «ВНИИ НП») на основе собственного аутентичного перевода стандарта, указанного в пункте 4

2 ВНЕСЕН Техническим комитетом по стандартизации ТК 31 «Нефтяные топлива и смазочные материалы»

3 УТВЕРЖДЕН И ВВЕДЕН В ДЕЙСТВИЕ Приказом Федерального агентства по техническому регулированию и метрологии от 15 декабря 2009 г. № 1146-ст

4 Настоящий стандарт идентичен стандарту АСТМ Д 2386-2006 «Стандартный метод определения температуры замерзания авиационных топлив» (ASTM D 2386-2006 «Standard test method for freezing point of aviation fuels»).

Наименование настоящего стандарта изменено относительно наименования указанного стандарта для приведения в соответствие с ГОСТ Р 1.5-2004 (подраздел 3.5).

При применении настоящего стандарта рекомендуется использовать вместо ссылочных стандартов соответствующие им национальные стандарты Российской Федерации, сведения о которых приведены в дополнительном приложении А

5 ВВЕДЕН ВПЕРВЫЕ

Информация об изменениях к настоящему стандарту публикуется в ежегодно издаваемом информационном указателе «Национальные стандарты», а текст изменений и поправок - в ежемесячно издаваемых информационных указателях «Национальные стандарты». В случае пересмотра (замены) или отмены настоящего стандарта соответствующее уведомление будет опубликовано в ежемесячно издаваемом информационном указателе «Национальные стандарты». Соответствующая информация, уведомление и тексты размещаются также в информационной системе общего пользования - на официальном сайте Федерального агентства по техническому регулированию и метрологии в сети Интернет

СОДЕРЖАНИЕ

1 Область применения. 2

2 Нормативные ссылки. 2

3 Термины и определения. 3

4 Значение и использование. 3

5 Аппаратура. 3

6 Реактивы и материалы.. 5

7 Отбор проб. 6

8 Проведение испытания. 6

9 Отчет. 7

10 Прецизионность и отклонение. 7

Приложение А (справочное) Сведения о соответствии национальных стандартов Российской Федерации ссылочным стандартам.. 8

ГОСТ Р 53706-2009

НАЦИОНАЛЬНЫЙ СТАНДАРТ РОССИЙСКОЙ ФЕДЕРАЦИИ

ТОПЛИВА АВИАЦИОННЫЕ

Метод определения температуры замерзания

Aviation fuels.
Method of freezing point determination

Дата введения - 2011-01-01

1 Область применения

1.1 Настоящий стандарт распространяется на авиационные бензины и топлива для авиационных турбин и устанавливает метод определения температуры, ниже которой в них могут образовываться кристаллы углеводородов.

Примечание 1 - Межлабораторная программа, созданная для определения прецизионности настоящего метода испытания, не включает авиационный бензин.

1.2 Значения, установленные в единицах СИ, необходимо рассматривать как стандартные. В настоящем стандарте не применяют другие единицы измерения.

1.3 В настоящем стандарте не предусмотрено рассмотрение всех проблем техники безопасности, связанных с его применением. Установление соответствующих мероприятий по технике безопасности и охране здоровья и определение приемлемости регламентированных ограничений перед использованием лежит на ответственности пользователя. Особые требования к технике безопасности - см. 5.4, раздел 6 и 8.2.

2 Нормативные ссылки

В настоящем стандарте использованы нормативные ссылки на следующие стандарты:

АСТМ Д 910 Спецификации для авиационных бензинов

АСТМ Д 1655 Спецификации для авиационных турбинных топлив

АСТМ Д 3117 Метод определения точки (температуры) появления твердого парафина в дистиллятных топливах

АСТМ Д 4057 Руководство по ручному отбору проб нефти и нефтепродуктов

АСТМ Д 4177 Руководство по автоматическому отбору проб нефти и нефтепродуктов

АСТМ Е 1 Спецификации для термометров АСТМ

АСТМ Е 77 Метод проведения проверки и поверки термометров

3 Термины и определения

3.1 В настоящем стандарте применен следующий термин с соответствующим определением:

3.1.1 температура замерзания в авиационных топливах: Температура топлива, при которой твердые кристаллы углеводородов, образовавшиеся при охлаждении, исчезают при повышении температуры топлива в заданных условиях испытания.

4 Значение и использование

4.1 Температура замерзания авиационного топлива является самой низкой температурой, при которой топливо остается свободным от твердых кристаллов углеводородов, ограничивающих поток топлива через фильтры, имеющиеся в топливной системе самолета. Температура топлива в баках самолета обычно понижается в течение полета, и величина понижения зависит от скорости самолета, высоты и продолжительности полета. Температура замерзания топлива должна всегда быть ниже, чем минимальная рабочая температура топлива в баке.

4.2 Температура замерзания является одним из требований АСТМ Д 910 и АСТМ Д 1655.

5 Аппаратура

5.1 Сосуд для образца с рубашкой - это резервуар с двойными несеребреными стенками, подобный сосуду Дьюара; пространство между внутренней и внешней стенками резервуара заполняют сухим азотом или воздухом при атмосферном давлении. Входное отверстие сосуда для образца должно быть закрыто пробкой, в которую вставлены термометр и втулка, через которую проходит мешалка (см. рисунок 1).

1 - пробка; 2 - втулка, защищающая от влаги; 3 - мешалка; 4 - термометр; 5 - сосуд для образца с двойными стенками:
наружная стенка наружным диаметром (30
± 0,7) мм и толщиной стенки (1,9 ± 0,3) мм; внутренняя стенка внутренним
диаметром (18,7
± 1,1) мм и толщиной стенки (1,65 ± 0,35) мм; 6 - вакуумная колба (сосуд Дьюара), несеребреная внутренним
диаметром не менее 70 мм; 7 - хладагент; 8 - твердая углекислота

Рисунок 1 - Аппарат для определения температуры замерзания

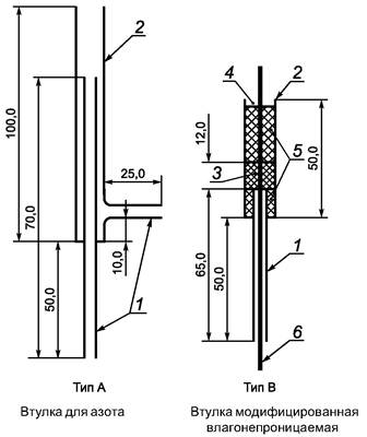
5.2 Втулки, защищающие от влаги (рисунок 2), используемые для предотвращения конденсации влаги.

Примечание - Все размеры даны в миллиметрах с точностью до ±0,1 мм, толщина стенки составляет 1 мм.

1 - наружный диаметр 5 мм; 2 - наружный диаметр 12 мм; 3 - набивка из стекловолокна;
4 - верх может быть закрыт для предотвращения потери силикагеля; 5 - осушитель (силикагель); 6 - стержень мешалки

Рисунок 2 - Втулки, защищающие от влаги, к аппарату для определения температуры замерзания

5.3 Мешалка должна быть изготовлена из латунного стержня диаметром 1,6 мм, согнутого в нижней части в равномерную спираль с тремя витками.

Примечание 2 - Мешалка может иметь механический привод в соответствии с АСТМ Д 3117 (раздел «Аппаратура»).

5.4 Вакуумная колба (сосуд Дьюара) с несеребреными стенками (Предупреждение - Существует опасность ее взрыва), минимальные размеры которой показаны на рисунке 1. В колбу помещают охлаждающую жидкость определенного объема, необходимую для погружения сосуда для образца с рубашкой на определенную глубину.

5.5 Термометр, имеющий обозначение АСТМ № 114C/IP № 14C, полного погружения, диапазоном измерений от минус 80 °С до 20 °С, (АСТМ Е 1).

Примечание 3 - Точность термометра должна быть проверена в соответствии с методом испытания по АСТМ Е 77 при значениях температуры: 0 °С, минус 40 °С, минус 60 °С и минус 75 °С.

6 Реактивы и материалы

6.1 Ацетон технический. Если ацетон не оставляет осадка при высыхании, его используют для охлаждающей ванны (Предупреждение - Чрезвычайно воспламеняемый).

6.2 Этанол или этиловый спирт товарный или технический обезвоженный; используют для охлаждающей бани (Предупреждение - Чрезвычайно огнеопасный).

6.3 Изопропиловый спирт товарный или технический (Предупреждение - Представляет чрезвычайную опасность).

6.4 Метанол или метиловый спирт товарный или технический обезвоженный; используют для заполнения охлаждающей бани (Предупреждение - Чрезвычайно огнеопасный и токсичный).

6.5 Диоксид углерода (твердый) или товарный сухой лед; пригоден для использования в охлаждающей бане (Предупреждение - Имеет чрезвычайно низкую температуру минус 78 °С. Диоксид углерода (твердый) выделяет газы, которые могут вызвать удушье. При контакте с кожей вызывает ожоги или обморожение или и то, и другое).

6.6 Жидкий азот товарный или технический; пригоден для использования в охлаждающей бане, когда температура замерзания ниже минус 65 °С (Предупреждение - Имеет чрезвычайно низкую температуру минус 196 °С. Жидкий азот выделяет газы, которые могут вызвать удушье. При контакте с кожей вызывает ожоги или обморожение или и то, и другое).

7 Отбор проб

7.1 Отбор проб проводят в соответствии с АСТМ Д 4057 или АСТМ Д 4177.

7.2 Для каждого испытания требуется не менее 25 см3 образца.

7.3 Хранят пробу в плотно закрытом контейнере при комнатной температуре для того, чтобы минимизировать попадание любой жидкости. Пробу сохраняют вдали от источников тепла.

8 Проведение испытания

8.1 Берут (25±1) см3 топлива и переливают в чистый, сухой, заключенный в рубашку сосуд для образца. Плотно закрывают сосуд пробкой, которая удерживает мешалку, термометр и втулку, защищающую от влаги, и регулируют положение термометра таким образом, чтобы его шарик не касался стенки сосуда и находился приблизительно на оси сосуда. Шарик термометра должен находиться на расстоянии от 10 до 15мм от дна сосуда для образца.

Примечание 4 - При проведении испытания настоящим методом могут возникнуть сложности, так как сосуд с образцом погружают в хладагент, который выделяет пузырьки газа в течение всего испытания. Это может помешать визуальным наблюдениям. К тому же, кристаллы, образующиеся в образце, сложно идентифицировать, так как они могут иметь множество модификаций. Предполагается, что операторам, при возникновении сомнений, следует обращаться за консультацией к опытным специалистам для того, чтобы они могли дать разъяснения по правильному распознаванию кристаллов.

Примечание 5 - Настоящий метод испытания следует выполнять в условиях хорошо освещенной лаборатории. Некоторые кристаллы могут быть плохо видимыми, что осложняет их наблюдение при недостаточной (плохой) освещенности.

8.2 Закрепляют заключенный в рубашку сосуд для образца так, чтобы он вошел как можно глубже в вакуумную колбу (Предупреждение - Существует опасность взрыва), содержащую хладагент (примечание 6). Поверхность образца должна быть на расстоянии от 15 до 20 мм ниже уровня хладагента. Если охлаждение происходит не механически холодильным агрегатом, то в охлаждающую жидкость добавляют по мере необходимости на протяжении всего испытания твердую двуокись углерода, чтобы поддержать уровень охлаждения жидкости в вакуумной колбе.

Примечание 6 - В качестве хладагента используют ацетон, метиловый, этиловый или изопропиловый спирты. Все они требуют осторожного обращения. Для образцов, которые имеют температуру замерзания ниже минус 65 °С, вместо жидкостей, охлаждаемых твердой двуокисью углерода, как хладагент можно использовать жидкий азот. Допускается использование механического охлаждения. При его использовании температура хладагента должна быть от минус 70 °С до минус 80 °С.

8.3 Топливо непрерывно перемешивают, перемещая мешалку вверх и вниз со скоростью от 1 до 1,5 циклов в секунду, за исключением того времени, когда проводят наблюдения, при этом следят за тем, чтобы петли мешалки достигали дна при ходе вниз и оставались ниже поверхности топлива при ходе вверх. Допустим кратковременный перерыв в перемешивании, пока выполняют некоторые действия, связанные с проведением испытания (примечания 7 и 8). Наблюдают образец непрерывно до появления кристаллов углеводородов. Не принимают во внимание помутнение, которое появляется при температуре приблизительно минус 10 °С и не увеличивается с понижением температуры охлаждения, так как оно появляется из-за присутствия воды. Записывают температуру, при которой появляются кристаллы углеводородов. Извлекают заключенный в рубашку сосуд для образца из хладагента и позволяют образцу медленно нагреваться при непрерывном перемешивании со скоростью от 1 до 1,5 циклов в секунду. Непрерывно наблюдают за образцом до тех пор, пока кристаллы углеводородов не исчезнут. Записывают температуру, при которой углеводородные кристаллы полностью исчезают.

Примечание 7 - Поскольку газы, выделяемые охладителем, могут ухудшать видимость, сосуд с образцом можно извлечь из вакуумной колбы для наблюдения за появлением кристаллов твердого парафина. Трубка может быть извлечена на время, не превышающее 10 с. Если кристаллы уже сформировались, эту температуру следует записать и дать образцу нагреться до температуры на 5 °С выше температуры, при которой кристаллы исчезают. Затем сосуд с образцом снова должен быть погружен в хладагент для охлаждения. Извлекают образец при температуре, которая незначительно выше отмеченной, и отслеживают температуру, при которой появляется твердый парафин.

Примечание 8 - Это рекомендуется для того, чтобы сравнить температуру, при которой кристаллы появляются, и температуру, при которой они исчезают. Температура появления должна быть ниже температуры исчезновения. В противном случае появление кристаллов было определено некорректно. Разница между этими температурами обычно составляет не более 6 °С.

9 Отчет

9.1 Наблюдаемая температура замерзания, определяемая по разделу 8, должна быть скорректирована путем применения соответствующей поправки к показаниям термометра, определяемой во время проверок (примечание 3). Когда наблюдаемая температура замерзания попадает между двумя температурами калибровки, поправка к наблюдаемой температуре должна быть получена линейной интерполяцией. Записывают в отчете скорректированную температуру исчезновения кристаллов с точностью до 0,5 °С как температуру замерзания и дают ссылку на настоящий стандарт.

Примечание 9 - Если требуется указывать результаты в градусах Фаренгейта, результаты испытаний, полученные в градусах Цельсия, должны быть переведены в ближайшее целое число градусов по Фаренгейту. Промежуточные значения температуры (точки) замерзания, полученные в градусах Цельсия, должны иметь лучшую прецизионность, чтобы их можно было использовать для последующего перевода температуры в градусы Фаренгейта.

10 Прецизионность и отклонение

10.1 Прецизионность настоящего метода испытания была получена путем статистических исследований, проведенных в 15 лабораториях, результатов испытания 13 образцов топлив, представляющих собой топлива Jet A, Jet A1, JP-5 и JP-8.

10.1.1 Повторяемость или разность между двумя результатами испытаний, полученными одним и тем же оператором на одном и том же приборе при постоянных условиях работы на идентичном испытуемом материале, может при длительной работе при нормальном и правильном выполнении операций метода испытания превышать 1,5 °С только в одном случае из двадцати.

10.1.2 Воспроизводимость или разность между двумя единичными и независимыми результатами испытаний, полученными разными операторами, работающими в разных лабораториях, на идентичном испытуемом материале, может при длительной работе, при нормальном и правильном выполнении операций метода испытания превышать 2,5 °С только в одном случае из двадцати.

10.2 Поскольку нет никаких смесей жидких углеводородов с «известной» температурой (точкой) замерзания, которые моделируют авиационные топлива, отклонение (смещение) метода не может быть установлено.

Приложение А
(справочное)

Сведения о соответствии национальных стандартов Российской Федерации ссылочным стандартам

Таблица А.1

Обозначение ссылочного стандарта

Обозначение и наименование соответствующего национального стандарта

АСТМ Е 1

*

АСТМ Е 77

*

АСТМ Д 910

*

АСТМ Д 1655

ГОСТ Р 52050-2006 (АСТМ Д 1655-2005 и ДЕФ СТАН 91-91/4-2004) «Авиационное топливо для газотурбинных двигателей ДЖЕТ A-1 (JET A-1). Технические условия»

АСТМ Д 3117

*

АСТМ Д 4057

ГОСТ 2517-85 «Нефть и нефтепродукты. Методы отбора проб»

ГОСТ Р 52659-2006 «Нефть и нефтепродукты. Методы ручного отбора проб»

АСТМ Д 4177

ГОСТ 2517-85 «Нефть и нефтепродукты. Методы отбора проб»

* Соответствующий национальный стандарт отсутствует. До его утверждения рекомендуется использовать перевод на русский язык данного стандарта. Перевод данного стандарта находится в Федеральном информационном фонде технических регламентов и стандартов.

 

Ключевые слова: авиационный бензин, топливо для авиационных турбин, температура (точка) кристаллизации, определение, температура (точка) замерзания, низкотемпературные испытания, ручной метод, нефтяные продукты, физические испытания