Petroleum and petroleum products. Methods for manual sampling

ФЕДЕРАЛЬНОЕ АГЕНТСТВО
ПО ТЕХНИЧЕСКОМУ РЕГУЛИРОВАНИЮ И МЕТРОЛОГИИ

НАЦИОНАЛЬНЫЙ
СТАНДАРТ
РОССИЙСКОЙ
ФЕДЕРАЦИИ

ГОСТ Р
52659-2006

НЕФТЬ И НЕФТЕПРОДУКТЫ

Методы ручного отбора проб

Москва

Стандартинформ

2007

Предисловие

Цели и принципы стандартизации в Российской Федерации установлены Федеральным законом от 27 декабря 2002 г. № 184-ФЗ «О техническом регулировании», а правила применения национальных стандартов Российской Федерации - ГОСТ Р 1.0-2004 «Стандартизация в Российской Федерации. Основные положения»

Сведения о стандарте

1 ПОДГОТОВЛЕН Открытым акционерным обществом «Всероссийский научно-исследовательский институт по переработке нефти» (ОАО «ВНИИ НП») на основе аутентичного перевода стандарта, указанного в пункте 4

2 ВНЕСЕН Техническим комитетом по стандартизации ТК 31 «Нефтяные топлива и смазочные материалы»

3 УТВЕРЖДЕН И ВВЕДЕН В ДЕЙСТВИЕ Приказом Федерального агентства по техническому регулированию и метрологии от 27 декабря 2006 г. № 426-ст

4 Настоящий стандарт является модифицированным по отношению к стандарту АСТМ Д 4057-95 (переутвержден в 2000 г.) «Руководство по ручному отбору проб нефти и нефтепродуктов» (ASTM D 4057-95 (2000) «Standard practice for manual sampling of petroleum and petroleum products») путем изменения его структуры.

Сравнение структуры настоящего стандарта со структурой указанного стандарта приведено в дополнительном приложении В.

Наименование настоящего стандарта изменено относительно наименования указанного стандарта для приведения в соответствие с ГОСТ Р 1.5-2004 (подраздел 3.5)

5 ВВЕДЕН ВПЕРВЫЕ

Информация об изменениях к настоящему стандарту публикуется в ежегодно издаваемом информационном указателе «Национальные стандарты», а текст изменений и поправок - в ежемесячно издаваемых информационных указателях «Национальные стандарты». В случае пересмотра (замены) или отмены настоящего стандарта соответствующее уведомление будет опубликовано в ежемесячно издаваемом информационном указателе «Национальные стандарты». Соответствующая информация, уведомление и тексты размещаются также в информационной системе общего пользования - на официальном сайте Федерального агентства по техническому регулированию и метрологии в сети Интернет

СОДЕРЖАНИЕ

1 Область применения. 2

2 Нормативные ссылки. 3

3 Термины и определения. 3

4 Сущность стандарта. 7

5 Значение и использование стандарта. 7

6 Аппаратура. 8

7 Требования к проведению отдельных этапов ручного отбора проб. 10

8 Требования к отбираемым пробам.. 11

9 Специальные меры предосторожности при ручном отборе проб. 13

10 Специальные требования к работе со специфическими материалами. 13

11 Специальные требования к выполнению специфических испытаний. 15

12 Специальные требования к специфическому ручному отбору проб. 16

13 Отбор проб из резервуара. 17

14 Отбор проб из трубопровода. 27

15 Отбор проб из барабанов, бочек и бидонов. 29

16 Отбор проб твердых и мягких застывших продуктов из бочек, коробов, мешков и пакетов. 31

17 Отбор проб кусковых твердых продуктов из элеваторов, бункеров, грузовиков, бочек, мешков, ящиков и конвейеров. 32

18 Отбор проб консистентных смазок, мягких парафинов или битумов. 33

Приложение А Указания по безопасному ведению работ по отбору проб. 35

Приложение В Сопоставление структуры настоящего стандарта со структурой примененного в нем стандарта АСТМ Д 4057-95 (2000) 36

 

НАЦИОНАЛЬНЫЙ СТАНДАРТ РОССИЙСКОЙ ФЕДЕРАЦИИ

НЕФТЬ И НЕФТЕПРОДУКТЫ

Методы ручного отбора проб

Petroleum and petroleum products.
Methods for manual sampling

Дата введения - 2008-01-01

1 Область применения

1.1 Настоящий стандарт предназначен для ручного отбора представительных проб нефти и нефтепродуктов в жидком, полужидком или твердом состоянии, давление паров которых при условиях отбора менее 101 кПа (14,7 фунт/дюйм2 - psia) по Рейду. Если образец отбирают для точного определения летучести, следует пользоваться методом по [1] в сочетании с настоящим методом. Процедуры смешения проб и работы с ними выполняют в соответствии с [2]. Методы не предназначены для отбора электроизоляционных и гидравлических жидкостей.

Перечень типовых процедур ручного отбора проб и их применение представлены в таблице 1. Альтернативные процедуры по отбору проб могут быть использованы, если существует официальное письменное соглашение между заинтересованными сторонами.

Таблица 1 - Перечень типовых процедур отбора проб и их применение

Применение

Тип тары

Процедура

Жидкости с давлением паров по Рейду более чем 13,8 кПа и не более чем 101 кПа (14,7 фунт/дюйм2 - psia) [3]

Резервуары для хранения, судовые/баржевые танки, автоцистерны, ж/д цистерны

Отбор проб бутылкой

Жидкости с давлением паров по Рейду 101 кПа (14,7 psia) и менее

Резервуары для хранения с кранами для слива

Отбор проб желонкой. Отбор пробы из крана

Донный отбор жидкостей с давлением паров по Рейду 13,8 кПа (2 psia) или менее

Резервуары для хранения с кранами для слива

Отбор проб из крана

Жидкости с давлением паров по Рейду 101 кПа (14,7 psia) или менее

Трубопроводы или линии

Отбор проб из линии

Жидкости с давлением паров по Рейду 13,8 кПа (2 psia) или менее

Резервуары для хранения, суда, баржи

Отбор проб бутылкой

Жидкости с давлением паров по Рейду 13,8 кПа (2 psia) или менее

Свободно или открыто выгружающийся поток

Отбор проб черпаком

Жидкости с давлением паров по Рейду 13,8 кПа (2 psia) или менее

Цистерны, бочки, канистры

Отбор проб с помощью трубки

Отбор со дна или желонкой жидкостей с давлением паров по Рейду 13,8 кПа (2 psia) или менее

Автоцистерны, резервуары для хранения

Отбор проб желонкой

Жидкости и полужидкости с давлением паров по Рейду 13,8 кПа (2 psia) или менее

Свободно или открыто выгружающийся поток, открытые резервуары или котлы, ж/д и автомобильные цистерны, бочки

Отбор проб черпаком

Сырая нефть

Резервуары для хранения, судовые/баржевые резервуары, цистерны, ж/д и автомобильные цистерны, трубопроводы

Автоматический отбор проб; отбор проб желонкой; отбор проб из крана

Промышленные ароматические углеводороды

Резервуары для хранения, судовые/баржевые резервуары

Отбор проб бутылкой

Парафины, твердые битумы и другие размягченные твердые вещества

Бочки, ящики, мешки, коробки

Отбор проб сверлением

Нефтяной кокс, твердые материалы в виде неизмельченных кусков

Грузовые автомобили, контейнеры, мешки, бочки, коробки

Отбор проб совком

Смазки, мягкий парафин, асфальты

Котлы, барабаны, бидоны, трубы

Отбор пластичных проб

Асфальтовые продукты

Резервуары для хранения, автоцистерны, линии, упаковки

Отбор пластичных проб

Эмульгированные асфальты

Резервуары для хранения, автоцистерны, линии, упаковки

Отбор пластичных проб

Примечания

1 Процедуры, описанные в настоящем стандарте, могут быть также использованы при отборе проб большинства некоррозионных жидких промышленных химикатов; при этом необходимо обеспечить строгое соблюдение всех требований безопасности при работе с ними.

2 Метод отбора проб сжиженных нефтяных газов описан в [4]; метод отбора проб гидравлических жидкостей представлен в [5] и [6]; метод отбора проб изоляционных масел описан в [7]; метод отбора проб природного газа описан в [8].

3 Метод отбора проб специальных образцов топлив для определения следов металлов описан в приложении к [9].

2 Нормативные ссылки

В настоящем стандарте использованы нормативные ссылки на документы, указанные в «Библиографии».

3 Термины и определения

В настоящем стандарте применены следующие термины с соответствующими определениями:

3.1 Пробы

3.1.1 проба (sample): Порция продукта, извлеченная из общего объема продукта, содержащая или не содержащая компоненты в тех же пропорциях, которые присутствуют в общем объеме.

3.1.2 проба, составленная из проб, взятых со всех уровней жидкости (средняя проба из всех слоев жидкости) (all-levels sample): Проба, полученная с помощью закрытого стакана или бутылки путем погружения их как можно ближе к уровню отбора, последующего открывания пробоотборника и его подъема с такой скоростью, чтобы при извлечении из жидкости пробоотборник был заполнен приблизительно на 3/4 общего объема.

3.1.3 высверленная проба (boring sample): Проба продукта, содержащегося в бочке, ящике, мешке или куске, которую получают из осколков, образующихся при сверлении корабельным сверлом отверстий (дыр) в материале.

3.1.4 донная проба (bottom sample): Точечная проба материала, собранного в самой нижней точке дна резервуара, контейнера или линии.

Примечание - На практике термин «донная проба» имеет различные значения. Поэтому рекомендуется при использовании этого термина точно указывать место положения отбора пробы (например, 15 см от дна).

3.1.5 донная проба воды (bottom water sample): Точечная проба свободной воды, взятая из-под (ниже) слоя нефти, содержащейся на судне или барже, или в резервуаре для хранения.

3.1.6 промежуточная проба (clearance sample): Точечная проба, взятая с помощью открывающегося пробоотборника с уровня, на 10 см (4 дюйма) [в некоторых случаях по требованию заинтересованных сторон - на 15 см (6 дюймов)] ниже сливного отверстия резервуара.

Примечание - Настоящий термин обычно применим к небольшим резервуарам (159 м или 1000 баррелей или меньше) и рекомендуется для арендуемых резервуаров.

3.1.7 композитная проба (composite sample): Смесь точечных проб, смешанных пропорционально объемам продукта, из которых были получены точечные пробы.

3.1.8 стержневая проба (core sample): Проба однородного (сквозного) участка продукта, взятого на заданной высоте резервуара.

3.1.9 ковшовая проба (dipper sample): Проба, полученная путем помещения ковша или другого собирающего сосуда для отбора проб на участке свободно вытекающего потока (струи) продукта так, чтобы отобрать определенный объем из поперечного участка полного потока за равномерные интервалы времени при постоянной скорости потока или меняющиеся интервалы времени пропорционально скорости потока.

3.1.10 дренажная проба (drain sample): Проба, полученная из резервуара для хранения через дренажный кран.

Примечание - Иногда дренажная проба может быть такой же, как донная проба (например, в случае автоцистерны).

3.1.11 проба плавающей крыши (резервуара) (floating roof sample): Точечная проба для определения плотности жидкости, взятая прямо из-под поверхности плавающей на испытуемой жидкости крыши.

3.1.12 проба, пропорциональная потоку (flow proportional sample): Проба, взятая из трубопровода таким образом, чтобы скорость отбора пробы была всегда пропорциональна отношению времени отбора пробы к скорости потока жидкости в трубопроводе.

3.1.13 проба, отобранная совком (grab sample): Проба, полученная сбором равных количеств рыхлых твердых продуктов из части груза или груза из тары таким образом, чтобы проба была представительной для всего груза.

3.1.14 пластичная проба (grease sample): Проба, отобранная ковшом или совком из мазеобразного или полужидкого затаренного в установленном порядке продукта.

3.1.15 проба с нижнего слоя (lower sample): Точечная проба жидкости из середины нижней трети содержимого резервуара (на глубине 5/6 от поверхности жидкости) - рисунок 1.

3.1.16 проба со среднего слоя (middle sample): Точечная проба, взятая из середины содержимого резервуара (на расстоянии 1/2 глубины от поверхности жидкости), - рисунок 1.

3.1.17 композитная (смешанная) проба из многих резервуаров (multiple tank composite sample): Смесь отдельных проб или смешанные пробы, полученные из нескольких резервуаров или судовых/баржевых танков, содержащих один и тот же продукт.

Примечание - Смесь готовят пропорционально объемам продукта, содержащегося в каждом резервуаре или танке.

3.1.18 проба на уровне слива (outlet sample): Точечная проба, отбираемая пробоотборником с открывающимся входным отверстием на уровне дна слива резервуара (фиксированного или плавающего), - рисунок 1.

3.1.19 представительная проба (representative sample): Проба, извлеченная из общего объема продукта, содержащая его компоненты в тех же пропорциях, в которых они присутствуют в общем объеме.

3.1.20 бегущая проба (running sample): Проба, полученная при погружении стакана-пробоотборника или бутылки до уровня дна сливного узла (до низа выходных отверстий) или линии перекачки (разводных линий) и возвращении пробоотборника наверх (к поверхности жидкого нефтепродукта) с той же скоростью таким образом, чтобы при этом стакан-пробоотборник или бутылка заполнялись на 3/4 объема.

Рисунок 1 - Место отбора точечных проб

Примечание 1 - Положение, показанное для пробы, взятой с уровня слива, применимо только для резервуаров с боковым сливом. Упомянутое положение не применяется, когда слив выходит из пола резервуара или поворачивает в отстойник. Положение донной пробы должно быть указано специально.

Примечание 2 - Пробы должны быть получены изнутри твердых напорных труб, так как их содержимое обычно не является непредставительным от содержимого в определенной точке.

3.1.21 точечная проба (spot sample): Проба, взятая из определенного места (точки) в резервуаре или из потока в трубопроводе в определенное время.

3.1.22 поверхностная проба (surface sample): Точечная проба, отобранная с поверхности жидкости в резервуаре.

3.1.23 смешанная (композитная) проба из резервуара (tank composite sample): Смесь, составленная из проб, отобранных с верхнего, среднего и нижнего слоев одного и того же резервуара.

Примечание - Для резервуаров с одинаковым поперечным сечением таких, как вертикальный цилиндрический резервуар, смесь содержит равные части отобранных трех проб. Для горизонтального цилиндрического резервуара смесь состоит из трех проб, отобранных в пропорциях, указанных в таблице 2.

Таблица 2 - Требования к отбору проб из горизонтальных цилиндрических резервуаров

Уровень заполнения резервуара, % диаметра

Уровень отбора проб, % диаметра над дном

Смешанная проба (пропорциональные части от ...)

верхний

средний

нижний

верхняя

средняя

нижняя

100

80

50

20

3

4

3

90

75

50

20

3

4

3

80

70

50

20

2

5

3

70

50

20

6

4

60

50

20

5

5

50

40

20

4

6

40

20

10

30

15

10

20

10

10

10

5

10

3.1.24 проба из крана (tap sample): Точечная проба, взятая из пробоотборного крана на боковой стороне резервуара. Эту пробу также называют боковой пробой из резервуара.

3.1.25 верхняя проба (top sample): Точечная проба, отобранная на глубине 15 см (6 дюймов) от поверхности жидкости, - рисунок 1.

3.1.26 проба, полученная с помощью пробоотборной трубки или желонки (tube or thief sample): Проба, отобранная с помощью пробоотборной трубки или специальной желонки подобно стержневой пробе и точечной пробе из определенной точки в резервуаре или контейнере.

3.1.27 проба из верхнего слоя (upper sample): Точечная проба, отобранная из середины верхней трети содержимого резервуара (на глубине 1/6 от поверхности жидкости), - рисунок 1.

3.2 отбор проб (sampling): Все операции, необходимые для получения пробы, представляющей содержимое любого трубопровода, резервуара или другой емкости, и помещения такой пробы в контейнер, из которого может быть взят представительный образец для анализа.

3.3 Другие термины

3.3.1 автоматический пробоотборник (automatic sampler): Устройство, используемое для извлечения представительной пробы жидкости, протекающей по трубопроводу.

Примечание - Автоматический пробоотборник обычно состоит из зонда (щупа), экстрактора пробы, связанного с регулятором, расходомером и приемником для пробы. Дополнительная информация по автоматическому пробоотборнику представлена в [10].

3.3.2 растворенная вода (dissolved water): Вода в нефтепродукте в виде раствора в нем (или вода, растворенная в нефтепродукте).

3.3.3 эмульсия (emulsion): Трудноразделимая смесь нефтепродукта с водой.

3.3.4 захваченная вода (entrained water): Вода, суспендированная в нефтепродукте.

Примечание - Захваченная вода включает эмульсии, но не включает в себя растворенную воду.

3.3.5 свободная вода (free water): Вода, присутствующая как отдельная фаза.

3.3.6 промежуточный контейнер (intermediate container): Емкость, в которую всю пробу или ее часть переносят для транспортирования, хранения или легкости обслуживания (работы с ней) из первичного контейнера/приемника.

3.3.7 приемник/резервуар для первичной пробы (primary sample receiver/receptacle): Контейнер, в который пробу отбирают впервые.

Примечание - Контейнеры для первичной пробы: стеклянные и пластиковые бутылки, бидоны, желонки стержневого типа, стационарные и переносные приемники для пробы.

3.3.8 напорные трубы (стояки) (stand pipes): Вертикальные секции трубы или системы труб, протянувшиеся от контрольно-измерительного стенда (площадки) вблизи ко дну резервуаров, которые оборудованы внешними или внутренними плавающими крышками.

Примечание - Напорные трубы могут находиться также на судах и баржах.

3.3.9 испытуемый образец (test specimen): Представительный образец, взятый для анализа из контейнера, содержащего первичную или промежуточную пробу.

3.3.10 проба для учетно-расчетных операций (custody transfer sample): Проба, позволяющая провести расчет и учесть получаемый или продаваемый нефтепродукт при учетно-расчетных операциях.

4 Сущность стандарта

Настоящий стандарт распространяется на методы ручного отбора проб нефти и нефтепродуктов в жидком, полужидком или твердом состоянии из резервуаров, трубопроводов, барабанов, бочек, бидонов, труб, мешков, котлов и открыто выгружаемых потоков (нефтепродуктов). В настоящем стандарте детально рассматриваются различные факторы, влияющие на получение представительной пробы: проведение аналитических тестов с пробами, типы используемых контейнеров для образцов и специальные указания по ручному отбору проб специфических материалов.

Метод по [2] используют как дополнительное руководство.

5 Значение и использование стандарта

5.1 Представительные пробы нефти и нефтепродуктов требуются для определения их физических и химических свойств, чтобы установить стандартные цены и соответствие коммерческим и государственным (регулируемым) спецификациям.

5.2 При выборе определенного способа отбора проб необходимо учесть следующее.

5.2.1 Цель ручного отбора проб

5.2.1.1 Целью ручного отбора проб является получение малой порции продукта (точечной пробы) из выбранной зоны внутри контейнера, которая представляет продукт в этой зоне или, в случае бегущей или средней пробы с нескольких слоев продукта, является представительной для продукта во всем контейнере.

Для создания представительной пробы необходимо смешать несколько точечных проб.

5.2.2 Необходимые условия для применения ручного метода отбора проб

5.2.2.1 Ручной отбор проб может выполняться при любых условиях при четком соблюдении методов отбора проб и в соответствии с областью применения этого метода.

5.2.2.2 Во многих случаях применение ручного метода отбора проб для жидкостей приводит к тому, что отобранный продукт содержит тяжелый компонент (например, свободную воду), имеющий тенденцию отделяться от основного компонента. В этих случаях ручной метод отбора должен проводиться следующим образом:

a) для отделения и отстоя тяжелого компонента должно пройти достаточно времени;

b) должна существовать возможность измерения уровня отстоявшегося компонента, чтобы при получении представительных проб выполнить отбор выше этого уровня, в противном случае весь тяжелый компонент или его часть будут включены в отобранную для идентификации пробу содержимого резервуара;

c) если хотя бы одно из этих условий не может быть выполнено, отбор проб проводят, используя систему автоматического отбора проб [10].

6 Аппаратура

6.1 Контейнеры для проб изготовляют различной формы, различных размеров и из различных материалов. Чтобы правильно выбрать контейнер для конкретного применения, необходимо знать свойства отбираемого продукта, чтобы избежать возможного взаимодействия между продуктом и контейнером, влияющего на целостность отбираемой пробы. При выборе контейнеров дополнительно следует учесть способ перемешивания, требуемый при повторном смешении проб, и вид лабораторных анализов, которые должны быть выполнены на отобранном продукте. Для простоты объяснения правил смешения образцов и обращения с ними вышесказанное справедливо как для первичных, так и для промежуточных контейнеров. Независимо от типа используемого контейнера, он должен иметь достаточный объем, чтобы вмещать требуемое количество образца, не превышая при этом 80 % объема контейнера. Дополнительный (свободный) объем необходим в случае температурного расширения пробы и для улучшения ее перемешивания.

6.2 Общие требования к конструкции контейнеров

6.2.1 Дно контейнера должно быть покатым по отношению к входному отверстию для того, чтобы иметь возможность контролировать полное удаление жидкости.

6.2.2 Внутренняя часть не должна содержать карманов и мертвых точек.

6.2.3 Внутренняя поверхность контейнера должна быть изготовлена с учетом минимальной коррозионности, шероховатости, исключения налипания осадка и воды.

6.2.4 Закрываемое отверстие контейнера должно иметь достаточные размеры, чтобы облегчить его заполнение, осмотр и очистку.

6.2.5 Контейнер должен иметь конструкцию, позволяющую приготавливать гомогенную смесь пробы и предотвращающую потери каких-либо составляющих, что может нарушить представительность пробы и повлиять на точность аналитических испытаний.

6.2.6 Конструкция контейнера должна обеспечивать перенос образцов в аналитическую аппаратуру, пока сохраняется представительная природа пробы.

6.3 Стеклянные бутылки

Чистые, прозрачные стеклянные бутылки, проверенные на чистоту визуально, позволяют осуществить визуальную проверку на мутность из-за присутствия свободной воды и твердых загрязнений. Бутылки из коричневого стекла обеспечивают некоторую защиту проб от света, который может повлиять на результаты испытания.

6.4 Пластиковые бутылки

Пластиковые бутылки, изготовленные из подходящего материала, могут быть использованы для отбора проб и хранения газойля, дизельного топлива, нефтяного топлива (дистиллятного или мазутного) и смазочных масел.

Бутылки этого типа не следует использовать под бензин, авиационное реактивное топливо, керосин, нефть, уайт-спирит, медицинское белое масло и продукты, выкипающие при определенной температуре, до тех пор, пока результаты испытания не подтвердят, что отсутствует проблема с растворимостью, загрязнением или потерей легких компонентов.

6.4.1 Ни при каких обстоятельствах не следует использовать контейнеры из обычного нелинейного полиэтилена для хранения проб жидких углеводородов. Это должно предупредить загрязнение пробы или разрушение емкости, в которой она находится. Пробы отобранных моторных масел, содержащих растворенное топливо, не должны храниться в пластиковых контейнерах.

6.4.2 Преимуществом пластиковых бутылок является то, что они не бьются, как стеклянные бутылки и не подвергаются коррозии, как металлические контейнеры.

6.5 Металлические контейнеры (бидоны, канистры)

Используемые бидоны (канистры) должны иметь швы, спаянные с внешней стороны с использованием канифольного флюса, растворенного в подходящем растворителе. Такой флюс может быть легко удален при помощи бензина, тогда как многие другие являются трудноудаляемыми. Незначительные остатки флюса могут загрязнить пробу таким образом, что полученные результаты испытаний, такие как диэлектрическая проницаемость, окислительная стабильность и осадкообразование, будут искажены. Необходимо обращать внимание на то, чтобы контейнеры с внутренней футеровкой из эпоксидной смолы, содержащие загрязнения остаточными нефтепродуктами, были полностью от них очищены. При отборе авиационных топлив должен применяться метод по [11].

6.6 Крышки для контейнеров

Для стеклянных бутылок допускается использовать корковые пробки или завинчивающиеся крышки из пластмассы или металла. Пробки должны быть хорошего качества, чистые, без отверстий или выкрашивания корки. Никогда не следует использовать резиновые пробки. Необходимо предохранять пробу от контакта с корковой пробкой, обвернув ее металлической или алюминиевой фольгой перед тем, как вставить в бутылку.

Для бидонов должны использоваться завинчивающиеся герметичные крышки, предотвращающие утечку паров. Завинчивающаяся крышка должна быть защищена круглой прокладкой из материала, который не будет портить или загрязнять пробу. Контейнеры, используемые для отбора проб с последующим определением плотности или удельного веса, должны иметь завинчивающиеся крышки.

6.7 Процедура очистки

Контейнеры под пробы должны быть чистыми и не содержать веществ, таких как вода, грязь, волокна, моющие средства, нафта и другие растворители, паяльные флюсы, кислоты, ржавчина или масло, загрязняющие отбираемую пробу. Перед повторным использованием многоразовые контейнеры, такие как бидоны и бутылки, должны быть промыты подходящим растворителем. В отдельных случаях необходимо применение специальных растворителей для удаления следов осадка и отложений. После мытья растворителем контейнер моют концентрированным мыльным раствором, после этого тщательно промывают водопроводной водой и в конце - дистиллированной водой. Сушат контейнер, пропуская через него чистый теплый воздух, либо в чистом, не содержащем пыли сушильном шкафу при температуре 40 °С (104 °F) или выше. После высыхания контейнер немедленно закрывают пробкой или крышкой. Обычно новые контейнеры мыть необязательно, однако для гарантии чистоты новые контейнеры желательно промыть.

6.7.1 В зависимости от особенности обслуживания приемники, используемые совместно с автоматическими пробоотборниками, следует промывать растворителем перед каждым использованием.

Промывка этих приемников мылом и водой, как указано выше для случая с бидонами и бутылками, в большинстве случаев не является целесообразной и необходимой.

Перед использованием чистота и целостность всех контейнеров/приемников под пробы должна быть проверена.

6.7.2 Очистку контейнеров, предназначенных для отбора проб авиационных топлив, которые будут использованы для определения отделения воды, коррозии на медной пластине, электропроводности, термической стабильности, смазывающей способности и содержания следов металлов, следует проводить по методике [11].

6.8 Устройства для перемешивания (смешения) проб

Контейнер для пробы должен быть совместим с перемешивающим устройством для повторного перемешивания расслоившихся проб, чтобы гарантировать представительность пробы, переносимой в промежуточный контейнер или аналитический прибор. Гарантия представительности пробы особенно важна, если повторно перемешивают (смешивают) нефть, некоторые темные продукты и конденсаты для определения содержания воды и механических примесей. Требования к продолжительности перемешивания и типу перемешивающего устройства различаются в зависимости от природы нефти или нефтепродукта и метода анализа, который должен быть выполнен. За более подробной информацией следует обращаться к [2].

6.8.1 Если расслоение пробы допустимо, применяют адекватные способы перемешивания такие, как встряхивание (ручное или механическое) или использование гидродинамического миксера.

6.8.2 Ручное или механическое встряхивание контейнера с пробой для перемешивания не рекомендуется при определении содержания воды и механических примесей. Испытания показывают, что в этих случаях трудно создать необходимую энергию, чтобы получить гомогенный и представительный образец.

Более подробная информация содержится в [2].

6.9 Дополнительное оборудование

Часто при отборе проб и их смешении требуется градуированный (мерный) цилиндр или другой прибор соответствующей вместимости для определения количества образца.

6.10 Устройства по отбору проб (пробоотборники)

Пробоотборники детально описываются в каждом конкретном случае по отбору проб. Пробоотборник должен быть чистым, сухим и свободным от любых веществ, которые могут загрязнить отбираемый продукт.

7 Требования к проведению отдельных этапов ручного отбора проб

7.1 При разработке и применении методов ручного отбора проб должны быть рассмотрены следующие факторы:

7.1.1 Испытание физических и химических свойств

При испытании физических и химических свойств нефти или/и нефтепродукта указывают метод отбора проб, необходимое количество пробы и другие требования по работе с пробой.

7.1.2 Порядок отбора проб

7.1.2.1 Любое «возмущение» отбираемого продукта в резервуаре может отрицательно сказаться на представительности пробы. Следовательно, операцию по отбору проб следует проводить до измерения взлива, до определения температуры и до любых других подобных действий, которые могут «возмущать» содержимое резервуара. Необходимо гарантировать сохранение основных характеристик продукта в пробе и то, что проба является средней пробой.

7.1.2.2 Чтобы избежать загрязнения столба нефтепродукта в процессе отбора проб, отбор следует начинать сверху вниз в следующей последовательности: поверхностная проба; верхняя проба; проба с верхнего слоя; проба со среднего слоя; проба с нижнего слоя; проба с уровня слива; промежуточная проба; средняя проба, составленная из проб, взятых со всех уровней; донная проба и бегущая проба.

7.1.3 Очистка оборудования

Оборудование для отбора проб должно быть предварительно очищено. Любой материал, оставшийся в пробоотборнике или контейнере под пробу от предыдущей операции по отбору или очистке, может нарушить представительность пробы.

В случае светлых нефтепродуктов приемлемым способом является промывка контейнера отбираемым продуктом перед его наполнением.

7.1.4 Отбор летучих продуктов с давлением насыщенных паров по Рейду более 13,8 кПа (2 psia)

Перед отбором летучих продуктов пробоотборники должны быть промыты отбираемым продуктом с его последующим сливом. Если пробу предполагается переносить в другой контейнер, этот контейнер должен быть также промыт некоторым количеством легколетучего продукта с его последующим сливом. Когда пробу переносят в контейнер, пробоотборник должен быть опрокинут и вставлен в отверстие контейнера, чтобы ненасыщенный воздух не проник в переносимую пробу; пробоотборник оставляют в таком положении до полного переноса пробы.

7.1.5 Отбор нелетучих жидких продуктов с давлением насыщенных паров по Рейду 13,8 кПа (2 psia) или менее

Пробоотборник перед отбором пробы следует промывать отбираемым продуктом с его последующим сливом. Если фактическую пробу предполагается переносить в другой контейнер, то этот контейнер должен быть также промыт некоторым количеством продукта с его последующим сливом.

7.1.6 Перенос пробы сырой нефти из контейнера приемника в лабораторнуюхимическую посуду, в которой она должна быть проанализирована, требует особого внимания, чтобы сохранить ее представительность.

Число переносов должно быть минимальным.

Рекомендуются механические способы смешения и переноса проб в приемник.

7.1.7 Свободное пространство контейнера

Никогда не заполняют полностью контейнер для пробы. Оставляют необходимое пространство для температурного расширения, принимая во внимание температуру жидкости во время заполнения контейнера и возможную максимальную температуру, при которой может оказаться заполненный контейнер. Пробу трудно перемешать, если контейнер будет заполнен более чем на 80 %.

7.1.8 Маркировка пробы

Маркируют контейнер сразу после отбора пробы. Для маркировки используют водо- и маслостойкие чернила или твердый карандаш, оставляющий на поверхности след. Мягкий карандаш или обычные чернильные маркеры стираются от влаги или прикосновений, маркировки искажаются от загрязнения нефтепродуктом. Этикетка должна включать следующую информацию:

7.1.8.1 Дата и время (продолжительность отбора проб или часы и минуты для отбора пробы зачерпыванием).

7.1.8.2 Фамилия пробоотборщика.

7.1.8.3 Наименование, номер и принадлежность судна, платформы или контейнера.

7.1.8.4 Наименование (марка, сорт, вид) продукта.

7.1.8.5 Ссылочный символ или идентификационный номер.

7.1.9 Транспортирование проб

Для предотвращения потерь жидкости и паров во время транспортирования и защиты от влаги и пыли пробки стеклянных бутылок накрывают пластиковыми крышками, которые вымачивают в воде, вытирают насухо и плотно надевают на закрытые бутылки. Перед наполнением металлических контейнеров проверяют посадочное место для крышки, саму крышку на наличие вмятины, правильность круглой формы или другие повреждения. При обнаружении повреждений выправляют или выбрасывают крышку или контейнер или одновременно крышку с контейнером. После заполнения контейнера плотно завинчивают крышку и проверяют его на герметичность (наличие или отсутствие утечек).

При транспортировании воспламеняющихся жидкостей следует учитывать нормативные правовые акты и документы федеральных органов исполнительной власти по вопросу транспортирования и требования перевозчика.

8 Требования к отбираемым пробам

8.1 Смешение индивидуальных проб

8.1.1 При отборе проб требуется получить несколько различных образцов, испытания их физических свойств могут быть проведены по каждому образцу или по смеси нескольких образцов.

При проведении соответствующих испытаний по индивидуальным образцам, в соответствии с выполненным методом отбора проб, результаты испытаний обычно усредняются.

8.1.2 Когда требуется композитная (составная) проба из нескольких резервуаров, такая как с судов или барж, она может быть получена из проб, отобранных из разных танков, если они содержат один и тот же продукт. Чтобы такая композитная проба была представительной для продукта, содержащегося в разных танках, объемы продукта из индивидуальных проб, используемых для приготовления композитной пробы, должны быть взяты пропорционально объемам в соответствующих танках. В других случаях смешения должны быть использованы равные объемы индивидуальных проб. Способ смешения должен быть документально оформлен и следует позаботиться о целостности проб.

Рекомендуется, чтобы порция пробы из каждого танка (резервуара) хранилась отдельно (не смешанной) при необходимости повторного испытания.

8.1.3 При смешении проб необходимо гарантировать целостность пробы. Указания по смешению и работе с пробами приводятся в [2].

8.1.4 Пробы, взятые с конкретных слоев, например верхнего, среднего, нижнего, закрывают после того, как небольшую порцию пробы отливают, чтобы создать свободное пространство в контейнере над жидкостью. Все другие пробы следует закрыть немедленно и передать в лабораторию.

8.1.5 Перенос образцов

Число промежуточных переносов из одного контейнера в другой в период между операцией отбора проб и проведением испытания должно быть минимальным.

Потери легких углеводородов в результате разбрызгивания, потери воды за счет прилипания или загрязнение от внешних источников, или и то и другое могут исказить результаты испытаний, например при определении плотности, осадка и воды, чистоты продукта.

Большое число переносов из одного контейнера в другой может привести к возникновению проблем.

8.1.6 Летучие пробы

Все летучие пробы нефти и нефтепродуктов должны быть защищены от испарения. Продукт из пробоотборника должен немедленно переноситься в контейнер для пробы. Перед открыванием контейнеров с летучими пробами, доставленными в лабораторию, контейнеры с содержимым должны быть охлаждены.

8.1.7 Светочувствительные пробы

Важно, чтобы пробы, чувствительные к свету, такие как бензин, хранились в темноте, если их испытание должно включать определение таких свойств, как цвет, октановое число, содержание тетраэтилсвинца и ингибитора, характеристики осадкообразования, испытания на стабильность или число нейтрализации. Могут быть использованы бутылки из коричневого стекла. Немедленно следует завернуть их в светозащитную обертку или накрыть светозащитным материалом.

8.1.8 Очищенные (рафинированные) продукты

Защищают высокорафинированные нефтепродукты от влаги и пыли, обертывая пробки и горло контейнера бумагой, пластиком или металлической фольгой.

Дополнительную информацию по работе с пробами и их смешению можно получить в [2].

8.1.9 Хранение проб

Пробы следует хранить в закрытом контейнере для того, чтобы избежать потери легких компонентов, за исключением случая, когда осуществляют перенос пробы. Пробы должны быть защищены при хранении от воздействия окружающей среды, света, нагрева или других вредных факторов.

8.1.10 Работа (обращение) с пробой

Если проба не является однородной (гомогенной), а ее порция должна быть перенесена в другой контейнер или сосуд для испытания, пробу следует тщательно перемешать, чтобы гарантировать представительность отобранной пробы, при этом следует учитывать природу испытуемого материала и требования метода испытания, для проведения которого отбирают пробу.

При перемешивании следует соблюдать осторожность, чтобы данная операция не привела к потере легких фракций. Более подробные инструкции представлены в [2].

9 Специальные меры предосторожности при ручном отборе проб

9.1 Настоящий стандарт не ставит своей целью описание всех аспектов техники безопасности, связанных с ручным отбором проб. Однако предполагается, что персонал, осуществляющий отбор проб, обучен технике безопасного выполнения операций, производимых в специфических ситуациях во время отбора проб.

9.2 Соблюдение мер предосторожности требуется во время всех операций по ручному отбору проб, но особенно при отборе некоторых продуктов. Так сырая нефть может содержать различные количества сероводорода (сернистая нефть), являющегося чрезвычайно токсичным газом.

Так как пары многих нефтепродуктов токсичны и легко воспламеняемы, следует избегать их вдыхания или возможности возгорания от открытого пламени, горящих углей или искр, возникающих из-за статического электричества. Необходимо выполнять все меры предосторожности, характерные для отбираемого продукта.

Приложение А содержит предостережения, которые применимы к ручному отбору проб многих таких продуктов и работе с ними.

9.3 При ручном отборе проб из резервуаров, в которых возможно наличие огнеопасной среды, должны быть приняты меры предосторожности против воспламенения от электростатического электричества.

Токопроводящие предметы такие, как рулетки, контейнеры для проб и термометры, не следует опускать внутрь или вывешивать в заполняющийся отсек или танк или делать это сразу же после окончания перекачки.

Токопроводящий материал такой, как измерительная рулетка, всегда должен быть в контакте с измерительной трубкой до погружения в жидкость.

Обычно после прекращения наполнения резервуара период ожидания, в течение которого будет рассеян электростатический заряд, составляет 30 мин или более.

С целью снижения потенциала статического заряда запрещается использовать канат, тросы и одежду из нейлона или полиэстера.

10 Специальные требования к работе со специфическими материалами

10.1 Сырая нефть и остаточные нефтяные топлива

10.1.1 Сырая нефть и остаточные нефтяные топлива не являются обычно гомогенными системами. Пробы сырой нефти и остаточных нефтяных топлив из резервуара не могут быть представительными по следующим причинам:

10.1.1.1 Концентрация эмульсионной воды выше у дна. Бегущая проба или смешанная проба с верхнего, среднего и нижнего слоев могут не давать представление о концентрации захваченной воды.

10.1.1.2 Межфазную границу между топливом и водой трудно определить, особенно в присутствии эмульсионных слоев или осадков.

10.1.1.3 Определение объема свободной воды затруднено потому, что уровень свободной воды может изменяться по глубине продукта в резервуаре. Дно часто покрыто отстоями свободной воды или водной эмульсией, запруженными слоями осадка или парафина.

10.1.2 Когда пробы подобных продуктов требуются для учетно-расчетных измерений при передаче, рекомендуется автоматический отбор проб в соответствии с [10]. Однако по согласованию сторон допускается использовать пробы из резервуара.

10.2 Бензин и дистиллятные продукты

Бензин и дистиллятные нефтепродукты обычно являются гомогенными продуктами, но их часто выгружают из резервуаров, которые имеют на дне полностью отделившуюся воду. Ручной отбор проб из резервуара в соответствии с операциями, описанными в разделе 13, осуществляют в условиях, представленных в 5.2.2.

10.3 Промышленные ароматические углеводороды

В отношении проб промышленных ароматических углеводородов (бензол, толуол, ксилол и нефтяные растворители) действуют в соответствии с 5.2.1; разделами 6; 7 - 9; 11; 13с особым вниманием к процедурам, относящимся к мерам предосторожности и чистоте. Подробные сведения приведены в приложении А.

10.4 Растворители лаков и разбавители

10.4.1 Основной объем проб растворителей лаков и разбавителей, который отбирают для проведения испытаний по методу [12], предусматривает при отборе соблюдение мер предосторожности и инструкций по 11.4.2 и 11.4.3.

10.4.2 Резервуары и автомобильные цистерны

Отбирают пробы продуктов с верхнего и нижнего слоев (рисунок 1), каждого продукта не более 1 л (1 кварты) с помощью операций по отбору точечных проб бутылкой или желонкой (13.4). В лаборатории готовят смешанную пробу не менее 2 л/2 кварты, смешивая пробу с верхнего слоя и пробу с нижнего слоя в равных частях.

10.4.3 Бочки, барабаны и бидоны

Получают пробы из ряда контейнеров, по грузам которых существует взаимная договоренность. В случае дорогих растворителей, которые поставляют в небольших количествах, рекомендуется отбирать пробу из каждого контейнера.

Отбор пробы из центра каждого контейнера осуществляют, используя пробоотборник в виде трубки (13.7.3) или бутылку (13.4.2), хотя допускается использовать небольшую бутылку.

Готовят смешанную пробу не менее 1 л (1 кварта), смешивая равные порции объемом не менее 500 мл (1 пинта) каждой отобранной пробы.

10.5 Асфальтсодержащие материалы

При отборе проб асфальтсодержащего материала для испытаний методами [13] или [14] используют операцию сверления или отбор совком (разделы 16, 15 соответственно).

Чтобы получить не менее 100 г (1/4 фунта) битума, проба асфальтсодержащего материала должна быть достаточного размера. Около 1000 г (2 фунта) асфальтовых растворов («щит-асфальт») обычно бывает достаточно.

Если в пробе присутствуют куски размером 2,5 см (1 дюйм), то обычно требуется проба в количестве 2000 г (4 фунта) и гораздо большие пробы, если смесь содержит куски большего размера.

10.6 Асфальтовые или битумные эмульсии

Часто возникает необходимость испытать образцы в соответствии с требованиями [15] и [16].

Отбирают образцы из резервуаров, автомобильных и железнодорожных цистерн с помощью процедуры отбора проб бутылкой по 13.4.2, используя бутылку, имеющую горловину размером 4 см (1,5 дюйма) или более.

Для определения точек отбора проб следует обратиться к рисунку 1 и таблице 2. Чтобы получить пробы из погрузочно-разгрузочных линий, используют операцию отбора проб с помощью черпака (ковша) по разделу 14. Для отбора проб выбирают количество упаковок от партии в соответствии с таблицей 3.

Таблица 3 - Минимальное число упаковок, отобранных для отбора проб

Количество упаковок в партии

Количество упаковок для отбора проб

Количество упаковок в партии

Количество упаковок для отбора проб

От 1       до 3    включ.

Все

От 1332      до 1728 включ.

12

» 4         » 64        »

4

» 1729        » 2197   »

13

» 65      » 125      »

5

» 2198        » 2744   »

14

» 126    » 216      »

6

» 2745        » 3375   »

15

» 217    » 343      »

7

» 3376        » 4096   »

16

» 344    » 512      »

8

» 4097        » 4913   »

17

» 513    » 729      »

9

» 4914        » 5832   »

18

» 730    »1000     »

10

» 5833        » 6859   »

19

» 1001  » 1331    »

11

» 6860 и более

20

Если материал пробы твердый или полутвердый, используют процедуру отбора проб сверлением, описанную в разделе 16. Из каждой партии или погрузки получают не менее 4 л (1 галлон) или 4,5 кг (10 фунтов).

До проведения испытания пробы хранят в чистых, воздухонепроницаемых контейнерах при температуре не ниже плюс 4 °С (40 °F).

Для асфальтовых эмульсий типа RS-1 используют стеклянные или чугунные контейнеры.

11 Специальные требования к выполнению специфических испытаний

11.1 Общие положения

Для некоторых методов испытаний АСТМ и спецификаций требуются специальные меры предосторожности и инструкции по отбору проб. В случае разногласия такие инструкции дополняют обычные процедуры настоящего стандарта и заменяют их.

11.2 Фракционирование нефтепродуктов

Когда получают пробы газового бензина, который должен быть испытан по [17], предпочтительным является отбор проб по 13.4.2, за исключением того, что требуется предварительное охлаждение бутылок и приготовление смешанных проб в лаборатории. Перед отбором пробы предварительное охлаждение бутылки осуществляют путем погружения ее в продукт, заполняя и сливая содержимое от первого заполнения.

Если процедуру отбора проб с помощью бутылки нельзя использовать, то пробу отбирают из крана с использованием охлаждающей бани, как описано в 13.6. Содержимое во время отбора проб (подъема пробы из продукта) не перемешивают (не взбалтывают). После получения образца бутылку немедленно закрывают герметично подогнанной пробкой и хранят в ледяной бане или холодильнике при температуре 0 °С - 4,5 °С (32 °F - 40 °F).

11.3 Давление насыщенных паров

При отборе проб нефти и нефтепродуктов для определения давления насыщенных паров следует обращаться к [1].

11.4 Окислительная стабильность (стабильность к окислению)

11.4.1 При отборе проб продуктов, которые должны быть испытаны на окислительную стабильность в соответствии с [18], [19] или эквивалентными методами, следует соблюдать меры предосторожности и инструкции, представленные ниже.

11.4.2 Меры предосторожности

Присутствие малых количеств (менее 0,001 %) некоторых продуктов таких, как ингибиторы, оказывает значительное влияние на результаты испытания стабильности к окислению.

Во время отбора и работы с пробами следует избегать их загрязнения и воздействия на них света. Во избежание чрезмерного перемешивания с воздухом, который усиливает окисление, пробу не наливают, не встряхивают, не допускают ее интенсивного перемешивания.

Нельзя содержать пробы при температурах выше тех, которые диктуются атмосферными условиями.

11.4.3 Контейнеры под пробы

В качестве контейнеров используют бутылки только из коричневого стекла или из обернутого в светозащитный материал прозрачного стекла, так как при отборе проб бидонами трудно быть уверенным, что бидоны (канистры) свободны от таких загрязнений, как ржавчина и паяльный флюс. Чистят бутылки по 6.7. Тщательно промывают дистиллированной водой, сушат и защищают их от пыли и грязи.

11.4.4 Отбор проб

Рекомендуется использовать бегущую пробу, полученную по 13.5, так как образец отбирают непосредственно в бутылку. Это уменьшает возможность абсорбции воздуха, потери паров и загрязнения. Прямо перед отбором пробы бутылку промывают отбираемым продуктом.

12 Специальные требования к специфическому ручному отбору проб

12.1 Морские грузоперевозки сырых нефтей

12.1.1 Пробы грузов сырой нефти судов или барж могут быть взяты по согласованию сторон следующими способами:

12.1.1.1 Из береговых резервуаров перед погрузкой, до и после разгрузки по разделу 13.

12.1.1.2 Из трубопроводов во время разгрузки или погрузки.

Пробы из трубопроводов могут быть взяты вручную или автоматическим пробоотборником. Если трубопровод требует вытеснения содержимого или промывания, то следует принять меры, чтобы проба из трубопровода не была загрязнена вытеснителем.

Могут потребоваться отдельные пробы, чтобы перекрыть влияние вытеснения на предыдущий или последующий их перенос (на предыдущую или последующую перегрузку груза, т.е. сырой нефти).

12.1.1.3 Из танков судов или барж после загрузки или до разгрузки.

Каждый отсек судна или баржи может быть использован для отбора пробы груза со всех уровней; бегущей пробы; пробы верхнего, среднего, нижнего уровней или точечных проб с согласованием уровней.

12.1.2 Пробы с судов или барж могут быть взяты через открытые люки или с помощью оборудования, разработанного для закрытых систем.

12.1.3 Обычно при погрузке морского судна проба из берегового резервуара или пробы из трубопроводов, взятые из погрузочной линии, являются пробами переноса (пробами для учетно-расчетных операций).

Однако пробы из судовых или баржевых танков могут быть также использованы для испытания как на осадок и воду, так и по другим показателям качества, если это необходимо.

Результаты этих испытаний вместе с испытаниями пробы из берегового резервуара должны быть представлены в сертификате на груз.

12.1.4 При разгрузке судна/баржи проба из трубопровода, взятая на линии разгрузки пробоотборником, специально сконструированным и работающим в автоматическом режиме, должна быть учетно-расчетной.

При отсутствии подходящей пробы проба, отобранная с бортового танка судна/баржи, должна рассматриваться как учетно-расчетная, за исключением специальных случаев.

12.1.5 При необходимости, пробы грузов товарных продуктов, находящихся на борту судна/баржи, отбирают как из судовых танков, таки из приемочных резервуаров (танков) и из трубопровода. Дополнительно продукт из каждого танка судна/баржи должен быть отобран после погрузки или разгрузки.

Примечание - Дополнительные требования, связанные с отбором проб нефтепродуктов, находящихся на морских судах, - см. [20], раздел 17.

12.2 Сырая нефть, собранная в автоцистерны

Дополнительные требования по отбору проб сырой нефти из автоцистерны - см. [20], глава 18.1.

12.3 Автоцистерны

Пробу продукта отбирают после заполнения автоцистерны или непосредственно перед разгрузкой.

12.4 Упакованные партии [бидоны (канистры), барабаны, бочки или боксы]

Отбирают пробы от достаточного числа отдельных упаковок, чтобы приготовить смешанную пробу, которая будет представительной для всей партии или груза.

Для взятия пробы проводят случайный отбор упаковок. Число случайно отобранных упаковок будет зависеть от нескольких практических соображений: 1) требований к продукту по герметичности; 2) источников и типа нефтепродукта или присутствия нескольких типов продукта в партии; 3) предыдущего опыта подобных поставок, в частности основанного на однородности показателей качества от упаковки к упаковке.

В большинстве случаев число выборки, указанное в таблице 4, является достаточным.

Таблица 4 - Требования к отбору точечных проб

Вместимость резервуара/уровень жидкости

Требуемые пробы

Верхний слой

Средний слой

Нижний слой

Вместимость резервуара < 159 м3 (1000 баррелей)

X

Вместимость резервуара > 159 м3 (1000 баррелей)

X

X

X

Уровень < 3 м (10 футов)

X

3 м (10 футов) < уровень < 4,5 м (15 футов)

X

X

Уровень > 4,5 м (15 футов)

X

X

X

Примечание - Если из резервуара отбирают более одной пробы, отбор должен начинаться с верхнего слоя и перемещаться последовательно к нижнему слою.

13 Отбор проб из резервуара

13.1 Нельзя отбирать пробы из жестко установленных вертикальных труб, так как продукт, находящийся в них, обычно не является представительным для продукта в резервуаре в той точке, где отбирается проба. Из таких вертикальных труб проба должна быть отобрана лишь в случае существования на них не менее двух рядов перфорационных отверстий (рисунок 2).

Рисунок 2 - Напорная труба (с перекрывающимися отверстиями)

13.2 Из нефтяных резервуаров диаметром, превышающим 45 м (150 футов), следует отбирать дополнительные пробы из любого другого доступного мерного люка, расположенного по круговому периметру крышки, если это позволяют сделать условия безопасности.

Все полученные пробы должны быть подвергнуты индивидуальному анализу в соответствии с одними и теми же методами испытаний, а полученные результаты усреднены арифметически.

13.3 Подготовка смешанной (объединенной) пробы

Смешанная точечная проба для проведения испытаний представляет собой смесь точечных проб, смешанных пропорциональными объемами. Некоторые испытания также выполняют на точечных пробах до смешивания, а полученные результаты усредняют. Точечные пробы, отбираемые из нефтяных резервуаров, получают следующими способами:

13.3.1 Три отбора

Из резервуаров вместимостью более 159 м3 (1000 баррелей), имеющих взлив нефти (нефтепродуктов) больше чем 4,5 м (15 футов), должны быть отобраны равные объемы проб с верхнего, среднего или нижнего уровня слива товарной нефти (нефтепродукта) в порядке их перечисления. Настоящий метод может быть также использован применительно к резервуарам вместимостью до 159 м3 (1000 баррелей) включительно.

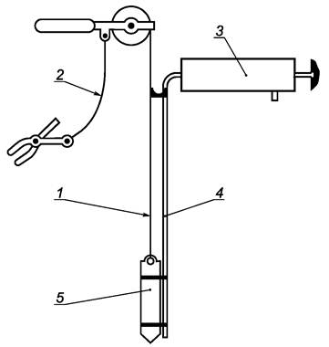
Рисунок 3 - Желонка стержневого типа для отбора проб нефтепродуктов

13.3.2 Два отбора

Из резервуаров вместимостью менее 159 м3 (1000 баррелей), которые имеют взлив нефти (нефтепродукта) от 3 м (10 футов) до 4,5 м (15 футов), должны отбираться пробы равных объемов с верхнего и нижнего уровней или с уровня слива товарного нефтепродукта в порядке их перечисления. Настоящий метод следует использовать применительно к резервуарам вместимостью менее или равной 159 м3 (1000 баррелей).

13.4 Методы отбора точечных проб

Требования к отбору точечных проб представлены в таблице 4. Точки отбора проб показаны на рисунке 1.

13.4.1 Отбор проб желонкой стержневого типа

13.4.1.1 Применение

С помощью желонки стержневого типа осуществляют отбор проб жидкостей с давлением насыщенных паров по Рейду 101 кПа (14,7 psia) или менее, находящихся в резервуарах хранения, железнодорожных цистернах, автоцистернах, в резервуарах судов или барж.

13.4.1.2 Аппаратура

Типовая желонка стержневого типа показана на рисунке 3. Желонка должна быть сконструирована таким образом, чтобы проба могла быть отобрана с уровня 2,0 - 2,5 см (3/4 - 1 дюйм) от дна или в любой другой специфической точке резервуара или емкости. Размер стержневой желонки должен быть выбран в зависимости от требуемого объема образца. Желонка должна проникать в нефтепродукт, находящийся в резервуаре, до требуемого уровня, быть оборудована механическим устройством для осуществления заполнения на любом желаемом уровне и извлекаться без чрезмерного загрязнения ее содержимого. Желонка должна иметь:

a) однородное поперечное сечение и донное закрываемое отверстие;

b) выдвижные стержни, использующиеся для отбора проб на уровнях, соответствующих требованиям к высокорасположенным соединениям или пробам, которые необходимы для определения уровней высоколежащих осадка и воды;

c) измерительную шкалу для определения высоты воды и осадка в желонке;

d) прозрачный цилиндр для облегчения наблюдения за удельным весом и температурой нефтепродукта во время определения удельного веса; желонка также должна быть оборудована ветрозащитным экраном;

e) отверстие для устранения подпора на кране или заслонке на любом желаемом уровне;

f) желоночный шнур, размеченный так, чтобы проба могла быть отобрана на любой глубине в вертикальном сечении резервуара;

g) крюк для вертикального подвешивания желонки в люке;

h) отборный кран для взятия проб для определения воды и осадка с отмеченных уровней 10 см (4 дюйма) и 20 см (8 дюймов);

i) для применения этой процедуры отбора проб могут потребоваться мерный цилиндр и контейнер для пробы.

13.4.1.3 Процедура

а) обследуют желонку, мерный цилиндр и контейнер для пробы на чистоту, используют только чистое и сухое оборудование;

b) оценивают уровень жидкости в резервуаре. Применяют автоматический измеритель уровня или проводят измерение свободного пространства, при необходимости;

c) проверяют работоспособность желонки;

d) открывают донное закрываемое отверстие и устанавливают опускной крюк на опускной стержень;

e) погружают желонку до требуемой точки отбора (таблица 4);

f) в требуемой точке закрывают донное отверстие желонки резким рывком веревки;

g) извлекают желонку;

h) если требуется проба только со среднего слоя, выливают все содержимое желонки в контейнер для пробы. Если требуется отобрать пробы более чем с одной точки, отмеряют необходимое количество пробы при помощи мерного цилиндра и переносят его в контейнер для пробы.

Примечание - Количество отмеряемой пробы зависит от размера желонки и анализов, которые предполагается выполнить, но в любом случае оно должно быть согласовано с пробами, отобранными на разных уровнях;

i) сливают остатки пробы из пробоотборной желонки, как это требуется;

j) повторяют шаги с d) no i), чтобы отобрать пробы с других уровней, как указано в таблице 4, или чтобы получить добавочное количество пробы в случае отбора только пробы со среднего слоя;

k) закрывают крышкой контейнер для пробы;

l) маркируют контейнер;

m) доставляют контейнер с пробой в лабораторию или подобное учреждение для выполнения смешения и анализов.

13.4.2 Точечный отбор с помощью бутылки/стакана

13.4.2.1 Применение

Процедуру точечного отбора пробы с помощью стакана или бутылки применяют для отбора жидкостей с давлением насыщенных паров по Рейду 101 кПа (14,7 psia) или менее из резервуаров хранения, передвижных цистерн, автоцистерн, резервуаров судов и барж. Твердые или полутвердые продукты, которые могут стать жидкими при нагревании, отбирают по настоящей процедуре при условии, что в момент отбора они действительно являются жидкостями.

13.4.2.2 Аппаратура

Бутылка и стакан представлены на рисунке 4. Для настоящей процедуры необходим мерный цилиндр и контейнер для пробы. Держатель контейнера (обрешетка) должен быть сделан из металла или пластмассы и иметь конструкцию, пригодную для удерживания соответствующего контейнера. Собранный пробоотборник должен иметь массу, необходимую для свободного погружения в отбираемое вещество, и обеспечивать заполнение на любом желаемом уровне (рисунок 4а).

Для использования держателя требуются бутылки специального размера.

Применение держателя более предпочтительно, так как использование утяжеленного пробоотборного стакана при отборе летучих продуктов приведет к потере легких фракций во время перенесения пробы в другой контейнер.

13.4.2.3 Процедура

a) обследуют бутылку или стакан, мерный цилиндр и контейнер для пробы на чистоту и используют только чистое и сухое оборудование;

b) оценивают уровень жидкости в резервуаре. Применяют автоматический измеритель уровня или проводят замер свободного пространства;

c) присоединяют веревку с грузом к пробоотборному стакану/бутылке или помещают бутылку в держатель, если он используется;

d) затыкают пробкой пробоотборную бутылку или стакан;

е) погружают отбирающее устройство до требуемого уровня (таблица 4);

f) на требуемом уровне выдергивают пробку резким рывком веревки;

g) выдерживают бутылку/стакан на требуемом уровне в течение достаточного времени для полного заполнения;

h) извлекают пробоотборное устройство;

i) проверяют полноту заполнения стакана/бутылки. Если контейнер неполный, выливают содержимое и повторяют процедуру с d);

Рисунок 4 - Комплекты аппаратуры для отбора проб бутылкой/пробоотборным стаканом

а - собранный пробоотборник; b - обрешетка (держатель, клеть) для утяжеления пробоотборной бутыли вместимостью 1 л (1 кварта) (изготовлена для бутыли любого размера); с - утяжеленный пробоотборный стакан вместимостью 1 л (1 кварта) 1 - деталь пробки; 2 - крепежное устройство; 3 - ушко пробки; 4 - пробка; 5 - прокладка пробки; 6 - держатель из медной проволоки; 7 - ушки из медной проволоки; 8 - свинцовый чехол; 9 - стакан

j) если для смешения требуется только данный тип точечной пробы, отбор заканчивают, выливают все содержимое в контейнер для пробы или выливают 1/4 объема бутылки, закрывают бутылку/стакан и переходят к n). Если для смешения требуются пробы более чем с одного уровня, отмеряют необходимое количество пробы с помощью мерного цилиндра и переносят его в контейнер для пробы.

Примечание - Количество отмеряемой пробы зависит от размера стакана/бутылки и анализов, которые предполагается выполнить, но в любом случае оно должно быть согласовано с количеством проб, отобранных на различных уровнях;

k) сливают остаток пробы из пробоотборного стакана/бутылки;

l) повторяют шаги с n) по о), чтобы отобрать пробы с других уровней, как указано в таблице 4, или получить добавочное количество пробы, в случае отбора только пробы со среднего слоя;

m) закрывают крышкой контейнер для пробы;

n) отсоединяют веревку от бутылки или вынимают бутылку с пробой из держателя, если он используется;

о) маркируют контейнер с пробой;

р) доставляют контейнер с пробой в лабораторию или подобное учреждение для выполнения смешения и анализов.

13.5 Бегущая проба или средняя проба со всех слоев жидкости

13.5.1 Применение

Процедуры отбора бегущей пробы или пробы, составленной из проб со всех уровней, используют для получения проб жидкостей с давлением насыщенных паров по Рейду 101 кПа (14,7 psia) или менее из железнодорожных цистерн, автоцистерн, резервуаров хранения и танков судов или барж. Твердые или полужидкие продукты, которые могут стать жидкими при нагреве, следует отбирать по настоящей процедуре при условии, что в момент отбора они являются жидкостями. Проба данного типа не обязательно является представительной по причине непропорциональности объема резервуара его глубине и по этой причине оператор не сможет поднимать пробоотборник со скоростью, требующейся для его пропорционального заполнения. Скорость заполнения пропорциональна квадратному корню от глубины погружения.

13.5.2 Аппаратура

Подходящие бутылка или стакан, оборудованные пробкой с насеченным отверстием (рисунки 4а и 4в) или другим приспособлением, ограничивающим размер отверстия в соответствии с требуемым. Рекомендуемые диаметры входных отверстий для различного применения приведены в таблице 5.

Таблица 5 - Утяжеленные пробоотборные бутылки или стаканы

Продукт

Диаметр отверстия

см

дюйм

Светлые смазочные масла, керосин, бензин, прозрачные газойли, дизельные топлива, дистилляты

2

3/4

Тяжелые смазочные масла, непрозрачные газойли

4

1,5

Светлые сырые нефти вязкостью менее 43 сСт при 40 °С

2

3/4

Тяжелые нефти и котельные топлива

4

1,5

13.5.3 Процедура

13.5.3.1 Проверяют пробоотборную бутылку и контейнер для пробы на чистоту, используют только чистое и сухое оборудование.

13.5.3.2 Присоединяют веревку с грузом к пробоотборной бутылке или помещают бутылку в держатель, если он используется.

13.5.3.3 Если требуется ограничение скорости заполнения, вставляют в пробоотборную бутылку пробку с насечкой.

13.5.3.4 С постоянной скоростью опускают бутылку как можно ближе к уровню днища, выходному отверстию или входу трубопровода и сразу же поднимают ее так, чтобы при подъеме из жидкости бутылка была заполнена на три четверти.

13.5.3.5 Проверяют, что отобрано необходимое количество пробы. Если бутылка заполнена более чем на 3/4, выливают пробу и повторяют процедуру согласно 13.5.3.3 и 13.5.3.4, скорректировав скорость, с которой поднимают и опускают бутылку. В качестве альтернативы повторяют процедуру отбора пробы по 13.5.3, используя пробку с отверстием другого диаметра.

13.5.3.6 При необходимости переливают содержимое пробоотборника в контейнер для пробы.

13.5.3.7 Если требуется дополнительный объем пробы, повторяют процедуру отбора пробы с 13.5.3.3 до 13.5.3.6.

13.5.3.8 Закрывают контейнер для пробы крышкой.

13.5.3.9 Маркируют контейнер для пробы.

13.5.3.10 Отсоединяют от бутылки веревку или вынимают пробоотборную бутылку из держателя, если он используется.

13.5.3.11 Доставляют контейнер с пробой в лабораторию или подобное учреждение для выполнения смешения и анализов.

13.6 Отбор из крана

13.6.1 Применение

Отбор проб из крана применяют для получения проб жидкостей с давлением насыщенных паров по Рейду 101 кПа (14,7 psia) или менее из резервуаров, оборудованных подходящими пробоотборными кранами. Эта процедура рекомендуется для отбора проб летучих продуктов из резервуаров с плавающей крышей и с крышей баллонного типа, газгольдеров и так далее (если резервуар не оборудован пробоотборными кранами, пробы могут быть отобраны из дренажных кранов водомерных стекол).

13.6.2 Аппаратура

13.6.2.1 Устройство типового пробоотборного крана показано на рисунке 5. Каждый кран должен иметь диаметр не менее 1,25 см (1/2 дюйма). Для тяжелых и вязких жидкостей (например нефть плотностью 0,9465 (18° API и менее) могут применяться краны диаметром 2,0 см (3/4 дюйма). На резервуарах, не оборудованных плавающими крышами, каждый пробоотборный кран должен иметь патрубок, заходящий внутрь резервуара минимум на 10 см (4 дюйма). Обычно пробоотборный кран должен быть оборудован запорной трубкой, которая обеспечивает заполнение пробоотборника со дна.

1 - произвольное положение в зависимости от конструкции; 2 - футеровка или стенка резервуара

Рисунок 5 - Аппаратура для отбора проб из крана

13.6.2.2 На резервуарах, имеющих боковой слив, пробоотборный кран для отбора промежуточной пробы может быть расположен на 2 см (4 дюйма) ниже нижнего края слива. Другие требования к пробоотборным кранам указаны в таблице 6.

13.6.2.3 Для отбора образца требуется сухая чистая стеклянная бутылка подходящего размера и прочности.

Таблица 6 - Спецификация по отбору проб из крана

Вместимость резервуара

1590 м3 (10000 баррелей) или менее

Более 1590 м3 (10000 баррелей)

Число уровней

1

21)

Количество кранов в уровне, не менее

3

5

Вертикальное расположение:

верхний кран

45 см (18 дюймов) от верха оболочки

нижний кран

На уровне донного слива

средний кран(ы)

На равном удалении между верхним и нижним краном

Круговое расположение:

от входа

2,4 м (8 футов), не менее

от слива/дренажа

1,6 м (6 футов), не менее

1) Соответствующие уровни кранов должны быть расположены на противоположных сторонах резервуара.

13.6.3 Процедура

13.6.3.1 Проверяют чистоту контейнера (контейнеров) для пробы (проб) и мерного цилиндра. Если требуется, приобретают чистое оборудование или очищают имеющееся оборудование подходящим растворителем, а также промывают продуктом, подлежащим отбору, перед выполнением процедуры по 13.6.3.2.

13.6.3.2 Определяют уровень жидкости в резервуаре.

13.6.3.3 Если отбираемый продукт имеет давление насыщенных паров по Рейду 101 кПа (14,7 psia) или менее, присоединяют заборную трубку непосредственно к пробоотборному крану.

13.6.3.4 Промывают пробоотборный кран и заборную трубку до полной их очистки.

13.6.3.5 Отбирают пробу в контейнер или мерный цилиндр в соответствии с требованиями, установленными далее в таблице 7. Если пробы отбирают из разных пробоотборных кранов, то используют мерный цилиндр для измерения приблизительного количества пробы.

В противном случае отбирают пробу непосредственно в контейнер. Если применяют заборную трубку, то убеждаются, что ее конец находится ниже уровня жидкости в мерном цилиндре или контейнере для пробы во время отбора пробы.

Таблица 7 - Требования по отбору проб из крана

Вместимость резервуара/Уровень жидкости

Требования к отбору проб

Резервуары < 1590 м3 (10000 баррелей)

Уровень ниже среднего крана

Общая проба из нижнего крана

Уровень выше среднего крана - самый близкий к среднему крану

Равные количества из среднего и нижнего кранов

Уровень выше среднего крана - самый близкий к верхнему крану

2/3 общего количества пробы из среднего крана и 1/3 общего количества пробы из нижнего крана

Уровень выше верхнего крана

Равные количества из верхнего, среднего и нижнего кранов

Резервуары > 1590 м3 (10000 баррелей)

Равные количества из всех погруженных кранов. Для представительного отбора разных объемов требуется отбор минимум из трех кранов

13.6.3.6 Если проба была отобрана в мерный цилиндр, ее переливают в контейнер для пробы.

13.6.3.7 Отсоединяют заборную трубку и холодильник, если его использовали.

13.6.3.8 Повторяют процедуры по 13.6.3 - 13.6.3.7, если это требуется в соответствии с таблицей 7, чтобы получить пробы из дополнительных кранов.

13.6.3.9 Закрывают крышкой контейнер для пробы.

13.6.3.10 Маркируют контейнер для пробы.

13.6.3.11 Возвращают контейнер для пробы в лабораторию или другое учреждение для смешения и повторения испытаний.

13.7 Отбор донной пробы

13.7.1 Отбор пробы желонкой стержневого типа

13.7.1.1 Применение

Процедуру отбора желонкой стержневого типа используют для получения донных проб или полужидких проб из автоцистерн и резервуаров хранения.

Желонки стержневого типа также широко используют для отбора проб нефти из резервуаров хранения. В этом случае желонку используют для отбора проб на разных уровнях так же, как для донных проб нетоварных нефтепродуктов и воды со дна резервуара. В некоторых случаях желонка может быть использована для количественной оценки содержания воды на дне резервуара.

13.7.1.2 Аппаратура

Желонка должна быть сконструирована так, чтобы проба могла быть отобрана на расстоянии 2 - 2,5 см (3/4 - 1 дюйма) от дна передвижного или стационарного резервуара.

Желонка стержневого типа показана на рисунке 3. Желонку этого типа погружают в резервуар с открытым клапаном, чтобы обеспечить промывку контейнера углеводородами. Когда желонка ударяется о дно резервуара, клапан закрывается автоматически, локализуя донную пробу.

13.7.1.3 Процедура

Медленно опускают чистую сухую желонку через люк автоцистерны или резервуара до тех пор, пока она мягко не ударится о дно. Дают желонке заполниться и успокоиться, мягко поднимают ее на 5 - 10 см (2 - 4 дюйма) и затем опускают желонку, пока она не ударится о дно и клапан не закроется. Извлекают желонку из резервуара и переносят ее содержимое в контейнер для пробы. Немедленно закрывают и маркируют контейнер и доставляют его в лабораторию.

13.7.2 Отбор донной пробы желонкой с закрытым стержнем

13.7.2.1 Применение

Процедуру отбора проб с помощью желонки с закрытым стержнем применяют для получения донных проб из автоцистерн и резервуаров хранения. При отборе проб сырой нефти из резервуаров хранения желонку используют для отбора проб некондиционных нефтепродуктов и воды со дна резервуара.

13.7.2.2 Аппаратура

Конструкция желонки должна обеспечивать возможность получения пробы на расстоянии 1,25 см (1/2 дюйма) от дна автоцистерны или резервуара хранения.

Стержневая желонка закрытого типа показана на рисунке 6. Этот тип желонки имеет выступающий шток, связанный со стержнем клапана, который открывает клапаны автоматически, когда шток ударяется одно резервуара. Проба проникает в контейнер через донный клапан, а воздух одновременно уходит через верхний клапан. Как только желонку начинают извлекать, клапаны захлопываются.

В качестве контейнеров для пробы используют чистые сухие бидоны или стеклянные бутылки.

1 - веревка для погружения; 2 - четыре выступа

Рисунок 6 - Стержневая желонка закрытого типа

13.7.2.3 Процедура

Опускают сухую чистую желонку через люк автоцистерны или резервуара, пока она не ударится о дно. По заполнении извлекают желонку и переносят ее содержимое в контейнер для образца. Немедленно закрывают, маркируют контейнер и доставляют его в лабораторию.

13.7.3 Отбор проб с помощью заборной трубки

13.7.3.1 Применение

Процедуру отбора с помощью заборной трубки используют только для получения донных проб воды, в первую очередь из судов и барж.

Процедура может также применяться для отбора донной воды из береговых резервуаров, но для этого случая специального руководства не существует.

13.7.3.2 Аппаратура

Типовое оборудование для отбора проб с помощью удлиненной заборной трубки показано на рисунке 7. Пробоотборник типа трубки включает в себя эластичную трубку (шланг), присоединенную к ручной помпе.

1 - поддерживающая проволока или рулетка; 2 - заземление; 3 - ручной насос для отбора проб; 4 - пробоотборная трубка; 5 - груз

Рисунок 7 - Типовой пробоотборник с удлиненной трубкой

В целях крепежа и установления известной точки отбора пробы трубку привязывают к утяжеленному концу проволоки или рулетки так, чтобы открытый конец трубки располагался приблизительно на 1,25 см (1/2 дюйма) выше конца груза. Трубка и проволока (или рулетка) должны быть достаточно длинными, чтобы дотянуться до дна (эталонная высота) судна (емкости) или резервуара хранения, из которого должна быть взята проба.

Все пробоотборное устройство (т.е. в сборке) должно быть заземлено. Дополнительно с пробоотборником требуется чистая сухая бутылка или другой подходящий контейнер для сбора каждой пробы.

13.7.3.3 Процедура

a) собирают пробоотборник с удлиненной трубкой;

b) после сборки заполняют трубку и насос водой и, убедившись, что нет утечек в атмосферу, закрывают верхний конец устройства, чтобы предотвратить потерю залитой воды, пока заборная трубка погружается. Присоединяют заземляющий кабель к корпусу судового или баржевого танка или резервуара хранения и опускают утяжеленный конец пробоотборника до дна;

c) начинают отбор медленно и равномерно, работая ручной помпой. Чтобы уменьшить возможность захвата загрязненной пробы, первоначально прокачивают и отбрасывают объем, более чем в два раза превышающий вместимость пробоотборного устройства. Собирают пробу (пробы) непосредственно в сухие чистые бутылки или другой подходящий контейнер;

d) если потребуется взять пробу с другого уровня слоя придонной воды, поднимают утяжеленный конец и трубку на требуемый уровень над дном. Прокачивают воду, оставшуюся в трубке (двумя объемами пробоотборного устройства), и отбирают новую пробу (пробы);

e) после отбора каждой пробы немедленно закрывают и маркируют бутылку (или контейнер), подготавливая их для отправки в лабораторию;

f) когда процедура отбора пробы будет закончена, очищают и разбирают пробоотборник на составляющие его части.

14 Отбор проб из трубопровода

14.1 Применение

Настоящая процедура ручного отбора проб из трубопровода применяется к жидкостям с давлением насыщенных паров по Рейду 101 кПа (14,7 psia) или менее, а также к полужидкостям в трубопроводах, в погрузочных и перегрузочных линиях. Продолжительный отбор из трубопроводного потока при помощи автоматических устройств описан в [9]. При проведении учетных операций метод продолжительного автоматического отбора проб из трубопровода является предпочтительным по отношению к ручному. В случае неисправности автоматического пробоотборника его заменяют на ручной. Отбор таких проб ручным способом представительнее.

14.2 Аппаратура

Для непосредственного отбора пробы из протекающего потока используют пробоотборный зонд. Все зонды должны находиться в центре одной трети сечения трубопровода. Входы зондов должны быть сориентированы против течения потока. Конструкции наиболее широко используемых зондов показаны на рисунке 8 и могут представлять из себя:

Примечание - Зонды можно снабдить вентилями (клапанами) или кранами с пробкой (заглушкой) Зонд следует располагать горизонтально.

Рисунок 8 - Зонды (щупы) для ручного отбора проб

14.2.1 Трубку с концом, скошенным под углом 45°, как показано на рисунке 8с.

14.2.2 Коротко радиусный изгиб или изгиб трубки. Конец зонда должен иметь внутреннюю фаску, обеспечивающую входной срезанный угол (рисунок 8а).

14.2.3 Трубку с закрытым концом, с круглым отверстием, расположенным рядом с концом трубки, как показано на рисунке 8а.

14.3 Положение зонда

14.3.1 Поскольку отбираемая жидкость не всегда является гомогенной, место установки, положение и размер пробоотборного зонда должны быть такими, чтобы свести к минимуму любое отделение воды и более тяжелых частиц, что привело бы к различию их концентраций в отобранной пробе и в основном потоке.

14.3.2 Пробоотборный зонд всегда должен располагаться горизонтально, чтобы предотвратить обратное стекание какой-либо части пробы в основной поток.

14.3.3 Пробоотборный зонд предпочтительнее устанавливать на вертикальных участках труб, где вертикальное течение может быть обеспечено. Зонд также можно устанавливать и на горизонтальных участках труб. Скорость потока должна быть достаточно высокой, чтобы обеспечить адекватное турбулентное перемешивание по [10].

14.3.4 Там, где скорость течения недостаточна, выше по течению от пробоотборного крана следует устанавливать подходящее устройство для перемешивания потока продукта, чтобы уменьшить расслоение до приемлемого уровня.

Если поток движется вертикально на достаточном расстоянии, как на платформенном подъемнике, такое устройство может не потребоваться даже при низкой скорости потока.

Эффективными методами для получения адекватного перемешивания являются: уменьшение диаметра трубопровода; серия буровок; скошенная или перфорированная пластина или комбинация каких-либо из этих методов.

Конструкцию и размер устройства определяет пользователь до тех пор, пока протекающий поток не перемешается достаточно хорошо, чтобы обеспечить представительную пробу на выходе из зонда.

14.3.5 Пробоотборные линии в совокупности с зондами должны быть по возможности более короткими, так как на практике они должны быть очищены до того, как какая-либо проба будет отобрана.

14.3.6 При отборе полужидких проб может возникнуть необходимость в нагреве пробоотборных линий, вентилей и приемников до температуры, достаточной, чтобы вещество оставалось жидкостью, обеспечивая тем самым точность отбора и перемешивание проб.

14.3.7 Чтобы контролировать скорость, с которой отбирается проба, зонд должен быть оборудован вентилем или краном.

14.4 Процедура

14.4.1 Настраивают вентиль или кран пробоотборного зонда так, чтобы из зонда вытекала спокойная струя. По возможности скорость, с которой отбирают пробу, должна быть такой, чтобы скорость протекания жидкости через зонд была бы равна линейной скорости потока, движущегося по трубопроводу. Измеряют и записывают скорость отбора пробы в галлонах в час.

Непрерывно или периодически направляют струю пробы в контейнер для пробы, отбирая количество, достаточное для последующего проведения анализов.

14.4.2 При отборе проб сырой нефти или других нефтепродуктов отбирают пробы по 250 мл (1/2 пинты) или, при необходимости, в большем количестве каждый час или чаще. По согласованию сторон период отбора или размер пробы, или и то и другое могут быть изменены в соответствии с размером партии (груза).

При постоянной скорости потока важно, чтобы размер пробы и интервалы между операциями отбора были одинаковыми.

При изменении скорости основного потока пропорционально должны меняться скорость отбора и объем пробы. На практике выполнить это вручную трудно.

14.4.3 При отборе нескольких проб каждая проба сырой нефти должна помещаться в закрытый контейнер, а в конце заранее согласованного периода времени полученные пробы должны быть смешаны, и смешанная проба должна быть взята для испытательных целей. Процедура смешения и работа с пробами приведены в разделах 7, 8. Контейнер с пробой должен храниться в прохладном сухом месте, защищенном от прямого солнечного света.

14.4.4 В качестве альтернативы пробы с линии можно отбирать через регулярные интервалы и анализировать индивидуально. Результаты индивидуальных испытаний могут быть арифметически усреднены и скорректированы с учетом изменения скорости потока во время заранее согласованного периода.

14.4.5 Приготовление смешанной пробы и арифметическое усреднение индивидуальных результатов приемлемы по согласованию сторон.

14.4.6 При выполнении любой процедуры каждую пробу маркируют и доставляют ее в лабораторию в том контейнере, в который она была отобрана.

14.5 Отбор ковшом

14.5.1 Применение

Процедуру отбора проб ковшом применяют при отборе проб жидкостей с давлением насыщенных паров по Рейду 13,8 кПа (2 psia) или менее и полужидкостей в месте, где имеется свободно или открыто выливающаяся струя, вытекающая из небольших погрузочных и перегрузочных трубопроводов диаметром 5 см (2 дюйма) или менее, или из аппаратуры для наполнения бочек, баков и бидонов.

14.5.2 Аппаратура

Используют ковш с вальцованной чашей и ручкой соответствующей длины, изготовленный из луженой стали, который не будет впоследствии реагировать с анализируемым продуктом.

Ковш должен иметь вместимость, достаточную для отбора необходимого количества пробы и должен быть защищен от пыли и грязи, когда не используется. Используют чистый сухой контейнер для пробы необходимого размера.

14.5.3 Процедура

Помещают ковш в свободно текущую струю так, чтобы порция была отобрана со всего поперечного сечения потока. Берут порции через интервалы времени, выбранные таким образом, чтобы была отобрана полная проба, пропорциональная перекачанному количеству продукта.

Общее количество отобранной пробы должно составлять приблизительно 0,1 %, но не более 150 литров (40 галлонов) от общего количества продукта, подвергнутого пробоотбору.

Переносят порции в контейнер для пробы сразу же после их отбора. Хранят контейнер закрытым, исключая моменты переливания в него очередной порции из ковша. По мере того как все части пробы будут отобраны, закрывают контейнер с пробой, маркируют его и доставляют в лабораторию.

15 Отбор проб из барабанов, бочек и бидонов

15.1 Применение

Процедуру отбора проб из барабанов, бочек и бидонов применяют для отбора жидкостей с давлением насыщенных паров по Рейду 13,8 кПа (2 psia) или менее, а также полужидкостей с помощью трубки.

15.2 Аппаратура

Используют как стеклянные, так и металлические трубки, имеющие конструкцию, которая обеспечивает их погружение на расстояние около 3 мм (1/8 дюйма) от дна контейнера. Вместимость трубок колеблется от 500 до 1000 мл (от 1 пинты до 1 кварты).

Металлическая трубка, пригодная для отбора пробы из 189-литровых (50-галлоных) бочек, показана на рисунке 9.

Два кольца, припаянные к трубке в верхней части напротив друг друга, удобны для ее удерживания двумя пальцами, вставленными в кольца, при этом большой палец остается свободным, что дает возможность закрывать отверстие трубки.

В качестве контейнера для пробы используют чистые сухие бидоны или стеклянные бутылки.

15.3 Процедура

15.3.1 Устанавливают барабан или бочку набок, отверстием кверху. Если бочка не имеет бокового отверстия, то ее ставят вертикально и отбирают пробу сверху. Чтобы обнаружить воду, ржавчину или другие нерастворимые загрязнения, оставляют бочку или барабан в таком положении до тех пор, пока они не осядут. Открывают крышку и кладут ее рядом с отверстием замасленной стороной вверх. Закрывают верхний конец чистой сухой пробоотборной трубки большим пальцем и погружают трубку в продукт на глубину около 30 см (1 фут).

Убирают большой палец, позволив нефтепродукту заполнить трубку. Промывают трубку нефтепродуктом, удерживая ее в почти горизонтальном положении и поворачивая ее так, чтобы нефтепродукт смочил часть внутренней поверхности, которая будет погружена в нефтепродукт во время отбора пробы. Отбрасывают промывочный нефтепродукт и дают трубке опорожниться. Снова погружают трубку в нефтепродукт, удерживая большой палец на верхнем конце трубки (если необходима проба со всех уровней, погружают трубку с открытым верхним концом). Когда трубка достигнет дна, убирают палец и позволяют трубке наполниться. Затыкают трубку пальцем, быстро вытаскивают ее и переносят ее содержимое в контейнер для пробы. Закрывают контейнер с пробой, устанавливают на место и затягивают крышку барабана или бочки. Маркируют контейнер и доставляют его в лабораторию.

15.3.2 Пробы из бидонов вместимостью 18,9 литра (5 галлонов) или более отбирают таким же образом, как и из бочек или баков, используя трубку пропорционально меньших размеров.

Рисунок 9 - Типовой пробоотборник для отбора проб из бочек и барабанов

Для бидонов вместимостью менее 18,9 литра (5 галлонов) используют все содержимое в качестве пробы, выбирая бидоны в случайном порядке, как показано в таблице 4, или в соответствии с соглашением между поставщиком и покупателем.

16 Отбор проб твердых и мягких застывших продуктов из бочек, коробов, мешков и пакетов

16.1 Применение

Процедуру отбора проб парафинов и мягких застывших продуктов из бочек, коробок, мешков и пакетов выполняют сверлением, если они не могут быть расплавлены и отобраны как жидкости.

16.2 Аппаратура

16.2.1 Используют предпочтительно корабельный бур диаметром 2 см (3/4 дюйма), аналогичный показанному на рисунке 10, и достаточной длины, чтобы пройти через отбираемый материал.

Рисунок 10 - Корабельный бур для отбора проб сверлением

16.2.2 В качестве контейнеров для пробы используют сухой чистый широкогорлый контейнер или стеклянный стакан с крышкой.

16.3 Процедура

Снимают верхнюю часть или крышку с бочки или пакетов. Открывают мешки или разворачивают пакеты. Удаляют любые загрязнения, кусочки обертки, веревки и другие инородные материалы с поверхности продукта. Просверливают три испытательные отверстия через продукт: одно - в центре и два - в середине между центром и краями упаковки, слева и справа соответственно.

Если какой-либо посторонний материал извлекается изнутри во время операции сверления, включают его как часть высверловки. Кладут три высверленных образца в индивидуальные контейнеры, маркируют их и доставляют в лабораторию.

16.4 Лабораторный осмотр

Если существуют какие-либо визуальные различия между пробами, исследуют и анализируют каждую из проб в отдельности в лаборатории. В противном случае смешивают три высверленные пробы в одну.

Если требуется отделение части пробы, ее охлаждают, измельчают (при необходимости), перемешивают и квартуют высверленные пробы, пока не будет получено необходимое уменьшенное количество пробы.

17 Отбор проб кусковых твердых продуктов из элеваторов, бункеров, грузовиков, бочек, мешков, ящиков и конвейеров

17.1 Применение

Процедуру отбора проб всех кусковых твердых веществ из элеваторов, бункеров, грузовиков, бочек, мешков, ящиков и конвейеров выполняют совком.

Особенно широко эту процедуру применяют при отборе проб зеленого нефтяного кокса с железнодорожных платформ и последующей подготовке таких образцов для лабораторных анализов.

Когда используют другие способы поставки и переработки грузов, обращаются к [19]. Допускается отбирать нефтяной кокс во время погрузки в железнодорожные платформы из куч или после погрузки на железнодорожные платформы из коксовых барабанов.

17.2 Аппаратура

В качестве контейнера для пробы используют полиэтиленовое ведро вместимостью около 9,5 л (10 кварт). Для заполнений контейнера используют совок размером № 2 из нержавеющей стали или алюминия.

17.3 Процедура

Кусковые твердые продукты обычно неоднородны, поэтому точный их отбор затруднен. Предпочтительно отбирать пробы во время разгрузки платформ или во время перевозки груза. Отбирают определенное количество порций с регулярными интервалами и смешивают их.

17.3.1 Отбор проб с железнодорожных платформ

Используют одну из нижеследующих процедур:

17.3.1.1 Платформа, загружаемая из кучи

Отбирают по полному совку пробы из каждой из пяти точек отбора, показанных на рисунке 11, и помещают в полиэтиленовое ведро. Закрывают пробу и доставляют в лабораторию. Каждая из точек отбора должна располагаться на одинаковом расстоянии от краев железнодорожной платформы.

L - длина платформы; Н - высота платформы

Рисунок 11 - Положение точек сбора проб на различных уровнях железнодорожной платформы

17.3.1.2 Отбор проб из коксовых барабанов после их непосредственной загрузки

Из любых пяти точек отбора, показанных на рисунке 12, берут по полному совку кокса с глубины 30 см (1 фут) ниже поверхности и помещают в полиэтиленовое ведро. Закрывают пробу и доставляют в лабораторию.

L - длина платформы; W - ширина платформы

Рисунок 12 - Положение точек отбора проб на открытой поверхности железнодорожной платформы

17.3.2 Отбор проб с конвейера

Отбирают по одному совку с каждых 7 - 9 тонн (8 - 10 коротких тонн)1) транспортируемого кокса.

Эти пробы могут отбирать отдельно или смешивать после того, как будут отобраны все пробы, представительные для данной партии груза.

1) Короткая тонна (shot ton) - американская тонна (2000 фунтов), равная 0,893 «длинной» английской тонны, составляющая также 0,9072 метрической тонны.

17.3.3 Отбор из мешков, бочек или ящиков

17.3.3.1 Отбирают порции из ряда случайно выбранных упаковок (как показано в таблице 3) или в соответствии с договоренностью между поставщиком и покупателем.

17.3.3.2 Пробы, отобранные совком, осторожно перемешивают и уменьшают до размера, приемлемого для лабораторного анализа методом квартования, описанным в [21].

Процедуру квартования выполняют на твердой чистой поверхности, свободной от сколов и защищенной от дождя, снега, ветра и солнца. Избегают загрязнения пробы окалиной, песком, щепками от пола или другими материалами. Предохраняют пробу от потерь, воздействия влаги и пыли. Перемешивают и распределяют пробу слоем по кругу, разделив его на четыре равных сектора. Складывают два противоположных сектора, получая таким образом представительную уменьшенную пробу. Если эта проба остается очень крупной для лабораторных целей, повторяют процедуру квартования. Таким образом, проба может быть уменьшена до представительной пробы размером, пригодным для лабораторных целей. Маркируют и доставляют пробу в лабораторию в соответствующем контейнере.

18 Отбор проб консистентных смазок, мягких парафинов или битумов

18.1 Применение

Настоящий метод включает способы получения проб, представительных для партий или поставок пластичных смазок, мягких парафинов или битумов, сходных по консистентности со смазками. Поскольку широкое изменение условий часто вызывает трудности, в соответствии с индивидуальными требованиями допускается изменение настоящей процедуры, являющейся наиболее общей. Действуют в соответствии с разделами 7 и 9, особенно пунктами, касающимися требований по безопасности, осторожности в обращении и чистоты оборудования, исключая случаи, когда они противоречат инструкциям, приведенным в настоящем разделе.

18.2 Контроль, проверка

18.2.1 Если продукт является пластичной смазкой и контроль проводят на предприятии, то пробу отбирают из тех резервуаров каждой поставки или партии продукции, в которых доставлен продукт. Никогда не отбирают пробы смазки непосредственно из котлов для ее приготовления, охлаждающих лотков, резервуаров или работающего оборудования.

Не отбирают пробу смазки, пока она не остынет до температуры более чем на 9,4 °С (15 °F) выше температуры окружающего воздуха и пока смазку не продержат в резервуаре готовой продукции в течение не менее 12 ч.

Если резервуары для партии смазки имеют разные размеры, обращаются со смазкой из резервуара каждого размера как с отдельной партией.

Когда контроль проводят на месте доставки, отбирают пробы из каждой поставки. Если поставка содержит резервуары из более чем одной промышленной партии (партии с разными номерами), отбирают пробу из каждой партии отдельно.

18.2.2 Если проверяемый продукт имеет консистентность смазки, но в действительности не представляет пластичную смазку, а является смесью тяжелых углеводородов, например микрокристаллический парафин или мягкий битум, допускается отбор проб как из лотков, резервуаров и другого работающего оборудования, так и из резервуаров с готовой продукцией. Метод отбора смазок из таких продуктов следует применять только в том случае, если отсутствует возможность нагревания и превращения продукта в жидкость.

18.3 Размер пробы (количество пробы)

Выбирают в случайной последовательности контейнеры из партии или поставки, чтобы получить требуемое количество пробы в соответствии с таблицей 8.

Таблица 8 - Размеры проб смазок

Контейнер

Партия или поставка

Минимальное количество пробы

Трубы или упаковки менее чем 0,45 кг (1 фунт)

Вся

Количество, достаточное для получения 4,4 кг (2 фунтов) пробы

Бидоны по 0,45 кг (1 фунт)

Вся

3 бидона

Бидоны от 2,3 до 4,6 кг (от 5 до 10 фунтов)

Вся

1 бидон

Контейнер более чем 4,6 кг (10 фунтов)

Менее 4536 кг (10000 фунтов)

1 - 1,4 кг (2 - 3 фунта) из одного или более резервуаров

Контейнер более чем 4,6 кг (10 фунтов)

4536 + 22680 кг (10000 + 50000 фунтов)

1 - 2,3 кг (2 - 5 фунтов) из двух или более резервуаров

Контейнер более чем 4,6 кг (10 фунтов)

Более 22680 кг (50000 фунтов)

1 - 2,3 кг (2 - 5 фунтов) из трех или более резервуаров

18.4 Процедура

18.4.1 Проверяют открытый резервуар, чтобы определить, является ли смазка гомогенной, сравнивая смазку, прилегающую к внешним стенкам резервуара, со смазкой в центре (не менее 15 см (6 дюймов) ниже поверхности) по структуре и консистенции.

Когда вскрыт более чем один контейнер из партии или поставки, сравнивают смазку во всех открытых резервуарах.

18.4.2 Если значительного различия в смазке не обнаружено, отбирают одну порцию приблизительно из центра с глубины как минимум 6,5 (3 дюйма) ниже поверхности из каждого открытого резервуара в количестве, достаточном, чтобы получить желаемую массу смешанной пробы (таблица 8). Отбирают порции чистым совком, большой ложкой или шпателем и помещают их в чистый контейнер.

Очень мягкие полужидкие смазки допускается отбирать путем зачерпывания стаканом вместимостью 0,45 кг (1 фунт) или подходящим ковшом.

Если найдено различие в смазке, отобранной из различных мест открытого резервуара, отбирают две отдельные пробы массой 0,45 кг (1 фунт) каждая: первая - с поверхности рядом со стенкой резервуара, вторая - из центра не менее чем на 15 см (6 дюймов) ниже поверхности.

Если отмечают какое-либо различие между различными резервуарами партии или поставки, отбирают отдельные пробы массой около 0,45 кг (1 фунт) из каждого резервуара.

Когда отсутствует однородность продукта, отбирают более чем одну пробу из партии или поставки и отправляют их в лабораторию как отдельные пробы.

18.4.3 Если для представления партии или поставки требуется более одной порции смазки с показателем пенетрации более 175 (см. [22]), готовят смешанную пробу тщательным смешением равных частей. Используют большую ложку или шпатель и чистый контейнер. Избегают сильного перемешивания и попадания воздуха в смазку. Поскольку пробы смазки при извлечении из контейнера частично становятся «обработанными» (теряют структуру), данная процедура является непригодной для получения «необработанных» проб смазки, показатель пенетрации которых выше 175, для определения их пенетрации.

Для смазок, имеющих пенетрацию менее 175, пробы вырезают из каждого контейнера при помощи ножа, они должны иметь форму блоков 15×15×5 см (6×6×2 дюйма).

При необходимости выполняют определение пенетрации на «необработанной» пробе непосредственно на блоках, а другие контрольные анализы - на смазке, отрезанной от блока.

Приложение А

(обязательное)

Указания по безопасному ведению работ по отбору проб

А.1 При выполнении процедур настоящего метода испытания могут использоваться нижеуказанные вещества. Перед началом работы персонал, работающий с этими веществами, должен быть ознакомлен со следующими предостерегающими указаниями.

А.1.1 Бензол

1 Держите вдали от огня, искр, открытого пламени.

2 Держите контейнер закрытым.

3 Используйте соответствующую вентиляцию.

4 По возможности работайте в вытяжном шкафу.

5 Избегайте распространения паров и устраняйте все источники зажигания, особенно аппаратуру и нагреватели во взрывоопасном исполнении.

6 Избегайте длительного вдыхания паров или распыленного тумана.

7 Избегайте попадания на кожу и в глаза. Не принимайте внутрь.

А.1.2 Растворитель (нафта)

1 Держите вдали от огня, искр и открытого пламени.

2 Держите контейнер закрытым.

3 Используйте соответствующую вентиляцию. Избегайте распространения паров и устраняйте все источники зажигания, особенно аппаратуру и нагреватели во взрывоопасном исполнении.

4 Избегайте длительного вдыхания паров или распыленного тумана.

5 Избегайте продолжительного или повторяющегося попадания на кожу.

А.1.3 Огнеопасная жидкость (основные указания)

1 Держите вдали от огня, искр и открытого пламени.

2 Держите контейнер закрытым.

3 Используйте соответствующую вентиляцию. Избегайте распространения паров и устраняйте все источники зажигания, особенно аппаратуру и нагреватели во взрывоопасном исполнении.

4 Избегайте длительного вдыхания паров или распыленного тумана.

5 Избегайте продолжительного или повторяющегося попадания на кожу.

А.1.4 Бензин (светлый)

1 Вреден при проникновении сквозь кожу.

2 Держите вдали от огня, искр и открытого пламени.

3 Держите контейнер закрытым. Работайте с соответствующей вентиляцией.

4 Избегайте распространения паров и устраняйте все источники зажигания, особенно аппаратуру и нагреватели во взрывоопасном исполнении.

5 Избегайте длительного вдыхания паров или распыленного тумана.

6 Избегайте продолжительного или повторяющегося попадания на кожу.

А.1.5 Толуол и ксилол

1 Предупреждение - Огнеопасны. Пары вредны.

2 Держите вдали от огня, искр и открытого пламени.

3 Держите контейнер закрытым.

4 Работайте с соответствующей вентиляцией. Избегайте длительного вдыхания паров или распыленного тумана.

5 Избегайте продолжительного или повторяющегося попадания на кожу.

Приложение В

(справочное)

Сопоставление структуры настоящего стандарта со структурой примененного в нем стандарта АСТМ Д 4057-95 (2000)

Таблица В.1

Структура стандарта АСТМ Д 4057-99 (2000)

Структура настоящего стандарта

1 Область применения

1 Область применения1) (1, 12.1)

2 Нормативные ссылки

2 Нормативные ссылки2) (2)

3 Термины

3 Термины и определения3) (3)

4 Сущность стандарта

4 Сущность стандарта (4)

5 Значение и применение

5 Значение и использование стандарта (5)

6 Оборудование

6 Аппаратура (6)

7 Рассмотрение ручного метода отбора проб

7 Требования к проведению отдельных этапов ручного отбора проб4) (7, 12.2.3-12.2.5, 12.3.4, 12.4, 12.5)

8 Специальные меры предосторожности

8 Требования к отбираемым пробам5 (6.1.4, 12.3.1 - 12.3.3, 6.1.6, 6.1.7)

9 Специальные указания для специфических материалов

9 Специальные меры предосторожности при ручном отборе проб6) (8)

10 Специальные указания для специфических испытаний

10 Специальные требования к работе со специфическими материалами6) (9)

11 Специальные указания для специфических применений

11 Специальные требования к выполнению специфических испытаний6) (10)

12 Метод ручного отбора проб (общие положения)

12 Специфические требования к специфическому ручному отбору проб6) (11)

13 Отбор проб из резервуара

13 Отбор проб из резервуара (13)

14 Отбор проб из трубопровода

14 Отбор проб из трубопровода7 (14, 15)

15 Отбор проб ковшом

15 Отбор проб из барабанов, бочек и бидонов (16)

16 Отбор проб трубкой

16 Отбор проб твердых и мягких застывших продуктов из бочек, коробов, мешков и пакетов6) (17)

17 Отбор проб сверлением

17 Отбор проб кусковых твердых продуктов из элеваторов, бункеров, грузовиков, бочек, мешков, ящиков и конвейеров6) (18)

18 Отбор проб совком

18 Отбор проб пластичных смазок, мягких парафинов или битумов6) (19)

19 Отбор проб смазок

Приложение А Указания по безопасному ведению работ по отбору проб (приложение А)

20 Ключевые слова

Приложение В (-)

Приложение А Предостережения по безопасному ведению работ

Библиография (-)

1) В данный раздел включен подраздел 12.1 из раздела 12 стандарта АСТМ, как непосредственно относящийся к области применения ручного отбора проб.

2) Содержание раздела перенесено в «Библиографию», поскольку ссылки, приведенные в разделе 2 стандарта АСТМ, не являются нормативными и даны для информации пользователя.

3) Данный раздел дополнен термином 3.3.10, который встречается в тексте стандарта АСТМ.

4) В данный раздел включены пункты 12.2.3, 12.3.4 - 12.5 из раздела 12 стандарта АСТМ, как непосредственно относящиеся к отдельным этапам ручного отбора проб.

5) Включен новый раздел, в котором выделены общие требования к отбираемым пробам.

6) Изменен порядковый номер раздела относительно порядковых номеров стандарта АСТМ в связи с введением нового раздела.

7) В раздел включен раздел 15 стандарта АСТМ, т.к. отбор ковшом применим и к полужидкостям.

Примечание - После заголовков разделов настоящего стандарта приведены в скобках номера аналогичных им разделов (подразделов, пунктов) стандарта АСТМ.

Библиография

Стандарты АСТМ1):

1) Сборники стандартов АСТМ.

[1]

D 5854

Руководство по смешению и работе с жидкими образцами нефти и нефтепродуктов

[2]

D 5842

Руководство по отбору проб и работе с образцами топлив, предназначенных для определения их летучести

[3]

D 323

Метод определения давления насыщенных паров нефтепродуктов (метод Рейда)

[4]

D 1265

Руководство по ручному способу отбора проб сжиженных нефтяных газов

Американские национальные стандарты1):

[5]

В93.19

Стандартный метод экстракции жидких образцов из трубопроводов действующей гидравлической системы (анализ загрязнения в виде частиц)

[6]

В93.44

Метод экстракции жидких образцов из резервуара действующей гидравлической системы

Стандарты АСТМ1):

1) Сборники стандартов АСТМ.

[7]

D 923

Метод отбора проб электроизоляционных жидкостей

[8]

D 1145

Метод отбора проб природного газа

[9]

D 2880

Спецификация для жидких газотурбинных топлив

[10]

D 4177

Руководство по автоматическому отбору проб нефти и нефтепродуктов

[11]

D 4306

Руководство по определению влияния следов загрязнений в контейнерах на образцы авиационных топлив

[12]

D 268

Руководство по отбору проб и испытанию летучих растворителей и химических полупродуктов, используемых в красителях и соответствующих защитных покрытиях и материалах

[13]

D 1856

Метод извлечения асфальта из раствора по Абсону

[14]

D 2172

Методы количественной экстракции битума из битуминозных смесей для дорожных (мостовых) покрытий

[15]

D 977

Спецификация на эмульгированный асфальт

[16]

D 244

Методы испытаний эмульгированных асфальтов

[17]

D 86

Метод дистилляции нефтепродуктов при атмосферном давлении

[18]

D 525

Метод определения окислительной стабильности бензина (метод индукционного периода)

[19]

D 873

Метод определения окислительной стабильности авиационных топлив (метод потенциального осадка)

[20]

D 346

Руководство по сбору и подготовке проб кокса для лабораторного анализа

[21]

D 217

Методы определения пенетрации конусом пластичных смазок

[22]

API2) - стандарт «Руководство по стандартам для анализа нефти»:

2) API - American Petroleum Institute (Американский институт нефти)

Глава 8.2

Автоматический отбор проб нефти и нефтепродуктов

Глава 8.3

Стандартное руководство по смешению и работе с жидкими образцами нефти и нефтепродуктов

Глава 8.4

Стандартное руководство по отбору и работе с топливами при определении летучести

Глава 9.3

Метод определения плотности и плотности в градусах API сырой нефти и жидких нефтепродуктов термоареометром

Глава 17.1

Инструкции по инспекции морских грузов

Глава 17.2

Измерение резервуаров грузовых морских судов

Глава 18.1

Методики измерения сырой нефти, отбираемой из небольших автоцистерн

Глава 10, различные разделы. Определение осадка и воды

 

Ключевые слова: нефть, нефтепродукты, ручной отбор проб, отбор сверлением, пробоотборная бутылка/стакан, точечная проба, отобранная стержневой желонкой, отбор проб ковшом, отбор проб заборной трубкой, отбор проб совком, отбор проб смазок, морские перегрузки, контейнеры для пробы, обращение с пробой, маркировка пробы, перемешивание пробы, доставка пробы, пробоотбор, держатель пробоотборной бутылки, непрерывный отбор, напорные трубы, отбор из крана, отбор трубкой