Центральный ордена Трудового Красного Знамени
научно-исследовательский и проектный институт
типового и экспериментального проектирования жилища
(ЦНИИЭП жилища) Госгражданстроя

Рекомендации
по проектированию
железобетонных крыш
с теплым чердаком
для многоэтажных
жилых зданий

Москва Стройиздат 1986

Содержат описание общего решения теплого чердака и системы вентиляции, приводятся конструкции основных частей крыши, в том числе конструкции покрытия с рулонной и безрулонной кровлями.

Излагается теплотехнический расчет крыши с теплым чердаком; указываются области и условия ее применения; приводятся технико-экономические показатели конструкции и требования по эксплуатации.

Для инженерно-технических работников проектных и научно-исследовательских институтов.

Разработаны ЦНИИЭП жилища Госгражданстроя (канд. техн. наук А.Н. Мазалов). Использованы материалы ЦНИИЭП жилища Госгражданстроя и результаты исследований МНИИТЭП (канд. техн. наук И.И. Староверова, инж. И.С. Свидерский).

Рекомендованы к изданию решением секции конструкций Научно-технического совета ЦНИИЭП жилища Госгражданстроя.

1. ОБЩИЕ ПОЛОЖЕНИЯ

1.1. Принципиально новое решение железобетонной крыши - так называемый «теплый чердак»* - впервые применено в Москве на жилых домах, строящихся по проектам МНИИТЭП. Чердачное пространство крыши используется в нем как сборная вентиляционная камера статического давления, в которую открываются все вентиляционные каналы жилых помещений и воздух из которой удаляется через общую вытяжную шахту. Преимуществами крыши с теплым чердаком являются: улучшение вентиляции верхних этажей; повышение надежности кровли; снижение теплопотерь верхнего этажа; упрощение конструкции покрытия; доступность для осмотра и ремонта.

____________

* Авт. свид. № 460365 - «Открытия, изобретения, промышленные образцы, товарные знаки», № 6, 1975 г.

1.2. Настоящие Рекомендации распространяются на проектирование железобетонных крыш с теплым чердаком для жилых зданий от 5 до 16 этажей включительно, строящихся во всех климатических районах, с применением рулонной или безрулонной кровли.

1.3. В работе содержатся рекомендации по устройству теплого чердака и проектированию его ограждающих конструкций. Проектирование других конструкций и инженерного оборудования, в том числе кровли и вентиляции, должно выполняться в соответствии с действующими строительными нормами. При расчете системы вентиляции целесообразно пользоваться рекомендациями МНИИТЭП.

1.4. Чердачное пространство крыши с теплым чердаком используется в качестве сборной вентиляционной камеры, обогреваемой воздухом вытяжной вентиляции, поэтому к его ограждающим конструкциям предъявляются требования по теплозащите и герметизации.

Помещение теплого чердака следует использовать для размещения и технического обслуживания элементов инженерного оборудования здания, а также для проведения ремонта крыши.

1.5. Ограждающие и несущие конструкции крыши с теплым чердаком должны соответствовать основным конструкциям здания по применяемым материалам, конструктивному решению, технологии изготовления и монтажа.

Внутренние поверхности стен и покрытий чердака, согласно санитарным требованиям, окрашиваются белыми минеральными красителями.

1.6. Применение технических решений и конструкций крыш, существенно отличающихся от принятых в настоящих Рекомендациях, допускается после дополнительных исследований и только для экспериментального строительства.

2. УСТРОЙСТВО ТЕПЛОГО ЧЕРДАКА

2.1. Крыша с теплым чердаком состоит из внутреннего помещения и ограждающих конструкций: чердачное покрытие, наружные стены и чердачное перекрытие. Как правило, покрытие выполняется с утеплением, перекрытие - без него. Принципиальную схему крыши с различными решениями покрытия см. на рис. 1.

2.2. Для обеспечения воздухообмена чердачное помещение выполняется в виде единого объема в пределах планировочной секции дома. Внутри теплого чердака не допускается устройство изолированных отсеков с температурно-влажностным режимом, отличающимся от условий теплого чердака. При применении сплошных внутренних конструкций, разделяющих помещение (опорные панели, высокие прогоны и т.п.), их суммарная площадь должна быть не более 30 % площади поперечного сечения чердака.

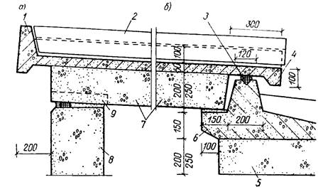
Рис. 1. Схема крыши с теплым чердаком

а - покрытие с рулонной кровлей; б - покрытие с безрулонной кровлей;
1 - легкобетонная панель покрытия под рулонной кровлей; 2 - вытяжная вентиляционная шахта;
3 - защитный зонт; 4, 5 - панели лотка; 6 - двухслойная панель покрытия с безрулонной кровлей;
7 - наружные стены чердака; 8 - оголовок вентиляционного блока; 9 - внутренний водосток;
10 - опорная панель; 11 - чердачное перекрытие; 12 - водосборный поддон

2.3. Смежные секции теплого чердака разделяются сплошными несгораемыми стенками, в которых устраивается герметичная дверь размером 1,5×0,8 м или люк 0,8×0,8 м.

На участке встроенных лоджий наружные стены чердака целесообразно устанавливать в плоскости фасадных стен дома, а над лоджиями в уровне пола чердака укладывать плиты перекрытия со слоем теплоизоляции.

2.4. Высота сквозного прохода вдоль чердака должна быть не менее 1,6 м (при ширине не менее 1,2 м); на отдельных участках (под лотком, прогоном и т.д.) допускается высота чердака 1,2 м. При необходимости высота чердака в отдельных местах может быть увеличена до 2,2 м.

2.5. Вход на чердак и выход на крышу следует устраивать только из лестничной клетки через несгораемую дверь 1,5×0,8 м, устанавливаемую с герметизирующими прокладками. Вход на теплый чердак предусматривается в каждой секции дома, а выход на крышу - согласно СНиП II-2-80 «Противопожарные нормы проектирования зданий и сооружений» - в торцевых секциях и на каждые 1000 м2 покрытия. Не допускается выход на крышу устраивать непосредственно из помещения теплого чердака через люк в покрытии или через дверь в вытяжной шахте.

Для доступа в чердак и на крышу рекомендуется лестничные марши доводить до отметки чердака. В зданиях с лифтом выход на крышу осуществляется через дверь в стене лестнично-лифтового узла. В зданиях без лифта (и с опущенным машинным помещением) выход на крышу предусматривается через отдельную надстройку с дверью и люком.

Все двери и люки в теплом чердаке должны быть оснащены специальными запирающими устройствами.

2.6. Вытяжные части канализационных стояков дома объединяются в пределах секции чердака и выводятся через вытяжную шахту. Труба сборного вентиляционного стояка устанавливается в углу шахты и выводится на уровень стенки.

Трубопроводы инженерного оборудования прокладываются вблизи конструкций теплого чердака на расстоянии не более 0,4 м от поверхности покрытия, пола или стен и с учетом удобного доступа к ним.

2.7. Водоприемная воронка внутреннего водостока устанавливается в средней части водосборного лотка или ендовы и подсоединяется к водосточному стояку отводящими патрубками. Трубы внутреннего водостока в пределах теплого чердака не утепляются и окрашиваются антикоррозийными составами.

Водосборные лотки размещаются вдоль средней продольной оси покрытия, как правило, на одной отметке. При всех решениях лотков под ними должна обеспечиваться минимальная высота (см. п. 2.4). Уклон кровли к лотку обеспечивается наклонной укладкой панелей покрытия.

2.8. Помещение теплого чердака целесообразно освещать естественным светом через проемы в верхней половине наружной стены. Световые проемы заполняются стеклянными пустотелыми блоками, устанавливаемыми, как правило, в два ряда (слоя) в плоскости стены. При однослойном заполнении теплопотери световых проемов учитываются в теплотехническом расчете. Площадь проемов принимается равной 1 - 2 % площади перекрытия. Применять переплеты с оконным стеклом для заполнения светопроемов не допускается.

2.9. Размещать внутри теплого чердака консоли и механизмы для подвески ремонтных люлек не допускается. Их рекомендуется устанавливать на покрытии чердака, которое рассчитывается на дополнительную нагрузку.

3. УСТРОЙСТВО СИСТЕМЫ ВЕНТИЛЯЦИИ

3.1. В панельных зданиях с теплым чердаком следует применять унифицированные вентиляционные блоки со сборными магистральными каналами на высоту здания и перепускными каналами на высоту этажа. По аналогичной схеме выполняются вентиляционные каналы в кирпичных и блочных домах.

Размеры вентиляционных каналов в блоках должны быть такими, чтобы максимальный расход воздуха на одном этаже превышал минимальный расход на другом не более чем в 1,3 раза. В этом случае вытяжные вентиляторы для кухонь верхних этажей не устанавливаются.

Для выпуска воздуха из каналов в теплый чердак на вентиляционных блоках верхнего этажа устанавливаются специальные оголовки, выполняющие роль диффузора воздушного потока. В оголовках следует оставлять отдельные каналы из верхнего этажа.

3.2. По санитарным требованиям в объем теплого чердака не выводятся вытяжные трубы канализации и мусоропровода, каналы из помещений с выделениями вредных веществ и помещений, оборудованных вытяжной вентиляцией с механическим побуждением, а также каналы из технического подполья. В этих случаях вентиляцию следует устраивать через обособленные каналы, с выпуском воздуха в атмосферу. Вытяжная вентиляция встроенных нежилых помещений первого этажа осуществляется через вентиляционные блоки жилой части (этажей) здания, с выпуском в чердак.

3.3. Выпуск воздуха из теплого чердака в атмосферу производится через общую вытяжную шахту, одну для всех квартир каждой секции дома или изолированной части чердака. Устройство объединенной вытяжной шахты для квартир разных секций дома не допускается. Вытяжная шахта размещается в центральной части каждой секции чердака, на приблизительно равных расстояниях от вентиляционных блоков. Шахта устанавливается, как правило, на чердачном покрытии, вне пределов водосборного лотка, а входное отверстие шахты располагается в уровне нижней поверхности покрытия. Не допускается опускать стенки шахты до чердачного перекрытия с устройством в них боковых отверстий.

При прямоугольном сечении отверстия в плане отношение длинной стороны к короткой для отдельно стоящей шахты не должно превышать 1,5, а пристроенной шахты - 2.

3.4. Площадь отверстия вытяжной шахты рассчитывается из условия обеспечения скорости воздушного потока 0,5 - 1 м/с при расходе воздуха, увеличенном на 30 % по сравнению с нормативным объемом воздуха, удаляемого из жилых помещений (см. п. 6.3). При этом общее аэродинамическое сопротивление участка, включающего вытяжную шахту и чердачное помещение до дальнего вентиляционного блока, не должно превышать 0,1 мм вод. ст. (Па). Площадь отверстия шахты для районов со средней температурой холодной пятидневки - 35 °С и ниже рассчитывается на нормативный расход воздуха, без увеличения на 30 %.

При расчете шахты необходимо учитывать дополнительный объем воздуха, поступающего на теплый чердак из самостоятельных вентиляционных каналов, встроенных помещений и т.п. В вытяжной шахте могут размещаться обособленные каналы вентиляции, не выходящие в теплый чердак (см. п. 3.2). Эти каналы заканчиваются на уровне обреза стенок шахты, но их площади не входят в расчетную площадь отверстия.

Высота вытяжной шахты определяется расчетом системы вентиляции здания и принимается равной 4,5 м, считая от чердачного перекрытия до верха шахты. Высоту шахты с зонтом (см. п. 4.6) следует считать до середины просвета между стенкой и зонтом. Для типовых проектов допускается принимать унифицированную высоту короба шахты 2,6 м от покрытия. При необходимости уменьшения общей высоты шахты это должно быть обосновано расчетом и проверено в эксплуатации.

3.5. Для северных пурговых и южных муссонных районов целесообразно использовать другие вытяжные устройства, надежно исключающие проникновение атмосферных осадков. Возможным решением являются вытяжные устройства, в которых подсос воздуха из чердака осуществляется эжекцией скоростного потока воздуха в вертикальных шахтах (трубах), установленных с внешней стороны наружных стен чердака.

Для ограничения расхода вытяжного воздуха (см. п. 3.4) целесообразно в типовых решениях вытяжных устройств (шахт) предусматривать возможность уменьшения на 30 % площади отверстия путем установки на входе в шахту подвижных или переносных щитов или заслонок.

4. КОНСТРУКЦИИ ОСНОВНЫХ ЧАСТЕЙ КРЫШИ

4.1. Конструкция наружных стен теплого чердака аналогична конструкции наружных стен здания по применяемым материалам: толщине слоев, разрезке панелей и решению стыков. Наружные стены рекомендуется использовать для опирания чердачного покрытия.

Наружные стены чердака делаются сплошными, без сквозных отверстий. При устройстве световых проемов, заполненных стеклоблоками, их рекомендуется выполнять в виде полос 0,2×0,4 или 0,2×0,6 м на 1 м, с герметизацией воздушной прослойки между блоками.

4.2. Чердачное перекрытие образуется из типовых панелей междуэтажного перекрытия, швы и отверстия в которых должны быть надежно заделаны раствором. Верхняя поверхность панелей перекрытия служит полом теплого чердака. При неровной поверхности перекрытия устраивается затирка или стяжка из цементно-песчаного раствора.

При необходимости утепления перекрытия (см. п. 6.6) дополнительный слой теплоизоляции целесообразно выполнять из пористого керамзитобетона со стяжкой поверху. При использовании эффективных теплоизоляционных материалов по ним должен укладываться защитный бетонный слой толщиной 40 мм.

4.3. Оголовки вентиляционных блоков имеют вид прямоугольного короба и изготавливаются, как правило, из бетона (рис. 2). Отверстие в нижней части оголовка совпадает с размерами вентиляционного блока, в верхней части оно расширяется на 0,15 м (в одну сторону, для удобства компоновки блоков). Высоту оголовка следует принимать 0,6 м от перекрытия, чтобы выброс воздуха происходил в среднюю зону чердака. Толщина бетонных стенок должна быть минимальной.

Рис. 2. Оголовок вентиляционного блока при спаренной установке

а - поперечное сечение; б - вид сверху; 1 - бетонный оголовок;
2 - вентиляционные каналы верхнего этажа; 3 - сборные каналы из кухонь и санузлов;
4 - панель чердачного перекрытия; 5 - вентиляционный блок

4.4. Внутренние опорные конструкции крыши выполняются, как правило, из плоских бетонных панелей, устанавливаемых над внутренними несущими стенами здания. Опорные панели изготавливаются с отверстиями таких размеров, чтобы проемность конструкции была не менее 50 %.

4.5. Вытяжную шахту рекомендуется пристраивать к стене машинного помещения лифта, при этом шахта должна быть на 0,5 м выше покрытия этого помещения. При установке отдельно стоящей шахты должна быть обеспечена ее устойчивость при ветре. Вытяжная шахта опирается на несущие конструкции покрытия или опорные элементы чердака.

Вытяжная шахта выполняется в виде сборного пространственного короба прямоугольной или круглой формы (см. рис. 3), с утепленными или неутепленными стенками. При отсутствии под шахтой водосборного поддона (см. п. 4.6) ее стенки должны иметь теплозащиту не ниже 0,7 расчетного термического сопротивления покрытия, для чего их рекомендуется делать из керамзитобетонных панелей с бетонным слоем. При наличии поддона стенки шахты могут выполняться неутепленными, но из плотного морозостойкого бетона (см. п. 5.8) при минимальной толщине стенок 60 мм.

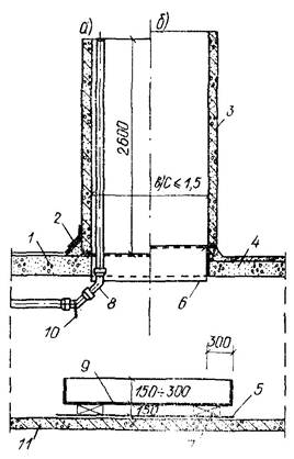
Рис. 3. Схема устройства вытяжной вентиляционной шахты

а - при рулонной кровле; б - при безрулонной кровле; 1 - панель покрытия с рулонной кровлей;
2 - примыкание рулонной кровли; 3 - бетонная стенка шахты; 4 - панель безрулонного покрытия;
5 - гидроизоляция; 6 - защитный металлический фартук; 7 - опоры поддона;
8 - вытяжка из канализационных стояков; 9 - водосборный поддон;
10 - скрутка для отвода конденсата; 11 - чердачное перекрытие

Допускается применение вытяжных шахт с металлическим каркасом, обшитым листами асбестоцемента с одной (неутепленная) или с двух сторон (с внутренним заполнением теплоизоляционным материалом).

4.6. Защита от попадания атмосферных осадков через вытяжную шахту осуществляется устройством защитного зонта или водосборного поддона.

Защитный зонт из железобетонной плиты или асбестоцементного листа устанавливается на металлических стойках над шахтой на расстоянии, равном 0,7 ширины отверстия, с напуском в каждую сторону за край шахты на 0,4 ширины отверстия. При необходимости может предусматриваться дополнительная защита шахты жалюзийными решетками или ветроотбойными щитами.

Водосборный поддон, сваренный из металлических листов и окрашенный антикоррозийными составами, устанавливается с зазором на перекрытии по слою гидроизоляции (рис. 3). Глубина поддона принимается равной 0,15 - 0,3 м (в зависимости от интенсивности ливней в данном районе), размер в плане соответствует размеру отверстия шахты, увеличенному на 0,3 м в каждую свободную сторону. Возможно применение поддонов из других долговечных материалов, в том числе из плотного водонепроницаемого бетона. Водосборный поддон, как правило, не подсоединяется к водосточной системе здания и вода из него удаляется испарением.

В районах с особо неблагоприятными климатическими условиями допускается установка водосборного поддона в сочетании с защитным зонтом.

5. КОНСТРУКЦИИ ЧЕРДАЧНОГО ПОКРЫТИЯ

5.1. Покрытие теплого чердака состоит из панелей высокой заводской готовности, совмещающих несущие, теплозащитные и гидроизолирующие функции и выполненных в виде единого конструктивного и монтажного элемента. Панели покрытия делают невентилируемыми, а их нормальное влажное состояние обеспечивается расположением защитных слоев и ограничением начальной влажности утеплителя (см. пп. 5.5; 5.6 и 6.4).

Запрещается применять покрытия построечного изготовления (с засыпными и монолитными слоями), имеющие низкие эксплуатационные свойства и большую трудоемкость.

5.2. По функциональному назначению в покрытии различаются: панели покрытия (кровельные панели), образующие наклонные поверхности (скаты) для стока воды и лотковые панели (лотки) для сбора и отвода атмосферных вод в систему внутреннего водостока.

Чердачное покрытие должно решаться, как правило, по продольной конструктивной схеме, с опиранием кровельных панелей на водосборный лоток и наружные стены чердака, при симметричном расположении панелей относительно лотка.

Конструкция чердачного покрытия должна обеспечивать свободу температурных деформаций в стыках панелей и в узлах опирания.

При этом жесткие соединения не ставятся в верхней части панелей.

Панели и лотки покрытия проектируются, как правило, изгибаемыми по балочной схеме, с относительным прогибом не более 1/200 пролета. Не рекомендуется применение неразрезных конструкций в сборном покрытии.

Панели покрытия имеют постоянную толщину по всей длине и армируются, как правило, обычной арматурой.

5.3. В зависимости от вида и способа гидроизоляции чердачное покрытие выполняется:

с рулонной кровлей - из слоев рулонного кровельного материала (рубероида), последовательно наклеиваемых на месте строительства;

с мастичной кровлей - из слоев гидроизоляционной мастики (в том числе армированной) с защитными свойствами, не уступающими кровле из стандартного рубероида;

с безрулонной кровлей - из мастичных и окрасочных гидроизоляционных материалов, выполняющих защитные функции совместно с водонепроницаемым и морозостойким бетоном панели;

с бетонной кровлей - из атмосферостойкого бетона, выполняющего все защитные функции без дополнительной поверхностной гидроизоляции.

5.4. Чердачное покрытие с рулонной или мастичной кровлей конструктивно отличается от покрытия с безрулонной или бетонной кровлей.

В покрытии с рулонной (мастичной) кровлей уклон кровли на скатах принимается не менее 2 % и вдоль водосборного лотка - не менее 1 % (в ендове допускается нулевой уклон). Панели покрытия под рулонную кровлю изготавливаются с плоской верхней поверхностью, на которую до транспортирования наносится временная гидроизоляция из мастики или слоя кровельного материала. Рулонная кровля выполняется, как правило, с частичной (точками, полосами, пятнами) приклейкой к основанию («дышащая» кровля) и с обязательной полосой непроклейки 250 мм над стыками панелей.

Покрытие с безрулонной (бетонной) кровлей решается по принципу перекрытия элементов, с расположением стыков панелей и мест примыкания, образуемых ребрами, выше основной водосливной поверхности, на которую в заводских условиях наносится защитная окраска (при безрулонной кровле). В покрытии с безрулонной кровлей уклон скатов должен быть не менее 5 %, днища водосборных лотков - не менее 2 %. В бетоне наружного кровельного слоя безрулонных панелей недопустимо появление трещин в эксплуатационных условиях, а в панелях без поверхностной гидроизоляции появление трещин не допускается и в момент распалубки.

5.5. Рекомендуемые конструктивные решения панелей покрытия под рулонную кровлю, приведены на рис. 4.

Однослойные панели (рис. 4, а) и панели с вкладышами (рис. 4, б) изготавливаются, как правило, из керамзитобетона плотностью 1100 - 1200 кг/м3 при классе прочности В-3,5 - В-7,5, при начальной влажности не более 12 % по массе. Возможно применение других бетонов на пористых заполнителях, а также автоклавных ячеистых бетонов плотностью 600 - 800 кг/м3, и классом по прочности В-2,5 - В-5 и начальной влажностью не более 20 % по массе.

Во внутреннем слое трехслойной панели (рис. 4, в) применяется пористый керамзитобетон плотностью 800 - 900 кг/м3; наружные слои выполняются из плотного керамзитобетона или тяжелого бетона с прочностью не менее В-15. Из тяжелого бетона выполняются наружные слои и несущие ребра трехслойной панели с эффективным утеплителем (рис. 4, г), в качестве которого следует применять жесткие калиброванные плиты теплоизоляционного материала плотностью 40 - 400 кг/м, оклеенные водонепроницаемой пленкой.

Рис. 4. Конструкции покрытия с рулонной кровлей

а - из однослойных сплошных панелей; б - из однослойных панелей с термовкладышами;
в - из трехслойных панелей с бетоном малой плотности; г - из трехслойных панелей с эффективным
утеплителем; д - с использованием ребристых кровельных плит; ж - с использованием многопустотного
настила; 1 - панель из несущего легкого бетона; 2 - рулонная кровля; 3 - уплотняющая прокладка;
4 - бетонная шпонка; 5 - жесткие плиты эффективного утеплителя; 6 - слои плотного бетона;
7 - легкий бетон малой плотности; 8 - слои тяжелого бетона; 9 - заливочная теплоизоляция;
10 - термовкладыш стыка; 11 - многопустотный настил; 12 - защитный слой бетона;
13 - ребристая кровельная панель

В ряде случаев целесообразно вместо заводского производства специальных панелей (рис. 4, а - г) изготавливать панели на основе имеющихся типовых конструкций кровельных ребристых плит промышленного типа (рис. 4, д) или многопустотного настила (рис. 4, ж), поверх которых в полигонных условиях укладываются теплоизоляционные и защитные слои с указанными выше характеристиками. При толщине бетонной полки несущей кровельной плиты (рис. 4, д) менее 40 мм под утеплителем наклеивается слой пароизоляции из рубероида или пленки.

Рис. 5. Конструкции покрытия с безрулонной кровлей

а - из двухслойных сплошных панелей; б - из панелей с термовкладышами;
в - из трехслойных панелей с бетоном малой плотности; г - из трехслойных панелей с эффективным
утеплителем; д - из многопустотных панелей с различной теплоизоляцией; 1 - кровельный слой бетона;
2 - слой несущего легкого бетона; 3 - бетонный нащельник; 4 - уплотняющая прокладка;
5 - жесткие плиты эффективного утеплителя; 6 - слой плотного бетона;
7 - легкий бетон малой плотности; 8 - слой тяжелого бетона; 9 - поперечные пустоты;
10 - заливочная теплоизоляция

В стыках панелей под рулонную кровлю (рис. 4) рекомендуется делать бетонную шпонку в нижней трети толщины панели и устанавливать на мастике в устье стыка герметизирующую уплотняющую прокладку с заполнением средней части стыка теплоизоляционным вкладышем.

5.6. Рекомендуемые конструктивные решения панелей покрытия с безрулонной кровлей приведены на рис. 5. Принципиальной особенностью безрулонных панелей является наличие верхнего, кровельного слоя толщиной не менее 40 мм, к бетону которого предъявляются специальные требования (см. п. 5.8).

Основным решением для безрулонного покрытия теплого чердака следует считать двухслойные панели с нижним слоем из несущего керамзитобетона и верхним слоем из тяжелого бетона (рис. 5, а). Плотность керамзитобетона, выполняющего также функции утеплителя, принимается 1100 - 1200 кг/м3 при классе по прочности В-5 и начальной влажности не более 12 % по массе.

Для повышения теплозащиты покрытия рекомендуется вводить в двухслойные панели теплоизоляционные вкладыши из эффективных материалов плотностью 40 - 400 кг/м3 в виде жестких калиброванных плит, оклеенных водонепроницаемой пленкой (рис. 5, б).

В трехслойной панели с пористым керамзитобетоном (рис. 5, в) его плотность принимается 800 - 900 кг/м3, а прочность нижнего слоя должна быть не менее В-15.

Такой же минимальной прочностью должен обладать бетон нижнего слоя и несущих ребер трехслойной панели с эффективным утеплителем (рис. 5, г). Для уменьшения теплотехнической неоднородности толщина утеплителя в панели (рис. 5, г) принимается не менее 100 мм при использовании материалов по типу (рис. 5, б).

На перспективу предлагается решение покрытия из многопустотных панелей (рис. 5, д), которые при унифицированном решении конструкции могут иметь различную величину теплозащиты. Последняя обеспечивается внутренними воздушными пустотами, заполняемыми, при необходимости, монолитной теплоизоляцией из эффективных материалов (вспенивающиеся пенопласты). Пустоты размещаются в слое керамзитобетона двухслойной панели по (рис. 5, а).

Надежным решением стыка безрулонных панелей является перекрытие его П-образным железобетонным нательником на всю длину панели (рис. 5) В нижнюю и верхнюю часть стыка устанавливаются герметизирующие уплотняющие прокладки, средняя часть стыка заполняется мягким утеплителем. Другие решения защиты и заделки стыка должны пройти производственную и эксплуатационную проверку.

5.7. Водосборные лотки, являющиеся составной частью безрулонного покрытия, решаются, как правило, в виде корытообразных панелей, в которых уклон днища к водосточной воронке образуется переменной толщиной (60 - 150 мм) кровельного слоя бетона. Боковые продольные ребра несут нагрузку от кровельных панелей, а торцевые служат для образования стыка и организации перелива, для чего средняя часть торцевого ребра понижается или в ней делается выемка. Верхняя часть лотка (днище и ребра) выполняется из бетона кровельного слоя, а нижняя часть повторяет решение типа панели покрытия, в котором используется лоток.

Решения водосборных лотков с напуском друг на друга («каскадные» лотки) не обеспечивают предельных габаритов чердака и увеличивают номенклатуру изделий.

Минимальная ширина лотка определяется шириной его открытого участка (между сливными ребрами не менее 900 мм) и при принятых решениях лоткового узла (см. п. 5.9) составляет 1800 мм.

5.8. В безрулонных панелях и лотках бетон кровельного слоя должен соответствовать показателям, приведенным в табл. 1.

Таблица 1

Показатели бетона кровельного слоя

Минимальное значение показателя (марки) при

безрулонной кровле (окрасочной гидроизоляции)

бетонной кровле (без поверхностной гидроизоляции)

Класс по прочности на сжатие

В-25

В-25

Класс по прочности на растяжение

-

ВТ-16

Марка по водонепроницаемости

W6

W8

Водопоглощение по массе

-

Менее 4 %

Марка по морозостойкости выше -15 °С:

F 200

F 300

в диапазоне наружных от -15° до -35 °С

F 300

F 400

температур пятидневки ниже -35 °С

F 300

F 500

Кроме того, бетон кровельного слоя без поверхностной гидроизоляции должен обладать повышенной трещиностойкостью (усадочной и температурной); влагостойкостью (циклы увлажнения - высыхания) в жарковлажных районах; теплостойкостью (циклы нагревания - остывания) в жарких сухих районах, а также коррозионной стойкостью в атмосфере промышленных городов.

Гидроизоляция, наносимая в заводских условиях на верхнюю поверхность безрулонных панелей, должна отвечать следующим требованиям:

прочность на сжатие не менее 0,5 МПа;

сцепление с бетоном при сдвиге не ниже 1,0 МПа;

морозостойкость не менее 100 циклов;

водонепроницаемость при давлении не менее 8 атм;

теплоустойчивость (на вертикальной поверхности) не низке 90 °С;

относительное удлинение при 20 °С не менее 200 %.

5.9. В конструктивных узлах безрулонного покрытия должен соблюдаться принцип перекрытия элементов, для чего стык кровельной панели с водосборным лотком (лотковый узел) перекрывается консольным свесом панели, который заканчивается утолщенным сливным ребром (рис. 6).

Рис. 6. Решения карнизного и лоткового узла в безрулонном покрытии

а - карнизный узел; б - лотковый узел; 1 - торцевое ребро; 2 - бетонный нащельник;
3 - уплотняющая прокладка; 4 - сливное ребро панели; 5 - водосборный лоток;
6 - опорная консоль лотка; 7 - панель покрытия; 8 - наружная стена;
9 - подрезка панели (при единой высоте стены)

При этом панель покрытия рекомендуется опирать на железобетонную консоль, располагаемую вдоль продольного несущего ребра лотка с выступом за грань нижнего керамзитобетонного слоя не менее 50 мм (по теплотехническим условиям).

Карнизный узел также рекомендуется выполнять с напуском панели покрытия на наружную стену, с защитой торца панели консольным выносом кровельного слоя с увеличением торцевым ребром (рис. 6). При необходимости карнизный узел выполняется с парапетом высотой 200 - 600 мм, который образуется продолжением стеновой панели, перекрытой сверху железобетонным Г-образным камнем.

Для сохранения в карнизном узле постоянной отметки опорных площадок на стенах и единого уклона покрытия при изменении ширины корпуса рекомендуется на опорном участке панелей покрытия делать подрезку нижнего слоя, которая для действующих проектов не превышает 90 мм.

5.10. Безрулонное покрытие теплого чердака может проектироваться на основе других конструктивных решений и изоляционных материалов, с соблюдением проверенных принципов устройства (см. пп. 5.4; 5.6; 5.8). Такие конструкции покрытия должны пройти производственную и эксплуатационную проверку в экспериментальном строительстве.

Основным направлением последующего совершенствования чердачного покрытия должно стать максимальное облегчение конструкций за счет применения эффективных конструкционных и теплоизоляционных материалов. Целесообразны решения покрытия с однослойными панелями из бетона на пористых заполнителях, обладающего повышенными прочностными, теплоизоляционными и гидроизоляционными свойствами, в том числе панели на напрягающем цементе. Перспективными конструкциями можно считать панели с внутренними пустотами, заполненными монолитной теплоизоляцией, в том числе панели из экструзионного асбестоцемента, а также с армоцементными листами.

6. ТЕПЛОТЕХНИЧЕСКИЙ РАСЧЕТ ТЕПЛОГО ЧЕРДАКА

6.1. Теплотехническая схема теплого чердака является подвижной взаимосвязанной системой, расчет которой выполняется по зимним условиям для определения минимальных теплопотерь здания или минимальной тепло-защиты покрытия.

С целью повышения надежности рекомендуется применять вероятностные методы расчета в виде принципа заданной обеспеченности, учитывающей изменчивость климатических факторов и теплофизических характеристик конструкции.

В основу теплотехнического расчета положено обеспечение санитарно-гигиенических условий жилого помещения, соблюдение теплового баланса неотапливаемого помещения чердака и недопустимости выпадения конденсата на внутренней поверхности его наружных ограждений.

В качестве источников тепла следует принимать нагретый воздух вытяжной вентиляции дома и тепло, поступающее через чердачное перекрытие. При необходимости учитываются также тепловыделения трубопроводов отопления и горячего водоснабжения. Теплопотери чердака считаются через покрытие и наружные стены.

6.2. Теплотехнический расчет рекомендуется выполнять в следующей последовательности:

по условию обеспечения санитарно-гигиенического состояния помещений верхнего этажа находится минимально-допустимая температура воздуха на чердаке

tтчер = tв - ΔtнαвR0пер, °С                                                 (1)

по условию соблюдения теплового баланса помещения теплого чердака определяется сопротивление теплопередаче покрытия

         (2)

по значениям полученных показателей вычисляется температура внутренней поверхности покрытия

tпок = tчер - (tчер - tн)/αвпокR0пок, °C                                           (3)

которая должна быть не ниже значения, определенного по указаниям п. 6.3.

При пониженной температуре внутренней поверхности покрытия следует определить температуру воздуха на чердаке по условию недопустимости конденсата:

tкчер = (tн - tпокR0покαвпок)/(1 - R0покαвпок), °С                                   (4)

подставляя которую в формулу (2) получают окончательное значение сопротивления теплопередаче чердачного покрытия.

При известных теплотехнических параметрах крыши действительная температура воздуха на чердаке находится по общей формуле

                   (5)

Для заданной конструкции покрытия выполняется расчет температуры наружного воздуха, при которой в теплом чердаке соблюдаются требуемые условия:

     (6)

При этом температура воздуха на чердаке принимается по формуле (1), а условие недопустимости конденсата проверяется по формулам (5) и (3) В случае несоблюдения последнего исходная температура воздуха на чердаке принимается по формуле (4).

В расчетных формулах (1) - (6) приняты следующие обозначения:

 - сопротивление теплопередаче чердачного перекрытия и наружной стены чердака, м2·°С/Вт;

 - коэффициент теплоотдачи внутренней поверхности перекрытия и покрытия, Вт/(м·°С);

Dtн - нормативный температурный перепад у внутренней поверхности чердачного перекрытия, °С;

tв; tн - температура внутреннего и наружного воздуха, °С;

tвен - температура воздуха, поступающего в чердак из вентиляционных каналов, °С;

qвен - удельные теплопоступления в чердак с воздухом вентиляции, Вт/м2·°С;

Fст - приведенная площадь наружных стен чердака.

6.3. Расчетные значения теплотехнических показателей принимаются по указаниям:

1. СНиП II-Л.1-71*. Жилые здания;

2. СНиП II-3-79. Строительная теплотехника;

3. СНиП 2.01.01-82. Строительная климатология и геофизика;

4. СНиП II-33-75*. Отопление, вентиляция и кондиционирование воздуха и настоящих Рекомендаций.

Сопротивление теплопередаче наружной стены находится по проектным данным, в других случаях определяется расчетом по СНиП II-3-79* Строительная теплотехника при наружной температуре холодной пятидневки. При этом следует предусматривать равную теплозащиту наружных стен чердака и жилых помещений.

Сопротивление теплопередаче чердачного перекрытия рассчитывается по проектным данным конструкции, принятой в жилом здании, или по рекомендациям п. 6.6.

Коэффициент теплоотдачи внутренней поверхности покрытия при расчете по условию недопустимости конденсата рекомендуется принимать по экспериментальным значениям, приведенным в табл. 2.

Таблица 2

№ п.п.

Внутренняя поверхность покрытия

Этажность дома

5

9

12

16

1

Плоская

8,5

9,5

10,5

11,5

2

Ребристая

8

8,5

9,5

10,5

3

С перегородками

7

7,5

8,5

9,5

При устройстве водосточного лотка значения коэффициентов следует принимать по п. 3 табл. 2.

Рис. 7. Расчетная температура внутренней поверхности

tпок - основного покрытия; tхол - холодного участка

В качестве расчетной температуры наружного воздуха принимается средняя температура наиболее холодной пятидневки с обеспеченностью 0,92 (СНиП 2.01.01-82. Строительная климатология и геофизика). При расчете теплого чердака для жилых зданий 12 этажей и более по условию недопустимости конденсата можно расчетную наружную температуру принимать по средней температуре наиболее холодного периода (СНиП 2.01.01-82. Строительная климатология и геофизика). В этом случае необходимый температурный режим обеспечивается за счет большой тепловой инерции крыши с теплым чердаком.

Температура внутренней поверхности покрытия определяется из условия недопустимости конденсата при расчетной наружной температуре и в зависимости от влагосодержания воздуха на чердаке (см. п. 6.4). Допустимое минимальное значение температуры рекомендуется принимать по графику на рис. 7.

Температура воздуха, поступающего из вентиляционных каналов, рекомендуется повышать на 1 °С относительно расчетной температуры воздуха жилых комнат по (СНиП II-Л.1.-71*. Жилые здания).

Удельные теплопоступления с воздухом вентиляции определяются как отношение произведения расхода воздуха (по нормам вытяжки из жилых помещений СНиП II-Л.1.-71*. Жилые здания), (м3/ч) на его теплоемкость 1 кДж/(кг·°С) и плотность (1,21 кг/м3) к площади чердачного покрытия (м2). Для предварительных и общих расчетов рекомендуется принимать значение по табл. 3 (с обеспеченностью 0,8)

Площадь наружных стен теплого чердака определяется по проектным данным и приводится к 1 м2 покрытия. Для предварительных и общих расчетов можно принимать значение приведенной площади, равное 0,4, что соответствует торцевой секции при высоте стен 1,75 м.

Таблица 3

Этажность здания

Удельные теплопоступления с воздухом вентиляции в домах (Вт/м2·°С)

газифицированных

электрифицированных

5

3,4

2,7

9

5,5

4,3

12

7,1

5,6

16

9,2

7,2

6.4. Теплотехнический расчет теплого чердака следует, по возможности, дополнять расчетом влажностного состояния покрытия, для чего, кроме (2), рекомендуется применять усовершенствованный способ расчета нестационарного влажностного режима. Из условия сохранения защитных свойств ограждения годовой влажностный баланс конструкции должен быть отрицательным, а влажность наружного слоя не должна доходить до влагонасыщения.

Условием нормального влажностного состояния панелей покрытия является ограничение начальной влажности утеплителя на уровне нормативных требований. В расчетах влажностный режим помещения теплого чердака, согласно СНиП II-3-79. Строительная теплотехника, принимается сухим. В этих условиях фактическая эксплуатационная влажность керамзитобетона в однослойных (рис. 4, а) и двухслойных (рис. 5, а) панелях покрытия соответствует условиям эксплуатации «А» СНиП II-3-79. Строительная теплотехника, поэтому при теплотехническом расчете этих панелей допускается коэффициент теплопроводности керамзитобетона принимать по условию «А».

Для обеспечения благоприятного влажностного состояния при использовании в покрытии эффективных теплоизоляционных материалов защитный слой со стороны чердака должен иметь сопротивление паропроницанию не менее 1,3 м3·ч·Па/мг (железобетон 40 мм), а теплоизоляционные материалы иметь отношение коэффициента паропроницаемости мг/(м3·ч·Па) к коэффициенту теплопроводности Вт/(м·°С) не более 2,6. Двухслойные панели без защитного слоя со стороны чердака должны выполняться с нижним слоем из керамзитобетона плотностью не менее 1000 кг/м3 или аналогичных материалов с коэффициентом паропроницаемости не более 0,15 мг/(м·ч·Па).

Влагосодержание воздуха на чердаке определяется как сумма влагосодержания наружного воздуха при расчетной температуре и приращения влагосодержания в жилых помещениях (за счет бытовых влаговыделений). Среднесуточное приращение влагосодержания определяется по фактическим эксплуатационным данным и для обобщенных расчетов принимается (с обеспеченностью 0,9) в количестве 3,3 г/кг для газифицированных домов и 3 г/кг - для электрифицированных.

6.5. Для наружных ограждений теплого чердака, неоднородных в теплотехническом отношении, следует рассчитывать температурные поля мест повышенной теплопроводности (ребра, стыки, карнизные и лотковые узлы и т.п.). В этом случае за предельную температуру внутренней поверхности допускается принимать температуру холодного участка покрытия по графику рис. 7, значение которой определено из условия ограничения конденсата количеством 1 кг/м2 за расчетную пятидневку Суммарная площадь холодных участков допускается не больше 12 % площади покрытия.

При расчете покрытия с холодными участками рекомендуется учитывать теплозащитные свойства снежного покрова с толщиной слоя, принимаемой по наименьшему из возможных значений по условию ветрового сноса и условию подтаивания. Толщину и теплозащиту слоя снега на покрытии определяют по специальной методике, а для обобщенных расчетов допускается принимать приведенные в табл. 4 значения (с обеспеченностью 0,9).

Таблица 4

Температура холодной пятидневки, °С

Термическое сопротивление слоя снега, м2·°С/Вт

-20

0,17

-30

0,34

-40

0,43

-50

052

Промежуточные значения интерполируются и с их учетом определяется действительное сопротивление теплопередаче холодного участка, по которому проверяется температура внутренней поверхности покрытия. При снежном покрове исключается выпадение конденсата на поверхности холодного участка.

6.6. Теплотехническая эффективность крыши с теплым чердаком состоит в возможности уменьшать величину общей теплозащиты, включающей сопротивление теплопередаче покрытия и перекрытия, или величину теплопотерь через чердачное перекрытие, а также перераспределять теплоизоляцию в ограждающих конструкциях чердака с целью изменения области применения типовых панелей. Обычно эти возможности реализуются в расширении пределов применимости конструкции покрытия путем дополнительного утепления чердачного перекрытия, если его конструкция допускает укладку утеплителя или не определена проектом.

Расчет ограждающих конструкций для этого случая ведется по условию недопустимости конденсата в следующей последовательности:

установленным порядком (см. п. 6.2) по формулам (1) и (2) находится сопротивление теплопередаче покрытия, для которого по формуле (4) рассчитывается минимальная температура воздуха на чердаке по условию недопустимости конденсата; при этом наружная температура вводится значением, которое не может быть ниже исходной величины более чем на 10 °С;

при минимальной температуре на чердаке определяется уточненное сопротивление теплопередаче утепленного чердачного перекрытия

                                      (7)

При устройстве на перекрытии дополнительного утепления толщина слоя из заданного материала находится по формуле

                                                 (8)

где lут - коэффициент теплопроводности материала утеплителя (по условию «А»), Вт/м·°С.

Расчет завершается проверкой по формулам (5) и (6) действительных температур воздуха на чердаке и снаружи с выполнением, при необходимости, повторных уточняющих вычислений.

Тепловые возможности 5-этажного дома позволяют утеплением чердачного перекрытия снизить расчетную наружную температуру на 10 - 15 °С, что в среднем на 3 °С не достигает необходимого уровня температур для чердака 9-этажного дома. Поэтому применение унифицированной панели покрытия не всегда возможно.

6.7. Тепловая эффективность крыши с теплым чердаком выражается уменьшением теплопотерь чердачного перекрытия относительно нормируемой (СНиП II-Л.1-71*. Жилые здания) величины 35 Вт/м2 (30 ккал/м2·ч).

При необходимости снижения общих теплопотерь здания до контрольных (Госгражданстрой. Контрольные показатели удельного расхода тепла на отопление жилых зданий - Приказ № 419 от 28.12.83) или заданных показателей теплотехнический расчет крыши ведется при минимальных теплопотерях, для чего определяется уменьшенная величина теплового потока через перекрытие:

                                            (9)

где ΔqF - заданная величина снижения удельного расхода тепла относительно контрольного показателя, Вт/м2 общей площади; k - коэффициент приведения площади чердачного перекрытия к общей площади дома, принимаемой 0,27 для 5-этажного дома и 0,16 - для 9-этажного.

Величина теплового потока вводится в формуле (1) вместо эквивалентного выражения Dtнαв. Полученная при этом температура воздуха на чердаке не может быть равна или выше внутренней температуры, поэтому в дальнейших расчетах используется величина ниже внутренней температуры не менее чем на 2 °С. Вызванное уменьшением теплопотерь соответствующее повышение теплозащиты покрытия следует проверять в соответствии с СНиП II-3-79. Строительная теплотехника и п. 6.8 экономическим расчетом по приведенным затратам.

6.8. Экономически целесообразную величину сопротивления теплопередаче конструкции покрытия теплого чердака рекомендуется определять в ниже приведенной последовательности, соответствующей указаниям СНиП II-3-79. Строительная теплотехника.

Величина экономически целесообразного термического сопротивления теплоизоляционного слоя предварительно находится по выражению

(10)

где Rпост - постоянная часть сопротивления теплопередаче покрытия, включающая термические сопротивления конструктивных слоев и сопротивления теплопередаче у поверхностей, м2·°С/Вт;  - средняя за отопительный период температура наружного воздуха, °С; Lот - продолжительность отопительного периода, ч; Сут - стоимость материала теплоизоляционного слоя, руб/м3; Ст - стоимость тепловой энергии, руб./ккал; lт - коэффициент изменения стоимости тепловой энергии на перспективу для жилых зданий, равный 1,3; Ен.п. = 0,08 - норматив приведения разновременных затрат; m = 1,05 - коэффициент дополнительных потерь тепла на нагрев инфильтрующегося наружного воздуха.

Экономически целесообразное сопротивление теплопередаче покрытия предварительно определяется по выражению

                                               (11)

Окончательный выбор  и  следует производить по минимуму приведенных затрат, которые рассчитываются для конструктивных вариантов покрытия со значениями сопротивления теплопередаче, близкими к величине, предварительно определенной но формуле (10). Приведенные затраты находятся по формуле

                                      (12)

где СД - единовременные затраты (себестоимость строительно-монтажных работ, руб/м2);  - средний за отопительный период тепловой поток через чердачное перекрытие

              (13)

Расчетами установлено, что экономически целесообразная величина теплозащиты безрулонной двухслойной панели (рис. 5, а) превышает расчетную величину (см. п. 6.2) на 5 % в 5-этажном доме; на 32 % в 9-этажном; на 52 % в 12-этажном; на 82 % - в 16-этажном.

6.9. Теплотехнический расчет теплого чердака по летним условиям не разработан до состояния инженерного способа ввиду недостаточности исходных экспериментальных данных в условиях открытого режима эксплуатации дома. Принятые принципы расчета основаны на условиях соблюдения теплового и воздушного баланса чердака при ограничении теплопоступлений из чердака в жилые помещения, вызванных радиационным нагревом покрытия.

7. УСЛОВИЯ ПРИМЕНЕНИЯ И ЭКСПЛУАТАЦИИ КРЫШИ

7.1. Крыши с теплым чердаком следует предусматривать на домах в 9 этажей и более, где их применение дает тепловой и экономический эффект. На 5-этажных домах теплые чердаки допускается применять с целью повышения эксплуатационной надежности ограждения, унификации конструкций для домов разной этажности и при соответствующем технико-экономическом обосновании. На домах менее 4 этажей устройство теплого чердака не допускается.

Теплотехнические условия работы теплого чердака позволяют применять его во всех климатических районах страны, включая места с неблагоприятными климатическими условиями. Применение крыш с теплым чердаком в районах с сильными ветрами и значительными осадками (климатические подрайоны IIА и IIГ) предотвращает занос осадков через вентилирующие отверстия чердачной крыши. В I климатическом районе с продолжительным зимним периодом теплый чердак улучшает и стабилизирует тепловое состояние верхнего этажа дома. В III климатическом районе крыша с теплым чердаком обеспечивает защиту жилых помещений от солнечного перегрева, что позволяет не выполнять расчет теплоустойчивости конструкций.

Применение покрытия с безрулонной кровлей, как наиболее индустриальной и эффективной конструкции, рекомендуется повсеместно, в первую очередь в I и IV климатических районах, где применение рулонной кровли ограничено производственными и эксплуатационными условиями.

7.2. Конструкцию покрытия теплого чердака рекомендуется выбирать в зависимости от этажности здания и климатического района места строительства, в соответствии с табл. 5, разработанной с учетом перспективности и эффективности конструкций.

В табл. 5 типы крыш и панелей приняты по рис. 4 и 5 и предусмотрено: для IB климатического подрайона допускается применять конструкции, указанные для II - III климатических районов; в районах с 4-этажной застройкой допускается применять конструкции, указанные для 5-этажных домов.

Применение трехслойных панелей из тяжелого бетона и эффективного утеплителя (рис. 4, г и 5, г) предусматривается, как правило, в случае отсутствия пористых заполнителей (керамзит), с учетом существенного снижения их приведенного термического сопротивления при наличии несущих сквозных ребер.

7.3. Применение крыш с безрулонными панелями покрытия следует предусматривать только при обеспеченности материальных и технических условий производства кровельных панелей из морозостойкого и водонепроницаемого бетона (см. табл. 1). Особого внимания требует подготовка производства панелей без поверхностной гидроизоляции.

Для обеспечения требуемых показателей бетона на домостроительных предприятиях должны соблюдаться основные условия производства кровельных панелей:

обеспечение высокомарочными цементами и кондиционными заполнителями и добавками, с раздельным хранением разных марок;

выделение отдельной технологической линии или постов, с установками для введения добавок и нанесения гидроизоляции;

изготовление панели «лицом вниз» с последующим кантованием на вращающемся механизме;

уплотнение на виброударных установках и «шок-столах»;

тепловлажностная обработка по «мягкому режиму» с предварительным и последующим выдерживанием в цехе.

Таблица 5

Принципиальные технические решения крыш с теплым чердаком и конструкции чердачного покрытия

I климатический район

II - III климатические районы

IV климатический район

Этажность зданий

5

св. 5

5

св. 5

5

св. 5

1

2

3

4

5

6

7

Крыша с рулонной кровлей по чердачному покрытию из панелей:

однослойных сплошных (несущий керамзитобетон)

Н

д

Д

Р

Н

Н

однослойных с эффективными термовкладышами

д

д

Д

Р

Н

Н

трехслойных (с керамзитобетоном малой плотности)

н

д

д

Р

н

н

трехслойных (тяжелый бетон и эффективный утеплитель)

д

д

д

Р

н

н

с использованием ребристых кровельных плит

д

д

д

Д

н

н

с использованием многопустотного настила

д

д

д

д

н

н

Крыша с безрулонной кровлей и чердачным покрытием из панелей:

двухслойных (тяжелый бетон и несущий керамзитобетон)

н

д

д

р

д

д

двухслойных с эффективными термовкладышами

д

р

д

р

д

д

трехслойных (с керамзитобетоном малой плотности)

н

д

д

р

д

д

трехслойных (тяжелый бетон и эффективный утеплитель)

д

р

д

р

д

д

Примечание. В таблице приняты условные обозначения: Р - рекомендуется преимущественное применение; Д - допускается применять при обосновании; Н - не допускается применять.

Таблица 6

Техническое решение покрытия и конструкция панели покрытия

Приведенные затраты, руб.

Эксплуатационные расходы, руб.

Трудоемкость, чел.-ч

Расход материалов, кг

всего

расчетная себестоимость

капитальные вложения

всего

в том числе на отопление

общая

на стройплощадке

цемент

сталь

1

2

3

4

5

6

7

8

9

10

Крыши с рулонной кровлей

Однослойная 250 мм из керамзитобетона 1100 кг/м3

9,66

6,42

1,12

2,12

0,96

0,77

0,33

21,8

1,88

Однослойная 250 мм с термовкладышами из пенопласта 50 мм

9,51

6,54

0,97

2

0,83

0,76

0,33

21,3

1,88

Трехслойная 250 мм с керамзитобетоном 800 кг/м3 внутри 150 мм

9,49

6,28

1,06

2,15

1,03

0,72

0,33

22,9

1,96

Трехслойная 250 мм с утеплителем из пенопласта 150 мм в железобетоне

9,99

7,04

0,8

2,15

0,91

0,66

0,33

18,4

1,92

Крыши с безрулонной кровлей

Двухслойная 250 мм с керамзитобетона 1100 кг/м3

9,73

6,95

1,08

1,7

1,13

0,62

0,22

22,7

2,01

Двухслойная 250 мм с вкладышами из пенопласта 100 мм

9,65

7,43

0,92

1,3

0,72

0,6

0,22

20

1,98

Трехслойная 250 мм с керамзитобетоном 800 кг/м3 внутри 150 мм

9,73

6,95

1,08

1,7

1,13

0,62

0,22

23,9

1,98

Трехслойная 250 мм с утеплителем из пенопласта 150 мм в железобетоне

9,95

7,61

0,8

1,54

0,97

0,58

0,22

19,6

1,98

Многопустотная 250 мм с заливным пенопластом (100 мм)

9

6,74

0,9

1,36

0,79

0,59

0,22

19,7

2,01

7.4. При выборе конструкции для предварительной оценки различных решений рекомендуется пользоваться технико-экономическими показателями различных конструкций покрытия теплого чердака, в расчете на 1 м общей площади 9-этажного дома, приведенными в табл. 6. Принятые в ней типы крыш и панелей соответствуют табл. 5 и рис. 4 и 5. При пересчете показателей на другие этажности следует пользоваться следующими коэффициентами приведения: для 5-этажных домов - 1,70; 12-этажных - 0,75; 16-этажных - 0,56.

Для оценки сравнительной эффективности конструкций безрулонного покрытия приводится табл. 7 с показателями массы, стоимости и трудоемкости, отнесенными на единицу теплозащиты конструкции Rn = 1 м2·°С/Вт.

Таблица 7

Сравнительная эффективность теплозащиты

Единица измерения

Типы панелей безрулонного покрытия см. на рис.

По массе

кг/R0, %

600

240

613

360

254

100

40

102

60

43

По стоимости

руб/R0, %

93,13

48,13

89,36

76,47

51,04

100

52

96

82

55

По трудоемкости

5,46

2,74

5,24

4,07

3,07

100

50

96

75

56

7.5. Для обеспечения расчетных условий работы вентиляционной системы дома и ограждающих конструкций теплого чердака крыша должна эксплуатироваться с соблюдением обязательных правил технического содержания и обслуживания. В вопросах технической эксплуатации крыш следует руководствоваться указаниями настоящих Рекомендаций, для чего следует в пояснительной записке к проекту кратко излагать основные условия их правильной эксплуатации.

7.6. Для исключения нарушений в работе вентиляционной системы зданий все двери и люки входов и выходов на чердак, а также в межсекционных перегородках, во время работы вентиляции должны быть надежно закрыты. Для этого на них предусматривается установка специальных запирающих устройств, исключающих открытие их посторонними лицами.

Освещение чердачного помещения должно быть обеспечено в любое время суток, для чего электропроводка черпака подключается к сети аварийного электроосвещения.

7.7. При приемке домов в эксплуатацию должна проверяться правильность установки и соединения вентиляционных блоков и каналов, а также чистота каналов и оголовков. При эксплуатации следует постоянно следить за состоянием каналов и оголовков, не допуская их засорения мусором и пылью. Допускается установка на оголовках защитных сеток и решеток, с ячейками размером не менее 50 мм.

7.8. Уборка помещения теплого чердака должна производиться в случае заметного накопления на полу пылевого осадка из отбросного воздуха вентиляции. Периодичность уборки определяется интенсивностью запыления. Уборка производится сухим способом - с помощью пылесосов или влажным способом - с применением смоченных щеток и тряпок. Не допускается мокрая уборка помещения теплого чердака путем промывки пола и стен струями воды, ввиду отсутствия в перекрытии гидроизоляции и водоотводящих устройств.

В процессе эксплуатации чердачное покрытие следует регулярно очищать от загрязнений, особенно водосборные лотки и водоприемные воронки.

Очистку от снега допускается проводить на отдельных участках только в случае и месте протечек. При очистки покрытия запрещается пользоваться ломами, стальными лопатами и скребками.

7.9. Контроль за техническим состоянием крыши должен осуществляться посредством проведения плановых, общих и частичных осмотров, а при необходимости - внеочередных. Периодические общие смотры проводятся осенью и весной, внутри чердака и снаружи покрытия. Внеочередные осмотры проводятся после особо сильных ветров, ливней и снегопадов, а также периода экстремальных натурных температур.

При осмотрах крыш главное внимание следует обращать на следующее:

сохранность кровли (рулонной и безрулонной) на покрытии;

состояние поверхности кровельных железобетонных элементов (при безрулонной кровле);

герметичность соединений кровельных элементов;

состояние деталей и узлов покрытия (слив, карниз и т.д.);

состояние водоотводящих устройств.

7.10. Для устранения возникших при эксплуатации безрулонных кровельных элементов дефектов бетона проводится частичный ремонт поверхности путем расчистки отслаивающегося участка бетона, обработки поливинилацетатной суспензией ПВА и нанесения слоя полимерцементного раствора для восстановления разрушенного профиля панели. Полимерцементным раствором заделываются также появившиеся в бетоне трещины, при этом трещина с раскрытием свыше 0,2 мм предварительно расчищается. Для заделки трещин в водосборных лотках целесообразно применение эпоксидных композиций.

Восстановление окрасочной гидроизоляции следует выполнять с периодичностью и по технологии, предусмотренной техническими условиями на соответствующие материалы.

СПИСОК ЛИТЕРАТУРЫ

1. Руководство по проектированию и устройству железобетонных крыш с безрулонной кровлей для жилых и общественных зданий / СибЗНИИЭП. - М.: Стройиздат, 1979. - 39 с.

2. Руководство по расчету влажностного режима ограждающих конструкций зданий / НИИСФ Госстроя СССР. - М.: Стройиздат, 1984. - 168 с.

3. Руководство по определению расчетной стоимости и трудоемкости изготовления сборных железобетонных конструкций на стадии проектирования. Конструкции жилых и общественных зданий / НИИЭС, НИИЖБ, ЦНИИЭП жилища. - М.: Стройиздат, 1977. - 81 с.

4. Правила и нормы технической эксплуатации жилищного фонда / Минжилкоммунхоз РСФСР. - М.: Стройиздат, 1977. - 260 с.

5. Железобетонные крыши многоэтажных жилых зданий: Обзор / ЦНТИ. - М., 1982. - Вып. 8. Конструкции жилых и общественных зданий. - 64 с.

СОДЕРЖАНИЕ

1. Общие положения. 1

2. Устройство теплого чердака. 2

3. Устройство системы вентиляции. 3

4. Конструкции основных частей крыши. 5

5. Конструкции чердачного покрытия. 7

6. Теплотехнический расчет теплого чердака. 12

7. Условия применения и эксплуатации крыши. 18

Список литературы.. 21