Лен ЗНИИЭП Госгражданстроя

Рекомендации
по проектированию
индустриальных крыш
с теплым чердаком
для жилых зданий
в I климатическом
районе

Москва 1987

СОДЕРЖАНИЕ

Введение. 1

1. Общие положения. 2

2. Устройство системы вентиляции. 3

3. Проектирование конструкций крыши с теплым чердаком.. 6

4. Теплотехнический расчет ограждающих конструкций теплого чердака. 16

5. Технология изготовления и монтажа элементов крыш. Гидроизоляция. 20

6. Основные требования к технической эксплуатации крыш.. 23

Рекомендованы к изданию решением Научно-технического совета ЛенЗНИИЭП Госгражданстроя.

Даны основные принципы проектирования индустриальных крыш с теплым чердаком для жилых зданий, строящихся в I климатическом районе страны, с учетом специфики климата, условий производства работ, материально-технических возможностей предприятий стройиндустрии.

Для проектировщиков, инженерно-технических работников, а также для работников эксплуатационных служб.

Табл. 3, ил. 17.

Разработаны ЛенЗНИИЭП Госгражданстроя (инж. Ю.Л. Григорьева, канд. техн. наук Т.И. Янкина, инженеры Г.Н. Филимонова, Н.Я. Невзорова, О.Л. Федотов, Р.А. Попов, М.С. Кардаков).

ВВЕДЕНИЕ

В рекомендациях даны конструктивные решения теплого чердака, методика его теплотехнического расчета и технико-экономического обоснования, технология изготовления элементов и способы устройства покрытия.

Рекомендации составлены к «Рекомендациям по проектированию железобетонных крыш с теплым чердаком для жилых зданий различной этажности», ЦНИИЭП жилища, М., 1980 г., с учетом специфики климатических условий указанных подрайонов и возможностей предприятий стройиндустрии.

Крыши с теплым чердаком прошли эксплуатационную проверку на 5-этажных жилых домах серии 122 в городах и поселках Байкало-Амурской магистрали (г. Северобайкальск, г. Шимановск, посел. Золотинка, г. Тында).

В работе использованы результаты экспериментальных и натурных исследований безрулонных и ковровых индустриальных крыш с холодным чердаком, разработанных Воркутинским отделением ЛенЗНИИЭП совместно с трестом Усинскстрой.

При составлении рекомендаций учтены предложения по совершенствованию безрулонных крыш с теплым чердаком, изложенные в «Рекомендациях по совершенствованию безрулонных крыш с теплым чердаком», ЦНИИЭП жилища, М.: 1983 г.

1. ОБЩИЕ ПОЛОЖЕНИЯ

1.1. В работе содержатся рекомендации по устройству теплого чердака и проектированию его покрытий для жилых домов от 5-ти этажей и выше (с безрулонной и ковровой кровлей), строящихся в 1 климатическом районе (подрайоны IA, IБ, IГ, IД).

1.2. Возможность применения конструкции крыши с теплым чердаком определяется следующими основными факторами: особенностями условий эксплуатации; наличием материалов для изготовления элементов крыши; техническими возможностями базы стройиндустрии и монтажных организаций; экономическими показателями конструктивных решений.

1.3. Рекомендуются для проектирования следующие варианты конструкции крыши с теплым чердаком в зависимости от способа водоотвода: безлотковая безрулонная крыша с водосборным коллектором в объеме чердака; лотковая крыша с применением лотков с ковровой гидроизоляцией и дренажной засыпкой; крыша с неорганизованным водостоком для 5-этажных зданий.

1.4. При конструктивной схеме здания продольные несущие стены - панели покрытия опираются на продольные наружные стены и опорные внутренние элементы. При поперечных несущих стенах в объеме чердака запрещается установка поперечных стен, кроме расположенных на границах блок-секций, а опирание панелей покрытия производится на опорные элементы.

1.5. Конструкция крыши с теплым чердаком состоит из следующих элементов: панели перекрытия верхнего этажа; утепленной железобетонной или комплексной из легкого бетона кровельной панели; утепленного железобетонного водосборного лотка (при лотковой системе отвода воды); фризовых панелей; доборных элементов (опор под лотки, балок, разделительных перегородок, элементов жесткости, вентиляционных шахт, оголовков вентиляционных блоков).

1.6. Рекомендуется применять следующие конструкции покрытия: безрулонные однослойные панели из разноплотного керамзитогазобетона; безрулонные и с рулонным покрытием трехслойные панели из тяжелого бетона с эффективным утеплителем; безрулонные двухслойные панели из тяжелого бетона с эффективным утеплителем снизу; двухслойное сборное покрытие из железобетонной несущей панели с ковровой гидроизоляцией и насыпным утеплителем.

1.7. Стыки между кровельными панелями устраиваются с ребрами, выступающими над водоотводящей поверхностью кровли или в одной плоскости с водоотводящей поверхностью для предотвращения задержания снега. При лотковой системе водоотвода лотки засыпаются дренирующим материалом (гравием, щебнем, керамзитом), обработанным водоотталкивающими составами.

1.8. При безлотковой системе водоотвода с кровельной поверхности панели следует укладывать с уклоном 3 %. При лотковой схеме уклоны кровельных панелей должны составлять не менее 5 %, а уклоны днища водосборного лотка - не менее 3 %.

1.9. Для изготовления элементов безрулонного покрытия теплого чердака следует применять следующие материалы: разноплотный керамзитогазобетон, получаемый по технологии Северного филиала ВНИИСТа (г. Ухта), имеющий марку по морозостойкости F 300 - 500, по водонепроницаемости - не ниже W-8; тяжелый бетон с маркой по прочности на сжатие не менее В-30, на растяжение - не менее В-2, по водонепроницаемости - не менее W-8, по морозостойкости - не менее F 300 - 500 (в зависимости от расчетной температуры наружного воздуха).

1.10. Для изготовления кровельных панелей и лотков при устройстве ковровой кровли можно применять тяжелый бетон марки по прочности, необходимой по расчету.

1.11. Для обеспечения работы чердачного помещения как сборной вентиляционной камеры к ее ограждающим конструкциям предъявляются требования по герметизации и теплозащите в соответствии с нормами на проектирование ограждающих конструкций. Сопротивление теплопередаче ограждающих конструкций определяется согласно разд. 4 настоящих Рекомендаций и требованиям СНиП II-3-79**.

Швы между панелями чердачного покрытия, в местах примыкания к стенам, и все отверстия в нем должны быть надежно заделаны раствором.

1.12. Наружные стены чердака по теплозащитным свойствам должны быть такими же, как наружные стены жилой части здания. Они должны быть глухими. Допускается устраивать в наружных стенах световые проемы, заполненные стеклоблоками. Не допускается заполнять световые проемы оконными блоками. Помещение теплого чердака должно иметь электроосвещение.

1.13. Высота теплого чердака назначается в соответствии со СНиП II-Л.1-71.*

Выходы на чердак устраиваются из каждой лестничной клетки через несгораемые двери, имеющие герметизирующие прокладки. Выходы на крышу разрешается устраивать только из лестничных клеток. Все двери на чердак должны быть плотно закрыты и иметь запорные устройства.

1.14. При применении теплых чердаков в зданиях выше 5-ти этажей рекомендуется машинное помещение лифта располагать в объеме чердачного помещения и ниже, располагая верхнюю остановку лифта на предпоследнем этаже.

1.15. При шахтном способе вентиляции трубы канализационной вытяжки объединяются посекционно и выводятся наружу через шахту.

1.16. Внутреннюю поверхность стен и покрытия теплого чердака рекомендуется окрашивать стойкими красителями.

При работе вентиляции все двери и люки (входные и межсекционные) должны иметь плотные притворы по всему периметру и запираться.

1.17. Помещение теплого чердака следует использовать для размещения трубопроводов системы отопления и горячего водоснабжения.

2. УСТРОЙСТВО СИСТЕМЫ ВЕНТИЛЯЦИИ

2.1. Основным принципом действия теплого чердака является сбор вытяжного воздуха жилых помещений в объеме чердака и удаление его в атмосферу через вентиляционные шахты посекционно.

2.2. В зданиях с теплым чердаком следует применять унифицированные вентиляционные блоки. Размеры вентиляционных блоков должны быть такими, чтобы максимальный расход воздуха на одном этаже превышал минимальный расход на другом не более чем в 1,3 раза. В этих случаях вытяжные вентиляторы для кухонь верхних этажей не устанавливаются.

2.3. По санитарным требованиям в объеме теплого чердака не следует выводить вытяжные трубы канализации и мусоропровода, каналы из помещений с выделением вредных веществ, каналы для технического подполья при наличии газопровода, каналы из помещений, оборудованных вытяжной вентиляцией с механическим побуждением. В этих случаях вентиляцию следует устраивать через обособленные каналы, выводящие воздух в атмосферу.

Вытяжную вентиляцию встроенных помещений первого этажа необходимо осуществлять через вентиляционные блоки жилой части здания, а технического подполья без газопровода - через самостоятельные каналы.

2.4. Для улучшения воздухообмена чердачное пространство следует выполнять в виде единого объема в пределах планировочной секции дома. Смежные секции теплого чердака разделяются сплошными несгораемыми стенками (перегородками), в которых устраивается герметическая дверь размером 1,5´0,8 м или люк размером 0,8´0,8 м.

2.5. На вентблоках, выходящих на теплый чердак, следует устанавливать оголовки в форме диффузоров с расширением по сравнению с вентиляционным блоком на 100 - 150 мм. Высоту оголовка рекомендуется принимать 600 мм (рис. 1). Отверстия в нижней части оголовка вентблока должны соответствовать размерам поэтажных блоков.

Рис. 1. Деталь выхода вентиляционных каналов на теплом чердаке

1 - чердачное перекрытие; 2 - вентиляционный блок; 3 - диффузор

При осуществлении вентиляции каналами, автономными для каждого помещения, а также при использовании вентблоков с каналами-спутниками во избежание опрокидывания тяги в верхних этажах диффузоры должны иметь разделительные стенки, соответствующие каналам последних этажей.

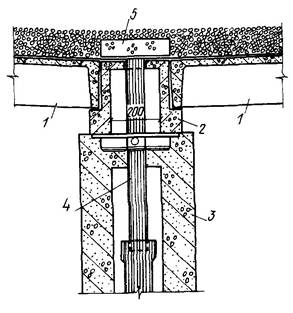
2.6. Выпуск воздуха из «теплого» чердака в атмосферу производится через общую вытяжную шахту для всех квартир одной блок-секции дома. Устройство общей вытяжки шахты для квартир разных секций не допускается. Устройство шахты показано на рис. 2.

Соотношение внешних сторон прямоугольного сечения сборных шахт должно быть не более 1,5:1. Высота вытяжной шахты от верха до середины последнего этажа должна быть не менее 6 м. Минимальная высота шахты над кровлей должна быть не менее 2,5 м.

2.7. Площадь отверстия сборной вытяжной шахты следует рассчитывать из условия обеспечения скорости воздуха в ней не более 0,5 - 1 м/с. Общее аэродинамическое сопротивление участка, включающего вытяжную шахту и чердачное помещение до дальнего вентиляционного блока, не должно превышать 0,1 мм вод. ст.

При расчете шахты необходимо также учитывать дополнительный объем воздуха, поступающего в теплый чердак из самостоятельных вентиляционных каналов, встроенных помещений и технического этажа или подполья.

Рис. 2. Деталь установки вытяжной шахты теплого чердака

1 - кровельная панель; 2 - вытяжная шахта; 3 - чердачное перекрытие; 4 - металлический поддон; 5 - защитный фартук по контуру из оцинкованной кровельной стали; 6 - канализационная вытяжка; 7 - утеплитель под поддоном; 8 - гидроизоляция

2.8. Вытяжная шахта должна иметь защитный зонт из железобетонной плиты или асбестоцементного листа, устанавливаемый на расстоянии, равном 0,5 - 0,7 ширины отверстия с напуском в каждую сторону за край шахты на 0,4 ширины отверстия. В районах с особо неблагоприятными климатическими условиями может быть предусмотрена дополнительная защита шахты жалюзийными решетками, заслонками или ветроотбойными щитами.

2.9. Для сбора атмосферных осадков под шахтами устанавливаются поддоны. Удаление влаги из поддона осуществляется путем испарения. Высота поддона должна быть не менее 300 мм, а ширина и длина на 300 мм больше размеров шахты.

Под поддоном необходимо устроить гидро- и теплоизоляцию перекрытия. Над поддоном на уровне кровельного покрытия рекомендуется выполнять защитный фартук по контуру отверстия шахты (см. рис. 2).

2.10. Вытяжную шахту необходимо выполнять из сборного железобетона с маркой по морозостойкости не менее Мрз-300.

Для предотвращения выпадения конденсата на внутренней поверхности стенки шахты должны иметь .

2.11. В случаях примыкания вентиляционной шахты к выступающим над кровлей помещениям высотой 2 м и больше, высота шахты должна быть на 0,5 м больше высоты выступающих помещений.

2.12. В вытяжной вентиляционной шахте теплого чердака могут размещаться также вытяжные каналы от системы вентиляции, выполняемые обособленно от систем вентиляции жилых квартир. В этом случае расчетное сечение вытяжной шахты определяется за вычетом площади каналов, дополнительно размещенных в ней. Встроенные каналы выполняются без зонтов и заканчиваются выше обреза вентиляционной шахты на 200 мм.

2.13. Размещаемые в пределах теплого чердака трубопроводы инженерного оборудования прокладываются с учетом удобного доступа к ним и свободного прохода к чердаку. Трубопроводы должны проходить на расстоянии не более 400 мм от поверхности покрытия или пола вблизи стен или выступающих конструкций.

3. ПРОЕКТИРОВАНИЕ КОНСТРУКЦИЙ КРЫШИ С ТЕПЛЫМ ЧЕРДАКОМ

3.1. Конструкция крыши с теплым чердаком в зависимости от способа водоотвода с кровли может быть лотковой и безлотковой. При лотковой схеме кровельные панели опираются на лотки, а те в свою очередь - на опорные элементы (рис. 3).

При безлотковой схеме водоотвода опорами для панелей кровли служат прогоны, уложенные на поперечные элементы, которые расположены по внутренней и наружным продольным осям здания с поперечными несущими стенами. Самонесущие наружные стены могут быть использованы в качестве опор для кровельных панелей (рис. 4).

3.2. Покрытие теплого чердака выполняет одновременно теплозащитные и гидроизолирующие функции. Обеспечение требуемых защитных качеств может быть достигнуто применением комплексных панелей покрытия полной заводской готовности с уплотнением и утеплением стыков конструкций материалами и способами, обеспечивающими равномерность теплозащиты по всему полю ограждения.

Для экспериментального строительства рекомендуется производить утепление и гидроизоляцию несущих элементов кровли в построечных условиях с применением укладываемого насухо гидроизоляционного ковра из полимерных рулонных материалов и насыпного утеплителя, например, керамзитового гравия, обработанного гидрофобным составом (рис. 5).

3.3. Комплексные панели покрытия полной заводской готовности могут быть: однослойными из разноплотного керамзитогазобетона, получаемые путем ограничения процесса вспучивания смеси; двухслойными из тяжелого бетона и слоя эффективного утеплителя, расположенного снизу и защищенного пароизоляцией; трехслойными из тяжелого бетона и эффективного утеплителя.

3.4. Комплексные панели из разноплотного керамзитогазобетона изготовляются по технологии, разработанной СФ ВНИИСТ.

Рис. 3. Схема лотковой крыши с теплым чердаком

1 - комплексная панель покрытия; 2 - лоток водосборный; 3 - панель чердачного перекрытия; 4 - опорный элемент; 5 - оголовок вентиляционного блока; 6 - вытяжная вентиляционная шахта; 7 - защитный зонт; 8 - водосборный поддон; 9 - стена машинного помещения лифта

Рис. 4. Схема безлотковой крыши с теплым чердаком

1 - комплексная панель покрытия из разноплотного керамзитогазобетона; 2 - опорная балка; 3 - опорная рама; 4 - диффузор вентиляционного блока; 5 - самонесущая стеновая панель; 6, 7 - опорные элементы; 8 - навесная стеновая панель; 9 - водосборный коллектор; 10 - вытяжная шахта

Рис. 5. Конструкция крыши с теплым чердаком с ковровым покрытием и насыпным утеплителем

1 - слой утеплителя из керамзитового гравия; 2 - кровельная панель; 3 - водосточный коллектор; 4 - опора; 5 - прогон; 6 - рулонный ковер «насухо»

Рис. 6. Комплексная панель покрытия из разноплотного керамзитогазобетона

7 - водосливная воронка; 2 - монтажные петли; 3 - водоотводящий желоб

Рис. 7. Стыки панелей из керамзитогазобетона

а - торцевых граней; б - боковых граней; 1 - мастика «бутепрол» («тегерон»); 2 - пористая резиновая прокладка «бутапор» (ПРП); 3 - защитная окраска; 4 - гидроизоляция

Толщина панели определяется теплотехническим расчетом исходя из плотности бетона g = 1100 кг/м3. Расчет панели по несущей способности ведется для керамзитогазобетона марки В-5.

Для придания плитам кровли несущей способности, а также для повышения плотности и водонепроницаемости верхний слой плиты толщиной 40 - 60 мм и ребро имеют марку В-15 с плотностью 1100 кг/м3 и водонепроницаемостью не менее W-8. Этот слой обладает также повышенной морозостойкостью (F 300 - 500), марка которой определяется видом использованного заполнителя. Получение упрочненного слоя бетона осуществляется путем ограничения вспучивания смеси при формировании изделия по технологии «лицом вниз». Нижний слой панели, выполняющий теплозащитные функции, имеет марку М 50 и обладает малой паропроницаемостью и теплопроводностью.

3.5. Для способа изготовления панели «лицом вниз» с последующим кантованием следует ставить дополнительную арматуру.

Рис. 8. Карнизный узел сопряжения керамзитогазобетонной панели с наружными стенами

а - с торцевой; б - с продольной; 1 - карнизный блок; 2 - панель покрытия; 3 - элемент жесткости; 4 - опорная балка; 5 - герметизирующая прокладка

3.6. Плита должна иметь ровную нижнюю поверхность и уклоны на верхней плоскости, отводящие воду к воронке, расположенной у внутренней торцевой грани (рис. 6). По торцам стыкуемых граней панелей имеются водоотводящие желоба. Торцовые бортики стыкуемых панелей заделываются уплотняющими прокладками дважды по высоте шва с нанесением герметизирующей мастики на верхнюю прокладку. На стыкуемые бортики укладывается полоса гидроизоляционного материала (гидробутил, кровлелон, армокровлелон) с последующей засыпкой желобов гравием или фракционированием щебнем (d £ 30 мм).

Стыки боковых граней панелей заделываются упругими прокладками по мастичной грунтовке, наносимой в заводских условиях (рис. 7), и герметизирующей мастикой с защитной окраской.

3.7. Отвод дождевых и талых вод осуществляется с каждой панели через водосливные воронки в коллектор, расположенный в чердачном пространстве и имеющий сток в стояки ливневой канализации. Водосборный коллектор изготавливается из асбестоцементных труб Æ 150 мм, подвешенных на хомутах с уклоном 3 % в сторону стояка. Соединение водосборных воронок с коллектором следует осуществлять резиновым шлангом.

Рис. 9. Комплексная двухслойная панель покрытия с эффективным утеплителем

1 - эффективный утеплитель; 2 - железобетонная ребристая плита

3.8. Карнизный узел выполняется с выносом кровельной панели на наружную стенку. Полость стыка герметизируется с наружной стороны (рис. 8).

3.9. Для экспериментального проектирования и строительства рекомендуются двухслойные комплексные панели из тяжелого бетона и слоя эффективного утеплителя, расположенного у внутренней поверхности плиты. Конструктивную и гидроизолирующую функцию выполняет ребристая плита с толщиной полки 40 мм и высотой несущих ребер, соответствующей несущей способности панели (рис. 9). Для улучшения теплозащитных свойств стыков покрытия на боковых гранях панелей устраиваются консольные выпуски плиты, создающие зазор между ребрами смежных панелей.

3.10. Теплозащитный слой выполняется из фенольного пенопласта или ПСБС методом вспенивания в полости, образованной отформованной плитой и приставной опалубкой. После снятия опалубки утеплитель удерживается силами адгезии к бетону и деревянными брусками, крепящимися к ребрам панели. Снизу фенольный утеплитель защищается окрасочной пароизоляцией.

3.11. Толщина утеплителя определяется расчетом. Стыки между панелями утепляются теплопакетами после окончания монтажа конструкций и герметизации стыков с поверхности кровли уплотняющими прокладками и нетвердеющими мастиками (бутепрол, тегерон). В месте сопряжения кровельной панели с водосборным лотком после установки всех элементов производится утепление ребра лотка со стороны чердака. Крепление теплопакета осуществляется посредством деревянного бруска, расположенного по низу бокового ребра лотка (рис. 10).

Рис. 10. Детали устройства покрытия из двухслойных комплексных панелей

а - стык панелей покрытия; б - сопряжение кровельной панели с лотком; 1 - панель покрытия; 2 - теплопакет; 3 - упругая прокладка; 4 - нетвердеющая мастика; 5 - эффективный утеплитель; 6 - уголок; 7 - деревянный брусок; 8 - гидроизоляция (рулонная); 9 - лоток; 10 - опора; 11 - защитная окраска; 12 - пароизоляция (раствор безосновного линолеума в бензине или керосине)

3.12. Трехслойные кровельные панели с эффективным утеплителем в зависимости от вида утеплителя могут быть безрулонными и с рулонным покрытием (рис. 11).

При использовании пенопласта ПСБС-1 рулонное покрытие не требуется. При проектировании панелей с утеплителем из жесткой и полужесткой минеральной ваты на неорганическом связующем требуется предусматривать гидрозащиту кровельной поверхности.

Требуемые эксплуатационные качества панелей обеспечиваются водонепроницаемостью верхнего и нижнего слоев бетона и соблюдением нормативной влажности утеплителя. Толщина верхнего и нижнего слоев должна быть не менее 40 мм.

3.13. Теплоизоляция определяется требуемой величиной теплозащиты и технологическими возможностями производства. Теплоизоляционный материал укладывается при формовании панели. Для предотвращения влагонакопления в процессе изготовления утеплитель должен быть гидроизолирован.

3.14. Стыки между панелями заделываются герметизирующими материалами и теплопакетами (рис. 12). Для предотвращения старения мастики под воздействием солнечной радиации производится защитная окраска, включающая растворитель и алюминиевую пудру.

Стык кровельной панели с водосборным лотком должен быть запроектирован с перекрытием продольного ребра лотка ребром сливного свеса панели с обязательной прокладкой герметиком (см. рис. 12).

3.15. Для пропуска через кровельные панели вытяжных шахт, канализационных стояков, выходов на крышу в панелях следует предусматривать отверстия, обрамленные бортиком высотой не менее 80 - 100 мм.

3.16. При отсутствии исходных материалов и технологического оборудования для получения плотного морозостойкого бетона рекомендуется устройство покрытия чердака неполной заводской готовности.

Несущим элементом такого покрытия служит железобетонная или керамзитобетонная плита из бетона марки, удовлетворяющей требованиям прочности и жесткости. Гидроизоляция выполняется в виде индустриального коврового покрытия из полимерных материалов. Теплоизоляция устраивается по ковровому покрытию из керамзитобетона марки М 5 или керамзитового гравия, закрепленного от сдувания пленкой, нанесенной способом распыления. Так как утеплитель располагается поверх железобетонных панелей, последние находятся в зоне менее резких колебаний температур. Поэтому для заделки стыков можно применять цементно-песчаный раствор при производстве работ в период положительных температур и уплотняющие прокладки при производстве работ в зимнее время.

3.17. Для предотвращения затекания воды под ковровое покрытие по периметру кровли и в местах стыковки ковров устанавливаются подкладочные и прижимные элементы (рис. 13). Аналогично решается отвод воды от вертикальных стенок (вентиляционных шахт, машинного помещения лифта). Сток воды производится через воронки, расположенные по продольной оси здания, в подвесной коллектор. Водоприемные отверстия должны быть защищены от засорения гравием (рис. 14).

Рис. 11. Комплексная трехслойная панель покрытия с эффективным утеплителем

1 - тяжелый бетон; 2 - эффективный утеплитель; 3 - гидроизоляция

Рис. 12. Детали устройства покрытия из трехслойных комплексных панелей

а - стык панелей покрытия; б - стык панели покрытия с водосборным лотком; 1 - панель покрытия; 2 - уплотняющая прокладка; 3 - нетвердеющая мастика; 4 - водосборный лоток; 5 - утеплитель между опорными выступами; 6 - опора; 7 - защитная окраска (БТ-177)

3.18. Насыпной утеплитель предохраняет полимерное ковровое покрытие от механического повреждения и старения под воздействием ультрафиолетового облучения.

3.19. Железобетонные водосборные лотки должны проектироваться крытообразного сечения с двухслойным или трехслойным днищем в соответствии с принятой конструкцией панелей покрытия. Днище лотка должно иметь уклоны 3 % в сторону водосточной воронки. Уклоны образуются за счет изменения толщины верхнего слоя днища. Минимальная толщина верхнего слоя должна быть не менее 60 мм для лотков «открытого» типа, т.е. без дополнительной гидроизоляции днища, и 40 мм - для лотков «закрытого» типа, т.е. с устройством дополнительной гидроизоляции, либо оклеечной, либо ковровой; толщина нижнего слоя бетона должна быть не менее 40 мм (рис. 15). Высота несущих продольных ребер принимается по расчету, а высота торцевых ребер должна быть меньше высоты продольных ребер на 100 - 120 мм. Из конструктивных требований высота продольных ребер назначается не менее 350 мм. В днище водосборного лотка устанавливается водосборная воронка со сливным патрубком, крепящаяся к закладной детали.

Рис. 13. Детали устройства покрытия с насыпным утеплителем

а - карнизный узел; б - стыковка ковров; 1 - железобетонный прижимной элемент; 2 - рулонный ковер; 3 - слой утеплителя из керамзита; 4 - кровельная панель; 5 - стеновая панель; 6 - водоотводящий элемент; 7 - пергамин

3.20. Водосточные лотки с предварительно напряженной арматурой следует проектировать со степенью обжатия бетона не более 0,4Rпр (из условия обеспечения долговечности конструкции, работающей в условиях попеременного замораживания и оттаивания). Стык между водосточными лотками рекомендуется устраивать следующим образом: для лотков «открытого» типа полоса материала укладывается насухо и заводится за продольные ребра лотков с обязательным устройством деформационного выгиба и приклейкой нижних краев полосы мастикой через дополнительные полосы к краям стыкуемых лотков (рис. 16); для лотков «закрытого» типа, т.е. с гидроизоляцией водоотводящей поверхности рулонным полимерным материалом, укладываемым насухо, и засыпкой дренирующим слоем гравия или щебня - гидроизоляционное покрытие заводится за продольные и поперечные ребра лотков с устройством перехлеста в месте стыка лотков и укладкой поверх стыка полосы шириной 400 мм (рис. 17).

Рис. 14. Деталь устройства водоотвода

1 - железобетонная плита покрытия; 2 - прогон; 3 - опора; 4 - патрубок; 5 - защитный камень

Рис. 15. Водосборный лоток трехслойной конструкции

1 - тяжелый бетон; 2 - эффективный утеплитель; 3 - водосточная воронка; 4 - закладная деталь для крепления кровельной панели

Рис. 16. Стык водосборных лотков «открытого» типа

1 - водосборный лоток; 2 - опора; 3 - водоприемная воронка; 4 - стеклоткань «насухо»; 5 - изол на мастике; 6 - теплопакет

Эти операции выполняются до монтажа кровельных панелей. Для утепления стыка лотков следует производить укладку теплоизоляционных и герметизирующих материалов.

3.21. Конструкция наружных стен чердака (продольные и торцевые фризовые панели) должна быть аналогична конструкции наружных стен здания. Опорные фризовые панели и торцевые крепятся между собой, а также к чердачному перекрытию посредством анкерных элементов.

3.22. К доборным элементам крыш с теплым чердаком относятся: оголовки вентиляционных блоков, вытяжные вентиляционные шахты; опорные рамы под лотки, опорные балки покрытия, треугольные анкерные элементы, прокладочные прижимные элементы и др.

3.23. Оголовки вентиляционных блоков и вытяжные шахты следует проектировать в соответствии с «Рекомендациями по проектированию железобетонных крыш с теплым чердаком для жилых зданий различной этажности», ЦНИИЭП жилища, М., 1980 г.

3.24. С целью упрощения конструкции крыши наружные стены чердака в местах лоджий или ризалитов рекомендуется спрямлять по внешней линии наружных стен здания. Участки перекрытия над лоджиями следует утеплять и герметизировать.

3.25. Крыши домов высотой более 5-ти этажей рекомендуется проектировать с внутренним водостоком в наружные сети ливневой канализации. При отсутствии такой возможности выпуск осуществлять в бетонные лотки на отмостке здания.

Сопряжение водосточной воронки со стояками следует делать подвижным за счет присоединения сливного патрубка воронки к компенсационному раструбу стояка.

Рис. 17. Стык водосборных лотков «закрытого» типа

1 - водосборный лоток; 2 - опора; 3 - водоприемная воронка; 4 - водоизоляционный ковер «насухо»; 5 - защитный фартук; 6 - тепло-пакет

3.26. Во избежание затекания воды на стену чердака вынос кровельной панели за грань опорной фризовой панели должен быть не менее 100 мм.

3.27. В зданиях высотой в 5 этажей водоотвод с кровли может быть наружным и внутренним. Внутренний водоотвод целесообразно устраивать при безлотковой схеме, когда вода отводится с каждой панели кровли в водосборный коллектор чердачного помещения.

4. ТЕПЛОТЕХНИЧЕСКИЙ РАСЧЕТ ОГРАЖДАЮЩИХ КОНСТРУКЦИЙ ТЕПЛОГО ЧЕРДАКА

4.1. В основу теплотехнического расчета положены условия ограничения теплопотерь чердачного перекрытия, обеспечение теплового баланса чердачного помещения и недопустимости выпадания конденсата на внутренних поверхностях стен и покрытия.

4.2. Расчетные формулы для определения необходимых значений сопротивления теплопередаче наружных ограждений и теплового режима чердака основаны на уравнении теплового баланса, который складывается из тепла, поступающего с нагретым вытяжным воздухом и через чердачное перекрытие и уходящего через покрытие и наружные стены:

               (1)

4.3. Теплотехнический расчет рекомендуется выполнять в следующей последовательности:

вычисляется минимально допустимая температура воздуха на чердаке в зависимости от сопротивления теплопередаче перекрытия и из условия ограничения теплопотерь через него:

                                                      (2)

вычисляется сопротивление теплопередаче покрытия из условия обеспечения теплового баланса чердака:

            (3)

вычисляется температура внутренней поверхности покрытия:

                                          (4)

Температура внутренней поверхности покрытия должна быть не ниже значений, определяемых в соответствии с п. 4.6.

При пониженной температуре внутренней поверхности сопротивление теплопередаче покрытия следует рассчитывать по условию невыпадения конденсата:

   (5)

Далее вычисляется действительная температура воздуха на чердаке

                   (6)

где Gвент - приведенный (отнесенный к 1 м2 покрытия) расход вытяжного воздуха в м32 · ч), определенный согласно СНиП II-Л.1-71*, п. 4.4;

cо - объемная теплоемкость воздуха, равная 0,29 ккал/м3;

tвент - температура воздуха, поступающего на теплый чердак из вентиляционных каналов, °C;

tчep - температура воздуха теплого чердака, °C;

gпер - тепловой поток, проходящий через чердачное перекрытие при расчетной наружной температуре, ккал/(м2 · ч);

tв - расчетная температура воздуха помещений, °C, принимаемая равной 20 °C по СНиП II-Л.1-71;

tн - расчетная температура наружного воздуха, принимаемая равной средней температуре самой холодной пятидневки, по СНиП 2.01.01-82, °C;

, ,  приведенные сопротивления теплопередаче соответственно перекрытия, покрытия и наружных стен, м2 · ч · °C/ккал;

Fст - приведенная (отнесенная к 1 м2 покрытия) площадь наружных стен чердака, м22;

tпок - температура внутренней поверхности покрытия, °C;

aв - коэффициент теплоотдачи внутренней поверхности, ккал/(м2 · ч) °C;

4.4. Температуру воздуха, поступающего на чердак из вентиляционных каналов, допускается повышать на 1 °C относительно расчетной температуры воздуха жилых помещений.

4.5. Сопротивление теплопередаче наружных стен может определяться по проектным данным, или расчетом по СНиП II-3-79**

Сопротивление теплопередаче чердачного перекрытия рассчитывается по проектным данным с учетом п. 4.6.

4.6. Тепловой поток, проходящий через чердачное перекрытие, при расчетной наружной температуре воздуха принимается равным 16 ккал/(м2 · ч) из условия увеличения тепловой эффективности крыш с теплым чердаком и экономической целесообразности их применения в I климатическом районе. Утеплять чердачное перекрытие не рекомендуется, так как это ведет к снижению температуры воздуха на чердаке и к возможности выпадения конденсата на его ограждающих конструкциях.

4.7. Температура внутренней поверхности ограждающих конструкций определяется из условия невыпадения конденсата при расчетной наружной температуре и в зависимости от влагосодержания воздуха на чердаке. Последнее определяется как сумма влагосодержания наружного воздуха при расчетной температуре и приращения влагосодержания в жилых помещениях. Среднесуточное приращение влагосодержания для общих расчетов рекомендуется принимать в количестве 4,5 г/кг исходя из фактических эксплуатационных данных.

4.8. Расход вытяжного воздуха определяется по нормам вытяжки из кухонь, санблоков и сушильных шкафов, указанных в СНиП II-Л.1-71*, и учитывается в расчете значением, приведенным к 1 м2 покрытия.

Для предварительных расчетов расход вытяжного воздуха, поступающего на чердак зданий, строящихся на севере, допускается принимать по табл. 1.

Таблица 1

Этажность здания

Приведенный расход воздуха, м3/(ч · м2), в квартирах

газифицированных

с электроплитами

5

10

8

9

16

13

12

21

17

4.9. Площадь наружных стен теплого чердака определяется по проектным данным и приводится к 1 м2 покрытия. Для предварительных расчетов можно принимать значение приведенной площади, равное 0,4, что соответствует торцовой блок-секции при высоте стен 1,75 м.

4.10. Для ограждающих конструкций с теплопроводными включениями сопротивление теплопередаче следует определять согласно п.п. 2.8 и 2.9 СНиП II-3-79**.

Предварительное значение приведенного сопротивления теплопередаче панелей чердака может быть определено по формуле

                                                      (7)

где  - сопротивление теплопередаче ограждения, условно определяемое без учета влияния теплопроводных включений, м2 · ч · °C/ккал;

r - коэффициент, учитывающий влияние стыков, ребер и др., принимаемый равным 0,9 для ограждений из однослойных панелей и по табл. 2 - для трехслойных панелей.

Таблица 2

Тип трехслойной панели

Значение r при плотности легкого бетона теплопроводных включений g, кг/м3

1000

1100

1200

1300

1400

1500

1600

Панели из тяжелого бетона с теплоизоляционным слоем из пенопласта λ = 0,04, ккал/(м2 · ч · °С)

0,46

0,44

0,42

0,4

0,38

0,37

0,36

То же, с теплоизоляцией из минераловатных плит λ = 0,065, ккал/(м2 · ч · °С)

0,58

0,55

0,53

0,51

0,49

0,47

0,46

Панели из керамзитобетона с теплоизоляционным слоем из пенопласта λ = 0,04 ккал/(м2 · ч · °С)

0,57

0,54

0,51

0,48

0,46

0,44

0,42

То же, из минераловатных плит с λ = 0,005 ккал/(м2 · ч · °С)

0,68

0,65

0,62

0,59

0,57

0,55

0,53

4.11. Температура внутренней поверхности ограждающих конструкций теплого чердака неоднородных в теплотехническом отношении (карнизные узлы, лотки, стыки и др.) проверяется путем расчета температурных полей этих узлов. За температуру внутренней поверхности допускается принимать температуру холодного участка tхол.

Расчет в этом случае ведется в следующей последовательности: по формулам (2) и (3) находится сопротивление теплопередаче покрытия, которое в этом случае является условной средней величиной, обеспечивающей тепловой баланс; определяется минимальное сопротивление теплопередаче холодного участка покрытия по условиям ограничения конденсата:

                                    (8)

рассчитывается сопротивление теплопередаче утепленной части покрытия:

                           (9)

где Fтеп, Fхол - приведенные к 1 м2 покрытия площади, соответствующие утепленной части холодного участка, м22;

tхол - температура внутренней поверхности холодного участка покрытия, °C.

4.12. С целью использования тепловой эффективности крыши с теплым чердаком и выполнения требований СНиП II-3-79** об экономическом обосновании теплозащиты конструкций рекомендуется экономически целесообразную величину сопротивления теплопередаче чердачного покрытия определять в соответствии с нижеприведенными указаниями.

Величина экономически целесообразного термического сопротивления теплоизоляционного слоя предварительно находится по формуле

                        (10)

где Rпост - постоянная часть сопротивления теплопередаче покрытия, куда входят термическое сопротивление конструктивных слоев и сопротивление теплопереходу у поверхностей ограждения, м2 · ч · °C/ккал;

 - расчетная температура наружного воздуха за отопительный период, °C;

Zот - продолжительность отопительного периода, ч;

Сут - стоимость материала теплоизоляционного слоя, руб/м3;

Ст - стоимость тепловой энергии, руб/Гккал;

lТ - коэффициент изменения стоимости тепловой энергии на перспективу, для жилых зданий lT = 1,3;

Ен.п - нормативный коэффициент окупаемости, равный 0,08;

m - коэффициент дополнительных потерь на нагрев инфильтрующегося наружного воздуха, равный 1,05.

Экономически целесообразное сопротивление теплопередаче чердачного покрытия определяется:

                                      (11)

Окончательный выбор  следует производить по минимуму приведенных затрат, которые рассчитываются для конструктивных вариантов покрытия со значением  близким величине .

Приведенные затраты находятся по формуле

                                           (12)

где Сд - единовременные затраты (себестоимость строительно-монтажных работ), руб/м2;

 - средний за отопительный период тепловой поток через чердачное перекрытие, рассчитанный по формуле

               (13)

4.13. Для предварительной оценки предлагаемых конструкций покрытия и вывода экономически целесообразного варианта рекомендуется пользоваться показателями табл. 3, в которой приведены величины, рассчитанные согласно п. 4.12.

Таблица 3

Этажность здания

Приведенные затраты для вариантов конструктивных решений покрытий теплого чердака

трехслойная железобетонная плита с утеплителем ФРП толщиной 200 мм

трехслойная керамзитобетонная плита с утеплителем из пенополистирола толщиной 100 мм

однослойная керамзитогазобетонная плита толщиной 400 мм

двухслойная ребристая с утеплителем из ФРП толщиной 220 мм

5

3,57

2,59

-

3,7

0,15

0,12

-

0,15

3,9

2,82

-

3,9

8,9

14,6

13,6

12,6

13,7

19,5

20,6

15,3

20,4

30,9

30,8

25,4

9

2,77

2,3

-

3,3

0,12

0,11

-

0,14

3,1

2,5

-

3,5

7,9

13,8

13,6

11,3

10,5

15,4

16,6

11,8

16,6

26,7

27,4

25,2

5. ТЕХНОЛОГИЯ ИЗГОТОВЛЕНИЯ И МОНТАЖА ЭЛЕМЕНТОВ КРЫШ. ГИДРОИЗОЛЯЦИЯ

5.1. Наружные слои кровельных трехслойных или двухслойных панелей следует изготовлять из тяжелого бетона марки не ниже М 300. Марка бетона по морозостойкости должна быть F 300 - 500, а по водонепроницаемости не менее W-6.

5.2. В качестве вяжущего следует применять портландцементы марки не менее 400, отвечающие требованиям ГОСТ 10178-76 с изм.

В качестве мелкого заполнителя следует использовать песок в соответствии с ГОСТ 10268-80, содержащий не более 2 % пылевидных или илистых частиц. Модуль крупности должен находиться в пределах Мкр = 2,1 - 3.

В качестве крупного заполнителя необходимо применять щебень, отвечающий требованиям ГОСТ 10260-82.

5.3. Для уменьшения водопотребности бетона рекомендуется применять пластифицирующие и гидрофобизирующие поверхностно-активные добавки в соответствии со СНиП III-15-76.

Вода для приготовления бетонной смеси применяется в соответствии с требованиями ГОСТ 23732-79.

5.4. Для армирования панелей следует использовать сварную арматуру и закладные детали в соответствии с требованиями ГОСТ 23279-85.

5.5. Для приготовления бетонной смеси рекомендуется использовать бетономешалки принудительного перемешивания.

Для формирования панелей следует использовать бетонирующие агрегаты, обеспечивающие равномерное уплотнение по всей площади и толщине панели.

Термообработку изделий рекомендуется осуществлять по мягкому режиму с предварительной выдержкой.

5.6. Контроль качества бетона в конструкциях, хранение, транспортировку, паспортизацию изделий следует осуществлять в соответствии с требованиями ГОСТ 13015.1-81.

Испытание готовых изделий, оценка прочности, трещиностойкости осуществляется в соответствии с требованиями ГОСТ 8829-85.

5.7. Однослойные панели покрытия рекомендуется изготавливать из керамзитобетона в соответствии с рекомендациями, разработанными ВНИИСТ (Северный филиал), а также требованиями «Рекомендаций по технологии изготовления изделий из керамзитогазобетона» (Р 19-78, НИИИЖБ, 1978).

5.8. Монтаж сборных железобетонных крыш с теплым чердаком должен осуществляться в соответствии с рабочими чертежами и проектом производства работ, а также с соблюдением требований СНиП 2.03.01-84 («Бетонные и железобетонные конструкции») и СНиП III-4-80 («Техника безопасности в строительстве»).

Монтаж кровельных панелей и водосборных лотков должен производиться после завершения строительно-монтажных работ в пределах чердака. При этом следует выверить разницу отметок наружных и внутренних опор для обеспечения требуемого уклона кровли.

Монтаж кровельных панелей и водосборных лотков должен производиться с помощью специальных траверс, исключающих возникновение крутящих нерасчетных моментов и других усилий в монтируемых конструкциях.

5.9. Монтаж крыш с лотковой системой водоотвода рекомендуется производить в следующем порядке: монтаж панелей чердачного перекрытия с заделкой стыков цементно-песчаным раствором и устройством стяжки по всей поверхности перекрытия; установка опорных и парапетных панелей, треугольных анкерных элементов, герметизация стыков наружных стен; монтаж внутренних перегородок, панелей стен машинных помещений лифтов; установка плит перекрытия под машинными помещениями лифтов; установка водосборных лотков и заделка швов между ними с устройством гидроизоляции; установка водосборных воронок, крышек и труб водосточных воронок; засыпка лотков «закрытого» типа дренирующим материалом; установка оголовков вентиляционных блоков вытяжной вентиляции; монтаж кровельных панелей с герметизацией и утеплением стыков между ними и примыкающими к ним конструкциями; установка вытяжных шахт, зонтов над ними и поддонов, либо установка вытяжных устройств в наружных стенах чердака (а.с. № 985228); заделка мест примыкания кровельных панелей к торцевым парапетным стенам с установкой нащельников; установка стоек радио- и телеантенн.

5.10. При монтаже крыши безлотковой конструкции исключаются операции по монтажу и заделке стыков и лотков и добавляются следующие монтажные работы: укладка прогонов для опирания кровельных панелей; заделка стыков между торцевыми и боковыми гранями кровельных панелей; устройство коврового покрытия и засыпка утеплителя.

5.11. Не допускается складирование материалов на крыше при нагрузке на покрытие свыше 1 МПа. Складирование материалов в водосборных лотках запрещается.

5.12. Консоли и механизмы для подвески люлек рекомендуется размещать на покрытии чердака. При расчете покрытия эта нагрузка должна учитываться.

5.13. При устройстве сборных безрулонных и ковровых крыш запрещается: пробивка каких-либо отверстий, как в панелях, так и в лотках; пристрелка дюбелями деталей к кровельным панелям и лоткам.

После окончания монтажных работ поверхность кровельных панелей и лотков должна быть очищена от строительного мусора и обломков строительных материалов.

5.14. Дополнительным средством защиты конструкций покрытия от атмосферных воздействий является нанесение окрасочных гидроизоляционных составов, работающих совместно с водонепроницаемым морозостойким бетоном кровельной панели, либо сборный кровельный ковер из рулонных полимерных материалов на основе эластомеров.

5.15. Окрасочные гидроизоляционные составы, предназначенные для защиты лицевой поверхности кровельных панелей и лотков безрулонной кровли, следует наносить в заводских условиях. Нанесение таких составов в условиях строительной площадки допускается в виде исключения, при соблюдении температурных и влажностных режимов, рекомендованных для данного типа покрытия (см. табл. 2 «Руководства по проектированию и устройству сборных железобетонных крыш с безрулонной кровлей для жилых и общественных зданий», СибЗНИИЭП, 1982).

5.16. Сборные кровельные ковры площадью 300 м2 изготавливаются в цехе, укладываются непосредственно на стройплощадке на полностью смонтированное чердачное покрытие после замоноличивания стыков и устранения дефектов поверхностного слоя панелей.

5.17. Правильная, тщательная подготовка основания оказывает большое влияние на сроки эксплуатации кровельного гидроизоляционного покрытия независимо от его типа.

5.18. Основание под кровлю должно быть ровным, чистым, без выступов и впадин, без резких переломов профиля, с возможно меньшим количеством выступающих над кровлей конструкций и деталей.

5.19. Раковины, поры, трещины в бетонном основании должны быть заделаны цементно-песчаным раствором с введением в него полимерных добавок (латексов, ПВАЭ и др.).

5.20. Вертикальные поверхности конструкций, выступающих над кровлей (вентшахты, парапеты и др.), выполненные из блоков, должны быть сопряжены с плоскостью кровельных панелей переходными наклонными бортиками с уклоном 45°, высотой не менее 100 мм.

5.21. Для гидроизоляции панелей и лотков безрулонной кровли следует использовать битумно-бутилкаучуковую холодную мастику МББХ-120 «Вента» (ТУ 21-27-39-77) или защитное покрытие на основе краски БТ-177 (ГОСТ 5631-79*).

5.22. Нанесение окрасочных составов должно производиться механизированным способом с использованием установки безвоздушного распыления.

Каждый последующий слой гидроизоляционного покрытия наносится после высыхания предыдущего.

5.23. Цех по выпуску кровельных плит полной заводской готовности должен быть оборудован приточно-вытяжной вентиляцией. Все оборудование должно быть осуществлено во взрывобезопасном исполнении.

5.24. Допускается применять кровельные панели без поверхностной гидроизоляции из окрасочных составов в случае использования специальных атмосферных и долговечных бетонов, обеспечивающих основные защитные и гидроизоляционные функции.

5.25. Применение свободно лежащих, либо частично приклеенных сборных кровельных ковров заводского изготовления - наиболее рациональное решение гидроизоляции кровель для районов Крайнего Севера. Такое решение позволяет: выполнять кровельные работы при температуре наружного воздуха от -40 до +40 °C; сократить трудозатраты на стройплощадке в 2 - 3 раза; повысить эксплуатационные качества и улучшить технико-экономические показатели кровель.

5.26. Сборные кровельные ковры предназначены для применения их на плоских кровлях с холодным либо теплым чердаком.

5.27. Для устройства сборных кровельных ковров рекомендуются следующие материалы: бутизол (ТУ 38-103301-78); бутилкор (ТУ 38-103377-77); гидробутил марок 1 и 2 (ТУ 21-27-54-78); гидробутил К-7 (ТУ 21-27-96-82); армогидробутил АК-7 (ТУ 21-27-96-82).

5.28. Склеивание полотнищ этих рулонных материалов между собой для образования сборных ковров, а также приклейка ковров к основанию осуществляется следующими клеями и мастиками: НБВ-2 (ТУ 3820340-78), МКБ (ТУ 21-27-90-80), КН-2 и КН-3 (ГОСТ 24064-80), клей 88-Н и 88-НП.

5.29. Работы по изготовлению сборных кровельных ковров должны производиться в условиях цеха в соответствии с «Временными рекомендациями по изготовлению сборных кровельных ковров из полимерных пленочных материалов (кровлелон, армокровлелон, армогидробутил, гидробутил)», ВНИИкровля, М., 1981 г.

5.30. Выбор конструкции кровельного покрытия и работы по монтажу сборных ковров должны производиться в соответствии с «Рекомендациями по применению в кровлях рулонных материалов на основе бутилкаучука», ЦНИИпромзданий, М., 1982 г.

6. ОСНОВНЫЕ ТРЕБОВАНИЯ К ТЕХНИЧЕСКОЙ ЭКСПЛУАТАЦИИ КРЫШ

6.1. Эксплуатационные качества кровли в первую очередь зависят от соответствия качества и состава монтажных работ требованиям проекта.

6.2. При устройстве безрулонной кровли генподрядчик по строительству должен представить документы, гарантирующие морозостойкость и водонепроницаемость бетона кровельных панелей и лотков.

6.3. Контроль за техническим состоянием конструкций крыши следует осуществлять в соответствии с «Правилами и нормами технической эксплуатации жилого фонда», Стройиздат, М., 1977 г.

6.4. Для обеспечения работы вентиляционной системы здания необходимо соблюдать герметичность объема чердака: все двери межсекционных перегородок должны быть закрыты, иметь запорные устройства и находиться под постоянным контролем обслуживающего персонала.

6.5. Необходимо следить за состоянием вентиляционных каналов и оголовков, не допуская их засорения мусором и пылью. Допускается установка поверх оголовков защитных решеток с ячейками не менее 50 мм и занимающих по площади не более 10 % площади отверстия оголовка.

6.6. По мере накопления пылевого осадка следует производить влажную уборку чердачного перекрытия.

6.7. Для обеспечения освещения чердака в любое время суток электропроводка должна быть подключена к сети аварийного электроосвещения.

6.8. Рекомендуется периодически проверять эффективность воздухообмена в чердачном помещении путем обследования температурно-влажностного состояния внутренней поверхности ограждающих конструкций (наличие мокрых пятен, инея, льда).

6.9. При осмотрах безрулонных крыш следует обращать внимание на: состояние поверхности кровельных элементов; сохранность поверхностей гидроизоляции панелей кровли и лотков; герметичность соединения кровельных элементов; состояние деталей и узлов покрытия (места примыкания, карнизы); состояние водоотводящих устройств; положение устройств, регулирующих величину сечения шахты в соответствии с сезонными требованиями.

6.10. В процессе эксплуатации безрулонные крыши следует регулярно очищать от загрязнений, особенно водосборные лотки и водоприемные воронки.

6.11. При обнаружении дефектов стыков кровельных панелей двухслойной и трехслойной конструкции необходимо вскрыть шов, удалить мастику, очистить кромки стыкуемых элементов, обработать их праймером, приготовленным на основе применяемой мастики и уложить новый валик мастики с защитным окрасочным слоем.

6.12. Устранение дефектов в стыке между водосборными лотками производится следующим образом: расчищается старая заделка; наклеивается полоса стеклоткани шириной 250 - 300 мм по верху торцовых ребер; наклеивается полоса стеклоткани в направлении из лотка в лоток с обязательным доведением полотнища до днища лотков.

6.13. При эксплуатации кровли с полимерным ковровым покрытием и насыпным утеплителем рекомендуется: при использовании в качестве утеплителя керамзитового гравия для предотвращения повреждения склеивающей пленки устраивать ходовые доски по всей кровле; при нарушении гидроизоляционного ковра в местах крепления ограждения кровли, стоек и растяжек, поврежденные места заделать мастикой и наклеивать заплатки из двух слоев гидроизоляционного материала.

6.14. Все ремонтно-восстановительные работы рекомендуется производить в период положительных температур и в сухую погоду.