4.1. Методы контроля. Химические факторы
Методические указания МУК 4.1.662-97
"Методические указания по определению массовой концентрации стирола в атмосферном воздухе методом газовой хроматографии"
(утв. Главным государственным санитарным врачом РФ 31 октября 1996 г.)
Дата введения - с момента утверждения
Введены впервые
Методика предназначена для количественного определения содержания стирола в атмосферном воздухе на уровне ПДК и может быть эффективно использована при санитарно-гигиенической оценке полимерных материалов.
Методика основана на газохроматографическом анализе с пламенно-ионизационным детектированием стирола после его концентрирования из воздушной среды на адсорбенте. Диапазон измерения от 0,5 до 20 ПДК для атмосферного воздуха населенных мест.
Стирол - бесцветная прозрачная жидкость с резким неприятным запахом.
Молекулярная формула - С6Н5СНСН2.
Молекулярная масса - 104,15
Температура кипения - 146 °С
Температура воспламенения - 490 °С
Температура вспышки - 34 °С
Взрывоопасные концентрации в смеси с воздухом 1,1 - 6,1 %.
Стирол растворяется в эфире, метаноле, бензоле, четыреххлористом углероде и других органических растворителях.
Стирол обладает раздражающим, аллергическим действием, оказывает влияние на нервную систему и кроветворные органы.
Предельно допустимая концентрация стирола в воздухе рабочей зоны 5 мг/м3, в атмосферном воздухе населенных мест: максимально-разовая - 0,003 мг/м3, среднесуточная - 0,002 мг/м3.
Предел допускаемых значений относительной погрешности результата измерений Δ ± 14 % при доверительной вероятности 0,95. Нормативами контроля качества (сходимости) измерения (Δ) является допускаемое относительное расхождение между результатами двух параллельных измерений, равное 20 %, и предельная относительная погрешность градуировки (Δгр), равная 5 % при доверительной вероятности 0,95.
|
Газовый хроматограф с пламенно-ионизационным детектором |
|
|
Колонки газохроматографические стеклянные длиной 2,5 м и внутренним диаметром 3 мм, 2 шт. |
|
|
Микрошприц "Газохром-101" с диапазоном шкалы 0 - 1,0 мм3 или другой с аналогичными характеристиками |
|
|
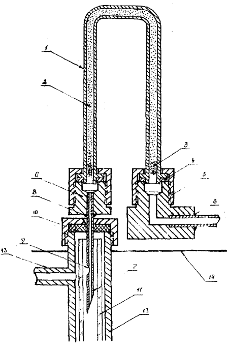
Патрон-концентратор (патрон) из нержавеющей стали (рис. 1) |
|
|
Трехходовой кран (рис. 2, поз. 1) |
|
|
Весы лабораторные 2-го класса точности с верхним пределом взвешивания 200 г |
|
|
Линейка металлическая измерительная, диапазон измерений 0 - 300 мм, цена деления 1 мм |
|
|
Лупа измерительная |
|
|
Секундомер |
ТУ 25-1819.0021-90 ТУ 25-1824.003-90 |
|
Аспирационное устройство ПУ-1Эп с номинальным расходом 0,1 - 1,5 дм3/мин |
|
|
Печь, обеспечивающая нагрев до температуры не ниже 270 °С |
|
|
Термопара любого типа, обеспечивающая измерение температуры в интервале от 20 до 270 °С |
|
|
Термометр любого типа, обеспечивающий измерение температуры в интервале от 250 °С до 270 °С |
|
|
Шкаф сушильный, обеспечивающий нагрев не ниже 200 °С |
|
|
Цилиндр вместимостью 25 см3 |
|
|
Колбы, исполнение 2, вместимостью 25 и 50 см3 |
|
|
Чашка выпарительная |
ГОСТ 9146-80 |
|
Пипетки вместимостью 1, 2, 5 и 10 см3 |
|
|
Воронки |
|
|
Шприц медицинский стеклянный |
|
Готовый сорбент для заполнения хроматографической колонки хроматон N=AW с размером частиц 0,2 - 0,25 мм, пропитанный 5 % метилсиликонового эластомера SE-30 |
|
|
Полимерный сорбент для заполнения патрона-концентратора: Тенакс GC (поли-2,6-дифенил-n-фениленоксид) с размером частиц 0,150 - 0,18 мм |
|
|
Стирол свежеперегнанный |
ТУ 6-09-399-78 |
|
Спирт этиловый ректификованный технический |
|
|
Водород технический марки А и Б |
|
|
Азот газообразный особой чистоты |
|
|
Воздух для питания пневматических приборов и средств автоматизации |
ГОСТ 11822-73 |
Измерение содержания стирола в атмосферном воздухе проводят методом газовой хроматографии с предварительным адсорбционным концентрированием на полимерном сорбенте с последующей термической десорбцией в линию газового хроматографа и регистрацией пика стирола с помощью пламенно-ионизационного детектора.
Определению не мешают обычно выделяющиеся из полистирольных материалов компоненты, а именно: изопентан, бензол, толуол, этилбензол, бензальдегид.
Продолжительность анализа, включая пробоподготовку, не более 60 мин.
Общие указания по проведению анализа по ГОСТу 27035-86.
Допускается применение других средств измерений с метрологическими характеристиками и оборудования с техническими характеристиками не хуже, а также реактивов по качеству не ниже, указанных в настоящей методике.
Для приготовления градуировочных смесей допускается применение эталона с содержанием основного вещества не менее 99,8 %.
При выполнении газохроматографических измерений следует соблюдать правила безопасной работы на хроматографе, изложенные в инструкции по эксплуатации хроматографа, правила безопасной работы в химической лаборатории, правила безопасной работы с анализируемыми веществами и сосудами под давлением.
К выполнению газохроматографических измерений допускаются лица, имеющие квалификацию не ниже техника- или инженера-химика и прошедшие обучение хроматографическим методам анализа и работе с сосудами под давлением.
|
Атмосферное давление |
97 - 104 кПа |
|
Температура воздуха |
283 - 308 °К
|
|
Относительная влажность воздуха |
30 ± 80 % |
|
Напряжение питания электросети |
220 ± 22 В |
Хроматографический анализ и градуировку проводят при следующих условиях:
|
температура испарителя |
170 °С |
|
температура детектора |
170 °С |
|
температура термостата колонок |
70 - 100 °С |
|
объемный расход азота |
30 см3/мин |
|
объемный расход водорода |
40 см3/мин |
|
объемный расход воздуха |
300 см3/мин |
|
шкала записи хроматограмм |
4 - 32 |
|
скорость протяжки диаграммной ленты |
1,5 см/мин |
При температуре термостата колонок 100 °С время выхода стирола - 2 мин 50 сек.
Вывод хроматографа на рабочий режим проводят в соответствии с прилагаемой к прибору инструкцией.
Колонки последовательно промывают водой, ацетоном, этанолом и сушат в токе воздуха при комнатной температуре.
Необходимый для заполнения колонок объем сорбента, отмеренный цилиндром и помещенный в фарфоровую чашку, выдерживают в сушильном шкафу, периодически перемешивая, при температуре 80 - 100 °С в течение 40 мин и затем охлаждают на воздухе до температуры окружающей среды.
Колонку подсоединяют к аспирационному устройству и заполняют сорбентом в соответствии с ГОСТом 21533-76, уплотняя сорбент постукиванием или с помощью вибратора. Концы заполненной колонки закрывают стекловатой или стеклотканью. Колонку устанавливают в термостате хроматографа и, не присоединяя к детектору, продувают азотом с объемным расходом 30 - 40 см3/мин, повышая температуру от 70 до 100 °С со скоростью линейного нагрева 2 град/мин, от 100 до 200 °С со скоростью линейного нагрева 4 град/мин и выдержкой при температуре 200 °С в течение 30 мин (1 цикл). Далее колонку охлаждают до 70 °С и повторяют цикл нагрева. После десятого цикла повышают температуру колонки до 260 °С и выдерживают в течение 6 ч. После этого колонку присоединяют к детектору.
Колонку считают готовой к работе в случае отсутствия фоновых сигналов на хроматограмме, снятой при шкале записи хроматограммы 4 в рабочем режиме.
Патрон последовательно промывают водой, ацетоном, этанолом и сушат в токе воздуха при комнатной температуре. Затем выдерживают в сушильном шкафу при температуре 200 °С в течение 1 часа и охлаждают.
Необходимый для заполнения патрона объем тенакса, отмеренный цилиндром и помещенный в чашку, выдерживают в сушильном шкафу при температуре 100 -120 °С в течение 40 мин и затем охлаждают на воздухе до температуры окружающей среды. Патрон заполняют тенаксом с помощью аспирационного устройства. Концы закрывают стекловатой. Один конец патрона присоединяют к трехходовому крану, который находится в положении 2 (рис. 2). На патрон надвигают печь, нагретую до температуры 250 ± 5 °С, и продувают азотом с объемным расходом 30 - 40 см2/мин в течение 6 ч при отсоединенной колонке. После охлаждения патрон закрывают заглушками и маркируют.
Перед повторным употреблением патрон продувают без отсоединения колонки при тех же условиях, в течение 30 мин с последующим контролем чистоты фона.
Градуировку хроматографа проводят методом абсолютной калибровки по градуировочным смесям, содержащим стирол в заданном диапазоне измерений.
Градуировочные смеси готовятся в стеклянных мерных колбах вместимостью 25 см3. В сосуд помещают около 15 см3 гексана, взвешивают и медицинским шприцом вносят последовательно 20 - 50 мг свежеперегнанного стирола (методика перегонки изложена в приложении). Результаты взвешивания записывают в граммах с четырьмя десятичными знаками. Раствор доводят до метки гексаном.
Градуировочные смеси с массовой концентрацией определяемого компонента менее 0,6 мг/см3 готовят в две стадии, применяя метод разбавления.
Для проверки чистоты сорбента в патроне его освобождают от заглушек Один конец патрона подсоединяют к трехходовому крану, к другому концу подсоединяют иглу с помощью втулки с резьбой (рис. 1). Иглу через испаритель вводят в колонку. Трехходовой кран устанавливают в положение 1 (рис. 2). На патрон надвигают печь, нагретую до температуры 250 ± 5 °С. Через 5 мин трехходовой кран устанавливают в положение 2 (рис. 2) и хроматографируют в режиме п. 7. После чего печь снимают, патрон охлаждают, трехходовой кран устанавливают в положение 1. Патрон считают годным к градуировке и проведению анализа в случае отсутствия фоновых сигналов на хроматограмме. При их наличии патрон повторно продувают азотом при температуре 250 ± 5 °С в течение 30 мин с последующим контролем чистоты фона.
После этого 0,2 - 1,0 мм3 калибровочной смеси вводят в конец патрона. К этому концу подсоединяют иглу. Иглу через испаритель хроматографа вводят в колонку. Второй конец патрона присоединяют к переключателю потока, установленному в положение 1. На патрон надвигают печь, нагретую до температуры 250 ± 5 °С. Через 5 мин трехходовой кран устанавливают в положение 2 и хроматографируют в режиме п. 7; после чего трехходовой кран устанавливают в положение 1.
Площадь пика вычисляют как произведение высоты на ширину, измеренную на середине высоты, либо определяют с помощью электронного интегратора.
Значение площади пика, соответствующее массе компонента в пробе, введенной в патрон при градуировке, определяют как среднее арифметическое из 5-ти параллельных определений.
По полученным данным строят калибровочный график зависимости площади пика (мм2) от массы (мг).
Массу компонента (m) в мг вычисляют по формуле:
,
где
k - массовая концентрация стирола в градуировочной смеси, мг/см3;
V - объем градуировочной смеси, введенной в патрон, см3.
Градуировку хроматографа проводят не реже, чем 1 раз в год, а также при смене насадок в колонке и патроне и изменении условий хроматографического определения. Стабильность калибровочных характеристик определяют по ГОСТу 8.485-83.
Через патрон, проверенный на отсутствие фоновых сигналов, с помощью аспирационного устройства прокачивают 24 дм3 пробы с объемным расходом 0,1 дм3/мин.
Затем патрон герметизируют заглушками.
Срок хранения проб - 10 дней при комнатной температуре.
Патрон освобождают от заглушек. Конец патрона, который был подсоединен к аспирационному устройству, подсоединяют к переключателю потоков, установленному в положение 1. Ко второму концу патрона подсоединяют иглу, которую вводят в испаритель хроматографа. На патрон надвигают печь, нагретую до температуры 250 ± 5 °С. Через 5 мин трехходовой кран устанавливают в положение 2 и выполняют измерение в соответствии с п. 7.
Массовую концентрацию определяемого компонента (Ci) в мг/м3 вычисляют по формуле:
,![]()
где
Ai - массса компонента в анализируемой пробе, определяемая по калибровочному графику, мг;
Vh - объем анализируемой пробы воздуха, дм3, приведенный к нормальным условиям.
За результат анализа принимают среднее арифметическое результатов двух параллельных определений, относительное расхождение между которыми не превышает допускаемого расхождения, равного ± 20,0 %.
Результаты измерений представляют в виде указания массовой концентрации стирола (в %) и суммарной погрешности при доверительной вероятности 0,95.
Оперативный контроль сходимости результатов измерений проводят путем сравнения расхождения между результатами двух параллельных определений с нормативом контроля сходимости (d) при доверительной вероятности 0,95.
Контроль правильности измерений проводят в соответствии с МИ-640-84 по доверительной границе погрешности построения градуировочного графика (Δгр). Если экспериментально полученное значение не превышает суммарной погрешности, включающей погрешность градуировки и погрешности от влияющих факторов Δх', то результаты проведенных измерений признают достоверными, а хроматограф можно не переградуировать.
Методика перегонки стирола
Собирают перегонную установку, состоящую из круглодонной колбы на 100 см3, насадки Вюрца, термометра, холодильника Либиха с алонжем, дефлегматора и приемной колбы. Стирол заливают в круглодонную колбу в количестве 20 см3 и отгоняют на глицериновой бане с температурой 170 °С, отбирая фракцию чистого стирола при температуре 145 °С.

1 - трубка (нерж. сталь, внеш. = 4 мм; внутр. = 3 мм; длина = 160 мм), 2 - сорбент (тенакс), 3 - стекловата, 4 - прокладка (алюминий, толщ. = 1 мм), 5 - накидная гайка (М12×1,5), 6 - штуцер, 7 - инъекционная игла по ГОСТу 25377-82 0,8×60С, 8 - место пайки, 9 - боковое отверстие иглы, 10 - прокладка (высокотемпературная силиконовая резина, толщ. = 3 мм), 11 - колонка стеклянная, 12 - инжектор, 13 - газовая линия (N2), 14 - верхняя панель хроматографа.

1 - переключатель потока, 2 - патрон-концентратор, 3 - печь, 4 - колонка хроматографа, 5 - детектор, 6 - самописец.