ОСТ 153-39.4-027-2002

СТАНДАРТ ОТРАСЛИ

ТЕХНОЛОГИЯ
ДЕМОНТАЖА ЛИНЕЙНОЙ ЧАСТИ
МАГИСТРАЛЬНЫХ НЕФТЕПРОВОДОВ

Предисловие

1 РАЗРАБОТАН Государственным унитарным предприятием «Институт проблем транспорта энергоресурсов»

Разработчики: Азметов Х.А. (руководитель), Гаскаров Н.Х., Гумеров А.Г., Гумеров Р.С., Гумерова Л.Х., Ермилина Г.К., Загретдинова Н.М., Ронжина Е.Г., Хамматов Р.Г.

ВНЕСЕН Управлением развития систем магистральных трубопроводов Минэнерго России

2 УТВЕРЖДЕН И ВВЕДЕН В ДЕЙСТВИЕ приказом Минэнерго России от ____ за № ______

3 ВВЕДЕН ВПЕРВЫЕ

СТАНДАРТ ОТРАСЛИ

ТЕХНОЛОГИЯ
ДЕМОНТАЖА ЛИНЕЙНОЙ ЧАСТИ
МАГИСТРАЛЬНЫХ НЕФТЕПРОВОДОВ

Дата введения 2003-06-30

1 Область применения

1.1 Настоящий отраслевой стандарт (ОСТ) устанавливает требования к организации и проведению демонтажа линейной части магистральных нефтепроводов, включая переходы через водные преграды (реки, озера, каналы) длиной до 25 м.

Стандарт не распространяется на демонтаж магистральных нефтепроводов, проложенных:

- на переходах через водные преграды длиной более 25 м (реки, озера, болота);

- на переходах через железные и автомобильные дороги;

- в горной местности (с крутизной откосов свыше 8 град.).

1.2 Технологический процесс демонтажа линейной части магистральных нефтепроводов распространяется как на нефтепроводы, подлежащие выводу из эксплуатации, так и на нефтепроводы, уже выведенные из эксплуатации и переведенные из категории опасного объекта в категорию безопасного объекта согласно «Положению о порядке вывода объектов магистральных нефтепроводов из эксплуатации» [1].

1.3 Демонтаж линейной части магистральных нефтепроводов выполняется следующими способами:

- с разработкой траншеи;

- с рыхлением грунта над нефтепроводом;

- с вытягиванием участка нефтепровода.

2 Нормативные ссылки

В настоящем стандарте использованы ссылки на следующие нормативные документы:

1) ГОСТ 12.0.004-90 ССБТ. Организация обучения безопасности труда. Общие положения

2) ГОСТ 12.4.011-89 ССБТ. Средства защиты работающих. Общие требования и классификация

3) ГОСТ 12.4.026-76 ССБТ. Цвета сигнальные и знаки безопасности

4) ГОСТ 17.1.3.05-82 Охрана природы. Гидросфера. Общие требования к охране поверхностных и подземных вод от загрязнения нефтью и нефтепродуктами

5) ГОСТ 17.1.3.10-83 Охрана природы. Гидросфера. Общие требования к охране поверхностных и подземных вод от загрязнения нефтью и нефтепродуктами при транспортировании по трубопроводу

6) ГОСТ 17.4.3.02-85 Охрана природы. Почвы. Требования к охране плодородного слоя почвы при производстве земляных работ

7) ГОСТ 17.5.3.04-83 Охрана природы. Земли. Общие требования к рекультивации земель

8) ГОСТ 17.5.3.06-85 Охрана природы. Земли. Требования к определению норм снятия плодородного слоя почвы при производстве земляных работ

9) ГОСТ 20295-85 Трубы стальные сварные для магистральных газонефтепроводов. Технические условия

10) СНиП 2.05.06-85* Магистральные трубопроводы

11) СНиП 3.02.01-87 Земляные сооружения, основания и фундаменты

12) СНиП 12-03-2001 Безопасность труда в строительстве. Часть 1. Общие требования

13) СНиП III-4-80* Техника безопасности в строительстве

14) СНиП III-42-80* Магистральные трубопроводы

3 Определения и сокращения

В настоящем стандарте применен следующий термин с соответствующим определением:

демонтаж линейной части магистральных нефтепроводов - комплекс технических мероприятий, направленных на извлечение трубопровода из грунта, очистку наружной поверхности, резку на части и транспортировку труб к месту складирования.

Принятые сокращения:

ГРП - гелевая разделительная пробка

ГСМ - горюче-смазочные материалы

ЛЭП - линия электропередачи

МН - магистральный нефтепровод

НПС - нефтеперекачивающая станция

ПДВК - предельно-допустимая взрывобезопасная концентрация

ПДК - предельно-допустимая концентрация

ПОД - проект организации демонтажа

ППР - проект производства работ

ПСП - приемо-сдаточный пункт

РСК - ремонтно-строительная колонна

ЦРС - центральная ремонтная служба

4 Подготовка нефтепровода к демонтажу

4.1 Общие положения

4.1.1 Нефтепровод, подлежащий выводу из эксплуатации, должен быть подготовлен к демонтажу. Подготовка заключается в очистке полости от грязи и парафиносмолистых отложений и освобождении нефтепровода от нефти.

4.1.2 Нефтепроводы, находящиеся на консервации и подлежащие демонтажу, подлежат освобождению от консерванта (или нефти) и очистке полости от парафиновых отложений.

4.1.3 Нефтепроводы, выведенные из эксплуатации и переведенные в безопасное состояние, не требуют проведения подготовительных работ, так как согласно [1] они должны быть отключены от соседних участков, опорожнены и очищены от нефти.

4.1.4 Работы по очистке и освобождению полости нефтепровода от нефти должны выполняться согласно мероприятиям ОАО МН, разработанным и утвержденным предприятием, эксплуатирующим МН, в соответствии с требованиями [2 - 6] и с оформлением исполнительной документации согласно приложения А, приложения Б (форма 6).

4.2 Очистка полости нефтепровода

4.2.1 Удаление парафиносмолистых отложений, скоплений грунта, песка и других посторонних предметов из полости нефтепровода осуществляется с помощью механических средств очистки путем пропуска по нефтепроводу очистных устройств.

Очистные устройства должны иметь полный комплект разрешительной и эксплуатационной документации, а именно: сертификат соответствия ГОСТ Р, разрешение Госгортехнадзора России на применение, заключение о взрывобезопасности, паспорт, формуляр, руководство по эксплуатации, инструкцию по монтажу, ведомость ЗИП, ведомость эксплуатационных документов.

4.2.2 Выбор типа очистного устройства зависит от степени загрязненности нефтепровода. Для нефтепроводов, транспортирующих малопарафинистые нефти, могут использоваться стандартные скребки с дисковыми полиуретановыми манжетами. Для очистки полости нефтепровода от парафинистых, асфальтосмолистых отложений и продуктов коррозии, следует использовать специальные очистные скребки со стальными щетками и дисковыми полиуретановыми манжетами.

Проходное сечение трубопровода для пропуска очистных устройств должно быть не менее 85 % от внешнего диаметра трубы на участке нефтепровода, подлежащего очистке.

4.2.3 Очистка полости нефтепровода осуществляется пропуском не менее двух очистных устройств в соответствии с [3].

4.2.4 Для контроля прохождения очистных устройств по нефтепроводу очистные устройства должны быть оборудованы передатчиками во взрывозащищенном исполнении в комплекте с наземными локаторами.

4.2.5 Пропуск очистных устройств следует проводить в потоке нефти при скорости потока более 0,2 м/с. Наилучшие показатели очистки обеспечиваются при скорости потока 2 м/с.

4.2.6 Для осуществления размыва парафиносмолистых отложений и предупреждения образования парафиновой пробки первое очистное устройство пропускается с открытыми байпасными отверстиями, второе - с закрытыми байпасными отверстиями и должно быть оснащено передатчиком.

Время между пропуском первого и второго очистных устройств не должно превышать 24 часов.

4.2.7 Очистка считается завершенной, если очистное устройство приходит в приемную камеру без механических повреждений корпуса, ведущих и чистящих дисков, а количество принесенных парафинсодержащих примесей и металлических предметов не превышает следующие критерии оценки очистки нефтепроводов, а именно: принесенная очистным устройством парафинсодержащая примесь во взвешенном состоянии не должна превышать 20 л, в твердом виде - 1 л.

При неудовлетворительных результатах очистку следует повторить.

4.2.8 Очистка полости трубопровода, находящегося в длительной консервации и отключенного от действующего нефтепровода, при отсутствии возможности подключения магистральных насосов НПС, осуществляется путем пропуска очистных устройств закачкой воды передвижными насосными агрегатами типа ПНУ, ПНА. Для этого на трубопроводе необходимо смонтировать временные камеры пуска-приема очистных устройств, сигнализаторы контроля положения разделителей (СКР) и выполнить обвязку технологических трубопроводов с запорной арматурой для подачи воды и отвода консерванта

Очистка полости нефтепровода осуществляется пропуском не менее двух очистных устройств при скорости потока воды более 0,2 м/с.

Требуемая скорость потока в очищаемом трубопроводе обеспечивается параллельной работой нескольких насосных агрегатов.

4.2.9 Бригады, осуществляющие сопровождение очистных устройств по трассе нефтепровода, должны быть обучены безопасным приемам работы и обращения с передатчиком и локатором.

4.2.10 Перед запуском очистного устройства необходимо:

- проверить готовность очистного устройства к пропуску в соответствии с инструкцией по его эксплуатации;

- проверить правильность установки на очистное устройство передатчика и его работоспособность, а также исправность локаторов в соответствии с инструкцией по эксплуатации;

- проверить исправность всех узлов и устройств камеры пуска, положение задвижек и сигнализаторов;

- проверить готовность участка нефтепровода к пропуску очистного устройства;

- обеспечить готовность бригады по сопровождению очистных устройств для устранения возможных аварийных ситуаций;

- сообщить диспетчеру о готовности к пропуску очистного устройства.

4.2.11 Дата проведения очистки и ее результаты регистрируются в журнале учета очистки полости нефтепровода (приложение А).

4.3 Освобождение участка нефтепровода от нефти

4.3.1 Освобождение участка нефтепровода от нефти выполняется после остановки перекачки и сброса давления в нефтепроводе на основании письменного разрешения диспетчера ОАО МН.

4.3.2 Освобождение участка нефтепровода от нефти может производиться следующими способами:

- откачкой нефти из нефтепровода;

- самотеком;

- вытеснением нефти водой;

- вытеснением нефти сжатым воздухом.

4.3.3 Нефть, откачанную или вытесненную из нефтепровода, следует направить в параллельный нефтепровод, в резервуары НПС (ПСП), временные емкости.

Откачка нефти из нефтепровода

4.3.4 Для откачки нефти используются передвижные насосные агрегаты, имеющие разрешение Госгортехнадзора России на применение.

Насосные установки должны быть укомплектованы обратными клапанами и отсекающими задвижками.

4.3.5 Откачка нефти может производиться:

- в параллельный нефтепровод;

- за ближайшую линейную задвижку на участке нефтепровода, не подлежащем демонтажу;

- в передвижные емкости;

- в резинотканевые резервуары.

4.3.6 Схемы откачки выбираются в зависимости от условий прохождения трассы нефтепровода, наличия параллельных нефтепроводов, герметичности линейных задвижек и условий производства работ.

4.3.7 Для подсоединения насосных агрегатов при опорожнении ремонтируемого участка, а также впуска воздуха при освобождении врезаются вантузы.

Вантузы для откачки нефти врезаются на низких точках демонтируемого участка. Вантузы для закачки нефти, в зависимости от принятой схемы заполнения нефтепровода, устанавливаются на параллельном нефтепроводе или на ремонтируемом нефтепроводе по их верхней образующей. Вантузы для выпуска воздуха устанавливаются по верхней образующей трубопровода в местах трассы демонтируемого участка с наиболее высокой геодезической отметкой.

Выбор схем откачки, порядок врезки вантузов, требования к их конструкции следует проводить в соответствии с требованиями [7].

4.3.8 Во всех случаях, независимо от принятой схемы откачки, в опорожняемый нефтепровод должен быть организован впуск воздуха путем открытия имеющихся или врезки новых вантузов на участках с наиболее высокими геодезическими отметками.

Врезаемые для впуска воздуха вантузы должны обеспечить приток воздуха в трубопровод в объемах и со скоростью откачки нефти из трубопровода от нефти в установленные технологическим планом-графиком сроки. Не допускается создание вакуума в трубопроводе при его опорожнении.

4.3.9 На весь период производства работ по откачке нефти вантузы для впуска-выпуска воздуха должны быть открыты, на каждом установлен пост для контроля уровня нефти.

Откачка нефти из отключенного участка в параллельный нефтепровод

4.3.10 Количество необходимых для откачки насосных агрегатов определяется в соответствии с Регламентом [2] в зависимости от объема откачиваемой нефти.

4.3.11 Перед началом работ по откачке подготавливаются площадки для установки основных, подпорных насосных установок, агрегатов и электростанций, выполняются работы по трубопроводной обвязке основных и подпорных насосных агрегатов, проверяется готовность вспомогательных трубопроводов для откачки и приема нефти в параллельный нефтепровод.

4.3.12 Работы по откачке нефти из демонтируемого участка нефтепровода проводятся после оформления разрешения диспетчера ОАО МН на закачку в параллельный нефтепровод.

При закачке нефти задвижки приемного нефтепровода по трассе должны быть открыты, поток закачиваемой нефти должен иметь выход в резервуарный парк.

4.3.13 Во время откачки нефти производится контроль показаний манометров, установленных на выходе насосных агрегатов и в местах откачки-закачки нефти, учет количества откачиваемой нефти по расходомерам, установленным на ПНУ, или через диспетчерскую службу по количеству нефти, поступившей в приемные резервуары НПС.

Откачка нефти из демонтируемого участка за линейную задвижку

4.3.14 Откачка нефти за линейную задвижку демонтируемого нефтепровода производится в следующих случаях:

- при отсутствии параллельного нефтепровода на месте производства ремонтных работ;

- при наличии резервуаров на НПС и возможности их использования для приема необходимого объема нефти из опорожняемого участка нефтепровода;

- при герметичности затвора задвижки, за которую будет производиться откачка нефти из освобождаемого участка трубопровода.

4.3.15 Производительность насосных агрегатов для откачки нефти из демонтируемого участка за линейную задвижку должна соответствовать Регламенту [2]. Откачиваемая нефть по временному трубопроводу, проложенному от низких мест по рельефу трассы демонтируемого участка нефтепровода, подается за линейную задвижку.

В качестве временных трубопроводов используются полевые магистральные трубопроводы (ПМТ) или стальные трубопроводы.

Напорные трубопроводы для закачки нефти предварительно должны быть испытаны на давление Рисп. = 1,25 Рраб, где Рраб - максимальное давление, развиваемое насосным агрегатом.

4.3.16 Контроль откачки нефти проводится согласно 4.3.13.

Откачка нефти в передвижные емкости

4.3.17 Откачку нефти из демонтируемого участка нефтепровода в передвижные емкости (автоцистерны) следует применять при объемах опорожнения участка нефтепровода - до 200 м3 и невозможности применения других способов.

4.3.18 Перед началом работ необходимо:

- установить насос откачки на ровной площадке, расположенной на расстоянии не менее 50 м от освобождаемого трубопровода;

- выполнить монтаж напорной и всасывающей линий насосных установок;

- проверить исправность дыхательных клапанов цистерны;

- проверить заземление цистерны;

- проверить герметичность линий откачки и начать перекачку нефти из нефтепровода в передвижную емкость.

4.3.19 В процессе заполнения передвижной емкости следует осуществлять постоянное наблюдение за уровнем нефти в передвижной емкости. При заполнении емкости остановить перекачку.

4.3.20 При отсутствии в емкости приемного устройства, рукав насосной установки должен опускаться на дно емкости, быть постоянно под нефтью, чтобы при заполнении емкости не образовывалась падающая струя нефти.

После опорожнения участка следует демонтировать всасывающую и напорную линии насосных установок. Оставшуюся в них нефть и нефть из полости подпорного насоса следует слить в специальную емкость. Место производства работ необходимо очистить от мазута.

Откачка нефти в резинотканевые резервуары

4.3.21 Откачка нефти из демонтируемого участка нефтепровода может производиться в резинотканевые резервуары.

4.3.22 Резинотканевые резервуары следует применять при небольших объемах опорожнения участка нефтепровода - до 100 м3 и невозможности применения других схем.

4.3.23 Резинотканевые резервуары следует установить на специально подготовленных площадках с обвалованием.

4.3.24 Откачку нефти из демонтируемого участка следует проводить насосами откачки, установленными на ровной площадке на расстоянии не менее 50 м от освобождаемого трубопровода.

4.3.25 В процессе откачки необходимо вести контроль за уровнем нефти в резервуаре.

4.3.26 Нефть из резинотканевых резервуаров следует вывозить передвижными автоцистернами в резервуарные парки НПС.

Меры безопасности при откачке нефти

4.3.27 Арматура, оборудование, трубопроводы и соединительные детали обвязки, насосное оборудование, используемые при освобождении участка нефтепровода от нефти, должны иметь паспорта, формуляры, инструкции по эксплуатации, разрешение Госгортехнадзора России к применению на опасных производственных объектах.

4.3.28 При выполнении работ по освобождению нефтепроводов запрещается:

- наполнение нефтью емкости или амбара падающей струей;

- во время работы насосных агрегатов нахождение людей (кроме членов экипажа и руководителя работ) ближе 50 м от агрегатов, напорного и всасывающего трубопроводов и вантузов откачки;

- выполнение откачки без контроля за уровнем нефти в нефтепроводе.

Освобождение нефтепровода от нефти самотеком

4.3.29 Освобождение нефтепровода от нефти самотеком может применяться на участке нефтепровода при наличии перепада высотных отметок опорожняемого участка и резервуаров НПС.

4.3.30 Линейные задвижки по трассе нефтепровода от опорожняемого участка до резервуарного парка и задвижки подключения резервуаров НПС должны быть полностью открыты, остальные задвижки закрываются. На опорожняемом участке вантузы должны быть открыты для подачи воздуха с целью предотвращения образования вакуума в нефтепроводе. При их отсутствии следует осуществить врезку вантузов на выбранных высоких точках профиля трассы.

4.3.31 При освобождении нефтепровода от нефти самотеком следует вести контроль за количеством поступившей нефти по уровню в заполняемых резервуарах.

После поступления расчетного объема нефти секущие задвижки на демонтируемом участке закрываются.

4.3.32 Уровень нефти в нефтепроводе следует контролировать манометрами или через отверстия диаметром 6 - 8 мм, просверленные на месте откачки.

Вытеснение нефти водой

4.3.33 Вытеснение нефти из нефтепровода водой проводится при наличии в районе демонтажа естественного или искусственного водоема для забора воды и возможности приема воды в резервуары или земляные амбары для очистки.

4.3.34 С целью дополнительной очистки полости нефтепровода и уменьшения объема образующейся водонефтяной эмульсии вытеснение нефти следует проводить с пропуском поршней-разделителей.

4.3.35 Удаление воды сжатым воздухом с пропуском поршней-разделителей или откачкой насосными агрегатами из наиболее низких точек нефтепровода по рельефу местности в параллельный нефтепровод, заранее подготовленные емкости, земляные амбары производится по заранее смонтированным временным трубопроводам.

4.3.36 Подача сжатого воздуха в нефтепровод за поршни-разделители производится высокопроизводительной газотурбинной компрессорной установкой (УКП-9 или ТК-21М) или поршневыми компрессорами, работающими параллельно на общий ресивер.

Удаление воды сжатым воздухом из подводной части переходов МН через водные преграды возможно при условии выполнения специальных мероприятий для предотвращения возможности всплытия нефтепровода.

4.3.37 При вытеснении воды из нефтепровода сжатым воздухом должна быть установлена опасная зона (таблица 1), которая обозначается на местности предупредительными знаками.

Таблица 1 - Радиус опасной зоны при вытеснении воды сжатым воздухом

Условный диаметр нефтепровода, мм

Радиус опасной зоны в обе стороны от оси нефтепровода, м

300 - 800

75

800 - 1220

100

4.3.38 В процессе вытеснения воды сжатым воздухом персонал, механизмы и оборудование должны находиться за пределами опасной зоны.

4.3.39 Запрещается сброс вытесненной из нефтепровода воды непосредственно в реку или на открытый грунт без очистки до требуемых санитарных норм.

Воду, вытесненную из трубопровода (сточную воду), следует направлять в резервуары НПС или специально сооруженные резервуары-отстойники, земляные амбары.

Вытеснение нефти сжатым воздухом

4.3.40 При отсутствии водоемов для забора воды в необходимом количестве освобождение участка нефтепровода от нефти может проводиться сжатым воздухом с применением поршней-разделителей и/или гелевой разделительной пробки (ГРП). Подача сжатого воздуха за ГРП производится высокопроизводительной газотурбинной компрессорной установкой (УКП-9 или ТК-21М) или поршневыми компрессорами.

4.3.41 Предварительно подготовленный в специальной емкости состав ГРП формируется в камере пуска очистных устройств путем закачки гелевой композиции между двумя поршнями-разделителями типа ПР с резиновыми или полиуретановыми манжетами.

4.3.42 Для формирования и пуска гелевой разделительной пробки трубопровод должен быть оборудован камерами пуска очистных устройств.

4.3.43 Способ освобождения нефти сжатым воздухом рекомендуется применять после разработки и утверждения соответствующей инструкции, где должны быть указаны схема обвязки трубопроводов, порядок приема вытесняемой нефти и последовательность закачки ГРП и воздуха в трубопровод, меры безопасности при выполнении работ.

4.4 Отсечение демонтируемого участка от действующего нефтепровода

4.4.1 После очистки полости и освобождения от нефти демонтируемый участок отрезается от действующего нефтепровода кумулятивными зарядами или механической резкой, с оформлением наряда-допуска на огневые, газоопасные и другие работы повышенной опасности согласно [7], ППБ 01-93 [8], РД 09-364-00 [9].

4.4.2 Действующая часть нефтепровода заглушается сферическими заглушками.

4.4.3 Порядок и последовательность выполнения работ определяются в соответствии с требованиями [10].

5 Способы демонтажа линейной части магистральных нефтепроводов

5.1 Демонтаж с разработкой траншеи

5.1.1 Способ предназначен для нефтепроводов диаметром от 219 до 1220 мм.

5.1.2 Технологические операции при демонтаже с разработкой траншеи выполняются в следующей последовательности (рисунок 1):

- уточнение положения нефтепровода и подземных коммуникаций, пересекающих нефтепровод;

- снятие плодородного слоя почвы, перемещение его во временный отвал;

- разработка траншеи до верхней образующей нефтепровода или разработка траншеи до верхней образующей и с одной из сторон до нижней образующей нефтепровода;

- подъем нефтепровода;

- очистка наружной поверхности нефтепровода (при необходимости);

- укладка нефтепровода на бровку траншеи;

- засыпка траншеи минеральным грунтом;

- резка нефтепровода на части;

- погрузка и транспортировка труб к месту складирования;

- техническая рекультивация плодородного слоя почвы.

а) при разработке траншеи до верхней образующей нефтепровода;
б) при разработке траншеи до верхней образующей и с одной из
сторон до нижней образующей нефтепровода

Рисунок 1 - Схема демонтажа нефтепровода с разработкой траншеи

5.1.3 Технологические операции при демонтаже при капитальном ремонте с заменой труб путем укладки в совмещенную траншею вновь прокладываемого трубопровода рядом с заменяемым с последующим демонтажом последнего выполняются в следующей последовательности (рисунок 2):

- планировка отвала минерального грунта на полосе работы колонны;

- подъем нефтепровода;

- очистка от старого изоляционного покрытия (при необходимости);

- укладка нефтепровода на бровку траншеи;

- резка нефтепровода на части;

- погрузка и транспортировка труб к месту складирования;

- техническая рекультивация плодородного слоя почвы.

Рисунок 2 - Схема демонтажа нефтепровода при капитальном ремонте с заменой труб
путем укладки в совмещенную траншею - засыпка траншеи минеральным грунтом;

5.2 Демонтаж с рыхлением грунта над нефтепроводом

5.2.1 Способ предназначен для нефтепроводов диаметром от 219 до 530 мм.

5.2.2 Технологические операции выполняются в следующей последовательности (рисунок 3):

- уточнение положения нефтепровода и подземных коммуникаций, пересекающих нефтепровод;

- снятие плодородного слоя почвы, перемещение его во временный отвал;

- рыхление грунта над нефтепроводом;

- подъем нефтепровода;

- очистка наружной поверхности нефтепровода (при необходимости);

- укладка нефтепровода на землю;

- резка нефтепровода на части;

- погрузка и транспортировка труб к месту складирования;

- планировка полосы отвода;

- техническая рекультивация плодородного слоя почвы.

Рисунок 3 - Схема демонтажа с рыхлением грунта над нефтепроводом

5.3 Демонтаж с вытягиванием участка нефтепровода

5.3.1 Способ предназначен для нефтепроводов диаметром от 219 до 426 мм.

5.3.2 Технологические операции выполняются в следующей последовательности (рисунок 4):

- уточнение положения нефтепровода и подземных коммуникаций, пересекающих нефтепровод, разметка мест рытья шурфов;

- снятие плодородного слоя почвы в местах рытья шурфов;

- рытье шурфов;

- планировка отвалов минерального грунта;

- вырезка “катушки” в шурфах;

- вытягивание участка нефтепровода и укладка на землю;

- резка участка нефтепровода на части;

- погрузка и транспортировка труб к месту складирования;

- засыпка шурфов минеральным грунтом;

- техническая рекультивация плодородного слоя почвы в местах рытья шурфов;

- планировка полосы отвода земель.

Рисунок 4 - Схема демонтажа с вытягиванием участка нефтепровода

5.4 Выбор способа демонтажа

5.4.1 Выбор способа демонтажа зависит от диаметра нефтепровода, состава грунта, условий пролегания и технического состояния труб.

5.4.2 Оценка технического состояния труб выполняется по материалам внутритрубной диагностики (плотности и характера обнаруженных дефектов, потери металла от коррозионного износа) с учетом срока службы нефтепровода, материала труб. По результатам оценки технического состояния демонтируемые трубы планируют использовать по прямому назначению, на другие цели или на переплавку.

5.4.3 Демонтаж с разработкой траншеи распространяется на нефтепроводы, проложенные в любых грунтах. Если трубы планируются к повторному применению по прямому назначению, то разработку траншеи следует проводить до верхней образующей и с одной из сторон до нижней образующей трубопровода.

5.4.4 Демонтаж с рыхлением грунта рекомендуется для трубопроводов, проложенных в легких сыпучих грунтах (песчаный, супесчаный и др.). Трубы, демонтированные этим способом, для повторного применения по прямому назначению непригодны.

5.4.5 Демонтаж с вытягиванием участка нефтепровода рекомендуется для прямолинейных участков, проложенных в нормальных условиях, а также в местах множественного пересечения с подземными коммуникациями и на водных переходах длиной до 100 м. Часть труб, подвергнутых максимальным нагрузкам растяжения, для повторного применения по прямому назначению непригодны.

6 Организационно-техническая подготовка демонтажа магистрального нефтепровода

6.1 Организационные мероприятия

6.1.1 Организационно-технические мероприятия, выполняемые Заказчиком (предприятием, эксплуатирующим МН):

- определение участка магистрального нефтепровода, подлежащего демонтажу;

- разработка и утверждение задания на проектирование демонтажа участка магистрального нефтепровода;

- оформление документов по отводу земель с согласованием условий рекультивации;

- оформление финансирования.

6.1.2 При демонтаже нефтепровода в составе капитального ремонта с заменой труб применяется одностадийное проектирование - рабочий проект. Рабочий проект на демонтаж участка нефтепровода (далее рабочий проект) разрабатывается проектными отделами (бюро) или специализированными проектными организациями, имеющими соответствующую лицензию.

6.1.3 Разработке рабочего проекта предшествуют:

- проведение топографо-геодезических изысканий на участке нефтепровода, планируемого к демонтажу;

- уточнение положения в плане вантузов, задвижек, сооружений и сетей в одном техническом коридоре по исполнительной документации;

- составление ведомости коммуникаций, сооружений, проходящих рядом или пересекающих трассу нефтепровода, с указанием пикетов, глубины заложения, владельцев и других данных, имеющихся в документации;

- согласование технических условий на проведение работ по демонтажу с предприятиями-владельцами коммуникаций, пересекающих нефтепровод или проходящих в одном техническом коридоре.

6.1.4 Рабочий проект разрабатывается с использованием следующей документации:

- задания на проектирование демонтажа участка магистрального нефтепровода;

- материалов обследования технического состояния нефтепровода (при их наличии);

- материалов топографо-геодезических изысканий по трассе нефтепровода;

- исходных данных для расчета технологических параметров демонтажа нефтепровода;

- технических условий на проведение работ по демонтажу от предприятий-владельцев коммуникаций, пересекающих нефтепровод или проходящих в одном техническом коридоре;

- исполнительной документации на строительство, паспортов на нефтепровод;

- правил, инструкций и рекомендаций на проведение демонтажа нефтепровода;

- типовых схем проведения работ;

- соответствующих разделов строительных норм и правил;

- нормативных материалов по безопасности труда, пожарной безопасности и охране окружающей среды;

- настоящей Инструкции.

6.1.5 В состав рабочего проекта входят:

- пояснительная записка;

- проект организации демонтажа;

- сметная документация;

- рабочие чертежи.

Состав и объем рабочего проекта определяются Заказчиком и оговариваются в договоре на проектирование демонтажа участка нефтепровода.

6.1.6 Пояснительная записка к рабочему проекту должна содержать:

- основание для разработки рабочего проекта;

- исходные данные и объем проектирования;

- проектные решения и расчеты, в т.ч. по земляным работам, подъему нефтепровода, резке на части и др.;

- характеристику района демонтажа нефтепровода;

- сведения по безопасности труда и пожарной безопасности;

- материалы по отводу земель.

В пояснительной записке должен быть отдельный раздел по охране окружающей среды, включающий природоохранные мероприятия по защите атмосферного воздуха, водных ресурсов и почвенного покрова. В состав этого раздела должен быть включен проект рекультивации земель, в котором следует определить ширину зоны рекультивации в пределах полосы отвода земель, способы снятия, толщина снимаемого плодородного слоя почвы по каждому нарушенному участку, места расположения отвала для временного хранения, а также раздел по организации работ в охранной зоне магистрального нефтепровода и раздел по организации безопасного производства работ по демонтажу.

6.1.7 Проект организации демонтажа участка нефтепровода включает:

- технологию демонтажа участка нефтепровода;

- ведомость объемов работ;

- организацию грузоперевозок.

6.1.8 Сметная документация составляется по действующим СНиП, прейскурантам, тарифам.

6.1.9 Рабочий проект проходит экспертизу промышленной безопасности и регистрируется в региональном отделении Госгортехнадзора России.

6.1.10 Демонтаж нефтепровода выполняется согласно проекту производства работ (ППР), который разрабатывается подрядной организацией (РСУ) или специализированной организацией, имеющей соответствующую лицензию, и согласовывается с Заказчиком.

6.1.11 Исходными документами для разработки ППР являются:

- задание на разработку ППР;

- рабочий проект или ПОД;

- сведения о количестве и марках намечаемых к использованию машин и механизмов, а также о рабочих кадрах по профессиям;

- данные о местах размещения полевых городков (при необходимости);

- материалы топографо-геодезических изысканий трассы демонтируемого нефтепровода;

- ведомость пересечений демонтируемого участка нефтепровода с подземными коммуникациями, искусственными и естественными препятствиями;

- сведения об условиях использования существующих дорог, инженерных коммуникаций других предприятий;

- сведения об условиях безопасного проведения демонтажа нефтепровода, обеспечения пожарной безопасности и охране окружающей среды;

- требования нормативных документов и стандартов по безопасности труда;

- типовые решения по обеспечению выполнения требований безопасности труда, справочные пособия и каталоги средств защиты работающих.

6.1.12 В состав ППР должны входить:

- график проведения демонтажа нефтепровода;

- пояснительная записка;

- технологические карты;

- профиль трассы демонтируемого нефтепровода с ситуационным планом;

- график поступления машин и механизмов.

Кроме того, в состав ППР должен входить раздел по обеспечению безопасного движения техники в охранной зоне нефтепровода с указанием на ситуационном плане всех инженерных коммуникаций по маршруту движения техники, а также по организации переездов через коммуникации.

6.1.13 График проведения демонтажа участка нефтепровода является основным документом, обязательным для всех исполнителей работ, в котором должны быть указаны сроки проведения работ, ответственные за их выполнение и ответственные за производственный контроль качества.

6.1.14 Пояснительная записка к ППР должна включать:

- расчет продолжительности демонтажа участка нефтепровода;

- порядок и методы проведения демонтажа участка нефтепровода по отдельным видам работ;

- основные технико-экономические показатели;

- мероприятия по безопасности труда;

- мероприятия по пожарной безопасности;

- мероприятия по охране окружающей среды.

6.1.15 Технологические карты разрабатываются на применяемый способ демонтажа участка нефтепровода.

6.1.16 На ситуационном плане демонтируемого участка нефтепровода должны быть указаны населенные пункты, насосные станции, узлы связи, линейная арматура, вдольтрассовые дороги, пирсы (при их наличии), близлежащие пожарные депо, и другие объекты, а также жилые полевые городки, пункты технического обслуживания, схемы существующих дорог и подъездных путей. На ситуационном плане и профиле должны быть обозначены пересечения с инженерными коммуникациями.

6.2 Подготовительные работы

6.2.1 Подготовительные работы, выполняемые Подрядчиком, имеющим соответствующую лицензию, включают:

- подготовку подъездных и вдольтрассовых дорог, мостов для перебазировки и доставки машин, механизмов и людей к месту проведения работ;

- размещение и обустройство полевых городков, решение вопросов питания, быта рабочих;

- оборудование пунктов погрузки и выгрузки;

- организацию пунктов хранения ГСМ;

- оборудование пунктов технического обслуживания машин и механизмов;

- организацию связи с диспетчером РУМН или коммутатором цеха связи;

- подготовку полосы отвода (совместно с Заказчиком).

6.2.2 При невозможности использования существующих дорог необходимо сооружение временных дорог. Конструкция временных дорог должна обеспечивать движение специальной техники, автомашин и перевозку грузов.

6.2.3 Подготовка полосы отвода включает:

- определение положения нефтепровода;

- планировку полосы отвода земель (при необходимости).

6.2.4 Определение положения нефтепровода включает уточнение и обозначение знаками оси и фактической глубины заложения нефтепровода, мест пересечений с подземными коммуникациями, искусственными и естественными препятствиями, а также положение подземных коммуникаций, пересекающих нефтепровод.

6.2.5 Планировка полосы отвода заключается в срезке валиков, бугров, неровностей поверхности земли.

6.2.6 Работы по демонтажу участка нефтепровода следует начинать после завершения организационно-технической подготовки и получения Разрешения на право производства работ (приложение Б, форма 3).

6.2.7 Передача участка нефтепровода Заказчиком Подрядчику осуществляется с оформлением Акта (приложение Б, форма 1) до начала работ.

Кроме того, Заказчик передает Подрядчику акт на очистку полости нефтепровода (приложение Б, форма 6).

6.2.8 Ширину полосы земель, отводимых для проведения демонтажа нефтепровода, следует принимать по СН 452-73 [11].

6.2.9 Владелец нефтепровода за 3 месяца, подрядная организация за 1 месяц письменно до начала работ должны поставить в известность землевладельцев, местные органы исполнительной власти, региональные отделения Госгортехнадзора России и Государственной пожарной службы МЧС России о сроках проведения работ по демонтажу нефтепровода.

7 Демонтаж нефтепровода с разработкой траншеи

7.1 Общие положения

7.1.1 Способ демонтажа заключается в разработке траншеи, подъеме, очистке участка нефтепровода, укладке его на бровку траншеи, резке на части и транспортировке к месту складирования.

Схема демонтажа с разработкой траншеи приведена на рисунке 1.

7.1.2 Демонтаж должен выполняться механизированной колонной, оснащенной согласно приложению В.

7.2 Уточнение положения нефтепровода

7.2.1 Перед началом работ проводится уточнение положения и величины заглубления нефтепровода и подземных коммуникаций, пересекающих нефтепровод.

7.2.2 Положение нефтепровода и величину его заглубления определяют трассоискателями (типа ТПК-1, УКИ-1М и др.) и шурфованием.

7.2.3 Результаты измерения фактической величины заглубления нефтепровода (от поверхности земли до нижней образующей трубы) наносят на вешки высотой 1,5...2,0 м, забиваемые по оси демонтируемого участка нефтепровода через каждые 50 м, а при неровном рельефе - через каждые 25 м; при наличии горизонтальных кривых естественного (упругого) изгиба через 10 м, а искусственного изгиба - через 2 м согласно СНиП III-42-80*. Вешками следует обозначить весь демонтируемый участок. Вешки следует также установить в местах изменений рельефа, в вершинах угловых поворотов трассы и в местах пересечения с другими подземными коммуникациями, на границах участков разработки грунта вручную, перед началом и концом вскрышных работ, у линейных задвижек, вантузов и другой арматуры, установленных на магистральном нефтепроводе.

7.3 Земляные работы

7.3.1 Земляные работы при демонтаже нефтепровода следует выполнять механизированным способом.

7.3.2 До начала земляных работ на демонтируемом участке следует отключить станции катодной защиты, дренажные линии, контрольные и силовые кабели питания запорной арматуры.

7.3.3 Разработка грунта в местах пересечения нефтепровода с другими подземными коммуникациями, ЛЭП, линиями связи, кабелями допускается лишь при наличии письменного разрешения и в присутствии представителя организации, эксплуатирующей эти подземные коммуникации. Вызов представителя возлагается на Подрядчика.

Организации, в ведении которых находятся подземные коммуникации, обязаны до начала производства работ обозначить на местности хорошо заметными знаками оси и границы этих коммуникаций.

7.3.4 На пересечениях нефтепровода с действующими подземными коммуникациями расположения коммуникаций предварительно уточняются в шурфах, разрабатываемых вручную. Разработка грунта на таких участках механизированным способом разрешается на расстоянии не менее 2 м от стенки коммуникаций (трубы, кабеля и др.) в соответствии с требованиями СНиП 3.02.01. Оставшийся грунт должен дорабатываться вручную без применения ударных инструментов и с принятием мер, исключающих возможность повреждения этих коммуникаций. Участок кабеля, пересекающий нефтепровод, следует заключить в защитный кожух.

7.3.5 Разработка траншеи в непосредственной близости от действующих коммуникаций должна проводиться под непосредственным руководством руководителя ремонтно-строительной колонны (прораба, мастера) и с учетом требований эксплуатирующей организации, указанных в материалах согласования с ней.

7.3.6 Для переезда автотранспортной и гусеничной техники через действующие подземные коммуникации следует организовать специально оборудованные переезды. Места расположения переезда согласуются с организациями, эксплуатирующими эти коммуникации.

Переезды следует устраивать из дорожных железобетонных плит. На участках, где действующие коммуникации заглублены менее 0,8 м, должны быть установлены знаки с надписями, предупреждающими об особой опасности.

7.3.7 При обнаружении на месте производства работ подземных коммуникаций и сооружений, не указанных в проектной документации, земляные работы должны быть прекращены. Подрядчик должен поставить в известность Заказчика и принять меры по защите обнаруженных коммуникаций и сооружений от повреждений.

7.3.8 Земляные работы по данному способу демонтажа включают:

- снятие плодородного слоя почвы с перемещением его во временный отвал;

- разработка траншеи до верхней образующей нефтепровода или разработка траншеи до верхней образующей и с одной из сторон до нижней образующей нефтепровода;

- засыпка траншеи минеральным грунтом;

- техническая рекультивация плодородного слоя почвы.

Снятие плодородного слоя почвы

7.3.9 Плодородный слой почвы должен быть снят и уложен в отвал для использования его при рекультивации.

7.3.10 Снятие плодородного слоя почвы следует выполнять бульдозером продольно-поперечными или продольными ходами. Минимальная ширина полосы снятия плодородного слоя почвы должна быть равной ширине траншеи по верху плюс 0,5 м в каждую сторону, максимальная - ширине полосы отвода земель.

7.3.11 Толщина плодородного слоя почвы и места его снятия по трассе устанавливаются на основании материалов изысканий в соответствии с требованиями ГОСТ 17.5.3.06.

Снятие плодородного слоя почвы производится на всю толщину за один проход бульдозера или послойно за несколько проходов в зависимости от толщины плодородного слоя почвы.

7.3.12 При снятии, перемещении и хранении плодородного слоя почвы не допускается смешивание его с подстилающими породами, загрязнение горюче-смазочными жидкостями и материалами. Запрещается использование плодородного слоя почвы для засыпки траншеи.

Разработка траншеи

7.3.13 После снятия плодородного слоя вешки должны быть восстановлены в тех же местах, которые указаны в 7.2.3.

7.3.14 Разработка траншеи должна проводиться роторными или одноковшовыми экскаваторами.

Выбор типа землеройной машины для разработки траншеи зависит от местных топографических и гидрологических условий, диаметра нефтепровода, времени года и других условий.

7.3.15 На прямолинейных участках трассы со спокойным рельефом местности, в грунтах I - IV категорий без крупных включений траншею рекомендуется разрабатывать роторным экскаватором.

7.3.16 На участках с крупными каменистыми включениями, в мерзлых, в сыпучих и обводненных грунтах траншею следует разрабатывать одноковшовыми экскаваторами.

7.3.17 При работе экскаватора не разрешается производить другие работы со стороны забоя и находиться в радиусе 5 м действия стрелы-экскаватора.

7.3.18 При рытье траншеи одновременно двумя одноковшовыми экскаваторами, оборудованными ковшом «обратная лопата», расстояние между ними вдоль траншеи должно быть не менее 14 м.

7.3.19 При разработке траншеи экскаватор должен находиться за пределами призмы обрушения грунта (откоса) на расстоянии, указанном в таблице 2.

Таблица 2 - Наименьшее допустимое расстояние от основания откоса до ближайших опор машин

Грунт (ненасыпной)

При глубине выемки, м

1,00

2,00

3,00

4,00

Песчаный и гравийный

1,50

3,00

4,00

5,00

Супесчаный

1,25

2,40

3,60

4,40

Суглинистый

1,00

2,00

3,25

4,00

Глинистый

1,00

1,50

1,75

3,00

Лессовый сухой

1,00

2,00

2,50

3,00

7.3.20 Поперечный профиль и размеры разрабатываемой траншеи устанавливаются в зависимости от диаметра демонтируемого нефтепровода, типа применяемой троллейной подвески, ширины режущей кромки рабочего органа землеройной машины.

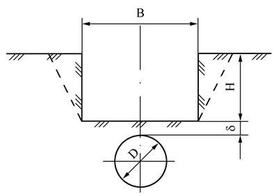
7.3.21 Демонтируемый нефтепровод вскрывается до верхней образующей трубы одноковшовым или роторным экскаватором. Поперечный профиль траншеи представлен на рисунке 5.

В - ширина траншеи; Н - глубина траншеи; D - диаметр нефтепровода;
δ - расстояние между стенкой нефтепровода и ковшом экскаватора

Рисунок 5 - Поперечный профиль траншеи при разработке
до верхней образующей нефтепровода

В случае повторного использования труб по прямому назначению, нефтепровод вскрывается одноковшовым экскаватором до верхней образующей и дополнительно с одной из сторон до нижней образующей нефтепровода. Поперечный профиль траншеи представлен на рисунке 6.

В1 - ширина траншеи по верху; В2 - ширина траншеи по низу;
Н1 - глубина траншеи; Н2 - глубина траншеи над нефтепроводом;
D - диаметр нефтепровода; δ - расстояние между стенкой
нефтепровода и ковшом экскаватора; Вот1, Вот2 - величины откосов траншеи

Рисунок 6 - Поперечный профиль траншеи при разработке
до верхней образующей и с одной из сторон
до нижней образующей нефтепровода

Во избежание повреждения нефтепровода расстояние между стенкой нефтепровода и ковшом экскаватора должно быть 0,15…0,20 м.

7.3.22 Ширина траншеи (В) при разработке ее до верхней образующей нефтепровода зависит от размеров применяемых троллейных подвесок, которые должны свободно перемещаться вдоль трубопровода. Ширина траншеи (В) при применении троллейных подвесок типа РПТ или ТПП (изготовитель - ЗАО «Дизель-Ремонт», г. Брянск) указана в таблице 3.

Таблица 3 - Ширина траншеи при разработке ее до верхней образующей  нефтепровода с учетом размеров троллейной подвески

Диаметр нефтепровода, мм

Марка троллейной подвески

Ширина траншеи, м

530

РПТ-529 РС-М

1,0

720 - 820

РПТ-720 РС

1,3

1020

РПТ-1020 РС

1,6

1220

РПТ-1220 РС

2,0

530 - 630

ТПП-631 М

1,4

720 - 820

ТПП-821 М

1,5

1020

ТПП-1021 М

1,8

1220

ТПП-1421 М

2,1

7.3.23 Ширина траншеи по низу В2, м, при разработке ее до верхней образующей и с одной из сторон до нижней образующей нефтепровода (рисунок 6) равна ширине ковша одноковшового экскаватора. Ширина траншеи по верху в этом случае определяется по формуле

В1 = D + В2 + δ + ВОТ 1 + ВОТ 2,

(1)

где D - диаметр нефтепровода, м;

В2 - ширина траншеи по низу, м;

δ - расстояние между стенкой нефтепровода и ковшом экскаватора, м,

δ = 0,15…0,20 м;

ВОТ 1, ВОТ 2 - величины откосов с левой и правой стороны траншеи, м.

7.3.24 Траншея с вертикальными стенками без крепления разрабатывается одноковшовым экскаватором в грунтах естественной влажности с ненарушенной структурой при отсутствии грунтовых вод на глубину, м, не более:

в насыпных песчаных и гравелистых грунтах

1,00;

в супесях

1,25;

в суглинках и глинах

1,50;

в особо плотных нескальных грунтах

2,00.

7.3.25 При рытье траншеи большей глубины необходимо устраивать откосы различного заложения в зависимости от состава грунта при уровне грунтовых вод ниже глубины выемки согласно таблице 4.

Таблица 4 - Допустимая крутизна откосов траншеи

Грунт

Глубина траншеи, м

до 1,5

1,5…3,0

3,0…5,0

угол откоса, град.

уклон

угол откоса, град.

уклон

угол откоса, град.

уклон

1

2

3

4

5

6

7

Насыпной

56

1:0,67

45

1:1,00

38

1:1,25

Песчаный и гравийный

63

1:0,50

45

1:1,00

45

1:1,00

Супесь

76

1:0,25

56

1:0,67

50

1:0,85

Песчаный и супесчаный

76

1:0,25

60

1:0,57

53

1:0,75

Суглинок

90

1:0,00

63

1:0,50

53

1:0,75

Глина

90

1:0,00

76

1:0,25

63

1:0,50

Лессовидный сухой

90

1:0,00

63

1:0,50

63

1:0,50

Примечания

1 При напластовании различных видов грунта крутизну откосов для всех пластов надлежит назначить по более слабому виду грунта.

2 К насыпным грунтам относятся грунты, пролежавшие в отвалах менее 6 месяцев и не подвергшиеся искусственному уплотнению (проезд, укатка и т.д.).

7.3.26 Минеральный грунт, извлеченный из траншеи, следует укладывать в отвал.

Во избежание обвала вынутого грунта в траншею, а также обрушения стенок траншеи основание отвала вынутого грунта следует располагать в зависимости от состояния грунта, но не ближе 0,5 м от бровки траншеи в сухих и связанных грунтах и не ближе 1 м в песчаных и увлажненных грунтах.

7.3.27 Размещение отвалов минерального грунта и плодородного слоя почвы относительно оси нефтепровода может быть одностороннее или двухстороннее. Схема размещения отвалов выбирается в зависимости от взаимного расположения параллельно проложенных трубопроводов и других подземных коммуникаций, с учетом местных условий и других факторов (рисунок 7).

а - двухстороннее размещение отвалов;
б, в - одностороннее размещение отвалов
1 - зона отвала плодородного слоя почвы; II - зона отвала
минерального грунта; III - зона разработки траншеи;
IV - полоса движения колонны; V -зона работы бульдозера

Рисунок 7 - Схема размещения отвала плодородного слоя
почвы и минерального грунта

7.3.28 Если в процессе работы в стенках траншеи появились трещины, грозящие обвалом, то рабочие должны немедленно покинуть ее; стенку с трещинами следует обрушить, грунт удалить и принять меры против обрушения грунта (укрепление стенок траншеи, срезание грунта для увеличения откосов и др.).

7.3.29 Отвал минерального грунта с правой стороны траншеи (по направлению работ) следует распланировать бульдозером для прохода ремонтной техники.

Засыпка траншеи

7.3.30 Засыпку траншеи следует проводить после подъема и укладки нефтепровода на бровку траншеи, резки на части и вывоза труб к месту складирования.

Допускается проводить засыпку траншеи после подъема и укладки нефтепровода на бровку траншеи при одностороннем размещении отвалов (рисунок 7, поз. б).

7.3.31 Засыпку траншеи минеральным грунтом следует осуществлять бульдозером. Допускается проводить засыпку одноковшовыми экскаваторами или другими техническими средствами.

7.3.32 Перед засыпкой траншеи ответственный за проведение работ должен убедиться в отсутствии людей в траншее.

7.3.33 Засыпку траншеи бульдозером выполняют прямолинейными, косопоперечными, параллельными косоперекрестными или комбинированными проходами. В местах с уменьшенной полосой отвода работы рекомендуется выполнять косопоперечными параллельными или косоперекрестными проходами бульдозера.

7.3.34 При разработке, транспортировании, планировке и уплотнении грунта двумя и более бульдозерами или другими машинами, идущими одна за другой, расстояние между ними должно быть не менее 10 м.

Техническая рекультивация земель

7.3.35 Нанесение (возвращение) плодородного слоя почвы следует выполнять бульдозерами, которые перемещают и разравнивают почву поперечными ходами. При обратном движении бульдозеры опущенным отвалом осуществляют планировку полосы рекультивации.

Толщина нанесения плодородного слоя почвы, как правило, равна глубине снятия по каждому рекультивируемому участку.

7.3.36 При проведении рекультивации следует восстановить существовавшую до начала ремонта систему местного стока расчисткой русел водостоков, ложбин временного стока от грунта, попавшего в них.

7.4 Подъем нефтепровода и укладка его на бровку траншеи

7.4.1 Подъем нефтепровода и укладка его на бровку траншеи осуществляется трубоукладчиками, оборудованными троллейными подвесками.

7.4.2 До начала работ необходимо проверить состояние канатов, блоков и тормозных устройств трубоукладчиков или других грузоподъемных механизмов и приспособлений, троллейных подвесок.

7.4.3 Трубоукладчики и другие грузоподъемные механизмы должны иметь ограничители тяги, грузоподъемности, а также надежные тормозные устройства и фиксаторы, не допускающие самопроизвольного движения груза и самого механизма.

7.4.4 На грузоподъемных машинах и механизмах должны быть обозначены регистрационные номера, дата следующего технического освидетельствования и грузоподъемность.

7.4.5 Стальные канаты, применяемые в качестве грузовых, несущих, тяговых и стропов, для оснастки грузоподъемных механизмов, должны соответствовать государственным стандартам и иметь сертификат (свидетельство) предприятия-изготовителя.

7.4.6 Трубоукладчики должны перемещаться вдоль траншеи на расстоянии, указанном в таблице 2.

7.4.7 Ориентировочные технологические параметры колонны при демонтаже с разработкой траншеи приведены в таблицах 5 и 6.

7.4.8 Число трубоукладчиков, порядок подъема и технологические параметры колонны определяются расчетом напряженно-деформированного состояния демонтируемого участка нефтепровода по РД 39-00147105-016-98 [12].

7.4.9 Подъем начального участка выполняется следующим образом. Трубоукладчики расставляются вдоль траншеи с соблюдением технологических параметров. Затем разрабатываются приямки ниже нижней образующей нефтепровода для монтажа троллейных подвесок. После монтажа троллейных подвесок начальный участок поднимается на высоту до 1 м для монтажа очистной машины.

7.4.10 После монтажа очистной машины проводится подъем нефтепровода всеми трубоукладчиками. Колонна начинает двигаться, очищая участок нефтепровода от изоляции за один проход очистной машины, смещая и укладывая нефтепровод на бровку траншеи.

7.4.11 Величины усилий на крюках трубоукладчиков контролируются динамометрами или индикаторами усилия.

7.4.12 При подъеме (опускании) нефтепровода персоналу запрещается находиться в траншее, а также стоять на нефтепроводе.

Таблица 5 - Ориентировочные технологические параметры колонны
при демонтаже с разработкой траншеи до верхней образующей нефтепровода

Наименование параметров

Диаметр нефтепровода, мм

219

377

426

530

720

820

1020

1220

1 Количество трубоукладчиков

2

2

2

2

2

2

3

3

2 Расстояние между первым и вторым трубоукладчиками L1, м

14 ± 1

16 ± 1

16 ± 1

20 ± 2

22 ± 2

23 ± 2

24 ± 2

24 ± 2

3 Расстояние между вторым трубоукладчиком и очистной машиной L, м

3 ± 1

3 ± 1

3 ± 1

4 ± 1

4 ± 1

4 ± 1

4 ± 1

4 ± 1

4 Расстояние между вторым и третьим трубоукладчиками L2, м

-

-

-

-

-

-

15 ± 1

15 ± 1

5 Усилие на крюке первого трубоукладчика R1, кН, не более

17

45

53

90

130

160

205

300

6 Усилие на крюке второго трубоукладчика R2, кН, не более

24

46

53

70

120

175

205

300

7 Усилие на крюке третьего трубоукладчика R3, кН, не более

-

-

-

-

-

-

80

170

8 Высота подъема нефтепровода, м, не более:

 

 

 

 

 

 

 

 

а) первым трубоукладчиком

1,15

1,2

1,2

1,65

1,8

1,95

1,05

1,15

б) в месте установки очистной машины

1,10

1,25

1,30

1,70

1,85

2,00

1,95

2,00

в) вторым трубоукладчиком

1,15

1,30

1,35

1,70

1,85

2,00

2,00

2,10

г) третьим трубоукладчиком

-

-

-

-

-

-

2,2

2,35

9 Максимальное напряжение изгиба в сечении демонтируемого участка нефтепровода, МПа

185

190

195

220

235

230

230

230

Таблица 6 - Ориентировочные технологические параметры колонны
при демонтаже с разработкой траншеи до верхней
образующей и с одной из сторон до нижней образующей нефтепровода

Наименование параметров

Диаметр нефтепровода, мм

219

377

426

530

720

820

1020

1220

1 Количество трубоукладчиков

2

2

2

2

2

2

3

3

2 Расстояние между первым и вторым трубоукладчиками L1, м

14 ± 1

16 ± 1

16 ± 1

20 ± 2

22 ± 3

23 ± 2

24 ± 2

24 ± 2

3 Расстояние между вторым трубоукладчиком и очистной машиной L, м

3 ± 1

3 ± 1

3 ± 1

4 ± 1

4 ± 1

4 ± 1

4 ± 1

4 ± 1

4 Расстояние между вторым и третьим трубоукладчиками L2, м

-

-

-

-

-

-

15 ± 1

15 ± 1

5 Усилие на крюке первого трубоукладчика R1, кН, не более

16

42

46

75

120

150

190

280

6 Усилие на крюке второго трубоукладчика R2, кН, не более

24

45

53

75

120

160

190

280

7 Усилие на крюке третьего трубоукладчика R3, кН, не более

-

-

-

-

-

-

80

170

8 Высота подъема нефтепровода, м, не более

 

 

 

 

 

 

 

 

а) первым трубоукладчиком

0,80

1,00

0,95

1,15

1,20

1,20

1,15

1,25

б) в месте установки очистной машины

1,05

1,30

1,30

1,70

1,80

1,95

1,95

2,05

в) вторым трубоукладчиком

1,10

1,35

1,35

1,70

1,90

2,00

2,00

2,20

г) третьим трубоукладчиком

-

-

-

-

-

-

2,20

2,40

9 Максимальное напряжение изгиба в сечении демонтируемого участка нефтепровода, МПа

175

175

180

185

195

195

195

200

7.4.13 Во время перерыва в работе не допускается оставлять нефтепровод в поднятом состоянии.

7.5 Очистка наружной поверхности нефтепровода

7.5.1 Очистка наружной поверхности нефтепровода проводится:

- при необходимости отбраковки и восстановления труб, предназначенных для повторного использования по прямому назначению;

- по требованию потребителя труб.

В остальных случаях очистка нефтепровода не проводится.

7.5.2 Очистку наружной поверхности нефтепровода от старой изоляции и продуктов коррозии проводят очистными машинами. Очистные машины должны быть оборудованы устройствами для сбора снимаемой изоляции.

7.5.3 Перед началом работ по очистке нефтепровода необходимо:

- проверить степень загазованности в траншее;

- проверить отсутствие обрывов и целостность изоляции силовых кабелей очистной машины;

- заземлить передвижную электростанцию;

- проверить надежность контакта клеммы «Земля» на очистной машине с нулевой жилой силового кабеля;

- проверить крепление и правильность установки предохранительных щитков очистной машины.

7.5.4 При очистке трубопровода машинист очистной машины должен работать в предохранительных очках с простыми стеклами и респираторе.

7.5.5 Во время очистки нефтепровода необходимо:

- следить, чтобы силовой кабель был достаточно удален от вращающихся деталей и узлов машины и не попал в рабочий орган машины;

- во избежание нарушения целостности трубопровода тщательно следить за наружной поверхностью трубы и делать остановки в местах наложения хомутов, накладок, латок, вантузов и других препятствий на трубопроводе;

- замену резцов и прочие наладочные, ремонтные и регулировочные работы производить только после остановки и обесточивания очистной машины. На рубильнике силового щита электростанции необходимо вывесить плакат «Не включать - работают люди!».

7.6 Резка демонтированного нефтепровода

7.6.1 Резку демонтированного нефтепровода на отдельные трубы или секции следует осуществлять механической резкой, резкой взрывом или газовой резкой.

7.6.2 Выбор способа резки зависит от достигнутой степени очистки полости нефтепровода, темпа работ по демонтажу, наличия наземных сооружений вблизи демонтируемого нефтепровода.

7.6.3 Основным и определяющим фактором при выборе способа резки является наличие или отсутствие взрывопожароопасной концентрации газовоздушной смеси в полости нефтепровода.

Предельно-допустимая взрывобезопасная концентрация (ПДВК) паров составляет 5 % величины нижнего предела концентрационного предела распространения пламени (для паров нефти ПДВК - 2100 мг/м3).

7.6.4 Наиболее безопасной по степени взрывопожароопасности является механическая резка труб, затем - резка взрывом; наиболее опасной является газовая резка.

Резку демонтированного нефтепровода, освобожденного и очищенного от остатков нефти, в полости которого отсутствует газовоздушная смесь во взрывоопасной концентрации, можно осуществлять механическим, газовым способами или взрывом.

Резку нефтепровода с парафиносмолистыми отложениями на внутренних стенках или при наличии в полости нефтепровода газовоздушной смеси с воздухом во взрывоопасной концентрации, следует осуществлять механическим способом или взрывом. Газовая резка таких нефтепроводов проводится только при проведении мероприятий по дегазации места резки с целью снижения концентрации нефтяного газа ниже нижнего предела взрываемости (принудительная или естественная вентиляция полости, продувка воздухом, заполнение участка нефтепровода дымом или инертным газом).

7.6.5 Работы по резке должны проводиться с оформлением наряда-допуска на огневые, газоопасные и другие работы повышенной опасности согласно [8]. При производстве работ должен быть организован контроль полости нефтепровода на загазованность.

7.6.6 Определение концентрации газовоздушной смеси проводится путем отбор проб воздуха из полости нефтепровода.

Отбор проб воздушной среды из трубопровода осуществляется через фланцевые, резьбовые и другие соединения или отверстия, просверленные в месте реза.

7.6.7 Для обеспечения взрывопожаробезопасности и высоких темпов работ резку нефтепровода следует проводить комбинированным способом. Сначала механической резкой или резкой взрывом нефтепровод необходимо разрезать на секции длиной по 100 - 150 м, затем газовой резкой - на отдельные трубы или двух-, трехтрубные секции.

7.6.8 Длина труб или секций, на которые разрезается нефтепровод, зависит от способа их транспортировки и применяемого транспорта.

Механическая резка труб

7.6.9 Механическую резку труб следует выполнять с помощью труборезных машин, рабочим органом которых является вращающаяся дисковая фреза или резцы.

7.6.10 Труборезные машины должны быть с приводами во взрывобезопасном исполнении и иметь разрешение Госгортехнадзора РФ на применение.

7.6.11 Монтаж труборезных машин на нефтепровод, резка и последующий демонтаж должны осуществляться в строгом соответствии с инструкцией по их эксплуатации.

7.6.12 Резку следует выполнять после укладки нефтепровода на лежки. В качестве лежек могут применяться деревянные бруски, железнодорожные шпалы, оборудованные упорами, обеспечивающими неподвижность отдельных секций труб после резки нефтепровода.

7.6.13 При выполнении резки нефтепровода следует руководствоваться действующими правилами безопасности. Резать нефтепровод в поднятом положении запрещается.

Резка взрывом

7.6.14 Резку нефтепроводов взрывом следует осуществлять кумулятивными кольцевыми наружными труборезами (ТрККН) жесткой конструкции, либо шнуровыми кумулятивными зарядами (ШКЗ) гибкой конструкции. Выбор типа кумулятивного заряда, его геометрических размеров осуществляется в зависимости от диаметра и толщины стенки демонтируемого нефтепровода.

7.6.15 Резка нефтепровода взрывом относится к пожароопасным технологическим операциям, выполняемым на действующих взрывоопасных, взрывопожароопасных и пожароопасных объектах, и должна проводиться в соответствии с ПБ 13-407-01 [13] по технологии, согласованной с Госгортехнадзором России, действующими инструкциями и положениями о порядке хранения, учета, использования, транспортирования взрывчатых материалов.

7.6.16 Взрывные работы должны проводиться по проекту производства взрывных работ на магистральных нефтепроводах. Проект производства взрывных работ разрабатывается организацией, выполняющей взрывные работы и имеющей лицензию Госгортехнадзора России и утверждается Заказчиком.

7.6.17 Отсечение (отрезание) демонтируемого участка от действующего нефтепровода с применением кумулятивных зарядов разрешается выполнять только при наличии наряда-допуска на огневые, газоопасные и другие работы повышенной опасности согласно [7], ППБ 01-93 [8], РД 09-364-00 [9].

7.6.18 К производству взрывных работ допускаются лица, окончившие курсы, сдавшие экзамены квалификационной комиссии и имеющие «Единую книжку взрывника» с правом производства взрывных работ при демонтаже нефтепровода.

7.6.19 При резке нефтепровода взрывом должна быть установлена и обозначена знаками граница опасной зоны.

Все технические средства, неиспользуемые при выполнении взрывных работ, должны находиться за пределами опасной зоны. Все электроустановки, кабели, контактные и другие воздушные провода, находящиеся в пределах опасной зоны, где монтируется электровзрывная сеть, должны быть обесточены с момента монтажа сети.

При наличии по трассе вблизи демонтируемого нефтепровода надземных сооружений (ЛЭП, воздушных линий связи, систем телемеханики и др.) следует принять меры по защите их от повреждений с применением защитных экранов.

7.6.20 При производстве взрывных работ обязательно применение звуковых сигналов. Сигналы должны быть отчетливо слышны на границах опасной зоны. Средства подачи сигналов необходимо установить и опробовать до начала взрывных работ.

Газовая резка

7.6.21 Газовую резку нефтепроводов следует выполнять с применением ручного газового резака, либо трубоотрезными машинками с вращающимся газовым резаком. Газовую резку необходимо проводить с обеспечением условий безопасного проведения работ.

7.6.22 Газорезочные работы разрешается начинать при отсутствии в полости нефтепровода газовоздушной смеси с воздухом во взрывоопасной концентрации и при наличии их не выше предельно допустимой концентрации (ПДК) по санитарным нормам (ПДК для углеводородов нефти - 300 мг/м3) на месте резки.

7.6.23 При работе с аппаратурой для газокислородной резки следует соблюдать требования инструкций по проведению этих работ.

7.6.24 Места проведения огневых работ и места установки баллонов с газом должны быть очищены от горючих материалов в радиусе не менее 5 метров.

Места разлива легковоспламеняющихся и горючих материалов должны быть тщательно очищены и засыпаны сухим песком.

7.6.25 Корпуса машин для резки труб и электростанции должны быть заземлены. Заземление выполняют до включения источника питания в электросеть. Оно не должно нарушаться до отключения установки от электросети.

7.6.26 Газорезчики, кроме средств индивидуальной защиты, предусмотренных типовыми отраслевыми нормами, должны пользоваться также защитными ковриками, защитными козырьками и шлемами.

Во время резки оператор должен защищать глаза специальными очками или щитком со светофильтрами.

7.7 Погрузка и транспортировка труб

7.7.1 Демонтированные трубы или секции труб следует подвергнуть первичной отбраковке на месте производства работ. В результате визуального осмотра следует выбрать трубы, подлежащие переплавке. Оставшуюся часть труб или секций труб следует вывезти на трубосварочную базу для их дальнейшей комплексной проверки.

7.7.2 Погрузку труб на трубопроводы и их разгрузку следует выполнять трубоукладчиком или автомобильным краном.

7.7.3 Погрузочно-разгрузочные работы должны выполняться под руководством лица, назначенного приказом руководителя организации, ответственного за безопасное производство этих работ.

7.7.4 Ответственный за производство погрузочно-разгрузочных работ обязан проверить исправность грузоподъемных механизмов, такелажа, приспособлений и прочего погрузочно-разгрузочного инвентаря, а также разъяснить работникам их обязанности, последовательность выполнения операций, значений подаваемых сигналов.

7.7.5 К выполнению работ по строповке труб могут быть допущены только рабочие, которые прошли курс обучения, сдали экзамены квалификационной комиссии и получили удостоверение стропальщика.

7.7.6 Такелажные приспособления (стропы, клещевые захваты и т.п.) следует подвергать техническому осмотру через каждые 10 дней. Результаты осмотра фиксировать в журнале учета и осмотра такелажных приспособлений.

7.7.7 Трубы при перевозке должны быть закреплены. При двух- и трехъярусной укладке между трубами должны быть прокладки. Людям находиться на платформе трубовоза во время движения запрещается.

7.7.8 Трубы диаметром до 300 мм при складировании следует укладывать в штабель высотой до 3 м на подкладках и с прокладками с кольцевыми упорами, а трубы диаметром более 300 мм - в штабель высотой до 3 м в седло без прокладок с кольцевыми упорами.

7.8 Проверка качества и условия повторного применения демонтированных труб

7.8.1 Демонтированные трубы подлежат комплексной проверке на трубосварочной базе для определения возможности их дальнейшего использования.

7.8.2 После проведения дополнительной очистки внутренней поверхности трубы должны пройти комплексную проверку: контроль геометрии труб, дефектности, механических свойств металла труб.

Комплексная проверка и выдача рекомендаций на повторное использование демонтированных труб по результатам комплексной проверки должна производиться в соответствии с требованиями специальных нормативных документов. На трубы, прошедшие комплексную проверку и признанные годными, должны быть оформлены паспорта и сертификаты качества.

7.8.3 Признанные по результатам комплексной проверки годными трубы могут быть использованы:

- при строительстве новых участков магистральных трубопроводов, кроме участков категорий - В, I, II;

- для устранения дефектов с заменой катушки или с установкой приварной муфты;

- для изготовления соединительных деталей трубопроводов (отводов, переходов, тройников);

- в качестве защитных футляров трубопроводов на переходах через авто и железные дороги, реки;

- для изготовления металлических конструкций и изделий (опоры, сосуды, печи, бочки, лотки и т.д.);

- в качестве листового проката (путем вырезки, правки, профилирования).

7.8.4 Трубы допускаются к повторному применению при соответствии их механических свойств требованиям ГОСТ 20295, СНиП 2.05.06, СП 34-101 [14].

Комплексная проверка и определение качества труб для повторного использования должны проводиться экспертной организацией, имеющей соответствующую лицензию Госгортехнадзора России.

8 Демонтаж нефтепровода при капитальном ремонте с заменой труб путем укладки в совмещенную траншею

8.1 Общие положения

8.1.1 Способ демонтажа заключается в разработке совмещенной траншеи, планировке отвала минерального грунта на полосе работы колонны, подъеме, очистке, укладке заменяемого участка нефтепровода на бровку траншеи, резке на секции и транспортировке труб к месту складирования.

Схема демонтажа с разработкой траншеи при капитальном ремонте с заменой труб путем укладки в совмещенную траншею вновь прокладываемого нефтепровода рядом с заменяемым приведена на рисунке 2.

8.1.2 Демонтаж должен выполняться механизированной колонной, оснащенной согласно РД 39-00147105-011-97 [15].

8.1.3 Работа по демонтажу нефтепровода по данному способу проводится, как правило, после укладки нового трубопровода в совмещенную траншею, присыпки его грунтом и подключения к действующей магистрали. Работа по демонтажу проводится колонной, движущейся в направлении, противоположном направлению РСК, с другой стороны траншеи.

8.2 Земляные работы

8.2.1 Земляные работы следует выполнять в соответствии с требованиями 7.3.1 - 7.3.7.

8.2.2 Земляные работы включают:

- разработку совмещенной траншеи до нижней образующей заменяемого участка нефтепровода;

- планировку отвала минерального грунта для прохода колонны по демонтажу;

- засыпку траншеи минеральным грунтом после демонтажа заменяемого участка нефтепровода;

- техническую рекультивацию плодородного слоя почвы.

8.2.3 Совмещенная траншея разрабатывается ремонтно-строительной колонной (РСК), выполняющей изоляционно-укладочные работы. Демонтируемый нефтепровод должен быть вскрыт до верхней образующей и дополнительно с одной из сторон до нижней образующей для укладки нового трубопровода. Поперечный профиль совмещенной траншеи представлен на рисунке 8.

В1 - ширина траншеи по верху; В2 - ширина траншеи по низу;
Н1 - глубина траншеи; Н2 - глубина траншеи над нефтепроводом;
D - диаметр нефтепровода; δ - расстояние между стенкой
нефтепровода и ковшом экскаватора; ВОТ1, ВОТ2 - величины
откосов траншеи; А - расстояние между стенками демонтируемого
нефтепровода и вновь проложенного трубопровода

Рисунок 8 - Поперечный профиль совмещенной траншеи

8.2.4 Ширина совмещенной траншеи по низу В2, разрабатываемой одноковшовым экскаватором, определяется из условия, что расстояние А между стенками вновь прокладываемого и заменяемого нефтепровода должно быть не менее 1,0 м для возможности осмотра и проведения работ на действующем нефтепроводе.

8.2.5 Ширина совмещенной траншеи по верху В1, м, определяется по формуле

В1 = В2 + ВОТ1 + ВОТ2,

(2)

где В2 - ширина траншеи по низу, м;

ВОТ1, ВОТ2 - величины откосов, м.

8.2.6 Минеральный грунт, извлеченный из траншеи, следует укладывать в отвалы по обе стороны траншеи (рисунок 9). Отвалы минерального грунта с обеих сторон траншеи планируются бульдозером: с одной стороны - для прохода изоляционно-укладочной колонны, с другой - для прохода колонны по демонтажу нефтепровода.

I - зона отвала плодородного слоя почвы; II - зона отвала минерального грунта;
III - зона разработки траншеи; IV - полоса движения колонны; V - зона работы бульдозера

Рисунок 9 - Схема размещения отвалов на полосе отводов
земель при разработке совмещенной траншеи

8.2.7 Засыпку траншеи следует проводить после подъема, резки трубопровода на трубы, секции труб и вывоза к месту складирования.

8.2.8 Засыпку траншеи или ремонтного котлована минеральным грунтом следует проводить в соответствии с требованиями 7.3.30 - 7.3.34.

8.2.9 После засыпки траншеи проводится техническая рекультивация плодородного слоя почвы бульдозером в соответствии с требованиями 7.3.35 - 7.3.36.

8.3 Подъем нефтепровода и укладка на землю

8.3.1 Подъем заменяемого участка нефтепровода и укладка на бровку траншеи осуществляется трубоукладчиками, оборудованными троллейными подвесками.

8.3.2 Число и грузоподъемность трубоукладчиков, порядок подъема и технологические параметры ремонтной колонны определяются, исходя из результатов расчета на прочность поднимаемого участка нефтепровода.

8.3.3 Ориентировочные технологические параметры колонны при демонтаже с разработкой совмещенной траншеи приведены в таблице 7.

Таблица 7 - Ориентировочные технологические параметры колонны при демонтаже с разработкой совмещенной траншеи

Наименование параметров

Диаметр нефтепровода, мм

219

377

426

530

720

820

1020

1220

1 Количество трубоукладчиков

2

2

2

2

2

2

3

3

2 Расстояние между первым и вторым трубоукладчиками L1, м

14 ± 1

16 ± 1

20 ± 1

20 ± 1

25 ± 1

25 ± 1

25 ± 1

25 ± 1

3 Расстояние между вторым трубоукладчиком и очистной машиной L, м

3 ± 1

3 ± 1

3 ± 1

4 ± 1

4 ± 1

4 ± 1

4 ± 1

4 ± 1

4 Расстояние между вторым и третьим трубоукладчиками L2, м

-

-

-

-

-

-

15 ± 1

15 ± 1

5 Усилие подъема на крюке первого трубоукладчика R1, кН, не более

16

42

46

75

120

150

190

280

6 Усилие подъема на крюке второго трубоукладчика R2, кН, не более

24

45

53

75

120

160

190

280

7 Усилие подъема на крюке третьего трубоукладчика R3, кН, не более

-

-

-

-

-

-

80

170

8 Высота подъема нефтепровода, м, не более

 

 

 

 

 

 

 

 

а) первым трубоукладчиком

0,80

1,00

0,95

1,15

1,20

1,20

1,15

1,25

б) в месте установки очистной машины

1,05

1,30

1,30

1,70

1,80

1,95

1,95

2,05

в) вторым трубоукладчиком

1,10

1,35

1,35

1,70

1,90

2,00

2,00

2,20

г) третьим трубоукладчиком

-

-

-

-

-

-

2,20

2,40

9 Смещение горизонтальное относительно начального положения, м, не более

 

 

 

 

 

 

 

 

а) первым трубоукладчиком

0,42

0,52

0,65

0,80

0,83

0,90

0,85

1,00

б) вторым трубоукладчиком

0,81

0,85

1,00

1,10

1,20

1,30

1,37

1,57

в) третьим трубоукладчиком

-

-

-

-

-

-

1,52

1,74

10 Максимальное напряжение изгиба в сечении демонтируемого участка нефтепровода, МПа

190

190

190

190

200

200

205

210

8.3.4 После монтажа очистной машины проводится подъем нефтепровода всеми трубоукладчиками с соблюдением технологических параметров. Колонна начинает двигаться, извлекая из грунта и очищая демонтируемый нефтепровод от изоляции за один проход очистной машины. Трубоукладчики поднимают нефтепровод, смещают его на свою сторону и укладывают на бровку траншеи.

8.3.5 Усилия на крюках трубоукладчиков должны контролироваться динамометрами или индикаторами усилия.

8.4 Очистка наружной поверхности нефтепровода, резка нефтепровода на части, погрузка и транспортировка труб

8.4.1 Очистку наружной поверхности нефтепровода следует проводить в соответствии с требованиями 7.5.1 - 7.5.5.

8.4.2 Резку демонтируемого нефтепровода на части следует проводить в соответствии с требованиями 7.6.1 - 7.6.26.

8.4.3 Погрузку и транспортировку труб следует проводить в соответствии с требованиями 7.7.1 - 7.7.8.

9 Демонтаж с рыхлением грунта над нефтепроводом

9.1 Общие положения

9.1.1 Способ демонтажа заключается в рыхлении грунта над нефтепроводом, подъеме, очистке участка нефтепровода и укладке его на землю, резке на части и транспортировке к месту складирования.

Схема демонтажа с рыхлением грунта над нефтепроводом приведена на рисунке 3.

9.1.2 Демонтаж должен выполняться механизированной колонной, оснащенной согласно приложению В.

9.2 Уточнение положения нефтепровода

9.2.1 Уточнение положения и величины заглубления нефтепровода проводится перед началом проведения работ во избежание повреждения стенки трубы клыками рыхлителя.

Уточнение положения нефтепровода проводится в соответствии с требованиями 7.2.1 - 7.2.3.

9.3 Земляные работы

9.3.1 Земляные работы включают в себя:

- снятие плодородного слоя почвы, перемещение его во временный отвал;

- рыхление грунта над нефтепроводом;

- планировка полосы отвода земель;

- техническая рекультивация плодородного слоя почвы.

9.3.2 Работы по снятию плодородного слоя почвы следует выполнять в соответствии с требованиями 7.3.9 - 7.3.12.

9.3.3 Рыхление грунта следует выполнять бульдозером-рыхлителем.

9.3.4 Ширина и глубина полосы рыхления устанавливаются в зависимости от категории грунта, диаметра демонтируемого нефтепровода, марки бульдозера и числа зубьев рыхлителя.

9.3.5 Ширина полосы рыхления должна быть не менее диаметра демонтируемого нефтепровода.

9.3.6 Рыхление грунта должно проводиться до верхней образующей трубы, во избежание повреждения стенки нефтепровода расстояние между ней и клыком рыхлителя должно быть не менее 0,15…0,20 м.

9.3.7 Ложбину, образующуюся на месте демонтированного нефтепровода после его извлечения, следует распланировать при помощи бульдозера.

9.3.8 По окончании работ по демонтажу нефтепровода на участке, где предусмотрена техническая рекультивация, осуществляется возврат плодородного слоя почвы бульдозером.

9.4 Подъем нефтепровода и укладка на землю

9.4.1 Подъем нефтепровода и укладка на землю (слежавшийся грунт естественной плотности) осуществляется трубоукладчиками, оборудованными троллейными подвесками

9.4.2 Число и грузоподъемность трубоукладчиков, порядок подъема и технологические параметры ремонтной колонны определяются, исходя из результатов расчета на прочность поднимаемого участка нефтепровода.

9.4.3 Ориентировочные технические параметры колонны при демонтаже с рыхлением грунта над нефтепроводом приведены в таблице 8.

Таблица 8 - Ориентировочные технологические параметры колонны при демонтаже с рыхлением грунта над нефтепроводом

Наименование параметров

Диаметр трубопровода, мм

219

273

325

377

426

530

1 Расстояние между трубоукладчиками L1, м

22 ± 4

20 ± 3

18 ± 2

16 ± 2

15 ± 2

15 ± 2

2 Расстояние между очистной машиной и вторым трубоукладчиком L, м

4 ± 1

4 ± 1

4 ± 1

4 ± 1

4 ± 1

4 ± 1

3 Усилие на крюке первого трубоукладчика R1, кН

30

40

50

65

75

130

4 Усилие на крюке второго трубоукладчика R2, кН

20

30

35

45

55

90

5 Высота подъема трубопровода, м, не более

 

 

 

 

 

 

а) первым трубоукладчиком

0,7

0,75

0,75

0,8

0,8

0,9

б) вторым трубоукладчиком

1,2

1,3

1,3

1,4

1,4

1,5

в) в месте установки очистной машины

1,25

1,3

1,3

1,4

1,4

1,5

6 Максимальное напряжение изгиба в сечении демонтируемого участка трубопровода, МПа

280

280

280

280

275

270

В расчетах высота грунта над нефтепроводом после снятия плодородного слоя почвы, принята равной 0,5 м.

9.4.4 Подъем и укладку нефтепровода на землю следует проводить в соответствии с требованиями 7.4.1 - 7.4.13.

9.5 Очистка наружной поверхности нефтепровода, резка нефтепровода на части, погрузка и транспортировка труб

9.5.1 Очистку наружной поверхности нефтепровода следует проводить в соответствии с требованиями 7.5.1 - 7.5.5.

9.5.2 Резку демонтируемого нефтепровода на части следует проводить в соответствии с требованиями 7.6.1 - 7.6.19.

9.5.3 Погрузку и транспортировку труб следует проводить в соответствии с требованиями 7.7.1 - 7.7.8.

10 Демонтаж с вытягиванием участка нефтепровода

10.1 Общие положения

10.1.1 Способ демонтажа заключается в рытье шурфов, вырезке “катушки” в шурфах, вытягивании отрезанного участка нефтепровода на поверхность земли, резке на части и транспортировке к месту складирования.

Принципиальная схема демонтажа с вытягиванием участка нефтепровода из земли приведена на рисунке 4.

10.1.2 Демонтаж должен выполняться механизированной колонной, оснащенной согласно приложению В.

10.2 Уточнение положения нефтепровода и отметка мест рытья шурфов

10.2.1 Перед началом работ по демонтажу проводится уточнение положения нефтепровода и отметка мест рытья шурфов.

10.2.2 Уточнение положения нефтепровода проводится в соответствии с требованиями 7.2.1 - 7.2.3.

10.2.3 Вдоль нефтепровода проводится отметка мест рытья шурфов с установкой вешек.

Длина вытягиваемого участка (или расстояние между шурфами) определяется расчетом в зависимости от тягового усилия лебедки, диаметра нефтепровода, физико-механических свойств грунта по формуле

(3)

где Р - тяговое усилие лебедки, кН;

D - диаметр демонтируемого нефтепровода, м;

τпр - предельное касательное напряжение на поверхности нефтепровода при его вытягивании из грунта, кН/м2 [16].

Ориентировочные расстояния между шурфами для нефтепроводов различных диаметров представлены в таблице 9.

Таблица 9 - Ориентировочные расстояния между шурфами для нефтепроводов различных диаметров

Диаметр нефтепровода, мм

Ориентировочное расстояние между шурфами, м, не более

219

250

273

220

325

200

377

180

426

150

10.3 Земляные работы

10.3.1 Земляные работы по данному способу демонтажа включают:

- снятие плодородного слоя почвы в местах рытья шурфов;

- рытье шурфов;

- планировку отвалов минерального грунта;

- засыпку шурфов минеральным грунтом;

- техническую рекультивацию плодородного слоя почвы в местах рытья шурфов;

- планировку полосы отвода земель (при необходимости).

Снятие плодородного слоя почвы

10.3.2 Плодородный слой почвы в местах рытья шурфов должен быть снят и уложен в отвал для дальнейшего использования его при рекультивации.

10.3.3 Снятие плодородного слоя почвы следует выполнять разработкой его в отвал одноковшовым экскаватором и последующим перемещением его во временный отвал бульдозером.

10.3.4 Работы по снятию, перемещению и хранению плодородного слоя почвы должны выполняться в соответствии с требованиями, изложенными в 7.3.9 - 7.3.12.

Рытье шурфов

10.3.5 Рытье шурфов следует выполнять одноковшовым экскаватором с соблюдением мер предосторожности, исключающих повреждение нефтепровода. Минимальное расстояние δ между стенкой нефтепровода и ковшом работающего экскаватора должно быть не менее 0,15…0,20 м. Оставшийся грунт следует дорабатывать вручную.

10.3.6 Длина шурфа равна Lш = 6 ± 2 м. Ширина шурфа В определяется расчетом по формуле

B = D + 2K +2δ,

(4)

где D - диаметр нефтепровода, м;

К - ширина режущей кромки ковша экскаватора, м; К - не менее 0,7 м.

Шурф разрабатывается на глубину Н ниже нижней образующей трубы на величину h1 = 0,3 м, необходимую для установки кумулятивных зарядов или h1 = 0,6 м - при механической резке (рисунок 10).

Lш - длина шурфа; А - длина свободного конца нефтепровода;
Lк - длина вырезаемой катушки; Н - глубина шурфа; h - глубина подкопа;
D - диаметр нефтепровода; D1 - диаметр отверстия;
L1 - расстояние от оси отверстия до края свободного конца нефтепровода;
К - ширина ковша экскаватора, В - ширина шурфа

Рисунок 10 - Шурф

10.3.7 Крутизна откосов шурфа устанавливается в зависимости от категории грунта, глубины заложения нефтепровода в соответствии с требованиями, изложенными в 7.3.24 - 7.3.25.

10.3.8 Минеральный грунт и плодородный слой почвы следует укладывать в отвал по разные стороны шурфа. Основание отвала вынутого грунта следует располагать на расстоянии не менее 1 м от края шурфа.

Засыпка шурфов, техническая рекультивация плодородного слоя почвы, планировка полосы отвода

10.3.9 Засыпку шурфов следует проводить после окончания работ по вытягиванию демонтируемого участка нефтепровода из земли.

10.3.10 Засыпку шурфов следует проводить минеральным грунтом из отвала бульдозером.

10.3.11 После искусственного уплотнения минерального грунта в шурфе путем многократного прохождения бульдозера наносят плодородный слой почвы. Затем полосу отвода земель планируют бульдозером.

10.4 Вытягивание участка нефтепровода

10.4.1 Длина вытягиваемого участка нефтепровода ограничивается расстоянием между шурфами. За начало отсчета берется место резки демонтируемого участка нефтепровода.

10.4.2 Ориентировочные технологические параметры колонны с вытягиванием участка нефтепровода, определенные расчетом, представлены в таблице 10.

Таблица 10 - Ориентировочные технологические параметры колонны с вытягиванием участка нефтепровода

Наименование параметров

Диаметр трубопровода, мм

219

273

325

377

426

1 Высота подъема конца участка трубоукладчика, м, не более

0,5

0,5

0,5

0,55

0,6

2 Максимальное усилие на крюке трубоукладчика, кН

22

35

45

60

80

3 Длина свободного конца нефтепровода, А, м

3 ± 1

3 ± 1

3 ± 1

3 ± 1

3 ± 1

4 Максимальное напряжение изгиба в сечении демонтируемого участка трубопровода, МПа

300

300

300

300

300

При составлении ППР для каждого конкретного участка проводится уточненный расчет технологических параметров.

10.4.3 Для вытягивания участка из земли вдоль трассы нефтепровода должно быть вырыто 4 шурфа, расстояние между которыми указано в таблице 9.

10.4.4 В первом шурфе следует провести вырезку катушки. Резку следует осуществить машинками для резки труб или кумулятивными зарядами.

Длина вырезаемой катушки Lк = 0,5 м должна обеспечить пространство для свободного перемещения концов вытягиваемого участка нефтепровода.

10.4.5 Для установки кумулятивных зарядов нефтепровод в месте реза по всему периметру должен быть очищен от старой изоляции, ржавчины вручную. Очистку следует проводить на ширине 0,10…0,15 м.

10.4.6 Для зацепления троса лебедки к нефтепроводу на боковых поверхностях свободного конца нефтепровода следует вырезать два отверстия диаметром D1 = 0,10…0,15 м на расстоянии L1 = 0,3…0,4 м от открытого края трубы (рисунок 10).

10.4.7 Перед вытягиванием участка нефтепровода трубоукладчиком приподнимают участок трубы в первом шурфе и подкладывают под него опору для того, чтобы извлекаемый участок при перемещении в шурфе не зацепил свободный конец нефтепровода.

10.4.8 Вытягивание участка нефтепровода следует осуществлять тяговым механизмом (лебедка тяговая типа ЛП152 и др.), установленным на тяжеловозном прицепе, который перемещается бульдозером.

10.4.9 Схема вытягивания участка нефтепровода показана на рисунке 11.

1 - 5 шурф

Рисунок 11 - Схема вытягивания участка нефтепровода

Позиция I. Вырыть 4 шурфа. В первом шурфе находится конец вытягиваемого участка нефтепровода. Во втором шурфе вырезать катушку Lк = 0,5 м кумулятивными зарядами.

Установить трубоукладчик, оснащенный мягким полотенцем, напротив второго шурфа. Конец вытягиваемого участка нефтепровода приподнять трубоукладчиком и под него подложить опору. Трубоукладчик отцепить.

Установить тяговую лебедку около четвертого шурфа, закрепить анкерный канат тягового устройства к нефтепроводу в четвертом шурфе (заякоривание). Закрепить трос тягового механизма к вытягиваемому участку во втором шурфе при помощи устройства зацепления пропущенного через боковые отверстия.

Позиция II. Вытянуть участок нефтепровода и уложить на землю между вторым и третьим шурфом. Первый шурф засыпать. Вырыть пятый шурф.

Позиция III. В третьем шурфе вырезать катушку Lк = 0,5 м кумулятивными зарядами. Трубоукладчик передвинуть и установить напротив третьего шурфа. Конец вытягиваемого участка нефтепровода приподнять трубоукладчиком и под него подложить опору. Трубоукладчик отцепить. Установить тяговую лебедку около пятого шурфа. Закрепить анкерный канат тягового устройства к нефтепроводу в пятом шурфе (заякоривание). Закрепить трос тягового механизма к вытягиваемому участку в третьем шурфе при помощи устройства зацепления пропущенного через боковые отверстия.

Далее операции, указанные в позиции II и III, повторяются. Механизмы передвигаются и устанавливаются к следующим шурфам по ходу движения колонны.

10.5 Резка нефтепровода на части, очистка наружной поверхности нефтепровода, погрузка и транспортировка труб

10.5.1 Резка демонтируемого участка нефтепровода, его транспортировка к месту складирования должны осуществляться в соответствии с требованиями 7.6 - 7.7.

10.5.2 Очистка наружной поверхности труб (при необходимости) проводится на трубной базе.

10.5.3 Погрузку и транспортировку труб следует проводить в соответствии с требованиями 7.7.1 - 7.7.8.

11 Требования безопасности и охраны труда

11.1 Организация и проведение демонтажа осуществляется в соответствии с требованиями [5, 6, 17].

11.2 Производство работ по демонтажу и передвижение техники в охранной зоне МН должны оформляться документально в соответствии с требованиями [18].

11.3 Допуск персонала к работам на действующих электроустановках и в охранной зоне линии электропередачи должен производиться в соответствии с требованиями раздела 13 ПОТ Р М-016-2001 [19].

11.4 Допуск персонала к погрузочно-разгрузочным работам должен производиться в соответствии с требованиями ПОТ Р М-007-98 [20].

11.5 Руководящие работники, специалисты и рабочие, а также лица, связанные с обслуживанием и эксплуатацией грузоподъемных механизмов, газовых баллонов, сварочными работами должны пройти аттестацию по промышленной безопасности в соответствии с [21].

11.6 Огневые, газоопасные и другие работы повышенной опасности выполняются с оформлением наряда-допуска в соответствии с требованиями [7 - 9].

11.7 Огневые и газоопасные работы разрешается проводить, если концентрация углеводородов нефти в месте проведения работ не превышает ПДК (для нефти - 300 мг/м3).

11.8 Воздушная среда должна контролироваться непосредственно перед началом работ, после каждого перерыва в работе и в течение всего времени выполнения работ с периодичностью, указанной в наряде-допуске, но не реже чем через один час работы, а также по первому требованию работающих.

11.9 Отбор и анализ проб воздушной среды осуществляется согласно [22, 23].

11.10 К работам по демонтажу нефтепровода допускаются лица не моложе 18 лет, прошедшие медицинское освидетельствование, инструктажи по охране труда, обучение по установленной программе, проверку знаний в квалификационной комиссии и имеющие удостоверение о проверке знаний установленного образца.

11.11 Организация и порядок обучения, проведение инструктажей, проверка знаний и допуск персонала к самостоятельной работе должны соответствовать требованиям ГОСТ 12.0.004, [17], «Системы организации работ по охране труда и промышленной безопасности на нефтепроводном транспорте» [24].

11.12 Работники, занятые на демонтаже нефтепроводов, должны быть обеспечены спецодеждой, спецобувью и другими средствами индивидуальной защиты.

Порядок выдачи и пользования средствами индивидуальной защиты определен [25].

11.13 При работе в траншее или котловане должны применяться коллективные средства защиты, к которым в соответствии с ГОСТ 12.4.011 относятся:

- средства нормализации воздушной среды рабочих мест - применение вентиляционных установок во взрывобезопасном исполнении при повышении загазованности в месте проведения работ сверх допустимой санитарной нормы.

- средства защиты от поражения током - защитное заземление (зануление) электроустановок, изолирующие устройства и покрытия - от поражения током при пробое изоляции на корпус и отказе защиты, знаки безопасности, устройства защитного отключения.

11.14 Демонтаж нефтепровода должен проводиться в светлое время суток.

11.15 На месте проведения работ ремонтная колонна (бригада) постоянно должна иметь постоянный вахтовый автотранспорт, оборудованный радиостанцией. Транспортные средства, предназначенные для перевозки людей, должны быть исправными.

11.16 Работники, занятые демонтажом нефтепровода, должны быть обучены правилам и приемам оказания первой (доврачебной) помощи. Бригада должна быть обеспечена аптечкой с медикаментами и перевязочными материалами.

11.17 При несчастном случае необходимо оказать пострадавшему первую доврачебную помощь, вызвать скорую медицинскую помощь, сообщить об этом непосредственному начальнику и сохранить без изменения обстановку на рабочем месте до расследования, если это не создает угрозу для работающих.

11.18 На расстоянии не менее 100 м от нефтепровода должен быть размещен вагончик и организовано место для отдыха и приема пищи. В вагончике должен быть умывальник, бачок с питьевой водой, качество которой должно соответствовать санитарным требованиям, аптечка. Запрещается отдыхать на открытой местности на расстоянии менее 100 м от нефтепровода.

11.19 К управлению и техническому обслуживанию ремонтных, землеройных и других машин допускаются только лица, имеющие право на управление и обслуживание машин данного типа.

11.20 Строительные машины, транспортные средства, средства механизации, приспособления, ручные машины и инструмент должны соответствовать требованиям государственных стандартов по безопасности труда и иметь сертификат на соответствие требованиям безопасности труда.

11.21 Использование строительных машин должно осуществляться в соответствии с инструкциями по их эксплуатации. Эксплуатация грузоподъемных машин и других средств механизации, подконтрольных органам Госгортехнадзора России, должна производиться с учетом требований инструкций, утвержденных этим органом.

11.22 При выполнении земляных работ бульдозерами, бульдозерами-рыхлителями и экскаваторами необходимо соблюдать требования СНиП 12-03-2001, СНиП III-4-80* (глава 9).

11.23 Эксплуатация трубоукладчиков должна выполняться с соблюдением требований ПБ 10-157-97 (с изменениями ПБИ 10-371-(157)-00) [26].

11.24 Выполнение погрузочно-разгрузочных работ должно соответствовать требованиям ПОТ Р М-007-98 [20].

11.25 Работы с применением инструментов и приспособлений должны выполняться согласно требованиям [27].

12 Противопожарные мероприятия

12.1 Работы по демонтажу нефтепроводов должны проводиться в соответствии с планом производства работ, составленного с соблюдением требований ГОСТ 12.0.004, ППБ 01-03 [8], ВППБ 01-05-99 [28], [2, 7, 9], ПОТ Р М-020-2001 [29].

12.2 Все работники, занятые на демонтаже МН, должны пройти противопожарный инструктаж и сдать зачет по пожарно-техническому минимуму, знать и выполнять инструкции по пожарной безопасности на рабочем месте, уметь пользоваться первичными средствами пожаротушения.

12.3 К выполнению огневых работ (газорезка, механическая резка, резка взрывом и др.) допускаются лица, прошедшие специальную подготовку и имеющие квалификационное удостоверение и талон по технике пожарной безопасности.

12.4 На проведение огневых работ должен быть письменно оформлен наряд-допуск по форме, представленной в Регламенте [7].

Наряд-допуск оформляется в двух экземплярах и утверждается главным инженером РУМН или лицом, его замещающим.

12.5 За подготовку и проведение огневых работ должны быть назначены ответственные лица из числа инженерно-технических работников, знающих условия подготовки и правила проведения огневых работ.

12.6 Лицо, ответственное за подготовку к проведению огневых работ, обязано:

- организовать выполнение мероприятий, указанных в наряде-допуске;

- проверить полноту и качество выполнения мероприятий, предусмотренных планом производства работ и нарядом-допуском;

- обеспечить своевременное проведение анализов воздушной среды на месте выполнения огневых работ и в полости трубопровода.

12.7 Лицо, ответственное за проведение огневых работ, обязано:

- организовать выполнение мероприятий по безопасному проведению огневых работ;

- провести инструктаж исполнителей огневых работ;

- проверить наличие квалификационных удостоверений и талонов по технике пожарной безопасности у исполнителей огневых работ, исправность и комплектность инструмента и средств для их выполнения, а также наличие и соответствие спецодежды, спецобуви и защитных щитков условиям проведения работ;

- обеспечить место проведения огневых работ первичными средствами пожаротушения, а исполнителей - дополнительными средствами защиты (противогазы, спасательные пояса, веревки и т.д.) и проконтролировать их правильное использование;

- непосредственно руководить огневыми работами, контролировать работу исполнителей;

- контролировать состояние воздушной среды на месте проведения огневых работ, в случае необходимости прекратить их и удалить работников на безопасное расстояние;

- после окончания огневых работ проверить место их проведения на отсутствие возможных источников возникновения огня.

12.8 При подготовке к огневым работам начальник центральной ремонтной службы (ЦРС) или лицо его замещающее, совместно с ответственными за подготовку и проведение этих работ определяет опасную зону, границы которой четко обозначают предупредительными знаками и надписями.

12.9 Место проведения огневых работ (при отсутствии несгораемого защитного настила) должно быть очищено от горючих веществ и материалов в радиусе не менее 5 м, а от взрывоопасных материалов и оборудования (газогенераторов, газовых баллонов и т.п.) - не менее 10 м.

12.10 Машины, оборудование и инструменты, применяемые при выполнении огневых работ, должны соответствовать требованиям ПОТ Р М-020-2001 «Межотраслевые правила по охране труда при электро- и газосварочных работах» [29] и «Правил безопасности при работе с инструментами и приспособлениями» [27].

12.11 Стоянки машин и механизмов, площадки для оборудования, склады горюче-смазочных материалов должны быть размещены за пределами охранной зоны нефтепровода.

12.12 Места для курения разрешается устраивать на расстоянии не ближе 100 м от места производства огневых работ.

12.14 Колонна, выполняющая демонтаж нефтепровода, должна иметь следующие первичные средства пожаротушения:

- кошма войлочная или асбестовое полотно размером 2×2 м - 10 шт.;

- огнетушители порошковые ОП-10 или углекислотные ОУ-6, ОУ-10 - 10 шт. или один огнетушитель ОП-100;

- лопаты, топоры, ломы пожарные.

Перечисленные средства пожаротушения должны перемещаться вместе с колонной. Они должны быть окрашены в соответствии с требованиями ГОСТ 12.4.026, НПБ 160-97 [30].

Самоходная техника, в том числе автотранспортные средства, передвижные электростанции должны быть оснащены не менее, чем двумя огнетушителями ОУ-5-10, ОП 5-10 (каждая единица техники).

12.15 Перед началом и во время проведения огневых работ должен осуществляться контроль за состоянием газовоздушной среды в демонтируемом нефтепроводе и в рабочей зоне.

В случае повышения содержания горючих паров выше предельно-допустимых взрывоопасных концентраций (ПДВК), огневые работы должны быть прекращены.

Работы могут быть возобновлены только после выявления или устранения причин загазованности и восстановления нормальной воздушной среды (содержание вредных веществ не выше ПДК).

Ответственный за пожарную безопасность объекта обязан обеспечить проверку места проведения огневых работ или других пожароопасных работ в течение 3 ч после их окончания.

12.16 Перед проведением работ по вырезке катушки полость трубопровода должна быть проверена на отсутствие остатков нефти в точке реза и загазованности. Проверка осуществляется через контрольное отверстие диаметром 0,8…1,2 см у нижней образующей трубы с помощью воздухозаборной трубки с принятием необходимых мер, исключающих подсос свежего воздуха. Остатки нефти необходимо откачать через врезанный вантуз в передвижные емкости.

12.18 На месте проведения работ по вырезке катушки (при отсечении демонтируемого участка нефтепровода от действующего) должен находиться пожарный автомобиль, заполненный водой и пенообразователем, укомплектованный пожарно-техническим вооружением.

Пожарная автоцистерна устанавливается не ближе 30 м от места производства работ, развертываются пожарные рукава, производится опробование качества вырабатываемой пены. Не далее 3 м от края траншеи (котлована) выставляется пожарный пост. Водитель пожарной автоцистерны должен постоянно находиться у пульта управления пожарным насосом и действовать по команде ответственного за производство огневых работ.

Все средства пожаротушения должны находиться в готовности (исправном состоянии) на всем протяжении работ. При отрицательной температуре воздуха вода и пенообразователь в цистерне должны подогреваться для предотвращения их замерзания.

12.19 При наличии в полости нефтепровода газовоздушной смеси во взрывоопасной концентрации резка труб должна проводиться с помощью труборезных машин во взрывобезопасном исполнении или кумулятивными зарядами с соблюдением мер безопасности.

12.20 Автомобили, спецтехника, оборудование и механизмы, а также технические средства, не используемые при работе, следует располагать по отношению к месту производства огневых работ с наветренной стороны на расстоянии, не ближе 100 м. Выхлопные трубы двигателей внутреннего сгорания машин должны быть оборудованы искрогасителями.

12.21 Освещение рабочих площадок должно производиться светильниками и прожекторами во взрывозащищенном исполнении, для местного освещения необходимо применять светильники во взрывозащищенном исполнении, напряжением не более 12 В.

13 Охрана окружающей среды

13.1 Организационно-технические мероприятия по охране окружающей среды при демонтаже магистральных нефтепроводов должны выполняться с соблюдением требований законодательных и нормативных документов, в том числе ГОСТ 17.1.3.05, ГОСТ 17.1.3.10, ГОСТ 17.4.3.02, ГОСТ 17.5.3.04, ВСН 014-89 [31].

Подрядная организация, выполняющая демонтаж, несет ответственность за соблюдение проектных решений, связанных с охраной окружающей природной среды, а также за соблюдение государственного законодательства по охране природы.

13.2 Мероприятия по охране окружающей среды при демонтаже нефтепроводов должны выполняться с целью полного исключения или сведения к минимуму ущерба, наносимого природным земельным ресурсам, освоенным земельным ресурсам, природным водным ресурсам, атмосферному воздуху, недрам, растительности, животному миру, ландшафтам, заповедникам и заказникам. Работы должны проводиться в соответствии с требованиями [32].

13.3 К основным природоохранным мероприятиям при демонтаже относятся:

- рекультивация плодородного слоя почвы;

- снижение отрицательного воздействия технологического процесса на окружающую среду (недопущение разлива горюче-смазочных материалов, слива отработанного масла, мойку автомобилей в неустановленных местах, захламления территории отходами, возгорания естественной растительности);

- ликвидация последствий воздействия технологического процесса демонтажа на окружающую среду (восстановление водосборных канав, дренажных систем, снегозадерживающих сооружений, дорог, расположенных в пределах полосы отвода земель или пересекающих эту полосу, восстановление природного ландшафта).

13.4 При снятии, перемещении и хранении плодородного слоя почвы не допускается смешивание с подстилающими породами, загрязнение горюче-смазочными материалами и жидкостями. Запрещается использование плодородного слоя почвы для засыпки траншеи, приямков, котлованов и т.д.

13.5 Для предотвращения засорения полосы отвода земель следует проводить сбор старой изоляции. Очистные машины должны быть оборудованы устройствами для сбора снимаемой изоляции. Старую изоляцию следует собирать в мусорные контейнеры и вывозить на захоронение или переработку.

13.6 С целью уменьшения воздействия на окружающую среду все работы по демонтажу, а также движение машин и механизмов должны выполняться в пределах полосы отвода земли.

13.7 Воду, вытесненную из нефтепровода, не допускается сливать в реки, озера, другие водоемы и на открытый грунт без предварительной очистки согласно [33].

Воду, вытесненную из трубопровода (сточную воду), следует направлять в резервуары НПС или специально сооруженные резервуары-отстойники. В резервуарах (отстойниках) проводится отделение от сточной воды эмульгированной нефти и твердых частиц. Очищенные в отстойнике сточные воды можно использовать в системе поддержания пластового давления. Если такие потребители отсутствуют, сточные воды следует доочистить в напорных отстойниках типа ОПФ-3000 с коалесцирующими патронными фильтрами или на установках мембранной очистки с полупроницаемыми фильтрами.

13.8 Содержание в воде нефтепродуктов, механических примесей и солей проводится отбором проб.

13.9 Очищенные сточные воды разрешается сбрасывать в реки и водоемы, если концентрация нефти и взвешенных частиц в водоеме не превысит предельно-допустимых.

В таблице 11 приведены значения ПДК для нефти и нефтепродуктов в воде водоемов санитарно-бытового пользования и рыбохозяйственных водоемов.

Таблица 11 - Значения ПДК вредных веществ

Наименование ингредиентов

Лимитирующий показатель вредности

ПДК, мг/дм3

в воде водных объектов хозяйственно-питьевого и культурно-бытового назначения

в воде водных объектов, используемых для рыбохозяйственных целей

1

2

3

4

Нефть:

органолептический

 

 

многосернистая

0,1

-

прочая

0,3

0,05

Взвешенные частицы

органолептический

0,75

0,75

13.10 В зависимости от степени очистки, сточные воды могут быть сброшены на малоценные грунты, непригодные для сельскохозяйственного использования по согласованию с местными природоохранными органами.

13.11 За нарушение окружающей среды (разрушение почвенно-растительного покрова, загрязнение водоемов, допущение пожаров и т.п.) вне пределов полосы отвода земель, в также вне согласованных в установленном порядке маршрутов постоянных и временных дорог, несут персональную, дисциплинарную, административную и материальную ответственность лица, непосредственно нанесшие ущерб окружающей среде.


Приложение А

(обязательное)

ЖУРНАЛ
учета очистки полости нефтепровода ___________________________

название нефтепровода

диаметром ____________ мм

Участок очистки от км (ПК) до км (ПК)

Длина участка, км

Дата и время очистки

Количество и тип принесенных отложений

Результаты очистки

Тип очистного устройства и его техническое состояние до и после очистки

Давление, кгс/см2

Производительность, м3

Эффективный диаметр, мм

пуск

прием

в начале участка

в конце участка

до очистки

после очистки

до очистки

после очистки

до очистки

после очистки

до очистки

после очистки

1

2

3

4

5

6

7

8

9

10

11

12

13

14

 


Приложение Б

(обязательное)

ПЕРЕЧЕНЬ И ФОРМЫ
исполнительной документации при демонтаже
магистральных нефтепроводов

Б.1 При передаче участка нефтепровода для демонтажа Заказчиком производителю работ (Подрядчику) представляется следующая документация:

Форма 1. Акт передачи участка нефтепровода Заказчиком производителю работ для демонтажа.

Форма 2. Акт на закрепление трассы, площадки.

Форма 3. Разрешение на право производства работ.

Б.2 При демонтаже участка нефтепровода приемочной комиссии предъявляется исполнительная документация:

Б.2.1 Исполнительная документация, подготавливаемая подрядной организацией (РСУ).

Форма 4. Ведомость демонтированной арматуры и оборудования.

Форма 5. Справка о проведении рекультивации на участке демонтажа нефтепровода.

Форма 6. Акт на очистку полости нефтепровода.

Подрядной организацией (РСУ) также подготавливаются:

утвержденная проектно-сметная документация; комплект рабочих чертежей с надписями о соответствии выполненных в натуре работ или внесенными изменениями.

Б.2.2 Исполнительная документация, составляемая эксплуатационной службой ОАО МН.

Форма 7. Справка о сметной и фактической стоимости демонтажа участка нефтепровода.

Документы по временному отводу земель - форма составления свободная.

Б.2.3 Комплект исполнительной производственной документации, составленный производителем работ (РСУ).

Форма 8. Журнал замечаний и предложений по ведению работ по демонтажу нефтепровода.

Форма 9. Журнал земляных работ.

Форма 10. Журнал работ по резке нефтепровода в шурфах и резке демонтированного нефтепровода на отдельные трубы или секции.

Форма 11. Журнал очистных работ.

Б.2.4 Текущая документация (исполнительная производственная документация), составленная производителем работ (РСУ), предъявляется Заказчику инспектирующим организациям по их требованию.

Форма 12. Разрешение на вывозку секций (звеньев) труб на базу.

При завершении работ по демонтажу участка нефтепровода составляется акт.

Форма 13. Акт о завершении работ по демонтажу участка нефтепровода.

Вся документация после завершения работ должна храниться у Заказчика.

Форма 1

АКТ
ПЕРЕДАЧИ УЧАСТКА НЕФТЕПРОВОДА
ЗАКАЗЧИКОМ ПРОИЗВОДИТЕЛЮ РАБОТ ДЛЯ ДЕМОНТАЖА

«_____» _______________ _____ г.

Мы, нижеподписавшиеся, составили настоящий акт о передаче участка нефтепровода ______________________________________________________________

диаметром _______ мм от км/ПК _________________ до км/ПК ____________________

общей протяженностью _______________________ км под демонтаж Заказчиком

___________________________________________________________________________

(наименование РУМН)

производителю работ _______________________________________ на период работ от

(подрядная организация)

«_____» _________________ _____ г. до «_____» _________________ _____ г.

Заказчиком выполнены следующие подготовительные работы:

___________________________________________________________________________

___________________________________________________________________________

По настоящему акту от Заказчика ___________________________________________

Подрядчику ____________________________ передается следующая документация:

1 Рабочий проект на капитальный ремонт:

- пояснительная записка;

- проект организации демонтажа;

- сметная документация;

- рабочие чертежи.

2 Документы по временному отводу земель:

___________________________________________________________________________

___________________________________________________________________________

3 Ведомость пересечений ремонтируемого участка нефтепродуктопровода с коммуникациями с указанием пикетов пересечений и технические условия от владельцев коммуникаций на производство работ в зоне пересечений:

___________________________________________________________________________

___________________________________________________________________________

Примечание - Документация, не оговоренная в настоящем акте, может быть передана Заказчиком производителю работ по его просьбе.

Начальник эксплуатирующей организации

___________

(Ф.И.О)

(дата)

___________

(подпись)

___________

 

Начальник подрядной организации (РСУ)

___________

(Ф.И.О)

(дата)

___________

(подпись)

___________

 

Форма 2

 

 

Демонтаж нефтепровода

РУМН ______________________

 

______________________________

РСУ ________________________

 

диаметром _________________ мм

Производитель

 

от км/ПК _____________________

работ _______________________

 

до км/ПК _____________________

АКТ №
на закрепление трассы, площадки

от «____» _____________ ______ г.

Составлен представителями: ТИСИЗ, службой топографов (геодезистов)

___________________________________________________________________________,

(должность, организация Ф.И.О.)

проектной организации - руководители проекта _________________________________,

(должность, организация, Ф.И.О.)

Заказчика __________________________________________________________________,

(должность, организация, Ф.И.О.)

подрядной организации ______________________________________________________

(должность, организация, Ф.И.О.)

о том, что произведено уточнение положения нефтепровода согласно рабочим чертежам и выполнены следующие работы:

1 Установлены дополнительные знаки (вешки, столбы и пр.) на трассе и на границах ремонтного участка.

2 Произведена разбивка пикетажа на участке от ПК ________________ до ПК _________________________ по всей трассе, в местах переходов через естественные и искусственные препятствия и подземные коммуникации на ПК ___________________________________________________________________________

3 Установлены дополнительные реперы на ПК ________________________________

(указать высотные

___________________________________________________________________________

отметки установленных реперов)

___________________________________________________________________________

4 Закреплены трассы коммуникаций ______________________________, проходящих в одном техническом коридоре, вновь прокладываемая трасса при демонтаже с заменой труб.

Ответственность за сохранность знаков после закрепления возлагается на подрядную организацию.

Сдал:

 

 

 

Представитель проектной организации

________________________

(должность, организация, Ф.И.О.)

___________

(подпись)

_________

(дата)

Геодезист

________________________

(должность, организация, Ф.И.О.)

___________

(подпись)

_________

(дата)

 

 

 

 

Принял-сдал:

 

 

 

Представитель Заказчика

________________________

(должность, организация, Ф.И.О.)

___________

(подпись)

_________

(дата)

 

________________________

(должность, организация, Ф.И.О.)

___________

(подпись)

_________

(дата)

 

 

 

 

Принял:

 

 

 

Представитель подрядной организации

________________________

(должность, организация, Ф.И.О.)

___________

(подпись)

_________

(дата)

Форма 3

 

 

Демонтаж нефтепровода

РУМН ______________________

 

______________________________

РСУ ________________________

 

диаметром _________________ мм

Производитель

 

от км/ПК _____________________

работ _______________________

 

до км/ПК _____________________

РАЗРЕШЕНИЕ
на право производства работ
от «____» ____________________ _____ г.

Разрешается произвести работы _____________________________________________

(указать вид работ)

на трассе нефтепровода ______________________________________________________

на участке от км/ПК _____________________ до км/ПК ___________________________

общей протяженностью ____________________________________________________ м.

Регламентированные проектом подготовительные работы _______________________

___________________________________________________________________________

(перечислить выполненные работы)

___________________________________________________________________________,

завершение которых технологически необходимо для начала указанных выше основных работ в пределах полосы отвода, в том числе и закрепление трассы нефтепровода, выполнены в полном объеме, в соответствии с проектом, чертежом № ____________________, действующими нормами и правилами и приняты по акту № _______________, журналу № ____________________ от __________________________

(дата)

М.П.

Руководитель Заказчика

______________

(Ф.И.О.)

______________

(подпись)

______________

(дата)

 

 

 

 

Руководитель подрядной организации

______________

(Ф.И.О.)

______________

(подпись)

______________

(дата)

Форма 4

 

 

Демонтаж нефтепровода

РУМН ______________________

 

______________________________

РСУ ________________________

 

диаметром _________________ мм

Производитель

 

от км/ПК _____________________

работ _______________________

 

до км/ПК _____________________

ВЕДОМОСТЬ
ДЕМОНТИРОВАННОЙ АРМАТУРЫ И ОБОРУДОВАНИЯ

№№ п/п

Наименование оборудования, основные технические характеристики, марка, номер ТУ

Изготовитель (страна, предприятие)

Единица измерения

Количество

ПК/км или место расположения арматуры и оборудования

1

2

3

4

5

6

 

 

 

 

 

 

 

 

 

 

 

 

 

 

 

 

 

 

 

 

 

 

 

 

 

 

 

 

 

 

 

 

 

 

 

 

 

 

 

 

 

 

 

 

 

 

 

 

 

Представитель подрядной организации

______________

(Ф.И.О.)

______________

(подпись)

______________

(дата)

 

 

 

 

Представитель Заказчика

______________

(Ф.И.О.)

______________

(подпись)

______________

(дата)

Форма 5

 

 

Демонтаж нефтепровода

РУМН ______________________

 

______________________________

РСУ ________________________

 

диаметром _________________ мм

Производитель

 

 

работ _______________________

 

 

СПРАВКА
о проведении рекультивации земель
на участке демонтажа нефтепровода
______________________________________

от км/ПК ____________________до км/ПК ____________________

от км/ПК ____________________до км/ПК ____________________

Составлена настоящая справка о том, что в период с ______________ по __________,

выполнены следующие виды работ (с указанием объема и стоимости):

планировочные _____________________________________________________________

мелиоративные _____________________________________________________________

противоэрозионные _________________________________________________________

снятие и нанесение плодородного слоя почвы и потенциально-плодородных пород (с указанием площади и его толщины) ____________________________________________

Все работы выполнены в соответствии с утвержденными проектными материалами

___________________________________________________________________________

(перечислить и указать, когда и кем составлены, утверждены, выданы)

В случае отступления указать по каким причинам, с кем и когда согласовывались допущенные отступления.

Рекультивированный участок площадью ____ га пригоден (непригоден с указанием причин) для использования в сельском хозяйстве.

Руководитель подрядной организации

______________

(Ф.И.О.)

______________

(подпись)

______________

(дата)

 

 

 

 

Землевладелец

______________

(Ф.И.О.)

______________

(подпись)

______________

(дата)

Форма 6

 

 

Демонтаж нефтепровода

РУМН ______________________

 

______________________________

РСУ ________________________

 

диаметром _________________ мм

Производитель

 

от км/ПК _____________________

работ _______________________

 

до км/ПК _____________________

АКТ №
на очистку полости нефтепровода

от «____» _____________ ______ г

Составлен комиссией, назначенной приказом _________________________________

___________________________________________________________________________

(наименование организации)

от «____» _________________________ _____ г. в составе:

Председатель комиссии: ___________________________________________________

(должность, организация, Ф.И.О.)

Члены комиссии: _________________________________________________________

_________________________________________________________

_________________________________________________________

_________________________________________________________

о том, что произведена _____________________ кратная очистка полости ___________

__________________________ нефтепровода, диаметром _______________________ мм

на участке от км/ПК ____________________ до км/ПК ______________________ общей протяженностью _______________________ м.

Очистка выполнена в соответствии с требованиями «Положения о проведении работ по очистке внутренней полости магистральных нефтепроводов», утв. АК «Транснефть» 21.03.98 г. проекта (специальной инструкции), согласованного и утвержденного «______» _____________________ г. в установленном порядке способом ____________

___________________________________________________________________________

(продувки. промывки, протягивания, вытеснения загрязнения в потоке

___________________________________________________________________________

жидкости, вид рабочей среды - газ, вода и т.д.)

с пропуском ________________________________ в количестве _________________ шт.

(указать тип очистного устройства)

Очистка внутренней полости трубопровода производилась до выхода всех запасованных поршней и чистого ______________________________________________

(воздуха, газа, воды и т.д.)

Заключение комиссии: ____________________________________________________

(указать результаты приемки очистки полости трубопровода,

___________________________________________________________________________

какие последующие работы разрешается производить)

___________________________________________________________________________

Председатель комиссии

______________

(Ф.И.О.)

______________

(подпись)

______________

(дата)

 

 

 

 

Члены комиссии

______________

(Ф.И.О.)

______________

(подпись)

______________

(дата)

 

______________

(Ф.И.О.)

______________

(подпись)

______________

(дата)

 

______________

(Ф.И.О.)

______________

(подпись)

______________

(дата)

Форма 7

РУМН _______________________

РСУ _________________________

Производитель

работ _______________________

СПРАВКА
о сметной и фактической стоимости
демонтажа участка нефтепровода
______________________________________

диаметром ___________ мм

от км/ПК ____________________

до км/ПК ____________________

«_____» _____________ ______ г.

Сметная стоимость, тыс. руб.

Фактическая стоимость, тыс. руб.

Всего

СМР

Оборудование

Всего

СМР

Оборудование

Прочие

1

2

3

4

5

6

7

 

 

 

 

 

 

 

 

 

 

 

 

 

 

 

 

 

 

 

 

 

 

 

 

 

 

 

 

 

 

 

 

 

 

 

 

 

 

 

 

 

 

 

 

 

 

 

 

 

 

 

 

 

 

 

 

 

 

 

 

 

 

 

 

 

 

 

 

 

 

М.П.

Руководитель Заказчика

______________

(Ф.И.О.)

______________

(подпись)

______________

(дата)

 

 

 

 

Главный бухгалтер

______________

(Ф.И.О.)

______________

(подпись)

______________

(дата)

 


Форма 8

РУМН _______________________

РСУ _________________________

Производитель

работ ________________________

ЖУРНАЛ
замечаний и предложений по ведению работ демонтажу
нефтепровода ________________________ диаметром ________ мм
на участке от км/ПК ________________ до км/ПК _______________

Начало работ _______________

Окончание работ _______________

Дата записи

Содержание замечаний и предложений (выявленные отступления от проектно-сметной документации, нарушения СНиП и т.д.)

Запись произвел (должность, организация, Ф.И.О. контролирующего лица)

С записью ознакомлен: дата, подпись ответственного за ведение журнала

Сведения об устранении замечаний

Ф.И.О., должность, подпись ответственного лица, проверяющего журнал

1

2

3

4

5

6

 

 

 

 

 

 

 

 

 

 

 

 

 

 

 

 

 

 

 

Руководитель подрядной организации

______________

(Ф.И.О.)

______________

(подпись)

______________

(дата)

Форма 9

РУМН ________________________

РСУ _________________________

Производитель

работ ________________________

ЖУРНАЛ
земляных работ при демонтаже
нефтепровода ________________________ диаметром ________ мм
на участке ________________ от км/ПК ____________ до км/ПК __________

Начало работ __________________

Окончание работ __________________

Дата записи

Границы участка

Длина участка, км

Объем выполненных работ

Начало км/ПК

Конец км/ПК

Планировка трассы, 100 м2

Механизированная разработка траншеи, 100 м3

Доработка траншеи вручную, 100 м3

Механизированная засыпка траншеи, 100 м3

Обустройство трассы, 100 м3

Рекультивация плодородного слоя почвы, 1000 м3

1

2

3

4

5

6

7

8

9

10

Продолжение формы 9

Производство земляных работ

Замечания контролирующих лиц

Отметка ответственного лица об устранении замечаний

Сдача приемка работ

Примечания

Толщина и ширина рекультивируемого плодородного слоя, м

Глубина, ширина траншеи по дну, м

Должность и подпись руководителя работ

Должность и подпись лица, принявшего работу

11

12

13

14

15

16

17

Форма 10

 

 

Демонтаж нефтепровода

РУМН ______________________

 

______________________________

РСУ ________________________

 

диаметром _________________ мм

Производитель

 

от км/ПК _____________________

работ _______________________

 

до км/ПК _____________________

ЖУРНАЛ
Работ по резке нефтепровода в шурфах и резке демонтированного
нефтепровода на отдельные трубы или секции

Дата проведения работ

Резка в шурфе

Резка демонтируемого нефтепровода

Способ резки

Применяемые кумулятивные заряды

Марка трубореза

Длина вырезанной «катушки»

Исполнитель

Способ резки

Применяемые кумулятивные заряды

Марка трубореза

Длина вырезанной «катушки»

Исполнитель

1

2

3

4

5

6

7

8

9

10

11


Форма 11

 

 

Демонтаж нефтепровода

РУМН ______________________

 

______________________________

РСУ ________________________

 

диаметром _________________ мм

Производитель

 

от км/ПК _____________________

работ _______________________

 

до км/ПК _____________________

ЖУРНАЛ
очистных работ при демонтаже
нефтепровода _______________ диаметром ______________ мм
на участке от км/ПК ______________ до км/ПК ______________

Начало работ ________________________

Окончание работ _______________________

Дата проведения работ

Привязка участка нефтепровода, км/ПК

Температура окружающего воздуха, °С

Степень очистки поверхности нефтепровода

Подписи о приемке работ

Представитель службы контроля качества

Руководитель работ (мастер, прораб и др.)

1

2

3

4

5

6

Форма 12

 

 

Демонтаж нефтепровода

РУМН ______________________

 

______________________________

РСУ ________________________

 

диаметром _________________ мм

Производитель

 

от км/ПК _____________________

работ _______________________

 

до км/ПК _____________________

РАЗРЕШЕНИЕ
на вывозку секций (звеньев) труб на трубную базу

от «____» _____________ _____ г.

Разрешается вывозка секций (звеньев) труб ___________________________________

___________________________________________________________________________

(номера секций (звеньев) труб)

___________________________________________________________________________

___________________________________________________________________________

___________________________________________________________________________

на трубную базу ____________________________________________________________

(наименование объекта, пункта назначения)

Перечисленные секции (звеньев) разрезаны при демонтаже нефтепровода___________________________ диаметром ______________________ мм.

Представитель технадзора Заказчика

________________________

(должность, организация, Ф.И.О.)

___________

(подпись)

_________

(дата)

Форма 13

 

 

Демонтаж нефтепровода

РУМН ______________________

 

______________________________

РСУ ________________________

 

диаметром _________________ мм

Производитель

 

от км/ПК ______ до км/ПК ______

работ _______________________

 

 

АКТ № _____
от «____» _____________ _____ г.
о завершении работ по демонтажу участка
нефтепровода ____________________________
от км/ПК _____________ до км/ПК __________

Рабочая комиссия, назначенная _____________________________________________

(наименование организации,

___________________________________________________________________________

назначившей рабочую комиссию, № и дата приказа или распоряжения)

с участием представителей привлеченных организаций ___________________________

(наименования организаций)

составили настоящий акт о нижеследующем:

1 Капитальный ремонт участка нефтепровода ________________________ от км/ПК ________________ до км/ПК ______________ диаметром ______________ мм, общей протяженностью ________________ км выполнен ________________________________

(наименование подрядной организации)

__________________ согласно заданию (договору) на демонтаж № ________________ от ________________ , рабочего проекта и проекта производства работ.

2 Демонтаж был осуществлен:

начало работ ________________________ окончание работ ________________________.

3 Рабочей комиссии представлена следующая документация:

___________________________________________________________________________

___________________________________________________________________________

___________________________________________________________________________

___________________________________________________________________________

___________________________________________________________________________

На основании рассмотрения представленной документации рабочая комиссия устанавливает следующее:

а) демонтаж участка нефтепровода осуществлен с отступлением / без отступления от утвержденного рабочего проекта

___________________________________________________________________________

(при наличии отступления указать причину, кем и когда решено, № документа)

б) полная сметная стоимость демонтажа (по утвержденной сметной документации) ________________________________________________.

Фактические затраты (для заказчика) _______________________________________.

Заключение

Работы демонтажу участка нефтепровода ________________ ____________________

_________________________________________ выполнены в соответствии с проектом.

Решение рабочей комиссии

Участок нефтепровода _______________________ диаметром _________ мм от км/ПК ___________________ до км/ПК ____________________ общей протяженностью _______________ км считать демонтированным.

Председатель рабочей комиссии

______________

(должность)

______________

(Ф.И.О.)

______________

(подпись)

 

 

 

 

Члены комиссии

______________

(должность)

______________

(Ф.И.О.)

______________

(подпись)

 

______________

(должность)

______________

(Ф.И.О.)

______________

(подпись)

 

______________

(должность)

______________

(Ф.И.О.)

______________

(подпись)

Приложение В

(обязательное)

ПЕРЕЧЕНЬ МАШИН И МЕХАНИЗМОВ ДЛЯ ДЕМОНТАЖА
МАГИСТРАЛЬНЫХ НЕФТЕПРОВОДОВ

Таблица В.1 - Перечень машин и механизмов для демонтажа магистральных нефтепроводов

Наименование машин

Рекомендуемая марка машины

Кол-во на одну колонну, шт.

Диаметр нефтепровода, мм

1

2

3

4

В.1.1 Перечень машин и механизмов для демонтажа нефтепровода с разработкой траншеи

1 Бульдозер на базе трактора мощностью до 240 кВт (325 л.с.)

Б-170 М.01ЕР или ДЗ-171, ДЗ-171.1, ДЗ-182

2

219 - 720

Комацу Д-85А, Комацу Д-155А, КАТ Д 7Х

2

820 - 1220

2 Экскаватор одноковшовый на гусеничном ходу с емкостью ковша от 0,65 до 1,2 м3 или экскаватор траншейный роторный

ЭО-4225А, Хитачи ЕХ-200, Комацу РС-200, КАТО

2

219 - 1220

ЭТР-254 АМ или ЭТР-254АМ-01

1

720 - 1220

3 Трубоукладчик грузоподъемностью, т:

 

 

 

от 20 до 40

ТГ321, Комацу Д-85

2

219 - 820

от 50 до 90

Комацу Д-155 или Комацу Д-355С

3

1020 - 1220

4 Трубоукладчик грузоподъемностью до 10 т:

или кран автомобильный:

ТГ61

1

219 - 1220

КС-3574, КС-4574А,

КС-45714

5 Подвеска троллейная роликоканатная грузоподъемностью, т:

 

 

 

10,0

РТП-325 РС

2

219 - 325

12,5

РПТ-377 РС

2

325 - 377

15,0

РТП-529 РС

2

426 - 530

35,0

РТП-720 РС

2

720 - 820

50,0

РТП-1020 РС

3

1020

60,0

РТП-1220 РС

3

1020 - 1220

или подвеска троллейная грузоподъемностью, т

 

 

 

6,3

ТПП 421

2

219-426

12,5

ТПП 631 М

2

530-630

20,0

ТПП 821 М

2

720-820

32,0

ТПП 1021 М

3

1020

63,0

ТПП 1421 М

3

1220

6 Клещевой захват

КЗ 221

1

219

КЗ 321

1

325

КЗ 371

1

377

КЗ 531А или КЗ 5

1

530

КЗ 721А или КЗ 7

1

720

КЗ 821А или КЗ 8

1

820

КЗ 1022А

1

1020

КЗ 1223А

1

1220

7 Машина очистная

МПП-325

1

219 - 325

ОМ-530Э или ОМГ-530

1

530

ОМ-820Э или ОМГ-820М

1

630 - 820

ОМ-1220Э или ОМГ-1220М

1

1020 - 1220

8 Передвижная электростанция мощностью 60 кВт

АД-60С-Р или ЭД 60

1

219 - 1220

9 Труборез

«Файн»

1

219 - 1220

или машина гидравлическая для безогневой резки труб

352 - 218

или установка плазменной резки труб

УПР 180/350-4М

или устройство для газокислородной резки труб,

УКР-3

или машина для резки труб

МРТ 219 - 820,

МРТ 530 - 1220

В.1.2 Перечень машин и механизмов для демонтажа с рыхлением грунта над нефтепроводом

1 Бульдозер на базе трактора мощностью до 228 кВт (310 л.с.)

Б-170 М.01ЕР или ДЗ-171, ДЗ-171.1, ДЗ-182, КАТ Д-7Х, Комацу Д-85А

2

219 - 530

2 Бульдозер-рыхлитель на базе трактора

Б-170М1.01ЕР, или Б-170М1.03ЕР, или Б-10.02ЕР ДЗ-116А

1

219 - 530

3 Трубоукладчик грузоподъемностью, т:

 

 

 

до 10

ТГ-61

2

219 - 325

от 20 до 40

ТГ-321 или КАТ-572G, или Комацу Д-85С

2

377 - 530

4 Трубоукладчик грузоподъемностью до 10 т или кран автомобильный

ТГ 61 или

1

219 - 530

КС-3574

КС-4574А, 45714

5 Подвеска троллейная, роликоканатная грузоподъемностью, т:

 

 

 

10

РТП-325РС

2

219 - 325

12,5

РТП-377РС

2

325 - 377

15

РТП-529РС

2

508 - 530

или подвеска троллейная грузоподъемностью, т:

 

 

 

6,3

ТПП 421М

2

219 - 426

12,5

ТПП 631М

2

219 - 530

6 Клещевой захват

КЗ 221

1

219

КЗ 321

1

325

КЗ 371

1

377

КЗ 5

1

530

7 Машина очистная

МПП-325

1

219 - 325

ОМ 530Э или ОМГ-530

1

377 - 530

8 Передвижная электростанция мощностью 60 кВт:

АД-60С-Р

1

219 - 530

9 Труборез

«Файн»

1

219 - 530

или машина для безогневой резки труб

352 - 218

или установка плазменной резки труб

УПР 180/350-4М

или устройство для газокислородной резки труб

УКР-3

В.1.3 Перечень машин и механизмов для демонтажа с вытягиванием участка нефтепровода

1 Бульдозер на базе трактора мощностью до 228 кВт (310 л.с.)

Б-170 М.01ЕР или

2

219 - 426

ДЗ-171, ДЗ-171.1, ДЗ-182,

КАТ Д-7Х, Комацу Д-85А

2 Экскаватор одноковшовый на гусеничном ходу с емкостью ковша от 0,65 до 1,0 м3

ЭО-4225А или

1

219 - 426

Комацу РС-200, КАТО

Хитачи ЕР-200

3 Трубоукладчик грузоподъемностью, т:

 

 

 

до 10

ТГ-61

1

219 - 377

от 20 до 40

ТГ-321

1

219 - 426

4 Трубоукладчик грузоподъемностью до 10 т или кран автомобильный

ТГ 61 или

1

219 - 426

КС-3574

КС-4574А, 45714

5 Клещевой захват

КЗ 221

2

219

КЗ 321

2

325

КЗ 371

2

377

6 Лебедка тяговая с тяговым усилием 150…300 т.с.

ЛП152

1

219 - 426

7 Труборез или машина для безогневой резки труб или установка плазменной резки труб или устройство для газокислородной резки труб

«Файн» 352-218

1

219 - 426

УПР 180/350-4М

УКР-3

В.1.4 Рекомендуемый перечень машин и механизмов для выполнения вспомогательных операций

1 Мобильная радиостанция

Motorola MCS 2000

2

219 - 1220

2 Сигнализатор горючих газов и паров

СГГ-4М

1

219 - 1220

3 Автомобиль бортовой высокой проходимости (6×6)

Урал 4320-10 или КамАЗ-4310

1

219 - 1220

4 Автобус специальной модели (для перевозки вахтовых бригад) на базе Урал-4320-01 или КамАз-43101 (6×6)

Модель 42112

1

219 - 1220

Модель 4208

5 Грузопассажирский автомобиль (4×4)

УАЗ-3309 «Фермер»

1

219 - 1220

6 Автоцистерна для перевозки топлива

АЦТ мод.46102 или АЦТ мод.56151

1

219 - 1220

7 Прицеп-цистерна для перевозки нефтепродуктов

ПЦТ мод.86361

4

219 - 1220

8 Автомобиль-мастерская

ПРМ модель ЛВ-85-01

1

219 - 1220

9 Автомобиль-цистерна для перевозки воды

АЦВ-5,0

1

219 - 1220

10 Прицеп-цистерна «Вода» емкостью 5600 л

Модель 8308

1

219 - 1220

11 Автоцистерна пожарная или  прицеп-цистерна «Вода» емкостью 5600 л и мотопомпа

АЦ-40

1

219 - 1220

Модель 8308

1

219 - 1220

МП-1600

1

219 - 1220

12 Плетевоз

ПВ-96

2

219 - 1220

13 Полуприцеп-тяжеловоз грузоподъемностью 52 т

ЧМЗАП-9990

2

219 - 1220

14 Тягач к прицепу-тяжеловозу грузоподъемностью 52 т

КЗКТ-7428

2

219 - 1220

15 Вагон-контора (административное помещение)

-

1

219 - 1220

16 Автомобиль-фургон, специально оборудованный для перевозки взрывчатых материалов

ГАЗ-33021 или УАЗ-3741

1

219 - 1220

17 Передвижная насосная установка

ПНУ-2

1

219 - 1220

Таблица В.2 - Основные технические характеристики машин и механизмов

Наименование и марка машин и механизмов

Основные технические характеристики

1

2

Средства для производства земляных работ

1 Бульдозер Б170М.01ЕР

База - трактор Т-170.01, мощность двигателя 125 кВт (170 л.с.), тип отвала полусферический и прямой, габариты 4393×1880×3065 мм, ширина отвала 3,31 (3,42) м. Масса 18479 кг. Изготовитель - ОАО «Челябинский тракторный завод», тракторный завод, г. Челябинск.

2 Бульдозер ДЗ-171

База - трактор Т-170, мощность двигателя 125 кВт (170 л.с.), размеры отвала: ширина 3200 мм, высота 1300 мм. Масса 17480 кг. Изготовитель - ОАО «Михневский ремонтно-механический завод», пос. Михнево Московской обл.

3 Бульдозер ДЗ-171.1

Тяговый класс базового трактора-10, мощность двигателя 125 кВт (170 л.с.), размеры поворотного отвала: ширина - 4100 мм, высота - 1140 мм, размеры неповоротного отвала: ширина - 3200 мм, высота - 1300 мм. Изготовитель - АО «Челябинский завод дорожных машин им. Колющенко», г. Челябинск

4 Бульдозер ДЗ-182

Базовая машина - трактор Т-170, мощность двигателя 125 кВт (170 л.с.), размеры неповоротного отвала: ширина 3200 мм, высота 1300 мм, масса - 15600 кг. Изготовитель - ОАО «Нефтемаш», г. Октябрьский, Башкортостан

5 Бульдозер Катерпиллер Д-7Х (КАТ Д-7Х)

Мощность двигателя 170 кВт (231 л.с.); объем грунта, перемещаемого отвалом 1,3 м3

6 Бульдозер

Комацу Д-85А

Мощность двигателя 165 кВт (225 л.с.), размеры отвала: длина 3700 мм; высота 1450 мм; объем грунта, перемещаемого отвалом 5,2 м3

7 Бульдозер

Комацу Д-155А

Мощность двигателя 235 кВт (320 л.с.); размеры отвала: длина 4130 мм; высота 1590 мм

8 Бульдозер-рыхлитель

Б-170М1.01ЕР

Базовая машина - трактор Т-170М1.01. Мощность двигателя 132 кВт (180 л.с.). Трехзубый рыхлитель. Изготовитель - ОАО «Челябинский тракторный завод», г. Челябинск

9 Бульдозер-рыхлитель

Б-170М1.03ЕР

Базовая машина - трактор Т-170М1.03. Мощность двигателя 132 кВт (180 л.с.). Шестикатковая тележка, трехзубый рыхлитель. Изготовитель - ОАО «Челябинский тракторный завод», г. Челябинск

10 Бульдозер-рыхлитель

Б-10.02ЕР

Базовая машина - трактор Т-10.02. Мощность двигателя 132 кВт (180 л.с.). Гидромеханическая трансмиссия трехзубый рыхлитель. Изготовитель - ОАО «Челябинский тракторный завод», г. Челябинск

11 Бульдозер Д3-116А

Рыхлительное оборудование - четырехзвенное с жестким креплением зуба, база трактор Т-130 мощностью 118 кВт (160 л.с.), габариты 6400×3220×3087 мм, масса 17722 кг. Изготовитель - ОАО «Челябинский завод дорожных машин им. Колющенко» г. Челябинск

12 Экскаватор

ЭО-4225А

Ходовая часть-гусеничная, двигатель ЯМЗ-238 ГМ2, мощностью 125 кВт, емкость ковша 0,6...1,42 м3, масса 26450 кг. Изготовитель - АО «Ковровский экскаваторный завод», г. Ковров

13 Экскаватор

хитачи Ех-200

Емкость ковша 0,7 м3, мощность двигателя 97 кВт (132 л.с.), максимальный радиус копания 9 м

14 Экскаватор

Комацу РС-200

Емкость ковша 0,7 м3, мощность двигателя 94 кВт (128 л.с.)

15 Экскаватор КАТО

Емкость ковша 1,0 м3

 

16 Экскаватор траншейный роторный

ЭТР 254 АМ

Ходовая часть - гусеничная, мощность двигателя
245 кВт, число ковшей 24, диаметр ротора 4410 мм, частота вращения ротора 7,66 об/мин, габаритные размеры в транспортном положении 14020×3200×4410 мм, масса 49500 кг. Изготовитель ОАО «Кропоткинский машиностроительный завод», г. Кропоткин, Краснодарский край

17 Экскаватор траншейный роторный

ЭТР 254 АМ-01

Ходовая часть - гусеничная, мощность двигателя
245 кВт, число ковшей 16, диаметр ротора 4410 мм, частота вращения ротора 7,66 об/мин, габаритные размеры в транспортном положении 14020×3200×4410 мм, масса 48000 кг. Изготовитель ОАО «Кропоткинский машиностроительный завод», г. Кропоткин, Краснодарский край

Средства для производства грузоподъемных операций

18 Трубоукладчик

ТГ-61

База - трактор ДТ-75Р-С3, грузоподъемность 6,3 т, момент устойчивости 156,9 кН·м, двигатель СМД-14 мощностью 55,17 кВт, вылет крюка 5,0 м, высота подъема крюка 4,85 м, габаритные размеры 4400×3500×6200 мм, масса 12500 кг. Изготовитель - Экспериментальный механический завод, «Газстроймаш», г. Москва

19 Трубоукладчик

ТГ-321

Грузоподъемность 32,0 т, момент грузовой устойчивости 800 кН·м, вылет стрелы 5,5 м. Изготовитель - Тракторный завод, г. Чебоксары

20 Трубоукладчик

Комацу Д-85С

Грузоподъемность 40,0 т, момент грузовой устойчивости максимальный 450 кН·м, допустимый 382,5 кН·м

21 Трубоукладчик

Катерпиллер-572G

(КАТ-572G)

Грузоподъемность 40,0 т, момент грузовой устойчивости 500 кН·м (максимальный), максимально возможный вылет стрелы 5,5 м

22 Трубоукладчик

Комацу Д-155

Грузоподъемность 70,0 т., момент грузовой устойчивости 800 кН·м, максимально возможный вылет стрелы 6,2 м

23 Трубоукладчик

Комацу Д-355С

Грузоподъемность 92,0 т момент грузовой устойчивости 1200 кН·м, максимально возможный вылет стрелы - 8,5 м

24 Кран автомобильный

КС-3574

База - автомобиль Урал, грузоподъемность 14 т, скорость передвижения 60 км-ч, масса 17800 кг. Изготовитель - АО «Урал АЗ», г. Миасс

25 Кран автомобильный

КС-4574А

Шасси - КРАЗ-250, грузоподъемность 22,5 т, вылет стрелы 2,4 - 18,4 м, высота поднятия 10,2 - 21,5 м, масса 23 т. Изготовитель - ВАТ «Дрогобычский завод автомобильных кранов», г. Дрогобыч, Украина

26 Кран автомобильный

КС-35714

База - автомобиль Урал-5557, грузоподъемность 15 т, длина стрелы (с грузом) 18 (25) м, масса 18360 кг. Изготовитель - ОАО Михневский ремонтно-механический завод, Московская обл., пос. Михнево

27 Лебедка тяговая

ЛП152

Тяговое усилие без полиспаста - 1470 кН (150 тс), максимальное тяговое усилие с полиспастом - 2940 кН (300 тс). Канатоемкость барабана - 500 м. Габаритные размеры - 9270×3200×3500, масса лебедки (собственная) - 45000 кг. Изготовитель - ОАО «Кропоткинский машиностроительный завод», г. Кропоткин, Краснодарский край

28 Подвеска троллейная роликоканатная

РТП-325 РС

Диаметр поднимаемого трубопровода
219 - 325 мм, грузоподъемность 10,0 т, габаритные размеры 700×660×1100 мм, масса 220 кг. Изготовитель - ЗАО «Дизель-Ремонт», г. Брянск

29 Подвеска троллейная роликоканатная

 РТП-377 РС

Диаметр поднимаемого трубопровода 325 - 377 мм, грузоподъемность 12,5 т, габаритные размеры 820×700×930 мм, масса 250 кг. Изготовитель - ЗАО «Дизель-Ремонт», г. Брянск

30 Подвеска троллейная роликоканатная

РТП-529 РС

Диаметр поднимаемого трубопровода 508 - 530 мм, грузоподъемность 15,0 т, габаритные размеры: 900×930×1320 мм, масса 390 кг. Изготовитель - ЗАО «Дизель-Ремонт», г. Брянск

31 Подвеска троллейная роликоканатная

РТП-720 РС

Диаметр поднимаемого трубопровода 720,
820 мм, грузоподъемность 35,0 тн, габаритные размеры: 1450×1225×1700 мм, масса 800 кг. Изготовитель - ЗАО «Дизель-Ремонт», г. Брянск

32 Подвеска троллейная роликоканатная

РТП-1020 РС

Диаметр поднимаемого трубопровода 1020 мм, грузоподъемность 50 тн, габаритные размеры: 1800×1520×2120 мм, масса 1600 кг. Изготовитель - ЗАО «Дизель-Ремонт», г. Брянск

33 Подвеска троллейная роликоканатная

РТП-1220 РС

Диаметр поднимаемого трубопровода 1020,
1220 мм, максимальная грузоподъемность 60,0 т, габаритные размеры в рабочем положении 2100×1700×2740 мм, масса 2150 кг. Изготовитель - ЗАО «Дизель-Ремонт», г. Брянск

34 Подвеска троллейная

ТПП 421 М

Диаметр поднимаемого трубопровода 219 - 426 мм, грузоподъемность 6,3 т,  масса 490 кг, габариты 1100×1100×1400 мм, материал покрытия катков - полиуретан. Изготовитель - ЗАО «Дизель-Ремонт», г. Брянск

35 Подвеска троллейная

ТПП 631 М

Диаметр поднимаемого трубопровода 426 - 630 мм, грузоподъемность 12,5 т, , масса 1085 кг, габариты 2500×1100×1550 мм, материал покрытия катков - полиуретан. Изготовитель - ЗАО «Дизель-Ремонт», г. Брянск

36 Подвеска троллейная

ТПП 821 М

Диаметр поднимаемого трубопровода 720 - 820 мм, грузоподъемность 20,0 т, масса 780 кг, габариты 1314×1500×1900 мм,  материал покрытия катков - полиуретан. Изготовитель - ЗАО «Дизель-Ремонт», г. Брянск

37 Подвеска троллейная

ТПП 1021 М

Диаметр поднимаемого трубопровода 1020 мм, грузоподъемность 32,0 т,  масса 1155 кг, габариты 2120×1720×2150 мм, материал покрытия катков - полиуретан. Изготовитель - ЗАО «Дизель-Ремонт», г. Брянск

38 Подвеска троллейная

ТПП 1421 М

Диаметр поднимаемого трубопровода 1220 - 1420 мм, грузоподъемность 63,0 т, габариты 2120×2034×2630 мм, масса 1400 кг, материал покрытия катков - полиуретан. Изготовитель - ЗАО «Дизель-Ремонт», г. Брянск

39 Клещевой захват

КЗ 221

Диаметр поднимаемой трубы 219 мм, максимальная грузоподъемность 2 т, Изготовитель - Завод «Газспецмашремонт», г. Лениногорск

40 Клещевой захват

КЗ 321

Диаметр поднимаемой трубы 325 мм, максимальная грузоподъемность 3,2 т, Изготовитель - Завод «Газспецмашремонт», г. Лениногорск

41 Клещевой захват

КЗ 371

Диаметр поднимаемой трубы 377 мм, грузоподъемность 4 т, Изготовитель - Завод «Газспецмашремонт», г. Лениногорск

42 Клещевой захват КЗ 5

Диаметр поднимаемой трубы 530 мм, максимальная грузоподъемность 3,7 т, Изготовитель - Завод «Газспецмашремонт», г. Лениногорск

43 Клещевой захват КЗ 7

Диаметр поднимаемой трубы 720 мм, максимальная грузоподъемность 5,0 т, Изготовитель - Завод «Газспецмашремонт», г. Лениногорск

44 Клещевой захват КЗ 8

Диаметр поднимаемой трубы 820 мм, максимальная грузоподъемность 6,5 т, Изготовитель - Завод «Газспецмашремонт», г. Лениногорск

45 Клещевой захват

КЗ 1022 А

Диаметр поднимаемой трубы 1020 мм, максимальная грузоподъемность 12,5 т, Изготовитель - Завод «Газспецмашремонт», г. Лениногорск

46 Клещевой захват

КЗ 1223 А

Диаметр поднимаемой трубы 1220 мм, максимальная грузоподъемность 16,0 т, Изготовитель - Завод «Газспецмашремонт», г. Лениногорск

47 Клещевой захват

КЗ 531 А

Диаметр поднимаемого трубопровода 530 мм, грузоподъемность 5 т, габариты 1450×950×370 мм, масса 290 кг, Изготовитель - ЗАО «Дизель-Ремонт», г. Брянск

48 Клещевой захват

КЗ 721 А

Диаметр поднимаемого трубопровода 720 мм, грузоподъемность 8 т, габариты 1780×1180×721 мм, масса 460 кг. Изготовитель - ЗАО «Дизель-Ремонт», г. Брянск

49 Клещевой захват

КЗ 821 А

Диаметр поднимаемого трубопровода 820 мм, грузоподъемность 10 т, габариты 1900×1360×821 мм, масса 570 кг. Изготовитель - ЗАО «Дизель-Ремонт», г. Брянск

50 Клещевой захват

КЗ 1022 А

Диаметр поднимаемого трубопровода 1020 мм, грузоподъемность 12,5 т, габариты 2200×1740×424 мм, масса 720 кг. Изготовитель - ЗАО «Дизель-Ремонт», г. Брянск

51 Клещевой захват

КЗ 1223 А

Диаметр поднимаемого трубопровода 1220 мм, грузоподъемность 16 т, габариты 2250×2000×460 мм, масса 1070 кг. Изготовитель - ЗАО «Дизель-Ремонт», г. Брянск

Средства для производства электросварочных работ

52 Труборез «Файн»

Диаметр разрезаемых труб 250 - 3000 мм, глубина резания при диаметре инструмента 200 мм от 46 до 33 мм, привод электрический или пневматический, масса 95 (89) кг. Изготовитель - К.Э. Файн Штутгард, Германия

53 Машина гидравлическая для безогневой резки труб 352 - 218

Машина предназначена для вырезки поврежденных участков трубопроводов диаметром от 325 до 1420 мм с одновременной разделкой кромок под сварку. Глубина резания до 16 мм, сходимость реза 0,5...3,0 мм, габариты 600´500´350 мм, масса (без цепей и рукавов) до 50 кг. Изготовитель - ОАО «Омскгидропривод», г. Омск

54 Установка плазменной резки труб 180/350-4М

Устройство предназначено для воздушно-плазменной резки черных и цветных металлов в ручном и полуавтоматическом режимах. Толщина резания 80 мм, габариты 800´1100´1700 мм. Масса 900 кг. Изготовитель - ОАО «Пензенское конструкторско-технологическое бюро арматуростроения», г. Пенза

55 Устройство для газокислородной резки труб УКР-3

Устройство предназначено для резки стальных труб в полевых условиях при строительстве и ремонте магистральных нефтепроводов диаметром 219...820 мм. Толщина резки трубы - до 25 мм. Размеры - 640´500´295 мм, масса - не более 12 кг. Изготовитель - ОАО «Пензенское конструкторско-технологическое бюро арматуростроения», г. Пенза

56 Машина для резки труб МРТ 219-820

Машина предназначена для вырезки поврежденных участков нефтепроводов диаметром 219...820 мм с одновременной разделкой кромок под сварку. Глубина резания - 8 - 12 мм, мощность - 1,5 кВт, время реза трубы - 18 - 69 мин. Изготовитель - ЦБПО филиал ОАО «Приволжскнефтепровод», г. Новокуйбышевск, Самарская область

57 Машина для резки труб МРТ 325-1220

Машина предназначена для вырезки поврежденных участков нефтепроводов диаметром 325...1220 мм с одновременной разделкой кромок под сварку. Глубина резания - 14 - 14,5 мм, мощность - 2,2 кВт, время реза трубы - 34 - 128 мин. Изготовитель - ЦБПО филиал ОАО «Приволжскнефтепровод», г. Новокуйбышевск, Самарская область

Средства для очистных работ

58 Машина очистная

МПП-325

Наружный диаметр обрабатываемого трубопровода 219, 273, 325 мм, суммарная мощность 13,2 кВт, число рабочих органов - 2, габаритные размеры (без пульта управления) 2500×1300×1050 мм, масса 1600 кг. Изготовитель - Экспериментально-механический завод ГУП «ИПТЭР», г. Уфа

59 Машина очистная

ОМГ-530

Наружный диаметр обрабатываемого трубопровода 377 - 530 мм, максимальная скорость рабочего хода 400м/ч, габаритные размеры (без пульта управления) 2810×1350×1600 мм , суммарная мощность 25,0 кВт, максимальный угол подъема 35 град.,  масса 1900 кг. Изготовитель - Экспериментально-механический завод ГУП «ИПТЭР», г. Уфа.

60 Машина очистная

ОМ 530 Э

Машина предназначена для удаления грязи, ржавчины, рыхлой окалины, старой изоляции (как пленочной так и битумной). Наружный диаметр обрабатываемого трубопровода 429...530 мм, установленная мощность - 19 кВт, число роторов - 2, габаритные размеры - 2600×1400×1600, масса - 2000 кг. Изготовитель - Завод «Транснефтемаш», ОАО «Верхневолжскнефтепровод», г. Великие Луки, Псковской обл.

61 Машина очистная

ОМГ-820М

Наружный диаметр обрабатываемого трубопровода 630 - 820 мм, максимальная скорость рабочего хода 400 м/ч, габаритные размеры (без пульта управления) 2100×1620×1800 мм. Суммарная мощность 34 кВт. Масса 2500 кг. Изготовитель - Экспериментально-механический завод ГУП «ИПТЭР», г. Уфа

62 Машина очистная

ОМ 820Э

Машина предназначена для удаления грязи, ржавчины, рыхлой окалины, старой изоляции (как пленочной так и битумной). Наружный диаметр обрабатываемого трубопровода 720...820 мм, установленная  мощность - 47 кВт, число роторов - 2, габаритные размеры - 2300×1800×2000 мм, масса - 2460 кг. Изготовитель - Завод «Транснефтемаш», ОАО «Верхневолжскнефтепровод», г. Великие Луки, Псковской обл.

63 Машина очистная

ОМГ-1220М

Наружный диаметр обрабатываемого трубопровода 1020, 1220 мм, максимальная скорость рабочего хода 400 м/ч, габаритные размеры (без пульта управления) 2800×2310×1800 мм, суммарная мощность 48 кВт, масса 3500кг. Изготовитель - Экспериментально-механический завод ГУП «ИПТЭР», г. Уфа.

64 Машина очистная

ОМ 1220 Э

Машина предназначена для удаления грязи, ржавчины, рыхлой окалины, старой изоляции (как пленочной так и битумной). Наружный диаметр обрабатываемого трубопровода - 1020, 1220 мм, установленная мощность  - 48 кВт, число роторов - 2, габаритные размеры - 2600×2200×2500 мм, масса - 3600 кг.

Изготовитель - Завод «Транснефтемаш», ОАО «Верхневолжскнефтепровод», г. Великие Луки, Псковской обл.

65 Электростанция

АД60С-Р

Дизель - электрический агрегат трехфазного тока, мощностью 60 кВт, напряжением 230 В

Транспортные средства и средства обслуживания

66 Автомобиль бортовой

Урал 4320-10

Трехосный автомобиль высокой проходимости, максимальная скорость 75 км/ч, масса перевозимого груза 5,2 т. Изготовитель - АО «УралАЗ», г. Миасс

67 Автомобиль бортовой

КамАЗ-4310

Трехосный автомобиль высокой проходимости, масса перевозимого груза 6 т. Изготовитель - АО «Камаз», г. Набережные Челны

68 Автомобиль-самосвал

Урал-555711-30

Трехосный автомобиль с задней разгрузкой предназначен для перевозки насыпных и навалочных грузов, масса перевозимого груза 10 т, максимальная скорость 72 км/ч, Изготовитель - АО «УралАЗ», г. Миасс

69 Автомобиль бортовой

ГАЗ-33021

Двухосный автомобиль, масса перевозимого груза 2000 кг. Изготовитель - Горьковский автомобильный завод, г. Нижний Новгород

70 Автобус специальной модели 42112 (для перевозки вахтовых бригад) на шасси Урал-4320-01

Двигатель ЯМЗ-236М2 мощностью 245 кВт, максимальная скорость 85 км/ч, число мест - 27, габаритные размеры 8607×2500×3210 мм, масса 9645 кг. Изготовитель - АО Нефтекамский автозавод, г. Нефтекамск

71 Автобус специальной модели 4208 (для перевозки вахтовых бригад) на шасси

КамАЗ - 43101

Двигатель дизельный КамАЗ-740.10-20 мощностью 300 кВт, максимальная скорость 85  км/ч, число мест - 31, габаритные размеры 8535×2900×3370 мм, масса 9900 кг. Изготовитель - АО Нефтекамский автозавод, г. Нефтекамск

 

72 Автоцистерна АТЦ

мод. 46102

Шасси - Урал-4320, емкость цистерны 6200 л, габариты: 7545×2500×2993 мм, масса 13425 кг. Изготовитель - АО “Спецмашиндустрия”, г. Заречный, Пензенская обл.

73 Автоцистерна АЦТ

мод.56151

Шасси - КАМАЗ 43101, емкость цистерны 7500 л, габариты 7735×2500×3100 мм, масса (с топливом) 15450 кг. Изготовитель - АО «Спецмашиндустрия», г. Заречный, Пензенская обл.

74 Прицеп-цистерна транспортная

ПЦТ мод.86361

Объем цистерны 6200 л, масса 8040 кг. Изготовитель - АО «Спецмашиндустрия», г. Заречный, Пензенская обл.

75 Автоцистерна для перевозки воды АЦВ-5,0

База-автомобиль Урал-4320, вместимость цистерны 5000 л. Изготовитель - АО «Спецмашиндустрия», г. Заречный, Пензенской обл.

76 Прицеп-автоцистерна “Вода” мод. 8308

Емкость 5600 л, материал - нержавеющая сталь. Изготовитель - АО «Спецмашиндустрия», г. Заречный, Пензенская обл.

77 Автоцистерна пожарная АЦ-40

Шасси  - ЗИЛ-131, число мест для боевого расчета-7, удельная мощность 9,9 кВт/т, вместимость цистерны для воды 2450л, масса 11100 кг.

Приложение Г

(информационное)

Библиография

[1] Положение о порядке вывода объектов магистральных нефтепроводов из эксплуатации. - М., 1999

[2] Регламент по организации планирования и оформления остановок магистральных нефтепроводов. - М., 2001

[3] Положение о проведении работ по очистке внутренней полости магистральных нефтепроводов. - М.: ОАО «АК «Транснефть», 1998

[4] Регламент планирования работ по проведению очистки внутренней полости магистральных нефтепроводов ОАО «АК «Транснефт» специальными очистными устройствами (скребками). - М., 2001

[5] РД 153-39.4-056-00 Правила технической эксплуатации магистральных нефтепроводов

[6] Правила безопасности при эксплуатации магистральных нефтепроводов. - М.: Недра, 1989

[7] Регламент оформления нарядов-допусков на огневые, газоопасные и другие работы повышенной опасности на взрывопожароопасных и пожароопасных объектах МН дочерних акционерных обществ ОАО «АК «Транснефть». - М., 2000

[8] ППБ 01-93 Правила пожарной безопасности в Российской Федерации

[9] РД 09-364-00 Типовая инструкция по организации безопасного проведения огневых работ на взрывоопасных и взрывопожароопасных объектах, утв. постановлением Госгортехнадзора России 23.06.2000 № 38

[10] РД 153-39.4Р-130-2002 Регламент по вырезке и врезке «катушек», соединительных деталей, заглушек, запорной и регулирующей арматуры и подключению участков магистральных нефтепроводов

[11] СН 452-73 Нормы отвода земель для магистральных трубопроводов

[12] РД 39-00147105-016-98 Методика расчета прочности и устойчивости ремонтируемых линейных участков магистральных нефтепроводов с учетом дефектов, обнаруженных при диагностическом обследовании

[13] ПБ 13-407-01 Единые правила безопасности при взрывных работах

[14] СП 34-101 Выбор труб для магистральных нефтепроводов при строительстве и капитальном ремонте. - М., 1998

[15] РД 39-00147105-011-97 Табель технического оснащения служб капитального ремонта магистральных нефтепроводов

[16] Бабин Л.А., Быков Л.И., Волохов В.Я. Типовые расчеты по сооружению трубопроводов. - М.: Недра, 1979

[17] РД 39-00147105-015-98 Правила капитального ремонта магистральных нефтепроводов

[18] Регламент организации производства ремонтных и строительных работ на объектах магистральных нефтепроводов. - М., 2001

[19] ПОТ Р М-016-2001 Межотраслевые правила по охране труда (правила безопасности) при эксплуатации электроустановок

[20] ПОТ Р М-007-98 Межотраслевые правила по охране труда при погрузочно-разгрузочных работах и размещении грузов

[21] Положение о порядке подготовки и аттестации работников организаций, осуществляющих деятельность в области промышленной безопасности опасных производственных объектов, подконтрольных ГГТН России. Утв. Постановлением ГГТН России № 21 от 30.04.2002 г.

[22] Отраслевая инструкция по контролю воздушной среды на предприятиях нефтяной промышленности. Утв. Миннефтепромом от 26.09.86 г.

[23] Типовое положение по организации контроля воздушной среды на подконтрольных Госгортехнадзору СССР объектов с химическими процессами. Утв. Госгортехнадзором СССР 15.11.77

[24] Система организации работ по охране труда и промышленной безопасности на нефтепроводном транспорте. Утв. приказом ОАО «АК «Транснефть» 04.04.2000 г.

[25] Правила обеспечения работников специальной одеждой, специальной обувью и другими средствами индивидуальной защиты. Утв. Постановлением Минтруда РФ от 18.12.98 г. № 51

[26] ПБ 10-157-97 Правила устройства и безопасной эксплуатации кранов-трубоукладчиков. С изменениями ПБИ 10-371-(157)-00

[27] Правила безопасности при работе с инструментами и приспособлениями. Утв. Минэнерго ССР от 30.04.85 г. с изм. № 1, 1991 г., изм. № 2 от 23.03.93 г.

[28] ВППБ 01-05-99 Правила пожарной безопасности при эксплуатации магистральных нефтепроводов открытого акционерного общества “Акционерная компания по транспорту нефти «Транснефть»

[29] ПОТ Р М-020-2001 Межотраслевые правила по охране труда при электро- и газосварочных работах

[30] НПБ 160-97 Цвета сигнальные. Знаки пожарной безопасности. Виды, размеры, общие технические требования

[31] ВСН 014-89 Строительство магистральных и промысловых трубопроводов. Охрана окружающей среды

[32] Регламент о порядке организации экологоаналитического контроля за состоянием окружающей среды на промышленных объектах ОАО «АК «Транснефть». - М., 2001

[33] СанПиН 2.1.5.980-00 Гигиенические требования к охране поверхностных вод

Ключевые слова: демонтаж, магистральный нефтепровод, механизированная очистка полости, освобождение от нефти, колонна, траншея, рыхление грунта, вытягивание, подъем, очистка, резка, погрузка, транспортировка

ЛИСТ СОГЛАСОВАНИЙ

Исполнители:

 

Генеральный директор ГУП «ИПТЭР», д-р техн. наук, профессор

А.Г. Гумеров

Зам. генерального директора, д-р техн. наук, профессор

Р.С. Гумеров

Зав. отделом стандартизации

Р.Р. Хуснутдинов

Зав. отделом, д-р техн. наук

Х.А. Азметов

Зам. зав. отделом

Р.Г. Хамматов

Ведущий науч. сотр., канд. техн. наук

Н.Х. Гаскаров

Ст. науч. сотр.

Г.К. Ермилина

Ст. науч. сотр.

Н.М. Загретдинова

Вед. инженер

Л.Х. Гумерова

Науч. сотр.

Е.Г. Ронжина

Заместитель Министра энергетики Российской Федерации

В.С. Станев

Начальник Управления развития систем магистральных трубопроводов Минэнерго России

И.В. Козин

Начальник Управления научно-технического прогресса Минэнерго России

П.П. Безруких

СОГЛАСОВАНО

 

Начальник Управления по надзору

в нефтяной и газовой промышленности

Госгортехнадзора России Дадонов Ю.А.

Письмо от 10.06.02 г. № 10-03/581

 

СОГЛАСОВАНО

 

Первый вице-президент

ОАО “АК “Транснефть” Калинин В.В.

Письмо от 26.11.02 г. № 16-48/9638

 

СОДЕРЖАНИЕ

1 Область применения. 1

2 Нормативные ссылки. 1

3 Определения и сокращения. 2

4 Подготовка нефтепровода к демонтажу. 2

5 Способы демонтажа линейной части магистральных нефтепроводов. 8

6 Организационно-техническая подготовка демонтажа магистрального нефтепровода. 11

7 Демонтаж нефтепровода с разработкой траншеи. 14

8 Демонтаж нефтепровода при капитальном ремонте с заменой труб путем укладки в совмещенную траншею.. 27

9 Демонтаж с рыхлением грунта над нефтепроводом.. 31

10 Демонтаж с вытягиванием участка нефтепровода. 32

11 Требования безопасности и охраны труда. 37

12 Противопожарные мероприятия. 38

13 Охрана окружающей среды.. 40

Приложение А. (обязательное) Журнал. 43

Приложение Б. (обязательное) Перечень и формы исполнительной документации при демонтаже магистральных нефтепроводов. 44

Приложение В. (обязательное) Перечень машин и механизмов для демонтажа магистральных нефтепроводов. 55

Приложение Г. (информационное) Библиография. 62