РЕСПУБЛИКАНСКИЕ СТРОИТЕЛЬНЫЕ НОРМЫ
РАСЧЕТ ДОРОЖНЫХ
НАСЫПЕЙ
НА БОЛОТНЫХ ГРУНТАХ
РСН 09-85
Госстрой БССР
Государственный
комитет Белорусской ССР
по делам строительства
Минск 1985
|
РАЗРАБОТАНЫ |
Отделом строительства автомобильных дорог Белдорнии НПО «Дорстройтехника» Миндорстрой БССР, В.Н. Яромко канд. техн. наук (руководитель темы и исполнитель) |
|
ВНЕСЕНЫ |
Министерством строительства и эксплуатации автомобильных дорог БССР (Миндорстроем БССР), заместитель министра В.И. Денисенко |
|
подготовлены к утверждению |
Отделом планировки и застройки промузлов, промышленного и специализированного строительства Госстроя БССР, Ю.А. Григорьев, отделом стандартов и технических условий Госстроя БССР, М.П. Павлова |
С введением в действие
республиканских строительных норм «Расчет дорожных насыпей на болотных грунтах»
утрачивают силу
республиканские строительные нормы «Инструкция по расчету дорожных насыпей на
болотных грунтах» ![]()
|
Государственный
комитет |
Республиканские
|
|
|
Расчет
дорожных насыпей |
Взамен
|
|
|
|
|
|
|
Внесены Министерством
|
Утверждены
постановлением |
Срок введения |
Настоящие нормы распространяются на проектирование земляного полотна автомобильных дорог III - V категорий с одеждами нежесткого типа на переходах через болота I и II типов и устанавливают правила расчета дорожных насыпей на болотных грунтах для условий Белорусской ССР.
Настоящие нормы не распространяются на проектирование дорог на искусственных основаниях (выторфовывание, свайные эстакады, грунтовые сваи), основаниях с глубинным укреплением, уплотнением или промораживанием слабых грунтов, а также проектирование облегченных и временных конструкций на сланях и гатях.
1.1. При расчете дорожных насыпей на болотных грунтах следует соблюдать требования СНиП II-Д.5-72, «Инструкции по проектированию дорожных одежд нежесткого типа» ВСН 46-83/Минтрансстрой, СН 449-72, «Руководства по проектированию земляного полотна автомобильных дорог на слабых грунтах» Минтрансстроя и настоящих норм.
1.2. Земляное полотно на болотах проектируют в виде насыпей, расчет которых должен осуществляться с учетом особенностей работы всей дорожной конструкции на болотных грунтах.
1.3. Дорожная конструкция включает дорожную одежку, земляное полотно и слабое основание, состоящее из одного или нескольких слоев болотного грунта. Слой грунта, кровля которого является дном болотной залежи, считается несжимаемым.
1.4. Нормы предусматривают комплексный расчет дорожной одежды и земляного полотна на болотных грунтах с учетом общих требований, предъявляемых к дорожной одежде и земляному полотну, и следующих дополнительных требований, обусловленных особенностями болотных грунтов:
а) устойчивости - не допускается возможность выпора (или выдавливания) болотного грунта из-под насыпи (если это не предусмотрено проектом);
б) стабильности - не допускается устройство дорожной одежды до завершения консолидации болотного грунта в основании насыпи;
в) прочности - упругие прогибы и колебания дорожной одежды и насыпи, вызываемые действием транспортной нагрузки, не должны превышать величин, допустимых для принятого типа покрытия.
1.5. Расчет дорожной конструкции со слоем болотного грунта в основании земляного полотна выполняют:
а) при составлении технико-экономического расчета (оценка оптимальности выбранного варианта конструктивно-технологического решения земляного полотна и обосновании варианта трассы перехода через болото) - по данным зондирования и значениям физико-механических характеристик болотных грунтов, определяемым по показателям состава и состояния, используя табл. 1 и 2 настоящих норм;
б) при разработке рабочего проекта (одностадийное проектирование) или проекта и рабочей документации (двухстадийное проектирование) - по данным полевого или лабораторного определения значений физико-механических характеристик болотных грунтов.
При составлении рабочей документации для особо сложных объектов производят, при необходимости, дополнительные изыскания и расчеты, уточняющие принятые конструктивно-технологические решения.
1.6. Комплексный расчет и проектирование дорожной одежды и земляного полотна на болотном грунте производят в следующем порядке:
намечают расчетные участки и устанавливают расчетные значения физико-механических характеристик материалов дорожной одежды, грунта насыпи и болотных грунтов;
устанавливают возможность использования болотного грунта в качестве основания насыпи;
определяют толщину дорожной одежды и устанавливают требуемый модуль упругости системы насыпь - болотный грунт;
устанавливают минимально допустимую высоту насыпи на расчетных участках, руководствуясь условиями водно-теплового режима и снегозаносимости дороги;
с учетом минимально допустимой высоты наносят красную линию, устанавливают проектную высоту насыпи и намечают расчетные поперечники;
определяют величину осадки болотного грунта;
проверяют соответствие полученной толщины насыпи условиям прочности дорожной одежды при статическом и динамическом действии транспортной нагрузки;
определяют устойчивость болотных грунтов в основании насыпи;
производят расчет длительности осадки болотных грунтов и устанавливают сроки устройства дорожной одежды;
намечают, в случае необходимости, мероприятия по ускорению консолидации насыпи и обеспечению стабильности и устойчивости дорожной конструкции с назначением рационального режима отсыпки земляного полотна по условиям устойчивости основания.
1.7. При составлении технико-экономического расчета необходимо иметь данные о границах, глубине и типе болота, а также знать категорию проектируемой дороги и тип покрытия.
1.8. При разработке рабочего проекта или проекта и рабочей документации необходимо иметь следующие материалы инженерно-геологических изысканий:
геологический профиль болота по оси дороги и на расчетных поперечниках с указанием стратиграфического строения болотной залежи и положения уровня грунтовых вод;
основные физические (влажность, плотность, коэффициент пористости, степень разложения, содержание органических веществ и карбонатов кальция СаСО3) и механические (сопротивление сдвигу по крыльчатке, результаты компрессионных испытаний) характеристики выделенных однородных слоев болотной залежи;
геотехнические модели болотной залежи, построенные с использованием статистических методов обработки результатов испытаний применительно к расчету устойчивости, и осадки, с выделенными слоями и расчетными показателями;
характеристики грунтов минерального дна болота (гранулометрический состав и водопроницаемость);
расчетные характеристики (прочностные и деформационные) грунтов земляного полотна и материалов конструктивных слоев дорожной одежды.
1.9. Проведение инженерно-геологического обследования болот и определение значений физико-механических характеристик болотных грунтов производится в соответствии с «Руководством по проектированию земляного полотна автомобильных дорог на слабых грунтах» Минтрансстроя.
2.1. К болотным грунтам относят осадочные нелитифицированные породы органического происхождения: торф, сапропель, болотный мергель, органический ил. В естественных отложениях болот в условиях недостаточного стока и испарения эти грунты находятся в водонасыщенном состоянии и имеют высокую пористость.
2.2. Свойства болотных грунтов зависят от их состава и состояния. Характеристикой состава торфяных грунтов служит соотношение трех основных компонентов: волокнистых, гумусных и минеральных частиц. Содержание волокнистых частиц определяют по массе остатка при промывании на сите 0,25 мм; содержание гумусных частиц - по массе вещества, прошедшего через указанное сито; содержание минеральных частиц - по массе остатка после прокаливания при температуре 800 ± 25 °С. Основная характеристика состава органо-минеральных грунтов (сапропель, болотный мергель, ил) - соотношение органической и минеральной частей (по массе), дополнительная - содержание карбонатов типа СаСО3, определяемых по количеству углекислого газа СО2, образующегося при действии на грунт 10 % раствора соляной кислоты HCl.
Характеристикой состояния болотных грунтов является природная влажность W или коэффициент пористости е.
2.3. Значения физико-механических характеристик болотных грунтов устанавливают на основе данных изысканий и лабораторных испытаний. При отсутствии данных испытаний значения физико-механических характеристик болотных грунтов допускается определять по основным показателям состава и состояния, используя табл. 1 (торфяные грунты) и табл. 2 (органо-минеральные грунты).
Таблица 1
|
Природная влажность W |
Коэффициент пористости е |
Плотность сухого грунта, γd, г/см3 |
Степень разложения R, % |
Степень волокнистости, Ф, % |
Зольность, Z, % |
Сопротивление сдвигу по крыльчатке (в природном залегании) τ, МПа (кгс/см2) |
Модуль осадки lp мм/м (при нагрузке Р = 0,05 МПа (0,5 кгс/см2) |
|
|
1 |
2 |
3 |
4 |
5 |
6 |
7 |
8 |
9 |
|
Сушенный (или уплотненный) |
< 3 |
< 4 |
> 0,25 |
< 25 |
> 75 |
> 5 |
> 0,040 (> 0,40) |
150 - 200 |
|
< 5 |
> 0,035 (> 0,35) |
|||||||
|
25 - 40 |
75 - 60 |
> 5 |
> 0,030 (> 0,30) |
|||||
|
< 5 |
0,033 (> 0,33) |
|||||||
|
> 40 |
< 60 |
> 5 |
> 0,019 (> 0,19) |
|||||
|
< 5 |
> 0,026 (> 0,26) |
|||||||
|
маловлажный |
3 - 6 |
4 - 9 |
0,14 - 0,25 |
< 25 |
> 75 |
> 5 |
0,040 - 0,025 (0,40 - 0,25) |
200 - 350 |
|
< 5 |
0,035 - 0,022 (0,35 - 0,22) |
|||||||
|
25 - 40 |
75 - 60 |
> 5 |
0,030 - 0,017 (0,30 - 0,17) |
|||||
|
< 5 |
0,033 - 0,016 (0,33 - 0,16) |
|||||||
|
> 40 |
> 75 |
> 5 |
0,019 - 0,008 (0,19 - 0,08) |
|||||
|
< 5 |
0,026 - 0,013 (0,26 - 0,13) |
|||||||
|
Средней влажности |
6 - 9 |
9 - 14 |
0,10 - 0,14 |
< 25 |
> 75 |
> 5 |
0,026 - 0,010 (0,26 - 0,10) |
350 - 450 |
|
< 5 |
0,022 - 0,010 (0,22 - 0,10) |
|||||||
|
25 - 40 |
75 - 60 |
> 5 |
0,017 - 0,010 (0,17 - 0,10) |
|||||
|
< 5 |
0,016 - 0,011 (0,16 - 0,11) |
|||||||
|
> 40 |
< 60 |
> 5 |
0,008 - 0,005 (0,08 - 0,05) |
|||||
|
< 5 |
0,013 - 0,008 (0,13 - 0,08) |
|||||||
|
Очень влажный |
9 - 12 |
14 - 18 |
0,07 - 0,10 |
< 25 |
> 75 |
> 5 |
0,015 - 0,008 (0,15 - 0,08) |
450 - 550 |
|
< 5 |
0,013 - 0,006 (0,13 - 0,06) |
|||||||
|
25 - 40 |
75 - 60 |
< 5 |
0,01 - 0,005 (0,10 - 0,05) |
|||||
|
> 5 |
- |
|||||||
|
> 40 |
> 75 |
< 5 |
0,005 - 0,003 (0,05 - 0,03) |
|||||
|
> 5 |
- |
|||||||
|
Избыточно влажный |
12 |
18 |
0,07 |
< 25 |
> 75 |
< 5 > 5 |
< 0,005 (< 0,05) |
550 - 600 |
|
25 - 40 |
75 - 60 |
< 5 > 5 |
< 0,003 (< 0,03 |
|||||
|
> 40 |
> 75 |
< 5 > 5 |
< 0,003 (< 0,03) |
Примечание. Величины показателей физико-механических свойств при промежуточных значениях влажности определяются интерполяцией
Таблица 2
|
Вид грунта |
Разновидность |
Содержание органических веществ % |
Содержание карбонатных веществ (СаСО3) % |
Природная влажность, W |
Коэффициент пористости, е |
Сопротивление сдвигу по крыльчатке (в природном залегании) МПа (кгс/см2) |
Модуль осадки lр, мм/м (при нагрузке Р = 0,05 МПа (0,5 кгс/см2) |
|
|
1 |
2 |
3 |
4 |
5 |
6 |
7 |
8 |
9 |
|
Неуплотненные в природном залегании (озерные - под слоем воды) |
Сапропели органические |
Детритовые |
> 60 |
< 30 |
6 - 20 |
12 - 25 |
< 0,002 (< 0,02) |
900 - 500 |
|
Сапропели органо-минеральные |
Известковистые |
10 - 60 |
> 30 |
2 - 6 |
5 - 12 |
0,006 - 0,002 (0,06 - 0,02) |
400 - 200 |
|
|
Кремнеземистые |
10 - 60 |
< 30 |
1,5 - 6 |
4 - 12 |
0,005 - 0,003 (0,05 - 0,03) |
300 - 200 |
||
|
Неуплотненные в природном залегании (болотные под слоем торфа) |
Сапропели органические |
Торфосапропели |
> 80 |
< 10 |
9 - 12 |
16 - 20 |
0,013 - 0,002 (0,13 - 0,02) |
800 - 500 |
|
Детритовые |
60 - 80 |
< 30 |
6 - 9 |
12 - 16 |
0,013 - 0,002 (0,13 - 0,02) |
700 - 500 |
||
|
Сапропели органо-минеральные |
Известковистые |
10 - 60 |
> 30 |
1,5 - 6 |
4 - 12 |
0,013 - 0,008 (0,13 - 0,08) |
500 - 200 |
|
|
Кремнеземистые |
10 - 60 |
< 30 |
1,2 - 6 |
3 - 12 |
0,013 - 0,007 (0,13 - 0,07) |
400 - 200 |
||
|
Болотный мергель |
- |
< 10 |
> 10 |
1,2 - 0,8 |
3 - 1,5 |
0,020 - 0,008 (0,20 - 0,08) |
200 - 60 |
|
|
Болотный ил |
- |
< 10 |
< 10 |
1,2 - 0,3 |
3 - 1,1 |
0,032 - 0,011 (0,32 - 0,11) |
100 - 40 |
|
|
Уплотненные в природном залегании (озерно-болотные - под слоем минеральных наносов или под насыпью) |
Сапропели органические |
Детритовые |
> 60 |
< 30 |
1,5 - 3,0 |
4 - 6 |
0,020 - 0,008 (0,20 - 0,08) |
250 - 150 |
|
Сапропели органо-минеральные |
Известковистые |
10 - 60 |
> 30 |
0,8 - 2,5 |
1,2 - 0,4 |
0,25 - 0,010 (2,5 - 0,10) |
200 - 80 |
|
|
Кремнеземистые |
10 - 60 |
< 30 |
0,5 - 2,0 |
1,4 - 4,0 |
0,030 - 0,010 (0,30 - 0,10) |
150 - 80 |
Примечание. Величины показателей физико-механических свойств при промежуточных значениях определяется интерполяцией.
3.1. Расчетные значения физико-механических показателей болотник грунтов устанавливают для каждого выделенного расчетного участка и расчетного слоя, однородных (однотипных) по инженерно-геологическим свойствам.
3.2. Предварительное разделение болотной залежи на однородные участки и слои выполняют на основе геологического разреза, получаемого по результатам бурения с визуальной оценкой грунтов по качественным признакам.
Для уточнения границ выделенных слоев на геологический разрез наносят графики изменения по глубине удельного сопротивления зондированию, сопротивления сдвигу по крыльчатке и основных классификационных показателей состава и состояния грунтов.
Уточнение границ расчетных слоев осуществляется после определения расчетных значений показателей физико-механических свойств грунтов.
3.3. Выделение однородных расчетных слоев геотехнической модели для болотной залежи производят путем статистической обработки результатов испытаний. При этом руководствуются следующими правилами:
а) геологический слой должен быть генетически однороден (значения основных классификационных показателей слоя не должны выходить за пределы одной классификационной группы, определяемой табл. 1 и 2);
б) геологический слой должен характеризоваться статистической однородностью по выбранному показателю или набору показателей (резкие отскоки (промахи) среди значений показателей должны быть исключены, если они не являются следствием статистического разброса);
в) количество определений одного и того же показателя должно быть не менее шести.
По прочностным свойствам болотные грунты можно считать однородными, если коэффициент вариации сопротивления сдвигу не превышает 20 %.
Для физических показателей допустимые величины коэффициентов вариации по условиям статистической однородности приведены в табл. 3.
Таблица 3
|
Допустимые величины коэффициентов вариации |
|||
|
влажность, W |
коэффициент пористости, е |
плотность сухого грунта, γd, г/см3 |
|
|
< 3 |
< 4 |
> 0,25 |
15 |
|
3 - 6 |
4 - 9 |
0,14 - 0,25 |
12 |
|
6 - 9 |
9 - 14 |
0,10 - 0,14 |
7 |
|
9 - 12 |
14 - 18 |
0,07 - 0,10 |
5 |
|
> 12 |
> 18 |
< 0,07 |
4 |
3.4. Для определения расчетных значений характеристик болотных грунтов следует применять вероятностно-статистические методы, назначая надежность (доверительную вероятность) расчетных показателей в зависимости от категории автомобильной дороги.
Расчетные характеристики болотных грунтов определяют по формуле
Храсч. = Хн ± ΔХα, (1)
где Храсч. - расчетное значение показателя;
Хн - нормативное значение показателя (его среднеарифметическое, средневзвешенное значение);
ΔХα - отклонение нормативного значения показателя от его истинного значения (половина ширины доверительного интервала).
(2)
Здесь ta - коэффициент Стьюдента, определяемый в зависимости от заданной доверительной вероятности - коэффициента надежности - и числа измерений согласно рекомендуемому приложению 1;
σ - среднее квадратическое отклонение (см. приложение 1);
n - число измерений.
Коэффициент надежности a для дорог III и IV - V категорий соответственно равен 0,85 и 0,80.
При определении расчетных значений прочностных характеристик грунтов коэффициент надежности принимается равным 0,99 независимо от категории проектируемой дороги.
В качестве расчетного следует принимать значение показателя, получаемое по формуле (1), обеспечивающее большую надежность расчета.
3.5. Для проведения геотехнических расчетов на каждом расчетном участке назначают расчетные поперечники. Число расчетных поперечников устанавливают в зависимости от мощности болотных грунтов и протяженности участка. Кроме того, во всех случаях расчетные поперечники необходимо назначать в наиболее опасных сечениях (глубокие места болот, наличие уклонов минерального дна и т.п.).
4.1. Возможность использования болотной залежи в качестве основания насыпи устанавливают в зависимости от типа основания по устойчивости. На первом этапе расчета тип основания по устойчивости и характер специальных мероприятий, необходимых для использования болотного грунта в качестве основания проектируемой насыпи, определяют в зависимости от состава строительных типов болотных грунтов, слагающих болотную залежь (табл. 4).
Таблица 4
|
Тип основания по устойчивости |
Преобладающая деформация грунта наиболее слабого слоя |
Возможность использования болотной залежи в качестве несущего основания |
|
|
Только тип 1 |
I |
Сжатие |
Можно использовать |
|
Тип 2 обязателен. Возможно наличие типа 1 |
II |
При быстрой отсыпке - сдвиг (выдавливание, выпор), при медленной - сжатие |
Можно использовать при постепенном загружении |
|
Тип 3а обязателен. Возможно наличие типов 1 и 2 |
IIIА |
При быстрой отсыпке - сдвиг (выдавливание, выпор). При медленной отсыпке - сжатие и частичное выдавливание |
Можно использовать при постепенном загружении |
|
Преимущественно тип 3б. Возможно наличие других типов |
IIIБ |
Сдвиг (выдавливание, выпор) при любой скорости отсыпки |
Нельзя использовать (следует изменить конструкцию насыпи или удалить слабый грунт) |
Примечание. При толщине наиболее слабого слоя менее 5 % от общей мощности болотной залежи его наличие при определении типа основания по устойчивости не учитывают.
4.2. Строительный тип болотного грунта определяют по табл. 5 в зависимости от величины сопротивления сдвигу, устанавливаемой путем испытаний с помощью крыльчатки в условиях природного залегания.
Таблица 5
|
Осушенный (уплотненный) или маловлажный |
Средней влажности |
Очень влажный |
Избыточно-влажный и жидкие образования |
|
|
Сопротивление сдвигу по крыльчатке τ, МПа (кгс/см2) |
> 0,015 (> 0,15) |
0,010 - 0,015 (0,10 - 0,15) |
0,005 - 0,010 (0,05 - 0,10) |
< 0,005 (< 0,05) |
|
Строительный тип болотного грунта |
1 |
2 |
3 а |
3 б |
4.3. После определения толщины проектируемой насыпи тип основания по устойчивости уточняют специальным расчетом (см. раздел 7 настоящих норм).
5.1. Расчет прочности дорожной одежды следует производить исходя из условия, что упругий вертикальный прогиб (общий модуль упругости) на поверхности покрытия от статического действия расчетной нагрузки группы А (Р = 0,60 МПа (6 кгс/см2); D = 33 см) не превышает предельно допустимых величин при одновременном обеспечении работы всех конструктивных слоев в стадии обратимых деформаций. Предельно допустимые прогибы и общие модули упругости для дорог на болотах в зависимости от среднесуточной интенсивности движения и типа покрытия принимают по графику (рис. 1), но не ниже минимально допустимых, приведенных в табл. 6.
Таблица 6
|
Количество расчетных автомобилей группы А на одну полосу |
Минимально допустимые модули упругости для покрытия, МПа (кгс/см2) |
|||
|
усовершенствованных капитальных |
усовершенствованных облегченных |
переходного типа |
||
|
III |
70 |
165 (1650) |
130 (1300) |
- |
|
IV |
- |
150 (1500) |
105 (1050) |
70 (700) |
|
V |
- |
- |
85 (850) |
50 (500) |
Расчет производят согласно Инструкции по проектированию дорожных одеял нежесткого типа ВСН 46-83/Минтрансстрой, последовательно рассматривая сверху каждую пару смежных слоев и определяя общие модули упругости на поверхности каждого слоя (рис. 2) с обязательной проверкой недопустимости возникновения остаточных деформаций в подстилающем грунте и во всех конструктивных слоях дорожной одежды.
Приведенное к нагрузке группы А количество автомобилей в сутки
Рис. 1. Требуемые модули упругости для дорожных одежд (расчетная нагрузка группы А)
1 - для усовершенствованных капитальных покрытий
2 - для усовершенствованных облегченных покрытий
3 - для переходных покрытий
Полученный
расчетом модуль упругости на поверхности насыпи принимают в качестве требуемого
модуля упругости
системы насыпь-болотный грунт.
5.2.
Проектируемая насыпь на основании из болотного грунта должна иметь достаточную
толщину, чтобы обеспечить заданную прочность дорожной одежды. Соблюдение этого
требования возможно, если фактический модуль упругости системы насыпь -
болотный грунт равен требуемому модулю упругости
, полученному по результатам расчета дорожной
одежды.
5.3. Фактический модуль упругости на поверхности насыпи (модуль упругости системы насыпь - болотный грунт) определяют по формуле
где Ен - модуль упругости грунта насыпи, принимаемый по данным табл. 7 или на основе результатов испытаний;
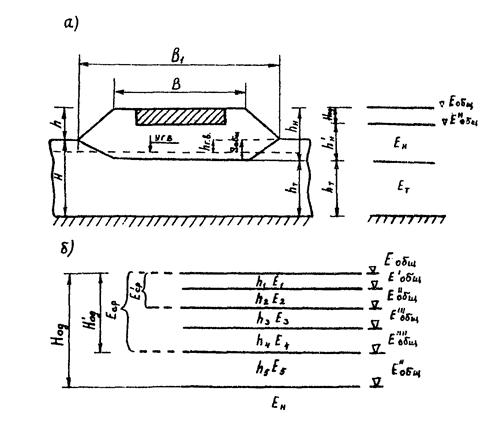
Ет - модуль упругости болотного грунта, уплотненного массой насыпи, который определяют по данным компрессионных или штамповых испытаний. Для торфяных грунтов Ет допускается определять по экспериментальной зависимости Ет = f (γd, λсж), приведенной на рис. 3 (γd - плотность торфа в природном залегании, г/см3; λсж - относительная деформация сжатия торфа, уплотненного массой насыпи - см. раздел 8 настоящих норм;
т - коэффициент, учитывающий относительную толщину насыпного слоя h'н/D (табл. 8).
Здесь h'н - толщина насыпного слоя, исчисляемая от низа дорожной одежды до подошвы насыпи (см. рис. 2).
Рис. 2. Расчетная схема
а - системы дорожная одежда - насыпь - болотный грунт; б - дорожной одежды
h'н = h + Sобщ - Нод;
D - диаметр крута, равновеликого по площади отпечатку колеса расчетного автомобиля;
h - высота насыпи;
Sобщ - осадка слабого основания;
Нод - толщина дорожной одежды;
К - комплексный коэффициент, учитывающий конечные размеры слоя торфа и распределяющую способность насыпи.
Таблица 7
|
Модуль упругости МПа (кгс/см2) |
|
|
Пески крупные и гравелистые |
130 (1300) |
|
Пески средней крупности |
100 (1000) |
|
Пески мелкие |
80 (800) |
Таблица 8
|
h'н/D |
0,2 |
0,6 |
1,0 |
1,5 |
2,0 |
2,5 |
3,0 |
3,5 |
|
т |
0,198 |
0,496 |
0,658 |
0,761 |
0,817 |
0,854 |
0,876 |
0,892 |
|
h'н/D |
4 |
5 |
6 |
8 |
10 |
12 |
16 |
20 |
|
т |
0,907 |
0,925 |
0,938 |
0,953 |
0,963 |
0,968 |
0,977 |
0,988 |
Коэффициент К определяют по графику (рис. 4а) в зависимости от отношений h'н/D и h'т/D;
η - коэффициент изменения контактного напряжения в слоях различных жесткостей, зависящий главным образом от отношения жесткостей, выражаемых модулями упругости.
Численные значения коэффициента η как функции отношения Ен/Ет для h'н ³ 2D определяют по графику (рис. 4б).
Рис. 3. Номограммы для определения модуля упругости торфяного основания
5.4. Учитывая, что толщина и модуль упругости торфа под насыпью зависят от толщины насыпного слоя, которая подлежит определению, расчет ведут методом последовательного приближения. Высоту насыпи h принимают по условиям проектирования продольного профиля, соблюдения требований водно-теплового режима, снегонезаносимости и обеспечения минимальной толщины насыпи по условиям динамического расчета земляного полотна. В первом приближении высоту насыпи по условиям динамического расчета принимают при капитальных, облегченных, переходных и низших типах покрытия соответственно равной:
для болот глубиной до 4 м - 1,5; 1,2; 1,0 м;
для болот глубиной более 4 м - 1,0; 0,8; 0,6 м.
Далее
производят расчет осадки основания насыпи Sсж и λсж
(см. раздел 8) и определяют модуль упругости Ет
торфяного основания (см. рис. 3), уплотненного массой насыпи расчетной толщины hн = h + Sобщ. Затем
сравнивают значение
, рассчитанное по формуле (3), с
, требуемым
по условиям прочности и жесткости дорожной одежды. Если
меньше
, необходимо
увеличить толщину насыпного слоя и повторить расчет. Расчет толщины насыпи
считается законченным, если выполнено условие
³
с точностью
±5
%.
6.1. Динамический расчет производят только для насыпей, в основании которых залегает торф, если толщина насыпного слоя, рассчитанного статическим методом, менее 3 м.
6.2. Динамический расчет сводится к удовлетворению следующего условия:
афакт £ адоп, (4)
где афакт - ускорение колебаний проектируемой насыпи на торфе;
Рис. 4. Графики для определения коэффициентов К и η
адоп - предельно допустимое ускорение колебаний насыпи на торфе, определяемое в зависимости от типа проектируемого покрытия и частоты собственных колебаний насыпи (рис. 5). Ускорение колебаний проектируемой насыпи на торфе определяют по формуле
афакт = А · ω2, (5)
где А - амплитуда колебаний насыпи;
ω - круговая частота собственных колебаний насыпи.
6.3. динамический расчет необходимо производить в такой последовательности:
а) определить частоту собственных колебаний насыпи на торфяном основании;
б) определить амплитуду колебаний насыпи;
в) вычислить ускорение колебаний проектируемой насыпи;
г) определить предельно допустимые ускорения колебаний;
д) проверить допустимость ускорений колебаний проектируемой насыпи;
е) наметать мероприятия по уменьшению ускорений колебаний, если они превышают предельно допустимые величины.
6.4. При определении частот собственных колебаний в зависимости от отношения толщины насыпи к толщине оставляемого слоя торфа следует рассматривать два расчетных случаях: 1-й - hн:hт > 0,5 и 2-й hн:hт < 0,5 для hн < 100 см.
Частоты собственных колебаний насыпей на торфяном основании для 1-го случая определяют по номограмме (рис. 6), которая составлена на основе решения задачи о колебаниях насыпи на упругом торфяном основании.

Рис. 5. Предельно допустимые ускорения колебаний земляного полотна для:
I - усовершенствованных капитальных покрытий;
II - усовершенствованных облегченных покрытий;
III - переходных покрытий
Частоты собственных колебаний насыпей на торфяном основании для расчетного случая определяют по формуле
В формуле (6) Епр - приведенный модуль упругости торфа, учитывающий отсутствие боковых перемещений колеблющейся призмы торфяного основания.
(7)
где μ - среднее значение коэффициента Пуассона для торфа. При отсутствии данных испытаний допускается принять μ = 0,35. В этом случае Епр = 1,41Ет;
![]()
![]()
Здесь hн - общая толщина насыпного слоя;
hт - толщина слоя торфа под насыпью;
γн и γт - соответственно средние плотности грунта насыпи и торфа.
Общая толщина насыпного слоя (см. рис. 2)
hн = h + sобщ = Hод + h'н. (8)
6.5. Амплитуду колебаний насыпи на торфе при воздействии на дорожную конструкцию транспортной нагрузки (расчетная нагрузка группы А) определяют по формуле
А = l(Кдин - 1), (9)
где l - упругий прогиб торфяного основания, вызываемый статической нагрузкой от колеса расчетного автомобиля;
Рис. 6. Номограмма для определения частот собственных колебаний насыпей на торфяном основании (1-ый расчетный случай)
Кдин - динамический коэффициент, характеризующий увеличение прогиба за счет эффекта подвижности нагрузки.
6.6. Упругий прогиб торфяного основания
где Р и D - параметры расчетной нагрузки; (Р · D = 198 кгс/см).
Коэффициент К определяют по графику (см.рис. 4а) в зависимости от отношений hl/D и hт/D (hl - толщина однородного песчаного слоя, эквивалентного по распределению напряжений многослойной системе дорожная одежда - насыпь).
hl = h + sобщ - Hод + hэкв = h'н + hэкв, (11)
где hэкв - эквивалентная толщина дорожной одежды.
(12)
Здесь Н'од - толщина слоев дорожной одежды, расположенных выше песчаного слоя (см. рис. 2);
Ен - модуль упругости грунта насыпи;
Еср - средний модуль упругости дорожной одежды.
(13)
где E1, E2, Е3, ... Еi - расчетные модули упругости отдельных конструктивных слоев, толщина которых равна h1, h2, h3, ... hi.
6.7. Динамический коэффициент Кдин, равный отношению максимального динамического прогиба торфяного основания, вызываемого движущимся автомобилем, к величине статического прогиба определяют по трафику (рис. 7) в зависимости от коэффициента демпфирования ψ. Для 1-го расчетного случая он равен 8,6/ω, для 2-го - 0,33/Ет (Ет в МПа) или 3,3/Ет (Ет в кгс/см2).
6.8. В случаях, когда не выполняется требование формулы (4), обеспечивающее допустимые колебания насыпи на торфе, находящейся под действием динамической нагрузки, необходимо наметить мероприятия по снижению колебаний.
Основным и наиболее простым способом снижения ускорений колебаний земляного полотна на торфяном основании является увеличение толщины насыпного слоя, что обеспечивает уменьшение частот и амплитуд колебаний, и, в конечном счете, снижает ускорения колебаний.
Если по условиям продольного профиля поднятие насыпи нежелательно, для увеличения толщины насыпного слоя можно пользоваться методами перегрузки или частичного выторфовывания.
7.1 Степень устойчивости основания при воздействии на него нагрузки от массы сооружаемого земляного полотна оценивают по величине коэффициента безопасности наиболее слабого слоя. Коэффициент безопасности Кбeз определяют как отношение безопасной нагрузки Рбез к расчетной Ррасч.
7.2. Величина безопасной нагрузки, которую можно приложить к слабому основанию, находящемуся в природном (неконсолидированном) состоянии, при быстрой отсыпке насыпи определяют по формуле
(14)
где N - параметр, зависящий от ширины насыпи по подошве и относительной глубины расположения слабого слоя, значения которого следует принимать по табл. 9;
τ - сопротивление сдвигу слабого грунта в природном залегании по данным испытаний крыльчаткой.
Рис. 7. График для определения динамического коэффициента
Таблица 9
|
N |
|
|
0,05 |
5,25 |
|
0,10 |
3,84 |
|
0,15 |
3,51 |
|
0,20 |
3,34 |
|
0,30 |
3,23 |
7.3. Расчетную нагрузку Ррасч определяют по методике, приведенной в разделе 8 настоящих норм.
7.4.
В зависимости от значений
определяют тип основания по устойчивости:
³ 1 - основание I типа
1
>
³ 0,7 - основание II типа
0,7
>
³ 0,2 - основание IIIА типа
< 0,2 - основание
IIIБ типа
7.5. Степень устойчивости предварительно консолидированного слабого основания рассчитывают по методике, изложенной в «Руководстве по проектированию земляного полотна автомобильных дорог на слабых грунтах» Минтрансстроя.
Для ориентировочных расчетов безопасной нагрузки предварительно консолидированных оснований следует использовать следующую формулу
(15)
где λсж - величина относительной конечной осадки сжатия основания при предварительном уплотнении (см. раздел 8 настоящих норм);
U0 - степень консолидации основания при предварительном уплотнении (см. раздел 10 настоящих норм).
8.1. Величину погружения насыпи в болотную залежь (осадку насыпи) определяют по формуле
Sобщ = Sсж + Sот, (16)
где Sобщ - общая осадка насыпи;
Sсж - осадка сжимающихся (уплотняющихся) слоев болотной залежи;
Sот - осадка отдавливаемых слоев болотной валета, происходящая за счет выдавливания (выпора) слабых грунтов 3б типа при любой скорости отсыпки, частичного выдавливания грунтов 3а типа при невозможности их предварительного уплотнения в течение строительного периода вследствие того, что в силу их высокой сжимаемости и низкой прочности нагрузка от возводимой насыпи растет быстрее, чем упрочнение слабого грунта, боковых деформаций слабых грунтов 2 строительного типа при интенсивности отсыпки насыпи в первые десять суток более 2,0 м.
8.2. Осадку Sот вычисляют по формуле
где Siот - осадка i-го отдавливаемого слоя;
λiот - относительная деформация i-го отдавливаемого слоя толщиной hi;
n - количество расчетных слоев болотной залежи.
Относительную деформацию λiот определяют по табл. 10 в зависимости от величины сопротивления сдвигу τ по крыльчатке расчетного слоя в природном залегании.
Таблица 10
|
τ, МПа |
λот |
τ, МПа |
λот |
τ, МПа |
λот |
|
0,001 |
1 |
0,006 |
0,55 |
0,011 |
0,20 |
|
0,002 |
1 |
0,007 |
0,45 |
0,012 |
0,15 |
|
0,003 |
1 |
0,008 |
0,37 |
0,013 |
0,10 |
|
0,004 |
0,82 |
0,009 |
0,30 |
0,014 |
0,05 |
|
0,005 |
0,67 |
0,010 |
0,25 |
0,015 |
0 |
8.3. Осадку Sсж определяют по формуле
(18)
где λiсж - относительная вертикальная деформация расчетного слоя, полученная по данным испытаний в компрессионном приборе для нагрузки, действующей на этот слой.
8.4. При расчете осадки слабое основание разбивают на расчетные слои в соответствии с геологическим строением, прочностными и деформативными свойствами слабых грунтов и величиной действующих вертикальных напряжений по глубине.
При относительной мощности слабого основания Н/В1 < 0,5 (Н - мощность слабых грунтов, В1 - ширина насыпи по подошве) вертикальные напряжения по глубине можно считать постоянными. Величину напряжений для всей мощности залежи в этом случае принимают равной величине расчетной нагрузки Ррасч. При Н/В1 > 0,5 величину напряжений следует рассчитывать по методике, изложенной в обязательном приложении 2.
8.5. Расчетную нагрузку Ррасч, действующую на болотную залежь от массы возводимой насыпи, определяют с учетом положения уровня грунтовых вод:
Ррасч = К0λсж + Р0, (19)
где λсж - относительная осадка сжатия основания
λсж = Sсж/(H - Sот). (20)
Параметры нагрузки К0 и Р0 определяют по следующим формулам
К0 = γнвзвН(1 - λот) (21)
Р0 = γн(h + hгв) + γнвзв(hλот – hгв), (22)
где γн и γнвзв - соответственно плотности грунта насыпи, расположенного выше и ниже уровня грунтовых вод;
h - проектная высота насыпи (рабочая отметка);
hгв - расстояние от поверхности болота до горизонта грунтовых вод (см. рис. 2); λот = Sот/Н.
Если hгв > Sобщ в формулах (21) и (22) принимают γнвзв = γн.
8.6. Параметры сжимаемости λiсж определяют по результатам компрессионных испытаний и расчет осадки ведут графо-аналитическим методом. При отсутствии данных компрессионных испытаний допускается пользоваться номограммой (рис. 8), построенной на основе обобщения результатов обработки многочисленных компрессионных кривых. В качестве характеристики сжимаемости болотной залежи принят коэффициент пористости е0.
Номограмма связывает четыре параметра: К0, Р0, λсж и е0 (е0 - средневзвешенное значение коэффициента пористости для болотной залежи) и позволяет путем одного наложения линейки, соединяющей две точки на шкалах К0 и Р0 в точке пересечения линии с заданным е0, найти искомое значение λсж.
8.7. Продолжительность осадки t для достижения требуемой степени консолидации U слабого основания определяют по номограмме (рис. 9) в зависимости от режима возведения насыпи, характеризуемого величиной нагрузки P1, допускаемой по условиям устойчивости основания, и длительностью строительного периода t0, в течение которого нагрузка на основание возрастает от P1 до Ррасч.
Рис. 8. Номограмма для определения осадки (цифры на кривых - коэффициент пористости торфа е0)
Рис. 9. Номограмма для расчета продолжительности осадки (цифры на кривых - отношение t0/Т)
Номограмма связывает четыре комплексных параметра:
![]()
где t0 - продолжительность строительного периода;
t - время, необходимое для достижения требуемой степени консолидации U слабой толщи;
λ1 - конечная относительная деформация сжатия (уплотнения), основания для нагрузки Р1;
λ - конечная относительная деформация сжатая (уплотнения) основания для нагрузки Pрacч;
Т - консолидационный параметр, имеющий размерность времени; характеризует интенсивность затухания осадки.
По любым трем известным параметрам, обозначенным на шкалах номограммы, с помощью одного наложения линейки, определяют искомый четвертый параметр. Методика расчета по номограмме приведена в примерах расчета (см. обязательное приложение 4).
8.8. Консолидационный параметр Т определяют по следующим зависимостям:
а) для оснований I типа по устойчивости
б) для основании II и III А типа по устойчивости
где T - консолидационный параметр, в сут;
Р - нагрузка от массы насыпи, действующая на основание, в МПа;
λсж - относительная деформация сжатия слабого основания от действия нагрузки Р;
Sсж - осадка сжимающихся слоев слабого основания, см. п. 8.3 настоящих норм.
8.9. Расчет длительности осадки оснований I типа по устойчивости при быстрой отсыпке насыпи можно вести также по следующей формуле
(25)
9.1. Сроки устройства дорожной одежды определяют расчетом согласно пп. 8.7 - 8.9 настоящих норм в зависимости от требуемой степени консолидации U основания и уточняют в период строительства по данным результатов наблюдений за осадками основания согласно обязательному приложению 3. Требуемая степень консолидации основания пород устройством дорожной одежды приведена в табл. 11.
Таблица 11
|
Расчетная осадка сжатия, Sem, см |
Требуемая степень консолидации U для типа покрытия |
|||
|
усовершенствованные капитальные |
усовершенствованные облегченные |
переходные |
низшие |
|
|
до 30 |
0,90 |
0,85 |
0,80 |
0,75 |
|
Св. 30 до 100 |
0,95 |
0,90 |
0,85 |
0,80 |
|
Св. 100 до 170 |
0,96 |
0,92 |
0,87 |
0,82 |
|
Св. 170 |
0,98 |
0,95 |
0,90 |
0,85 |
10.1. Для получения устойчивого и стабильного во времени земляного полотна проектом должны быть предусмотрены следующие конструктивно-технологические мероприятия:
установлен режим возведения насыпи во времени (темп отсыпки и продолжительность предварительной консолидации) из условия обеспечения устойчивости слабого основания;
определены параметры временной пригрузки (схема пригрузки, толщина пригрузочного слоя и длительность его выдерживания), обеспечивающей стабилизацию слабого основания в течение заданного срока строительства;
определена строительная высота насыпи, учитывающая необходимый запас на осадку.
10.2. Режим возведения насыпи (темп отсылки) зависит от устойчивости основания. Для оснований I и III Б типа по устойчивости скорость отсыпки не регламентируется, для оснований II и III А типа отсылка насыпи должна вестись постепенно (медленная отсылка) в течение определяемого расчетом времени ta (строительного периода), необходимого для упрочнения слабых грунтов в результате их консолидации.
10.3. Следует соблюдать следующий порядок расчета:
а) назначают толщину насыпи (величину нагрузки P1), которую можно отсыпать сразу (в один прием). Величину нагрузки Р1 принимают равной Р1 = γнh1,
где γн - плотность грунта насыпи;
h1 - толщина насыпи, отсыпаемой сразу, которая принимается равной

б)
устанавливают продолжительность строительного периода t0, в течение
которого необходимо возводить насыпь до проектной толщины, чтобы основание
успело приобрести необходимое упрочнение в процессе консолидации. Для этого
определяют параметры
и
, допускается принимать
и U0 по табл. 12 (где U0 - степень консолидации
основания, достигаемая в течение строительного периода t0).
Таблица 12
|
λсж |
< 0,05 |
0,05 - 0,15 |
0,15 - 0,30 |
0,30 - 0,40 |
> 0,40 |
|
U0 |
0,25 |
0,33 |
0,5 |
0,6 |
0,65 |
Затем
на вертикальных шкалах номограммы (рис. 10) находят точки, отвечающие
заданным значениям переменных
и
и соединяют их линией путем наложения
линейки. Точка пересечения этой линии со шкалами t0/T и t/T при условии t0/T = t/T дает искомое
значение t0/T;
в) устанавливают допустимую интенсивность отсыпки насыпи q в расчете на месяц
![]()
где hн - проектная толщина насыпи;
г)
устанавливают длительность консолидации основания t, необходимую для
достижения заданной степени консолидации U. Для этого, по
известным параметрам
,
по номограмме (см. рис. 9),
определяют искомый параметр t/T. При значениях t0/T и t/T, не превышающих
7, следует пользоваться номограммой, приведенной на рис. 10,
которая является деталью номограммы, изображенной на рис. 9.
10.4. При строительстве дорог на болотных грунтах применяют следующие конструктивно-технологические решения временной пригрузки (рис. 11):
в виде дополнительного слоя насыпи на всю ширину земляного полотна - схема А;
в виде суженной насыпи (насыпи-пригрузки) - схема Б.
При использовании схемы А грунт пригрузки после завершения консолидации используют на следующих участках дороги или в других элементах конструкции в соответствии с проектом организации строительства; при использовании схемы Б - грунт распределяют на откосы.
Рис. 10. Номограмма для расчета продолжительности строительного периода (Цифры на кривых - отношение t0/T)
Рис. 11. Конструктивные решения земляного полотна с временной пригрузкой
А - в виде дополнительного слоя насыпи
Б - в виде суженной насыпи (насыпь-пригрузка)
Толщина слоя временной пригрузки принимается исходя от требуемых сроков достижения заданной степени консолидация при одновременном обеспечении устойчивости основания.
Следует соблюдать следующий порядок расчета:
а) определяют величину временной пригрузки Δр для схемы А по формуле
Δр = d · Ррасч, (26)
где d - коэффициент перегрузки, минимальные значения которого следует принимать по графику (рис. 12).
б) Коэффициент перегрузки d для пригрузки, выполняемой по схеме Б, определяют методом последовательного приближения в зависимости от требуемых сроков консолидации основания по следующей формуле:
d = 2h/B(m - m1), (27)
где h - высота проектируемой насыпи;
B - ширина проектируемой насыпи по верху;
т - показатель крутизны заложения откоса проектируемой насыпи;
m1 - показатель крутизны заложения откоса суженной насыпи (насыпи-пригрузки).
При проектировании насыпи-пригрузки варьирование значений крутизны откосов осуществляют в пределах: т = 1,5 - 4,0; m1 = 1 - 2.
Коэффициенты перегрузки d, вычисленные по формуле (27), должны быть не менее минимальных значений, полученных из графика на рис. 12. В противном случае пригрузка по схеме Б неэффективна, и для получения требуемого коэффициента перегрузки необходимо применять временную пригрузку по схеме А.
Рис. 12. График для определения минимального коэффициента перегрузки
в) определяют консолидационный параметр Тпр для насыпи с пригрузкой по формулам (23) или (24). При этом параметры λ, Р и Sсж для насыпи с пригрузкой вычисляют по формулам
λсж пр = λсж расч(1 + bd), (28)
Sсж пр = Sсж расч(1 + bd),
Pпр = Pрасч(1 + d),
где b - безразмерный коэффициент, определяемый по формуле
(29)
где Ррасч - расчетная нагрузка на основание в МПа;
е0 - средневзвешенное значение коэффициента пористости основания.
г) проверяют устойчивость слабого основания при возведении насыпи с временной пригрузкой. Коэффициент безопасности основания вычисляют по формуле
Если
³ 1, допускается
быстрая отсыпка насыпи и временной пригрузки и расчет длительности консолидации
производят по формуле:
При
< 1,
определяют коэффициент безопасности основания с учетом его упрочнения при
медленной отсыпке насыпи:
(32)
где U0 - степень консолидации основания, достигаемая за время строительного периода t0. Определяется по табл. 12 в зависимости от величины λсж пр.
Если
³ 1, допускается
медленная отсыпка насыпи и пригрузки. Расчет длительности консолидации
производят по методике, изложенной в п. 10.3 настоящих норм.
10.5. Для приложения заданной расчетной нагрузки на основание (hн - при отсыпке насыпи без пригрузки или hпр - при отсыпке с пригрузкой) насыпь в течение строительного периода необходимо отсыпать выше проектных отметок на высоту ΔX. Строительную высоту насыпи h0 определяют по формуле
h0 = h + ΔX, (33)
где h - проектная высота насыпи (рабочая отметка).
10.6. Толщину слоя насыпи ΔX, отсыпаемого сверх проектных отметок для компенсации длительно протекающих осадок консолидации, определяют по формуле
ΔX = Δh + Sсж расч[1 - U0(1 + bd)], (35)
где Δh - толщина слоя пригрузки;
Sсж расч - осадка за счет сжатия торфа от насыпи проектной толщины;
U0 - степень консолидации, определяемая по табл. 12;
b и d - коэффициенты, методика определения которых приведена в п. 10.4 настоящих норм.
10.7. Краткие указания по технологии сооружения земляного полотна на болотных грунтах приведены в рекомендуемом приложении 5.
ОПРЕДЕЛЕНИЕ ЧИСЛОВЫХ ХАРАКТЕРИСТИК СТАТИСТИЧЕСКОГО РАСПРЕДЕЛЕНИЯ
Степень однородности грунта по какому-либо показателю оценивают с помощью следующих характеристик рассеяния: размаха, дисперсии, среднего квадратического отклонения и коэффициента вариации.
Размах R определяют как разность между наибольшей и наименьшей вариантами статистической совокупности:
R = Xmax - Xmin (1.1)
Дисперсию выборки вычисляют по формуле
(1.2)
где xi - частные значения измеряемой величины;
- среднее
арифметическое значение;
n - число измерений.
Среднее квадратическое отклонение (или стандарт) отдельного измерения
(1.3)
Для малых выборок (п £ 20) стандарт с достаточной точностью можно определить по формуле
(1.4)
где dn - коэффициент, зависящий от объема выборки и определяемый по табл. 1.
Коэффициент вариации показателя
(1.5)
Коэффициент Стьюдента ta для разных значений надежности Р в зависимости от числа измерений п определяют по табл. 2.
Таблица 1
|
dn |
n |
dn |
|
|
2 |
1,128 |
12 |
3,258 |
|
3 |
1,693 |
13 |
3,336 |
|
4 |
2,059 |
14 |
3,407 |
|
5 |
2,326 |
15 |
3,472 |
|
6 |
2,534 |
16 |
3,532 |
|
7 |
2,704 |
17 |
3,588 |
|
8 |
2,847 |
18 |
3,640 |
|
9 |
2,970 |
19 |
3,689 |
|
10 |
3,078 |
20 |
3,735 |
|
11 |
3,173 |
25 |
~4,0 |
|
100 |
~5,0 |
Таблица 2
|
n - 1 |
Доверительные вероятности (коэффициенты надежности) |
||||
|
0,7 |
0,8 |
0,9 |
0,95 |
0,99 |
|
|
1 |
2 |
3 |
4 |
5 |
6 |
|
2 |
1,336 |
1,886 |
2,92 |
4,30 |
9,92 |
|
3 |
1,250 |
1,638 |
2,35 |
3,18 |
5,84 |
|
4 |
1,190 |
1,533 |
2,13 |
2,77 |
4,60 |
|
5 |
1,156 |
1,476 |
2,02 |
2,57 |
4,03 |
|
6 |
1,134 |
1,440 |
1,943 |
2,45 |
3,71 |
|
7 |
1,119 |
1,415 |
1,895 |
2,36 |
2,50 |
|
8 |
1,108 |
1,397 |
1,860 |
2,31 |
3,36 |
|
9 |
1,100 |
1,383 |
1,833 |
2,26 |
3,25 |
|
10 |
0,093 |
1,372 |
1,812 |
2,23 |
3,17 |
|
II |
1,088 |
1,363 |
1,796 |
2,20 |
3,11 |
|
12 |
1,083 |
1,356 |
1,782 |
2,18 |
3,06 |
|
13 |
1,079 |
1,350 |
1,771 |
2,16 |
3,01 |
|
14 |
1,076 |
1,345 |
1,761 |
2,14 |
2,98 |
|
15 |
1,074 |
1,341 |
1,783 |
2,13 |
2,95 |
|
16 |
1,071 |
1,337 |
1,746 |
2,12 |
2,92 |
|
17 |
1,069 |
1,333 |
1,740 |
2,11 |
2,90 |
|
18 |
1,067 |
1,330 |
1,734 |
2,10 |
2,88 |
|
19 |
1,066 |
1,328 |
1,729 |
2,09 |
2,86 |
|
20 |
1,064 |
1,325 |
1,725 |
2,09 |
2,84 |
|
21 |
1,063 |
1,323 |
1,721 |
2,08 |
2,83 |
|
22 |
1,061 |
1,321 |
1,717 |
2,07 |
2,82 |
|
23 |
1,060 |
1,319 |
1,714 |
2,07 |
2,81 |
|
24 |
1,059 |
1,318 |
1,711 |
2,06 |
2,80 |
|
25 |
1,058 |
1,316 |
1,708 |
2,06 |
2,79 |
|
26 |
1,058 |
1,315 |
1,706 |
2,06 |
2,78 |
|
27 |
1,057 |
1,314 |
1,703 |
2,05 |
2,77 |
|
28 |
1,056 |
1,313 |
1,701 |
2,05 |
2,76 |
|
29 |
1,055 |
1,311 |
1,699 |
2,04 |
2,76 |
|
30 |
1,055 |
1,310 |
1,697 |
2,04 |
2,75 |
|
40 |
1,050 |
1,303 |
1,684 |
2,02 |
2,70 |
|
60 |
1,046 |
1,296 |
1,671 |
2,00 |
2,66 |
|
120 |
1,041 |
1,289 |
1,658 |
1,98 |
2,62 |
|
∞ |
1,036 |
1,282 |
1,645 |
1,96 |
2,58 |
МЕТОДИКА ОПРЕДЕЛЕНИЯ СЖИМАЮЩИХ НАПРЯЖЕНИЙ ПО ГЛУБИНЕ ЗАЛЕЖИ
Сжимающие напряжения Рi для каждого расчетного слоя при трапецеидальной эпюре внешней нагрузки определяют по формуле
Рi = JP = (Jл - Jп)P,
где
-
функция относительных величин
;
а - длина треугольной эпюры нагрузки;
b - длина прямоугольной эпюры нагрузки;
z - глубина рассматриваемой точки;
Р - интенсивность нагрузки, соответствующая прямоугольной части эпюры.
Величину J определяют по графику (рис. 1) как алгебраическую сумму коэффициентов, соответствующих нагрузке слева (Jл) и справа (Jп) от вертикали, проходящей через рассматриваемую точку.
Пример. Определим вертикальное напряжение от насыпи шириной поверху 12 м, высотой 3 м и заложением откоса 1:1,5 для точки, расположенной по оси насыпи на глубине 5 м.
При нагрузке, действующей слева и справа (рассматриваемое сечение симметрично относительно оси),
![]()
Отсюда а = 3 · 1,5 = 4,5 м.
По графику (см. рис. 1) находим Jл = Jп = 0,465. Следовательно,
Рх = (Jл + Jп)P = 0,93Р.
Рис. 1. График для определения сжимающих напряжений от нагрузки, меняющейся по закону прямой
Если рассматриваемую точку переместить на 3 м влево от оси, получим:
при нагрузке, действующей слева,
![]()
Jл = 0,435;
при нагрузке, действующей оправа,
Jп = 0,48;
Следовательно,
Рz = (0,435 + 0,48)Р = 0,915Р.
НАТУРНЫЕ НАБЛЮДЕНИЯ ЗА ОСАДКАМИ ОСНОВАНИЯ
Осуществление конструктивно-технологических решений земляного полотна на болотах без выторфовывания требует строгого выполнения указаний в части соблюдения заданного режима отсыпки грунта, высоты и ширины насыпи, установления времени завершения консолидации торфяного основания. Выполнить это можно на основе анализа действительной картины хода осадок во времени. В связи с этим, организация контрольных наблюдений и качественное их проведение является одним из главнейших условий успешной реализации принятой технологии возведения земляного полотна. Стоимость работ по проведению наблюдений должна быть включена в строительную смету.
Контрольные наблюдения при сооружении земляного полотна на болотах должны включать систематическое измерение толщины отсыпаемых слоев hн (t), высоты насыпи h (t) и осадок слабого основания S (t) в заданные моменты времени t.
По результатам этих измерений устанавливают:
соответствие фактического режима отсыпки проектному;
соответствие строительной высоты насыпи h0 фактически отсыпанной высоте насыпи h (t);
соответствие расчетной осадки Spacч фактическим S (t);
фактические объемы работ по отсыпке нижней части насыпи.
Контроль осадок основания и толщины насыпного слоя производят по осадочным маркам. Марка (рис. 1) представляет собой металлическую плиту из 2 - 3 мм стали размером 400´400 мм и более (в плане), перпендикулярно которой в ее центре приварена труба диаметром 1,5 - 2,0 дюйма (или стальной пруток диаметром 24 - 30 мм) длиной 3000 мм. В верхней части трубы закреплена муфта (переходник) для наращивания марки по высоте. К стержню марки через 1500 мм приварена площадка для установки нивелирной рейки. Для повышения устойчивости марки, особенно в период ее установки, стержень марки рекомендуется выпустить ниже опорной площадки на 400 - 500 мм.
Рис. 1. Осадочная марка
Величину осадки устанавливают путем нивелирования, следя за перемещением марки по отношению к постоянному реперу. Осадку слабого основания S (t) можно определить также по данным измерения фактических толщин насыпи hн (t) и высоты насыпи h (t) в заданный момент времени t:
S (t) = hн (t) - h (t).
Контрольные измерения следует вести в период возведения насыпи ежедневно, первые три месяца после полной отсыпки насыпи - еженедельно, в дальнейшем - до сдачи дороги в эксплуатацию - два раза в месяц. Результаты измерений регистрируют в нивелировочном журнале, а данные по высоте, толщине насыпи, величине осадки и степени консолидации основания с нарастающим итогом заносят в ведомость (табл. 1).
Таблица 1
|
Осадочная марка № 15 (ПК 24 + 00), Sобщ = 80 см |
||||
|
Толщина насыпи |
Высота насыпи |
Осадка |
Степень консолидации U (t) |
|
|
1.IV.85 |
200 |
185 |
15 |
0,25 |
|
2.IV.85 |
200 |
172 |
28 |
0,47 |
|
3.IV.85 |
200 |
168 |
32 |
0,53 |
|
1.V.85 |
200 |
140 |
60 |
0,75 |
Степень консолидации основания в данный момент времени вычисляют по формуле
![]()
где S (t) - фактическая осадка в момент времени t;
S общ - общая осадка насыпи согласно п. 8.1 настоящих норм.
Пример 1
Требуется запроектировать земляное полотно и дорожную одежду с асфальтобетонным покрытием дороги III категории через болото.
Исходные данные. Перспективная интенсивность движения -
800 автомобилей группы А в сутки на одну полосу движения. Грунт насыпи - песок
мелкий. Средняя плотность грунта насыпи и материалов дорожной одежды γн - 2,0 т/м3.
Уровень грунтовых вод совпадает с поверхностью болота. Плотность грунта насыпи
во взвешенном состоянии
- 1,0 т/м3.
Продолжительность строительства земляного полотна tстр = 200 сут.
Инженерно-геологическая характеристика
По результатам инженерно-геологических изысканий перехода через болото выделены однородные слои и определены расчетные показатели основных физико-механических характеристик. Болото неосушенное, покрыто березово-ольховым лесом. Уклон минерального дна практически отсутствует. По глубине болота выделено три слоя торфа: осоково-травяной с R = 25 %, осоковый с R = 25 - 30 % и осоково-гипновый с R = 10 - 15 %. Мощность болотных грунтов 1 - 3,8 м (рис. 1а).
В результате статистической обработки показателей влажности выделены однородные слои для расчета осадок торфяного основания. Границы слоев по плотности-влажности практически совпадают с границами геологического разреза. Для каждого из слоев определены расчетные показатели влажности, плотности сухого грунта, коэффициента пористости и показателя сжимаемости. Расчетная геотехническая модель торфяного основания применительно к расчету осадки приведена на рис. 1б.
Рис. 1. Геотехническая характеристика болотной залежи:
а) геологический разрез; б) геотехническая модель для расчета осадок; в) геотехническая модель для расчета устойчивости
Сопоставление средних значений показателей сжимаемости при помощи критерия Стьюдента показало, что различия между ними незначимы и всю залежь можно считать статистически однородной по сжимаемости. Средние значения показателей сжимаемости для всей слабой толщи можно определить как средневзвешенные. По напряженному состоянию залежь также можно принять однородной, поскольку Н/В1 = 3,5/18 = 0,195 < 0,5 (см. раздел 8 настоящих норм).
По результатам статистической обработки испытаний торфяной залежи крыльчаткой определены расчетные характеристики сопротивления сдвигу и установлено, что по прочности торфяная залежь неоднородна по глубине (рис. 1в). Почти на всем протяжении болота для среднего слоя получено наименьшее сопротивление сдвигу по крыльчатке - 0,011 МПа.
Расчетный поперечник (ПК 4) характеризуется следующими показателями: Н = 380 см; е0 = 10,7; γ'd = 0,138 г/см3; τ = 0,011 MПa.
Выбор конструкции земляного полотна
Выбор конструкции земляного полотна производим в зависимости от типа основания по устойчивости. Слабая толща представлена торфяными грунтами, относящимися к строительному типу 2 (табл. 5). Согласно табл. 4 настоящих норм, основание относится ко II типу по устойчивости. Следовательно, торфяной грунт можно использовать в качестве основания насыпи при постепенном загружении слабого основания.
Расчет прочности дорожной одежды и земляного полотна
Принята следующая конструкция дорожной одежды на переходе через болото: двухслойный асфальтобетон толщиной 9 см, черный гравий - 10 см и оптимальная гравийная смесь - 35 см. В качестве подстилающего слоя служит мелкий песок, из которого осыпано земляное полотно.
Расчетные модули упругости материалов конструктивных слоев дорожной одежды приняты по Инструкции по проектированию дорожных одежд нежесткого типа ВСН 46-83/Минтрансстрой, земляного полотна по табл. 7 настоящих норм.
Требуемый общий модуль упругости дорожной одежды с асфальтобетонным покрытием принят равным Eобщ = 220 МПа по графику (см. рис. 1) для перспективной интенсивности движения 800 автомобилей группы А. Результаты расчета прочности дорожной одежды по Инструкции по проектированию дорожных одежд нежесткого типа приведены в табл. 1.
Таблица 1
|
Модуль упругости слоя, МПа |
Толщина слоя, см |
h/D |
Eобщ/Ев |
Eн/Ев |
Общий модуль упругости дорожной одежды, МПа |
|
|
Асфальтобетон (верхний слой) |
Е1 = 1200 |
h1 = 4 |
0,123 |
0,183 |
0,16 |
Eобщ = 220 |
|
Асфальтобетон (нижний слой) |
Е2 = 800 |
h2 = 5 |
0,153 |
0,24 |
0,207 |
E'общ = 192 |
|
Черный гравий |
Е3 = 300 |
h3 = 10 |
0,303 |
0,552 |
0,465 |
E''общ = 166 |
|
Оптимальная гравийная смесь |
Е4 = 200 |
h4 = 35 |
1,06 |
0,7 |
0,392 |
E'''общ = 140 |
|
Песок мелкий |
Е5 = 80 |
Eн общ = 78,4 |
Таким образом, требуемый общий модуль упругости на поверхности насыпи Енобщ треб равен 78,4 МПа.
Проверка толщины дорожной одежды по условию сдвига в песчаном грунте земляного полотна и асфальтобетонного покрытия на растяжение при изгибе, показывает, что принятая конструкция обеспечивает работу порожной одежды без накопления остаточных деформаций.
Расчет конечной осадки и толщины насыпного слоя
Рабочая отметка насыпи (высота насыпи h) на расчетном поперечнике по условиям проектирования продольного профиля принята равной 2,5 м.
Расчет осадки Sот, происходящей за счет отдавливания слабых слоев производим по формуле (17) с использованием табл. 10. Результаты расчета сведены в табл. 2.
Таблица 2
|
hi, м |
τ, МПа |
λiот |
Siот = λiотhi, м |
|
0,8 |
0,012 |
0,15 |
0,12 |
|
1,2 |
0,011 |
0,20 |
0,24 |
|
1,8 |
0,014 |
0,05 |
0,09 |
|
Σhi = Н = 3,8 м |
Sот = ΣSiот = 0,45 м |
Расчет осадки Sсж производим по номограмме (см. рис. 8). Предварительно определяем параметры К0 и Р0 в уравнении (19), выражающем зависимость нагрузки от осадки насыпи:
К0 = 0,01[γнвзвН(1 - λопт)] = 0,01[1 · 3,8(1 - 0,118) ] = 0,0335 МПа,
где
![]()
Р0 = 0,01[γн(h + hгв)+ γнвзв(H · xm - hгв)] = 0,01[2(2,5 + 0) + 1(3,8 · 0,118 - 0)] = 0,0545 МПа.
На номограмме (см. рис. 8) точки с пометками К0 = 0,0335 и Р0 = 0,0545 МПа соединяем прямой. В точке пересечения этой линии с кривой е0 = 10,7 находим λсж = 0,35.
По формуле (20) находим Sсж
Sсж = λсж(Н - Sот) = 0,35(3,8 - 0,45) = 1,17 м
Общая осадка торфяной залежи равна
Sобщ = Sсж + Sот = 1,17 + 0,45 = 1,62 м.
Расчетная нагрузка на основание равна
Ррасч = К0λсж + Р0 = 0,0335 · 0,35 + 0,0545 = 0,0662 МПа.
По
графику (см. рис. 3) для λсж = 0,35 и γd = 0,138 г/см3
определяют модуль упругости торфа под насыпью Ет = 3,2 МПа.
Зная отношения
![]()
![]()
![]()
определяем коэффициенты m = 0,9655 (см. табл. 8), К = 0,009 (см. рис. 4а), η = 0,22 (см. рис. 4б).
Вычисляем фактический модуль упругости насыпи на торфе по формуле (3)
![]()
Полученный фактический модуль упругости насыпи (77,7 МПа) меньше требуемого (78,4 МПа). Поскольку отличие не превышает 5 % ([77,7 - 78,4]/78,4 · 100 = 0,9 %), принятая толщина насыпи (hн = h + Sобщ = 250 + 162 = 412 см) обеспечит требуемую прочность дорожной одежды.
Расчет толщины для остальных поперечников ведут аналогично.
Динамический расчет не производим, поскольку во всех случаях толщина насыпного слоя более 3 м. Для этого случая (см. раздел 6) ускорения колебаний земляного полотна от воздействия транспортной нагрузки не превышает допустимых величин по условиям вибропрочности асфальтобетонного покрытия.
Расчет устойчивости основания
Безопасная нагрузка на основание
= N · τ = 3,9 · 0,011 =
0,0429 МПа,
где N = 3,9 по табл. 9 для относительной глубины расположения слабого слоя, равной 1,8/(1,5 · 2,5 · 2 + 12) = 0,092.
Определяем коэффициент безопасности:

Поскольку К = 0,65 < 0,7, основание IIIА типа по устойчивости (см. раздел 7 настоящих норм). Следовательно, устойчивость основания при возведении насыпи сразу на всю высоту с учетом запаса на осадку не обеспечена. Насыпь необходимо возводить медленно по методу постепенного загружения.
Расчет режима возведения насыпи
Определяем
толщину насыпи (величину нагрузки Р1), которую можно отсыпать
сразу (в один прием). Принимаем P1 =
= 0,0429 МПа и h1 =
/γн
= 0,0429/(1,8 ·
10-2) = 2,38 м, поскольку h1 > Som (2,38 >
0,45) - см. п. 10.3
настоящих норм.
Устанавливаем
продолжительность строительного периода t0, в
течение которого необходимо возводить насыпь до проектной толщины из условия
обеспечения устойчивости основания. Вычисляем отношение
. Степень
консолидации основания, происходящей в течение строительного периода, принимаем
по табл. 12
(U0 = 0,60 для λсж = 0,35).
Зная
отношения
и
, на номограмме
(см. рис. 9)
через эти точки проводим прямую и на сетке шкал t0/T и t/T, при условии t0/T = t/T, находим t0/T = 2,15.
По формуле (24) вычисляем консолидационный параметр Т слабого основания:

Следовательно, t0 = 2,15 · T = 2,15 · 31 = 67 сут.
Определяем
длительность консолидации основания, необходимую для достижения заданной
степени консолидации основания U, позволяющей
производить устройство дорожной одежды с капитальным типом покрытия. По табл. 11
находим U
=
0,96 для Sсж = 117 см. С помощью номограммы для отношений
,
и t0/T = 2,15 находим t/T = 18,7.
Следовательно, t = 18,7 · Т = 18,7 · 31 = 580 сут. = 1,59 года.
Время консолидации превышает установленную продолжительность строительства tcmp (580 > 200 сут.), поэтому необходимо применение мероприятий для ускорения консолидации.
Для сокращения сроков строительства применяем временную пригрузку. Определяем минимальное значение коэффициента перегрузки. Для (1 + е0)Ррасч = (1 + 1,07) · 0,0662 = 0,77 МПа и U = 0,96 по рис. 11 находим dmin = 0,10. Поскольку срок консолидации необходимо сократить в 580/200 = 2,9 раза, коэффициент перегрузки принимаем ориентировочно равным d = 3 · dmin ≈ 0,3.
Проверим устойчивость слабого основания для насыпи с временной пригрузкой.
Определяем по формуле (27) нагрузку на основание и его осадки при возведении насыпи с пригрузкой:
Рпр = 0,0662(1 + 0,3) = 0,0861 МПа,
Scж np = 117(1 + 0,46 · 0,3) = 133 см,
λсж пр = 0,35(1 + 0,46 · 0,3) = 0,40,
где коэффициент b равен
![]()
Коэффициент безопасности основания с учетом его упрочнения при медленной отсыпке насыпи и пригрузки по формуле (31) равен:

где U0 = 0,65 для λпр = 0,40 по данным табл. 12.
Поскольку
=
1,23 > 1,0, устойчивость основания при медленной отсыпке насыпи и пригрузки
обеспечена.
Определяем консолидационный параметр Тпр для насыпи с пригрузкой:

Расчет режима возведения насыпи с пригрузкой ведем аналогично расчету режима возведения насыпи без пригрузки.
Принимаем h1 = 2,38 м и P1 = 0,0429 МПа, U0 = 0,65 для λпр = 0,40 (см. табл. 12).
Находим
;
; ![]()
По номограмме (см. рис. 10) находим t0/Tпр = 3,1, следовательно, t0 = 3,1 · Tпр = 3,1 · 29 = 90 сут.
Определяем длительность консолидации насыпи с временной пригрузкой. Находим требуемую степень консолидации Uпр насыпи с пригрузкой:

Вычисляем вспомогательные параметры:
;
t0/Tпр = 3,1.
По номограмме (см. рис. 9) находим t/T = 6,2. Следовательно, t = 6,2 · Tпр = 6,2 · 29 = 180 сут.
Полученный срок консолидации меньше требуемого (180 < 200 сут), поэтому принятая величина временной пригрузки является достаточной.
Определяем толщину слоя временной пригрузки:
Δh = d · hн = 0,3 · 412 = 125 см.
Месячная интенсивность отсыпки насыпи равна
![]()
При возведении насыпи сначала быстро отсыпают насыпь толщиной 2,38 м, а далее в течение 90 сут оставшуюся часть насыпи и временную пригрузку с таким расчетом, чтобы в течение месяца толщина насыпи увеличивалась на 1,0 м. График отсыпки насыпи приведен на рис. 2.
Определение строительной высоты насыпи
Толщину слоя насыпи ΔX, отсыпаемого сверх проектных отметок для компенсации осадок, определяем по формуле (33)
ΔХ = Δh + Sсм paсч[1 - U0(1 + bd)] = 125 + 117 · [l - 0,60(1 + 0,46 · 0,3)] = 162 см,
где U0 = 0,60 (по табл. 12) для λсм paсч = 0,35.
Строительная высота насыпи равна
h0 = h + ΔX = 250 + 162 = 412 см.
Пример 2
Требуется запроектировать земляное полотно и дорожную одежду с покрытием облегченного типа для дороги IV категории.
Исходные данные. Перспективная интенсивность движения 100 автомобилей группы А в сутки на 1 полосу движения. Мощность торфа в залежи H - 250 см. Расчетное сопротивление сдвигу торфа по крыльчатке τ - 0,018 МПа. Средняя плотность сухого торфа в залежи γd - 0,15 г/см3. Начальный коэффициент пористости e0 - 8. Грунт насыпи - песок мелкий. Средняя плотность грунта насыпи и дорожной одежды γн - 2,0 т/м3. уровень грунтовых вод совпадает с поверхностью болота. Плотность грунта насыпи во взвешенном состоянии γнвзв - 1,0 т/м3. Продолжительность строительства земляного полотна tстр = 70 сут.
Рис. 2. График возведения насыпи во времени
Расчет прочности дорожной одежды
Принята конструкция дорожной одежды с покрытием из плотного дегтебетона. По графику (см. рис. 1) требуемый общий модуль упругости дорожной одежды E общ треб = 131 МПа.
По инструкции по проектированию дорожных одежд нежесткого типа ВСН 46-83/Минтрансстрой определяем общие модули упругости на поверхности нижележащих слоев, заканчивая расчет определением требуемого модуля упругости Eн общ треб на поверхности насыпи. Результаты расчета приведены в табл. 3.
Таблица 3
|
Модуль упругости слоя, МПа |
Толщина слоя, см |
h/D |
Е общ /Ев |
Ен/Ев (по номограмме) |
Общий мoдуль упругости на поверхности слоя, МПа |
|
|
Плотный среднезернистый дегтебетон |
800 |
5 |
0,152 |
0,164 |
0,136 |
E общ = 131 |
|
Крупнопористый дегтебетон гравийный |
500 |
8 |
0,242 |
0,218 |
0,16 |
E' общ = 109 |
|
Гравийные материалы |
200 |
15 |
0,455 |
0,40 |
0,262 |
E'' общ = 80 |
|
Песок мелкий |
80 |
Eн общ = 52 |
Как видно из таблицы, требуемый модуль упругости на поверхности насыпи Eн общ треб равен 52 МПа.
Проверочные расчеты показывают, что равновесие по сдвигу в песчаном слое обеспечено, следовательно, толщина дорожной одежды подобрана правильно.
Расчет конечной осадки и толщины насыпного слоя
По условиям проектирования продольного профиля h = 1,2 м.
Определяем осадку Sот
Sот = λот · Н = 0 · 2,5 = 0 м,
где λот = 0 для τ = 0,018 МПа по табл. 10.
Для определения осадки Sсж предварительно определяем параметры К0 и Р0, входящие в уравнение (19):
К0 = 0,01[γнвзвН(1 - λот)] = 0,01[1 · 2,5(1 - 0)] = 0,025 МПа
Р0 = 0,01[γн(h + hгв) + γнвзв (Нλот - hгв)] = 0,01[2(1,2 + 0) + 1(2,5 · 0 - 0)] = 0,024 МПа.
По номограмме (см. рис. 8) точки с пометками К0 = 0,025 и Р0 = 0,024 соединяем прямой. В точке пересечения этой линии с кривой е0 = 8 находим λсж = 0,14.
По формуле (20) находим
Sсж = λсж(H - Sот) = 0,14(2,5 - 0) = 0,35 м.
Общая осадка торфяной залежи равна
Sобщ = Sсж + Sот = 0,35 + 0 = 0,35 м.
Расчетная нагрузка на основание
Ррасч = К0λсж + Р0 = 0,025 · 0,14 + 0,024 = 0,028 МПа.
Модуль упругости торфа, уплотненного весом насыпи, Ет равен 2,1 МПа (для λсж = 0,14 и γd = 0,15 г/см3 по графику на рис. 3).
Зная
отношения
и
, определяем коэффициенты m = 0,902 (см.
табл. 8),
К = 0,06 (см.
рис. 4а)
и η = 0,18 (см. рис. 4б).
Вычисляем фактический модуль упругости насыпи на торфе по формуле (3):
![]()
Общий модуль упругости проектируемой насыпи Eобщ равный 55,7 МПа, больше требуемого (Eн общ треб = 52 МПа), следовательно, принятая толщина насыпи 155 см обеспечивает требуемую прочность дорожной одежды.
Динамический расчет земляного полотна
Исходные данные hн = 1,2 + 0,35 = 1,55 м, hт = 2,5 - 0,35 = 2,15 м, Ет = 2,1 МПа.
Определяем частоту собственных колебаний насыпи на торфе
(1-й
расчетный случай).
Для
известных
; hн = 1,55 м и hт = 2,15 м по номограмме
(см. рис. 6)
находим ω = 68 с-1.
Вычисляем упругий прогиб торфяного основания по формуле (10)
![]()
где К =
0,035 для ![]()
η = 0,18
для
.
hl = 1,55 - 0,28 +
0,28
= 1,75 м,
где ![]()
Коэффициент демпфирования ψ = 8,6/ω = 8,6/68 = 0,126, Кдин = 1,25 (см. рис. 7) для ψ = 0,126.
Амплитуда колебаний насыпи
А = 0,77(1,25 - 1,0) = 0,193 мм.
Ускорение колебаний проектной насыпи
афакт = 0,193 · 682 = 892 мм/с2.
Предельно допустимое значение ускорений колебаний земляного полотна при ω · 68 с-1 для покрытий облегченного типа по графику (см. рис. 5) равно 210 мм/с2. Так как афакт > адоп, толщина насыпи по условиям динамики недостаточна. Дополнительно проведенные расчеты показывают, что условия динамики обеспечивается при толщине насыпного слоя hн = h + Sобщ = 1,6 + 0,43 = 2,03 м. В этом случае К0 = 0,025 МПа; Р0 = 0,032 МПа; λсж = 0,17; Ррасч = 0,025 · 0,17 + 0,032 = 0,036 МПа; Sсж = 0,17 · 2,5 = 0,43 м.
Расчет устойчивости основания
Безопасная нагрузка на основание
= N · τ
=
3,44 · 0,018 = 0,062 MПa,
где
N = 3,44 по табл. 9 для относительной глубины расположения слабого
слоя, равной ![]()
Определяем коэффициент безопасности:

> 1,0,
следовательно, устойчивость основания при возведении насыпи расчетной толщины в
режиме быстрой отсыпки обеспечена (основание I типа по
устойчивости).
Расчет длительности осадки во времени
Определяем требуемую степень консолидации торфяного основания из условия возможности устройства дорожной одежды с облегченным типом покрытия. По табл. 11 для Sсж = 43 см находим U = 0,90.
Время, необходимое для достижения заданной степени консолидации, вычисляем по формуле (25):
![]()
где 
Уменьшить срок консолидации можно с помощью временной пригрузки. Определяем минимальное значение коэффициента перегрузки. Для (1 + е0). Ррасч = (1 + 8)0,036 = 0,324 МПа и U = 0,90 по рис. 11 находим dmin = 0,12. Исходя из того, что время консолидации необходимо сократить в 228/70 = 3 раза, коэффициент перегрузки ориентировочно принимаем равным d = 3 · dmin = 0,36.
Определяем устойчивость основания при отсыпке насыпи с временной пригрузкой
Рпр = Ррасч(1 + d) = 0,036(1 + 0,36) = 0,049 МПа;
![]()
Коэффициент безопасности больше единицы, следовательно, устойчивость основания обеспечена при отсыпке насыпи и пригрузки в режиме быстрого нагружения.
Определяем консолидационный параметр Тпр для насыпи с временной пригрузкой:

где Sсж пр = Sсж расч(1 + bd) = 43(1 + 0,67 · 0,36) = 53 см;
λсж пр = λсж расч(1 + bd) = 0,17(1 + 0,67 · 0,36) = 0,21;
![]()
Длительность консолидации насыпи с пригрузкой определяем по формуле (30):
![]()
Полученное время консолидации tnp = 47 < tопр = 70 сут, следовательно, коэффициент перегрузки можно уменьшить.
Принимаем d = 0,3, тогда
Sсж пр = 43(1 + 0,67 · 0,3) = 52 см;
λсж пр = 0,17(1 + 0,67 · 0,3) = 0,20;
Рпр = 0,036(1 + 0,3) = 0,047 МПа;
![]()
Продолжительность консолидации насыпи с пригрузкой
![]()
Таким образом, применение временной пригрузки (d = 0,3) позволяет уменьшить срок консолидации на 258 - 63 = 195 сут.
Толщина пригрузочного слоя
Δh = d · hн = 0,3 · 2,03 = 0,61 м.
Рассмотрим возможность устройства пригрузки на данном поперечнике по схеме Б (насыпь-пригрузка). Принимаем показатели крутизны откосов т = 2, т1 = 1. Тогда для насыпи высотой h = 1,6 м и шириной b = 10 м по формуле (27) определим коэффициент перегрузки.
![]()
Так как 0,32 > 0,30, принятые геометрические параметры насыпи-пригрузки обеспечивают получение эффективной временной пригрузки.
Определение строительной высоты насыпи
Толщину слоя насыпи ΔX, отсыпаемого сверх проектных отметок для компенсации осадок, определяем по формуле (34):
ΔX = Δh + Sсж расч[1 - U0(1 + bd)] = 61 + 43[1 - 0,5(1 + 0,67 · 0,3)] = 78 см,
где U0 = 0,50 по табл. 12 для λсж расч = 0,17.
Строительная высота насыпи равна
h0 = h + ΔХ = 1,6 + 0,78 = 2,38 м.
Процесс возведения земляного полотна на болотах при использовании слабого грунта в качестве несущего основания включает следующие технологические операции:
восстановление и закрепление трассы дороги;
расчистку дорожной полосы;
разбивку земляного полотна;
установку приборов для наблюдений за осадками основания и толщиной отсылаемой насыпи;
возведение земляного полотна в соответствии с заданным режимом отсыпки насыпи;
проведение контрольных наблюдений в процессе строительства.
Расчистку дорожной полосы от леса и кустарника производят перед началом земляных работ. Поверхность болота после расчистки должна быть ровной. Пни над поверхностью земли не должны возвышаться более чем на 20 - 30 см.
Для обеспечения максимальной несущей способности основания в естественном состоянии рекомендуется оставлять корневую систему кустарников и деревьев, а также растительный слой.
При разбивке земляного полотна в плане закрепляют ось и подошву насыпи. Ось земляного полотна закрепляют с помощью марок, которые одновременно служат для наблюдений за осадками. Подошву насыпи закрепляют вешками, которые используют для контроля боковых деформаций. Кроме того, на расстоянии равном не менее глубины болота от подошвы насыпи устанавливают колья (высотники) с высотными отметками насыпи - проектной h и строительной h0.
В зависимости от несущей способности слабого основания и принятой конструкции земляного полотна сооружение земляного полотна производят по следующим технологическим схемам:
насыпь отсыпают на полную высоту без ограничения скорости отсыпки с учетом ожидаемой осадки основания с послойным уплотнением грунта земляного полотна (на основаниях I типа по устойчивости);
насыпь отсыпают по специальному режиму (медленная отсыпка) в течение времени t0, необходимого для уплотнения и упрочнения основания (на основаниях II и IIIа типа по устойчивости).
Временную пригрузку, используемую для ускорения консолидации основания и обеспечения стабильной работы дорожной конструкции в период эксплуатации, устраивают одновременно с отсыпкой насыпи, при обеспеченной устойчивости основания, или по методу предварительной консолидации (постепенного загружения).
Во всех случаях отсыпка грунта в насыпь должна производиться послойно для обеспечения требуемой плотности. Первый (рабочий) слой земляного полотна отсыпают минимально возможной по условиям проезда построечного транспорта толщины. Толщина рабочего слоя должна быть не менее 2,0 - 2,5 диаметров отпечатка шины расчетного автомобиля и обычно составляет 70 - 100 см.
Последующие слои отсыпают толщиной 30 - 50 см и уплотняют до достижения требуемых норм плотности.
Грунт, отсыпаемый выше проектных отметок дна корыта (временная пригрузка, грунт для создания расчетной нагрузки на основание), специального уплотнения не требует.
Отсыпку производят автосамосвалами, скреперами. Разравнивают грунт бульдозером, надвигая его на болото способом «от себя». Уплотнение грунта осуществляют катками на пневматических шинах, виброкатками и решетчатыми катками.
При отсыпке насыпи выполняют постоянный контроль ее высоты и осадки в соответствии с обязательным приложением 3. После того как осадка достигнет величины, соответствующей требуемой степени консолидации, временную пригрузку или дополнительный слой грунта, эквивалентный массе дорожной одежды, удаляют до отметки дна корыта с недобором грунта в пределах 10 см. Грунт временной пригрузки используют на соседних участках.
После стабилизации осадок до заданной величины приступают к сооружению дорожной одежды, устройству присыпных обочин и выполнению отделочных работ.
ОСНОВНЫЕ БУКВЕННЫЕ ОБОЗНАЧЕНИЯ
Физические свойства грунтов
γ - плотность грунта (отношение массы грунта, включая массу воды в его порах, к занимаемому этим грунтом объему, включая поры);
γd - плотность сухого грунта (отношение массы сухого грунта к занимаемому им объему);
γн - плотность частиц грунта (отношение массы сухого грунта к объему твердой части этого грунта);
е - коэффициент пористости;
R - степень разложения торфа;
W - влажность.
Геометрические характеристики
В - ширина насыпи;
h - проектная высота насыпи;
h0 - строительная высота насыпи;
ΔX - толщина слоя насыпи, отсыпаемого сверх проектных отметок;
hн - толщина насыпи;
H - глубина болота;
hт - толщина торфа под насыпью;
hi - толщина однородных слоев болотной залежи;
Δh - толщина временной пригрузки;
Нод - толщина дорожной одежды.
Механические характеристики грунтов и дорожно-строительных материалов
τ - сопротивление сдвигу по крыльчатке болотного грунта в природном залегании;
Ен - модуль упругости грунта насыпи;
Ет - модуль упругости торфа;
Енобщ - общий модуль упругости системы насыпь-болотный грунт;
Ррасч - расчетная нагрузка на основание от массы проектируемой насыпи;
Δр - величина временной пригрузки;
Рпр - нагрузка на основание от расчетной нагрузки и временной пригрузки;
d - коэффициент перегрузки;
Sобщ и λобщ - общая абсолютная и относительная осадка основания;
Sсж и λсж - осадка абсолютная и относительная сжимающихся слоев болотной залежи;
Sот и λот - осадка абсолютная и относительная отдавливаемых слоев болотной залежи;
S (t) - осадка основания в момент времени t;
Рбез - безопасная нагрузка на основание;
Кбез - коэффициент безопасности основания;
ω - частота собственных колебаний системы насыпь-торф;
афакт и адоп - фактические и предельно-допустимые ускорения колебаний земляного полотна и дорожной одежды на торфяном основании.
Консолидационные характеристики основания
Т - консолидационный параметр;
t0 - продолжительность строительного периода (продолжительность возведения насыпи);
U - степень консолидации основания;
U0 - степень консолидации основания, соответствующая окончанию строительного периода t0;
tстр - нормативная продолжительность строительства земляного полотна.
СОДЕРЖАНИЕ