ЦЕНТРАЛЬНЫЙ НАУЧНО-ИССЛЕДОВАТЕЛЬСКИЙ
И ПРОЕКТНО-ЭКСПЕРИМЕНТАЛЬНЫЙ ИНСТИТУТ
ПРОМЫШЛЕННЫХ ЗДАНИЙ И СООРУЖЕНИЙ
(ЦНИИПРОМЗДАНИЙ) ГОССТРОЯ СССР
РЕКОМЕНДАЦИИ
ПО ОПРЕДЕЛЕНИЮ
ТЕХНИЧЕСКОГО
СОСТОЯНИЯ
ОГРАЖДАЮЩИХ
КОНСТРУКЦИЙ
ПРИ РЕКОНСТРУКЦИИ
ПРОМЫШЛЕННЫХ
ЗДАНИЙ
![]()
МОСКВА СТРОЙИЗДАТ 1988
Рекомендованы к изданию решением секции ограждающих конструкций Научно-технического совета ЦНИИпромзданий Госстроя СССР.
Содержат положения по определению технического состояния ограждающих конструкций реконструируемых промышленных зданий на основании результатов натурных обследований с целью выявления фактических характеристик и возможности дальнейшего использования этих конструкций в реконструированном здании.
Для работников проектных организаций и промышленных предприятий, выполняющих предпроектные обследования промышленных зданий, подлежащих реконструкции.
Разработаны ЦНИИпромзданий Госстроя СССР (кандидаты техн. наук А.Э. Бутлицкий, Ю.П. Александров, А.М. Воронин, Я.Д. Пергамент, М.И. Поваляев, А.М. Сафонов, инженеры О.А. Васильева, В.П. Васин, В.П. Конин, С.П. Макогон, Г.И. Рогунова, О.Л. Терентьев и В.А. Трушин) и ЦНИИСК им. В.А. Кучеренко Госстроя СССР (кандидаты техн. наук А.А. Емельянов и А.И. Рабинович) при участии института Проектхимзащита Минмонтажспецстроя СССР (инженеры В.И. Ильинцев, Л.Н. Луговской и Н.Н. Тимофеева), НИИЖБ Госстроя СССР (инженеры О.И. Марголина, Е.С. Фискинд, В.М. Хохрякова и Т.А. Щербакова) и инж. В.А. Юдкина (ГПИ «Строймаш» Минстройдормаша СССР).
ПРЕДИСЛОВИЕ
Основными направлениями экономического и социального развития СССР на 1986 - 1990 годы и на период до 2000 года поставлена и успешно решается задача значительного расширения масштаба технического перевооружения и реконструкции действующих предприятий.
В настоящее время проектные и строительно-монтажные работы по реконструкции действующих предприятий выполняются в соответствии с инструктивно-нормативными документами, предназначенными в основном для нового строительства. Между тем реконструкция обладает определенными особенностями, которые, с одной стороны, усложняют работы на всех стадиях их выполнения, с другой - позволяют на основе анализа предшествующего опыта эксплуатации более полно учесть свойства строительных конструкций, а также технологические, санитарно-гигиенические, ремонтно-строительные и другие требования к реконструируемым зданиям и сооружениям. Выполняемые в настоящее время и планируемые на будущее работы по реконструкции действующих предприятий, призванные обеспечить больший прирост промышленного производства, чем новое строительство, требуют специальных инструктивно-нормативных документов и разработки специфических технических решений.
Практика показывает, что при проектировании реконструкции промышленных зданий основное внимание проектировщиками-строителями уделяется объемно-планировочным решениям и несущим конструкциям. Решения по ограждающим конструкциям во многих случаях принимаются неверно. Следствием такого положения являются неудовлетворительные условия труда в производственных помещениях, чрезвычайно большие расходы на ремонт ограждающих конструкций в процессе эксплуатации (70 - 80 % и более общей стоимости ремонтных работ), избыточные теплопотери через наружные ограждающие конструкции, иногда на 40 % превышающие расчетные. При проектировании реконструкции промышленных зданий такие недостатки в значительной мере вызваны тем, что предшествующие проектированию обследования зданий не выявляют достаточно полно фактические свойства ограждающих конструкций.
Цель настоящей работы заключается в оказании помощи работникам проектных организаций и промышленных предприятий в достоверном и полном определении технического состояния ограждающих конструкций при предпроектных обследованиях подлежащих реконструкции промышленных зданий.
Даны рекомендации по составу и последовательности выполнения работ при определении технического состояния ограждающих конструкций, подлежащих реконструкции промышленных зданий, по методам выявления и оценки характерных дефектов и повреждений этих конструкций. В соответствии с рекомендуемым порядком выполнения натурных обследований (от осмотра конструкций на первом этапе к количественным измерениям параметров состояния на втором), а также для облегчения обследований дефекты и повреждения ограждающих конструкций классифицированы, как правило, по их внешним проявлениям, наблюдаемым визуально.
1.1. Настоящие Рекомендации предназначены для инженерно-технических работников, выполняющих работы по выявлению технического состояния ограждающих конструкций (стен и перегородок, перекрытий и рабочих площадок, покрытий зданий, светопрозрачных ограждающих конструкций и полов) на стадии сбора исходных данных для проектирования реконструкции, технического перевооружения или расширения зданий предприятий всех отраслей промышленности. Рекомендации могут быть использованы (с соответствующим ограничением объема выполняемых работ) на стадии подготовки технико-экономических обоснований реконструкции, технического перевооружения или расширения предприятий (их отдельных переделов).
Рекомендации содержат положения по методике выполнения работ по определению технического состояния ограждающих конструкций реконструируемых зданий и не распространяются на планирование, финансирование и организацию работ, оформление и утверждение составляемой при этом документации, определение ответственности сторон (заказчика и подрядчиков), регламентируемые соответствующими нормативными и директивными документами.
В Рекомендациях дефекты и повреждения бетонных, железобетонных и металлических элементов ограждающих конструкций рассматриваются, как правило, с точки зрения выполнения этими элементами функций ограждающих, т.е. отделяющих помещения от наружного воздуха либо разделяющих помещения между собой.
Определение технического состояния таких элементов, как несущих, должно выполняться по соответствующим методикам для несущих бетонных, железобетонных и металлических конструкций.
В связи с тем, что разработка специальных рекомендаций по определению технического состояния каменных и армокаменных конструкций как несущих не предполагается, соответствующие положения включены в настоящие Рекомендации.
1.2. Техническое состояние ограждающих конструкций реконструируемых промышленных зданий определяется с целью выявления фактических характеристик и возможности дальнейшего использования этих конструкций в реконструированном здании.
1.3. Номенклатура выявляемых фактических характеристик ограждающих конструкций, как правило, должна включать геометрические, прочностные, теплофизические, физико-химические и другие показатели конструкций, их элементов и примененных строительных материалов, регламентированные нормами проектирования, производства и приемки строительно-монтажных работ или используемые при расчетах конструкций.
Условия эксплуатации ограждающих конструкций в реконструированном здании определяются на основании задания на проектирование реконструкции объекта, технологического задания на проектирование строительной части и нормативных документов по проектированию и сопоставляются с фактическими параметрами наружной и внутренней сред подлежащего реконструкции здания при существующем технологическом процессе.
1.4. Техническое состояние ограждающих конструкций реконструируемых промышленных зданий определяется на основании результатов натурных обследований с выполнением необходимых поверочных расчетов и испытаний и использованием документации, составляемой в процессе проектирования (в том числе предшествующих реконструкций, технического перевооружения и расширения), строительства (реконструкции, технического перевооружения, расширения) и эксплуатации (включая ремонты) зданий.
Оценка технического состояния ограждающих конструкций производится путем сопоставления результатов обследований (с выполнением необходимых расчетов и испытаний) с требованиями действующих нормативных документов применительно к прогнозируемым условиям эксплуатации.
Общие методы проведения натурных обследований и испытаний ограждающих конструкций изложены в разд. 2, а отдельных видов конструкции - в последующих разделах настоящих Рекомендаций.
1.5. При определении технического состояния ограждающих конструкций используется имеющаяся на предприятии или в проектной организации документация, составляемая на различных стадиях проектирования (проектная документация): проектное задание, технический проект, технорабочий проект, рабочие чертежи и т.д.
Анализ проектной документации дает возможность выявить принятые проектные решения, расчетные нагрузки и воздействия с тем, чтобы определить степень их соответствия требованиям действующих норм и сопоставить с фактически имеющимися в реконструируемом здании.
В процессе анализа проектной документации особое внимание следует обратить на решения, принимавшиеся на основе положений инструктивно-нормативных документов (правила расчета и конструирования, расчетные параметры и т.п.), которые действовали во время разработки проекта, но в последующие годы были изменены или отменены; конструкции узлов сопряжений ограждающих конструкций и их элементов (стен с отмосткой, перекрытиями и покрытием здания, стыков и швов, углов и т.п.); элементы, сложные с точки зрения производства строительно-монтажных работ; схемы передачи нагрузок; конструкция отмостки; решения по вертикальной планировке примыкающей к зданию территории и т.д. Полученные сведения необходимо учесть при планировании и проведении натурных обследований, выполнении поверочных расчетов и испытаний материалов и конструкций.
1.6. Для определения технического состояния ограждающих конструкций в объеме, определяемом конкретными вопросами, возникающими при проведении работ, рекомендуется использовать документацию, составляемую в процессе строительства (строительную документацию): заводские паспорта, сертификаты и другие документы на применявшиеся материалы и изделия; документы об отступлениях от проектных решений; журналы работ и авторского надзора; акты на скрытые работы; документы о контроле внутренних дефектов конструкций; документы о геодезических съемках в процессе строительства; акт приемки здания в эксплуатацию с ведомостью недоделок.
Строительная документация используется для выявления примерных характеристик поступавших на строительную площадку материалов и изделий, изменений проектных решений и отступлений от них в процессе строительства, выявления качества выполнения отдельных видов работ и элементов ограждающих конструкций, в том числе его возможного ухудшения в связи с хранением материалов и производством работ в неблагоприятных условиях (погодных, с длительными перерывами, влияние размещенных вблизи от строительной площадки промышленных производств и т.д.), применения несовершенных методов производства и контроля качества работ и т.п.
1.7. При определении технического состояния ограждающих конструкций рекомендуется, как правило, использовать следующую документацию, составляемую в процессе эксплуатации здания (эксплуатационную документацию): паспорт на здание; технический журнал по эксплуатации здания; документы о геодезических съемках в процессе эксплуатации; отчеты и заключения о проводившихся ранее обследованиях и испытаниях по выявлению технического состояния и условий эксплуатации ограждающих конструкций, выполнявшихся научно-исследовательскими и проектными организациями, органами надзора, подразделениями предприятия и др.
В случае необходимости для решения отдельных вопросов могут быть использованы также материалы переоценки и определения износа основных фондов; техническая и бухгалтерская документация по капитальному и текущему ремонту здания; приказы и графики выполнения мероприятий по подготовке предприятия к работе в зимних условиях; бухгалтерская документация по затратам на отопление, вентиляцию, электрическое освещение, очистку ограждающих конструкций от загрязнений, уборку пыли и снега и т.п.; документация, характеризующая технологический процесс размещенного в здании производства (технологические инструкции, карты технологических процессов и т.п.); калькуляция себестоимости и отчетность об объеме выпускаемой промышленной продукции.
На основании анализа эксплуатационной документации производится общая предварительная оценка степени соответствия примененных в здании ограждающих конструкций фактическим условиям эксплуатации. В частности, устанавливаются:
характер эволюции технологического процесса и его влияния на эксплуатационную среду и техническое состояние ограждающих конструкций и их элементов;
ограждающие конструкции и их элементы, наиболее подверженные повреждениям в процессе эксплуатации, требующие больших затрат по содержанию (отоплению, уборке и т.п.) и ремонту здания; конструкции и элементы, повреждения или ремонт которых вызывают убытки от снижения объема или ухудшения качества выпускаемой в здании продукции, и имеющие другие низкие эксплуатационные характеристики;
эффективность примененных в здании объемно-планировочных, конструктивных решений и систем инженерного оборудования с точки зрения обеспечения длительной безотказной работы ограждающих конструкций.
При анализе документации, составляемой в процессе проведения ремонтно-восстановительных работ, устанавливаются также показатели, аналогичные определявшимся при анализе строительной документации. При этом необходимо учесть, что в процессе эксплуатации могли быть выполнены отделочные работы, скрывшие дефекты или повреждения ограждающих конструкций (трещины, выколы, обнажения арматуры и т.п.).
1.8. Обследования ограждающих конструкций реконструируемых зданий промышленных предприятий проводятся в два этапа: I - предварительное или общее обследование; II - детальное или техническое обследование.
1.9. В процессе предварительного (общего) обследования должны быть получены следующие сведения (по проекту и фактические в разные периоды эксплуатации):
об истории строительства и функционирования здания (времени строительства, реконструкции, технического перевооружения, расширения, выполнения ремонтно-восстановительных работ; исполнителях проектных и строительно-монтажных работ; ограждающих конструкциях, подвергавшихся восстановлению, усилению или замене, причинах, характере и объеме выполнявшихся работ);
о характере технологических процессов производств, размещенных в здании; об источниках, характере и интенсивности воздействия технологических процессов и оборудования на внутреннюю и наружную эксплуатационные среды и ограждающие конструкции (включая температурные, влажностные, выделения газов, пыли, проливы технологических жидкостей и т.п.);
о категории помещений по взрывопожароопасности;
о природно-климатических воздействиях на ограждающие конструкции;
о характеристиках грунтов основания здания и грунтовых водах;
об общих характеристиках объемно-планировочного, конструктивного решения здания и систем инженерного оборудования;
о конструктивных решениях ограждающих конструкций;
о схеме передачи нагрузок на ограждающие конструкции и их элементы;
о нагрузках на ограждающие конструкции, не предусмотренные проектом или превышающие проектные;
о нарушениях правил эксплуатации ограждающих конструкций;
о техническом состоянии ограждающих конструкций, наиболее характерных дефектах и повреждениях в них, вероятных причинах возникновения и степени опасности дефектов и повреждений.
При изучении технической документации на этапе предварительного (общего) обследования особое внимание необходимо уделить сведениям, относящимся к конструкциям с наибольшими повреждениями.
Натурное обследование на этапе предварительного обследования производится путем тщательного осмотра (труднодоступных мест - с помощью бинокля или зрительной трубы) с выполнением эскизов, фотографированием и составлением карт распространения дефектов и повреждений конструкций, а также карт распространения воздействий на конструкции. При составлении карт дефекты, повреждения и зоны распространения воздействий, а также намечаемые места отбора проб материалов наносятся на специальные планы, разрезы и развертки соответствующих конструкций с привязкой к осям или характерным линиям конструкций.
Дефекты и повреждения ограждающих конструкций устанавливаются по внешним признакам.
1.10. На основании результатов предварительного (общего) обследования составляется программа детального (технического) обследования, включающая сведения по п. 1.9, а также соображения о вероятных причинах возникновения и степени опасности выявленных дефектов и повреждений, возможности дальнейшей эксплуатации здания и отдельных строительных конструкций, предложения по предотвращению обрушения конструкций и их элементов, находящихся в аварийном состоянии, содержание работ по проведению детального обследования (задачи и методы дальнейшего анализа технической документации, места и методы инструментальных измерений и испытаний в натурных условиях, места вскрытий, отбора проб материалов и методы исследований образцов в лабораторных условиях, состав и методы необходимых поверочных расчетов и т.д.).
Данные о техническом состоянии ограждающих конструкций, выводы о возможности их дальнейшей эксплуатации или задачах детального обследования, определяемые на стадии предварительного обследования, рекомендуется представлять в виде таблиц по форме 1.
Результаты предварительного (общего) обследования ограждающих конструкций здания ________________________________________________
(наименование здания)
|
Наименование помещений, осей, отметок |
Конструктивное решение, материалы |
Характер и размеры дефекта или повреждения |
Вероятная причина возникновения |
Вывод о возможности дальнейшей эксплуатации в реконструированном здании или задачах детального обследования |
|
1 |
2 |
3 |
4 |
5 |
Примечание. Форма заполняется последовательно для каждого вида конструкции (наружных стен, внутренних стен и перегородок и т.д.).
При проведении работ по выявлению технического состояния ограждающих конструкций подрядным способом (как правило, организацией, разрабатывающей проект реконструкции) по результатам предварительного обследования составляется техническое задание на проведение обследования конструкций, включающее материалы предварительного обследования, рассматриваемого как составная часть преддоговорных работ.
До начала предварительного обследования конструкций в здании намечаются и согласовываются меры по обеспечению безопасного ведения работ (получению спецодежды, индивидуальных средств защиты и т.п.), совмещению работ по обследованию с работой технологического оборудования, устройству приспособлений для доступа к обследуемым конструкциям, освещению затемненных участков и другие, необходимые для проведения предварительного обследования. При завершении предварительного обследования эти меры уточняются в отношении детального обследования.
1.11. В соответствии с задачами, определенными на этапе предварительного (общего) обследования, в процессе детального (технического) обследования производятся:
уточнение и детализация данных технической документации;
детальные измерения геометрических характеристик ограждающих конструкций и их элементов;
измерения параметров сред, в которых эксплуатируются ограждающие конструкции;
детальные измерения параметров технического состояния ограждающих конструкций в натурных условиях с испытаниями материалов конструкций неразрушающими методами;
фотографирование, составление эскизов и уточненных карт дефектов и повреждений ограждающих конструкций (в дополнение, в случае необходимости, к выполнявшимся в процессе предварительного обследования);
испытания ограждающих конструкций в натурных условиях (выполняются в случае необходимости, как правило, научно-исследовательскими организациями или специализированными подразделениями проектных организаций по специальным методикам);
вскрытия ограждающих конструкций;
отбор образцов материалов ограждающих конструкций и их лабораторные исследования;
оформление обмерных и других чертежей;
поверочные расчеты конструкций и их элементов;
анализ полученных материалов и составление заключения.
Прочностные испытания ограждающих конструкций (например, перекрытий, рабочих площадок) с пробным загружением рекомендуется производить только в там случае, когда поверочные расчеты по выявленным фактическим параметрам конструкций не дают достаточно надежных результатов.
Расположение и размеры выявленных дефектов и повреждений, а также места вскрытий и отбора проб материалов, как и при проведении предварительных обследований, с помощью условных обозначений показываются на планах, разрезах и развертках соответствующих конструкций. На чертежах показываются также детали вскрытий, конструкций узлов и т.п.
1.12. Заключение по результатам детального (технического) обследования должно включать текстовую часть, обмерные и другие чертежи и приложения.
Текстовая часть заключения содержит:
введение, в котором указываются объект исследования, цель обследовательских работ и время их выполнения, основание для проведения работ (договор, техническое задание и т.п.), общие сведения о здании, истории его строительства и функционирования, технологических процессах размещенных в здании производств, природно-климатических условиях эксплуатации и т.п.;
краткое описание объемно-планировочного и конструктивного решений здания и систем его инженерного оборудования;
сведения об обследовавшихся конструкциях, воздействиях на них, наличии дефектов и повреждений и причинах их возникновения, оценку эксплуатационных характеристик конструкций;
выводы о возможности использования обследовавшихся конструкций в реконструированном здании с указанием мер по обеспечению такой возможности и исходных данных для проектирования восстановления или совершенствования эксплуатационных качеств конструкций.
В приложения к заключению, как правило, включаются:
программа или техническое задание на проведение обследования;
докладные записки, акты, письма, протоколы и другая подобная документация по вопросам проведения обследований;
таблицы и графики с результатами испытаний конструкций и примененных в них материалов;
фотоиллюстрации, эскизы, схемы и т.п.
Общие требования техники безопасности при проведении натурных обследований
1.13. Лица, проводящие натурные обследования, должны строго соблюдать правила техники безопасности предприятий и цехов, в которых проводятся работы.
1.14. Ответственность за организацию работ в соответствии с правилами техники безопасности во время натурных обследований несет руководитель бригады, проводящей обследования, и администрация обследуемого объекта.
1.15. Перед началом работы лица, проводящие натурные обследования, должны пройти вводный (общий) инструктаж в отделе техники безопасности предприятия, а также инструктаж по технике безопасности непосредственно в цехе, где будут проводиться натурные обследования. Инструктаж в цехе проводит начальник цеха или его заместитель.
Проведение инструктажа оформляется документально.
1.16. Перед обследованием каждой конструкции или ее элемента следует убедиться в безопасности выполнения работы и, в случае необходимости, принять меры по ее обеспечению.
По характеру технологического процесса, результатам измерений санэпидстанции, служб вентиляции, техники безопасности предприятия и др. следует установить возможность появления на участках выполнения работ вредных для организма человека веществ в виде газов, паров или пыли с концентрациями, превышающими предельно допустимые по санитарным нормам (ПДК). Проводить обследования рекомендуется в промежутки времени, когда по режиму технологического процесса возможность превышения ПДК на участках выполнения работ исключена.
При вскрытиях, частичной разборке, отборе проб для лабораторного анализа и загружениях пробными нагрузками должно быть предотвращено обрушение (или предотвращены опасные последствия обрушения) как конструкции (элемента), где производятся указанные работы, так и сопрягающихся с ней или нижерасположенных конструкций.
1.17. Если при проведении обследований будут выявлены конструкции, находящиеся в аварийном состоянии, необходимо немедленно информировать об этом дирекцию предприятия и выдать в письменном виде (под расписку) рекомендации по осуществлению противоаварийных мероприятий. В рекомендациях следует предусмотреть прекращение эксплуатации оборудования и вывод людей из опасной зоны (при наличии очевидной угрозы обрушения конструкций), установку видимых в дневное и ночное время предупредительных надписей и сигналов на границе опасной зоны, указателей проходов и проездов, укрепление или разборку аварийных конструкций.
1.18. Лица, проводящие натурные обследования, должны быть обеспечены соответствующей спецодеждой, а также средствами индивидуальной защиты (касками, защитными очками, респираторами и т.п.) в соответствии с действующими нормами, условиями и характером выполняемых работ. Лица, не имеющие необходимой спецодежды или средств индивидуальной защиты, к работам не допускаются.
1.19. Лица, выполняющие работы на высоте более 1,5 м, должны быть обеспечены и пользоваться предохранительными поясами.
1.20. К работе на высоте более 5 м (что приравнивается к верхолазным работам) допускаются лица в возрасте от 18 до 60 лет, прошедшие специальную медицинскую комиссию.
Лестницы, используемые при работе, должны прикрепляться к конструкциям и иметь элементы, исключающие смещение их с опоры.
1.21. Переход через движущиеся устройства и оборудование разрешается только в специально отведенных местах.
1.22. При подъеме исполнителей или аппаратуры по крутым или вертикальным лестницам не разрешается находиться на лестнице и в радиусе 2 м от основания лестницы более одного человека. Одновременный подъем или спуск по лестнице двух и более человек не допускается.
1.23. В зданиях с агрессивными твердыми или жидкими средами обследовать конструкции, находящиеся выше уровня глаз, без защитных очков не разрешается.
1.24. При работе в труднодоступных местах, где возможны повышенные концентрации токсичных веществ, группа, выполняющая обследование, должна быть не менее чем из трех человек. Один из группы должен иметь возможность наблюдать за выполнением работ из безопасного места.
1.25. При осмотре конструкций с мостового крана следует выделять специально обученного сигнальщика, который руководит работой крана. Во время перемещения крана не допускается находиться на его мосту.
1.26. Работа в зоне источников тока и токоподводящих устройств разрешается только при их обесточивании.
1.27. Перед выездом на объект следует проверить исправность аппаратуры, подводящих проводов и кабелей.
1.28. Все работы, связанные с установкой и подключением приборов, следует согласовывать с руководством цеха. Подключение приборов должно производиться при выключенном рубильнике.
1.29. Приборы, включаемые в сеть с напряжением свыше 36 В, должны быть заземлены и иметь изолированные контакты.
1.30. Подключение приборов, работающих от сети переменного тока, должно производиться кабелем соответствующего типа, проложенным в местах, исключающих его повреждение.
1.31. К работе с электронными приборами допускаются лица, прошедшие курс обучения безопасным методам выполнения работ, сдавшие экзамен специальной комиссии и получившие удостоверение установленной формы.
Обмерные работы
2.1. Обмерами определяются конфигурация, размеры, положение в плане и по вертикали ограждающих конструкций и их элементов.
Не обмеряются конструкции и элементы, по которым на стадиях, предшествующих детальному (техническому) обследованию, принято решение об их разборке.
2.2. Работы по обмерам ограждающих конструкций выполняются с использованием данных топографической съемки и инвентаризационных чертежей (при их наличии). Размеры отдельных элементов должны быть увязаны с общими размерами.
Столярные изделия измеряются в фальцах коробок.
Обмеры выполняются в штукатурке с точностью до 10 мм. Толщина штукатурки определяется выборочно по каждому этажу.
2.3. При проведении обмерных работ положение основных линий, углов и отметок, от которых производятся измерения, должно определяться геодезической съемкой с применением теодолита, нивелира и других геодезических инструментов. Линия, от которой берутся отметки, а также отметки всех входов и въездов привязываются к ближайшему реперу.
Для обмеров отдельных конструкций и их элементов используются стальные рулетки, деревянные складные рейки длиной до трех метров с нанесенными на них делениями, наборы металлических линеек и угольников разной длины, штангенциркули, уровни, отвесы.
2.4. Обмерные чертежи ограждающих конструкций выполняются, как правило, в масштабе 1:100 или 1:200; фрагментов и узлов - от 1:50 до 1:5.
Результаты обмеров, полученные в процессе натурных обследований, наносятся на предварительно подготовленные копии рабочих чертежей проекта на здание или на эскизы для последующего изготовления обмерных чертежей.
Размеры и высотные отметки ограждающих конструкций проставляются на обмерных чертежах в соответствии с правилами оформления строительных рабочих чертежей проектов зданий и сооружений.
Пунктирными линиями на плане несущих конструкций кровельного покрытия указываются разжелобки, а на планах перекрытий, выполненных в виде кирпичных сводов, - план сводов.
Обмерные чертежи могут быть использованы для показа дефектов и повреждений ограждающих конструкций.
Измерения деформаций
2.5. Отклонения от вертикали и искривления в вертикальной плоскости конструкций или их участков, высота которых, как правило, не превышает 5 м, могут быть измерены с помощью отвеса и линейки (рис. 1).
Смещения по горизонтали определяются измерением с помощью геодезической мерной ленты, линейки и т.п. от опорных точек или геодезической съемкой (рис. 2). Геодезической съемкой (с помощью обычных или прецизионных теодолитов) могут быть измерены также наклоны и выпучивания стен, перегородок и других вертикально расположенных конструкций.
|
Рис. 1. Измерение отклонений от вертикали и искривлений стен и перегородок с помощью отвеса 1 - стена или перегородка; 2 - перекрытие; 3 - отвес; 4 - измерительная линейка; 5 - сосуд с водой; 6 - точки измерений |
Рис. 2. Измерение горизонтального взаимного смещения Δ двух точек (1 и 2) стены здания методом сноса вертикали с помощью теодолита 1, 2 - точки; 3 - переносная линейка с миллиметровыми делениями; 4 - теодолит |
2.6. Величины прогибов, выгибов, искривлений, выпучиваний, погнутостей, вмятин ограждающих конструкций и их элементов наиболее просто измеряются путем натяжения тонкой проволоки между краями конструкции (элемента) или ее частями, не имеющими деформаций, и измерения максимального расстояния между проволокой и поверхностью конструкции (элемента) с помощью линейки.
Величины прогибов и других вертикальных перемещений могут быть определены также с помощью геодезического (с использованием обычных или прецизионных оптических нивелиров и специальных шкал с миллиметровыми делениями) или (при высоте помещений до 4 м) гидростатического нивелирования (рис. 3).
Рис. 3. Схема измерения прогибов перекрытий гидростатическим уровнем
1 - точка измерения; 2 - градуированная трубка; 3 - сосуд; 4 - резиновый шланг; 5 - краник; 6 - телескопическая стойка
2.7. Измерения деформаций в процессе их развития (под воздействием эксплуатационных нагрузок или в процессе испытаний пробной нагрузкой) могут производиться с использованием методов, указанных в пп. 2.5 и 2.6, а также при наблюдении за развитием трещин в конструкциях (см. пп. 2.18 - 2.31). Для измерения прогибов могут применяться прогибомеры, для измерения малых линейных деформаций при растяжении или сжатии элементов - тензометры, сдвигов и поворотов - геодезическая съемка.
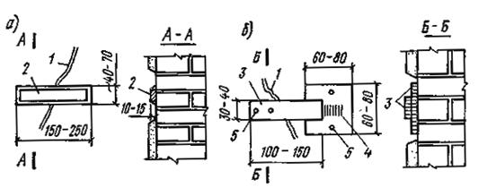
На рис. 4 приведена схема измерений величины раскрытия деформационного шва с помощью зрительной трубы с 20 - 50-кратным увеличением и дистанционного устройства, состоящего из подвижной шкалы и указателя, заделанных в стену по обе стороны шва.
При использовании прогибомеров измеряется величина перемещения элемента, закрепленного на деформирующемся участке конструкции, относительно неподвижного элемента. В качестве прогибомера могут быть использованы две планки или система, передающая перемещения от деформируемой конструкции на измерительный прибор, в качестве которого обычно используется индикатор часового типа (мессура).
Для измерений малых линейных деформаций могут применяться механические (рычажные), оптические, электрические (основанные на способности проводников изменять электрическое сопротивление при растяжении или сжатии), акустические (основанные на изменении звучания струны при растяжении) и другие тензометры.
Определение кинетики развития деформаций осуществляется путем их многократных измерений через определенные интервалы времени (от одних до 30 суток в зависимости от скорости развития деформаций).
Рис. 4. Схема измерений деформаций шва с помощью дистанционного устройства
1 - шкала с указателем; 2 - деформационный шов; 3 - зрительная труба; 4 - точка центрирования трубы
2.8. При измерениях общих деформаций рекомендуется пользоваться «Руководством по наблюдениям за деформациями оснований и фундаментов зданий и сооружений» (М.: Стройиздат, 1975) и «Руководством по наблюдениям за осадками фундаментов и деформациями крупнопанельных зданий массового строительства» (М.: Стройиздат, 1964).
Измерения влажности материалов ограждающих конструкций
2.9. Влажность материалов ограждающих конструкций определяется для оценки долговечности и теплоизоляционных качеств конструкций в данных условиях эксплуатации, как правило, путем послойного отбора проб (образцов) и их последующего лабораторного анализа.
Пробы отбирают вручную с помощью шлямбуров, высверливанием кернов медленно вращающимися насадками, вставляемыми вместо сверла в сверлильный инструмент или установку, либо вырезают из конструкции. Рекомендуются шлямбуры и насадки из труб диаметром 13 - 25 мм.
Для измерения влажности древесины могут использоваться электронный влагомер ЭВ-2М (завод «Электроточприбор»), ЦНИИМОД и др.
2.10. Пробы материалов отбирают из каждого слоя ограждающей конструкции. Из тонких слоев (защитных, отделочных и т.п.) достаточно отобрать по одной пробе на всю толщину слоя. Из прочих слоев пробы отбирают из зон, граничащих с другими слоями или воздухом, и далее через 60 - 120 мм по глубине, но не менее трех проб в пределах каждого слоя (включая пробы из пограничных зон).
При определении распределения влажности материалов по сечению ограждающей конструкции, предшествующем измерениям сопротивления теплопередаче конструкции (см. подраздел «Определение сопротивления теплопередаче наружных ограждающих конструкций» настоящего раздела), места отбора проб материалов на влажность рекомендуется назначать с учетом расположения мест установки датчиков температуры с тем, чтобы упростить подсчет средней влажности, слоя на который распространяются показания датчика температуры.
Для выявления закономерностей изменения влажностного режима материалов наружных ограждающих конструкций в течение годового цикла пробы необходимо отбирать не менее, двух раз в год: в начале и в конце периода влагонакопления (в конце осени и весны). Рекомендуется отбирать пробы также в середине зимнего и летнего периодов.
2.11. Пробы материала немедленно после извлечения из конструкции помещают в занумерованные, предварительно взвешенные бюксы с притертыми крышками и взвешивают на технических или аналитических весах (в зависимости от плотности материала конструкции) в естественном состоянии и после высушивания до постоянной массы.
Правила проведения лабораторного анализа строительных материалов установлены соответствующими государственными стандартами. Влажность материала сопоставляется с величинами, установленными нормами по строительной теплотехнике.
При определении влажности материалов ограждающих конструкций диэлькометрическим методом следует руководствоваться ГОСТ 21718-84.
Определение температурного режима внутренних поверхностей наружных ограждающих конструкций
2.12. Измерением регламентируемой теплотехническими нормами проектирования разности температур воздуха в помещении и внутренних поверхностей наружных ограждающих конструкций может быть приближенно оценена степень соответствия теплозащитных качеств этих конструкций условиям эксплуатации.
2.13. Для определения температурного режима внутренних поверхностей наружных ограждающих конструкций одним и тем же или одинаковыми датчиками (полупроводниковыми, термопарами, термометрами сопротивления), подключаемыми к одному и тому же показывающему или самопишущему прибору (электронному мосту, потенциометру, логометру и т.п.), измеряют температуру внутренней поверхности конструкции, а также наружного и внутреннего воздуха, как правило, на расстоянии 100 - 200 мм от поверхности конструкции.
Датчики температуры могут быть переносными (термощупы) или закрепляться стационарно. Для крепления датчиков на поверхностях конструкций применяют пластилин, липкую ленту, гипс, лейкопластырь, изоляционную ленту, клей и т.п. Одна сторона датчика должна быть плотно прижата к поверхности конструкции, а другая иметь непосредственный контакт с воздухом.
Желательно стационарное закрепление датчиков и подключение их к самопишущему прибору. Разовые измерения (при отсутствии автоматической записи) производятся 3 - 5 раз в сутки.
Рекомендуется проведение измерений в условиях установившегося теплового режима здания при относительно стабильных температурах наружного воздуха, близких к расчетным, в течение 2 - 3 сут для безынерционных ограждающих конструкций, 5 - 7 сут для конструкций малой инерционности, 10 - 12 сут для конструкций средней инерционности и 12 - 14 сут для конструкций большой инерционности (СНиП II-3-79**).
Для измерений могут применяться хромель-копелевые, медь-константановые и другие термопары, подключаемые к переносным потенциометрам типа ПП, КП или самопишущим потенциометрам типа ПСР, ЭПП 09М и т.п.; термометры сопротивления, подключаемые к электронным мостам, например типа ЕЭМП, логометрам и т.п.; переносные полупроводниковые термометры, например типа ЭТП (Уральского ПромстройНИИпроекта, г. Свердловск); термощупы Агрофизического института или ОРГРЭС и др.
2.14. Измерением температур внутренних поверхностей на характерных участках наружных ограждающих конструкций могут быть приближенно оценены теплоизоляционные качества однородных участков конструкций, а также влияние узлов сопряжений конструкций, стыков элементов, швов и теплопроводных включений на температурный режим внутренних поверхностей конструкций и теплопотери здания.
При измерениях в зоне стыка панелей или плит, линий сопряжения глухих участков наружных стен с окнами, покрытием, перекрытиями и т.п. точки измерений располагаются на прямой, перпендикулярной линии сопряжения конструкций или их элементов, как правило, в обе стороны от этой линии. Измерения выполняют непосредственно на линии сопряжения, на расстоянии 100 - 150 мм от этой линии, далее еще в 2 - 3 точках с шагом 150 - 200 мм (в пределах расстояния не менее двух толщин конструкции) и в средней зоне элемента, где влияние сопряжения или теплопроводного включения не может сказаться или сказывается в минимальной степени.
2.15. По результатам измерений подсчитываются средние за весь период наблюдений температуры в каждой точке внутренней поверхности наружной ограждающей конструкции и окружающего воздуха (в помещении и наружного), а также средние разности температур воздуха в помещении и на внутренней поверхности конструкции. Полученная по результатам измерений средняя разность температур воздуха в помещении и на внутренней поверхности конструкции приводится к ожидаемой Δtр при расчетных температурах наружного воздуха и воздуха в помещении, принимаемых при проектировании. Расчет может быть выполнен по приближенной формуле
где Δt - разность (перепад) температур, подсчитанная как средняя из измеренных за весь период наблюдений;
и
- определяемые
нормами строительного проектирования расчетные температуры внутреннего и
наружного воздуха;
tв и tн - средние за весь период наблюдений температуры внутреннего и наружного воздуха.
Подсчитанный по приближенной формуле (1) или ГОСТ 26254-84 перепад температур Δtр сопоставляется с максимально допустимым нормативным Δtн, устанавливаемым нормами по строительной теплотехнике.
При обработке и анализе результатов измерений по площади отдельных участков внутренних поверхностей ограждающих конструкций путем интерполяции средних температур каждой пары соседних точек измерения по расстоянию между ними определяются точки с температурой, кратной, например, 1 °С, которые затем последовательно соединяются изотермами. По характеру изотерм можно определить участки с пониженными теплозащитными характеристиками и наибольшими теплопотерями: на этих участках расстояние между соседними изотермами уменьшается.
Определение сопротивления теплопередаче наружных ограждающих конструкций
2.16. Сопротивление теплопередаче определяют в соответствии с ГОСТ 26254-84 с учетом инструктивно-нормативных документов.
Термическое сопротивление конструкции по результатам измерений может быть получено либо путем вычитания из общего, определенного по ГОСТ 26254-84 сопротивления теплопередаче средних в период наблюдений сопротивлений теплопереходу, либо непосредственным подсчетом по температурам и тепловым потокам (без определения сопротивления теплопередаче) с использованием формулы
(2)
где R - термическое сопротивление ограждающей конструкции, м2 ∙ °С/Вт;
tв и tн - температуры внутреннего и наружного воздуха, °С;
τв и τн - температуры на внутренней и наружной поверхностях конструкции, °С;
Q - измеренный тепловой поток, Вт/м2;
Rт - термическое сопротивление тепломера или другого датчика теплового потока, м2 ∙ °С/Вт.
При определении коэффициентов теплопроводности материалов ограждающих конструкций следует руководствоваться ГОСТ 7076-78 и ГОСТ 22024-76.
2.17. Измерения воздухопроницаемости конструкций проводят в соответствии с ГОСТ 25891-83 и «Руководством по определению теплотехнических, светотехнических и звукоизоляционных показателей окон и световых фонарей зданий».
Наблюдения за трещинами
2.18. При обнаружении трещин любого вида необходимо определить их положение, форму, направление, распространение по длине, ширину раскрытия, глубину, время и причину возникновения, а также установить, продолжается или прекратилось их развитие.
2.19. Трещины выявляют путем осмотра открытых поверхностей конструкций, а также путем выборочного снятия с конструкций защитных или отделочных покрытий.
2.20. Величина раскрытия трещин измеряется с помощью микроскопов «Мир-2» и МПБ-2, лупы с масштабными делениями (лупы Бринелля) или других инструментов и приборов, обеспечивающих точность измерений не ниже 0,01 мм.
2.21. Глубина трещин определяется с помощью щупов или ультразвуковых приборов, например УКБ-1М, «Бетон-3М», УК-10П, УЗП-62, АМ-64, ДУК-20, АСП, «Бетон-транзистор» и др.
При применении ультразвукового метода глубина трещины устанавливается по изменению времени прохождения импульсов при сквозном прозвучивании или методом продольного профилирования при условии, что плоскость трещинообразования перпендикулярна линии прозвучивании. Глубина трещины h (рис. 5) определяется из соотношений:
(3)
V = a/ta. (4)
где V - скорость распространения ультразвука на участке без трещин, мкс;
tl - время прохождения ультразвука на участке с трещиной, мкс;
ta - время прохождения ультразвука на участке без трещины, мкс;
а - база измерений для обоих участков, см.
2.22. Время появления трещины устанавливается по эксплуатационной документации (см. п. 1.7), путем опроса работников предприятия или по внешнему виду (старая трещина обычно загрязнена).
2.23. Причина появления трещин устанавливается для конструкций разного вида в соответствии с характером трещин, материалом ограждения, его конструктивным решением, условиями изготовления, транспортировки, складирования, хранения, возведения и эксплуатации (см. последующие разделы).
2.24. Вопрос о том, продолжается или прекратилось развитие трещин, решается на основании наблюдений с применением методов измерения деформаций в процессе их развития (см. п. 2.7), маяков различных видов (рис. 6), марок-штырей или по линиям, процарапанным по поверхности конструкции вдоль и поперек трещины. Во всех случаях краской, тонкими четкими линиями должны быть отмечены границы трещин (начало и конец) и около границ поставлена дата наблюдений.
2.25. Маяки из гипса устанавливают на поверхностях конструкций со стороны помещений с сухим или нормальным режимом (в соответствии с классификацией СНиП по строительной теплотехнике), а из цементно-песчаного раствора - на наружных поверхностях конструкций и со стороны помещений с влажным или мокрым режимом. Маяки изготовляют в виде полосок с некоторым уменьшением ширины и толщины в средней части. Полоски крепятся на выровненную поверхность конструкции на гипсовом или цементно-песчаном растворе поперек трещины по обе стороны от нее. Рекомендуется (в особенности при установке на горизонтальную или наклонную поверхность снизу, а также при углах наклона трещин на вертикальных поверхностях до 45°) размещать маяки в предварительно вырубленных штрабах. В этом случае могут применяться как предварительно изготовленные полоски маяков, так и маяки, получаемые заполнением штрабы гипсовым или цементно-песчаным раствором. Поверхности маяков должны быть тщательно выровнены.
Развитие трещины устанавливается по разрывам маяка. При этом следует иметь в виду, что разрыв маяка может произойти не вследствие нарастающих деформаций, а под влиянием периодически изменяющихся температурных воздействий. В процессе наблюдений необходимо следить, не произошел ли отрыв маяка от поверхности конструкции. В случае отрыва следует установить новый маяк.
Рис. 5. Определение глубины трещин в конструкции
1 - излучатель; 2 - приемник
Рис. 6. Некоторые виды маяков для наблюдения за раскрытием трещин в стенах и перегородках
1 - трещина; 2 - маяк гипсовый или из стекла; 3 - металлическая пластинка; 4 - риски; 5 - гвоздь
Рис. 7. Трещины в кирпичных стенах при просадках грунтов оснований (см. табл. 5)
а - просадки грунтов под средней частью зданий; б и в - просадки грунтов под крайними частями здания: 1 - часть здания на грунтах, не подвергшихся просадке; 2 - часть здания на грунтах, подвергшихся просадке
2.26. Пластинчатый маяк может быть изготовлен из двух пластинок из металла или пластмассы толщиной примерно 0,5 мм.
2.27. Рычажный маяк представляет собой металлическую или пластмассовую полоску, в форме стрелки, шарнирно закрепленную вблизи от основания в двух точках, по одну и другую сторону трещины. Под заостренным концом стрелки на конструкции прикрепляется шкала, позволяющая определить взаимное смещение частей конструкции по обе стороны трещины.
2.28. Марки-штыри из отрезков стержней диаметром 6 - 10 мм и длиной 35 - 55 мм, изготовленных из нержавеющего металла, устанавливаются с одной и с другой стороны трещины на расстоянии 60 - 100 мм от нее. Штыри на глубину 30 - 55 мм заделываются на цементно-песчаном растворе или эпоксидном клее в предварительно высверленные перпендикулярно поверхности конструкции отверстия. На наружных торцах штырей до установки в конструкцию высверливают углубления диаметром 1,5 - 3 мм и глубиной 4 - 8 мм.
Изменение ширины раскрытия трещины определяют измерением расстояний между каждой парой штырей с помощью штангенциркуля, снабженного коническими остриями из закаленной стали, наглухо прикрепленными к неподвижной и подвижной ножкам. При измерении конические ножки штангенциркуля плотно вводят в углубления на торцах марок строго перпендикулярно торцам. Стопорным винтом закрепляется движок и производится отсчет. Для каждой пары делают три измерения с точностью ± 0,1 мм и подсчитывают средний результат.
2.29. Для наблюдений за трещинами по линиям, процарапанным на конструкции вдоль и поперек трещины, изготавливается приспособление из стальной пластины с приваренными на определенном расстоянии, например 50 мм, двумя иглами, которыми наносятся царапины. По изменению расстояний между ними и фиксируется развитие трещины.
2.30. Запись результатов наблюдений за трещинами ведется в журнале, где указываются наименование здания, место расположения конструкции и трещин в ней, дата установки и схема размещения маяков или других приспособлений, ширина раскрытия и изменение длины трещин в определенные промежутки времени, дата появления трещины в маяке, сведения о замене разрушившихся маяков, наличии или отсутствии новых трещин и установке на них маяков или других приспособлений.
На чертежах наносятся положение каждой трещины, места установки приспособлений для наблюдений за ними, их номера и даты установки.
2.31. При наблюдениях за трещинами рекомендуется пользоваться «Руководством по наблюдениям за деформациями оснований и фундаментов зданий и сооружений».
Определение прочности материалов ограждающих конструкций
2.32. Прочность материалов ограждающих конструкции может быть определена механическими, ультразвуковыми методами или путем лабораторных испытаний образцов, взятых из эксплуатируемых конструкций. Правила определения прочности строительных материалов и конструкций установлены государственными стандартами.
2.33. Для оценки прочности материалов ограждающих конструкций механическими методами применяют приборы, принцип действия которых основан на гипотезе о связи между прочностью материала и его твердостью (молотки Физделя и Кашкарова, склерометры СД-2, КМ, Шмидта и др.) и приборы, основанные на гипотезе о связи между прочностью материала и силами сцепления в нем (отрыва со скалыванием с помощью прибора ГПНВ-5, отрыва со скалыванием ребра конструкции).
Общие требования к методам определения прочности тяжелого бетона без разрушения приборами механического действия установлены ГОСТ 22690.0-77.
2.34. При определении прочности материала молотком Физделя по очищенной поверхности конструкции наносят локтевые удары (локоть руки прижат к поверхности конструкции) средней силы, по 10 - 12 ударов на каждом участке конструкции. Расстояние между отпечатками ударного шарика молотка должно быть не менее 30 мм. Диаметр лунки измеряют штангенциркулем с точностью 0,1 мм по двум взаимно перпендикулярным направлениям и принимают среднее арифметическое этих величин. Из общего числа измерений, произведенных на данном участке, исключают наибольший и наименьший результаты, а по остальным вычисляют среднее значение. Прочность материала определяют по среднему измеренному диаметру отпечатка и по тарировочной кривой, предварительно построенной на основании сравнения диаметров отпечатков шарика молотка и результатов лабораторных испытаний на прочность образцов материала, взятых из конструкции или специально изготовленных из тех же компонентов и по той же технологии, что и материалы обследуемой конструкции.
Эталонный молоток Кашкарова позволяет при каждом ударе получить одновременно два отпечатка - на эталонном металлическом стержне и на конструкции, - по соотношению диаметров которых и тарировочному графику определяют прочность материала. Метод является более точным и применительно к тяжелому бетону регламентирован ГОСТ 22690.к/2-77.
Рабочим элементом склерометра СД-2 является диск диаметром 20 мм с толщиной рабочей части 1 мм. Ребро диска приводят в соприкосновение с поверхностями испытываемого образца и эталона и производят легкий удар по направляющей. По соотношению отпечатков на поверхности образца и эталона с помощью тарировочной кривой определяют прочность материала.
В случае применения пружинных приборов (пистолет ЦНИИСКа, склерометр КМ, Шмидта и др.) оценка прочности материала производится в зависимости от заданной энергии удара по величине получаемого на конструкции отпечатка (пистолет ЦНИИСКа, склерометр Шмидта) или по величине отскока бойка (склерометр КМ).
Приборы ударного действия применимы для относительно нехрупких материалов (бетона, раствора и т.п.) и не могут быть использованы для определения прочности хрупких материалов (например, кирпича, керамики и т.п.).
Правила определения прочности тяжелого бетона по отскоку и пластической деформации установлены ГОСТ 22690.1-77.
2.35. Методы вырыва и скалывания применяются для определения прочности бетонов и регламентированы государственными стандартами.
2.36. При применении ультразвукового метода измеряется скорость распространения ультразвукового импульса в конструкции и затем с помощью предварительно построенного тарировочного графика определяется прочность материала. Тарировочный график строится аналогично указанному в п. 2.34.
Марки используемых ультразвуковых приборов указаны в п. 2.19.
Правила определения прочности ультразвуковым методом установлены для камней и кирпича силикатного в ГОСТ 24322-80 и для бетонов в ГОСТ 17624-87.
2.37. Прочность раствора кладки определяется в соответствии с требованиями СН 290-74 путем испытания на сжатие кубов с ребром 3 - 4 см, изготовленных из двух пластинок раствора, взятых из горизонтальных швов кладки и склеенных гипсовым раствором. Предварительно склеиваемые поверхности выравниваются также гипсовым раствором.
Марка раствора кладки определяется как средний результат пяти испытаний, умноженный на коэффициент 0,8.
Определение прочих свойств элементов и материалов ограждающих конструкций
2.38. Определение плотности материалов ограждающих конструкций производится лабораторными испытаниями образцов, взятых из конструкций, или непосредственно в конструкции методами, установленными соответствующими государственными стандартами для материалов данного вида.
2.39. Анализ химического состава материалов ограждающих конструкций и новообразований в них производится по методикам НИИЖБа Госстроя СССР. Возможно применение других методик, выбираемых в соответствии с материалом конструкций и воздействиями на них эксплуатационной среды.
2.40. Определение состояния, адгезии и толщины лакокрасочных покрытий производится в соответствии с ГОСТ 6992-68 с изм., ГОСТ 15140-78 с изм. и Стандартом СЭВ 3915-82. При этом толщины лакокрасочных покрытий определяются толщиномерами ИТП-1, ИТП-200, МТА-2, МТ-2, ИТП-5, ЭМКП-4, ИДП-3 и др. Сплошность покрытий определяется с помощью приборов ЛКД-1, ДЭП-1, ДЭП-2.
2.41. Определение адгезии штукатурки и облицовочных плиток производится простукиванием и с применением адгезиометра ЛНИИ АКХ. Определение адгезии плиток толщиной более 30 мм может производиться приборами ГПНВ-5 или ГПНС-4 с учетом ГОСТ 22690.3-77.
2.42. Определение упругопрочностных свойств материалов подслоя антикоррозионных покрытий, рулонных гидроизоляционных материалов и уплотняющих прокладок производится в соответствии с ГОСТ 11721-78 и др., в зависимости от вида материала.
2.43. Определение места расположения и диаметра арматуры и других металлических элементов, толщины защитного слоя бетона производится с учетом требований ГОСТ 22904-78 и 17625-83 магнитными приборами ИМП (Пермского НИИ угольной промышленности), ИЗС, ИЗС-2, ИСМ, ИПА, ИТП-1 или индукционными МИП-10, МТ-20Н и др.
Определение соответствия ограждающих конструкций требованиям пожаро- и взрывобезопасности
2.44. При определении соответствия ограждающих конструкций требованиям пожаро- и взрывобезопасности необходимо установить:
пределы огнестойкости и пределы распространения огня для стен, перегородок, перекрытий, покрытий, лифтовых шахт, а также для противопожарных дверей и ворот;
наличие фундаментов или фундаментных балок под противопожарными стенами в бескаркасных зданиях;
наличие противопожарных стен, разделяющих наружные стены из сгораемых или трудносгораемых материалов и выступающих за плоскость наружных стен, за карнизы и свесы крыш на 30 см;
наличие противопожарных стен, разделяющих наружные стены из профилированных металлических листов или асбестоцементных панелей с утеплителем из сгораемых или трудносгораемых материалов или с ленточным остеклением и не выступающих за наружную плоскость стены;
наличие разделения наружных стен из профилированных или асбестоцементных листов с утеплителем из сгораемых или трудносгораемых материалов, а также ленточного остекления противопожарными стенами;
величину общей площади проемов в противопожарных преградах;
наличие заделки зазоров между коммуникациями и противопожарными преградами;
наличие диафрагм в воздушных прослойках между стенами и облицовками из сгораемых материалов, а также в воздушных прослойках деревянных покрытий и перекрытий;
наличие тамбур-шлюзов, наружных легкосбрасываемых ограждающих конструкций, соответствие их площадей требованиям противопожарных норм для помещений с категориями производства А, Б и Е, а также пределы огнестойкости и пределы распространения огня для конструкций тамбур-шлюзов;
наличие тамбуров, пределы огнестойкости и пределы распространения огня в их конструкциях для помещений с категорией производства В.
2.45. Оценка противопожарного состояния ограждающих конструкций производится в соответствии с положениями действующих инструктивно-нормативных документов.
В случае невозможности определения показателей, характеризующих противопожарные свойства конструкций, по нормативным документам или расчетными методами следует провести огневые испытания с привлечением специализированной организации.
Определение параметров эксплуатационных сред, воздействующих на ограждающие конструкции
2.46. Измерения температур и относительной влажности воздуха при определении температурного режима и сопротивления теплопередаче наружных ограждающих конструкций производятся с учетом рекомендаций, приведенных в подразделах «Определение температурного режима внутренних поверхностей наружных ограждающих конструкций» и «Определение сопротивления теплопередаче наружных ограждающих конструкций» настоящего раздела.
Разовые измерения температуры и относительной влажности воздуха выполняют аспирационными психрометрами Ассмана, метеорологическими термометрами и гигрометрами.
Для непрерывной записи температур и относительной влажности воздуха применяют самопишущие метеорологические термографы и гигрографы.
Измерения и запись температур воздуха могут производиться также с помощью приборов и оборудования, применяемого для измерений температур на поверхностях и по сечениям конструкций (см. подразделы «Определение температурного режима внутренних поверхностей наружных ограждающих конструкций» и «Определение сопротивления теплопередаче наружных ограждающих конструкций» настоящего раздела).
2.47. При измерениях содержания в воздухе газообразных, жидких и твердых примесей необходимо зафиксировать пики выделений агрессивных веществ и их повторяемость во времени. Следует учитывать, что нередко наибольшие выделения происходят во время остановок оборудования.
В случае циклического характера технологического процесса пробы воздуха отбирают в наиболее характерные для данного производства периоды: при максимальных и минимальных выделениях (с определением длительности цикла и его повторяемости) и в течение технологического этапа наибольшей продолжительности.
В момент отбора проб необходимо регистрировать температуру и относительную влажность воздуха, а также отмечать все отклонения и изменения в ходе технологического процесса.
Измерения содержания примесей в воздухе производятся в теплый и холодный периоды года и в разное время суток.
При измерениях запыленности воздуха определяют вид и концентрацию пыли в воздухе, ее дисперсность и химический состав.
Концентрация в воздухе агрессивных газов измеряется с помощью переносных (УГ-2, УГ-1, ГХ-5, ГХ-1) и других фотоэлектрических, фотоколориметрических и ионизационных газоанализаторов.
Для определения содержания пыли в воздухе применяются главным образом аспирационный (весовой и счетный) и седиментационный методы. Аспирационным методом путем кратковременных наблюдений определяется количество взвешенной в воздухе пыли (мг/м3). Седиментационным методом определяют массу (г/м2) и число частиц пыли, оседающих на улавливающую поверхность.
Для измерения количества витающей в воздухе пыли используют трехциклонный сепаратор НИИОГАЗ (с его помощью определяется и дисперсный состав), фильтры АФА и другие приемники пыли в комплекте с воздуходувками.
Количество оседающей пыли определяется с помощью предварительно взвешенных пластинок, размещаемых и различных точках и взвешиваемых через определенные промежутки времени. Разность в массе, отнесенная к единице времени, дает величину скорости накопления пыли. Скорость накопления пыли на поверхности строительной конструкции может определяться также путем измерения толщин и плотности пылевых отложений, накопившихся за определенное время на поверхности конструкции.
Отбор проб пыли, накапливающейся на поверхности конструкции, производится послойно: непосредственно с поверхности конструкции, из верхнего слоя пылевых отложений и из промежуточных слоев (обычно через 0,1 м по высоте). При этом определяют химический состав пыли, плотность отложений и т.п.
2.48. Химические анализы жидкостей на поверхностях конструкций выполняют по СНиП 2.03.11-85.
Пробы отбирают из зон с постоянным и периодическим воздействием жидкостей. Из каждой зоны необходимо отбирать не менее двух проб по 0,5 л.
Зоны с постоянным и периодическим воздействием жидкостей при составлении соответствующих карт наносят на планы (развертки) ограждающих конструкций, где указывают показатель концентрации водородных ионов рН, вид и концентрацию агрессивных химических веществ в жидкостях.
Показатель рН может быть определен с помощью универсальной индикаторной ленты. Сопоставляя окраску ленты, увлажненной изучаемым раствором, с набором прилагаемых цветных эталонов, определяют величину показателя концентрации водородных ионов.
2.49. При изучении воздействия теплового излучения на ограждающие конструкции устанавливают: расположение и размеры источников излучения; положение поверхности облучаемого участка конструкции относительно источника излучения; температуру и характер поверхности источника излучения и конструкции; изменение характера воздействия источников во времени; изменение интенсивности излучения в пространстве и времени.
Расположение и размеры источников излучения определяют по технологическим схемам и непосредственно измерениями.
Температуры поверхностей источников определяют с помощью оптических (например, в интервале температур 600 - 1400 °С - ОПИР-017) и других пирометров, термопар (при температуре менее 500 °С), а также могут приниматься по данным технологических инструкций на производство и обработку продукта.
Температуру поверхности стали можно приближенно определить визуально, по цвету нагретого изделия в соответствии со шкалой, приведенной в табл. 1.
При определении характера излучающей поверхности устанавливаются наличие окалины на твердой металлической поверхности, наличие и площадь шлаковых включений на поверхности расплава металла и т.п.
Для оценки характера изменения воздействия источников излучения во времени фиксируются моменты начала и окончания воздействия, изменения положения источников и температуры их поверхности в течение всего времени воздействия.
Для измерения интенсивности теплового излучения могут быть использованы актинометры конструкции Ленинградского института гигиены труда.
Таблица 1. Зависимость цвета накала мягких сталей от температуры
|
Цвет накала |
Температура, °С |
Цвет накала |
||
|
520 |
Начало свечения |
1100 |
Оранжевый |
|
|
700 |
Темно-красный |
1200 |
Желтый |
|
|
800 |
Темно-вишневый |
1300 |
Раскаленный белый |
|
|
900 |
Вишнево-красный |
1400 |
Сварочный белый |
|
|
1000 |
Светло-вишневый |
1500 |
Ослепительно белый |
Актинометрические измерения, измерения температур конструкций и параметров воздуха в пункте исследования воздействия теплового излучения производят перед началом воздействия, в течение времени воздействия (обычно 2 - 4 измерения) и после окончания (до стабилизации температур).
Актинометрические измерения при оценке воздействия теплового излучения на строительные конструкции выполняют непосредственно около поверхностей конструкций, причем приемная сторона актинометра устанавливается параллельно поверхностям конструкций. Одновременно измеряют температуру поверхностей, температуру и скорость движения воздуха около поверхностей конструкций. При этом составляется подробная схема измерений с указанием размеров источника и приемника (строительной конструкции) излучения и расстояний, необходимых для фиксации их взаимного расположения; дается характеристика состояния поверхности как источника, так и приемника (вид и состояние окраски, наличие дефектов и повреждений и т.п.).
2.50. Измерения скоростей и направлений движения воздуха около ограждающих конструкций выполняют в местах и в сроки, определяемые задачами исследований (как правило, изучение закономерностей формирования температур и теплообмена на поверхностях конструкций).
Измерения производят с помощью крыльчатых, чашечных, струнных и других анемометров и кататермометров. Продолжительность работы анемометра при выполнении единичного измерения 60 или 100 с.
Основные показатели и состав работ по оценке технического состояния
3.1. Оценка технического состояния наружных стен выполняется по следующим основным показателям:
прочности и устойчивости под воздействием статических и динамических нагрузок;
надежности (в том числе долговечности) и огнестойкости, соответствующих прогнозируемому сроку службы здания, его капитальности и пожарной опасности размещенного в здании производства;
теплотехническим характеристикам, которые должны обеспечивать требуемый санитарно-гигиеническими нормами и размещенным технологическим процессом температурно-влажностный режим в помещениях;
эстетическим качествам.
3.2. При предварительном (общем) обследовании наружных стен следует руководствоваться п. 1.9 и, в частности, установить:
являются ли стены несущими, самонесущими или ненесущими, их конструкцию, включая крепления, стыки, швы и т.д., материалы и сечения;
тип перемычек над проемами (рядовые, железобетонные и т.д.);
ранее существовавшие проемы, заделанные в процессе эксплуатации, каналы, штрабы и т.п.
3.3. Перечень характерных дефектов и повреждений наружных стен с указанием вероятных причин их возникновения, методов выявления или признаков каждой причины, а также возможных мер по предотвращению дальнейшего развития и устранению приведен в табл. 2 - 5.
Оценка несущей способности поврежденных каменных конструкций
3.4. Несущую способность поврежденных армированных и неармированных каменных конструкций следует определять по СНиПу по проектированию каменных и армокаменных конструкций с учетом выявленных в процессе обследования дефектов и повреждений и фактических значений прочности (марок) кирпича, камней, раствора и предела текучести арматуры.
3.5. Поврежденные каменные и армокаменные конструкции подлежат конструктивному усилению, если их несущая способность недостаточна для восприятия действующих на них нагрузок, т.е. когда
F > Фkтр , (5)
где F - нагрузка, действующая на рассматриваемую конструкцию;
Ф - расчетная несущая способность армированной или неармированной кладки без учета повреждений; определяется в соответствии с указаниями СНиПа по проектированию каменных и армокаменных конструкций подстановкой в расчетные формулы, характеризующие различные виды напряженного состояния, фактических значений прочности материалов, площадей сечения кладки, арматуры, гибкости и т.п.;
kтр - коэффициент снижения несущей способности каменных конструкций; при наличии стабилизировавшихся во времени повреждений и деформаций принимается: для стен, столбов, и простенков, поврежденных вертикальными трещинами при перегрузке (исключая трещины, вызванные колебаниями температуры или осадками фундаментов), - по табл. 6; для кладки опор ферм, балок, перемычек и т.п., имеющих трещины, сколы, раздробление, - по табл. 7; для стен, столбов и простенков из полнотелого кирпича, поврежденных при пожаре, - по табл. 8; для сильно увлажненной или насыщенной водой кладки из кирпича kтр = 0,85; из природных камней осадочного происхождения (известняка, песчаника) kтр = 0,8.
Примечание. Под фактической площадью сечения кладки понимается целая, неповрежденная часть сечения, оставшаяся после расчистки и удаления раздробленных, размороженных или разрушенных действием огня слоев кладки.
Характерные дефекты и повреждения наружных стен
Таблица 2. Деформации и нарушения сплошности наружных стен
|
Вид и местоположение дефекта или повреждения |
Конструктивное решение наружной стены |
Вероятные причины возникновения |
Методы выявления или признаки данной причины |
Меры по предотвращению дальнейшего развития и устранения дефекта (повреждения) |
|
|
1 |
2 |
3 |
4 |
5 |
6 |
|
Деформации |
|||||
|
1 |
Искривление горизонтальных и вертикальных линий |
Все варианты |
Неравномерные осадки грунтов основания |
Возможно появление характерных трещин (см. табл. 5, пп. 1 - 5). Обследование фундаментов и грунтов основания |
Предотвращение дальнейшей осадки грунтов и проведение ремонта стены при необходимости (по расчету) с усилением |
|
2 |
Выпучивание |
То же |
Боковое давление грунта, грунтовых вод |
Поверочный расчет на фактическую нагрузку |
Усиление по расчету и ремонт стены |
|
Действие горизонтальных реакций распорных конструкций (сводов, арок, тяжей, оттяжек мачт, труб и т.п.) |
Увеличение деформации вблизи распорных конструкций. Поверочный расчет на фактическую нагрузку |
То же |
|||
|
Навалы грунта, сырья, отходов производства и т.п. около стены |
Увеличенные деформации в местах навалов |
Устранение навалов и ремонт стены |
|||
|
Неучтенные нагрузки от примыкающих зданий, галерей, технологических коммуникаций и т.п. |
Увеличенные деформации в местах приложения нагрузок |
Устранение нагрузок или усиление стены по расчету, ремонт стены |
|||
|
Температурные деформации |
Измерение деформаций при изменяющихся температурных воздействиях Поверочный расчет на фактические температурные воздействия |
Защита от температурных воздействий, усиление или ремонт стены |
|||
|
Новообразования в конструкции стены (лед, соли и т.п.) Расслоение стен |
|||||
|
Несущие и самонесущие |
Увеличенные (против расчетных) эксцентриситеты вертикальных нагрузок |
Поверочный расчет с учетом фактических эксцентриситетов |
Усиление по расчету |
||
|
Большая гибкость стены вследствие разрыва промежуточных связей по высоте здания |
Визуальный со вскрытиями |
Восстановление связей или усиление по расчету с учетом фактической гибкости |
|||
|
Несущие |
Смещение на опорах балок, прогонов, плит перекрытий или покрытий |
Поверочный расчет с учетом фактической площади и глубины опирания |
Усиление по расчету |
||
|
Из кирпича или мелкоразмерных блоков, возведенные методом замораживания |
Несовершенные методы возведения, последующего загружения или ухода за кладкой (допущение одностороннего интенсивного оттаивания без принятия специальных мер, передача недопустимых силовых воздействий на кладку, не набравшую достаточную прочность, и т.п.) |
Выявление условий возведения, загружения и эксплуатации стены в начальный период, а также ее конструкции и мер по предотвращению деформаций при оттаивании кладки |
Ремонт стены при необходимости (по расчету) с усилением |
||
|
Панельные или полистовой сборки |
Недостаточная жесткость панелей или листов |
Поверочный расчет на фактические нагрузки (в том числе ветровую) |
Усиление и ремонт панелей, повышение жесткости листов, замена поврежденных листов |
||
|
Недостаточность поперечных связей или их разрыв |
То же, возможно также нарушение креплений панелей и образование мелких трещин в местах креплений к колоннам или другим конструкциям |
Усиление связей и ремонт панелей, замена поврежденных листов |
|||
|
Применение при строительстве покоробленных панелей |
Визуальный |
При необходимости (по расчету) усиление панелей, замена покоробленных листов, в отдельных случаях - панелей |
|||
|
3 |
Отклонение стен или их отдельных участков от вертикали |
Все варианты |
Неравномерные осадки грунтов основания |
Возможно появление характерных трещин (см. табл. 5, пп. 1 - 5) Обследование фундаментов и грунтов оснований |
Предотвращение дальнейшей осадки грунтов и проведение ремонта стены при необходимости (по расчету) с усилением |
|
Недостаточность поперечных связей или их разрыв |
Поверочный расчет на фактические нагрузки. Возможно нарушение креплений панелей и образование мелких трещин в местах крепления к колоннам или другим конструкциям |
Выравнивание панелей и усиление связей с введением в случае необходимости новых связей |
|||
|
Коррозионное разрушение закладных деталей и примыкающих участков арматуры |
Ржавые пятна в местах креплений. Вскрытие мест креплений |
Выравнивание панелей, усиление креплений и их антикоррозионная защита |
|||
|
Отколы, раковины, выбоины и другие нарушения сплошности |
|||||
|
4 |
Отколы углов, ребер, раковины, выбоины, пробоины, борозды, вмятины или другие нарушения сплошности (характер зависит от конструкции стены) |
Все варианты |
Дефект изготовления, транспортировки, складирования или строительства |
Выявление параметров конструкции в процессе строительства по технической документации |
Ремонт, если нарушение сплошности не привело к снижению несущей способности или к появлению других повреждений (коррозии арматуры, повреждению теплоизоляции и т.п.) |
|
Механические воздействия в процессе эксплуатации (удары транспортных средств, перемещаемых грузов, пробивка отверстий для различных целей и т.п.) |
Изучение условий эксплуатации |
То же, после устранения причин повреждений или принятия мер защиты от них |
|||
Таблица 3. Увлажнение наружных стен
|
Вид и местоположение дефекта или повреждения |
Конструктивное решение наружной стены |
Вероятные причины возникновения |
Методы выявления или признаки данной причины |
Меры по предотвращению дальнейшего развития и устранению дефекта (повреждения) |
|
|
1 |
2 |
3 |
4 |
5 |
6 |
|
Увлажнение (возможно с обмерзанием) наружной поверхности |
|||||
|
В местах повреждений наружного слоя (фактурного, облицовки, штукатурки, кладки и т.д.), возможно, с высолами |
Все варианты |
Скапливание влаги на поврежденных участках и ее капиллярное всасывание материалами слоя, расположенного под поврежденным наружным слоем |
Визуальный |
Ремонт поврежденного наружного слоя с предварительным, в случае необходимости, устранением причин повреждений и предварительным сушением увлажненных участков |
|
|
2 |
Вблизи открыто размещенного оборудования или сооружения, выделяющего влагу |
Все варианты |
Конденсация влаги на наружной поверхности стены, попадание брызг |
» |
Устройство организованного отвода пара, защитного экрана от брызг или защита наружной поверхности стены водостойкими и морозостойкими материалами с предварительным, в случае необходимости, осушением увлажненных участков |
|
3 |
В верхней зоне; под окнами, нишами, поясками и т.п.; в зоне водосточных труб |
То же |
Повреждение кровли в зоне карниза, недостаточный вынос карниза, отсутствие капельников, неправильная заделка гидроизоляционного ковра, повреждения водосточных желобов; отсутствие капельников, обратный или недостаточный уклон, недостаточный вынос, отсутствие или другие дефекты либо повреждения сливов; неисправности водосточных труб (неплотности, отверстия, отсутствие отдельных секций и т.п.) |
» |
Устранение причин увлажнения, в случае необходимости, - с осушением увлажненных участков |
|
Над окнами, воротами, дверями, вытяжными вентиляционными и другими отверстиями или щелями, возможно с инеем, наледями |
» |
Конденсация влаги из воздуха, эксфильтрующегося из помещений зданий |
» |
Уплотнение, ремонт заполнений проемов и мест их сопряжения со стеной; организация отвода воздуха от вытяжных вентиляционных отверстий, в случае необходимости - осушение увлажненных участков |
|
|
В зоне стыков панелей, деформационных и других швов |
» |
Задерживание атмосферной влаги (дождевой, снега) в стыке или шве. Конденсация влаги из воздуха, эксфильтрующегося из помещений здания через неплотности в стыке или шве |
» |
Уплотнение и герметизация стыка или шва с предварительным осушением |
|
|
6 |
В цокольной части |
» |
Повреждение, некачественное выполнение или отсутствие гидроизоляции |
Визуальный - по размерам зоны увлажнения со вскрытием в этой зоне или по прохождению электрического тока между заглубленными в стену электродами по обе стороны от предполагаемой гидроизоляции. Химический анализ грунтовых вод |
Восстановление или устройство новой гидроизоляции, в случае необходимости, - с предварительным осушением увлажненных участков. Выбор вида гидроизоляции в соответствии с химической агрессивностью грунтовых вод |
|
Повреждение наружного слоя цоколя |
См. п. 1 |
См. п. 1 |
|||
|
Поднятие уровня грунтовых вод |
Измерение уровня грунтовых вод |
Понижение уровня грунтовых вод или усиление гидроизоляции с предварительным осушением увлажненных участков. |
|||
|
Низкое расположение гидроизоляции относительно отмостки (тротуара) |
Визуальный, в случае необходимости - со вскрытием |
Осушение увлажненных участков, устройство дополнительной гидроизоляции в соответствии с нормативными требованиями, защита стены ниже дополнительной изоляции водостойкими и морозостойкими материалами |
|||
|
Подсыпка или навалы грунта около наружной поверхности стены |
Визуальный |
То же, если невозможна уборка грунта |
|||
|
Разбрызгивание воды от отмостки (тротуара) |
» |
Защита увлажняемых участков водостойкими и морозостойкими материалами, в случае необходимости - с предварительным осушением стены |
|||
|
Повреждение (просадка, разрушение и т.п.) отмостки (тротуара) |
» |
Устранение причин повреждения и восстановление отмостки, в случае необходимости - с предварительным осушением стены |
|||
|
Подтаивание снега около стены |
Периодическая уборка снега от стен или, в случае невозможности, - защита увлажняемых участков водостойкими и морозостойкими материалами |
||||
|
7 |
В месте примыкания к кровле пониженной части здания |
Все варианты |
Неправильное устройство или повреждение узла сопряжения кровли со стеной |
» |
Устройство или восстановление узла сопряжения кровли со стеной, в случае необходимости - с предварительным осушением |
|
Поднятие уровня воды на кровле вследствие неисправности системы водоотвода |
» |
Устранение неисправности системы водоотвода, в случае необходимости - осушение увлажненных участков стены |
|||
|
Разбрызгивание воды от поверхности кровли |
» |
Защита увлажняемых участков водостойкими и морозостойкими материалами, в случае необходимости - с предварительным осушением |
|||
|
Подтаивание снега на кровле около стены |
Визуальный |
Предотвращение образования снегоотложений, уборка снега с кровли или, в случае невозможности, защита увлажняемых участков водостойкими и морозостойкими материалами |
|||
|
В зоне увлажнения (обмерзания) стены со стороны помещения (см. пп. 9 - 25) |
Все варианты |
Перемещение влаги от увлажненной внутренней поверхности стены к наружной |
Визуальный, в случае необходимости - с отбором проб материалов стены на влажность |
Устранение причин увлажнения, в случае необходимости - с осушением стены |
|
|
Увлажнение (возможно, с обмерзанием) внутренней поверхности |
|||||
|
По всей площади или в различных зонах при отсутствии закономерностей в расположении мест увлажнения (обмерзания) в пределах участка с идентичными эксплуатационными воздействиями |
Все варианты |
Несоответствие фактических температур и влажности воздуха в помещении или наружного принятым при проектировании (в том числе вследствие недостаточной вентиляции, изменений технологического процесса, планировки помещений и размещения оборудования в процессе эксплуатации) |
Поверочные расчеты требуемых сопротивлений теплопередаче и паропроницанию для фактических температур и влажности воздуха в помещении. Рекомендуется измерить фактическое сопротивление теплопередаче и отобрать пробы материалов на влажность по сечению стены, определить температурный режим внутренней поверхности стены |
Осушение и приведение сопротивлений теплопередаче и паропроницанию в соответствие с прогнозируемыми температурами и влажностью воздуха в помещении или температуры и влажности воздуха в помещении в соответствие с принятыми при проектировании (например, путем усиления вентиляции) . Устройство гидроизоляции по внутренней поверхности стены (с соответствующей защитой от механических повреждений и предварительным осушением), если допускается выпадение конденсата на внутренней поверхности стены |
|
|
Несоответствие фактических теплофизических характеристик материалов (теплопроводности, плотности и др.) принятым при проектировании |
Поверочные расчеты сопротивлений теплопередаче и паропроницанию для фактических теплофизических характеристик материалов. Рекомендуется измерить фактическое сопротивление теплопередаче стены, определить температурный режим внутренней поверхности стены |
Осушение и приведение фактических сопротивлений теплопередаче и паропроницанию в соответствие с нормативными требованиями |
|||
|
Несоответствие толщин или расположения слоев конструкции проектным или температурно-влажностному режиму воздуха в помещении (в частности, наличие толстых и плотных наружных слоев с высоким сопротивлением паропроницанию) |
Поверочные расчеты сопротивлений теплопередаче и паропроницанию для фактических толщин и расположения слоев конструкции |
Осушение и приведение фактических сопротивлений теплопередаче и паропроницанию в соответствие с нормативными требованиями |
|||
|
Разрушение материалов по поверхностям или в толще стены, расслоение стены и уменьшение вследствие этого сопротивления теплопередаче или воздухопроницанию |
Устранение причин повреждений, осушение, восстановление конструкции стены |
||||
|
Высокая воздухопроницаемость стены вследствие неправильного конструирования или некачественного выполнения строительно-монтажных работ (недостаточная плотность наружных слоев, пустоты в заполнении швов в кирпичной кладке или между мелкоразмерными блоками и т.п.) |
Визуальное обследование. Поверочный расчет сопротивления воздухопроницанию. Рекомендуется измерить фактическое сопротивление воздухопроницанию и теплопередаче стены, определить температурный режим внутренней поверхности стены |
Приведение сопротивления воздухопроницанию стены в соответствие с нормативными требованиями, в случае необходимости - с осушением |
|||
|
Применение при строительстве или проведении ремонтных работ материалов или конструкций с высоким влагосодержанием вследствие недостаточного выдерживания после изготовления на заводе, замачивания при транспортировке, хранении или строительстве, в том числе при выполнении мокрых процессов в строительстве |
Изучение технической документации. Отбор проб материалов на влажность. Дефект обычно проявляется в течение пяти лет после окончания строительства или проведения ремонтных работ |
Осушение стены |
|||
|
Наличие на поверхности стены водорастворимых солей, выделяемых в ходе технологического процесса производства, размещенного в здании |
Определение по технической документации или путем лабораторного анализа химического состава солей и относительной влажности воздуха, при которой для данной соли и температуры поверхности стены на ней выпадает конденсат (см. приложение) |
Осушение и предотвращение оседания солей на поверхности стены (совершенствование технологического процесса, создание гладкой поверхности стены и т.п.), а если это невозможно, защита стены водо- и химически стойкими в данной среде материалами, в случае необходимости - с утеплением стены, обеспечивающим на ее внутренней поверхности температуры выше той, при которой происходит выпадение конденсата; сокращение периода между очистками стены от загрязнений |
|||
|
Увлажнение в процессе мокрой уборки |
Визуальный |
Замена мокрой уборки сухой или защита внутренних поверхностей гидроизоляционными материалами, в случае необходимости - с предварительным осушением |
|||
|
С неметаллическими слоями со стороны помещений |
Применение в слоях, обращенных в сторону помещений (или в стене в целом), гигроскопичных материалов |
Выявление компонентов материалов слоев стены, обращенных в сторону помещений (стены в целом), по технической документации или путем лабораторного анализа химического состава материалов |
Защита внутренней поверхности стены гидроизоляционными материалами с предварительным осушением |
||
|
С гидро- или пароизоляционными слоями со стороны помещений |
Повреждения (трещины, отслоения и т.п.) гидро- или пароизоляции со стороны помещений |
Визуальный, в случае необходимости - со вскрытиями на отдельных участках. Проверка соответствия примененной гидро- или пароизоляции требованиям действующих норм |
Осушение, ремонт гидро- или пароизоляции, в случае необходимости - замена в соответствии с требованиями действующих норм |
||
|
С утеплителями из пенопластов |
Диффузия инертного газа из пенопласта |
Увеличение коэффициента теплопроводности утеплителя при отсутствии его видимых повреждений |
Дополнительное утепление стены, в случае необходимости - с предварительным осушением |
||
|
10 |
В местах повреждений наружной поверхности (трещин, выколов, вмятин и т.п.) |
Все вари-1 анты |
Уменьшение сопротивления теплопередаче на поврежденных участках, скапливание влаги в местах повреждений и ее капиллярное всасывание и т.п. |
Визуальный, причины повреждений определяются по их характеру |
Ремонт внутренней поверхности, в случае необходимости - с устранением причин повреждений и предварительным осушением увлажненных участков |
|
11 |
Вблизи оборудования, выделяющего влагу |
Все варианты |
Конденсация влаги на внутренней поверхности стены, попадание брызг |
Визуальный |
Устройство организованного отвода влажного воздуха, защитного экрана от брызг, перенос оборудования от наружной стены или дополнительное утепление стены (если происходит обмерзание или выпадение конденсата в жидкой фазе не допускается), защита внутренней поверхности стены гидроизоляционными материалами (если выпадение конденсата допускается) с предварительным осушением стены |
|
12 |
За близко расположенным прочим оборудованием, встроенными лощениями и т.п. |
То же |
Конденсация влаги на внутренней поверхности стены вследствие ухудшения вентиляции и условий теплообмена на внутренней поверхности стены |
Визуальный |
Перенос оборудования и т.п. от наружной стены, дополнительная вентиляция около стены или дополнительное утепление стены (если происходит обмерзание или выпадение конденсата в жидкой фазе не допускается), защита внутренней поверхности стены гидроизоляционными материалами (если выпадение конденсата допускается) с предварительным осушением стены |
|
13 |
В зонах (по высоте или в плане) с отличным от остального объема здания температурно-влажностным режимом воздуха |
Все варианты |
Конденсация влаги на внутренней поверхности стены вследствие несоответствия сопротивлений теплопередаче стены температурно-влажностному режиму воздуха в данной зоне помещения |
Сопоставление температурно-влажностного режима воздуха и состояния стен в различных зонах помещения. Поверочные расчеты сопротивлений теплопередаче и паропроницанию для фактических температур и влажности воздуха |
Осушение и приведение теплофизических характеристик стены в соответствие с фактическими температурами и влажностью воздуха в данной зоне помещения или температур и влажности воздуха в соответствие с теплофизическими характеристиками стены. Устройство гидроизоляции по внутренней поверхности стены с предварительным осушением, если допускается выпадение конденсата на внутренней поверхности стены |
|
14 |
В виде горизонтальных чередующихся полос |
Панельные и другие с мягким или сыпучим утеплителем (минераловатным войлоком, вермикулитом и т.п.) |
Уплотнение, усадка или просадка утеплителя вследствие его низкого качества, неправильного крепления, недостаточного обжатия, увлажнения или вибрационных воздействий в процессе эксплуатации |
Вскрытие панелей |
Усиление или замена теплоизоляции панелей, в случае увлажнения утеплителя в процессе эксплуатации - с предварительным устранением причин увлажнения |
|
15 |
В местах сопряжения с покрытием здания |
Все варианты |
Неисправность кровли или системы водоотвода с нее |
Визуальный |
Устранение неисправности кровли или системы водоотвода. Осушение и ремонт стены |
|
Недостаточная теплоизоляция узла сопряжения |
Определение температурного режима внутренней поверхности узла сопряжения |
Дополнительное утепление (с предварительным осушением) или обогрев узла сопряжения (например, путем прокладки труб системы отопления) |
|||
|
16 |
Внутренних поверхностей угла наружных стен |
Все варианты |
Недостаточная теплоизоляция угла наружных стен |
Определение температурного режима внутренних поверхностей угла наружных стен |
То же |
|
В зоне сопряжения с перекрытием |
То же |
Неудовлетворительные теплотехнические качества узла сопряжения наружной стены с перекрытием |
Определение температурного режима внутренних поверхностей узла сопряжения |
Дополнительное утепление узла с предварительным осушением |
|
|
Протечки через узел сопряжения стены с перекрытием или через перекрытие |
Визуальный |
Устранение причины протечек, осушение и ремонт стены и перекрытия |
|||
|
Панельные |
Дефекты или повреждения швов между панелями в зоне сопряжения наружной стены с перекрытием |
См. табл. 4, пп. 13, 16 - 19 |
|||
|
В местах сопряжения с пилястрами, ниш с наружной или внутренней сторон и на других участках изменения сечения стены |
Все варианты |
Неудовлетворительные теплотехнические качества в местах сопряжений и на других участках из-за трещин и других подобных неисправностей или недостаточной теплоизоляции |
Определение температурного режима внутренних поверхностей, визуальное выявление трещин и других возможных повреждений |
Устранение причин возникновения трещин и других повреждений, осушение, ремонт и, в случае необходимости - дополнительное утепление |
|
|
19 |
Под окнами |
То же |
Стекание конденсата с остекления на стену или в стену из-за отсутствия подоконника, дефектов или повреждений в нем (обратный уклон, неплотности примыкания, отсутствие капельника и т.п.), неисправностей других систем отвода конденсата или гидроизоляции стены |
Визуальный |
Устранение причин увлажнения, осушение и ремонт стены |
|
На участках сопряжения с окнами |
» |
Дефекты или повреждения узлов сопряжения (недостаточная теплоизоляция или герметизация, разрушение заполнений сопряжений и т.п.) |
Вскрытие участков сопряжения. Рекомендуется измерить воздухопроницаемость сопряжения |
То же |
|
|
В месте сопряжения с полом |
» |
Увлажнение скапливающимися на полу жидкостями вследствие неправильного уклона полов, отсутствия защитных плинтусов или облицовки стен и т.п. |
Визуальный |
Устранение источника увлажнения, а если это невозможно, защита стен плинтусами, гидроизоляционными материалами и т.п. с предварительным осушением. Обеспечение правильного уклона полов |
|
|
Неудовлетворительные теплотехнические качества узла сопряжения наружной стены с перекрытием |
См. п. 17 |
См. п. 17 |
|||
|
Панельные |
Дефекты или повреждения швов между панелями в зоне сопряжения наружной стены с перекрытием |
То же |
То же |
||
|
В зоне вентиляционных и других отверстий или щелей (в остеклении, заполнении проемов и т.п.) |
Все варианты |
Конденсация влаги вследствие охлаждения воздуха в помещении и поверхности стены ин-фильтрующимся наружным воздухом |
Визуальный |
Организация подачи наружного воздуха на некотором отдалении от стены или его предварительный подогрев, заполнение отверстий и устранение щелей |
|
|
23 |
В зоне стыков панелей, деформационных и других швов |
Все варианты |
Проникание в стык или шов атмосферной влаги, инфильтрация наружного воздуха и охлаждение прилегающей зоны стены, выпадение конденсата вследствие недостаточной герметичности, теплоизоляции или разрушения материалов заполнения стыка или шва (см. табл. 4, пп. 13, 14, 16 - 19) |
Визуальный, возможно со вскрытиями. Рекомендуется измерить воздухопроницаемость стыка или шва, а также температуры на внутренней поверхности |
Уплотнение, герметизация, теплоизоляция стыка или шва с предварительным осушением |
|
Панельные |
Выпадение конденсата вследствие недостаточной теплоизоляции, других дефектов или повреждений мест установки закладных деталей |
Увлажнение или обмерзание стены в местах установки закладных деталей |
Устранение дефектов или повреждений мест установки закладных деталей с предварительным осушением |
||
|
24 |
В зовах размещения санитарно-технического оборудования, коммуникаций, емкостей с жидкостью и т.п. |
Все варианты |
Неисправности (протечки) оборудования, коммуникаций и т.п. |
Визуальный |
Устранение неисправностей оборудования, коммуникаций и т.п., в случае необходимости - осушение стены |
|
25 |
В месте сопряжения с полом первого этажа |
То же |
Недостаточная теплоизоляция узла сопряжения, в том числе вследствие дефектов или повреждений элементов конструкций |
Измерение температур на внутренних поверхностях узла, вскрытия |
Устройство (восстановление) необходимой теплоизоляции или дополнительного обогрева с предварительным, в случае необходимости - осушением |
|
26 |
В зоне увлажнения (обмерзания) наружной поверхности (см. пп. 1 - 8) |
Все варианты |
Перемещение влаги от увлажненной наружной поверхности стены к внутренней |
Визуальный, в случае необходимости - с отбором проб материалов на влажность |
Устранение причин увлажнения, в случае необходимости - с осушением стены |
|
Ощутимая повышенная воздухопроницаемость (продуваемость) |
|||||
|
27 |
|||||
Таблица 4. Повреждения защитных и отделочных слоев, стыков и швов наружных стен
|
Вид в местоположение дефекта или повреждения |
Конструктивное решение наружной стены |
Вероятные причины возникновения |
Методы выявления или признаки данной причины |
Меры по предотвращению дальнейшего развития и устранению дефекта (повреждения) |
|
|
1 |
2 |
3 |
4 |
5 |
6 |
|
Изменение цвета |
|||||
|
1 |
Высолы на наружной или внутренней поверхности |
Все варианты |
Перенос веществ, входящих в состав материалов стены или примыкающих конструкций, влагой; выпадение конденсата на поверхностях, покрытых пылью, содержащей соли или другие химически активные вещества |
См. табл. 3 |
|
|
2 |
Пятна ржавчины на наружной или внутренней поверхности |
То же |
Коррозия стальных элементов, размещенных на поверхности или в толще стены, вследствие их увлажнения, воздействия химически агрессивных веществ или из-за недостаточной антикоррозионной защиты |
Визуальный; определение состава антикоррозионной защиты, условий и качества ее выполнения по технической документации |
Устранение причин увлажнения или воздействия химически агрессивных веществ либо приведение антикоррозионной защиты в соответствие с воздействиями на стальные элементы; очистка и покраска соответствующих участков стены, в случае необходимости - с предварительным осушением, а также в случае необходимости - усилением стальных элементов |
|
Повреждения защитных и отделочных слоев |
|||||
|
3 |
Шелушение, растрескивание, вспучивание или отслаивание лакокрасочных покрытий |
Все варианты |
Деформация и разрушение материала стены под лакокрасочным покрытием |
Устранение причин деформаций или разрушений. Ремонт лакокрасочного покрытия с соответствующей подготовкой основания |
|
|
Деформации попеременно замерзающей и оттаивающей влаги |
См. табл. 3 |
Устранение причин увлажнения (обмерзания). Ремонт лакокрасочного покрытия, в случае необходимости, замена его в соответствии с условиями эксплуатации |
|||
|
Несоответствие лакокрасочного покрытия температурно-влажностному режиму воздуха или химической агрессивности эксплуатационной среды |
Сопоставление фактических параметров эксплуатационной среды с допускаемыми для данного вида лакокрасочного покрытия. Осмотр разрушенного лакокрасочного покрытия, измерение его толщины и адгезии, определение конструкции покрытия и химического состава примененных материалов по технической документации или с помощью лабораторного анализа |
Замена лакокрасочного покрытия на покрытие, соответствующее данным условиям эксплуатации, или приведение параметров эксплуатационной среды в соответствие со свойствами лакокрасочного покрытия и его восстановление |
|||
|
Высокотемпературный нагрев технологическими источниками или огневое воздействие при пожаре |
Визуальный; по технической документации; измерение параметров нагрева (величина, амплитуда, цикличность изменения температур) |
Ремонт с учетом воздействий технологического процесса; ограничение воздействий |
|||
|
Нарушение правил устройства лакокрасочного покрытия (некачественная подготовка поверхности стены под покраску, неправильное хранение или подготовка компонентов, нарушение режима нанесения и т.п.) |
Осмотр разрушенного лакокрасочного покрытия, измерение его толщины и адгезии, определение конструкции покрытия и химического состава примененных материалов по технической документации или с помощью лабораторного анализа, а также качества, методов и условий производства работ при нанесении лакокрасочного покрытия (по технической документации) |
Ремонт или замена поврежденных участков, выполненных с нарушениями правил устройства лакокрасочного покрытия |
|||
|
4 |
Растрескивание штукатурных покрытий или фактурных слоев |
Все варианты |
Деформации или разрушения материалов стены под штукатурным (фактурным) слоем |
Устранение причин деформаций или разрушений. Ремонт штукатурного (фактурного) слоя; в случае необходимости - замена его в соответствии с условиями эксплуатации и ремонт основания |
|
|
Нарушение правил подбора состава материалов, изготовления (нарушение режима высушивания или твердения, нанесение последующего более плотного слоя штукатурки на менее плотный и т.п.), вызывающее усадочные трещины |
Сетка мелких трещин с раскрытием 0,1 - 0,2 мм |
Ремонт штукатурного (фактурного) слоя |
|||
|
5 |
Отслоение штукатурных покрытий или фактурных слоев, возможно с растрескиванием и выпадением отдельных кусков |
Все варианты |
Деформации или разрушения материала стены под штукатурным (фактурным) слоем |
Устранение причин деформаций или разрушений. Ремонт штукатурного (фактурного) слоя, в случае необходимости - замена его в соответствии с условиями эксплуатации и ремонт стены |
|
|
Различие в усадочных или температурных деформациях штукатурного (фактурного) слоя, дефекты изготовления или нанесения |
Простукивание (глухой звук), вскрытие на отдельных участках. Сопоставление соответствующих характеристик материалов (коэффициентов линейного расширения и т.п.). При усадочных деформациях - сетка трещин с раскрытием 0,1 - 0,2 мм |
Ремонт штукатурного (фактурного) слоя с соответствующим подбором его состава |
|||
|
Проникание влаги под штукатурный (фактурный) слой вследствие увлажнения с поверхностей стены; попеременное замораживание - оттаивание, увлажнение - высыхание |
См. табл. 3 |
Устранение причин увлажнения; осушение, ремонт штукатурного (фактурного) слоя |
|||
|
Накопление, попеременное замораживание и оттаивание влаги под штукатурным (фактурным) слоем вследствие неудовлетворительного температурно-влажностного режима конструкции и стены |
Вскрытие отдельных участков. Поверочные расчеты требуемых сопротивлений теплопередаче и паропроницанию для фактических условий эксплуатации. Отбор проб материалов на влажность |
Приведение фактических теплофизических характеристик стены в соответствие с условиями эксплуатации, в случае необходимости - с предварительным осушением |
|||
|
Накопление под штукатурным (фактурным) слоем кристаллов солей вследствие химически агрессивных воздействий технологического процесса, засоленных грунтовых вод (в цокольной части) и т.п. |
То же, а также химический анализ компонентов эксплуатационных сред и новообразований в конструкции |
То же, а также защита конструкций от химически агрессивных эксплуатационных воздействий в соответствии с нормативными требованиями или ограничение воздействий с очисткой, нейтрализацией химических новообразований и ремонтом штукатурного (фактурного) слоя |
|||
|
Высокотемпературный нагрев технологическими источниками или огневое воздействие при пожаре |
Визуальный; по технической документации; измерение параметров нагрева (величина, амплитуда и цикличность изменения температур) |
Ремонт с учетом воздействий технологического процесса, ограничение воздействий |
|||
|
6 |
Рыхлая структура, нарушение связи между частицами материала штукатурных покрытий или фактурных слоев |
Все варианты |
Попеременное замораживание - оттаивание материала штукатурного (фактурного) слоя в увлажненном состоянии, расклинивающее действие влаги при попеременном увлажнении - высыхании, растворение или вымывание компонентов материала водой |
См. табл. 3 |
То же, что при увлажнении (обмерзании) наружной или внутренней поверхности стены, а также ремонт или замена (в соответствии с воздействиями) штукатурного (фактурного) слоя с предварительной подготовкой поверхности стены |
|
Химические воздействия на материал штукатурного (фактурного) слоя (выделение технологического процесса, химическая агрессивность дождевых или грунтовых вод и т.п.) |
Появление в материале видимых новообразований. Сопоставление воздействий и свойств материала. Химический анализ компонентов эксплуатационных сред и материала штукатурного (фактурного) слоя |
Защита конструкции от фактических эксплуатационных воздействий в соответствии с нормативными требованиями или ограничение воздействий, с очисткой, нейтрализацией химических реагентов в материале стены и ремонтом штукатурного (фактурного) слоя |
|||
|
7 |
Разрывы или отслоения рулонных или пленочных оклеечных защитных покрытий |
Все варианты |
Деформации или разрушения материала стены под оклеечным покрытием или по нему |
Устранение причин деформаций или разрушений. Ремонт оклеечного покрытия, в случае необходимости замена его в соответствии с условиями эксплуатации и ремонт основания |
|
|
Нарушение правил устройства оклеечного покрытия (некачественная подготовка поверхности стены под оклейку, неправильные выбор, хранение материалов мастик или их подготовка к применению, нарушение режима или условий наклейки и т.п.) |
Отсутствие прочих возможных причин. Осмотр поврежденных участков, определение конструкции покрытия и химического состава примененных материалов по технической документации или с помощью лабораторного анализа, а также условий производства работ при устройстве (по технической документации) |
Ремонт или замена поврежденных участков, выполненных с нарушением правил устройства оклеечных защитных покрытий |
|||
|
См. дефекты и повреждения рулонных кровель (табл. 10, пп. 7, 8, 12 - 15) |
|||||
|
8 |
Нарушение связи между компонентами рулонных или пленочных оклеечных защитных покрытий, структурные изменения в них |
Все варианты |
Несоответствие примененных материалов оклеечной изоляции температурному, влажностному режиму или химической агрессивности эксплуатационной среды |
Сопоставление фактических параметров эксплуатационной среды с допускаемыми для данного вида оклеечного покрытия |
Замена оклеечного покрытия на соответствующее данным условиям эксплуатации или приведение параметров эксплуатационной среды в соответствие со свойствами оклеечного покрытия с его восстановлением |
|
См. повреждения кровель из рулонных материалов (табл. 10, пп. 7, 8 и 12) |
|||||
|
9 |
Трещины в швах между элементами облицовки |
С неметаллическими облицовочными слоями, кроме асбестоцементных |
Деформации или разрушения материала стены под облицовкой |
Устранение причин деформаций или разрушений. Заделка трещин, в случае необходимости - с закреплением облицовки на предварительно подготовленной поверхности |
|
|
Дефекты производства работ (увеличенные размеры швов, неправильная дозировка материалов заполнения шва, загрязнение поверхностей шва) |
Визуальный |
Заделка трещин, в случае необходимости - с закреплением облицовки на предварительно подготовленной поверхности |
|||
|
10 |
Выкрошивание, вымывание и т.п. повреждения материала швов между элементами облицовки |
То же |
Попеременное замораживание - оттаивание материала шва в увлажненном состоянии, попеременное увлажнение - высыхание, растворение или вымывание компонентов материала водой |
См. табл. 3 |
Устранение, по возможности, причин увлажнения; расчистка, осушение и зачеканка швов с соответствующим подбором материала |
|
Химические, температурные и тому подобные воздействия эксплуатационной среды |
Сопоставление воздействий и свойств материала. Анализ параметров эксплуатационной среды, структурных и химических изменений в материале |
Зачеканка швов с расчисткой и соответствующим подбором материала |
|||
|
11 |
Трещины в элементах облицовки |
С неметаллическими облицовочными слоями, кроме асбестоцементных |
Деформации или разрушение материала стены под облицовкой |
Устранение причин деформаций или разрушений. Замена поврежденных элементов облицовки с подготовкой основания |
|
|
Дефекты изготовления, случайные повреждения |
Отсутствие закономерностей в расположении поврежденных элементов |
Замена поврежденных элементов |
|||
|
12 |
Выпучивание, отслоение, выпадение элементов облицовки |
То же |
Деформации или разрушение материала стены под облицовкой |
Устранение причин деформаций или разрушений. Закрепление с соответствующей подготовкой элементов облицовки и основания, замена поврежденных элементов |
|
|
Проникание влаги под элементы облицовки вследствие увлажнения поверхности стены; попеременное замораживание - оттаивание, увлажнение - высыхание |
См. табл. 3 |
Устранение причин увлажнения; осушение; закрепление элементов облицовки с соответствующей подготовкой их и основания; замена поврежденных элементов |
|||
|
Накопление влаги под слоем наружной облицовки вследствие ее высокого сопротивления паропроницанию |
Простукивание с вскрытием отдельных мест и отбором проб материалов стены на влажность Поверочный расчет требуемого сопротивления паропроницанию |
Приведение сопротивления паропроницанию в соответствие с температурно-влажностным режимом воздуха в помещении или температурно-влажностного режима воздуха в соответствие с конструкцией стены. Осушение. Закрепление элементов облицовки с соответствующей подготовкой их и основания, замена поврежденных элементов |
|||
|
Различия в осадке, усадочных или температурных деформациях облицовки и смежных с ней слоев стены |
Сопоставление возможных величин осадки, усадки или температурных деформаций по конструктивному решению стены (например, по количеству и толщине швов, коэффициентам линейного расширения и т.д.) |
Ремонт облицовки с соответствующей подготовкой основания и заменой поврежденных элементов |
|||
|
- |
Дефекты производства работ (переувлажнение плиток перед установкой, применение жирного раствора и т.п.) |
Определение качества, методов и условий производства работ по технической документации. Осмотр поврежденных участков |
То же |
||
|
Разрушение стыков и швов |
|||||
|
13 |
Трещины в швах между панелями |
Панельные |
Перекос и сдвиг стены при просадках фундаментов (общий характер трещин аналогичен приведенному для каменных стен в табл. 5, пп. 1 - 5) |
Клиновидные трещины по контуру панелей. Перекос и сдвиг панелей |
Предотвращение развития просадок и ремонт швов |
|
Панельные с заполнением швов строительным раствором |
Температурные или усадочные деформации панелей |
Тонкая продольная змеевидная трещина по раствору шва обычно около одной из сторон шва |
Расчистка шва от раствора, грунтовка, установка упругой прокладки, заделка нетвердеющим герметиком и устройство защитного слоя из полимерцемента или водозащитной краски |
||
|
14 |
Трещины в швах у коробок окон, ворот или дверей |
Все варианты |
Усушка древесины коробок окон, ворот или дверей |
Визуальный |
То же |
|
15 |
Трещины в швах каменной кладки |
Каменные |
См. табл. 5, пп. 1 - 16 и 23 |
||
|
16 |
Разрушение или отслоение герметика |
Панельные |
Старение герметика, использование некондиционного герметика; нарушение дозировки компонентов вулканизирующегося герметика; отсутствие защитного слоя; повышенная влажность, запыленность или загрязненность основания под герметик при его укладке; недостаточный нагрев нетвердеющего герметика при нанесении |
Вскрытие защитного слоя из строительного раствора и визуальный осмотр |
Восстановление заполнения шва |
|
17 |
Вытекание герметика |
Панельные |
Использование некондиционного герметика, нарушение дозировки компонентов вулканизирующегося герметика, отсутствие защитного слоя |
Визуальный |
То же |
|
18 |
Выпадение, выкрошивание, структурные изменения материалов заполнения швов |
С неметаллическими слоями с наружной стороны или со стороны помещений (кроме асбестоцементных) |
То же, что при выкрошивании, вымывании и тому подобных повреждениях материалов швов между элементами облицовки (см. п. 10) |
||
|
Панельные |
Дальнейшая стадия развития трещин в швах панелей под влиянием эксплуатационных сред |
См. п. 13 |
|||
|
Низкая марка строительного раствора заполнения шва |
Разрушение раствора при приложении незначительной нагрузки |
Восстановление полимерцементным раствором |
|||
|
Усадочные и пластические деформации материала панелей или раствора в швах, вызывающие уменьшение высоты заполнения между монтажными столиками |
Растрескивание и выпадение раствора в горизонтальных швах между панелями в уровне опорных столиков |
Ремонт и заделка швов между панелями |
|||
|
Панельные и из крупноразмерных блоков |
Вибрационные воздействия |
Визуальный |
Ремонт швов с соответствующим выбором материалов, по возможности - устрашение или ослабление вибрационных воздействий |
||
|
19 |
Отсутствие заполнений швов |
То же |
Монтаж стен «насухо» |
Визуальный и по технической документации |
Расчистка и заполнение швов |
|
20 |
Коррозия закладных деталей, опорных столиков, панелей, листов |
Все варианты |
Увлажнение |
См. табл. 3 |
Устранение причин увлажнения. Восстановление или устройство вновь антикоррозионной защиты закладных деталей и креплений с усилением при коррозионном разрушении более чем на 30 % площади сечения или при наличии более одного очага язвенной коррозии элемента закладной детали либо опорных столиков (по расчету) |
|
Воздействие химически агрессивных эксплуатационных сред |
Выявление степени соответствия и качества выполнения имеющейся антикоррозионной защиты характеру и степени агрессивности эксплуатационной среды по технической документации с помощью вскрытий деталей и измерений параметров среды |
Приведение в соответствие антикоррозионной защиты параметрам эксплуатационной среды с усилением в случаях, указанных выше. Ослабление степени химической агрессивности эксплуатационной среды, если это возможно |
|||
|
Контакт разнородных металлов |
Визуальный |
Введение прокладок с ремонтом антикоррозионной защиты |
|||
|
21 |
Разрыв сварных швов, погнутости и тому подобные нарушения креплений панелей или листов |
Панельные |
Некачественное выполнение сварки, механические воздействия |
Визуальный с вскрытием закладных деталей |
Усиление или выравнивание элементов креплений, в случае необходимости - с выравниванием и укреплением панелей, устройством дополнительных связей с несущими конструкциями. |
|
22 |
Расстройство узлов креплений панелей к каркасу здания |
Из навесных панелей из тяжелого или легких бетонов |
Статические или динамические силовые воздействия |
Визуальный. Трещины, выпадение бетона в местах креплений |
Дальнейшая эксплуатация невозможна, необходимы смена панелей и усиление каркаса здания |
Таблица 5. Разрушение основного материала наружных стен
|
Вид и местоположение дефекта или повреждения |
Конструктивное решение наружной стены |
Вероятные причины возникновения |
Методы выявления или признаки данной причины |
Меры по предотвращению дальнейшего развития и устранению дефекта (повреждения) |
|
|
1 |
2 |
3 |
4 |
5 |
6 |
|
Трещины в основном материале (слое) |
|||||
|
1 |
Трещины, имеющие характер параболических кривых, ветви которых расходятся книзу по обе стороны от средней части здания (рис: 7, а на с. 23) |
Каменные |
Просадка грунта в средней части здания |
Визуальный; наблюдения за осадками грунта и трещинами; инженерно-геологические изыскания; поверочные расчеты |
Укрепление грунтов основания, усиление фундаментов или повышение пространственной жесткости зданий и заделка трещин после прекращения их развития |
|
2 |
Трещины, раскрытие которых увеличивается кверху; наклонные или имеющие характер параболических кривых, расходящихся книзу относительно краев здания (рис. 7, б) |
» |
Просадка крайних частей или наличие твердого включения под средней частью здания |
То же |
То же |
|
3 |
Трещина, близкая к вертикальной, раскрытие которой увеличивается кверху |
Каменные |
Разлом здания вследствие наличия жесткой опоры в грунте под трещиной |
Визуальный; наблюдения за осадками грунта и трещинами; инженерно-геологические изыскания; поверочные расчеты |
Укрепление грунтов основания, усиление фундаментов или повышение пространственной жесткости здания и заделка трещины после прекращения ее развития |
|
4 |
Близкая к вертикальной трещина с одинаковым раскрытием по высоте со смещением по вертикали части здания с одной стороны от трещины относительно другой (рис. 7, в) |
» |
Просадка части здания |
То же |
То же |
|
5 |
V-образные трещины по линии пристройки нового здания к ранее существовавшему или в месте перепада высот одного здания |
» |
Разная степень уплотнения грунта или разное давление на грунт по обе стороны от линии пристройки или перепада высот |
» |
То же |
|
6 |
Вертикальные трещины с раскрытием 0,1 - 0,5 мм, пересекающие два и более рядов кладки, при количестве трещин две и более на 1 м вертикально нагруженной стены |
Каменные |
Значительная перегрузка кладки |
Поверочный расчет по фактическим нагрузкам, размерам конструкции и прочностным характеристикам материалов |
Усиление по расчету (с учетом фактической прочности материалов, сечения кладки и коэффициента kтр по табл. 6) |
|
- |
Пониженная прочность материалов, примененных в конструкции |
Определение фактических прочностных характеристик материалов и поверочный расчет |
То же |
||
|
Снижение прочности кладки при вибрации, увлажнении, промерзании, химической агрессии, огневом воздействии и механических повреждениях |
Визуальный; изучение воздействий по технической документации, выявление соответствующих характеристик стены и воздействий |
Предотвращение или ослабление воздействий, в случае необходимости - осушение и антикоррозионная защита, усиление стены (по расчету) |
|||
|
Снижение прочностных характеристик кладки вследствие нарушения правил производства работ при ее возведении, в том числе недостаточного армирования |
Визуальный; определение качества, методов и условий возведения стены по технической документации; определение армирования неразрушающими методами, в случае необходимости - со вскрытиями |
Усиление по расчету |
|||
|
7 |
Горизонтальные и косые трещины по швам кладки рядовых, клинчатых или арочных перемычек; вертикальные трещины в середине пролета, возможно, с выпадением отдельных камней |
Каменные |
То же, что при вертикальных трещинах с раскрытием 0,1 - 0,5 мм, пересекающих два и более рядов кладки (см. п. 6) |
Усиление по расчету (с учетом фактической прочности материалов, сечения и других геометрических характеристик перемычек), в случае необходимости - с предварительным осушением и антикоррозионной защитой |
|
|
8 |
Горизонтальные трещины по швам кладки стен, подверженных горизонтальным нагрузкам, возможно, со сдвигом по горизонтальным швам или косой штрабе |
» |
То же |
То же |
Усиление по расчету (с учетом фактической прочности материалов, сечения кладки и эксцентриситетов вертикальных нагрузок), в случае необходимости - с предварительным осушением и антикоррозионной защитой |
|
9 |
Мелкие трещины, возможно со скалыванием и раздроблением материалов кладки, под опорами балок, ферм перемычек, козырьков, веерообразно расходящиеся от места приложения нагрузки |
Каменные |
То же, а также недостаточная глубина опорной части или недостаточная несущая способность плиты по опорному моменту |
То же, а также поверочный расчет плиты |
Усиление по расчету (с учетом фактической прочности материалов, сечения кладки и коэффициента kтр по табл. 7); в случае необходимости - с предварительным осушением и антикоррозионной защитой |
|
10 |
Вертикальные и наклонные трещины в верхней части зданий, в местах сопряжения разно-нагруженных продольных и поперечных стен |
» |
Различная деформативность разнонагруженных стен вследствие разных напряжений в кладке, температурно-влажностных деформаций, физико-механических свойств материалов и ползучести кладки при длительном действии нагрузки |
Поверочные расчеты для фактического конструктивного решения, характеристик материалов стены и воздействий |
В случае необходимости - усиление по расчету с учетом фактической длины и высоты стен в месте образования трещин |
|
11 |
Вертикальные трещины в верхней части пилястр, служащих опорами балок и ферм, в местах сопряжения пилястр с кладкой стены |
Каменные |
То же |
То же |
Усиление по расчету с учетом коэффициента kтр по табл. 7 |
|
Горизонтальные усилия, возникающие в фермах и балках при колебаниях температуры, усадке или осадках фундаментов |
То же, а также дополнительные инженерные изыскания |
То же |
|||
|
12 |
Трещины V-образной формы в верхней части здания |
» |
Распор вследствие расстройства стропильной системы покрытия здания |
Визуальный |
Восстановление стропильных конструкций покрытия здания и заделка трещин, в случае необходимости - с перекладкой деформированных участков |
|
13 |
Вертикальные трещины с раскрытием 0,1 - 3 мм в кладке продольных стен нижних этажей, по концам перемычек, балок, плит, армированных поясов |
» |
Продольные температурно-влажностные деформации стен или перекрытий при изменении средней температуры сечения либо поперечные (из плоскости стены) деформации при перепаде температур по толщине |
Визуальный; наблюдение за развитием трещин, поверочные расчеты |
Усиление стены (по расчету с учетом фактической прочности материалов и сечений стены), заделка трещин |
|
14 |
Трещины с раскрытием до 10 мм и более, разрывы в кладке в средней части стен на всю высоту здания |
Каменные |
Отсутствие или недостаточное армирование для восприятия температурно-влажностных или усадочных деформаций |
То же, что при вертикальных трещинах с раскрытием 0,1 - 3 мм в кладке нижних этажей продольных стен (см. п. 13) |
|
|
15 |
Косые трещины в углах крайних проемов первых этажей |
» |
Деформации сдвига вследствие температурных воздействий |
То же, применительно к температурным деформациям |
|
|
16 |
Продольные и радиальные трещины, вспучивания в местах расположения арматуры и других стальных элементов |
Все варианты |
Коррозия арматуры и других стальных элементов вследствие недостаточной толщины защитного слоя бетона, антикоррозионной защиты, повышенной влажности или химической агрессивности среды эксплуатации |
Визуальный со вскрытиями. Измерение толщины и глубины нейтрализации защитного слоя бетона |
Усиление по расчету с учетом фактической прочности материалов и площадей сечений, не поврежденных коррозией, с очисткой и нанесением антикоррозионной защиты арматуры или других стальных элементов, ограничение воздействий |
|
17 |
Трещины на участках со вспученной поверхностью вне мест расположения стальных элементов |
Из пористых материалов |
Кристаллизация новообразований в порах и капиллярах (лед, соли и т.п.) |
Визуальный; отбор проб материалов на влажность, химический анализ новообразований и компонентов эксплуатационной среды |
Устранение причин увлажнения (см. табл. 3), ремонт стен с разборкой поврежденных участков, в случае необходимости, предварительным осушением и антикоррозионной защитой |
|
18 |
Трещины по поверхности бетона |
Железобетонные панели |
Усадка бетона |
Сетка мелких трещин с раскрытием 0,1 - 0,2 мм |
Затирка поверхности |
|
19 |
Трещины по контуру полки, отделяющие ее от ребер |
То же |
Арматура полки не заведена в ребра |
Визуальный со вскрытиями |
Закрепление и усиление с помощью дополнительных элементов |
|
20 |
Косые трещины в зоне опирания на столики и в нижней зоне по длине панелей, вертикальные трещины в нижней зоне в средней части панелей |
» |
Аналогично дефектам и повреждениям железобетонных балок (см. «Методические рекомендации по классификации дефектов и повреждений в несущих железобетонных конструкциях промышленных зданий») |
||
|
21 |
Трещины в железобетонных перемычках |
Каменные, из крупноразмерных блоков |
То же |
||
|
22 |
Трещины, не имеющие видимых закономерностей в расположении |
Все варианты |
Механические воздействия при изготовлении, транспортировке или хранении элементов, возведении или в процессе эксплуатации стены |
Визуальный |
Ремонт или замена поврежденных участков |
|
23 |
Прогрессирующее развитие трещин в условиях вибрационных, ударных и других динамических воздействий |
С неметаллическими наружными и внутренними слоями |
Динамические воздействия |
В условиях устранения или отсутствия других (кроме динамических) возможных причин |
Усиление по расчету на фактические воздействия с учетом фактической прочности материалов, сечений конструкций и эксцентриситетов вертикальных нагрузок |
|
Расслоение основного материала |
|||||
|
24 |
Горизонтальное расслоение кладки, возможно со сдвигом по швам отдельных участков и камней, местным расстройством кладки |
Каменные |
Дальнейшее развитие трещин |
См. пп. 1, 2, 5, 7 - 10, 12, 14, 15 и 23 |
|
|
Разрушение материалов швов |
См. п. 27 |
||||
|
25 |
Продольное расслоение |
Все варианты |
Увлажнение внутренних слоев стены вследствие увлажнения ее поверхностей, периодическое замораживание, увлажнение - высыхание, вымывание компонентов материалов стены |
См. табл. 3 |
Устранение причин увлажнения (обмерзания) с усилением расслоившихся участков по расчету с учетом фактических характеристик материалов |
|
Накопление, попеременное замораживание и оттаивание влаги во внутренних слоях стены вследствие ее неудовлетворительного температурно-влажностного режима |
Вскрытие отдельных участков. Поверочные расчеты сопротивлений теплопередаче и паропроницанию для фактических условий эксплуатации. Отбор проб материалов стены на влажность |
То же |
|||
|
Накопление во внутренних слоях стены кристаллов солей вследствие химически агрессивных воздействий технологического процесса, засоленных грунтовых вод (в цокольной части) и т.п. |
То же, а также химический анализ компонентов эксплуатационных воздействий и новообразований в конструкции |
То же, а также защита конструкций от химически агрессивных эксплуатационных воздействий в соответствии с нормативными требованиями или ограничение воздействий с очисткой и нейтрализацией химических новообразований |
|||
|
Недостаточная связь между отдельными слоями стены вследствие нарушения правил изготовления, транспортирования, хранения элементов или их возведения (некачественная склейка, низкие прочностные характеристики раствора, неэквивалентная замена креплений облицовок панелей и т.п.) |
Визуальный со вскрытиями; определение качества, методов и условий изготовления, транспортирования, хранения элементов и возведения стены |
Усиление дефектных участков |
|||
|
. |
Несущие |
Перегрузка по причинам, аналогичным указанным в п. 6 |
Соответствующие причинам |
||
|
Неодинаковые деформации слоев из различных материалов под действием вертикальных нагрузок |
Выявление фактических условий работы конструкций, поверочный расчет по фактическим нагрузкам, размерам конструкции и прочностным характеристикам материалов |
Усиление поврежденных участков |
|||
|
Ненесущие |
Смещение креплений панелей к каркасу вниз, вследствие чего стена превращается в самонесущую |
Визуальный |
Установка опорных столиков, обеспечивающих работу панелей как ненесущих |
||
|
С асбестоцементными слоями с одной или обеих поверхностей |
Увлажнение, периодическое замораживание - оттаивание |
Визуальный |
Устранение причин увлажнения и замена поврежденных асбестоцементных листов |
||
|
26 |
Отслоения, расслоения, трещины в зоне опорных столиков |
Панельные из легких и ячеистых бетонов |
Увлажнение, периодическое замораживание - оттаивание вследствие выпадения конденсата на опорных столиках |
» |
Устройство дополнительной теплоизоляции швов. Ремонт панелей с введением гидроизоляционных прокладок между панелью и столиком |
|
С металлическими слоями с одной или обеих поверхностей |
Ветровая нагрузка |
Поверочный расчет на ветровую нагрузку |
Усиление |
||
|
Структурные и химические изменения в основном материале (слое) |
|||||
|
27 |
Шелушение поверхностей, выветривание наружных слоев, пониженная плотность, повышенная пористость, рыхлая структура, изменение химического состава материала, возможно с выкрошиванием, и выпадением частиц и т.п. |
Все варианты |
Воздействие химически агрессивных эксплуатационных сред |
Аналогичны при соответствующих разрушениях защитных и отделочных слоев, стыков и швов, трещинах в основном материале (см. табл. 4, пп. 3, 6 и 10; табл. 5, пп. 6 - 8, 16, 17, 25) |
Принятие мер по повышению коррозионной стойкости и снижению степени агрессивного воздействия эксплуатационных сред; ремонт или усиление (по расчету), в случае необходимости - с устранением причин увлажнения и осушением |
|
Высокотемпературный нагрев технологическими источниками или огневое воздействие при пожаре |
Визуальный, по технической документации, измерение параметров нагрева (величина, амплитуда, цикличность изменения температур) |
Ремонт или усиление по расчету с учетом фактической прочности материалов, площадей сечений неповрежденной части (за вычетом разрушенных слоев) и коэффициента kтр по табл. 8 для кирпичной кладки |
|||
|
Нарушение правил (дефекты) изготовления элементов или возведения стены |
Визуальный и по технической документации |
Ремонт или усиление по расчету |
|||
|
Все варианты, исключая металлические слои |
Увлажнение, попеременное замораживание - оттаивание в увлажненном состоянии при недостаточной морозостойкости, попеременное увлажнение - высыхание, вымывание компонентов материалов |
См. табл. 3 |
Устранение причин увлажнения, ремонт конструкции, в случае необходимости (по расчету) - усиление и осушение |
||
|
Температурно-влажностные деформации |
Аналогичны указанным в табл. 4, п. 3 табл. 5, пп. 6 - 8 и 13 для случая разрушения защитных и отделочных слоев, стыков и швов, возникновения трещин в основном материале |
Ремонт или усиление (по расчету) с применением материалов, соответствующих условиям эксплуатации, возможно с устройством дополнительных температурных швов |
|||
|
Биохимические воздействия микроорганизмов, грибов, мхов и т.п.; биохимические и механические воздействия деревьев и кустарников |
Визуальный, в случае необходимости - с лабораторным анализом образцов |
Очистка и обработка поврежденных участков, ремонт, устранение причин воздействий или применение мер защиты от них |
|||
|
С применением монолитного бетона |
Нарушение температурного режима прогрева при зимнем бетонировании |
Определение качества, технологии и условий производства работ по технической документации |
Удаление дефектных участков, ремонт или усиление (по расчету) |
||
|
28 |
Местное или краевое скалывание, раздробление, смятие, мелкие трещины под опорами балок, ферм, перемычек, козырьков |
Несущие |
См. п. 9 |
||
|
29 |
Выпадение отдельных кирпичей или мелких блоков |
Каменные |
Дальнейшее развитие трещин в швах и расслоений кладки |
См. пп. 1 - 16, 22, 23, 24, 25 |
|
|
30 |
Разрушение утеплителя из пенопластов |
С утеплителями из пенопластов |
Повреждение грызунами |
Визуальный со вскрытиями |
Ремонт, применение средств защиты от грызунов |
|
31 |
Коррозия арматуры и других металлических элементов |
Каменные и бетонные армированные, со стальными перемычками и т.п. |
Нарушение защитного слоя в процессе изготовления, транспортирования элементов, возведения или эксплуатации стены вследствие механических воздействий |
Отсутствие защитного слоя на отдельных участках при его полной сохранности на других, эксплуатирующихся в тех же условиях |
Очистка металлических элементов от продуктов коррозии, в случае необходимости - их усиление; восстановление защитного слоя |
|
Увлажнение с наружной или внутренней поверхности стены |
См. табл. 3 |
То же, с предварительным устранением причин увлажнения и, в случае необходимости - с осушением |
|||
|
Несоответствие защитного слоя условиям эксплуатации по толщине или составу |
Измерение толщины защитного слоя. Выявление степени соответствия защитного слоя нормативным требованиям при фактических условиях эксплуатации. Пятна ржавчины на поверхности, выпучивание и трещины в защитном слое в местах расположения металлических элементов |
Очистка металлических элементов от продуктов коррозии, в случае необходимости - их усиление; приведение защитного слоя в соответствие с условиями эксплуатации, ослабление воздействий эксплуатационной среды |
|||
|
Повреждение защитного или отделочного слоя в процессе эксплуатации (исключая механические воздействия), разрушения стыков или швов, образование трещин в стене, накопление влаги в толще стены, расслоение материала стены, структурные и химические изменения в нем |
По характеру повреждений |
Устранение причин повреждений; очистка металлических элементов от продуктов коррозии, в случае необходимости - их усиление; устройство защитного слоя в соответствии с нормативными требованиями |
|||
|
С металлическими слоями с одной или обеих поверхностей |
Контакт разнородных металлов |
Визуальный |
Введение неметаллических прокладок между разнородными металлами. Антикоррозионная защита при поверхностной коррозии листов с соответствующей подготовкой поверхностей. Замена листов, имеющих сквозные повреждения |
||
3.6. Несущая способность стен при отклонении их от вертикали или выпучивании в пределах этажа определяется с учетом фактических эксцентриситетов вышележащих нагрузок.
Таблица 6. Коэффициенты снижения несущей способности kтр кладки стен, столбов и простенков, поврежденных вертикальными трещинами, при стабилизации развития трещин и деформаций конструкций
|
Характер повреждения кладки стен, столбов и простенков |
kтр для кладки |
||
|
неармированной |
армированной |
||
|
1 |
Трещины в отдельных камнях |
1 |
1 |
|
2 |
Волосные трещины, пересекающие не более двух рядов кладки, длиной 16 - 18 см |
0,9 |
1 |
|
3 |
То же, при пересечении не более четырех рядов кладки длиной до 30 - 35 см при количестве трещин не более трех на 1 м ширины (толщины) стены, столба или простенка |
0,75 |
0,9 |
|
4 |
То же, при пересечении не более восьми рядов кладки длиной до 60 - 65 см при количестве трещин не более четырех на 1 м ширины (толщины) стены, столба и простенка |
0,5 |
0,7 |
|
5 |
То же, при пересечении более восьми рядов кладки длиной более 60 - 65 см (расслоение кладки) при количестве трещин более четырех на 1 м ширины стен, столбов и простенков. |
0 |
0.5 |
Примечание. Несущие столбы сечением 0,64×0,64 и менее при наличии повреждений, указанных в пп. 3, 4 и 5 табл. 6, должны усиливаться независимо от результатов расчета по формуле (5).
Таблица 7. Коэффициенты снижения несущей способности kтр кладки опор ферм, балок и перемычек из полнотелого кирпича, поврежденных трещинами, имеющих околы и раздробления
|
Характер повреждения кладки опор |
kтр для кладки |
||
|
неармированной |
армированной |
||
|
1 |
Местное (краевое) повреждение кладки на глубину до 2 см (трещины, сколы, раздробление) и образование вертикальных трещин по концам балок, ферм и перемычек или их опорных подушек длиной до 15 - 18 см |
0,75 |
0,9 |
|
2 |
То же, при длине трещин до 30 - 35 см |
0,5 |
0,75 |
|
3 |
Краевое повреждение кладки на глубину более 2 см при образовании по концам балок, ферм и перемычек вертикальных и косых трещин длиной более 35 см |
0 |
0,5 |
Таблица 8. Коэффициенты снижения несущей способности kтр кладки стен, простенков и столбов, поврежденных при пожаре
|
Глубина слоя поврежденной кладки (без учета штукатурки), см, до |
kтр для |
||
|
стен и простенков толщиной 38 см и более при обогреве |
столбов при размере сечения 38 см |
||
|
одностороннем |
двустороннем |
и более |
|
|
0,5 |
1 |
0,95 |
0,9 |
|
2 |
0,95 |
0,9 |
0,85 |
|
6 |
0,9 |
0,8 |
0,7 |
3.7. При образовании трещин в местах пересечения стен или при разрыве поперечных связей между стенами, колоннами и перекрытиями несущая способность и устойчивость стен, столбов, колонн и пилонов при действии вертикальных и горизонтальных (ветровых) нагрузок определяется с учетом фактической свободной высоты стен и столбов по вертикали.
3.8. При смещении на опорах прогонов, балок, плит перекрытий и покрытий производится проверка несущей способности стен, столбов или пилястр на местное смятие и внецентренное сжатие по фактической величине эксцентриситета и площади опирания на кладку.
3.9. При местных просадках фундаментов или разрушений одного или нескольких несущих простенков нижнего этажа оставшаяся часть стены может работать по схеме свода. В этом случае несущая способность сохранившихся простенков или участков стены должна определяться с учетом их перегрузки от массы вышележащих над сводом стен и перекрытий, а также с учетом горизонтального распора, который при этом возникает.
3.10. Основные градации степени повреждения и общие рекомендации по определению необходимости усиления каменных и крупноблочных конструкций в зависимости от снижения1 несущей способности приведены в прил. 2.
4.1. Оценка технического состояния внутренних стен и перегородок выполняется по следующим основным характеристикам:
прочности, жесткости и устойчивости под воздействием статических и динамических нагрузок;
надежности (в том числе долговечности) и огнестойкости, соответствующих прогнозируемому сроку службы здания, его капитальности и пожарной опасности размещенных в смежных помещениях производств;
эстетическим качествам.
В некоторых зданиях должна быть установлена также степень соответствия внутренних стен и перегородок нормативным требованиям по звуко-, газо-, пыле- или пароизоляции.
4.2. При предварительном (общем) обследовании внутренних стен и перегородок решаются задачи, аналогичные решаемым при предварительном (общем) обследовании наружных стен.
4.3. Характерные дефекты и повреждения внутренних стен и перегородок, вероятные причины их возникновения, методы выявления и признаки каждой причины, возможные меры по предотвращению дальнейшего развития и устранению, а также оценка несущей способности и степени повреждений конструкций внутренних стен и перегородок, как правило, аналогичны соответствующим показателям и методам выполнения работ для наружных стен (с учетом различий в возможных воздействиях и конструктивных решениях).
Наряду с причинами, общими с наружными стенами, выпучивание перегородок может быть вызвано передачей нагрузки вышерасположенным перекрытием вследствие недостаточного зазора между нижней поверхностью перекрытия и верхом перегородки.
Несоответствие звуко-, газо-, пыле- или пароизоляции внутренних стен и перегородок нормативным требованиям, как правило, устанавливается специализированными организациями по специальным методикам. Причины несоответствия и меры по их устранению аналогичны указанным для перекрытий и рабочих площадок в табл. 9 (пп. 14 и 16).
5.1. Оценка технического состояния существующих перекрытий и рабочих площадок выполняется по следующим основным характеристикам:
прочности и жесткости под воздействием статических и динамических нагрузок;
надежности (в том числе долговечности) и огнестойкости, соответствующих прогнозируемому сроку службы здания, его капитальности и пожарной опасности размещенных в смежных этажах производств;
эстетическим качествам (когда поверхности конструкций доступны обзору).
В некоторых зданиях устанавливается также степень соответствия перекрытий нормативным требованиям по звуко-, газо-, пыле- или пароизоляции.
Для перекрытий над проездами, холодными подпольями, неотапливаемыми подвалами и этажами дополнительно определяются их теплотехнические характеристики.
5.2. При предварительном (общем) обследовании перекрытий и рабочих площадок следует руководствоваться п. 1.9 и, в частности, установить:
тип перекрытия или площадки (монолитное ребристое железобетонное, из сборных железобетонных плит или панелей по сборным железобетонным балкам, фермам и т.д.; каменные, в частности кирпичные, своды цилиндрические, тонкостенные волнистые двоякой кривизны, крестовые, сомкнутые и т.д., из стального листа по стальным балкам и т.д.), их расчетно-конструктивную схему, материалы, сечения плиты или свода, сечения и шаг других несущих элементов (прогонов, балок, ферм);
наличие и размеры проемов, включая ранее существовавшие и заделанные в процессе эксплуатации;
основные воздействия эксплуатационной среды на перекрытия (площадки) или полы по ним; составляется карта проливов технологических жидкостей на полы.
Таблица 9. Характерные дефекты и повреждения перекрытий и рабочих площадок
|
Вид и местоположение дефекта или повреждения |
Конструктивное решение перекрытия или рабочей площадки |
Вероятные причины возникновения |
Методы выявления или признаки данной причины |
Меры по предотвращению дальнейшего развития и устранению дефекта (повреждения) |
|
|
1 |
2 |
3 |
4 |
5 |
6 |
|
Смещения, деформации |
|||||
|
1 |
Коробление |
Рабочие площадки со стальными настилами |
Аналогично короблению стальных экранов (см. п. 19) |
||
|
2 |
Прогиб, превышающий допустимый, возможно, с раскрытием трещин в нижней (растянутой) зоне железобетонных перекрытий (площадок) |
Все варианты |
Превышение расчетной нагрузки |
Поверочный расчет на фактическую нагрузку |
Разгрузка конструкции или ее усиление по расчету в соответствии с действующими нагрузками; заделка трещин (при их наличии) |
|
Несоответствие фактической работы конструкции принятой при проектировании расчетной схеме |
Проверка расчетов, выполнявшихся при проектировании, поверочный расчет по уточненной расчетной схеме |
Усиление по расчету |
|||
|
Несоответствие марок или сечений бетона, стали проектным |
Определение фактических марок и сечений бетона и арматуры и поверочный расчет на полученные их значения |
Усиление по расчету |
|||
|
Отклонение положения конструкции, рабочей арматуры или других элементов от проектного |
Определение фактического положения конструкции, арматуры и других элементов, поверочный расчет с учетом полученных результатов |
» |
|||
|
Нагрев конструкции |
Определение фактических параметров нагрева и сопоставление их с допускаемыми нормами для данной конструкции |
То же, и защита от нагрева, устройство дополнительных компенсаторов температурных напряжений |
|||
|
Дефект изготовления (деформация опалубки и т.п.) |
Отсутствие трещин |
Дополнительные меры не требуются |
|||
|
3 |
Погнутости настила, вмятины |
Рабочие площадки со стальными настилами |
Механические воздействия в процессе строительства или эксплуатации |
Визуальный |
Выравнивание или замена поврежденных участков |
|
Увлажнение, обмерзание, переохлаждение, изменение цвета |
|||||
|
Увлажнение нижней поверхности по всей площади или на отдельных участках при отсутствии закономерностей в их расположении |
Неметаллические |
Наличие жидкостей на верхней поверхности и нарушение гидроизоляции перекрытия или площадки |
Визуальный, в случае необходимости - со вскрытиями |
Устранение причин появления и застоя жидкостей на верхней поверхности, восстановление гидроизоляции с учетом агрессивности жидкостей |
|
|
5 |
Увлажнение в зоне отверстий для пропуска коммуникаций |
Все варианты |
Протечки из коммуникаций |
Визуальный |
Устранение протечек |
|
Неправильное оформление отверстий (отсутствие обойм, бортиков) или повреждение бортиков, обойм при наличии жидкостей на верхней поверхности перекрытия или площадки |
» |
Устройство или восстановление обойм или бортиков с учетом агрессивности жидкостей, по возможности - устранение причин появления жидкостей на верхней поверхности перекрытия или площадки |
|||
|
Увлажнение, распространяющееся от края, не примыкающего к стене |
Все варианты рабочих площадок |
Отсутствие или повреждение бортика |
Визуальный |
Устройство или восстановление бортика с учетом агрессивности жидкостей, по возможности - устранение причин появления жидкостей на верхней поверхности перекрытия или площадки |
|
|
7 |
Увлажнение, возможно с образованием инея и льда, в местах примыкания к наружным стенам |
Все варианты |
См. табл. 3, п. 17 |
||
|
8 |
Увлажнение нижней поверхности над оборудованием, выделяющим влагу |
То же |
Конденсация испаряющейся влаги |
Визуальный |
Устройство организованного отвода влажного воздуха, улучшение вентиляции помещения |
|
9 |
Увлажнение, возможно с образованием инея и льда, вблизи вентиляционных отверстий, окон и фонарей |
» |
Конденсация влаги вследствие охлаждения поверхности и воздуха около нее инфильтрующимся воздухом |
» |
Организация подачи наружного воздуха на некотором удалении от перекрытия или его предварительный подогрев, заполнение отверстий и устранение щелей |
|
10 |
Увлажнение, возможно с образованием инея и льда, на внутренней поверхности узла сопряжения перекрытий над проездами, холодными подпольями, неотапливаемыми подвалами и этажами |
Все варианты перекрытий над проездами, холодными подпольями, неотапливаемыми подвалами или этажами |
См. табл. 3, п. 25 |
||
|
11 |
Переохлаждение полов по перекрытиям над проездами, холодными подпольями, неотапливаемыми подвалами и этажами, возможно с образованием на поверхности пола конденсата, инея и льда |
То же |
Низкие теплотехнические качества конструкций перекрытия (низкое сопротивление теплопередаче, высокая воздухопроницаемость) |
Измерение температурного режима поверхности пола, сопротивления теплопередаче конструкции перекрытия, определение влажности материалов перекрытия Рекомендуется измерить сопротивление воздухопроницанию конструкции перекрытия |
Улучшение теплотехнических качеств конструкций перекрытия по расчету, возможно с предварительным осушением утеплителя |
|
Распространение над полом холодного воздуха, поступающего от открытых частей или недостаточно уплотненных заполнений проемов в наружных стенах или частей, выходящих в холодные лестничные клетки или неотапливаемые помещения |
Измерение температурного режима поверхности пола и воздуха над ним, визуальный |
Заполнение открытых частей и уплотнение заполнений проемов, обеспечение нормативного температурного режима в лестничных клетках и других смежных помещениях |
|||
|
12 |
Высолы на нижней поверхности, солевые отложения, сталактиты |
Все варианты |
Аналогично высолам на наружных стенах (см. табл. 4, п. 1) |
||
|
13 |
Пятна ржавчины на нижней поверхности |
То же |
Аналогично пятнам ржавчины на наружных стенах (см. табл. 4. п. 2) |
||
|
Звуко-, газо- и пароизоляция |
|||||
|
14 |
Низкие звукоизолирующие качества конструкции перекрытия |
Все варианты |
Применение материалов с низкой звукоизолирующей способностью; недостаточная масса перекрытия; несоответствие конструкции пола массе несущей плиты; некачественная заделка или ее повреждение в местах примыкания к стенам или перегородкам, в местах пропуска коммуникаций |
По внешним проявлениям со вскрытиями, по технической документации и поверочному расчету по нормам. В случае необходимости - специальные акустические испытания специализированной организацией |
Замена материалов на материалы, обладающие необходимой звукоизолирующей способностью; увеличение массы перекрытий (с усилением, в случае необходимости, соответствующих несущих конструкций); приведение конструкции пола в соответствие с массой несущей плиты; устранение дефектов или повреждений заделки, мест примыканий и мест пропуска коммуникаций |
|
Со звукоизолирующими засыпками |
Смещение засыпки в процессе эксплуатации |
По внешним проявлениям со вскрытием конструкции пола, в отдельных случаях (при небольшой толщине несущей плиты) - простукиванием плиты |
Разравнивание засыпки, предотвращение ее смещения в дальнейшем, например с помощью перегородок |
||
|
С полами раздельной (с воздушными прослойками) конструкции |
Отсутствие, недостаточная толщина или разрушение звукоизолирующих прокладок |
По внешним проявлениям со вскрытием конструкции пола |
Установка или восстановление звукоизолирующих прокладок в соответствии с нормативными требованиями |
||
|
С полами из древесины |
Рассыхание древесины с образованием щелей |
Визуальный |
Ремонт полов |
||
|
15 |
Недостаточная газо- или пароизоляция |
Все варианты |
Отсутствие или разрушение газо- или пароизоляции |
Определение наличия газо- или пароизоляции по проекту; вскрытия |
Устройство или восстановление газо- или пароизоляции |
|
Некачественная заделка газо- или пароизоляции либо ее повреждение в местах примыкания к стенам или перегородкам, в местах пропуска коммуникаций |
Визуальный |
Устранение дефектов или повреждений в местах примыкания к стенам или перегородкам, в местах пропуска коммуникаций |
|||
|
Повреждения защитных и отделочных слоев |
|||||
|
16 |
Шелушение, растрескивание, вспучивание или отслаивание лакокрасочных покрытий |
Все варианты |
Аналогично соответствующим повреждениям наружных стен (с учетом специфики увлажнения и воздействия агрессивных сред), см. табл. 4, п. 3 |
||
|
17 |
Растрескивание штукатурных покрытий; расслоение штукатурных покрытий; рыхлая структура; нарушение связи между частицами материала штукатурных покрытий |
Неметаллические |
То же (см. табл. 4, пп. 4 - 6) |
||
|
18 |
Разрывы или расслоения рулонных или пленочных защитных покрытий; нарушение связи между компонентами; структурные изменения в них |
Все варианты |
То же (см. табл. 4, пп. 7 и 8) |
||
|
Коробление стальных экранов, защищающих перекрытие или площадку от высокотемпературного нагрева; разрыв сварных швов; выпадение элементов |
Железобетонные |
Температурные деформации, не компенсируемые имеющимися конструкциями креплений, стыков или швов |
Визуальный; измерение температурного режима работы экрана; расчет температурных деформаций для фактических температур |
Устройство податливых конструкций креплений и сопряжений с заменой листов, имеющих недопустимые деформации |
|
|
20 |
Разрушение стали экранов (прожоги) |
Железобетонные |
Несоответствие материала экрана температурным условиям эксплуатации |
Визуальный; измерение температурного режима работы экрана и сопоставление его с допустимым |
Дальнейшая эксплуатация экрана невозможна; необходима замена материала в соответствии с температурными условиями эксплуатации (серый строительный чугун, жаростойкий чугун и т.д.) |
|
21 |
Разрушение креплений, падение экранов из чугуна |
» |
Температурные деформации, не компенсируемые конструкциями креплений |
Визуальный; измерение температурного режима работы экрана; расчет температурных деформаций для фактических температур |
Устройство податливых конструкций креплений вместо жестких (недостаточно податливых) |
|
22 |
Разрушение материала экранов из серого строительного чугуна |
» |
Понижение прочности, пластичности, изменения в структуре, коррозия серого строительного чугуна вследствие его несоответствия температурным условиям эксплуатации |
Визуальный; измерение температурного режима работы экрана и сопоставление его с допустимым |
Дальнейшая эксплуатация экрана невозможна; необходима замена материала в соответствии с температурными условиями эксплуатации (например, жаростойкий чугун) |
|
Дефекты и повреждения стыков и швов |
|||||
|
23 |
Выпадение раствора из швов между железобетонными плитами |
Из сборных железобетонных плит |
Нарушение правил производства работ при замоноличивании швов (замоноличивание без предварительной очистки от строительного мусора, низкая марка бетона, укладка бетонной смеси без уплотнения) |
Вскрытия |
Вскрытие, расчистка швов и их замоноличивание в соответствии с правилами производства работ |
|
Импульсные перегрузки при перевозке или сбрасывании грузов, монтаже или демонтаже оборудования и т.п. |
Визуальный |
Ограничение импульсных воздействий, устройство защитных настилов или других приспособлений с поверочными прочностными расчетами; вскрытие, расчистка и замоноличивание швов |
|||
|
Воздействие агрессивных жидкостей или протечки воды |
Устранение причин увлажнения, вскрытие, расчистка, в случае необходимости - с нейтрализацией поверхностей и замоноличивание швов |
||||
|
24 |
Трещины и другие разрушения в швах каменной кладки сводов |
Каменные сводчатые |
|||
|
Трещины в основном материале |
|||||
|
25 |
Трещины вдоль стержней арматуры, радиальные трещины в местах закладных деталей |
Железобетонные и каменные сводчатые |
Коррозия арматуры и закладных деталей вследствие недостаточной толщины защитного слоя бетона, антикоррозионной защиты, повышенной влажности или химической агрессивности среды эксплуатации, наличия блуждающих токов и т.п. |
Визуальный со вскрытиями. Измерение толщины и глубины нейтрализации защитного слоя бетона. Определение источников и возможных путей движения блуждающих токов, в случае необходимости - со специальными электротехническими измерениями |
Усиление по расчету с учетом фактической прочности материалов и площадей сечения, не поврежденных коррозией, с очисткой и нанесением антикоррозионной защиты арматуры и закладных деталей; ограничение воздействий |
|
26 |
Трещины на участках со вспученной поверхностью вне мест расположения арматуры или закладных деталей |
Железобетонные и каменные сводчатые |
Кристаллизация новообразований в порах и капиллярах (лед, соли и т.п.) |
Визуальный; отбор проб материалов на влажность, химический анализ новообразований и компонентов эксплуатационной среды |
Устранение причин увлажнения, ремонт с подготовкой поверхности, в случае необходимости - с усилением и антикоррозионной защитой |
|
Вертикальные трещины в кладке сводов (преимущественно в растянутой зоне) |
Каменные сводчатые |
Значительная перегрузка кладки |
Поверочный расчет по фактическим нагрузкам, геометрическим характеристикам конструкций и прочностным характеристикам материалов |
Усиление по расчету |
|
|
Пониженная прочность материалов |
Определение фактических прочностных характеристик материалов и поверочный расчет |
То же |
|||
|
Снижение прочности кладки при вибрации, увлажнении, промерзании, химической агрессии, огневом воздействии, механических повреждениях |
Визуальный, изучение воздействий по технической документации, выявление соответствующих характеристик конструкций и воздействий |
Предотвращение или ограничение воздействий, в случае необходимости - осушение, антикоррозионная защита, усиление по расчету |
|||
|
Осадки опор |
Наблюдение за развитием осадок и трещим |
Устранение причины осадки, заделка трещин |
|||
|
Снижение прочностных характеристик кладки вследствие нарушения правил производства работ при ее возведении, в том числе недостаточного армирования |
Визуальный; определение качества, методов и условий возведения перекрытия по технической документации; определение армирования неразрушающими методами, в случае необходимости - со вскрытиями |
Усиление по расчету |
|||
|
28 |
Прогрессирующее развитие трещин в условиях вибрационных, ударных и других динамических воздействий |
Железобетонные и каменные сводчатые |
Динамические воздействия |
В условиях устранения или отсутствия других (кроме динамических) возможных причин |
Усиление по расчету с учетом фактической прочности материалов, сечений конструкций и нагрузок |
|
Структурные и химические изменения в основном материале |
|||||
|
Шелушение поверхности, пониженная плотность, повышенная пористость, рыхлая структура, изменение химического состава материала, возможно с выкрошиванием и выпадением частиц и т.п. |
Все варианты |
Воздействия химически агрессивных эксплуатационных сред |
Аналогичны при соответствующих разрушениях наружных стен (с учетом специфики воздействия, см. табл. 5, п. 27) |
Принятие мер по повышению коррозионной стойкости и снижению степени агрессивного воздействия эксплуатационных сред; ремонт или усиление (по расчету), в случае необходимости - с устранением причин увлажнения и осушением |
|
|
Высокотемпературный нагрев технологическими источниками или огневое воздействие при пожаре |
Визуальный; по технической документации; измерение параметров нагрева (величина, амплитуда, цикличность изменения температур) |
Ремонт или усиление с учетом фактической прочности материалов и площадей сечений неповрежденной части (за вычетом разрушенных слоев) |
|||
|
Нарушение правил (дефекты) изготовления элементов или возведения перекрытия (площадки) |
Визуальный и по технической документации |
Ремонт или усиление по расчету |
|||
|
Все варианты (исключая металлические слои) |
Увлажнение, попеременное замораживание - оттаивание в увлажненном состоянии при недостаточной морозостойкости, попеременное увлажнение - высыхание, вымывание компонентов материалов |
Аналогичны при соответствующих повреждениях наружных стен (с учетом специфики воздействия; см. табл. 5, п. 27) |
Устранение причин увлажнения, замораживания, ремонт конструкции, в случае необходимости (по расчету) - усиление и осушение |
||
|
Температурно-влажностные деформации |
То же |
Ремонт или усиление (по расчету) с применением материалов, соответствующих условиям эксплуатации, возможно с устройством дополнительных температурных швов |
|||
|
Биохимические воздействия микроорганизмов, грибов, мхов и т.п. |
Визуальный, в случае необходимости - с лабораторным анализом образцов |
Очистка и обработка (для древесины - замена) поврежденных участков, ремонт, устранение причин воздействий или применение мер защиты от них |
|||
|
Монолитные железобетонные |
Нарушение температурного режима прогрева при зимнем бетонировании |
Определение качества, технологии и условий производства работ по технической документации |
Удаление дефектных участков, ремонт или усиление (по расчету) |
||
|
30 |
Коррозия арматуры и закладных деталей |
Железобетонные и каменные сводчатые армированные |
Аналогично коррозии арматуры и других металлических элементов в наружных стенах (см. табл. 5, п. 31) |
Устранение причин повреждений; очистка арматуры и закладных деталей от продуктов коррозии, в случае необходимости - усиление; устройство защитного слоя в соответствии с нормативными требованиями |
|
|
31 |
Коррозия стальных настилов рабочих площадок |
Рабочие площадки со стальными настилами |
Увлажнение или воздействие химически агрессивной среды |
Визуальный |
Устранение воздействий или антикоррозионная защита при повреждении нижней поверхности, в случае необходимости - с усилением. Устранение воздействий, в случае необходимости, с усилением или замена металла на материалы, стойкие в прогнозируемой среде эксплуатации |
|
32 |
Истирание рифления стальных настилов рабочих площадок |
То же |
Воздействие транспортных средств, обуви работающих и т.п. |
» |
Восстановление рифления |
|
33 |
Раздробление камней сводов в замке, четвертях пролета и на опорах, выпадение отдельных камней |
Каменные сводчатые |
То же, что при вертикальных трещинах в кладке сводов (см. п. 27) |
||
Рис. 8. Основные типы кирпичных сводчатых покрытий и перекрытий
а - цилиндрический свод; б - тонкостенный волнистый свод двоякой кривизны; в - крестовый свод; г - сомкнутый свод
5.3. Перечень характерных дефектов и повреждений перекрытий и рабочих площадок с указанием вероятных причин их возникновения, методов выявления или признаков каждой причины, а также возможных мер по предотвращению дальнейшего развития и устранению приведен в табл. 9.
5.4. Несоответствие звуко-, газо- или пароизоляции перекрытий и рабочих площадок нормативным требованиям, как правило, устанавливается специализированными организациями по специальным методикам с учетом пп. 14 и 15 табл. 9.
5.5. При обследовании каменных (включая кирпичные) сводчатых перекрытий (рис. 8) по технической документации и измерениям следует определить размеры свода в плане, стрелу его подъема и толщину в ключе, в четвертях пролета и у опор. При наличии на своде забутки следует определить ее состав и плотность (рис. 9).
Рис. 9. Определение стрелы подъема f, толщины d, свода и забутки h в середине и четвертях пролета
1 - свод; 2 - забутка; 3 - стена; 4 - линия отсчета стрелы подъема свода (нить)
Определение стрелы подъема сводов в ключе и в четвертях пролета относительно опор может выполняться с помощью нивелира и рейки с нанесенными на ней делениями, а также другими способами.
Толщина свода в ключе, в четвертях пролета и у опор определяется путем просверливания отверстий в своде электродрелью или пробивкой шлямбуром.
При наличии забутки на сводчатом перекрытии для определения ее состава и массы требуется вскрытие конструкций пола и подготовки, которое следует выполнить в ключе свода, где толщина слоя забутки является минимальной. Следует измерить толщину слоя забутки в ключе свода. Толщина слоя забутки в четверти пролета и у опор определяется по разности ординат сводчатого перекрытия за вычетом толщины свода (рис. 9).
По результатам обследования сводов на плане сводчатого перекрытия наносятся обнаруженные дефекты и повреждения (трещины, отслоения кладки, выпадение кирпичей и т.п.). По результатам обследования опор сводов, воспринимающих усилия распора, на чертежах отмечают обнаруженные в них дефекты и повреждения (отклонения от вертикали, трещины, расслоения кладки т.п.).
При восприятии распора сводов стальными затяжками следует определить размеры затяжек, сечений и марку стали, а также степень поражения их коррозией.
Необходимо проверить надежность закрепления затяжек в опорных узлах (наличие шайб и гаек, прилегание шайб к кладке или бетону).
В сводах с проемами следует тщательно осмотреть кладку по периметру проемов и отметить на плане свода обнаруженные в ней дефекты (расслоения кладки, трещины, сколы, выпадение кирпичей и т.п.).
Марка кирпича или камня кладки сводов может быть определена по ГОСТ 8362-85. Кирпичи для испытаний допускается брать из стен, служащих опорами сводов, при условии, если кладка стен и сводов выполнялась из одних материалов. Прочность кирпича или камней при сжатии можно также определить путем испытания цилиндров, высверленных из сводов.
Образцы раствора следует отбирать из швов кладки в опорной части сводов. Указания по испытанию растворов, взятых из швов кладки, и оценке их прочности приводятся в СН 290-74, п. 2.63.
5.6. Расчет цилиндрических и тонкостенных волнистых сводов двоякой кривизны перекрытий и покрытий зданий производится приближенно как двухшарнирных арок (без учета заделки опорных узлов). При расчете цилиндрических сводов рассчитывается полоса свода шириной 1 м, а при расчете сводов двоякой кривизны - одна волна сводчатого покрытия шириной 2 м. Своды покрытий цилиндрические и волнистые двоякой кривизны рассчитывают на равномерно распределенную нагрузку и одностороннюю нагрузку от снега на половине пролета сводов. Цилиндрические своды междуэтажных перекрытий рассчитывают на равномерно распределенную нагрузку.
В крестовых сводах (рис. 10, а), опоры которых расположены в углах, основные усилия направлены вдоль диагональных сечений. Приближенный расчет этих сводов может выполняться как двухшарнирных арок с пролетом, равным длине диагоналей. Вертикальные опорные реакции V и распор Н прямоугольных крестовых сводов со сторонами 2а и 2в определяются по формулам:
V = qab; (6)
H = qabc/2f; (7)
где q - равномерно распределенная нагрузка в Н/м2;
а, b, с - половина длины сторон и диагоналей свода (рис. 10, а);
f - стрела подъема свода в ключе.
При расчете крестовых сводов угол распределения давления в кладке может быть принят равным 30° в каждую сторону от диагонального сечения.
Сомкнутые своды (рис. 10, б) опираются на стену по всему периметру. Максимальные опорные реакции Va и Vв и распор Hа и Нв прямоугольного сомкнутого свода со сторонами длиной 2а и 2b определяются по формулам:
Va = qa; Vв = qb; (8)
Ha = qb2/2f; Нв = qа2/2f. (9)
Эпюры распределения, опорных реакций по контуру сомкнутых сводов показаны на рис. 10, б.
Приближенный расчет сомкнутых сводов также может быть выполнен, как двухшарнирных арок. При этом рассчитывается полоса свода по среднему сечению, принимаемая по большему пролету с шириной 1 м в опорном сечении.
Рис. 10. Расчетные схемы крестового а и сомкнутого б сводов
Угол распределения давления в кладке может быть принят 30°.
6.1. Оценка технического состояния покрытий зданий выполняется по следующим основным характеристикам:
гидроизоляционным, которые должны обеспечить защиту помещений и строительных конструкций от увлажнения атмосферными осадками, а также другими постоянно или временно находящимися на кровле жидкостями (технологическими, применяемыми для охлаждения кровли, и т.п.);
теплотехническим, которые должны обеспечивать требуемый санитарно-гигиеническими нормами и размещенным технологическим процессом температурно-влажностный режим в помещениях;
прочности и жесткости под воздействием статических и динамических нагрузок;
надежности (в том числе долговечности) и огнестойкости, соответствующим прогнозируемому сроку службы здания, его капитальности и пожарной опасности размещенного в здании производства;
безопасности эксплуатации;
эстетическим качествам.
6.2. При предварительном (общем) обследовании покрытий зданий следует руководствоваться п. 1.9 и, в частности, установить:
наличие и техническое состояние ограждения кровли; при этом определяются и осуществляются меры, обеспечивающие безопасное проведение обследований на ней;
расчетно-конструктивную схему, состав покрытия (включая материалы, количество, толщины слоев), сечения плиты или свода, сечения и шаг других несущих элементов (прогонов, балок, ферм);
наличие и размеры проемов в покрытии, включая ранее существовавшие и заделанные в процессе эксплуатации;
основные воздействия эксплуатационных сред на кровлю (в том числе снеговые мешки, скопления и вид пыли) и на нижнюю поверхность покрытия;
наличие дефектов и повреждений на кровле и на нижней поверхности покрытия, их характер, примерный объем и возможные причины возникновения.
6.3. Перечень характерных дефектов и повреждений покрытий зданий с указанием вероятных причин их возникновения, методов выявления или признаков каждой причины, а также возможных мер по предотвращению дальнейшего развития и устранению приведен в табл. 10.
6.4. При проведении и анализе результатов обследований покрытий зданий следует учитывать положения разд. 5.
6.5. Возможность подтаивания снегоотложений на кровле в зимний период устанавливается вычислением величины
H = [(tв - tн)(R0 - Rн)/tв - R0]λсн, (10)
где tв - температура воздуха под покрытием, °С;
tн - температура наружного воздуха, °С;
R0 - общее сопротивление теплопередаче покрытия без снега, м2 ∙ °С/Вт;
Rн - нормативное сопротивление теплоотдаче наружной поверхности покрытия, равное 0,043 м2 ∙ °С/Вт;
λсн - коэффициент теплопроводности снега, принимаемый равным 0,23 Вт/(м ∙ °С).
Таблица 10. Характерные дефекты и повреждения покрытий зданий
|
Вид и местоположение дефекта или повреждения |
Конструктивное решение покрытия |
Вероятные причины возникновения |
Методы выявления или признаки данной причины |
Меры по предотвращению дальнейшего развития и устранению дефекта (повреждения) |
|
|
1 |
2 |
3 |
4 |
5 |
6 |
|
Кровли |
|||||
|
Застой воды на кровле |
Все варианты |
Несоответствие уклонов кровли нормативным требованиям |
Визуальный, нивелирование |
Приведение уклонов кровли в соответствие с нормативными требованиями |
|
|
Неисправность системы водоотвода (засорение водоприемных воронок, желобов, труб; обратные уклоны желобов, труб: установка водоприемных воронок выше уровня кровли) |
Визуальный, в случае необходимости - нивелирование |
Устранение неисправностей системы водоотвода |
|||
|
Неровная поверхность кровли (см. п. 2). |
То же |
Устранение неровностей |
|||
|
Скопления пыли, наличие различных предметов на кровле |
Визуальный |
Уборка кровли |
|||
|
Подтаивание снега на поверхности кровли в зимний период и ускоренное разрушение кровли вследствие попеременного замораживания - оттаивания воды и соответствующих деформаций материала кровли |
Визуальный в зимний период с уборкой снега на отдельных участках; теплотехнический расчет с определением положения нулевой изотермы с учетом фактических теплоизоляционных характеристик покрытия, снегоотложений и теплопоступлений из помещений (см. п. 6.5) |
В зависимости от условий сокращение периода между уборками снега; дополнительная теплоизоляция кровли, устраняющая подтаивание снега; применение устройств, обеспечивающих вентиляцию поверхности кровли или подкровельной полости наружным воздухом под слоем снегоотложений и т.п. |
|||
|
Неровная поверхность кровли |
Все варианты |
Дефект производства работ (применение деформированных элементов, недостаточно ровное основание и т.п.) |
Визуальный, отсутствие воздействий, которые могли бы привести к деформациям кровли |
Исправление дефектов производства работ (замена деформированных элементов, выравнивание основания и т.п.) |
|
|
Деформация несущих элементов покрытия (в том числе под воздействием снеговой нагрузки и нагрева солнечной радиацией) |
См. табл. 9, п. 2 |
||||
|
С рулонной кровлей и несущими железобетонными плитами (без утеплителя) |
Выпадение раствора из швов между железобетонными плитами |
См. табл. 9, п. 23 |
То же, что для железобетонных плит перекрытий и рабочих площадок, а также ремонт кровли |
||
|
Со сжимаемым утеплителем и рулонной, кровлей |
Просадка вследствие недостаточной прочности утеплителя на сжатие при отсутствии (или неправильном выполнении) армирующей стяжки |
Вскрытие, отбор проб утеплителя, определение прочности утеплителя и конструкции стяжки |
Замена утеплителя, устройство стяжки на поврежденных участках в соответствии с нормативными требованиями |
||
|
С кровлями из асбестоцементных листов |
Коробление вследствие интенсивного нагрева со стороны помещения и попеременного увлажнения - высыхания с наружной поверхности |
Стрела подъема обращена наружу, изучение условий эксплуатации |
Замена поврежденных листов с приведением конструкции покрытия здания в соответствие с условиями эксплуатации или ограничение воздействий, в случае необходимости - осушение утеплителя |
||
|
Усушка листов вследствие сокращения длины волокон асбеста и усадки цемента под воздействием лучистого или конвективного нагрева |
В листах с большим содержанием портландцемента (до 88 %) деформации усушки проявляются преимущественно перпендикулярно волнам листа; изучение условий эксплуатации |
То же |
|||
|
Перекос асбестоцементных листов вследствие вибрации каркаса при работе мостовых кранов или других динамических воздействий |
Изучение условий эксплуатации |
» |
|||
|
Образование сосулек и наледей на свесах, увлажнение карнизной части здания, возможно с разрушением и обрушением |
С наружным неорганизованным водоотводом |
Отсутствие (или затирка раствором в процессе эксплуатации) капельников и прочие неисправности свесов |
Визуальный |
Устранение дефектов и повреждений свесов, в случае необходимости - с осушением |
|
|
Подтаивание снега на кровле, стекание талой воды и ее замерзание на свесе в зимний период |
См. п. 1 |
||||
|
Несоответствие наружного неорганизованного водоотвода климатическим условиям эксплуатации |
Образование сосулек и наледей в переходные периоды года (преимущественно весной) |
Дальнейшая эксплуатация не рекомендуется; рекомендуется замена наружного неорганизованного водоотвода на внутренний |
|||
|
4 |
Потеря крупнозернистой посыпки кровельным материалом, возможно с появлением каверн и трещин в защитном слое |
С кровлями из рулонных материалов с крупнозернистой посыпкой |
Низкая степень адгезии посыпки к покровному слою вследствие нарушения правил производства работ (неправильный подбор, загрязнение материалов и т.п.), воздействия попеременно оттаивающей и замерзающей воды и других факторов, вызывающих старение покровного слоя |
Визуальный |
Восстановление посыпки в соответствии с правилами производства работ, в случае необходимости - с ремонтом покровного слоя |
|
5 |
Трещины в битумном окрасочном слое |
С кровлями из рулонных материалов |
Старение битума под воздействием солнечной радиации и других атмосферных факторов (происходит особенно интенсивно при применении тугоплавких битумов и при отсутствии защитного слоя) |
» |
Восстановление битумной окраски (в частности, с нанесением слоя из холодных битумных мастик с бронирующей посыпкой) |
|
Размягчение и стекание кровельной мастики окрасочного слоя |
То же |
Несоответствие (заниженная) марки мастики температуре нагрева кровли, отсутствие (или недостаточный объем) наполнителя, завышенная толщина слоя мастики |
То же, а также изучение температурного режима эксплуатации кровли; определение температуры размягчения мастики по методу КиШ |
Ремонт в соответствии с правилами производства работ с учетом температурного режима эксплуатации |
|
|
7 |
Отсутствие сцепления или непрочное сцепление рулонного ковра со стяжкой (или утеплителем) |
» |
Нарушение правил производства работ (пропуски при нанесении мастики, загрязненные склеиваемые поверхности и т.п.) |
Визуальный |
Ремонт поврежденных участков |
|
Вздутия между слоями водоизоляционного ковра (воздушные или водяные «мешки») |
» |
Наклеивание рулонных материалов по мокрым или запыленным поверхностям |
Визуальный со вскрытиями |
Ремонт дефектных участков, в случае необходимости - с осушением |
|
|
9 |
Сползание полотнищ рулонных материалов на основных плоскостях кровель; расслаивание полотнищ |
С кровлями из рулонных материалов |
См. п. 6 |
||
|
10 |
То же, у мест примыканий кровель к выступающим над кровлей конструкциям |
То же |
То же, а также отсутствие защитных фартуков |
То же, а также визуальный |
То же, а также установка защитных фартуков; в случае необходимости - с осушением утеплителя |
|
11 |
Отставание дополнительного водоизоляционного ковра от выступающих конструкций; отставание верхнего края защитного фартука от этих участков |
» |
Нарушение правил производства работ (наклейка по загрязненной поверхности, отсутствие надежного закрепления верхнего края водоизоляционного ковра или защитного фартука и т.п.) |
Визуальный |
Ремонт дефектных участков |
|
12 |
Продольная или поперечная усадка (складчатость) полотнищ рулонных материалов |
С кровлями из рулонных материалов |
Низкое качество, в частности недостаточная пропитка картонной основы рулонного материала |
Визуальный; появляется одновременно с потерей крупнозернистой посыпки |
Ремонт с устранением складчатости |
|
Сквозные трещины в слоях водоизоляционного ковра на основных плоскостях |
То же |
Отсутствие (или редкое размещение) температурно-усадочных швов, трещины в основании под кровлю |
Определение наличия и размещения температурно-усадочных швов по технической документации; вскрытия рулонного ковра |
Устройство компенсаторов (как правило, над трещинами), в случае необходимости - с осушением утеплителя |
|
|
14 |
Трещины в слоях водоизоляционного ковра у мест примыканий к стенам, трубам и другим конструкциям, не опирающимся на покрытие здания |
» |
Осадка несущих конструкций покрытия |
Визуальный, в случае необходимости - с нивелированием и устройством маяков |
Ремонт после стабилизации осадки в соответствии с правилами устройства примыканий; в случае необходимости - осушение утеплителя |
|
15 |
Сквозные трещины в водоизоляционном ковре над швами железобетонных плит, по контуру плит |
Неутепленные покрытия с рулонными кровлями |
Динамические воздействия, передаваемые на плиты покрытия (например, при работе кранов с жестким подвесом) |
Визуальный |
Дальнейшая эксплуатация кровли невозможна; необходимо ограничение динамических воздействий либо применение кровли, способной их воспринять |
|
Применение тугоплавких (или старение) мастик, как правило, в горячих цехах |
Визуальный; изучение условий эксплуатации; определение температуры размягчения мастики по методу КиШ |
Дальнейшая эксплуатация кровли невозможна; необходима ее замена в соответствии с нормативными требованиями; рекомендуется ограничение температурных воздействий |
|||
|
16 |
Продольные и поперечные трещины, возможно с расстройством и отрывом приборов креплений |
С кровлями из асбестоцементных листов |
Следствие коробления, усушки, перекоса асбестоцементных листов |
См. п. 2 |
|
|
Забивка гвоздей при креплении к обрешетке слишком близко к кромкам листов или без предварительного сверления отверстий |
Трещины у мест крепления |
Замена поврежденных листов, в случае необходимости - осушение утеплителя |
|||
|
Трещины в сварных швах металлических кровель |
С металлическими сварными кровлями |
Редкая постановка компенсаторов температурных напряжений |
Поверочный расчет температурных деформаций и напряжений в сварных швах для фактического температурного режима эксплуатации |
Устройство дополнительных компенсаторов температурных напряжений |
|
|
Дефект сварки |
То же |
Устранение дефектов сварки |
|||
|
18 |
Разрывы, обрывы водоизоляционного ковра |
С кровлями из рулонных материалов |
Нарушение нормативных требований при устройстве узлов примыканий водоизоляционного ковра к парапетам, фонарям, трубам и другим выступающим над кровлей конструкциям |
Визуальный |
Устройство узлов примыканий в соответствии с нормативными требованиями (типовыми решениями); в случае необходимости - осушение утеплителя |
|
Опирание на кровлю подпорок под створки фонарей |
» |
Устройство (восстановление) приспособлений, фиксирующих створки в открытом положении; ремонт кровли, в случае необходимости - с осушением утеплителя |
|||
|
Отверстия в кровлях |
Все варианты |
Падение сосулек с вышерасположенной части покрытия на нижерасположенную в местах перепада высот |
Визуальный (по расположению отверстий) |
Устранение причин образования сосулек (см. п. 3), ремонт кровли, в случае необходимости - с осушением утеплителя |
|
|
Механические повреждения при уборке с кровель снега, пыли, удалении наледей, выполнении ремонтных и других работ на кровле (в частности, вследствие отсутствия дощатых ходов) |
Выявление методов уборки, ремонта и т.п. по технической документации |
Предотвращение образования скоплений снега, пыли (если это недопустимо) конструктивными средствами; соблюдение правил уборки и выполнения других работ; ремонт кровли, в случае необходимости - с осушением утеплителя |
|||
|
Механические повреждения вследствие выпадения из фонарей стекол листов обшивок, срывающихся с петель створок (щитов) фонарей и т.п. |
Визуальный (по расположению мест повреждений) |
Ремонт (в случае необходимости - с усилением) конструкций фонарей; ремонт кровли, в случае необходимости - с осушением утеплителя |
|||
|
20 |
Вырывы верхнего слоя водоизоляционного ковра |
С кровлями из рулонных материалов |
Механические повреждения водоизоляционного ковра в местах вздутий и порывы ветра |
||
|
21 |
Срыв или отрыв полотнищ водоизоляционного ковра |
То же |
Недостаточная прочность склеивания водоизоляционного ковра с основанием под кровлю вследствие нарушения правил производства работ (наклейка на сырое неогрунтованное или непрочное основание) и усилия отрыва ковра от основания при высокой влажности утеплителя |
Отбор проб материалов утеплителя и стяжки на влажность |
Ремонт кровельного ковра и стяжки; для выравнивания упругости водяного пара в покрытии и наружном воздухе (при влажности утеплителя выше нормативной) рекомендуется установка патрубков; в случае необходимости - осушение утеплителя |
|
22 |
Срыв листов кровли |
С кровлями (или участками кровли) из штучных материалов (асбестоцементных или металлических листов и т.п.) |
Деформации или другие повреждения листов, дефекты устройства, отрыв, расстройство или коррозия приборов креплений и соединений листов |
Устранение причин повреждений, восстановление поврежденных участков |
|
|
23 |
Обломанные углы или кромки асбестоцементных листов кровель |
С кровлями из асбестоцементных листов |
Появляются при монтаже кровли, последующих ремонтах и осмотрах, очистке от снега и т.п. вследствие несоблюдения трехслойной нахлестки углов листов при их укладке на обрешетку |
Визуальный |
Замена поврежденных листов с устройством их сопряжений в соответствии с правилами производства работ; в случае необходимости - осушение утеплителя |
|
24 |
Щели, неплотности |
Все варианты |
Отступление от нормативных требований к проектированию, типовых решений или правил производства работ при устройстве мест сопряжений кровли со стенами, парапетами, бортиками фонарей, трубами и другими выступающими над кровлей конструкциями |
Визуальный с изучением технической документации и, в случае необходимости - со вскрытиями |
Устранение дефектов, ремонт прилегающих участков кровли, в случае необходимости - с осушением утеплителя |
|
С внутренним водоотводом |
Отсутствие зажимных хомутов и компенсаторов в месте соединения водоотводящего патрубка и стояка, негерметичное соединение водоприемной чаши и поддона |
То же |
То же |
||
|
С кровлями из рулонных материалов |
Недостаточная величина продольных или поперечных нахлесток, напусков полотнищ на свес |
» |
» |
||
|
С кровлями из асбестоцементных листов |
Образование щелей в местах срезки углов вследствие сползания листов по скату |
См. п. 2 |
|||
|
С металлическими кровлями |
Соскок трубчатых нательников с отгибов листов вследствие отсутствия (или редкого расположения) температурных компенсаторов |
Визуальный; определение температурного режима эксплуатации, расчет температурных деформаций |
Устройство температурных компенсаторов, установка нащельников, в случае необходимости - с осушением утеплителя |
||
|
25 |
Структурные и химические изменения в материале кровель |
Все варианты |
Дальнейшее развитие трещин, разрывов, обрывов, отверстий под воздействием атмосферных факторов и технологического процесса размещенного в здании производства; замерзание - таяние воды на кровле |
||
|
Химические агрессивные воздействия на кровлю (оседание выбросов из низких труб и т.п.) |
Определение характера и степени агрессивности химических воздействий на кровлю и степени соответствия им материалов кровли, средств их защиты и качества выполнения путем изучения технической документации, измерения параметров воздействий, осмотра кровли, в случае необходимости - с химическим анализом материалов и новообразований в них |
Приведение конструкции кровли или средств ее защиты в соответствие с условиями эксплуатации, ограничение воздействий |
|||
|
С кровлями из рулонных материалов |
Деструкция материалов рулонного ковра вследствие улетучивания легких фракций мастик, в основном под влиянием температурных воздействий солнечной радиации или технологических источников тепловыделений |
Визуальное определение наличия и состояния крупнозернистой посыпки. Измерение температурного режима эксплуатации кровли |
Замена поврежденного рулонного ковра с устройством крупнозернистой посыпки. При воздействии технологических источников тепловыделений - устройство (усиление) теплоизоляции, обеспечивающей допустимый температурный режим эксплуатации кровли |
||
|
Биохимические воздействия микроорганизмов, грибков, мхов и т.п.; биохимические и механические воздействия деревьев и кустарников |
Визуальный, в случае необходимости - с лабораторным анализом образцов |
Замена поврежденных участков рулонного ковра с очисткой, обработкой и ремонтом поврежденных участков основания; устранение причин воздействий или применение мер защиты от них |
|||
|
Разрушение рулонного покровного слоя вследствие выветривания и смывания посыпки, попадания воды в образовавшиеся углубления и ее последующего замерзания - оттаивания (при уклоне более 10 %) |
Визуальный |
Замена поврежденных участков с устройством крупнозернистой посыпки |
|||
|
Металлические кровли |
Коррозия вследствие контакта разнородных металлов |
Визуальный |
Введение неметаллических прокладок между разнородными металлами. Антикоррозионная защита при поверхностной коррозии. Замена листов, имеющих сквозные повреждения |
||
|
Стяжки noд рулонные кровли, утеплители |
|||||
|
26 |
Просадка стяжки, утеплителя |
С рулонными кровлями и стяжками в их основании |
См. п. 2 |
||
|
27 |
Отслаивание, вспучивание стяжки, структурные изменения в материале стяжки, верхних слоев утеплителя |
С рулонными кровлями и стяжками в их основании |
Замачивание материала стяжки (утеплителя) вследствие повреждения кровли, попеременное замерзание - оттаивание воды в порах материала |
Визуальный с отбором проб материалов на влажность |
Замена или осушение утеплителя, восстановление поврежденных участков и водоизоляционного ковра |
|
То же, вследствие недостаточного сопротивления паропроницанию слоев покрытия под утеплителем |
Поверочный расчет сопротивления паропроницанию в соответствии с нормативными требованиями, отбор проб материалов на влажность |
То же, а также приведение сопротивления паропроницанию слоев покрытия под утеплителем в соответствие с расчетом по нормам проектирования |
|||
|
Высокотемпературные воздействия на стяжку технологических тепловыделений (как правило, для неутепленных покрытий) |
Поверочный расчет (или измерение) температур в стяжке в соответствии с фактическим температурным режимом нижней поверхности покрытия и сопоставление результатов с температурами, допускаемыми для материала стяжки |
Дополнительное утепление покрытия по расчету, восстановление стяжки и водоизоляционного ковра |
|||
|
Стыки и швы между комплексными панелями покрытий |
|||||
|
28 |
Аналогично разрушениям стыков и швов в панельных наружных стенах (см. табл. 4, пп. 13, 16 - 19) |
||||
|
Несущие конструкции; слои, обращенные в сторону помещений |
|||||
|
29 |
Увлажнение или обмерзание нижней поверхности по всей площади или на отдельных участках |
Все варианты |
Нарушения сплошности кровли вследствие наличия дефектов или повреждений на основных ее поверхностях |
См. дефекты и повреждения кровель (пп. 9 - 25) |
|
|
Несоответствие фактических температур и влажности воздуха под покрытием принятым при проектировании |
Поверочные расчеты требуемых сопротивлений теплопередаче и паропроницанию для фактических температур и влажности воздуха под покрытием. Рекомендуется измерить фактическое сопротивление теплопередаче и отобрать пробы материалов покрытия на влажность, определить температурный режим его нижней поверхности |
Осушение и приведение сопротивлений теплопередаче и паропроницанию в соответствие с прогнозируемыми температурами и влажностью воздуха под покрытием или температуры и влажности воздуха в соответствие с принятыми при проектировании (например, путем усиления вентиляции) |
|||
|
Несоответствие фактических теплофизических характеристик утеплителей (теплопроводности, плотности и др.) принятым при проектировании |
Поверочные расчеты сопротивлений теплопередаче и паропроницанию для фактических теплофизических характеристик утеплителей. Рекомендуется измерить фактическое сопротивление теплопередаче покрытия и определить температурный режим его нижней поверхности |
Осушение и приведение фактических сопротивлений теплопередаче и паропроницанию в соответствие с нормативными требованиями |
|||
|
Несоответствие толщин или расположения слоев конструкции проектным или температурно-влажностному режиму воздуха в помещении |
Поверочные расчеты сопротивлений теплопередаче и паропроницанию для фактических толщин и расположения слоев конструкции |
Осушение и приведение фактических сопротивлений теплопередаче и паропроницанию в соответствие с нормативными требованиями |
|||
|
Разрушение материалов стяжки, утеплителя, несущих плит, уплотнение утеплителя и т.п., дефекты или повреждения пароизоляции |
Вскрытие; поверочные расчеты, см. также пп. 26 и 27 |
Устранение причин повреждений, осушение, восстановление конструкции покрытия |
|||
|
Применение при строительстве или ремонте материалов или изделий с высоким влагосодержанием вследствие недостаточного выдерживания после изготовления на заводе, замачивания при транспортировке, хранении, выполнении мокрых процессов в строительстве |
Изучение технической документации. Отбор проб материалов на влажность. Дефект проявляется в течение первых (до 5) лет после строительства или проведения ремонтных работ |
Осушение материалов покрытия |
|||
|
С утеплителями из пенопластов |
Диффузия инертного газа из пенопласта |
Увеличение коэффициента теплопроводности утеплителя при отсутствии его видимых повреждений |
Дополнительное утепление покрытия, в случае необходимости - с предварительным осушением |
||
Примечание. Прочие дефекты и повреждения несущих конструкций и слоев покрытий зданий, обращенных в сторону помещений, аналогичны дефектам и повреждениям железобетонных и каменных перекрытий и рабочих площадок. При этом развитие повреждений в покрытиях происходит, как правило, более интенсивно вследствие большого перепада температур их поверхностей в зимнее время. Возможно размораживание материалов при значительном снижении теплотехнических качеств конструкции покрытия зданий.
Подтаивание снега на кровле возможно, если фактическая высота снегоотложений (м) превышает полученную по формуле величину Н.
7.1. Оценка технического состояния светопрозрачных ограждающих конструкций выполняется по следующим основным показателям:
светотехническим (обеспечению необходимого уровня и равномерности естественной освещенности помещений и рабочих мест);
теплотехническим (заданному нормами ограничению теплопотерь, обеспечению на обращенных в помещение поверхностях окон положительных температур, а для окон в помещениях с повышенными требованиями к микроклимату и для зенитных фонарей - температур выше точки росы, предохранению помещений от перегрева солнечной радиацией);
защите помещений от проникания атмосферных осадков и недопустимой фильтрации воздуха;
прочности и жесткости;
надежности (включая долговечность);
эстетическим качествам.
7.2. При предварительном (общем) обследовании светопрозрачных ограждающих конструкций следует руководствоваться п. 1.9 и, в частности, установить соответствие (или несоответствие) площади и расположения светопроемов санитарно-гигиеническим требованиям, характеру технологического процесса и размещению оборудования.
7.3. Превышение нормативного уровня естественной освещенности помещений отапливаемых зданий над требуемым по нормам может быть следствием избыточной площади светопроемов или недостаточного количества слоев остекления в переплетных конструкциях (одного при необходимых двух, двух при необходимых трех и т.п.).
Проверка соответствия площади и количества слоев остекления нормативным требованиям производится путем измерений фактической естественной освещенности помещений (КЕО) и анализа соответствия площади и конструкций заполнений светопроемов светотехническим и теплотехническим нормам строительного проектирования.
В соответствии с результатами проверки может быть уменьшена площадь светопроемов путем замены части остекленных участков стен или покрытий на глухие, а также увеличено количество слоев остекления путем установки дополнительных переплетов или полной замены заполнений светопроемов на требуемые по нормам.
7.4. Уровень естественной освещенности помещений может быть недостаточным вследствие:
недостаточной площади светопроемов;
затенения оборудованием, коммуникациями, несущими конструкциями, противостоящими зданиями, солнцезащитными устройствами и т.п.;
загрязненности остекления;
наличия на поверхностях остекления капельного конденсата, инея, льда или снега;
помутнения остекления под влиянием воздействий фтористого водорода на силикатное стекло, паров жирных кислот на оргстекло, абразивного воздействия песка в районах песчаных бурь и др.
Уровень фактической естественной освещенности помещений определяется светотехническими измерениями, а причины его понижения по сравнению с расчетными, - как правило, визуально с измерением коэффициентов светопропускания остекления. Причины образования на поверхностях остекления инея, льда и снега указаны в табл. 11. Наличие конденсата (в жидкой фазе, в виде инея, льда) или загрязнений внутри стеклопакетов свидетельствует об их разгерметизации.
Повышение уровня освещенности помещений достигается путем устранения причин его понижения, например увеличением площади светопроемов, заменой существующих заполнений светопроемов на заполнения с более высокой световой активностью и т.п., а в случаях, когда это невозможно или экономически нецелесообразно, - компенсацией недостаточной естественной освещенности искусственным освещением. При этом разгерметизировавшиеся стеклопакеты и помутневшие стекла должны быть заменены. В качестве одного из средств повышения освещенности помещений может быть использована окраска поверхностей в светлые тона.
7.5. Устранение или ослабление перегрева помещений в летний период солнечной радиацией может быть достигнуто применением мер, направленных на уменьшение уровня естественной освещенности (см. п. 7.3), а также солнцезащитных устройств и средств (козырьков, жалюзи, штор, экранов, солнцезащитных, теплопоглощающих, светорассеивающих стекол и пленок и т.п.).
7.6. Перечень характерных дефектов и повреждений светопрозрачных ограждающих конструкций с указанием причин их возникновения, методов выявления или признаков каждой причины, а также возможных мер по предотвращению дальнейшего развития и устранению приведен в табл. 11.
7.7. Уровень естественной освещенности помещений следует определять в соответствии с указаниями СНиП по проектированию естественного и искусственного освещения. Измерения освещенности должны производиться при облачном небе. При проведении измерений естественной освещенности электрический свет в помещениях необходимо выключить.
Таблица 11. Характерные дефекты и повреждения светопрозрачных ограждающих конструкций
|
Вид и местоположение дефекта или повреждения |
Конструктивное решение заполнения светопроема |
Вероятные причины возникновения |
Методы выявления или признаки данной причины |
Меры по предотвращению дальнейшего развития и устранению |
|
|
1 |
2 |
3 |
4 |
5 |
6 |
|
1 |
Образование на наружных поверхностях заполнений светопроемов инея или наледей |
Все варианты |
Конденсация влаги из воздуха эксфильтрующегося из помещений вследствие наличия неплотностей или зазоров в конструкциях, нарушения сплошности остекления, деформаций переплетов окон или фонарей, отсутствия уплотняющих прокладок или мастик, трещим в местах сопряжения со стеной или покрытием здания, стирания поверхностей притворов и т.п. |
Визуальный |
Устранение дефектов или повреждений, вызывающих повышенную эксфильтрацию воздуха (см. пп. 6 - 9) |
|
2 |
Образование в межстекольном пространстве инея, наледей или накопление воды |
То же |
Конденсация влаги из воздуха, эксфильтрующегося из помещений вследствие нарушения сплошности остекления, деформаций переплетов окон или фонарей, отсутствия уплотняющих прокладок или мастик, стирания поверхностей притворов; закупорка отверстий для отвода конденсата из межстекольного пространства |
» |
Устранение дефектов и повреждений, вызывающих повышенную эксфильтрацию воздуха из помещений (см. пп. 6 - 9), а также очистка или ремонт устройств для отвода конденсата из межстекольного пространства, в случае необходимости - осушение и ремонт элементов конструкции |
|
3 |
Образование на поверхностях светопрозрачных конструкций, обращенных в помещение, инея, наледей или конденсата в жидкой фазе (в помещениях, где конденсат не допускается) |
Все варианты |
Несоответствие типа и количества слоев остекления конструкции температурно-влажностному режиму воздуха в помещении или температуре наружного воздуха |
Проверка соответствия конструкции фактическому температурно-влажностному режиму воздуха в помещениях и расчетным температурам наружного воздуха района строительства по действующим нормам. Рекомендуется измерить фактическое сопротивление теплопередаче и определить температурный режим внутренних поверхностей конструкции |
Повышение теплозащитных качеств конструкции за счет увеличения количества слоев остекления в соответствии с условиями эксплуатации и нормативными требованиями |
|
Высокая воздухопроницаемость, пониженное сопротивление теплопередаче вследствие образования неплотностей или зазоров в узлах сопряжения с другими конструкциями, нарушения сплошности остекления, деформации переплетов, отсутствия уплотняющих прокладок или мастик, стирания поверхностей притворов и т.п. |
Визуальный |
Устранение дефектов и повреждений, являющихся причиной высокой воздухопроницаемости и снижения сопротивления теплопередаче ограждения (см. пп. 6 - 9) |
|||
|
Наличие теплопроводных включений в конструкциях ограждения (неутепленных металлических переплетов или коробок, раствора или бетона швов либо обвязок в стекложелезобетонных панелях и т.п.) |
Визуальный, в случае необходимости - определение температурного режима внутренних поверхностей конструкций |
Усиление теплоизоляции теплопроводных включений; в случае необходимости - ремонт элементов с осушением |
|||
|
4 |
Увлажнение (возможно, с образованием наледей) элементов обрамления либо примыкающих участков стен или покрытия здания |
Все варианты |
|||
|
Увлажнение стекающим с остекления конденсатом, подтаивающим инеем или наледями (см. пп. 1 - 3) |
|||||
|
Проникание атмосферных осадков через неплотности или зазоры в узлах сопряжения с другими конструкциями вследствие нарушения сплошности остекления, деформаций переплетов, отсутствия уплотняющих прокладок или мастик, стирания поверхностей притворов и т.п. |
Визуальный |
Устранение дефектов и повреждений (см. пп. 6 - 9); в случае необходимости - осушение и ремонт элементов |
|||
|
5 |
Ощутимая повышенная воздухопроницаемость |
Окна, все варианты |
Нарушение сплошности остекления, деформации переплетов, отсутствие уплотняющих прокладок или мастик, стирание поверхностей притворов и т.п. |
» |
То же |
|
6 |
Нарушение сплошности остекления, трещины, выколы, бой |
Все варианты |
Механические повреждения остекления при строительстве или ремонте, очистке от загрязнений или снега и т.п. |
» |
Замена поврежденных элементов |
|
Механические повреждения остекления технологическими выбросами при работе мельниц, мартеновских печей и т.д. |
» |
Изменение расположения светопроемов, замена поврежденных элементов |
|||
|
Передача нагрузки на светопрозрачные элементы конструкции другими конструкциями или элементами |
Проверка состояния мест сопряжения и условий передачи нагрузок |
Разоружение светопрозрачных элементов, замена поврежденных элементов |
|||
|
Недостаточная компенсация температурных деформаций вследствие неправильного закрепления элементов светопрозрачного заполнения, отсутствия или недостаточной толщины прокладок и т.п. |
То же |
Замена поврежденных элементов остекления и не соответствующих нормативным требованиям или типовым решениям деталей |
|||
|
Неровности поверхностей деталей, прилегающих к стеклу, наличие выступающих сварных швов и т.д., применение прокладок, не компенсирующих влияние неровностей |
» |
То же, рихтовка деталей |
|||
|
Перекос переплетов или створок при их открывании |
Визуальный |
Замена поврежденных элементов остекления; в случае необходимости - повышение жесткости переплетов или створок в соответствии с проектом |
|||
|
Разрушение остекления работающими в цехе для обеспечения проветривания помещений при неудовлетворительной работе системы вентиляции или затруднении открывания окон |
Проверка работы системы вентиляции; выявление возможности открывания окон для проветривания помещений |
Обеспечение заданной работы системы вентиляции и возможности использования окон для проветривания помещений; замена разбитых стекол |
|||
|
Все варианты, кроме конструкций из стеклоблоков |
Дефекты нарезки стекла |
Визуальный |
Замена поврежденных стекол |
||
|
Переплетные |
Недостаточная толщина стекол |
Определение требуемой толщины стекла расчетом в соответствии с фактическими нагрузками |
Замена поврежденных стекол на стекла большей толщины в соответствии с расчетом |
||
|
Чрезмерная затяжка стекла кляммерами |
Трещины, расходящиеся от места закрепления или в форме полумесяца вокруг места закрепления |
Замена поврежденных стекол |
|||
|
Из профильного стекла |
Опирание стекла в отдельных точках, отсутствие подкладок |
Визуальный |
То же |
||
|
Образование конденсата в полости коробчатого профильного стекла, его накопление, замерзание зимой и расширение льда вследствие нарушения герметичности |
» |
Замена разрушенных элементов остекления с установкой резиновых насадок |
|||
|
Из стеклоблоков |
Усадка бетона или раствора швов либо обвязок |
» |
Замена поврежденных стеклоблоков ремонтными |
||
|
Несоответствие коэффициентов температурного расширения стекла и бетона или раствора швов либо обвязок |
» |
То же |
|||
|
Увлажнение и замерзание влаги в порах бетона швов или обвязок |
Шелушение, отслаивание бетона швов или обвязок |
Устранение причин увлажнения, ремонт и защита бетона швов и обвязок, замена поврежденных стеклоблоков |
|||
|
Недостаточная прочность стеклоблоков |
Визуальный |
Замена поврежденных стеклоблоков |
|||
|
Конденсация, накопление влаги и ее замерзание в полости стеклоблока зимой |
» |
То же |
|||
|
7 |
Неплотное или тугое закрывание створок или фрамуг |
Переплетные |
Перекос переплетов, погнутости металлических элементов, коробление или разбухание деревянных элементов |
» |
Ремонт или замена элементов переплета |
|
8 |
Погнутости металлических элементов |
С металлическими переплетами |
Механические воздействия в процессе изготовления, строительства или эксплуатации |
» |
Замена поврежденных элементов, рихтовка |
|
9 |
Рассыхание, коробление деревянных элементов |
Окна с деревянными переплетами |
Изготовление элементов из сырой древесины или недостаточная зашита древесины лакокрасочными покрытиями |
Визуальный; определение степени соответствия средств защиты древесины от воздействия окружающей среды |
Замена поврежденных элементов, защита древесины лакокрасочными покрытиями |
|
10 |
Разбухание деревянных элементов, поражение древесины грибами и жучками |
То же |
Увлажнение в процессе эксплуатации |
Визуальный |
Устранение причин увлажнения, замена поврежденных элементов с соответствующей защитой древесины |
|
Недостаточная защита древесины лакокрасочными покрытиями, отсутствие гидроизоляции оконной коробки и т.п. |
Измерение фактических параметров температурно-влажностного режима эксплуатационной среды и определение степени соответствия им средств защиты древесины по нормам |
То же |
|||
Возможные причины возникновения, методы выявления действительной причины и меры по предотвращению дальнейшего развития и устранению дефектов и повреждений уплотняющих прокладок и герметизирующих мастик, а также коррозионных повреждений металлических элементов заполнений светопроемов, аналогичны указанным для наружных стен.
Измерения наружной освещенности и освещенности помещения следует проводить строго одновременно. Наружная освещенность определяется на горизонтальной поверхности, не затененной расположенными вблизи зданиями. При этом необходимо следить за тем, чтобы во время измерения на датчик не падала тень от людей, транспортных средств и других предметов, не размещенных стационарно в данном помещении.
Измерения освещенности производят с помощью люксметров типа Ю-16, Ю-18, Ю-116 или других.
7.8. Светопропускание стекол или других светопропускающих материалов, применяемых для заполнения световых проемов, оценивается по величине коэффициента светопропускания, который определяется как отношение светового потока, прошедшего через остекление, к световому потоку, приходящему на наружную поверхность. Измерения приходящего и прошедшего через остекление световых потоков производятся одновременно двумя люксметрами.
Для определения светопропускания остекления в характерных (по высоте и в плане) зонах помещения выбирается не менее трех светопроемов, для каждого из которых производится не менее трех измерений.
8.1. Оценка технического состояния полов должна выполняться по следующим основным показателям:
стойкости к механическим воздействиям;
стойкости к тепловым воздействиям;
стойкости и непроницаемости к воздействиям жидкостей, в том числе агрессивных;
соответствию необходимым специальным требованиям в отношении диэлектричности, безыскровости, ровности, нескользкости, беспыльности, а также по величине тепловой активности и стойкости против возгорания;
внешнему виду и расцветке.
8.2. При предварительном (общем) обследовании полов следует руководствоваться п. 1.9 и, в частности, установить:
конструкции полов (типы и толщины покрытий, стяжек, вид гидроизоляционного слоя);
конструкции деформационных швов, лотков, трапов, примыканий полов к каналам и приямкам, плинтусов, галтелей и других элементов пола, а также элементов, расположенных в полу или примыкающих к нему;
изменения в конструкциях полов и указанных выше элементах как при строительстве, так и в процессе эксплуатации.
8.3. В процессе анализа проектной документации выявляются:
принятые расчетные нагрузки и воздействия, в том числе механические, тепловые и химические специальные требования к полам;
расчетные характеристики материалов покрытия пола;
средства защиты от агрессивных воздействий;
принятая конструкция пола, деформационных швов, сточных лотков, каналов, трапов и примыканий.
Возможные несоответствия принятых проектных решений нормативным требованиям выявляются сравнением результатов анализа проектной документации с положениями СНиП по проектированию полов.
8.4. В процессе анализа документации, составляющейся в ходе строительства и сдачи здания в эксплуатацию, устанавливаются:
соблюдение требуемого качества (вид, марка и др.) материалов, изделий и строительных смесей;
соблюдение заданных толщин, плоскостей, отметок и уклонов;
правильность примыкания полов к другим конструкциям (стенам, каналам и др.);
документы, подтверждающие выполнение скрытых работ.
В результате анализа полученных данных выявляют изменения в конструкции пола по сравнению с проектным решением.
8.5. По эксплуатационной документации устанавливаются:
параметры эксплуатационных воздействий на полы;
изменения конструкций полов в процессе эксплуатации;
имевшие место дефекты и повреждения полов, данные по их долговечности и другим эксплуатационным характеристикам.
8.6. Исследование состояния пола в натурных условиях производится визуальным и инструментальным методами.
При визуальном обследовании фиксируются места и характер видимых разрушений (выбоин, трещин, щербин и т.п.). Определяются размеры разрушенных участков покрытия, глубины повреждений, состояние узлов примыкания полов к другим строительным конструкциям, трубопроводам и технологическому оборудованию, участки застоя жидкостей. Для покрытий из штучных материалов визуально определяется также состояние швов: степень заполнения, разрыхление и наличие отслоений материала шва от покрытия и покрытия от нижележащего слоя.
При инструментальном обследовании определяют физико-механические характеристики каждого слоя пола: прочность, адгезию, непроницаемость, степень стойкости к данной агрессивной среде.
Нарушение адгезии обнаруживается по отслоению покрытия от нижележащих слоев. При этом измеряется примерная площадь этих отслоений. Отслоение выявляют простукиванием покрытия пола. Соответствие покрытия пола требованиям диэлектричности, безыскровости и беспыльности устанавливается по виду покрытия на основании его характеристик, указанных в СНиП по проектированию полов. Величина тепловой активности пола определяется по его конструктивному решению на основании положений СНиП по строительной теплотехнике с проведением, в случае необходимости, соответствующих измерений специализированными организациями по специальной методике.
При осмотрах полов следует учитывать, что наиболее часто повреждаются и быстрее выходят из строя полы, подверженные воздействию агрессивных жидкостей, а также участки полов, предназначенные для разгрузки и складирования продукции, особенно при ее складировании в контейнерах или емкостях, опирающихся на ножки или полозья, в проходах и проездах внутрицехового и межцехового транспорта, над подземными коммуникациями, в узлах сопряжения полов со стенками лотков и каналов, с фундаментами под оборудование, трапами, технологическими проемами и в местах сопряжения полов разной конструкции.
8.7. Перечень характерных дефектов и повреждений полов с указанием вероятных причин их возникновения, методов выявления или признаков каждой причины, а также возможных мер по предотвращению дальнейшего развития и устранению приведен в табл. 12.
8.8. В заключение о состоянии полов необходимо включать следующие показатели:
конструкция пола и вид покрытия;
характер разрушения (выбоины, трещины, отслоение покрытия и т.д.);
размеры разрушений (глубина выбоин, ширина раскрытия трещин, объем разрушений в процентах от всей площади покрытия и т.п.);
состояние лотков и каналов, деформационных швов, плинтусов и галтелей, сопряжений полов с фундаментами под оборудование, трапами, технологическими проемами и т.п.
Для покрытий пола из штучных материалов указать характер отслоения (покрытия от прослойки или отслоение вместе с прослойкой), целостность швов, разрушение плит, размеры разрушений
Таблица 12. Характерные дефекты и повреждения полов
|
Вид и местоположение дефекта или повреждения |
Конструктивное решение пола |
Вероятные причины возникновения |
Методы выявления или признаки данной причины |
Меры по предотвращению дальнейшего развития и устранению дефекта (повреждения) |
|
|
1 |
2 |
3 |
4 |
5 |
6 |
|
1 |
Выбоины, выколы или вмятины в покрытии |
Все варианты |
Механические воздействия (при движении транспортных средств, удары и др.), превышающие допустимые |
Визуальный |
Ремонт или замена (в зависимости от объема повреждений); ограничение воздействий |
|
2 |
Износ (истирание) покрытия |
То же |
Механические воздействия |
» |
То же |
|
3 |
Отслоение, отрыв покрытия |
» |
Нарушение правил производства работ при устройстве (неправильный подбор или подготовка материалов, подготовка оснований и т.п.) |
Определение качества, методов и условий производства работ по технической документации; визуальный со вскрытиями, простукивание |
Замена отслоившегося участка покрытия с ремонтом, в случае необходимости нижележащих слоев |
|
Механические воздействия (при движении транспортных средств, удары и др.), превышающие допустимые |
Визуальный со вскрытиями, простукивание |
То же, ограничение воздействий |
|||
|
Проникание под покрытие воды, кислот, щелочей, масел и т.п. |
Визуальный, со вскрытиями, простукивание, в случае необходимости - химический анализ материалов |
Замена отслоившегося участка покрытия с заменой поврежденных участков нижележащих слоев в соответствии с нормативными требованиями; ограничение воздействий |
|||
|
Различие в усадочных или температурных деформациях различных слоев пола |
Простукивание, проверка соответствия конструкции и примененных материалов пола нормативным требованиям |
Ремонт отслоившегося участка в соответствии с нормативными требованиями |
|||
|
4 |
Вспучивание, просадки |
Все варианты |
Нарушение правил производства работ при устройстве, в том числе обусловившие недостаточную прочность и плотность нижележащего слоя (неправильный подбор, подготовка материалов или основания, в том числе грунтового, увлажнение слоев под покрытием и т.п.) |
Определение качества, методов и условий производства работ по технической документации; визуальный со вскрытиями, простукивание |
Замена вспученного участка покрытия с ремонтом, в случае необходимости, нижележащих слоев |
|
Проникание под покрытие воды, кислот, щелочей, масел и т.п. в процессе эксплуатации. Структурные или химические изменения материалов пола, появление в них новообразований |
Визуальный со вскрытиями, простукивание, в случае необходимости - химический анализ материалов и новообразований |
Замена вспученного участка покрытия с заменой поврежденных участков нижележащих слоев в соответствии с нормативными требованиями; ограничение воздействий |
|||
|
По грунту |
Просачивание в грунт влаги, технологических жидкостей. Пучение грунта, структурные или химические изменения в нем, появление новообразований |
То же, а также, в случае необходимости - химический и структурный анализ грунта, химический анализ грунтовых вод |
То же, а также замена грунта |
||
|
5 |
Застаивание жидкостей на поверхности пола |
Полы со средней и большой интенсивностью воздействия на них жидкостей |
Недостаточные величины уклонов, неровности покрытия, лотков или каналов. |
Нивелирование, выявление неровностей с помощью рейки и поливкой воды |
Переустройство с обеспечением требуемых уклонов |
|
Прочие неисправности лотков, трапов и других элементов систем отвода жидкостей |
Визуальный |
Устранение неисправностей систем отвода жидкостей |
|||
|
6 |
Трещины в покрытии |
Все варианты |
Нарушение правил устройства (несоблюдение рецептур составов и смесей, применение непроверенных материалов, нарушение режимов твердения и др.) |
» |
Расчистка и заделка трещин с выбором материалов и способов выполнения, соответствующих нормативным требованиям |
|
7 |
Выкрошивание швов между штучными элементами покрытия |
С покрытием из штучных материалов |
Химические температурные и другие воздействия эксплуатационной среды, превышающие допустимые |
Проверка соответствия условий эксплуатации полов заданным |
Расчистка и заделка швов в соответствии с нормативными требованиями, ослабление воздействий |
|
Неправильный выбор материалов для заполнения швов, нарушение правил производства работ при заполнении швов (некачественная подготовка материалов и поверхностей и т.п.) |
Определение качества, методов и условий производства работ по технической документации: визуальный; проверка соответствия материала швов нормативным требованиям, в случае необходимости - химический анализ материалов швов |
То же |
|||
|
8 |
Скользкая поверхность пола |
Все варианты |
Наличие на поверхности пола масел, воды либо других жидкостей |
- |
Устранение проливов или предотвращение их попадания и длительного нахождения на поверхности пола; устранение причин застаивания жидкостей на поверхности пола; очистка поверхности пола или применение посыпок |
|
9 |
Низкая прочность, изменение структуры или химического состава материала покрытия (включая коррозию стальных листов, арматуры и других стальных элементов; поражение древесины грибами и насекомыми) |
То же |
Дальнейшее развитие отслоений, вспучиваний и отрыва покрытий, трещин в них, разрушений швов и т.п. |
См. пп. 1 - 4, 6 и 7 |
Устранение причин дефектов и повреждений; замена поврежденных участков в соответствии с нормативными требованиями для данных условий эксплуатации |
|
Температурные (в том числе высокотемпературные), химические, влажностные и другие воздействия эксплуатационной среды, включая пропитку маслами и застаивание жидкостей на поверхности |
Визуальный; проверка соответствия конструкции нормативным требованиям для данных условий эксплуатации |
Устранение или ограничение воздействий, замена поврежденных участков в соответствии с нормативными требованиями для данных условий эксплуатации |
Таблица 13. Характерные дефекты и повреждения подвесных потолков
|
Вид и местоположение дефекта или повреждения |
Конструктивное решение |
Вероятные причины возникновения |
Методы выявления или признаки данной причины |
Меры по предотвращению дальнейшего развития и устранению дефекта (повреждения) |
|||
|
1 |
2 |
3 |
4 |
5 |
6 |
||
|
1 |
Погнутости, вмятины, трещины, раковины |
Все варианты |
Аналогично соответствующим дефектам и повреждениям перекрытий и рабочих площадок (см. табл. 9, пп. 1 - 3) |
||||
|
2 |
Увлажнение |
То же |
Аналогично увлажнению нижней поверхности перекрытий (см. табл. 9, пп. 4, 5, 8 и 9) |
||||
|
3 |
Коррозия металлических элементов |
» |
Аналогично соответствующим повреждениям в наружных стенах (с учетом специфики воздействий, см. табл. 5, п. 31) |
||||
|
4 |
Недостаточные звукопоглощающие характеристики |
Звукопоглощающие |
На основании специальных акустических исследований |
||||
|
5 |
Нарушение герметичности стыков |
Все варианты |
Нарушение правил производства работ при монтаже потолка |
Определение качества, методов и условий производства работ по технической документации |
Ремонт дефектных участков |
||
|
Изгиб из плоскости потолка под воздействием временных или постоянных нагрузок |
Визуальный |
Усиление по расчету с учетом фактических эксплуатационных нагрузок |
|||||
|
Передача на подвесной потолок динамических нагрузок от перекрытий, на которых установлено вибрирующее оборудование |
» |
Устранение или ослабление динамических нагрузок на подвесной потолок за счет совершенствования узлов сопряжение балок подвесного потолка с колоннами каркаса здания с помощью демпфирующих прокладок и других мероприятий |
|||||
9.1. Оценка технического состояния подвесных потолков выполняется по следующим основным показателям:
прочности и жесткости под воздействием статических нагрузок;
надежности и огнестойкости;
эстетическим качествам.
В соответствии с требованиями технологии размещенного в здании производства показателями технического состояния подвесных потолков помимо указанных выше могут быть:
герметичность в сочетании со стойкостью к химическим агрессивным выделениям технологического процесса;
герметичность в сочетании с влагостойкостью;
герметичность в сочетании со звукопоглощающими свойствами.
9.2. При предварительном (общем) обследовании подвесных потолков следует руководствоваться п. 1.9 и, в частности, установить назначение, конструктивную схему, материалы и сечения элементов.
9.3. Перечень характерных дефектов и повреждений подвесных потолков с указанием вероятных причин их возникновения, методов выявления и признаков каждой причины, а также возможных мер по предотвращению дальнейшего развития и устранению их приведен в табл. 13.
Условия, при которых на поверхности конструкции выпадает конденсат
При отсутствии на поверхности конструкции водорастворимых солей для относительной влажности φв (в процентах) и насыщающем парциальном давлении водяного пара Ев (получаемом из таблиц или диаграмм) при данной температуре определяется парциальное давление водяного пара в воздухе ев:
ев = Евφв/100. (1)
Таблица 1. Равновесная относительная влажность воздуха над насыщенными растворами хлористых солей
|
Температура, °С |
Относительная влажность воздуха (%) над растворами |
||
|
NaCl |
KCl |
MgCl2 |
|
|
50 |
75 |
82 |
31,5 |
|
40 |
75 |
82 |
31,5 |
|
35 |
75 |
83,5 |
32 |
|
30 |
75 |
83,5 |
32,5 |
|
25 |
75 |
835 |
- |
|
20 |
75 |
85 |
33 |
|
15 |
75 |
85 |
- |
|
10 |
75 |
86 |
33,5 |
|
0,15 |
75,21 |
- |
- |
|
0 |
75,34 |
87 |
34 |
|
-2 |
77,32 |
- |
- |
|
-3 |
79,03 |
- |
- |
|
-3,4 |
- |
- |
35 |
|
-5 |
81,32 |
- |
- |
|
-9 |
84,47 |
- |
- |
|
-10 |
- |
- |
4,2 |
|
-10,6 |
- |
100 |
- |
|
-16,4 |
- |
- |
51,5 |
|
-20 |
- |
- |
68 |
|
-21,2 |
100 |
- |
- |
|
-30 |
- |
- |
96,5 |
|
-33,5 |
- |
- |
100 |
Примечания: 1. При отрицательных температурах значения равновесной влажности даны над льдом
2. Данные табл. 1 и последующие материалы приложения заимствованы из «Рекомендаций по защите строительных конструкций от коррозии на предприятиях калийной промышленности».
Таблица 2. Коэффициенты для расчета равновесной влажности воздуха над растворами солей
|
Температура, °С |
2NaCl |
2KCl |
MgCl2 |
Na2SO4 |
K2SO4 |
MgSO4 |
||||||
|
A ∙ 106 |
В ∙ 106 |
A ∙ 106 |
В ∙ 106 |
A ∙ 106 |
В ∙ 106 |
A ∙ 106 |
В ∙ 106 |
A ∙ 106 |
В ∙ 106 |
A ∙ 106 |
В ∙ 106 |
|
|
0 |
-1365 |
-16,1 |
-1510 |
-4,56 |
-465 |
-39,9 |
-2430 |
+30,8 |
-880 |
- |
-360 |
5,22 |
|
5 |
-1373 |
-15,8 |
-1510 |
-4,60 |
-500 |
-39,4 |
-2140 |
+24,5 |
-880 |
- |
-440 |
5,28 |
|
10 |
-1380 |
-15,6 |
-1510 |
-4,64 |
-531 |
-38,9 |
-1850 |
+19,0 |
-880 |
- |
-510 |
5,34 |
|
15 |
-1387 |
-15,3 |
-1510 |
-4,67 |
-560 |
-38,5 |
-1563 |
+12,0 |
-880 |
- |
-550 |
5,40 |
|
18 |
-1392 |
-15,1 |
-1510 |
-4,70 |
-576 |
-38,2 |
-1380 |
+8,6 |
-880 |
- |
-617 |
5,44 |
|
20 |
-1395 |
-15,0 |
-1510 |
-4,71 |
-586 |
-38,0 |
-1260 |
+5,1 |
-880 |
- |
-640 |
5,46 |
|
25 |
-1410 |
-14,8 |
-1510 |
-4,75 |
-609 |
-37,5 |
-968 |
0 |
-880 |
- |
-700 |
5,52 |
|
30 |
-1410 |
-14,5 |
-1510 |
-4,79 |
-629 |
-37,0 |
-868 |
-13,5 |
-880 |
- |
-725 |
5,58 |
|
35 |
-1418 |
-14,3 |
-1510 |
-4,82 |
-647 |
-36,5 |
-820 |
-18,6 |
-880 |
- |
-740 |
5,64 |
По тем же таблицам или диаграмме устанавливается, при какой температуре полученное парциальное давление становится насыщающим, т.е. относительная влажность воздуха будет равна 100 %. Если температура поверхности конструкции ниже этой температуры, то на ней выпадает конденсат.
В присутствии водорастворимых солей конденсат может выпасть при более высокой температуре поверхности конструкции или при той же температуре, но при меньшей относительной влажности воздуха и меньшем парциальном давлении водяного пара в нем. В этом случае температура, при которой на поверхности конструкции выпадает конденсат («точка росы»), определится по таблицам или диаграмме как соответствующая равновесной влажности воздуха φр над раствором соли.
Значения φр для насыщенных растворов хлористых солей натрия, калия и магния даны в табл. 1.
Равновесная относительная влажность воздуха φр (%) над сложными солевыми растворами (растворами нескольких солей) может быть определена методом коэффициентов по эмпирической формуле
где Mi - концентрация данной соли в растворе в молях на 1000 молей воды;
МΣ - суммарная концентрация всех солей в растворе в молях на 1000 молей воды;
n - количество солей в растворе;
А и В - эмпирические коэффициенты для данной соли при данной температуре (табл. 2).
Для растворов одной соли (двухкомпонентная система) Mi = MΣ и формула (2) принимает вид
lg(φp/100) = AM + BM2. (3)
В случае растворов взаимных пар для получения более точных результатов следует сочетать ионы и соли в такой последовательности, которая обусловливает наибольшее значение вычисленной упругости пара.
Для этого реакции:
(4)
следует рассматривать завершенными слева направо, т.е. сочетать ион SO4 в первую очередь с Mg, а затем с Na и в последнюю очередь K.
Для солей с одновалентными катионами и анионами коэффициенты А и В предусматривают выражение концентрации в удвоенных молях соли: 2NaCl, 2KCgl.
|
Степень повреждения |
Снижение несущей способности, % |
Необходимость усиления |
|
Незначительная |
0 - 5 |
Не требуется |
|
Слабая |
До 15 |
Требуется при наличии трещин |
|
Средняя |
До 25 |
Требуется |
|
Сильная |
До 50 |
Требуется |
|
Аварийная |
Св. 50 |
Возможно при технико-экономическом обосновании или разборка и замена |
Примечания: 1. При наличии трещин, сколов и других видимых повреждений, снижающих несущую способность конструкции на 15 % и более, усиление необходимо независимо от величины действующей нагрузки.
2. При отсутствии видимых повреждений усиление требуется, если величина действующей (прогнозируемой) нагрузки превосходит несущую способность с учетом пониженной прочности (марки) материалов конструкции.
СОДЕРЖАНИЕ