МИНИСТЕРСТВО РЕЧНОГО ФЛОТА РСФСР
------------------
ГЛАВНОЕ УПРАВЛЕНИЕ ПОРТОВ
|
СОГЛАСОВАНЫ с ЦК профсоюза рабочих |
УТВЕРЖДЕНЫ Министерством речного флота 27 июня 1985 г. |
ПРАВИЛА ТЕХНИЧЕСКОЙ
ЭКСПЛУАТАЦИИ
ПОРТОВЫХ
СООРУЖЕНИЙ
![]()
ЛЕНИНГРАД «ТРАНСПОРТ»
ЛЕНИНГРАДСКОЕ ОТДЕЛЕНИЕ 1986
Правила технической эксплуатации портовых сооружений разработаны научно-исследовательской лабораторией технической эксплуатации портовых сооружений Ленинградского института водного транспорта.
Правила регламентируют характер использования, содержания, ремонта и приема в эксплуатацию гидротехнических и береговых сооружений в портах и на пристанях.
Предназначены для инженерно-технических работников портов, пристаней, пароходств, плавсостава.
Настоящие правила вводятся в действие с 1 января 1986 года. С введением настоящих правил утрачивают силу Правила технической эксплуатации портовых сооружений, утвержденные заместителем министра речного флота РСФСР 29 ноября 1973 года.
Выпущено по заказу Министерства речного флота РСФСР.
1.1. Настоящие Правила регламентируют характер эксплуатации, содержания и ремонта гидротехнических и береговых сооружений в портах и на пристанях Министерства речного флота.
1.2. Выполнение настоящих Правил обязательно для работников портов, пристаней, плавсостава Министерства речного флота, клиентуры речных портов, персонала, эксплуатирующего портовые сооружения, сданные в аренду, плавсостава с судов к кораблей других ведомств, посещающих речные порты.
1.3. Правила распространяются на причальные сооружения и устройства, оградительные и берегоукрепительные сооружения, портовые склады, пассажирские и служебно-производственные здания, крановые пути, автодороги и площадки открытого хранения грузов, акватории и рейды, сети ливневой канализации.
Правила не распространяются на объекты гражданской обороны, железнодорожные пути и сети водопровода, канализации, теплоснабжения, вентиляции и электроснабжения. Техническая эксплуатация перечисленных объектов производится в соответствии со специальными Правилами.
1.4. При проектировании новых портовых сооружений, а также при разработке проектов реконструкции, капитального ремонта и усиления существующих сооружений требования настоящих Правил обязательны.
1.5. Все дополнительные инструктивные материалы, относящиеся к технической эксплуатации сооружений в портах и на пристанях Министерства речного флота, должны составляться с учетом настоящих Правил и в соответствии с ними.
1.6. Знание Правил технической эксплуатации портовых сооружений является обязательным для работников и должностных лиц речного транспорта, связанных с эксплуатацией портовых сооружений.
1.7. Проверка знаний настоящих Правил работниками пароходств, портов и пристаней производится не реже чем через два года, а также при их назначениях на должности, связанные с эксплуатацией причальных сооружений.
Ответственность за периодическую проверку знания Правил работниками портов возлагается на главных инженеров портов.
1.8. Ответственность за организацию технической эксплуатации сооружений несут главные инженеры портов или начальники пристаней (при отсутствии в штате должности главного инженера). Степень ответственности работников портов различных категорий за выполнение настоящих Правил определяется соответствующими должностными инструкциями.
Работники речного транспорта, виновные в нарушении Правил технической эксплуатации портовых сооружений, привлекаются к дисциплинарной ответственности, если их действия не влекут за собой иную ответственность.
2.1. Организация надлежащей технической эксплуатации портовых сооружений имеет целью обеспечить их эффективную безаварийную работу, долговечность и надежность.
Режим эксплуатации и техническое состояние сооружений должны гарантировать нормальную и безопасную работу средств портовой механизации и транспорта, транспортного и портового флота, внутрипортовых сетей электроснабжения, водопровода, канализации, дорог, железнодорожных путей и линий связи, а также соблюдение противопожарных и санитарных норм и требований по охране труда и окружающей среды.
утвержденный и согласованный с контролирующими органами проект (рабочий проект) и исполнительную документацию по портовым сооружениям, а также исполнительную документацию и проекты капитального ремонта в случае их осуществления;
утвержденный акт комиссии по приемке в эксплуатацию порта (пристани) или отдельных его вооружений, а также все документы, наличие которых регламентировано СНиП III-3-81;
план-схему проектных эксплуатационных нагрузок на причалы и перечень грузов, которые запрещается перерабатывать и складировать на каждом из причалов;
специальные паспорта причальных сооружений (см. п. 3.7), если таковые выпущены;
схемы размещения и рабочие чертежи устройств, предназначенных для инструментальных наблюдений за сооружениями в соответствии с Временной инструкцией для работников портов по наблюдению за портовыми сооружениями (приложение 1). Все устройства (реперы, марки, пьезометры и пр.) должны иметь плановую и высотную привязки к государственной геодезической сети. Лица, ответственные за сохранность и периодическую проверку этих устройств, назначаются приказом начальника порта.
В портах, именованных в Положении о паспорте порта, утвержденного Министерством речного флота РСФСР 31 января 1984 г., должны иметься паспорта, составленные по форме, регламентированной указанным Положением.
2.3. Все изменения, вносимые в конструкцию, а также в режим использования сооружений, должны отражаться в паспорте порта.
2.4. В каждом порту и на каждой пристани должен иметься ежегодно обновляемый и корректируемый календарный план проведения мероприятий, связанных с обеспечением правильной технической эксплуатации портовых сооружений. Календарный план должен соответствовать всем требованиям настоящих Правил и Временной инструкции для работников портов по наблюдению за портовыми сооружениями, а также должен учитывать рекомендации Методических указаний по эксплуатации и усилению причальных сооружений, имеющих локальные повреждения (Л., Транспорт, 1977), Временных технических указаний по ремонту портовых гидротехнических сооружений (М., Транспорт, 1974), Методических указаний по определению несущей способности существующих причальных набережных (Л., Транспорт, 1978), Методических указаний по повышению несущей способности и определению эффективности ремонта портовых гидротехнических сооружений (Л., Транспорт, 1982).
2.5. В каждом порту и на пристани должно иметься необходимое количество экземпляров настоящих Правил, всех нормативных и методических материалов, поименованных в п. 2.4, а также необходимая техническая литература и справочные пособия, предназначенные для инженерно-технических работников, связанных с эксплуатацией портовых сооружений.
На грузовых районах портов целесообразно иметь приборы «Сигнал», предназначенные для определения допускаемых нагрузок на причалы в зависимости от координат площадей загружения. При отсутствии таких приборов для каждого причала должны быть составлены на основании расчетов графики или таблицы допускаемых нагрузок в зависимости от координат площадей загружения. При их составлении в качестве исходной должна приниматься заданная проектная нагрузка на причал при сплошном загружении прикордонной полосы. Расчеты по определению допускаемых нагрузок на причалы могут быть выполнены проектными, специализированными научно-исследовательскими организациями или специалистами порта. Во всех случаях значения полученных допускаемых нагрузок должны быть подтверждены организацией - автором проекта сооружения.
2.7. Организация и проведение мероприятий по обеспечению правильной технической эксплуатации портовых сооружений возлагается на главного гидротехника (старшего инженера или инженера-гидротехника) порта.
Все работники порта, включая начальников грузовых районов и команды судов, в вопросах, связанных с эксплуатацией сооружений, должны подчиняться указаниям главного гидротехника (старшего инженера или инженера-гидротехника) порта.
2.8. В портах должны быть организованы бригады, ведающие текущим содержанием сооружений.
Ориентировочная численность рабочих бригады на навигационный период приведена в приложении 2.
В зависимости от местных условий при наличии обоснований (большое число объектов, их разбросанность и др.) в портах рекомендуется вводить должность мастера по содержанию и текущему ремонту сооружений.
2.9. Каждый работник речного транспорта, обнаруживший повреждения портовых сооружений или нарушения режима их эксплуатации, угрожающие безопасности людей или судов, обязан немедленно поставить об этом в известность представителей инженерно-технического персонала порта (на пристанях - начальника пристани).
3.1. В каждом порту (пристани) необходимо отчетливо обозначить прикордонную полосу, нагрузка на которую ограничивается проектом или паспортом сооружения. Если указанная полоса разбита на зоны с различной допускаемой интенсивностью нагрузки, то границы этих зон также должны быть ясно обозначены.
При сплошной загрузке прикордонной полосы причалов превышение заданной предельной проектной или паспортной нагрузки не допускается даже на самый короткий период.
При загрузке отдельных узких участков причалов предельная нагрузка должна предварительно определяться расчетом или с помощью прибора «Сигнал» (см. п. 2.6.). Запрещается применение прибора, не настроенного на данное сооружение.
3.2. Предельные эксплуатационные нагрузки на причальные сооружения должны пересматриваться не реже одного раза в пять лет, а также при изменении технического состояния сооружения проектной или научно-исследовательской организацией. В случае выполнения этой работы специалистами порта результаты должны быть подтверждены организацией - автором проекта сооружения.
3.3. По каждому случаю превышения предельной эксплуатационной нагрузки должно проводиться служебное расследование, оформляемое актом, который утверждается главным инженером порта (начальником пристани).
Результаты расследования доводятся до вышестоящей организации. В журнале профилактических осмотров должна быть произведена запись об имевшем место превышении с указанием значений и параметров нагрузки.
3.4. За причальными стенками должны вестись систематические наблюдения. Сроки и методика наблюдений регламентированы Временной инструкцией для работников портов по наблюдениям за портовыми сооружениями. Результаты наблюдений используются в качестве основания для назначения необходимого режима эксплуатации сооружений в соответствии с их действительным техническим состоянием.
3.5. Возможность эксплуатации на причалах тех или иных средств механизации и транспорта, не предусмотренных первоначальным проектом, должна быть предварительно проверена расчетами, подтвержденными организацией - автором проекта сооружения.
В случае, когда причальные сооружения распорные, следует проверять допустимость эксплуатации средств механизации и транспорта в зависимости от действительной относительной плотности грунта засыпки за набережными. При этом необходимо исходить из следующих критериев:
эксплуатация в прикордонной полосе портальных кранов допустима при относительной плотности засыпки не менее 0,4;
эксплуатация железнодорожных составов на прикордонных подпортальных путях допустима при относительной плотности засыпки не менее 0,55, причем скорость движения составов в этом случае не должна превышать 10 км/ч, пропуск по прикордонным подпортальным путям составов со скоростью 20 км/ч допустим при относительной плотности засыпки не менее 0,7.
3.6. Производство эксплуатационных взрывов на причалах запрещается. В исключительных случаях взрывы можно производить на расстоянии не менее 20 м от линии кордона при относительной плотности засыпки не менее 0,7. Предельная мощность подрывных зарядов должна проверяться расчетами с учетом обеспечения сохранности портовых сооружений и оборудования.
В тех случаях, когда паспорт причального сооружения по истечению срока его действия не продлен или не обновлен и допускаемые паспортные нагрузки выше проектных, дальнейшая загрузка прикордонных складских площадей должна производиться в соответствии с первоначальными указаниями проектной организации, а имеющиеся на причалах средства механизации не заменяются.
3.8. Если результаты наблюдений за причальными сооружениями показывают, что их несущая способность снижается, необходимо принять оперативные меры по выявлению и устранению причин данного явления и усилению сооружений.
К работе по выявлению причин ускоренного ослабления конструкций причальных сооружений должны привлекаться специализированные исследовательские или проектная организации.
Повреждения причальных сооружений следует оперативно устранять.
3.9. При местных повреждениях причальных сооружений необходимо на период до их устранения расчетным путем определять допустимый режим эксплуатации сооружений на участках, имеющих повреждения. Такое расчетное определение допустимого режима эксплуатации причальных сооружений производится на основании Методических указаний по эксплуатации и усилению причальных сооружений, имеющих локальные повреждения, и является обязательным при следующих видах местных повреждений:
у шпунтовых и уголковых набережных:
разрушившихся, ненапряженных или чрезмерно провисших анкерных тягах;
полностью или частично разрушившихся шпунтовых сваях (лицевых панелях);
разрушениях анкерного пояса жесткости или подвижках анкерных стенок и плит;
наличии зон переуглубления дна более 0,03Н перед стенками в полосе шириной 2Н, где Н - свободная высота набережной;
нарушений грунтонепроницаемости лицевых стенок;
у гравитационных набережных:
сквозных трещинах в массивных бетонных и железобетонных элементах и разупрочнении бетона;
чрезмерных наклонах (более 0,5° сверх образовавшегося в строительный период), осадках и смещениях стенок;
чрезмерных относительных смещениях элементов массивовой кладки (отношение площади нависания сместившегося элемента к его полной площади более 15 %);
неравномерности горизонтальных смещений секций набережной, превышающей 0,01Н;
наличии зон переуглубления дна более 0,02Н перед стенками в полосе шириной 2Н;
у набережных в виде свайных ростверков (распорных и безраспорных):
поверхностных повреждениях ростверков, уменьшающих расчетный момент сопротивления в рассматриваемом сечении более чем на 15 %;
сквозных трещинах в несущих элементах верхнего строения и разупрочнении бетона;
повреждениях шпунтовых стенок;
повреждениях свай;
наличии зон переуглубления дна более 0,02Н перед стенкой в полосе шириной 2Н;
у откосных набережных:
размывах дна перед подошвой откоса;
подвижках и изменениях профиля откоса;
разрушениях креплений откосов.
3.10. В каждом случае работам по восстановлению поврежденного распорного причального сооружения должен предшествовать расчет степени восстановления его несущей способности.
Такой расчет производится на основании Методических указаний по повышению несущей способности и определению эффективности ремонта портовых гидротехнических сооружений.
3.11. Режим эксплуатации распорных причальных сооружений, отремонтированных без вывода из напряженного состояния, устанавливается на основе результатов определения степени восстановления их несущей способности.
3.12. В тех случаях, когда запланированный ремонт по расчету не позволяет в требуемой степени повысить несущую способность сооружения, необходимо на период ведения ремонтных работ обеспечить полную либо частичную разгрузку сооружения. Степень разгрузки должна устанавливаться расчетом.
3.13. Границы участков причалов (вдоль причального фронта) с различным допустимым режимом эксплуатации должны быть отчетливо обозначены.
3.14. Все металлические шпунтовые стенки должны иметь антикоррозионную защиту. При обнаружении коррозии интенсивностью свыше 0,05 мм/год следует принять дополнительные меры защиты стенок.
В зависимости от характера коррозии, вызывающих ее причин и режима эксплуатации сооружений могут применяться пассивные (защитные покрытия) и активные (катодная, протекторная, электродренажная) методы защиты.
Активная антикоррозионная защита должна, как правило, выполняться по специальным проектам.
3.15. При обнаружении коррозионного ослабления бетонных и железобетонных конструкций причальных сооружений надлежит:
принять меры к выявлению и устранению причин коррозии;
при необходимости выполнять антикоррозионное покрытие бетонных поверхностей сооружений;
по согласованию с проектной организацией рассмотреть вопрос об усилении конструкций, если из-за агрессивного воздействия окружающей среды поверхностная прочность бетона снизилась более чем на 10 % по сравнению с проектной.
3.16. Отбойные устройства причальных сооружений необходимо постоянно поддерживать в надлежащем техническом состоянии.
Не разрешается эксплуатация сооружений, на которых отбойные устройства не навешаны или повреждены.
3.17. Дренажные устройства на причалах должны обеспечивать понижение гидростатического напора грунтовой воды на причальные сооружения до значений, предусмотренных проектом.
3.18. Суда должны подходить к причалам и отходить от них таким образом, чтобы не повредить причальные сооружения и исключить размыв дна перед ними.
3.19. При работе порта в условиях зимней (круглогодичной или продленной) навигации должны приниматься необходимые меры для предотвращения повреждения причальных сооружений во время очистки ото льда причальных и навигационных рейдов.
Очистка ото льда причальных рейдов ледоколами допускается только перед распорными причальными сооружениями. При этом ледокол не должен подходить к линии кордона ближе чем на 3 м. Не допускается подход ледокола к причальной стенке кормой.
При безраспорных причальных сооружениях работа ледоколов на причальном и навигационном рейдах не допускается.
В период проведения погрузоразгрузочных работ и при стоянке у причалов должны приниматься эффективные меры по предотвращению примерзания судов к ледовому припаю или причальной стенке.
4.1. Техническая эксплуатация оградительных сооружений заключается в поддержании последних в удовлетворительном состоянии при наименьших затратах. Для этой цели необходимо, основываясь на материалах наблюдений за состоянием сооружений, своевременно проводить их ремонт и усиление.
4.2. Наблюдения за оградительными сооружениями откосного профиля включают:
проверку состояния и прочности одежды гребня и откосов (в надводной и подводной зонах);
измерение действительного профиля сооружений и сопоставление его с проектным;
проверку наличия вымывания грунта из-под одежды;
промеры глубин перед подошвой откосов;
проверку состояния обратных фильтров, швов омоноличивания, одерновки и других элементов креплений откосов;
измерение плановых и высотных смещений конструкций.
4.3. Наблюдения за оградительными сооружениями вертикального профиля должны включать:
измерения плановых и высотных смещений и крена сооружений;
контроль прочности бетона;
проверку отсутствия смещений элементов из массивовой кладки;
промеры глубин перед сооружениями.
Наблюдения за оградительными сооружениями смешанного профиля должны включать замеры, предусмотренные пп. 4.2 и 4.3 настоящих Правил.
4.4. Наблюдения за оградительными сооружениями следует вести с помощью приборов и оборудования, рекомендованных Временной инструкцией для работников портов по наблюдению за портовыми сооружениями. Частота наблюдений должна гарантировать своевременное обнаружение возможных повреждений или ослаблений сооружений.
Для контроля за характером изменения технического состояния оградительных сооружений во времени результаты последовательных наблюдений надлежит анализировать и сопоставлять.
4.5. Все повреждения и дефекты оградительных сооружений следует устранять немедленно по их обнаружении. Для оперативного выполнения требуемых ремонтных работ порты обязаны иметь необходимый запас строительных материалов и деталей.
Величина неснижаемого запаса материалов устанавливается приказом начальника порта с учетом строительной стоимости, протяженности, технического состояния и опыта предшествующей эксплуатации сооружений. Объем запасаемых материалов корректируется при изменении технического состояния конструкций.
4.6. Откосы оградительных сооружений должны регулярно очищаться от выброшенных на них плавающих предметов и растительности, разрушающей откосные крепления.
4.7. Постановка судов на якорь на внутренних и внешних рейдах портов, расположенных в водохранилищах при отсутствии причальных пал, допускается на расстоянии не менее 30 м от оградительных сооружений.
5.1. Для предотвращения потери устойчивости берегоукрепительных сооружений необходимо ограничивать загрузку примыкающих к ним зон портовой территории.
5.2. Берегоукрепления надлежит защищать от повреждений их судами. Берегоукрепления, не рассчитанные на нагрузки от швартующихся судов, должны быть оснащены запрещающими подход судов аншлагами или знаками, зарегистрированными в судоходной инспекции.
5.3. За берегоукрепительными сооружениями необходимо вести наблюдения, аналогичные наблюдениям за оградительными сооружениями.
5.4. За откосными сооружениями, берега которых сложены глинистыми грунтами пластичной и полутвердой консистенции, необходимо вести специальные виды наблюдений, призванные предотвратить образование оползней.
В число этих наблюдений входят:
измерения плановых и высотных смещений откоса (в надводной и подводной зонах) и прилегающего к бровке откоса участка территории шириной 2Н, где Н - высота откоса;
контроль за образованием и динамикой развития трещин и заколов в грунтовом массиве.
5.5. Увеличение скорости деформации откосного берегоукрепления в сочетании с прогрессирующим развитием трещин и заколов служит предвестником возникновения оползня.
В таких случаях надлежит (с привлечением при необходимости проектной и специализированной научно-исследовательской организаций) принять немедленные меры по усилению берегоукрепления.
5.6. При обнаружении активных оползневых процессов на портовых территориях, поддерживаемых берегоукреплениями, рекомендуется силами специализированной исследовательской организации составить расчетный прогноз длительной устойчивости оползневых масс. В необходимых случаях должны быть осуществлены надлежащие противооползневые мероприятия.
6.1. В портовых складах допускается хранение только тех грузов, для которых эти склады предназначены проектом.
6.2. Возможность использования складов для хранения грузов, не предусмотренных проектом, должна быть согласована с проектной организацией.
Предельная нагрузка на единицу площади пола, перекрытия и рампы, а также взаимное расположение грузов в складе должны соответствовать проекту.
При изменении технического состояния несущих конструкций допускаемые нагрузки в складах должны пересматриваться.
6.3. В складах должны быть вывешены схемы допускаемых нагрузок на полы и перекрытия и ясно обозначены границы постоянных проходов и проездов.
6.4. При складировании легковоспламеняющихся и взрывоопасных грузов надлежит руководствоваться требованиями Правил безопасности труда на погрузочно-разгрузочных работах в портах и на пристанях Минречфлота РСФСР (1978 г.).
6.5. За состоянием складов следует вести систематические наблюдения, включающие:
измерение осадок фундаментов;
регистрацию прогибов, трещин и других деформаций стен, колонн, ферм, прогонов;
проверку состояния кровли (и устройств для отвода с нее атмосферных осадков), отмостков, оконных переплетов, полов, гидроизоляции;
проверку деревянных элементов складских конструкций (загнивание и признаки деятельности древоточцев);
проверку исправности ворот, состояния оштукатуренных и окрашенных внутренних и наружных поверхностей стен и колонн;
проверку исправности электрического, санитарного и противопожарного оборудования;
проверку величины коррозии металлических конструкций и закладных частей.
6.6. При назначении режима эксплуатации средств портовой механизации и транспорта и при подготовке эксплуатационных взрывов следует учитывать, что предельно допустимое ускорение вибрационных колебаний элементов конструкций складов составляет 100 мм/с2.
Данное требование также распространяется на служебно-производственные здания.
7.1. При эксплуатации служебно-производственных зданий надлежит руководствоваться требованиями Положения о проведении планово-предупредительного ремонта производственных зданий и сооружений (М., Стройиздат, 1974), Положения о проведении планово-предупредительного ремонта сооружений общепроизводственного назначения (М., ЦНИИТЭСстроймаш, 1969), Руководства по наблюдениям за деформациями оснований и фундаментов зданий и сооружений (М., Стройиздат, 1975), Положения о проведении планово-предупредительного ремонта жилых и общественных зданий (Рига, Авотс, 1981).
7.2. Возможность перепланировки помещений в зданиях, установки или подвески на их несущих элементах добавочных устройств или оборудования должна согласовываться с проектной организацией.
7.3. При эксплуатации зданий, построенных на вечномерзлых грунтах, должен строго выдерживаться заданный проектом температурный режим подполий и оснований. Должны быть также исключены возможные протечки в сетях и устройствах водоснабжения, отопления и канализации.
8.1. Крановые пути должны эксплуатироваться под нагрузкой только от тех механизмов, на которые они рассчитаны. Установка на подкрановые пути перегрузочных или иных механизмов с повышенным против проектного давлением на колесо без подтверждения автора проекта не допускается.
8.2. Содержание крановых путей должно отвечать требованиям Правил устройства и безопасной эксплуатации грузоподъемных кранов, утвержденных государственным Комитетом по надзору за безопасным ведением работ в промышленности и горному надзору при Совете Министров СССР (1969 г.).
8.3. Допустимые отклонения параметров крановых путей от проектных значений в процессе эксплуатации определяются допусками, согласно табл. 1.
8.4. При эксплуатации крановых путей следует систематически проводить нивелировку головок рельсов и контроль их износа, а также проверку: величин просадок грунта и балласта; состояния шпал и всех креплений элементов путей; искривления путей в плане и непараллельности рельсов; прочности материала, а также осадок, сдвигов и деформаций подкрановых балок, плит и других несущих устройств.
Таблица 1
ДОПУСКИ НА УКЛАДКУ РЕЛЬСОВ КРАНОВЫХ ПУТЕЙ И МАКСИМАЛЬНО ДОПУСТИМЫЕ ОТКЛОНЕНИЯ ПРИ ЭКСПЛУАТАЦИИ1
|
Мостовые краны |
Башенные2 краны |
Козловые3 краны |
Портальные краны |
Мостовые перегружатели |
|
|
1. Разность отметок головок крановых рельсов в одном поперечном сечении, мм: |
20... 25/25... 60 (под нагрузкой для колеи 2,5 - 6 м) |
10/15 |
15/30 |
20/30 |
|
|
на опорах |
15/20 |
||||
|
в пролете |
20/25 |
||||
|
2. Разность отметок крановых рельсов на соседних колоннах, мм, при расстоянии между колоннами: |
|||||
|
1 ≤ 10 м |
10/15 |
||||
|
1 > 10 м |
1/1000 расстояния между колоннами, но не более 15/20 |
||||
|
3. Отклонение в расстоянии между осями крановых рельсов, мм |
10/15 |
5/10 |
8/12 |
5/10 |
30/40 |
|
4. Взаимное смещение торцов стыкуемых рельсов в плане и по высоте, мм |
2/3 |
2/3 |
1/2 |
1/3 |
1/2 |
|
5. Отклонение рельса от прямой линии (для мостовых кранов на участке 40 м, для остальных 30 м), мм |
15/20 |
-/- |
15/20 |
15/20 |
15/20 |
|
6. Зазоры4 в стыках рельсов (при температуре 0 °С и длине рельса 12,5 м), мм |
4/4 |
6/6 |
6/6 |
6/6 |
6/6 |
|
7. Разность отметок головок рельсов на длине 10 м кранового пути (общая), мм |
-/- |
40/100 |
20/30 |
15/20 |
20/30 |
_____________
1 В числителе - при укладке, в знаменателе - во время эксплуатации.
2 Данные распространяются на башенные краны, не отраженные в Инструкции по устройству и эксплуатации рельсовых путей для строительных башенных кранов.
3 Допуски для путей козловых кранов пролетом более 30 м принимаются по нормам для мостовых перегружателей.
4 При изменении температуры на 10 °С допуск на зазор изменяется на 1,5 мм.
Крановые рельсы подлежат замене при следующих видах визуально обнаруживаемых дефектов:
изломах, отколах и трещинах в стыковой части по болтовым отверстиям;
изломах и трещинах вследствие расслоения головки или шейки;
продольных трещинах или выколах в подошве;
вертикальных износах, при которых реборды колес задевают гайки путевых болтов;
поперечных изломах и изломах по сварным стыкам, трещинах в шейке.
Деревянные шпалы подлежат замене при следующих видах дефектов, фиксируемых визуально:
загнивании древесины в зоне подкладки, после зачистки которой толщина шпал уменьшится до 10 см;
разработанных костыльных и шурупных отверстиях, если после рассверливания диаметр их будет более 4 см;
сквозных продольных трещинах;
поперечном изломе.
Наблюдения, которые следует вести за железобетонными подкрановыми балками, включают:
измерение поверхностной прочности бетона;
визуальную регистрацию трещин, выколов и изломов;
измерение прогибов балок в продольном направлении (нивелированием III класса).
Крановые балки необходимо ремонтировать или усиливать при следующих видах дефектов:
снижении поверхностной прочности бетона более чем на 20 % по сравнению с проектной;
наличии обнаженной арматуры.
8.5. При обнаружении конусов вымыва грунта из-за причальных стенок надлежит принять оперативные меры по выявлению причин вымыва и предотвращению просадок прикордонных путей.
На участках, где отмечается вынос грунта из-за стенок, эксплуатация крановых путей впредь до компенсации всего вынесенного объема грунта и устранения очагов выноса не допускается.
8.6. Рихтовка и балластировка крановых путей должна осуществляться систематически по мере необходимости.
9.1. Режим эксплуатации портовых автодорог и площадок открытого хранения грузов должен обеспечивать их нормальную работу в течение заданного срока службы.
9.2. При осуществлении технической эксплуатации автодорог надлежит выполнять указания Технических правил ремонта и содержания автомобильных дорог ВСН 24-75/Минавтодор РСФСР и Правил техники безопасности при строительстве, ремонте и содержании автомобильных дорог (М., Транспорт, 1979).
9.3. Предельные нагрузки на площадки открытого хранения грузов должны соответствовать проектным.
9.4. Наблюдения за автодорогами и площадками открытого хранения грузов включают проверку:
профиля земляного полотна и уклона откосов;
состояния дорожной одежды и покрытия площадок для хранения грузов;
состояния и работы дренажных устройств (канав, кюветов, лотков и коллекторов).
9.5. Все замеченные повреждения автодорог и площадок открытого хранения грузов надлежит регулярно устранять.
9.6. Запрещается складирование грузов на проездах, в проходах и противопожарных подъездах.
10.1. Акватории и рейды следует содержать в состоянии, обеспечивающем безопасное движение флота и выполнение перегрузочных операций на плаву.
10.2. Акватории и рейды надлежит очищать от топляков и посторонних предметов.
Перед открытием навигации, а в необходимых случаях и в период навигации, состояние акваторий и рейдов следует проверять тралением.
Затонувшие предметы, представляющие опасность для судов, должны в кратчайшие сроки извлекаться, а на период до извлечения - обозначаться буями.
10.3. Об утере судами на акваториях портов якорей и других предметов, представляющих опасность для судоходства, капитаны должны немедленно сообщать главному инженеру или главному гидротехнику порта.
10.4. На акваториях портов и пристаней запрещается выбрасывать с судов любые отходы и выкачивать любые загрязняющие жидкости, оказывающие отрицательное влияние на конструкционные материалы сооружения.
10.5. После паводков и ледохода на акваториях и рейдах надлежит производить контрольные промеры глубин.
10.6. В процессе очистки акватории нельзя допускать переуглубления дна на причальных рейдах и перед оградительными и берегоукрепительными сооружениями.
10.7. Вопрос о технологии и характере засыпки зон переуглублений перед сооружениями должен решаться во взаимосвязи с оценкой изменения их несущей способности. При этом следует учитывать, что простая засыпка зон переуглубления не устраняет добавочные напряжения, возникшие в конструкциях причальных сооружений за счет образовавшегося переуглубления.
10.8. Акватории портов должны быть оснащены необходимыми средствами навигационного оборудования, включая соответствующие зимние ограждения для ледовых условий плавания.
10.9. На акватории портов разрешается заход судов и кораблей, у которых обеспечен необходимый запас глубины под килем. Скорость движения судов по акваториям должна выбираться с учетом местных условий, обеспечения безопасности движения и сохранности гидротехнических сооружений.
10.10. При эксплуатации акваторий и рейдов надлежит соблюдать требования по охране окружающей среды и, в частности, указания, содержащиеся в Правилах охраны поверхностных вод от загрязнения сточными водами.
11.1 Контрольно-инспекторские освидетельствования портовых сооружений производятся ежегодно в установленном порядке в составе проверки готовности порта (пристани) к навигации комиссией, назначаемой приказом начальника пароходства, и имеют целью:
проверку технического состояния сооружений;
проверку качества выполненных ремонтных работ;
выявление объектов капитального ремонта на предстоящий период с составлением титульного списка работ;
проверку обеспеченности ремонтно-строительными материалами, инструментами и инвентарем;
проверку подготовленности персонала к эксплуатации сооружений.
11.2. Результаты контрольно-инспекторских осмотров оформляются актом и заносятся в журнал (приложение 3). Все предписания комиссии инспекторского осмотра являются обязательными для выполнения.
11.3. При необходимости контрольно-инспекторские осмотры сопровождаются выполнением инструментальных измерений, извлечением образцов конструкционных материалов сооружений и выборочным вскрытием особо ответственных узлов сооружений.
11.4. Специальные внеочередные обследования сооружений, связанные с аварийными повреждениями, нанесенными ледоходом, паводком, волнением, судами, перегрузочными механизмами и т.п., производятся специальной комиссией, назначаемой приказом начальника порта (пристани).
В случае необходимости для участия в работе комиссии, наряду с работниками порта (пристани) привлекаются представители проектных и научно-исследовательских организаций, а также капитан судна (или его представитель), если повреждение сооружению нанесено судном. Капитан судна не имеет права уклоняться от участия в работе комиссии.
11.5. При внеочередном обследовании устанавливается возможность дальнейшей эксплуатации сооружения до производства ремонтных работ, а в случаях причальных сооружений на основании Методических указаний по эксплуатации и усилению причальных сооружений, имеющих локальные повреждения, определяется допустимый режим эксплуатации поврежденных сооружений и назначается перечень мероприятий, которые должны быть выполнены до ввода сооружения в нормальную эксплуатацию.
12.1. Для обеспечения сохранности сооружений в период ледохода и паводка разрабатываются специальные мероприятия, которые утверждаются начальником порта.
12.2. Для беспрепятственного стока воды к водоотводным и водопропускным устройствам в необходимых местах заблаговременно должен быть расчищен снег и лед.
12.3. Для предотвращения повреждения безраспорных сооружений при подвижках льда или зимних колебаниях уровня воды на акваториях лед, примерзший к элементам конструкции, следует окалывать. Ширина проруби вдоль сооружения должна быть 0,5 - 1 м. За состоянием прорубей следует вести наблюдения. Если по прогнозу ожидаются тяжелые условия ледохода, вблизи сооружений необходимо вырубать поперечные и продольные борозды, разделяющие ледяное поле в полосе ширины 15 - 20 м на квадраты с размерами сторон 3 - 6 м.
12.4. За прохождением льда и паводка следует вести наблюдения с тем, чтобы своевременно принять меры при возникновении угрозы сооружениям.
12.5. В период ледохода и паводка к работам по защите сооружений привлекается при необходимости весь персонал порта (пристани).
12.6. По окончании паводка сооружения, подвергавшиеся затоплению, вводятся в эксплуатацию после устранения всех повреждений и освидетельствования комиссией, назначенной начальником порта (пристани).
13.1. Ремонт портовых сооружений должен обеспечивать их удовлетворительное техническое состояние, требуемую долговечность и надежность.
При выполнении ремонтных работ надлежит руководствоваться Положением о проведении планово-предупредительного ремонта морских и речных портовых, судоходных и судоподъемных гидротехнических сооружений, утвержденным Госстроем СССР 9 марта 1966 г., Положением о проведении планово-предупредительного ремонта производственных зданий и сооружений, утвержденным Госстроем СССР 29 декабря 1973 г., Положением о проведении планово-предупредительного ремонта жилых и общественных зданий, утвержденным Госстроем СССР 8 сентября 1964 г., Временными техническими указаниями по ремонту портовых гидротехнических сооружений, утвержденными Главпортом Министерства речного флота 15 февраля 1974 г.
13.2. Периодичность капитального ремонта портовых сооружений в зависимости от их конструктивных признаков и назначения указана в приложении 4.
13.3 Основные ремонтные работы в портах должны, как правило, производиться в межнавигационный период. Ремонтные работы в период навигации, связанные с выводом сооружения из эксплуатации, допускаются с разрешения начальника пароходства.
13.4. Состав и объемы ремонтных работ должны определяться на основе анализа результатов наблюдений за сооружениями и их обследований. Сроки и последовательность ведения работ должны быть отражены в годовых графиках текущего и капитального ремонта.
13.5. Перед началом ремонта сооружений, не выводимых на ремонтный период из напряженного состояния, необходимо в соответствии с Методическими указаниями по повышению несущей способности и определению эффективности ремонта портовых сооружений установить ожидаемую степень повышения несущей способности сооружений и сравнить ее с необходимой по эксплуатационным требованиям. Если степень восстановления несущей способности сооружения после ремонта оказывается недостаточной, то необходимо принять меры по уменьшению напряжений, действующих в ремонтируемых элементах в период ведения ремонтных работ, до необходимых по расчету значений.
13.6. Все изменения, внесенные в конструкции портовых сооружений в процессе ремонта, должны быть своевременно отражены в техническом паспорте порта (пристани).
13.7. При приемке работ по капитальному ремонту портовых сооружений следует руководствоваться указаниями СНиП III-3-81.
13.8. Финансирование капитального ремонта портовых сооружений осуществляется в соответствии с Инструкцией о порядке финансирования и кредитования капитального ремонта основных фондов № 11, утвержденной 27 декабря 1979 г. Госбанком СССР, а также Протоколом № 18 Совещания по вопросу об улучшении организации капитального ремонта зданий и сооружений производственного назначения в Минречфлоте от 27 июня 1972 г.
13.9. Финансирование текущего ремонта и содержания портовых сооружений производится за счет средств, предусмотренных в плане производственной деятельности порта (пристани).
14.1. Прием в постоянную эксплуатацию всех построенных или прошедших реконструкцию портов (пристаней), а также отдельных портовых сооружений и устройств производится в соответствии с положениями СНиП III-3-81 «Приемка в эксплуатацию законченных строительством предприятий, зданий и сооружений. Основные положения».
14.2. Проектом должно быть при необходимости предусмотрено испытание сооружений под нагрузкой перед их приемом в постоянную эксплуатацию.
14.3. Принятые в постоянную эксплуатацию порты (пристани), а также отдельные портовые сооружения должны иметь техническую документацию, перечисленную в п. 2.2 настоящих Правил.
14.4. Приемка законченных объектов капитального ремонта производится комиссией, назначенной приказом руководителя предприятия или организации, утверждавшей проектно-сметную документацию.
ВРЕМЕННАЯ ИНСТРУКЦИЯ ДЛЯ РАБОТНИКОВ ПОРТОВ ПО НАБЛЮДЕНИЮ ЗА ПОРТОВЫМИ СООРУЖЕНИЯМИ
I.1. Настоящая Инструкция регламентирует состав и порядок наблюдений за техническим состоянием причальных набережных в портах и на пристанях МРФ РСФСР, осуществляемых персоналом порта (пристани) с целью обеспечения эффективной технической эксплуатации сооружений (поддержание высокой надежности конструкций при наиболее полном использовании резервов их несущей способности).
Инструкция не распространяется на специальные виды наблюдений и натурные исследования, выполняемые научно-исследовательскими и проектными организациями с целью выявления действительной несущей способности или причин ускоренного разрушения причальных сооружений.
I.2. Предусматриваемый инструкцией состав наблюдений обеспечивает получение информации о состоянии сооружений в объеме, необходимом для выполнения требований Правил технической эксплуатации портовых сооружений.
I.3. Наблюдения за причальными сооружениями организуются руководством порта и проводятся лицами, ответственными за техническое состояние причальных набережных.
I.4. На строящихся причальных сооружениях для проведения в дальнейшем необходимых наблюдений следует предусматривать при проектировании и заказывать при возведении сооружений реперные сети и монтировать необходимое стационарное оборудование.
Обязательным элементом подготовки к наблюдениям за сооружениями являются подбор, систематизация и анализ технической документации, отражающей проектные данные о сооружении (расчетные нагрузки, проектные отметки заглубления шпунта, положения дна, территории, уровней воды в акватории и засыпке, проектные прочностные характеристики материалов элементов конструкции и грунтов засыпки и основания и т.п.) и имеющиеся отклонения от проектных решений и технологии производства работ (последовательности засыпки грунтом пазух распорных причальных набережных, метода уплотнения грунта засыпки, технологии натяжения анкерных тяг, действительных сечений элементов сооружений, прочности материалов элементов конструкций и т.д.). Наряду с этим необходимо фиксировать сведения и документы об имевшихся или имеющихся нарушениях заданного режима эксплуатации сооружений (перегрузках, имевшихся повреждениях и т.д.).
I.5. Наблюдения, осуществляемые в процессе эксплуатации причальных сооружений, ведутся визуальными и инструментальными методами и подразделяются на два вида:
1) наблюдения за режимом эксплуатации и внешними воздействиями на сооружения;
2) наблюдения за техническим состоянием сооружений.
Наблюдения за режимом эксплуатации и внешними воздействиями на сооружения включают:
проверку соответствия фактических нагрузок и режима работы средств портовой механизации и транспорта паспортным данным;
наблюдения за уровнем грунтовых вод и агрессивностью окружающей и водогрунтовой среды;
контроль изменения плотности грунта засыпки;
проверку наличия в прикордонной полосе блуждающих токов и токов утечки.
Наблюдения за техническим состоянием сооружений включают:
визуальное обследование конструкций;
промеры глубин в прикордонной полосе акваторий;
наблюдения за смещениями сооружений в плане;
наблюдения за высотными смещениями сооружений;
наблюдения за креном сооружений;
наблюдения за состоянием материалов элементов конструкций причальных сооружений;
контроль состояния прикордонных подкрановых путей.
I.6. Результаты наблюдений используются для оценки действительной несущей способности и обоснованного назначения необходимого режима эксплуатации причальных сооружений.
На основе обобщения данных, получаемых в результате наблюдений в соответствии с Положением о проведении планово-предупредительного ремонта морских и речных портовых, судоходных и судоподъемных гидротехнических сооружений, утвержденным приказом Госстроя СССР от 9 марта 1966 г., уточняются сроки проведения и категория ремонта конструкций.
I.7. Методика и периодичность наблюдений зависят от типа конструкций, технического состояния сооружений, интенсивности и длительности их эксплуатации, гидрогеологических условий объекта, агрессивности окружающей среды по отношению к конструкционным материалам сооружений.
Необходимая периодичность наблюдений за сооружениями, находящимися в удовлетворительном техническом состоянии, указана в приложении 1.1, а перечень приборов и оборудования - приложении 1.2.
I.8. Во всех случаях, когда проявляются отклонения от нормальной работы сооружений, за сооружениями организуется непрерывное наблюдение и принимаются неотложные меры по выявлению и устранению причин, вызывающих снижение несущей способности конструкций.
Признаки, при которых организуется непрерывный контроль за сооружением или его элементами:
сверхрасчетные плановые и высотные смещения сооружения;
незатухающая или прогрессирующая во времени деформация отдельных элементов или сооружения в целом;
возникновение изломов несущих элементов конструкций;
резкое снижение прочности материала несущих элементов сооружения.
I.9. При производстве наблюдений за причальными сооружениями необходимо строго соблюдать требования, приведенные в прилагаемых к приборам паспортах и заводских инструкциях, и выполнять правила техники безопасности.
I.10. Наблюдения за находящимися во взаимной связи факторами, характеризующими состояние сооружения и внешние воздействия на него, должны производиться одновременно.
I.11. Результаты наблюдения фиксируются в журналах (приложение 1.3) и оперативно обрабатываются. Полученные данные систематизируются в виде таблиц и графиков по видам наблюдений.
I.12. Для установления причин ускоренного разрушения, а также при необходимости выявления резервов несущей способности конструкций причальных сооружений производятся специальные натурные исследования. Для их выполнения рекомендуется привлекать специализированные научно-исследовательские организации. Такие исследования должны проводиться, как правило, при участии лиц, ответственных за техническое состояние причальных сооружений порта.
II.1. В процессе наблюдений за фактической загрузкой складских площадей фиксируется интенсивность нагрузок в различных зонах прикордонной полосы.
II.2. Наблюдения за загрузками производятся на полосе, ширина которой регламентируется паспортом причальной набережной или проектом.
II.3. Результаты наблюдений указываются на рабочих картах, форма которых приведена в приложении 1.4.
II.4. Ежегодно в конце навигации карты анализируются. Анализ рабочих карт позволяет оценить интенсивность эксплуатации различных участков причальных набережных за навигацию.
II.5. Действительная нагрузка на различных участках прикордонной полосы устанавливается:
для штучных грузов по имеющимся данным об их массе;
для навалочных грузов путем обмера штабелей и контроля объемной массы материала.
II.6. Для определения нагрузок от навалочных грузов используются следующие технические средства:
стальная 20-метровая мерная лента, которой измеряются размеры штабеля в плане;
эклиметр (шифр по каталогу приборной продукции номенклатуры «Союзглавприбор», М., 1969, 0729921) для измерения крутизны откосов штабелей; оптический высотометр ВМ (шифр 0729132) для определения высоты штабелей;
режущее кольцо диаметром 100 мм или режущие кольца полевой лаборатории ПЛЛ-9. При крупных фракциях материала используются мерные кубы объемом 0,25 м3.
Подробные указания по пользованию перечисленными техническими средствами содержатся в прилагаемых к ним заводских инструкциях.
II.7. В процессе наблюдения за режимом работы средств портовой механизации и транспорта регистрируются:
типы подвижного состава (с указанием марок локомотивов);
скорости прохождения составов по прикордонным железнодорожным путям;
типы перегрузочных машин (портальные, гусеничные, автомобильные краны, машины непрерывного действия и т.д.);
характер и интенсивность эксплуатационных взрывов, осуществляемых для рыхления навалочных грузов.
Напор грунтовой воды на причальные набережные может возникать при понижении уровня воды на акватории и при переработке сыпучих грузов методом гидромеханизации в случаях, когда отсутствуют или неудовлетворительно функционируют дренажные устройства.
II.8. Напор вычисляется как разность между отметкой уровня грунтовой воды непосредственно за причальной стенкой и отметкой уровня воды на акватории.
Измерения напора должны выполняться с точностью до 0,1 м.
II.9. Результаты наблюдений за напором грунтовой воды оформляются в виде графиков измерения напора во времени для характерных участков причалов.
II.10. Наблюдательные скважины (пьезометры) следует располагать вдоль линии кордона на удалении не более 5 м от набережной. Расстояние между скважинами на причалах, оборудованных средствами гидромеханизации, не должно превышать 50 м; в остальных случаях указанное расстояние должно быть не более 200 м.
Общее число скважин на отдельно стоящих причалах и причалах малой протяженности должно быть не менее двух. Удаление скважины от концов причала должно быть не менее 10 м.
II.11. Конструкция пьезометров выбирается в зависимости от характера водовмещающих пород в соответствии с Указаниями по наблюдениям и исследованиям на судоходных гидротехнических сооружениях (Л., Транспорт, 1968).
В приложении 1.5 показана типовая конструкция пьезометра, применяемого для песчаных грунтов.
Следует принимать необходимые меры по обеспечению сохранности наблюдательных скважин.
От относительной плотности грунта засыпки за причальными стенками зависит допустимый режим эксплуатации средств портовой механизации и транс порта в прикордонной полосе. Наибольший уровень вибраций, создаваемых работающими и движущимися перегрузочными машинами и транспортом, должен соответствовать имеющейся относительной плотности грунта засыпки - в противном случае причальное сооружение окажется подверженным воздействию дополнительных нагрузок.
Изменение плотности грунтовой засыпки может происходить под воздействием вибраций, возникающих при эксплуатации причала, а также вследствие вытекания грунта на акваторию из-за дефектов грунтозащитных устройств.
II.12. Пробы грунта засыпки для определения ее относительной плотности берутся на всем протяжении причальной набережной в створах, отстоящих один от другого на 50 - 100 м. Места извлечения проб в каждом створе назначаются вблизи кордонной и тыловой ниток подкрановых путей и между подпортальными железнодорожными путями с соблюдением правил техники безопасности при расположении шурфов в районах прилегания трасс электрокабелей (приложение 1.6). При сплошном покрытии территории причалов предусматриваются участки, перекрываемые сборными железобетонными плитами. Створы, в которых берутся пробы грунта, желательно периодически менять.
II.13. Пробы извлекают с помощью режущих колец диаметром 100 мм или колец из комплекта ПЛЛ-9. Относительная плотность грунта засыпки определяется по методике, изложенной в работах: «Методические указания по определению физико-механических свойств грунтов в полустационарной лаборатории изыскательских экспедиций» (ЦНИИС) (М., Оргтрансстрой, 1961) и А.М. Васильева «Основы современной методики и техники лабораторных определений физических свойств грунтов» (М., 1958).
II.14. Результаты наблюдений за динамикой изменения плотности засыпки оформляются в виде графика зависимости относительной плотности от времени.
Агрессивные воздействия окружающей среды способны привести к разупрочнению и разрушению бетона и интенсивной коррозии металла.
II.15. В процессе эксплуатации причальных сооружений следует вести наблюдения за уровнем агрессивности воды на акватории, грунтовой воды и грунта засыпки.
II.16. Пробы грунтовой воды извлекаются из скважин, предназначенных для проведения наблюдений, предусмотренных § 2.
Пробы воды из акватории берутся в створах соответствующих наблюдательных скважин. При взятии проб используются водоносы ГГП-19 (шифр 0726168) или ГГП-20 (шифр 0726176).
II.17. Химические анализы извлеченных проб воды следует производить силами специализированных организаций.
В результаты выполненных анализов должны быть установлены:
общекислотная агрессивность воды;
сульфатная агрессивность воды;
агрессивность воды по содержанию иона магния;
агрессивность воды по содержанию свободной углекислоты и углекислотных солей;
агрессивность воды по способности к выщелачиванию бетона.
II.18. Уровень агрессивности грунта засыпки определяется в створах наблюдательных скважин. Коррозионная активность грунта засыпки оценивается по его удельному электрическому сопротивлению с помощью четырехэлектродного прибора МС-08 или прибора ЭП-1М.
Указания по пользованию приборами содержатся в специальной литературе (например, Глазков В.И. Защита от коррозии протяженных металлических сооружений. М., Недра, 1969).
II.19. Результаты измерений уровня агрессивности окружающей среды обрабатываются в виде графиков изменения показателей агрессивности во времени и сопоставляются с соответствующими нормативными показателями, содержащимися в СНиП II-28-73 (М., Стройиздат, 1980).
Интенсивность электрохимического коррозирования элементов конструкций существенно зависит от плотности блуждающего тока и тока утечки.
II.20. Для выявления опасности коррозии, вызываемой блуждающими токами, выполняются измерения:
разности потенциалов между подземными частями причальных сооружений и землей;
силы и направления тока в подземной зоне сооружения;
плотности тока утечки.
II.21. Для проведения указанных измерений может быть использован коррозионно-измерительный прибор КИП-57 или другие аналогичные приборы.
II.22. На основании результатов измерений в соответствии с СН 65-76 (М., Стройиздат, 1977) решается вопрос о необходимости электрической защиты сооружений.
Визуальные обследования причальных сооружений включают регулярные освидетельствования надводных частей конструкций и периодические водолазные осмотры их подводных частей.
III.1. Водолазные осмотры сооружений, находящихся в удовлетворительном техническом состоянии, производятся один раз в год, как правило, в межнавигационный период. Результаты осмотра оформляются актами.
III.2. В процессе визуальных обследований фиксируется состояние наружных частей конструкции, просадки территории и состояние подкрановых путей в прикордонной полосе, состояние температурных и осадочных швов.
III.3. Результаты осмотров подробно излагаются в журнале наблюдений, форма которого приведена в приложении 1.3, а данные водолазных осмотров дополнительно оформляются актами.
III.4. Промеры глубин выполняются в полосе, ширина которой назначается в зависимости от свободной высоты причальной набережной.
При свободной высоте стенки до 10 м ширина полосы должна быть не менее 20 м, при свободной высоте стенки более 10 м - не менее 25.
Продольные и поперечные промерные створы разбиваются с шагом 5 м.
Точность измерений глубин должна быть не ниже 5 см.
III.5. Результаты измерений фиксируются в журнале и по ним строятся изобаты глубин.
Плановые смещения причальных сооружений являются одним из наиболее характерных показателей их технического состояния. Величины смещений позволяют судить о напряженном состоянии сооружений и грунтов оснований, а характер их развития дает материал для прогнозирования изменения несущей способности конструкций на последующий период времени.
III.6. Наблюдения ведутся за каждой секцией причального сооружения в створе, располагаемом, по возможности, в середине секции.
III.7. Наблюдения рекомендуется производить с помощью дистанционной измерительной системы ЛИВТа. Указанная система устанавливается стационарно, не создает помех для эксплуатации причалов и позволяет регистрировать смещения с точностью 1 мм.
Допускается применять измерительную систему ЛИВТа без дистанционного приемника показаний. В этих случаях снимаются отсчеты в приборном кольце непосредственно по стрелке первичного прибора.
Схема установки измерительной системы приведена в приложении 1.7.
III.8. При отсутствии указанной в п. III.7 дистанционной системы наблюдения следует вести геодезическими методами.
III.9. Для осуществления геодезических наблюдений на причалах разбиваются опорная и наблюдательная реперная сеть. Схема размещения сетей зависит от расположения причальных сооружений, от планировки и застройки портовой территории.
Возможные схемы реперных сетей показаны в приложении 1.8.
III.10. При разбивке реперных сетей следует руководствоваться Временными указаниями по наблюдениям за смещениями портовых гидротехнических сооружений геодезическими методами (1965 г.).
III.11. Опорные и контрольные реперы следует выполнять в соответствии со схемами, приведенными в настоящей Инструкции (приложение 1.9).
Конструкции кордонных марок и закладных частей в головках реперов следует изготовлять по чертежам, помещенным в Методических указаниях по организации натурных исследований причальных набережных из сборного железобетона (1970 г.).
Типовые конструкции реперов для различных грунтовых условий приведены в приложении 1.9, а кордонных марок - в приложении 1.10.
III.12. Реперы предохраняются от механических повреждений колпаками на бетонных подушках, а кордонные марки - металлическими стаканами с крышками.
III.13. Если в процессе эксплуатации сооружения опорный репер или кордонная марка окажутся поврежденными или уничтоженными, то их восстанавливают на том же месте и присваивают тот же номер с литером «Н» и привязывают к опорной реперной сети. Продолжительность восстановления репера или марки не должна превышать одного месяца.
III.14. На опорные реперы составляются ведомости (приложение 1.11), где дается их описание и дата установки. Составляется также план порта с расположением и привязкой опорных реперов и марок.
III.15. Величины плановых смещений причальных сооружений фиксируются путем измерения линий между кордонными марками и реперами.
Указанные измерения рекомендуется производить с помощью компарированных мерных лент, снабженных динамометрами. Точность измерения должна быть не ниже 2 мм.
Измерения могут выполняться также створными методами. Для ведения створных измерений рекомендуется применять теодолит БТ1, ОТ-02 и ординатометр конструкций Гипроречтранса1 или ЦНИИМФа.
_____________
1 Методические указания по организации натурных исследований причальных набережных из сборного железобетона. М., Гипроречтранс, 1970.
III.16. Результаты измерений заносятся в журнал (приложение 1.3) и используются для построения текущих графиков изменения смещений сооружений во времени и в зависимости от интенсивности нагрузок на причалах (конструкция визирной и подвижной марок приведена в приложении 1.14).
III.17. Наблюдения за высотными смещениями производятся на причальных набережных всех типов, кроме шпунтовых стенок.
III.18. Наблюдения ведутся геодезическими методами с соблюдением правил, предусмотренных Инструкцией по нивелированию I, II, III и IV классов, утвержденной Главным управлением геодезии и картографии (М., Недра, 1968).
В качестве опорной высотной наблюдательной сети используются реперы и кордонные марки, обеспечивающие выполнение наблюдений, предусмотренных § 3 настоящей главы.
III.19. Нивелировка осуществляется по III классу точности с использованием нивелира НА-1 и штриховых реек.
III.20. По результатам наблюдений за вертикальными смещениями причальных сооружений строятся продольные профили и графики нарастания смещений во времени и в зависимости от интенсивности нагрузок на причалах.
III.21. Крен лицевой плоскости причальных сооружений фиксируется на каждой секции сооружений по возможности вблизи середины секции.
III.22. В качестве приборов для измерения крена причальных сооружений рекомендуется применять оптический квадрант КО-1 или приставной прибор ЛИВТа ПИ-2.
III.23. Результаты наблюдений за креном причальных сооружений обрабатываются в виде графиков изменения крена во времени и в зависимости от интенсивности нагрузок на причалах.
Состояние конструкционных материалов причальных сооружений в существенной степени характеризует их несущую способность.
Данные о характере изменения прочности материалов во времени позволяют правильно планировать сроки ремонта, прогнозировать изменение несущей способности и особенно назначать режим эксплуатации сооружений.
Наблюдения за состоянием конструкционных материалов ведутся визуальными и инструментальными методами.
III.24. Визуальные наблюдения за состоянием конструкционных материалов причальных сооружений производятся в процессе освидетельствований, предусмотренных § 1 настоящей главы Инструкции.
III.25. При визуальных осмотрах состояния бетона фиксируются:
шероховатость поверхностей;
плотность и структура поверхностного слоя бетона;
наличие раковин, отслаивания и выкрашивания бетона;
обрастание бетона;
наличие трещин, сколов;
потеки, свидетельствующие о выщелачивании бетона;
наличие обнаженной арматуры в результате разрушения защитного слоя бетона.
III.26. При визуальных осмотрах стальных конструкций причальных сооружений фиксируются:
наличие трещин, изломов, вмятин, расхождения шпунтин;
состояние антикоррозионного покрытия;
характер коррозии (сплошная или точечная);
состояние наружных элементов крепления анкерных тяг.
III.27. При визуальных осмотрах деревянных конструкций причальных сооружений регистрируются:
целостность врубок и сопряжений;
трещины, сколы и изломы древесины;
наличие необходимых металлических креплений и их состояние;
наличие и глубина поражения древесины гнилью;
признаки деятельности древоточцев;
состояние антисептической защиты.
III.28. Результаты визуальных осмотров фиксируются в журнале (приложение 1.3) с привязкой к ориентирам (швартовные трубы, кордонные марки).
Для анализа динамики местных повреждений элементов конструкций причальных сооружений рекомендуется производить фотосъемку.
III.29. Для наблюдения за динамикой изменения прочности бетона причальных сооружений используются приборы ударного контроля прочности.
В качестве инструмента для проведения указанных наблюдений на современном этапе рекомендуется применять эталонный молоток Кашкарова (Кашкаров Н.П. Контроль прочности бетона и раствора в изделиях и сооружениях. М., Стройиздат, 1967). Схема молотка приведена в приложении 1.12.
III.30. При общем удовлетворительном техническом состоянии причального сооружения проверке методом ударного контроля подвергается 30 % однотипных элементов конструкций. При сплошных стенках измерения производятся в трех вертикальных створах на каждой секции.
III.31. Повторяемость измерений прочности бетона причальных сооружений указана в приложении 1.1 настоящей Инструкции. При наинизших уровнях воды на акватории следует производить добавочные измерения в зонах сооружений, находящихся обычно под водой.
III.32. Результаты измерений фиксируются в журнале, форма которого приведена в приложении 1.3 настоящей Инструкции. По получении данных строятся графики изменения прочности бетона на характерных участках причала.
III.33. При обнаружении снижения прочности поверхностного слоя бетона массивных причальных сооружений предпринимается контрольная проверка состояния бетона в глубине массивов.
К такой проверке, как правило, привлекают специализированную организацию. Для проведения методом колонкового бурения извлекают образцы, которые затем подвергают испытаниям. Подробные указания по проведению такого рода испытаний содержатся в книге «Рекомендации по оценке качества бетона гидротехнических сооружений по нормам» (Л., Энергия, 1968).
III.34. Степень коррозии стальных тонкостенных элементов причальных сооружений (шпунтов) проверяют путем засверливания отверстий 8 - 10 мм. Измерения рекомендуется осуществлять с помощью толщиномера, конструкция которого показана в приложении 1.13.
III.35. Для проверки степени коррозии стальных анкерных тяг и узлов их креплений к лицевой и анкерной стенкам производится отрывка шурфов. Степень коррозии измеряется с помощью штангенциркуля.
Проверке подвергается не менее двух шпунтин и одной анкерной тяги на каждой секции причальной набережной, где наблюдается наибольшая агрессивность окружающей среды.
III.36. Точность измерений по проверке степени коррозии стальных элементов причальных сооружений должна быть не ниже 0,1 мм.
III.37. Результаты наблюдений за коррозией оформляются в виде графиков зависимости коррозионного ослабления сечений элементов сооружений от времени.
ВИДЫ И ПЕРИОДИЧНОСТЬ НАБЛЮДЕНИЙ
|
Конструкции причальных сооружений |
Наблюдения за фактической загрузкой прикордонных площадей |
Наблюдение за гидростатическим напором грунтовой воды на причальные набережные (ведется при низших уровнях на акватории) |
Наблюдения за динамикой изменения плотности грунта засыпки (ведутся при положительной температуре воздуха) |
Наблюдение за агрессивностью водогрунтовой среды по отношению к конструкционным материалам |
Контроль за блуждающими токами |
Наблюдения за плановыми1 смещениями оснований |
Наблюдения за высотными смещениями (нескальные основания) |
Наблюдения за креном |
Визуальное обследование |
Водолазное обследование |
Промеры глубины в прикордонной полосе акватории в период навигации |
Наблюдения за изменением прочности бетона |
Наблюдения за коррозией металла |
|||||
|
при работе средств гидромеханизации |
при отсутствии средств гидромеханизации |
при наличии химических грузов |
при отсутствии химических грузов |
скальных |
нескальных |
при наличии агрессивных воздействий |
при отсутствии агрессивных воздействий |
при наличии агрессивных воздействий |
при отсутствии агрессивных воздействий |
|||||||||
|
Больверки из металлического шпунта |
Систематически |
Ежедневно |
Ежемесячно |
2 раза в год |
1 раз в 3 мес. |
1 раз в год |
2 раза в год |
- |
Ежемесячно |
- |
- |
Еженедельно |
Ежегодно |
Ежемесячно |
- |
- |
1 раз в год |
1 раз в 3 года |
|
Больверки из железобетонного шпунта |
То же |
То же |
То же |
То же |
То же |
2 раза в год |
1 раз в год |
- |
То же |
- |
- |
То же |
То же |
То же |
1 раз в 3 мес. |
Ежегодно |
То же |
То же |
|
Конструкция уголкового профиля |
» |
» |
» |
» |
» |
1 раз в год |
То же |
- |
» |
1 раз в 3 мес. |
Ежемесячно |
» |
» |
» |
То же |
То же |
» |
» |
|
Массивные гравитационные стенки |
» |
» |
» |
1 раз в год |
2 раза в год |
1 раз в 2 года |
1 раз в 3 мес. |
» |
2 раза в год |
То же |
» |
1 раз в 2 года |
» |
2 раза в год |
1 раз в 2 года |
- |
- |
|
|
Ряжевые конструкции |
» |
Ежемесячно |
» |
То же |
- |
- |
- |
Ежемесячно |
» |
1 раз в 3 мес. |
» |
» |
Ежегодно |
» |
- |
- |
- |
- |
|
Ряжевые конструкции с бетонной надстройкой |
» |
То же |
» |
» |
2 раза в год |
1 раз в 2 года |
- |
» |
То же |
» |
» |
То же |
» |
2 раза в год |
1 раз в 2 года |
- |
- |
|
|
Сквозные конструкции и конструкции рамного типа |
» |
» |
» |
- |
1 раз в 3 мес. |
1 раз в год |
1 раз в год |
- |
» |
2 раза в год |
» |
» |
» |
1 раз в 2 мес. |
1 раз в 3 мес. |
Ежегодно |
1 раз в год |
1 раз в 3 года |
|
Конструкции из массивов-гигантов |
» |
Ежедневно |
Еженедельно |
1 раз в год |
2 раза в год |
1 раз в 2 года |
То же |
1 раз в 3 мес. |
» |
То же |
» |
» |
» |
Ежемесячно |
То же |
» |
- |
- |
|
Высокие свайные ростверки |
» |
То же |
То же |
1 раз в 2 года |
То же |
То же |
» |
То же |
» |
1 раз в год |
1 раз в 3 мес. |
» |
1 раз в 2 года |
1 раз в 2 мес. |
1 раз в 3 мес. |
» |
- |
- |
|
1 Наблюдения за плановыми смещениями причальных сооружений на ползучих основаниях ведутся по специальной программе, задаваемой проектной организацией иди научно-исследовательским институтом, выдавшим технический паспорт сооружений. 2 При наличии обоснованных указаний на возможность интенсивного размыва дна производятся внеплановые промеры глубин. |
||||||||||||||||||
ПЕРЕЧЕНЬ ПРИБОРОВ И ОБОРУДОВАНИЯ
|
№ пп. |
Наименование, тип, марка |
Шифр по Каталогу приборной номенклатуры Союзглавприбора |
Примечание |
|
1 |
Теодолит оптический ТБ-1 или ОТ-02 |
- |
|
|
2 |
Нивелир прецизионный глухой НА-1 |
- |
|
|
3 |
Уровнемер барабанный УБ-1 |
0726133 5814130001 ч. IV |
|
|
4 |
Водонос ГГП-19, ГГП-20 |
0726168, 0726176 ч. IV |
|
|
5 |
Рулетка горная РГ-30 |
0729303 ч. IV |
|
|
6 |
Полевая лаборатория ПЛЛ-9 |
0729358 |
|
|
7 |
Эклиметр цилиндрический |
0729221 ч. IV |
|
|
8 |
Коррозионно-измерительный прибор КИП-57 |
0720232 |
|
|
9 |
Высотомер ВМ |
0729132 |
|
|
10 |
Рейки нивелирные, прецизионные |
||
|
11 |
Ординатометр, визирная марка, столик под теодолит |
Разработано Гипроречтрансом |
|
|
12 |
Термометр наружный |
- |
|
|
13 |
Фотоаппарат с комплектом объективов |
- |
|
|
14 |
Молоток Кашкарова |
- |
|
|
15 |
Секундомер |
- |
Примечание. В приведенный перечень не включено стационарное оборудование, установка которого должна, как правило, осуществляться при строительстве причальных сооружений (дистанционные измерительные системы плановых деформаций, пьезометры, марки, реперы).
ТИПОВЫЕ ЖУРНАЛЫ ВИЗУАЛЬНЫХ И ИНСТРУМЕНТАЛЬНЫХ НАБЛЮДЕНИЙ
Журнал визуальных наблюдений
Сооружение ______________
Начат _________________________ 19__ г.
Окончен ____________________ 19__ г.
|
Дата |
Местонахождение обнаруженных отклонений и дефектов |
Описание, характеристика, причина появления отклонений и дефектов |
Принятые меры |
Журнал наблюдений за плановыми смещениями
Сооружение ____________________
Начат _________________________ 19__ г.
Окончен ____________________ 19__ г.
Секция причального сооружения __________________________________
|
Дата |
№ марки _________________________ нулевой отсчет |
№ марки _______________________ нулевой отсчет |
Примечание |
||
|
расстояние от репера до марки |
величина смещения |
расстояние от репера до марки |
величина смещения |
||
Журнал наблюдений за вертикальными смещениями
Сооружение ____________________
Начат _________________________ 19__ г.
Окончен _______________________ 19__ г.
Секция причального сооружения _______________________________
|
Дата |
№ марки ________________________ начальная отметка |
№ марки ____________________ начальная отметка |
Примечание |
||
|
отметка марки |
величина смещения |
отметка марки |
величина смещения |
||
Журнал наблюдений за уровнями воды в пьезометрах
Сооружение ____________________
Начат _________________________ 19__ г.
Окончен ____________________ 19__ г.
|
Дата |
Отметка уровня воды на акватории |
Отметка уровня воды в пьезометрах |
Примечание |
||
|
№ 1 |
№ 2 |
№ 3 |
|||
Журнал инструментальных наблюдений за прочностью бетона
Сооружение ____________________
Начат _________________________ 19__ г.
Окончен _______________________ 19__ г.
|
Дата |
Местонахождение измерительных точек |
№ измерительной точки |
Диаметр отпечатка на бетоне dб |
Диаметр отпечатка на эталонном стержне dэ |
dб/dэ |
Предел прочности бетона |
|
1 |
2 |
3 |
4 |
5 |
6 |
7 |
КАРТА ФАКТИЧЕСКОГО ЗАГРУЖЕНИЯ ПРИЧАЛОВ РЕЧНОГО ПОРТА
Состояние на _____________________________________________________________
Начата __________________________________________________________________
Закончена _______________________________________________________________

L - ширина полосы, в пределах которой допускается нагрузка на причал (нормируется по условию прочности и устойчивости причального сооружения).
Участок 1 - длительность нахождения груза............................................................ суток
Участок 2 - длительность нахождения груза............................................................ суток
Примечания: 1. Частота обновления карт зависит от динамики изменения грузовой ситуации.
2. При изменении за относительно короткий период времени (сутки) интенсивности нагрузки в конкретной зоне причала на карте фиксируются только максимальные нагрузки в этой зоне.
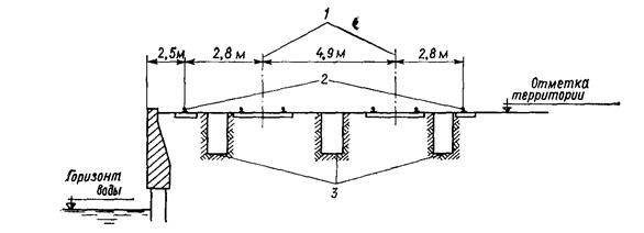
ТИПОВАЯ КОНСТРУКЦИЯ И ДЕТАЛИ ОТКРЫТОГО ПЬЕЗОМЕТРА

Рис. 1. Типовая конструкция открытого пьезометра:
1 - крышка; 2 - устье; 3 - мостовая; 4 - забивка суглинком; 5 - муфта; 6 - труба d - 60 ... 75 мм; 7 - засыпка фильтра промытым крупнозернистым песком или гравием; 8 - фильтр; 9 - обсадная труба d - 180 ... 200 мм; 10 - отстойник; 11 - пробка; 12 - гравийная подушка

Рис. 2. Детали открытого пьезометра:
1 - муфта; 2 - перфорированная труба d - 60 ... 75 мм; 3 - отверстия d - 4 ... 8 мм; 4 - отстойник; 5 - пробка; 6 - гофрированная пластмассовая сетка с перфорацией; 7 - стеклянная ткань; 8 - деревянные рейки; 9 - болт d - 10 ... 12 мм
СХЕМА ШУРФОВАНИЯ ПРИ ИЗВЛЕЧЕНИИ ПРОБ ГРУНТА

1 - ось прикордонных железнодорожных путей; 2 - прикордонный крановый путь; 3 - шурфы
СХЕМА УСТАНОВКИ АВТОМАТИЧЕСКОЙ СИСТЕМЫ РЕГИСТРАЦИИ ПЛАНОВЫХ СМЕЩЕНИЙ

ПРИМЕРЫ РАЗБИВКИ НАБЛЮДАТЕЛЬНОЙ И ОПОРНОЙ СЕТЕЙ ДЛЯ НАБЛЮДЕНИЯ ЗА ПЛАНОВЫМИ И ВЫСОТНЫМИ СМЕЩЕНИЯМИ ПРИЧАЛЬНЫХ СООРУЖЕНИЙ

Рис. 1. Торцовая часть ковша (створные наблюдения):
1, 2, 3, - кордонные марки; RpI, RpII - опорные реперы; А, Б, В, Г - контрольные реперы

Рис. 2. Корневая часть причала (линейные и створные наблюдения):
1, 2, 3 - кордонные марки; RpI, RpII - опорные реперы; А, Б, В, Г - контрольные реперы; ОНМ1 - опорная наблюдательная марка

Рис. 3. Причал большой протяженности (линейные и створные наблюдения):
1, 2, 3 - кордонные марки; RpI, RpII - опорные реперы; А, Б, В - контрольные реперы; OHM - опорные наблюдательные марки

Рис. 4. Причал, имеющий выступающий участок значительной протяженности или криволинейность в плане (линейные параллактические, угловые наблюдения):
1, 2, 3 - кордонные марки; αi, βi - величины малых углов между линией створа и наблюдательной маркой; А, Б, В, Г - контрольные реперы; ОНМ1 и ОНМ2 - опорные наблюдательные марки

а - грунтовой свайный репер; б - грунтовой репер (закладывается бурением):
1 - щебеночная подготовка; 2 - опорная плита; 3 - типовой колодец; 4 - труба d - 3"; 5 - бетон омоноличивания; 6 - коротыши; 7 - сальник; 8 - муфты; 9 - цемент; 10 - фонарь из полосового железа (наваривается); 11 - труба d = 6"; 12 - труба d = 2,5"; 13 - поддон металлический
ТИПОВАЯ КОНСТРУКЦИЯ КОРДОННОЙ МАРКИ

1 - центрировочное устройство; 2 - коробка знака; 3 - шапочный брус набережной; 4 - закладная планка
ТИПОВЫЕ ПАСПОРТА НА РЕПЕРЫ И ПЬЕЗОМЕТРЫ
Технический паспорт базисных и контрольных реперов
Сооружение ...........................................................................................................................
|
№ репера (марки) |
Дата установки |
Местоположение (марок) реперов |
Абсолютные (относительные) отметки |
||
|
x |
у |
подошвы |
головки |
||
Работы произвел ...................................................................................................................
Приложение: а) исполнительные чертежи реперов; б) схема расположения реперов.
Технический паспорт пьезометров
Сооружение ...........................................................................................................................
|
№ пьезометра |
Дата установки |
Место установки (координаты) |
Пьезометрическая труба |
Скважина |
Фильтр |
Фильтрационная обсыпка |
Водонепроницаемая забивка затрубок пространства |
||||||||||||
|
Труба диаметром, мм |
Отметка, м |
Диаметр, мм |
Отметка забоя, м |
Материал покрытия |
Диаметр, мм |
Отметка, м |
Материал обсыпки |
Отметка, м |
Материал забивки |
Отметка, м |
|||||||||
|
x |
у |
реза |
низа |
устья |
верха |
низа |
верха |
низа |
верха |
низа |
|||||||||
|
1 |
2 |
3 |
4 |
5 |
6 |
7 |
8 |
9 |
10 |
11 |
12 |
15 |
18 |
19 |
20 |
||||
Работы произвел ....................................................................................................................
Приложение: исполнительные чертежи пьезометров.

1 - головка; 2 - стакан; 3 - корпус; 4 - пружина; 5 - эталонный стержень; 6 - шарик; 7 - угловой масштаб

КОНСТРУКЦИЯ ВИЗИРНОЙ И ПОДВИЖНОЙ МАРОК ДЛЯ СТВОРНЫХ НАБЛЮДЕНИЙ

НОРМАТИВ ЧИСЛЕННОСТИ РАБОЧИХ В БРИГАДАХ ТЕКУЩЕГО СОДЕРЖАНИЯ ПОРТОВЫХ СООРУЖЕНИЙ ПО СПЕЦИАЛЬНОСТЯМ
|
Сооружения |
Количество рабочих на 100 м сооружений |
В том числе |
|||||
|
плотники, бетонщики |
штукатуры, маляры |
путевые рабочие |
слесари, сантехники |
арматурщики, кровельщики |
каменщики, мостовщики |
||
|
Причальные |
1,4 |
0,4 |
0,4 |
0,2 |
0,2 |
0,1 |
0,1 |
|
Оградительные и берегоукрепительные |
0,5 |
0,1 |
- |
- |
- |
0,1 |
0,3 |
|
Внутрипортовые коммуникации |
0,2 |
0,05 |
- |
- |
0,1 |
- |
0,05 |
Порт-пристань ______________________
ЖУРНАЛ
профилактических осмотров портовых сооружений
__________________________________________________________________________________________
(наименование сооружений)
|
Дата осмотра |
Объект осмотра |
Результаты осмотра |
Рекомендации комиссии |
|
1 |
2 |
3 |
4 |
Подпись членов комиссии:
ПЕРИОДИЧНОСТЬ КАПИТАЛЬНОГО РЕМОНТА ПОРТОВО-ПРИСТАНСКИХ СООРУЖЕНИЙ
|
№ п/п |
Наименование сооружений |
Периодичность капитального ремонта, лет |
|
1 |
2 |
3 |
|
Причальные сооружения |
||
|
1 |
Свайные ростверки с бутобетонной, бетонной или железобетонной надстройкой, железобетонные свайные эстакады |
20 |
|
2 |
Гравитационные набережные (железобетонные, из массивов-гигантов) с надстройкой из сборных железобетонных элементов, ряжевые с железобетонной, бетонной, бутобетонной и каменной надстройкой, стенка уголкового профиля из сборных железобетонных элементов, бетонные и каменные бычки |
20 |
|
3 |
Набережные из заанкерованного железобетонного шпунта |
20 |
|
4 |
Набережные из заанкерованного металлического шпунта |
20 |
|
5 |
Деревянные ряжевые набережные |
7 |
|
6 |
Деревянные эстакады, больверки из деревянного шпунта |
8 |
|
7 |
Откосные набережные с покрытием откосов железобетонными, бетонными плитами, каменной наброской |
15 |
|
Оградительные и берегоукрепительные сооружения |
||
|
8 |
Земляные волноломы и молы с покрытием откосов бетонным, железобетонным и каменным креплением |
15 |
|
9 |
То же, с хворостным креплением |
6 |
|
Площадки для хранения грузов и автодороги |
||
|
10 |
С бетонным покрытием |
15 |
|
11 |
С асфальтовым покрытием |
10 |
СОДЕРЖАНИЕ