ФЕДЕРАЛЬНОЕ АГЕНТСТВО
ПО ТЕХНИЧЕСКОМУ РЕГУЛИРОВАНИЮ И МЕТРОЛОГИИ
|
|
НАЦИОНАЛЬНЫЙ |
ГОСТ
Р ИСО |
ПОДЪЕМНИКИ ДЛЯ ИНВАЛИДОВ
Требования и методы испытаний
ISO 10535:2006
Hoists for the transfer of disabled persons - Requirements
and test methods
(IDT)
|
|
Москва Стандартинформ 2011 |
Предисловие
Цели и принципы стандартизации в Российской Федерации установлены Федеральным законом от 27 декабря 2002 г. № 184-ФЗ «О техническом регулировании», а правила применения национальных стандартов Российской Федерации - ГОСТ Р 1.0-2004 «Стандартизация в Российской Федерации. Основные положения»
Сведения о стандарте
1 ПОДГОТОВЛЕН Федеральным государственным унитарным предприятием «Российский научно-технический центр информации по стандартизации, метрологии и оценке соответствия» (ФГУП «СТАНДАРТИНФОРМ») на основе собственного аутентичного перевода на русский язык стандарта, указанного в пункте 4
2 ВНЕСЕН Техническим комитетом по стандартизации ТК 381 «Технические средства для инвалидов»
3 УТВЕРЖДЕН И ВВЕДЕН В ДЕЙСТВИЕ Приказом Федерального агентства по техническому регулированию и метрологии от 17 сентября 2010 г. № 247-ст
4 Настоящий стандарт идентичен международному стандарту ИСО 10535:2006 «Подъемники для инвалидов. Требования и методы испытаний» (ISO 10535:2006 «Hoists for the transfer of disabled persons - Requirements and test methods»).
При применении настоящего стандарта рекомендуется использовать вместо ссылочных международных стандартов соответствующие им национальные стандарты Российской Федерации, сведения о которых приведены в дополнительном приложении ДА
5 ВЗАМЕН ГОСТ Р ИСО 10535-99
Информация об изменениях к настоящему стандарту публикуется в ежегодно издаваемом информационном указателе «Национальные стандарты», а текст изменений и поправок - в ежемесячно издаваемых информационных указателях «Национальные стандарты». В случае пересмотра (замены) или отмены настоящего стандарта соответствующее уведомление будет опубликовано в ежемесячно издаваемом информационном указателе «Национальные стандарты». Соответствующая информация, уведомление и тексты размещаются также в информационной системе общего пользования - на официальном сайте Федерального агентства по техническому регулированию и метрологии в сети Интернет
СОДЕРЖАНИЕ
Предисловие к ИСО 10535:2006
ИСО (Международная организация по стандартизации) является всемирной федерацией национальных органов по стандартизации (членов ИСО). Разработка международных стандартов обычно осуществляется Техническими комитетами ИСО. Каждая организация - член ИСО, заинтересованная в деятельности, для которой она была создана, имеет право быть представленной в этом комитете. Международные правительственные и неправительственные организации, имеющие связи с ИСО, также принимают участие в работах. ИСО тесно взаимодействует с Международной электротехнической комиссией (МЭК) по всем вопросам стандартизации электротехники.
Проекты международных стандартов разрабатываются в соответствии с правилами Директив ИСО/МЭК, часть 2.
Основной задачей Технических комитетов является подготовка международных стандартов. Проекты международных стандартов, принятые Техническими комитетами, рассылаются организациям-членам на голосование. Их опубликование в качестве международного стандарта требует одобрения не менее 75 % организаций-членов, принимавших участие в голосовании.
Следует обратить внимание на возможность наличия в настоящем стандарте некоторых элементов, которые могут быть объектом патентного права. ИСО не несет ответственности за идентификацию некоторых или всех таких патентных прав.
ИСО 10535 подготовлен Техническим комитетом СЕН/ТК 293 «Технические устройства и приспособления для инвалидов» Европейского комитета по стандартизации (СЕН) совместно с Техническим комитетом ИСО/ТК 173 «Технические устройства и приспособления для инвалидов», подкомитетом ПК 6 «Подъемники для перемещения инвалидов» в соответствии с соглашением о техническом сотрудничестве между ИСО и СЕН (Венское Соглашение).
Настоящее второе издание отменяет и заменяет первое издание (ИСО 10535:1998), являясь его технической переработкой.
Введение
Как видно из практики, профессии, связанные с уходом и обслуживанием инвалидов, связаны с большими физическими усилиями при их обслуживании. Подъемник предоставляет безопасные средства для подъема с поддержкой и переноса либо в сочетании с другими средствами, либо самостоятельно.
НАЦИОНАЛЬНЫЙ СТАНДАРТ РОССИЙСКОЙ ФЕДЕРАЦИИ
ПОДЪЕМНИКИ ДЛЯ ИНВАЛИДОВ
Требования и методы испытаний
Hoists for the transfer of disabled persons. Requirements and test methods
Дата введения - 2011-10-01
Настоящий стандарт устанавливает требования и методы испытаний для подъемников и систем опоры тела следующих классификационных группировок по ИСО 9999:2002:
- 12 36 03 Подъемники передвижные с сиденьями, подвешенными на стропах;
- 12 36 04 Подъемники стоячие передвижные;
- 12 36 06 Подъемники передвижные с жесткими сиденьями;
- 12 36 09 Тележки крановые с вертикальным регулированием;
- 12 36 12 Подъемники стационарные, прикрепленные к стене/стенам, полу и/или потолку;
- 12 36 15 Подъемники стационарные, прикрепленные к другим изделиям или вмонтированные в другие изделия;
- 12 36 18 Подъемники стационарные свободностоящие;
- 12 36 21 Системы опоры тела для подъемников.
Настоящий стандарт не распространяется на подъемники, которые перемещают инвалидов между двумя уровнями (этажами) здания, и не устанавливает методы по определению старения или коррозии таких подъемников и устройств.
Требования настоящего стандарта сформированы с учетом потребностей как самих инвалидов, так и обслуживающего персонала, использующего такие подъемники.
В настоящем стандарте использованы нормативные ссылки на следующие стандарты. Для датированных ссылок применяют только указанные издания. Для недатированных ссылок применяют самые последние издания (включая любые изменения к стандартам).
ИСО 3746 Акустика. Определение уровня звуковой мощности источников шума по звуковому давлению. Контрольный метод с использованием огибающей поверхности измерения над плоскостью отражения (ISO 3746, Acoustics - Determination of sound power levels and sound energy levels of noise sources using sound pressure - Survey method using an enveloping measurement surface over a reflecting plane)
ИСО 3758 Изделия текстильные. Маркировка символами по уходу (ISO 3758, Textiles - Care labelling code using symbols)
ИСО 9999:2002 Технические средства реабилитации людей с ограничениями жизнедеятельности. Классификация и терминология (ISO 9999:2002, Technical aids for persons with disabilities - Classification and terminology)
ИСО 10993-1 Биологическая оценка медицинского оборудования. Часть 1. Оценка и испытания (ISO 10993-1, Biological evaluation of medical devices - Part 1: Evaluation and testing)
ИСО 14253-1 Геометрические характеристики изделий. Контроль измерением изделий и измерительная аппаратура. Часть 1. Правила принятия решения для доказательства соответствия или несоответствия техническим условиям (ISO 14253-1, Geometrical Product Specifications (GPS) - Inspection by measurement of workpieces and measuring equipment - Part 1: Decision rules for proving conformance or non conformance with specifications)
ИСО 14971 Изделия медицинские. Применение менеджмента риска к медицинским изделиям. (ISO 14971, Medical devices - Application of risk management to medical devices)
EH 614-1 Безопасность оборудования. Эргономические принципы конструирования. Часть 1. Терминология и общие принципы (EN 614-1, Safety of machinery - Ergonomic design principles - Part 1: Terminology and general principles)
EH 853 Шланги резиновые и шланги в сборе. Гидравлические шланги армированные металлическим проводом. Технические условия (EN 853, Rubber hoses and hose assemblies - Wire braid reinforced hydraulic type - Specification)
EH 854 Шланги резиновые и шланги в сборе. Гидравлические шланги армированные материей. Технические условия (EN 854, Rubber hoses and hose assemblies - Textile reinforced hydraulic type - Specification)
EH 980 Графические символы, используемые при маркировке медицинской аппаратуры (EN 980, Graphical symbols for use in the labelling of medical devices)
EH 1021-1 Мебель. Оценка воспламеняемости мебели с мягкой обивкой. Часть 1. Источник возгорания: тлеющая сигарета (EN 1021-1, Furniture - Assessment of the ignitability of upholstered furniture - Part 1: Ignition source: Smouldering cigarette)
EH 1021-2 Мебель. Оценка воспламеняемости мебели с мягкой обивкой. Часть 2. Источник возгорания: эквивалент пламени спички (EN 1021-2, Furniture - Assessment of the ignitability of upholstered furniture - Part 2: Ignition source: Match flame equivalent)
EH 12182:1999 Технические средства для лиц с ограничениями жизнедеятельности. Основные требования и методы испытаний (EN 12182:1999, Technical aids for disabled persons - General requirements and test methods)
EH 13480-3:2002 Металлические промышленные трубопроводы. Часть 3. Конструирование и расчет (EN 13480 3:2002, Metallic industrial piping - Part 3: Design and calculation
МЭК 60529 Степени защиты, обеспечиваемые оболочками (Код IP) [IEC 60529, Degrees of protection provided by enclosures (IP Code)]
МЭК 60601-1:2006 Электроаппаратура медицинская. Часть 1. Общие требования к общей безопасности и основные рабочие характеристики (IEC 60601-1:2006, Medical electrical equipment - Part 1: General requirements for basic safety and essential performance)
МЭК 60601-1-2:2005 Медицинские изделия электрические. Часть 1-2. Общие требования безопасности. Дополняющий стандарт. Электромагнитная совместимость. Требования и испытания (IEC 60601-1-2:2005, Medical electrical equipment - Part 1-2: General requirements for safety - Collateral standard: Electromagnetic compatibility - Requirements and tests)
МЭК 61000-3-2 Электромагнитная совместимость (ЭМС). Часть 3-2. Нормы. Нормы эмиссии излучений гармонических составляющих тока (потребляемый ток оборудования £ 16 А в одной фазе) [IEC 61000-3-2, Electromagnetic compatibility (EMC) - Part 3-2: Limits - Limits for harmonic current emissions (equipment input current u 16 A per phase)]]
МЭК 61000-3-3 Изменение 1 Электромагнитная совместимость (ЭМС). Часть З. Нормы. Раздел 3. Ограничения колебаний напряжения и фликера в низковольтных системах электроснабжения для оборудования с номинальным потребляемым током £ 16 A [IEC 61000-3-3 am1, Electromagnetic compatibility (EMC) - Part 3: Limits - Section 3: Limitation of voltage fluctuations and flicker in low voltage supply systems for equipment with rated current u 16 A)]
МЭК 61000-4-3 Электромагнитная совместимость (ЭМС). Часть 4-3. Методы испытаний и измерений. Испытание на устойчивость к излученному радиочастотному электромагнитному полю (IEC 61000 4-3, Electromagnetic compatibility (EMC) - Part 4-3: Testing and measurement techniques - Radiated, radio frequency, electromagnetic field immunity test)
МЭК 61672-1 Электроакустика. Шумомеры. Часть 1. Технические характеристики (IEC 61672-1, Electroacoustics - Sound level meters - Part 1: Specifications)
В настоящем стандарте применены следующие термины с соответствующими определениями:
3.1 неблагоприятное условие (adverse condition): Условие, при котором скорее всего произойдет отказ оборудования.
3.2 ассистент (attendant): Лицо, которое обслуживает подъемник при отсутствии обслуживающего персонала.
3.3 спинка (backrest): Часть системы опоры тела, поддерживающая спину пациента при его подъеме, транспортировании или перемещении, вместе с сопутствующими приспособлениями.
Пример - Системой опоры тела может быть петля, сиденье или носилки.
3.4 обратное направление (backwards): Направление под углом 180° к направлению движения.
3.5 подъемник для ванны (bathtub hoist): Оборудование, которое специально предназначено для использования непосредственно в ванной либо рядом с ней, с помощью которого инвалида можно поднимать, перемещать и переносить.
3.6 система опоры тела (body support unit): Часть подъемника, которая поддерживает тело человека при его подъеме, транспортировании или перемещении, вместе с сопутствующими приспособлениями.
Пример - Системой опоры тела может быть петля, сиденье или носилки.
3.7 потолочный подъемник (ceiling hoist): Подъемник, смонтированный на потолке или стене (стенах), включая систему перемещения.
3.8 центральная точка подвеса; ЦТП (central suspension point CSP): Контрольная точка подъемника, которую используют при измерениях.
Примечание - Этой точкой может быть точка подсоединения.
3.9 точка(и) подсоединения [connecting point(s)]: To место(а), к которому(ым) подсоединена система опоры тела.
3.10 устройства управления (control devices): Часть или части подъемника, которые управляют механизмами подъема и опускания ЦТП, а также выполняют другие действия.
3.11 ограничительное устройство (end limiting device): Устройство, которое останавливает любое перемещение в заранее определенном конечном пункте.
3.12 гибкое устройство (flexible device): Узел со связанными подсоединенными элементами, который выполняет функцию подъемного устройства.
Пример - Гибким устройством может быть цепь, лента или веревка.
3.13 подножка (footrest): Часть системы опоры тела, которая поддерживает ступни ног.
3.14 вперед (forwards): Выбранное направление движения, как это указано изготовителем в инструкции по применению.
3.15 свободностоящий стационарный подъемник (free-standing stationary hoist): Оборудование для перемещения путем подъема и переноса инвалида в области, ограниченной положением подъемника, свободностоящего на полу.
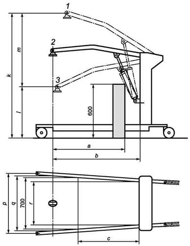
3.16 область подъема (hoisting range): Разность расстояний по вертикали между максимальной и минимальной высотами ЦТП. См. рисунок 1.
3.17 область досягаемости (hoisting reach): Свободное горизонтальное расстояние между устройством и вертикальной линией, проведенной через ЦТП при данной высоте в области подъема. См. рисунок 1 (b, с).
3.18 фиксатор запуска устройства управления (hold to run control device): Устройство(а) управления, которое приводит в действие и поддерживает работу подъемных элементов, когда включено ручное управление и автоматически возвращается в положение «Стоп» или «Выключено», когда ручное управление отпущено.
3.19 опора для ног (legrest): Часть системы опоры тела, которая поддерживает ноги.
3.20 поднимаемый человек (lifted person): Человек, которого перемещают подъемником.
3.21 цикл подъема (lifting cycle): Подъем и опускание подъемных механизмов на одно и то же расстояние в обоих направлениях.
3.22 подъемное устройство (lifting device): Средства подъема и опускания системы опоры тела.
3.23 подъемный механизм (lifting machinery): Устройство, которое выполняет функцию подъема.
Пример - Подъемным механизмом может быть гидравлический, механический или электрический аппарат.
3.24 фиксирующее устройство (locking gate): Устройство, которое гарантирует, что подъемник не может передвигаться от одной направляющей к другой до тех пор, пока обе направляющие не окажутся в правильном положении.
3.25 система блокировки (locking system): Средства, позволяющие надежно крепить жесткую систему опоры тела к подъемнику.
3.26 максимальная нагрузка (maximum load): Самая большая допустимая нагрузка, которая может быть приложена к подъемнику.
3.27 передвижной подъемник (mobile hoist): Оборудование, оснащенное устройством или устройствами (например, колесами), которое свободно перемещается по полу вместе с поднятым инвалидом и которое может двигаться независимо от неподвижно установленного или другого связанного с ним устройства.
3.28 многоцелевой подъемник (multi-purpose hoist): Часть оборудования, которая может быть собрана, возможно с другими частями, для обеспечения разнообразия операций.
3.29 нежесткая система опоры тела (non-rigid body-support unit): Устройство, которое изготовлено из эластичного материала и которое соответствует форме тела, с сопутствующими устройствами подсоединения к подъемному устройству подъемника.
1 - положение максимального подъема; 2 - максимально
допустимое положение;
3 - самое низкое положение; а - максимальная область досягаемости
при 600 мм (контрольная высота);
b - максимальная область досягаемости от основания; с -
область досягаемости от основания при ногах,
расставленных на расстояние до 700 мм; k - максимальная
высота ЦТП; l - минимальная высота ЦТП;
т - область подъема; р - максимальная внутренняя ширина; q - внутренняя ширина
при максимальной
области досягаемости; r - минимальная внутренняя ширина
Примечание - Этот пример представлен лишь схемой.
Рисунок 1 - Основные размеры передвижного подъемника
3.30 жесткая система опоры тела (rigid body-support unit): Сформованное сиденье или откинутое устройство, изготовленное из твердых материалов (при необходимости драпированных) или из эластичных материалов, помещенных в жесткий кожух, вместе со средствами крепления подъемного устройства к подъемнику.
3.31 единичное условие отказа (single fault condition): Условие, при котором единственный способ уменьшения риска отказа не применим, или существует одно несоответствующее условие.
3.32 место для сидения (sitting part): Часть системы опоры тела, предназначенная для сидения.
3.33 распорка (spreader bar): Жесткая конструкция больше чем с одной точкой соединения, к которой крепится система опоры тела.
3.34 поддерживающий и/или приподнимающий подъемник (standing and/or raising hoist): Устройство для содействия в подъеме, транспортировании и перемещении инвалида, в котором часть массы инвалида поддерживается с помощью подножки.
3.35 стационарный подъемник (stationary hoist): Часть оборудования, с помощью которой пациента поднимают, транспортируют или перемещают и которая закреплена на стене, потолке или полу или смонтирована, или расположена на другом связанном устройстве или свободностоящая.
3.36 диаметр разворота (turning diameter): Наименьший диаметр круга вокруг экстремальной точки подъемника во время разворота на 360° без использования заднего хода.
При анализе рисков применяют соответствующие положения ИСО 14971.
Рукоятки, ручки и педали должны подходить к индивидуальным анатомическим особенностям пользователя в соответствии с планируемым использованием и удовлетворять следующим требованиям:
a) расстояние между любой ручкой (той частью оборудования, за которую берутся при использовании), требующей при использовании силы более 10 Н, и любой частью конструкции подъемника должно быть не менее 35 мм;
b) расстояние между любой верхней поверхностью педали (в ее рабочем положении) и любой другой частью подъемника должно быть таким, чтобы вертикальный зазор между педалью и пальцем ноги был не менее 75 мм;
c) диаметр любой функциональной ручки и/или рукоятки, которые требуют применения усилий более 10 Н, должен быть не менее 19 мм и не более 43 мм;
d) для подъемника, работающего в стационарном положении, педали должны быть расположены на расстоянии не более 300 мм от пола;
e) для подъемника, работающего в стационарном положении, ручная система управления должна быть расположена на расстоянии от 800 до 1200 мм от пола;
f) ручки, которые утапливаются и/или вынимаются, должны быть расположены на минимальной высоте 900 мм.
Примечание - Системы управления, используемые обслуживающим персоналом, могут требовать другого расположения.
Для более подробной информации по этому вопросу см. ЕН 614-1.
Максимальный уровень мощности шума подъемника весовой категории A должен быть измерен по ИСО 3746 при его максимальной нагрузке. Такое же измерение должно быть проведено с незагруженным подъемником. Результаты этих измерений должны быть указаны в инструкции по применению.
Подъемник должен быть испытан в том состоянии, в котором он поставляется (пользователю). Однако если подъемник имеет многофункциональное назначение и может быть смонтирован в разных вариантах, его необходимо собирать в соответствии с инструкцией изготовителя. Если подъемник предназначен для использования в различных комбинациях, все эти комбинации должны быть испытаны при самых неблагоприятных условиях.
Испытания должны быть проведены при нормальных комнатных условиях. Все испытания должны быть проведены на одном и том же образце подъемника, установленном надлежащим образом.
Если подъемник имеет многофункциональное назначение, в котором сочетаются поддерживающие и/или приподнимающие функции, тогда применяют только испытания на износостойкость по разделу 6, однако требования разделов 5 и 6 применимы по отношению к устойчивости, статической прочности и толкающих/тягловых усилий.
Отчет об испытаниях, упомянутый в 4.2.4, должен находиться в технической документации изготовителя.
4.2.2 Испытательное оборудование
4.2.2.3 Грузы, подходящие для нагружения подъемника и системы опоры тела, например, груз(ы) цилиндрической формы, выполненный(е) из стали, с закругленными краями (радиус закругления не менее 25 мм) и диаметром 350 мм. При испытаниях гибкой системы опоры тела может быть задействован человек.
4.2.2.5 Оборудование для применения нагрузок с незначительным динамическим фактором.
4.2.2.6 Прибор для измерения уровня звукового давления в соответствии с МЭК 61672-1.
4.2.2.7 Прибор для измерения давления воды, масла и воздуха.
4.2.2.8 Устройство для приложения нагрузок к поддерживающим и/или приподнимающим подъемникам (см. рисунок 2). Центр тяжести нагрузки должен быть размещен, как указано, и должен иметь возможность перемещаться, насколько позволяют соединения.
Рисунок 2 - Испытательный макет для поддерживающих и/или приподнимающих подъемников
X - ширина в миллиметрах; Y - нагрузка в килограммах; 1 - спинка; а - ширина, в миллиметрах, = 2 ´ максимальная нагрузка, в килограммах; b - высота = 200 мм; с - центр тяжести
Примечание - Параметр «а» отсчитывают от того места, где параметр «b» соприкасается со спинкой.
Рисунок 3 - Распределение нагрузок жесткой системы опоры тела
4.2.2.9 Устройство для приложения нагрузок к жестким системам опоры тела [см. рисунки 3,4 а) и 4b)].
1 - ноги; 2 - голова; 3 - основание
а) Вид спереди
а - ширина, в миллиметрах, = 2 ´ максимальная нагрузка, в килограммах; b - высота = 200 мм; с - центр тяжести
Примечание - Параметр «а» отсчитывают от того места, где параметр «b» соприкасается со спинкой.
b) Вид сбоку
Рисунок 4 - Распределение нагрузок на стационарных носилках
4.2.3 Допустимая погрешность испытательного оборудования
Для испытательного оборудования применимы следующие значения максимальной погрешности при измерении:
|
- давления.................................................................... |
± 5 %; |
|
- сил/нагрузок............................................................. |
± 5 %; |
|
- скоростей.................................................................. |
± 5 %; |
|
- углов.......................................................................... |
± 0,25°; |
|
- размеров менее или равных 100 мм....................... |
± 0,5 мм; |
|
- размеров более 100 мм............................................ |
± 0,5 %; |
|
- времени..................................................................... |
± 0,1 с. |
Для проверки соответствия этим требованиям необходимо применять процедуры в соответствии с ИСО 14253-1.
Отчет об испытаниях должен содержать следующую информацию:
a) соответствие настоящему стандарту;
b) полное описание изделия, включая тип, обозначение и серийный номер;
c) наименование и адрес фирмы-изготовителя;
d) фотографию подъемного оборудования в том виде, в каком оно использовалось при испытаниях;
e) наименование и адрес испытательного центра;
f) значение устойчивости с округлением в меньшую сторону с точностью 0,5°;
g) результаты испытаний, включая записи о техническом обслуживании, если таковое было проведено;
h) любые отклонения от стандартной процедуры испытания;
i) дату проведения испытания;
j) условия проведения испытаний относительно влажности и температуры.
4.3.1 Безопасность и технические требования
4.3.1.4 Материалы, контактирующие с телом человека, должны быть проверены на биологическую совместимость в соответствии с ИСО 10993-1. Эта проверка должна учитывать возможности применения и все возможные контакты с пользователями.
4.3.1.7 Рукоятки должны быть закреплены таким образом, чтобы исключить их случайное отделение.
Если конструкция подъемника такова, что груз можно перемещать в горизонтальном направлении, подъемник не должен передвигаться или начинать работу до тех пор, пока подъем не будет обеспечен гарантированным предотвращением самопроизвольного наклона.
4.3.1.13 Во время работы все средства, предусмотренные в 4.3.1.11, не должны позволить подъемнику войти в режим, нарушающий безопасность его работы.
Отключение аварийного устройства должно быть возможно только в результате манипуляций непосредственно с самим аварийным устройством. Операции по приведению в действие аварийного устройства и его отключению должны быть различны.
Аварийное устройство должно быть окрашено в красный цвет.
Необходимо предусмотреть, чтобы при срабатывании этого устройства запаса энергии хватило на полный цикл подъема с максимальной нагрузкой.
4.3.1.17 Все средства управления должны быть устроены по принципу «удерживаешь - работает».
4.3.1.20 После статического испытания согласно 4.3.2.20 любое эластичное устройство не должно обнаруживать признаков, которые могут повлиять на функционирование подъемника, как это определено изготовителем.
a) Излучение
Требования МЭК 61000-3-2 применимы, если выполнены условия, определенные в МЭК 61000-3-2. Требования МЭК 61000-3-3, изменение 1, применимы, если выполнены условия, определенные в МЭК 61000-3-3, изменение 1.
b) Помехозащищенность
Эти требования применимы только к подъемникам, содержащим электронные устройства/компоненты. Электрические двигатели, механические переключатели и другие пассивные элементы не считаются электронными устройствами/компонентами.
В дополнение к требованиям МЭК 60601-1-2, пункт 36.202.2.1,подъемниктакже должен быть испытан полем напряженностью 10 В/м (среднеквадратичное значение для немодулированного источника) в диапазоне частот от 800 МГц до 2 ГГц. Это испытание должно быть проведено в соответствии с МЭК 61000-4-3.
Если в результате этого испытания подъемник окажется небезопасным, должно быть признано, что он не прошел испытание. Кроме того, не допускается любое непроизвольное движение любой части подъемника во время испытания.
Необходимо определить риск при использовании подъемника в непосредственной близости от мобильного телефона или другого излучателя.
Примечание 1 - В этом случае могут быть применены большие значения напряженности поля и расширенный диапазон частот.
Примечание 2 - Подъемники используют в широком диапазоне параметров внешней среды и могут быть использованы в присутствии другого электрического оборудования. Электромагнитная совместимость (ЭМС) должна быть внимательно проанализирована для предполагаемого использования подъемника.
4.3.1.24 Любой электрический компонент, в котором возможны всплески при нормальной работе, должен иметь, по крайней мере, четырехкратную степень защиты (IP ´ 4). Любой электрический компонент, в котором возможны провалы при нормальной работе, должен иметь, по крайней мере, семикратную степень защиты (IP ´ 7).
4.3.1.26 Если носилки подвешены в ЦТП подъемника, они должны быть промаркированы таким образом, чтобы пациент находился в правильном положении, как это установлено изготовителем в процессе конструирования (например, место для головы/место для ног). Пример маркировки носилок приведен на рисунке 5.
Рисунок 5 - Пример маркировки носилок
4.3.2 Методы испытаний общих требований безопасности
4.3.2.1 Требования, описанные в 4.3.1.1, должны быть подтверждены в процессе проведения испытаний и при осмотре.
4.3.2.2 Требования, описанные в 4.3.1.2, должны быть определены исходя из проверки в соответствии с МЭК 60601-1.
4.3.2.3 Требования, описанные в 4.3.1.3, должны быть определены в процессе осмотра.
4.3.2.4 Результат оценки биологической совместимости должен обуславливать методы проверки.
4.3.2.5 Требования, описанные в 4.3.1.5, должны быть определены в процессе осмотра.
4.3.2.6 Требования, описанные в 4.3.1.6, должны быть определены в процессе осмотра.
4.3.2.7 Требования, описанные в 4.3.1.7, должны быть определены в процессе испытаний, согласно следующим процедурам:
a) с подъемником, установленным на горизонтальной ровной испытательной поверхности, проводят «метод нагружения» в соответствии с рисунком 6, метод A или метод В;
b) обеспечивают для подъемника отсутствие наклона и/или движения;
c) в случае необходимости используют ограничитель, который придерживал бы ручку и предотвращал бы ее изгиб под действием испытательной нагрузки; этот ограничитель не должен касаться рукоятки, которую испытывают;
d) медленно прикладывают нагрузку к каждой рукоятке в направлении, соответствующем толчку подъемника, пока нагрузка не достигнет своего максимального значения, равного 750 Н:
1) удерживают приложенную нагрузку в течение 5 - 10 с;
2) снимают приложенную нагрузку;
е) повторяют описанное выше испытание с нагрузкой в тяговом, относительно подъемника, направлении.
Метод A:
1 - разрезные накладки, закрепленные с помощью клея;
F = 750 ± 3 %
Метод В:
2 - петля из стропы, закрепленная с помощью клея (закрепленная тесьмой в процессе склеивания);
F = 750 ± 3 %
Рисунок 6 - Методы приложения нагрузки к рукоятке
4.3.2.8 Требования, описанные в 4.3.1.8, должны быть определены в процессе осмотра.
4.3.2.9 Требования, описанные в 4.3.1.9, должны быть определены в процессе осмотра и соответствующего испытания.
4.3.2.10 Требования, описанные в 4.3.1.10, должны быть определены в процессе осмотра и/или исходя из технической документации изготовителя в соответствии с требованиями ЕН 12182.
4.3.2.11 Требования, описанные в 4.3.1.11, должны быть проверены перемещением распорки (либо другой части подъемника, которая используется в системе опоры тела) при отсутствии нагрузки, вниз и по твердой поверхности, которая включена в устройство, чувствительное к нагрузке. Подъемник не должен испытывать нагрузку больше чем суммарная масса системы опоры тела, распорки руки и т.д. плюс 50 Н.
4.3.2.12 Требования, описанные в 4.3.1.12, должны быть проверены следующим образом. Оценка должна быть проведена таким образом, чтобы определить возможные точки захвата. После этого динамометр должен быть расположен между возможной точкой захвата и твердой вертикальной поверхностью. Сила, измеренная динамометром, не должна превышать 100 Н при работе подъемника в режиме горизонтального перемещения. Это испытание необходимо провести как без нагрузки, так и с максимальной нагрузкой.
4.3.2.13 Требования, описанные в 4.3.1.13, должны быть определены в процессе функциональной проверки.
4.3.2.14 Требования, описанные в 4.3.1.14, должны быть проверены в процессе функциональной проверки.
4.3.2.15 Требования, описанные в 4.3.1.15, должны быть проверены в процессе функциональной проверки.
4.3.2.16 Требования, описанные в 4.3.1.16, должны быть проверены в процессе функциональной проверки.
4.3.2.17 Требования, описанные в 4.3.1.17, должны быть определены в процессе осмотра.
4.3.2.18 При нагружении массой, описанной в 4.3.1.18, должны быть предприняты меры, препятствующие подъему подъемника.
4.3.2.19 Требования, описанные в 4.3.1.19, должны быть определены проверкой и, где возможно, осмотром.
4.3.2.20 Требования, описанные в 4.3.1.20, должны быть определены следующим образом. Эластичные элементы, использующиеся при подъеме, следует проверять отдельно. Они должны быть подвергнуты воздействию статической нагрузки, равной шестикратной максимальной нагрузке, в течение 20 мин. Системы блокировки, использующиеся в процессе подъема, должны быть испытаны отдельно. Они должны быть подвергнуты воздействию статической нагрузки, равной четырехкратной максимальной нагрузке, в течение 20 мин с последующей оценкой результата путем осмотра.
4.3.2.21 Требования, описанные в 4.3.1.21, должны быть проверены путем осмотра и функциональной проверки.
4.3.2.22 Требования, описанные в 4.3.1.22, должны быть определены путем осмотра с последующей экспертной оценкой.
4.3.2.23 Требования, описанные в 4.3.1.23, должны быть определены посредством проверки в соответствии с МЭК 60601-1-2:
a) Требования, описанные в 4.3.1.23, перечисление а), должны быть определены посредством проверки в соответствии с МЭК 61000-3-2 и МЭК 61000-3-3, изменение 1.
b) Требования, описанные в 4.3.1.23, перечисление b), должны быть определены посредством проверки в соответствии с МЭК 61000-4-3 и МЭК 60601-1-2.
4.3.2.24 Требования, описанные в 4.3.1.24, должны быть определены посредством проверки в соответствии с МЭК 60529.
4.3.2.25 Требования, описанные в 4.3.1.25, должны быть определены путем осмотра.
4.3.2.26 Требования, описанные в 4.3.1.26, должны быть определены путем осмотра.
Изготовитель системы опоры тела должен указать, с каким подъемником(ами) (как указано в области применения настоящего стандарта) и распоркой(ами) она совместима, чтобы обеспечить полностью безопасную комбинацию.
Способы монтажа и демонтажа системы опоры тела должны быть четко описаны в сопроводительной инструкции по эксплуатации.
4.5.1 Требования к центральной точке подвеса
Центральная точка подвеса (ЦТП) должна быть выбрана таким образом, чтобы предотвращать возможность самопроизвольного отделения распорки при обычном использовании.
4.5.2 Метод испытания центральной точки подвеса
Требования 4.5.1 должны быть проверены путем функциональной проверки.
4.6.1 Требования к распорке
Примечание - Эта информация должна быть приведена и на распорку.
4.6.1.4 Съемные распорки должны быть промаркированы на максимальную нагрузку подъемника.
4.6.2 Методы испытаний распорки
4.6.2.1 Требования 4.6.1.1 должны быть проверены путем осмотра и функциональной проверки.
4.6.2.2 Требования 4.6.1.2 должны быть подтверждены после испытаний на статическую прочность.
4.6.2.3 Требования 4.6.1.3 должны быть проверены путем осмотра.
4.6.2.4 Требования 4.6.1.4 должны быть проверены путем осмотра.
4.7.1 Требования к техническим характеристикам
Примечание - При использовании в типичной ситуации подъемник должен обеспечивать возможность минимального перемещения инвалида для изменения его положения при помощи ассистента.
4.7.1.3 При максимальной нагрузке ЦТП должна иметь расстояние остановки не более чем 50 мм.
4.7.2 Методы контроля технических характеристик
4.7.2.1 Требования, описанные в 4.7.1.1, должны быть определены путем осмотра с последующей экспертной оценкой.
4.7.2.2 Требования, описанные в 4.7.1.2, должны быть определены путем осмотра и функциональной проверки.
4.7.2.3 Требования, описанные в 4.7.1.3, должны быть проверены следующим образом:
a) загружают подъемник максимальной нагрузкой;
b) устанавливают ЦТП в верхнее положение;
c) опускают ЦТП на полной скорости;
d) в положении, приблизительно равном половине области подъема, отключают источник питания подъемника либо с помощью соответствующего выключателя, перекрывая соответствующий клапан, либо вручную перекрывая подачу воздуха;
e) измеряют расстояние по вертикали от этой точки до точки, в которой произошла остановка.
4.8.1 Технические требования к темпу (скорости) подъема и опускания
4.8.2 Методы испытаний скорости подъема и опускания
4.8.2.1 При измерениях с максимальной нагрузкой скорость подъема и опускания не должна превышать скорость, указанную в 4.8.1.1.
4.8.2.2 При измерениях в отсутствии нагрузки скорость подъема и опускания не должна превышать скорость, указанную в 4.8.1.2.
4.9.1 Требования к прикладываемым силам/моментам
Силы или моменты, которые необходимо приложить к частям подъемника, предназначенным для приведения в действие пальцами, ладонями/руками или ногами, не должны превышать следующих значений:
- 5 Н при воздействии пальцем;
- 105 Н при воздействии рукой;
- 300 Н при воздействии ногой;
- 1,9 Н × м при поворотных усилиях.
Примечание - Для подъемников, управляемых инвалидами или другими лицами без специальной подготовки, в качестве методической рекомендации можно использовать ЕН 12182, приложение С.
4.9.2 Методы испытаний прикладываемых сил/моментов
Силы/моменты, прикладываемые ко всем элементам управления, указанные в 4.9.1, должны быть измерены при максимальной нагрузке подъемника. Эти измерения следует проводить в средней точке предполагаемого использования, как заявлено изготовителем.
4.10.1 Требования износостойкости
После испытаний в соответствии с 4.10.2 подъемник должен функционировать при максимальной нагрузке так же, как и без нагрузки, и не должен обнаруживать признаков остаточной деформации или других изменений, способных повлиять на его работоспособность.
4.10.2 Методы испытаний на износостойкость
4.10.2.1 Передвижные подъемники должны быть помещены на горизонтальную поверхность и зафиксированы в самом неблагоприятном положении. Подъемник должен быть закреплен в направлении, обратном перемещению на испытательной поверхности.
4.10.2.2 Стационарные подъемники должны быть зафиксированы/смонтированы/установлены в самом неблагоприятном положении в соответствии с инструкциями изготовителя по установке.
4.10.2.3 Для гидравлических подъемников с ручным приводом ход рычага насоса не должен быть ограничен, но рычаг не должен находиться в своем крайнем положении.
4.10.2.4 Отношение рабочей фазы к фазе покоя (рабочий цикл) при испытаниях должно быть 15:85, если изготовителем не установлено иное. Если подъемник рассчитан на работу с разными скоростями подъема, во время испытаний на износостойкость нужно использовать скорость, которая реализует самое неблагоприятное условие с точки зрения изготовителя.
4.10.2.5 В случае необходимости, только при проведении испытаний на износостойкость допустимо использование альтернативных источников питания вместо аккумуляторной батареи по согласованию с изготовителем подъемника.
4.10.2.6 Техническое обслуживание во время испытаний следует проводить только в том случае, если это специально установлено изготовителем в его руководстве по эксплуатации.
4.10.2.7 Подъемник должен быть нагружен так, чтобы максимально отражать условия нагружения подъемника при обычных условиях. Для подъемников с жесткой системой опоры тела и фиксированными носилками нагрузка должна быть размещена, как показано на рисунках 3, 4 а) и 4 b). Для подъемников с подвешенными носилками нагрузка должна быть размещена, как показано на рисунке 7. Поднимают и опускают подъемник на 250 мм или на 25 % вертикального перемещения, так чтобы область подъема была бы больше, как это определено в 4.10.2.8. Следует убедиться в наличии паузы при полном цикле подъема и в том, что каждый раз происходит нагружение и разгрузка в момент, когда подъемник достигает самого нижнего положения цикла подъема.
a) Поднимают и опускают ЦТП подъемника на максимальной скорости без нагрузки 1000 раз, каждый раз убеждаясь, что верхний(е) ограничитель(и) работает(ют).
b) Проводят 1000 циклов подъема при максимальной нагрузке в низшем положении области подъема: для электрических подъемников активируют ограничитель нижнего положения приблизительно на 1 с в каждом цикле подъема. Для подъемников с одной горизонтальной осью вращения распорки испытание необходимо проводить с 1/3 нагрузки с одной стороны и 2/3 нагрузки с другой стороны распорки.
c) Проводят 1000 циклов подъема при максимальной нагрузке в верхнем положении области подъема: для электрических подъемников активируют ограничитель верхнего положения приблизительно на 1 с в каждом цикле подъема.
d) Проводят 8000 циклов подъема при максимальной нагрузке в средней части области подъема.
Примечание - Вышеописанные испытания моделируют режим «нормального использования» подъемника.
4.10.2.9 Во время проведения циклов подъема действие нагрузки не должно отклоняться от вертикали, чтобы возникающие отклонения вызывали незначительный динамический эффект.
1 - сторона головы
Примечание - Только схематическое представление.
Рисунок 7 - Распределение нагрузки на подвешенных носилках
4.11.1 Требования к гидравлическим системам
4.11.1.2 Считается, что требования к гидравлике удовлетворены, если:
a) для внешних цилиндров размеры вычислены в соответствии с ЕН 13480-3; если расчеты проведены с учетом только статического давления, то нужно предположить, что расчетное давление будет в 1,8 раз превышать фактическое статическое давление;
b) для жестких трубок и фитингов размеры трубок и соответствующих им фитингов вычислены в соответствии с ЕН 13480-3; если расчеты проведены с учетом только статического давления, то нужно предположить, что расчетное давление будет в 2 раза превышать фактическое статическое давление;
c) для гибких шлангов шланги изготовлены в соответствии с ЕН 853 или ЕН 854.
4.11.1.4 Закрытие обратного клапана должно быть следствием воздействия гидравлического давления и, по крайней мере, одним действием управляющей пружины и/или действием силы тяжести.
4.11.1.5 Предохранительный клапан должен быть отрегулирован так, чтобы ограничить давление на уровне, в 1,5 раза превышающем предельное давление. Сбрасываемая жидкость должна возвращаться в резервуар.
4.11.1.6 Гидравлическая система должна допускать возможность продувки воздухом.
4.11.2 Методы испытаний гидравлических систем
4.11.2.1 Требования 4.11.1.1 и 4.11.1.2 контролируют проверкой расчетов и размеров.
4.11.2.2 Требования 4.11.1.3 - 4.11.1.7 проверяют осмотром и проверкой функционирования.
4.12.1 Требования к пневматическим системам
4.12.1.1 В дополнение к требованиям, указанным в 4.11, необходимо учитывать следующее.
4.12.2 Методы испытаний пневматических систем
4.12.2.1 Требования 4.12.1.1 контролируют проверкой расчетов и размеров.
4.12.2.2 Требования 4.12.1.2 проверяют осмотром и проверкой функционирования.
4.12.2.3 Требования 4.12.1.3 проверяют осмотром и проверкой функционирования.
Применяют требования ЕН 980 и ЕН 12182.
На все элементы систем управления должны быть нанесены их наименования в соответствии с их предназначением.
Каждый подъемник (и любая основная часть многофункционального подъемника) и система опоры тела должны иметь постоянную маркировку, по крайней мере, со следующей информацией:
a) наименование и адрес фирмы-изготовителя и, кроме того, наименование и адрес фирмы поставщика, если это не фирма изготовителя;
b) наименование модели;
c) партия или серия и/или серийный номер.
Примечание - Серийный номер предпочтительней для отслеживания и записей осмотра;
d) год и месяц изготовления;
e) электрические элементы в соответствии с МЭК 60601-1 с указанием того, применяются ли они и где именно;
f) указание любых других используемых источников энергии (например, использование жидкости/воздуха, рабочий диапазон давления);
g) максимальная нагрузка;
h) степень защиты (где это применимо; см. 4.3.1.24).
4.13.3 Инструкция по применению
Покупателю любого подъемника и/или системы опоры тела должна быть предоставлена инструкция, которая должна включать в себя, по крайней мере, следующую информацию (где это применимо):
a) наименование и адрес изготовителя, поставщика или распространителя;
b) контрольный талон;
c) область предполагаемого использования подъемника и системы опоры тела;
d) долговечность изделия;
е) рисунки/иллюстрации, которые позволяют показать основные размеры, описанные ниже в перечислении i);
f) наименование, адрес и контактный телефон сервисного центра;
g) методы ухода и дезинфекции, а также другую информацию по обслуживанию;
h) сведения для поиска и устранения неисправностей/помощи;
i) технические характеристики:
- размеры (включая те, которые приведены на рисунках 1, 8, 9, 10, 11 и 12, где это необходимо),
- максимальную нагрузку,
- меры безопасности (включая, в случае необходимости, данные о различиях максимальной нагрузки между подъемником, распоркой и системой опоры тела, при этом всегда должна быть использована наименьшая максимальная нагрузка),
- общую массу ненагруженного подъемника и, где это необходимо, массы любых основных частей, которые могут быть демонтированы (например, при транспортировании),
- уровень шума весовой категории A (см. 4.1.3),
- усилия, прикладываемые при управлении,
- конструктивные особенности и типы систем опоры тела, которые используются в комбинации с распоркой;
j) информацию об электрическом оборудовании в соответствии с МЭК 60601-1;
k) класс точности любых измерительных приборов, любые предупреждающие/привлекающие внимание надписи на изделии должны быть подробно объяснены в инструкции по эксплуатации;
l) всю информацию, необходимую для того, чтобы проверить, правильно ли установлено изделие и может ли оно функционировать правильно и безопасно, а также данные о характере и частоте обслуживания и калибровках, необходимых для правильной и безопасной работы на протяжении всего времени эксплуатации изделия (см. указания, приведенные в приложении В).
Примечание - См. также Неавтоматические Весоизмерительные Приборы 90/384/ЕЕС и соответствующий ему стандарт;
m) перечень сменных запасных частей, которые могут быть поставлены в случае необходимости;
n) любые предупреждения, связанные с возможными рисками (например, для передвижных подъемников необходимо знать о проблеме устойчивости при наличии боковых сил, приложенных к пациенту);
о) указатель направления движения вперед.
а - высота сиденья в верхнем положении; b - общая длина в верхнем положении; с - общая высота в верхнем положении; А - контрольная точка, находящаяся на половине ширины системы опоры тела
Рисунок 8 - Основные размеры подъемника для ванны в верхнем положении
а - высота сиденья в нижнем положении; b - общая длина в нижнем положении; с - минимальный угол спинки сиденья
Примечание - Только схематическое представление.
Рисунок 9 - Основные размеры подъемника для ванны в нижнем положении
а - ширина сиденья с откинутыми створками; b - ширина спинки; с - ширина основания; d - ширина сиденья без боковых створок
Рисунок 10 - Основные размеры подъемника для ванны с откинутыми боковыми створками сиденья
1 - подъемный механизм; 2 - гибкий элемент; 3 - ЦТП; 4 - распорка; 5 - нежесткая система опоры тела; 6 - потолок; а - область подъема; b - минимальное расстояние от потолка до ЦТП
Рисунок 11 - Основные термины и размеры для потолочного подъемника
1 - основание; 2 - клиренс; а - высота основания
Рисунок 12 - Высота основания/клиренс
В настоящем разделе определены требования и методы испытаний передвижных подъемников в дополнение к тем, которые определены в разделе 4.
5.2.1 Требования статической прочности
После статических испытаний, как это определено в 5.2.2, подъемник должен функционировать в соответствии с требованиями изготовителя. Не должны возникать деформации либо повреждения, которые могли бы повлиять на его нормальное функционирование.
5.2.2 Методы испытаний на статическую прочность
Подъемник и подъемные устройства должны быть подвергнуты воздействию статической нагрузки согласно процедурам и в последовательности, описанным ниже [см. рисунки 4 а), 4 b) и 6]. Подъемник должен быть нагружен таким образом, чтобы максимально имитировать реальную нагрузку при обычном использовании.
Подъемник должен быть расположен на наклонной плоскости таким образом, чтобы исключить возможность опрокидывания, но не деформации. Подъемная стрела/привод должна быть установлена в самое неблагоприятное положение. К подъемнику прикладывают нагрузку, равную 1,25 максимальной нагрузки, на 5 мин в следующих направлениях:
a) 10° вперед;
b) 10° назад;
c) 5° вбок в самом неблагоприятном месте (как с левой, так и справой стороны, если это возможно). Затем это же испытание проводят на горизонтальной поверхности с нагрузкой, равной полуторакратной максимальной нагрузке, в течение 20 мин.
5.3.1 Требования статической устойчивости
При проведении испытаний на устойчивость согласно 5.3.2 как в случае ненагруженного подъемника, так и при максимальной нагрузке подъемник не должен терять равновесия (устойчивости) при следующих углах:
a) вперед и назад под углом 10° с основанием в направлении, предусмотренном для транспортирования;
b) вперед и назад под углом 7° с основанием в наиболее неблагоприятном направлении;
c) 5° в любом другом направлении.
5.3.2 Методы испытаний на статическую устойчивость
5.3.2.1 Процедуры испытаний для 5.3.1, перечисления а), b) и с):
a) Испытания следует проводить в прямом и обратном направлениях транспортирования, как это указано изготовителем, с нагрузкой, помещенной в самом неблагоприятном положении.
b) Испытания следует проводить в прямом и обратном направлениях, и в наиболее неблагоприятном направлении. Если предусмотрено более одного направления транспортирования (вперед), они все должны быть рассмотрены как направления вперед.
c) Испытания следует проводить с подъемником в самом неблагоприятном положении относительно колес, ЦТП, основания и тормозов.
5.3.2.2 Испытания без нагрузки
Помещают ненагруженный подъемник на испытательной поверхности с колесами, повернутыми в сторону стопора(ов) (см. рисунок 13).
Постепенно наклоняют испытательную поверхность до тех пор, пока подъемник не потеряет равновесие (устойчивость). Записывают угол наклона.
Повторяют испытание в прямом и обратном направлениях.
5.3.2.3 Испытания под нагрузкой
Прикладывают максимальную нагрузку к ЦТП подъемника таким образом, чтобы она могла свободно перемещаться. Повторяют процедуру, как и в случае с ненагруженным подъемником. Для подъемников с жесткой системой опоры тела центр тяжести нагрузки должен быть расположен по отношению к спинке в соответствии с рисунком 3, но не дальше чем на расстоянии 350 мм от переднего края сиденья.
К носилкам, которые подвешивают к подъемнику, прикладывают нагрузку, как показано на рисунке 7.
К носилкам, которые не подвешивают к подъемнику, прикладывают нагрузку, как показано на рисунках 4 а) и 4 b).
5.4.1 Требования к стопорному устройству (тормозам)
Передвижные подъемники должны быть оборудованы стопорным устройством. Во время проведения испытания в соответствии с 5.4.2 допускается перемещение в любом направлении не более чем на 10 мм.
5.4.2 Методы испытаний стопорного устройства (тормозов)
Для того чтобы убедиться, что требования, описанные в 5.4.1, выполнены, подъемник необходимо расположить на уклоне 1° с приведенным в действие стопорным устройством (тормозом). К подъемнику должна быть приложена максимальная нагрузка в самом неблагоприятном положении. Выдерживают такое состояние минимум 1 мин и измеряют перемещение устройства.
1 - испытательная нагрузка; a - угол устойчивости
Рисунок 13 - Пример испытания на устойчивость в прямом направлении
5.5.1 Требования к движущим силам
При испытаниях с максимальной нагрузкой подъемника максимальные силы, требующиеся для движения подъемника, должны быть следующие:
|
a) при трогании.............................................................................. |
160 Н; |
|
b) при движении (толкающее усилие/тягловое усилие)............ |
85 Н. |
5.5.2 Методы испытаний движущих сил
Испытания следует проводить на плоской гладкой горизонтальной стальной площадке.
Подъемник должен быть нагружен максимальной нагрузкой с положением подъемных механизмов, соответствующим максимальной досягаемости.
При испытаниях в прямом и обратном направлениях поворотные ролики должны быть установлены на 180° по отношению к направлениям толкающих/тягловых усилий.
Используя динамометр, постепенно увеличивают толкающую силу, прикладываемую к рукоятке, до тех пор, пока подъемник не начнет движение. Повторяют эту операцию пять раз. Наибольшая приложенная сила, зафиксированная в этих испытаниях, должна быть записана как сила трогания.
Сила трогания должна быть определена и записана для следующих случаев:
a) в прямом направлении;
b) в обратном направлении.
Этот подраздел определяет требования к передвижным подъемникам в дополнение к тем, которые определены в 4.13.3.
Изготовитель обязан предоставить, по крайней мере, следующую информацию:
a) рабочие размеры, приведенные на рисунках 1, 12 и 14;
b) диаметр разворота;
c) общую массу подъемника, включая массу системы опоры тела;
d) набор и идентификацию тех частей подъемника, на которые подъемник может быть разобран;
e) массу самой тяжелой съемной части подъемника.
1 - самое высокое положение; 2 - среднее положение; 3 - самое низкое положение; а - минимальное расстояние от стены до ЦТП при максимальной высоте (со стороны ног); b - минимальное расстояние от стены до ЦТП при максимальном выносе вперед (со стороны ног); с - минимальное расстояние от стены до ЦТП при минимальной высоте (со стороны ног)
Примечание - Только схематическое представление.
Рисунок 14 - Основные размеры передвижных параметров
Этот раздел определяет требования и методы испытаний, поддерживающих и/или приподнимающих подъемников, которые являются дополнительными или заменяющими те, которые определены в разделе 4. Поддерживающие и/или приподнимающие подъемники не обязаны соответствовать требованиям раздела 5, так как применимые к ним требования включены в настоящий раздел.
6.2.1 Требования статической прочности
После проведения испытаний в соответствии с 6.2.2 подъемник должен функционировать в соответствии с требованиями изготовителя. Не должно быть деформации или износа, влияющих на его работоспособность.
6.2.2 Метод испытания на статическую прочность
Подъемник и подъемные устройства должны быть подвергнуты воздействию статической нагрузки согласно процедурам и в последовательности, описанным ниже.
Подъемник должен быть расположен на наклонной плоскости таким образом, чтобы исключить возможность опрокидывания, но не деформации. Подъемная стрела и/или захват должна быть установлена в самое неблагоприятное положение. При отсутствии нагрузки на подножку подъемник должен быть нагружен максимум на 20 мин в следующих направлениях:
a) 10° вперед;
b) 10° назад;
c) 5° вбок в самом неблагоприятном направлении (как слева, так и справа, если это возможно).
Затем это испытание проводят на горизонтальной поверхности с нагрузкой, равной полуторакратной максимальной нагрузке, в течение 20 мин.
Затем это испытание проводят с применением нагрузки, равной 1,25 максимальной нагрузки (используя испытательный макет, как показано на рисунке 2) с центром нагружения, расположенным в наиболее неблагоприятном месте на подножке, в котором чаще всего происходят поломки, в течение 5мин.
6.3.1 Требования статической устойчивости
При проведении испытаний на статическую устойчивость согласно 6.3.2 как в случае ненагруженного подъемника, так и при максимальной нагрузке с использованием макета, как показано на рисунке 2, подъемник не должен терять равновесия (устойчивости) при следующих углах:
a) 10° в прямом и обратном направлениях с основанием в положении, предусмотренном для транспортирования;
b) 7° в прямом и обратном направлениях с основанием при наиболее неблагоприятном условии;
c) 5° при любом другом направлении.
6.3.2 Методы испытаний на статическую устойчивость
6.3.2.1 Процедуры испытаний для 6.3.1, перечисления а), b) и с).
Следующие испытания следует проводить с использованием испытательного макета, как это показано на рисунке 2.
a) Испытания в прямом и обратном направлениях транспортирования с основанием в положении, указанном изготовителем для транспортирования, и с нагрузкой, размещенной в наиболее неблагоприятном положении.
b) Испытания в прямом и обратном направлениях, и наиболее неблагоприятном направлении. Если существует более одного направления транспортирования (вперед), они должны все рассматриваться как направления вперед.
c) Испытания подъемников, находящихся в самом неблагоприятном положении относительно расположения колес, ЦТП, основания и тормозов.
6.3.2.2 Испытания без нагрузки
Помещают ненагруженный подъемник на испытательной поверхности колесами, развернутыми в сторону стопора(ов) (см. рисунок 13).
Постепенно наклоняют испытательную поверхность до тех пор, пока подъемник не потеряет равновесие (устойчивость). Записывают угол наклона.
Повторяют испытание в обратном и боковом направлениях.
6.3.2.3 Испытания под нагрузкой (устойчивость в обратном направлении)
Располагают подъемник на испытательной поверхности колесами в сторону стопора(ов) (см. рисунок).
Используя испытательный макет, показанный на рисунке 2, прикладывают к подъемнику максимальную нагрузку. Испытательный макет должен быть расположен в самом высоком положении, насколько это возможно.
Постепенно наклоняют испытательную плоскость до тех пор, пока подъемник не потеряет равновесие (устойчивость). Записывают угол наклона.
6.3.2.4 Испытания под нагрузкой (устойчивость в прямом направлении)
Располагают подъемник на испытательной поверхности колесами в сторону стопора(ов) (см. рисунок).
Используя испытательный макет, показанный на рисунке 2, прикладывают к подъемнику максимальную нагрузку. Испытательный макет должен быть расположен в самом неблагоприятном положении, насколько это возможно.
Постепенно наклоняют испытательную плоскость до тех пор, пока подъемник не потеряет равновесие (устойчивость). Записывают угол наклона.
6.3.2.5 Испытания под нагрузкой (устойчивость в боковом направлении)
Располагают подъемник на испытательной поверхности колесами в сторону стопора(ов) (см. рисунок 13).
Используя испытательный макет, показанный на рисунке 2, и систему опоры тела (если она смонтирована) при ее максимальной длине, прикладывают к подъемнику максимальную нагрузку. Испытательный макет должен быть расположен в самом неблагоприятном положении, насколько это возможно.
Постепенно наклоняют испытательную плоскость до тех пор, пока подъемник не потеряет равновесие (устойчивость). Записывают угол наклона.
6.4.1 Требования к стопорному устройству (тормозам)
Передвижные подъемники должны быть оборудованы стопорным устройством. Во время проведения испытания в соответствии с 6.4.2 допускается перемещение в любом направлении не более чем на 10 мм.
6.4.2 Методы испытаний стопорного устройства (тормозов)
Для того чтобы убедиться, что требования, описанные в 6.4.1, выполнены, подъемник необходимо расположить на уклоне 1° с приведенным в действие стопорным устройством (тормозом). К подъемнику должна быть приложена максимальная нагрузка в самом неблагоприятном положении, используя испытательный макет, показанный на рисунке 2. Выдерживают такое состояние минимум 1 мин и измеряют перемещение устройства.
6.5.1 Требования к движущим силам
При испытаниях с максимальной нагрузкой подъемника максимальные силы, требующиеся для движения подъемника, должны быть следующие:
|
a) при трогании............................................................................. |
160 Н; |
|
b) при движении (толкающее усилие/тягловое усилие)........... |
85 Н. |
6.5.2 Методы испытаний движущих сил
Испытания следует проводить на плоской гладкой горизонтальной стальной площадке.
Подъемник должен быть нагружен максимальной нагрузкой, используя испытательный макет, показанный на рисунке 2, с положением подъемной стрелы и/или захвата, соответствующим максимальной досягаемости.
При испытаниях в прямом и обратном направлениях поворотные ролики должны быть установлены на 180° по отношению к направлениям толкающих/тягловых усилий.
Используя динамометр, постепенно увеличивают толкающую силу, приложенную к рукоятке, до тех пор, пока подъемник не начнет движение. Повторяют эту операцию пять раз. Наибольшую приложенную силу, зафиксированную в этих испытаниях, следует записать как силу трогания.
Сила трогания должна быть определена и записана для следующих случаев:
- в прямом направлении;
- в обратном направлении.
Примечание - Требования и методы испытаний на износостойкость, приведенные в этом подразделе, заменяют те, которые приведены в 4.10.
6.6.1 Требования износостойкости
После испытаний в соответствии с требованиями 6.6.2 подъемник должен функционировать в соответствии со своим предназначением как при максимальной нагрузке, так и без нагрузки, не обнаруживая признаков остаточной деформации или износа, которые могли бы повлиять на его работоспособность.
6.6.2 Методы испытаний на износостойкость
6.6.2.1 Подъемник должен быть помещен на горизонтальной поверхности с основанием, зафиксированным в самом неблагоприятном положении. Должны быть приняты меры против возможности перемещения подъемника по поверхности.
6.6.2.2 Для гидравлических подъемников с ручным приводом ход рычага насоса не должен быть ограничен, но рычаг не должен находиться в своем крайнем положении.
6.6.2.3 Отношение рабочей фазы к фазе покоя (рабочий цикл) во время испытаний должно быть 15:85, если изготовителем не установлено иное. Если подъемник рассчитан на работу с разными скоростями подъема, во время испытаний на износостойкость нужно использовать скорость, которая реализует самое неблагоприятное условие с точки зрения изготовителя.
6.6.2.4 В случае необходимости, только при проведении испытаний на износостойкость допустимо использование альтернативных источников питания вместо аккумуляторной батареи по согласованию с изготовителем подъемника.
6.6.2.5 Техническое обслуживание на протяжении испытаний следует проводить только в том случае, если это специально оговорено изготовителем в его руководстве по эксплуатации.
6.6.2.6 Подвешивают нагрузку, равную 75 % максимальной нагрузки, на подъемной стреле и/или захвате. Поднимают и опускают подъемную стрелу и/или захват, совершив полный цикл. Следят за тем, чтобы пауза между фазой нагружения и разгрузки в цикле подъема всегда происходила в самом нижнем положении цикла подъема.
6.6.2.7 Повторяют цикл подъема 11000 раз, при этом следует убедиться, что нижний и верхний ограничители работают.
6.6.2.8 Во время цикла подъема допустимо только такое отклонение нагрузки от вертикали, чтобы вызванное им раскачивание производило пренебрежимо малый динамический эффект.
Этот подраздел определяет требования к поддерживающим и/или приподнимающим подъемникам в дополнение к тем, которые определены в 4.13.3.
Необходимо, чтобы изготовитель предоставил, по крайней мере, следующую информацию:
a) рабочие размеры, как показано на рисунках 1, 10 и 14;
b) диаметр разворота;
c) общую массу подъемника, включая систему опоры тела;
d) количество и идентификацию тех частей подъемника, которые могут быть демонтированы;
e) массу самой тяжелой части подъемника.
Этот раздел определяет требования и методы испытаний стационарных подъемников, которые являются дополнительными к тем, которые определены в разделе 4.
7.2.1 Требования к особым требованиям безопасности
7.2.1.3 После испытания, определенного в 7.2.2.3, подъемник и стопорное устройство не должны испытывать неблагоприятные последствия.
7.2.1.5 Все подъемники должны быть оснащены аварийной системой опускания.
Когда подъемник предназначен для использования инвалидом самостоятельно, необходимо гарантировать, что в случае отказа подъемника инвалид не окажется в опасной ситуации.
Примечание - Для этого можно использовать, например, предупреждение в инструкциях по применению, установку сигнальной системы или подведенный в удобное место телефон и т.д.
7.2.1.6 Максимальное отклонение горизонтальной направляющей, используемой в конструкции подъемной системы, должно быть не более 1 мм на каждые 200 мм длины направляющей.
7.2.2 Методы испытаний особых требований безопасности
7.2.2.1 Соответствие требованиям 7.2.1.1 должно быть установлено проверкой работоспособности, а также соответствием инструкции изготовителя по установке и осмотром.
7.2.2.2 Требования 7.2.1.2 должны быть определены измерением.
7.2.2.3 Для подъемников, которые перемещают в горизонтальном направлении вручную, подъемник при максимальной нагрузке должен передвигаться к тупиковой части направляющей 100 раз со скоростью 1,5 м/с. Подъемники, которые перемещаются с помощью мотора, перемещают к тупиковой части направляющих с максимальной линейной скоростью подъемника.
7.2.2.4 Требования 7.2.1.4 проверяют, оставляя ограничительный тумблер незадействованным и контролируя работу второго устройства.
7.2.2.5 Требования 7.2.1.5 проверяют путем проведения испытаний и осмотра.
7.2.2.6 После того как направляющие, установленные в соответствии с инструкциями изготовителя, испытали действие максимальной нагрузки, отклонения между отдельными секциями направляющих должны быть внесены в отчет об испытаниях.
7.3.1 Требования статической прочности (только для стационарных свободностоящих подъемников)
После статических испытаний, как определено в 7.3.2, подъемник должен функционировать в соответствии с требованиями изготовителя. Не должно наблюдаться остаточных деформаций или повреждений, которые могли бы повлиять на его работоспособность.
Подъемник и подъемные устройства должны быть статически нагружены в соответствии с процедурами и в порядке, указанными ниже.
Подъемник должен быть установлен в самом неблагоприятном положении и помещен на поверхность с углом наклона 10° с мерами, исключающими его опрокидывание, но не деформацию. Подъемник должен быть нагружен нагрузкой, равной 1,25 максимальной нагрузки, в течение 5 мин в самых неблагоприятных условиях.
Затем испытание проводят на горизонтальной поверхности с нагрузкой, равной полуторакратной максимальной нагрузке, в течение 20 мин.
7.4.1 Требования статической устойчивости (только для стационарных свободностоящих подъемников)
При испытании на статическую устойчивость по 7.4.2 как в ненагруженном состоянии, таки при максимальной нагрузке подъемник не должен терять равновесия (устойчивость) при следующем угле:
- 10° в любом направлении.
7.4.2.1 Расположение
7.4.2.1.1 Общие положения
Испытания следует проводить в самом неблагоприятном направлении с подъемником, находящимся в самом неустойчивом положении относительно положения ЦТП и систем поддержки.
7.4.2.1.2 Испытания без нагрузки
Помещают ненагруженный подъемник на испытательной поверхности (см. рисунок 15). Постепенно наклоняют подъемник до тех пор, пока он не потеряет равновесие (устойчивость). Записывают угол отклонения.
Повторяют испытание в трех разных направлениях.
7.4.2.1.3 Испытания под нагрузкой
Прикрепляют максимальную нагрузку к ЦТП таким образом, чтобы нагрузка могла свободно перемещаться. Повторяют процедуру так же, как и в случае ненагруженного подъемника.
Для подъемников с жесткой системой опоры тела центр тяжести нагрузки должен быть помещен относительно спинки согласно рисунку 3, но не больше чем 350 мм от передней кромки сиденья.
Для носилок прикладывают нагрузку, как показано на рисунках 4 а), 4 b) или 7.
1 - испытательная нагрузка; a - угол устойчивости = 10°
Рисунок 15 - Испытание на устойчивость для стационарных свободностоящих подъемников
7.5.1 Требования статической прочности для всех других стационарных подъемников
После статических испытаний, как определено в 7.5.2, подъемник должен функционировать в соответствии с требованиями изготовителя.
Не должно наблюдаться остаточных деформаций или повреждений, которые могли бы повлиять на его работоспособность.
7.5.2 Методы испытаний на статическую прочность для всех других стационарных подъемников
Подъемник должен быть прикреплен к конструкциям здания в соответствии с инструкцией изготовителя.
Подъемник должен быть нагружен нагрузкой, равной полуторакратной максимальной нагрузке, в течение 20 мин.
Этот подраздел определяет требования к стационарным подъемникам в дополнение к тем, которые определены в 4.13.3.
Изготовитель должен предоставить установщику подъемника данные о нагрузках, которые можно прикладывать в точках нагружения.
Если подъемник используется пациентом самостоятельно, должно существовать некое устройство связи непосредственно в области использования подъемника для того, чтобы в случае опасности пациент был бы в состоянии вызвать помощь.
Примечание - Это может быть, например, соответствующая сигнальная система или подведенный в удобное место телефон и т.д.
Этот подраздел определяет методы испытаний нежестких систем опоры тела в дополнение к тем, которые определены в разделе 4.
После проведения испытаний согласно 8.3 система опоры тела не должна обнаруживать признаков повреждения или потери функциональности.
Система должна содержать указание на типы и конструкции распорки, пригодные к совместному использованию. Эта информация должна быть приведена в инструкции по применению.
8.2.1 Если материал, используемый в конструкции системы опоры тела, заявлен изготовителем как негорючий, он не должен поддерживать открытое горение во время проведения испытаний согласно ЕН 1021-1 и ЕН 1021-2.
Примечание - Существуют и другие методы испытаний, указанные в приложении А ЕН 1021-1 и ЕН 1021-2.
8.2.2 Система опоры тела не должна уменьшать свои размеры более 5 % как в длину, так и в ширину после чистки и/или дезинфекции согласно инструкциям изготовителя.
Если для системы опоры тела предусмотрена возможность стирки, она должна быть выстирана и высушена 10 раз в соответствии с инструкциями изготовителя и затем испытана со статической нагрузкой, равной полуторакратной максимальной нагрузке, в течение 20 мин.
После испытания она должна быть подвергнута всестороннему осмотру, во время которого необходимо обратить внимание на все части системы, т.е. ткань, швы, строчки, петли, а также ткани, которыми задрапированы жесткие части системы. После испытаний ни одна из частей не должна обнаруживать никаких признаков повреждения или износа.
Любые изменения размеров должны быть определены измерениями.
8.4.1 Маркировка
Этот пункт определяет требования к нежестким системам опоры тела в дополнение к тем, которые определены в 4.13.2.
Изготовитель должен нанести на этикетку, помещенную на систему опоры тела, следующую информацию:
- размер системы опоры тела;
- предупреждающую/обращающую внимание надпись, которая укажет сиделке соответствующий пункт инструкции по применению подъемника и/или системы опоры тела;
- надпись, указывающую, предназначена ли система опоры тела для использования только с распорками одного типа;
- указание на способ чистки и/или дезинфекции системы опоры тела; любые обозначения должны удовлетворять требованиям ИСО 3758.
Примечание - Может оказаться, что невозможно разместить всю последующую информацию непосредственно на системе опоры тела. При этом предполагается, что любая другая информация приведена в инструкции по применению;
- область применения, направления использования каждой конструкции опоры тела;
- метод подъема, особенно, что касается положения при подъеме, а именно сидячее, сидячее/откинутое или откинутое, а также любую другую важную информацию, касающуюся выбора типа, конструкции и применяемого метода;
- соответствующую информацию, если система опоры тела является непригодной для определенных условий (неработоспособной);
- предупреждение о недопустимости использования поврежденной или сильно изношенной системы опоры тела.
8.4.2 Инструкции по применению
Этот пункт определяет требования в дополнение к тем, которые определены в 4.13.3.
Изготовитель должен предоставить данные относительно:
- материалов, используемых при производстве системы опоры тела;
- способа, которым система опоры тела может быть подсоединена или отсоединена.
Сюда же должно быть включено предупреждение пользователю о том, что должна учитываться оценка риска, связанного с выбором правильного размера, типа и формы системы опоры тела, которая применяется для пациента.
Этот подраздел определяет требования и методы испытаний жестких систем опоры тела в дополнение к тем, которые определены в разделе 4.
Так как система опоры тела не прикреплена к подъемнику постоянно, ее конструкцией должна быть предотвращена возможность случайного отделения. Если материал, используемый при изготовлении системы опоры тела, заявлен изготовителем как огнеупорный, он не должен воспламеняться или поддерживать горение при применении методов испытаний ЕН 1021-1 и ЕН 1021-2.
Примечание - Существуют и другие методы испытаний, указанные в приложении А ЕН 1021-1 и ЕН 1021-2.
Угол между сиденьем и спинкой должен быть не менее 90°.
Жесткая система опоры тела в комбинации с подъемником должна быть подвергнута тем же испытаниям, что и подъемное устройство целиком.
Надежность устройства блокировки системы опоры тела должна быть проверена, по крайней мере, в 1000 циклах испытаний.
После испытаний на износостойкость жесткая система опоры тела и устройство блокировки должны продолжать работать, как определено изготовителем.
9.4.1 Маркировка
Этот пункт определяет требования к жестким системам опоры тела в дополнение к тем, которые определены в 4.13.2.
Изготовитель должен нанести на этикетку, помещенную на систему опоры тела, следующую информацию:
- предупреждающую/обращающую внимание надпись, которая укажет сиделке соответствующий пункт инструкции по применению подъемника и/или системы опоры тела;
- надпись, указывающую, предназначена ли система опоры тела для использования с подъемником только одного типа;
- указание на способ чистки и/или дезинфекции системы опоры тела; любые обозначения должны удовлетворять требованиям ИСО 3758.
Примечание - Может оказаться, что невозможно разместить всю последующую информацию непосредственно на системе опоры тела. При этом предполагается, что любая другая информация приведена в инструкции по применению;
- область применения, направления использования каждой конструкции системы опоры тела;
- метод подъема, особенно, что касается положения при подъеме, а именно сидячее, сидячее/откинутое или откинутое, а также любую другую важную информацию, касающуюся выбора типа, конструкции и применяемого метода;
- соответствующую информацию, если система опоры тела является непригодной для определенных условий (неработоспособной);
- предупреждение о недопустимости использования поврежденной или сильно изношенной системы опоры тела;
- размер системы опоры тела, если это возможно.
9.4.2 Инструкции по применению
Этот пункт определяет требования в дополнение к тем, которые определены в 4.13.3.
Изготовитель должен предоставить данные относительно:
- материалов, используемых при производстве системы опоры тела;
- способа, которым система опоры тела может быть подсоединена или отсоединена;
- размер системы опоры тела, если это возможно.
Сюда же должно быть включено предупреждение пользователю о том, что должна учитываться оценка риска, связанного с выбором правильного размера, типа и формы системы опоры тела, которая применяется для пациента.
10.1.1 Общие положения
Этот пункт определяет требования и методы испытаний подъемников для ванны. Поэтому, если не установлено иное, подъемники для ванны не обязаны соответствовать требованиям разделов 4 и 7, поскольку применимые требования включены в настоящий пункт стандарта.
Для реализации задач этого раздела настоящего стандарта необходимо определить контрольную точку. Это должна быть точка на передней кромке системы опоры тела на середине линии, проведенной поперек ее (см. рисунок 8).
Следует применять требования 4.1.1.
10.1.3 Эргономические факторы
10.1.3.1 Следует применять требования 4.1.2.
10.1.3.2 Если масса подъемника либо его части более 20 кг, и изготовителем предусмотрено использование подъемника как портативного, то он либо должен быть оснащен приспособлениями для транспортирования (например ручками, петлями для переноса), расположенными так, чтобы подъемник можно было бы переносить двумя или большим числом человек, либо должна быть приведена информация изготовителя, в которой указаны места, за которые подъемник можно безопасно поднимать, и описано, как его придерживать при подъеме, сборке и/или переносе.
10.1.3.3 Полная максимальная масса подъемника для ванны должна быть указана на этикетке, которая должна быть размещена на видном месте.
Если подъемник для ванны может быть разделен на ряд частей, и масса любой из этих частей более 20 кг, максимальная масса каждой из частей, превышающей 20 кг, должна быть указана на этой части.
10.1.4 Уровень шума
Следует применять требования 4.1.3.
10.2.1 Условия испытаний
Следует применять требования 4.2.1.
10.2.2 Испытательное оборудование
10.2.2.1 Следует применять требования 4.2.2.1 и 4.2.2.2.
10.2.2.2 Испытательная нагрузка: при применении требований данного подраздела необходимо использовать нагрузку, которая способна имитировать нагрузки, создаваемые телом человека.
Примечание - См. рисунки 3, 4 а) и 4 b) о распределении нагрузки.
10.2.2.3 Следует применять требования 4.2.2.4 - 4.2.2.7.
10.2.2.4 Не следует применять требования 4.2.2.8.
10.2.2.5 Следует применять требования 4.2.2.9.
10.2.3 Допустимые погрешности испытательного оборудования
Следует применять требования 4.2.3.
10.2.4 Отчет об испытаниях
Следует применять требования 4.2.4.
10.3.1 Общие требования безопасности
10.3.1.2 Следует применять требования 4.3.1.2 - 4.3.1.16.
Если подъемник используется пациентом самостоятельно, необходимо гарантировать, что в случае отказа подъемника пациент не окажется в потенциально опасной ситуации.
Примечание - Это может быть, например, предупреждение в инструкции по применению, соответствующая сигнальная система или подведенный в удобное место телефон и т.д.
10.3.1.4 Следует применять требования 4.3.1.17 - 4.3.1.24.
10.3.2 Методы испытаний общих требований безопасности
10.3.2.1 Требования, описанные в 10.3.1.1, должны быть подтверждены испытаниями и осмотром.
10.3.2.2 Следует применять методы испытаний по 3.2.1 - 4.3.2.24.
10.3.2.3 Требования, описанные в 10.3.1.3, должны быть подтверждены при осмотре.
Следует применять требования и методы испытаний по 4.4.
Следует применять требования и методы испытаний по 4.6.
Следует применять требования и методы испытаний по 4.7.
Следует применять требования и методы испытаний по 4.8.
Следует применять требования и методы испытаний по 4.9.
10.9.1 Требования износостойкости
После испытаний в соответствии с требованиями 10.9.2 подъемник должен функционировать в соответствии со своим предназначением при максимальной нагрузке, не обнаруживая признаков остаточной деформации или износа, которые могли бы повлиять на его работоспособность.
10.9.2 Методы испытаний на износостойкость
10.9.2.1 Подъемник должен быть помещен/смонтирован и/или установлен в самом неблагоприятном положении на испытательной плоскости, как определено в 4.2.2.1, или в соответствии с инструкцией изготовителя по установке. Подъемник должен быть испытан в самом неблагоприятном положении относительно расположения системы опоры тела.
10.9.2.2 Рабочий режим: отношение паузы к активной фазе (рабочий цикл) во время испытания должен быть 15:85, если только изготовителем не указано иное. Если подъемник предназначен для работы на разных скоростях, испытание на износостойкость проводят на скорости, которая реализует самое неблагоприятное условие, заявленное изготовителем.
10.9.2.3 В случае необходимости допустимо использование альтернативного источника питания вместо аккумуляторной батареи при проведении испытания на износостойкость только по согласованию с изготовителем подъемника.
10.9.2.4 Техническое обслуживание следует проводить во время проведения испытания на износостойкость, только если это оговорено изготовителем в руководстве по эксплуатации.
10.9.2.5 Размещают нагрузку на подъемнике как показано на рисунках 3, 4 а) и 4 b). Поднимают и опускают подъемник за один цикл подъема.
10.9.2.6 Повторяют цикл подъема на протяжении 11000 общих рабочих циклов согласно следующей схеме и в порядке, указанном ниже:
a) поднимают и опускают ЦТП подъемника на максимальной скорости при отсутствии нагрузки в продолжении 1000 циклов, убедившись, что верхнее и нижнее ограничивающие устройства работают;
b) проводят 10000 циклов подъема с максимальной нагрузкой; для электрических подъемников приводят в действие нижнее ограничивающее устройство приблизительно на 1 с в каждом цикле подъема.
10.10.1 Требования статической прочности и устойчивости
10.10.1.1 После статических испытаний, как это определено в 10.10.2.1, подъемник должен функционировать в соответствии с требованиями изготовителя. Не должно наблюдаться остаточных деформаций или повреждений, которые могли бы повлиять на его работоспособность.
10.10.1.2 Максимальное отклонение любой горизонтальной направляющей, используемой в конструкции подъемника, должно быть не более 1 мм на каждые 200 мм направляющей.
Эти требования не применимы к подъемникам для ванны, которые расположены или смонтированы на самой ванне.
10.10.1.3 После статических испытаний, как это определено в 10.10.2.3, подъемник должен функционировать в соответствии с требованиями изготовителя. Не должно наблюдаться остаточных деформаций или повреждений, которые могли бы повлиять на его работоспособность.
10.10.2 Методы испытаний на статическую прочность и устойчивость
Подъемник должен быть помещен/смонтирован и/или установлен в самом неблагоприятном положении на испытательной плоскости, как определено в 4.2.2.1, или в соответствии с инструкцией изготовителя по установке.
Подъемник должен быть испытан в самом неблагоприятном положении по отношению к системе опоры тела.
Подъемник нагружают нагрузкой, равной 1,25 максимальной нагрузки, а затем подъемник на плоскости или испытательной ванне наклоняют на 5 мин в следующих направлениях:
- 5° вперед, назад и вбок.
Затем испытание проводят с горизонтально расположенным подъемником или испытательной ванной под нагрузкой, равной полуторакратной максимальной нагрузке, в течение 20 мин.
10.10.2.2 Если это применимо для конкретного подъемника, испытательный образец направляющей, установленный в соответствии с инструкциями изготовителя (но состоящим минимум из двух секций) подвергают воздействию максимальной нагрузки. Отклонения между каждой секцией направляющих должны быть внесены в отчет об испытаниях.
Следует применять требования и методы испытаний по 4.11.
Следует применять требования и методы испытаний по 4.12.
10.13.1 Требования к особым требованиям безопасности
Если подъемник способен выполнять самоходное горизонтальное передвижение, его линейная скорость должна быть ограничена значением 0,3 м/с.
Если подъемник предназначен для использования пациентом самостоятельно, необходимо обеспечить меры, которые не позволят оставить пациента в потенциально опасной ситуации в случае отказа подъемника.
Примечание - Это может быть, например, предупреждение в инструкции по применению, соответствующая сигнальная система или подведенный в удобное место телефон и т.д.
10.13.2 Методы испытаний особых требований безопасности
Требования 10.13.1 должны быть проверены измерением.
Следует применять требования и методы испытаний по разделу 8.
Следует применять требования и методы испытаний по разделу 9.
10.16.1 Общие положения
Следует применять требования 4.13.1.
10.16.2 Маркировка
Следует применять требования 4.13.2.
Кроме того, изготовитель должен поместить надпись, указывающую пользователю правильное положение(я) при подъеме и удержании подъемника для ванны (см. 10.1.2). Изготовитель также должен указать массу каждой части подъемника, в случае если масса любой из этих частей превышает 20 кг.
10.16.3 Инструкция по применению
Следует применять требования 4.13.3.

B.1 Периодический осмотр подъемника следует осуществлять с интервалами, определенными изготовителем, но не реже чем один раз в год. При периодическом осмотре проводят визуальный контроль (в особенности элементов, выдерживающих действие нагрузки и подъемных механизмов с фиксаторами, тормозами, средствами управления, устройствами безопасности и поддерживающими устройствами) и испытания работоспособности вместе с требуемыми мерами технического обслуживания, которые могут потребоваться, например регулировка тормозов, подтягивание застежек.
При каждом осмотре необходимо провести рабочее испытание с максимальной нагрузкой одного полного цикла подъема.
B.2 Периодический осмотр должен проводиться лицом, обладающим достаточной квалификацией и хорошо знакомым с устройством, использованием и обслуживанием подъемника. Объем работ по проведению периодического осмотра должен быть включен в инструкцию по применению, поставляемую с подъемником.
B.3 Любые наблюдения, касающиеся безопасности подъемника, должны быть отмечены, предпочтительно, в журнале, который должен(ны) вести сотрудник(и), ответственный(е) за эксплуатацию/технический уход подъемника.
В этом журнале должна быть отмечена дата, когда выполнены действия по устранению замеченных недостатков.
B.4 Дата осмотра подъемника и результат осмотра должны быть занесены в журнал вместе с подписью лица, осуществившего осмотр.
Все съемные жесткие системы опоры тела, подвергнутые осмотру, должны быть отмечены и внесены в журнал. Запись должна содержать описание ситуации, в которой используется подъемник (в домашних условиях или в учреждении и т.д.).
B.5 Если в результате периодического осмотра выявлен любой недостаток, износ или другое повреждение, представляющее опасность для осуществления подъема, необходимо немедленно оповестить владельца подъемника. Дальнейшее его использование запрещено до тех пор, пока недостаток не будет устранен.
B.6 Дефекты и повреждения, влияющие на безопасность подъема, которые обнаружены между осмотрами и уже устранены, должны быть внесены в журнал.
B.7 О дефектах и повреждениях необходимо сообщать изготовителю для учета. Подобный вид обратной связи фиксируют в журнале.
B.8 Периодический осмотр нежесткой системы опоры тела следует проводить с периодичностью, заявленной изготовителем, но не реже чем через каждые 6 мес. Более частые осмотры возможны, если нежесткие системы опоры тела стирают или используют чаще, чем обычно.
B.9 Осмотр должен проводиться лицом, обладающим достаточной квалификацией и хорошо знакомым с устройством, использованием и обслуживанием системы опоры тела.
Осмотр должен быть направлен на поиск признаков повреждения, износа или возможной поломки.
B.10 Отчет осмотра должен быть сохранен для рассмотрения его в случае происшествия.
B.11 Отчет осмотра должен содержать следующую информацию:
- дату осмотра;
- идентификационный и серийный номер системы опоры тела;
- информацию об условиях применения системы опоры тела;
- дату проведения очередного осмотра;
- данные и подпись лица, проводившего осмотр.
Таблица ДА.1
|
Обозначение
ссылочного |
Степень |
Обозначение и
наименование соответствующего |
|
ИСО 3746 |
IDТ |
ГОСТ Р 51402-99 (ИСО 3746-95) «Шум машин. Определение уровней звуковой мощности источников шума по звуковому давлению. Ориентировочный метод с использованием измерительной поверхности над звукоотражающей плоскостью» |
|
ИСО 3758 |
IDТ |
ГОСТ Р ИСО 3758-2007 «Изделия текстильные. Маркировка символами по уходу» |
|
ИСО 9999:2002 |
MOD |
ГОСТ Р 51079-2006 (ИСО 9999:2002) «Технические средства реабилитации людей с ограничениями жизнедеятельности. Классификация» |
|
ИСО 10993-1 |
IDТ |
ГОСТ Р ИСО 10993-1-2009 «Изделия медицинские. Оценка биологического действия медицинских изделий. Часть 1. Оценка и исследования» |
|
ИСО 14253-1 |
- |
* |
|
ИСО 14971 |
IDТ |
ГОСТ Р ИСО 14971-2006 «Изделия медицинские. Применение менеджмента риска к медицинским изделиям» |
|
ЕН 614-1 |
IDТ |
ГОСТ Р ЕН 614-1-2003 «Безопасность оборудования. Эргономические принципы конструирования. Часть 1. Термины, определения и общие принципы» |
|
ЕН 853 |
- |
* |
|
ЕН 854 |
- |
* |
|
ЕН 980 |
- |
* |
|
ЕН 1021-1 |
- |
* |
|
ЕН 1021-2 |
- |
* |
|
ЕН 12182:1999 |
- |
* |
|
ЕН 13480-3:2002 |
- |
* |
|
МЭК 60529 |
MOD |
ГОСТ 14254-96 (МЭК 529-89) «Степени защиты, обеспечиваемые оболочками (код IP)» |
|
МЭК 60601-1:2006 |
MOD |
ГОСТ Р 50267.0-92 (МЭК 601-1-88) «Изделия медицинские электрические. Часть 1. Общие требования безопасности» |
|
МЭК 60601-1-2:2005 |
MOD |
ГОСТ Р 50267.0.2-2005 (МЭК 60601-1-2:2001) «Изделия медицинские электрические. Часть 1-2. Общие требования безопасности. Электромагнитная совместимость. Требования и методы испытаний» |
|
МЭК 61000-3-3 Изменение 1 |
MOD |
ГОСТ Р 51317.3.3-2008 (МЭК 61000-3-3:2005) «Совместимость технических средств электромагнитная. Ограничение изменений напряжения, колебаний напряжения и фликера в низковольтных системах электроснабжения общего назначения. Технические средства с потребляемым током не более 16 А (в одной фазе), подключаемые к электрической сети при несоблюдении определенных условий подключения. Нормы и методы испытаний» |
|
МЭК 61000-4-3 |
MOD |
ГОСТ Р 51317.4.3-2006 (МЭК 61000-4-3:2006) «Совместимость технических средств электромагнитная. Устойчивость к радиочастотному электромагнитному полю. Требования и методы испытаний» |
|
МЭК 61672-1 |
MOD |
ГОСТ Р 53188.1-2008 (МЭК 61672-1:2002) «Шумомеры. Часть 1. Технические требования» |
|
* Соответствующий национальный стандарт отсутствует. До его принятия рекомендуется использовать перевод на русский язык данного международного стандарта. Перевод данного стандарта находится в Федеральном информационном фонде технических регламентов и стандартов. Примечание - В настоящей таблице использованы следующие условные обозначения степени соответствия стандартов: - IDT - идентичные стандарты; - MOD - модифицированные стандарты. |
||
Ключевые слова: инвалиды, подъемники бытовые, требования, методы испытаний