ИНФОРМАЦИОННО-ИЗДАТЕЛЬСКИЙ
ЦЕНТР
ГОСКОМСАНЭПИДНАДЗОРА РОССИЙСКОЙ ФЕДЕРАЦИИ
![]()
|
|
МЕТОДИЧЕСКИЕ
УКАЗАНИЯ |
|
Выпуск 25
Москва 1994
ГОСУДАРСТВЕННЫЙ
КОМИТЕТ РСФСР
САНИТАРНО-ЭПИДЕМИОЛОГИЧЕСКОГО НАДЗОРА
ПОСТАНОВЛЕНИЕ
№ 1
|
06.02.92 г. |
О
порядке действия на территории |
|
Москва |
Государственный комитет санитарно-эпидемиологического надзора при Президенте Российской Федерации на основании Закона РСФСР "О санитарно-эпидемиологическом благополучии населения" и Постановления Верховного Совета РСФСР "О ратификации Соглашения о создании Содружества Независимых Государств" от 12 декабря 1991 года постановляет:
Установить, что на территории России действуют санитарные правила, нормы и гигиенические нормативы, утвержденные бывшим Министерством здравоохранения СССР, в части, не противоречащей санитарному законодательству Российской Федерации, Указанные документы действуют впредь до принятия соответствующих нормативных актов Российской Федерации в области санитарно-эпидемиологического благополучия населения.
|
Председатель
Госкомсанэпиднадзора |
Е.Н. Беляев |
Аннотация
Методические указания по измерению концентраций вредных веществ в воздухе рабочей зоны предназначены для работников санитарно-эпидемиологических станций и санитарных лабораторий промышленных предприятий при осуществлении контроля за содержанием вредных веществ в воздухе рабочей зоны, а также научно-исследовательских институтов системы здравоохранения России и других заинтересованных министерств и ведомств.
Методические указания разрабатываются и утверждаются с целью обеспечения контроля соответствия фактических концентраций вредных веществ в воздухе рабочей зоны их предельно допустимым концентрациям (ПДК) - санитарно-гигиеническим нормативам, утвержденным Министерством здравоохранения СССР, оценки эффективности внедренных санитарно-гигиенических мероприятий, установления необходимости использования средств индивидуальной защиты органов дыхания, оценки влияния вредных веществ на состояние здоровья работающих.
Включенные в данный выпуск Методические указания подготовлены в соответствии с требованиями ГОСТ 12.1.005-88 "ССБТ. Общие санитарно-гигиенические требования к воздуху рабочей зоны" и ГОСТ 12.1.016-79 "ССБТ. Воздух рабочей зоны. Требования к методикам измерения концентраций вредных веществ" и одобрены Проблемной комиссией "Научные основы гигиены труда и профессиональной патологии" Методические указания являются обязательными при осуществлении вышеуказанного контроля.
Ответственные за выпуск: С.И. Муравьева, Г.А. Дьякова, К.М. Грачева, Е.В. Грыжина, В.Г. Овечкин
|
|
УТВЕРЖДЕНО Заместителем Главного государственного санитарного врача СССР А.И. Зайченко "12" декабря 1988 г. № 4908-88 |
МЕТОДИЧЕСКИЕ УКАЗАНИЯ
по фотометрическому измерению концентраций
5,5-диметилгидантоина в воздухе рабочей зоны
|
|
М.м. 123,14 |
5,5-диметилгидантоин (ДМГ) - C5H8O2N2 - кристаллический порошок, хорошо растворяется в воде, растворах щелочей.
В воздухе находится в виде аэрозоля.
Вещество малотоксично. Кожно-резорбтивным, местно-раздражающим и аллергенным эффектом при нанесении на кожу не обладает.
ОБУВ в воздухе - 10 мг/м3.
Метод основан на хлорировании ДМГ хлорной водой, окислении хромогенным реактивом и последующем фотометрическом измерении окрашенного продукта реакции при 582 нм. Отбор проб проводят с концентрированием на фильтр.
Нижний предел измерения - 2 мкг в анализируемом объеме раствора пробы.
Нижний предел измерения концентрации ДМГ в воздухе - 5 мг/м3 (при отборе 10 л воздуха).
Диапазон измеряемых концентраций ДМГ в воздухе от 5 до 50 мг/м3.
Измерению мешают соединения, содержащие активный хлор.
Суммарная погрешность не превышает ±17 %.
Время выполнения измерения 2 часа, включая отбор пробы.
Фотоэлектроколориметр ФЭК-56М или КФК.
Фильтры АФА-ВП.
Фильтродержатель.
Аспирационное устройство.
Колбы мерные, ГОСТ 1770-74, вместимостью 50 и 100 мл.
Пипетки, ГОСТ 20292-74, вместимостью 1, 2, 5 и 10 мл.
Стаканы химические, ГОСТ 25336-82, вместимостью 50 мл.
Пробирки П 1-16-200 ХС, ГОСТ 25336-82.
Хлор в баллоне.
Воздух, ГОСТ 1882-73 в баллонах с редукторами.
Крахмал, ГОСТ 10163-76, 0,5 %-й водный раствор.
Кадмий йодистый, ГОСТ 8421-79, х.ч.
Хромогенный реактив. Растворяют 1,1 г йодистого кадмия в 50 мл воды и прибавляют 50 мл 0,5 %-ного раствора крахмала.
Натрий уксуснокислый, ГОСТ 199-78, х.ч., 1М раствор.
Кислота уксусная, ГОСТ 61-75, х.ч., 1М раствор.
Буферный раствор ацетатный с pH 6,2 ± 0,1, готовят сливанием 95 мл 1М раствора натрия уксуснокислого и 5 мл 1М раствора уксусной кислоты.
Стандартный раствор № 1 5,5-диметилгидантоина готовят растворением 100 мг вещества в мерной колбе на 100 мл. Раствор устойчив в течении месяца.
Стандартный раствор № 2 с концентрацией 10 мкг/мл готовят путем соответствующего разбавления водой стандартного раствора № 1. Раствор устойчив в течении суток.
Натрий азотнокислый, ГОСТ 4197-74, х.ч., 1 %-ный раствор.
Хлорная вода с массовой концентрацией активного хлора 3 - 8 мг/мл, хранят в склянке из темного стекла. Раствор годен в течение 20 суток. Соответствующим разбавлением в день применения готовят раствор с концентрацией активного хлора 1 мг/мл. Концентрацию активного хлора определяют иодометрически. Для этого к 10 мл хлорной воды прибавляют 5 мл 30 %-ного раствора уксусной кислоты, 2 мл 10 %-ного раствора калия йодистого, закрывают притертой пробкой и оставляют на 3 мин. Титруют 0,1 М раствором тиосульфата натрия в присутствии крахмала.
Воздух с объемным расходом 2 л/мин аспирируют через фильтр, укрепленный в фильтродержателе. Для измерения 0,5 ОБУВ ДМГ следует отобрать 10 л воздуха. Срок хранения отобранных проб 1 сутки.
Градуировочные растворы (устойчивы в течении 2-х часов) готовят согласно таблице:
Таблица 7
Шкала градуировочных растворов
|
№ стандарта |
Стандартный раствор № 2, мл |
Дистиллированная вода, мл |
Содержание ДМГ в градуировочном растворе, мкг |
|
1 |
0 |
4 |
0 |
|
2 |
0,2 |
3,8 |
2 |
|
3 |
0,4 |
3,6 |
4 |
|
4 |
0,6 |
3,4 |
6 |
|
5 |
0,8 |
3,26 |
8 |
|
6 |
1,0 |
3,0 |
10 |
В подготовленные градуировочные растворы приливают 2 мл хлорной воды с концентрацией активного хлора 1 мг/мл и оставляют на 1 мин, затем продувают воздухом со скоростью 0,4 - 0,5 л/мин в течение 15 мин. Прибавляют 2 мл буферного раствора, 1 мл раствора азотнокислого натрия и оставляют на 1 мин, затем вводят 2 мл хромогенного реактива, через 12 мин измеряют оптическую плотность раствора на фотоэлектроколориметре. Светофильтр № 7 (582 нм) в кюветах с толщиной поглощающего слоя 20 мм по отношению к раствору сравнения, не содержащему ДМГ.
Строят градуировочный график: на ось ординат наносят значения оптических плотностей градуировочных растворов, на ось абсцисс - соответствующие им величины содержания ДМГ в градуировочном растворе (в мкг).
Проверка градуировочного графика проводится 1 раз в месяц или в случае использования новой партии реактивов.
Фильтр с отобранной пробой помещают в стакан и обрабатывают водой 3 раза порциями по 10 мл. Сливают раствор в мерную колбу. На 50 мл, отжимая фильтр стеклянной палочкой, объем в колбе доводят до метки водой. 2 мл этого раствора помещают в пробирку, объем доводят до 4 мл водой, Прибавляют 1 мл хлорной воды с концентрацией активного хлора 1 мг/мл и оставляют на 1 мин, затем продувают воздухом со скоростью 0,4 - 0,5 л/мин в течении 15 мин. прибавляют 2 мл буферного раствора, 1 мл раствора натрия азотистокислого, оставляют на 1 мин, затем вводят 2 мл хромогенного реактива.
Оптическую плотность полученного анализируемого раствора пробы измеряют аналогично градуировочным растворам по сравнению с контролем, который готовят одновременно и аналогично пробам.
Количественное определение содержания ДМГ в анализируемой пробе проводят по предварительно построенному градуировочному графику.
Концентрацию ДМГ "С" в воздухе в мг/м3 вычисляют по формуле:
С = (а × в) / (б × V0), где
а - содержание ДМГ в анализируемом объеме пробы мкг;
в - общий объем пробы, мл;
б - объем пробы, взятой для анализа, мл;
V0 - объем воздуха (в л), отобранный для анализа и приведенный к стандартным условиям (см. Приложение 1).
Приведение объема воздуха к стандартным условиям проводят по следующей формуле:
![]()
где
V - объем воздуха, отобраный для анализа, л;
Р - барометрическое давление, кПа (101,33 кПа = 760 мм рт. ст.);
t - температура воздуха в месте отбора пробы, °С.
Для удобства расчета V20 следует пользоваться таблицей коэффициентов (см. Приложение 2). Для приведения воздуха к стандартным условиям надо умножить V на соответствующий коэффициент.
Коэффициент К для приведения объема воздуха к стандартным условиям
|
°С |
Давление Р, кПа (мм рт. ст.) |
|||||||||
|
97,33 |
97,86 |
98,4 |
98,93 |
99,46 |
100 |
100,53 |
101,06 |
101,33 |
101,86 |
|
|
(730) |
(734) |
(738) |
(742) |
(746) |
(750) |
(754) |
(758) |
(760) |
(764) |
|
|
-30 |
1,1582 |
1,1646 |
1,1709 |
1,1772 |
1,1836 |
1,1899 |
1,1963 |
1,2026 |
1,2058 |
1,2122 |
|
-26 |
1,1393 |
1,1456 |
1,1519 |
1,1581 |
1,1644 |
1,1705 |
1,1763 |
1,1831 |
1,1862 |
1,1925 |
|
-22 |
1,1212 |
1,1274 |
1,1336 |
1,1396 |
1,1458 |
1,1519 |
1,1581 |
1,1643 |
1,1673 |
1,1735 |
|
-18 |
1,1036 |
1,1097 |
1,1159 |
1,1218 |
1,1278 |
1,1338 |
1,1399 |
1,1460 |
1,1490 |
1,1551 |
|
-14 |
1,0866 |
1,0926 |
1,0986 |
1,1045 |
1,1105 |
1,1164 |
1,1224 |
1,1284 |
1,1313 |
1,1373 |
|
-10 |
1,0701 |
1,0760 |
1,0819 |
1,0877 |
1,0986 |
1,0994 |
1,1053 |
1,1112 |
1,1141 |
1,1200 |
|
-06 |
1,0640 |
1,0599 |
1,0657 |
1,0714 |
1,0772 |
1,0829 |
1,0887 |
1,0945 |
1,0974 |
1,1032 |
|
-02 |
1,0385 |
1,0442 |
1,0499 |
1,0556 |
1,0613 |
1,0669 |
1,0726 |
1,0784 |
1,0812 |
1,0869 |
|
0 |
1,0309 |
1,0366 |
1,0423 |
1,0477 |
1,0535 |
1,0591 |
1,0648 |
1,0705 |
1,0733 |
1,0789 |
|
+02 |
1,0234 |
1,0291 |
1,0347 |
1,0402 |
1,0459 |
1,0514 |
1,0571 |
1,0627 |
1,0655 |
1,0712 |
|
+06 |
1,0087 |
1,0143 |
1,0198 |
1,0253 |
1,0309 |
1,0363 |
1,0419 |
1,0475 |
1,0502 |
1,0557 |
|
+10 |
0,9944 |
0,9990 |
1,0054 |
1,0108 |
1,0162 |
1,0216 |
1,0272 |
1,0326 |
1,0353 |
1,0407 |
|
+14 |
0,9806 |
0,9860 |
0,9914 |
0,9967 |
1,0027 |
1,0074 |
1,0128 |
1,0183 |
1,0209 |
1,0263 |
|
+18 |
0,9671 |
0,9725 |
0,9778 |
0,9880 |
0,9884 |
0,9936 |
0,9989 |
1,0043 |
1,0069 |
1,0122 |
|
+20 |
0,9605 |
0,9658 |
0,9711 |
0,9783 |
0,9816 |
0,9868 |
0,9921 |
0,9974 |
1,0000 |
1,0053 |
|
+22 |
0,9539 |
0,9592 |
0,9645 |
0,9696 |
0,9749 |
0,9800 |
0,9853 |
0,9906 |
0,9932 |
0,9985 |
|
+24 |
0,9475 |
0,9527 |
0,9579 |
0,9631 |
0,9683 |
0,9735 |
0,9787 |
0,9839 |
0,9865 |
0,9917 |
|
+26 |
0,9412 |
0,9464 |
0,9516 |
0,9566 |
0,9618 |
0,9669 |
0,9721 |
0,9773 |
0,9755 |
0,9851 |
|
+28 |
0,9349 |
0,9401 |
0,9453 |
0,9503 |
0,9955 |
0,9605 |
0,9657 |
0,9708 |
0,9734 |
0,9785 |
|
+30 |
0,9288 |
0,9339 |
0,9391 |
0,9440 |
0,9432 |
0,9542 |
0,9594 |
0,9646 |
0,9670 |
0,9723 |
|
+34 |
0,9167 |
0,9218 |
0,9268 |
0,9318 |
0,9368 |
0,9418 |
0,9468 |
0,9519 |
0,9544 |
0,9595 |
|
+38 |
0,9049 |
0,9099 |
0,9149 |
0,9198 |
0,9248 |
0,9297 |
0,9347 |
0,9397 |
0,9421 |
0,9471 |
|
№№ п/п |
Методические указания |
Учреждения, представившие Методические указания |
|
1 |
2 |
3 |
|
1 |
Методические указания по газохроматографическому измерению концентраций аллилглицидилового эфира в воздухе рабочей зоны |
НИИ ГТиПЗ АМН СССР |
|
2 |
Методические указания по газохроматографическому измерению концентраций аллил-2-метилпропеоната (аллилметакрилат, АлМАК) в воздухе рабочей зоны |
НИИ ГТиПЗ г. Горький |
|
3 |
Методические указания по фотометрическому измерению концентраций аллил-(альфа)-цианакрилата и аллилцианацетата в воздухе рабочей зоны |
НИИ ГТиПЗ г. Горький |
|
4 |
Методические указания по измерению концентраций 2-амино-4-метокси-6-метил-1,б/н,3,5-триазина методом тонкослойной хроматографии в воздухе рабочей зоны |
Мединститут г. Львов |
|
5 |
Методические указания по хроматографическому измерению концентраций бициклата в воздухе рабочей зоны |
ВНИИГИНТОКС г. Киев |
|
6 |
Методические указания по фотометрическому измерению концентраций бромида аммония в воздухе рабочей зоны |
НИИМСК г. Ярославль |
|
7 |
Методические указания по измерению концентраций бромида калия потенциометрическим титрованием с ионселективным электродом в воздухе рабочей зоны |
НИИМСК г. Ярославль |
|
8 |
Методические указания по измерению концентраций бромида лития методом пламенной фотометрии в воздухе рабочей зоны |
НИИМСК г. Ярославль |
|
9 |
Методические указания по газохроматографическому измерению концентраций О-бромтолуола в воздухе рабочей зоны |
НИИ ГТиПЗ АМН СССР |
|
10 |
Методические указания по измерению концентраций гексабромциклододекакана (ГБЦД) методом тонкослойной хроматографии в воздухе рабочей зоны |
ВНИИГИНТОКС г. Киев |
|
11 |
Методические указания по фотометрическому измерению концентраций диалкилдиметил-аммоний хлорида (С17 - С20) и алкилбензилдиметиламмоний хлорида (С10 - С16)-ДОН-2, диалкиламинопропионитрила (С7 - С9)-Ифхаигаз, алкилтриметиламмоний хлорида (C10 - C16), ДОН-52 в воздухе рабочей зоны |
Ростовский-на-Дону мединститут |
|
12 |
Методические указания по газохроматическому измерению концентраций диметилацеталя-(альфа)-бром-(бета)-метоксипропионового альдегида в воздухе рабочей зоны |
Мединститут г. Донецк |
|
13 |
Методические указания по газохроматографическому измерению концентраций диметилацеталя-(бета)- метоксиакролеина в воздухе рабочей зоны |
- " - |
|
14 |
Методические указания по фотометрическому измерению концентраций 5,5-диметилгидантоина в воздухе рабочей зоны |
Организация Минхимпром |
|
15 |
Методические указания по газохроматографическому измерению концентраций диметилэтинилкарбинола (ДМЭК) в воздухе рабочей зоны |
НИИ ГТиПЗ АМН СССР |
|
16 |
Методические указания по газохроматографическому измерению концентраций изопропилциклогексана (гидрокумола) в воздухе рабочей зоны |
ГорСЭС г. Москвы |
|
17 |
Методические указания по измерению концентраций ингибиторов КЛОЭ-15 и ВНХ-1 методом тонкослойной хроматографии в воздухе рабочей зоны |
НИИ ГТиПЗ г. Киев |
|
18 |
Методические указания по фотометрическому измерению концентраций кальциевой соли карбоксиметилцеллюлозы в воздухе рабочей зоны |
НИИ ГТиПЗ г. Ангарск |
|
19 |
Методические указания по газохроматографическому измерению концентраций канифоли и модифицированной моноэтаноламином канифоли в воздухе рабочей зоны |
Белорусский санитарно-гигиенический институт |
|
20 |
Методические указания по фотометрическому измерению концентраций соединений кальция (ОВК, поликара, гидроксидакальция) в воздухе рабочей зоны |
Армянский НИИ ГТиПЗ г. Ереван |
|
21 |
Методические указания по измерению концентраций кобальту, титана и вольфрама методом атомно-абсорбционной спектрофотометрии в воздухе рабочей зоны |
НИИ ГТиПЗ АМН СССР |
|
22 |
Методические указания по фотометрическому измерению концентраций синтетических моющих средств "Лотос- автомат", "Эра-A", "Био-С", "Юка", "Вихрь", "Бриз" по основному компоненту - поверхностно-активному веществу додецилбензолсульфонату натрия в воздухе рабочей зоны |
Мединститут г. Донецк |
|
23 |
Методические указания по измерению концентрации люминофора ФГИ-520-1 методом атомно-абсорбционной спектрофотометрии в воздухе рабочей зоны |
Мединститут г. Ставрополь |
|
24 |
Методические указания по фотометрическому измерению концентраций люминофора Л-43 в воздухе рабочей зоны |
Мединститут г. Ставрополь |
|
25 |
Методические указания по газохроматографическому измерению концентраций метилового эфира ацетоуксусной кислоты в воздухе рабочей зоны |
НИИ ГТиПЗ, г. Уфа |
|
26 |
Методические указания по газохроматографическому измерению концентраций метилпиразола в воздухе рабочей зоны |
Армянский НИИ ГТиПЗ г. Ереван |
|
27 |
Методические указания по фотометрическому измерению концентрации монохлорацетата натрия в воздухе рабочей зоны |
НИИ ГТиПЗ г. Уфа |
|
28 |
Методические указания по хроматографическому измерению концентраций альфа-нафтоксипропионовой кислоты в воздухе рабочей зоны |
НИИ ГТиПЗ г. Уфа |
|
29 |
Методические указания по газохроматографическому измерению концентраций 2-нитро-4-хлорфенола в воздухе рабочей зоны |
НИИ ГТиПЗ, АМН СССР |
|
30 |
Методические указания по измерению концентрации оксим- 2-метил-1-диэтиламинобутанона-3(аминооксима) в воздухе рабочей зоны методом тонкослойной хроматографии |
НИИ ГТиПЗ, г. Киев |
|
31 |
Методические указания по газохроматографическому измерению концентраций пентанола-2 в воздухе рабочей зоны |
НИИ ГТиПЗ АМН СССР |
|
32 |
Методические указания по фотометрическому измерению концентраций пирокатехина, резорцина, гидрохинона в воздухе рабочей зоны |
НИИ гигиены водного транспорта г. Одесса |
|
33 |
Методические указания по фотометрическому измерению концентраций селеноводорода в воздухе рабочей зоны |
НПО "Исток" Фрязино |
|
34 |
Методические указания по газохроматографическому измерению концентраций толуола в воздухе рабочей зоны с применением для отбора проб пассивных дозиметров |
НИИ ГТиПЗ АМН СССР |
|
35 |
Методические указания по фотометрическому измерению концентраций 4, 5, 6-триаминопиримидина сернокислого (TAП∙H2SО4) в воздухе рабочей зоны |
Мединститут г. Рига |
|
36 |
Методические указания по фотометрическому измерению 1-(2’, 4’, 6’-трихлорфенил)-3-[3”-(2”’, 4”’-дитретамил- феноксиацетиламино) бензоиламино]-4-(4””-метоксифенилазо)-пиразолона-5 в воздухе рабочей зоны |
НИИМСК г. Ярославль |
|
37 |
Методические указания по фотометрическому измерению концентраций 2, 4, 6-трихлор-фенилгидразина в воздухе рабочей зоны |
КазНИИ фотопроект |
|
38 |
Методические указания по фотометрическому измерению концентрации 1-(2’,4’,6’-трихлорфенил)-3[3”-(2”’,4’”- дитретамилфеноксиацетиламино) бензоиламино]-пиразолона-5 в воздухе рабочей смеси |
НИИМСК г. Ярославль |
|
39 |
Методические указания по фотометрическому измерению концентраций (фенилазо) малондинитрила в воздухе рабочей зоны |
Мединститут г. Рига |
|
40 |
Методические указания по фотометрическому измерению концентрации фузикокцина в воздухе рабочей зоны |
- " - |
|
41 |
Методические указания по фотометрическому измерению концентраций фурадонина в воздухе рабочей зоны |
- " - |
|
42 |
Методические указания по измерению концентраций О-хлорбензолсульфамида методом тонкослойной хроматографии в воздухе рабочей зоны |
Мединститут г. Львов |
|
43 |
Методические указания по измерению концентраций О-хлорбензолсульфохлорида методом тонкослойной хроматографии в воздухе рабочей зоны |
Мединститут г. Львов |
|
44 |
Методические указания по газохроматографическому измерению концентраций циклододеканоноксима и додекалактама в воздухе рабочей зоны |
ГорСЭС г. Москва |
|
45 |
Методические указания по измерению концентраций цинкового комплекса диэтилентриаминпента уксусной кислоты методом атомно-абсорбционной спектрофотометрии в воздухе рабочей зоны |
Ростовский-на-Дону мединститут |
Вещества, определяемые по ранее утвержденным и опубликованным Методическим Указаниям:
|
Наименование вещества |
Опубликованные Методические Указания |
|
пентаэритрит |
МУ на гравиметрическое определение пыли в воздухе рабочей зоны и в системах вентиляционных установок. М., 1981, с. 235 (переизданный сборник МУ вып. 1 - 5) |
|
фторуглеродные волокна |
|
|
2-нафтойная кислота |
|
|
эпоксидная смола Э-23 |
- " - |
|
эпоксидная краска |
|
|
ПЭП-534 |
|
|
гексаметиллендиамин уксуснокислый- |
МУ на колориметрическое определение гексаметилендиамина в воздухе М., 1981, с. 106 (переизданный сборник МУ, вып. 1 - 5) Отбор проб на фильтр АФА-ВП-20 |
|
2,2-дипиридил с этилдихлорсиланом |
МУ по хроматографическому измерению концентраций 2,2-дипиридила в воздухе, в. 23/1 с. 41 (в печати) |
|
рифампицин |
МУ по фотометрическому определению рифампицина в воздухе, М., B. XVIII, с. 198 |
|
6. Катализатор Дабко |
|
|
эпоксидные клеи |
МУ по газохроматографическому измерению концентраций эпихлоргидрина в воздухе, М., 1988, вып. 22, с. 378 |
|
УП-5-207, УП-207-3, |
|
|
УП-5-253, УП-5-240 |

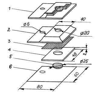
Рис. 1. Пассивный дозиметр ПД-1
|
1. Общий вид в разрезе 2. Верхняя крышка (фольгированный материал) 3. Мембрана (фильтр "красная лента") 4. Вкладыш картонный для адсорбента 5. Подложка под адсорбент (стекловолокно ФСВ-А) 6. Нижняя крышка (фольгированный материал) |
СОДЕРЖАНИЕ