![]()
ОРДЕНА ТРУДОВОГО
КРАСНОГО ЗНАМЕНИ
НАУЧНО-ИССЛЕДОВАТЕЛЬСКИЙ
ИНСТИТУТ ОСНОВАНИЙ
И ПОДЗЕМНЫХ СООРУЖЕНИЙ
ИМ. Н.М. ГЕРСЕВАНОВА
ГОССТРОЯ СССР
РЕКОМЕНДАЦИИ
ПО МЕТОДИКЕ
ИСПЫТАНИЙ
СИЛЬНО-СЖИМАЕМЫХ
ГРУНТОВ
В ОСНОВАНИЯХ
НЕФТЕПРОМЫСЛОВЫХ
РЕЗЕРВУАРОВ
МОСКВА
1987
В Рекомендациях указаны предъявляемые требования к отбору образцов и исследованию в лаборатории сильносжимаемых грунтов малой степени литификации в основаниях нефтепромысловых резервуаров. Приведены отработанные в Институте методики определения строительных свойств грунтов малой степени литификации (деформируемость, коэффициенты фильтрации Кср и фильтрационной консолидации Сv, боковое давление x, а также прочность и тиксотропия) с учетом их особенностей и применительно к основаниям нефтеналивных емкостей.
Рекомендации рассмотрены на секции Научно-технического совета и рекомендованы к опубликованию.
Рекомендации предназначены для инженерно-технических работников грунтовых лабораторий и проектно-изыскательских отделов.
Рекомендации составлены в лаборатории методов исследования грунтов НИИ оснований и подземных сооружений ст. научн. сотр. Г.В. Сорокиной.
В проведении экспериментальных исследований и подготовке Рекомендации к печати принимали участие ст. инж. Н.А. Смирнова и ст. техник Г.П. Шишкина.
1.1. Рекомендации предназначены для инженерно-технических работников производственных и научно-исследовательских лабораторий, проводящих исследование сильносжимаемых грунтов в основании нефтепромысловых резервуаров большой емкости.
1.2. К сильносжимаемым грунтам следует относить грунты малой степени литификации, т.е. осадочные глинистые отложения субаквального происхождения в начальной стадии формирования (илы, сапропеля, ленточные глины и суглинки, текучепластичные и мягкопластичные глины), и грунты, образовавшиеся в условиях переменного режима избыточного увлажнения (торф, заторфованный грунт).
1.3. Рекомендации составлены применительно к исследованию грунтов оснований нефтепромысловых резервуаров емкостью от 10 до 50 тыс. м3, которые могут быть подразделены на резервуары с плавающей крышей, с крышей понтонного типа и со щитовой кровлей.
При составлении программы исследования грунтов оснований следует учитывать давление под днищем свободного и заполненного резервуара, а также особенности работы основания резервуара, а именно: большие сжимаемые толщи (до 30 - 40 м) и цикличность загружения резервуара.
Металлические резервуары, которые применяют в СССР, имеют размеры 28,5 - 60,7 м (диаметр) и 11,92 - 17,95 м (высота). Давление под днищем составляет 0,016 - 0,017 МПа и не превышает 0,025 МПа.
1.4. При исследовании сильносжимаемых грунтов в основании металлических резервуаров следует учитывать способ устройства оснований и фундаментов в сложных инженерно-геологических условиях (предварительное уплотнение грунтов основания заполнением резервуара, насыпью, глубинным водопонижением).
Широко применяют кольцевые фундаменты под стенку резервуара, а под стальную часть днища - фундамент-подсыпку из песка, гравия или щебня.
1.5. При проектировании оснований резервуаров определяющим является расчет оснований по деформациям, определение предельно допустимых деформаций при циклическом загружении и прогноз развития осадки основания во времени. При этом достаточно решить одномерную задачу консолидации, которой соответствует компрессионный опыт. Расчеты оснований по прочности имеют подчиненное значение. Их необходимость обусловливается малым заглублением основания по сравнению с диаметром резервуара. Опасность потери устойчивости резервуара возникает, как правило, в период первого наполнения (гидравлические испытания), когда возможно выдавливание слабого слоя грунта. Устойчивость резервуара на сильносжимаемом основании определяют по приближенным формулам, основанным на решениях Прандтля dg = 5,14G, где учитывается только сцепление. Значение dg должно быть больше массы резервуара и воды, заполняющей резервуар.
1.6. Исследовать грунты - основания нефтяных резервуаров следует в полевых и лабораторных условиях. Настоящие рекомендации распространяются на методы испытания в лабораторных условиях сильносжимаемых грунтов, залегающих в основании нефтепромысловых резервуаров.
1.7. В рекомендациях рассматриваются методы определения деформируемости сильносжимаемых грунтов при циклическом загружении без возможности бокового расширения в компрессионном приборе и стабилометре типа Б. Рекомендуется для стабилизированного состояния грунта в компрессионном приборе определять скорость фильтрации при фильтрации грунтовой воды сверху вниз при малых градиентах напора. По данным опытов в компрессионных приборах и стабилометрах рекомендуется вычислять модуль сжимаемости Е, коэффициент фильтрационной консолидации Cv и коэффициент фильтрации Kср. Коэффициент консолидации следует определять путем аналитической обработки кривой консолидации.
1.8. Рекомендуется определять прочность сильносжимаемых грунтов в нестабилизированном состоянии по схеме недренированного испытания в трехосных приборах в соответствии с ГОСТ 26518-85. Грунты. Метод лабораторного определения характеристик прочности и деформируемости при трехосном сжатии (М., Издательство стандартов, 1985).
1.9. При длительной загрузке нефтяных резервуаров рекомендуется учитывать ползучесть грунта для назначения его прочностных характеристик. Для учета ползучести при назначении прочностных характеристик следует определять порог прочности τпр в условиях однородного напряженного состояния в трехосных приборах при стабилизированном состоянии образца путем его ступенчатого загружения. («Порог прочности» соответствует прочности в условиях ползучести».)
1.10. Рекомендуется учитывать структурные особенности сильносжимаемых глинистых грунтов в основаниях нефтепромысловых резервуаров. Для этого следует определять методом расплющивания под нагрузкой 2 кг структурную связность цилиндрических образцов (1 см3) грунта ненарушенного и нарушенного сложения и тиксотропию. Структурную связность вычисляют по отношению минимального давления расплющивания образца ненарушенного сложения к минимальному давлению расплющивания образца нарушенного сложения.
Тиксотропией следует называть способность тонкодисперсных систем под влиянием механических воздействий (встряхивание, размешивание, удар, вибрация) или под влиянием ультразвуковых волн и электрического тока в определенных условиях разжижаться, переходя в золь, а после устранения причин разжижения постепенно застывать и переходить в гель. Это явление выражается в разрушении структурных связей и уменьшении прочности грунтов; а после устранения причины разрушения способности восстанавливать во времени структурные связи частично или полностью.
Тиксотропию грунта рекомендуется оценивать по показателям разупрочнения под влиянием механических воздействий и по показателям тиксотропного упрочнения во времени.
1.11. Показателем тиксотропного разупрочнения является коэффициент структурной прочности на сдвиг Kспс:

где tненар - прочность образца ненарушенного сложения; tнар - прочность образца нарушенного сложения.
Показателями тиксотропного упрочнения следует считать кривые кинетики тиксотропного упрочнения, имеющие затухающий характер, по которым могут быть определены прочность грунта после нарушения структуры и прочность через любой промежуток времени. Коэффициент тиксотропного упрочнения по Скемптону и Р. Норсею равен:
![]()
где tнар - прочность грунта после нарушения структуры и упрочнения за данный промежуток времени; tненар - прочность грунта с ненарушенной структурой.
1.12. Характеристики деформируемости, прочности, структурной связности и тиксотропии сильносжимаемых грунтов должны сопровождаться определением объемного веса, влажности, влажности на границах текучести и раскатывания, удельного веса и содержания органических веществ в виде растительных остатков и гумуса.
1.13. Объемный вес, характеристики деформируемости, прочности, структурной связности и тиксотропии следует определять на образцах ненарушенного сложения, отбираемых из скважин в виде цилиндрических кернов и из шурфов в виде монолитов.
1.14. При определении строительных свойств грунтов оснований нефтяных резервуаров в северных районах следует иметь в виду, что наиболее распространенными причинами деформаций и неравномерных осадок основания зданий с малонагруженными фундаментами является морозное пучение.
1.15. При проектировании оснований нефтяных резервуаров в северных районах на пучинистых грунтах рекомендуется пользоваться Руководством по проектированию оснований и фундаментов на пучинистых грунтах (М., Стройиздат, 1979).
1.16. Гранулометрический состав грунта следует определять по ГОСТ 12536-79 Грунты. Методы лабораторного определения гранулометрического (зернового) и микроагрегатного состава (М., Издательство стандартов, 1980), природную влажность по ГОСТ 5180-84 Грунты. Методы лабораторного определения физических характеристик (М., Издательство фундаментов, 1985).
1.17. При определении характеристик сжимаемости, фильтрации и прочности рекомендуется учитывать анизотропию сильносжимаемых грунтов.
2.1. При отборе, упаковке, транспортировании и хранении образцов сильносжимаемых грунтов малой степени литификации следует руководствоваться ГОСТ 12071-84. Грунты. Отбор, упаковка, транспортирование и хранение образцов (М., Издательство стандартов, 1984) и настоящими Рекомендациями.
2.2. Образцы грунтов малой степени литификации ненарушенного сложения из шурфов следует отбирать из зачищенных стенок или дна в виде куба, параллелепипеда или образца произвольной формы с размерами сторон не менее 200´200´200 мм. Если монолит не сохраняет формы без жесткой тары, образцы отбирают методом режущего кольца по ГОСТ 5180-84.
При отборе торфов и заторфованных грунтов из шурфов рекомендуется использовать рабочий механизм пробоотборника, в котором применен принцип устройства для стрижки волос. Например, зубчатый тонкостенный пробоотборник Л.А. Амаряна (рис. 1), который состоит из двух тонкостенных цилиндров, вставленных друг в друга. Оба цилиндра с одной стороны имеют острые зубья, а с другой - накатанные утолщения для их поворота. При отборе образца пробоотборник слегка залавливают в торф. Одной рукой придерживают наружный цилиндр, а другой поворачивают внутренний цилиндр. В результате торф и его волокна перерезаются зубьями двух цилиндров и в пробоотборник поступает образец правильной цилиндрической формы.
Рис. 1 Зубчатый пробоотборник для торфа и заторфованных грунтов
2.3. При отборе образцов грунтов малой степени литификации с ненарушенным сложением из скважин рекомендуется пользоваться грунтоносами, основанными на принципе обуривания или задавливания. Не допускается применять забивные и вибропогружаемые грунтоносы.
В обуривающем грунтоносе образец грунта в процессе его отбора принимается в невращающийся стакан или гильзу.
Внутренний диаметр башмака грунтоноса должен быть на 1 - 2 мм меньше внутреннего диаметра грунтоприемной гильзы для устранения трения грунта по стенке гильзы. Обуривающий грунтонос системы К.И. Тыльчевского показан на рис. 2.
Грунтонос должен быть снабжен клапаном, обеспечивающим вакуум при подъеме образца из скважины на поверхность. Рекомендуется клапан I, предложенный Керсте (рис. 3).
Рис. 2. Обуривающий грунтонос системы К.И. Тыльчевского: а - общий вид; б - разрез
Вакуум возникает в стакане с образцом при плотном закрытом клапане в момент извлечения образца из скважины. Клапан соединен со штангами, принудительно закрывается, вследствие поднятия штанг при извлечении грунтоноса с образцом грунта из скважины.
При герметическом запоре режущего цилиндра с помощью клапана излишне рекомендовать для отбора структурных глинистых грунтов малой степени литификации грунтоносы с ножами, перекрывающими основание грунтоноса при подъеме его на поверхность. Такого рода грунтоносы необходимы только для грунтов, лишенных структурной связности.
Диаметр грунтоприемной гильзы в грунтоносах должен быть не менее 80 мм. При отборе образцов для определения прочности грунтов в трехосных приборах диаметр грунтоприемной гильзы должен быть не менее 100 мм.
2.4. Для испытания грунтов в компрессионных приборах образец следует вырезать тонкостенным кольцом с острым режущим краем. Рекомендуется образец грунта 3 с помощью штампа 2 с ручкой 1 (рис. 4) выдвинуть из гильзы грунтоноса снизу вверх только на высоту компрессионного кольца 4. После того как образец вырезан, повторить этот прием для вырезывания следующего образца.
2.5. Для определения сжимаемости и прочности грунтов в трехосных приборах образцы должны иметь форму правильных цилиндров с отношением диаметра к высоте 1:2; 1; 2,2. Рекомендуется применять для однородных грунтов образцы диаметром 38 мм и высотой 76 - 80 мм или диаметром 55 мм и высотой 110 мм. Для неоднородных грунтов (включения более 2 мм) рекомендуются образцы диаметром 100 - 80 мм, высотой 200 - 160 мм.
2.6. Для получения образцов грунта в виде сплошного цилиндра диаметром 100, 92, 80, 55, 38 мм рекомендуется применять прибор, снабженный заменяемой многозубой полой фрезой. Описание прибора дано в прил. 1. Вырезать цилиндрические образцы диаметром 38 мм также допускается тонкостенным металлическим стаканом с тонким режущим краем.
2.7. Для каждого образца исследуемого грунта на сжимаемость, фильтрацию, боковое давление и прочность должны быть определены плотность до и после испытания и влажность по ГОСТ 5180-84. Для полностью водонасыщенных грунтов после испытания можно ограничиться только определением влажности.
Рис. 3 Грунтонос Керсте
Рис. 4 Прием вырезывания сильно-сжимаемого грунта в кольца компрессионных приборов
2.8. Для каждого исследуемого грунта на сжимаемость, фильтрацию, боковое давление и прочность должны быть определены: влажность на границе текучести WL и на границе раскатывания Wp грунта природной влажности (избыток влаги отжимается на прессе), плотность частиц грунта rs (ГОСТ 5180-84), структурная связность методом расплющивания (Инструкция по определению структурной связности пластичных глинистых грунтов. М., Машстройиздат, 1950), количество органических остатков и гумуса (ГОСТ 23740-79. Грунты. Метод лабораторного определения содержания органических веществ. М., Издательство стандартов, 1979).
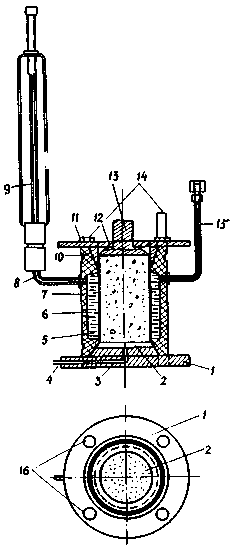
3.1. Определение деформируемости сильносжимаемых грунтов в основании нефтепромысловых резервуаров рекомендуется проводить без возможности бокового расширения при осевом фильтрационном потоке при циклическом загружении в компрессионном приборе или в стабилометре типа Б (см. рис. 5). Конструкция компрессионного прибора должна соответствовать требованиям ГОСТ 23908-79. Грунты. Метод лабораторного определения сжимаемости (М., Издательство стандартов, 1979). Конструкция стабилометра типа Б должна позволять полностью исключить боковое расширение грунта, передавать вертикальное давление независимо от гидростатического, измерять боковое давление. Для измерения бокового давления (см. разд. 4) рекомендуется применять аэростатический манометр. Стабилометр, отвечающий этим требованиям типа стабилометра Цилюрика, приведен на рис. 5. Отношение диаметра образца (55 мм) к высоте должно быть не менее 2. Стабилометр должен быть снабжен нагрузочным устройством, обеспечивающим плавность приложения нагрузки и постоянство вертикального давления на образец в течение опыта. При испытании на сжимаемость образцов торфа заторфованных грунтов рекомендуется применять рычаги в форме дисков.
3.2. Подготовка компрессионного прибора к определению деформируемости грунта должна осуществляться в соответствии с требованиями ГОСТ 23908-79. При подготовке стабилометра к опыту все его части должны быть тщательно протерты. Стабилометр следует собирать в следующей последовательности. Внутрь корпуса камеры 5 пропускают резиновую оболочку 10 и натягивают ее на выступы корпуса камеры (см. рис. 5). Резиновую оболочку загибают на внешнюю сторону корпуса и закрепляют резиновыми уплотнителями круглого сечения в желобках. Корпус камеры ставят на днище 1, а на верхний торец корпуса помещают круглый металлический фланец 12 с отверстиями под стяжные болты. Верхний фланец с днищем соединяют стяжными болтами 14. Для лучшей герметизации камеры между торцами корпуса, днищем и верхним фланцем прокладывают резиновые уплотняющие кольца круглого сечения.
3.3. Камеру стабилометра следует проверить на абсолютную герметичность. Для этого в рабочую камеру наливают воду на 1 - 2 см выше входящей в камеру резиновой оболочки - диафрагмы, а в гидравлическую камеру вдувают воздух. Если в рабочей камере появляются пузырьки воздуха, то резиновую диафрагму следует заменить. Если воздух не проходит через диафрагму, то стабилометр погружается в сосуд с водой так, чтобы вода покрыла все соединения, включая соединения верхнего прижимного кольца с верхним фланцем корпуса прибора. По выходу пузырьков воздуха устанавливается место негерметичности прибора. Негерметичность устраняется.
Рис. 5. Стабилометр типа Цилюрика:
1 - днище; 2 - перфорированный штамп; 3 - канал; 4 - трубка для удаления воды из образца; 5 - корпус; 6 - гидравлическая камера; 7 - рабочая камера; 8 - патрубок, соединяющий аэростатический манометр 9 с гидравлической камерой; 10 - резиновая оболочка; 11 - выступы стенки корпуса камеры; 12 - металлический фланец; 13 - штамп; 14 - стяжные болты; 15 - трубка для заполнения гидравлической камеры водой; 16 - отверстия под стяжные болты
3.4. Для определения деформируемости грунта при циклическом загружении следует проводить не менее трех циклов (нагрузка - разгрузка) в интервалах нагрузок sa - sb, соответствующих давлению на основание от резервуара sa и давлению на основание при полной нагрузке резервуара sb. Рекомендуется также проводить исследование деформируемости при ступенчатом загружении грунта, соответствующем частичному заполнению резервуара с последующей разгрузкой.
3.5. Опыт в компрессионном приборе должен проводиться в соответствии с требованиями ГОСТ 23908-79 на образцах ненарушенного сложения в подводном состоянии без возможности набухания (под арретиром). Следует применять грунтовую воду или водную вытяжку. В начале опыта необходимо определять давление на грунт, соответствующее сруктуной связности, или давление sэ, эквивалентное природному, если степень влажности Sr грунта меньше 1. Для этого постепенно увеличивают нагрузку на образец ступенями 0,001 МПа до начала деформации грунта (показания мессуры должны превышать тарировочные поправки на деформацию прибора), это давление фиксируется как sстр на графике компрессионной кривой (рис. 6, а). При неполном заполнении пор грунта водой, когда Sr < 1, следует учитывать, что газонасыщенные образцы могут увеличиваться в объеме при подъеме их на поверхность. Величину разуплотнения образца при подъеме его на поверхность рекомендуется определять по формуле В.Г. Булычева (В.Г. Булычев. Теория газонасыщенных грунтов, М., Стройвоенмориздат, 1948):
(1)
где h - высота образца;
e0 - коэффициент пористости;
Sr - степень влажности.
По деформации набухания следует корректировать компрессионную кривую и определять давление, эквивалентное природному sэ. Для этого определяют деформацию грунта, соответствующую Dhн, и откладывают ее на кривой сжимаемости (рис. 6, б) точка А, проводят перпендикуляр АБ, точка Б соответствует давлению sэ. В зависимости от значения sстр или sэ определяют ступени нагрузки на образец. После приложения нагрузки на образец рекомендуется записывать вертикальные деформации по мессуре через 5, 15, 30 сек; 1, 2, 3, 5, 10, 15, 30, 60 мин, далее через каждый час до 8 ч и затем 2 раза в сутки до стабилизации деформации. За стабилизацию деформации глинистых сильносжимаемых грунтов рекомендуется принимать деформацию, не превышающую 0,01 мм за 16 ч наблюдений.
Рис. 6. Зависимость деформации e суглинка от давления s
3.6. Для определения сжимаемости в стабилометре типа Б образец в виде цилиндра, вырезанный в соответствии с п. 2.6 после определения плотности по ГОСТ 5180-84, помещают в стабилометр, собранный в соответствии с п. 3.2. Для водонасыщенных грунтов через резиновый шланг, надетый на трубку 4 (см. рис. 5), заливают воду так, чтобы она вытеснила воздух из днища и выступила на поверхность перфорированного штампа 2. Затем, надев на трубку 15 резиновый шланг с резиновой грушей, отсасывают воздух из гидравлической камеры, при этом резиновая оболочка выгибается в сторону стенок корпуса камеры, цилиндр с образцом, покрытый по торцам бумажными фильтрами, помещают на верхний фланец над рабочей камерой и постепенно образец из стакана выдавливают в камеру. После того как образец погрузится на 1 - 2 см ниже верхнего края резиновой оболочки, постепенно впускают воздух в гидравлическую камеру, чтобы резиновая оболочка начала принимать свое первоначальное положение. Трение образца о резиновую оболочку обеспечит плавное продвижение образца сверху вниз. Вновь отсасывают воздух и проверяют достижение образцом нижнего штампа прибора и его установку строго по центру рабочей камеры стабилометра. Через трубку 15 заполняют гидравлическую камеру, дистиллированной прокипяченной водой до момента, когда вода начнет стекать из отверстия патрубка 8, затем проверяют в камере отсутствие пузырьков воздуха. Закрывают клапан трубки 15; вставляют в отверстие трубки 8 аэростатический манометр и закрывают его сверху резиновой прокладкой, прижимаемой винтом. После этого несколько раз переворачивают (кантуют) стабилометр для того, чтобы убедиться в отсутствии пузырьков воздуха в гидравлической камере. Если пузырьки воздуха есть, стабилометр ставят наклонно так, чтобы входное отверстие для манометра было несколько выше. При этом пузырьки воздуха собираются у входа в отверстие патрубка манометра. Удаляют пузырьки воздуха и в трубку доливают дистиллированную воду при помощи резиновой груши или пипетки. Укрепляют в приборе манометр и операцию по проверке отсутствия пузырьков воздуха повторяют. Если пузырьки воздуха отсутствуют, образец грунта, установленный в стабилометре, помещают под пресс и передают на него нагрузку для определения сжимаемости, и опыт ведут в соответствии с рекомендациями п. 3.5.
После стабилизации деформации при каждой ступени нагрузки рекомендуется определять боковое давление в грунте в состоянии покоя (см. раздел 4).
Обработка результатов опытов
3.7. Рекомендуется определять конечную деформацию грунта для каждой ступени нагрузки, учитывая деформацию прибора, вычислять конечную деформацию Dh/h = e и коэффициент пористости en, соответствующий конечной деформации при нагрузке и разгрузке.
Коэффициент пористости en вычисляется по формуле:
en = e0 - e(1 + e0), (2)
где e0 - начальный коэффициент пористости.
Рекомендуется строить графики зависимости деформации e или коэффициента пористости en от давления при нагрузке и разгрузке (см. рис. 6).
Зная деформацию разуплотнения грунта, полученную по формуле (2), можно вычислить коэффициент пористости eприв, который имел образец в природном залегании. В качестве деформационных характеристик следует определять коэффициент уплотнения a в интервале проектных нагрузок по формуле
(3)
где en и en-1 - коэффициенты пористости, соответствующие заданным проектным давлениям sп и sn-1, и модуль деформации
(4)
Коэффициент b следует вычислять по формуле:
(5)
где x - коэффициент бокового давления в состоянии покоя.
Коэффициент бокового давления для сильносжимаемых грунтов рекомендуется определять экспериментально в стабилометре типа Б. При расчете деформационных характеристик грунта рекомендуется пользоваться формой табл. 1.
4.1. Коэффициентом бокового давления покоя следует называть коэффициент бокового давления для грунта в стабилизированном состоянии при неизменном положении вертикальных сечений образца и отсутствии касательных напряжений по ним.
4.2. Коэффициент бокового давления покоя x грунта определяется из отношения бокового давления s2 = s3 к нормальному давлению s1:
Нормальное давление следует задавать исходя из условий работы грунта основания в интервале давлений, соответствующих давлению эквивалентному природному sэ, или давлению, соответствующему структурной связности s стр. (см. п. 3.5), и заданному проектному давлению.
Таблица 1. Определение деформационных характеристик грунта
Лаб. № 405; компрессионный прибор № 17. Скв. 5а глубина 4,5 м. Наименование грунта: суглинок мягкопластичный; влажность W = 28,2 %; плотность r = 1,99 г/см3; коэффициент пористости e0 = 0,717; степень влажности Sr = 1,0, показатель текучести JL = 0,55
|
s, МПа |
Деформация e = Dh/h |
e(1 + e0) |
en = e0 - e(1 + e0) |
en - en-1 |
σn-1 - σn, МПа |
Коэффициент упл. a, 1/МПа |
|
|
|
|
1-я нагрузка |
0,00 |
0,00 |
0,7170 |
||||||
|
0,012 = sстр. |
0,0005 |
0,0009 |
0,7160 |
0,0010 |
|||||
|
0,05 |
0,0153 |
0,0263 |
0,6907 |
0,0259 |
0,038 |
||||
|
0,10 |
0,0251 |
0,0431 |
0,6739 |
0,0168 |
0,050 |
0,336 |
5,1 |
5,0 |
|
|
0,15 |
0,0354 |
0,0608 |
0,6562 |
0,0177 |
0,050 |
0,354 |
4,9 |
4,8 |
|
|
0,30 |
0,0548 |
0,0941 |
0,6239 |
0,0323 |
0,150 |
0,215 |
8,0 |
7,8 |
|
|
1-я разгрузка |
0,15 |
0,0544 |
0,0934 |
0,6246 |
|||||
|
0,10 |
0,0542 |
0,0931 |
0,6239 |
||||||
|
0,05 |
0,0505 |
0,0867 |
0,6303 |
||||||
|
0,012 |
0,0476 |
0,0817 |
0,6353 |
||||||
|
3-я нагрузка |
0,05 |
0,0526 |
0,0903 |
0,6277 |
|||||
|
0,10 |
0,0548 |
0,0941 |
0,6229 |
0,0048 |
0,05 |
0,096 |
17,9 |
17,5 |
|
|
0,15 |
0,0559 |
0,0960 |
0,6210 |
0,0019 |
0,05 |
0,038 |
45,2 |
44,3 |
|
|
0,30 |
0,0584 |
0,1003 |
0,6167 |
0,0043 |
0,15 |
0,028 |
61,3 |
60,1 |
|
|
*) xср = 0,10; b = 0,98. |
|||||||||
Боковое давление определяется из опыта в стабилометре (см. рис. 5) и вычисляется по формуле:
где s2 - давление в капилляре аэростатического манометра, равное боковому давлению в образце, МПа;
s0 - атмосферное давление, МПа;
L0 - длина столбика воздуха до опыта при атмосферном давлении, мм;
Li - длина столбика воздуха после сжатия в конце опыта, мм.
4.3. При определении бокового давления покоя сильносжимаемых грунтов в стабилометре рекомендуется пользоваться Рекомендациями по методам определения коэффициентов бокового давления и поперечного расширения глинистых грунтов (М., НИИ оснований и подземных сооружений, 1978).
Опыт следует проводить в стабилометре типа Б (см. рис. 5), а боковое давление следует измерять аэростатическим манометром.
4.4. Аэростатический манометр стабилометра должен быть перед работой протарирован по воде при вертикальных нагрузках до 0,4 МПа. Коэффициент бокового давления воды в неподвижном состоянии должен быть равен 1. Рабочую камеру через трубку 4 (см. рис. 5) заполняют прокипяченной дистиллированной водой. Для этого на трубку 4 надевают резиновый шланг с воронкой на конце, который приподнимают выше камеры. После заполнения камеры водой перекрывают ее резиновой прокладкой, которую зажимают верхним фланцем. Проверяют отсутствие воздуха в камере. При наклонном положении камеры снимают резиновый шланг и закрывают трубку 4. Через трубку 15 заполняют гидравлическую камеру дистиллированной прокипяченной водой до момента, когда вода начнет стекать из отверстия патрубка в соответствии с п. 3.6, Если пузырьки воздуха отсутствуют, прибор тарируют по воде при нагрузках 0,01; 0,02; 0,03; 0,05; 0,075; 0,1; 0,15; 0,2; 0,3; 0,4 МПа. Каждую ступень нагрузки выдерживают до 1 часа. Записывают показание манометра. Вычисляют боковое давление воды по формуле (6) п. 4.2, строят график зависимости бокового давления от вертикального. Определяют средний коэффициент бокового давления и его отклонения от единицы. Погрешность в определении бокового давления воды должна не превышать 2 - 3 %.
4.5. Для определения бокового давления грунта в стабилометр, собранный в соответствии с п. 3.2, помещают вырезанный в соответствии с п. 2.6 образец, как это указано в п. 3.7, и передают на него давление ступенями от sстр (~ 0,01 МПа), 0,025; 0,05; 0,075; 0,1; 0,15; 0,20 МПа.
Записывают показания аэростатического манометра и показания мессур до приложения нагрузки. После приложения вертикальной нагрузки записывают показания вертикальной деформации грунта и аэростатического манометра до стабилизации деформации в соответствии с п. 3.5.
Одновременно с показаниями аэростатического манометра следует измерять температуру воздуха и воды. Опыт следует проводить в помещениях или камерах, обеспечивающих постоянную температуру. Опыт продолжают до стабилизации осевых деформаций грунта и показаний аэростатического манометра.
4.6. На основании показаний аэростатического манометра вычисляют боковое давление по формуле (7) и коэффициент бокового давления по формуле (6).
За коэффициент бокового давления покоя принимают коэффициент бокового давления, полученный для образца в стабилизированном состоянии.
4.7. При исследовании грунтов оснований следует учитывать, что коэффициент бокового давления зависит не только от состава, но и от состояния грунта.
5.1. Фильтрационными характеристиками следует считать начальный градиент напора ic, обусловленный статическим напряжением воды сдвигу и коэффициент фильтрации K.
5.2. Фильтрационные характеристики сильносжимаемых грунтов следует определять в компрессионных приборах путем фильтрации воды верху вниз при малых градиентах напора i. Для газонасыщенных грунтов градиент напора i должен быть меньше 1. Следует иметь в виду, что начальные градиенты напора i0 оказывают большое влияние на скорость консолидации грунтов и величину их конечной осадки.
5.3. Фильтрационные характеристики сильносжимаемых грунтов следует определять на образцах, приведенных к природной пористости давлением, эквивалентным природному давлению на грунт (см. п. 3.5), или на образцах, уплотненных проектной нагрузкой от резервуара.
5.4. При определении фильтрационных характеристик грунтов рекомендуется применять грунтовую воду или приготовленную вытяжку из грунта.
5.5. Скорость фильтрации рекомендуется определять путем фильтрации воды через образец грунта в компрессионном приборе при переменной напоре и замера изменения уровня воды в капилляре (пьезометре) через постоянные промежутки времени t. Схема опыта показана на рис. 7.
Рис. 7 Схема опыта по определению коэффициента фильтрации и начального градиента напора в одометре
5.6. Компрессионный прибор (см. рис. 7) должен иметь поддон 1, кольцо для грунта 2, металлические фильтры 3, насадку на кольцо для воды 4, пьезометр 6 диаметром 0,4 см, соединенный с прибором через тройник 5. При быстрой фильтрации можно применять пьезометр диаметром до 1 см. Все стыки прибора должны быть герметичны.
5.7. Перед опытом следует определить место нуля прибора, для чего заполнить смонтированный прибор без грунта водой и отметить уровень воды в капилляре. Затем опустить уровень воды так, чтобы она покрывала нижний металлический фильтр, снять насадки и кольцо прибора. Вырезать в кольцо образец по ГОСТ 5180-84. Положить на металлический фильтр кружок фильтровальной бумаги и поставить на него образец грунта в кольце. Смонтировать компрессионный прибор, поставить на образец штамп, установить арретир и залить образец грунтовой водой до краев насадки. Отметить положение воды в капиллярной трубке и выждать необходимое время для полного насыщения образца и проникания воды через образец, что устанавливается по изменению уровня воды в капиллярной трубке. После этого образец следует обжать sэ или sстр, а затем определить скорость фильтрации воды через грунт.
5.8. Для определения скорости фильтрации воды через образец грунта следует установить напор в капиллярной трубке L0 (см. рис. 7) в начале отсчета времени и затем взять не менее десяти отсчетов уровня воды Z в капиллярной трубке через одинаковые промежутки времени. Промежутки времени могут быть 5, 10, 15 мин и более в зависимости от скорости фильтрациии воды через грунт.
В процессе фильтрации следует измерять температуру воды.
5.9. Для вычисления коэффициента фильтрации и начального градиента напора i0 по изменению уровня воды в капилляре рекомендуется способ, предложенный Б.П. Горбуновым*), основанный на точном решении выражений:
(8)
если поры в грунте принять за круглые цилиндрические каналы;
где Q - скорость фильтрации см/сек;
K - коэффициент фильтрации, см/сек;
i - градиент напора;
i0 - начальный градиент напора.
______________
*) Горбунов Б.П. Определение фильтрационных свойств глинистых грунтов в одометрах. - Труды ин-та / НИИ оснований и подземных сооружений, М., Стройиздат, 1971, вып. 61.
Полагая, что объем фильтрующейся воды равен изменению объема воды в капиллярной трубке, Б.П. Горбунов получил дифференциальное уравнение:
где d - диаметр капиллярной трубки, см;
D - диаметр прибора, см;
L - толщина слоя, см;
Zп - напор в капиллярной трубке, определяемый при полном заполнении прибора водой без учета грунта (место нуля прибора);
Z - напор в капиллярной трубке в момент времени t;
Z∞ - напор в капиллярной трубке при t ® ∞.
В уравнение (9) введено значение безразмерных напоров
![]()
где Z0 - напор в капиллярной трубке в начале отсчета времени, в результате получено
Безразмерный начальный напор c0 связан с начальным градиентом выражением
Проинтегрировав выражение (10) в пределах от 0 до t и от 1 до c, определено время падения напора в капилляре от Z0 до Z:
(12)
Для безразмерной фильтрации получено сложное выражение, прямое использование которого для вычисления коэффициентов фильтрации и начальных градиентов невозможно.
Поэтому, приняв c0 за постоянную при переменной c, на ЭВМ Б.П. Горбуновым была протабулирована функция j(c, c0) и по полученным результатам построена номограмма (рис. 8), где по оси абсцисс отложены значения c, а по оси ординат - в логарифмическом масштабе j(c, c0), кривые номограммы соответствуют c0 = const.
Для применения номограмм введено безразмерное время t = t/tn, где t - время наблюдения уровня Z в капилляре;
tn - произвольное выбранный отрезок времени, кратный десяти.
5.10. Фильтрационные характеристики вычисляют по номограмме.
Полученные значения (Z - Zn) и t заносятся в табл. 2
в графы 1 и 2. В графу 3 -
безразмерный напор
а в графу 4 - t = t/tn.
На номограмму накладывают прозрачную восковку и наносят на нее экспериментальные точки (по оси абсцисс c, а по оси ординат t), соединяя которые, получают линию 1 (см. рис. 8). Перемещая вдоль оси ординат восковку, совмещают экспериментальную кривую с одной из кривых номограммы, т.е. переводят кривую 1 в положение кривой 2. По кривой номограммы, совмещенной с экспериментальной, определяют c0 = 0,70, а для экспериментальных точек кривой 2 на оси ординат отсчитывают безразмерные функции, которые вносят в графу 5 табл. 2.
Снятые с номограммы безразмерные функции j(c, c0), разделенные на t, заносят в графу 6.
Решая выражение (11) относительно i0 и подставляя в него c0 = 0,70, вычислим
(13)
Вычислим коэффициент фильтрации:
(14)
где
-
среднеарифметическое из значений, приведенных в графе 6 табл. 2, a ![]()
6.1. Коэффициент фильтрационной консолидации сильносжимаемых грунтов рекомендуется определять путем обработки кривой консолидации методом квадратного корня из времени.
6.2. Кривую консолидации рекомендуется строить по результатам опыта определения сжимаемости грунта в одометре при осевом фильтрационном потоке (см. пп. 3.1 и 3.5) при постоянной нагрузке, соответствующей по значению проектной. Нагрузка на образец передается мгновенно, отсчеты по мессуре записываются через 5, 15, 30 сек; 1, 2, 3, 5, 10, 15, 30, 60 мин, далее через каждый час до 8 ч и затем 2 раза в сутки.
6.3. Для определения коэффициента консолидации сильносжимаемых грунтов методом квадратного корня из времени рекомендуется основываться на обработке экспериментальной и теоретической кривых консолидации по Тейлору (рис. 9).
Таблица 2. Результаты исследований фильтрационных свойств заторфованного ила
|
Z - Zn, в см |
Время наблюдений t, сек |
c |
t |
j(c, c0) |
|
Отклонения |
|
|
абсолютные |
% |
||||||
|
1 |
2 |
3 |
4 |
5 |
6 |
7 |
8 |
|
4,5 |
0 |
1,000 |
0,00 |
||||
|
4,4 |
60 |
0,978 |
0,06 |
0,18 |
3,000 |
-0,044 |
-1,44 |
|
4,3 |
120 |
0,955 |
0,12 |
0,36 |
3,000 |
-0,044 |
-1,44 |
|
4,2 |
180 |
0,933 |
0,18 |
0,55 |
3,055 |
+0,011 |
+0,36 |
|
4,1 |
240 |
0,911 |
0,24 |
0,74 |
3,083 |
+0,039 |
+1,28 |
|
4,0 |
360 |
0,888 |
0,36 |
1,10 |
3,055 |
+0,011 |
+0,36 |
|
3,9 |
480 |
0,866 |
0,48 |
1,45 |
3,020 |
-0,024 |
-0,79 |
|
3,8 |
600 |
0,844 |
0,60 |
1,85 |
3,083 |
+0,039 |
+1,28 |
|
3,7 |
720 |
0,822 |
0,72 |
2,20 |
3,056 |
+0,012 |
+0,39 |
|
Среднее 3,044 |
|||||||
Экспериментальная кривая консолидации (см. рис. 9, а) составлена в координатах корень квадратный из времени в минутах (ось абсцисс) и абсолютное сжатие образца в условных единицах (ось ординат).
Теоретическая кривая консолидации (см. рис. 9, б) представлена в координатах соответственно корень квадратный из фактора времени (коэффициента времени) и средний коэффициент консолидации. Теоретическая кривая консолидации до степени консолидации (примерно 0,6) представляет собой прямую линию.
Абсцисса кривой (см. рис. 9, б) при консолидации 0,9 (точка а на графике 9, б) равна 1,15 абсциссы прямой, являющейся продолжением прямолинейного участка (точка б на графике 9, б).
Это обстоятельство позволяет определить на лабораторной кривой (рис. 9, а) точку, соответствующую степени консолидации 0,9. Для этой цели к экспериментальной кривой консолидации на ее начальном участке проводят касательную, пересекающую ось ординат (t = 0) обычно несколько ниже экспериментальной кривой (ds - соответствует в данном случае 5,326 условных единиц), благодаря влиянию газонасыщения поровой воды, ds - называется приведенным нулем. Затем проводят вторую прямую, абсциссы которой составляют 1,15 абсцисс первой прямой.
Рис. 8. Номограмма для определения фильтрационных характеристик
Рис. 9. Экспериментальная (а) и теоретическая (б) кривые консолидации по Тейлору
Пересечение второй прямой с
экспериментальной кривой дает время t90
(или
),
соответствующее степени консолидации 0,9.
Коэффициент консолидации для экспериментальной кривой определяется из уравнения:
где Т90 - коэффициент или фактор времени, соответствующий степени консолидации 90 %;
Сv - коэффициент консолидации;
Н/2 - при двухсторонней фильтрации Головина высоты образца. Из уравнения (15)
Поскольку характеристики грунта и толщина сжимаемого слоя входят в уравнение определения степени консолидации U % = f(T) только в комбинации, представленной безразмерным фактором времени Т, значение U, %, будет одним и тем же для любого пласта, который консолидируется в одинаковых условиях нагрузки и дренирования. Оно было определено Терцаги с помощью дифференциального уравнения консолидации для всех условий, имеющих практическое значение.
Полученные Терцаги результаты представлены в виде графика и таблицы на рис. 10.
Для определения Cv по уравнению (16) T90 следует взять из таблицы на рис. 10, a t90 определить графически по экспериментальной кривой консолидации (см. рис. 9). За общее сжатие принимается разность между начальным сжатием (в данном случае d0 = 5397 усл. ед.) и суточным сжатием (df = 3754 условных единиц).
Разность между ds - d90 (см. рис. 9) называется первичным сжатием. Отношение первичного сжатия к общему сжатию называется степенью, первичного сжатия r и определяется по формуле:
(17)
т.е. общее сжатие под нагрузкой состоит из трех частей: начального сжатия от d0 до ds; первичного сжатия от ds до d100 и вторичного сжатия от d100 до df.
Такое подразделение сжимаемости является условным и не объясняет физической природы грунта, но позволяет получить общие закономерности изменения доли первичного и вторичного сжатия при консолидации.
Пример определения коэффициента консолидации озерного глинистого ила (лаб. № 431) со следующими характеристиками: d = 1,49 г/см3; е = 2,273; JL = 1,06; Sr = 0,96 приведен на рис. 11.
На основании экспериментальных данных, приведенных в табл. 3, следует построить кривую АВ (рис. 11) в координатах корень квадратный из времени в минутах (графа 2) и сжатие в условных единицах 1/10000 см. (графа 6). К начальному участку кривой нужно провести касательную ав, а из точки пересечения касательной с осью ординат проводят вторую прямую ас, абсциссы которой равны 1,15 соответствующих абсцисс прямой ав.
Приведенный нуль ds соответствует сжатию в 4700 условных единиц.
Сжатие 3570 условных единиц соответствует консолидации 90 %, а время, соответствующее этой консолидации, равно 5,42 мин.
Коэффициент консолидации Сv из уравнений (16) равен:
![]()
df = 3171, тогда
_____________
*) Сv = 1 см2/сек = 3,15´107 см2/год.
|
U |
Т |
|
|
Случай I |
Случай II |
|
|
0,1 |
0,008 |
0,048 |
|
0,2 |
0,031 |
0,090 |
|
0,3 |
0,071 |
0,115 |
|
0,4 |
0,126 |
0,207 |
|
0,5 |
0,197 |
0,281 |
|
0,6 |
0,287 |
0,371 |
|
0,7 |
0,403 |
0,488 |
|
0,8 |
0,567 |
0,652 |
|
0,9 |
0,848 |
0,933 |
Рис. 10. Кривые консолидации (по Терцаги)
Рис. 11. График определения коэффициента консолидации глинистого озерного ила (лаб. № 431) методом квадратного корня из времени
Таблица 3. Форма записи экспериментальных данных
|
Корень квадратный из времени, мин |
Общая деформация грунта, мм |
Деформация грунта за ступень |
Сжатие в условных единицах 1/16000 см |
||
|
мм |
см |
||||
|
0 |
- |
0,000 |
0,000 |
0,0000 |
5000 |
|
0,083 |
0,292 |
0,409 |
0,349 |
0,0349 |
4651 |
|
0,166 |
0,40 |
0,439 |
0,379 |
0,0379 |
4621 |
|
0,25 |
0,50 |
0,459 |
0,399 |
0,0399 |
4601 |
|
0,333 |
0,587 |
0,479 |
0,419 |
0,0419 |
4581 |
|
0,417 |
0,65 |
0,497 |
0,437 |
0,0437 |
4563 |
|
0,50 |
0,71 |
0,511 |
0,451 |
0,0451 |
4549 |
|
0,75 |
0,87 |
0,557 |
0,497 |
0,0497 |
4503 |
|
1 |
1 |
0,589 |
0,529 |
0,0529 |
4471 |
|
2 |
1,41 |
0,699 |
0,639 |
0,0639 |
4361 |
|
3 |
1,73 |
0,787 |
0,727 |
0,0727 |
4273 |
|
4 |
2 |
0,859 |
0,799 |
0,0799 |
4201 |
|
5 |
2,24 |
0,909 |
0,849 |
0,0849 |
4151 |
|
10 |
3,16 |
1,069 |
1,009 |
0,1009 |
3991 |
|
15 |
4,87 |
I.25I |
1,191 |
0,1191 |
3809 |
|
30 |
5,48 |
1,489 |
1,429 |
0,1429 |
3571 |
|
60 |
7,75 |
1,619 |
1,559 |
0,1559 |
3441 |
|
180 |
13,42 |
1,729 |
1,669 |
0,1669 |
3331 |
|
240 |
15,49 |
1,749 |
1,689 |
0,1689 |
3311 |
|
300 |
17,32 |
1,767 |
1,707 |
0,1707 |
3293 |
|
360 |
18,91 |
1,801 |
1,727 |
0,1727 |
3273 |
|
1440 |
37,9 |
1,889 |
1,829 |
0,1829 |
3171 |
![]()
7.1. При выборе метода определения прочности грунтов малой степени литификации согласно главе СНиП 2.02.01-83. «Основания зданий и сооружений» следует учитывать в результате действия нагрузки возможность возникновения нестабилизированного состояния грунтов основания, сложенного глинистыми водонасыщенными (Sr ³ 0,85), медленно уплотняющимися (коэффициент консолидации Сv £ 1´107см2/год) грунтами. Нестабилизированное состояние возникает вследствие уменьшения касательного напряжения t по площадке скольжения за счет образования избыточного давления U в поровой воде:
t = (s - и)tgj + C, (18)
где s - нормальное напряжение на площадке скольжения, МПа;
j - угол внутреннего трения грунта, град;
С - удельное сцепление, МПа.
7.2. При загружении нефтепромыслового резервуара на длительное хранение нефти следует учитывать возможность снижения прочности грунта под нагрузкой во времени вследствие явлений ползучести.
7.3. Для установления условий испытания грунта на прочность следует учитывать его физико-механические характеристики в природном состоянии в строительный и эксплуатационный периоды.
7.4. Для определения прочности грунтов в нестабилизированном состоянии рекомендуется схема недренированного испытания.
При полностью нестабилизированном состоянии грунта
(U = s, j = 0) t = C.
7.5. Для оценки прочности грунтов при возможности дренирования и уплотнения под нагрузкой от сооружения (конец строительного периода и период эксплуатации сооружения) следует проводить дренированные испытания и параметры сдвига определять по эффективным напряжениям.
Угол внутреннего трения для различной степени консолидации грунта под сооружением может быть определен по формуле (18) путем учета замеренного в данный период времени порового давления или в зависимости от плотности-влажности грунта (консолидированно-недренированное испытание). Образцы грунта уплотняют заданным давлением и испытывают на прочность по закрытой схеме.
7.6 Для определения параметров прочности для каждого однородного слоя грунта должны быть проведены испытания в соответствии с прил. 3 ГОСТ 20522-75 Грунты. Метод статистической обработки результатов определений характеристик (М., Издательство стандартов, 1975) при средних нормальных напряжениях (гидростатических давлениях), изменяющихся по значению от давления, соответствующего природной плотности грунта sэ, до давления, полностью заполненного нефтепромыслового резервуара.
Давление sэ рекомендуется называть давлением, эквивалентным природному давлению. Значение sэ может быть установлено по компрессионной кривой способом, изложенным в п.3.5.
7.7. В условиях ползучести прочность грунта следует определять только при однородном напряженно-деформированном состоянии образца, что достигается путем сохранения стабилизированного состояния грунта в течение всего опыта.
7.8. Характеристики прочности грунтов в нестабилизированном и в стабилизированном состояниях и в условиях ползучести рекомендуется определять в трехосных приборах в условиях сложного напряженного состояния, т.е. под всесторонним гидростатическим давлением.
7.9. При определении характеристик прочности грунтов в условиях сложного напряженного состояния рекомендуется пользоваться Руководством по определению прочности илов и заторфованных грунтов (М., Стройиздат, 1977).
7.10. Допускается определять характеристики прочности сильно-сжимаемых грунтов в нестабилизированном и стабилизированном состояниях на одноплоскостных срезных приборах.
Для сохранения нестабилизированного состояния грунта в процессе опыта на одноплоскостном срезном приборе следует провести быстрый срез неконсолидированного образца в соответствии с ГОСТ 12248-78. Грунты. Методы лабораторного определения сопротивления срезу. (М., Издательство стандартов, 1979).
7.11. Для определения прочности грунтов в условиях сложного напряженного состояния осевым сжатием рекомендуется применять трехосные приборы типа А (рис. 12) любой конструкции, допускающей испытание образцов с отношением высоты к диаметру от 2 до 3, свободное боковое расширение образца, постоянство в течение длительного времени всестороннего гидростатического давления и специальное нагрузочное устройство, обеспечивающее плавность приложения нагрузки.
7.12. Всестороннее гидростатическое давление на образец создается сжатым воздухом, подаваемым из баллона через ресивер и систему соединительных трубок компрессором или автомобильным насосом.
Прибор должен обеспечивать гидростатическое давление до 0,4 МПа измеряемое манометром с точностью 0,003 - 0,005 МПа.
Рис. 12. Схема прибора для трехосных испытаний:
1 - вентиль для выпуска воздуха; 2 - нагрузочный шток; 3 - верхняя головка; 4 - пористый диск; 5 - гибкая трубка; 6 - образец, заключенный в резиновую оболочку; 7 - уплотняющее кольцо; 8 - трубки для дренирования или измерения порового давления; 9 - резиновое кольцо; 10 - вода; 11 - механический манометр; 12 - трубка к контролю давления в камере
7.13. Осевая нагрузка на образец может передаваться методами принудительного нагружения или принудительного деформирования.
Для передачи осевой нагрузки методом принудительного нагружения рекомендуется пользоваться рычажными прессами.
Для проведения испытаний грунтов на прочность принудительным деформированием рекомендуются прессы с автоматическим непрерывным увеличением нагрузки, вызывающей постоянную заданную скорость деформирования образца, устанавливаемую с помощью коробки скоростей. В коробке скоростей должны быть предусмотрены скорости 4; 2; 1; 0,5; 0,25; 0,1; 0,01 мм/мин.
При автоматической передаче нагрузки на образец с помощью мотора конструкция прибора должна обеспечивать отсутствие вибраций основания камеры прибора.
7.14. Осевую деформацию образца грунта следует определять по перемещению штока, а измерение осевой деформации производить самописцем или индикатором часового типа (мессура) с точностью до 0,01 мм. Индикаторы должны иметь паспорт, подтверждающий точность измерений и прохождение государственной проверки.
7.15. Измерение объемных деформаций для полностью водонасыщенных грунтов допускается осуществлять волюмометром (измерительная трубка типа бюретки) с точностью измерения 0,1 см3. Волюмометр должен подключаться к образцу снизу. Контроль консолидации грунта можно также производить путем измерения порового давления в грунте поропьезометрами, принцип действия которых основан на компенсации давления.
7.16. При передаче осевой нагрузки на образец посредством пресса следует провести тарировку прибора для определения коэффициента трения рычажного пресса.
7.17. Для определения прочности грунта осевым сжатием под гидростатическим давлением на подготовленный образец в виде цилиндра следует надеть резиновую оболочку с помощью тонкостенной латунной трубы - расширителя (рис. 13) диаметром на 7 - 10 мм больше диаметра, образца, а высотой на 10 - 14 мм больше высоты образца.
Рис. 13. Расширитель оболочки для образцов грунта диаметром 38 мм:
1 - металлический цилиндр; 2 - нагрузочный верхний штамп; 3 - резиновая оболочка; 4 - образец грунта; 5 - гибкая трубка; 6 - нижний штамп
Заключают образец в резиновую оболочку следующим образом. Резиновую оболочку вводят в трубу расширитель и ее концы загибают наружу; воздух, находящийся между оболочкой и трубой, отсасывают резиновой грушей, при этом резиновая оболочка прилегает к внутренним стенкам трубы. Торцы образца покрывают бумажными фильтрами и ставят образец на штамп. На верхнюю плоскость образца кладут верхний штамп. Трубу-расширитель надевают на образец грунта, концы оболочки снимают с трубы, при этом оболочка соскальзывает на образец грунта. Резиновая оболочка на штампах должна быть закреплена резиночными кольцами круглого сечения. Толщина резиновой оболочки должна не превышать 0,15 - 0,20 мм. Для образца диаметром 38 мм при его деформации 10 - 15 % поправка на сопротивление резины составит 0,003 - 0,004 МПа. До установки образца в прибор (см. рис. 12) система трубок, подводящих воду в штампах, и поры в штампах заполняются дистиллированной прокипяченной водой до появления ее на поверхности штампов. В системе не должно быть пузырьков воздуха.
После установки образца грунта в резиновой оболочке на основание камеры прибора необходимо провести следующие операции. В гнездо верхнего штампа поместить шарик из нержавеющей стали; проверить вертикальность оси образца; поднять до предельного верхнего положения шток в верхней части камеры (колпака) и колпак поставить на основание камеры; закрепить колпак винтами на основании; открыть вентиль 1 (см. рис. 12) для выпуска воздуха и через трубку 12 из резервуара наполнить камеру дистиллированной прокипяченной водой до момента, когда вода начнет вытекать из отверстия трубки вентиля, вентиль закрепить и давление в камере довести до заданного значения.
7.18. Образец грунта, установленный в прибор, уплотняют под заданным гидростатическим давлением для приведения его плотности к природной sэ или заданной.
7.19. Образец грунта, приведенный к природной плотности всесторонним гидростатическим давлением, равным sэ (см. п. 3.5), испытывают на прочность по схеме недренированного испытания.
При принудительном загружении рекомендуется ступенчатое приложение осевой нагрузки с интервалом 5 - 10 сек. Величина каждой ступени нагрузки должна составлять 10 % среднего нормального напряжения sср = sз = sг.
При принудительном деформировании для образца с высотой 76 - 80 мм следует проводить испытание со скоростью от 2 до 4 мм/мин.
Деформацию по мессуре рекомендуется записывать при принудительном нагружении после каждой ступени нагрузки; при принудительном деформировании через каждые 15 сек.
7.22. При проведении дренированного испытания консолидированных образцов с сохранением стабилизированного состояния среднее нормальное напряжение sср при разрушении образца должно быть равно (или меньше) гидростатическому давлению при уплотнении. Если испытание требуется провести при среднем нормальном напряжении, равном давлению уплотнения в камере, то при приложении осевой нагрузки увеличится среднее нормальное напряжение и возникнет избыточное давление в поровой воде, т.е. возникнет нестабилизированное состояние. Для сохранения среднего нормального напряжения постоянным рекомендуется одновременно с приложением осевой нагрузки уменьшать действующее гидростатическое давление на Dsз
(19)
где DF - нагрузка; приращение вертикальной нагрузки на каждой ступени нагружения или за 5 мин (при непрерывном увеличении нагрузки), МН;
А - площадь поперечного сечения образца см2.
7.23. Дренированные определения прочности грунта рекомендуется проводить при медленном и быстром приложении осевой нагрузки, а также в условиях ползучести (см. п. 7.29). Испытание можно проводить при прямом принудительном загружении или при принудительном деформировании с постоянной скоростью.
При медленном приложении осевой нагрузки при принудительном ступенчатом загружении рекомендуется каждую ступень нагрузки прикладывать после стабилизации деформации. За стабилизацию деформации принимают деформацию £ 0,01 мм/мин. Величина каждой ступени нагрузки должна составлять 5 % среднего нормального напряжения.
При принудительном деформировании рекомендуется проводить испытание со скоростью 0,1 мм/мин (при высоте образца 76 - 80 мм).
7.24. Деформацию грунта при осевом сжатии рекомендуется фиксировать самописцем (диаграмма напряжение - деформация) или брать по индикатору (мессуре). Деформацию по мессуре следует записывать через 1 - 5 мин.
При быстром приложении нагрузки испытание ведут в соответствии с пп. 7.20 - 7.21.
7.25. Опыт продолжают до возникновения непрерывного пластического течения без приращения нагрузки.
7.26. Для определения касательного напряжения па пределе разрушения (прочность) при трехосном испытании грунта рекомендуется строить диаграмму зависимости относительной деформации от девиатора напряжении s1 - s2*) (рис. 14). Осевое напряжение вычисляют по формуле
(20)
где Аш - площадь поперечного сечения штока, см2.
_____________
*) Если применяется самописец, то критерий разрушения устанавливается непосредственно по диаграмме, снятой самописцем.
Напряжение q = F/A при больших осевых деформациях образца под нагрузкой следует определять с учетом измерения площади поперечного сечения в процессе опыта. Площадь поперечного сечения образца Ai для любого момента деформирования может быть приближенно определена из условия постоянства объема материала по формуле
(21)
где А - площадь поперечного сечения образца в начале опыта, см2;
e - относительная деформация образца.
7.27. За критерий разрушения грунта следует принимать касательное напряжение, соответствующее значению девиатора напряжений, при котором происходит непрерывное пластическое течение грунта без приращения давления (см. рис. 14, точка Б).
Касательное напряжение, соответствующее пределу разрушения при j = 0, может быть вычислено по формуле
(22)
где s1 - наибольшее главное напряжение в момент разрушения грунта, МПа;
С - сцепление, МПа.
7.28. Нормативные значения параметров прочности в соответствие с ГОСТ 26518-85. Метод лабораторного определения характеристик прочности и деформируемости при трехосном сжатии (М., Издательство стандартов, 1985) вычисляют по методу наименьших квадратов для всей совокупности опытных значений t в инженерно-геологическом элементе в предположении наличия линейной огибающей кругов напряжений, (см. Руководство по определению прочности илов и заторфованных грунтов М., Стройиздат, 1977).
7.29. Прочность в условиях ползучести (порог прочности tпр) рекомендуется определять упрощенным методом по одному образцу в условиях трехосного сжатия при однородном напряженно-деформированном состоянии путем ступенчатого загружения. Для сохранения стабилизированного состояния грунта в течение всего опыта следует использовать прием, изложенный в п. 7.22.
Рис. 14 Зависимость относительной деформации образца ила от девиатора напряжений
7.30. К подготовленному образцу грунта, уплотненному гидростатическим давлением sз, равным среднему нормальному напряжению sср в трехосном приборе, прикладывают касательное напряжение, составляющее 60 % от условно-мгновенной прочности. Образец выдерживают под нагрузкой до условной стабилизации деформации. За условную стабилизацию деформации принимают 0,01 мм за 12 ч наблюдений.
После стабилизации деформации увеличивают касательное напряжение ступенями, равными 10 % tмг (касательное напряжение на пределе разрушения при быстром приложении нагрузки). Каждую ступень нагрузки выдерживают до принятой условной стабилизации деформации; опыт продолжают до разрушения грунта.
Строят график зависимости относительной деформации от времени при ступенчатом загружении в условиях ползучести (рис. 15). За порог прочности tпр принимают касательное напряжение, соответствующее точке Б на рис. 15.
Рис. 15 Зависимость относительной деформации суглинка от времени при ступенчатом загружении:
1 - t - 0,02 МПа; 2 - t = 0,03 МПа; 3 - t = 0,041 МПа; 4 - t = 0,047 МПа; 5 - t = 0,05 МПа; 6 - t = 0,058 МПа; 7 - t = 0,063 МПа; 8 - t = 0,074 МПа; 9 - t = 0,088 МПа
8.1. Тиксотропию грунта следует определять по показателям тиксотропного разупрочнения и упрочнения грунта (см. пп. 1.10; 1.11).
Показатели тиксотропного разупрочнения и упрочнения грунтов малой степени литификации рекомендуется устанавливать в лаборатории по характеристикам прочности для образцов ненарушенного и нарушенного сложения. Процесс определения тиксотропии складывается из следующих моментов: определения прочности грунта ненарушенного сложения; нарушения сложения (структуры) грунта; определения прочности грунта нарушенного сложения; выдержки образцов грунта нарушенного сложения с предохранением от подсыхания и определения прочности через различные промежутки времени от 15 мин до 1 месяца и более или до момента полного восстановления структурной связности (прочности) грунта.
8.2. Прочность грунтов малой степени литификации для установления тиксотропии рекомендуется определять лопастным прибором (крыльчаткой). Лопасти должны иметь высоту 30 мм и диаметр 15 мм. При испытании лопастным прибором грунт сдвигается по боковой поверхности и основанию цилиндра, вырезаемого лопастями в грунте. Для этого четырехлопастную крыльчатку погружают в грунт и повертывают ее вокруг оси. Измеряется крутящий момент М, затрачиваемый на вращение крыльчатки. Расчетное уравнение имеет следующий вид:
, (23)
где t - удельное сопротивление грунта сдвигу, МПа;
d - диаметр лопасти прибора, см;
h - высота лопасти, см.
После преобразования уравнение имеет вид:
(24)
Знаменатель выражения для прибора определенного диаметра и высоты является постоянной величиной и может быть обозначен через B. Тогда
t = M/B, МПа.
8.3. Для определения прочности при исследовании тиксотропии в лабораторных условиях рекомендуется упрощенный лопастной прибор, показанный на схеме (рис. 16). Прибор смонтирован на плите 1. На плите укреплены четыре металлические трубки 2, жестко соединенные с рамой, на которой в шарикоподшипнике 4 укреплена трубка 5 со шкивом 6 на верхнем конце. В нижнюю часть трубки 5 вставляется шток 7, закрепленный в трубке двумя винтами 8. Нижняя часть штока имеет нарезку, на которую навинчивается рабочий орган в виде крестообразно расположенных прямоугольных лопастей 9. Через шкив 6, блок 10, укрепленный на стойке посредством капронового шнура 11, прикладывается нагрузка, помещаемая на площадку в ведерко 12, создающая крутящий момент. Угол поворота шкива измеряется в градусах по транспортиру 13, неподвижно закрепленному на раме 3 и с помощью стрелки 14.
Рис. 16. Схема лопастного прибора
8.4. Испытание следует проводить при быстром приложении нагрузки при прямом принудительном загружении или при принудительном деформировании образца с постоянной скоростью. При принудительном загружении рекомендуется ступенчатое приложение осевой нагрузки с интервалом 10 - 15 сек. Величина ступени должна составлять 5 % предполагаемого предела разрушения грунта.
Деформацию грунта рекомендуется фиксировать по транспортиру в градусах после каждой ступени нагрузки. За критерий разрушения следует принимать точку Б на кривой зависимости угла поворота стрелки прибора от крутящего момента (рис. 17). Крутящий момент, Н × см, высчитывают по уравнению:
М = F × R, (25)
где R - рычажное отношение.
8.5. Нарушать сложение (структуру) грунтов малой степени литификации для определения времени его восстановления рекомендуется путем многократного прокручивания лопастей лопастного прибора или при помощи вибратора (см. 16, позиция 13). Для нарушения структуры грунтов малой степени литификации рекомендуется амплитуда 1 - 2 мм и частота колебаний ~ 100 Гц.

Рис. 17. График зависимости угла поворота лопасти от крутящего момента
8.6. Тиксотропию грунтов рекомендуется определять на монолитах размером не менее 105´105´105 мм (лучше 150´150´150 мм или на керне диаметром не менее 105 мм и высотой равной двум диаметрам).
8.7. Прочность грунта ненарушенной структуры рекомендуется определять с двухкратной повторностью, а прочность после нарушения структуры через 30, 60 мин, 2, 4, 6, 8 ч и далее через 1, 4, 8, 12, 30 сут или до полного восстановления структуры.
8.8. Для предохранения монолитов от подсыхания рекомендуется помещать их в плексигласовый лоток с притертой крышкой и прокладкой между образцом и крышкой из влажной ваты.
8.9. После каждого определения прочности следует определять влажность по ГОСТ 5180-84.
8.10. Для определения степени тиксотропии грунта следует строить кривые кинетики тиксотропного упрочнения (рис. 18) и определять коэффициенты тиксотропного разупрочнения и упрочнения в соответствии с пп. 1.11.
8.11. По шкале Терцаги на основании тиксотропного разупронения можно выделить типы грунтов по чувствительности (тиксотропности):
|
чувствительность (тиксотропность) или тиксотропное разупрочнение: |
типы грунтов |
|
1 |
нечувствительные |
|
1 - 2 |
низкой чувствительности |
|
2 - 4 |
средней чувствительности |
Рис. 18. Восстановление структурной прочности грунта во времени после нарушения структуры перемешиванием грунта и вибрацией
|
чувствительность (тиксотропность) или тиксотропное разупрочнение: |
типы грунтов |
|
4 - 8 |
чувствительные |
|
8 - 16 |
сверхчувствительные |
|
16 |
плывунные |
Прибор (рис. 19) предназначен для подготовки из монолитов образцов в виде сплошного или полого цилиндра в лабораториях, исследующих грунты в строительных целях. Прибор имеет следующие параметры: высота станины 1660 мм, длина 830 мм, ширина 840 мм, масса 302 кг. Диаметр заменяемой многозубой полой фрезы для выбуривания сплошного цилиндра 100 мм (92; 38 мм), высота 200 мм (180; 76 мм). Диаметр заменяемого двухперового сверла с однозаходным отводящим стружку шнеком для подготовки полого цилиндра 51 мм (29; 20 мм), высота 200 мм (76 мм).
Мощность электродвигателя типа АОЛ 22-4 для вращения режущих инструментов 0,4 кВт, скорость вращения 1500 об/мин, скорость вращения шпинделя 30 об/мин. Ход стола подачи монолита 300 мм. Максимально допустимые размеры обрабатываемого монолита 200´200´200 мм.
Прибор состоит из станины, электродвигателя, механизма подъема стола, системы блоков и платформы для уравновешивающих стол грузов, тисков для закрепления монолитов, сменных режущих инструментов - двухперового сверла для выбуривания центральной части образцов и многозубой полой фрезы для обуривания образца грунта. Многозубая полая фреза снабжена системой спиральных канавок по высоте, внутренний диаметр фрезы по зубьям меньше диаметра ее полой части. Прибор исключает нарушение структуры грунта при вырезывании и ускоряет в 5 - 10 раз процесс их подготовки к исследованию по сравнению с ручным вырезыванием образцов.
Прибор разработан НИИ оснований и подземных сооружений совместно с ЭКБ ЦНИИСК, изготовлен на экспериментальном заводе ЩИИСК Госстроя СССР и успешно применяется в лабораториях. Чертежи прибора могут быть получены в НИИОСП по адресу: Москва, Ж-389, 2-я Институтская ул., д. 6.
Монолит грунта помещают на стол прибора, закрепляют через жесткие стенки в тисках и с помощью механизма подъема стола подводят к основанию полой фрезы. Затем включают электродвигатель в электросеть. Фреза начинает вращаться, врезается в монолит и выбуривает образец. Когда верхняя плоскость фрезы совместится с поверхностью монолита, стол с монолитом постепенно опускают механизмом до упора. Электродвигатель выключают из электросети. Фрезу с образцом отвинчивают от верхней крышки и образец выдавливают штампом снизу вверх.
Рис. 19. Прибор для подготовки образцов из глинистых грунтов и торфа для испытания в стабилометре и кручением:
1 - электродвигатель; 2 - станина; 3 - двухперовое сверло для выбуривания центральной части образца; 4 - многозубая полая фреза; 5 - тиски для закрепления монолитов; 6 - механизм подъема стола; 7 - платформа для уравновешивающих стол, грузов; 8, 9 - системы блоков (А.С. № 387242, 1973, Б.И. № 27)
Научно-исследовательский институт оснований и подземных сооружений имени Н.М. Герсеванова
Рекомендации по методике испытаний сильносжимаемых грунтов в основаниях нефтепромысловых резервуаров
Отдел патентных исследований и научно-технической информации
|
Зав. Отделом |
Б.И. Кулачкин |
|
Редактор |
Л.В. Пузанова |
СОДЕРЖАНИЕ