Solid recovered fuels. Methods for laboratory sample preparation

ФЕДЕРАЛЬНОЕ АГЕНТСТВО
ПО ТЕХНИЧЕСКОМУ РЕГУЛИРОВАНИЮ И МЕТРОЛОГИИ

НАЦИОНАЛЬНЫЙ
СТАНДАРТ
РОССИЙСКОЙ
ФЕДЕРАЦИИ

ГОСТ Р
54228-2010

(CEN/TS 15443:2006)

Топливо твердое из бытовых отходов

МЕТОДЫ ПОДГОТОВКИ ЛАБОРАТОРНОЙ
ПРОБЫ

CEN/TS 15443:2006
S
olid recovered fuels - Methods for laboratory sample preparation
(MOD)

Москва

Стандартинформ

2012

Предисловие

Цели и принципы стандартизации в Российской Федерации установлены Федеральным законом от 27 декабря 2002 г. № 184-ФЗ «О техническом регулировании», а правила применения национальных стандартов Российской Федерации - ГОСТ Р 1.0-2004 «Стандартизация в Российской Федерации. Основные положения»

Сведения о стандарте

1 ПОДГОТОВЛЕН Федеральным государственным унитарным предприятием «Всероссийский научно-исследовательский центр стандартизации, информации и сертификации сырья, материалов и веществ» (ФГУП «ВНИЦСМВ») на основе собственного аутентичного перевода на русский язык международного документа, указанного в пункте 4

2 ВНЕСЕН Техническим комитетом по стандартизации ТК 179 «Твердое минеральное топливо»

3 УТВЕРЖДЕН И ВВЕДЕН В ДЕЙСТВИЕ Приказом Федерального агентства по техническому регулированию и метрологии от 23 декабря 2010 г. № 1027-ст

4 Настоящий стандарт является модифицированным по отношению к европейскому региональному документу СЕН/ТС 15443:2006 «Топливо твердое из бытовых отходов. Методы подготовки лабораторной пробы» (CEN/TS 15443:2006 «Solid recovered fuels - Methods for laboratory sample preparation») путем изменения отдельных фраз (слов, значений показателей, ссылок), которые выделены в тексте курсивом

5 ВВЕДЕН ВПЕРВЫЕ

Информация об изменениях к настоящему стандарту публикуется в ежегодно издаваемом информационном указателе «Национальные стандарты», а текст изменений и поправок - в ежемесячно издаваемых информационных указателях «Национальные стандарты». В случае пересмотра (замены) или отмены настоящего стандарта соответствующее уведомление будет опубликовано в ежемесячно издаваемом информационном указателе «Национальные стандарты». Соответствующая информация, уведомление и тексты размещаются также в информационной системе общего пользования - на официальном сайте Федерального агентства по техническому регулированию и метрологии в сети Интернет

СОДЕРЖАНИЕ

1 Область применения. 4

2 Нормативные ссылки. 4

3 Термины и определения. 5

4 Принципы сокращения проб. 5

5 Требования к оборудованию.. 7

5.1 Оборудование для сокращения массы.. 7

5.2 Оборудование для измельчения пробы.. 8

5.3 Сита. 9

5.4 Весы.. 9

6 Подготовка проб. 9

6.1 Общий порядок. 9

6.2 Шаг 1: сбор необходимой информации об отбираемом материале. 10

6.3 Шаг 2: создание плана подготовки проб. 10

6.4 Шаг 3: выполнение плана подготовки проб. 14

7 Методы сокращения массы пробы.. 14

8 Методы сокращения лабораторной пробы до части пробы и аналитической пробы.. 17

8.1 Общие положения. 17

8.2 Начальное разделение пробы.. 17

8.3 Определение исходной массы.. 17

8.4 Предварительное высушивание. 17

8.5 Грубое измельчение (сокращение размера частиц до 30 мм) 18

8.6 Сокращение массы материала размером частиц менее 30 мм.. 18

8.7 Измельчение материала с размером частиц от 30 до 1 мм и менее. 19

8.8 Сокращение массы материала с размером частиц до 1 мм.. 20

8.9 Сокращение массы материала с размером частиц от 1 до 0,25 мм.. 20

9 Хранение и маркировка пробы.. 20

10 Протокол испытаний. 20

Приложение А (обязательное) Определение изменения коэффициента формы частиц. 20

Приложение Б (обязательное) Определение коэффициента формы частиц. 22

Приложение В (рекомендуемое) Примеры приготовления проб. 22

Приложение ДА (справочное) Сведения о соответствии ссылочных национальных стандартов международным стандартам, использованным в качестве ссылочных в примененном международном стандарте. 27

Введение

Твердое топливо из бытовых отходов - основной источник возобновляемой энергии. Настоящий стандарт необходим для производства, продажи и использования твердого топлива из бытовых отходов. Для отбора и приготовления проб топлива могут быть использованы следующие стандарты:

ГОСТ Р 54227-2010(CEN/TS 15442:2006) «Топливо твердое из бытовых отходов. Методы отбора проб».

ГОСТ Р 54228-2010 (CEN/TS 15443:2006) «Топливо твердое из бытовых отходов. Методы подготовки лабораторной пробы».

При создании этих стандартов были использованы существующая практика и имеющиеся научные разработки.

На рисунке 1 показаны связи между важными элементами программы испытания.

Принятая технология приготовления пробы зависит от сочетания различных характеристик материала и обстоятельств, возникающих в месте отбора проб. Определяющими факторами являются:

- тип твердого топлива из бытовых отходов;

- физические характеристики конкретного твердого топлива из бытовых отходов;

- степень гетерогенности (например, однородное топливо, смешанное топливо, перемешанное топливо).

Рисунок 1 - Связи между существенными элементами программы испытания

ГОСТ Р 54228-2010
(CEN/TS 15443:2006)

НАЦИОНАЛЬНЫЙ СТАНДАРТ РОССИЙСКОЙ ФЕДЕРАЦИИ

Топливо твердое из бытовых отходов

МЕТОДЫ ПОДГОТОВКИ ЛАБОРАТОРНОЙ ПРОБЫ

Solid recovered fuels. Methods for laboratory sample preparation

Дата введения - 2012-07-01

1 Область применения

Настоящий стандарт описывает методы сокращения объединенной пробы до лабораторной пробы, лабораторной пробы - до аналитической пробы и используется при испытаниях твердого топлива из бытовых отходов. Размер частиц твердого топлива условно подразделяют на:

- мелкие и определенной формы частицы размером около 10 мм, которые могут быть отобраны при помощи лопаты или щупа, например мягкие или твердые пеллеты;

- крупные или разнообразные по форме частицы материала размером около 200 мм, которые могут быть отобраны вилами или лопатой, например пух, щепа и крупные куски;

- большие куски с размером частиц более 200 мм.

Методы, приведенные в настоящем стандарте, используют для приготовления проб, для определения насыпной массы, прочности, гранулометрического состава, влаги, зольности, показателей плавкости золы, теплоты сгорания, химического состава и примесей.

Методы не предназначены для получения очень больших проб, необходимых для определения свойств топлива к зашлаковыванию.

2 Нормативные ссылки

В настоящем стандарте использованы нормативные ссылки на следующие стандарты:

ГОСТ Р 53228-2008 Весы неавтоматического действия. Часть 1. Метрологические и технические требования. Испытания

ГОСТ Р 54227-2010 (CEN/TS 15442:2006) Топливо твердое из бытовых отходов. Методы отбора проб

ГОСТ Р 54230-2010 (CEN/TS 15415:2006) Топливо твердое из бытовых отходов. Определение гранулометрического состава ситовым методом

ГОСТ Р 54231-2010 (CEN/TS 15414-1:2006) Топливо твердое из бытовых отходов. Определение содержания влаги высушиванием. Часть 1. Общая влага. Стандартный метод

ГОСТ Р 54232-2010 (CEN/TS 15414-2:2006) Топливо твердое из бытовых отходов. Определение содержания влаги высушиванием. Часть 2. Общая влага. Ускоренный метод

ГОСТ Р 54233-2010 (CEN/TS 15414-3:2006) Топливо твердое из бытовых отходов. Определение содержания влаги высушиванием. Часть 3. Влага аналитическая

ГОСТ Р 54235-2010 (CEN/TS 15357:2006) Топливо твердое из бытовых отходов. Термины и определения

Примечание - При пользовании настоящим стандартом целесообразно проверить действие ссылочных стандартов в информационной системе общего пользования - на официальном сайте Федерального агентства по техническому регулированию и метрологии в сети Интернет или по ежегодно издаваемому информационному указателю «Национальные стандарты», который опубликован по состоянию на 1 января текущего года, и по соответствующим ежемесячно издаваемым информационным указателям, опубликованным в текущем году. Если ссылочный стандарт заменен (изменен), то при пользовании настоящим стандартом следует руководствоваться заменяющим (измененным) стандартом. Если ссылочный стандарт отменен без замены, то положение, в котором дана ссылка на него, применяется в части, не затрагивающей эту ссылку.

3 Термины и определения

В настоящем стандарте применены термины и определения по ГОСТ Р 54235, а также следующие термины с соответствующими определениями:

3.1 партия: Определенное количество топлива, для которого установлены качественные показатели.

3.2 точечная проба: Порция твердого топлива из бытовых отходов, отобранная в ходе одной операции прибором для отбора проб.

3.3 проба: Количество топлива, представительное для большей массы, для которой определяется качество.

3.4 общая проба: Проба, содержащая все разовые пробы, отобранные из партии или части партии.

3.5 аналитическая проба для определения влаги: Специально отбираемая лабораторная проба.

3.6 часть пробы: Порция пробы.

3.7 лабораторная проба: Смешанная проба или ее часть, точечная проба или ее часть, а также любая другая проба, отправленная в лабораторию для испытаний.

3.8 аналитическая проба: Часть лабораторной пробы, измельченная до размера частиц 1 мм и менее, используемая для определения химического и физического анализов.

3.9 навеска пробы: Часть лабораторной пробы, равная количеству материала, требуемого для выполнения одного испытания.

3.10 сокращение пробы: Сокращение массы пробы или ее части.

3.11 измельчение пробы: Уменьшение максимального размера частиц пробы или ее части.

3.12 максимальный размер d95: Размер ячейки сита по ГОСТ Р 54230, через который пройдет 95 % ее массы.

4 Принципы сокращения проб

Главной целью подготовки пробы является ее сокращение до одной или более исследуемых частей, которые в основном меньше, чем исходная проба. Главный принцип сокращения пробы в том, что состав отобранной пробы не может быть изменен в ходе каждой стадии пробоподготовки. Каждая сокращенная проба должна характеризовать исходную пробу. Для достижения этой цели каждая частица пробы должна иметь равную вероятность попасть в часть пробы, сохраняемую после уменьшения массы в ходе сокращения. При пробоподготовке используются два основных метода:

- сокращение массы пробы разделением;

- частичное уменьшение массы пробы.

Для сыпучих материалов обычно принимается принцип кубического закона, который должен применяться для каждого шага сокращения пробы.

                                                           (1)

где m - масса, оставляемая после каждого шага сокращения пробы, г;

d95 - максимальный размер частиц, мм;

α - является константой на протяжении всего процесса подготовки пробы для конкретного материала, г/мм3.

Значение и размерность постоянной α устанавливаются номинальным размером частиц d95 и массой пробы m перед подготовкой пробы.

Пример - проба твердого топлива из бытовых отходов 10 кг имеет d95, равное 50 мм. Для анализа требуется 5 г.

Тогда из уравнения (1) m = 10000 г, деленное на d95 = 50 мм в кубе, дает α = 0,08 г/мм3. Использование этого значения в уравнении (1) для сокращения пробы приводит к максимальному размеру частиц рабочей части пробы 3,97 мм (корень кубический из 5,0 г, деленный на 0,08 г/мм3). Ниже в таблице приведены цифры.

т, г

α, г/мм3

d95, мм

10000

0,08

50

5

0,08

3,97

Таблица 1а дает конечное значение коэффициента сокращения пробы до минимальной массы, при сокращении выбирается максимальный размер частиц. Коэффициент сокращения максимального размера частиц может быть рассчитан путем деления текущего максимального размера частиц на ожидаемый максимальный размер частиц после сокращения.

Таблица 1б дает конечное значение коэффициента сокращения пробы до минимального номинального размера частиц пробы, при сокращении выбирается определенная масса пробы. Коэффициент сокращения минимального размера пробы может быть рассчитан путем деления текущего минимального размера пробы на ожидаемый минимальный размер пробы после сокращения.

Уравнение 1 может быть использовано для расчета точных значений для каждой конкретной ситуации.

Таблица 1а - Общие значения ожидаемых коэффициентов сокращения минимального размера пробы

Выбранный коэффициент сокращения максимального размера частиц

Коэффициент сокращения для минимального размера пробы

1,5

3,4

2

8

3

27

4

64

5

125

6

216

7

343

8

512

9

729

10

1000

20

8000

30

27000

Таблица 1б - Общие значения ожидаемых коэффициентов сокращения максимального размера частиц пробы

Ожидаемый коэффициент сокращения для минимального размера пробы

Необходимый коэффициент сокращения максимального размера частиц

2

1,3

3

1,4

4

1,6

5

1,7

10

2,2

20

2,7

50

3,7

80

4,3

100

4,6

200

5,8

500

7,9

1000

10,0

Однако для твердого топлива из бытовых отходов многие материалы оказываются далеки от зернистой формы. Следовательно, для твердого топлива из бытовых отходов можно сделать корректировку для незернистых материалов.

Следует соблюдать осторожность для предотвращения потери малых частиц в процессе размола и других операций.

Если требуется часть пробы для определения влаги, последующее измельчение пробы должно проводиться процедурой, не противоречащей требованиям ГОСТ Р 54231, ГОСТ Р 54232 или ГОСТ Р 54233. Рекомендуется определять содержание влаги в отобранном материале, проведя отдельный анализ (т.к. существует риск изменения содержания влаги при сокращении пробы).

При работе с материалами, которые должны быть испытаны на содержание влаги, следует соблюдать осторожность при любом значительном нагревании и риске высушивания.

5 Требования к оборудованию

5.1 Оборудование для сокращения массы

5.1.1 Сократитель

Сократитель должен иметь, по крайней мере, 16 прорезей с прилегающими канавками для направления материала в различные емкости, а ширина их прорезей должна иметь, по крайней мере, 2,5 максимального размера материала, который должен быть сокращен (см. рисунок 2).

1 - проба; 2 - прорезь с размером, по крайней мере, в 2,5 большем максимального размера материала

Рисунок 2 - Образец сократителя пробы

5.1.2 Вращающийся делитель пробы

Вращающийся делитель пробы имеет приводной механизм, обеспечивающий, по крайней мере, 20 оборотов до тех пор, пока проба не будет разделена. На рисунке 3 приведен образец вращающего разделителя.

Производители всегда должны следовать руководству. Внутренние размеры оборудования, куда подается проба, должны быть, по крайней мере, в 2,5 раза шире номинального основного размера обрабатываемого материала.

1 - подающий механизм; 2 - воронка; 3 - вращающийся приемник; 4 - разделитель проб

Рисунок 3 - Образец ротационного делителя

5.1.3 Лопаты и совки

Лопата или совок, используемые для ручного сокращения массы, должны иметь плоское дно, достаточно высоко поднятые края для предотвращения скатывания частиц и должны быть, по крайней мере, в 2,5 раза шире номинального основного размера материала, который должен быть обработан. На рисунках 4 и 5 приведены образцы лопат и совков соответственно.

d - номинальный основной размер

Рисунок 4 - Образец лопаты

l - длина совка; А - А - ширина совка

Рисунок 5 - Образец совка

5.2 Оборудование для измельчения пробы

5.2.1 Мельница грубой резки или древесная дробилка

Мельницы для грубой резки используются для резки материалов длиной от 10 до 30 мм (в зависимости от вида твердого топлива из бытовых отходов или анализа, который должен быть выполнен). Оборудование должно иметь минимальный осушающий эффект как при нагревании материала, так и при продувке воздуха через него. Оборудование должно обеспечивать предотвращение потери пыли или загрязнение материала частицами металла и должно легко чиститься. Мельница для измельчения без экранов может подходить для малых количеств.

5.2.2 Мельница для мелкой резки

Мельница используется для уменьшения максимального размера материалов, используемых как твердое топливо из бытовых отходов размером от 10 до 30 мм до размера менее 1 мм (в зависимости от твердого топлива из бытовых отходов и анализа, который должен быть выполнен). Мельницы должны быть снабжены экранами с прорезями различных размеров и соответствующими ситами для контроля максимального размера измельченного материала. Допускается использование другого оборудования при условии, что оно не забивается обрабатываемым материалом. Не следует использовать мельницы, срезающие верхние части стеблей, содержащие значительное количество элементов, которые должны быть определены в ходе анализа.

Примечание - Рабочая камера мельницы может быть использована без специального удаления пыли, если установлены пылевые фильтры (подобно рукавному фильтру) между мельницей и контейнером, в которой направляется проба. Указанные мельницы пригодны для окончательного измельчения жестких, деревянных материалов после предыдущего измельчения.

5.2.3 Молотковая дробилка

Молотковая дробилка - оборудование, оснащенное вращающимися молотками для измельчения материала. Молотковые дробилки используются для измельчения частиц до размера меньше 30 мм. Использование молотковых дробилок для измельчения пробы вызывает риск потери влаги и мелкой фракции. Использование молотковых дробилок допускается в определенных условиях. Многие типы твердого топлива из бытовых отходов содержат пластик и металл и, следовательно, делают использование шредера необходимым.

5.3 Сита

Проволочное сито с размером отверстий 1,00 мм используется для проверки максимального размера анализируемых образцов. Проволочное сито с размером отверстий 0,250 мм, - если используется необходимая проба с таким максимальным размером.

5.4 Весы

Для целей подготовки проб применяются весы с точностью 0,1 % от массы пробы или навески по ГОСТ Р 53228.

6 Подготовка проб

6.1 Общий порядок

На рисунке 6 приведен перечень общих процедур, которые должны соблюдаться при пробоподготовке в соответствии с настоящим стандартом.

Рисунок 6 - Общая процедура подготовки проб

6.2 Шаг 1: сбор необходимой информации об отбираемом материале

В первом шаге подготовки пробы следует собрать информацию об отбираемом материале:

а) минимальную массу пробы по плану отбора проб;

б) действительную массу пробы т0;

в) максимальный размер частиц пробы;

г) коэффициент формы пробы;

д) требуемые количества материала фракций каждого размера и ограничения по методам их пробоподготовки. Пробоподготовка обеспечивает получение проб для ряда испытаний, выполняемых на пробе. Некоторые из этих испытаний не требуют проведения процедур измельчения или высушивания пробы. Другие испытания требуют очень мелкой гомогенизации проб до очень маленького размера частиц. План подготовки проб должен учитывать все эти требования.

6.3 Шаг 2: создание плана подготовки проб

6.3.1 Общий порядок

Разработка плана подготовки пробы - наиболее критический этап в ходе приготовления проб. Пробоподготовка - это совокупность процессов сокращения массы пробы, измельчения и разделения пробы. Уровень подготовки на месте проб твердого топлива из бытовых отходов зависит от доступности оборудования и предпочтений заказчика.

Разделение пробы или сокращение массы пробы. Сокращением массы пробы является ее уменьшение до необходимой массы. Целью разделения пробы является получение нескольких проб из одной исходной пробы. В ходе разделения пробы или сокращения ее массы очень важно, чтобы была сохранена часть пробы минимального размера для обеспечения представительности общей пробы. В разделе 6 приведены доступные методы сокращения массы пробы.

Измельчение пробы. Целью измельчения пробы является уменьшение максимального размера частиц для сокращения минимального размера части пробы без потери представительности. В ходе измельчения важно, чтобы весь материал был вовлечен в процесс. Потеря материала вызывает значительные ошибки при измерении этих материалов и, возможно, сопутствующих металлов.

Для создания плана подготовки проб необходимо, чтобы он содержал, по крайней мере, информацию, представленную в таблице 2. Информация в этой таблице должна быть полной. Таблица 2 используется в качестве плана пробоподготовки. В ней приведены все действия, которые должны быть осуществлены в ходе всех процессов пробоподготовки. Фактическая структура таблицы 2 должна быть скорректирована для целей конкретного плана отбора твердого топлива из бытовых отходов и выбора оборудования из имеющегося в лаборатории. Это означает, что, например, ряд шагов может быть опущен или добавлен в случае, когда максимальный размер частиц меньше, чем, например, 30 мм или результаты максимального размера частиц при грубом измельчении отличаются от 30 мм. Информация, используемая в таблице 2, такая как методики, коэффициенты формы, максимальный размер частиц и шаги измельчения, должна быть определена. Определение изменений коэффициента формы указано в 6.3.2. Определение методик и оборудования сокращения массы пробы и измельчения описаны в разделе 7. В приложении В приведен пример создания плана пробоподготовки. В разделе 7 описаны методы сокращения массы пробы до измельчения. В разделе 9 описано, как выполняется план пробоподготовки таблицы 2.

План подготовки проб может быть использован многократно для определенного продукта, пока остается неизменным физический состав твердого топлива из бытовых отходов.


Таблица 2 - План подготовки проб

Шаг

Описание

Метод сокращения

Используемые методика и оборудование

Масса до сокращения

Масса после сокращения

Максимальный размер частиц до измельчения

Максимальный размер частиц после сокращения

Коэффициент формы до сокращения

Коэффициент

формы после сокращения

Масса, оставленная для анализа

Целевой продукт на этом этапе сокращения

1

Разделение общей пробы на части для последующей пробоподготовки и части необработанного материала

Сокращение массы

-

-

-

-

-

-

-

-

Определение насыпной массы, прочность гранул, гранулометрический состав и т.д.

2

Измельчение размера частиц пробы для последующего сокращения массы пробы и/или возможного разделения

Измельчение частиц пробы до размера < 30 мм

-

-

-

-

30 мм

-

-

-

-

3

Сокращение и/или разделение пробы для последующего измельчения и/ или разделения

Сокращение массы

-

-

-

30 мм

30 мм

-

-

-

Части пробы для определения гранулометрического состава, прочности на истирание, влаги

4

Разделение оставшейся части пробы на часть пробы для дальнейшей пробоподготовки и часть пробы для анализа

Измельчение частиц пробы до размера < 1,0 мм

-

-

-

30 мм

1,0 мм

-

1,0

-

-

5

Разделение оставшегося материала пробы на требуемые рабочие части пробы

Сокращение массы

-

-

-

1,0 мм

1,0 мм

1,0

1,0

-

Части пробы для определения зольности, теплоты сгорания, химических анализов и т.д.

6

Измельчение пробы для возможности разделения

Измельчение частиц пробы до размера < 0,25 мм

1,0 мм

0,25 мм

1,0

1,0

-

-

7

Разделение оставшегося материала пробы на требуемые рабочие части пробы

Сокращение массы

-

-

-

0,25 мм

0,25 мм

1,0

1,0

-

Части проб для анализов, требующих частиц размером < 0,25 мм

Примечание - Масса может быть удержана только на этапе сокращения массы, но не измельчения.


6.3.2 Сохранение минимального количества пробы или ее части

В ходе сокращения массы пробы каждая частица пробы до сокращения должна иметь равную возможность попасть в часть пробы, оставляемую после сокращения. Для негранулированных материалов с коэффициентом формы значительно меньше 1,0 следует произвести корректировку для определения коэффициента формы. В приложении А приведен порядок проведения этой корректировки.

Каждый шаг пробоподготовки должен соответствовать следующей формуле:

                                                           (2)

где m1 - масса пробы до сокращения, г;

m2 - масса пробы после сокращения, г;

s1 - коэффициент формы до сокращения пробы;

s2 - коэффициент формы после сокращения пробы;

d1 - максимальный размер частиц пробы до измельчения, мм;

d2 - максимальный размер частиц пробы после измельчения, мм.

Для гранулированных материалов коэффициенты формы s1 и s2 близки к единице. В этом случае следует принять указанные коэффициенты равными 1. Для материалов, форма которых далека от гранул, коэффициент формы необходимо определить. Определение коэффициента формы проводится по ГОСТ Р 54227. Коэффициент формы меняется с уменьшением размера частиц пробы. Коэффициент формы увеличивается до единицы в процессе измельчения. В приложении А приведен порядок прогнозирования роста коэффициента формы после измельчения частиц пробы. Для каждого шага измельчения должны быть определены новые коэффициент формы и максимальный размер частиц для того, чтобы установить, удовлетворяет ли данный шаг формуле (2).

6.4 Шаг 3: выполнение плана подготовки проб

На третьем шаге выполняется подготовка пробы по плану.

В ходе процесса фактического приготовления пробы в любом случае должны быть выполнены следующие процедуры:

- тщательная гомогенизация материала пробы на каждом этапе;

- проверка отсутствия потерь материала;

- максимальное сокращение потери компонентов пробы. Для того чтобы избежать повреждения мельницы, можно удалить тяжелые материалы, такие как металл (сталь), но следует это зафиксировать. Протокол включает в себя массу (в процентах) и типы материалов, удаленных из пробы;

- после каждого этапа пробоподготовки масса пробы должна быть достаточной для выполнения испытаний.

7 Методы сокращения массы пробы

Количество материала, остающееся после сокращения, должно быть больше минимально необходимого количества материала в пробе.

При проведении процедуры сокращения пробы могут быть использованы следующие методы:

а) Придание пробе конической формы и квартование. Метод используется для таких материалов, как опилки, древесная щепа, которые могут быть отобраны лопатой. Он подходит для сокращения проб из этих материалов вплоть до 1 кг. Размещают объединенные пробы на твердой чистой поверхности. Собирают пробу в конус, размещая каждую порцию на поверхности предыдущей, чтобы биотопливо ссыпалось со всех сторон конуса, было случайно распределенным, и различные по размеру частицы оказались хорошо перемешаны. Повторяют этот процесс три раза, каждый раз формируя новый конус. Разравнивают третий конус, вставив лопату вертикально в верх конуса для формирования плоского навала, который имеет форму круга и толщину не более, чем лопасть лопаты. Квартуют плоский навал вдоль двух диагоналей под прямым углом, заглубляя лопату вертикально в навал (для этой операции используют поперечный лист металла, если он есть в наличии). Отбрасывают одну пару противоположных четвертей. Повторяют придание пробе конической формы и процесс квартования до того, пока не будет получена проба требуемого размера (см. рисунок 7).

Примечание - Данный метод широко применим для других материалов (т. к. это наиболее просто выполнить).

Рисунок 7 - Квартование

б) Сокращение на сократителе проб. Этот способ используется для материалов, которые могут быть пропущены через сократитель без его закупоривания. Он не подходит для материалов, содержащих удлиненные частицы, или для влажных материалов. Хрупкие материалы следует обработать осторожно вручную, чтобы избежать их измельчения. Помещают всю объединенную пробу в контейнер разделителя так, чтобы она распределилась по всему контейнеру случайным образом. Помещают два контейнера под сократителем. Выгружают содержимое контейнера в центр сократителя. Выгружать твердое топливо из бытовых отходов следует достаточно медленно, чтобы не произошло закупоривания. При выгрузке не перемещают контейнер для исключения потерь. Следует исключить из пробы материал, который попал в один из контейнеров. Повторяют процесс до тех пор, пока не будет получена выборка нужного размера. На рисунке 2 приведен пример сократителя проб.

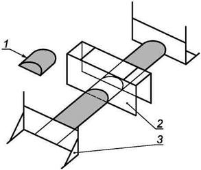
в) Сокращение квартованием с применением пластин. Этот метод может быть использован, когда объединенную пробу нужно разделить на малое число лабораторных проб. Размещают общую пробу на чистой твердой поверхности и гомогенизируют ее перемешивая совком. На поверхности материала размечают полосы, длина которых должна быть не менее чем 10:1. Помещают вертикальную пластину на каждом конце полосы. Формируют лабораторную пробу отбором, по крайней мере, 20 порций из мест, равномерно расположенных по всей длине полосы. Каждую порцию отбирают, используя две пластины, держа их вертикально к полосе и удаляя весь материал между пластинами. Две пластины располагают на одинаковом расстоянии друг от друга каждый раз так, чтобы каждая отбираемая порция содержала одинаковое количество материала. Расстояние между пластинами должно выбираться так, чтобы было обеспечено получение лабораторной пробы требуемого размера. На рисунке 8 приведено квартование с применением пластин.

1 - разовая проба; 2 - рамка для отбора проб; 3 - конечные пластины

Рисунок 8 - Сокращение квартованием с применением пластин

г) Длинный штабель. Данный метод используется для всех материалов и может быть удобным, когда объединенная проба должна быть разделена на несколько лабораторных проб. Формирование массы пробы производится аналогично методу квартования полос, как в методе перемешивания полос и сокращения с использованием пластин. Лабораторные пробы должны иметь требуемую массу. Емкости для отбора проб располагают вблизи полос. Используют лопату для отбора такого размера, чтобы каждая лабораторная проба составляла, по крайней мере, 20 заполненных лопат. Если каждая лабораторная проба имеет массу m, кг, то лопата не должна иметь вместимость более чем m/20 кг. Материал отбирают в одной части полосы, не оставляя мелкие частицы, и загружают в емкость количество материала, достаточное для лабораторной пробы.

д) Ручное сокращение. Данный метод используется для гранул и другого твердого топлива из бытовых отходов с частицами малого размера, которые могут быть обработаны при помощи совка. Располагают общую пробу на чистой твердой поверхности и гомогенизируют ее, перемешивая совком. Используя совок, формируют объединенную пробу в прямоугольник высотой, не превышающей трех максимальных размеров материала, и намечают на поверхности прямоугольника с помощью совка минимум 20 порций. Используют совок и режущую пластину для отбора проб от каждой из 20 порций, вставляя совок до дна навала, и отбирают порции для формирования требуемой лабораторной пробы (см. рисунок 9).

а) Распределение измельченной пробы в прямоугольнике максимальной толщиной, не превышающей максимальный размер частиц более чем в три раза

б) Разделение на 20 равных частей, например, на пять равных частей в длину и на четыре равные части в ширину

в) Зачерпывание случайных проб из каждой из 20 частей, вставляя совок до дна слоя пробы. Объединяют 20 зачерпов в отдельную пробу

г) Детальное изображение отбора разовой пробы в одной из 20 частей с использованием режущей пластины, показанной на рисунке 9в)

Рисунок 9 - Ручное сокращение пробы

е) Вращающийся разделитель. Вращающийся разделитель проб используют с помощью механического метода сокращения массы пробы. Ротационный разделитель проб имеет питающее устройство, приспособленное таким образом, чтобы разделитель совершал, по крайней мере, 20 оборотов, пока проба не будет разделена. На рисунке 3 приведен образец ротационного делителя.

8 Методы сокращения лабораторной пробы до части пробы и аналитической пробы

8.1 Общие положения

В разделе 8 описаны шаги, которые должны быть проведены в ходе пробоподготовки.

8.2 Начальное разделение пробы

Если масса лабораторной пробы превышает минимально необходимую массу, то лабораторная проба может быть разделена с использованием одного из методов, описанных в разделе 7.

8.3 Определение исходной массы

Перед любым процессом пробоподготовки, во время которого может произойти потеря влаги или пыли, определяют массу лабораторной пробы взвешиванием на весах по ГОСТ Р 53228 с точностью взвешивания не более 0,1 %. Записывают эту массу как mпр1, г.

8.4 Предварительное высушивание

Предварительное высушивание влажных проб проводят для минимизации потери влаги в последующих процессах разделения проб, для облегчения процессов подготовки проб и для минимизации биологической активности. Пробу высушивают нагреванием в сушильном шкафу до температуры не более 40 °С.

Примечание - Если содержание влаги исходного образца несущественно, например, если определяется только гранулометрический состав или специально отбирается «аналитическая проба для определения содержания влаги», вычисление потери влаги может быть опущено. В этом случае нет необходимости достигать полного равновесия с температурой и влажностью в лаборатории.

Все пробы (включая те, что высушены нагреванием) должны помещаться в лоток с глубиной слоя не более нескольких частиц. Пробы выдерживают в лаборатории, по крайней мере, 24 ч, пока они не достигнут равновесия с температурой и влажностью в лаборатории.

Для крупных материалов выдержки в течение 24 ч в лабораторных условиях для достижения равновесия содержание влаги во всех частицах недостаточно. Контроль за содержанием влаги в этом случае осуществляют путем взвешивания пробы или части пробы на электронных весах в течение периода их пребывания в лаборатории.

Пробу помещают в грубый измельчитель с ситом с отверстиями 30 мм. Сокращение может быть произведено путем альтернативного метода, описанного в разделе 7.

Примечание - Для предотвращения потери влаги в процессе дробления, который следует проводить на минимальной скорости.

Если требуется информация о потере влаги в ходе предварительного высушивания, необходимо определить массу пробы после предварительного высушивания по ГОСТ Р 54231, ГОСТ Р 54232, ГОСТ Р 54233 и вычислить разницу. Используют те же весы, что и при взвешивании по 8.2, определение массы пробы производится после полного завершения процесса предварительного высушивания, фиксируют эту массу как mпр2, г.

Вычисляют потерю влаги М, % массовая, в ходе предварительного высушивания:

                                                   (3)

где Мp - потеря влаги, %;

mпр1 - исходная масса пробы;

mпр2 - масса пробы после предварительного высушивания.

Результат записывают с точностью до 0,1%.

8.5 Грубое измельчение (сокращение размера частиц до 30 мм)

Если материал содержит частицы, остающиеся на 30-миллиметровом сите, то:

- используют сито с ячейками 30 мм для разделения пробы на крупную (остаток на сите с ячейками 30 мм) и мелкую фракции (прохождение через сито с ячейками 30 мм). Засоряющие пробу материалы, например, крупные частицы металла и камни, должны быть удалены из пробы перед грубым измельчением для защиты мельницы от повреждений. Некоторые материалы могут быть удалены с помощью магнита. Эти материалы должны быть взвешены, и данные занесены в протокол испытаний (см. раздел 10);

- измельчают крупную фракцию, используя крупную мельницу для разрезания так, чтобы крупная фракция проходила через сито с ячейками 30 мм. Для некоторых типов твердого топлива из бытовых отходов перед измельчением может быть необходима предварительная обработка замораживанием. Пробу помещают в ведро, устойчивое к заморозке, и обрабатывают сухим льдом (ледяным диоксидом углерода) или жидким азотом. Сразу высыпают пробу из ведра в работающую режущую мельницу (измельчитель).

ВНИМАНИЕ! Будьте осторожны при использовании сухого льда и жидкого азота.

Примечание - В зависимости от материала могут использоваться другие мельницы, отличные от мельницы для грубого разрезания;

- гомогенизируют пробу крупной и мелкой фракций.

Вышеупомянутые процедуры могут быть использованы для сокращения размера частиц менее 30 мм с использованием соответствующих мельниц для разрезания и сит.

Примечание - Размалывая пробу на мельнице с ситом, можно получить частицы требуемого размера с одновременной гомогенизацией пробы.

8.6 Сокращение массы материала размером частиц менее 30 мм

Для сокращения массы пробы может быть использован один из ручных методов, описанных ниже. Массы проб, полученные при сокращении, должны удовлетворять требованиям, установленным в таблице 1а.

Для взвешивания используют весы точностью до 0,1 % массы.

Определяют массы контейнеров, в которые должна быть помещена проба до начала разделения.

Метод сокращения массы должен быть выбран по разделу 7.

Следует сразу заполнить контейнер. Если часть пробы требуется для определения содержания влаги или другого испытания, то потеря влаги недопустима.

Определяют массу каждой части пробы и записывают эту массу как mч.пр1.

Если часть пробы используется как исследуемая часть, она должна быть массой не менее чем минимальная масса, указанная в соответствующем методе испытания.

8.7 Измельчение материала с размером частиц от 30 до 1 мм и менее

Когда требуется проба материала с максимальным размером частиц около 1 мм, измельчение проводят в мельнице для разрезания. Если необходимо, процесс проводят в несколько этапов с использованием более мелких сит на каждом этапе, завершая ситом с требуемым размером ячейки.

Размол или резка до номинального размера 1 мм могут вызвать проблемы из-за некоторых трудноразмалываемых материалов и выделения большого количества тепла при измельчении. Мелкие частицы требуют большего количества энергии для измельчения, чем более крупные частицы. Нагрев влияет на состав пробы и может вызвать потерю веществ (например, ртути). В этом случае размол или резка материала пробы должны проводиться в криогенных условиях (замороженном состоянии). При температуре пробы выше 70 °С измельчение должно быть выполнено в криогенных условиях.

Мельницы или резаки должны быть пригодны для размола и резки при низких температурах. Охлаждение должно проводиться либо при помощи сухого льда (-79 °С), либо жидкого азота (-196 °С). Пробу смешивают или погружают в хладагент. В некоторых случаях необходимо охладить мельницу или резак так же, как и охлаждающую среду для сохранения достаточно низкой температуры.

Другим методом предотвращения повышения температуры является понижение пропускной способности мельницы или резака. Этот метод также может быть применен, если температура материала не повышается более чем на 70 °С.

Примечания

1 В зависимости от материала может быть использована мельница, отличная от режущей мельницы.

2 При измельчении всей пробы через мельницу с ситом получаем частицы необходимого размера, а также одновременно гомогенизируем пробу.

Пример - Если проба должна быть сокращена сперва рассевом на 5 мм сите и затем - на 1 мм сите, необходимо:

- использовать 5 мм сито для разделения пробы на крупную фракцию (оставшуюся на 5 мм сите) и мелкую фракцию (прошедшую через 5 мм сито);

- размолоть крупную фракцию, используя мельницу, оборудованную 5 мм ситом;

- гомогенизировать пробы крупной и мелкой фракции;

- использовать 1 мм сито для разделения пробы на крупную фракцию (оставшуюся на 1 мм сите) и мелкую фракцию (прошедшую через 1 мм сито);

- размолоть крупную фракцию, используя мельницу, оборудованную 1 мм ситом;

- гомогенизировать пробы крупной и мелкой фракции.

При измельчении материала, содержащего гранулы или очень длинные частицы, возможно их застревание в мельнице или сите. Поэтому после окончания размалывания мельницу очищают. Выделенные частицы перетирают вручную до тех пор, пока они не пройдут через сито, и добавляют материал к пробе.

Пробу разравнивают в лотке не более чем в несколько миллиметров глубиной, оставляют ее, по крайней мере, на 4 ч для достижения равновесия с температурой и влажностью лаборатории.

Проба, подготовленная методом, описанным в данном пункте, может быть использована как аналитическая проба, в этом случае ее масса должна быть рассчитана по таблице 2.

Материал, который был подвергнут операциям измельчения, описанным в данном пункте, не может быть использован для определения общей влаги в топливе.

8.8 Сокращение массы материала с размером частиц до 1 мм

Гомогенизировать материал в емкости перемешиванием шпателем для отбора требуемого количества.

При возможности засорения пробы (песок и пр.) необходимо провести разделение пробы с использованием разделителя. Размер пробы, отобранной для дальнейшего размалывания, должен быть достаточно большим, чтобы обеспечить репрезентативность.

8.9 Сокращение массы материала с размером частиц от 1 до 0,25 мм

Когда требуется проба с максимальным размером частиц 0,25 мм, используют мельницу для уменьшения части материала пробы до необходимого размера. Перемалывание материала осуществляется малыми порциями для предотвращения увеличения генерации тепла (каждая порция рассеивается на 0,25 мм сите).

Примечание - В зависимости от материала могут использоваться другие мельницы, отличные от мельницы для измельчения удлиненных частиц.

9 Хранение и маркировка пробы

Пробы хранят в плотно закрытых контейнерах. Каждая проба должна быть маркирована уникальным идентификационным кодом, содержащим код пробы, из которой она была получена.

10 Протокол испытаний

Протокол испытаний должен содержать, как минимум, следующую информацию:

- ссылку на данный стандарт;

- дату получения лабораторией образцов и даты проведения испытаний (начало и конец);

- полную идентификацию лабораторной пробы;

- план пробоподготовки;

- идентификацию используемых оборудования и инструментов;

- вес лабораторной пробы и материалов, исключенных из пробы в процессе пробоподготовки, например, камни или металлы (взвешенные и записанные);

- любые отклонения от метода испытаний и причины этих отклонений вместе со всеми обстоятельствами, которые повлияли на результат.

Приложение А
(обязательное)

Определение изменения коэффициента формы частиц

А.1 Введение

В данном приложении определяется изменение коэффициента формы частиц в процессе измельчения.

Изменение коэффициента формы частиц существенно влияет на минимальный размер пробы для материалов, у которых этот коэффициент меньше 1,0. Эта корректировка будет необходима только для твердого топлива из бытовых отходов с большим размером частиц.

А.2 Общие положения

В А.3 описано как изменяется коэффициент формы частиц в зависимости от процесса измельчения.

А.3 Методика

В А.4 описана методика прогнозирования изменения коэффициента формы после измельчения. В таблице А.1 приводится прогноз коэффициента формы частиц после измельчения, основанный на коэффициенте формы до измельчения, общем коэффициенте формы частиц и на количестве этапов уменьшения размера частиц в процессе измельчения. Реальный анализ коэффициента формы выполняется в соответствии с приложением Б.

Необходимо учитывать, что:

а) в таблице А.1 приведены не все возможные результаты, и поэтому в некоторых случаях промежуточные значения должны оцениваться путем округления;

б) значения в таблице установлены для частиц с конкретными размерами, которые служат моделью для конкретного типа частиц (плоские или удлиненные). В действительности, важен не только тип частиц, но и их реальные размеры. Для плоских частиц длина и ширина, например, всегда считаются равными, что не всегда соответствует действительности. Данное предположение обычно не является проблемой, т.к. состав твердого топлива из бытовых отходов часто настолько гетерогенен, что можно только примерно оценить размеры частиц. Значения для смешанной/средней формы частиц в таблице 2 были рассчитаны путем приближения значений для крайних форм;

в) для коэффициента формы f = 0,25 не были включены смешанные/средние типы формы, а для коэффициента формы f = 0,50 - 1 не были учтены различия между типами формы. Влияние типа формы снижается при увеличении коэффициента формы и поэтому не имеет значения при больших значениях последнего.

Таблица А.1 - Коэффициент формы частиц после измельчения

Коэффициент формы частиц до измельчения, f0

Общая форма частиц

Число измельчений d95 (n)

2

3

4

5

6

7

8

9

10

20

30

40

50

100

0,01

Плоская

0,02

0,03

0,04

0,05

0,06

0,07

0,08

0,09

0,10

0,20

0,30

0,40

0,50

1,00

Смешанная/ средняя

0,03

0,06

0,10

0,15

0,21

0,28

0,36

0,45

0,55

0,60

0,65

0,70

0,75

1,00

Удлиненная/ игольчатая

0,04

0,09

0,16

0,25

0,36

0,49

0,64

0,81

1,00

1,00

1,00

1,00

1,00

1,00

0,02

Плоская

0,04

0,06

0,08

0,10

0,12

0,14

0,16

0,18

0,20

0,40

0,60

0,80

1,00

1,00

Смешанная/ средняя

0,06

0,12

0,20

0,30

0,42

0,56

0,58

0,59

0,60

0,70

0,80

0,90

1,00

1,00

Удлиненная/ игольчатая

0,08

0,18

0,32

0,50

0,72

0,98

1,00

1,00

1,00

1,00

1,00

1,00

1,00

1,00

0,04

Плоская

0,08

0,12

0,16

0,20

0,24

0,28

0,32

0,36

0,40

0,80

1,00

1,00

1,00

1,00

Смешанная/ средняя

0,12

0,24

0,40

0,60

0,62

0,64

0,66

0,68

0,70

0,90

1,00

1,00

1,00

1,00

Удлиненная/ игольчатая

0,16

0,36

0,64

1,00

1,00

1,00

1,00

1,00

1,00

1,00

1,00

1,00

1,00

1,00

0,05

Плоская

0,10

0,15

0,20

0,25

0,30

0,35

0,40

0,45

0,50

1,00

1,00

1,00

1,00

1,00

Смешанная/ средняя

0,15

0,30

0,50

0,63

0,65

0,68

0,70

0,73

0,75

1,00

1,00

1,00

1,00

1,00

Удлиненная/ игольчатая

0,20

0,45

0,80

1,00

1,00

1,00

1,00

1,00

1,00

1,00

1,00

1,00

1,00

1,00

0,10

Плоская

0,20

0,30

0,40

0,50

0,60

0,70

0,80

0,90

1,00

1,00

1,00

1,00

1,00

1,00

Смешанная/ средняя

0,30

0,60

0,70

0,75

0,80

0,85

0,90

0,95

1,00

1,00

1,00

1,00

1,00

1,00

Удлиненная/ игольчатая

0,40

0,90

1,00

1,00

1,00

1,00

1,00

1,00

1,00

1,00

1,00

1,00

1,00

1,00

0,15

Плоская

0,30

0,45

0,60

0,75

0,90

1,00

1,00

1,00

1,00

1,00

1,00

1,00

1,00

1,00

Смешанная/ средняя

0,45

0,72

0,80

0,87

0,95

1,00

1,00

1,00

1,00

1,00

1,00

1,00

1,00

1,00

Удлиненная/ игольчатая

0,60

1,00

1,00

1,00

1,00

1,00

1,00

1,00

1,00

1,00

1,00

1,00

1,00

1,00

0,20

Плоская

0,40

0,60

0,80

1,00

1,00

1,00

1,00

1,00

1,00

1,00

1,00

1,00

1,00

1,00

Смешанная/ средняя

0,60

0,80

0,90

1,00

1,00

1,00

1,00

1,00

1,00

1,00

1,00

1,00

1,00

1,00

Удлиненная/ игольчатая

0,80

1,00

1,00

1,00

1,00

1,00

1,00

1,00

1,00

1,00

1,00

1,00

1,00

1,00

0,25

Плоская

0,50

0,75

1,00

1,00

1,00

1,00

1,00

1,00

1,00

1,00

1,00

1,00

1,00

1,00

Удлиненная/ игольчатая

1,00

1,00

1,00

1,00

1,00

1,00

1,00

1,00

1,00

1,00

1,00

1,00

1,00

1,00

0,50

Все формы

1,00

1,00

1,00

1,00

1,00

1,00

1,00

1,00

1,00

1,00

1,00

1,00

1,00

1,00

0,75

1,00

1,00

1,00

1,00

1,00

1,00

1,00

1,00

1,00

1,00

1,00

1,00

1,00

1,00

1

1,00

1,00

1,00

1,00

1,00

1,00

1,00

1,00

1,00

1,00

1,00

1,00

1,00

1,00

Приложение Б
(обязательное)

Определение коэффициента формы частиц

Б.1 Введение

Данное приложение устанавливает метод определения коэффициента формы частиц.

Изменение коэффициента формы частиц существенно влияет на минимальный размер пробы для материалов, у которых этот коэффициент меньше 1,0. Корректировка необходима только для твердого топлива из бытовых отходов и пуха с большим размером частиц.

Б.2 Методика

Если тип твердого топлива из бытовых отходов - пух, коэффициент формы частиц s корректирует минимальный размер пробы, т.к. материалы не зернистые и часто состоят из плоских кусков. Для твердого топлива из бытовых отходов в виде пеллетов, которые практически гранулированы, этот метод не предусматривает поправки (для твердого топлива из бытовых отходов в виде пеллетов значение s равно 1,0).

Для материалов типа пуха для определения коэффициента формы частиц s используется следующее уравнение

                                                           (Б.1)

где s - коэффициент формы частиц, мм3/мм3;

V95 - максимальный объем частиц пуха (масса фракции частиц меньше V95 95 %), мм3 (где V = Ibh);

d95,I - максимальная длина частиц пуха (масса фракции частиц меньше d95,I 95 %), мм.

Коэффициент формы не постоянен и зависит от типа материала.

Приложение В
(рекомендуемое)

Примеры приготовления проб

B.1 Введение

В данном приложении приведены два примера применения данного стандарта.

B.2 Пример 1: пеллеты

Перерабатывающий завод, использующий несколько типов отходов, остатков от промышленности, выпускает пеллеты максимальным размером частиц 20 мм. Т.к. компоненты в продуктах уже обработаны в процессе измельчения, большинство частиц внутри пеллетов могут считаться гранулами. Коэффициент формы при этом около 1,0. Насыпная плотность 300 кг/м3 и реальная плотность частиц 0,9 г/см3. Коэффициент распределения 1,00, т.к. частицы равномерно распределяются по размеру. VC и р можно принять равными 0,1. Тогда минимальный размер пробы 3,4 кг или 11,3 л. Для определения хлора требуется материал с максимальным размером частиц 1,0 мм.

В таблице В.1 описан план подготовки проб и необходимые мероприятия.

B.3 Пример 2: пух

Перерабатывающий завод, разделяющий муниципальные твердые бытовые отходы и производящий твердое топливо из бытовых отходов, которое отделяют от бумажно-пластиковой фракции переменным обдувом. Реальный размер этих фракций довольно большой (> 500 мм), твердое топливо из бытовых отходов дробится мельницей до окончательного продукта с максимальным размером частиц 300 мм. Т.к. компоненты продуктов в основном очень плоские, средний коэффициент формы 0,05. Насыпная плотность 90 кг/м3, а реальная плотность частиц - 0,9 кг/м3. Коэффициент распределения 0,25, т.к. частицы равномерно распределены по размеру. VC и р можно принять равными 0,1. Тогда минимальный размер пробы 403 кг или 1590 л. Для определения насыпной массы требуется минимум 40 кг неизмельченной пробы. Измельчитель производителя твердого топлива из бытовых отходов может уменьшать реальный размер частиц до 30 мм. Для определения ртути необходим материал с максимальным размером частиц 1,0 мм.

В таблице В.2 приведен план приготовления пробы и необходимые мероприятия.


Таблица В.1 - План приготовления проб

Шаг

Описание

Методы сокращения

Используемое оборудование

Масса до сокращения

Масса после сокращения

Максимальный размер до сокращения

Максимальный размер после сокращения

Коэффициент формы до сокращения

Коэффициент формы после сокращения

Масса, необходимая для анализа

Целевой продукт на этом этапе сокращения

1

Расщепление объединенной пробы на часть пробы для последующей подготовки и часть необработанной пробы

Сокращение массы

-

4,4 кг

3,4 кг

20 мм

20 мм

1,0

1,0

1 кг

Определение насыпной массы, прочности гранул, гранулометрического состава и т.д.

2

Измельчение с целью добиться дальнейшего уменьшения массы и/или сделать возможным разделение

Измельчение до 30 мм и менее

-

-

-

-

-

-

-

-

-

3

Сокращение и/или расщепление пробы с целью последующего измельчения и/или сделать возможным разделение

Сокращение массы

-

-

-

-

-

-

-

-

Часть пробы для определения гранулометрического состава, устойчивости к истиранию, содержания влаги и т.д.

4

Разделение оставшейся части пробы на часть для дальнейшей подготовки и для анализа

Измельчение до 1,0 мм и менее

Режущая мельница

4,4 кг

4,4 кг

20 мм

1,0 мм

1,0

1,0

-

-

5

Разделение оставшейся части материала пробы на требуемые для испытаний порции

Сокращение массы

Инкрементный метод

4,4 кг

1,0 г

1,0 мм

1,0 мм

1,0

1,0

1,0 г

Часть пробы для определения зольности, теплоты сгорания, химического анализа и т.д.

6

Измельчение с целью сделать возможным дальнейшее разделение

Измельчение до 0,25 мм и менее

-

-

-

-

-

-

-

-

-

7

Разделение оставшейся части материала пробы на требуемые для испытаний порции

Сокращение массы

-

-

-

-

-

-

-

-

Часть пробы для анализов, для которых требуются материал с частицами 0,25 мм и менее

Примечание: Масса может удерживаться только в процессе этапа по сокращению массы, а не в ходе этапа измельчения.

Таблица В.2 - План приготовления пробы

Шаг

Описание

Методы сокращения

Используемое оборудование

Масса до сокращения

Масса после сокращения

Максимальный размер до сокращения

Максимальный размер после сокращения

Коэффициент формы до сокращения

Коэффициент формы после сокращения

Масса, необходимая для анализа

Целевой продукт на этом этапе сокращения

1

Расщепление объединенной пробы на часть пробы для последующей подготовки и часть необработанной пробы

Сокращение массы

-

183 кг

143 кг

300 мм

300 мм

0,05

0,05

40 кг

Определение насыпной массы, прочности гранул, гранулометрического состава и т.д.

2

Измельчение с целью добиться дальнейшего уменьшения массы и/или сделать возможным разделение

Измельчение до 30 мм и менее

Измельчитель

143 кг

143 кг

300 мм

30 мм

0,05

0,5

-

-

3

Сокращение и/или расщепление пробы с целью последующего измельчения и/или сделать возможным разделение

Сокращение массы

-

143 кг

1,43 кг

30 мм

30 мм

0,5

0,5

-

Часть пробы для определения гранулометрического состава, устойчивости к истиранию, содержания влаги и т.д.

4

Разделение оставшейся части пробы на часть для дальнейшей подготовки и для анализа

Измельчение до 1,0 мм и менее

Режущая мельница

1,43 кг

1,43 кг

30 мм

1,0 мм

0,5

1,0

-

-

5

Разделение оставшейся части материала пробы на требуемые для испытаний порции

Сокращение массы

Инкрементный метод

1,43 кг

1,0 г

1,0 мм

1,0 мм

1,0

1,0

1,0 г

Часть пробы для определения зольности, теплоты сгорания, химического анализа и т.д.

6

Измельчение с целью сделать возможным дальнейшее разделение

Измельчение до 0,25 мм и менее

-

-

-

-

-

-

-

-

-

7

Разделение оставшейся части материала пробы на требуемые для испытаний порции

Сокращение массы

-

-

-

-

-

-

-

-

Часть пробы для анализов, для которых требуется материал с частицами 0,25 мм и менее

Примечание: Масса может удерживаться только в процессе этапа по сокращению массы, а не в ходе этапа измельчения.


Приложение ДА
(справочное)

Сведения о соответствии ссылочных национальных стандартов международным
стандартам, использованным в качестве ссылочных в примененном
международном стандарте

Таблица ДА.1

Обозначение ссылочного национального стандарта

Степень соответствия

Обозначение и наименование ссылочного европейского регионального стандарта, документа

ГОСТ Р 54227-2010 (CEN/TS 15442:2006)

MOD

CEN/TS 15442:2006 «Топливо твердое из бытовых отходов. Методы отбора проб»

ГОСТ Р 54230-2010 (CEN/TS 15415:2006)

MOD

CEN/TS 15415:2006 «Топливо твердое из бытовых отходов. Определение гранулометрического состава ситовым методом»

ГОСТ Р 54231-2010 (CEN/TS 15414-1:2006)

MOD

CEN/TS 15414-1:2006 «Топливо твердое из бытовых отходов. Определение содержания влаги высушиванием. Часть 1: Общая влага. Стандартный метод»

ГОСТ Р 54232-2010 (CEN/TS 15414-2:2006)

MOD

CEN/TS 15414-2:2006 «Топливо твердое из бытовых отходов. Определение содержания влаги высушиванием. Часть 2: Общая влага. Ускоренный метод»

ГОСТ Р 54233-2010 (CEN/TS 15414-3:2006)

MOD

CEN/TS 15414-3:2006 «Топливо твердое из бытовых отходов. Определение содержания влаги высушиванием. Часть 3: Влага аналитическая»

ГОСТ Р 54235-2010 (CEN/TS 15357:2006)

MOD

CEN/TS 15357:2006 «Топливо твердое из бытовых отходов. Термины и определения»

Примечание - В настоящей таблице использовано следующее условное обозначение степени соответствия стандартов:

- MOD - модифицированные стандарты.

 

Ключевые слова: топливо твердое из бытовых отходов, подготовка проб, методы