Adjustable wrenches. Specifications

ФЕДЕРАЛЬНОЕ АГЕНТСТВО
ПО ТЕХНИЧЕСКОМУ РЕГУЛИРОВАНИЮ И МЕТРОЛОГИИ

НАЦИОНАЛЬНЫЙ
СТАНДАРТ
РОССИЙСКОЙ
ФЕДЕРАЦИИ

ГОСТ Р
54488-
2011

(ИСО 6787:2001)

КЛЮЧИ ГАЕЧНЫЕ РАЗВОДНЫЕ

Технические условия

ISO 6787:2001
Assembly tools for screws and nuts - Adjustable wrenches

(MOD)

Москва

Стандартинформ

2012

Предисловие

Цели и принципы стандартизации в Российской Федерации установлены Федеральным законом от 27 декабря 2002 г. № 184-ФЗ «О техническом регулировании», а правила применения национальных стандартов Российской Федерации - ГОСТ Р 1.0-2004 «Стандартизация в Российской Федерации. Основные положения»

Сведения о стандарте

1 ПОДГОТОВЛЕН Открытым акционерным обществом «ВНИИИНСТРУМЕНТ» (ОАО «ВНИИИНСТРУМЕНТ») на основе собственного аутентичного перевода на русский язык международного стандарта, указанного в пункте 4

2 ВНЕСЕН Техническим комитетом по стандартизации ТК 95 «Инструмент»

3 УТВЕРЖДЕН И ВВЕДЕН В ДЕЙСТВИЕ Приказом Федерального агентства по техническому регулированию и метрологии от 9 ноября 2011 г. № 531-ст

4 Настоящий стандарт является модифицированным по отношению к международному стандарту ИСО 6787:2001 «Инструмент крепежный для винтов и гаек. Разводные гаечные ключи» (ISO 6787:2001 «Assembly tools for screws and nuts - Adjustable wrenches»).

При этом дополнительные положения, учитывающие потребности национальной экономики и особенности национальной стандартизации, приведены в разделах 4, 6, 7, 8 и в пунктах 3.2.1 - 3.2.5; 3.2.7; 3.2.8; 3.2.10; 3.2.12; 3.2.13; 5.1 - 5.4; 5.7, приложении А, которые выделены курсивом.

Наименование настоящего стандарта изменено относительно наименования указанного международного стандарта для приведения в соответствие с ГОСТ Р 1.5-2004 (пункт 3.5).

Сведения о соответствии ссылочных межгосударственных стандартов международным стандартам, использованным в качестве ссылочных, приведены в приложении ДА

5 ВВЕДЕН ВПЕРВЫЕ

Информация об изменениях к настоящему стандарту публикуется в ежегодно издаваемом информационном указателе «Национальные стандарты», а текст изменений и поправок - в ежемесячно издаваемых информационных указателях «Национальные стандарты». В случае пересмотра (замены) или отмены настоящего стандарта соответствующее уведомление будет опубликовано в ежемесячно издаваемом информационном указателе «Национальные стандарты». Соответствующая информация, уведомление и тексты размещаются также в информационной системе общего пользования - на официальном сайте Федерального агентства по техническому регулированию и метрологии в сети Интернет

СОДЕРЖАНИЕ

1 Область применения. 2

2 Нормативные ссылки. 2

3 Технические требования. 3

4 Правила приемки. 5

5 Методы контроля и испытаний. 5

6 Транспортирование и хранение. 6

7 Требования безопасности. 6

8 Гарантии изготовителя. 6

Приложение А (обязательное) Защитно-декоративные покрытия. 6

Приложение ДА (справочное) Сведения о соответствии ссылочных межгосударственных стандартов международным стандартам, использованным в качестве ссылочных в примененном международном стандарте. 6

ГОСТ Р 54488-2011

(ИСО 6787:2001)

НАЦИОНАЛЬНЫЙ СТАНДАРТ РОССИЙСКОЙ ФЕДЕРАЦИИ

КЛЮЧИ ГАЕЧНЫЕ РАЗВОДНЫЕ

Технические условия

Adjustable wrenches. Specifications

Дата введения - 2013-01-01

1 Область применения

Настоящий стандарт распространяется на разводные гаечные ключи для максимальных диаметров зажимаемых изделий от 13 до 62 мм.

2 Нормативные ссылки

В настоящем стандарте использованы нормативные ссылки на следующие стандарты:

ГОСТ 9.032-74 Единая система защиты от коррозии и старения. Покрытия лакокрасочные. Группы, технические требования и обозначения

ГОСТ 9.301-86 Единая система защиты от коррозии и старения. Покрытия металлические и неметаллические неорганические. Общие требования

ГОСТ 9.302-88 (ИСО 1463-82, ИСО 2064-80, ИСО 2106-82, ИСО 2128-76, ИСО 2177-85, ИСО 2178-82, ИСО 2360-82, ИСО 2361-82, ИСО 2819-80, ИСО 3497-76, ИСО 3543-81, ИСО 3613-80, ИСО 3882-86, ИСО 3892-80, ИСО 4516-80, ИСО 4518-80, ИСО 4522-1-85, ИСО 4522-2-85, ИСО 4524-1-85, ИСО 4524-3-85, ИСО 4524-5-85, ИСО 8401-86) Единая система защиты от коррозии и старения. Покрытия металлические и неметаллические неорганические. Методы контроля

ГОСТ 9.303-84 Единая система защиты от коррозии и старения. Покрытия металлические и неметаллические неорганические. Общие требования к выбору

ГОСТ 9.306-85 Единая система защиты от коррозии и старения. Покрытия металлические и неметаллические неорганические. Обозначения

ГОСТ 2789-73 Шероховатость поверхности. Параметры и характеристики

ГОСТ 4543-71 Прокат из легированной конструкционной стали. Технические условия

ГОСТ 6424-73 Зев (отверстие), конец ключа и размер «под ключ»

ГОСТ 6631-74 Эмали марок НЦ-132. Технические условия

ГОСТ 9013-59 (ИСО 6508-86) Металлы. Метод измерения твердости по Роквеллу

ГОСТ 9378-93 (ИСО 2632-1-85, ИСО 2632-2-85) Образцы шероховатости поверхности (сравнения). Общие технические условия

ГОСТ 9825-73 Материалы лакокрасочные. Термины, определения и обозначения

ГОСТ 18088-83 Инструмент металлорежущий, алмазный, дереворежущий, слесарно-монтажный и вспомогательный. Упаковка, маркировка, транспортирование и хранение

ГОСТ 26810-86 Инструмент слесарно-монтажный. Правила приемки

Примечание - При пользовании настоящим стандартом целесообразно проверить действие ссылочных стандартов в информационной системе общего пользования - на официальном сайте Федерального агентства по техническому регулированию и метрологии в сети Интернет или по ежегодно издаваемому информационному указателю «Национальные стандарты», который опубликован по состоянию на 1 января текущего года, и по соответствующим ежемесячно издаваемым информационным указателям, опубликованным в текущем году. Если ссылочный стандарт заменен (изменен), то при пользовании настоящим стандартом следует руководствоваться заменяющим (измененным) стандартом. Если ссылочный стандарт отменен без замены, то положение, в котором дана ссылка на него, применяется в части, не затрагивающей эту ссылку.

3 Технические требования

3.1 Основные размеры

3.1.1 Разводные ключи следует изготовлять исполнений:

А - с углом наклона головки α = 15°;

В - с углом наклона головки α = 22°30.

3.1.2 Основные размеры разводных ключей должны соответствовать указанным на рисунках 1 и 2 и в таблице 1.

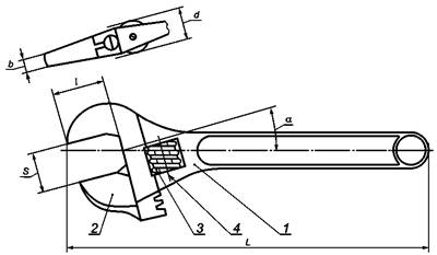
1 - корпус ключа; 2 - губка подвижная; 3 - червяк; 4 - ось червяка

Рисунок 1 - Разводной гаечный ключ

а - место приложения усилия отжатия губки

Рисунок 2 - Зазор подвижной губки

Таблица 1

Размеры в миллиметрах

L

S*, не менее

l, не менее

b, не более

d, не более

α

j, не более

Номин.

Пред. откл.

исполнение А

исполнение В

100

+15

0

13

12,0

6,0

10

15°

22° 30`

0,25

150

19

17,5

7,0

13

200

24

22,0

8,5

15

0,28

250

28

26,0

11,0

17

300

+30

0

34

31,0

13,5

20

0,30

375

43

40,0

16,0

26

450

+45

0

52

48,0

19,0

32

0,36

600

62

57,0

28,0

36

0,50

* Гарантируемое раскрытие губок.

(Поправка).

Пример условного обозначения разводного ключа исполнения А общей длиной 250 мм с покрытием Н12.Х:

Ключ разводной А-250 - Н12.Х ГОСТ Р 54488-2011

3.2 Характеристики

3.2.1 Ключи следует изготовлять из сталей марок 40ХФА, 40Х по ГОСТ 4543.

Допускается изготовлять ключи из других марок сталей, обеспечивающих их прочность в соответствии с требованиями настоящего стандарта.

3.2.2 Твердость ключей должна быть не менее:

40 HRC - для головки ключа;

32 HRC - для рукоятки ключа.

3.2.3 Параметры шероховатости поверхностей ключей Ra по ГОСТ 2789 должны быть, мкм, не более:

1,6 - опорных поверхностей губок и наружного контура;

6.3 - рабочих поверхностей зевов;

12,5 - остальных поверхностей.

3.2.4 При полном сведении губок ключа должна быть обеспечена сходимость вершин их рабочих поверхностей.

Рабочие поверхности губок ключа должны быть параллельны между собой. Допускается отклонение от параллельности, направленное на уширение зева к его основанию, не превышающее 2°.

3.2.5 При повороте червяка подвижная губка ключа должна перемещаться по всей длине зева плавно, без заеданий.

В процессе эксплуатации ключа должно обеспечиваться удержание червяка от самопроизвольного проворота.

3.2.6 При боковом отжатии подвижной губки односторонний зазор (j) между ее опорной поверхностью и направляющими корпуса должен быть не более значений, указанных в таблице 1, независимо от проверяемой стороны.

3.2.7 Ключи должны иметь одно из защитно-декоративных покрытий в соответствии с приложением А.

3.2.8 Технические требования к качеству покрытий - по ГОСТ 9.301 и ГОСТ 9.032.

3.2.9 Ключи должны иметь прочность, определяемую испытательным крутящим моментом, указанным в таблице 2.

Таблица 2

Размеры в миллиметрах

Длина ключа, L

Размер шестигранной оправки между параллельными гранями

Крутящий момент, Нм, не менее

100

12

33

150

17

85

200

22

180

250

27

320

300

32

515

375

41

920

450

50

1370

600

60

1970

3.2.10 Полный установленный ресурс ключей - 10000 нагружений с приложением крутящих моментов, указанных в таблице 2.

Критерием предельного состояния являются невыполнение требований пункта 3.2.5 или поломка червяка или рейки.

3.2.11 Маркировка

На ключе должны быть четко нанесены:

- товарный знак предприятия-изготовителя;

- размер зева.

3.2.12 Маркировка транспортной и потребительской тары - по ГОСТ 18088.

3.2.13 Упаковка - по ГОСТ 18088.

4 Правила приемки

Приемка ключей - по ГОСТ 26810.

5 Методы контроля и испытаний

5.1 Размеры ключей следует проверять специальными и универсальными средствами измерений.

5.2 Контроль внешнего вида защитно-декоративных покрытий проводят визуально.

5.3 Контроль твердости - по ГОСТ 9013.

5.4 Шероховатость поверхностей ключей следует проверять сравнением с образцами шероховатости по ГОСТ 9378 или с контрольными образцами, имеющими параметры шероховатости поверхностей не более указанных в 3.2.3.

5.5 Работоспособность ключей проверяют испытательными крутящими моментами на испытательном стенде. Ключи устанавливают открытым зевом на оправку, имеющую в поперечном сечении форму правильного шестигранника. Номинальные размеры шестигранных оправок следует принимать равными минимальным охватываемым размерам «под ключ» нормальной точности по ГОСТ 6424. Они должны соответствовать указанным в 3.2.9.

Твердость оправок должна быть не менее 55 HRC.

Нагрузку следует прилагать к концу рукоятки на расстоянии не более 50 мм от ее торца перпендикулярно продольной оси ключа.

Во время испытания ключ нагружают один раз в каждом направлении, плавно прикладывая нагрузку до достижения значения минимального крутящего момента, указанного в таблице 2.

После испытания ключи не должны иметь остаточной деформации, влияющей на работоспособность, и должны быть пригодными к дальнейшей работе.

5.6 Испытания ключей на надежность должны проводиться на испытательных приспособлениях или стендах при условиях испытаний, указанных в 5.5. При этом результаты испытаний считаются удовлетворительными, если каждый из контролируемых ключей не достигнет предельного состояния.

5.7 Качество гальванических покрытий проверяют по ГОСТ 9.302.

6 Транспортирование и хранение

Транспортирование и хранение - по ГОСТ 18088.

7 Требования безопасности

7.1 Конструкция ключа должна исключать возможность выпадания подвижной губки при разведении зева.

7.2 При эксплуатации ключей не допускается пользование дополнительными рычагами и использование ключа с размерами под зев свыше указанного на ключе.

8 Гарантии изготовителя

Изготовитель гарантирует соответствие ключей требованиям настоящего стандарта при соблюдении условий применения и хранения, установленных настоящим стандартом.

Приложение А
(обязательное)

Защитно-декоративные покрытия

Таблица А.1

Группа условий эксплуатации по ГОСТ 9.303

Наименование покрытия

Обозначение по ГОСТ 9.306 (ГОСТ 9.032)

1

Химическое окисное, пропитанное маслом

Хим. Окc. прм

Химическое фосфатное, пропитанное маслом

Хим. Фос. прм

Хромовое толщиной 9 мкм

Х9

2 - 4

Хромовое толщиной 1 мкм с подслоем никеля толщиной 12 мкм

Н12.Х

Цинковое толщиной 15 мкм хроматированное

Ц15.хр

Химическое фосфатное с последующей окраской рукояток нитроглифталевой эмалью НЦ-132 (или пентафталевой эмалью ПФ-115) разных цветов по IV классу покрытия и нанесением полиакрилатного лака АК-113 на осветленные поверхности головки

Хим. Фос.

(Эмаль НЦ-132 разн.цвет

ГОСТ 6631. Лак АК-113

ГОСТ 9825. IV)

5 - 8

Хромовое толщиной 1 мкм с подслоем никеля, нанесенного электролитическим способом, толщиной 14 мкм и никеля, нанесенного тем же способом, толщиной 7 мкм

Н14.Н7.Х

Кадмиевое толщиной 21 мкм хроматированное

Кд21.хр

Примечания

1 Допускается по согласованию с потребителем применять другие металлические и неметаллические покрытия по ГОСТ 9.306 и ГОСТ 9.032, по защитно-декоративным свойствам не уступающие указанным в таблице A.1.

2 Ключи, выпускаемые для продажи через розничную торговую сеть, должны иметь защитно-декоративное покрытие не ниже 2 группы условий эксплуатации по ГОСТ 9.303.

3 Допускается по согласованию с торгующими организациями для продажи через розничную торговую сеть применение покрытий, соответствующих 1 группе условий эксплуатации по ГОСТ 9.303.

Приложение ДА
(справочное)

Сведения о соответствии ссылочных межгосударственных стандартов
международным стандартам, использованным в качестве ссылочных в примененном международном стандарте

Таблица ДА.1

Обозначение ссылочного межгосударственного стандарта

Степень
соответствия

Обозначение и наименование ссылочного международного стандарта

ГОСТ 9.302-88

MOD

ИСО 1463-82 «Покрытия металлические и окисные. Измерение толщины покрытия. Микроскопический метод»

ИСО 2064-80 «Покрытия металлические и другие неорганические покрытия. Определения и понятия, относящиеся к измерению толщины»

ИСО 2106-82 «Анодирование алюминия и алюминиевых сплавов. Определение массы анодированных окисных покрытий на единицу площади (поверхностной плотности). Гравиметрический метод»

ИСО 2128-76 «Анодирование алюминия и алюминиевых сплавов. Определение толщины окисной пленки. Неразрушающий контроль с использованием оптического микроскопа»

ИСО 2177-85 «Покрытия металлические. Измерение толщины покрытия. Кулонометрический метод с применением анодного растворения»

ИСО 2178-82 «Покрытия немагнитные на магнитных основных металлах. Измерение толщины покрытия. Магнитный метод»

ИСО 2360-82 «Покрытия неэлектропроводные на немагнитных основных металлах. Измерение толщины покрытия. Метод вихревых токов»

ИСО 2361-82 «Электролитические никелевые покрытия на магнитных и немагнитных основах. Измерение толщины покрытия. Магнитный метод»

ИСО 2819-80 «Покрытия металлические на металлических подложках. Электроосажденные и химически осажденные покрытия. Обзор методов испытаний на прочность сцепления»

ИСО 3497-76 «Покрытия металлические. Измерение толщины покрытия. Спектрометрические рентгеновские методы»

ИСО 3543-81 «Покрытия металлические и неметаллические. Измерение толщины покрытия. Метод отраженных бета-лучей»

ИСО 3613-80 «Покрытия хроматные конверсионные по цинку и кадмию. Методы испытаний»

ИСО 3882-86 «Покрытия металлические и другие неорганические покрытия. Обзор методов измерения толщины»

ИСО 3892-80 «Покрытия конверсионные по металлическим материалам. Определение массы покрытия на единицу площади. Гравиметрический метод»

ИСО 4516-80 «Покрытия металлические и аналогичные покрытия. Определение микротвердости по Виккерсу и Кнупу»

ИСО 4518-80 «Покрытия металлические. Измерение толщины покрытия. Профилометрический метод»

ИСО 4522-1-85 «Покрытия металлические. Методы испытаний электроосажденных покрытий серебром и сплавами серебра. Часть 1. Определение толщины покрытия»

ИСО 4522-2-85 «Покрытия металлические. Методы испытаний электроосажденных покрытий серебром и сплавами серебра. Часть 2. Испытания на прочность сцепления»

ИСО 4524-1-85 «Покрытия металлические. Методы испытаний электролитических покрытий золотом. Часть 1. Определение толщины покрытия»

ИСО 4524-3-85 «Покрытия металлические. Методы испытаний электролитических покрытий золотом. Часть 3. Электрографические испытания на пористость»

ГОСТ 9.302-88

MOD

ИСО 4524-5-85 «Покрытия металлические. Методы испытаний электролитических покрытий золотом. Часть 5. Испытания на адгезию»

ИСО 8401-86 «Покрытия металлические. Методы измерения пластичности»

ГОСТ 9013-59

MOD

ИСО 6508-86 «Материалы металлические. Испытание на твердость. Определение твердости по Роквеллу (шкалы A-B-C-D-E-F-G-H-K)»

ГОСТ 9378-93

MOD

ИСО 2632-1-1985 «Образцы шероховатости поверхности рабочие. Часть 1. Образцы обточенные, шлифованные, расточенные, фрезерованные, фасонные и строганые»

ИСО 2632-2-1985 «Образцы шероховатости поверхности рабочие. Часть 2. Образцы, полученные с помощью электроэрозии, обдувки металлической дробью и стальной крошкой и полирования»

Примечание - В настоящей таблице использовано следующее условное обозначение степени соответствия стандартов:

- MOD - модифицированные стандарты.

 

Ключевые слова: ключи гаечные разводные, зев ключа, головка ключа, рукоятка ключа, подвижная губка, червяк