Государственный научный метрологический центр
Всероссийский научно-исследовательский институт расходометрии
(ГНМЦ-ВНИИР)
Госстандарта РОССИИ
|
УТВЕРЖДАЮ Зам. директора по научной работе ГНМЦ-ВНИИР ______________ М.С. Немиров ________________ 2000 г. |
РЕКОМЕНДАЦИЯ
Государственная система обеспечения единства измерений
РЕЗЕРВУАРЫ (ТАНКИ) РЕЧНЫХ и МОРСКИХ НАЛИВНЫХ СУДОВ
Методика поверки объемным методом
МИ 2579-2000
Казань
2000 г.
Предисловие
1 РАЗРАБОТАНА Государственным научным метрологическим центром - Всероссийским научно-исследовательским институтом расходометрии (ГНМЦ-ВНИИР)
Исполнители: Б.Г. Хусаинов, канд. тех. наук (руководитель темы),
М.М. Мигранов, канд. тех. наук (исполнитель)
2 УТВЕРЖДЕНА ГНМЦ-ВНИИР Госстандарта России 30 декабря 1999 г.
3 ЗАРЕГИСТРИРОВАНА ВНИИМС Госстандарта России 14 февраля 2000 г.
4 РАЗРАБОТАНА ВПЕРВЫЕ
СОДЕРЖАНИЕ
РЕКОМЕНДАЦИЯ
|
Государственная система обеспечения единства измерений РЕЗЕРВУАРЫ (ТАНКИ) РЕЧНЫХ и МОРСКИХ НАЛИВНЫХ СУДОВ. Методика поверки объемным методом |
МИ 2579-2000 |
Дата введения в действие - с...
Настоящая рекомендация распространяется на резервуары (танки) речных и морских наливных судов вместимостью от 25 до 3500 м3, предназначенных для перевозки нефти и нефтепродуктов, проведения государственных учетных и торговых операций, взаимных расчетов между поставщиком и потребителем, прошедших испытания для целей утверждения типа в соответствии с [1], и устанавливает методику их первичной и периодической поверок. Межповерочный интервал для танков всех типов наливных судов установлен не более 3 лет, если при утверждении типа не установлен иной межповерочный интервал. Межповерочный интервал может быть уточнен и проведены внеочередные поверки по результатам расчета поправочного множителя в соответствии с [2].
В настоящей рекомендации использованы ссылки на следующие стандарты:
ГОСТ 8.393-80 ГСИ. Квадранты оптические. Методы и средства поверки;
ГОСТ 12.0.004-90 ССБТ. Организация обучения рабочих безопасности труда;
ГОСТ 12.1.005-88 ССБТ. Общие санитарно-гигиенические требования к воздуху рабочей зоны;
ГОСТ 12.1.011-78 ССБТ. Смеси взрывоопасные. Классификация и методы испытаний;
ГОСТ 12.4.137-84 Обувь специальная кожаная для защиты от нефти, нефтепродуктов, кислот, щелочей, нетоксичной и взрывоопасной пыли. Технические условия;
ГОСТ 166-89 Штангенциркули. Технические условия;
ГОСТ 305-82 Топливо дизельное. Технические условия;
ГОСТ 427-75 Линейки измерительные металлические. Технические условия;
ГОСТ 2405-88 Манометры, вакуумметры, мановакуумметры, напоромеры, тягомеры и тягонапоромеры. Общие технические условия;
ГОСТ 2517-85 Нефть и нефтепродукты. Методы отбора проб;
ГОСТ 2874-82 Вода питьевая. Технические требования и контроль за качеством;
ГОСТ 3900-85 Нефть и нефтепродукты. Методы определения плотности;
ГОСТ 7502-89 Рулетки измерительные металлические. Технические условия;
ГОСТ 10227-86 Топлива для реактивных двигателей. Технические условия;
ГОСТ 9392-89 Уровни рамные и брусковые. Технические условия;
ГОСТ 9965-76 Нефть для нефтеперерабатывающих предприятий. Технические условия.
ГОСТ 13196-93 Пробоотборники стационарные для резервуаров с нефтью и нефтепродуктами. Типы и основные параметры. Общие технические требования;
ГОСТ 27574-87 Костюмы женские для защиты от общих производственных загрязнений и механических воздействий. Технические условия;
ГОСТ 27575-87 Костюмы мужские для защиты от общих производственных загрязнений и механических воздействий. Технические условия;
ГОСТ 28498-90 Термометры жидкостные стеклянные. Общие технические требования. Методы испытаний.
В настоящей рекомендации применяют следующие термины с соответствующими определениями:
3.1 Резервуар (танк) речного или морского наливного судна - стальной сосуд прямоугольного (квадратного) или кругового сечения с плоским или сложной геометрической формы днищем, предназначенный для размещения и измерения объема нефти и нефтепродуктов.
3.2 Поверка танка наливного судна (далее - танка) - совокупность операций, выполняемых органами Государственной метрологической службы или аккредитованными на право поверки метрологическими службами юридических лиц с целью определения вместимостей танка и оценки погрешности составления градуировочной таблицы.
Градуировочная таблица - таблица, в которой приведены значения вместимостей, соответствующие уровням наполнения танка.
3.3 Вместимость танка наливного судна - внутренний объем танка, ограниченный высотой налива жидкости с учетом возможных деформаций стенки и днища при нормированном значении диапазона температур.
3.4 Градуировка танка - операция по определению вместимости танка, выполняемая органами Государственной метрологической службы или аккредитованными на право поверки метрологическими службами юридических лиц при выпуске из производства, после ремонта и при эксплуатации.
3.5 Посантиметровая вместимость танка - вместимость танка, соответствующая уровню налитых в него доз поверочной жидкости, приходящихся на 1 см (10 мм) высоты наполнения.
3.6 Дозовая вместимость танка - вместимость танка, соответствующая уровню налитых в нее доз поверочной жидкости.
3.7 Базовая высота танка - расстояние по вертикали от плоскости, принятой за начало отсчета, до верхнего края измерительного люка (измерительной трубы).
3.8 Поверочная жидкость - жидкость, применяемая при поверке танка объемным методом. В качестве поверочной жидкости применяют: воду по ГОСТ 2874, нефть по ГОСТ 9965 (только при наличии обвязки поверяемого и приемного танков) и светлые нефтепродукты (далее нефтепродукты) по ГОСТ 305, ГОСТ 10227. Параметры поверочной жидкости должны соответствовать требованиям 4.3.8.
3.9 «Мертвая» полость - нижняя полость танка, из которой нельзя выбрать нефть или нефтепродукт, используя приемно-раздаточный патрубок или трубы.
3.10 «Неучтенный» объем жидкости - объем жидкости в танке, находящийся ниже точки касания днища танка грузом измерительной рулетки.
3.11 Уровень жидкости (высота наполнения) - расстояние по вертикали между плоскостью на днище танка, принятой за начало отсчета, и свободной поверхностью жидкости, находящейся в танке.
3.12 Рабочая зона - пространство, ограниченное по высоте 2 м над уровнем площадки, на которой находятся места постоянного или непостоянного (временного) пребывания поверителей при поверке танков.
3.13 Объемный динамический метод поверки танка - метод поверки, заключающийся в определении вместимости танка путем непрерывного наполнения его поверочной жидкостью и одновременном измерении уровня, объема и температуры поверочной жидкости для каждого изменения уровня на 1 см (10 мм), определении погрешности составления градуировочной таблицы.
3.14 Объемный статический метод поверки танка - метод поверки, заключающийся в определении вместимости танка путем наполнения его отдельными дозами поверочной жидкости и одновременных измерениях уровня, объема и температуры поверочной жидкости для каждого измерения уровня в пределах от 10 до 100 мм, определении погрешности составления градуировочной таблицы.
3.15 Государственная учетная и торговая операции, взаимные расчеты между поставщиком и потребителем - операции, проводимые между поставщиком и потребителем, заключающиеся в определении объема или массы нефти и нефтепродуктов для последующих учетных операций, а также при арбитраже.
3.16 Учет нефти и нефтепродуктов при хранении - операция, проводимая на предприятии, в технологическом процессе, заключающаяся в определении объема и массы нефти и нефтепродуктов для последующих учетных операций.
3.17 Дифферент наливного судна - наклон наливного судна в продольной плоскости. Дифферент наливного судна определяет разность осадок (углублений) его кормой и носом. Дифферент наливного судна регулируют приемом или удалением водяного балласта.
3.18 Крен наливного судна - положение наливного судна, при котором плоскость его симметрии отклонена от вертикали .
3.19 Степень наклона танка (судна) - величина h, выражаемая через тангенсы углов крена и дифферента, рассчитываемая по формуле
где a, b - углы крена и дифферента соответственно в градусах.
4.1 Требования к погрешностям средств поверки и градуировочной таблицы
4.1.1 Погрешности средств поверки танков не должны превышать значений, указанных в таблице 1.
Таблица 1
|
Пределы допускаемой погрешности средств измерений |
|
|
Объем дозы жидкости при градуировке, % |
± 0,15 |
|
Уровень жидкости, мм |
± 1 |
|
Угол дифферента судна, " (угловая секунда) |
± 2 |
|
Угол крена судна, " (угловая секунда) |
± 2 |
|
Температура жидкости, °С |
± 0,2 |
|
Температура воздуха, °С |
± 1 |
|
Давление жидкости избыточное, % |
± 0,4 |
4.1.2 Погрешность градуировочной таблицы должна находиться в пределах ± 0,3 %.
4.1.3 Пределы допускаемой погрешности градуировочной таблицы по 4.1.2 могут быть уточнены по результатам испытаний танков с целью утверждения типа и расчета поправочного множителя в соответствии с [2].
4.2 Требования по применению основных и вспомогательных средств поверки
4.2.1 При поверке танков применяют следующие средства поверки
4.2.1.1 Эталонный уровнемер 2-го разряда (далее - уровнемер) с пределами допускаемой абсолютной погрешности ± 1 мм по [3].
4.2.1.2 Эталонные мерники 2-го разряда (далее - мерники) номинальной вместимостью 2; 5; 10; 20; 50; 100; 200; 500; 1000 дм3 по ГОСТ 8.400.
4.2.1.3 Эталонный счетчик жидкости (далее - счетчик жидкости) с пределами допускаемой относительной погрешности ± 0,15 % по [4] или [5], [6].
4.2.1.4 Термометр с ценой деления шкалы 0,1 °С по ГОСТ 28498.
4.2.1.5 Термометр с ценой деления шкалы 0,5 °С по ГОСТ 28498.
4.2.1.6 Манометр класса точности 0,4 по ГОСТ 2405.
4.2.1.7 Ареометр с ценой деления шкалы 0,5 кг/м3 по ГОСТ 18481.
4.2.1.8 Секундомер 3-го класса точности с ценой деления шкалы 0,2 с по [7].
4.2.1.9 Штангенциркуль с диапазоном измерений 0 - 250, 0 - 400, 0 - 1000 мм по ГОСТ 166.
4.2.1.10 Рулетка измерительная с грузом 2-го класса точности с верхним пределом измерений 10 м по ГОСТ 7502.
4.2.1.11 Линейка измерительная металлическая с диапазоном измерений 0 - 1000 мм по ГОСТ 427.
4.2.1.12 Квадрант оптический по ГОСТ 8.393.
4.2.1.13 Контрольный уровень по ГОСТ 9392.
4.2.1.14 Газоанализатор АНТ-2М по [8].
4.2.2 Вспомогательное оборудование:
- насос для подачи поверочной жидкости, снабженный линиями приема и подачи с кранами (вентилями), регулятором расхода (дросселем), фильтром и трехходовым краном;
- расширитель струи;
- мел, чертилка.
4.2.3 Основные средства поверки танков должны быть поверены в установленном порядке.
4.2.4 Допускается применение других, вновь разработанных или находящихся в эксплуатации средств поверки (в том числе передвижных эталонных установок), удовлетворяющих по точности и пределам измерений требованиям настоящей рекомендации.
4.3 Требования к условиям поверки
При поверке танка соблюдают следующие условия:
4.3.1 Поверку танков проводят, когда наливное судно находится на плаву.
4.3.2 Перед поверкой танков наливное судно переводят в горизонтальное положение. При этом допускаемые значения углов крена a0 и дифферента b0 определяют по формуле
а) если танки имеют цилиндрическую форму,
(2)
где Vт - полная вместимость танка, м3;
Dт - внутренний диаметр танка, м;
p = 3,14159 (здесь и далее);
б) если танки имеют прямоугольную (квадратную) форму,
(3)
где S - площадь поперечного сечения танка, м2.
Значения величин Vт, Dт, S принимают по исполнительной документации на танк.
4.3.3 В процессе поверки допускаются изменения углов крена и дифферента в нормированных пределах их для данного типа танка.
4.3.4 Температура окружающего воздуха и поверочной жидкости: (20 ± 15) °С.
4.3.5 Изменение температуры поверочной жидкости в поверяемом танке и счетчике жидкости (мернике) за время поверки не должно превышать:
2,5 °С - при применении в качестве поверочной жидкости воды;
0,5 °С - при применении в качестве поверочной жидкости нефти и нефтепродуктов в соответствии с 3.8.
4.3.6 При невыполнении требований 4.3.5 вводят температурные поправки на объем, измеренный через каждое изменение температуры поверочной жидкости в танке на 2,5 или 0,5 °С.
4.3.7 При применении мерников количество и их суммарную вместимость выбирают таким образом, чтобы можно было получить дозы жидкости в объемах, достаточных для подъема уровня поверочной жидкости в танке на 10 ¸ 100 мм.
4.3.8 При применении счетчика жидкости поверочная жидкость должна соответствовать следующим требованиям:
- вязкость поверочной жидкости должна находиться в нормированных пределах сё диапазона изменений для применяемого счетчика жидкости;
- расход поверочной жидкости должен находиться в нормированных пределах его диапазона изменений для применяемого счетчика жидкости. Расход поверочной жидкости в процессе поверки танка не должен изменяться более чем на 2 %.
В случае изменения нормированного диапазона изменений расхода для применяемого счетчика жидкости с импульсным выходным сигналом применяют соответствующий новому диапазону коэффициент преобразования счетчика жидкости;
- избыточное давление за счетчиком жидкости, длины прямолинейных участков до и за счетчиком жидкости должны соответствовать требованиям технической документации на данный тип счетчика жидкости.
4.3.9 Исключают возможность попадания воздуха в измерительную систему, собранную для поверки танков, после наполнения их поверочной жидкостью.
4.3.10 Процесс определения вместимостей танка при его поверке должен идти непрерывно (без перерывов, приводящих к изменению объема и уровня жидкости в танке), начиная с уровня, равного нулю, до предельного уровня поверки.
4.3.11 Скорость изменения уровня поверочной жидкости в танке в процессе его поверки не должна превышать 0,3 мм/с.
4.3.12 При первичной поверке танка его вместимости определяют не менее двух раз, а при периодической поверке - один раз. Расхождение между результатами двух измерений вместимости танка должно находиться в пределах ± 0,1 %. За действительные значения вместимостей танка при первичной поверке принимают средние арифметические результатов двух измерений.
4.3.14 Измерения величин при поверке танка должны быть проведены группой лиц, включающей не менее трех поверителей, прошедших курсы повышения квалификации в соответствии с 6.1.
5.1 Танки подлежат поверке органами Государственной метрологической службы Госстандарта России или аккредитованными на право поверки метрологическими службами юридических лиц.
5.2 Поверку танка проводят:
а) первичную - после изготовления и ремонта;
б) периодическую - по истечении срока действия свидетельства о поверке.
6.1 Поверку танка проводит физическое лицо, прошедшее курсы повышения квалификации в ГНМЦ-ВНИИР или ВНИИМС и аттестованное в качестве поверителя.
6.2 К поверке танка допускают лиц, изучивших техническую документацию на танк и его конструкцию, средства поверки танка и прошедших обучение по 6.1 и инструктаж по безопасности труда в соответствии с ГОСТ 12.1.004.
6.3 Лица, проводящие поверку танка, должны быть одеты в спецодежду:
- женщины - в костюме по ГОСТ 27574 и спецобуви по ГОСТ 12.4.137;
- мужчины - в костюме по ГОСТ 27575 и спецобуви по ГОСТ 12.4.137.
6.4 Перед началом поверки танка проверяют:
- исправность наружных лестниц с поручнями и подножками;
- помосты с ограждениями. Помосты и ступеньки наружных лестниц должны быть изготовлены из рифленой стали или просечно-вытяжной стали.
6.5 Давление внутри танка должно быть равно атмосферному при измерениях уровня вручную. При измерениях уровня уровнемером давление внутри танка - согласно эксплуатационной документации.
6.6 Средства, применяемые при поверке танка, должны быть во взрывозащищенном исполнении для группы взрывоопасных смесей категории НВ-ТЗ по ГОСТ 12.1.011 и предназначены для эксплуатации на открытом воздухе.
6.7 Содержание вредных паров и газов в воздухе рабочей зоны не должно превышать санитарных норм, установленных ГОСТ 12.1.005.
6.8 Для освещения в темное время суток применяют светильники во взрывозащищенном исполнении.
При подготовке к поверке танка проводят следующие работы:
7.1 Изучают техническую документацию на танк.
7.2 Проводят сборку измерительной системы (по схемам, приведенным на рисунке А.1 или рисунке А.2).
7.3 Устанавливают уровнемер на горловине танка.
7.4 Опускают в танк шланг с расширителем. При этом расширитель струи прикрепляют на уровне средней высоты танка, например с помощью магнитных наконечников.
7.5 При применении мерников мерники 1, 2, 3 (рисунок А.1) устанавливают над горловиной поверяемого танка и выставляют их в вертикальное положение с помощью уровня.
7.6 Допускается использовать технологическую обвязку танка для подачи поверочной жидкости в поверяемый танк. При этом обеспечивают герметичность технологической обвязки танка и линии подач поверочной жидкости.
8.1 Вместимость танка при поверке измеряют объемным статическим или объемным динамическим методом. Допускается комбинация объемных статического и динамического методов.
8.2 При поверке танка выполняют операции, указанные в таблице 2.
Таблица 2
|
Номер пункта рекомендации |
|
|
Внешний осмотр |
|
|
Проверка герметичности измерительной системы |
|
|
Определение углов крена и дифферента |
|
|
Определение базовой высоты танка |
|
|
Определение координат точки отсчета значений уровня жидкости и базовой высоты танка |
|
|
Определение высоты «мертвой» полости |
|
|
Определение вместимости танка с применением уровнемера и мерников |
|
|
Определение вместимости танка с применением уровнемера и счетчика жидкости |
|
|
Определение погрешности составления градуировочной таблицы |
9.1.1 Проверяют состояние кровли танка (отсутствие вмятин, выпучин и загрязнений, а также исправность измерительного люка).
9.1.2 Проверяют состояние внутренней поверхности танка (отсутствие остатков жидкости, посторонних предметов).
Танк полностью опорожняют, очищают от остатков хранившейся жидкости и твердых отложений.
9.2.1 Наполняют измерительную систему (рисунок А.1 или рисунок А.2) поверочной жидкостью, удаляют из неё воздух и испытывают её на герметичность под рабочим давлением. При этом вентили 4 - 9 (рисунок А.1), 5 (рисунок А.2) закрывают и трехходовой кран 7 переводят в положение «Измерение».
Измерительную систему считают герметичной, если по истечении 15 минут после наполнения её поверочной жидкостью и создания рабочего давления при визуальном осмотре не обнаруживают в местах соединений, уплотнений и на поверхности труб и арматуры, а также в конце шланга 18, предназначенного для подачи жидкости из трехходового крана в приемный танк 17 (рисунок А.2) в режиме «циркуляция», наличия течи (каплепадений) и влаги.
9.2.2 При обнаружении течи (каплепадений) и влаги в измерительной системе или танке в ходе его поверки поверку танка прекращают и после устранения негерметичности продолжают или повторяют.
9.2.3 При применении счетчика жидкости 10 (рисунок А.2) дополнительно промывают измерительную систему и измеряют расход поверочной жидкости в следующей последовательности:
- переводят трехходовый кран 7 в положение «Циркуляция»;
- включают насос 14;
- одновременно фиксируют показания счетчика жидкости 10 и секундомера;
- после того, как стрелка указателя счетчика 10 сделает не менее одного оборота (ролик счетного механизма поворачивается на один оборот) или число импульсов, зарегистрированное счетчиком импульсов составит не менее 5000 импульсов, выключают секундомер и одновременно фиксируют показание счетчика.
Расход поверочной жидкости Q, дм3/с, через счетчик жидкости рассчитывают по формулам:
- для счетчиков жидкости с непосредственным отсчетом объема жидкости в дм3
- для счетчиков жидкости с импульсным выходным сигналом в имп.
где qi, Ni - показания счетчика жидкости, соответствующие концу отсчета времени, дм3, имп. соответственно;
qi-1, Ni-1 - показания счетчика жидкости, соответствующие началу отсчета времени, дм3, имп. соответственно;
t - время, определяемое по секундомеру, с;
К - коэффициент преобразования счетчика жидкости, имп/дм3, определяют по шкале счетного механизма конкретного счетчика.
9.2.4 Расход поверочной жидкости, рассчитанный по формулам (4) или (5), должен находиться в нормированных пределах диапазона изменений для применяемого счетчика жидкости по 4.3.8. Если это условие не выполняется, то с помощью дросселя (регулятора расхода) 8 (рисунок А.2) изменяют расход поверочной жидкости, проходящей через счетчик жидкости.
9.3.1 Углы крена a и дифферента b измеряют квадрантами оптическими (далее - квадранты) по ГОСТ 8.393, устанавливаемыми последовательно в точках наливного судна, указанных в исполнительной документации на нее.
9.3.2 Углы a и b измеряют в соответствии с 4.3.13 не менее двух раз в каждом направлении. Расхождение между результатами двух измерений по каждому направлению должно находиться в пределах ± 5".
9.3.3 Результаты измерений углов a и b вносят в протокол, форма которого приведена в приложении Б.
9.4.1 Базовую высоту танка Нб измеряют измерительной рулеткой с грузом не менее двух раз по 4.3.13 при горизонтальном положении наливного судна в соответствии с 4.3.2. Расхождение между результатами двух измерений должно находиться в пределах ± 1 мм. Среднее арифметическое значение базовой высоты заносят в табличку, прикрепленную к измерительному люку (измерительной трубе) танка.
9.4.2 В процессе поверки танка базовую высоту измеряют через каждое изменение уровня поверочной жидкости в поверяемом танке на 100 мм.
9.4.3 Базовую высоту измеряют ежегодно. При этом должно быть выполнено условие 4.3.2. Допускаются измерения базовой высоты танка при наличии в нем жидкости до уровня, не превышающего 500 мм. Результаты ежегодных измерений базовой высоты танка оформляются актом, форма которого приведена в приложении Е.
При изменении базовой высоты более чем на 0,1 % устанавливают причину (отложение грязи, твердых частиц и др.) и при невозможности устранения причин проводят переградуировку и поверку танка.
9.4.4 Результаты измерений Нб вносят в протокол, форма которого приведена в приложении Б.
9.5.1 Координаты точки отсчета значений уровня жидкости и базовой высоты танка определяют в последовательности:
9.5.1.1 Определяют центр танка о (рисунок А.3).
9.5.1.2 От центра танка чертилкой проводят линии, параллельные продольной и поперечной осями симметрии наливного судна (рисунок А.4).
9.5.1.3 Измеряют расстояние l0 (рисунок А.4) между центром танка и точкой отсчета значений уровня жидкости и базовой высоты измерительной рулеткой в соответствии с 4.3.13. Расхождение между результатами двух измерений должно находиться в пределах ± 1 мм.
9.5.1.4 Измеряют расстояние l1 между точкой отсчета значений уровня жидкости (базовой высоты) и линии АВ (рисунок А.4) измерительной рулеткой в соответствии с 4.3.13. Расхождение между результатами двух измерений должно находиться в пределах ± 1 мм.
9.5.2 Результаты измерений величин l0, l1 вносят в протокол, форма которого приведена в приложении Б.
9.6.1 Высоту «мертвой» полости hмп (при наличии) измеряют измерительной линейкой или штангенциркулем в соответствии с 4.3.13 по стенке танка. Расхождение между результатами двух измерений должно находиться в пределах ± 1 мм.
9.6.2 Результаты измерений hмп вносят в протокол, форма которого приведена в приложении Б.
9.7.1 Подбирают мерники (мерник) в соответствии с 4.3.7.
9.7.2 Поверочную жидкость (далее - жидкость) подают (рисунок А.1) в мерники 1, 2, 3 из приемного танка 13 с помощью насоса 10 и, регулируя вентилями 4, 5, 6 режим потока жидкости, наполняют мерники. При этом вместимость мерника или суммарная вместимость мерников должна соответствовать требованиям 4.3.7.
9.7.4 В порядке, указанном в 9.7.2 и 9.7.3, подают последующие дозы жидкости (DVм)j в танк с одновременными измерениями уровня жидкости Нj и ее температуры (Tp)j - в пробах, отобранных из танка термостатическим пробоотборником по ГОСТ 2517 после налива в него каждой дозы.
При этом первую пробу отбирают при достижении уровня жидкости в танке 500 мм.
9.7.5 Через каждое изменение уровня поверочной жидкости в поверяемом танке на 500 мм измеряют углы крена a и дифферента b наливного судна в соответствии с 9.3.
9.7.6. В случае применения в качестве поверочной жидкости нефтепродукта измеряют плотность его в лаборатории r0 в соответствии с ГОСТ 3900.
9.7.8 Допускается по 9.7.4 отбор проб жидкости из танка и измерения её температуры через каждое изменение уровня жидкости в танке на 500 мм.
В этом случае температуру жидкости в танке после поступления в него каждой дозы вычисляют по результатам измерений температур в начале и конце поступления суммарной дозы, объем которой соответствует изменению уровня жидкости в танке на 500 мм.
9.7.10 Измеряют максимальный уровень жидкости в танке (Нр)max с помощью измерительной рулетки с грузом в соответствии с 4.3.13.
9.7.11 При наличии неровностей днища уровень жидкости по 9.7.3, 9.7.4, 9.7.10 измеряют измерительной рулеткой с грузом. Наличие или отсутствие неровностей днища устанавливают в соответствии с В.1.5.
9.7.12 Результаты измерений объема (DVм)j и температуры (Тм)j жидкости в мерниках, уровня Нj, температуры (Tp)j и плотности жидкости r0 в танке, максимального уровня (Нp)max и углов крена a и дифферента b наливного судна вносят в протокол, форма которого приведена в приложении Б.
9.8.1 Поверку танка проводят по схеме, приведенной на рисунке А.2, в следующей последовательности:
а) открывают вентиль 5;
б) устанавливают указатели шкал приборов (при необходимости) на нулевую отметку;
в) снимают показание счетчика жидкости 10 q0(N0);
г) переводят трехходовой кран 7 в положение «Измерение»;
д) поверочную жидкость подают в танк 4 через счетчик жидкости 10 из приемного танка 17 и наполняют его дозой жидкости до появления на дисплее уровнемера 2 значения 10 мм;
е) снимают показания манометра 9р0;
ж) снимают показание термометра (измерителя температуры) 6(Тт)0;
з) выключают насос 14 и снимают показание счетчика жидкости 10q1(N1).
9.8.2 Включают насос 14 и в пределах 1/20 части номинальной вместимости танка поверку его проводят статическим методом: при каждом изменении уровня жидкости в пределах до 30 мм прекращают подачу жидкости в танк. Одновременно снимают показания счетчика жидкости 10qj(Nj), уровнемера 2Hj, манометра 9рj и термометра (измерителя температуры) 6(Тт)j. Отбирают пробу жидкости из танка и измеряют ее температуру (Тp)j и плотность r0 в соответствии с 9.7.6, 9.7.7 и 9.7.8.
9.8.3 При достижении уровня жидкости, соответствующего 1/20 части номинальной вместимости танка, поверку его проводят до предельного уровня динамическим или статическим методом.
9.8.4 Через каждое изменение уровня поверочной жидкости в поверяемом танке на 500 мм прекращают подачу поверочной жидкости в танк и измеряют углы крена a и дифферента b наливного судна в соответствии с 9.3.
9.8.5 Измеряют максимальный уровень жидкости в цистерне (Нp)max в соответствии с 9.7.9.
9.8.6 Для танков (танкеров) большой вместимости (до 20000 м3) допускается определение вместимости и градуировки при наполнении их перевозимыми нефтепродуктами в процессе эксплуатации, начиная от уровня, равного нулю, до уровня, соответствующего полной вместимости, с соблюдением всех требований настоящей рекомендации.
9.8.7. Результаты измерений объема (DVc)j, температуры (Тт)j и давления pj дозы жидкости, уровня Нj, температуры (Тp)j и плотности r0 жидкости в танке, максимального уровня (Нp)max и углов a и b вносят в протокол, форма которого приведена в приложении Б.
9.9 Определение погрешности составления градуировочной таблицы
9.9.1 Погрешность составления градуировочной таблицы танка dг, %, вычисляют по формуле
где dV, dh - пределы относительных погрешностей счетчика жидкости (мерников), уровнемера, %. Пределы относительной погрешности уровнемера при абсолютной его погрешности ± 1 мм соответствует ± 0,1 %;
dt - относительная погрешность измерения температуры жидкости в танке, %;
dог - относительная случайная составляющая погрешности градуировочной таблицы;
dh - относительная погрешность измерений степени наклона танка (судна), %.
9.9.1.1 Относительную погрешность измерений температуры жидкости dt, %, (при условии введения температурной поправки к вместимости танка) вычисляют по формуле
![]()
где Dtтанк, Dtсчетчик - абсолютные погрешности измерений температуры жидкости в танке и счетчике, ° С. Их значения в соответствии с таблицей 1 равны 0,2 °С;
b - коэффициент объемного расширения жидкости, 1/°С. Его значение определяют при применении в качестве поверочной жидкости нефтепродуктов по формуле (В.4), при применении нефти [9].
9.9.1.2 Относительную погрешность измерения степени наклона танка (судна) dh, %, вычисляют по формуле

где Da, Db - абсолютные погрешности измерений углов крена и дифферента в радианах, принимаемые равными 0,00009696 рад (20").
9.9.1.3 Относительную случайную составляющую погрешности градуировочной таблицы dсг, %, определяют по формуле (В.23) приложения В.
9.9.2 Танк считается пригодным к применению в качестве средства измерений объема нефти и нефтепродуктов при проведении государственных учетных и торговых операций, взаимных расчетов между потребителем и поставщиком, если погрешность градуировочной таблицы, вычисленная по формуле (6), находится в пределах, указанных в 4.1.2, и для него определен поправочный множитель в соответствии с [2].
9.9.3 Значение погрешности градуировочной таблицы, определенное по формуле (6), приводят в титульном листе градуировочной таблицы.
10.1.1 Обработку результатов измерений проводят в соответствии с приложением В.
10.1.2 Результаты вычислений вносят в журнал, форма которого приведена в приложении Г.
10.2.1 Градуировочную таблицу составляют (начиная от плоскости, принятой за начало отсчета до предельного уровня Нпр с шагом DН = 1 см, используя интерполяционную формулу
где DV1 = Vk+1 - Vk, DV2 = Vk+2 - Vk+1, DV-1 = Vk - Vk-1;
Vk-1, Vk, Vk+1, Vk+2 - дозовые вместимости танка при наливе в него k - 1, k, k + 1 и k + 2 доз жидкости, соответствующие уровням наполнения Hk-1, Hk, Hk+1, Нk+2 и вычисляемые по формуле (В.24) или формулам (В.25), (В.26) приложения В;
Нi - текущий уровень наполнения танка.
В формуле (7) вместимости Vk-1, Vk, Vk+1,Vk+2 выражены в м3, а уровни Hk-1, Hk, Hk+1, Нk+2 - в см.
10.2.2 Результаты расчетов при составлении градуировочной таблицы вносят в журнал, форма которого приведена в приложении Г (таблица Г.4).
10.2.3 При составлении градуировочной таблицы значения посантиметровой вместимости танка округляют до целого дм3 (0,001 м3).
10.2.4 В пределах каждого шага (изменения уровня наполнения танка на 1 см) вычисляют коэффициент вместимости qi, равный вместимости, приходящейся на 1 мм высоты наполнения, по формуле
(8)
где Vi, Vi-1 - вместимости танка, соответствующие уровням Hi, Hi-1 и вычисляемые по формуле (7)
10.2.5 Значения посантиметровой вместимости танка, указанные в градуировочной таблице, соответствуют температуре 20 °С и начальным значениям углов крена a0 и дифферента b0 по 4.3.2.
10.2.6 Объем нефти и нефтепродуктов, находящихся в поверяемых танках, определяют из градуировочных таблиц танков по уровням, пересчитанным по формуле (В.7).
10.2.7 Порядок расчета при составлении градуировочной таблицы
10.2.7.1 Обработка результатов измерений может быть проведена ручным способом или с использованием ЭВМ.
10.2.7.2 Результаты измерений оформляют протоколом поверки.
10.2.7.3 Протокол поверки является входным документом при расчете градуировочной таблицы на ЭВМ
10.2.7.4 Требования к машинному алгоритму обработки результатов измерений.
Вместимость танка, приходящуюся на 1 см высоты наполнения, вычисляют последовательным суммированием значений вместимостей, приходящихся на 1 мм наполнения.
Последовательно суммируя значения вместимостей каждого миллиметрового наполнения, начиная с плоскости, принятой за начало отсчета, при DН < 0 или уровня наполнения, равного (DН + 1) см при DН > 0, вычисляют вместимость танка с интервалом 1 см.
10.3 При эксплуатации танков наливных судов, предназначенных для определения объема нефти и нефтепродуктов при проведении государственных учетных и торговых операций, взаимных расчетов между потребителем и поставщиком, определяют поправочные множители на полную вместимость танков в соответствии с [2].
Результаты определения поправочного множителя на полную вместимость танка оформляют актом, который прикладывают к градуировочной таблице.
11.1 Положительные результаты поверки танка оформляют свидетельством о поверке в соответствии с [10].
На табличку, прикрепленную к горловине танка, заносят:
- базовую высоту;
- номер свидетельства о поверке, после которого через вертикальную или горизонтальную черту указывают две последние цифры года проведения поверки;
- сокращенное название организации, выдавшей свидетельство о поверке, а также наносят на нее поверительное клеймо.
11.2 К свидетельству о поверке прилагают:
а) градуировочную таблицу;
б) протокол поверки (оригинал прикладывают к первому экземпляру градуировочной таблицы);
в) эскиз танка;
г) журнал обработки результатов измерений при поверке;
д) акт измерений базовой высоты (прикладывают ежегодно по результатам измерений базовой высоты).
11.3 Формы титульного листа градуировочной таблицы и градуировочной таблицы приведены в приложении Д.
Форма протокола поверки приведена в приложении Б.
Форма акта измерений базовой высоты танки приведена в приложении Е.
Протокол поверки, титульный лист и последнюю страницу градуировочной таблицы подписывают поверители. Подписи поверителей заверяют оттисками поверительного клейма, печати (штампа).
11.4 На каждом листе документации (по перечислению а - д) проставляют номер листа по порядку.
11.5 Градуировочные таблицы на танки утверждает руководитель органа Государственной метрологической службы Госстандарта России или руководитель аккредитованной на право поверки метрологической службы юридического лица.
11.6 Типовая программа расчета градуировочных таблиц на компьютере по настоящей рекомендации разработана в ГНМЦ - ВНИИР.
Схемы измерений параметров и поверки танка
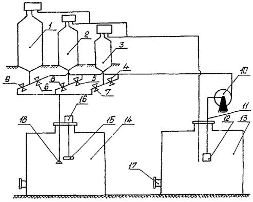
1, 2, 3 - мерники; 4, 5, 6 - вентили наполнения; 7, 8, 9 - вентили опорожнения; 10 - насос; 11 - всасывающая линия насоса; 12 - фильтр; 13 - приемный танк; 14 - поверяемый танк; 15 - поплавок уровнемера; 16 - уровнемер; 17 - приемно-раздаточный патрубок; 18 - расширитель струи.
Рисунок А.1 - Схема поверки танка с применением уровнемера и мерников
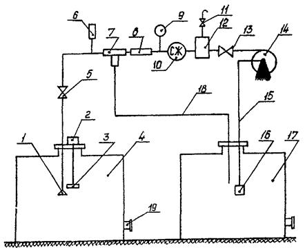
1 - расширитель струи; 2 - уровнемер; 3 - поплавок уровнемера; 4 - поверяемый танк; 5, 13 - вентили; 8 - дроссель; 9 - манометр; 7 - трехходовой кран; 6 - термометр (измеритель температуры); 10 - счетчик жидкости; 12, 16 - фильтры; 11 - воздушный кран; 14 - насос; 15 - всасывающая линия насоса; 17 - приемный танк; 18 - шланг; 19 - приемно-раздаточный патрубок танки
Рисунок А.2 - Схема поверки танка с применением уровнемера и счетчика жидкости
1, 2, 3, 5 - танки; 4 - верхняя палуба наливного судна; Y - угол между линиями OD и АВ; w - угол между линиями FD и DG; j - угол между линиями OD и DG, отсчитываемый по часовой стрелке; СД - продольная ось симметрии наливного судна; О - центр танка; O1 - центр наливного судна.
Рисунок А.3 - Схема размещения танков на наливном судне
1 - кровля танка; 2 - точка отсчета значений уровня жидкости и базовой высоты; 3 - измерительный люк; 4 - направляющая планка; О - центр танка; АВ - линия, параллельная продольной оси симметрии танка; l0 - расстояние между точкой отсчета 2 и центром танка О; l1 - расстояние между линией АВ и точкой отсчета 2.
Рисунок А.4 - Схема размещения измерительного люка на кровле танка
1 - измерительный люк; 2 -
свободная поверхность жидкости при наличии наклона судна; 3 - свободная
поверхность жидкости при отсутствии наклона судна; 4 - танк; l0 - расстояние между центром танка и точкой отсчета значений
уровня жидкости (базовой высоты); АВ =
- базовая высота танка при отсутствии
наклона судна; АС =
- базовая высота танка при наличии
наклона судна; СД = Нh - уровень жидкости при наличии наклона судна; ЕВ - уровень
жидкости при отсутствии наклона судна.
Рисунок А.5 - Схема наклоненного танка с жидкостью
Таблица Б.1 - Общие данные
Продолжение таблицы Б.1
|
Место проведения поверки |
Средства поверки |
Окончание таблицы Б.1
|
Тип наливного судна |
Номер строительный |
Номер танка (грузового отсека) |
Таблица Б.2 - Условия поверки
|
Условия проведения поверки |
|
|
Температура воздуха, °С |
Загазованность, мг/м3 |
Таблица Б.3 - Геометрические параметры танка В миллиметрах
|
Номер измерения |
Базовая высота Нб |
Высота «мертвой» полости hм.п |
Координаты точки отсчета значений уровня жидкости и базовой высоты |
|
|
l1 |
l0 |
|||
|
первое |
||||
|
второе |
||||
Таблица Б.4 - Параметры (начальные) поверочной жидкости
|
Наименование поверочной жидкости |
Температура начальная, °С |
Коэффициент сжимаемости g, 1/МПа |
Плотность r0, кг/м3 |
||
|
в танке (Тp)0 |
в мерниках (Тм)0 |
в счетчике жидкости (Тт)0 |
|||
|
1 |
2 |
3 |
4 |
5 |
6 |
|
Примечания: 1 Величины (Тр)0, (Тм)0, (Тт)0 (графы 2, 3, 4) - означают температуры поверочной жидкости, измеренные в момент отбора пробы в соответствии с 9.7.4 настоящей рекомендации. 2 За начальную температуру в мернике (графа 3) принимают среднее арифметическое результатов измерений температур в мерниках. |
|||||
Таблица Б.5 - Уровень, базовая высота, углы крена и дифферента
|
Уровень (Hh)j, мм |
Базовая высота ( |
Углы |
|
|
крена aj |
дифферента bj |
||
Таблица Б.6 - Объем и параметры (текущие) поверочной жидкости
|
Объем дозы (DVм)j, дм3, или показания счетчика qj, дм3 (Nj, имп) |
Температура жидкости, °С в |
Давление в счетчике жидкости рj, МПа |
|
|
мерниках (Tм)j или счетчике жидкости (Tт)j |
танке (Tp)j |
||
|
1 |
2 |
3 |
4 |
Таблица Б.7 - Максимальный уровень поверочной жидкости
|
Показание измерительной рулетки с грузом Нp max, мм |
Показание уровнемера Hy max |
|
|
1-е измерение |
2-е измерение |
|
Коэффициент преобразования счетчика жидкости
К = ... имп/дм3
|
Должности |
Подписи, оттиски поверительных клейм, печатей (штампов) |
И. О. Фамилия |
Обработка результатов измерений при поверке танка
В.1 Обработка результатов измерений при поверке танка с применением мерников
В.1.1 Объем j-й дозы жидкости (DVм)j, дм3, измеренный мерником (мерниками), вычисляют по формуле
где
...,
- номинальные вместимости
мерников, дм3;
n, m, ..., l -
количества измерений с помощью мерников, номинальными вместимостями
... ,
.
Значения n, m, ..., l выбирают из ряда: 0, 1, 2, ........;
bм - коэффициент объемного расширения материалов мерников, 1/°С.
Его значение для стали принимают равным 37,5×10-6 1/°С;
(Тм)j - температура j-й дозы жидкости, вычисляемая по формуле
где
,
, ...,
- средние температуры жидкости,
определенные по результатам п, т, ..., l измерений в мерниках номинальными вместимостями:
...,
°С;
j-й - номер дозы. Его значение выбирают из ряда: 0, 1, 2, ...
В.1.2 Объем
налитой в танк j-й дозы
жидкости
м3,
соответствующий изменению уровня ее в танке в пределах от 10 до 100 мм,
вычисляют по формуле
где (DVм)j - объем j-й дозы, вычисленный по формуле (В.1);
bj - коэффициент объемного расширения жидкости, 1/°С, его значение принимают для воды равным 200×10-6 1/°С, для нефтепродуктов определяют в соответствии с инструкцией [11] по формуле
bj = (1,825/rj) - 0,001315; (В.4)
для нефти по [8];
rj - плотность жидкости в танке после поступления в него j-й дозы жидкости, кг/м3;
(Тр)j - температура жидкости в танке после поступления в него j-й дозы жидкости, °С;
(Тм)j - температура j-й дозы, вычисляемая по формуле (В.2).
В.1.3 Объем налитой в танке
начальной дозы жидкости
м3, вычисляют по формуле
где (DVм)0 - объем дозы жидкости, вычисленный по формуле (В.1), дм3;
(Тр)0 - температура жидкости в танке, измеренная в первой пробе ее, отобранной из танка, °С;
(Тм)0 - средняя температура жидкости, вычисленная по формуле (В.2);
b0 - коэффициент объемного расширения жидкости, вычисляемый по формуле (В.4) при плотности r0, измеренной как указано в 9.7.4 настоящей рекомендации.
В.1.4 Плотность жидкости в танке после поступления в него j-й дозы rj вычисляют по формуле
rj = rj-1{1 - bj-1[(Tp)j - (Tp)j-1}. (B.6)
В.1.5 Пересчет уровня поверочной жидкости после поступления в поверяемый танк j-й её дозы Нj, измеренного при текущих значениях углов крена и дифферента, к начальным значениям этих углов в зависимости от наличия или отсутствия неровностей днища проводят по формулам (рисунок А.5):
или
(B.7б)
где (Нh)j - уровень поверочной жидкости при поступлении в поверяемый танк j-й дозы и значениях углов крена aj и дифферента bj, мм;
- базовая высота, измеренная при значениях углов крена aj и дифферента bj мм;
- поправка на дифферент (крен) при наличии неровностей днища, мм;
- поправка на дифферент (крен) при отсутствии неровностей днища, мм.
В.1.5.1 Если значение базовой
высоты
, измеренной при наличии степени наклона танка (судна) hj, отличается
от её значения, вычисляемой по формуле
![]()
![]()
более чем на ± 0,03 %, то имеет место наличие неровностей днища.
В.1.5.2 Поправки на дифферент (крен) судна вычисляют по формулам;
а) при положительном дифференте (крене)
![]()

б) при отрицательном дифференте (крене)
![]()

где l0 - расстояние между центром танка и точкой отсчета значений уровня жидкости (базовой высоты), мм;
Нб - базовая высота танка, измеренная при отсутствии углов дифферента и крена, мм;
hj - степень наклона танка (судна), вычисляемая по формуле (1) настоящей рекомендации.
jj - угол между плоскостью, проходящую через центры измерительного люка и танка, и направлением наклона судна (рисунок А.3), отсчитываемый по часовой стрелке, вычисляемый по формуле
![]()
В.1.5.3 Результаты вычисления
поправок на дифферент (крен)
,
вносят в таблицу поправок, форма
которой приведена в приложении Г.
В.1.6 Вычисление базовой высоты танка
В.1.6.1 Базовую высоту танки Нб вычисляют по формуле
где (Нб)1, (Нб)2 - результаты двух измерений базовой высоты танки.
В.1.6.2 Результат вычисления Нб вносят в журнал, форма которого приведена в приложении Г.
В.1.7 Вычисление высоты «мертвой» полости
В.1.7.1 Высоту «мертвой» полости hм.п вычисляют по формуле
где (hм.п)1, (hм.п)2 - результаты двух измерений высоты «мертвой» полости.
В.1.7.2 Результат вычисления hм.п вносят в журнал, форма которого приведена в приложении Г.
В.1.8 Вычисление температур в танке по результатам измерений температур доз жидкости
В.1.8.1 Температуры жидкости в танке в пределах первой суммарной дозы жидкости вычисляют по формулам
(Тр)1 = (Тр)0 + DТ1, (Тр)2 = (Тр)1 + DТ1, ..., (Тр)v-1 = (Тр)v-2 + DТ1, (В.10)
где (Тр)1, (Тр)2, (Тp)3, ..., (Тр)v-2, (Тр)v-1 -
температуры жидкости в танке при поступлении в него
...,
доз;
DT1 - среднее температурное изменение, приходящееся на каждую дозу жидкости в пределах первой суммарной дозы, °С, вычисляемое по формуле
(В.11)
(Тp)0 - температура жидкости в
танке при поступлении в него дозы
°C;
(Тp)v - температура жидкости в танке при поступлении в него дозы
°С;
v - число доз в первой суммарной дозе жидкости.
В.1.8.2 Температуры жидкости в танке в пределах первой и второй суммарных доз жидкости вычисляют по формуле
(Тр)v+1 = (Тр)v + DТ2, (Тр)v+2 = (Тр)v+1 + DТ2, ..., (Тр)s-1 = (Тр)s-2 + DТ2. (В.12)
где (Tp)v+1, (T)v+2, ..., (Tp)s-2, (Tp)s-1 - температуры жидкости в танке при
поступлении в него
...,
доз, °С;
(B.13)
где (Tp)s -
температура жидкости в танке при поступлении в него дозы ![]()
s - число доз в первой и второй суммарных дозах жидкости.
При наполнении танка третьей, четвертой и др. суммарными дозами температуры жидкости в танке после поступления в него каждой дозы определяют аналогично.
В.1.9 Вычисление максимального уровня жидкости в танке
В.1.9.1 Максимальный уровень жидкости, Нpmax, мм измеренный измерительной рулеткой с грузом, вычисляют по формуле
где (Нpmax)1, (Нрmax)2 - результаты двух измерений максимального уровня, мм.
В.1.10 Вычисление разности максимальных уровней жидкости в танке
В.1.10.1 Разность максимальных уровней жидкости в танке DН, измеренных в конце поверки его уровнемером и измерительной рулеткой с грузом, вычисляют по формуле
где Нpmax, Нymax - максимальные уровни жидкости, измеренные измерительной рулеткой с грузом и уровнемером, мм.
В.1.10.2 Значение DH, определенное по формуле (В.15), может быть положительным и отрицательным.
В.1.11 Результаты вычислений по формулам (В.8), (В.9), (В.12), (В.14), (В.15) вносят в журнал, форма которого приведена в приложении Г.
В.2 Обработка результатов измерений при поверке танка с применением счетчика жидкости
В.2.1 Объем j-й дозы жидкости, прошедший через счетчик жидкости (DVc)j, дм3, вычисляют по формуле для счетчиков жидкости:
а) с непосредственным отсчетом объема жидкости в кубических дециметрах
б) с импульсным выходом
где qj, qj-1 - показания счетчика жидкости, дм3; Nj, Nj-1 - количество импульсов от преобразователя счетчика жидкости, имп.;
К - коэффициент преобразования счетчика жидкости, имп./дм3.
В.2.2 Объем налитой в танк j-й жидкости
м3,
соответствующий изменению уровня ее в танке не более 30 мм, вычисляют по формуле
где (DVc)j - объем j-й дозы, вычисленный по формуле (В.16) или (В.17);
bj - коэффициент объемного расширения жидкости, 1/°С. Его значение определяют в соответствии с В.1.2;
(Тp)j - температура жидкости в танке после поступления в него j-й дозы, °С;
(Тт)j -температура j-й дозы жидкости в трубопроводе, счетчике жидкости, °С;
g - коэффициент сжимаемости жидкости, 1/МПа. Его значение принимают 1/МПа: для воды 49×10-5; керосина 70×10-5; дизельного топлива 65×10-5; нефти по [9];
рj - избыточное давление жидкости в счетчике жидкости, МПа;
rj - плотность жидкости, вычисляемая по формуле (В.6), кг/м3;
g - ускорение свободного падения, м/с2;
Нj - уровень жидкости в танке, м.
В.2.3 Объем налитой в танк
начальной дозы жидкости, соответствующий перечислению «д» 9.8.1 настоящей
рекомендации,
м3, вычисляют по формуле
где (Тp)0 - температура жидкости в танке, измеренная в первой пробе ее, отобранной из танка, ° С;
(Тт)0 - температура жидкости в трубопроводе в момент отбора первой пробы жидкости из танка, °С;
b0 - коэффициент объемного расширения жидкости, вычисляемый по формуле (В.4) при плотности r0, измеренной в соответствии с 9.7.6 настоящей рекомендации.
В.2.4 Обработка результатов измерений объемов доз жидкости методом наименьших квадратов
В.2.4.1 При поверке танка динамическим методом с применением счетчика жидкости возникают дополнительные погрешности, обусловленные динамичностью процесса измерений доз жидкости. Поэтому результаты измерений доз жидкости обрабатывают методом наименьших квадратов с целью сглаживания результатов измерений и определения динамической погрешности.
В.2.4.2 Предельный уровень наполнения танка, соответствующий полной вместимости танка, разбивают на отдельные участки. При этом длину участка (расстояние между точками разбивки) принимают не более 100 мм.
В.2.4.3 Зависимость объема
дозы жидкости от уровня наполнения для m-го участка
представляют формулой
где am, bm, сm - постоянные коэффициенты для m-го участка;
Нm - текущий уровень жидкости в m-ом участке, изменяющийся от Hj до Нj+n;
n - число точек измерений в m-ом участке.
В.2.4.4 Значения коэффициентов am, bm, cm определяют, решая систему уравнений
![]()
(B.21)
![]()
B.2.4.5.Относительную оценку среднего квадратического отклонения для m-го участка Sm, %, вычисляют по формуле
где
- объемы доз жидкости, соответствующие
уровням Нv и Нv+n;
- текущий объем дозы
жидкости, вычисляемый по формуле (В.18)
для m-го участка;
- зависимость объема дозы
жидкости от уровня её наполнения для m-го участка, представленная формулой (В.20).
В.2.4.6 Случайную составляющую погрешности градуировочной таблицы dог, %, вычисляют по формуле
где S1, S2, ... Sw - величины, вычисляемые по формуле (В.22);
w - число участков предельного уровня наполнения танка.
В.2.5 Пересчет уровня поверочной жидкости после поступления в поверяемый танк j-й дозы Нj, измеренного при текущих значениях углов крена и дифферента, вычисляют по формуле (В.7).
В.2.6 Базовую высоту Нб и высоту «мертвой» полости hм.п вычисляют по формулам (В.8), (В.9).
В.2.7 Максимальный уровень жидкости в танке Нрmax вычисляют по формуле (В.14).
B.2.8 Разность максимальных уровней жидкости в танке DН вычисляют по формуле (В.15).
B.2.9 Результаты вычислений по формулам (В.8), (В.9), (В.12), (В.14), (В.15), (В.18), (В.19) вносят в журнал форма которого приведена в приложении Г.
В.3 Если выполняются условия:
а) при применении воды
|
pj £ 0,5 МПа; |
|
|
|
|
б) при применении нефти и нефтепродуктов
|
pj £ 0,3 МПа; |
|
|
|
|
то объемы доз вычисляют по формулам (В.1), (В.3) без поправок на температуру, а по формуле (В.18) - без поправок на давление и температуру.
В.4 Вычисление дозовой вместимости танка
В.4.1 Дозовую вместимость танка при наливе в него «к» доз жидкости Vk, м3, вычисляют по формуле
где k - число налитых в танк доз жидкости;
j - номер налитой дозы, принимает: j = 0, 1, 2, ..., k;
(DVp)j - объем j-й дозы, измеренный мерником (мерниками), вычисляемый по формулам (В.3) и (В.5). При применении счетчика жидкости объем j-ой дозы (DVp)j определяют для каждого участка по формуле (В.20);
(Тp)k - температура жидкости в танке при наливе в него k доз, °С;
(Тp)j - температура жидкости в танке при наливе в него j-ой дозы, °С;
bj - коэффициент объемного расширения жидкости, 1/°С. Его значение определяют в соответствии с В.1.2;
a - коэффициент линейного расширения материала танка, 1/°С. Его значение для стали принимают равным 12,5×10-6 1/°С.
В.4.1.1 Значение k принимают: k = 0 - при наливе в танк начальной дозы (DVp)0;
k = 1 - при наливе дозы (DVp)1;
k = 2 - при наливе дозы (DVp)2;
...
k = n - при наливе последней дозы (DVp)n.
В.4.2 При невозможности измерений температуры жидкости в танке при наливе в него каждой дозы в соответствии с 9.6, 9.7 настоящей рекомендации дозовую вместимость танка вычисляют по формулам:
а) при наполнении танка первой суммарной дозой
Значения k принимают: 0, 1, 2, 3, ..., v.
Температуры (Тp)1, (Tp)2, ..., (Tp)v-1 вычисляют по формуле (В.10), используя результаты измерений температур (Тp)0 и (Тp)v;
б) при наполнении танка второй суммарной дозой
где V1 - вместимость ганка при уровне 500 мм, вычисляемая по формуле (В.25) при k = v.
Значения k принимают: v + 1, v + 2, v + 3, ..., s.
Температуры (Тр)v+1, (Тр)v+2, ..., (Tр)s-1 вычисляют по формуле (В.12), используя результаты измерений температур (Тp)v и (Тp)s;
в) при наполнении танка третьей, четвертой и др. суммарными дозами дозовые вместимости его вычисляют аналогично.
Примечание - В формулах (В.24), (В.25), (В.26) за температуру материала стенки танка принята температура поверочной жидкости.
В.4.3 Температурные поправки не учитывают в формулах (В.24), (В.25) и (В.26), если выполняются условия:
а) при применении воды
|
|
|
|
|
|
|
|
б) при применении нефти и нефтепродуктов
|
|
|
|
|
|
|
|
В.4.4 Результаты вычислений по В.4.1, В.4.2 вносят в журнал, форма которого приведена в приложении Г.
Форма журнала обработки результатов измерений
ЖУРНАЛ
обработки результатов измерений.
Г.1 Вычисление базовой высоты танка
Нб = ... мм.
Г.2 Вычисление высоты «мертвой» полости
hм.п = ... мм.
Г.3 Вычисление температур жидкости в танке
Таблица Г.1
В градусах Цельсия
|
(Тр)0 |
(Тр)1 |
(Тр)2 |
... |
... |
(Тр)v+1 |
... |
... |
(Тр)m+1 |
(Тр)m+2 |
... |
|||
Г.4 Вычисление максимального уровня жидкости в танке
Нpmax = ... мм
Г.5 Вычисление разности максимальных уровней жидкости в танке
DН = ... мм
Г.6 Вычисление дозовой вместимости
Таблица Г.2
|
Уровень наполнения, см |
Объем дозы, м3 |
Дозовая вместимость, м3 |
|
1 |
2 |
3 |
|
Н0 |
(DVp)0 |
V0 |
|
Н1 |
(DVp)1 |
V1 |
|
H2 |
(DVp)2 |
V2 |
|
... |
... |
... |
|
HN |
(DVp)N |
VN |
|
Примечания: 1 Величины H0, H1, ..., HN (графа 1) - уровни жидкости в танке после поступления в него доз (DVp)0, (DVp)1, ..., (DVp)N вычисляемые по формуле (В.7). 2 Значения доз (DVp)0, (DVp)1, ..., (DVp)N (графа 2) определяют по формуле (В.3) или (В.18). 3 Значения V0, V1, ..., VN (графа 3) определяют по формуле (В.24) или (В.25), (В.26). |
||
Г.7 Вычисление поправок на дифферент (крен) судна (DHh)j
ТАБЛИЦА ПОПРАВОК
Таблица Г.3
|
Степень наклона, h |
Дифферент (крен) |
Поправки |
Значение угла j, градус |
||||||
|
1 |
2 |
3 |
4 |
... |
... |
360 |
|||
|
0,01 |
+ |
|
|||||||
|
|
|||||||||
|
- |
|
||||||||
|
|
|||||||||
|
0,02 |
+ |
|
|||||||
|
|
|||||||||
|
- |
|
||||||||
|
|
|||||||||
|
- |
|||||||||
Г.8 Составление градуировочной таблицы
Таблица Г.4
|
Вместимость, м3 |
Коэффициент вместимости, м3/мм |
|
|
h0 |
10,503 |
0,003 |
|
h0 + 1 |
10,533 |
0,004 |
|
h0 + 2 |
10,575 |
... |
|
... |
... |
|
|
... |
... |
... |
|
Hпр - 1 |
48,345 |
0,003 |
|
Нпр |
48,375 |
|
|
Коэффициент вместимости - вместимость, приходящаяся на 1 мм высоты наполнения:
|
||
|
Вычисление провел ________________________ подпись, инициалы, фамилия «___»___________________ г. |
Формы титульного листа градуировочной таблицы и градуировочной таблицы
Д.1 Форма титульного листа градуировочной таблицы
Титульный лист УТВЕРЖДАЮ
ГРАДУИРОВОЧНАЯ ТАБЛИЦА
танка
|
_________________________, № _______________________________________ |
|
(тип наливного судна) (танка) |
|
Организация___________________________________________________ |
|
Погрешность составления градуировочной таблицы dг = ... % |
|
Базовая высота танки Нб = ... мм |
|
Программа расчета градуировочной таблицы на ПЭВМ утверждена ГНМЦ - ВНИИР «___»______________________ г. Срок очередной поверки_________________________ Поверители _______________________ подпись _______________________ должность, инициалы, фамилия _______________________ подпись _______________________ должность, инициалы, фамилия ________________________ подпись _______________________ должность, инициалы, фамилия |
Д.2 Форма градуировочной таблицы
ГРАДУИРОВОЧНАЯ ТАБЛИЦА
|
Организация ____________________________________________________________ |
|
Танк № ________________________________________________________________ |
лист __
|
Уровень наполнения, см |
Вместимость, м3 |
Коэффициент вместимости, м3/мм |
|
1 |
2 |
3 |
|
1 |
||
|
2 |
||
|
3 |
||
|
... |
||
|
... |
||
|
... |
||
|
... |
||
|
... |
||
|
Hпр |
Форма акта измерений базовой высоты танка
|
СОГЛАСОВАНО Руководитель Органа Государственной метрологической службы |
УТВЕРЖДАЮ Руководитель предприятия владельца танка (директор, гл. инженер) |
АКТ
измерения базовой высоты танка
«___»______________________г.
|
Составлен в том, что комиссия, назначенная приказом _________________________ |
|
предприятие |
|
___________________________________________________, в составе: председателя |
|
владельца танка |
|
________________________________________ и членов_____________________ |
|
инициалы и фамилия инициалы и фамилия |
|
провела в соответствии с ГОСТ ___________ контрольные измерения базовой высоты танка ___________________________________ № __________при температуре |
|
тип и ном. вместимость |
|
окружающего воздуха, ° С_____. |
|
Результаты измерения представлены в таблице |
Таблица
|
Базовая высота танка |
Уровень наполнения танка, мм |
||
|
среднее значение из результатов двух измерений (Нб)к, мм |
предыдущее значение базовой высоты (Н6)п, мм |
|
|
Вывод: требуется (не требуется) переградуировка танка
|
Председатель комиссии ___________ _________________ подпись инициалы, фамилия Члены: ___________ _________________ подпись инициалы, фамилия ___________ _________________ подпись инициалы, фамилия ___________ _________________ подпись инициалы, фамилия
|
[1] ПР 50.2.009-94 ГСИ. Порядок проведения испытаний и утверждения типа средств измерений;
[3] РД 50-388-83 Уровнемеры жидкости образцовые. Методы и средства поверки;
[4] МИ 1974-95 ГСИ. Преобразователи расхода турбинные. Методика поверки;
[5] МИ 583-84 Преобразователи расхода роторные. Методика поверки;
[6] МИ 2396-97 ГСИ. Установки поверочные трубопоршневые 2-го разряда. Методика поверки;
[7] ТУ 25-1819.0021-90 Секундомеры;
[8] ТУ ДКТЦ 413441.102 Анализатор - течеискатель АНТ-2М;
[9] МИ 2153-91 ГСИ. Плотность нефти при учетно-расчетных операциях. Методика выполнения измерений ареометром;
[10] ПР 50.2.006-94 ГСИ. Поверка средств измерений. Организация и порядок проведения;
[11] РД 153-39-011-97 Инструкция по учету нефтепродуктов на магистральных нефтепродукте проводах.
Ключевые слова: вместимость, цистерна, уровнемер, счетчик, жидкость, дифферент, крен, погрешность, уровень, градуировка, градуировочная таблица, поверка, вязкость, температура, плотность, влага, мерник, средства, вода, наполнение, опорожнение, операция, давление, сжимаемость, судно.
|
Начальник НИО-7 руководитель темы, к.т.н. |
Б.Г. Хусаинов |
|
|
Ведущий научный сотрудник НИО-7 исполнитель, к.т.н. |
М.М. Мигранов |