Acoustical barriers for railway transport. Technical requirements

ФЕДЕРАЛЬНОЕ АГЕНТСТВО
ПО ТЕХНИЧЕСКОМУ РЕГУЛИРОВАНИЮ И МЕТРОЛОГИИ

НАЦИОНАЛЬНЫЙ
СТАНДАРТ
РОССИЙСКОЙ
ФЕДЕРАЦИИ

ГОСТ Р
54931-2012

ЭКРАНЫ АКУСТИЧЕСКИЕ
ДЛЯ ЖЕЛЕЗНОДОРОЖНОГО ТРАНСПОРТА

Технические требования

Москва
Стандартинформ
2013

Предисловие

Сведения о стандарте

1 РАЗРАБОТАН Балтийским государственным техническим университетом (БГТУ «ВОЕНМЕХ»), Научно-исследовательским институтом строительной физики Российской академии архитектуры и строительных наук (НИИСФ РААСН), Обществом с ограниченной ответственностью «Институт полимеров» (ООО «Институт полимеров»)

2 ВНЕСЕН Техническим комитетом по стандартизации ТК 45 «Железнодорожный транспорт»

3 УТВЕРЖДЕН И ВВЕДЕН В ДЕЙСТВИЕ Приказом Федерального агентства по техническому регулированию и метрологии от 5 июля 2012 г. № 151-ст

4 Настоящий стандарт может быть применен на добровольной основе для соблюдений требований технического регламента Таможенного союза «О безопасности высокоскоростного железнодорожного транспорта»

5 ВВЕДЕН ВПЕРВЫЕ

Правила применения настоящего стандарта установлены в ГОСТ Р 1.0-2012 (раздел 8). Информация об изменениях к настоящему стандарту публикуется в ежегодном (по состоянию на 1 января текущего года) информационном указателе «Национальные стандарты». В случае пересмотра (замены) или отмены настоящего стандарта соответствующее уведомление будет опубликовано в ближайшем выпуске ежемесячного информационного указателя «Национальные стандарты». Соответствующая информация, уведомление и тексты размещаются также в информационной системе общего пользования - на сайте национального органа Российской Федерации по стандартизации в сети Интернет (gost.ru)

Введение

При движении железнодорожного транспорта возникает шум, интенсивность и частотные характеристики которого зависят от скорости движения, типа поездов, состояния пути и характера движения. Для снижения негативного воздействия шума от потоков железнодорожного транспорта используется комплекс мер и конструкций. Одним из средств защиты от шума железнодорожного транспорта являются акустические экраны. Акустический экран - преграда, устанавливаемая между железнодорожными путями и объектами защиты (жилыми домами, гостиницами, больницами, школами и пр.), обеспечивающая снижение шума до санитарных норм или запроектированных значений.

СОДЕРЖАНИЕ

1 Область применения. 2

2 Нормативные ссылки. 3

3 Термины и определения. 3

4 Общие положения. 4

5 Классификация акустических экранов. 4

6 Общие требования к акустическим экранам.. 5

7 Требования к обеспечению акустической эффективности экранов. 6

8 Требования к размещению и монтажу акустических экранов. 7

9 Требования к механической прочности и ударопрочности акустических экранов. 9

10 Требования к элементам конструкции акустических экранов. 9

10.1 Требования к панелям.. 9

10.2 Требования к стойкам.. 10

10.3 Требования к фундаментам.. 11

11 Требования к шумозащищенности проемов (разрывов) в акустических экранах. 11

12 Требования к электробезопасности акустических экранов. 12

13 Требования к пожарной безопасности акустических экранов. 13

14 Требования безопасности при эксплуатации акустических экранов. 13

15 Архитектурно-эстетические требования к акустическим экранам.. 14

Приложение А (справочное) Методы определения заявленных значений звукоизоляции акустических панелей и коэффициента звукопоглощения панелей отражающе-поглощающих акустических экранов. 14

Библиография. 16

ГОСТ Р 54931-2012

НАЦИОНАЛЬНЫЙ СТАНДАРТ РОССИЙСКОЙ ФЕДЕРАЦИИ

ЭКРАНЫ АКУСТИЧЕСКИЕ ДЛЯ ЖЕЛЕЗНОДОРОЖНОГО ТРАНСПОРТА

Технические требования

Acoustical barriers for railway transport. Technical requirements

Дата введения - 2013-03-01

1 Область применения

Настоящий стандарт устанавливает технические требования к акустическим экранам, устанавливаемым вдоль железнодорожных путей общего пользования для защиты прилегающих жилых застроек и селитебных территорий от шума потоков железнодорожного транспорта.

Настоящий стандарт распространяется на проектирование, изготовление, монтаж и эксплуатацию акустических экранов вдоль железнодорожных путей общего пользования.

Настоящий стандарт не распространяется на акустические экраны, устанавливаемые вдоль автомобильных дорог, вокруг промышленных предприятий, отдельных стационарных источников шума и других объектов, не относящихся к железнодорожным путям.

2 Нормативные ссылки

В настоящем стандарте использованы нормативные ссылки на следующие стандарты:

ГОСТ Р 53376-2009 (ЕН ИСО 354:2003) Материалы звукопоглощающие. Метод измерения звукопоглощения в реверберационной камере

ГОСТ Р 54257-2010 Надежность строительных конструкций и оснований. Основные положения и требования

ГОСТ Р 54932-2012 Экраны акустические для железнодорожного транспорта. Методы контроля

ГОСТ Р 54933-2012 Шум. Методы расчета уровней внешнего шума, излучаемого железнодорожным транспортом

ГОСТ 9238-83 Габариты приближения строений и подвижного состава железных дорог колеи 1520 (1524) мм

ГОСТ 27296-87 Защита от шума в строительстве. Звукоизоляция ограждающих конструкций. Методы измерения

Примечание - При пользовании настоящим стандартом целесообразно проверить действие ссылочных стандартов в информационной системе общего пользования - на официальном сайте Федерального агентства по техническому регулированию и метрологии в сети Интернет или по ежегодно издаваемому информационному указателю «Национальные стандарты», который опубликован по состоянию на 1 января текущего года, и по соответствующим ежемесячно издаваемым информационным указателям, опубликованным в текущем году. Если ссылочный стандарт заменен (изменен), то при пользовании настоящим стандартом следует руководствоваться заменяющим (измененным) стандартом. Если ссылочный стандарт отменен без замены, то положение, в котором дана ссылка на него, применяется в части, не затрагивающей эту ссылку.

3 Термины и определения

В настоящем стандарте применены следующие термины с соответствующими определениями:

3.1 акустический экран: Протяженная искусственная преграда, устанавливаемая на пути распространения шума от реального источника (железнодорожного транспорта) к защищаемому от шума объекту.

3.2 акустическая эффективность экрана, дБ, дБА: Величина, определяемая как разность уровней звукового давления, дБ (уровней звука А, дБА) в одной и той же измерительной (расчетной) точке вблизи защищаемого от шума объекта до и после установки акустического экрана (та же излучаемая мощность источника шума, то же окружение: рельеф, структура местности и отражающих звук строений на ней).

3.3 вандалозащищенность: Способность акустического экрана противостоять несанкционированным разборке и разрушению акустического экрана.

3.4 высокоскоростное движение: Движение железнодорожного подвижного состава со скоростью, превышающей 200 км/ч.

3.5 защищаемый от шума объект (объект защиты): Жилое, общественное или производственное здание (или группа зданий) и/или участок территории, перед которыми устанавливают акустический экран.

3.6 звукоизоляция панели акустического экрана, дБ: Способность панели уменьшать проходящий через нее звук и рассчитываемая как десять десятичных логарифмов отношения интенсивности звука, падающего на одну из сторон панели, к интенсивности звука, излучаемого другой стороной панели.

3.7 звукопоглощение акустического экрана: Способность акустического экрана частично поглощать падающий на него звук.

3.8 комбинированный акустический экран: Акустический экран, панели которого изготовлены из двух и более типов материалов - прозрачных и непрозрачных.

3.9 контрэкран: Дополнительный акустический экран, устанавливаемый напротив проемов (разрывов) в акустических экранах со стороны защищаемого от шума объекта и предназначенный для предотвращения распространения шума через проем (разрыв) в акустическом экране.

3.10 коэффициент звукопоглощения панели акустического экрана: Величина, рассчитываемая как отношение интенсивности звука, поглощенного панелью, к интенсивности звука, падающего на панель.

3.11 отражающе-поглощающий акустический экран: Акустический экран, в котором установлены звукопоглощающие панели, обеспечивающие как отражение, так и поглощение звука.

3.12 отражающий акустический экран: Акустический экран, обеспечивающий отражение звука.

3.13 панель акустического экрана: Основной элемент конструкции акустического экрана, выполняющий функции защиты от шума.

3.14 поверхностная плотность панели акустического экрана, кг/м2: Масса одного квадратного метра панели акустического экрана.

3.15 приведенная акустическая эффективность экрана, дБ, дБА: Снижение уровня шума железнодорожного транспорта, определяемое как разность уровней звукового давления, дБ (уровней звука А, дБА) в контрольной точке, расположенной в середине длины акустического экрана со стороны объекта защиты на расстоянии 25 м от акустического экрана и на высоте (1,5 ± 0,1) м над уровнем земли, до и после установки акустического экрана.

4 Общие положения

4.1 Акустический экран состоит из следующих основных элементов: панелей, стоек и фундамента. Стойки располагают вертикально или с наклоном, между ними монтируются панели. Стойки крепят к фундаменту, который заглубляют в землю.

Примечание - К дополнительным элементам акустических экранов, применяемым при монтаже или обеспечивающим его функционирование, относятся: уплотнения, поперечные профили, крепежные детали, полки, козырьки и др.

4.2 Выбор параметров, формы верхней граничной поверхности и материала, из которого изготовлены акустические панели, а также определение его ожидаемой акустической эффективности осуществляются акустическим расчетом согласно ГОСТ 54933.

4.3 Контроль акустических экранов на соответствие техническим требованиям следует выполнять по ГОСТ Р 54932.

5 Классификация акустических экранов

5.1 Акустические экраны, устанавливаемые вдоль железнодорожных путей, классифицируются по следующим признакам:

- принципу действия;

- конструктивному решению верхней части;

- светопропусканию;

- материалам, примененным для изготовления акустических панелей.

5.2 В зависимости от принципа действия акустические экраны подразделяются на:

- отражающие;

- отражающе-поглощающие.

5.3 По конструктивному решению верхней части акустические экраны подразделяются на:

- акустические экраны без надстройки верхней граничной поверхности;

- акустические экраны с надстройкой верхней граничной поверхности.

Соответствующие формы верхней граничной поверхности акустических экранов приведены на рисунке 1.

а) без надстройки верхней граничной поверхности; б) с надстройкой верхней граничной поверхности в
виде
односторонней полки (козырька), наклоненной в сторону железнодорожных путей; в) с надстройкой
верхней
граничной поверхности в виде двухсторонней верхней полки (козырька) Т-образной формы;
г)
с надстройкой верхней граничной поверхности в виде двухсторонней верхней полки (козырька)
Y-
образной формы; д) в виде протяженной звукопоглощающей конструкции

1 - козырек; 2 - полка; 3 - протяженная звукопоглощающая конструкция

Рисунок 1 - Форма верхней граничной поверхности акустических экранов

Примечание - Форма акустического экрана не ограничивается примерами, приведенными на рисунке 1

5.4 По степени светопропускания экраны подразделяются на:

- непрозрачные;

- прозрачные (светопроницаемые);

- комбинированные.

5.5 Материалами, из которых изготавливают акустические панели и акустические экраны, могут быть: бетон, металл, дерево, композитные материалы, светопрозрачные и другие материалы.

6 Общие требования к акустическим экранам

6.1 Акустический экран должен иметь заявленные значения звукоизоляции и звукопоглощения панелей, а также запроектированные значения приведенной акустической эффективности, указанные в проектной документации на акустический экран.

6.2 В техническом задании на проект акустического экрана должны быть установлены значения следующих контролируемых параметров и показателей:

- механическая прочность;

- стойкость к ударам камней, старению и коррозии;

- огнестойкость;

- защита от поражения обслуживающего персонала и населения электрическим током;

- вандалозащищенность;

- удобство в обслуживании;

- ремонтопригодность.

6.3 Акустические экраны, устанавливаемые вдоль железнодорожных путей с высокоскоростным движением, должны быть устойчивы к воздействию воздушных импульсов сжатия - разрежения, создаваемых движущимися высокоскоростными поездами согласно 9.4.

6.4 Акустический экран и его элементы должны работать в диапазоне температур воздуха от плюс 50 °С до минус 55 °С.

6.5 Срок службы акустических экранов до капитального ремонта должен составлять не менее 15 лет.

6.6 Акустические экраны не должны создавать помехи проведению ремонтно-путевых работ на железнодорожном полотне.

7 Требования к обеспечению акустической эффективности экранов

7.1 Требуемую акустическую эффективность экрана следует обеспечивать за счет надлежащего выбора его основных параметров - высоты, длины, конструктивного решения его верхней части (согласно рисунку 1), применения в панелях звукопоглощающих материалов, а также за счет рационального расположения акустического экрана относительно железнодорожных путей и относительно объектов защиты.

7.2 Высоту акустического экрана следует выбирать в зависимости от требуемой акустической эффективности экранов, с учетом высоты объектов защиты и их расположения относительно железнодорожных путей. Необходимость и возможность их установки должны быть подтверждены соответствующими акустическими и прочностными расчетами.

7.3 Длину акустического экрана lэкр следует определять из условия обеспечения расстояния от проекции крайней точки объекта защиты на акустическом экране до соответствующего конца акустического экрана не менее чем в 4,5 раза больше кратчайшего расстояния от объекта защиты до акустического экрана, как показано на рисунке 2.

Примечание - Расстояние от крайнего защищаемого объекта до соответствующего конца акустического экрана выбрано из условия возможности пренебрежения дифракцией на конце акустического экрана.

lэкр = 4,5d1 + l + 4,5d2

1 - железнодорожный путь; 2 - акустический экран; 3 - объект защиты;
d1,2 - расстояния от крайних объектов защиты до акустического экрана, м;
lэкр - общая длина акустического экрана

Рисунок 2 - Схема определения требуемой длины акустического экрана

7.4 При невозможности обеспечения требуемой длины акустического экрана в соответствии с 7.3 проектируют акустический экран максимально возможной длины, а затем проектируют дополнительные боковые акустические экраны. Боковые акустические экраны следует устанавливать вплотную к основному акустическому экрану в сторону застройки для ее защиты от шума потоков железнодорожного транспорта (рисунок 3). Длину каждого бокового акустического экрана определяют согласно указаниям на рисунке 3.

1 - железнодорожный путь; 2 - акустический экран; 3 - объект защиты;
d1,2 - расстояния от крайних объектов защиты до акустического экрана, м

Рисунок 3 - Схема определения длины боковых акустических экранов

7.5 Поверхностную плотность панелей акустического экрана следует выбирать из условия обеспечения звукоизоляции панели Rd не менее чем на 10 дБ выше требуемой акустической эффективности экрана.

Примечание - Требование 10 дБ обеспечивает предотвращение прохождения прямого звука, проникающего к объекту защиты.

7.6 В технической документации на акустические панели должны быть заявлены значения звукоизоляции Rd и коэффициента звукопоглощения αd панелей отражающе-поглощающих акустических экранов в октавных полосах со среднегеометрическими частотами 125, 250, 500, 1000, 2000, 4000 и 8000 Гц, а также соответствующие им значения суммарной стандартной неопределенности ис.

Методы определения заявленных значений звукоизоляции акустических панелей и коэффициентов звукопоглощения панелей отражающе-поглощающих акустических экранов приведены в приложении А.

7.7 Заявленные значения коэффициента звукопоглощения αd панелей отражающе-поглощающих акустических экранов должны быть не ниже величин, приведенных в таблице 1.

Таблица 1 - Контрольные значения коэффициента звукопоглощения панелей αd

Наименование показателя

Среднегеометрические значения частот, Гц

125

250

500

1000

2000

4000

8000

Контрольные коэффициенты звукопоглощения

0,3

0,5

0,8

0,8

0,7

0,6

0,5

7.8 В конструкции акустического экрана должны быть исключены щели между его составными элементами, а также между нижней панелью акустического экрана и поверхностью земли.

7.9 Ожидаемое снижение шума у первого эшелона защищаемых жилых и других зданий и значение приведенной акустической эффективности экрана (дБ, дБА), установленного на местности, определяют расчетным путем на этапе проектирования акустического экрана и указывают в проектах «Оценка воздействия на окружающую среду» (ОВОС) согласно [1] и в проекте «Зона санитарного разрыва» согласно [2].

8 Требования к размещению и монтажу акустических экранов

8.1 Акустические экраны располагают вдоль железнодорожных путей в полосе отвода.

8.2 Акустические экраны располагают с соблюдением габаритов приближения строений и подвижного состава железных дорог, установленных ГОСТ 9238.

8.3 Акустические экраны не должны затруднять видимость светофоров и других сигнальных устройств.

8.4 Акустический экран устанавливают таким образом, чтобы опоры контактной сети и средства сигнализации и связи (релейные шкафы, системы автоматики, телемеханики и пр.) находились между железнодорожными путями и акустическим экраном.

8.5 При размещении акустических экранов учитывают расположение водоотводных сооружений - кюветов, лотков, дренажей, - находящихся в зоне установки акустических экранов. Акустические экраны и их фундаменты не должны нарушать систему стока поверхностных и грунтовых вод от железнодорожных путей. Недопустима организация проемов в нижней части акустического экрана для водоотвода с железнодорожных путей. Пропуск воды с железнодорожных путей необходимо осуществлять через водоотводные сооружения.

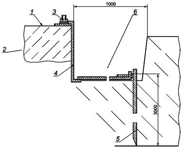
Пример схемы водоотводного сооружения приведен на рисунке 4.

1 - железнодорожный путь; 2 - водосток; 3 - акустический экран; 4 - бетонное основание;
5 -
свая для закрепления фундамента АЭ; 6 - лоток для отвода воды

Рисунок 4 - Схема водоотводного сооружения

8.6 Для обеспечения видимости в местах нахождения переездов и в кривых участках пути, а также для обеспечения в случае необходимости свободного обзора конструкция акустического экрана должна предусматривать установку светопрозрачных панелей на высоте не ниже 1,5 м над головкой рельса.

8.7 Предельные допуски при монтаже акустических экранов должны составлять:

- ±10 мм - на расстояние между опорами;

- ±10 мм - на высоту стоек;

8.8 При монтаже акустического экрана его нижние панели недопустимо располагать на анкерных креплениях опор.

8.9 На двухпутных и многопутных участках акустические экраны размещают со стороны крайних путей. Акустические экраны, устанавливаемые с обеих сторон железнодорожных путей напротив друг друга, должны быть отражающе-поглощающими для устранения взаимных отражений звука и предотвращения снижения акустической эффективности экрана.

8.10 При расположении на платформе акустический экран выполняют отражающе-поглощающим и устанавливают его с внешней стороны платформы. Допустима установка акустического экрана от уровня земли при его расположении за платформой.

8.11 Для предотвращения снижения акустической эффективности экранов в местах проходов устанавливают звукоизолирующие двери или устанавливают контрэкраны в соответствии с разделом 11.

9 Требования к механической прочности и ударопрочности акустических экранов

9.1 Для определения механической прочности и устойчивости акустического экрана выполняют расчеты на ветровую нагрузку, собственный вес акустического экрана и нагрузку от аэродинамического воздействия.

9.2 В расчеты собственного веса закладывают массу панелей акустического экрана во влажном состоянии. Величина влажности материала не более 30 %. Расчет производят при условии, что ни один из элементов акустического экрана не будет иметь остаточных деформаций.

9.3 Ветровую нагрузку рассматривают как равномерно распределенную по площади акустического экрана и действующую в горизонтальном направлении. Ветровую нагрузку определяют в соответствии с [3]. Расчет на прочность и устойчивость конструкции акустического экрана производят в соответствии с ГОСТ Р 54257 и [4], [5] и [6].

9.4 Акустический экран рассчитывают на воздействие аэродинамической нагрузки, возникающей при высокоскоростном движении, в соответствии с [3].

9.5 Все элементы акустического экрана должны соответствовать заданным прочностным характеристикам и не разрушаться под энергией удара 30 Дж (имитация ударов щебня, и других летящих предметов).

10 Требования к элементам конструкции акустических экранов

10.1 Требования к панелям

10.1.1 Для акустических экранов применяют как однослойные, так и многослойные панели.

10.1.2 Панели отражающих акустических экранов, изготавливаемые из бетона, должны иметь толщину не менее 120 мм.

10.1.3 Многослойная панель состоит из сплошного твердого слоя, звукопоглощающего негидрофильного материала, перфорированного листа (звукопрозрачной сетки) с коэффициентом перфорации не менее 0,3. Не допускается закрытие отверстий в перфорированном листе краской или иной преградой, не относящейся к защитному покрытию.

Пример схемы расположения элементов многослойной панели показан на рисунке 5.

1 - перфорированный лист (звукопрозрачная сетка); 2 - звукопоглощающий материал (50 - 100 мм);
3 -
воздушный промежуток (50 - 80 мм); 4 - твердый сплошной лист;
5 -
стеклоткань Э-0,1 или пленка толщиной не более 50 мкм.

Рисунок 5 - Схема многослойной панели со звукопоглощением с воздушным промежутком (а) и без него (б)

10.1.4 Звукопоглощающий материал должен обладать стабильными физико-механическими и акустическими свойствами в течение всего периода эксплуатации и быть биостойким.

10.1.5 Светопрозрачные панели комбинированных акустических экранов должны изготавливаться из материалов с коэффициентом светопропускания не менее 70 %. Толщина светопрозрачной панели должна быть не менее 12 мм. Светопрозрачные панели должны обладать стойкостью к абразивной пыли и действию ультрафиолетовых лучей.

10.1.6 Алюминиевые листы, применяемые в многослойных панелях, должны иметь толщину не менее 1 мм. При этом не допускается непосредственный контакт алюминиевых листов без защитного покрытия с металлическими деталями акустического экрана.

10.1.7 Для изготовления стальных многослойных панелей следует применять стальной лист толщиной не менее 0,7 мм с антикоррозийным покрытием или из высоколегированной стали (аустенитная нержавеющая сталь) толщиной не менее 0,65 мм, обеспечивающем отсутствие сквозной коррозии на металлических элементах изделия не менее 25 лет.

10.1.8 Деревянные многослойные панели изготавливают из импрегнированной древесины, пропитанной специальным составом для предотвращения гниения и иного разложения под воздействием окружающей среды, с задней звукоизолирующей стенкой толщиной не менее 20 мм. Вместо передней стенки панели из перфорированного листа допускается использование звукопрозрачных сеток.

Примечание - Установленная прочность звукопрозрачных сеток должна обеспечивать защиту от ударов щебня и других летящих предметов.

10.2 Требования к стойкам

10.2.1 Стойки располагают с шагом по горизонтали не более 5 м, а при наличии высокоскоростного движения поездов - не более 3 м. Стойки должны иметь с двух противоположных сторон вертикальные продольные пазы, в которые вставляются акустические панели.

10.2.2 Стойки акустического экрана должны обеспечивать все прочностные характеристики конструкции. При изготовлении стойки из металлического профиля к одному концу стойки приваривают металлическую пластину (пятка стойки), служащую для крепления стойки к фундаменту, посредством не менее четырех анкерных болтов, забетонированных в фундамент. К одному из крепежных болтов стойки под гайку подключают провод заземления. Для увеличения прочности сварного шва между стойкой и пяткой необходимо вводить дополнительный элемент - косынку, которую располагают в плоскости воспринимаемого напряжения. Пятка стойки должна иметь не менее четырех отверстий, предназначенных для крепежа пятки к фундаменту и к проводу заземления.

10.2.3 Для защиты от неблагоприятного воздействия окружающей среды стальные стойки покрывают слоем цинка методом горячего цинкования толщиной не менее 80 мкм. Стойки могут быть дополнительно окрашены специальными цинкосодержащими красками.

10.2.4 Для крепления стоек к фундаменту используют крепеж с защитой от коррозии.

10.3 Требования к фундаментам

10.3.1 Тип фундамента акустического экрана выбирают с учетом инженерно-геодезических и инженерно-геологических изысканий на участке строительства акустического экрана, выполненных в соответствии с [7] и [8].

10.3.2 Проектирование фундаментов акустических экранов следует проводить согласно [5] и [6].

10.3.3 При проектировании акустических экранов допускается применять следующие типы фундаментов:

- столбчатый фундамент;

- ленточный монолитный фундамент, устраиваемый по всей длине акустического экрана;

- свайные фундаменты (висячие сваи или сваи-стойки), устраиваемые, когда инженерно-геологическая обстановка не позволяет применить ленточные фундаменты.

10.3.4 Длину и тип свай определяют на основании анализа инженерно-геологической ситуации. На сваи опирают монолитный железобетонный ростверк, к которому крепят конструкции акустического экрана.

10.3.5 Фундаменты акустических экранов должны соответствовать требованиям [5] и [6].

10.3.6 Фундаменты акустических экранов рассчитывают по двум группам предельных состояний - по несущей способности и по деформациям (осадкам, кренам, прогибам и пр.).

10.3.7 Расчеты несущей способности (прочности) фундаментов выполняют в соответствии с требованиями [5] и [6]. При этом значения нагрузок и воздействий на фундаменты, значения коэффициентов надежности по нагрузкам, а также подразделение нагрузок принимают в соответствии с требованиями [3].

10.3.8 Расчет усилий в фундаментах и их деформации выполняют в соответствии с [9] и [10].

10.3.9 При проектировании фундаментов необходимо учитывать имеющиеся подземные коммуникации, находящиеся в зоне установки акустического экрана. В случае пересечения фундаментом акустического экрана устройств железнодорожной автоматики, телемеханики и иных железнодорожных коммуникаций в фундаменте акустического экрана должны быть предусмотрены соответствующие отверстия.

10.3.10 Для акустических экранов, устанавливаемых на насыпях, в месте их примыкания к поверхности насыпи должен быть предусмотрен армированный бетонный цоколь с минимальной толщиной 130 мм. Верхняя кромка цоколя не должна выходить за пределы верхней постели шпал.

11 Требования к шумозащищенности проемов (разрывов) в акустических экранах

11.1 Для обеспечения обслуживания железнодорожных путей, средств связи и пр., а также для прохода обслуживающего персонала в конструкции акустических экранов должны быть предусмотрены двери или проемы. Расстояния между соседними проемами не должны превышать 300 м.

11.2 Для предупреждения снижения акустической эффективности экранов в местах расположения проемов (разрывов) должны быть установлены симметрично проему (разрыву) со стороны объектов защиты контрэкраны согласно рисунку 6.

1 - железнодорожный путь; 2 - акустический экран;
3 -
проем (разрыв) в акустическом экране; 4 - контрэкран

Рисунок 6 - Схема расположения контрэкрана

11.3 Контрэкран устанавливают напротив проема (разрыва) на расстоянии d, составляющем от 1,5 до 2,5 м от акустического экрана. Длина контрэкрана (Lкэ) должна составлять (lпр + 4dj).

11.4 Контрэкран выполняют из тех же материалов и той же поверхностной плотности, что и основной акустический экран. Чтобы не допустить снижения акустической эффективности основного акустического экрана в месте разрыва, высоту контрэкрана следует принимать минимум на 0,6 м больше высоты основного акустического экрана, если она составляет от 3 до 4,5 м, и минимум на 0,9 м больше, если высота акустического экрана превышает 4,5 м.

11.5 Вместо контрэкрана допустима установка в проеме звукоизолирующей двери, при этом размеры двери и проема должны соответствовать друг другу, в то время как при контрэкране проем может иметь значительно большую длину по сравнению с дверями и позволять пропуск не только людей, но и техники. Звукоизолирующие двери должны иметь звукоизоляцию не ниже звукоизоляции акустического экрана. Дверь в проеме должна иметь размеры не менее (1,0´2,0) м и должна быть уплотнена по периметру прокладками из мягкой резины. Для обеспечения плотного закрывания дверь должна иметь запорное устройство, но только со стороны пути, и открываться наружу.

12 Требования к электробезопасности акустических экранов

12.1 Акустические экраны, особенно выполненные из железобетона и/или металла, должны быть заземлены для предотвращения случайного поражения людей током при обрыве контактного провода на электрифицированных участках железнодорожных путей и попадания его на акустический экран или при ударе молнии в акустический экран.

12.2 Требуемое сопротивление заземления не должно превышать 0,5 Ом.

12.3 Должно быть выполнено заземление первой и последней стоек акустического экрана, а также стоек через каждые 20 - 25 м.

Пример схемы заземляющего устройства показан на рисунке 7.

1 - фундамент; 2 - монтажная плита; 3 - крепление заземляющего провода;
4 -
заземляющий провод; 5 - заземлитель; 6 - траншея

Рисунок 7 - Схема заземления

12.4 Заземлители изготавливают из стали, перед установкой они должны быть очищены от ржавчины, следов масла и т.п. Соединения частей заземлителя, а также соединение заземлителей с заземляющими проводниками должны быть сварными. Сварные швы, распложенные в земле, должны быть покрыты защитным покрытием, исключающим коррозию соединений. После монтажа заземляющих устройств перед засыпкой траншеи должно быть измерено сопротивление заземления, составлен акт освидетельствования скрытых работ и паспорт на заземляющее устройство согласно [11].

13 Требования к пожарной безопасности акустических экранов

13.1 Документация на акустические экраны должна содержать требования к пожарной безопасности акустических экранов в соответствии с [12].

13.2 Требования пожарной безопасности к материалам акустических экранов, а также требуемую техническую документацию на акустические экраны в части пожарной безопасности устанавливают согласно [12].

14 Требования безопасности при эксплуатации акустических экранов

14.1 При проектировании акустических экранов должны быть предусмотрены двери или проемы, позволяющие обеспечивать при экстренных ситуациях эвакуацию пассажиров и обслуживающего персонала.

14.2 Если акустический экран расположен на насыпи, то со стороны проемов и дверей на насыпи сооружают ступени с перилами.

14.3 Со стороны железнодорожных путей около проемов (разрывов) и дверей в акустических экранах должны быть установлены таблички с надписью «Выход». На акустический экран со стороны железнодорожных путей через каждые 25 м должны быть нанесены люминесцентной краской указатели направления движения к ближайшим проходам через акустический экран.

14.4 Требования к комплектности, маркировке, транспортированию и хранению акустических экранов должны быть приведены изготовителем в технических условиях на акустический экран.

15 Архитектурно-эстетические требования к акустическим экранам

15.1 Конструктивные решения акустических экранов должны быть архитектурно-выразительными и учитывать тип местности, на которой устанавливаются акустические экраны. Следует применять такие конструкции и внешнюю отделку акустических экранов, которые позволяют органично вписывать акустический экран в окружающий ландшафт.

15.2 Для улучшения эстетического восприятия акустических экранов следует избегать резкого обрыва верхней граничной линии акустических экранов около их концов. Акустические экраны должны начинаться и заканчиваться постепенным переходом от поверхности земли к проектной высоте или иметь на концах ступенчатые переходы по высоте от одного размера к другому с шагом не более 1 м.

15.3 Окраску акустических экранов выполняют с помощью красок, стойких к атмосферным воздействиям. Недопустимо применение цветовой окраски акустических экранов, которая может приводить к неразличимости сигнала светофора на фоне окрашенного акустического экрана.

15.4 При размещении акустических экранов следует избегать ухудшения освещенности железнодорожных путей и образования резких теней.

15.5 Поверхность акустических экранов, обращенная к железнодорожным путям, должна быть изготовлена из материалов, не допускающих ослепления машинистов поездов отраженным от акустического экрана светом прожекторов.

Приложение А
(справочное)

Методы определения заявленных значений звукоизоляции акустических панелей
и коэффициента звукопоглощения панелей отражающе-поглощающих
акустических экранов

А.1 Заявленные значения звукоизоляции акустических панелей и коэффициента звукопоглощения панелей отражающе-поглощающих акустических экранов определяют для партии панелей, производимых одним изготовителем по результатам измерений, выполненных в испытательных (реверберационных) помещениях по ГОСТ 27296 и ГОСТ Р 53376 с учетом неопределенностей измерений, оцениваемых в соответствии с [13].

При определении заявленных значений звукоизоляции акустических панелей и коэффициента звукопоглощения панелей отражающе-поглощающих акустических экранов учитывают:

- погрешность метода измерений, характеризуемую стандартной неопределенностью повторяемости иr результатов измерений, полученных на одном и том же образце акустической панели при одинаковых условиях, то есть при повторном применении одного и того же метода измерений в течение короткого промежутка времени между измерениями в одном и том же испытательном помещении, одним и тем же оператором, с использованием одного и того же испытательного оборудования.

Примечание - ГОСТ 27296 и ГОСТ Р 53376 не содержат данных о воспроизводимости результатов измерений звукоизоляции и коэффициента звукопоглощения;

- нестабильность процесса производства, характеризуемую стандартной неопределенностью стабильности производства ир, для оценки которой проводят измерения звукоизоляции и коэффициента звукопоглощения панелей в одной лаборатории в одинаковых условиях, как они определены выше для оценки неопределенности повторяемости, на нескольких образцах акустических экранов из одной партии;

- суммарные стандартные неопределенности ис измеренных значений звукоизоляции и коэффициента звукопоглощения акустических панелей.

А.2 Определение заявленных значений звукоизоляции партии акустических панелей

Из партии панелей выбирают п образцов. Для каждого образца в одинаковых условиях проводят j (до 25) измерений звукоизоляции по ГОСТ 27296 (5.1.1 - 5.1.5) и определяют значения звукоизоляции в октавных полосах частот, указанных в 7.6.

Вычисляют п соответствующих среднеарифметических значений  дБ, и оценивают п средних квадратических отклонений sm, дБ, по формулам:

                                                   (A.1)

                                            (А.2)

где Rmi - i-e измеренное значение звукоизоляции m-го образца;

j - число измерений на т образце;

т - номер образца в выборке.

В качестве оценки стандартной неопределенности повторяемости иt, дБ, принимают максимальное значение sm:

                                                    (A.3)

Вычисляют среднеарифметическое значений звукоизоляции R, дБ, выборки и оценивают стандартную неопределенность стабильности производства ир, дБ, по формулам

                                                       (A.4)

                                              (А.5)

Оценивают суммарную стандартную неопределенность ис по формуле

                                                    (A.6)

Примечание - Значения  и ис являются оценками соответственно истинных среднего значения и суммарной стандартной неопределенности партии образцов акустических панелей.

Заявленное значение звукоизоляции Rd, дБ, партии акустических панелей соответствует нижней границе доверительного интервала, определяемой при доверительной вероятности 0,95 по формуле

                                                     (A.7)

Заявлению в технической документации на акустический экран подлежат значения обеих величин Rd и ис, округленные до ближайшего целого значения.

А.3 Определение заявленных значений коэффициента звукопоглощения партии панелей отражающе-поглощающих акустических экранов

Из партии панелей, предназначенных для изготовления отражающе-поглощающих акустических экранов, выбирают п образцов. Для каждого образца в одинаковых условиях проводят j (не менее 5) измерений звукопоглощения по ГОСТ Р 53376 и определяют значения коэффициента звукопоглощения в октавных полосах частот, указанных в 7.6.

Вычисляют n соответствующих среднеарифметических значений  и оценивают n средних квадратических отклонений sm по формулам

                                                    (А.8)

                                         (A.9)

где αmi - i-e измеренное значение коэффициента звукопоглощения m-го образца;

j - число измерений на т образце;

т - номер образца в выборке.

В качестве оценки стандартной неопределенности повторяемости ur принимают максимальное значение sm в соответствии с формулой (А.3).

Вычисляют среднеарифметическое значение коэффициента звукопоглощения  выборки и оценивают стандартную неопределенность стабильности производства ир по формулам:

                                                    (А.10)

                                            (A.11)

Оценивают суммарную стандартную неопределенность ис по формуле (А.6).

Примечание - Значения  и uc являются оценками соответственно истинных среднего значения и суммарной стандартной неопределенности партии образцов акустических панелей.

Заявленное значение звукопоглощения партии акустических панелей соответствует нижней границе доверительного интервала, определяемой при доверительной вероятности 0,95 по формуле

                                                    (A.12)

Заявлению в технической документации на акустический экран подлежат значения обеих величин αd и ис с округлением αd до одного знака после запятой, ис - до двух знаков после запятой.

Библиография

[1]

Постановление правительства РФ № 87 от 16.02.2008 г.

О составе разделов проектной документации и требованиях к их содержанию

[2]

Санитарно-эпидемиологические правила и нормативы СанПиН 2.2.1/2.1.1.1200-03

Санитарно-защитные зоны и санитарная классификация предприятий, сооружений и иных объектов

[3]

Свод правил СП 20.13330.2011

Нагрузки и воздействия

[4]

Свод правил СП 16.13330.2011

Стальные конструкции

[5]

Свод правил СП 22.13330.2011

Основания зданий и сооружений

[6]

Свод правил СП 24.13330.2011

Свайные фундаменты. Актуализированная редакция СНиП 2.02.03-85

[7]

Строительные нормы и правила СНиП 11-02-96

Инженерные изыскания для строительства. Основные положения

[8]

Свод правил по проектированию и строительству СП 11-105-97

Инженерно-геодезические изыскания для строительства. Часть I

[9]

Строительные нормы и правила СНиП 52-01- 2003

Бетонные и железобетонные конструкции. Основные положения

[10]

Свод правил СП 52-101-2003

Бетонные и железобетонные конструкции без предварительного напряжения арматуры

[11]

РД 153-34.0-20.525-00

Методические указания по контролю состояния заземляющих устройств электроустановок

[12]

Федеральный закон № 123-ФЗ от 22 июля 2008 г.

Технический регламент о требованиях пожарной безопасности

[13]

Рекомендации по межгосударственной стандартизации РМГ 43-2001

Государственная система обеспечения единства измерений. Руководство по выражению неопределенности измерений

 

Ключевые слова: железнодорожный транспорт, акустический экран, классификация акустических экранов, технические требования, безопасность