ОАО «РОССИЙСКИЕ ЖЕЛЕЗНЫЕ ДОРОГИ»
Департамент
пути и сооружений
Московский государственный университет путей сообщения
(МИИТ)
|
|
УТВЕРЖДАЮ Заместитель начальника Департамента пути и сооружений А.В. Бушин 16 декабря 2003 г. |
ТЕХНИЧЕСКИЕ УСЛОВИЯ
ДЛЯ КОНСТРУКЦИЙ ПУТИ НА ПОДХОДАХ
К ИСКУССТВЕННЫМ СООРУЖЕНИЯМ
Москва
2004
Технические условия содержат требования к конструкциям и материалам переходного пути с переменной жесткостью при сопряжении с безбалластными конструкциями пути на мостах и тоннелях, основанных на применении геосеток. В Технических условиях также приведены принципы проектирования конструкций и рекомендации по организации и технологии выполнения работ по их устройству.
Предназначены для использования работниками проектных организаций, служб пути, путевых машинных станций и дистанций пути при проектировании и осуществлении мероприятий по усилению рабочей зоны земляного полотна на подходе к мостам и тоннелям с безбалластными конструкциями пути.
Технические указания разработаны кафедрой «Путь и путевое хозяйство» МИИТа (д.т.н. Е.С. Ашпиз и инж. Л.B. Ерохина).
ВВЕДЕНИЕ
В настоящее время на подходах к мостам и тоннелям, имеющим безбалластные конструкции пути, типовой является обычная конструкция верхнего строения пути. Из-за разных характеристик жёсткости и деформативности этих конструкций в данной зоне происходит повышенное накопление расстройств геометрии рельсовой колеи, что приводит к увеличению объемов работ по текущему содержанию пути и сокращению сроков службы для элементов верхнего строения пути. Данные участки становятся «барьерными» местами при повышении скоростей и нагрузок на оси подвижного состава, когда динамика воздействия подвижного состава оказывается особенно значительной. На типовых конструкциях пути подходов к таким искусственным сооружениям из-за частых исправлений пути возможны ограничения скоростей движения поездов по условию обеспечения безопасности.
Анализ отечественного и зарубежного опыта показывает, что использование специальных переходных конструкций пути на подходах к искусственным сооружениям - мостам с безбалластным мостовым полотном (БМП) и тоннелям, имеющим плавное изменение жёсткости, уменьшает динамические воздействия подвижного состава на путь, расстройства элементов верхнего строения пути и мостовых или тоннельных конструкций, даёт снижение расходов на содержание пути.
Необходимость создания участков специального переходного пути с переменной жёсткостью при сопряжении с безбалластными конструкциями пути на мостах и тоннелях регламентирована CTH Ц-01-95.
Настоящие Технические условия предназначены для создания нормативной базы применения таких участков специального переходного пути с переменной жёсткостью при сопряжении с безбалластными конструкциями пути на мостах и тоннелях. Технические условия базируются на теоретических обоснованиях, натурных и лабораторных испытаниях, обобщении отечественного и зарубежного опыта.
Основные конструктивные и технологические решения приняты по результатам их апробации в ходе устройства и эксплуатации участков переменной жёсткости на подходах к мостам с безбалластными конструкциями пути при реконструкции линии Санкт-Петербург-Москва для организации пассажирского движения поездов со скоростями до 200 км/ч.
По индивидуальным проектам в опытном порядке на линии Санкт-Петербург-Москва были реализованы два варианта конструкции пути на подходах к мостам с безбалластным мостовым полотном (БМП):
- замена верхней части грунта подходной насыпи железобетонными бездонными коробами, заполненными щебнем;
- замена верхней части грунта подходной насыпи щебнем послойно армированным геосетками.
Опыт сооружения и эксплуатации реализованных конструкций показал, что переходный участок по первому варианту потребовал значительных подготовительных работ по устройству площадок для складирования коробов и сооружению подъездных дорог для подхода техники к месту работ, что не всегда выполнимо. Использование конструкций с геосетками имеет преимущество по технологичности процесса сооружения и эти конструкции более экономичны. Наблюдения в ходе эксплуатации также выявили преимущество варианта с геосетками, где ровность и стабильность рельсовой колеи оказалась лучше.
Исходя из этого, в Технических условиях предлагаются в качестве конструктивных решений - участки переменной жёсткости с заменой верхней части грунта земляного полотна щебнем послойно армированным геосетками.
1.1. Технические условия предназначены для использования работниками проектных институтов, служб пути, путевых машинных станций и дистанций пути при проектировании и осуществлении работ по сооружению участков переходного пути с переменной жёсткостью на подходах к искусственным сооружениям с безбалластной конструкцией пути.
1.2. Требования и рекомендации Технических условий распространяются на проектирование и проведение работ по созданию участков переходного пути с переменной жёсткостью на подходах к мостам с БМП или к тоннелям, для плавного сопряжения участков пути с разной жёсткостью с использованием замены верхней части грунта земляного полотна щебнем, послойно армированным геосетками.
1.3. Конструкция участков переходного пути с переменной жёсткостью должна обеспечивать устойчивую работу ж.д. пути в зоне примыкания к искусственному сооружению без ремонта в течение срока не менее,, чем период между капитальными ремонтами ж.д. пути.
1.4. Конструкции участков переходного пути с переменной жёсткостью распространяются для земляного полотна на прочном основании.
1.5. Проектирование и выполнение работ по сооружению участков переходного пути с переменной жёсткостью производятся в соответствии с настоящими Техническими условиями.
2.1. Участки переходного пути с переменной жёсткостью устраиваются на подходах к мостам и тоннелям с безбалластной конструкцией пути, расположенных на путях 1 и 2 класса, а также на путях 3 класса, где по показаниям путеизмерительного вагона отмечаются систематические расстройства рельсовой колеи.
2.2. Участки переходного пути с переменной жёсткостью рекомендуется также устраивать на подходах к железобетонным мостам с балластным корытом и к тоннелям с балластной конструкцией пути, имеющим бетонное основание, если на них отмечаются систематические расстройства рельсовой колеи.
2.3. Участки переходного пути с переменной жёсткостью не устраиваются на подходах к тоннелям, если земляное полотно в предпортальной выемке сложено скальными грунтами.
2.4. Устройство участков переходного пути с переменной жёсткостью по срокам совмещается с проведением усиленного капитального (капитального) ремонта пути либо выполняется в составе работ по усилению и реконструкции искусственных сооружений.
3.1. Основным принципом устройства участка переходного пути с переменной жёсткостью является постепенное в направлении от земляного полотна к искусственному сооружению увеличение жёсткости под-шпального основания с целью уменьшения интенсивности накопления остаточных деформаций.
3.2. Основным конструктивным решением для участка переходного пути с переменной жёсткостью является решение с применением геосеток (георешеток), в котором повышение жёсткости пути и снижение деформативности на подходе к искусственному сооружению достигается за счет увеличения в направлении сооружения толщины щебня с армированием геосетками, заменяющего верхний слой грунтов земляного полотна.
3.3. Для создания участков переходного пути с переменной жёсткостью при соответствующем обосновании могут применяться и другие конструктивные решения.
3.4. Толщина замены грунта щебнем в конструктивных решениях составляет 0,0 м в начале участка, увеличиваясь до 1,0 м у искусственного сооружения. Для исключения боковых деформаций в щебне замены и восприятия, возникающих в нем растягивающих усилий, он армируется слоями геосеток (георешеток) с шагом между ними по толщине 20 см.
3.5. Для снижения жёсткости подшпального основания и контактных напряжений на балласт на искусственном сооружении в местах перехода с земляного полотна (устои моста, портальные участки тоннеля) укладываются упругие прокладки по подошве шпалы либо упругие подбалластные маты на бетон сооружения. Упругие прокладки и упругие маты выполняются из резины или полиуретана. Срок службы упругих элементов принимается не менее 30 лет. Требования к материалам упругих элементов регламентируются п. 4 Технических условий.
3.6. Длина участка переходного пути с переменной жёсткостью на подходе к искусственному сооружению Lпж определяется для каждого конкретного объекта протяжением фактической зоны повышенных расстройств пути. Для выделения этих зон используются данные путеизмерительных вагонов, результаты испытаний нагрузочными поездами.
3.7. Минимальная длина участка изменения жёсткости на подходе (Lпж) при этом в зависимости от скорости движения поездов принимается по данным табл. 3.1.
3.8. Для замены грунта применяется щебень твердых пород с размером фракций до 40 мм. Щебень для замены грунта укладывается послойно с уплотнением. Модуль деформации щебня в уплотненном состоянии должен обеспечиваться не ниже Ещ = 100 МПа. Поверхность вырезки грунта земляного полотна для возможности отвода воды выполняется с уклоном 0,04 в полевую сторону, а для предотвращения попадания в материал замены мелких частиц на неё укладывается нетканый материал.
Минимальные длины участка изменения жёсткости на подходе
|
Максимальная скорость движения поездов, км/ч |
более 120 |
80 - 120 |
менее 80 |
|
Минимальная длина участка Lпж, м |
25 |
20 |
15 |
3.9. На участках подходов земляного полотна, сложенных пучинистыми грунтами, если граница промерзания входит в эти грунты в сечении с максимальной толщиной замены, то под балластной призмой предусматривается укладка тепловой изоляции из плит экструдированного пенополистирола.
Толщина тепловой изоляции назначается теплотехническим расчетом из условия расположения границы промерзания в сечении с максимальной толщиной щебня замены в этом слое.
3.10. На подходных участках к мостам, когда земляное полотно представлено насыпью, отвод воды с геотекстиля осуществляется в поперечный дренаж в виде полимерной дренажной трубы, располагаемой за шкафной стенкой устоя, с выводом его на поверхность.
3.11. При расположении подходного участка в выемке (подход к тоннелю) отвод воды из низа слоя замены устраивается в продольный трубчатый дренаж, который укладывается на отметках ниже геотекстиля.
3.12. Ширина слоя замены грунта (ширина геосеток) под один путь принимается не менее 4,0 м.
3.13. В качестве армирующих элементов принимаются геосетки или георешетки, требования к которым регламентированы в п. 4 Технических условий.
3.14. Верхний слой георешетки заводится на жёсткое основание искусственного сооружения (устой моста или портал тоннеля) на величину не менее 3 м, что обеспечивает плавность в месте сопряжения искусственного сооружения с земляным полотном.
3.15. На участках с бесстыковым путем стыки рельсовых плетей должны располагаться вне пределов участка переходного пути с переменной жёсткостью, а на участках звеньевого пути стыки звеньев должны быть не ближе 10 м от сечения перехода с земляного полотна на искусственное сооружение (начало устоя, портал тоннеля).
3.16. Вариант конструкции переходного пути с переменной жёсткостью на подходе к мосту представлен на рис. 1 - 3, а на подходе к тоннелю - на рис. 4 - 6.
Рис. 1. Продольный профиль конструктивного решения
участка переменной жёсткости на подходах к мостам

Рис. 2. Поперечное сечение конструктивного решения
участка переменной жёсткости на подходах к мостам
в пределах земляного полотна
Рис. 3. Поперечное сечение конструктивного решения
участка переменной жёсткости на подходах к мостам в пределах устоя моста
Рис. 4. Продольный профиль конструктивного решения
участка переменной жёсткости на подходах к тоннелям

Рис. 5. Поперечное сечение конструктивного решения
участка переменной жёсткости на подходе к тоннелям в пределах земляного полотна
Рис. 6. Поперечное сечение конструктивного решения
участка переменной жёсткости в тоннеле
4.1. Для применения в конструкции участков переходного пути с переменной жёсткостью применяются полимерные материалы (геосетки, георешетки, упругие подшпальные прокладки и упругие подбалластные маты), которые удовлетворяют необходимым требованиям по прочности и долговечности и прошли сертификационные испытания на соответствие.
4.2. Для армирования щебня, заменяющего грунт, применяются геосетки тканые или вязаные из синтетических волокон либо георешетки, полученные из отдельных полос пластмассы или перфорированием её листов.
4.3. Геосетки (георешетки), используемые в конструкциях переходного пути с переменной жёсткостью, изготавливаются из полипропилена, полиэтилена или полиэфира.
4.4. Геосетки (георешетки) должны иметь в обоих направлениях одинаковую прочность (двухосные геосетки).
Основные технические требования к ним представлены в табл. 4.1.
Основные требования к геосеткам и георешеткам
|
№ п/п |
Показатель |
Размерность |
Величина |
|
1. |
Поверхностная плотность |
г/м2 |
≥ 200 |
|
2. |
Расчётная прочность на растяжение в продольном и поперечном направлении |
кН |
≥ 200 |
|
3. |
Относительное удлинение при разрыве |
% |
< 15 |
|
4. |
Не поддаваться воздействию |
Кислот, щелочей и бактерий природного происхождения |
|
|
5. |
Выдерживать воздействие прямых солнечных лучей без снижения прочности |
В течение не менее месяца |
|
|
6. |
Геометрические размеры: |
|
|
|
ширина |
м |
≥ 4,0 |
|
|
размер ячейки |
мм×мм |
2d50×2d50* |
|
_______________
* d50 - диаметр частиц, мм, меньше которых в щебне замены содержится 50 % по массе частиц.
4.5. Расчётная величина прочности геосетки (георешетки) на растяжение Rp (табл. 4.1) выбрана из условия восприятия максимальных горизонтальных растягивающих сил в уровне основной площадки с учётом возможного снижения этих характеристик, с учётом ползучести, старения и повреждений материала при сроке службы не менее 60 лет.
Эта величина для выбранной марки материала вычисляется через краткосрочное сопротивление разрыву R0 (характеризует марку материала и даётся фирмой производителем) по формуле
|
|
(4.1) |
где: kτ - коэффициент снижения прочности материала за счёт его ползучести в течение расчётного срока службы сооружения τ = 60 лет;
γ0 - коэффициент надёжности изготовления материала;
γ1 - коэффициент надёжности укладки материала;
γрH - коэффициент надёжности химической стойкости материала.
Значения коэффициента ползучести и коэффициентов надёжности по материалу определяются для каждой марки геосинтетика по результатам испытаний.
При этом коэффициент ползучести kτ меньше единицы и уменьшается с увеличением срока службы сооружения, а коэффициенты надёжности γ0, γ1 и γрH, больше или равны единице и учитывают:
γ0 - неоднородность характеристик изготовленного материала и погрешность их определения в ходе испытаний;
γ1 - возможность повреждения материала в ходе его укладки (большие значения соответствуют более абразивному и крупному грунту вокруг синтетика);
γрH - возможную агрессивность грунтовой среды и определяется в зависимости от значения pH.
4.6. Размер ячейки геосетки (георешетки) подбирается равным удвоенному размеру средних частиц щебня замены (d50), исходя из заклинивания в геосинтетике двух щебенок (табл. 4.1).
4.7. Упругие элементы (упругие подшпальные прокладки и упругие подбалластные маты) изготавливаются из резины или полиуретана.
4.8. Толщина и модуль деформации упругих элементов выбираются из условия обеспечения их сжатия от действующей поездной нагрузки на 0,5 - 1,0 мм. При этом толщина упругих прокладок принимается не более 20 мм, а упругих подбалластных матов - не более 40 мм.
4.9. Прочностные свойства упругих элементов выбираются из условия выдерживания ими действующих пиковых напряжений без возникновения необратимых остаточных деформаций и повреждений.
4.10. Для повышения надежности и долговечности работы упругих элементов на их поверхности, контактирующей со щебнем, может приклеиваться защитный слой, выполняемый, например, из геотекстиля.
4.11. Упругие прокладки приклеиваются к нижней поверхности железобетонной шпалы.
5.1. Общие положения
5.1.1. Участки переходного пути с переменной жёсткостью устраивают в самостоятельные технологические «окна» продолжительностью, определяемой по расчёту в зависимости от объёмов работ и принятой технологии.
5.1.2. Наиболее целесообразно одновременно в одно «окно» выполнять участки переходного пути с переменной жёсткостью на подходах к искусственному сооружению с двух сторон. На двухпутных линиях устройство участков переходного пути с переменной жёсткостью можно выполнять одновременно под два пути в одно «окно» либо в отдельные «окна» для устройства участка по каждому пути.
5.1.3. Технологический процесс выполнения работ по устройству участков переходного пути с переменной жёсткостью проектируется в зависимости от имеющейся путевой и строительной техники, с учётом максимальной механизации работ и повышения производительности основных работ в «окно» с целью сокращения его времени действия.
5.1.4. Все работы по устройству участков переходного пути с переменной жёсткостью разделяются на подготовительные, основные и отделочные.
5.1.5. Для сокращения времени производства основных работ в «окно» в подготовительных работах выполняется срезка возможных лишних объёмов балласта и грунта, производится замена в пределах участка работ рельсовых плетей на звенья инвентарного пути.
5.1.6. При выполнении работ по устройству участков переменной жёсткости из геосинтетиков необходимо соблюдать требования Правил технической эксплуатации железных дорог, Инструкции по сигнализации на железных дорогах РФ, Инструкции по обеспечению безопасности движения поездов при производстве путевых работ, Инструкции по текущему содержанию железнодорожного пути, Правил техники безопасности и производственной санитарии при ремонте и содержании пути и сооружений, Технических условий на работы по ремонту и планово-предупредительной выправке пути.
5.1.7. Типовые технологические схемы выполнения работ с закрытием перегона по двум путям одновременно и только по одному пути представлены ниже.
5.2. Технология работ по устройству переходного пути с переменной жёсткостью на двухпутном участке с закрытием перегона по обоим путям
5.2.1. Характеристика участка
5.2.1.1. Участок пути двухпутный, относится к I или II классу пути, расположен на насыпи. Длина переходного участка - 25 м. Верхнее строение до ремонта: длинномерные рельсовые плети длиной 800 м из рельсов типа Р65, скрепление типа КБ, шпалы железобетонные, балласт щебёночный. Пролетное строение металлического моста с плитами БМП.
5.2.1.2. В плане путь расположен на прямом участке.
5.2.1.3. Конструкция верхнего строения пути не меняется.
5.2.2. Условия проведения работ
5.2.2.1. По принятой технологии устройство переходного пути производится в одно «окно» с закрытием обоих путей.
5.2.2.2. Геосинтетики у устоя укладываются в 5 слоёв с постепенным сведением каждого слоя на нет. При этом срезка грунта насыпи осуществляется в каждом сечении на расчётную глубину, обеспечивающую плавное повышение модуля упругости пути от устоя к обычному пути.
5.2.2.3. Характеристика геосеток (георешеток) для создания участков переменной жёсткости принимается такой же, как и для армирующих прослоек при усилении основной площадки земляного полотна. Характеристики материалов должны соответствовать техническим требованиям, утвержденным МПС Российской Федерации, а сами материалы должны быть сертифицированы и пройти приёмочные испытания.
5.2.2.4. Толщина единичного слоя щебня между георешетками (геосетками) для возможности создания требуемого уплотнения и гарантированного предотвращения боковых деформаций принимается 20 см, а длина участка с одинаковым числом слоёв геосинтетика - 5 м.
5.2.2.5. Ширина геосеток (георешеток) под один путь принимается равной стандартной ширине рулона, 4 м.
5.2.2.6. Для отвода воды от грунтов земляного полотна у шкафной стенки укладывается дренаж из труб, а поверхность вновь формируемой основной площадки земляного полотна имеет поперечный уклон 0,04.
5.2.2.7. До проведения основных работ производится замена старогодных рельсовых плетей на инвентарные рельсы.
5.2.2.8. Стыки рельсовых плетей бесстыкового пути выносятся на типовую конструкцию пути на земляном полотне вне участка с переменной жёсткостью.
5.2.3. Организация работ
5.2.3.1. Подготовительные работы:
- снятие путевых знаков, удаление за габарит рабочих органов препятствий, которые могут вызвать остановку или повреждение путевой техники;
- уборка машиной СЗП-600 с обочины лишнего балласта и срезка обочины до проектных отметок;
- устройство площадок с полевой стороны одного из путей для временного размещения щебня, разметка участка работ и закрепление на реперах или опорах контактной сети проектных отметок, подготовка полимерных материалов, доставка землеройной техники;
- складирование щебня на отсыпанной площадке;
- разрезка в отдельные технологические «окна» плетей на звенья с устройством стыков. Резка плетей на звенья начинается от искусственного сооружения. Первый стык должен располагаться в пределах искусственного сооружения. Общая длина звеньевого пути 50 м.
5.2.3.2. Основные работы в «окно»:
1) Работы в «окно» выполняются двумя машинизированными комплексами в составе путеукладочного крана УК-25/9-18 (кран УК), выправочной машины ВПР-02 (машина ВПР-02), динамического стабилизатора ДСП-С4 (стабилизатор ДСП), быстроходного планировщика балласта ПБ (планировщик балласта ПБ), хопперов-дозаторов. Работы по срезке старого балласта и грунта осуществляются комплексом землеройных машин. Комплекс включает: экскаватор обратная лопата ЭО-4321 (экскаватор ЭО-4321), два бульдозера на базе трактора Т-170 и фронтальный автопогрузчик.
2) Для проведения работ на станции примыкания формируются шесть рабочих поездов: два крана УК-25/9-18 с платформами и локомотивами в голове, два состава из хопперов-дозаторов с локомотивом и в сцепе машины ВПР-02, стабилизатор ДСП и планировщик балласта ПБ.
3) Оформляется закрытие перегона по обоим путям, путеукладочные краны следуют к фронту работ, 6 монтёров пути и 1 машинист ведут электрогаечными ключами разболчивание стыков, оставляя на рельсах накладки, сболченные на один болт.
4) По мере подготовки фронта работ краны УК-25/9-18 демонтируют по два звена решетки по каждому пути подхода к искусственному сооружению, формируют их в пакеты и перемещают на платформы, где они закрепляются. Работу выполняют 11 монтёров пути и 5 машинистов по обоим путям с одной стороны моста.
5) Далее землеройным комплексом, состоящим из экскаватора обратная лопата ЭО-4321, фронтального погрузчика и двух бульдозеров на базе трактора Т-170, производится срезка балласта и грунта насыпи, его сдвижка на откос и планировка основания под покрытие. Экскаватор разрабатывает грунт между крыльями устоя, бульдозеры выполняют работы по всему фронту участка (протяжение порядка 25 - 30 м) с одной стороны моста. Схема вырезки на двухпутном участке представлена на рис. 7. Контроль землеройных работ ведется нивелировкой.

Рис. 7. Схема вырезки па двухпутном участке
П - глубина вырезки грунта насыпи у устоя; hб - высота балластного слоя
6) На подготовленное основание в соответствие с проектом вручную 4 монтёрами пути выполняется укладка слоя геотекстиля (пенополистирола), у задней стенки устоя 2 монтёрами пути выполняются работы по монтажу поперечного дренажа из полимерной трубы для отвода воды.
7) На бетонное основание по устою вручную 4 монтёрами пути укладываются в соответствии с проектом упругие подбалластные маты.
8) По уложенному геосинтетику фронтальным погрузчиком из места временного складирования развозится щебень для первого прослоя, который методом надвижки разравнивается бульдозером. При этом фронтальный погрузчик и бульдозер двигаются по спланированному щебню толщиной 20 см. Движение техники на гусеничном ходу непосредственно по геосинтетику не допускается.
9) На сформированный первый слой щебня 2 монтёра пути укладывают нижний самый короткий слой геосетки (георешетки).
10) По уложенному слою геосетки (георешетки) фронтальным погрузчиком из места временного складирования развозится щебень для следующего слоя, который методом надвижки разравнивается бульдозером.
11) Аналогично, последовательно производится укладка всех остальных слоёв геосетки (георешетки) и формирование на них щебёночных слоев (щебень фракций 20 - 40 мм, толщина слоя 20 см). Надвижка щебня производится бульдозерами и фронтальным погрузчиком.
12) Работы по пунктам 6 - 11 выполняются параллельно на обоих путях подхода к мосту.
13) Укладка кранами УК-25/9-18 в обратном движении звеньями снятую ранее рельсошпальную решетку производится на подходе к мосту по двум путям. Работу выполняют 5 машинистов и 16 монтёров пути, из них 4 монтёра устанавливают нормальные стыковые зазоры.
14) За путеукладчиком 6 монтёров пути и 1 машинист устанавливают накладки и стыковые болты, сболчивают их электрогаечными ключами.
15) Вслед за сболчиванием стыков и уходом путеукладочного крана производится выгрузка щебня из хопперов-дозаторов для подъёмки пути на первый слой балласта по первому и второму пути. На операции задействованы 2 машиниста и 2 монтёра пути.
16) Подъёмка, выправка пути в плане и профиле выполняются машиной ВПР-02, обслуживаемой 4 машинистами.
17) Уплотнение и стабилизация балласта выполняются стабилизатором ДСП, обслуживаемым 2 машинистами.
18) По окончании работы стабилизатора он вместе с машиной ВПР-02 возвращается к началу участка и производится выгрузка щебня из хопперов-дозаторов для подъёмки пути на второй слой балласта. На операции задействованы 2 машиниста и 2 монтёра пути.
19) Производится вторичная подъёмка, выправка пути в плане и профиле машиной ВПР-02, обслуживаемой 4 машинистами.
20) Производится уплотнение и стабилизация второго слоя балласта стабилизатором ДСП, обслуживаемым 2 машинистами.
21) По окончании стабилизации выполняется оправка призмы и формирование её плеча шириной не менее 25 см планировщиком балласта ПБ, который обслуживается 2 машинистами.
22) Перед открытием перегона производится проверка состояния пути на всем участке, после выполнения основных работ путь приводится в состояние, обеспечивающее безопасный пропуск одного-двух поездов по месту работ со скоростью 25 км/час, и последующих с установленной скоростью.
23) Перегон открывают для движения поездов: первых одного-двух со скоростью 25 км/ч, последующих не менее 60 км/ч.
График основных работ в «окно» представлен на рис. 8.
5.2.3.3. Отделочные работы
1) После обкатки пути поездами производится выправка пути с постановкой его на проектные отметки машиной ВПР-02. В комплексе с машиной работают стабилизатор ДСП, планировщик балласта ПБ.
2) Машина СЗП-600 в комплексе с составом, обслуживаемая 7 машинистами, производит уборку и вывоз с откосов вырезанного балласта и грунта.
Рис. 8. График производства основных работ в «окно» по
устройству участка
переменной жёсткости на подходе к мосту с закрытием перегона по двум путям
5.3. Технология работ по устройству переходного пути с переменной жёсткостью на двухпутном участке с закрытием перегона по одному пути
5.3.1. Характеристика участка
5.3.1.1. Участок пути двухпутный, относится к I или II классу пути, расположен на насыпи. Длина переходного участка - 25 м. Верхнее строение до ремонта: длинномерные рельсовые плети длиной 800 м из рельсов типа Р65, скрепление типа КБ, шпалы железобетонные, балласт щебёночный. Пролетное строение металлического моста с плитами БМП.
5.3.1.2. В плане путь расположен на прямом участке.
5.3.1.3. Конструкция верхнего строения пути не меняется.
5.3.2. Условия проведения работ
5.3.2.1. По принятой технологии устройство переходных участков пути двух подходов одного пути производится в одно «окно» с закрытием перегона по одному пути.
5.3.2.2. Геосинтетики у устоя укладываются в 5 слоёв с постепенным сведением каждого слоя на нет. При этом срезка грунта насыпи осуществляется в каждом сечении на расчётную глубину, обеспечивающую плавное повышение модуля упругости пути от устоя к обычному пути.
5.3.2.3. Характеристика геосеток (георешеток) для создания участков переменной жёсткости принимается такой же, как и для армирующих прослоек при усилении основной площадки земляного полотна. Характеристики материалов должны соответствовать техническим требованиям, утвержденным МПС Российской Федерации, а сами материалы должны быть сертифицированы и пройти приёмочные испытания.
5.3.2.4. Толщина единичного слоя щебня между георешетками (геосетками) для возможности создания требуемого уплотнения и гарантированного предотвращения боковых деформаций принимается 20 см, а длина участка с одинаковым числом слоёв геосинтетика - 5 м.
5.3.2.5. Ширина геосеток (георешеток) под один путь принимается равной стандартной ширине рулона, 4 м.
5.3.2.6. Для отвода воды от грунтов земляного полотна у шкафной стенки укладывается дренаж из труб, а поверхность вновь формируемой основной площадки земляного полотна имеет поперечный уклон 0,04.
5.3.2.7. До проведения основных работ производится замена старогодных рельсовых плетей на инвентарные рельсы.
5.3.2.8. Стыки рельсовых плетей бесстыкового пути выносятся на типовую конструкцию пути на земляном полотне вне участка с переменной жёсткостью.
5.3.3. Организация работ
5.3.3.1. Подготовительные работы:
- Снятие путевых знаков, удаление за габарит рабочих органов препятствий, которые могут вызвать остановку или повреждение путевой техники;
- Уборка машиной СЗП-600 с обочины лишнего балласта и срезка ее до проектных отметок;
- Устройство площадок с полевой стороны пути для временного размещения щебня, разметка участка работ и закрепление на реперах или опорах контактной сети проектных отметок, подготовка полимерных материалов, доставка землеройной техники;
- Складирование щебня на отсыпанной площадке;
- Разрезка в отдельные технологические «окна» плетей на звенья с устройством стыков. Резка плетей на звенья начинается с устоя моста. Первый стык должен располагаться на пролётном строении или на шкафной стенке. Общая длина звеньевого пути 50 м с каждой стороны моста.
- Забивка временной шпунтовой стенки по длине планируемого переходного участка (25 м) в междупутье на подходах к мосту для предотвращения обсыпания балласта и грунта насыпи со смежного пути во время проведения работ в «окно».
5.3.3.2. Основные работы в «окно»:
1) Работы в «окно» выполняются машинизированным комплексом в составе крана УК-25/9-18, машины ВПР-02, стабилизатора ДСП, планировщика балласта ПБ, хопперов-дозаторов. Работы по срезке старого балласта и грунта осуществляются комплексом землеройных машин. Комплекс включает: экскаватор обратная лопата ЭО-4321, два бульдозера на базе трактора Т-170 и фронтальный автопогрузчик.
2) Для проведения работ на станции примыкания формируются три рабочих поезда: кран УК-25/9-18 с платформами и локомотивам в голове, состав из хопперов-дозаторов с локомотивом и в сцепе машины ВПР-02, стабилизатор ДСП и планировщик балласта ПБ.
3) Оформляется закрытие перегона по одному пути, путеукладочный кран следует к фронту работ, 6 монтёров пути и 1 машинист производят разболчивание стыков электрогаечными ключами, оставляя на рельсах накладки, сболченные на один болт.
4) По мере подготовки фронта работ кран УК-25/9-18 демонтируют по два звена решетки пути с каждой стороны подхода к искусственному сооружению, формируют их в пакеты и перемещают на платформы, где они закрепляются. Работу выполняют 11 монтёров пути и 5 машинистов по одному пути с двух сторон моста.
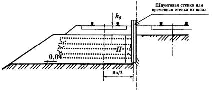
5) Далее землеройными комплексами, состоящими из экскаватора обратная лопата ЭО-4321, фронтального погрузчика и бульдозера на базе трактора Т-170, производится срезка балласта и грунта насыпи по одному пути, его сдвижка на откос и планировка основания под покрытие. Экскаватор разрабатывает грунт у устоя от обочины до междупутья, бульдозер выполняет работы по всему фронту участка (протяжение порядка 25 - 30 м) по одному пути с каждой стороны моста. Схема вырезки грунта насыпи на двухпутном участке представлена на рис. 9. Контроль землеройных работ ведется нивелировкой.

Рис.
9. Схема вырезки грунта основной площадки земляного полотна
при закрытии перегона по одному пути
П - глубина срезки верхней части насыпи у устоя
6) На подготовленное основание в соответствии с проектом, вручную, 4 монтёрами пути выполняется укладка слоя геотекстиля (пенополистирола); у задних стенок устоя 2 монтёрами пути выполняются работы по монтажу поперечного дренажа из полимерной трубы для отвода воды от середины междупутья к откосу.
7) На бетонное основание по устоям, вручную, 4 монтёрами пути укладываются в соответствии с проектом упругие подбалластные маты или подшпальные упругие резиновые подкладки.
8) По уложенному геосинтетику фронтальным погрузчиком из места временного складирования развозится щебень для первого слоя, который методом надвижки разравнивается бульдозером. При этом фронтальный погрузчик и бульдозер двигаются по спланированному слою щебня толщиной 20 см. Движение техники на гусеничном ходу непосредственно по геосинтетику не допускается.
9) На сформированный первый слой щебня 2 монтёра пути укладывают нижний самый короткий слой георешетки (геосетки).
10) По уложенному слою георешетки (геосетки) фронтальным погрузчиком из места временного складирования развозится щебень для следующего слоя, который методом надвижки разравнивается бульдозером.
11) Аналогично, последовательно производится укладка всех остальных слоев георешетки (геосетки) и формирование на них щебеночных слоев (щебень фракций 20 - 40 мм, толщина слоя 20 см); надвижка щебня - бульдозером и фронтальным погрузчиком.
12) Работы по пунктам 5 - 11 выполняются параллельно на обоих подходах к мосту.
13) Укладка краном УК-25/9-18 в обратном движении звеньями снятую ранее рельсошпальную решетку на подходах к мосту по одному пути. Работу выполняют 5 машинистов и 16 монтёров пути, из них 4 заняты на установке нормальных стыковых зазоров.
14) За путеукладчиком 6 монтёров пути и 1 машинист устанавливают накладки и стыковые болты, сболчивают их электрогаечными ключами.
15) Вслед за сболчиванием стыков и уходом путеукладочного крана производится выгрузка щебня из хопперов-дозаторов для подъёмки пути на первый слой балласта по первому пути. На операции задействованы 2 машиниста и 2 монтёра пути.
16) Подъёмка, выправка пути в плане и профиле выполняются машиной ВПР-02, обслуживаемой 4 машинистами.
17) Уплотнение и стабилизация балласта выполняются стабилизатором ДСП, обслуживаемым 2 машинистами.
18) По окончании работы стабилизатора он вместе с машиной ВПР-02 возвращаются к началу участка и производится выгрузка щебня из хопперов-дозаторов для подъёмки пути на второй слой балласта. На операции задействованы 2 машиниста и 2 монтёра пути.
19) Производится вторичная подъёмка, выправка пути в плане и профиле машиной ВПР-02, обслуживаемой 4 машинистами.
20) Производится уплотнение и стабилизация второго слоя балласта стабилизатором ДСП, обслуживаемым 2 машинистами.
21) По окончании стабилизации выполняется оправка призмы и формирование её плеча шириной не менее 25 см планировщиком балласта ПБ, который обслуживается 2 машинистами.
22) Перед открытием перегона производится проверка состояния пути на всём участке, после выполнения основных работ путь приводится в состояние, обеспечивающее безопасный пропуск одного-двух поездов по месту работ со скоростью 25 км/час, и последующих с установленной скоростью.
23) Перегон открывают для движения поездов: первых одного-двух со скоростью 25 км/ч, последующих - не менее 60 км/ч.
5.3.3.3. Отделочные работы:
- После обкатки пути поездами производится выправка пути с постановкой его на проектные отметки машиной ВПР-02. В комплексе с машиной работают стабилизатор ДСП, планировщик балласта ПБ.
- Машина СЗП-600 в комплексе с составом, обслуживаемая 7 машинистами, производит уборку и вывоз с откосов вырезанного балласта и грунта.
График основных работ в окно представлен на рис. 10.

Рис. 10. График производства основных работ в «окно» по
устройству участка
переменной жёсткости на подходе к мосту с закрытием перегона по одному пути
СОДЕРЖАНИЕ
|
3. Принципы проектирования и конструктивные решения. 3 4. Технические требования к полимерным материалам - геосеткам (георешеткам) 6 5. Технологические схемы устройства участков. 7
|