ООО «НАУЧНО-ПРОИЗВОДСТВЕННАЯ И ПРОЕКТНАЯ
ФИРМА
«ЭКОСИСТЕМА»
|
УТВЕРЖДАЮ: Директор: _____________ А.Н. Лавриненко |
МЕТОДИКА
выполнения измерений
массовой концентрации
хлорсодержащих органических
соединений (метиленхлорида, хлороформа,
дихлорэтана, четыреххлористого углерода,
эпихлоргидрина, трихлорэтилена,
тетрахлорэтилена), а также ацетальдегида
и акрилонитрила в промышленных выбросах в атмосферу
методом газовой хроматографии
с использованием универсального
многоразового пробоотборника
М-10
ФР.1.31.2011.11265
Исполнители: гл. специалист
ООО НППФ «Экосистема» Н.А. Анисенкова,
ведущий инженер-химик Л.Д. Туркова
Санкт-Петербург
1999 г.
СОДЕРЖАНИЕ
Методика предназначена для измерения массовой концентрации органических соединений (табл. 1) в промышленных выбросах в следующих производствах: изготовление и переработка пластмасс, каучуков; нанесение фоторезиста; обезжиривание изделий; химчистка; хлебопекарное производство.
Таблица 1.
Границы относительной суммарной погрешности измерений массовой концентрации ацетальдегида, акрилонитрила, дихлорэтана, тетрахлорэтилена, трихлорэтилена, хлористого метилена, хлороформа, четыреххлористого углерода, эпихлоргидрина при принятой вероятности 0,95 для указанного диапазона концентраций приведены в таблице 1.
|
№ |
Название компонента |
Формула |
Температура кипения, °С |
Молекулярная масса |
Диапазон измеряемых массовых концентраций компонентов, мг/м3 |
Границы относительной погрешности измерений, %, ±Δ (при р = 0,95) |
|
1. |
Ацетальдегид |
СН3 - СНО |
20,2 |
44,05 |
0,1 - 50 |
25 |
|
2. |
Акрилонитрил |
СН2 = СН - СN |
78 |
53,06 |
0,03 - 100 |
25 |
|
3. |
Дихлорэтан |
СlСН2 - СН2Сl |
83,7 |
98,97 |
0,05 - 300 |
23 |
|
4. |
Тетрахлорэтилен |
ССl2 = ССl2 |
120,85 |
165,82 |
0,1 - 900 |
25 |
|
5. |
Трихлорэтилен |
СНСl = ССl2 |
87,2 |
131,38 |
1 - 500 |
22 |
|
6. |
Метиленхлорид |
СН2Сl2 |
40,1 |
84,93 |
1,5 - 300 |
22 |
|
7. |
Хлороформ |
CHCl3 |
61,26 |
119,37 |
1 - 300 |
22 |
|
8. |
Четыреххлористый углерод |
CCl4 |
76,8 |
153,81 |
0,2 - 500 |
23 |
|
9. |
Эпихлоргидрин |
CH2-CH-CH2Cl O |
117 |
92,53 |
0,05 - 300 |
25 |
3.1. Средства измерений:
|
3.1.1. Газовый хроматограф модель 3700 или аналогичный, оснащенный пламенно-ионизационным детектором с чувствительностью по пропану не менее 1×10-11 г/с |
ТУ 25-0585.110-86 |
|
3.1.2. Весы аналитические, пределы допускаемой погрешности ±0,0002 г. |
|
|
3.1.3. Набор гирь Г-2-210, 2 кл. |
|
|
3.1.4. Секундомер, класс 3, цена деления 0,2 с. |
ГОСТ 5072-79 Е |
|
3.1.5. Термометр ТЛ-31-А, пределы измерения 0 - 250° С |
|
|
3.1.6. Бюретка газовая 2-1000-5 |
|
|
3.1.7. Микрошприц МШ-1, вместимостью 1 мкл или «Газохром-101», предел допускаемой относительной погрешности действительного значения дозируемого объёма ±2,5 % |
ТУ-2833.104 |
|
3.1.8. Микрошприц МШ-10М, вместимостью 10 мкл, предел допускаемой относительной погрешности действительного значения дозируемого объёма ±2,5 % |
ТУ 25-05.2152-76 |
|
3.1.9. Посуда мерная, стеклянная |
ТУ 2.833.106 |
|
3.1.10. Пипетки (1,0; 5,0; 10,0 см3) |
|
|
3.1.11. Установка динамическая «Микрогаз» |
|
|
3.1.12. Шприц медицинский, стеклянный вместимостью 100 см |
ТУ 2.966.057 |
|
3.1.13. Аспиратор АМ-5 |
ТУ 64-1-295-77 |
|
3.1.14. Лупа измерительная |
ГОСТ 8309-75 |
|
3.1.15. Линейка измерительная |
3.2. Вспомогательные устройства:
|
3.2.1. Колонка стальная для газовой хроматографии длиной 3 м. и внутренним диаметром 3 мм., заполненная насадкой 5 % OY-101 на хроматоне N-AW-DMCS, фракция 100/120 меш. |
|
|
3.2.2. Трубки из нержавеющей стали, длиной 76 мм., внутренним диаметром 3 мм, наружным диаметром 4 мм. (Приложение 1). |
|
|
3.2.3. Микрокомпрессор МК-Л-1, производительность 45 дм3/час |
ГОСТ 14087-80 |
|
3.2.5. Шкаф сушильный типа 2-В-151 |
ТУ 64-1-14-11-76 (или СНОЛ-6 ГОСТ 13474-79) |
|
3.2.6. Баллон стальной, ёмкость 40 дм3 (2 штуки) |
|
|
3.2.7. Генератор водорода (или баллон с водородом) |
ТУ 6-09-1.550.044-72 |
|
3.2.8. Редуктор гелиевый баллонный |
|
|
3.2.9. Редуктор воздушный, баллонный |
|
|
3.2.10. Редуктор водородный, баллонный |
ТУ 26-05-463-76 |
|
3.2.11. Эксикатор |
|
|
3.2.12. Вакуумный насос типа 3НВР-1Д |
ТУ 2604-591-85 |
3.3. Материалы:
|
3.3.1. Трубка фторопластовая диаметр 4 мм |
ТУ 95765-80 |
|
3.3.2. Стекловолокно |
|
|
3.3.3. Гелий газообразный марки А |
ТУ 51-940-80 |
|
3.3.4. Водород технический марки А |
|
|
3.3.5. Воздух технический, класс загрязненности 1 или воздух из магистрали с очисткой, обеспечивающей получение параметров согласно требованиям класса загрязненности 1 |
ГОСТ 11888-73 |
|
3.3.6. Азот технический I сорта |
3.4. Реактивы:
|
3.4.1. Вода дистиллированная |
ГОСТ 6709-77 |
|
3.4.2. Полисорб 1, фракция 0,25 - 0,50 мм. |
ГОСТ 6-09-3602-74 |
|
3.4.3. Полисорб 10, фракция 0,25 - 0,50 мм. |
ТУ 6-09-10-432-77 |
|
3.4.4. Ацетальдегид |
ТУ 6-09-5708-68 |
|
3.4.5. Акрилонитрил |
МРТУ 6-09-2487-68 |
|
3.4.6. Бензол хч. |
|
|
3.4.7. Метиленхлорид |
ТУ 6-09-2662-77 |
|
3.4,8. Хлороформ |
ТУ 6-09-4263-76 |
|
3.4.9. Дихлорэтан |
ТУ 6-09-2661-78 или ГСО 6411-92 |
|
3.4.10. Эпихлоргидрин |
МРТУ 6-09-4225-67 |
|
3.4.11. Четыреххлористый углерод |
ГОСТ 20288-74 или ГСО 3305-85 |
|
3.4.12. Трихлорэтилен |
ГОСТ 9976-83 |
|
3.4.13. Тетрахлорэтилен |
ТУ 6-09-2274-81 |
|
3.4.14. Гексан |
ТУ 6-09-06-657-75 |
|
3.4.15. Ацетон |
|
|
3.4.16. Этанол |
ТУ 6-09-1710-77 |
|
3.4.17. Ксилол |
ТУ 6-09-3825-78 |
|
3.4.18. Сорбент: хроматон N-AW-DMCS с 5 % OV-101 фракция 100 - 120 меш |
|
|
3.4.19. Активированный уголь АГ-3 |
ТУ 20464-75 |
|
3.4.20. Молекулярные сита 13Х. |
|
* Примечание.
Перечисленные средства измерений, реактивы могут быть заменены любыми другими, обеспечивающими требуемую точность измерений.
Измерения концентраций органических веществ выполняют газохроматографическим методом. Метод основан на одновременном улавливании широкого круга органических веществ из газовых выбросов в сорбционные трубки-концентраторы с полимерным сорбентом (полисорб-1, полисорб-10, полидифенилфталид) и последующей их термодесорбцией.
Термодесорбцию сконцентрированных органических соединений производят в испарителе хроматографа непосредственно в хроматографическую колонку, на которой происходит разделение десорбированных веществ. Элюируемые из колонки вещества детектируются пламенно-ионизационным детектором (ПИД) и регистрируются на самописце в виде хроматограммы.
5.1. Работы при анализе проб газа должны выполняться с соблюдением правил техники безопасности, регламентируемых «Основными правилами безопасной работы в химической лаборатории».
5.2. Необходимо соблюдать правила электробезопасности при работе с электроустановками по ГОСТ 2.1.019.
5.3. Помещение лаборатории должно соответствовать требованиям пожарной безопасности по ГОСТ 12.1.004 и иметь средства пожаротушения по ГОСТ 12.4.009.
5.4. При работе на хроматографе должны быть выполнены правила техники безопасности работы со сжатыми и взрывоопасными газами, а также раздел инструкции по эксплуатации хроматографа «Меры предосторожности и техника безопасности».
5.5. При работе с реактивами соблюдать требования безопасности, установленные для работы с токсичными, едкими и легковоспламеняющимися веществами по ГОСТ 12.1.005-88, ГОСТ 2.1.019.
5.6. Работы, связанные с отбором проб на высоте, допускается проводить только при наличии прочных и устойчивых площадок, огражденных перилами.
5.7. Отбор проб производственных газо-воздушных смесей производят с учетом инструкций по технике безопасности, действующих на каждом предприятии.
К выполнению измерений и обработке их результатов допускают лиц, отвечающих квалификации техника или инженера-химика, имеющих опыт работы в газовой хроматографии, ознакомившихся с техническим описанием и инструкцией по эксплуатации газового хроматографа, а также с настоящей методикой выполнения измерений и допущенных к работе с токсичными газами.
7.1. При отборе проб в газоходе (ПНД Ф 12.1.1-99):
|
Температура |
от 2 °С до 100 °С |
|
Давление |
от 82,5 кПа до 106,7 кПа |
|
Относительная влажность |
от 30 до 80 % |
7.2. При выполнении измерений в лаборатории (по СанПиН 2.2.4.548-96):
|
Температура |
20 °С ± 5 °С |
|
Давление |
101,3 кПа ±3 кПа |
|
Относительная влажность |
(80 ± 5) % |
8.1. Подготовка сорбционных трубок-концентраторов
8.1.1. Сорбционные трубки из нержавеющей стали длиной 76 мм и внутренним диаметром 3 мм завальцовывают с одного конца так, чтобы диаметр входного отверстия был 1,5 - 2 мм (Прил. 1 (а)).
Трубки промывают гексаном, дистиллированной водой, этанолом, ацетоном и высушивают в термостате при t = 200 °С. В завальцованный конец помещают тампон из стекловолокна, предварительно обработанного гексаном, этанолом, дихлорэтаном и высушенного. Затем трубку заполняют сорбентом в количестве 1,5 см3, в качестве которого используют Полисорб 1 (или Полисорб 10), предварительно обработанный дихлорэтаном и высушенный. (Сорбент, фракция 0,5 - 0,25 мм, высушивают в термостате при 120° в течение 4-х часов, охлаждают в эксикаторе, заливают дихлорэтаном, интенсивно перемешивают, выдерживают в течение 2-х часов, после чего дихлорэтан испаряют в ротационном испарителе или в колбонагревателе, при 120°). Сорбент уплотняют постукиванием или на вибраторе и фиксируют тампоном из того же стекловолокна.
8.1.2. С целью очистки пробоотборников от примесей свежезаполненные концентраторы продувают в токе азота или другого инертного газа при t = 190 °С в течение 1 часа или вакуумируют в течение 8 - 12 часов при 2×10-2 кПа и температуре 170 °С. Каждый концентратор проверяют на отсутствие примесей на максимальной чувствительности прибора. В случае необходимости концентратор подвергают повторной очистке и повторно проводят контрольный анализ фона.
Подготовленные к отбору проб концентраторы плотно закрывают с двух сторон фторопластовыми заглушками и хранят их в эксикаторе над активированным углем или молекулярными ситами. Чистые концентраторы можно хранить в течение 2-х недель. Перед отбором проб проводят выборочную проверку на чистоту 1; 2-х концентраторов из всей партии.
В дальнейшем, для регенерации концентраторов после анализа их достаточно отдуть в течение 30 минут при t = 180 °С.
8.2. Подготовка хроматографической колонки
8.2.1. Подготовка колонки
Колонка с насадкой 5 % OV-101 на хроматоне N-AW-DMCS поставляется с прибором или покупается дополнительно. Если колонки с такой насадкой нет, то её можно приготовить следующим образом:
Колонку из нержавеющей стали длиной 3 м и внутренним диаметром 3 мм промывают 10 % соляной кислотой, дистиллированной водой, гексаном, этанолом, ацетоном или серным эфиром и высушивают в термостате при t = 200 °С. Подготовленную таким образом колонку заполняют насадкой 5 % OV-101 на хроматоне N-AW-DMCS.
8.2.2. При отсутствии готовой насадки её можно приготовить.
50 см3 хроматона N-AW-DMCS фр. 100/120 меш. высушивают в термостате при t = 150 °С в течение 2-х часов, охлаждают в эксикаторе и взвешивают. Затем в стаканчике взвешивают неподвижную фазу OV-101 в количестве 5 % от веса хроматона и растворяют в хлороформе. В раствор вносят при перемешивании хроматон. Через полчаса растворитель удаляют в ротационном испарителе или в колбонагревателе при t = 100 °С. Приготовленной насадкой заполняют колонку, используя водоструйный насос. Набивку уплотняют на вибраторе. В оба конца колонки помещают тампоны из кварцевой ваты или стекловолокна для фиксации насадки.
8.2.3. Подготовка колонки к анализу
Заполненную колонку подсоединяют к испарителю, оставляя свободным один конец и кондиционируют в токе газа-носителя при t = 150 °С в течение 6-ти часов; после чего колонку охлаждают, устанавливают скорость газа-носителя 30 см3/мин, подсоединяют второй конец колонки к детектору и выводят хроматограф на рабочий режим. Устанавливают потоки водорода и воздуха в соотношении 1:10 и поджигают детектор. Затем проверяют уровень шума. Если он не превышает 0,1 % от всей шкалы самописца на максимальной чувствительности (1×10-14 А), колонка готова к анализам.
8.3. Подготовка измерительной аппаратуры
Подготовку хроматографа к работе проводят согласно инструкции по эксплуатации. Условия хроматографического анализа:
|
Температура колонки - |
50° С |
|
Температура испарителя - |
170 °С |
|
Расход газа-носителя - |
30 см3/мин |
|
Расход водорода - |
30 см3/мин |
|
Расход воздуха - |
300 см3/мин |
|
Рабочая шкала детектора 10-11 А |
|
|
Рабочая шкала самописца - 20 mv |
|
|
(при диапазоне переключений от 1 mv до 5 v) |
|
Продолжительность термодесорбции из сорбционной трубки до конца анализа 15 мин.
8.4. Градуировка прибора
8.4.1. Качественная градуировка прибора, то есть определение параметров удерживания определяемых веществ, проводится по временам удерживания индивидуальных компонентов.
В процессе работы допускается изменение времени удерживания на ±5 %.
8.4.2. Количественная градуировка прибора проводится либо по градуировочным растворам, либо по газовым градуировочным смесям.
8.5. Приготовление градуировочных растворов
8.5.1. Основной градуировочный раствор № 1 смеси определяемых компонентов с концентрацией от 2 до 5 мг/см3 каждого готовят следующим образом:
В мерную колбу объёмом 50 см3 вносят ≈ 25 см3 растворителя (о-ксилол). Колбу закрывают и взвешивают с точностью не менее 0,2 мг. (M1). Затем добавляют по 0,1 см3 тетрахлорэтилена, эпихлоргидрина, дихлорэтана, хлороформа и по 0,2 см3 четыреххлористого углерода и метиленхлорида. После внесения каждого ингредиента колбу взвешивают и фиксируют массу (М2, М3 ... Мn). После внесения последнего ингредиента доводят объём раствора о-ксилолом до метки. Аналогичным методом готовят растворы акрилонитрила, трихлорэтилена и ацетальдегида. При приготовлении раствора ацетальдегида в качестве растворителя используют дистиллированную воду.
Концентрацию каждого компонента рассчитывают по формуле:
|
|
(1) |
где:
Xi - концентрация i-го компонента, мг/см3;
U - объём раствора (50 см3);
Мi - масса компонента, мг,
Mi = Mn - Mn-1;
50 - объём раствора, см3.
Основной градуировочный раствор (СГР) хранят в холодильнике в течение 3-х месяцев.
8.5.2. Рабочие градуировочные растворы готовят из основного градуировочного раствора путем разбавления тем же растворителем в 2,5, 10, 50, 100 раз, для чего берут 1 см3 СГР и добавляют в него 1, 4, 9, 49 и 99 см3 растворителя.
Рабочие градуировочные растворы (РГР) хранят не более 5 суток.
8.6. Приготовление градуировочных газовых смесей
Градуировочные газовые смеси заданного состава готовят в установке типа «Микрогаз». Концентрации дозируемых веществ в градуировочных смесях, полученных в динамической установке «Микрогаз» рассчитывают по формуле:
где:
Сi - концентрация дозируемого вещества, мкг/дм3 или мг/м3;
ΔG - производительность источника по аттестату, мкг/мин;
Wi - объёмный расход воздуха через установку, дм3/мин (измерение объёмного расхода и отбор пробы в концентратор проводят при одних и тех же температуре и давлении).
8.7. Установление градуировочной характеристики
Градуировку проводят методом абсолютной калибровки, используя серию градуировочных растворов, или по газовым смесям, полученным в динамической установке типа «Микрогаз».
8.7.1. Вариант 1. Дозирование градуировочных растворов.
Сорбционную трубку-концентратор освобождают от заглушек и дозируют микрошприцем от 1 до 10 мм3 одного из вышеуказанных градуировочных растворов для последующего газохроматографического анализа.
Для получения градуировочных данных используют не менее 5-ти градуировочных растворов во всем диапазоне определяемых концентраций. Каждый градуировочный раствор анализируют не менее 3 раз. В полученных хроматограммах обсчитывается площадь пика:
|
S = h·ω |
(3) |
где:
S - площадь пика, см2;
h - высота пика, см;
ω - ширина пика на половине высоты, см.
Зависимость между массой вещества и площадью пика выражается уравнением:
|
q = k·S, |
(4) |
где:
q - масса дозируемого вещества, мкг;
S - площадь пика, см2;
k - градуировочный коэффициент, мкг/см2.
Вычисляют значение градуировочного коэффициента каждого компонента i-го раствора по формуле:
где:
где:
S1, S2, S3 - площади хроматографических пиков трех параллельных проб i-го раствора, см2.
Из полученных значений ki рассчитывают среднее значение k по формуле:
где:
n - количество градуировочных растворов.
8.7.2. Вариант 2. Дозирование градуировочных газовых смесей
Сорбционную трубку-концентратор освобождают от заглушек, завальцованный конец ее подсоединяют к месту отбора пробы из динамической установки типа «Микрогаз», а незавольцованный конец присоединяют к медицинскому шприцу или другому аспирационному прибору.
Отбирают 5 - 200 см3 градуировочной смеси с объемной скоростью не более 50 см3/мин. и помещают концентратор в испаритель хроматографа для последующего ГХ анализа отобранной пробы.
Массу определяемого вещества в пробе (q мкг) рассчитывают по формуле:
|
q = Ci·V |
(8) |
где:
Ci - массовая концентрация определяемого вещества, рассчитанная по формуле (2), мкг/дм3;
V - объём отобранной пробы, дм3.
Значения градуировочных коэффициентов рассчитывают в соответствии с формулами 5, 6, 7.
Примеры полученных абсолютных времен удерживания определяемых веществ и градуировочные коэффициенты приведены в приложении 3.
8.8. Отбор проб
Отбор проб на промышленных предприятиях проводят на прямолинейном участке воздуховода через отверстие, в которое плотно вставляется концентратор, чтобы не было подсоса воздуха извне. Проба отбирается из центра воздуховода. Если необходимо, то концентратор удлиняют с помощью металлической трубки, другой конец которой присоединен к аспиратору или шприцу. Отбор проб проводят со скоростью не более 50 см3/мин. Одновременно отбирают две параллельные пробы (Прил. 1 (б)). За результат измерения принимается среднее арифметическое 2-х определений (см. формулу 16). После отбора концентратор отсоединяют, концы его герметично закрывают фторопластовыми заглушками и помещают в водонепроницаемый пакет. В процессе отбора измеряют температуру и разрежение газа у аспиратора. При необходимости получения осредненных результатов рекомендуется отобрать не менее 3-х проб (по 2 параллельным в каждой) соответствующего объёма из каждого источника в течение 20-минутного отрезка времени. Пробы могут храниться в холодильнике в течение двух недель. Исключение составляют концентраторы с ацетальдегидом. Их рекомендуется сразу помещать в охлажденный контейнер и хранить не более 2-х суток.
В зависимости от концентрации вещества отбирают от 100 до 500 см3 газо-воздушной пробы, а для определения содержания ацетальдегида отбирают не более 100 см3 газовоздушной пробы.
8.9. Выполнение измерений
В аналитической лаборатории пробу, отобранную на концентратор, анализируют на хроматографе, выведенном на рабочий режим. Предварительно получают контрольную хроматограмму по градуировочному раствору, по которой проверяют времена удерживания определяемых веществ.
После проведения анализа концентратор извлекают из испарителя и регенерируют (п. 8.1.2.).
8.10. Определение критерия разделения
Степень разделения пиков определяют по критерию разделения R, который находят по формуле:
|
|
(9) |
где:
Δℓ - расстояние между вершинами пиков на хроматограмме, см;
ω0,5 - полуширина пика, см;
индексы 1 и 2 при символах ω0,5 относятся к двум последовательным пикам.
Анализ можно проводить при R ≥ 1, 2.
Высота измеряемого пика должна быть не менее 0,5 см.
Обработку результатов измерений выполняют следующим образом: по хроматограммам проводят качественную идентификацию пиков веществ, сопоставляя время удерживания пиков, полученное в результате анализа пробы и время удерживания для определяемых веществ, полученное при проведении анализов градуировочных растворов.
9.1. Массовую концентрацию определяемого вещества в пробе С мг/м3 вычисляют по формуле:
|
|
(10) |
где:
С - массовая концентрация определяемого вещества, мкг/дм3 или мг/м3;
k - градуировочный коэффициент вещества, мкг/см2;
S - площадь пика определяемого вещества, см2;
Vн - объём газо-воздушной пробы, приведенной к нормальным условиям, дм3.
Объём отобранной пробы приводят к нормальным условиям (0 °С, 101,33 кПа) по формуле:
|
|
(11) |
где:
Vp - объём газо-воздушной пробы, пропущенный через концентратор, дм3;
Рi - атмосферное давление во время отбора пробы, кПа,
ΔР - разрежение у реометра, кПа,
t - температура воздуха у реометра во время отбора пробы, °С.
9.2. За результат измерения массовой концентрации вещества принимается среднее арифметическое двух определений:
|
|
(12) |
где C1 и С2 - результаты, полученные в параллельных пробах, мг/м3.
10.1. Контроль размаха значений выходных сигналов хроматографа осуществляется при проведении градуировки по следующему условию:
|
|
(13) |
где:
Simax и Simin - максимальное и минимальное значения площадей хроматографических пиков 3-х параллельных проб i-го градуировочного раствора, см2;
Sicp - среднее арифметическое значение площадей пиков, полученных для параллельных проб, см2;
Rраз - норматив контроля;
Rраз = 15 %.
10.2. Контроль погрешности градуировки проводится при построении градуировочной характеристики.
Контролируемым параметром является размах градуировочных коэффициентов, отнесенный к среднему арифметическому (k) для n-растворов:
|
|
(14) |
где:
kmax и kmin - максимальное и минимальное значения градуировочных коэффициентов для n-растворов;
Rгр - норматив контроля;
Rгр = 15 %.
10.3. Периодический контроль стабильности градуировочной характеристики
Контроль стабильности градуировочной характеристики проводится не реже 1-го раза в квартал, а также при смене реактивов, колонки, промывке детектора. Контроль проводится по растворам или газовым смесям, соответствующим началу и середине диапазона градуировочной характеристики. Каждый раствор или смесь анализируется 2 раза.
Таким же образом, но по одной концентрации, значение которой приближается к определяемым величинам, проводится контроль перед каждой серией рабочих проб. Результат контроля признается положительным при выполнении условия:
|
|
(15) |
где:
k - ранее установленное значение градуировочного коэффициента;
k* - полученное значение градуировочного коэффициента (значение вычисляется как среднее из 2-х определений, расхождение между которыми не может превышать 20 %);
Rст - норматив контроля;
Rст = 15 %.
10.4. Контроль погрешности результатов измерения
Осуществляется на этапе освоения методики, а также по требованию организации, осуществляющей надзор за аттестованными МВИ. Данная операция проводится при проведении градуировки по растворам. Контроль осуществляется путем анализа модельной смеси, приготовленной на установке «Микрогаз» при использовании источников микропотоков рабочих эталонов 1-го разряда.
При контроле проводится отбор и анализ 2-х параллельных проб. Результаты контроля считаются положительными при выполнении условия:
где:
Ck - массовая концентрация определяемого вещества в контрольной газовой смеси, мг/м3;
- среднее значение массовой
концентрации определяемых веществ для 2-х параллельных определений, мг/м3.
Δ - границы относительной погрешности результата измерения (таблица 1), %.
Результат измерения округляется до 2-х, 3-х значащих цифр и записывается в виде:
|
(С ± 0,01·Δ·С) мг/м3 |
(17) |

1 - заглушка
2-1 - завальцованный конец сорбционной трубки
2-2 - незавальцованный конец сорбционной трубки
3 - сорбент
4 - трубка из нержавеющей стали
5 - трубка фторопластовая
6 - стекловолокно
Схема параллельного отбора проб воздуха.

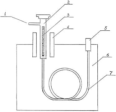
СХЕМА ТЕРМИЧЕСКОЙ ДЕСОРБЦИИ
ПРИМЕСЕЙ ИЗ КОНЦЕНТРАТОРА

1 - вход газа-носителя
2 - корпус испарителя
3 - концентратор
4 - нагреватель испарителя
5 - детектор
6 - термостат колонки
7 - колонка
Примеры абсолютных времен удерживания и градуировочные коэффициенты, полученные на хроматографе 3700, оснащенном ПИД и набивной колонкой, длиной 3 м. с неподвижной фазой 5 % OV-101 на хроматроне N-FW-DMCS при t = 50 °С и скорости газа-носителя 30 мл/мин. Реальные значения времен удерживания и градуировочных коэффициентов могут отличаться от приведенных в таблице.
|
№ п/п |
Наименование вещества |
Абсолютные времена удерживания, сек. |
Усредненный градуировочный коэффициент, мг/м3 |
|
1. |
Ацетальдегид |
58" |
|
|
2. |
Акрилонитрил |
1'35" |
|
|
3. |
Метиленхлорид |
1'45" |
|
|
4. |
Хлороформ |
2'50" |
|
|
5. |
Дихлорэтан |
3'30" |
|
|
б. |
Четыреххлористый углерод |
4'5" |
|
|
7. |
Трихлорэтилен |
5' |
|
|
8. |
Эпихлоргидрин |
5'30" |
|
|
9. |
Тетрахлорэтилен |
11'58" |
|
|
Разработчики: |
гл.
специалист ООО «НППФ «Экосистема» Ведущий
инженер-химик |