МЕЖГОСУДАРСТВЕННЫЙ СОВЕТ ПО СТАНДАРТИЗАЦИИ,
МЕТРОЛОГИИ И СЕРТИФИКАЦИИ
(МГС)
INTERSTATE COUNCIL FOR STANDARDIZATION, METROLOGY AND CERTIFICATION
(ISC)
|
МЕЖГОСУДАРСТВЕННЫЙ |
ГОСТ |
БЛОКИ БЕТОННЫЕ ДЛЯ СТЕН ПОДВАЛОВ
Технические условия
|
|
Москва Стандартинформ 2018 |
Предисловие
Цели, основные принципы и основной порядок проведения работ по межгосударственной стандартизации установлены в ГОСТ 1.0-2015 «Межгосударственная система стандартизации. Основные положения» и ГОСТ 1.2-2015 «Межгосударственная система стандартизации. Стандарты межгосударственные, правила и рекомендации по межгосударственной стандартизации. Правила разработки, принятия, обновления и отмены»
Сведения о стандарте
1 РАЗРАБОТАН Акционерным обществом «ЦНИИЭП жилища - Институт комплексного проектирования жилых и общественных зданий» (АО «ЦНИИЭП жилища»)
2 ВНЕСЕН Техническим комитетом по стандартизации ТК 465 «Строительство»
3 ПРИНЯТ Межгосударственным советом по стандартизации, метрологии и сертификации (протокол от 30 мая 2018 г. № 109-П)
За принятие проголосовали:
|
Краткое
наименование страны |
Код страны
по |
Сокращенное
наименование национального |
|
Армения |
AM |
Минэкономики Республики Армения |
|
Киргизия |
KG |
Кыргызстандарт |
|
Россия |
RU |
Росстандарт |
|
Таджикистан |
TJ |
Таджикстандарт |
4 Приказом Федерального агентства по техническому регулированию и метрологии от 5 октября 2018 г. № 709-ст межгосударственный стандарт ГОСТ 13579-2018 введен в действие в качестве национального стандарта Российской Федерации с 1 мая 2019 г.
5 ВЗАМЕН ГОСТ 13579-78
Информация об изменениях к настоящему стандарту публикуется в ежегодном информационном указателе «Национальные стандарты», а текст изменений и поправок - в ежемесячном информационном указателе «Национальные стандарты». В случае пересмотра (замены) или отмены настоящего стандарта соответствующее уведомление будет опубликовано в ежемесячном информационном указателе «Национальные стандарты». Соответствующая информация, уведомление и тексты размещаются также в информационной системе общего пользования - на официальном сайте Федерального агентства по техническому регулированию и метрологии в сети Интернет (www.gost.ru)
ГОСТ 13579-2018
МЕЖГОСУДАРСТВЕННЫЙ СТАНДАРТ
БЛОКИ БЕТОННЫЕ ДЛЯ СТЕН ПОДВАЛОВ
Технические условия
Concrete blocks for walls of basements. Specifications
Дата введения - 2019-05-01
Настоящий стандарт распространяется на блоки, изготовляемые из тяжелого бетона, а также легкого и плотного силикатного бетона средней плотности не менее 1800 кг/м3 и предназначенные для стен подвалов и технических подпольев зданий.
Настоящий стандарт устанавливает типы и конструкции бетонных блоков стен подвалов, технические требования к ним.
Сплошные блоки допускается применять для фундаментов.
Требования настоящего стандарта следует учитывать при разработке нормативных документов и рабочей документации на бетонные блоки стен подвалов конкретных типов.
В настоящем стандарте использованы нормативные ссылки на следующие межгосударственные стандарты:
ГОСТ 10060-2012 Бетоны. Методы определения морозостойкости
ГОСТ 10180-2012 Бетоны. Методы определения прочности по контрольным образцам
ГОСТ 10922-2017 Арматурные и закладные изделия, их сварные, вязаные и механические соединения для железобетонных конструкций. Общие технические условия
ГОСТ 12730.0-78 Бетоны. Общие требования к методам определения плотности, влажности, водопоглощения, пористости и водонепроницаемости
ГОСТ 12730.2-78 Бетоны. Метод определения влажности
ГОСТ 12730.3-78 Бетоны. Метод определения водопоглощения
ГОСТ 12730.5-84 Бетоны. Методы определения водонепроницаемости
ГОСТ 13015-2012 Изделия бетонные и железобетонные для строительства. Общие технические требования. Правила приемки, маркировки, транспортирования и хранения
ГОСТ 17624-2012 Бетоны. Ультразвуковой метод определения прочности
ГОСТ 18105-2010 Бетоны. Правила контроля и оценки прочности
ГОСТ 21718-84 Материалы строительные. Диэлькометрический метод определения влажности
ГОСТ 22690-2015 Бетоны. Определение прочности механическими методами неразрушающего контроля
ГОСТ 26433.0-85 Система обеспечения точности геометрических параметров в строительстве. Правила выполнения измерений. Общие положения
ГОСТ 26433.1-89 Система обеспечения точности геометрических параметров в строительстве. Правила выполнения измерений. Элементы заводского изготовления
ГОСТ 34028-2016 Прокат арматурный для железобетонных конструкций. Технические условия
Примечание - При пользовании настоящим стандартом целесообразно проверить действие ссылочных стандартов в информационной системе общего пользования - на официальном сайте Федерального агентства по техническому регулированию и метрологии в сети Интернет или по ежегодному информационному указателю «Национальные стандарты», который опубликован по состоянию на 1 января текущего года, и по выпускам ежемесячного информационного указателя «Национальные стандарты» за текущий год. Если ссылочный стандарт заменен (изменен), то при пользовании настоящим стандартом следует руководствоваться заменяющим (измененным) стандартом. Если ссылочный стандарт отменен без замены, то положение, в котором дана ссылка на него, применяется в части, не затрагивающей эту ссылку.
В настоящем стандарте применены следующие термины с соответствующими определениями:
3.1 блок: Конструктивный сборный элемент или изделие прямоугольной формы, массой от десятка килограммов до нескольких тонн, изготовляемый обычно в заводских условиях.
3.2 бетонный блок: Блок, прочность которого в стадии эксплуатации обеспечивается одним бетоном. Блок считается бетонным, если в нем имеется конструктивное армирование или рабочая арматура на ограниченных участках - зонах концентрации усилий.
3.3 бетонный блок для стен подвала: Бетонный блок, применяемый для устройства стен подвала или технического подполья здания.
4.1 Блоки подразделяют на три типа:
ФБС - сплошные;
ФБВ - с вырезом для укладки перемычек и пропуска коммуникаций под потолками подвалов и технических подпольев;
ФБП - пустотные (с открытыми вниз пустотами).
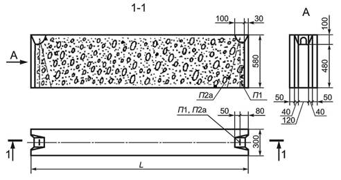
4.2 Форма и размеры блоков должны соответствовать указанным на рисунках 1, 2, 3 и в таблице 1.
А - блоки шириной 300 мм
Б - блоки шириной 400, 500, 600 мм

П1 - П4 - монтажные петли
Рисунок 1 - Блоки типа ФБС
П1 - монтажные петли
Рисунок 2 - Блоки типа ФБВ
П2 - монтажные петли
Рисунок 3 - Блоки типа ФБП
|
Тип блока |
Основные размеры блока, мм |
||
|
Длина l |
Ширина b |
Высота h |
|
|
ФБС |
2380 |
300 |
580 |
|
400 |
|||
|
500 |
|||
|
600 |
|||
|
1180 |
400 |
||
|
500 |
|||
|
600 |
|||
|
400 |
280 |
||
|
500 |
|||
|
600 |
|||
|
880 |
300 |
580 |
|
|
400 |
|||
|
500 |
|||
|
600 |
|||
|
ФБВ |
400 |
||
|
500 |
|||
|
600 |
|||
|
ФБП |
2380 |
400 |
580 |
|
500 |
|||
|
600 |
|||
|
Примечание - Допускается изготовлять блоки размерами, отличными от указанных в настоящей таблице, на действующем оборудовании по согласованию между заказчиком и предприятием-изготовителем. |
|||
4.3 Структура условного обозначения (марок) блоков следующая:

Пример условного обозначения (марки) блока типа ФБС длиной 2380 мм, шириной 400 мм и высотой 580 мм из тяжелого бетона:
ФБС 24.4.6-Т ГОСТ 13579-2018
То же, типа ФБВ длиной 880 мм, шириной 400 мм и высотой 580 мм из легкого бетона:
ФБВ 9.4.6-Л ГОСТ 13579-2018
То же, типа ФБП длиной 2380 мм, шириной 500 мм и высотой 580 мм из плотного силикатного бетона:
ФБП 24.5.6-С ГОСТ 13579-2018
Примечание - Допускается принимать обозначения марок блоков в соответствии с рабочими чертежами типовых конструкций.
4.4 Марки и характеристики блоков из тяжелого бетона приведены в таблице 2, из легкого бетона - в таблице 3, из плотного силикатного бетона - в таблице 4.
При соответствующем обосновании допускается применение блоков из бетонов классов по прочности на сжатие, отличающихся от указанных в таблицах 2 - 4. При этом во всех случаях класс бетона по прочности на сжатие следует принимать не более В15 и не менее:
В3,5 - для блоков из тяжелого и легкого бетонов;
В12,5 - для блоков из плотного силикатного бетона.
Примечание - В условное обозначение блоков из бетонов классов по прочности на сжатие, отличающихся от указанных в таблицах 2 - 4, следует вводить соответствующий цифровой индекс перед буквой В, обозначающей вид бетона.
4.5 Расположение монтажных петель в блоках должно соответствовать указанному на рисунках 1 - 3. Конструкции монтажных петель приведены на рисунке А.1 приложения А.
Допускается устанавливать монтажные петли в блоках типа ФБС длиной 1180 и 2380 мм на расстоянии 300 мм от торцов блока и заподлицо с его верхней плоскостью.
|
Марка блока |
Класс бетона по прочности на сжатие |
Монтажная петля |
Расход материалов (справочный) |
Масса бетона (справочная), т |
||
|
Марка |
Количество, ш т. |
Бетон, м3 |
Сталь, кг |
|||
|
ФБС 24.3.6-Т |
В7,5 |
П2а |
2 |
0,406 |
1,46 |
0,97 |
|
ФБС 24.4.6-Т |
0,543 |
1,30 |
||||
|
ФБС 24.5.6-Т |
П3 |
0,679 |
2,36 |
1,63 |
||
|
ФБС 24.6.6-Т |
0,815 |
1,96 |
||||
|
ФБС 12.4.6-Т |
П2 |
0,265 |
1,46 |
0,64 |
||
|
ФБС 12.5.6-Т |
0,331 |
0,79 |
||||
|
ФБС 12.6.6-Т |
0,398 |
0,96 |
||||
|
ФБС 12.4.3-Т |
П4 |
0,127 |
0,74 |
0,31 |
||
|
ФБС 12.5.3-Т |
0,159 |
0,38 |
||||
|
ФБС 12.6.3-Т |
0,191 |
0,46 |
||||
|
ФБС 9.3.6-Т |
П1 |
0,146 |
0,76 |
0,35 |
||
|
ФБС 9.4.6-Т |
0,195 |
0,47 |
||||
|
ФБС 9.5.6-Т |
0,244 |
0,59 |
||||
|
ФБС 9.6.6-Т |
П2 |
0,293 |
1,46 |
0,70 |
||
|
ФБВ 9.4.6-Т |
П1 |
0,161 |
0,76 |
0,39 |
||
|
ФБВ 9.5.6-Т |
0,202 |
0,49 |
||||
|
ФБВ 9.6.6-Т |
0,243 |
0,58 |
||||
|
ФБП 24.4.6-Т |
В12,5 |
П2 |
0,439 |
1,46 |
1,05 |
|
|
ФБП 24.5.6-Т |
0,526 |
1,26 |
||||
|
ФБП 24.6.6-Т |
0,583 |
1,40 |
||||
|
Примечание - Значения массы приведены с учетом изготовления блоков из тяжелого бетона средней плотности 2400 кг/м3. |
||||||
|
Марка блока |
Класс бетона по прочности на сжатие |
Монтажная петля |
Расход материалов (справочный) |
Масса бетона (справочная), т |
||
|
Марка |
Количество, ш т. |
Бетон, м3 |
Сталь, кг |
|||
|
ФБС 24.3.6-Л |
В7,5 |
П2а |
2 |
0,406 |
1,46 |
0,73 |
|
ФБС 24.4.6-Л |
0,543 |
0,98 |
||||
|
ФБС 24.5.6-Л |
0,679 |
1,22 |
||||
|
ФБС 24.6.6-Л |
П3 |
0,815 |
2,36 |
1,47 |
||
|
ФБС 12.4.6-Л |
П1 |
0,265 |
0,76 |
0,48 |
||
|
ФБС 12.5.6-Л |
П2 |
0,331 |
1,46 |
0,60 |
||
|
ФБС 12.6.6-Л |
П2 |
0,398 |
0,74 |
0,72 |
||
|
ФБС 12.4.3-Л |
П4 |
0,127 |
0,23 |
|||
|
ФБС 12.5.3-Л |
0,159 |
0,29 |
||||
|
ФБС 12.6.3-Л |
0,191 |
0,35 |
||||
|
ФБС 9.3.6-Л |
П1 |
0,146 |
0,76 |
0,26 |
||
|
ФБС 9.4.6-Л |
0,195 |
0,35 |
||||
|
ФБС 9.5.6-Л |
0,244 |
0,44 |
||||
|
ФБС 9.6.6-Л |
0,293 |
0,53 |
||||
|
ФБВ 9.4.6-Л |
0,161 |
0,29 |
||||
|
ФБВ 9.5.6-Л |
0,202 |
0,37 |
||||
|
ФБВ 9.6.6-Л |
0,243 |
0,44 |
||||
|
ФБП 24.4.6-Л |
В12,5 |
П2 |
0,439 |
1,46 |
0,79 |
|
|
ФБП 24.5.6-Л |
0,526 |
0,95 |
||||
|
ФБП 24.6.6-Л |
0,583 |
1,05 |
||||
|
Примечание - Значения массы, а также марка монтажных петель приведены с учетом изготовления блоков из легкого бетона средней плотности 1800 кг/м3. |
||||||
|
Марка блока |
Класс бетона по прочности на сжатие |
Монтажная петля |
Расход материалов (справочный) |
Масса бетона (справочная), т |
||
|
Марка |
Количество, ш т. |
Бетон, м3 |
Сталь, кг |
|||
|
ФБС 24.3.6-С |
В15 |
П2а |
2 |
0,406 |
1,46 |
0,81 |
|
ФБС 24.4.6-С |
0,543 |
1,09 |
||||
|
ФБС 24.5.6-С |
0,679 |
1,36 |
||||
|
ФБС 24.6.6-С |
П3 |
0,815 |
2,36 |
1,63 |
||
|
ФБС 12.4.6-С |
П1 |
0,265 |
0,76 |
0,53 |
||
|
ФБС 12.5.6-С |
П2 |
0,331 |
1,46 |
0,66 |
||
|
ФБС 12.6.6-С |
0,398 |
0,80 |
||||
|
ФБС 12.4.3-С |
П2а |
0,127 |
0,74 |
0,25 |
||
|
ФБС 12.5.3-С |
0,159 |
0,32 |
||||
|
ФБС 12.6.3-С |
0,191 |
0,38 |
||||
|
ФБС 9.3.6-С |
П1 |
0,146 |
0,76 |
0,29 |
||
|
ФБС 9.4.6-С |
0,195 |
0,39 |
||||
|
ФБС 9.5.6-С |
0,244 |
0,49 |
||||
|
ФБС 9.6.6-С |
0,293 |
0,59 |
||||
|
ФБВ 9.4.6-С |
0,161 |
0,32 |
||||
|
ФБВ 9.5.6-С |
0,202 |
0,40 |
||||
|
ФБВ 9.6.6-С |
0,243 |
0,49 |
||||
|
ФБП 24.4.6-С |
П2 |
0,439 |
1,46 |
0,88 |
||
|
ФБП 24.5.6-С |
0,526 |
1,05 |
||||
|
ФБП 24.6.6-С |
0,583 |
1,17 |
||||
|
Примечание - Значения массы, а также марка монтажных петель приведены с учетом изготовления блоков из силикатного бетона средней плотности 2000 кг/м3. |
||||||
Примечание к таблицам 2 - 4 - Справочные значения показателей расхода стали приведены для определения сметной стоимости изделия.
4.6 При применении для подъема и монтажа блоков специальных захватных устройств допускается, по согласованию изготовителя с потребителем и проектной организацией, изготовление блоков без монтажных петель.
5.1 Материалы, применяемые для приготовления бетона, должны обеспечивать выполнение технических требований, установленных настоящим стандартом, и соответствовать действующим стандартам или техническим условиям на эти материалы.
5.2 Бетон
5.2.1 Фактическая прочность бетонных блоков (в проектном возрасте и отпускная) должна соответствовать требуемой, назначаемой по ГОСТ 18105 в зависимости от нормируемой прочности бетона, указанной в проектной документации на здание или сооружение, и от показателя фактической однородности прочности бетона.
5.2.2 Морозостойкость и водонепроницаемость бетона следует обозначить в проекте в зависимости от режима эксплуатации конструкций и климатических условий района строительства согласно нормативным документам на тяжелый и легкий бетоны* и плотный силикатный бетон**, действующим на территории государства - участника Соглашения, принявшего настоящий стандарт.
__________
* В Российской Федерации действует СП 63.13330.2012 «СНиП 52-01-2003 Бетонные и железобетонные конструкции. Основные положения».
** В Российской Федерации действует СП 95.13330.2016 «СНиП 2.03.02-86 Бетонные и железобетонные конструкции из плотного силикатного бетона».
5.2.3 Бетон, а также материалы для приготовления бетонных блоков, предназначенных для применения в условиях воздействия агрессивной среды, должны удовлетворять требованиям действующих нормативных документов***, действующих на территории государства - участника Соглашения, принявшего настоящий стандарт, а также дополнительным требованиям для блоков из плотного силикатного бетона нормативных документов**, действующих на территории государства - участника Соглашения, принявшего настоящий стандарт.
__________
** В Российской Федерации действует СП 95.13330.2016 «СНиП 2.03.02-86 Бетонные и железобетонные конструкции из плотного силикатного бетона».
*** В Российской Федерации действует СП 28.13330.2012 «СНиП 2.03.11-85 Защита строительных конструкций от коррозии».
5.2.4 Классы бетона по прочности на сжатие, марки бетона по морозостойкости и водонепроницаемости, а при необходимости и требования к бетону и материалам для его приготовления (см. 5.4) должны соответствовать проектным, указываемым в заказах на изготовление блоков.
5.2.5 Поставку блоков потребителю следует производить после достижения бетоном требуемой отпускной прочности (см. 5.1).
5.2.6 Значение нормируемой отпускной прочности бетонных блоков (в процентах от класса по прочности на сжатие) следует принимать не менее:
50 - для бетона класса В15 и выше;
70 - для бетона класса В12,5 и ниже;
100 - для бетона автоклавного твердения.
Значение нормируемой отпускной прочности бетона следует принимать по проектной документации на конкретное здание или сооружение в соответствии с требованиями ГОСТ 13015.
Поставку блоков с отпускной прочностью бетона ниже прочности, соответствующей его классу по прочности на сжатие, проводят при условии, если изготовитель гарантирует достижение бетоном требуемой прочности в проектном возрасте, определяемой по результатам испытания контрольных образцов, изготовленных из бетонной смеси рабочего состава и хранившихся в условиях согласно ГОСТ 18105.
5.2.7 При отпуске блоков потребителю влажность легкого бетона не должна быть более 12 %.
5.3 Арматурные изделия
5.3.1 Монтажные петли блоков следует изготовлять из стержневой горячекатаной гладкой арматуры класса А240 марок ВСт3пс2 и ВСт3сп2 или периодического профиля класса Ас300 марки 10ГТ по ГОСТ 34028.
Арматуру из стали марки ВСт3пс2 не допускается применять для монтажных петель, предназначенных для подъема и монтажа блоков при температуре ниже минус 40 °С.
5.3.2 Требования к маркам сталей для арматурных изделий (в том числе монтажных петель), а также к защите от коррозии открытых поверхностей арматурных изделий - по ГОСТ 13015.
5.3.3 Форма и размеры арматурных изделий и их положение в блоках должны соответствовать указанным в рабочих чертежах.
5.3.4 Сварные арматурные и стальные закладные изделия должны соответствовать требованиям ГОСТ 10922.
5.4 Точность геометрических параметров блоков
5.4.1 Отклонения проектных размеров блоков не должны превышать, мм;
по длине ................................................ ±13;
по ширине и высоте ............................. ±8;
по размерам вырезов ............................ ±5.
5.4.2 Отклонение от прямолинейности профиля поверхностей блока не должно превышать 3 мм на всей длине и ширине блока.
5.5 Качество поверхностей блоков
5.5.1 Требования к качеству поверхностей блоков - по ГОСТ 13015.
Устанавливаются следующие категории бетонной поверхности блоков:
А3 - лицевой, предназначенной под окраску;
А5 - лицевой, предназначенной под отделку керамическими плитками, укладываемыми по слою раствора;
А6 - лицевой, неотделываемой;
А7 - нелицевой, не видимой в условиях эксплуатации.
5.5.2 В бетоне блоков, принимаемых согласно разделу 6, не допускаются трещины, за исключением местных поверхностных усадочных, ширина которых не должна превышать 0,1 мм в блоках из тяжелого и плотного силикатного бетонов и 0,2 мм - в блоках из легкого бетона.
5.5.3 Монтажные петли должны быть очищены от наплывов бетона.
6.1 Приемку блоков следует проводить партиями в соответствии с требованиями ГОСТ 13015 и настоящего стандарта.
6.2 Приемку блоков по морозостойкости и водонепроницаемости бетона, отпускной влажности легкого бетона, а также по водопоглощению бетонных блоков, предназначенных для эксплуатации в среде с агрессивной степенью воздействия, следует проводить по результатам периодических испытаний.
6.3 Испытания бетона на водонепроницаемость и водопоглощение блоков, к которым предъявляют эти требования, следует проводить не реже одного раза в 3 мес.
6.4 Отпускную влажность легкого бетона следует контролировать не реже одного раза в месяц по результатам испытания проб, отобранных из трех готовых блоков.
Оценку фактической отпускной влажности следует проводить по результатам проверки каждого контролируемого блока по среднему значению влажности отобранных из него проб.
6.5 Приемку блоков по показателям прочности бетона (классу бетона по прочности на сжатие и отпускной прочности), соответствия монтажных петель требованиям настоящего стандарта, точности геометрических параметров, ширины раскрытия технологических трещин и категории бетонной поверхности блоков следует проводить по результатам приемо-сдаточных испытаний и контроля.
6.6 Приемку блоков по показателям точности геометрических параметров, категории бетонной поверхности и ширины раскрытия технологических трещин следует осуществлять по результатам выборочного контроля.
6.7 Приемку блоков по наличию монтажных петель, правильности нанесения маркировочных надписей и знаков следует проводить путем сплошного контроля с отбраковкой блоков, имеющих дефекты по указанным показателям.
7.1 Прочность бетона на сжатие следует определять по ГОСТ 10180 на серии образцов, изготовленных из бетонной смеси рабочего состава и хранившихся в условиях, установленных ГОСТ 18105.
При испытании блоков методами неразрушающего контроля фактическую отпускную прочность бетона на сжатие следует определять ультразвуковым методом по ГОСТ 17624 или приборами механического действия по ГОСТ 22690, а также другими методами, предусмотренными стандартами на методы испытания бетона.
7.2 Марку бетона по морозостойкости следует определять по ГОСТ 10060.
7.3 Водонепроницаемость бетонных блоков следует определять по ГОСТ 12730.0 и ГОСТ 12730.5 на серии образцов, изготовленных из бетонной смеси рабочего состава.
7.4 Водопоглощение бетонных блоков, предназначенных для применения в условиях воздействия агрессивной среды, следует определять в соответствии с требованиями ГОСТ 12730.0 и ГОСТ 12730.3 на серии образцов, изготовленных из бетонной смеси рабочего состава.
7.5 Влажность легкого бетона следует определять по ГОСТ 12730.0 и ГОСТ 12730.2 испытанием проб, отобранных из готовых блоков.
От каждого блока следует отобрать не менее двух проб.
Допускается определять влажность бетона блоков диэлькометрическим методом по ГОСТ 21718.
7.6 Размеры и отклонения от прямолинейности блоков, положение монтажных петель, ширину раскрытия технологических трещин, размеры раковин, наплывов и околов бетонных блоков следует определять методами, установленными ГОСТ 26433.0 и ГОСТ 26433.1.
8.1 Маркировка
8.1.1 Маркировку блоков следует проводить по требованиям ГОСТ 13015.
8.1.2 Маркировочные надписи и знаки следует наносить на боковую поверхность блока.
Допускается по согласованию изготовителя с потребителем и проектной организацией - автором проекта конкретного здания вместо марок наносить на блоки их сокращенные условные обозначения, принятые в проектной документации конкретного здания.
8.2 Хранение и транспортирование
8.2.1 Хранить и транспортировать плиты следует в соответствии с требованиями ГОСТ 13015 и настоящего стандарта.
8.2.2 Блоки следует хранить в штабелях рассортированными по маркам и партиям и уложенными вплотную друг к другу.
Высота штабеля из блоков должна быть не более 2,5 м.
8.2.3 При хранении и транспортировании каждый блок следует укладывать на прокладки.
Прокладки должны быть расположены по вертикали одна над другой в местах, указанных в рабочих чертежах, а при отсутствии таких указаний - между рядами блоков.
Подкладки под нижний ряд блоков следует укладывать по плотному, тщательно выровненному основанию.
8.2.4 Толщина прокладок должна быть не менее 30 мм.
8.2.5 При транспортировании блоки должны быть надежно закреплены от смещения.
Высоту штабеля при транспортировании устанавливают в зависимости от грузоподъемности транспортных средств и допускаемых габаритов погрузки.
8.2.6 Погрузку, транспортирование, разгрузку и хранение блоков следует проводить с соблюдением мер, исключающих возможность их повреждения.
8.2.7 Требования к документу о качестве блоков, поставляемых потребителю, - по ГОСТ 13015.
Дополнительно в документе о качестве блоков должны быть приведены марки бетона по морозостойкости и водонепроницаемости, а также по водопоглощению (если эти показатели оговорены в заказе на изготовление блоков).
Изготовитель должен гарантировать соответствие поставляемых блоков требованиям настоящего стандарта и технических условий при соблюдении транспортными организациями правил транспортирования, а потребителем - условий применения и хранения блоков, установленных настоящим стандартом.
На рисунке А.1 и в таблице А.1 приведены монтажные петли П1, П2, П2а, П3, П4.
Рисунок А.1 - Монтажные петли П1, П2, П2а, П3, П4
Таблица А.1 - Спецификация и выборка стали на одну монтажную петлю
|
Марка монтажной петли |
Позиция |
Класс арматуры |
Диаметр, мм |
Длина, мм |
Количество, шт |
Масса, кг |
|
П1 |
1 |
А240 |
8 |
970 |
1 |
0,38 |
|
П2, П2а |
2 |
А240 |
10 |
1180 |
0,73 |
|
|
П3 |
3 |
А240 |
12 |
1330 |
1,18 |
|
|
П4 |
4 |
А240 |
8 |
940 |
0,37 |
Ключевые слова: блок бетонный, блок подвала, длина и ширина, марка, бетон, класс, технические требования, монтажная петля