|
СОГЛАСОВАНО |
УТВЕРЖДАЮ |
|
Генеральный директор |
Руководитель |
|
ФГУП СПО «Аналитприбор» |
ГЦИ СИ ФГУП «ВНИИМС» |
|
_______________ В.Н. Антонов |
______________ В.Н. Яншин |
|
«___» ___________ 2013 г. |
«___» ___________ 2013 г. |
ГАЗОАНАЛИЗАТОРЫ АНКАТ-7631Микро
Методика поверки
ИБЯЛ.413411.058МП
Настоящая методика поверки распространяется на газоанализаторы АНКАТ-7631Микро (в дальнейшем - газоанализатор) и устанавливает методику первичной (при выпуске из производства, после ремонта) и периодической поверки в процессе эксплуатации.
Интервал между поверками - 12 месяцев.
1.1 При проведении поверки должны быть выполнены операции в соответствии с таблицей 1.1.
Таблица 1.1
|
Наименование операции |
Номер пункта методики поверки |
Проведение операции при поверке |
|
|
первичной |
периодической |
||
|
1 Внешний осмотр |
Да |
Да |
|
|
2 Опробование |
|
|
|
|
- проверка работоспособности; |
Да |
Да |
|
|
- проверка прочности изоляции электрических цепей |
Да |
Нет |
|
|
3 Определение метрологических характеристик |
|
|
|
|
- определение основной погрешности; |
Да |
Да |
|
|
- определение вариации показаний |
Да |
Да |
|
|
4 Проверка соответствия программного обеспечения средств измерений |
|
|
|
|
- проверка идентификационных данных программного обеспечения (ПО) |
Да |
Да |
|
1.2 При получении отрицательных результатов при проведении той или иной операции поверка газоанализатора прекращается.
2.1 При проведении поверки должны быть применены средства поверки, указанные в таблице 2.1 и поверочные газовые смеси (ПГС) согласно таблице 2.2.
Таблица 2.1
|
Номер пункта методики поверки |
Наименование и тип основного или вспомогательного средства поверки; обозначение нормативного документа, регламентирующего технические требования и (или) метрологические (МХ) и основные технические характеристики средства поверки |
|
Барометр-анероид М-67 диапазон измерения от 610 до 790 мм рт. ст, ТУ-25-04-1797-75 |
|
|
Термометр лабораторный ТЛ-2М, диапазон измерений (0 - 100) °С, цена деления 1 °С; ТУ 22-2021.0003-88 |
|
|
Психрометр аспирационный электрический МВ-4М. Предел измерения от 10 до 100 %, ТУ-25-1607.054-85 |
|
|
Установка для проверки электрической безопасности GPI-735A; диапазон выходного напряжения от 100 до 6000 В; диапазон установки предела по току от 0,01 до 10,0 мА; диапазон измерения сопротивления изоляции от 1 до 10000 МОм |
|
|
Фольга алюминиевая АД1, ГОСТ 4784-97* |
|
|
Увлажнительный сосуд ИБЯЛ.441411.001* |
|
|
Зажим кровоостанавливающий 1×2-зубый, зубчатый прямой, ТУ 64-1-3220-79* |
|
|
Трубка поливинилхлоридная гибкая 4×1,5 мм, ТУ 2247-465-00208947-2006* |
|
|
Трубка Ф-4Д 4×1,0, ГОСТ 22056-76 (для подачи С6Н14, NO2, H2S, SO2, Сl2, HCl)* |
|
|
Вентиль точной регулировки ИБЯЛ.306249.006* |
|
|
Редуктор баллонный СКО-10-2 по ГОСТ 13861-89* |
|
|
Секундомер СОСпр-2б-2, 60/60, кл. 2, ТУ 25-1894.003-90 |
|
|
Ротаметр РМ-А-0,063 ГУ3 кл. 4, ТУ 25-02.070213-82 |
|
|
Трубка ГС-ТВ (тройник), ГОСТ 25336-82* |
|
|
Колпачок ИБЯЛ.301121.015* |
|
|
Крышка ИБЯЛ.725322.002* |
|
|
Установка газосмесительная 368УО-Я22, ИБЯЛ.064444.001, значения концентраций приготовленной ПГС состава NH3-воздух: 18,0; 78,0; 136; 205 мг/м3, относительная погрешность приготовления ±10 % |
|
|
Генератор ГДП-102 ИБЯЛ.413142.002 ТУ, для источника микропотока, относительная погрешность значений массовой концентрации ПГС, получаемых с генератора, ±8, ±9, ±10, ±12 %, в зависимости от применяемого источника микропотока |
|
|
Источник микропотока Cl2 «ИМ09-М-А2», ИБЯЛ.418319.013 ТУ, производительность (8 - 15) мкг/мин, температура 30 °С |
|
|
Источник микропотока NO2 «ИМ01-0-Г2», ИБЯЛ.418319.013 ТУ, производительность (2,55 ± 0,45) мкг/мин температура 30/35 °С |
|
|
Источник микропотока SO2 «ИМ05-М-А2», ИБЯЛ.418319.013 ТУ, производительность (5,1 ± 0,9) мкг/мин, температура 30/35 °С |
|
|
Источник микропотока H2S «ИМ03-М-А2», ИБЯЛ.418319.013 ТУ, производительность (5,1 ± 0,9) мкг/мин; температура 30/35 °С |
|
|
Источник микропотока НСl «ИМ108-М-Е1», ИБЯЛ.418319.013 ТУ, производительность (1 - 10) мкг/мин; температура 30 °С |
|
|
Баллоны с ПГС, согласно таблице 2.2 |
Таблица 2.2
|
№ ПГС |
Компонентный состав |
Единица физической величины |
Характеристика ПГС |
Номер ПГС по Госреестру или обозначение НТД |
||
|
Содержание определяемого компонента |
Пределы допускаемого отклонения |
Пределы допускаемой погрешности аттестации |
||||
|
Газоанализаторы АНКАТ-7631Микро-СО |
||||||
|
1 |
СО-воздух |
объемная доля, млн-1 (мг/м3) |
1,0 (1,2) |
Абсолютная ±0,5 |
Абсолютная ±0,3 |
5004-89 |
|
2 |
СО-воздух |
объемная доля, млн-1 (мг/м3) |
86 (100) |
Абсолютная ±7 |
Относительная ±2 % |
3847-87 |
|
3 |
СО-воздух |
объемная доля, млн-1 (мг/м3) |
163 (190) |
Абсолютная ±10 |
Абсолютная ±4 |
7590-99 |
|
Газоанализаторы АНКАТ-7631Микро-HCl |
||||||
|
1 |
Воздух кл. 1 ГОСТ 17433-80 |
|||||
|
2 |
HCl-воздух |
мг/м3 |
13 |
Абсолютная ± 2 |
Относительная ±12 % |
* |
|
3 |
HCl-воздух |
мг/м3 |
25 |
Абсолютная ±3 |
Относительная ±12 % |
* |
|
Газоанализаторы АНКАТ-7631Микро-Н2S |
||||||
|
1 |
Воздух кл. 1 ГОСТ 17433-80 |
|||||
|
2 |
H2S-воздух |
мг/м3 |
10 |
Абсолютная ±3 |
Относительная ±8 % |
* |
|
3 |
H2S-воздух |
мг/м3 |
17 |
Абсолютная ±3 |
Относительная ±8 % |
* |
|
Газоанализатор АНКАТ-7631Микро-KН3 (первичная поверка) |
||||||
|
1 |
Воздух кл. 1 ГОСТ 17433-80** |
|||||
|
2 |
NH3-воздух |
мг/м3 |
78 |
- |
Относительная ±10 % |
*** |
|
3 |
NH3-воздух |
мг/м3 |
136 |
- |
Относительная ±10 % |
*** |
|
Газоанализатор АНКАТ-7631Микро-KH3 (периодическая поверка) |
||||||
|
1 |
Воздух кл. 1 ГОСТ 17433-80** |
|||||
|
2 |
NH3-воздух |
объемная доля, % (мг/м3) |
0,011 (75) |
Относительная ±15 % |
Относительная ±4 % |
9167-2008 |
|
3 |
NH3-воздух |
объемная доля, млн-1 (мг/м3) |
191 (135) |
Абсолютная ±31 |
Абсолютная ±19 |
7921-2001 |
|
Газоанализатор АНКАТ-7631Микро-Сl2 |
||||||
|
1 |
Воздух кл. 1 ГОСТ 17433-80 |
|||||
|
2 |
Сl2-воздух |
мг/м3 |
12 |
Абсолютная ± 2 |
Относительная ±9 % |
* |
|
3 |
Сl2-воздух |
мг/м3 |
23 |
Абсолютная ± 2 |
Относительная ±9 % |
* |
|
Газоанализатор АНКАТ-7631Микро-SO2 |
||||||
|
1 |
Воздух кл. 1 ГОСТ 17433-80 |
|||||
|
2 |
SO2-воздух |
мг/м3 |
10 |
Абсолютная ±3 |
Относительная ±8 % |
* |
|
3 |
SO2-воздух |
мг/м3 |
17 |
Абсолютная ±3 |
Относительная ±8 % |
* |
|
Газоанализатор АНКАТ-7631Микро-NO2 |
||||||
|
1 |
Воздух кл. 1 ГОСТ 17433-80 |
|||||
|
2 |
NO2-воздух |
мг/м3 |
5 |
Абсолютная ±1,5 |
Относительная ±8 % |
* |
|
3 |
NO2-воздух |
мг/м3 |
8,5 |
Абсолютная ±1,5 |
Относительная ±8 % |
* |
|
Газоанализаторы АНКАТ-7631Микро-O2, АНКАТ-7631Микро-O2-ВД |
||||||
|
1 |
Азот газообразный особой (или повышенной) чистоты ГОСТ 9293-74 |
|||||
|
2 |
O2-N2 |
объемная доля, % |
14 |
Относительная ±5% |
Относительная ±(-0,03Х + 1,15) % |
3726-87 |
|
3 |
O2-N2 |
объемная доля, % |
28 |
Относительная ±5% |
Относительная ±(-0,0032Х + 0,35) % |
3732-87 |
|
Примечания 1 Х - содержание определяемого компонента, указанное в паспорте на ГСО-ПГС. 2 * - ПГС получены с генератора ГДП-102 с использованием источников микропотока ИБЯЛ.418319.013. 3 ** - использовать любое приспособление, обеспечивающее увлажнение (65 ± 15) % при расходе (0,40 ± 0,05) дм3/мин. 4 *** - ПГС получены при помощи установки для приготовления ПГС NH3 с воздухом 368УО-R22 ИБЯЛ.064444.001. 5 Допускается получение указанных ПГС на другом оборудовании при условии обеспечения характеристик, не хуже вышеуказанных. 6 Изготовители и поставщики ПГС: - 214031; ФГУП СПО «Аналитприбор», Россия, г. Смоленск, ул. Бабушкина, 3, тел. (4812) 31-32-39, факс (4812) 31-75-17; - 190005; ГЦИ СИ ГУП «ВНИИМ им. Д.И. Менделеева», Россия, г. С-Петербург, Московский пр-т, 19, тел. (812) 315-11-45, факс (812) 327-97-76. |
||||||
2.2 Все средства поверки, кроме отмеченных*, должны иметь действующие свидетельства о поверке, источники микропотока и поверочные газовые смеси в баллонах под давлением - действующие паспорта.
2.3 Допускается применение других средств поверки, метрологические характеристики которых не хуже указанных.
3.1 При проведении поверки должны быть соблюдены следующие требования безопасности:
- требования техники безопасности и производственной санитарии выполнять согласно «Правилам по охране труда на предприятиях и в организациях машиностроения» ПОТ Р О-14000-001-98, утвержденным департаментом экономики машиностроения министерства экономики РФ 12.03.98;
- требования техники безопасности при эксплуатации баллонов со сжатыми газами должны соответствовать «Правилам устройства и безопасной эксплуатации сосудов, работающих под давлением» (ПБ 03-576-03), утвержденным постановлением № 91 Госгортехнадзора России от 11.06.2003 г.;
- сброс газа при поверке газоанализатора по ПГС должен осуществляться за пределы помещения;
- при работе с ПГС, содержание объемной доли кислорода в которых превышает 23 %, жировое загрязнение газового тракта должно быть исключено;
- помещение должно быть оборудовано приточно-вытяжной вентиляцией;
- в помещении запрещается пользоваться открытым огнем и курить;
- к поверке допускаются лица, изучившие настоящую методику поверки, руководство по эксплуатации и прошедшие необходимый инструктаж.
4.1 При проведении поверки должны быть соблюдены следующие условия, если они не оговорены особо:
|
- температура окружающего воздуха, °С |
20 ± 5; |
|
- относительная влажность, % |
65 ± 15; |
|
- атмосферное давление, кПа |
101,3 ± 4; |
|
(мм рт. ст.) |
(760 ± 30); |
- механические воздействия, внешние электрические и магнитные поля (кроме поля Земли), влияющие на метрологические характеристики, должны быть исключены;
- питание газоанализатора осуществлять от аккумуляторной батареи, если не оговорено особо;
- расход ПГС при поверке указаны в таблице 4.1.
Таблица 4.1
|
Условное наименование газоанализаторов |
Расход ПГС, дм3/мин |
|
АНКАТ-7631Микро-СО |
0,40 ± 0,10 |
|
АНКАТ-7631Микро-HCl |
0,40 ± 0,10 |
|
АНКАТ-7631Микро-Н2S |
0,35 ± 0,05 |
|
АНКАТ-7631Микро-NH3 |
0,40 ± 0,05 |
|
АНКАТ-7631Микро-Сl2 |
0,35 ± 0,05 |
|
АНКАТ-7631Микро-SO2 |
0,35 ± 0,05 |
|
АНКАТ-7631Микро-NO2 |
0,35 ± 0,05 |
|
АНКАТ-7631Микро-O2 |
0,40 ± 0,10 |
|
АНКАТ-7631Микро-О2-ВД |
0,40 ± 0,10 |
5.1 Перед проведением поверки необходимо выполнить следующие подготовительные работы:
- ознакомиться с настоящей методикой поверки и руководством по эксплуатации;
- выполнить мероприятия по обеспечению условий безопасности;
- проверить наличие паспортов и сроки годности поверочных газовых смесей и источников микропотока;
- баллоны с ПГС выдержать при температуре поверки не менее 24 ч;
- газоанализатор выдержать при температуре поверки не менее 4 ч;
- подготовить к работе средства поверки в соответствии с требованиями их эксплуатационной документации;
- подготовить газоанализатор к работе согласно разделу 2 руководства по эксплуатации;
- после проведения корректировки показаний перед определением метрологических характеристик необходимо выдержать газоанализаторы на атмосферном воздухе в течение 45 мин;
- для газоанализатора АНКАТ-7631Микро-NH3 допускается вместо ПГС № 1 использовать атмосферный воздух;
- для газоанализатора АНКАТ-7631Микро-NH3 повторную подачу ПГС № 3 допускается проводить не ранее, чем через 30 мин после предыдущей во избежание повреждения (высыхания) ЭХД;
- перед проверкой метрологических характеристик газоанализатора АНКАТ-7631Микро-HCl подать на газоанализатор ПГС № 3 в течение 15 мин, а затем выдержать газоанализатор на атмосферном воздухе в течение 30 мин;
- перед проверкой метрологических характеристик газоанализатора АНКАТ-7631Микро-Cl2 подать на газоанализатор ПГС № 3 в течение 40 мин, а затем выдержать газоанализатор на атмосферном воздухе в течение 30 мин;
- допускается изменение показаний в установившемся значении выходного сигнала, не превышающее 0,2 в долях от пределов основной погрешности. Установившимся значением считать среднее значение выходного сигнала в течение 30 с после начала отсчета показаний;
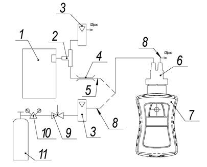
- поверку газоанализатора по ПГС проводить по схемам, приведенным на рисунках 5.1 - 5.4.
а) газоанализаторы АНКАТ-7631Микро-СО, АНКАТ-7631Микро-О2

б) газоанализаторы АНКАТ-7631Микро-О2-ВД
|
1 - баллон с ПГС; |
2 - редуктор баллонный; |
3 - вентиль точной регулировки; |
|
4 - ротаметр; |
5 - колпачок поверочный; |
6 - газоанализатор; |
|
7 - датчик выносной; |
8 - крышка ИБЯЛ.725322.002. |
|
Примечание - Газовые соединения выполнить трубкой ПВХ 4×1,5.
Рисунок 5.1 - Схема проверки газоанализаторов
АНКАТ-7631Микро-СО, АНКАТ-7631Микро-О2, АНКАТ-7631Микро-О2-ВД
(при первичной и периодической поверке) по ПГС
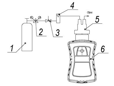
|
1 - генератор ГДП-102 с источниками микропотока H2S, Cl2, SO2, NO2, НСl; |
|
2 - тройник (стеклянный или из нержавеющей стали); |
|
3 - ротаметр; |
|
4 - зажим; |
|
5 - трубка Ф-4Д 4×1,0; |
|
6 - колпачок поверочный ИБЯЛ.301121.015; |
|
7 - газоанализатор; |
|
8 - трубка ПВХ 4×1,5; |
|
9 - вентиль точной регулировки; |
|
10 - редуктор баллонный; |
|
11 - баллон с ПГС № 1. |
Примечание - Расход ПГС от генератора ГДП-102 через газоанализатор установить с помощью зажима таким образом, чтобы разность показаний расхода с генератора и ротаметра составляла (0,35 ± 0,05) дм3/мин (для АНКАТ-7631Микро-НСl (0,40 ± 0,10) дм3/мин))
Рисунок 5.2 - Схема проверки газоанализаторов
АНКАТ-7631Микро-H2S, АНКАТ-7631 Микро-Cl2,
АНКАТ-7631Микро-NO2,
АНКАТ-7631Микро-SO2 и АНКАТ-7631Микро-НСl
(при первичной и периодической поверке) по ПГС
|
1 - баллон с ПГС № 1; |
|
2 - редуктор баллонный; |
|
3 - вентиль точной регулировки; |
|
4 - ротаметр; |
|
5 - трубка Ф-4Д 4×1,0; |
|
6 - увлажнительный сосуд ИБЯЛ.441411.001 (при подаче ПГС № 3 не применять); |
|
7 - колпачок поверочный ИБЯЛ.301121.015; |
|
8 - газоанализатор; |
|
9 - трубка ПВХ 4×1,5; |
|
10 - установка 368УO-R22 для получения ПГС NH3 с воздухом. |
Примечание - Допускается использовать в качестве сосуда для увлажнения любое другое приспособление, обеспечивающее увлажнение воздуха (65 ± 15) % при расходе (0,40 ± 0,05) дм3/мин.
Рисунок 5.3 - Схема проверки газоанализаторов
АНКАТ-7631Микро-NH3 (при первичной поверке)
по ПГС
|
1 - баллон с ПГС; |
|
2 - редуктор баллонный; |
|
3 - вентиль точной регулировки; |
|
4 - ротаметр; |
|
5 - трубка Ф-4Д 4×1,0; |
|
6 - увлажнительный сосуд ИБЯЛ.441411.001 (при подаче ПГС № 3 не применять); |
|
7 - колпачок поверочный ИБЯЛ.301121.015; |
|
8 - газоанализатор; |
|
9 - трубка ПВХ 4×1,5 |
Примечание - Допускается использовать в качестве сосуда для увлажнения любое другое приспособление, обеспечивающее увлажнение воздуха (65 ± 15) % при расходе (0,40 ± 0,05) дм3/мин.
Рисунок 5.4 - Схема проверки газоанализаторов
АНКАТ-7631Микро-NH3 (при периодической
поверке) по ПГС
6.1 Внешний осмотр
6.1.1 При внешнем осмотре газоанализатора должно быть установлено:
- отсутствие внешних механических повреждений (царапин, вмятин и др.), влияющих на метрологические характеристики газоанализатора;
- наличие гарантийной наклейки;
- наличие маркировки газоанализатора, соответствующей руководству по эксплуатации;
- комплектность газоанализатора, указанная в руководстве по эксплуатации;
- исправность органов управления, настройки и коррекции;
- наличие всех видов крепежа.
Примечание - Комплектность газоанализатора проверять только при первичной поверке при выпуске из производства.
6.1.2 Газоанализатор считается выдержавшим внешний осмотр, если он соответствует указанным выше требованиям.
6.2 Опробование
6.2.1 Проверка работоспособности
6.2.1.1 Провести проверку работоспособности газоанализатора в соответствии с разделом 2 руководства по эксплуатации.
6.2.1.2 Газоанализатор считается работоспособным, если требования руководства по эксплуатации выполняются.
6.2.2 Проверка прочности изоляции электрических цепей
6.2.2.1 Проверку проводить на установке для проверки электрической безопасности GPI-735A. Газоанализатор должен быть выключен. Перед началом проверки корпус газоанализатора покрыть сплошной, плотно прилегающей к поверхности металлической фольгой таким образом, чтобы расстояние от зажимов испытуемой цепи до края фольги было не менее 20 мм.
Испытательное напряжение должно изменяться от 0 до заданного значения за время от 5 до 20 с. Снижение испытательного напряжения от заданного значения до нуля осуществлять в течение такого же времени. Изоляцию выдержать под действием испытательного напряжения в течение 1 мин.
6.2.2.2 Испытательное, практически синусоидальное, напряжение 500 В (действующее значение) и частотой 50 Гц прикладывать:
- одну клемму установки GPI-735А к фольге, в которую обернут корпус газоанализатора;
- другую клемму установки GPI-735А к соединенным между собой контактам разъема USB.
6.2.2.3 Результаты операции поверки считаются положительными, если за время проверки не наблюдается признаков пробоя или поверхностного перекрытия изоляции.
6.3 Определение метрологических характеристик
6.3.1 Определение основной погрешности
6.3.1.1 Проверку основной погрешности проводить по схемам рисунков 5.1 - 5.4 путем подачи на вход газоанализатора ПГС в последовательности №№ 1 - 2 - 3 - 2 - 1 - 3. Время подачи ПГС указано в таблице 6.1.
Таблица 6.1
|
Условное наименование газоанализатора |
Время подачи ПГС, мин |
|||||
|
№ 1 |
№ 2 |
№ 3 |
№ 2 |
№ 1 |
№ 3 |
|
|
АНКАТ-7631Микро-СО |
3 |
3 |
3 |
3 |
3 |
3 |
|
АНКАТ-7631Микро-НСl |
20 |
5 |
5 |
5 |
20 |
5 |
|
АНКАТ-7631Микро-H2S |
5 |
5 |
5 |
5 |
5 |
5 |
|
АНКАТ-7631Микро-NH3 |
15 |
10 |
10 |
10 |
45 |
10 |
|
АНКАТ-7631Микро-Сl2 |
20 |
10 |
10 |
10 |
20 |
10 |
|
АНКАТ-7631Микро-SO2 |
5 |
5 |
5 |
5 |
5 |
5 |
|
АНКАТ-7631Микро-NO2 |
5 |
5 |
5 |
5 |
5 |
5 |
|
АНКАТ-7631Микро-O2, |
3 |
3 |
3 |
3 |
3 |
3 |
|
АНКАТ-7631Микро-O2-ВД |
||||||
6.3.1.2 В каждой точке проверки зафиксировать показания газоанализатора.
6.3.1.3 Значение основной абсолютной погрешности (Δ) в каждой точке проверки определить по формуле
|
Δ = Cj - Сд, |
(6.1) |
где Cj - измеренное значение содержания определяемого компонента (показания газоанализатора) в точке проверки, массовая концентрация, мг/м3 или объемная доля, %;
Сд - действительное значение концентрации определяемого компонента в точке проверки, указанное в паспорте на ПГС*, массовая концентрация, мг/м3 или объемная доля, %.
Примечание - * - Значение массовой концентрации определяемого компонента в ПГС, полученной при помощи генератора ГДП-102, рассчитать в соответствии с данными, приведенными в паспорте на ИМ.
6.3.1.4 Для газоанализатора АНКАТ-7631Микро-NH3 на участке диапазона измерения от 20 до 150 мг/м3 определить основную относительную погрешность (δ) в каждой точке проверки по формуле
|
|
(6.2) |
6.3.1.5 Для газоанализатора АНКАТ-7631Микро-О2 основную приведенную погрешность (γ) в каждой точке проверки определить по формуле:
|
|
(6.3) |
где Св, Сн - верхний и нижний пределы диапазона измерения объемной доли кислорода, %.
6.3.1.6 Результаты операции поверки считаются положительными, если обеспечивается цифровая индикация содержания определяемого компонента на индикаторе и полученные значения основной погрешности не превышают пределов, указанных в таблице 6.2.
|
Условное наименование газоанализатора |
Единица физической величины |
Участок диапазона измерений |
Пределы допускаемого значения основной погрешности газоанализатора Δд (δд, γд) |
|
АНКАТ-7631Микро-СО |
мг/м3 |
0 - 20 |
Δд = ±5 мг/м3 |
|
20 - 200 |
Δд = ± (5 + 0,25(Свх - 20)) мг/м3 |
||
|
АНКАТ-7631Микро-НСl |
мг/м3 |
0 - 5 |
Δд = ±1,25 мг/м3 |
|
5 - 30 |
Δд = ±0,25Свх мг/м3 |
||
|
АНКАТ-7631Микро-Н2S |
мг/м3 |
0 - 3 |
Δд = ±0,75 мг/м3 |
|
3 - 20 |
Δд = ± (0,75 + 0,25(Свх - 3)) мг/м3 |
||
|
АНКАТ-7631Микро-NH3 |
мг/м3 |
0 - 20 |
Δд = ±5 мг/м3 |
|
20 - 150 |
δд = ±25 % |
||
|
АНКАТ-7631Микро-Сl2 |
мг/м3 |
0 - 1 |
Δд = ±0,25 мг/м3 |
|
1 - 25 |
Δд = ± (0,25 + 0,25(Свх - 1)) мг/м3 |
||
|
АНКАТ-7631Микро-SО2 |
мг/м3 |
0 - 20 |
Δд = ± (2,5 + 0,125Свх) мг/м3 |
|
АНКАТ-7631Микро-NО2 |
мг/м3 |
0 - 2 |
Δд = ±0,5 мг/м3 |
|
2 - 10 |
Δд = ± (0,5 + 0,15(Свх - 2)) мг/м3 |
||
|
АНКАТ-7631Микро-О2 |
объемная доля, % |
0 - 30 |
γд = ± 3 % |
|
АНКАТ-7631Микро-О2-ВД |
0 - 30 |
Δд = ± (0,4 + 0,05Свх) % объемной доли |
|
|
Примечание - Свх - значение концентрации определяемого компонента на входе газоанализатора, мг/м3 (объемная доля, %) |
|||
6.3.2 Определение вариации показаний
6.3.2.1 Определение вариации показаний проводить при подаче ПГС № 2. Допускается проводить проверку одновременно с определением основной погрешности по п. 6.3.1.
6.3.2.2 Значение вариации показаний (β) в точке проверки, соответствующей ПГС № 2, рассчитать по формуле
|
|
(6.4) |
где Сб (См) - показания газоанализатора при подходе к точке проверки со стороны больших (меньших) значений содержания определяемого компонента, массовая концентрация, мг/м3 или объемная доля, %;
Δд - предел допускаемой основной абсолютной погрешности газоанализатора, массовая концентрация, мг/м3 или объемная доля, %, согласно таблице 6.2.
6.3.2.3 Для газоанализатора АНКАТ-7631Микро-NH3 на участке диапазона измерения от 20 до 150 мг/м3 определить значение вариации показаний в точке проверки, соответствующей ПГС № 2, по формуле
|
|
(6.5) |
где δд - предел допускаемой основной относительной погрешности газоанализатора, %, согласно таблице 6.2.
6.3.2.4 Для газоанализатора АНКАТ-7631Микро-О2 значение вариации показаний в точке проверки, соответствующей ПГС № 2, определить по формуле
|
|
(6.6) |
где γд - предел допускаемой основной приведенной погрешности газоанализатора, %, согласно таблице 6.2.
6.3.2.5 Газоанализатор считается выдержавшим поверку, если полученное значение вариации показаний в долях от пределов допускаемой основной погрешности не превышает 0,5.
6.4 Проверка соответствия программного обеспечения средств измерений
6.4.1 Проверка идентификационных данных программного обеспечения (ПО)
6.4.1.1 Проверку проводить в следующем порядке:
- включить газоанализатор;
- убедиться, что на индикаторе газоанализатора появился номер версии ПО;
- после этого происходит подсчет контрольной суммы и вывод контрольной суммы на индикатор.
6.4.1.2 Газоанализатор считается выдержавшим проверку, если номер текущей версии ПО и контрольная сумма соответствуют данным, указанным в руководстве по эксплуатации на газоанализатор.
7.1 Результаты поверки оформляют протоколом произвольной формы.
7.2 Газоанализатор, удовлетворяющий требованиям настоящей методики поверки, признают годным к применению и клеймят путем нанесения оттиска поверительного клейма на корпусе газоанализатора или делают соответствующую отметку в эксплуатационной документации, или выдают свидетельство о поверке согласно ПР 50.2.006-94.
7.3 При отрицательных результатах поверки эксплуатацию газоанализатора запрещают, клеймо предыдущей поверки гасят, аннулируют свидетельство о поверке и направляют газоанализатор в ремонт. В технической документации делают отметку о непригодности, выдают извещение установленной формы согласно ПР 50.2.006-94 с указанием причин непригодности.
|
От ГЦИ СИ ФГУП «ВНИИМС» |
От ФГУП СПО «Аналитприбор» |
|
Старший научный сотрудник |
Начальник
ОМ - главный метролог |
|
___________________ В.С. Радюхин |
__________________ Н.А. Диваков |
|
|
|
|
|
Ведущий инженер |
|
|
__________________ Л.Л. Ужегова |
Лист регистрации изменений
|
Изм. |
Номера листов (страниц) |
Всего листов в документе |
Номер документа |
подпись |
Дата |
|||
|
измененных |
замененных |
новых |
аннулированных |
|||||
|
|
|
|
|
|
|
|
|
|
|
|
|
|
|
|
|
|
|
|
СОДЕРЖАНИЕ