|
МИНИСТЕРСТВО
СТРОИТЕЛЬСТВА |
|
|
СВОД ПРАВИЛ |
СП 445.1325800.2018 |
ВОДОПРОПУСКНЫЕ ТРУБЫ И СИСТЕМЫ
ВОДООТВОДА В РАЙОНАХ ВЕЧНОЙ МЕРЗЛОТЫ
Правила проектирования
Москва
Стандартинформ
2019
Предисловие
Сведения о своде правил
1 ИСПОЛНИТЕЛЬ - Общество с ограниченной ответственностью «Центральная лаборатория инженерной теплофизики» (ООО «ЦЛИТ»)
2 ВНЕСЕН Техническим комитетом по стандартизации ТК 465 «Строительство»
3 ПОДГОТОВЛЕН к утверждению Департаментом градостроительной деятельности и архитектуры Министерства строительства и жилищно-коммунального хозяйства Российской Федерации (Минстрой России)
4 УТВЕРЖДЕН приказом Министерства строительства и жилищно-коммунального хозяйства Российской Федерации от 25 декабря 2018 г. № 859/пр и введен в действие с 26 июня 2019 г.
5 ЗАРЕГИСТРИРОВАН Федеральным агентством по техническому регулированию и метрологии (Росстандарт)
6 ВВЕДЕН ВПЕРВЫЕ
В случае пересмотра (замены) или отмены настоящего свода правил соответствующее уведомление будет опубликовано в установленном порядке. Соответствующая информация, уведомление и тексты размещаются также в информационной системе общего пользования - на официальном сайте разработчика (Минстрой России) в сети Интернет
СОДЕРЖАНИЕ
Введение
Настоящий свод правил разработан в соответствии с федеральными законами от 30 декабря 2009 г. № 384-ФЗ «Технический регламент о безопасности зданий и сооружений», от 22 июля 2008 г. № 123-ФЗ «Технический регламент о требованиях пожарной безопасности», от 23 ноября 2009 г. № 261-ФЗ «Об энергосбережении и о повышении энергоэффективности и о внесении изменений в отдельные законодательные акты Российской Федерации», от 27 декабря 2002 г. № 184-ФЗ «О техническом регулировании».
Настоящий свод правил разработан авторским коллективом ООО «ЦЛИТ» (ответственный исполнитель - д-р техн. наук В.В. Пассек, канд. техн. наук Н.А. Цуканов, канд. техн. наук Г.М. Поз, канд. техн. наук Е.С. Пшеничникова, канд. техн. наук В.П. Величко, канд. техн. наук Вяч. В. Пассек, канд. техн. наук В.Г. Дубинин, М.И. Гринченко), АО ЦНИИС (канд. экон. наук И.А. Бегун), д-р техн. наук Г.С. Переселенков, канд. техн. наук Г.Г. Орлов, канд. техн. наук В.А. Герасимов, канд. техн. наук А.И. Штейн, канд. техн. наук В.И. Казаркина, В.Б. Гниздовский, канд. техн. наук Г.П. Минайлов, канд. техн. наук С.Н. Юсупов, канд. техн. наук Н.Ф. Вербух, д-р техн. наук А.А. Цернант (научный консультант).
СВОД ПРАВИЛ
|
ВОДОПРОПУСКНЫЕ ТРУБЫ И СИСТЕМЫ ВОДООТВОДА В РАЙОНАХ ВЕЧНОЙ МЕРЗЛОТЫ Правила проектирования Culverts and drainage systems in areas of permafrost. Design rules |
Дата введения - 2019-06-26
Настоящий свод правил распространяется на проектирование водопропускных труб и систем водоотвода на новых и реконструируемых железных и автомобильных дорогах в районах распространения многолетнемерзлых грунтов.
В настоящем своде правил использованы нормативные ссылки на следующие документы:
ГОСТ 9.306-85 Единая система защиты от коррозии и старения. Покрытия металлические и неметаллические неорганические. Обозначения
ГОСТ 9.602-2016 Единая система защиты от коррозии и старения. Сооружения подземные. Общие требования к защите от коррозии
ГОСТ 380-2005 Сталь углеродистая обыкновенного качества. Марки
ГОСТ 535-2005 Прокат сортовой и фасонный из стали углеродистой обыкновенного качества. Общие технические условия
ГОСТ 1050-2013 Металлопродукция из нелегированных конструкционных качественных и специальных сталей. Общие технические условия
ГОСТ 1577-93 Прокат толстолистовой и широкополосный из конструкционной качественной стали. Технические условия
ГОСТ 4543-2016 Металлопродукция из конструкционной легированной стали. Технические условия
ГОСТ 7798-70 Болты с шестигранной головкой класса точности В. Конструкция и размеры
ГОСТ 11371-78 Шайбы. Технические условия
ГОСТ 14637-89 Прокат толстолистовой из углеродистой стали обыкновенного качества. Технические условия
ГОСТ 14918-80 Сталь тонколистовая оцинкованная с непрерывных линий. Технические условия
ГОСТ 15150-69 Машины, приборы и другие технические изделия. Исполнения для различных климатических районов. Категории, условия эксплуатации, хранения и транспортирования в части воздействия климатических факторов внешней среды
ГОСТ 16149-70 Защита подземных сооружений от коррозии блуждающим током поляризованными протекторами. Технические требования
ГОСТ 16523-97 Прокат тонколистовой из углеродистой стали качественной и обыкновенного качества общего назначения. Технические условия
ГОСТ 19281-2014 Прокат повышенной прочности. Общие технические условия
ГОСТ 21123-85 Торф. Термины и определения
ГОСТ 22032-76 Шпильки с ввинчиваемым концом длиной 1d. Класс точности В. Конструкция и размеры
ГОСТ 25100-2011 Грунты. Классификация
ГОСТ 27772-2015 Прокат для строительных стальных конструкций. Общие технические условия
ГОСТ 34180-2017 Прокат стальной тонколистовой холоднокатаный и холоднокатаный горячеоцинкованный с полимерным покрытием с непрерывных линий. Технические условия
ГОСТ ISO 4032-2014 Гайки шестигранные нормальные (тип 1). Классы точности А и В
ГОСТ ISO 8673-2014 Гайки шестигранные нормальные (тип 1) с мелким шагом резьбы. Классы точности А и В
ГОСТ Р 52246-2016 Прокат листовой горячеоцинкованный. Технические условия
ГОСТ Р 53238-2008 Материалы геотекстильные. Метод определения характеристики пор
ГОСТ Р 55030-2012 Дороги автомобильные общего пользования. Материалы геосинтетические для дорожного строительства. Метод определения прочности при растяжении
ГОСТ Р 55032-2012 Дороги автомобильные общего пользования. Материалы геосинтетические для дорожного строительства. Метод определения устойчивости к многократному замораживанию и оттаиванию
ГОСТ Р 55035-2012 Дороги автомобильные общего пользования. Материалы геосинтетические для дорожного строительства. Метод определения устойчивости к агрессивным средам
ГОСТ Р 57997-2017 Арматурные и закладные изделия сварные, соединения сварные арматуры и закладных изделий железобетонных конструкций. Общие технические условия
ГОСТ Р ИСО 4017-2013 Винты с шестигранной головкой. Классы точности А и В
СП 16.13330.2017 «СНиП 11-23-81* Стальные конструкции» (с изменением № 1)
СП 22.13330.2016 «СНиП 2.02.01-83* Основания зданий и сооружений» (с изменениями № 1, № 2)
СП 25.13330.2012 «СНиП 2.02.04-88 Основания и фундаменты на вечномерзлых грунтах» (с изменениями № 1, № 2, № 3)
СП 28.13330.2017 «СНиП 2.03.11-85 Защита строительных конструкций от коррозии» (с изменением № 1)
СП 35.13330.2011 «СНиП 2.05.03-84* Мосты и трубы» (с изменением № 1)
СП 46.13330.2012 «СНиП 3.06.04-91 Мосты и трубы» (с изменениями № 1, № 3, № 4)
СП 48.13330.2011 «СНиП 12-01-2004 Организация строительства» (с изменением № 1)
СП 354.1325800.2017 Фундаменты опор мостов в районах распространения многолетнемерзлых грунтов. Правила проектирования и строительства
Примечание - При пользовании настоящим сводом правил целесообразно проверить действие ссылочных документов в информационной системе общего пользования - на официальном сайте федерального органа исполнительной власти в сфере стандартизации в сети Интернет или по ежегодному информационному указателю «Национальные стандарты», который опубликован по состоянию на 1 января текущего года, и по выпускам ежемесячного информационного указателя «Национальные стандарты» за текущий год. Если заменен ссылочный документ, на который дана недатированная ссылка, то рекомендуется использовать действующую версию этого документа с учетом всех внесенных в данную версию изменений. Если заменен ссылочный документ, на который дана датированная ссылка, то рекомендуется использовать версию этого документа с указанным выше годом утверждения (принятия). Если после утверждения настоящего свода правил в ссылочный документ, на который дана датированная ссылка, внесено изменение, затрагивающее положение, на которое дана ссылка, то это положение рекомендуется применять без учета данного изменения. Если ссылочный документ отменен без замены, то положение, в котором дана ссылка на него, рекомендуется применять в части, не затрагивающей эту ссылку. Сведения о действии сводов правил целесообразно проверить в Федеральном информационном фонде стандартов.
3.1 Термины и определения
В настоящем своде правил применены термины по ГОСТ 25100, ГОСТ 21123, СП 25.13330, а также следующие термины с соответствующими определениями:
3.1.1 бьеф: Часть водоема, реки или канала, примыкающая к водонапорному сооружению (плотине, шлюзу, гидроэлектростанции и др.).
Примечание - Верхний бьеф расположен по течению выше водонапорного сооружения, нижний бьеф находится ниже него.
3.1.2 звено водопропускной трубы: Элемент сборной водопропускной трубы, имеющий замкнутый контур в поперечном сечении.
3.1.3 криогенная текстура: Система ледяных включений в мерзлом грунте, определяется формой, величиной, взаиморасположением ледяных образований.
3.1.4 наледь (здесь): Отложение льда, образовавшегося в результате замерзания: подземной воды, излившейся на земную поверхность; речной воды или иного водотока, излившейся на поверхность ледяного покрова, в том числе при таянии снежного покрова.
3.1.5 оголовок водопропускной трубы: Крайний элемент трубы, удерживающий откос насыпи по концам трубы и обеспечивающий вход водного потока в трубу и выход из нее.
3.1.6 природно-техническая система; ПТС (здесь): Комплекс взаимодействующих природных и антропогенных (техногенных) объектов в пределах выделенного таксона с одинаковыми физико-географическими условиями.
3.1.7 тело водопропускной трубы: Основная часть трубы между оголовками, находящаяся во вмещающем грунтовом массиве насыпи, грунтовой/армогрунтовой обоймы, по которой осуществляется пропуск воды.
3.1.8 температурный режим грунтов (здесь): Совокупность и последовательность измерений температуры грунта вследствие поступления, перемещения аккумулирования и расхода тепла на протяжении определенного отрезка времени.
3.1.9 термоопора: Часть инженерного сооружения, которая охлаждает грунт и выполняет функции несущего элемента, а также контрольной термоскважины.
3.2 Сокращения
ВГВМ - верхняя граница вечной мерзлоты;
ММГ - многолетнемерзлые грунты;
НДС - напряженно-деформированное состояние.
4.1 При проектировании водопропускных труб и систем водоотвода на ММГ в зависимости от их конструктивных и технологических особенностей и мерзлотно-грунтовых условий следует применять один из следующих принципов использования этих грунтов в качестве основания:
- принцип I - грунты основания используются в мерзлом состоянии, сохраняемом в течение всего периода эксплуатации сооружения. При этом грунты могут быть мерзлыми до строительства или замораживаемыми в процессе строительства;
- принцип II - грунты основания используются в талом или оттаивающем состоянии.
Следует преимущественно применять принцип I. Применение принципа II связано с более значительными неопределенностями, с нарушением равновесия среды, в частности с протаиванием смежных массивов, расположенных рядом или внизу, что может привести к деформации или сдвигу больших массивов. Поэтому при применении принципа II следует провести расчет теплового влияния расчетной зоны на соседние массивы и их устойчивости после оттаивания.
При принятии решения о выборе принципа I или II рекомендуется учитывать наличие подтипов этих принципов:
- принцип I, а - обеспечение совмещения ВГВМ с нижней границей деятельного слоя, т.е. с глубиной сезонного протаивания;
- принцип I, б - допущение под сооружением таликов ограниченных размеров в период эксплуатации;
- принцип II, а - возведение сооружений на естественных или искусственно созданных таликах глубиной, соответствующей размерам зон напряженного состояния от действия земляного полотна и временных нагрузок (20 - 30 м);
- принцип II, б - возведение сооружений на мерзлых грунтах с допущением возможности их оттаивания на всю глубину зоны напряженного состояния.
4.2 Принципиальные проектные решения при проектировании водопропускных сооружений следует принимать на основе анализа модели ПТС с учетом требований к охране окружающей среды и защиты от опасных природных процессов, обусловленных взаимодействием компонентов лито- и гидросферы и техносферы.
4.3 Прогнозирование температурного режима грунтов оснований сооружений необходимо выполнять как для самого сооружения непосредственно, так и для прилегающей территории с водотоком.
При проектировании конструкции и технологии возведения водопропускных сооружений должны быть выявлены особенности взаимодействий сооружения с вмещающими, подстилающими и примыкающими грунтовыми массивами и водными объектами в пределах полосы отвода (с учетом влияния растительности, снеговых отложений, уровней грунтовых и режимов поверхностных вод, других сооружений и т.п.). Эти особенности должны быть учтены также при разработке схемы мониторинга.
На снегозаносимых участках дорог граница полосы отвода устанавливается с учетом расположения снегозадерживающих сооружений.
4.4 Прочность, устойчивость и стабильность геометрии проектируемого сооружения должна быть обеспечена при всех возможных измерениях параметров взаимодействий компонентов ПТС в течение жизненного цикла сооружения. Это требует обеспечения в проектах всех трех составляющих критерия надежности - информационной, конструкционной и функциональной.
4.5 Информационная надежность обеспечивается результатами изысканий, обследований, сбора имеющихся данных наблюдений за климатом и состоянием территории размещения проектируемого сооружения. Конструкционная надежность обеспечивается в ходе проектирования и строительства объекта выбором типа сооружения, материалов, конструкций, технологических процессов с расчетами НДС сооружения и основания, теплотехническими расчетами и гидравлическими расчетами водоотводов и водопропускных труб и мостов. Функциональная надежность обеспечивается правильностью выбора системы водоотвода, сооружений водопропуска, защиты проектируемого комплекса сооружений от негативных природных процессов и явлений, качеством строительства и соблюдением регламента эксплуатации (обслуживания и ремонтов), научным сопровождением проектирования и строительства сооружений.
4.6 В зависимости от местных условий (топографических, гидравлических, мерзлотных и геологических) применяют различные типы водопропускных сооружений и систем водоотведения. К ним относятся трубы, дамбы, лотки, канавы и фильтрующие насыпи. На автомобильных дорогах низших категорий допускается перелив воды через полотно дороги по специальным лоткам, являющимся одновременно и проезжей частью дороги, а также по устройствам, отводящим воду с проезжей части дороги и разделительных полос.
4.7 Для защиты водопропускных сооружений от карчехода применяют улавливающие устройства (решетки, свайные ряды и сетчатые барьеры).
4.8 Применение водопропускных труб по конструктивным соображениям целесообразно при высоте насыпи более 1,5 м при условии обеспечения достаточной толщины слоя грунта над шелыгой свода трубы (см. СП 35.13330.2011 и таблицу 4.1).
Таблица 4.1 - Минимальная толщина засыпки над трубами
|
Дороги |
Толщина засыпки*, м, над трубами |
|
|
железобетонными |
металлическими |
|
|
Железные дороги: |
|
|
|
- общей сети и подъездные пути предприятий; |
1,0 |
1,2 |
|
- внутренние пути предприятий |
0,4 |
1,0 |
|
Автомобильные дороги общего пользования, дороги и улицы в городах, поселках и сельских населенных пунктах, а также автомобильные дороги промышленных предприятий |
0,8 |
0,8** |
|
Внутрихозяйственные автомобильные дороги |
0,5*** |
0,5** |
|
* Считая от верха звена (плиты перекрытия) трубы или от верхней точки свода до подошвы рельса на железных дорогах или до низа дорожной одежды - на автомобильных дорогах. ** Но не менее 1,0 м от верха звена трубы до поверхности дорожного покрытия. *** Но не менее 0,8 м до уровня бровки земляного полотна. |
||
При меньшей высоте насыпи и прогнозируемом риске образования селей проектируют мостовые сооружения. Возможность применения труб ограничивается условиями пропуска взвесенесущих (селеопасных) потоков, которые безопаснее пропускать под мостовым сооружением.
4.9 Водопропускные сооружения на автомобильных и железных дорогах общей сети и подъездных, не связанных с технологическими перевозками, согласно СП 35.13330 рассчитывают на воздействие водного потока на два паводка (расчетный и наибольший) и на соответствующие им уровни.
4.10 Водоотводные канавы следует рассчитывать на расчетные расходы и соответствующие им уровни с вероятностью превышения при соблюдении требований СП 35.13330 о необходимом возвышении бровки земляного полотна над соответствующим уровнем воды, а также ограничений по предельно допустимому заполнению труб при пропуске расчетных расходов.
4.11 Аккумуляция воды перед сооружениями допускается для ливневого стока или талых вод при отсутствии снежных заносов перед сооружением и опасности образования термокарста.
4.12 Защита сооружений водопропускного тракта от подмыва и размыва оттаивающего грунта на автомобильных и железных дорогах должна быть достаточной для обеспечения их безопасной работы.
4.13 Проектные решения по конструкциям и технологиям строительства сооружений должны быть обоснованы результатами прогнозирования температурного режима вмещающих, подстилающих и примыкающих грунтовых массивов в пределах полосы отвода с учетом влияния изменений растительного покрова, снегозаносов, подтоплений, других сооружений и т. п. на протяжении жизненного цикла сооружения.
5.1 В настоящем своде правил рассмотрены следующие виды водоотводных сооружений:
- водопропускные трубы;
- водоотводные канавы;
- фильтрующие прорези;
- фильтрующие насыпи;
- переливные насыпи;
- фильтрующие выемки;
- нагорные канавы;
- водоотжимные бермы;
- кюветы;
- лотки;
- водоразделительные и водозащитные дамбы;
- валики;
- уступы;
- перепады;
- быстротоки;
- дюкеры (сифоны);
- планировка поверхности;
- дренажи.
5.2 Схемы водоотводных сооружений и классификация водоотводных сооружений приведены в приложении А.
6.1 Изменение мерзлотно-грунтовых условий после возведения сооружений и последствия этих изменений
6.1.1 При проектировании сооружений следует учитывать возможность изменения следующих мерзлотно-грунтовых условий:
- локальные и общие протаивания мерзлых грунтов;
- обводнение территории (Б.1 приложения Б);
- размывы мерзлых грунтов, в частности, оврагообразование (размывы мерзлых грунтов происходят быстрее, чем талых, и последствия более значительны);
- изменения ландшафтных характеристик и растительности территории;
- наледи и др.
6.1.2 В результате изменения мерзлотно-грунтовых условий, отмеченных в 6.1.1, следует учитывать возможность:
- осадок и просадок грунтов;
- локальных сдвигов массивов;
- сдвигов крупных массивов, граничащих с сооружением;
- деформаций и разрушений жестких систем.
6.2 Причины изменения мерзлотно-грунтовых условий после возведения сооружений
6.2.1 Основной причиной изменения мерзлотно-грунтовых условий является нарушение годового теплового баланса (суммарного за зимний и летний периоды).
6.2.2 Следует учитывать, что нарушение годового теплового баланса происходит в основном вследствие изменения теплобалансовых свойств поверхностей после возведения сооружения:
- изменение мощности снегоотложений (Б.2 приложения Б);
- нарушение растительного покрова;
- перемораживание или переформирование фильтрационных потоков;
- изменение условий протекания поверхностных вод и др.
6.3 Меры по обеспечению стабильности мерзлотно-грунтовых условий
6.3.1 Расчетный температурный режим должен обеспечить с учетом конструктивно-технологических мероприятий:
- требуемую несущую способность грунтов;
- устойчивость к нарушениям в результате действия непредвиденных природных или техногенных воздействий.
6.3.2 В результате принятия мер по обеспечению стабильности мерзлотно-грунтовых условий должен быть обеспечен расчетный температурный режим грунтов тела и оснований сооружения. Это достигается тремя направлениями (см. приложение В):
- учет природных условий конкретного региона;
- учет специфики работы систем при наличии мерзлоты;
- применение искусственных мер по охлаждению грунтов (СП 354.1325800.2017, приложение Е).
6.3.3 В случае если рассчитанное температурное поле не соответствует требованиям прочности и устойчивости грунтов оснований, необходимо применять конструктивно-технологические мероприятия по охлаждению грунтов, направленные на обеспечение возможности повышения несущей способности мерзлых грунтов, используемых по принципу I, и в ряде случаев - на образование мерзлых зон в талых грунтах.
Для управления температурным режимом в проекте следует предусматривать одновременное применение нескольких мероприятий, например, уширенных площадок или насыпей распластанного профиля для поверхностного и термоопор для глубинного охлаждения грунтового массива.
7.1 Конструктивные элементы водопропускных и водоотводных сооружений должны быть выполнены из материалов, обеспечивающих надежную и безопасную работу сооружения в течение расчетного срока службы.
7.2 Бетонные и железобетонные конструкции
7.2.1 Водопропускные сооружения следует возводить по технологиям сборного железобетона из конструкций заводского изготовления. Область применения технологии монолитного бетона ограничена теплым периодом года с продлением сезона за счет применения противоморозных модификаторов или тепляков.
Для изготовления конструкций водопропускных труб и мостов для пропуска селевых потоков следует применять тяжелый бетон классов по прочности на сжатие В20; В22,5; В25; В27,5; В30; В35; В40; В45; В50; В55 и В60. Бетон классов В22,5 и В27,5 следует предусматривать при условии, что это приводит к экономии цемента и не снижает других технико-экономических показателей конструкции. Бетон класса по прочности выше В60 (в том числе получаемый с помощью добавок, повышающих прочность) допускается применять при соответствующем обосновании в проекте.
7.2.2 В зависимости от вида конструкций, их армирования и условий работы применяемый бетон должен соответствовать требованиям, приведенным в СП 35.13330.
7.2.3 Для омоноличивания стыков сборных конструкций следует применять бетон класса по прочности на сжатие не ниже принятого для стыкуемых элементов.
7.2.4 Марки бетона и раствора по морозостойкости выбирают в зависимости от климатических условий района строительства, расположения и вида конструкций.
7.2.5 В подземных частях сооружения, не подвергающихся электрической и химической коррозии, следует применять бетон марки по водонепроницаемости не ниже W6. Остальные элементы и части конструкций, в том числе бетонируемые стыки железобетонных труб и водоотводных сооружений, следует проектировать из бетона марки по водонепроницаемости не ниже W8.
7.2.6 В элементах конструкций, предназначенных для эксплуатации в агрессивных средах, включая воздействие агрессивных грунтовых вод, морского климата, следует применять бетоны, обладающие стойкостью в соответствии с требованиями СП 28.13330 по составу, классу прочности, морозостойкости, водонепроницаемости, минимальному защитному слою, с учетом срока эксплуатации проектируемых конструкций.
7.2.7 Железобетонные свайные элементы конструкций, постоянно находящиеся в толще вечномерзлых или немерзлых грунтов (ниже половины глубины промерзания), допускается изготовлять из бетона класса не ниже В25 при марке по водонепроницаемости не ниже W4 и ненормируемой морозостойкости.
7.2.8 Для свайных фундаментов в пределах зоны переменного уровня воды (согласно СП 35.13330) рекомендуется использовать бетон класса не ниже В35 при марках по водонепроницаемости не ниже W6 и по морозостойкости не ниже F300. Для омоноличивания стыков сборных элементов следует использовать бетон класса В35 с характеристикой по морозостойкости F300.
7.2.9 Для железобетонных конструкций без предварительного напряжения арматуры в качестве устанавливаемой по расчету арматуры следует преимущественно применять арматуру периодического профиля классов А400, А500 и А600, а также арматуру классов В500 и Вр500 в сварных сетках и каркасах. При обосновании экономической целесообразности допускается применять арматуру более высоких классов.
7.2.10 Для поперечного и косвенного армирования следует применять преимущественно гладкую арматуру класса А240 из стали марок Ст3сп и Ст3пс (с категориями нормируемых показателей не ниже 2 по ГОСТ 535), а также арматуру периодического профиля классов А400, А500, В500 и Вр500.
7.2.11 Для предварительно напряженных железобетонных конструкций следует предусматривать в качестве:
- напрягаемой арматуры:
- горячекатаную и термомеханически упрочненную периодического профиля классов А600, А800 и А1000;
- холоднодеформированную периодического профиля классов от Вр1200 до Вр1600;
- канатную 7-проволочную (К7) классов К1400, К1500, К1600, К1700;
- ненапрягаемой арматуры:
- горячекатаную гладкую класса А240;
- горячекатаную, термомеханически упрочненную и холоднодеформированную периодического профиля классов А400, А500, А600, В500 и Вр500.
7.2.12 При выборе вида и марок стали для арматуры, устанавливаемой по расчету, а также прокатных сталей для закладных деталей следует учитывать температурные условия эксплуатации конструкций и характер их нагружения.
7.2.13 В конструкциях, эксплуатируемых при статической (и квазистатической) нагрузке при расчетной температуре воздуха минус 40 °С и выше, может быть применена арматура всех классов, за исключением арматуры класса А400 из стали марки 35ГС, класса А240 из стали марки Ст3кп, применение которых допускается при расчетной температуре воздуха минус 30 °С и выше.
7.2.14 При расчетной температуре воздуха ниже минус 55 °С следует использовать арматуру классов Ас500С и А600 из стали марки 20Г2СФБА.
7.3 Стальные конструкции
7.3.1 Водопропускные трубы из стальных конструкций необходимо проектировать с учетом требований приложения В СП 16.13330.2017. Материалы для соединений стальных конструкций должны отвечать требованиям приложения Г СП 16.13330.2017.
7.3.2 Допускается применять в качестве водопропускных сооружений стальные трубы нефтегазового сортамента (диаметром не менее 1,42 м), удовлетворяющие требованиям настоящего свода правил.
7.3.3 Для изготовления металлических гофрированных труб из сборных листовых элементов и спиральновитых гофрированных труб следует применять марки стали, соответствующие по хладостойкости климатическим условиям их применения.
7.3.4 Для металлических гофрированных труб климатического исполнения У по ГОСТ 15150 рекомендуется применять углеродистые стали марки ВСт3сп5 по ГОСТ 380, сталь марки 15сп по ГОСТ 1577, а для металлических гофрированных труб климатического исполнения ХЛ по ГОСТ 15150, применяемых в районах с расчетной минимальной температурой воздуха ниже минус 40 °С, - из стали марки 09Г2Д по ГОСТ 19281 и стали марок С345, С345Д по ГОСТ 27772 или других марок по данным стандартам, обеспечивающих необходимый класс прочности для различной толщины проката.
7.3.5 При поставке гофрированных элементов зарубежных изготовителей каждая партия подлежит процедуре оценки соответствия требованиям нормативных документов в порядке, установленном действующим законодательством Российской Федерации.
7.3.6 Допускается при соответствующем обосновании и согласовании в установленном порядке применение сталей других марок, имеющих показатели по хладостойкости и прочности не хуже стали марки 15сп.
7.3.7 Гофрированные листы из сталей класса прочности до С345 включительно при толщине до 8 мм включительно допускается изготовлять холодной штамповкой (прокаткой).
7.3.8 Для сооружений в районах с расчетной минимальной температурой воздуха выше минус 40 °С болты, гайки и шайбы следует изготовлять из сталей марок 20, 30 и 35 по ГОСТ 1050; допускается изготовление шайб из стали марки Ст3 по ГОСТ 380.
7.3.9 Для металлических гофрированных труб, эксплуатируемых в районах с расчетной минимальной температурой воздуха ниже минус 40 °С, болты следует применять из сталей 35Х и 38ХА по ГОСТ 1050, ГОСТ 4543; допускается применение болтов из сталей марок 20, 30 и 35 по ГОСТ 1050. Размеры болтов принимают по ГОСТ 7798.
7.3.10 Болты, гайки и шайбы для сборки водопропускных сооружений должны поставляться комплектно вместе с гофрированными элементами.
7.3.11 Основное расчетное сопротивление R0 при действии осевых сил принимают: для стали марки 15сп - 1900 кгс/см2, марки 09Г2Д - 2400 кгс/см2. Расчетное сопротивление для болтовых соединений принимают: на смятие кромок стыковых соединений для стали марки 15сп - 3300 кгс/см2, для стали марки 09Г2Д - 4200 кгс/см2; на срез болта нормальной точности класса 4.6, 5.6 и 8.8 - 1300, 1500 и 2500 кгс/см2 соответственно.
7.3.12 Бандажные соединения для гофрированных спиральновитых водопропускных труб диаметром (максимальным размером отверстия) до 3 м рекомендуется изготовлять из листового проката углеродистой и низкоуглеродистой горячеоцинкованной стали класса прочности не ниже 245 по ГОСТ 14918, ГОСТ Р 52246 с полимерным покрытием по ГОСТ 34180, либо из стального листового проката углеродистой полуспокойной и спокойной стали категории 5 по ГОСТ 14637, ГОСТ 16523, либо проката стали не ниже С245 по ГОСТ 27772 с цинковым и другими видами покрытия (алюминиевым, цинкалюминиевым и другими).
7.3.13 Бандажные соединения для гофрированных спиральновитых водопропускных труб диаметром (максимальным размером отверстия) 3 м и более рекомендуется изготовлять из листового проката углеродистой и низкоуглеродистой горячеоцинкованной качественной конструкционной стали для строительства класса прочности не ниже 245 по ГОСТ Р 52246 с полимерным покрытием по ГОСТ 34180, либо из стального листового проката углеродистой и низкоуглеродистой качественной конструкционной стали по ГОСТ 1577, ГОСТ 19281, ГОСТ 27772 или тонколистового проката категории 5 по ГОСТ 16523 с цинковым и другими видами защитного покрытия (алюминиевым, цинкалюминиевым и другими). Болты, применяемые в соединениях, изготовляют по ГОСТ 7798 или ГОСТ Р ИСО 4017, шпильки - по ГОСТ 22032, классов прочности не ниже 4.6; гайки - по ГОСТ ISO 8673 или ГОСТ ISO 4032, классов прочности не ниже 5; шайбы - по ГОСТ 11371. При средней температуре наружного воздуха наиболее холодной пятидневки от минус 40 °С до минус 25 °С следует применять шпильки класса прочности 8.8 из стали марок 35Х, 38ХА по ГОСТ 4543.
Защитные покрытия и лотки для металлических труб
7.3.14 Основным средством защиты металлических труб от коррозии является цинковое покрытие с толщиной слоя не менее 80 мкм по ГОСТ 9.306, наносимое на внутреннюю и наружную поверхности элементов. Поверхность цинкового защитного покрытия труб не должна иметь видимых трещин, забоин, наплывов на стыкуемых поверхностях и мест, не покрытых цинком. Использование элементов с указанными дефектами не допускается. Дефекты защитного покрытия устраняются предприятием-изготовителем.
7.3.15 Средства дополнительной защиты металлических труб от коррозии и абразивного воздействия взвесенесущих потоков следует назначать на основе данных о коррозионной активности (агрессивности) грунтов основания, насыпи и протекающей через сооружение воды.
7.3.16 Степень коррозионной активности недренирующих грунтов основания и насыпи по отношению к трубам следует определять по величине удельного электрического сопротивления грунта.
7.3.17 Удельное электрическое сопротивление грунта насыпи измеряют в карьере, из которого намечено отсыпать грунтовую и армогрунтовую обойму водопропускной трубы. Удельное электрическое сопротивление поверхностного слоя грунта (если не предусмотрено отсыпать подушку основания) измеряется по оси трубы в местах расположения входного и выходного оголовков. Удельное электрическое сопротивление грунта определяют по ГОСТ 9.602.
7.3.18 Оценку степени коррозионной активности протекающей через сооружение воды можно проводить на основании величины pH и суммарной концентрации сульфатов и хлоридов.
7.3.19 В районах тундры и лесотундры Западной Сибири допускается применение металлических гофрированных труб на железных дорогах в среднеагрессивных средах.
7.3.20 Требования к измерению величины pH и суммарной концентрации сульфатов и хлоридов приведены в [2]. Применение металлических труб на железных дорогах в сильноагрессивных средах не разрешается, а в среднеагрессивных средах допускается по отдельному согласованному проекту.
7.3.21 Дополнительные защитные покрытия труб на автомобильных дорогах и при слабой и средней агрессивности среды на железных дорогах следует наносить на наружную и внутреннюю поверхности труб. Внутри трубы устраивается бетонный или асфальтобетонный лоток. Условия применения дополнительных защитных покрытий зависят от степени коррозионной активности грунта и воды и расчетных температур воздуха.
Расчетной отрицательной температурой воздуха является средняя температура наиболее холодных суток. За расчетную положительную температуру следует принимать абсолютную максимальную температуру наружного воздуха. Окрашивать элементы труб эпоксидными эмалями допускается только в заводских условиях.
7.3.22 При укладке труб в насыпях однопутных электрифицированных на постоянном токе железных дорог (кроме раздельных пунктов) коррозионное влияние на них блуждающих токов не учитывается. При укладке труб в насыпях двухпутных, а также на раздельных пунктах однопутных линий, электрифицированных на постоянном токе железных дорог, следует устраивать электрохимическую защиту с помощью протекторов в соответствии с ГОСТ 9.602 и ГОСТ 16149. Узлы электрического контакта протекторов с трубой должны быть тщательно изолированы от контакта с грунтом. Применять протекторы необходимо только в грунтах с удельным электрическим сопротивлением до 60 Ом/м. Кроме протекторов, независимо от степени коррозионной активности грунта и воды, следует использовать полимерные покрытия на внутренней и наружной поверхностях трубы.
7.3.23 Лотки в трубах следует устраивать из сборных бетонных блоков. В лотках из монолитного бетона следует предусматривать дисперсное армирование или армирование металлической сеткой. Ее отгибают на торцах трубы и прикрепляют к двум-трем головкам болтов через каждые 2 м длины трубы. На автомобильных дорогах при расчетных температурах до минус 40 °С допускается применение полимерных или битумно-полимерных материалов.
7.3.24 На автомобильных дорогах для устройства лотка в трубах диаметром 1 и 1,25 м и в трубах любых диаметров при малом количестве твердых частиц в потоке и малой скорости потока1) допускается применение покрытия из полимерных или битумно-полимерных материалов. Толщина слоя покрытия - 2 - 3 мм. Покрытие устраивают непосредственно на оцинкованной поверхности элементов.
________
1) При количестве твердых частиц (размером до 15 мм) в потоке до 2 % (по объему) и при скорости потока до 2 - 3 м/с.
7.3.25 При устройстве лотков труб в районах с расчетной температурой воздуха ниже минус 40 °С необходимо применять полимерный герметик, например на основе жидкого тиокола.
На автомобильных дорогах категорий III - IV по СП 34.13330 трубы на водотоках при малом количестве твердых частиц в потоке (до 1 % по объему и до 2 мм по размеру) и малой скорости его (до 3 м/с) допускается проектировать без устройства защитных лотков, предусматривая нанесение на внутреннюю поверхность лотковой части трубы полимерных защитных покрытий.
7.3.26 На железных дорогах трубы на водотоках при низком содержании твердых абразивных частиц во взвесенесущем потоке (до 1 % по объему и до 2 мм по размеру) и скорости до 2 м/с допускается проектировать без устройства защитных лотков, предусматривая нанесение на внутреннюю поверхность лотковой части трубы полимерных защитных покрытий.
7.3.27 При строительстве труб на постоянных водотоках под автомобильными дорогами следует устраивать лоток из бетонных блоков или предусматривать другие меры (применение износостойких материалов, армирование и др.).
7.3.28 Укрепление русла и откосов насыпи у труб в случае ожидания значительных просадок необходимо выполнять из каменной наброски, а в других случаях - допускается применять плитные или решетчатые конструкции. Крепление на мелких песках следует проводить с устройством обратного фильтра из нетканых геотекстильных материалов.
7.3.29 При применении металлических гофрированных труб на дорогах ниже категории IV при соответствующем технико-экономическом обосновании укладку труб допускается выполнять на естественное основание без устройства грунтовых подушек и противофильтрационных экранов, предусматривая подготовку основания подсыпкой с ее планировкой, а также без нанесения дополнительных защитных покрытий (или с нанесением покрытий облегченной конструкции) и без устройства лотков. При засыпке трубы необходимо обеспечивать качественное уплотнение грунта рядом с ней. Толщина засыпки над трубой должна быть не менее 0,5 м.
7.4 Требования к каменным материалам
7.4.1 В качестве каменного материала может быть использован природный или искусственный материал, обладающий необходимыми прочностью, морозостойкостью и водостойкостью, получаемый дроблением изверженных, осадочных и метаморфических горных пород. На ответственных сооружениях предпочтительно использовать каменные материалы изверженных (базальт, гранит, диабаз, диорит и т.п.) и метаморфических пород. Допускается использование местного каменного материала с соответствующими характеристиками.
7.4.2 Требуемая средняя плотность каменного материала определяется исходя из расчета устойчивости всего водопропускного сооружения, при этом для подводных частей и зоны переменного уровня воды плотность камня принимают не менее 2300 кг/м3.
7.4.3 Укладка камня в габион должна обеспечивать насыпную плотность каменного материала не менее 1750 кг/м3 с пористостью n = 0,20 - 0,40. При проектировании также необходимо учитывать возможность частичного самоуплотнения материала конструкций под действием вертикальных нагрузок, для этого объем каменного материала следует увеличивать на 5 % сверх расчетного объема.
7.4.4 Минимальный размер камня должен быть не менее 1,3 размера ячейки сетки габионных конструкций. Для габионов, эксплуатируемых в подводных условиях или в зоне переменного уровня воды, минимальный размер камня должен быть не менее 1,5 размера ячейки сетки. Максимальный размер камня для коробчатых и цилиндрических габионов следует принимать не более 250 мм, а для матрацно-тюфячных габионов - не более 2/3 высоты матраца. Для габионных конструкций, используемых в условиях волнового воздействия, обязательно устройство обратных фильтров из нетканого геосинтетического материала.
7.4.5 Минимальный размер камня для фильтрующих насыпей определяется расчетом на пропуск расчетного расхода водного потока.
7.4.6 Прочность на сжатие каменного материала должна составлять не менее: для изверженных пород - 90 МПа, метаморфических - 60 МПа, осадочных - 50 МПа. При эксплуатации габионных конструкций в зоне переменного уровня воды прочность на сжатие для метаморфических пород рекомендуется принимать не менее 90 МПа, для осадочных - не менее 75 МПа.
7.4.7 Морозостойкость каменных материалов для изверженных горных пород должна приниматься не ниже F100, для метаморфических и осадочных пород - не ниже F50. При эксплуатации конструкций (сооружений) в зоне переменного уровня воды морозостойкость каменных материалов рекомендуется принимать в зависимости от среднемесячной температуры наиболее холодного месяца в году: от минус 10 °С до минус 20 °С - F150, ниже минус 20 °С - F200.
7.4.8 Для конструкций, подвергающихся воздействию воды, коэффициент размягчаемости (показатель снижения прочности при погружении в воду) должен составлять не ниже: для метаморфических и изверженных пород - 0,9; для осадочных - 0,8.
7.5 Требования к грунтам
7.5.1 Грунты, используемые для сооружения грунтовой или армогрунтовой обоймы водопропускных труб, должны обеспечивать на момент окончания строительства или после стабилизации нормативные требования в части прочности основной площадки земляного полотна под подвижной нагрузкой и устойчивость откосов при воздействии природных факторов. При невозможности обеспечить требуемые прочность и устойчивость земляного полотна должны быть назначены соответствующие мероприятия по его усилению.
7.5.2 Для сооружения грунтовой или армогрунтовой обоймы водопропускных труб следует использовать скальные крупнообломочные и песчаные грунты, а при отсутствии их достаточных запасов допускается при технико-экономическом обосновании разрабатывать и укладывать мерзлые песчаные грунты по технологическим схемам с использованием эффективных методов технической мелиорации грунтов, обеспечивающих их оттаивание и уплотнение в процессе строительства.
7.5.3 Для засыпок металлических гофрированных труб допускается применение только песчаных и крупнообломочных грунтов с максимальным размером фракции, не превышающим 40 мм.
7.5.4 По степени пригодности мерзлых песчаных грунтов для сооружения земляного полотна следует различать: сыпучемерзлые (суммарная влажность до 3 %), сухомерзлые (3 % - 6 %), твердомерзлые маловлажные (6 % - 12 %), твердомерзлые влажные (12 % - 22 %), твердомерзлые водонасыщенные (22 % - 25 %).
7.5.5 Сыпучемерзлые песчаные грунты пригодны для сооружения грунтовых и армогрунтовых обойм водопропускных труб без ограничений (при обеспечении требований 7.5.1). Сухомерзлые грунты применяют для сооружений грунтовых и армогрунтовых обойм по технологическим схемам с послойным их уплотнением решетчатыми или вибрационного действия катками до нормируемой плотности с учетом расчетной осадки до уплотнения при оттаивании.
7.5.6 Твердомерзлые песчаные грунты с суммарной влажностью до 12 % используют в конструкциях армогрунтовых обойм с обязательным устройством обратных фильтров.
7.5.7 Использование твердомерзлых песчаных грунтов с суммарной влажностью от 12 % до 25 % допускается для сооружения экспериментальных конструкций грунтовых и армогрунтовых обойм по одно- и двухэтапным технологическим схемам, включающим при двухэтапной технологии заготовку твердомерзлого грунта в бурты, его полное оттаивание и укладку оттаявшего грунта в тело грунтовой обоймы с уплотнением в талом состоянии в процессе строительства, а при одноэтапной технологии - укладку твердомерзлых грунтов зимой непосредственно в насыпи в геотекстильных обоймах.
7.5.8 Льдонасыщенные мерзлые грунты и льдогрунтовую массу укладывать в грунтовые и армогрунтовые обоймы водопропускных труб не допускается. Льдонасыщенные песчаные грунты с суммарной влажностью 25 % - 38 % можно использовать только для заготовки талого грунта в карьерах. Заготовленный в бурты грунт следует использовать в конструкциях насыпей в талом состоянии при влажности, близкой к оптимальной.
7.5.9 Торфяные грунты используют в конструкциях грунтовых и армогрунтовых обойм в качестве тепловых амортизаторов и диодов, а также для укрепления откосов в смеси с песчаным и супесчаным грунтами.
7.5.10 Для грунтовых и армогрунтовых обойм следует применять грунты с засоленностью не более 0,3 % с учетом требований СП 28.13330. При необходимости применения грунтов с большей засоленностью (до 0,5 %) следует предусматривать дополнительные мероприятия.
7.6 Геосинтетические материалы
7.6.1 Прочность при растяжении и относительное удлинение геосинтетических материалов при максимальной нагрузке определяют в соответствии с ГОСТ Р 55030. Для всех видов геосинтетических материалов на прочность и относительное удлинение могут влиять такие факторы, как температура, величина pH, ультрафиолетовое излучение и др. В зависимости от полученных данных по результатам испытаний на растяжение геосинтетические материалы могут разделяться по классам прочности, определяющим область их применения.
7.6.2 Определение механических характеристик при продавливании образцов геосинтетических материалов используется при выборе материала для разделения слоев грунта, армирования грунтов, гидроизоляции и др. Если по условиям эксплуатации геосинтетический материал на строительной площадке подвергается механическим воздействиям на продавливание, то данная характеристика должна быть определена. В зависимости от полученных данных при испытании на продавливание геосинтетические материалы разделяют по классам, определяющим область их применения.
7.6.3 Геосинтетические материалы в зависимости от условий их применения должны отвечать требованиям: ударной прочности, ползучести, стойкости к воздействию механических повреждений, прочности швов и соединений элементов структуры материала, водопроницаемости, стойкости к ультрафиолетовому излучению, морозостойкости, стойкости к воздействию агрессивных сред и микроорганизмов.
7.6.4 Эффективный размер пор геосинтетических материалов определяют по ГОСТ Р 53238. При размещении геосинтетических материалов следует предусматривать их защиту от ультрафиолетового излучения.
7.6.5 Устойчивость геосинтетических материалов к воздействию агрессивных сред определяют в соответствии с ГОСТ Р 55035. Морозостойкость геосинтетических материалов определяют в соответствии с ГОСТ Р 55032.
7.6.6 Выбор коэффициентов запасов для определения долговременной прочности материала проводят в соответствии с исходным сырьем применяемого геосинтетического материала, функцией, условиями применения и сроком службы элементов конструкции системы водопропускного или водоотводного сооружения. Срок службы элементов водопропускного или водоотводного сооружения устанавливается заказчиком в задании на проектирование.
8.1 При проектировании необходимо учитывать пространственную и временную изменчивость физико-механических свойств грунтов в пределах подстилающей и примыкающей к водопропускной трубе частей грунтового массива.
В отличие от регионов с сезонным промерзанием грунтов водопропускные трубы и системы водоотвода должны быть рассчитаны на два критических состояния - паводок, который может механически разрушить трубу, и меженные воды, которые оказывают существенное тепловое воздействие на мерзлоту.
Снегозаносы оказывают не только механическое, но и тепловое воздействие, поэтому снегозащитные заборы и другие сооружения должны быть рассчитаны с учетом их теплового влияния на грунты основания.
Для учета указанных выше особенностей следует использовать технические решения, приведенные в приложении В.
8.2 Многоочковые трубы допускается проектировать с расположением очков в разных уровнях, размещая одну из них в уровне русла водотока, а остальные - на отметке выше уровня меженных вод.
8.3 Трубы следует проектировать с возможно минимальным устройством котлованов, приемных колодцев, глубоких бетонных, железобетонных и других экранов, различных врезов в мерзлых грунтах, предусматривая подготовку основания подсыпкой с ее планировкой.
8.4 Проектирование труб в пучинистых грунтах необходимо выполнять с учетом расчета на воздействие вертикальных и горизонтальных сил морозного пучения, касательных к боковой поверхности частей трубы, расположенных в пределах деятельного слоя, над ВГВМ. Расчеты выполняют в соответствии с требованиями СП 25.13330. Для уменьшения этого воздействия и обеспечения устойчивости труб следует предусматривать конструктивные мероприятия, например придание наклона боковым поверхностям трубы, находящимся над ВГВМ, фундаментам под откосными крыльями и первыми секциями оголовков с противопучинными анкерными выступами, засыпку котлованов песчано-щебеночной смесью с тщательным послойным (по 10 - 15 см) уплотнением.
Для труб в тяжелых мерзлотно-грунтовых условиях (болота, сильнопучинистые грунты, вечная мерзлота) следует предусматривать мероприятия, направленные на повышение ремонтопригодности и приспособление трубы к ее нормальной эксплуатации при наличии деформаций звеньев и оголовков от воздействия морозного пучения грунтов и деградации вечной мерзлоты, а также от деформаций прилегающих участков насыпи.
8.5 На водотоках, основание которых в пределах двойной мощности сезоннооттаивающего слоя представлено непросадочными грунтами, допускается проектировать бесфундаментные трубы.
8.6 На водотоках, характеризующихся наличием слоя просадочных при оттаивании грунтов мощностью не более 2 м, предпочтение следует отдавать бесфундаментным трубам или трубам с фундаментами мелкого заложения при условии, что суммарная величина осадки грунтов основания может быть учтена при назначении строительного подъема. При невозможности выполнения этого условия предусматривают полную или частичную замену слабого грунта грунтовой подушкой из щебеночных, гравийных или гравийно-песчаных материалов, имеющих оптимальную или близкую к ней влажность.
8.7 На водотоках, характеризующихся наличием в основании слоя сильнопросадочных и просадочных грунтов мощностью более 2 м, предусматривают свайные фундаменты. Применение массивных бетонных фундаментов труб допускается только при отсутствии подруслового стока и при соответствующем технико-экономическом обосновании.
8.8 Минимальную глубину заложения фундаментов следует назначать в зависимости от расчетной глубины сезонного оттаивания грунтов основания Нр, их свойств (по СП 35.13330) и типа фундамента:
- свайного - Нр + 2 м, но не менее 3 м;
- массивного бетонного - Нр, но не менее 1,5 м:
|
Hp = НнгmtKw, |
(8.1) |
где Ннг - нормативная глубина сезонного оттаивания грунта, м;
mt - коэффициент теплового влияния конструкций на грунт основания, принимаемый для фундамента: массивного бетонного - 0,8; свайного, с плитой на поверхности грунта - 1,0;
Kw - поправочный коэффициент к нормативной глубине оттаивания грунта при его естественной влажности.
8.9 Для уменьшения толщины грунтовой подушки предусматривают в основании теплоизолирующие слои. При ММГ оснований, используемых в оттаявшем состоянии, несущая способность которых ниже расчетного давления под подошвой фундамента трубы, следует предусматривать свайные или столбчатые фундаменты. При этом подошва ростверка должна быть заложена на том же уровне, как при фундаментах на естественном основании.
8.10 Трубы следует проектировать с входными и выходными оголовками. При низких насыпях могут быть предусмотрены многоочковые безнапорные трубы без выходных оголовков. Металлические гофрированные трубы допускается проектировать без устройства оголовков при соблюдении требований СП 35.13330. В остальных случаях следует применять воротниковые оголовки, а при необходимости - портальные и раструбные с небольшим заглублением (не более 0,4 - 0,5 м) в грунты основания.
8.11 На водотоках, основание которых в пределах двойной мощности сезоннооттаивающего слоя сложено непросадочными грунтами, конструкции укреплений подводящих и отводящих русел принимают в соответствии с типовыми решениями для обычных условий, исходя из гидравлических расчетов.
8.12 На всех водотоках отводящее русло, как правило, должно быть запроектировано с уклоном не менее 2 %. Тип укрепления подводящих и отводящих русел, сложенных просадочными грунтами, принимают в зависимости от их уклона: а) не более 1 % - бутовая кладка по слою теплоизоляции из мха, торфа толщиной не более 20 см в плотном состоянии; б) от 1 % до 5 % - цементобетон (сборный или монолитный) по слою теплоизоляции из мха, торфа толщиной до 30 см в плотном состоянии; в) более 5 % - быстротоки по слою теплоизоляции в соответствии с требованиями перечисления б).
8.13 На водотоках, основание которых сложено сильнопросадочными грунтами, тип укрепления принимают в зависимости от уклона русел: не более 1 % с учетом перечисления а) 8.12; от 1 % до 5 % с учетом перечисления б) 8.12; более 5 % - бетонные, металлические или деревянные лотки на сваях, заглубляемых в вечномерзлый грунт по расчету на выпучивание. На местности с уклоном более 1 % отводящие русла целесообразно укреплять по всей длине косогора, устраивая у его подножия гасители энергии водного потока.
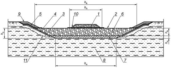
8.14 При проектировании следует предусматривать: максимальное сохранение мохорастительного покрова на расстоянии не менее 20 м от концевых звеньев трубы и не менее 20 м в каждую сторону от нее; засыпку пазух в котлованах, подсыпку под фундаменты; устройство подготовок под крепления русел водонепроницаемыми глинистыми грунтами; устройство на откосах насыпи каменной наброски толщиной от 1 до 1,5 м выше уровня верха трубы на 1 м или торфяной призмы толщиной не менее 1 м до уровня верха трубы, протяженность которых вдоль дороги должна быть не менее четырех диаметров трубы в каждую сторону от ее оси или от оси крайних звеньев для многоочковых труб; устройство общего фундамента под звенья многоочковых труб.
8.15 Для повышения устойчивости конструкции следует предусматривать: размещение откосных крыльев оголовков и оголовочной секции на общем фундаменте, засыпку понижений в районе трубы глинистым грунтом в виде бермы высотой от 0,2 до 0,3 м с уклоном ее верха от 2 % до 4 % в сторону русла водотока с целью предотвратить застой воды и увеличить скорость ее протекания вдоль подошвы насыпи; обеспечение проветривания труб в зимний период с помощью вентиляционных труб, концы которых выводят за пределы снежных отложений, или других устройств в условиях большой снегозаносимости (когда отверстие трубы может быть полностью занесено снегом).
8.16 На участках природных наледей, образующихся по руслам водотоков, трубы применяют совместно с утепленными лотками и (или) другими противоналедными защитными сооружениями, а также трубы с конструкциями фундаментов совместно с дренажно-каптажными устройствами. На постоянных водотоках вместо труб следует применять мосты.
8.17 Безналедный пропуск водотоков осуществляют с применением утепленных лотков при четко выраженном, сконцентрированном в одном месте наледном источнике с температурой воды выше 3 °С и его незначительном удалении от сооружения. Толщину утепления лотков устанавливают теплотехническим расчетом.
8.18 Постоянный противоналедный лоток необходимо проектировать совместно с трубой. Лоток можно устраивать с заглублением в грунт или на его поверхности. Длину лотка принимают равной ширине моста или длине трубы.
8.19 Наледи выше искусственного сооружения целесообразно задерживать на водотоках с малыми расходами и при наличии пологих (уклон менее 2 %) и широких логов, позволяющих накапливать лед одним-двумя заборами или земляными валами с заборами в проеме.
8.20 Трубы на участках прогнозируемых наледей допускается проектировать с облегченными или свайными фундаментами, предусматривая теплоизолирующие подушки, чтобы глубина промерзания грунта под фундаментом была менее глубины промерзания грунтов в естественных условиях.
8.21 Подошву фундамента (теплоизолирующей подушки) трубы следует располагать выше уровня грунтовых вод. Если это условие выполнить невозможно, проектируют мосты с увеличенными отверстиями или при соответствующих технико-экономических обоснованиях трубы и мосты с дренажно-каптажными устройствами.
8.22 Каптаж совместно с дренажом следует применять при наличии источников подземных вод, выходящих на склоне выше дороги. Он может состоять из одного или нескольких колодцев, а также из коротких галерей, канав или лотков и отводных устройств.
8.23 Колодцы и водоотводные трубы необходимо утеплять, а трубы закладывать в нижней трети глубины сезонного промерзания грунта в естественных условиях.
8.24 На малых водотоках и ручьях при глубине залегания водоупорного слоя не более 3 - 5 м и низкой температуре воды (ниже 3 °С) необходимо предусматривать устройства, активизирующие наледный процесс и задерживающие наледь в удалении от сооружения (наледные пояса, активные противоналедные валы, вентиляционно-морозильные и самонастраивающиеся установки).
9.1 Общие положения
9.1.1 Водопропускные трубы и водоотводные канавы, выполняющие в совокупности функции водопропускного тракта в системе инженерной защиты, обеспечивающей безопасность движения на автомобильных и (или) железных дорогах при пересечении ими водных препятствий, следует проектировать как искусственные сооружения под расчетные эксплуатационные нагрузки с учетом пространственной и временной изменчивости воздействий потенциальных и массовых сил на протяжении их жизненного цикла с учетом прогнозируемых изменений климата.
9.1.2 Проектные решения водопропускных труб и водоотводов должны быть обоснованы расчетами термического и гидравлического режимов, взаимодействующих с сооружениями грунтовых массивов постоянных и временных водотоков, с учетом изменений мерзлотно-грунтовых и ледотермических условий.
9.1.3 Гидравлические расчеты труб и канав на воздействие водного потока проводят на основании гидрографов и графиков расчетных паводков. Вероятности превышения максимальных расходов расчетных паводков следует принимать с учетом категории дороги в соответствии с требованиями СП 35.13330.
Расчетные расходы для водопропускных труб на железных и автомобильных дорогах назначаются:
- для высокоскоростных и особо грузонапряженных железных дорог - 0,3 % обеспеченности;
- железных дорог категорий I - III - 2 % и 3 % обеспеченности;
- железных дорог категорий IV - V - 3 % и 5 % обеспеченности.
9.1.4 В системе водопропускного тракта, включающего водоотводы и водопропускную трубу, необходимо рассматривать их взаимодействие с грунтовыми массивами основания, вмещающей насыпи и прилегающей территории и с надземными и подземными водотоками с учетом пространственно-временной изменчивости их параметров и рельефа местности (таблица 9.1).
Комплекс сооружений водопропускного тракта, обеспечивающий функциональную безопасность железной или автомобильной дороги, следует проектировать одновременно с проектированием их трасс. Водопропускные сооружения должны обеспечивать пропуск воды без нарушения непрерывности работы всего комплекса дорожных сооружений и быть удобными и безопасными для движения транспорта.
Таблица 9.1 - Элементы водопропускных труб и водоотводов по условиям их гидравлической работы в районах вечной мерзлоты
|
Элементы водопропускных труб и водоотводов |
Возможное негативное влияние мерзлоты |
|||||||
|
1 Верхний бьеф |
||||||||
|
Спокойный поток (равнинные условия) |
Бурный поток (косогорные условия, быстротоки) |
Увеличение разрыва при оттаивании мерзлоты, термокарст при образовании пруда при оттаивании |
||||||
|
2 Сопряжение верхнего бьефа с собственно сооружением |
||||||||
|
Сопряжение равнинного типа (спокойный поток, оголовки - равнинные условия), дамбы, противокарчеходные заборы |
Сопряжение косогорного типа (бурный поток) |
Увеличение размыва при оттаивании мерзлоты, термокарст при образовании пруда при оттаивании |
||||||
|
Быстроток равной ширины с трубой |
Противоналедное сужение, дамбы, селекарчеходные заборы |
|||||||
|
3 Собственно сооружение |
||||||||
|
Труба |
Фильтрующая насыпь |
Переливная насыпь, лоток |
Водоотводная канава |
Поверхностный водоотвод |
Снегозаносимость, наледеобразование, образование пруда и термокарста |
|||
|
Технически гладкая |
Повышенной шероховатости (в том числе гофрированная) |
Напорная |
Безнапорная |
|||||
|
4 Сопряжение с нижним бьефом |
||||||||
|
Без гасителей энергии |
С гасителями энергии |
Увеличение размыва при оттаивании мерзлоты |
||||||
|
5 Нижний бьеф |
||||||||
|
Свободное растекание (затопленное и незатопленное) |
Несвободное растекание |
Образование пруда и термокарста |
||||||
|
Без образования промоины |
С образованием промоины |
При течении в подпоре |
При протекании в узком логу (влияние берегов) |
|||||
9.1.5 Регламенты технического обслуживания и ремонтов сооружений водопропускного тракта должны разрабатываться и утверждаться одновременно с разработкой проектной документации на строительство.
9.1.6 Выбор принципа взаимодействия сооружений водопропускного тракта с вечномерзлыми и многолетнемерзлыми грунтами принимается на основании технико-экономических сравнений в увязке с принципами взаимодействий, принятыми для дорог, как ПТС. Принцип строительства I с сохранением мерзлоты без оттаивания рекомендуется для применения на территории севернее параллели 50° с. ш. Проектирование сооружений водопропускного тракта на объектах южнее параллели 50° с. ш. осуществляется на основе принципа использования мерзлых грунтов оснований II - с допущением оттаивания мерзлоты. При этом должны быть рассмотрены варианты мероприятий по регулированию термического режима оттаивающих грунтов в целях адаптации существующих зданий и сооружений к изменению несущей способности оснований по мере оттаивания мерзлоты.
9.1.7 При расчете режимов протекания потока через водопропускное сооружение в условиях вечной мерзлоты каждый из элементов водопропускного тракта должен быть рассчитан на вероятность образования промоин в совокупности с прилегающими элементами.
Основное внимание должно быть обращено на стыки элементов, где могут зарождаться негативные процессы оврагообразования.
9.1.8 Исходными данными для гидравлического расчета являются расчетный расход и расчетный уровень воды, режим работы трубы, уклон лотка сооружения, характер русла. В качестве расчетного режима работы трубы принимается безнапорный режим, при котором входной оголовок не затоплен и движение водного потока в трубе безнапорное.
9.1.9 Для защиты водопропускных сооружений от карчехода применяют улавливающие устройства (решетки, свайные ряды и сетчатые барьеры).
9.1.10 Водопропускные сооружения на воздействие водного потока на железных дорогах общей сети и подъездных, не связанных с технологическими перевозками, согласно СП 35.13330 рассчитывают на два паводка (расчетный и наибольший) и соответствующие им уровни.
9.1.11 Водоотводные канавы рассчитывают только на расчетные расходы и соответствующие им уровни превышения по СП 35.13330 при допустимом возвышении бровки земляного полотна над соответствующим уровнем воды. При этом аккумуляцию воды перед сооружениями допускается учитывать для ливневого стока или стока талых вод при отсутствии снежных заносов перед сооружением и опасности образования термокарста.
9.1.12 В результате гидравлических расчетов должны быть определены: размер отверстия и длина трубы, форма и размеры оголовков, скорости течения потока на входе и на выходе из трубы, глубины потока на входе и на выходе из трубы, подпор воды у входного отверстия трубы, типы укрепления русла. Гидравлические расчеты должны быть основаны на данных гидрологических изысканий и расчетов по определению расчетных расходов и объемов стока, формы гидрографа.
Должны быть также определены:
- наибольшие глубины перед сооружениями (при спокойном потоке - равнинные условия - подпертые глубины, при бурном потоке - косогорные условия - высота наибольших всплесков потока), определяющие высоту насыпи;
- глубины воды на входе в сооружение и наибольшие глубины воды в сооружениях, по которым устанавливают заполнение и режим протекания воды в трубах и возвышение низа пролетных строений мостов;
- глубины воды и скорости на выходе из сооружений, по которым определяют размеры и тип укреплений на выходе;
- максимальные глубины размыва.
9.1.13 Полученные расчетом гидравлические характеристики должны обеспечивать протекание воды в расчетном гидравлическом режиме с допустимой степенью заполнения трубы на входе (при принятии в качестве расчетного безнапорного режима) со скоростями на входе и на выходе из трубы, которые не допускают повреждения трубы, размыва грунта насыпи и подводящего и отводящего русел.
Глубины размыва на выходах из водопропускных сооружений на железных дорогах определяют по двум расходам, причем расчетный расход увеличивают на 30 % для учета возможных ошибок в целях обеспечения нормальных условий эксплуатации, что соответствует увеличению глубины размыва на 20 %.
9.1.14 Выбор типа сооружения должен быть обоснован в результате технико-экономического сравнения при обеспечении функциональной надежности по требуемым гидравлическим и конструктивным условиям с учетом заводского изготовления конструкций и производственных возможностей строительных организаций.
9.1.15 При варьировании проектной линии дороги следует рассматривать варианты вероятного пропуска воды с нескольких бассейнов в одно сооружение путем устройства продольного водоотвода или сброса расхода из одного сооружения в другое; рассматривают также варианты излома профиля сооружения, применения гасителей на выходе из сооружений и устройства рациональных типов выходных русел.
9.1.16 При проектировании водопропускных труб и водоотводных сооружений на вечной мерзлоте и многолетнемерзлых грунтах для предварительных гидравлических расчетов стока ливневых и талых вод могут использоваться программные комплексы, допущенные к применению в порядке, установленном действующим законодательством Российской Федерации.
9.2 Элементы водопропускного тракта верхнего бьефа
9.2.1 Расчет элементов водопропускного тракта и назначение их конструктивных решений выполняют последовательно по направлению потока воды, от расчета характеристик и параметров потока в верхнем бьефе, сопрягающих сооружений с основным водопропускным сооружением водопропускного тракта, сопрягающим сооружениям нижнего бьефа и водоотводов.
9.2.2 Расчетные характеристики параметров потока во всех сооружениях водопропускного тракта определяют на основании принятого режима эксплуатации водопропускного тракта на восприятие расхода от максимального стока (ливневого или снегового) паводковых вод.
9.2.3 Расходы воды в верхнем бьефе водопропускного тракта определяют в результате гидрологических расчетов, предшествующих гидравлическим и независимых от гидравлики сооружений. Аккумуляция определяется совместно с гидравлическими расчетами для конкретных типов и отверстий сооружения, обладающего определенной пропускной способностью, и допускается только на территориях, где исключена возможность образования термокарста.
9.2.4 Требования к проведению гидрологических расчетов приведены в [1]. Ливневый сток для периодических водотоков для малых водопропускных сооружений допускается рассчитывать по [1].
Требования к расчетам максимальных расходов ливневого стока с бассейнов площадью до 100 км2 приведены в [1].
9.2.5 Максимальные расходы снегового стока рассчитывают по заданной вероятности превышения при обработке собранных натурных гидрометрических данных по теории вероятностей и математической статистики.
9.2.6 Расчетные гидрологические характеристики определяют:
- при наличии данных гидрометрических наблюдений непосредственно по этим данным;
- недостаточности данных гидрометрических наблюдений - приведением их к многолетнему периоду по данным аналогов с наиболее длительными рядами наблюдений;
- отсутствии данных гидрометрических наблюдений - по аналогам и картам.
Малые водопропускные сооружения рассчитывают на воздействие паводков, для железных и федеральных автомобильных дорог расчет ведется на два паводка: расчетный и наибольший, для местных автомобильных дорог - только на расчетный.
Расчеты основных параметров взаимодействия водного потока с сооружениями водопропускного тракта в верхнем бьефе проводят по формулам гидравлики с использованием номограмм и программных комплексов, разработанных на основе анализа энергетического баланса в сечениях потока или численных решений уравнений гидравлики.
9.2.7 Расчеты подводящих открытых русел в верхнем бьефе водопропускного тракта проводят по уклонам дна и свободной поверхности водного потока с учетом изменений геометрии русел и допустимых скоростей потока.
9.3 Расчет сопрягающих сооружений в водопропускном тракте
9.3.1 Характер протекания водного потока на подводящем русле при входе в основное водопропускное сооружение водопропускного тракта - трубу, лоток, фильтрующую насыпь - и на выходе из него в отводящее русло, во избежание возникновения деформаций и размывов, на этих участках устраиваются сопрягающие сооружения. К ним относятся быстротоки, водосливы, порталы, гасители скорости потока, защитные преграды от карчехода, снегозаноса, наледеобразования.
9.3.2 При проектировании сопрягающих сооружений водопропускного тракта необходимо учитывать специфику работы водопропускных труб и систем водоотводов на вечной мерзлоте (приложение Б) и совмещение с устройствами управлением температурным режимом (приложение Г).
9.4 Основные сооружения водопропускного тракта
9.4.1 Геометрические размеры сооружений водопропускного тракта, обеспечивающие пропуск водного потока через трассу железных и автомобильных дорог (водопропускные трубы, мосты, фильтрующие насыпи и открытые лотки (переливные насыпи)) должны быть обоснованы гидравлическими расчетами.
9.4.2 Гидравлические расчеты в проектах основных сооружений выполняют для определения пропускной способности, расхода воды и обеспечения функциональной безопасности сооружения при пропуске паводковых вод с гарантией исключения возможности деформаций за счет реализации при строительстве технических решений по выбору конструкций и материалов сооружения и достоверного прогноза его взаимодействия с окружающей средой.
9.4.3 Гидравлические расчеты водопропускных труб, подводящих и отводящих русел водопропускного тракта на территориях с вечномерзлыми и многолетнемерзлыми грунтами следует проводить в комплексе с теплофизическими расчетами и расчетами НДС.
9.5 Водопропускные сооружения нижнего бьефа
9.5.1 Гидравлические расчеты нижнего бьефа водопропускных сооружений включают расчет комплекса устройств, находящихся за выходными оголовками труб, конусами мостов и на участке выхода потока из других водопропускных сооружений (лотков, фильтрующих и переливных насыпей). Выходные русла устраивают с укреплением концевых участков каменной наброской и гасителями энергии потока.
При расчете на ММГ рассматривают два основных случая:
- выходное русло на оттаивающей мерзлоте размываемое, сопряжение его с бытовым логом происходит с образованием воронки размыва в конце короткого укрепления;
- выходное русло является неразмываемым на всем протяжении потока до створа с бытовыми характеристиками. В этом случае за выходным сечением сооружения устраивают укрепленный канал.
Допускается применять сброс потока из сооружений на укрепленные откосы насыпи или уложенные на них лотки.
9.5.2 Выходные русла водопропускных сооружений по характеру связи между элементами на оттаивающей мерзлоте проектируют с укреплениями из связанных между собой элементов или с укреплениями из не связанных между собой специально изготовленных из морозостойких материалов элементов и однородной каменной наброски, не допускающих выноса грунта лога из-под них.
Укрепления проектируют для неразмываемых русел и для русел, допускающих размыв.
9.5.3 В проекте должны быть определены возможность затопления выхода, изменения характера протекания воды в трубе, расхода, скорости потока и его размывающей способности, глубина потока на выходе из трубы. Эти параметры являются исходными для определения типа и объемов укрепления выходных русел, назначения режимов мониторинга их состояния, а также регламентов технического обслуживания и ремонтов при эксплуатации. На вечной и многолетней мерзлоте в нижнем бьефе водопропускного тракта глубины и скорости потока на выходе из труб определяют функциональную надежность всего водопропускного тракта.
9.5.4 Для обеспечения функциональной безопасности в гидравлических расчетах сооружений нижнего бьефа водопропускного тракта должны быть оценены воздействия на вечномерзлые и многолетнемерзлые грунты паводковых вод при максимальных и минимальных значениях варьируемого влияния температур на конкретных участках трассы (приложение Д).
9.6 Фильтрующие и переливные насыпи и лотковые сооружения
9.6.1 Фильтрующие и переливные насыпи с лотковыми сооружениями применяют в приполярной зоне при ограниченном впитывании талых вод, при высоком уровне паводка и на термокарстоопасных участках водопропускных трактов во избежание аккумуляции воды и размыва грунта на крутопадающих логах в комбинированных системах с косогорными трубами. Применение фильтрующих насыпей предупреждает образование широких промоин на пике паводка. На автомобильных дорогах устройство лотковых сооружений с плавным изменением продольного профиля и с образованием укрепленного перелива потока через насыпь во время пика паводка позволяет избежать значительных перерывов движения.
9.6.2 Фильтрующие насыпи допускается применять как основное сооружение водопропускного тракта и как элемент комбинированного сооружения, состоящего из фильтрующей насыпи и трубы при узких логах и больших расходах воды.
9.6.3 Фильтрующие насыпи допускается применять на железных и автомобильных дорогах категорий III и ниже по СП 34.13330 при малых расходах воды (менее 3 - 4 м3/с), незначительном количестве взвешенных частиц грунта в воде и достаточном технико-экономическом обосновании.
9.6.4 Фильтрующие насыпи проектируют без учета аккумуляции. Камень фильтрующей насыпи должен быть крепких кристаллических пород, мелкие фракции не допускаются. Перед входом в фильтрующую насыпь устраивают заграждения для задержания наносов и плывущих предметов.
9.6.5 Фильтрующие насыпи применяют двух типов:
- напорные, когда горизонт верхнего бьефа выше верха входного отверстия и насыпь работает полным сечением, а движение потока в наброске равномерное;
- безнапорные, когда горизонт верхнего бьефа ниже верха каменной наброски; при этом фильтрующая насыпь пропускает поток со свободной поверхностью.
9.6.6 В поперечном сечении напорную фильтрующую насыпь устраивают постоянной высоты. В безнапорных насыпях каменную прослойку укладывают ступенями. Высоту каждой ступени назначают на 15 % - 20 % больше глубины фильтрационного потока.
В направлении, перпендикулярном оси насыпи, форма поперечного сечения фильтрующей прослойки может быть прямоугольной, трапецеидальной, параболической или треугольной. Прямоугольную и трапецеидальную формы применяют в широких логах, причем в пологих логах нижнее основание трапеции больше верхнего, а в узких логах наоборот.
Все поперечные сечения сводят к прямоугольному и треугольному, а расчеты приводят применительно к этим поперечным сечениям.
9.6.7 Устройство переливной насыпи обосновывают технико-экономическим сравнением вариантов. Для предотвращения возможного съезда с насыпи при движении транспорта во время перелива устраивают ограждения-ориентиры.
9.6.8 Гидравлический расчет переливных насыпей включает:
- установление отметок уровней воды в верхнем и нижнем бьефах;
- определение длины участка перелива и напора над осью дороги и высотного положения;
- определение глубин и скоростей в характерных точках поперечного сечения полотна дороги;
- расчет сопряжения бьефов.
9.6.9 На переливных насыпях устраивают лотковые сооружения в местах пересечения водотоков и пониженных мест для пропуска паводковых вод. Лотковые сооружения могут применяться в сочетании с устраиваемыми под ними трубами и фильтрующими насыпями.
9.6.10 Водопропускные сооружения лоткового типа представляют собой укрепленные пониженные участки насыпи различной конфигурации в зависимости от расхода воды и параметров вертикальных кривых рельефа местности или сочетание таких участков с отверстиями под ними в виде труб прямоугольного или круглого сечения. В последнем случае меженный расход, а иногда и часть паводка проходит через отверстия, а перелив происходит в наиболее высокие паводки.
Водопропускные сооружения лоткового типа следует применять на автомобильных дорогах низших категорий по СП 34.13330 с периодическим дождевым стоком на вечномерзлых и многолетнемерзлых грунтах при отсутствии таликов.
9.6.11 Лотки без отверстий применяют на периодических водотоках без твердого стока в распластанных логах при отсутствии или неопределенности водоразделов между смежными водосборами, а также в местах ожидаемого увеличения расхода в результате перераспределения расчетных расходов между отдельными водотоками.
9.7 Расчет коротких водоотводов с постоянным уклоном дна
9.7.1 Водоотводы и нагорные канавы в качестве элемента водопропускного тракта устраиваются в верхнем бьефе как самостоятельные сооружения и при сопряжениях с сооружениями верхнего бьефа (подводящее русло), и на нижнем бьефе (отводящее русло), если сооружения нижнего бьефа не заканчиваются выпуском непосредственно на поверхность земли.
9.7.2 Нагорные канавы устраивают для защиты земляного полотна от поверхностного размыва откосов выемок и подтопления подошвы насыпей в промежутках между пропуском воды через искусственные сооружения, как альтернативу бесканальному водоотводу.
9.7.3 На слабосточных участках вечной и многолетней мерзлоты (марях), где водоотводы с постоянным уклоном дна трудно осуществимы, их следует заменять образованием искусственных полос стока с последующим формированием самоуглубляющихся канав.
9.7.4 При возможности организации постоянного уклона дна на участках водоотводов их проектируют в виде канав треугольного и прямоугольного поперечных сечений с укреплением дна и откосов от размыва.
10.1 Прочностные расчеты конструкций водопропускных труб на действие постоянных и временных нагрузок выполняют по методу предельных состояний. Методы расчетов конструкции водопропускных труб и системы водоотвода должны учитывать принцип использования многолетнемерзлых грунтов в качестве основания водопропускных труб, который принят в проекте в соответствии с требованиями СП 25.13330 и СП 35.13330, технологию строительства, проектируемый режим их эксплуатации, инженерно-геологические и геокриологические условия и возможности изменения свойств грунтов основания при изменении их температурного режима. Расчетные нагрузки определяют с учетом коэффициентов сочетаний и надежности по нагрузкам. Расчетные нагрузки на водопропускные трубы зависят от их конструкции и условий их работы при эксплуатации.
10.2 При пересечении водопропускной трубой или водоотводом участков с подземными льдами и наледями, а также при прокладке водоотводов по солифлюкционным и опасным в термоэрозионном отношении склонам и вблизи термоабразионных берегов водоемов проектом должны быть предусмотрены расчеты, обосновывающие:
- инженерные решения по предотвращению развития криогенных процессов;
- мероприятия по максимальному сохранению растительного покрова;
- замену пучинистых грунтов на непучинистые;
- дренаж и пропуск ливневого стока и стока от снеготаяния.
10.3 Теплоизоляционные материалы (пенопласт, торф и др.) используются в конструкциях «насыпь-труба» в качестве тепловых амортизаторов:
- для уменьшения глубины сезонного оттаивания и сохранения грунтов основания в мерзлом состоянии под фундаментом трубы. Толщину слоя теплоизоляционного материала и место его расположения в грунтовом массиве устанавливают на основании теплотехнического расчета и расчетов конструкции на прочность и устойчивость;
- для предотвращения морозобойного растрескивания грунта с образованием зимой сквозных поперечных температурных трещин в теле насыпи из-за сильного охлаждения грунта вокруг трубы путем размещения над трубой теплоизоляционного экрана.
10.4 Применение тех или иных расчетных моделей грунта должно основываться на достаточном количестве достоверных исходных данных инженерно-геологических изысканий, исследований теплофизических, прочностных и деформационных характеристик мерзлых и оттаявших грунтов. Расчетная модель сооружения должна учитывать прогнозы температурного режима во времени, технологическую последовательность строительства, то есть историю формирования температурного режима и НДС.
10.5 При расчетах устойчивости необходимо учитывать поровое давление на границе мерзлого и талого грунтов, гидродинамическое воздействие фильтрационного потока внутри грунтового массива и инфильтрацию осадков.
10.6 Элементы водопропускных труб рассчитывают по методу предельных состояний на действие постоянных, временных и прочих нагрузок: собственного веса конструкций; вертикального и горизонтального давления грунта от веса насыпи; от подвижного состава; строительной нагрузки; сейсмических воздействий; температурных климатических воздействий и морозного пучения.
Расчетные нагрузки для принятой расчетной схемы следует определять с коэффициентами сочетаний и надежности по нагрузкам в соответствии с СП 35.13330.
При применении численных методов расчетную модель следует разрабатывать непосредственно для конкретной водопропускной трубы с учетом инженерно-геологических, гидрологических, геокриологических условий.
10.7 Для всех труб класс нагрузки согласно СП 35.13330 следует принимать равным 14, кроме труб, расположенных в рекреационных и природоохранных зонах городов, для которых класс нагрузки следует принимать равным 11.
Для реконструируемых сооружений класс нагрузки следует принимать не менее 11.
10.8 При расчетах системы «труба - насыпь» в течение срока эксплуатации в окрестности водопропуска следует дополнительно учитывать следующие нагрузки и воздействия: от максимальной расчетной величины интенсивности водного стока, подлежащего пропуску через водопропускные сооружения; возможности образования наледи и ее максимальной прогнозной толщины и режима роста или таяния; максимальной прогнозной оценки уровня воды с учетом мощности наледи; прогнозных внутригодовых колебаний температуры воздуха и толщины снежного покрова в естественных условиях и на откосах насыпи; наличия и состояния ММГ, включая льдистость и температуру грунтов до глубины не менее 20 м. Необходимо в расчетах также учитывать показатели криогенных свойств грунтов насыпи и ее основания, в том числе пучинистость, осадки, возникающие в процессе оттаивания, температурное расширение и др.
10.9 Конструкции водопропускных труб допускается проектировать по плоским расчетным схемам с учетом взаимодействий элементов между собой и основанием. В водопропускных трубах расчету подлежат:
- железобетонные замкнутые звенья, фундаменты и стенки оголовков;
- бетонные стенки звеньев и оголовков, плиты перекрытия, фундаменты;
- металлические гофрированные гибкие звенья и соединения;
- сварные соединения металлических гладких прямошовных и спиралешовных труб.
10.10 Усилия в элементах труб определяются по правилам строительной механики с учетом их упругой работы, то есть недопущения пластических деформаций.
10.11 При расчете элементов металлических гофрированных труб на прочность в расчетных сечениях следует учитывать продольные сжимающие усилия и изгибающие моменты. Расчетное сопротивление материала трубы при пластическом течении определяется с учетом коэффициента условий работы. Поперечные деформации металлических труб на стадии отсыпки и уплотнения боковых призм грунта следует ограничить величиной, не превышающей 3 % номинального диаметра D.
10.12 Усилия для расчета элементов круглых и прямоугольных железобетонных труб определяются при расчетах на прочность и трещиностойкость (по раскрытию трещин). Сечения звеньев водопропускных труб рассчитывают по прочности от расчетных нагрузок, а по трещиностойкости - от нормативных нагрузок (без учета коэффициентов надежности по нагрузке).
10.13 Расчеты железобетонных звеньев труб по прочности выполняются в соответствии с СП 25.13330, СП 35.13330 по первой группе предельных состояний (по прочности и устойчивости формы) и по второй - по трещиностойкости (по раскрытию трещин).
Расчет железобетонных звеньев водопропускных труб по прочности включает:
- определение геометрических параметров расчетного сечения;
- назначение рабочей арматуры;
- проверку прочности по нормальным к продольной оси и наклонным сечениям.
10.14 Конструктивные элементы труб следует рассчитывать по прочности, устойчивости против опрокидывания и скольжения, трещиностойкости и по деформациям. Основания труб рассчитывают на прочность (несущую способность) в соответствии с требованиями СП 35.13330 и на осадку по СП 22.13330.
10.15 Круглые железобетонные звенья водопропускных труб рассчитывают на неравномерное радиальное давление грунта насыпи.
10.16 Звенья прямоугольных железобетонных труб рассчитывают как рамы замкнутого контура с дополнительной проверкой их стенок по схеме с жестко заделанными стойками (СП 35.13330). Звенья загружают равномерно распределенными нагрузками от вертикального и горизонтального давления грунта от собственного веса и временной подвижной нагрузки. Горизонтальное давление от собственного веса грунта определяют на уровне середины высоты звена трубы. Звенья железобетонных прямоугольных труб рассчитывают на действие изгибающих моментов, продольных и поперечных сил, которые определяются по правилам строительной механики.
10.17 Тонкостенные металлические, в том числе гофрированные, трубы следует рассчитывать на действие изгибающих моментов, продольных и поперечных сил, возникающих в ходе изменений температурного поля оснований. Потеря устойчивости в этом случае определяется через нагрузку, вызывающую «прощелкивание» верхней точки трубы.
При расчетах водопропускных труб численными методами расчетная схема должна учитывать наличие армирования железобетона, совместную работу трубы и окружающего ее грунта (армогрунтовых элементов). При этом на контактах (границах) «железобетон/металл - грунт/армогрунт» следует применять интерфейсные элементы, учитывающие возможность проскальзывания грунта по железобетону/металлу.
Целесообразно строить линию влияния от действия временной нагрузки для определения наиболее опасного ее приложения. Размеры расчетной области принимают по критерию отсутствия существенного влияния изменений граничных условий на результаты расчета.
10.18 В связи с избыточным охлаждением грунтов насыпи в окрестности водопропускной трубы, вызванным циркуляцией в ней холодного зимнего воздуха, следует проверять расчетом возможность их морозобойного растрескивания в мерзлом состоянии. Основой такого расчета является прогноз температурного поля и поля температурных напряжений методами математического моделирования.
10.19 К числу важных факторов наледеобразования относятся температура наружного воздуха в зимний период, количество осадков в осенне-летний период предыдущего года и толщина снежного покрова. При прогнозировании расчетных параметров из всех наледей, возникающих в зоне водопропускных труб, следует выделить наледи с питанием грунтов, подверженных сезонному промерзанию и оттаиванию, поверхностными, надмерзлотными, грунтовыми водами.
10.20 Допускается использование приближенной методики расчетов на основе моделирования криогенных физико-геологических процессов.
10.21 Образование грунтовых наледей определяется сезонным промерзанием первого от поверхности водоносного горизонта и смыкания ММГ с сезоннооттаивающим массивом. При этом необходимо учитывать взаимные расположение и соотношения глубины залегания ММГ или водоупора, уровня грунтовых вод и глубины промерзания.
10.22 Расчету на выносливость в соответствии с СП 35.13330 подлежат перекрытия прямоугольных железобетонных труб. Если при расчете на выносливость перекрытий труб напряжения в арматуре не превышают 75 % установленных расчетных сопротивлений (с учетом коэффициентов условий работы для расчетного сопротивления бетона и арматурной стали при многократно повторяющихся нагрузках), то дополнительные ограничения по классам арматуры и маркам стали для арматуры, рассчитываемой на выносливость при средней температуре наружного воздуха наиболее холодной пятидневки ниже минус 40 °С, допускается не выполнять.
10.23 Конструкции железобетонных труб на ММГ согласно СП 35.13330 должны удовлетворять требованиям к категории трещиностойкости по СП 35.13330. Допускается ограниченное по ширине кратковременное или длительное раскрытие нормальных и наклонных к продольной оси элемента трубы трещин.
10.24 Расчет по раскрытию нормальных и наклонных трещин проводят по указаниям СП 25.13330 аналогично железобетонным пролетным строениям.
10.25 Предусматривают определение значения момента для внецентренно сжатых элементов как изгибающего момента по СП 35.13330 при расположении продольного усилия между центрами тяжести растянутой и сжатой арматуры.
10.26 Фундаменты водопропускных труб в зоне распространения ММГ и наледеобразования следует проектировать, соблюдая нормы и требования СП 25.13330. При этом расчет осадки и пучения фундамента трубы следует выполнять с учетом прогноза температурного режима в зоне термомеханического влияния трубы.
10.27 Проектные решения должны быть обоснованы расчетами эффективных напряжений для инженерно-геологических элементов, находящихся в водонасыщенном состоянии, и дополнительно оценкой изменений НДС во времени. При этом должны быть выполнены расчеты:
- осадки трубы и строительного подъема в немерзлых грунтах;
- осадки трубы на оттаивающих грунтах и в зонах возможной деградации мерзлоты;
- поперечных деформаций трубы на стадии отсыпки и уплотнения боковых призм грунта для металлических труб;
- строительного подъема согласно положениям разделов 7 и 12 СП 25.13330.2012 (расчет допускается проводить по методу суперпозиции).
10.28 Расчетную осадку Sp по оси насыпи следует сравнивать с предельно допустимой осадкой.
В случае если расчетная осадка превышает допустимое значение, необходимо принять меры по изменению проектного решения путем увеличения уклона лотка трубы или толщины подушки или принять другой вариант конструкции водопропускного сооружения.
10.29 Расчетную осадку Sp по оси насыпи на оттаивающих грунтах следует увеличить на величину дополнительной осадки слоя грунта, оттаивающего в процессе эксплуатации трубы, - Sдоп. Глубину оттаивания определяют на основе теплотехнических расчетов и расчета соответствующего изменения НДС, вызванного изменением температурно-влажностного состояния грунта сооружения, включающего водопропускную трубу и его основание, а также по данным натурных наблюдений за аналогичными сооружениями.
Осадку Sдоп слоя грунта, оттаивающего в процессе эксплуатации сооружения, определяют методом послойного суммирования.
При строительстве труб на вечномерзлых грунтах, используемых в мерзлом состоянии, сохраняемом в процессе строительства и в течение всего заданного срока эксплуатации (по принципу I), расчет осадок не проводят.
10.30 При расчете водоотводов следует проверять устойчивость их откосов и природных склонов, в которых они запроектированы, с учетом прогноза температурно-влажностного режима.
11.1 Характер температурных полей
11.1.1 Прогнозирование температурного режима вечномерзлых грунтов оснований следует осуществлять с учетом трехмерности тепловых процессов.
11.1.2 При проектировании сооружений водопропускного тракта необходимо учитывать изменение температурного режима вечномерзлых грунтов оснований, которое может произойти на всем протяжении их расчетного срока службы. Необходимую для расчетов несущей способности и устойчивости оснований температуру вечномерзлых грунтов следует определять, учитывая три характерных состояния их температурных полей: предельное, начальное и временное.
Предельному состоянию соответствует температурное поле в пределах водопропускного тракта, которое формируется в последний год расчетной продолжительности эксплуатации сооружения и его элементов.
Начальному состоянию соответствует температурное поле перед началом строительства, определяемое обычно по данным изысканий.
Временному состоянию соответствует температурное поле в процессе строительства и эксплуатации сооружения водопропускного тракта. Это промежуточное состояние между начальным и предельным.
11.1.3 При прогнозировании температурного режима грунтов оснований и обеспечения в процессе эксплуатации условий для сохранения температурного режима следует правильно учитывать размеры территории в плане, которые являются зоной теплового влияния для места пересечения водотока. Для этого рекомендуется использовать приближенную зависимость
|
R = 2h, |
(11.1) |
где R - радиус зоны влияния для любой точки пересечения водотока, м;
h - глубина от дневной поверхности (т.е. для опоры моста - от естественной поверхности грунта, для насыпи - от поверхности насыпи и т.п.), м.
11.1.4 При проектировании следует учитывать общие закономерности формирования температурного режима, выявляемые в процессе работ (приложение Г).
11.2 Расчетная температура
11.2.1 За расчетную температуру принимают температуру грунта на момент окончания теплого периода года, т.е. на 1 октября, для определения несущей способности, на 1 апреля - для определения глубины промерзания.
11.2.2 Расчетную температуру следует определять, исходя из того, что начальное и временное состояния могут быть как менее благоприятными, чем предельное, так и более благоприятными, по формуле
|
tпр + Δt ≤ tp ≥ tвр + Δt, |
(11.2) |
где tвр, tпр - температуры грунта при временном и предельном температурных состояниях соответственно, °С;
tp - расчетная температура грунта, °С;
Δt - температурная добавка, принимаемая для песчаных грунтов 0,5 °С, а для глинистых - 1,0 °С.
Расчетная температура должна быть выше, чем при временном и предельном состояниях.
11.3 Стадии прогнозирования температурного режима
При определении границ зоны теплового влияния сооружения следует учитывать влияние соседних, смежных с сооружением территорий. Прогноз температурного режима больших в плане объектов следует выполнять в три стадии:
- оценка температурного режима территории до строительства с учетом имеющейся растительности, водотоков и водоемов и т.п.;
- оценка температурного режима территории после строительства с учетом изменения растительности, вырубки леса, переформирования видимых объектов, искусственных отсыпок и т.п.;
- расчет температурного режима конкретного объекта с учетом переменного фонового предельного температурного состояния.
12.1 Общие положения
12.1.1 Расчетный температурный режим должен обеспечить с учетом конструктивно-технологических мероприятий:
- требуемую несущую способность грунтов;
- устойчивость к нарушениям в результате действия непредвиденных природных или техногенных воздействий.
12.1.2 При проведении расчетов по прогнозированию температурного режима грунтов оснований должны быть учтены:
- климатические воздействия;
- мерзлотно-грунтовые условия в зоне мостового перехода;
- рельеф, растительность;
- различные физические процессы (например, фильтрация воды), имеющие место в зоне мостового перехода;
- возможные изменения природных и техногенных условий за время эксплуатации моста.
12.1.3 Эксплуатационные характеристики водопропускных труб и систем водоотвода следует оценивать с учетом влияния многих природных факторов, из которых основными являются два климатических: 1) температура наружного воздуха; 2) снегоперенос и три мерзлотно-грунтовых: 1) температура мерзлоты; 2) льдистость грунтов и наличие погребенных льдов; 3) засоленность грунтов.
12.2 Рекомендации к методике расчета
12.2.1 Расчеты температурного режима следует проводить в трехмерной постановке, исходя из сложного трехмерного температурного состояния грунтов. Для отдельных частей и конструктивных элементов допускаются расчеты в одномерной и двумерной постановках.
12.2.2 Прогноз температурного режима рекомендуется проводить двумя методами: приближенным и точным с сопоставлением и взаимопроверкой результатов. Для точного расчета рекомендуется использовать программные комплексы, основанные на использовании численных методов (разностных методов, методов конечных элементов и др.). Методика приближенного расчета изложена в приложении Д СП 354.1325800.2017.
12.3 Исходные данные
12.3.1 При назначении исходных данных для расчета кроме температуры воздуха следует учитывать условия теплообмена на поверхности.
12.3.2 На поверхности прежде всего следует учитывать снежные отложения, растительный покров и искусственные покрытия.
12.3.3 При определении температуры воздуха следует учитывать солнечную радиацию и испарение с поверхности.
Расчетную величину среднемесячной приведенной температуры воздуха определяют по формуле
|
tпр = t + Δtr - Δtε, |
(12.1) |
где t - среднемесячная температура воздуха, определяемая по климатологическим справочникам;
Δtr и Δtε - поправки к среднемесячным температурам воздуха за счет солнечной радиации и испарения соответственно, °С, определяемые по формулам:
|
|
(12.2) |
|
Δtε = Δtrk, |
(12.3) |
здесь r - среднемесячная сумма радиационного баланса для рассматриваемого элемента поверхности, ккал/(м2·мес);
α - коэффициент теплообмена на поверхности грунта, ккал/(м2·ч·°С), приближенно вычисляемый по формуле
|
|
(12.4) |
здесь V - скорость ветра, м/с;
k - коэффициент, учитывающий характер поверхности, принимаемый в первом приближении равным 0,8 для естественной поверхности и 0,3 - для оголенной.
При отсутствии данных изысканий допускается к среднемесячным значениям температуры воздуха с апреля по сентябрь принимать поправки Δt = 3 °С.
13.1 Контроль за производством работ должен осуществляться на всех стадиях технологического процесса.
13.2 Контроль и оценку качества работ при устройстве сооружений выполняют в соответствии с требованиями СП 46.13330, СП 48.13330.
13.3 В процессе строительства водопропускных и водоотводных сооружений составляют акты освидетельствования скрытых работ в соответствии с СП 48.13330 на следующие виды работ:
- готовый котлован под трубу, лоток;
- устройство гравийно-песчаной подготовки;
- монтаж лекальных блоков, монтаж звеньев трубы и оголовков, секций лотков;
- обмазочная и оклеенная гидроизоляция;
- обратная засыпка тела трубы, лотка;
- укрепительные работы у трубы, лотка.
Форма акта освидетельствования скрытых работ приведена в [3, приложение 3].
По окончании строительства сооружения должен быть составлен акт приемки ответственных конструкций.
До приемки скрытых работ и ответственных конструкций запрещается проводить последующие работы (например, установку трубы на не принятую грунтовую подушку или засыпку трубы с не принятым дополнительным защитным покрытием).
13.4 Контроль плотности грунта естественного основания, а также контроль плотности грунтовой подушки, укладываемой взамен слабого грунта основания, осуществляется по оси трассы сооружения.
13.5 Перед началом монтажа трубы должны быть выполнены контрольная сборка и все подготовительные работы.
13.6 Устройство грунтовой обоймы ведется под постоянным геодезическим контролем.
13.7 Укрепление русла и откосов насыпи следует проводить в соответствии с проектами и нормами по изготовлению и постройке железобетонных водопропускных труб.
После завершения монтажных работ следует проводить приемку трубы в целом с оформлением акта.
13.8 После завершения этапа опытной эксплуатации водопропускных сооружений, которая может длиться от двух до пяти лет, решение об их приемке в постоянную эксплуатацию принимают с учетом результатов мониторинга.
13.9 При приемке завершенного строительством объекта должна быть предъявлена следующая документация:
- чертежи трубы, на которые нанесены согласованные изменения; акты освидетельствования и акты промежуточной приемки ответственных конструкций и скрытых работ (устройство оснований; монтаж конструкций, устройство дополнительного защитного покрытия и лотков, грунтовая обсыпка труб);
- акты освидетельствования водопропускных/водоотводных сооружений в целом;
- паспорта (документы) на поставленные строительные стальные конструкции;
- паспорта (документы) на поставленные объемные решетки и геотекстиль для армогрунтовых обойм и обратных фильтров;
- документы о согласовании допущенных при строительстве отступлений от проекта;
- сводная ведомость указанных документов.
14.1 Объектом мониторинга (управления) является ПТС водопропускного сооружения (водопропускного тракта, включающего водоотводные канавы и водопропускные трубы), взаимодействующая с сооружениями дороги. Состав работ по мониторингу включает гидрометеорологические наблюдения, термокаротажные измерения, теплобалансовые исследования, визуальные и дистанционные методы контроля состояния и параметров взаимодействия компонентов ПТС водопропускного сооружения, контроль за деформациями грунтов и сооружений, анализ результатов, разработку проектов сценариев управления.
14.2 Система мониторинга водопропускных сооружений
14.2.1 Мониторинг сооружений и конструкций на ММГ основания следует выполнять комплексно: «водоотводное сооружение - земляное полотно»; «водопропускное сооружение - земляное полотно - водоотводное сооружение».
14.2.2 С учетом экстремально неблагоприятных природно-климатических условий строительства объектов и сложности прогнозирования стабилизационных процессов при отсутствии опыта проектирования, строительства и эксплуатации транспортных коммуникаций в регионе с распространением ММГ основания необходимо предусматривать:
- систематический контроль за состоянием ПТС «водоотводное сооружение - земляное полотно», «водопропускное сооружение - земляное полотно - водоотводное сооружение» на начальном этапе, когда происходит процесс перехода из природного состояния в новое состояние всего грунтового массива, начавшееся (организованное) на этапе строительства. Начальный этап характеризуется динамичным изменением мощности сезонно-талого слоя и физико-механических характеристик грунтов оснований от природного состояния к новому периодическому состоянию, зависящему от техногенных воздействий. По прошествии данного этапа, который может длиться несколько лет, выявляются направление и динамика основных изменений в конструкциях систем, их соответствие прогнозным теплотехническим расчетам;
- по результатам анализа начального этапа на этапе опытной эксплуатации следует, при необходимости, предусматривать усиление систем «водоотводное сооружение - земляное полотно», «водопропускное сооружение - земляное полотно - водоотводное сооружение» для обеспечения заданной скорости стабилизации с ликвидацией неравномерных осадок, проявлений термокарста, застоев воды, деформаций в конструкциях водопропускных сооружений и водопропускного тракта в целом.
14.2.3 В зависимости от периода наблюдений и скорости изменений должны быть определены состав и объемы геотехнического мониторинга. Мониторинг систем следует выполнять в течение всего жизненного цикла работы систем «водоотводное сооружение - земляное полотно», «водопропускное сооружение - земляное полотно - водоотводное сооружение» до достижения гомеостаза в ПТС.
14.2.4 Мониторинг систем «водоотводное сооружение - земляное полотно», «водопропускное сооружение - земляное полотно - водоотводное сооружение» включает: систематический надзор и периодические осмотры состояния сооружений на основаниях категорий просадочности I и II, насыпей из крупнообломочных, песчано-гравийных, песчаных талых и сухомерзлых грунтов; специальные режимные наблюдения и обследования состояния сооружений на основаниях категорий просадочности III и IV, инженерно-геологических условий участков с признаками солифлюкционных и термокарстовых процессов на прилегающей местности, участков индивидуального проектирования; специальные наблюдения за экспериментальными конструкциями и выемками; детальные обследования выявленных участков с деформациями для последующего устранения дефектов.
14.2.5 Специальные наблюдения и обследования систем «водоотводное сооружение - земляное полотно», «водопропускное сооружение - земляное полотно - водоотводное сооружение» в сложных мерзлотно-грунтовых условиях выполняют с привлечением проектных и научных организаций согласно программам научного сопровождения строительства. Для группы объектов со сходными признаками природных условий и конструктивно-технологических решений наблюдения проводят на характерных (эталонных) участках, оборудованных реперной системой, термометрическими комплексами, осадкомерами, вешками для снегомерной съемки и другими устройствами для определения объемов работ при технической эксплуатации.
14.2.6 Виды и объем наблюдений должны быть достаточными для установления интенсивности осадок систем «водоотводное сооружение - земляное полотно», «водопропускное сооружение - земляное полотно - водоотводное сооружение» и их термического режима, возможности обеспечения заданной устойчивости земляного полотна на период сдачи линии в постоянную эксплуатацию и необходимости дополнительных мероприятий для ускорения его стабилизации. На участках неравномерных осадок и других деформаций систем «водоотводное сооружение - земляное полотно», «водопропускное сооружение - земляное полотно - водоотводное сооружение» объем наблюдений и обследований должен быть достаточным для выполнения оперативных ремонтно-восстановительных работ и проектирования противодеформационных мероприятий. Все выявленные деформации должны быть устранены до сдачи объекта в постоянную эксплуатацию.
14.2.7 Проект мониторинга за ПТС «водоотводное сооружение - земляное полотно», «водопропускное сооружение - земляное полотно - водоотводное сооружение» должен включать: гидрогеологические наблюдения в скважинах; нивелирование грунтовых деформационных марок; нивелирование сети грунтовых марок; визуальные обследования; гидрологические наблюдения; расчет напряженного состояния элементов инженерных сооружений; геотехнический прогноз; оценку общего состояния ПТС; разработку рекомендаций по устранению деструктивных процессов; программу и регламент инженерных изысканий, в том числе с определением характеристик физических свойств грунтов в лабораторных условиях, с выполнением химических анализов проб воды и выполнением химических анализов почв и грунтов.
14.2.8 Трехзначный «светофорный» принцип обозначения опасности, принятый в проекте мониторинга, должен отражать картину величины и скорости деформаций сооружений в зависимости от воздействий грунтовых или паводковых вод в режиме реального времени.
14.2.9 Алгоритм управляющих решений генерируется на трех уровнях иерархии опасностей (риска):
1) Скорость деформаций ≤ 0 - безопасное состояние, отображаемое на табло зеленым цветом. Эксплуатация пути и сооружений на участке выполняется в штатном режиме, согласно регламентам планово-предупредительных осмотров, технического обслуживания и ремонтов.
2) Скорость деформации ≥ 0, но не более скорости за предыдущий период, то есть деформации продолжаются, но их интенсивность не возрастает. Это состояние отражается в отчете желтым цветом и сигнализирует о необходимости проведения более тщательных наблюдений в ходе мониторинга, и, возможно, разработки и принятия оперативных управляющих решений для обеспечения устойчивости сооружений водопропускного тракта. Вводятся ограничения в режим движения поездов и автомобильного транспорта на соответствующих участках в зависимости от угрозы активизации опасного события. Ограничения действуют до затухания деформаций по данным мониторинга. Вводится усиление контроля за состоянием сооружений и выявляется необходимость ремонтных работ по ликвидации деформаций. Выполняются работы по усилению защитных сооружений.
3) Скорость деформации возрастает по сравнению с предыдущим периодом измерений. Это состояние отражается в отчете красным цветом. Практически такое состояние является предаварийным, недопустимым и требующим незамедлительных управляющих решений для обеспечения устойчивости земляного полотна и защиты других объектов транспортной инфраструктуры. Прогнозируется реализация полномасштабного события в ближайшее время (сутки, часы). Вводится ограничение в режиме движения поездов и автомобилей (вплоть до закрытия движения) на период до ликвидации угрозы. При реализации события в полном объеме либо частично выполняют работы по ликвидации последствий, в том числе с организацией восстановления движения по временным схемам.
14.2.10 Результаты теплофизического мониторинга следует использовать для идентификации расчетных моделей при выполнении теплофизического прогноза и для принятия оперативных решений по управлению температурным режимом грунтовых массивов.
14.3 Особенности теплофизического мониторинга
14.3.1 Теплофизический мониторинг необходим для управления ключевым фактором безопасности - тепловым режимом грунтовых массивов объектов водопропускной/водоотводной системы.
14.3.2 Управляющие решения по обеспечению эксплуатационной надежности системы водопропускных/водоотводных сооружений должны основываться на анализе соответствия расчетной и фактической температуры грунта по данным режимных наблюдений.
Режимы наблюдений (периодичность измерений температуры грунта) следует назначать с учетом инерционности процессов теплопереноса при фазовых переходах и исходя из закона необходимого разнообразия и достаточного объема информации для принятия оптимальных управляющих решений, имея в виду, что каждый избыточный бит информации сопряжен с непроизводительными затратами времени и материально-финансовых ресурсов.
14.3.3 Теплофизический мониторинг включает:
- проведение наблюдений за работой охлаждающих систем и разработку предложений по их совершенствованию;
- поиск путей снижения затрат на проведение измерений температур;
- поиск путей снижения затрат на проведение анализа теплового состояния инженерных систем.
14.3.4 Для обеспечения сохранности окружающей среды теплофизический мониторинг включает:
- контроль изменения теплобалансовых характеристик поверхностей и условий, определяющих теплообмен в грунтовых массивах водопропускного сооружения: снегоотложений, состояния растительных покровов, обводнения территории и др.;
- выборочные температурные наблюдения в окружающей зоне.
14.4 Измерения температуры грунта при изысканиях и в процессе мониторинга
14.4.1 В проекте сооружения и в проекте производства работ по его строительству должно быть определено пространственное положение верхней границы мерзлоты, включая глубины hj, сезонного оттаивания в характерных точках. Параметры температурного режима характеризуются температурами ti грунта в расчетных (контрольных) точках, проверяемых при последующем мониторинге.
14.4.2 Наблюдения за динамикой криогенных процессов в непосредственной близости от пересечения водотоков выполняются через термометрические скважины, закладываемые по программе изысканий геотехнического мониторинга. Точность измерений должна быть не менее 0,1 °С.
14.4.3 Количество и глубину разведочных скважин следует назначать из условия получения достоверных данных, необходимых для обоснования конструктивно-технологических решений опор с учетом сложности мерзлотно-грунтовых условий.
Термокаротажные измерения в скважинах следует проводить с переменным шагом по глубине скважин и синхронно с изменениями условий внешнего теплообмена.
14.4.4 Рекомендации по организации теплофизического мониторинга водопропускных труб приведены в приложении Д.
Классификация водопропускных сооружений
А.1 Схемы водопропускных сооружений
А.1.1 водопропускная труба: Инженерное сооружение, укладываемое в теле насыпи железной или автомобильной дороги для пропуска водного потока.
Водопропускные трубы могут быть металлическими, бетонными, полимерными. По поперечным сечениям выделяют трубы - прямоугольные, круглые, овальные; по количеству очков в сечениях - одноочковые, двухочковые, многоочковые; по работе поперечного сечения - безнапорные, полунапорные, напорные.

1 - откосные крылья входного оголовка трубы; 2 - то же, выходного; 3 - промежуточные звенья
Рисунок А.1 - Водопропускная труба
А.1.2 водоотводная канава: Сооружение в грунте, представляющее собой простейшего типа открытый водоотвод определенного поперечного сечения, предназначенный для защиты земляного полотна (чаще насыпей) от размыва или переувлажнения, сбора поверхностных (иногда и грунтовых) вод и отвода их в ближайший водоток.

а - укрепление железобетонными плитами; б -
укрепление каменным мощением;
в - укрепление одерновкой со щебневанием дна
Рисунок А.2 - Поперечные профили водоотводных канав с укреплением
А.1.3 фильтрующие прорези (фильтрующие насыпи): Насыпи, обладающие фильтрующей прорезью, отсыпанные частично из фильтрующих грунтов в зоне длительного подтопления для предохранения верхней части земляного полотна от переувлажнения.
Служат для пропуска небольших расходов воды в основании земляного полотна, устраиваются на логах или пониженных местах.
Различают простые фильтрующие насыпи, в которых водный поток фильтрует через пористую каменную призму, и комбинированные, в которых водный поток может фильтровать через пористую каменную призму и одновременно стекать через заложенную в ней трубу небольшого отверстия.
А.1.4 нагорные канавы: Канавы, устраиваемые с нагорной стороны выемки, служащие для перехвата и отвода поверхностных вод, притекающих к полотну дороги, и отводящие их к ближайшему водопропускному сооружению или в пониженные места рельефа.
Выходы нагорных канав к искусственным сооружениям должны быть отведены от дороги возможно дальше, укреплены и расширены для предупреждения их размыва.

1 - земляное полотно; 2 - изоляционный слой; 3
- фильтрующая часть насыпи; 4 - укрепление основания;
Н - допускаемая глубина потока перед насыпью
Рисунок А.3 - Напорные фильтрующие насыпи

Рисунок А.4 - Схема водоотвода с использованием нагорной канавы
А.1.5 водоотжимная берма: Уступ земляного полотна, отодвигающий поток от земляного полотна либо отделяющий его от водоотводного сооружения.
Служит для отдаления от тела насыпи воды, текущей в водоотводной канаве или в путевом резерве, либо для отдаления от тела кавальера воды в нагорной канаве.

1 - несортированная горная масса, содержащая камень;
ГВВ - горизонт высоких вод; ГМВ - горизонт меженных вод;
а - ширина бермы; В - ширина основной площади насыпи
Рисунок А.5 - Конструкция укрепления подтопленного откоса насыпи
несортированной
горной массой в виде защитной призмы
А.1.6 кювет (боковая канава): Небольшая канава, выемка трапецеидальной (редко треугольной) формы вдоль обочины автомобильной или железной дороги.
Кювет может быть неукрепленным (грунтовым) и укрепленным, вымощенным камнем или полностью покрытым бетоном.
Кюветы устраивают в выемках и у насыпей с небольшими рабочими отметками: 1,5 - 2 м.

Рисунок А.6 - Кювет, укрепленный бетонными плитами
А.1.7 лоток: Придорожная канава небольшой глубины овального или поперечного профиля с пологими мощеными откосами.
Устраивается на пересечении периодически действующих водотоков с глубиной воды не более 0,2 м или для пропуска воды поверх проезжей части - перепускной лоток. Прикромочные лотки устраивают способом непрерывного формования из асфальтобетона или бетона или сборных бетонных элементов.

Рисунок А.7 - Водоотводный лоток эллипсовидного сечения
А.1.8 водоразделительная дамба: Регуляционное сооружение, применяемое на мостовых переходах. Регулирует пойменные потоки, разграничивает расход между сооружениями, расположенными в общей пойме.

1 - крепление откосов и гребня дамбы посевом трав по слою растительного грунта; 2 - отсыпка тела дамбы местным грунтом
Рисунок А.8 - Поперечный профиль дамбы
А.1.9 защитная дамба: Гидротехническое сооружение для защиты территории и расположенных на ней сооружений от затопления при высоких уровнях вод в водотоке.
Может перегораживать все русло и пойму (плотины водохранилищ), пойму (подходы к мостовым переходам), рукава рек, часть русла (полузапруды), быть вытянутой вдоль русла (продольная дамба).
А.1.10 водоотводные валики: Валики, устраиваемые с нагорной стороны от земляного полотна. Валики выполняют из недренирующего грунта с укреплением откосов.
Водоотводные валики применяют в условиях вечной мерзлоты при близком расположении сильнольдистых грунтов для минимизации нарушения их температурного режима.

Рисунок А.9 - Водоотводный валик
А.1.11 перепад: Ступенчатое сопрягающее сооружение для перевода потока воды с высоких отметок местности на более низкие в целях гашения кинетической энергии потока, возводимое на участках со значительной разностью отметок местности.
Перепады выделяют одно- и многоступенчатые, а по форме поперечного сечения - прямоугольные и трапецеидальные.
Перепад состоит из входной части, ступеней перепада гасителя и выходного участка.

а - ступенчатый перепад; б - консольный перепад
Рисунок А.10 - Перепады
А.1.12 быстроток: Искусственное сооружение (русло) с уклоном дна больше критического.
Примечания
1 Критический уклон - уклон, при котором заданный расход проходит по каналу в условиях равномерного движения с глубиной, равной критической.
2 Критическая глубина - глубина потока, при которой удельная энергия сечения для заданного расхода достигает минимального значения.

1 - входная часть; 2 - водоскат (лоток); 3
- водобойная часть; 4 - выходная часть;
Н - напор воды над порогом водослива; h - глубина потока; hкр - критическая глубина
Рисунок А.11 - Быстроток
А.1.13 дюкер: Напорный участок трубопровода, прокладываемый под руслом реки (канала), по склонам или дну глубокой долины (оврага), под дорогой, расположенной в выемке, работающий в напорном режиме.
При проектировании и строительстве магистральных нефтепроводов дюкером называют участок нефтепровода, прокладываемый на пересечении с искусственным или естественным препятствием: под руслом реки или канала, по дну глубокого оврага, под автомобильной или железной дорогой.

Рисунок А.12 - Дюкер
А.1.14 планировка поверхности: Придание поверхностям поперечных и продольных уклонов, величины которых должны обеспечить естественный сток поверхностных вод за пределы земляного полотна без его размыва.
Планировка откосов включает операции срезки основной массы грунта с погрузкой его в транспортные средства ковшом и операции зачистки откосов скребком. При холостом ходе скребок заглаживает неровности.

Рисунок А.13 - Планировка поверхности откоса ковшом
А.1.15 дренаж: Геотехническая конструкция, предназначенная для перехвата и отвода подземных и поверхностных вод. Дренаж может быть поверхностным (открытым) и подземным (закрытым).
На автомобильных дорогах существуют следующие виды закрытых дренажей:
- дренажный слой в толще земляного полотна;
- дренажные трубы.
К системе дренажа железной дороги относятся:
- вертикальная планировка поверхности земляного полотна и балластной призмы на станциях;
- кюветы и канавы;
- железобетонные лотки;
- сеть водостоков с дождеприемными колодцами, пескоуловителями и другими устройствами очистки;
- искусственные сооружения - трубы, мосты, быстротоки и т.д.

1 - песок; 2 - крупный щебень; 3 - труба; 4 - мелкий щебень; 5 - нетканый геотекстиль
Рисунок А.14 - Закрытый дренаж
А.1.16 сифон: Водопропускное сооружение закрытого типа, предназначенное для перепуска воды через насыпь.
Допускается использовать в зоне вечной мерзлоты, где верхний горизонт мерзлых грунтов является водоупором, в результате чего в равнинной местности вода скапливается около насыпи и оказывает негативное влияние на мерзлоту, растепляя ее.

1 - поверхность тундры; 2 - поверхность мерзлого
грунта; 3 - заглушка трубы; 4 - тело насыпи;
5 - балластная призма; 6 - вертикальный отводок трубы; 7 -
водоотводная труба; 8 - вода;
9 - укрепление зоны выпуска воды
Рисунок А.15 - Схема сифона
А.2 Классификация водоотводных сооружений и водопропускных труб
А.2.1 Классификация водоотводных сооружений (таблица А.1)
Таблица А.1
|
Классификационный признак |
Вид водоотводного сооружения |
|
Тип перехвата водного потока |
С естественной поверхности |
|
С искусственной поверхности |
|
|
Грунтовых (подземных) вод |
|
|
Материал укрепления водоотвода |
Засев трав |
|
Каменные материалы |
|
|
|
Габионные конструкции |
|
Бетонные и железобетонные конструкции и элементы |
|
|
Полимерные материалы |
|
|
Применение теплоизоляционных материалов |
С устройством теплоизоляционных материалов |
|
Без применения теплоизоляционных материалов |
|
|
Тип перехвата поверхностных вод |
Продольные водоотводные и нагорные канавы |
|
Кюветы |
|
|
Лотки (продольные, поперечные) |
|
|
Перепады |
|
|
Быстротоки |
|
|
Валики |
|
|
Водоразделительные и водозащитные дамбы |
|
|
Планировка поверхности |
|
|
Тип перехвата грунтовых вод |
Дренажи мелкого заложения |
|
Дренажи глубокого заложения |
|
|
Вертикальный дренаж |
|
|
Горизонтальный дренаж |
|
|
Комбинированный дренаж |
|
|
Одиночный дренаж |
|
|
Групповые дренажи |
А.2.2 Классификация водопропускных труб (таблица А.2)
Таблица А.2
|
Классификационный признак |
Вид водоотводного сооружения |
|
Материал |
Бетонные |
|
Железобетонные |
|
|
Каменные |
|
|
Металлические (с гладкой и гофрированной поверхностью) |
|
|
Форма поперечного сечения |
Круглые |
|
Прямоугольные |
|
|
Овоидальные |
|
|
Арочные |
|
|
Взаимное сочетание типов сооружения |
Одно- и многоочковые |
|
Одно- и многоярусные |
|
|
Комбинированные сооружения: водопропускная труба с фильтрующей насыпью и водопропускная труба с переливной насыпью |
|
|
Режим протекания воды в сооружении |
Безнапорные |
|
Полунапорные |
|
|
Напорные |
|
|
Гидравлическая работа сооружения |
Короткие |
|
Длинные |
|
|
Тип фундамента |
Бесфундаментные (без замены грунтов основания, с заменой грунтов основания) |
|
Фундаментные (плитный - без или с заменой грунтов основания; свайный) |
|
|
Тип сопряжения потока в сооружении |
Равнинные (спокойный поток) |
|
Косогорные (бурный поток) |
|
|
Тип оголовков сооружения |
Портальный |
|
С вертикальными стенками и коридорным оголовком |
|
|
С раструбным оголовком с обратными стенками |
|
|
С коническим звеном и раструбным оголовком |
|
|
Безоголовочная |
|
|
С воротниковым оголовком |
|
|
Тип укрепления выходного русла |
Без укрепления |
|
Укрепление каменным материалом, в том числе габионными конструкциями, и выходные русла, расположенные на подсыпке |
|
|
Укрепление бетонными и железобетонными элементами |
|
|
Применение укреплений из геосинтетических материалов |
|
|
Тип выходного русла |
Размываемые |
|
Неразмываемые |
|
|
Деформируемые |
|
|
Недеформируемые |
|
|
Русла-самоотмостки |
Методы стабилизации мерзлотно-грунтовых условий
Б.1 Влияние обводнения территории на температурный режим грунтов оснований
Б.1.1 Обводнение территории сточки зрения его влияния на температурный режим грунтов оснований может быть сезонным, имеющим место только в теплый период, и круглогодичным, которое формируется весь год. Сезонное обводнение на температурный режим влияет незначительно. Круглогодичное обводнение влияет существенно. Обводнение может привести к растеплению мерзлоты или к ее полной деградации.
Б.1.2 Влияние круглогодичного обводнения можно оценивать по графикам рисунка Б.1 в зависимости от суммы градусо-дней с положительной (приведенной с учетом солнечной радиации и испарения с поверхности) температурой воздуха к среднегодовой температуре воздуха и глубине подтопления f. При этом глубину подтопления принимают на 1 октября (т.е. на момент окончания теплого периода года).

Климатический параметр f:
абсолютная величина отношения суммы градусо-дней с положительной
(приведенной с учетом солнечной радиации и испарения с поверхности)
температурой воздуха к
среднегодовой температуре воздуха данного региона
Рисунок Б.1 - Критические значения величины подтопления h,
приводящие к
деградации мерзлоты в основании земляного полотна (а) и приводящие к
повышению
на 50 % температуры грунта на глубине нулевых амплитуд (б)
Б.2 Учет снегопереноса в теплофизических расчетах
Б.2.1 При прогнозировании температурного режима многолетнемерзлых грунтовых массивов следует учитывать влияние снегоотложений, как одного из основных факторов, определяющих условия теплообмена на поверхности.
Б.2.2 Характер снегоотложений при отсутствии и наличии снегопереноса приведен на рисунках Б.2 и Б.3 соответственно, а расчетные характеристики приведены в таблицах Б.1 и Б.2.
На рисунках Б.2 и Б.3 величина δ соответствует толщине снежных отложений в ненарушенной зоне.

1 - естественная поверхность грунта; 2 - основная
площадка насыпи; 3 - откос насыпи;
4 - ось симметрии насыпи
Рисунок Б.2 - Схема снежных отложений при отсутствии снегопереноса

1 - 4 - см. рисунок Б.2
Рисунок Б.3 - Схема снежных отложений при наличии снегопереноса
Таблица Б.1 - Естественные уклоны i снегоотложений у препятствий в зависимости от величины Q снегопереноса
|
Снегоперенос Q, м3/м |
Уклон снегоотложений i |
|
200 |
1:3 |
|
400 |
1:5 |
|
600 |
1:7 |
|
1000 - 1200 |
1:10 |
Таблица Б.2 - Плотность Р снега для различных зон снегозаносов
|
Обозначение |
Характеристика |
Значение, кг/м3 |
|
P1 |
Снег в ненарушенной зоне при отсутствии снегопереноса |
100 - 150 |
|
Р2 |
Уплотненный снег после расчистки |
250 - 350 |
|
Р3 |
Уплотненный снег на проезжей части |
650 - 750 |
|
Р4 |
Снег в ненарушенной зоне при снегопереносе |
250 - 300 |
|
Р5 |
Снег в зоне скоплений у препятствий |
280 - 350 |
Выбор конструктивных решений водопропускных сооружений на вечной мерзлоте
В.1 Учет влияния водного потока при пересечении насыпи водопропускной трубой
В.1.1 Следует учитывать, что поскольку лоток трубы расположен в уровне естественной поверхности грунта, грунтовые воды, проходящие в пределах деятельного слоя (т.е. в пределах разности отметок 1 и 2 на рисунке В.1), встречая уплотненный или промерзший грунт под телом трубы, поднимаются на поверхность и образуют обводнение 5 (рисунок В.1), которое, прогреваясь летом, способствует дополнительной просадке грунта и увеличению глубины обводнения.
В.1.2 Для предотвращения обводнения под телом трубы устраивают над деятельным слоем крупнопористую скальную наброску 8. При этом следует предусмотреть переходные зоны между крупнопористой скальной наброской 8 и обычным грунтом на входе и выходе из трубы. Это достигается, например, удлинением крупнопористой скальной наброски 8 в обе стороны по осевой линии трубы.

1 - естественная поверхность грунта; 2 -
водоупор; 3 - направление водного потока;
4 - массив уплотненного под насыпью грунта; 5 - верхний уровень
воды; 6 - тело насыпи;
7 - водопропускная труба; 8 - крупнопористая скальная наброска
под телом трубы
Рисунок В.1 - Характер движения грунтовых вод и распределение
температур в грунте в
летний период в зоне водопропускной трубы на вечной мерзлоте при наличии
массива
уплотненного грунта под трубой (а) и при наличии под трубой фильтрующей
прослойки (б)
В.2 Схемы водопропускной трубы при снегопереносе
В.2.1 Следует учитывать, что при сильном снегопереносе (150 м3/м и более) оголовки труб заносятся снегом, и полость трубы становится зоной растепляющего влияния. В этом случае следует учитывать растепляющее влияние снега в прогнозных теплофизических расчетах либо разрабатывать техническое решение, при котором в зоне водопропускной трубы предусматриваются дополнительные меры по охлаждению.
В.2.2 Дополнительные меры по охлаждению рекомендуется предусматривать либо путем устройства охлаждающих установок типа термосифонов, либо созданием конструкции, которая сама обеспечивает охлаждение (рисунок В.2). В такой конструкции применяют уположение откосов насыпи и устраивают продухи и фильтрующие отсыпки из камня, замещающие массивы снега при снегозаносах.

а - разрез А-А; б - план; 1 -
конфигурация откоса существующей насыпи; 2 - предлагаемая конфигурация
откоса; 3 - существующая труба; 4, 5 - дополнительные
звенья трубы; 6 - фильтрующая каменная
наброска; 7 - замкнутый продух; 8 - отверстия для пропуска воды
через каменную наброску
Рисунок В.2 - Водопропускная труба для участков трассы с сильным снегопереносом
В.3 Снегозаносимость охлаждающих устройств водопропускных труб
В.3.1 При отсутствии снегопереноса полость водопропускной трубы при теплофизических расчетах следует учитывать как зону охлаждения. При наличии снегопереноса оголовки труб заносятся снегом либо закрываются принудительно на зимний период. В этом случае для обеспечения охлаждения воздуха внутри полости трубы следует устраивать специальные продухи в виде труб, полости которых сообщаются с полостью трубы, а верх возвышается над уровнем снежных заносов.
В.3.2 Продухи устраивают с возвышением над уровнем снежных заносов, но с замкнутой полостью. Охлаждение происходит за счет конвекции воздуха в замкнутой полости. Незамкнутые полости забиваются снегом и инеем и выходят из работы.
В.4 Комбинированные системы
В ряде случаев целесообразно сочетать в единой системе два и более вида водопропускных сооружений. Тогда суммарный эффект оказывается выше суммы отдельных эффектов.
На рисунке В.3 приведен пример системы, которую следует использовать в горных условиях.

1 - металлическая труба; 2 - насыпь из
обыкновенного грунта; 3 - фильтрующая насыпь;
4 - противофильтрационное покрытие фильтрующей насыпи; 5 - весенний
паводковый уровень воды;
6 - наивысший горизонт наледи; ПУВВ - подпертый уровень воды в верхнем
бьефе; dтр - диаметр трубы;
Lф - длина
фильтрующего участка насыпи
Рисунок В.3 - Комбинированное (металлическая труба и фильтрующая
насыпь)
наледезащитное водопропускное сооружение
В.5 Водопропускные трубы в высоких насыпях
В.5.1 При проектировании высоких насыпей рекомендуется учитывать особенности теплового состояния и НДС водопропускной трубы и прилегающих участков насыпи:
а) при высоте насыпи до 3 м в конце теплого периода насыпь с трубой находится в талом состоянии, а в конце холодного - в мерзлом; по мере увеличения высоты насыпи ухудшается температурное состояние грунтов за счет подсекающего теплового эффекта с боковых сторон насыпи (температура грунтов оснований повышается, а зона растепленных грунтов увеличивается). В результате водопропускная труба оказывается в толще сильнодеформируемых грунтов (рисунок В.4, а), что приводит к повышению напряжений и деформациям трубы;
б) при высоте насыпи 6 - 10 м под трубой (рисунок В.4, б и в) в течение первых лет эксплуатации может образоваться мерзлая зона, перераспределяющая нагрузку с основной площадки на основание трубы. Мерзлые стенки траншеи из талого грунта (рисунок В.4, в) ограничивают деформации талой зоны вокруг трубы как в вертикальном направлении, так и в направлении продольной оси трубы;
в) при высоте насыпи более 12 м над трубой и на соседних участках насыпи в процессе первых лет эксплуатации формируются другие зоны твердомерзлого грунта (перелетки) (рисунок В.4, з, д, е). Перекрытие и стенки из мерзлого грунта в значительной степени воспринимают на себя вертикальную нагрузку в зоне трубы и передают ее на смежные участки насыпи. Соседние участки насыпи здесь могут уменьшить деформации трубы по сравнению с тем случаем, когда вся насыпь содержит только талый грунт. Мерзлая зона, расположенная над трубой и соседними участками насыпи, имеет внешний вид либо балки, либо арки, лежащих на упругом основании (на пластично-мерзлых грунтах). Они перераспределяют давление от веса грунта и временной нагрузки, уменьшая его в зоне трубы и передавая это давление на соседние участки насыпи.
В.5.2 Рекомендуется закладывать в проект принципиальное изменение мерзлотного состояния насыпи с трубой за счет применения теплоизоляции и охлаждающих установок глубинного типа (сезонных охлаждающих установок или термоопор). В этом случае твердомерзлые грунты рядом с трубой насквозь «прошивают» пластично-мерзлую зону. При этом мерзлотная траншея, мерзлотная балка или мерзлотная арка могут быть созданы гораздо раньше, чем они формировались бы естественным путем, и могут быть сформированы там, где их естественное образование было бы невозможно.
В.5.3 В таблице В.1 и на рисунке В.5 приведены численные значения параметров НДС водопропускных труб в высоких насыпях для приближенного учета в проектах. Для более точного определения показателей НДС высоких насыпей с перечисленными выше мерзлотно-грунтовыми образованиями следует использовать численные методы расчетов.
В.5.4 В проект должны быть включены схемы размещения контрольных термокаротажных скважин в насыпи рядом с трубой для наблюдения за работой и состоянием сооружения и его основания как в период строительства, так и в период эксплуатации, а также требования по периодичности их проведения, обработке и систематизации. Эти наблюдения следует проводить в целях сопоставления основных показателей работы сооружения и его основания с проектными и оценки эксплуатационной надежности.

Примечание - а - е - см. в В.5.1.
Рисунок В.4 - Различные мерзлотно-грунтовые состояния высоких
насыпей в зоне
водопропускной трубы, возникающие в процессе эксплуатации
Таблица В.1 - Напряженно-деформированное состояние водопропускной трубы при различных мерзлотных состояниях
|
Характеристика вариантов |
Параметры |
||
|
Вертикальный прогиб δ в центре трубы, м |
Максимальная продольная сила N, кН |
Максимальный изгибающий момент М, кН·м |
|
|
1 Талая насыпь |
0,32 |
3170 |
5980 |
|
2 Мерзлотная траншея |
0,32 |
2520 |
5920 |
|
3 Мерзлотная балка |
0,18 |
1660 |
532 |
|
4 Мерзлотная арка |
0,07 |
1730 |
230 |

Рисунок В.5 - Напряженно-деформированное состояние
водопропускной трубы при
различных мерзлотных состояниях
В.6 Фильтрующие водопропускные сооружения для специфических условий
При наличии местного камня применяют фильтрующие выемки (рисунок В.6), сущность которых сводится к замене грунта основания на слой каменной наброски (опорный массив 2 на рисунке В.6).

1 - балластная призма шириной bп; 2 - опорный
массив высотой ho и шириной поверху и понизу bв и bн
соответственно; 3 - откосы выемки; 4 - теплоизоляционный слой; 5
- защитный слой; 6, 7 - верхний и
нижний соответственно ярусы опорного массива 2 высотой hв и hн;
8 - грунт основания; 9, 10 - прослойки
из геотекстиля; 11 - положение ВГВМ на момент окончания теплого периода
года
Рисунок В.6 - Конструкция фильтрующей выемки
В.7 Водоотводные канавы самоуглубляющегося типа. Искусственные полосы стока
На слаботочных марях рекомендуется устройство водоотводных канав самоуглубляющегося типа.
На первом этапе отрывают траншею глубиной 0,5 - 0,7 м, шириной 4,0 - 4,5 м и засыпают скальным грунтом, позволяющим дренировать транзитной воде в направлении естественного стока (рисунок В.7). В последующем за три - четыре года под засыпкой происходит уплотнение вытаивающих нижележащих слоев, что сопровождается прогибом поверхности насыпного грунта, с образованием русла для стока воды. После завершения формирования водоотвода засыпают местные провалы, а в местах вытаивания больших объемов льда проводят нарезку желоба бульдозером или грейдером на всей длине сооружения. Разновидностью водоотводных канав самоуглубляющегося типа являются искусственные полосы стока, которые рекомендуется применять на слабосточных маревых участках, характеризующихся наличием хотя бы незначительного продольного уклона местности. Суть способа состоит в том, что отсыпка на поверхность мари небольшого по мощности (0,2 - 0,3 м) слоя дренирующего грунта шириной 3,5 - 4,0 м всегда приводит к формированию под такими линейными сооружениями нового деятельного слоя, в два - три раза превышающего мощность слоя сезонного оттаивания грунтов в естественных условиях на мари. Процесс образования нового деятельного слоя под отепляющей отсыпкой сопровождается тепловой осадкой подстилающих грунтов, что в конечном итоге через два - четыре года приводит к образованию на месте отепляющей отсыпки полосы стока водоотводной канавы, которую можно содержать с использованием техники.

а - в - разные стадии процесса формирования самоуглубляющихся канав
Рисунок В.7 - Водоотводная канава самоуглубляющегося типа,
построенная на моховой
мари с наличием близко залегающего к дневной поверхности подземного льда в
долине реки
В.8 Бесканавный способ водоотвода
При наличии поперечного и продольного по отношению к насыпи уклонов местности водоотвод может быть осуществлен без сооружения канавы (рисунок В.8): вода отводится вдоль насыпи непосредственно у подошвы откоса, при этом для предотвращения размывов и протаивания сооружаются берма из каменной наброски и противофильтрационный замок.

а, б - различные варианты конструктивного исполнения; 1
- тело насыпи; 2 - грунт основания;
3 - естественная поверхность; 4 - технологическая отсыпка из
крупнообломочного грунта; 5 - боковой
противофильтрационный замок; 6 - нижний противофильтрационный замок; 7
- берма из скального
фракционного грунта шириной hб; 8
- направление потока поверхностных вод; 9 - поперечное сечение
продольного водного потока шириной hп; 10 - положение ВГВМ на момент окончания
теплого периода
года; hб - высота бермы; hп - глубина
потока
Рисунок В.8 - Бесканавный способ водоотвода
Особенности температурного режима грунтов тела и оснований сооружений
Г.1 Особенности температурного режима в системе «земляное полотно - водоотводная канава - прилегающая территория»
Г.1.1 При проектировании системы водоотвода следует учитывать изменение расстояния между земляным полотном и водоотводной канавой, существенно изменяющее размеры зоны теплового влияния на ММГ оснований. Указанные расстояния устанавливают теплофизическими расчетами. На рисунках Г.1 и Г.2 приведены характерные примеры качественной картины такого влияния.
Г.1.2 На рисунке Г.1 приведена качественная характеристика влияния «тепловой полосы» различной ширины b на температурный режим грунтов оснований.
При неширокой водоотводной канаве ее тепловое влияние практически затухает уже на глубине 5 м. Поскольку под понятием «тепловая полоса» имеется в виду и насыпь, и выемка и др., то на графике рисунка Г.1 для сопоставления показано влияние насыпи шириной по подошве основания 15 м. Крутизна кривой существенно уменьшается, а тепловое влияние увеличивается по глубине. При увеличении ширины полосы до 40 м график качественно изменяет свой вид: по оси полосы до глубины 10 м будет иметь место одномерный тепловой процесс, определяемый лишь тепловыми параметрами самой насыпи. С глубины более 10 м сказывается влияние соседних с насыпью зон на окружающей территории.
Г.1.3 Качественная картина изменения температурных полей применительно к водоотводной канаве, удаляемой от насыпи, в пределах реального диапазона расстояний приведена на рисунке Г.2. Расчеты приведены для насыпи с шириной подошвы 15 м и водоотводной канавы общей шириной 5 м.
На рисунке Г.2 приведены результаты расчета четырех вариантов.
На рисунке Г.2, а, показан расчет только для насыпи шириной по подошве 15 м. На рисунке Г.2, б - а, показаны расчеты для насыпи той же ширины и водоотводной канавы шириной поверху 5 м, удаленной от насыпи на расстояние от 0 до 40 м.

а - схема «тепловые полосы»; б - график теплового влияния для различных b
Рисунок Г.1 -Тепловое влияние на различной глубине h
«тепловой полосы» шириной b
с резко отличающимися тепловыми граничными условиями по сравнению с
окружающей территорией

Рисунок Г.2 - Положение нулевой изотермы после возведения
насыпи и водоотводной
канавы на момент окончания теплого периода года при различном взаимном
положении насыпи и канавы через 5 (1) и 50 (2) лет
Теплофизический мониторинг водопропускных труб
Д.1 Основной составляющей теплофизического мониторинга водопропускных труб является теплофизический мониторинг насыпей в зоне водопропускных труб. В ряде случаев рекомендуется проводить наблюдения за температурой внутри полости трубы, внутри полости продухов и т.п.
Д.2 В зоне водопропускных труб следует учитывать трехмерный характер тепловых процессов. Если непосредственно в вертикальной плоскости, проходящей по оси трубы, суммируются летние протаивания от поверхности основной площадки насыпи и от тела трубы, то в прилегающих участках насыпи картина протаивания может быть более благоприятной, что, в свою очередь, может быть учтено при расчете несущей способности трубы.
Измерения температуры рекомендуется проводить по схеме рисунка Д.1. Створы следует располагать не далее 3 м от боковой поверхности трубы. При этом для подходных участков насыпи створы следует располагать не далее 20 м от оси трубы. Термоскважины следует располагать по схеме на рисунках Д.2 и Д.3.
Д.3 Нумерацию термоскважин следует регламентировать во избежание путаницы при большом объеме измерений. Последовательность номеров следует принимать слева направо, считая по ходу возрастания километров (см. рисунок Д.3):
- скважина № 1 - расположена в поле слева от насыпи, вне зоны ее теплового влияния;
- скважина № 2 - расположена в зоне подошвы левого откоса насыпи;
- скважина № 3 - расположена в верхней части левого откоса насыпи или в зоне основной площадки насыпи;
- скважина № 4 - расположена в верхней части правого откоса насыпи или в зоне основной площадки насыпи;
- скважина № 5 - расположена в зоне подошвы правого откоса насыпи;
- скважина № 6 - расположена в поле справа от насыпи, вне зоны ее теплового влияния.
Для термоскважин в теле подходной части насыпи впереди по ходу нарастания километров или позади добавляют к обозначению индекс «п» или «з» соответственно (см. рисунок Д.3).
Д.4 Расчетным моментом времени измерений является 1 октября. Поэтому для сопоставления и анализа результатов измерений необходимо вводить поправки к температуре, замеренной на разной глубине в моменты времени, не совпадающие с расчетными. В таблице Д.1 приведены значения поправок.
Таблица Д.1 - Поправки для приведения результатов измерений к расчетному моменту измерений
|
Моменты времени, не совпадающие с расчетным |
Поправки для глубин измерений, м |
||||
|
5 |
10 |
15 |
20 |
30 |
|
|
1 сентября |
+0,5 |
+0,2 |
+0,1 |
0 |
0 |
|
1 ноября |
0 |
0 |
0 |
0 |
0 |
1 - естественная поверхность грунта; 2 - откос
насыпи; 3 - положение ВГВМ на момент окончания
теплого периода года; b - ширина насыпи; h1 - глубина оттаивания мерзлого грунта под основной
площадкой; h2 - глубина протаивания под подошвой откоса; h3
- естественное положение верхней
зоны мерзлоты за пределами зоны влияния насыпи; h4 - толщина
оттаивания слоя грунта на откосе;
t1 - t5 - контрольные точки для
оценки состояния температурного режима в грунтовом массиве
Рисунок Д.1 - Основные параметры, характеризующие температурный режим насыпи (схема 1)
1 - 6 - номера термоскважин
Рисунок Д.2 - Нумерация термоскважин в насыпи
Примечание - Обозначения, примененные в настоящем рисунке, см. в Д.3.
Рисунок Д.3 - Нумерация термоскважин в зоне водопропускной трубы
Противоналедно-водопропускные сооружения
Е.1 Общие положения
По причине возникновения наледи разделяются на два вида:
а) природные наледи, ежегодно или реже возникающие в естественных условиях;
б) вынужденные (прогнозируемые) наледи, возникающие вследствие нарушения мерзлотно-грунтовых условий в результате постройки сооружений.
К мероприятиям и устройствам, устраняющим или сокращающим причины возникновения вынужденных наледей и активизацию наледного процесса в местах действия природных наледей, относятся: дренаж, каптаж, осушение местности глубокими открытыми канавами и полуоткрытыми лотками, регуляция русел; сосредоточение потока, например посредством наледных поясов, полузапруд или применением лотков, на подходе и в пределах водопропускных сооружений; электротермические способы подогрева воды и грунтов. При наличии благоприятного сочетания рельефа, геологической, гидрогеологической обстановки и мерзлотно-грунтовых условий следует применять мерзлотные и тепловые пояса.
Е.2 Особенности выполнения изысканий на напедеопасных участках
При изысканиях наледи необходимо рассматривать, как опасное физико-геологическое явление, подобно карсту и оползням, и укладывать трассу с расчетом на исключение или на снижение отрицательного воздействия наледей на проектируемые сооружения. Наиболее благоприятными по физико-геологическим условиям для размещения трассы являются водораздельные участки, склоны антиклинальных долин, борта моноклинальных долин с падением слоев пород вглубь склона, верхние части склонов, сложенных породами с горизонтальным налеганием слоев, южные склоны и поверхность речных террас, сложенных дренирующими грунтами. Менее благоприятными являются речные долины с синклинальным залеганием пород и субсеквентные долины, в зонах тектонических разломов, являющихся путями выхода на поверхность подземных вод, способствующих образованию больших и гигантских наледей.
Е.3 Прогнозирование появления наледей в результате железнодорожного строительства
В результате строительства сооружений наледи появляются на участках с наличием водоносного слоя и, как правило, у низких насыпей, при вскрытии водоносных слоев выемками, у мостов и труб с массивными фундаментами, а также во всех случаях, когда при возведении сооружений в их зоне произошло глубокое изменение природных мерзлотно-грунтовых условий.
У земляного полотна наледи появляются при выполнении условий:
|
hпр > hест и hпр > hв, |
(Е.1) |
где hест - глубина промерзания грунта в естественных условиях выше местоположения полотна;
hв - расстояние от дневной поверхности до зеркала грунтовых вод на начало промерзания;
hпр - глубина промерзания деятельного слоя под земляным полотном.
Величины hест и hв устанавливают по данным изысканий. Величина hпр зависит от размеров земляного полотна, физических свойств слагающих его грунтов, климатических условий в районе строительства и определяется по отдельной методике. Таким образом, целенаправленно регулируя размеры земляного полотна и в первую очередь его высоты, можно в каждом конкретном случае уменьшить риск появления наледи.
Появления наледей у водопропускных труб и других подобных сооружений следует ожидать в тех случаях, когда
|
hв < (hф + hтр) > hест, |
(Е.2) |
где hф - мощность фундамента трубы;
hтр - глубина промерзания грунта под фундаментом трубы.
Для прогнозирования величины hтр и обоснования предложений по конструированию фундаментов труб на наледных участках следует проводить теплофизические расчеты по определению температур в области передвижения границы раздела фаз при радиальном потоке тепла в трубе и теплопритоке снизу.
Е.4 Противоналедные мероприятия и устройства
Е.4.1 Противоналедные мероприятия и устройства рекомендуется применять во всех случаях, где это возможно по инженерно-геологическим условиям, ледотермическому режиму водотоков и экономически целесообразно.
Противоналедные мероприятия и устройства необходимо принимать с учетом генетического типа наледи, дебита и температуры воды источника, питающего наледь, рельефа и инженерно-геологических условий в пределах наледного участка, а также в увязке с комплексом проектных решений по конструкциям земляного полотна и водопропускных сооружений.
При выборе противоналедных мероприятий и устройств предпочтение следует отдавать тем из них, которые исключают активизацию природных и возникновение техногенных наледей при постройке дорожных сооружений.
В случаях невозможности или нецелесообразности использования таких мероприятий и устройств необходимо предусматривать применение средств, обеспечивающих защиту дорожных сооружений от непосредственного воздействия наледей.
Е.4.2 Противоналедные мероприятия и устройства разделяют на постоянные и временные.
Постоянные противоналедные устройства необходимо применять на участках действия природных наледей и в местах, где вероятно возникновение техногенных наледей, которые могут вызвать нарушение нормальной работы рассматриваемого объекта или создать опасность для движения транспорта и устойчивости сооружения.
Временные мероприятия и устройства требуется применять для непосредственного ограждения рельсовой колеи от наледей, возникающих в результате изменения естественных условий в период строительства, при внезапных появлениях наледей, угрожающих безопасности движения транспорта и исправности сооружений, а также в случаях, когда для проектирования и строительства постоянных противоналедных мероприятий необходимо продолжительное время.
Для задержания наледей в местах, удаленных от полотна, рекомендуется применять мероприятия, активизирующие наледный процесс:
- наледные пояса и активные противоналедные валы для наледей поверхностных водотоков;
- мерзлотные пояса для наледей грунтовых вод.
Е.4.3 Наледные пояса целесообразно применять для задержания наледей, возникающих на небольших и периодически действующих водотоках. Они представляют собой участки расширяемого русла, покрываемые каменной отмосткой или бетонными плитами. Размеры поясов следует назначать на основе результатов теплотехнических расчетов.
При расчетах глубину потока в пределах пояса рекомендуется принимать равной от 2 до 5 см, а ширину пояса - не менее 1,0 м. В случаях значительного естественного уклона русла наледные пояса целесообразно выполнять с перепадами высотой до 0,5 м. Для повышения интенсивности охлаждения потока рекомендуется применять наледные пояса с повышенной шероховатостью.
Количество и расположение наледных поясов устанавливают с расчетом удержания полного объема наледи на необходимом расстоянии от выполненных объектов - земляного полотна или водопропускного сооружения.
Е.4.4 Активные противоналедные валы рекомендуется применять для задержания наледей на малых и средних водотоках.
Вал выполняется из грунта со щитом из досок или железобетонных плит, а также с плоским утепленным лотком, вымощенным камнем или бетонными плитами, размещаемым по руслу выше вала.
Действие активного противоналедного вала основано на том, что плоский лоток в качестве наледного пояса вызывает растекание потока волн тонким слоем, способствует его интенсивному охлаждению, зарождению и развитию наледи перед валом раньше, чем она может возникнуть у водопропускного сооружения, расположенного по руслу ниже вала. Возникновение наледи в пределах плоского лотка будет способствовать заполнению водопропускной канавы и щели под щитом. После этого наледь, задерживаемая щитом и валом, станет развиваться вверх по руслу.
Размеры водопропускной канавы и щели под щитом следует определять с учетом пропуска весенних вод без разбора щита. Разбор щита необходимо предусматривать только в случаях, когда по прогнозу ожидается особо высокий паводок.
Е.4.5 Мерзлотные пояса целесообразно применять для задержания в удалении от земляного полотна наледей, возникающих в определенных местах за счет выхода грунтовых вод с небольшим дебитом.
Мерзлотные пояса представляют собой полосы расчистки с валами из снега или грунта и водоотводными канавами. Из пределов полос расчистки необходимо удалять растительно-моховой покров и снег.
Вид мерзлотных поясов и их количество, размеры полос расчистки, валов и канав следует назначать из условий задержания всего объема наледи. Причем глубину канав требуется принимать не менее 0,6 м, а ширину вала по верху - от 1,0 до 3,0 м, в зависимости от способов производства работ.
Мерзлотные пояса следует размещать на расстоянии 50-100 м от ограждаемого участка земляного полотна и друг от друга с расположением в плане. Концы канав необходимо врезать в борта лога, дну канав - придавать продольный уклон не менее 0,002.
Тип укрепления откосов с нагорной стороны грунтовых валов, полосы вдоль его подошвы и водоотводных канав следует принимать в зависимости от скорости течения паводковых вод.
Мерзлотные пояса для задержания речных наледей следует применять на небольших водотоках при неглубоком залегании водоупора под руслом. Они представляют собой канавы шириной 2 - 4 м, вырубаемые во льду. Канавы располагают поперек долин водотоков на расстоянии 200 - 300 м от водопропускного сооружения на отмелях и перекатах, где водоток может быть проморожен быстрее. Канаву следует заглублять на 0,3 - 0,5 м ниже дна русла, а ее концы - врезать в берега на такое расстояние, чтобы предотвратить возможность прохода в береговых наносах вод, питающих наледь. Лед и грунт из канав необходимо укладывать в вал, располагаемый с низовой стороны канавы.
Е.4.6 Водонепроницаемые экраны с валами из грунта следует применять в целях отдаления от ограждаемого сооружения места выхода грунтовых вод, образующих наледь. Экраны представляют собой траншеи, заполненные водонепроницаемым грунтом, расположенные поперек движения потока грунтовых вод, питающих наледь. Низ экрана должен быть заглублен в водоупорные породы не менее чем на 0,25 м. Перекрытие экраном потока грунтовых вод должно быть полным, поэтому устройство экранов наиболее рационально в узких логах с неглубоким залеганием водоупорных пород. Высота вала определяется объемом задерживаемой наледи. Ширина вала по верху назначается не менее 3,0 м. Откос вала на 0,20 м выше расчетного горизонта воды от таяния наледи должен быть укреплен, исходя из условия недопущения размыва вала поверхностными и наледными водами в весенний период.
В районах со снежными заносами во избежание свободного прохода подземных вод под снегом экран следует размещать за пределами снежного отложения, возникающего у вала.
Е.4.7 Постоянные противоналедные заборы применяют для задержания вдали от дороги наледей различных типов, образующихся в одном и том же месте. Высоту забора следует назначать в зависимости от объема льда, но не более 4,0 м. При необходимости устраивают несколько заборов.
Е.4.8 Сборно-разборные заборы из досок или бревен или переносимые щиты из досок целесообразно применять для защиты от наледей грунтовых или поверхностных вод, имеющих непостоянный характер или меняющих положение в разные годы. Стенки заборов и щитов следует устраивать сплошными, без просветов. Заборы применяют в качестве временного дополнительного средства в комплексе противоналедных сооружений и устройств на участках со сложными инженерно-геологическими условиями при больших размерах наледей. Количество заборов, их высоту и длину определяют в зависимости от размеров задерживаемой наледи и рельефа местности.
Е.4.9 Для отвода из выемок грунтовых вод с ограниченным периодом действия следует применять лотки закрытого типа взамен кюветов. Дно лотков следует размещать ниже глубины сезонного промерзания, а в обоснованных случаях - на глубине не менее 80 % мощности деятельного слоя.
Осушение местности открытыми канавами целесообразно предусматривать на участках с неглубоким залеганием грунтовой воды и поверхности вечномерзлых грунтов, в том числе в случаях, когда верхний защитный слой представлен глинистыми грунтами с включением дресвы, а поток грунтовой воды имеет малый дебит и перемерзает зимой.
Размеры канав и способ укрепления откосов назначают в зависимости от притока и глубины залегания грунтовых вод, площади осушаемой территории, скорости течения воды в канаве в летнее время и других инженерно-геологических условий в пределах наледного участка.
При наличии грунтовых вод, не перемерзающих зимой, целесообразно применять канавы в сочетании с неглубоким лотком, например из половины асбоцементной трубы, втопленной на глубину ниже дна канавы.
Для осушения местности, перехвата и отвода грунтовых и надмерзлотных вод на значительное расстояние следует применять полуоткрытые водоотводные лотки. Конструкция лотков данного типа обеспечивает минимальную потерю тепла водотоком и улучшает водно-тепловой режим грунтов. Весной лотки требуется очищать от снега и открывать. Осенью лотки необходимо закрывать на всю ширину досками.
Е.4.10 При разработке конструкций дренажей и каптажных устройств необходимо предусматривать мероприятия, направленные на предотвращение замерзания воды в смотровых колодцах, отводных трубах и на выходе из них. С этой целью отводные трубы закладывают на глубине не выше нижней трети глубины сезонного промерзания, а низ трубы на выходе размещают выше поверхности земли на 1,0 м и более. На пологих склонах местности следует применять отепленные оголовки отводных труб.
Дренаж и каптаж целесообразно применять на участках с наличием и возможным развитием наледей подземных вод и четко выраженными водоносными слоями грунтовых вод. Расположение дренажей и глубину их заложения следует назначать в зависимости от требуемой глубины осушения, мощности водоносного слоя и положения водоупора. Расчет дренажей и назначение их конструкции выполняют с использованием обычных методов, на основе данных специальных инженерно-геологических изысканий.
Каптаж целесообразно применять на наледных участках при наличии источников подземных вод, выходящих на склоне выше дороги. Каптаж может состоять из одного или нескольких колодцев, а также из коротких галерей, канав или лотков, собирающих воду, и отводных устройств.
Е.5 Специальные противоналедно-водопропускные сооружения
Специальными противоналедно-водопропускными сооружениями являются:
- свайно-тоннельные водопропускные сооружения;
- противоналедные мосты-трубы;
- двух- и трехъярусные трубы со сквозными отверстиями между ярусами (для насыпей высотой более 6 м);
- комбинированные фильтрующие насыпи с любым количеством водопропускных труб.
Е.6 Исходные данные для выбора и проектирования противоналедных мероприятий и устройств
Исходными данными для выбора и проектирования противоналедных мероприятий и устройств на стадии задания на проектирование являются:
а) по поверхностным водотокам - расход и температура воды в осенне-зимний период; скорость потока, ширина, глубина и уклон русла; предполагаемые изменения теплового и ледового режимов водотока при строительстве и степень влияния этих изменений на наледный процесс;
б) по подземным водам, вскрываемым выемками, канавами и карьерами, - ожидаемый приток и температура воды, мощность и протяженность вдоль пути водоносного слоя, возможные изменения режима вод в связи со строительством;
в) по всем природным наледям - генетический тип наледи, время ее формирования (начало и конец), линейные размеры, площадь и объем наледи, возможные изменения в режиме наледи в связи со строительством, степень опасности наледи для проектируемых сооружений.
Перечисленные данные включают в пояснительную записку, в которой, кроме того, приводят описание общих физико-геологических условий района, необходимое для прогнозирования наледей и выбора основных проектных решений; прилагают каталог и график наледных участков в районе трассы, а также паспорта больших природных наледей, в том числе планы масштаба 1:2000 - 1:5000.
Рабочие чертежи противоналедных мероприятий и устройств разрабатывают на основе уточненных данных по всем наледным участкам, в том числе:
- описания рельефа, геологической, гидрогеологической обстановки и мерзлотно-грунтовых условий;
- расхода и температуры воды наледных водотоков в осенне-зимний период, их теплового и ледового режимов, скорости потока;
- ширины, глубины и уклона русел;
- климатических показателей, необходимых для теплотехнических расчетов;
- показателей природных наледей, их генетического типа, линейных размеров, площади и объема наледного льда, периода формирования наледей;
- прогнозирования степени опасности наледи;
- рекомендуемых проектных решений, с использованием графических материалов - паспорта наледи, плана наледного участка (масштаба 1:500 - 1:2000), геологических разрезов.
Е.7 Проектирование насыпей на участках природных и прогнозируемых наледей
Проектирование насыпей на участках природных и прогнозируемых наледей имеет следующие особенности:
а) на участках природных наледей:
- проектирование в высоких насыпях с возвышением поверхности земляного полотна над расчетной отметкой поверхности наледи не менее чем на 0,5 м;
- проектирование с нагорной стороны бермы, предохраняющей от переувлажнения грунты в теле насыпи;
- проектирование земляного полотна с противоналедными устройствами;
б) на участках прогнозируемых наледей:
- в районах глубокого сезонного промерзания и островного распространения вечномерзлых грунтов проектирование насыпи такой высоты, при которой соблюдается условие hзп < hест, где hзп - промерзание грунта основания под многослойной дорожной конструкцией; hест - промерзание грунта в естественных условиях;
- в районах сплошного распространения вечномерзлых грунтов проектирование земляного полотна совместно с противоналедными устройствами, активизирующими наледный процесс в удалении от полотна.
Земляное полотно следует возводить из дренирующих грунтов, не нарушая при этом естественных мерзлотно-грунтовых условий.
Е.8 Проектирование водопропускных труб на участках природных и прогнозируемых наледей
Выделяют следующие особенности проектирования водопропускных труб и мостов на участках природных и прогнозируемых наледей:
а) на участках природных наледей:
- проектирование труб и мостов совместно с утепленными лотками, обеспечивающими пропуск наледной воды через зону искусственного сооружения;
- задержание наледи на удалении от искусственного сооружения;
б) на участках прогнозируемых наледей:
- применение труб с облегченными или свайными фундаментами с воротниковыми оголовками или безоголовочных, предусматривая, при необходимости, отепляющие подушки;
- проектировать трубы совместно с дренажно-каптажными устройствами;
- использовать активизацию и задержание наледи в удалении от сооружения.
Е.9 Безналедный пропуск водотока у водопропускных труб
Проектирование водопропускных труб, обеспечивающих безналедный пропуск водотока, осуществляется путем спрямления и углубления русла водотока, применения открытых лотков и канав - открытых и закрытых утепленных либо путем устройства искусственных таликов под сооружением.
Возможность осуществления безналедного пропуска водотока у водопропускной трубы и необходимые конструктивные решения (ширину, глубину заложения, длину, толщину и материал слоя теплоизоляции) следует определять теплофизическими расчетами на основе ледотермических данных потока. Методика теплофизических расчетов приведена в приложениях В и Г. При этом следует использовать полученную экспериментально зависимость
|
|
(Е.3) |
где t1 и t2 - температура воды в начале и конце водовода соответственно;
В, С и D - параметры, учитывающие расход водотока и его уклон, температуру грунта и окружающего воздуха;
L - длина водовода.
Е.10 Проектирование мерзлотных и тепловых поясов
Выбор мерзлотного или теплового пояса в качестве противоналедного сооружения определяется совокупностью физико-климатических условий и в первую очередь - среднегодовой температурой воздуха и мощностью снежного покрова, в зависимости от которых принимают мерзлотные или тепловые пояса (таблица Е.1).
Таблица Е.1 - Противоналедные мероприятия
|
Средняя многолетняя мощность снежного покрова, м |
Противоналедное мероприятие при среднегодовой температуре воздуха, °С |
||
|
ниже минус 5 |
от минус 5 до минус 3 |
выше минус 3 |
|
|
Менее 0,2 |
Мерзлотный пояс |
Мерзлотный пояс |
Мерзлотный пояс |
|
0,2 - 0,4 |
- |
- |
Мерзлотный или тепловой пояс |
|
0,4 - 0,6 |
- |
Мерзлотный или тепловой пояс |
- |
|
0,6 - 0,8 |
- |
- |
Тепловой пояс |
|
0,8 - 1,0 |
- |
- |
- |
|
1,0 - 1,5 |
Мерзлотный или тепловой пояс |
Тепловой пояс |
- |
|
Свыше 5 |
Тепловой пояс |
- |
- |
Более высокие фильтрационные свойства, глубокое залегание водоупора и высокая температура подземной воды при прочих равных условиях являются основанием для применения теплового пояса. В случаях, когда по климатическим и физико-геологическим условиям возможно применение и мерзлотного, и теплового поясов, принимают во внимание, что тепловые пояса имеют ряд достоинств по сравнению с мерзлотными:
- обеспечивают переброску наледной воды за ограждаемый объект, что полностью исключает вредное влияние наледи на сооружение в период ее развития и таяния;
- позволяют использовать естественные факторы - энергию ветра, накопленное в грунте за летний период тепло, изолирующий эффект снежного покрова;
- способствуют ускорению процесса осушения наледного участка и понижению уровня подземных вод к началу зимы;
- имеют в большинстве случаев при равных условиях меньшие геометрические размеры и, следовательно, меньшую строительную стоимость.
[1] СП 33-101-2003 Определение основных расчетных гидрологических характеристик
[3] Приказ Федеральной службы по экологическому, технологическому и атомному надзору от 26 декабря 2006 г. № 1128 «Об утверждении и введении в действие Требований к составу и порядку ведения исполнительной документации при строительстве, реконструкции, капитальном ремонте объектов капитального строительства и требований, предъявляемых к актам освидетельствования работ, конструкций, участков сетей инженерно-технического обеспечения»
|
Ключевые слова: водопропускные сооружения, трубы, вечная мерзлота, термический режим, гидравлический режим, системы водоотвода, напряженно-деформированное состояние |