Fire equipment. Small size cylinders for breathing apparatuses and escape respirators with compressed air. General technical requirements. Test methods

ФЕДЕРАЛЬНОЕ АГЕНЬСТВО

ПО ТЕХНИЧЕСКОМУ РЕГУЛИРОВАНИЮ И МЕТРОЛОГИИ

НАЦИОНАЛЬНЫЙ
СТАНДАРТ
РОССИЙСКОЙ
ФЕДЕРАЦИИ

ГОСТ Р
53258-
2019

Техника пожарная

БАЛЛОНЫ МАЛОЛИТРАЖНЫЕ
ДЛЯ АППАРАТОВ ДЫХАТЕЛЬНЫХ
И САМОСПАСАТЕЛЕЙ СО СЖАТЫМ ВОЗДУХОМ

Общие технические требования.
Методы испытаний

(ISO 9809-2:2010, NEQ)
(EN 12245+A1:2011, NEQ)

 

Москва

Стандартинформ

2019

 

Предисловие

1 РАЗРАБОТАН Федеральным государственным бюджетным учреждением «Всероссийский ордена «Знак Почета» научно-исследовательский институт противопожарной обороны» Министерства Российской Федерации по делам гражданской обороны, чрезвычайным ситуациям и ликвидации последствий стихийных бедствий (ФГБУ ВНИИПО МЧС России)

2 ВНЕСЕН Техническим комитетом по стандартизации ТК 274 «Пожарная безопасность»

3 УТВЕРЖДЕН И ВВЕДЕН В ДЕЙСТВИЕ Приказом Федерального агентства по техническому регулированию и метрологии от 27 сентября 2019 г. № 803-ст

Настоящий стандарт разработан с учетом основных нормативных положений международного и европейского стандартов: ИСО 9809-2:2010 «Газовые баллоны. Бесшовные стальные газовые баллоны многократного заполнения. Конструкция, изготовление и тестирование. Часть 2. Закаленные и отпущенные стальные баллоны с сопротивлением растяжению, равным или превышающим 1100 МПа» (ISO 9809-2:2010 «Gas cylinders - Refillable seamless steel gas cylinders - Design, construction and testing - Part 2: Quenched and tempered steel cylinders with tensile strength greater than or equal to 1100 MPa», NEQ); EH 12245+A1:2011 «Баллоны газовые переносные. Газовые баллоны, полностью обернутые композитом» (EN 12245+А1:2011 «Transportable gas cylinders - Fully wrapped composite cylinders», NEQ)

4 ВЗАМЕН ГОСТ P 53258-2009

Правила применения настоящего стандарта установлены в статье 26 Федерального закона от 29 июня 2015 г. № 162-ФЗ «О стандартизации в Российской Федерации». Информация об изменениях к настоящему стандарту публикуется в ежегодном (по состоянию на 1 января текущего года) информационном указателе «Национальные стандарты», а официальный текст изменений и поправок - в ежемесячном информационном указателе «Национальные стандарты». В случае пересмотра (замены) или отмены настоящего стандарта соответствующее уведомление будет опубликовано в ближайшем выпуске ежемесячного информационного указателя «Национальные стандарты». Соответствующая информация, уведомление и тексты размещаются также в информационной системе общего пользования - на официальном сайте Федерального агентства по техническому регулированию и метрологии в сети Интернет (www.gost.ru)

 

Содержание

1 Область применения. 1

2 Нормативные ссылки. 1

3 Термины и определения. 1

4 Общие технические требования. 1

4.1 Требования назначения. 1

4.2 Конструктивные требования. 1

4.3 Требования надежности. 1

4.4 Требования стойкости к внешним воздействиям.. 1

4.5 Требования к материалам.. 1

4.6 Требования к комплектности. 1

4.7 Требования к внешнему виду и маркировке баллона. 1

4.8 Требования по освидетельствованию баллона. 1

4.9 Требования к содержанию эксплуатационной документации на баллон. 1

5 Требования безопасности. 1

6 Правила приемки. 1

6.1 Этапы разработки и приемки. 1

6.2 Виды испытаний. 1

7 Методы испытаний. 1

7.1 Проверка нормативно-технической документации на баллон. 1

7.2 Проверка внешнего вида, комплектности и маркировки баллона. 1

7.3 Проверка методов и результатов расчета напряженно-деформированного состояния
элементов конструкции баллона. 1

7.4 Проверка коррозионной устойчивости сталей и алюминиевых сплавов. 1

7.5 Проверка габаритных размеров баллона. 1

7.6 Проверка резьбы горловины баллона. 1

7.7 Проверка прочности баллона пробным (гидравлическим) давлением.. 1

7.8 Проверка герметичности баллона пневматическим давлением.. 1

7.9 Проверка коэффициента запаса прочности баллона по давлению разрушения
для начальной стадии эксплуатации. 1

7.10 Проверка циклической долговечности баллона. 1

7.11 Проверка устойчивости резьбы горловины баллона к многократному монтированию
и демонтированию вентиля. 1

7.12 Проверка устойчивости соединения закладного элемента с корпусом композитного баллона
к многократному реверсивному нагружению соединения крутящим моментом.. 1

7.13 Проверка сохранения прочности и герметичности металлического, металлокомпозитного,
композитного баллона после удара. 1

7.14 Проверка сохранения прочности и герметичности металлического, металлокомпозитного
баллона после падения с высоты (1,2 ± 0,1) м.. 1

7.15 Проверка газопроницаемости, прочности и герметичности композитного баллона после
падения с высоты (1,2 ± 0,1) м.. 1

7.16 Проверка сохранения баллоном герметичности после воздействия на него климатических
факторов. 1

7.17 Проверка сохранения баллоном герметичности после пребывания в среде с температурой
200 °С.. 1

7.18 Проверка сохранения баллоном прочности и герметичности после воздействия открытого
пламени. 1

7.19 Проверка коэффициента запаса прочности металлического, металлокомпозитного баллона
по давлению разрушения после внешних воздействий. 1

7.20 Проверка газопроницаемости, прочности и герметичности композитного баллона после
внешних воздействий. 1

7.21 Проверка устойчивости баллона к осколочному разрушению при пробитии его пулей  1

Библиография. 1

 

 

НАЦИОНАЛЬНЫЙ СТАНДАРТ РОССИЙСКОЙ ФЕДЕРАЦИИ

Техника пожарная

БАЛЛОНЫ МАЛОЛИТРАЖНЫЕ ДЛЯ АППАРАТОВ ДЫХАТЕЛЬНЫХ
И САМОСПАСАТЕЛЕЙ СО СЖАТЫМ ВОЗДУХОМ

Общие технические требования.
Методы испытаний

Fire equipment. Small size cylinders for breathing apparatuses and escape
respirators with compressed air. General technical requirements. Test methods

Дата введения - 2020-03-01

1 Область применения

1.1 Настоящий стандарт устанавливает общие технические требования и методы испытаний малолитражных баллонов (далее - баллоны) вместимостью до 12 дм3, рассчитанных на рабочее давление не более 30,0 МПа (306 кгс/см2) и предназначенных для использования в составе дыхательных аппаратов со сжатым воздухом и со сжатым кислородом для пожарных или в составе самоспасателей со сжатым воздухом.

1.2 Настоящий стандарт может быть рекомендован для целей подтверждения соответствия требованиям баллонов технических регламентов.

2 Нормативные ссылки

В настоящем стандарте использованы нормативные ссылки на следующие стандарты:

ГОСТ 2.103 Единая система конструкторской документации. Стадии разработки

ГОСТ 2.601 Единая система конструкторской документации. Эксплуатационные документы

ГОСТ 12.2.052 Система стандартов безопасности труда. Оборудование, работающее с газообразным кислородом. Общие требования безопасности

ГОСТ 15.309 Система разработки и постановки продукции на производство. Испытания и приемка выпускаемой продукции. Основные положения

ГОСТ 4233 Реактивы. Натрий хлористый. Технические условия

ГОСТ 5583 Кислород газообразный технический и медицинский. Технические условия

ГОСТ 6709 Вода дистиллированная. Технические условия

ГОСТ 9150 (ИСО 68-1-98) Основные нормы взаимозаменяемости. Резьба метрическая. Профиль.

ГОСТ 9909 Основные нормы взаимозаменяемости. Резьба коническая вентилей и баллонов для газов

ГОСТ 15150 Машины, приборы и другие технические изделия. Исполнения для различных климатических районов. Категории, условия эксплуатации, хранения и транспортирования в части воздействия климатических факторов внешней среды

ГОСТ 16504 Система государственных испытаний продукции. Испытания и контроль качества продукции. Основные термины и определения

ГОСТ 17433 Промышленная чистота. Сжатый воздух. Классы загрязненности

ГОСТ 24997 (ИСО 1502:1996) Калибры для метрической резьбы. Допуски

ГОСТ 24998 Калибры для конической резьбы вентилей и баллонов для газов. Допуски

Примечание - При пользовании настоящим стандартом целесообразно проверить действие ссылочных стандартов в информационной системе общего пользования - на официальном сайте Федерального агентства по техническому регулированию и метрологии в сети Интернет или по ежегодному информационному указателю «Национальные стандарты», который опубликован по состоянию на 1 января текущего года, и по выпускам ежемесячного информационного указателя «Национальные стандарты» за текущий год. Если заменен ссылочный стандарт, на который дана недатированная ссылка, то рекомендуется использовать действующую версию этого стандарта с учетом всех внесенных в данную версию изменений. Если заменен ссылочный стандарт, на который дана датированная ссылка, то рекомендуется использовать версию этого стандарта с указанным выше годом утверждения (принятия). Если после утверждения настоящего стандарта в ссылочный стандарт, на который дана датированная ссылка, внесено изменение, затрагивающее положение, на которое дана ссылка, то это положение рекомендуется применять без учета данного изменения. Если ссылочный стандарт отменен без замены, то положение, в котором дана ссылка на него, рекомендуется применять в части, не затрагивающей эту ссылку.

3 Термины и определения

В настоящем стандарте применены следующие термины с соответствующими определениями:

3.1 аппарат дыхательный со сжатым воздухом: Автономный изолирующий резервуарный аппарат, в котором запас воздуха хранится в баллонах в сжатом состоянии, при работе аппарата вдох осуществляется из баллонов, а выдох в атмосферу.

3.2 аппарат дыхательный со сжатым кислородом: Регенеративный аппарат, в котором газовая дыхательная смесь создается за счет регенерации выдыхаемой газовой смеси путем поглощения химическим веществом из нее диоксида углерода и добавления кислорода из имеющегося в аппарате малолитражного баллона, после чего регенерированная газовая дыхательная смесь поступает на вдох.

3.3 самоспасатель со сжатым воздухом: Средство индивидуальной защиты органов дыхания и зрения, предназначенное для защиты человека при спасении из задымленных помещений, в котором весь запас воздуха хранится в баллоне в сжатом состоянии.

3.4 баллон металлический: Сосуд, имеющий одну горловину с резьбой для установки вентиля и предназначенный для хранения, транспортирования и использования сжатого воздуха.

3.5 баллон металлокомпозитный: Многослойный сосуд, в котором внутренний слой выполнен в виде металлической герметизирующей оболочки (лейнера), а остальные слои - из композиционных материалов.

3.6 баллон композитный: Многослойный сосуд, в котором внутренний слой выполнен в виде полимерной герметизирующей оболочки (лейнера), а остальные слои - из композиционных материалов.

3.7 лейнер: Внутренняя металлическая или полимерная герметизирующая оболочка металлокомпозитного или композитного баллона, которая может нести часть нагрузки.

3.8 композиционный материал (композит): Материал с неоднородной структурой, состоящий из нескольких однородных материалов (компонентов).

3.9 армирующие материалы: Материалы неоднородного строения (стеклянные, арамидные или углеродные нити, ленты и т. п.), входящие в состав композиционного материала.

3.10 связующее: Реактопласты или термопласты, входящие в состав композиционного материала, обеспечивающие монолитность композита и используемые для соединения армирующих материалов.

3.11 вместимость баллона: Объем внутренней полости баллона, определяемый по заданным в чертежах номинальным размерам или гидравлическим методом.

3.12 рабочее давление: Максимальное внутреннее избыточное давление, возникающее при нормальной эксплуатации дыхательного аппарата или самоспасателя.

3.13 минимальное давление: Минимальное избыточное давление воздуха (кислорода) в баллоне, обеспечивающее стабильную работу дыхательного аппарата и составляющее (1,0 ± 0,1) МПа.

3.14 давление разрушения: Максимальное избыточное давление, достигаемое при испытании баллона или лейнера и вызывающее их разрушение.

3.15 разрушение баллона: Утрата баллоном способности выдерживать внутреннее давление, сопровождающаяся потерей целостности.

3.16 пробное давление: Давление, при котором проводится гидравлическое испытание баллона на прочность.

3.17 газопроницаемость: Свойство материалов баллона пропускать газ или воздух под действием перепада давления.

3.18 освидетельствование баллона: Периодический контроль технического состояния баллонов, находящихся в эксплуатации.

3.19 срок службы баллона: Продолжительность эксплуатации баллона в календарных годах, исчисляемая со дня его изготовления, в течение которой баллон эксплуатируется без снижения потребительских качеств при соблюдении условий и режимов эксплуатации, определенных изготовителем в конструкторской документации.

3.20 специализированная организация: Организация, имеющая лицензию Федеральной службы по экологическому, технологическому и атомному надзору на экспертизу промышленной безопасности технических устройств (проектирование, изготовление, испытания, эксплуатация, техническое освидетельствование и диагностирование сосудов и баллонов высокого давления).

3.21 коэффициент запаса прочности: Отношение давления разрушения баллона к рабочему давлению.

3.22 герметичность: Свойство баллона не пропускать газ или жидкость через стенки и соединение с вентилем.

3.23 безосколочное разрушение баллона: Вид разрушения баллона, при котором баллон остался единым изделием, при этом отделение некоторых волокон внешнего материала баллона браковочным признаком не является.

4 Общие технические требования

4.1 Требования назначения

4.1.1 Методы и результаты расчетов напряженно-деформированного состояния элементов конструкции баллона должны подтверждать требуемую прочность, циклическую долговечность и несущую способность баллона.

Проверку следует проводить в соответствии с положением 7.3.

4.1.2 Коэффициент запаса прочности баллона по давлению разрушения для начальной стадии эксплуатации (исходная прочность) должен быть:

- не менее 2,4 (для металлических баллонов),

- не менее 2,6 (для металлокомпозитных баллонов),

- не менее 3,0 (для композитных баллонов).

Проверку следует проводить в соответствии с положениями 7.9.

4.1.3 Коэффициент запаса прочности баллона по давлению разрушения после внешних воздействий должен быть:

- не менее 2,2 (для металлических и металлокомпозитных баллонов),

- не менее 2,6 (для композитных баллонов).

Проверку следует проводить в соответствии с положениями 7.19, 7.20.

4.1.4 Газопроницаемость композитного баллона после внешних воздействий должна быть не более 0,25 мл/ч на 1 дм3 вместимости баллона.

Проверку следует проводить в соответствии с положениями 7.20.

4.1.5 Баллон должен быть прочным при пробном (гидравлическом) давлении, равном не менее 1,5 рабочего давления.

Проверку следует проводить в соответствии с положениями 7.7.

4.1.6 Баллон после испытаний на прочность должен быть герметичным при пневматическом давлении, равном рабочему давлению.

Проверку следует проводить в соответствии с положениями 7.8.

4.1.7 Баллон должен сохранять прочность и герметичность в течение не менее (500хТ) циклов нагружений (заправок воздухом) от минимального 1,0 МПа до рабочего давления и не менее Т циклов нагружений от рабочего до пробного давления.

Примечание - Т - расчетный срок службы баллона в годах.

Проверку следует проводить в соответствии с положениями 7.10.

4.2 Конструктивные требования

4.2.1 Баллон должен иметь следующие основные параметры:

- длина - не более 600 мм;

- наружный диаметр - не более 200 мм;

Проверку следует проводить в соответствии с положениями 7.5.

4.2.2 Горловина баллона должна иметь внутреннюю коническую резьбу W 19,2 по ГОСТ 9909 или метрическую резьбу М 18×1,5 по ГОСТ 9150.

Проверку следует проводить в соответствии с положениями 7.6.

4.2.3 Резьба горловины баллона должна быть устойчивой к 10-кратному монтированию и демонтированию вентиля.

Проверку следует проводить в соответствии с положениями 7.11.

4.2.4 Соединение закладного элемента, где имеется горловина с резьбой с корпусом композитного баллона, должно быть устойчивым к многократному (не менее Т раз) реверсивному нагружению крутящим моментом.

Проверку следует проводить в соответствии с положениями 7.12.

4.3 Требования надежности

Срок службы баллона, указанный в эксплуатационной документации, должен быть не менее 10 лет.

Примечание - При отсутствии в эксплуатационной документации сведений о сроке службы, срок службы баллона устанавливается - 20 лет.

Проверку следует проводить в соответствии с положениями 7.1.

4.4 Требования стойкости к внешним воздействиям

4.4.1 Баллон должен быть рассчитан на применение при температуре окружающей среды от минус 50 °С до 60 °С, относительной влажности (95 ± 5) % (при температуре (35 ± 2) °С).

Проверку следует проводить в соответствии с положениями 7.1.

4.4.2 Баллон должен сохранять герметичность, целостность наружной поверхности и надписей на ней после воздействия климатических факторов:

- температуры (60 ± 3) °С в течение (4,0 ± 0,1) ч;

- температуры минус (50 ± 3) °С в течение (4,0 ± 0,1) ч;

- температуры (35 ± 2) °С при относительной влажности (90 ± 5) % в течение (24 ± 1) ч.

Проверку следует проводить в соответствии с положениями 7.16.

4.4.3 Баллон должен сохранять герметичность, целостность наружной поверхности и надписей на ней после пребывания в среде с температурой (200 ± 20) °С в течение (60 ± 1) с.

Проверку следует проводить в соответствии с положениями 7.17.

4.4.4 Баллон должен сохранять прочность, герметичность, целостность наружной поверхности и надписей на ней после воздействия открытого пламени с температурой (800 ± 50) °С в течение (15 ± 1) с.

Проверку следует проводить в соответствии с положениями 7.18.

4.4.5 Баллон должен разрушаться безосколочно при пробитии его пулей.

Проверку следует проводить в соответствии с положениями 7.21.

4.4.6 Баллон должен сохранять прочность и герметичность, а также циклическую долговечность после удара о плоскую плиту и об острый угол после пребывания в среде с температурой минус (20 ± 2) °С в течение (60 ± 1) мин.

Проверку следует проводить в соответствии с положениями 7.13.

4.4.7 Баллон должен сохранять прочность и герметичность, а также циклическую долговечность после падения с высоты (1,2 ± 0,1) м.

Проверку следует проводить в соответствии с положениями 7.14, 7.15.

4.5 Требования к материалам

4.5.1 Все материалы и полуфабрикаты, используемые при изготовлении баллона, должны иметь документы о качестве, выданные их изготовителями.

Проверку следует проводить в соответствии с положениями 7.1.

4.5.2 Все материалы, используемые при изготовлении баллона, не должны образовывать гальванических пар, должны быть совместимы между собой и заправляемым в них газом и сохранять работоспособность в интервале температур окружающего воздуха от минус 50 °С до 60 °С.

Проверку следует проводить в соответствии с положениями 7.1.

4.5.3 Стали и алюминиевые сплавы должны быть коррозионно-устойчивыми.

Проверку следует проводить в соответствии с положениями 7.4.

4.6 Требования к комплектности

В комплект баллона должны входить:

- баллон;

- заглушка для защиты резьбы и внутренней поверхности баллона;

- эксплуатационная документация (паспорт и руководство по эксплуатации);

- упаковочная тара.

Проверку следует проводить в соответствии с положениями 7.2.

4.7 Требования к внешнему виду и маркировке баллона

4.7.1 Наружная поверхность баллона, предназначенного для наполнения воздухом, должна иметь желтый или серый цвет.

Примечание - Рекомендуется наносить на баллон световозвращающее или светящееся покрытие. Проверку следует проводить в соответствии с положениями 7.2.

4.7.2 Наружная поверхность баллона, предназначенного для наполнения кислородом, должна иметь голубой цвет.

4.7.3 Баллон должен иметь маркировку, содержащую следующие данные:

- наименование предприятия-изготовителя или его товарный знак;

- условное обозначение баллона;

- номер баллона;

- дату (месяц и год) изготовления и год следующего освидетельствования;

- фактическую массу порожнего баллона, кг;

- рабочее давление МПа, кгс/см2 или бар;

- пробное гидравлическое давление МПа, кгс/см2 или бар;

- вместимость, л;

- клеймо изготовителя.

На цилиндрической части баллона, предназначенного для наполнения воздухом, должны быть нанесены надписи на русском языке «Воздух», «Рабочее давление ... кгс/см2, МПа».

На цилиндрической части баллона, предназначенного для наполнения кислородом, должны быть нанесены надписи на русском языке «Кислород», «Рабочее давление ... кгс/см2, МПа».

Проверку следует проводить в соответствии с положениями 7.2.

4.7.4 Маркировка баллона должна быть четкой, не допускающей неоднозначного толкования. Проверку следует проводить в соответствии с положениями 7.2.

4.8 Требования по освидетельствованию баллона

Периодичность освидетельствования баллона должна составлять:

- для металлических и металлокомпозитных баллонов - не менее одного раза в 5 лет;

- для композитных баллонов - не менее одного раза в 3 года.

Проверку следует проводить в соответствии с положениями 7.1.

4.9 Требования к содержанию эксплуатационной документации на баллон

Эксплуатационная документация на баллон должна быть на русском языке по ГОСТ 2.601.

В паспорте и руководстве по эксплуатации на баллон должны содержаться следующие сведения:

- данные об изготовителе (юридический адрес, телефон, факс, E-mail);

- номер Сертификата соответствия, выданного в порядке, установленном Федеральным агентством по техническому регулированию и метрологии;

- условное обозначение;

- среда, для которой предназначен баллон;

- номер чертежа баллона;

- заводской номер баллона и дата (год и месяц) изготовления;

- номер партии, к которой относится баллон;

- рабочее давление в баллоне МПа, кгс/см2 или бар;

- пробное гидравлическое давление МПа, кгс/см2 или бар;

- вместимость;

- масса;

- габаритные размеры;

- размер резьбы в горловине баллона;

- материал уплотнения горловины баллона;

- порядок обезжиривания внутренних поверхностей лейнера (баллона) и горловины (для баллонов, предназначенных для наполнения кислородом);

- крутящий момент, необходимый для установки вентиля в баллон;

- допустимое количество циклов наполнения баллона;

- расчетный срок службы баллона;

- срок переосвидетельствования;

- условия эксплуатации;

- критерии отбраковки баллона;

- правила и порядок технического освидетельствования баллона;

- свидетельство о приемке изделия;

- гарантии изготовителя (поставщика);

- требования безопасности;

- таблица для отметок о периодическом освидетельствовании баллонов;

- тип установленного вентиля;

- таблица для отметок об установке вентилей и о проверке герметичности соединений «вентиль - баллон»;

- таблица данных о количестве ежегодных заправок баллона.

Примечание - Допускается паспорт и руководство по эксплуатации объединять в один документ. Проверку следует проводить в соответствии с положениями 7.1.

5 Требования безопасности

5.1 Эксплуатация баллона в составе дыхательного аппарата или самоспасателя должна проводиться в соответствии с эксплуатационной документацией на баллон.

5.2 Испытания баллонов должны проводиться с учетом требований инструкции по технике безопасности, утвержденной на предприятии - изготовителе баллонов или в испытательном центре. После завершения испытаний внутренние поверхности лейнера (баллона) и горловины баллонов, предназначенных для наполнения кислородом, должны быть обезжирены в соответствии с ГОСТ 12.2.052, а также [1].

5.3 Сжатый воздух, предназначенный для заполнения баллонов дыхательных аппаратов и самоспасателей, не должен содержать вредных примесей, превышающих предельно допустимые концентрации, приведенные в таблице 1.

Таблица 1

Наименование показателя

Значение

Содержание оксида углерода, не более

15 мл/м3

Содержание масла, не более

0,5 мг/м3

Содержание диоксида углерода, не более

500 мл/м3

Влагосодержание (при давлении от 19,6 до 30 МПа), не более

25 мг/м3

5.4 Газообразный медицинский кислород по ГОСТ 5583, предназначенный для наполнения баллонов дыхательных аппаратов со сжатым кислородом, должен соответствовать требованию, приведенному в таблице 2.

Таблица 2

Наименование вещества

Наименование показателя

Значение

Газообразный медицинский
кислород по ГОСТ 5583

Объемная доля кислорода, %, не менее

99,5

6 Правила приемки

6.1 Этапы разработки и приемки

Баллон должен пройти все этапы разработки и приемки, предусмотренные ГОСТ 15.309 и ГОСТ 2.103.

6.2 Виды испытаний

Для контроля качества баллона проводятся испытания следующих видов:

- предварительные (заводские);

- приемочные;

- квалификационные;

- приемо-сдаточные;

- периодические;

- типовые.

Определение видов испытаний - по ГОСТ 16504.

6.2.1 Предварительные испытания

6.2.1.1 Предварительные испытания баллона проводит предприятие-изготовитель для предварительной оценки соответствия опытных образцов баллонов требованиям технического задания, а также определения готовности опытных образцов к приемочным испытаниям.

6.2.1.2 Программа и методика предварительных и приемочных испытаний должны включать в себя проверку всех показателей и характеристик, указанных в настоящем стандарте, а также другие требования и методы испытаний в соответствии с техническим заданием на конкретный тип баллона.

6.2.1.3 Баллон считается новой конструкцией и подлежит предварительным и приемочным испытаниям в полном объеме:

- при изготовлении баллона (лейнера) по другой технологии;

- при изготовлении баллона или лейнера из других материалов;

- при увеличении рабочего давления;

- при увеличении наружного диаметра баллона более чем на 20 %;

- при увеличении длины баллона более чем на 50 %.

6.2.2 Приемочные испытания

6.2.2.1 Приемочные испытания баллона проводит предприятие-изготовитель с участием органов технического надзора для оценки всех определенных техническим заданием характеристик баллона, а также решения вопроса о возможности постановки баллона на серийное производство.

6.2.2.2 Приемочным испытаниям подвергают опытные образцы баллона.

6.2.3 Квалификационные испытания

6.2.3.1 Квалификационные испытания баллона проводит предприятие-изготовитель в целях определения готовности предприятия к серийному производству аппаратов.

6.2.3.2 Квалификационные испытания проводят по отдельной программе и методике испытаний, утвержденной пред приятием-изготовителем.

6.2.4 Приемо-сдаточные испытания

6.2.4.1 Приемо-сдаточные испытания проводят в порядке и объеме, установленном в технической документации изготовителя.

6.2.4.2 Приемо-сдаточным испытаниям подвергают каждый баллон.

6.2.4.3 Во время приемо-сдаточных испытаний каждый баллон должен подвергаться следующим проверкам:

- измерительному контролю - (определение габаритных размеров, массы и вместимости баллона (лейнера), контроль резьбы);

- визуальному контролю - (проверка качества внутренней (наружной) поверхности баллона (лейнера) и маркировки);

- проверке прочности баллона при пробном (гидравлическом) давлении;

- проверке герметичности баллона при пневматическом давлении;

- проверке комплектности;

- проверке эксплуатационной документации.

6.2.4.4 Баллоны принимаются партиями, включающими в себя от 20 до 400 баллонов, выполненных по одному чертежу. Требования к баллонам в одной партии: лейнеры - должны быть одной технологии изготовления из металла одной плавки (для металлокомпозитных баллонов), одной марки полимера, изготовленного по одной технологии и оформленного одним паспортом (для композитных баллонов); композиционный материал должен быть одной марки и изготовлен по одной технологии, оформленный одним паспортом.

6.2.4.5 От каждой партии баллонов отбирают 2 баллона. При испытаниях проверяется коэффициент запаса прочности для баллона с минимальным отношением массы к вместимости.

6.2.5 Периодические испытания

6.2.5.1 Периодические испытания баллона проводятся в сроки, установленные изготовителем, но не реже чем один раз в три года.

6.2.5.2 Периодические испытания проводят в порядке и объеме, установленном в технической документации изготовителя.

6.2.6 Типовые испытания

6.2.6.1 Типовые испытания баллона проводят для оценки эффективности и целесообразности внесения изменений в конструкцию баллона.

6.2.6.2 Программа и методика типовых испытаний должна содержать проверку тех характеристик и параметров, на которые могут повлиять данные изменения.

6.2.6.3 Программа и методика типовых испытаний разрабатывается предприятием-изготовителем.

6.2.6.4 Результаты типовых испытаний оформляются протоколом с заключением о целесообразности внесения изменений.

7 Методы испытаний

Испытания проводят при нормальных климатических условиях по ГОСТ 15150; это относится ко всем пунктам методов, за исключением специально оговоренных случаев.

Для проведения всех видов испытаний требуется 8 баллонов и один лейнер (для металлокомпозитных и композитных баллонов).

Проверку по каждому виду испытаний проводят на одном из 8 баллонов, за исключением специально оговоренных случаев.

При отрицательных результатах испытаний любого вида данный вид испытаний повторяется на удвоенном количестве баллонов. При получении отрицательного результата повторных испытаний баллоны бракуются.

7.1 Проверка нормативно-технической документации на баллон

Результат проверки считают положительным, если при рассмотрении нормативно-технической документации установлено соответствие ее содержания требованиям настоящего стандарта.

7.2 Проверка внешнего вида, комплектности и маркировки баллона

Результат проверки считают положительным, если при визуальном осмотре баллона установлено его соответствие требованиям настоящего стандарта.

7.3 Проверка методов и результатов расчета напряженно-деформированного состояния элементов конструкции баллона

Методы и результаты расчетов напряженно-деформированного состояния элемента конструкции баллона, подтверждающие его требуемую прочность, циклическую долговечность и несущую способность, должны быть согласованы со специализированной организацией, имеющей лицензию на деятельность по экспертизе промышленной безопасности Федеральной службы по экологическому, технологическому и атомному надзору.

7.4 Проверка коррозионной устойчивости сталей и алюминиевых сплавов

7.4.1 Проверка проводится методом постоянной растягивающей нагрузки на образцах материалов или баллонах в течение 45 сут. Нагрузка выбирается такой, чтобы испытательные напряжения в образцах материалов или баллонах составляли для сталей 90 %, для алюминиевых сплавов 75 % от нормированного предела текучести.

7.4.2 Коррозионная среда должна состоять из 3 %-ного раствора хлористого натрия по ГОСТ 4233 в дистиллированной воде по ГОСТ 6709.

7.4.3 Результат испытаний считают положительным, если после выдержки образцов или баллонов в коррозионной среде их прочность снизилась не более чем на 10 % по сравнению с начальным пределом прочности (для образца) или фактическим давлением разрушения (для баллонов).

7.5 Проверка габаритных размеров баллона

7.5.1 Проверку проводят на трех баллонах.

7.5.2 Габаритные размеры баллона проверяют с использованием штангенциркуля с ценой деления не более 0,1 мм. Для измерения длины баллона допускается использование металлической линейки с верхним пределом измерений 1000 мм и ценой деления 1 мм.

7.6 Проверка резьбы горловины баллона

7.6.1 Проверку проводят на трех баллонах.

7.6.2 Резьбу горловины баллона проверяют с использованием калибров для конической резьбы по ГОСТ 24998 или для метрической резьбы по ГОСТ 24997.

7.7 Проверка прочности баллона пробным (гидравлическим) давлением

7.7.1 Проверку проводят на 3 баллонах.

7.7.2 Баллон подвергают испытанию пробным давлением, равным 1,5 рабочего давления, с превышением не более 5 %. Давление должно подниматься со скоростью от 0,5 до 1,5 МПа/c. Время выдержки под пробным давлением должно быть не менее 10 мин. После выдержки баллона и сброса давления определяют вместимость баллона и ее увеличение.

7.7.3 Результат испытания считают положительным, если после выдержки баллона под пробным давлением он не разрушился, на баллоне отсутствуют трещины, видимые деформации, течи, капли влаги на внешней поверхности, при этом вместимость баллона увеличилась не более чем на 5 %.

7.8 Проверка герметичности баллона пневматическим давлением

7.8.1 Проверку проводят на трех баллонах.

7.8.2 Баллон подвергают испытанию пневматическим давлением, равным рабочему давлению, с превышением не более 5 %. Затем баллон погружают в ванну с водой. Для испытаний используется сухой воздух кл. 7, ГОСТ 17433. Время выдержки под давлением должно быть не менее 10 мин (для металлического и металлокомпозитного баллонов) и не менее 20 мин (для композитного баллона).

7.8.3 Результат испытания считают положительным, а баллон герметичным, если во время выдержки баллона под давлением в воде не происходит отделение пузырьков воздуха от поверхности баллона.

7.9 Проверка коэффициента запаса прочности баллона по давлению разрушения для начальной стадии эксплуатации

7.9.1 Баллон подвергают гидравлическому испытанию до разрушения. Скорость нагружения при этом должна быть от 0,5 до 1,5 МПа/c. Значение давления, при котором разрушился баллон, фиксируют, проводят осмотр баллона и рассчитывают коэффициент запаса прочности баллона.

7.9.2 Результат испытания считают положительным, если при осмотре баллона установлено, что разрушение было безосколочным, а фактическое значение коэффициента запаса прочности баллона по давлению разрушения соответствует требованиям 4.1.2 (для соответствующего типа баллона).

7.10 Проверка циклической долговечности баллона

7.10.1 Баллон подвергают испытанию гидравлическим давлением, создавая 500хТ циклов нагружения (Т - расчетный срок службы баллона в годах) от 1,0 МПа (10 кгс/см2) до рабочего давления с превышением не более 5 %, причем через каждые 500 циклов проводят нагружение пробным (гидравлическим) давлением. Частота нагружений - не более 10 циклов в 1 мин.

7.10.2 По окончании циклических испытаний баллон подвергают гидравлическому давлению на прочность и пневматическому - на герметичность внутренним рабочим давлением, и далее испытанию внутренним гидравлическим давлением до разрушения баллона.

7.10.3 Значение давления, при котором разрушился баллон, фиксируют, проводят осмотр баллона и рассчитывают коэффициент запаса его прочности.

7.10.4 Результат испытания считают положительным, если во время циклических испытаний баллон не разрушился и остался герметичным, а при гидравлическом испытании разрушение баллона произошло при давлении, соответствующем коэффициенту запаса прочности баллона по давлению разрушения для начальной стадии эксплуатации (в соответствии с 4.1.2). Разрушение баллона должно быть безосколочным.

7.11 Проверка устойчивости резьбы горловины баллона к многократному монтированию и демонтированию вентиля

7.11.1 Используя динамометрический ключ, проводят монтирование вентиля (или имитатора) в баллон и его демонтирование, с крутящим моментом, равным (110 ± 3) % от указанного в паспорте (руководстве по эксплуатации) баллона.

7.11.2 Испытание соединения «вентиль-баллон» с метрической резьбой проводят с использованием герметизирующего материала без его замены между циклами, а соединение с конической резьбой проводят с заменой герметизирующего материала после каждого цикла. Количество циклов равно 10.

7.11.3 По окончании испытания проводят визуальный осмотр резьбы баллона и проверку герметичности соединения «вентиль-баллон» в воде при рабочем давлении воздуха в баллоне.

7.11.4 Результат испытания считают положительным, если при осмотре резьбы баллона не обнаружено нарушений ее целостности, а при испытании соединения «вентиль-баллон» в воде не происходит отделение пузырьков воздуха от соединения после выдержки не менее 10 мин.

7.12 Проверка устойчивости соединения закладного элемента с корпусом композитного баллона к многократному реверсивному нагружению соединения крутящим моментом

7.12.1 Композитный баллон закрепляют таким образом, чтобы он не проворачивался под действием крутящего момента. Используя динамометрический ключ, проводят нагружение закладного элемента (без использования резьбы в горловине) не менее Т раз (Т - расчетный срок службы баллона в годах) по часовой стрелке и против крутящим моментом, равным (150 ± 3) % от момента закручивания вентиля, указанного в паспорте.

7.12.2 По окончании испытания проводят визуальный осмотр зоны соединения закладного элемента с корпусом баллона, проверку по 7.7 прочности баллона и по 7.8 герметичности соединения «закладной элемент - баллон» в воде при рабочем давлении воздуха в баллоне.

7.12.3 Результат испытания считают положительным, если при осмотре соединения закладного элемента с корпусом баллона не обнаружено нарушений целостности соединения, а при испытании баллона на герметичность в воде не происходит отделение пузырьков воздуха от соединения закладного элемента с корпусом баллона после выдержки не менее 10 мин.

7.13 Проверка сохранения прочности и герметичности металлического, металлокомпозитного, композитного баллона после удара

7.13.1 Общие положения

7.13.1.1 Проверку проводят на двух баллонах.

7.13.1.2 Баллоны, оснащенные заглушкой, выдерживают в климатической камере (камере тепла и влаги) при температуре минус (20 ± 2) °С в течение (60,0 ± 0,1) мин.

7.13.1.3 При испытании проводят сброс первого баллона на плоскую плиту, а второго баллона на острую кромку бойка с высоты (2,0 ± 0,1) м, обеспечивая их свободное падение (начальная скорость равна 0).

Примечание - Испытания по сбросу баллонов должны быть проведены в течение 30 мин с момента окончания выдержки баллонов при температуре минус (20 ± 2) °С.

7.13.1.4 Боек и плита должны быть металлическими, иметь достаточную твердость и прочность, чтобы не деформироваться при испытании.

7.13.2 Испытание на удар о плоскую плиту

7.13.2.1 Испытательная плита должна иметь плоскую поверхность. Длина и ширина плиты должны быть не менее длины и диаметра испытываемого баллона.

7.13.2.2 Испытание проводится на первом порожнем баллоне. Баллон располагают горизонтально по отношению к поверхности плиты и сбрасывают с высоты (2,0 ± 0,1) м. Затем этот баллон, расположенный под углом (45 ± 5)° между осью баллона и поверхностью плиты, сбрасывается стой же высоты на сферическую поверхность баллона, сопряженную с горловиной/резьбовой втулкой (рисунок 1).

1 - испытываемый баллон; 2 - точка соударения; 3 - испытательная плита

Рисунок 1 - Расположение баллона при испытании на удар о плоскую плиту

7.13.2.3 По окончании испытания баллон подвергают визуальному осмотру на наличие повреждений. Если на баллоне выявлены видимые повреждения, превышающие допустимые дефекты, установленные изготовителем баллонов, то баллон считают не выдержавшим испытания.

На баллоне, допущенном к дальнейшим испытаниям, делается отметка (маркировка) мест повреждения баллона при каждом падении в целях определения влияния повреждения на величину разрушающего давления и характер разрушения.

7.13.2.4 Проводят проверку прочности баллона пробным давлением по 7.7 и герметичности при рабочем давлении по 7.8.

7.13.2.5 Если баллон выдержал испытания по 7.7 и 7.8, то баллон подвергают испытанию внутренним гидравлическим давлением, приводящим его к разрушению.

7.13.2.6 Результат испытания считают положительным, если после удара и проведения проверок по 7.7, 7.8 баллон не разрушился и остался герметичным, а при гидравлическом испытании разрушение баллона произошло при давлении, соответствующем коэффициенту запаса прочности баллона по давлению разрушения для начальной стадии эксплуатации (4.1.3).

7.13.3 Испытание на удар об острую кромку бойка

7.13.3.1 Испытания проводят с использованием бойка, размеры и профиль которого показаны на рисунке 2. Испытательная кромка бойка должна быть скруглена до радиуса (3-0,1) мм. Длина бойка должна превышать длину испытываемого баллона не менее чем на 200 мм.

Размеры в миллиметрах

Рисунок 2 - Поперечный профиль и размеры бойка

7.13.3.2 Испытание проводят на втором порожнем баллоне. Баллон располагают горизонтально по отношению к поверхности бойка и затем сбрасывают с высоты (2,0 ± 0,1) м (рисунок 3).

1 - испытываемый баллон; 2 - боек

Рисунок 3 - Схема расположения баллона и бойка перед испытанием

7.13.3.3 Баллон поворачивают на (90 ± 5)° (испытательная поверхность бойка и ось баллона перпендикулярны), проворачивают вокруг своей оси на угол не менее 45° и сбрасывают с той же высоты (рисунок 4).

1 - испытываемый баллон; 2 - боек; 3 - отпечаток испытания в параллельном направлении;
4 - угол сдвига отпечатка испытания в параллельном направлении

Рисунок 4 - Испытание на удар об острый угол в перпендикулярном направлении

7.13.3.4 По окончании испытания баллон подвергают визуальному осмотру на наличие повреждений. Если на баллоне выявлены видимые повреждения, превышающие допустимые дефекты, установленные изготовителем баллонов, то баллон считают не выдержавшим испытания.

7.13.3.5 На баллоне, допущенном к дальнейшим испытаниям, делается отметка (маркировка) мест повреждения баллона при каждом падении в целях определения влияния повреждения на величину разрушающего давления и характер разрушения.

7.13.3.6 Проводят проверку прочности баллона пробным давлением по 7.7 и герметичности при рабочем давлении по 7.8.

7.13.3.7 Если баллон выдержал испытания по 7.7 и 7.8, то его подвергают испытанию гидравлическим давлением, создавая 1000 циклов нагружения от 1,0 МПа (10 кгс/см2) до рабочего давления с частотой не более 10 циклов в 1 мин, и затем последующему испытанию внутренним гидравлическим давлением, приводящим к разрушению баллона.

7.13.3.8 Результат испытания считают положительным, если после удара и проведения проверок по 7.7, 7.8, а также во время циклических испытаний баллон не разрушился и остался герметичным, а при гидравлическом испытании разрушение баллона произошло при давлении, соответствующем коэффициенту запаса прочности баллона по давлению разрушения после внешних воздействий (4.1.3). Разрушение баллонов должно быть безосколочным.

7.14 Проверка сохранения прочности и герметичности металлического, металлокомпозитного баллона после падения с высоты (1,2 ± 0,1) м

7.14.1 Проверку проводят на двух баллонах.

7.14.2 Баллоны, залитые водой, масса которой равна массе воздуха в баллоне в заправленном состоянии, оборудуют заглушкой.

7.14.3 Испытательная плита должна быть стальной, толщиной не менее 10 мм, неплоскостность плиты не должна превышать 2 мм. Плита должна лежать на ровном бетонном основании, толщиной не менее 100 мм. Плита должна плотно прилегать к бетонному основанию.

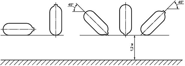
7.14.4 Каждый баллон должен быть сброшен с высоты (1,2 ± 0,1) м на плоскую поверхность плиты из каждого из пяти положений, как показано на рисунке 5.

Рисунок 5 - Положения баллона при испытании

7.14.5 По окончании испытания баллоны подвергают визуальному осмотру на наличие повреждений. Если на баллонах выявлены видимые повреждения, превышающие дефекты, допустимые изготовителем баллонов, то баллоны считают не выдержавшими испытания.

7.14.6 На баллонах, допущенных к дальнейшим испытаниям, делается отметка (маркировка) мест повреждения баллона при каждом падении в целях определения влияния повреждения на величину разрушающего давления и характер разрушения.

7.14.7 Проводят проверку прочности баллонов пробным давлением по 7.7 и герметичности при рабочем давлении по 7.8.

7.14.8 Если баллоны выдержали испытания по 7.7 и 7.8, то первый баллон подвергают испытанию внутренним гидравлическим давлением, приводящим его к разрушению, а второй баллон подвергают испытанию гидравлическим давлением, создавая 1000 циклов нагружения от 1,0 МПа (10 кгс/см2) до рабочего давления с частотой не более 10 циклов в 1 мин, и последующему испытанию внутренним гидравлическим давлением, приводящим его к разрушению.

7.14.9 Результат испытания считают положительным, если после падений, проведения проверок по 7.7, 7.8 баллоны не разрушились и остались герметичными, при гидравлическом испытании разрушение первого баллона произошло при давлении, соответствующем коэффициенту запаса прочности баллона по давлению разрушения для начальной стадии эксплуатации (4.1.2), а разрушение второго баллона произошло при давлении, соответствующем коэффициенту запаса прочности баллона подавлению разрушения после внешних воздействий (4.1.3). Разрушение баллонов должно быть безосколочным.

7.15 Проверка газопроницаемости, прочности и герметичности композитного баллона после падения с высоты (1,2 ± 0,1) м

7.15.1 Проверку проводят на двух баллонах.

7.15.2 Испытания композитных баллонов проводят в соответствии с положениями 7.14.2 - 7.14.8.

7.15.3 Затем баллоны подвергают испытанию гидравлическим давлением, создавая 1000 циклов нагружения от 1,0 МПа (10 кгс/см2) до рабочего давления с частотой не более 10 циклов в 1 мин.

7.15.4 По окончании циклических испытаний баллоны просушивают и взвешивают.

7.15.5 Далее баллоны заправляют до рабочего давления воздухом и вновь взвешивают. Приведенная погрешность измерения при взвешивании не должна превышать ± 0,5 %. Затем баллоны взвешивают через 15, 30 и 45 сут.

7.15.6 Испытанные баллоны доводятся до разрушения внутренним гидравлическим давлением.

7.15.7 Результат испытаний считается положительным, если после падения и во время циклических испытаний баллоны не разрушились и остались герметичными, скорость потери массы не превышает 0,25 мл/ч на 1 л вместимости баллона, а при гидравлическом испытании разрушение баллона произошло при давлении, соответствующем коэффициенту запаса прочности баллона по давлению разрушения после внешних воздействий (4.1.3). Разрушение баллонов должно быть безосколочным.

7.16 Проверка сохранения баллоном герметичности после воздействия на него климатических факторов

7.16.1 Баллон с вентилем, заправленный воздухом до давления 3,0 МПа, последовательно выдерживают в климатической камере (камере тепла и влаги) при температуре (60 ± 3) °С в течение (4,0 ± 0,1) ч; при температуре минус (50 ± 3) °С в течение (4,0 ± 0,1) ч, при температуре (35 ± 2) °С и относительной влажности (90 ± 5) % в течение (24 ± 1) ч.

7.16.2 После каждого климатического воздействия проводят визуальный осмотр баллона.

7.16.3 После проведения полного комплекса климатических испытаний проверяют герметичность баллона по 7.8.

7.16.4 Результат испытания считают положительным, если при визуальном осмотре не обнаружены нарушения целостности наружной поверхности и надписи на ней, видимые деформации, отслоения композитных материалов, коррозия на металлических поверхностях баллона, а при проверке баллона пневматическим давлением установлено, что он герметичен.

7.17 Проверка сохранения баллоном герметичности после пребывания в среде с температурой 200 °С

7.17.1 Баллон с вентилем, заправленный воздухом до давления 3,0 МПа, помещают в камеру тепла с температурой (200 ± 20) °С. Время выдержки баллона в камере должно составлять (60 ± 5) с.

7.17.2 После выдержки баллон извлекают из камеры и проводят проверку его герметичности по 7.8.

7.17.3 Результат испытания считают положительным, если при визуальном осмотре не обнаружена коррозия на металлических поверхностях баллона, а при проверке баллона пневматическим давлением установлено, что он герметичен.

7.18 Проверка сохранения баллоном прочности и герметичности после воздействия открытого пламени

7.18.1 Баллон оборудуется вентилем. Проверяется герметичность баллона по 7.8, и затем давление воздуха полностью сбрасывается.

7.18.2 Испытание баллона должно проводиться на установке, обеспечивающей создание зоны открытого пламени с температурой (800 ± 50) °С, в которую полностью может быть помещен баллон. В качестве источника пламени может быть использовано любое жидкое или газообразное топливо в количестве и с расходом, достаточным для достижения необходимой температуры пламени для испытаний.

7.18.3 Баллон должен размещаться в пламени в вертикальном положении горловиной вниз таким образом, чтобы он был полностью охвачен пламенем. Баллон подводят в зону открытого пламени с температурой (800 ± 50) °С и замеряют время по секундомеру. Время выдержки баллона в зоне пламени должно составлять (15 ± 1) с. По истечении этого времени баллон выводят из зоны пламени. Баллон не должен поддерживать горение не более (5,0 ± 0,2) с.

7.18.4 Проводят проверку прочности баллона пробным давлением по 7.7.

7.18.5 Баллон заправляют воздухом до рабочего давления и проверяют его герметичность по 7.8.

7.18.6 Результат испытания считают положительным, если баллон не разрушился, при визуальном осмотре не обнаружены нарушения целостности наружной поверхности и надписей на ней, а при проверке баллона пробным гидравлическим и рабочим пневматическим давлением установлено, что выполняются требования 4.1.5, 4.1.6.

7.19 Проверка коэффициента запаса прочности металлического, металлокомпозитного баллона по давлению разрушения после внешних воздействий

7.19.1 Проверку проводят на баллоне, который успешно прошел испытания на внешние воздействия по 7.16 - 7.18.

7.19.2 Баллон подвергают гидравлическому испытанию, приводящему к его разрушению. Скорость нагружения при этом должна быть от 0,5 до 1,5 МПа/c. Фиксируют значение давления, при котором разрушился баллон, проводят осмотр баллона и рассчитывают коэффициент запаса его прочности.

7.19.3 Результат испытания считают положительным, если при осмотре баллона установлено, что разрушение его было безосколочным, а фактическое значение коэффициента запаса прочности по давлению разрушения соответствует требованиям 4.4.3.

7.20 Проверка газопроницаемости, прочности и герметичности композитного баллона после внешних воздействий

7.20.1 Проверку проводят на баллоне, который успешно прошел испытания на внешние воздействия по 7.16 - 7.18.

7.20.2 Баллон подвергают испытанию гидравлическим давлением, создавая 1000 циклов нагружения от 1,0 МПа (10 кгс/см2) до рабочего давления с частотой не более 10 циклов в 1 мин. Затем баллон просушивают и взвешивают.

7.20.3 Баллон заправляют воздухом до создания рабочего давления и вновь взвешивают. Приведенная погрешность измерения при взвешивании не должна превышать ± 0,5 %. Затем баллон взвешивается через 15, 30 и 45 сут.

7.20.4 Испытанный баллон доводится до разрушения внутренним гидравлическим давлением.

7.20.5 Результат испытаний считается положительным, если скорость потери массы не превышает 0,25 мл/ч на 1 л вместимости баллона, фактическое значение коэффициента запаса прочности по давлению разрушения соответствует требованиям 4.4.3, а разрушение баллона безосколочное.

7.21 Проверка устойчивости баллона к осколочному разрушению при пробитии его пулей

7.21.1 Баллон заполняют воздухом или азотом до рабочего давления, размещают и закрепляют таким образом, чтобы при выстреле пуля могла выйти через противоположную стенку баллона. Баллон подвергают воздействию бронебойной пули калибра 7,62 мм (9 г) со скоростью (850 ± 50) м/с. Выстрел должен быть произведен из нарезного оружия с расстояния не более 45 м.

7.21.2 Результат испытания считают положительным, если в результате осмотра баллона установлено, что не произошло его осколочное разрушение, независимо от того, прошла пуля через баллон или нет.

Библиография

[1]

СТП 2082-594-05 Методы обезжиривания оборудования. Общие требования к технологическим процессам

 

Ключевые слова: пожарная техника, баллон, лейнер, композиционный материал, пробное давление, давление разрушения, дыхательный аппарат со сжатым воздухом, средство индивидуальной защиты органов дыхания, самоспасатель со сжатым воздухом, безосколочное разрушение баллона, общие технические требования, методы испытаний