МЕЖГОСУДАРСТВЕННЫЙ СОВЕТ ПО СТАНДАРТИЗАЦИИ,
МЕТРОЛОГИИ И СЕРТИФИКАЦИИ
(МГС)
INTERSTATE COUNCIL FOR STANDARDIZATION, METROLOGY AND CERTIFICATION
(ISC)
|
МЕЖГОСУДАРСТВЕННЫЙ |
ГОСТ |
КРОНШТЕЙНЫ ДЛЯ УМЫВАЛЬНИКОВ И МОЕК
Технические условия
|
|
Москва Стандартинформ 2019 |
Предисловие
Цели, основные принципы и основной порядок проведения работ по межгосударственной стандартизации установлены ГОСТ 1.0 «Межгосударственная система стандартизации. Основные положения» и ГОСТ 1.2 «Межгосударственная система стандартизации. Стандарты межгосударственные, правила и рекомендации по межгосударственной стандартизации. Правила разработки, принятия, обновления и отмены»
Сведения о стандарте
1 РАЗРАБОТАН Акционерным обществом «Центр методологии нормирования и стандартизации в строительстве» (АО «ЦНС»)
2 ВНЕСЕН Федеральным агентством по техническому регулированию и метрологии
3 ПРИНЯТ Межгосударственной научно-технической комиссией по стандартизации, техническому нормированию и сертификации в строительстве (протокол от 29 марта 2019 г. № 117-П)
За принятие проголосовали:
|
Краткое
наименование страны |
Код страны
по |
Сокращенное
наименование национального |
|
Беларусь |
BY |
Госстандарт Республики Беларусь |
|
Киргизия |
KG |
Кыргызстандарт |
|
Россия |
RU |
Росстандарт |
|
Таджикистан |
TJ |
Таджикстандарт |
|
Узбекистан |
UZ |
Узстандарт |
4 Приказом Федерального агентства по техническому регулированию и метрологии от 31 октября 2019 г. № 846-ст межгосударственный стандарт ГОСТ 1153-2019 введен в действие в качестве национального стандарта Российской Федерации с 1 июня 2020 г.
5 ВЗАМЕН ГОСТ 1153-76
Информация о введении в действие (прекращении действия) настоящего стандарта и изменений к нему на территории указанных выше государств публикуется в указателях национальных стандартов, издаваемых в этих государствах, а также в сети Интернет на сайтах соответствующих национальных органов по стандартизации.
В случае пересмотра, измерения или отмены настоящего стандарта соответствующая информация будет опубликована на официальном интернет-сайте Межгосударственного совета по стандартизации, метрологии и сертификации в каталоге «Межгосударственные стандарты»
ГОСТ 1153-2019
МЕЖГОСУДАРСТВЕННЫЙ СТАНДАРТ
КРОНШТЕЙНЫ ДЛЯ УМЫВАЛЬНИКОВ И МОЕК
Технические условия
Brackets for wash-hand basins and sinks. Specifications
Дата введения - 2020-06-01
Настоящий стандарт распространяется на чугунные и стальные кронштейны, предназначенные для крепления керамических умывальников и чугунных моек к стенам в зданиях различного назначения.
В настоящем стандарте использованы нормативные ссылки на следующие межгосударственные стандарты:
ГОСТ 2.601 Единая система конструкторской документации. Эксплуатационные документы
ГОСТ 9.104 Единая система защиты от коррозии и старения. Покрытия лакокрасочные. Группы условий эксплуатации
ГОСТ 17.2.3.02 Правила установления допустимых выбросов загрязняющих веществ промышленными предприятиями
ГОСТ 166 (ИСО 3599-76) Штангенциркули. Технические условия
ГОСТ 380 Сталь углеродистая обыкновенного качества. Марки
ГОСТ 427 Линейки измерительные металлические. Технические условия
ГОСТ 1144 Шурупы с полукруглой головкой. Конструкция и размеры
ГОСТ 1412 Чугун с пластинчатым графитом для отливок. Марки
ГОСТ 1759.0 Болты, винты, шпильки и гайки. Технические условия
ГОСТ 2226 Мешки из бумаги и комбинированных материалов. Общие технические условия
ГОСТ 2991 Ящики дощатые неразборные для грузов массой до 500 кг. Общие технические условия
ГОСТ 5496 Трубки резиновые технические. Технические условия
ГОСТ 7338 Пластины резиновые и резинотканевые. Технические условия
ГОСТ 10905 Плиты поверочные и разметочные. Технические условия
ГОСТ 12082 Обрешетки дощатые для грузов массой до 500 кг. Общие технические условия
ГОСТ 14192 Маркировка грузов
ГОСТ 15150 Машины, приборы и другие технические изделия. Исполнения для различных климатических районов. Категории, условия эксплуатации, хранения и транспортирования в части воздействия климатических факторов внешней среды
ГОСТ 15846 Продукция, отправляемая в районы Крайнего Севера и приравненные к ним местности. Упаковка, маркировка, транспортирование и хранение
ГОСТ 16093 (ИСО 965-1:1998, ИСО 965-3:1998) Основные нормы взаимозаменяемости. Резьба метрическая. Допуски. Посадки с зазором
ГОСТ 16338 Полиэтилен низкого давления. Технические условия
ГОСТ 16523 Прокат тонколистовой из углеродистой стали качественной и обыкновенного качества общего назначения. Технические условия
ГОСТ 18617 Ящики деревянные для металлических изделий. Технические условия
ГОСТ 24297 Верификация закупленной продукции. Организация проведения и методы контроля
ГОСТ 24405 Эмали силикатные (фритты). Технические условия
ГОСТ 24705-2004 (ИСО 724:1993) Основные нормы взаимозаменяемости. Резьба метрическая. Основные размеры
ГОСТ 26645 Отливки из металлов и сплавов. Допуски размеров, массы и припуски на механическую обработку1)
__________
1) В Российской Федерации действует ГОСТ Р 53464-2009 «Отливки из металлов и сплавов. Допуски размеров, массы и припуски на механическую обработку».
ГОСТ 28246 Материалы лакокрасочные. Термины и определения
ГОСТ 33756 Упаковка потребительская полимерная. Общие технические условия
Примечание - При пользовании настоящим стандартом целесообразно проверить действие ссылочных стандартов и классификаторов на официальном интернет-сайте Межгосударственного совета по стандартизации, метрологии и сертификации (www.easc.by) или по указателям национальных стандартов, издаваемым в государствах, указанных в предисловии, или на официальных сайтах соответствующих национальных органов по стандартизации. Если на документ дана недатированная ссылка, то следует использовать документ, действующий на текущий момент, с учетом всех внесенных в него изменений. Если заменен ссылочный документ, на который дана датированная ссылка, то следует использовать указанную версию этого документа. Если после принятия настоящего стандарта в ссылочный документ, на который дана датированная ссылка, внесено изменение, затрагивающее положение, на которое дана ссылка, то это положение применяется без учета данного изменения. Если ссылочный документ отменен без замены, то положение, в котором дана ссылка на него, применяется в части, не затрагивающей эту ссылку.
В настоящем стандарте применены термины по ГОСТ 28246, а также следующие термины с соответствующими определениями:
3.1 выступ: Дефект в виде возвышающегося над поверхностью чугунного кронштейна участка.
3.2 заусенец: Острый в виде гребня выступ на поверхности кронштейна, образовавшийся при резке металла.
3.3 коробление поверхности: Отклонение наружной поверхности кронштейна от требуемых размеров и формы.
3.4 кронштейн: Устройство для крепления умывальников и моек к стенам.
Примечание - В настоящем стандарте рассматриваются чугунные кронштейны, изготовленные из чугуна по ГОСТ 1412, и стальные кронштейны, изготовленные из проката стали по ГОСТ 16523.
3.5 партия: Число изделий одного типа, изготовленных из одной марки сырья, по одной и той же технологической документации, одновременно предъявляемых на приемку, но не более сменной выработки.
3.6 подтек: Местное утолщение лакокрасочного покрытия, имеющее форму застывшей струи.
3.7 пузырь: Небольшое полое вздутие лакокрасочного покрытия без обнажения металла кронштейна.
4.1 Кронштейны следует изготавливать следующих типов:
- КрУОБ - кронштейн чугунный для умывальника открытый, большой;
- КрУОМ - кронштейн чугунный для умывальника открытый, малый;
- КрУСБ - кронштейн чугунный для умывальника скрытый, большой;
- КрУСМ - кронштейн чугунный для умывальника скрытый, малый;
- КрУСтБ - кронштейн стальной для умывальника, большой;
- КрУСтМ - кронштейн стальной для умывальника, малый;
- КрМБ - кронштейн чугунный для мойки, большой;
- КрММ - кронштейн чугунный для мойки, малый.
4.2 Основные размеры кронштейнов должны соответствовать указанным на рисунках 1 - 5 и в таблицах 1 - 3.
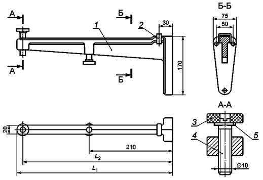
1 - кронштейн; 2 - прокладка; 3 - трубка; 4 – прокладка
Рисунок 1 - Кронштейны чугунные для умывальников открытые
Таблица 1 - Кронштейны чугунные для умывальников открытые
В миллиметрах
|
Тип кронштейна |
L1 |
L2 |
L3 |
L4 |
|
КрУОБ |
≥340 |
320 |
90 |
130 |
|
КрУОМ |
≥255 |
235 |
60 |
100 |

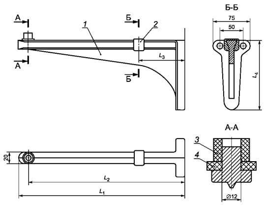
1 - кронштейн; 2 - прокладка; 3 - прокладка; 4 - винт регулировочный; 5 - шайба
Рисунок 2 - Кронштейны чугунные для умывальников скрытые
Таблица 2 - Кронштейны чугунные для умывальников скрытые
В миллиметрах
|
Тип кронштейна |
L1 |
L2 |
|
КрУСБ |
≥390 |
375 |
|
КрУСМ |
≥330 |
315 |

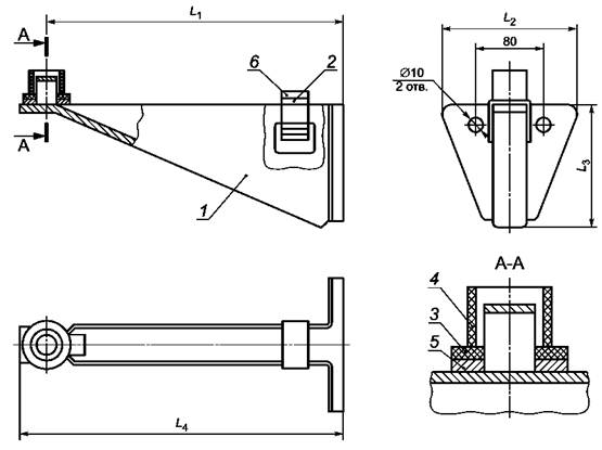
Рисунок 3 - Кронштейн чугунный для мойки, большой

Рисунок 4 - Кронштейн чугунный для мойки, малый
|
Примечание - Допускается отверстия в кронштейне диаметром 10 мм выполнять по требованию заказчика |
1 - кронштейн; 2 - скобка; 3 - прокладка; 4 - трубка; 5 - шайба; 6 – прокладка
Рисунок 5 - Кронштейны стальные для умывальников
Таблица 3 - Кронштейны стальные для умывальников
В миллиметрах
|
Тип кронштейна |
L1 |
L2 |
L3 |
L4 |
|
КрУСтБ |
≥320 |
130 |
≈110 |
335 |
|
КрУСтМ |
≥235 |
130 |
≈80 |
250 |
4.3 Условное обозначение кронштейна при заказе и в технической документации должно состоять из обозначения типа кронштейна и обозначения настоящего стандарта.
Примеры условных обозначений:
кронштейн чугунный, открытый, большой для умывальника
КрУОБ ГОСТ 1153-2019
кронштейн чугунный малый для мойки
КрММ ГОСТ 1153-2019
кронштейн стальной малый для умывальника
КрУСтМ ГОСТ 1153-2019
5.1 Основные характеристики
5.1.1 Кронштейны следует изготавливать в соответствии с требованиями настоящего стандарта по рабочим чертежам, утвержденным в установленном порядке.
5.1.2 На поверхности чугунных кронштейнов, прилегающей к стене, не допускаются выступы, создающие неустойчивое положение кронштейна при креплении его к стене.
5.1.3 Погнутость стальных кронштейнов и наличие заусенцев на их наружной поверхности не допускаются; коробление поверхности, прилегающей к стене, не должно быть более 2 мм.
5.1.4 Основные размеры метрической резьбы на деталях крепления чугунных кронштейнов должны соответствовать требованиям ГОСТ 24705, а поля допусков на нее - ГОСТ 16093.
Резьба должна быть чистой и не иметь поврежденных ниток.
5.1.5 Кронштейны должны быть окрашены водостойкими красками белого цвета или светлых тонов, соответствующих эталонам-образцам, по предварительно огрунтованной поверхности или покрыты стекловидными (силикатными) эмалями по ГОСТ 24405 светлых тонов.
Окрашенные поверхности не должны иметь подтеков, пузырей, отлипов и не покрытых краской мест.
Эмалевое покрытие должно иметь ровную, гладкую и блестящую поверхность и быть прочно сцепленным с металлом кронштейна.
Наружные поверхности чугунных кронштейнов должны иметь лакокрасочное покрытие, соответствующее условиям эксплуатации не ниже УХЛ4 по ГОСТ 9.104.
Лакокрасочное покрытие чугунных кронштейнов должно быть сплошным, прочно сцепленным с поверхностью металла кронштейна.
5.1.6 Предельные отклонения основных размеров чугунных кронштейнов должны соответствовать указанным в ГОСТ 26645 для отливок 11-го класса точности.
5.1.7 Кронштейны следует изготавливать в климатическом исполнении УХЛ, категории размещения 4.2 по ГОСТ 15150.
5.2 Требования к материалам
5.2.1 Чугунные кронштейны следует отливать из серого чугуна марок не ниже СЧ10 по ГОСТ 1412.
5.2.2 Для изготовления стальных кронштейнов следует применять листовую сталь по ГОСТ 16523.
5.2.3 Для изготовления регулировочных винтов следует применять углеродистую сталь марки Ст3 по ГОСТ 380.
5.2.4 Для изготовления прокладок следует применять листовую мягкую резину по ГОСТ 7338, резиновую трубку по ГОСТ 5496, полиэтилен низкого давления по ГОСТ 16338.
5.3 Комплектность
5.3.1 Кронштейны должны поставляться потребителю комплектно.
5.3.2 В состав комплекта открытых чугунных кронштейнов входят:
- два кронштейна;
- четыре или шесть стальных шурупов 8×70 или 6×70 по ГОСТ 1144 с хроматированным кадмиевым или цинковым покрытием по ГОСТ 1759.0;
- прокладки.
В комплект скрытых кронштейнов дополнительно входят два регулировочных винта с прокладками.
5.3.3 Каждая партия кронштейнов должна сопровождаться паспортом, в котором указывают:
- наименование кронштейна;
- наименование предприятия-изготовителя, его товарный знак и адрес;
- наименование страны-изготовителя;
- условное обозначение кронштейна;
- комплектность;
- срок службы и гарантия предприятия-изготовителя;
- дата выпуска или отгрузки;
- обозначение настоящего стандарта;
- штриховой код изготовленного кронштейна.
5.3.4 Стальные кронштейны поставляют с прокладками.
5.3.5 Допускается совмещать паспорт с инструкцией по монтажу и эксплуатации.
5.4 Маркировка
5.4.1 На наружной поверхности кронштейна должны быть указаны:
- наименование предприятия-изготовителя или его товарный знак;
- наименование страны-изготовителя;
- дата изготовления кронштейна.
5.4.2 Маркировка должна быть прочной, сохраняться в течение всего срока службы кронштейна.
5.4.3 Место и способ нанесения маркировки определяет предприятие-изготовитель.
5.4.4 При маркировке кронштейна должны быть соблюдены требования нормативных документов государств, проголосовавших за принятие настоящего стандарта и устанавливающих порядок маркирования продукции информацией на государственном языке.
5.4.5 Упакованные изделия должны иметь транспортную маркировку в соответствии с ГОСТ 14192.
5.4.6 На ящиках с кронштейнами несмываемой краской или на этикетке, наклеенной на ящик влагостойким клеем, должно быть указано:
- наименование предприятия-изготовителя;
- условное обозначение типа кронштейнов;
- число кронштейнов в ящике;
- масса брутто ящика, кг;
- год и месяц изготовления.
На бумажных мешках и пакетах с комплектующими деталями должно быть указано: «Комплектующие детали для кронштейнов типа...»
5.5 Упаковка
5.5.1 При поставке кронштейнов в торговую сеть их поштучно упаковывают. Упаковка должна обеспечивать сохранность изделий при транспортировании и хранении.
5.5.2 Для транспортирования кронштейны должны быть упакованы в деревянные решетчатые ящики по ГОСТ 12082, ГОСТ 2991, ГОСТ 18617 или в другие средства упаковки по ГОСТ 33756, обеспечивающие сохранность кронштейнов при транспортировании и хранении.
Масса брутто ящика не должна превышать 50 кг.
5.5.3 Детали крепления кронштейнов и прокладки укладывают в бумажные мешки по ГОСТ 2226 или завертывают в бумагу в виде пакетов. Допускается упаковка иного вида, которая должна обеспечивать сохранность изделий при транспортировании и хранении.
Пакеты допускается укладывать в ящики с кронштейнами.
5.6 Требования безопасности и охрана окружающей среды
5.6.1 Кронштейны не являются токсичным материалом и невзрывоопасны при производстве.
5.6.2 Использование кронштейнов не требует специальных мер предосторожности.
5.6.3 С целью охраны атмосферного воздуха от загрязнений выбросами паров должен быть организован контроль процесса производства в соответствии с ГОСТ 17.2.3.02.
6.1 Кронштейны поставляют партиями. Размер партии может устанавливаться соглашением между предприятием-изготовителем и потребителем. В партии должны быть кронштейны одного типа.
6.2 Отгрузку изготовленных кронштейнов допускается осуществлять только после подтверждения при приемо-сдаточных испытаниях по 6.2.1 - 6.2.3 соответствия партии кронштейнов требованиям настоящего стандарта.
6.2.1 Кронштейны на приемо-сдаточные испытания следует предъявлять партиями. Допускается поштучная приемка кронштейнов.
6.2.2 При приемо-сдаточных испытаниях следует проверять:
- на соответствие требованиям 5.1.2 и 5.1.5 - каждый кронштейн в партии;
- на соответствие требованиям 5.1.3 - 5 % кронштейнов, но не менее пяти комплектов, которые отбирают из партии методом случайного отбора.
6.2.3 Если при приемо-сдаточных испытаниях хотя бы один кронштейн не будет соответствовать требованиям настоящего стандарта, то необходимо провести повторную проверку по этому показателю удвоенного количества кронштейнов, взятых из той же партии. В случае неудовлетворительных результатов повторной проверки партия кронштейнов приемке не подлежит.
6.2.4 Оформление результатов приемо-сдаточных испытаний и порядок допуска кронштейнов к отгрузке устанавливаются внутренними документами предприятия-изготовителя.
6.3 Не реже одного раза в год следует проводить периодические испытания кронштейнов на соответствие требованиям 4.2 и раздела 5. Проверке подвергают не менее трех комплектов кронштейнов, прошедших приемо-сдаточные испытания.
6.4 При постановке продукции на производство, внесении изменений в конструкцию кронштейнов, технологию их изготовления или при изменении сырья, которые могут повлиять на технические и эксплуатационные характеристики кронштейнов, следует провести типовые испытания не менее пяти комплектов кронштейнов на соответствие требованиям раздела 5.
6.5 Критерии оценки и оформления результатов периодических и типовых испытаний устанавливают по 6.2.3 и 6.2.4.
7.1 Проверку размеров кронштейнов и их деталей на соответствие требованиям 4.2 и 5.1.6 следует выполнять прямыми измерениями линейкой измерительной металлической по ГОСТ 427 или штангенциркулем по ГОСТ 166. Допускается применение специальных шаблонов, обеспечивающих оперативное выполнение проверок с необходимой достоверностью.
7.2 При проверке резьбы деталей кронштейнов на соответствие требованиям 5.1.4 следует использовать резьбовые предельные калибры.
7.3 Отсутствие острых кромок и заусенцев (см. 5.1.3) определяют визуально1) и прощупыванием краев отверстия ребром пластмассовой пластинки.
__________
1) В Российской Федерации визуальный контроль выполняют по ГОСТ Р ЕН 13018-2014 «Контроль визуальный. Общие положения».
7.4 Коробление поверхности кронштейна, прилегающей к стене, на соответствие 5.1.3 проверяют на контрольной плите по ГОСТ 10905 с помощью щупа.
7.5 Проверку кронштейнов на соответствие требованиям 5.1.5 (в части сплошности лакокрасочного покрытия, отсутствия подтеков, пузырей, отлипов) проводят визуально с расстояния 0,7 м, без применения увеличительных приборов, при естественном или искусственном освещении, освещенностью не менее 200 лк, сравнением внешнего вида и качества поверхностей проверяемых кронштейнов с образцами-эталонами.
7.6 Проверку прочности сцепления лакокрасочного покрытия с поверхностью металла кронштейна (см. 5.1.5) проверяют простукиванием кронштейна деревянным молотком массой 300 г. Если при простукивании не слышно дребезжащего звука, а эмаль не откалывается, то эмалевое покрытие имеет прочное сцепление с поверхностью металла кронштейна.
7.7 При изготовлении кронштейнов следует проводить по ГОСТ 24297 верификацию каждой поступающей для их изготовления партии материала (сырья) на соответствие требованиям 5.2.
8.1 Транспортирование кронштейнов следует осуществлять транспортными средствами любого вида согласно правилам перевозки грузов, действующих на каждом виде транспорта.
8.2 Кронштейны следует хранить в сухих закрытых помещениях или под навесом, предохраняющим их от воздействия атмосферных осадков, рассортированными по типам. Условия транспортирования и хранения кронштейнов в части воздействия климатических факторов должны соответствовать условиям хранения 2 (С) по ГОСТ 15150.
8.3 В районы Крайнего Севера и приравненные к ним местности кронштейны следует поставлять в соответствии с требованиями ГОСТ 15846.
8.4 При транспортировании, погрузочно-разгрузочных работах должна быть предусмотрена возможность пакетирования, исключающая механическое повреждение кронштейнов.
Требования к монтажу и эксплуатации кронштейнов указывают в руководстве по эксплуатации, оформляемом по ГОСТ 2.601.
10.1 Предприятия-изготовители в соответствии с нормативными документами государств, проголосовавших за принятие настоящего стандарта, устанавливают гарантийные обязательства (в том числе конкретную продолжительность и порядок исчисления гарантийного срока) о соответствии выпускаемых ими кронштейнов требованиям настоящего стандарта в технических условиях на кронштейны, эксплуатационных документах к ним или специально оговаривают в договорах (контрактах) на их поставку.
10.2 Установление гарантийного срока эксплуатации комплектующих изделий кронштейна (см. 5.3.1) рекомендуется устанавливать равным гарантийному сроку на кронштейн.
Ключевые слова: кронштейны, умывальники; мойки; технические условия