Automobile roads of general use. Mineral materials. Methods of sampling of mineral powder

ФЕДЕРАЛЬНОЕ АГЕНЬСТВО

ПО ТЕХНИЧЕСКОМУ РЕГУЛИРОВАНИЮ И МЕТРОЛОГИИ

НАЦИОНАЛЬНЫЙ
СТАНДАРТ
РОССИЙСКОЙ
ФЕДЕРАЦИИ

ГОСТ Р
58407.3-
2020

Дороги автомобильные общего пользования

МАТЕРИАЛЫ МИНЕРАЛЬНЫЕ

Методы отбора проб минерального порошка

 

Москва

Стандартинформ

2020

 

Предисловие

1 РАЗРАБОТАН Обществом с ограниченной ответственностью «Инновационный технический центр» (ООО «ИТЦ»)

2 ВНЕСЕН Техническим комитетом по стандартизации № 418 «Дорожное хозяйство»

3 УТВЕРЖДЕН И ВВЕДЕН В ДЕЙСТВИЕ Приказом Федерального агентства по техническому регулированию и метрологии от 17 марта 2020 г. № 140-ст

4 ВВЕДЕН ВПЕРВЫЕ

Правила применения настоящего стандарта установлены в статье 26 Федерального закона от 29 июня 2015 г. № 162-ФЗ «О стандартизации в Российской Федерации». Информация об изменениях к настоящему стандарту публикуется в ежегодном (по состоянию на 1 января текущего года) информационном указателе «Национальные стандарты», а официальный текст изменений и поправок - в ежемесячном информационном указателе «Национальные стандарты». В случае пересмотра (замены) или отмены настоящего стандарта соответствующее уведомление будет опубликовано в ближайшем выпуске ежемесячного информационного указателя «Национальные стандарты». Соответствующая информация, уведомление и тексты размещаются также в информационной системе общего пользования - на официальном сайте Федерального агентства по техническому регулированию и метрологии в сети Интернет (www.gost.ru)

 

Содержание

1 Область применения. 2

2 Нормативные ссылки. 2

3 Термины и определения. 3

4 Оборудование для отбора проб. 3

5 Методы отбора проб. 4

5.1 Общие положения. 4

5.2 Отбор проб из накопительного бункера. 5

5.3 Отбор проб из цементовозов и вагонов-цементовозов. 5

5.4 Отбор проб из упакованного материала. 5

6 Требования безопасности. 6

7 Требования к упаковке, транспортированию и хранению отобранных проб. 7

8 Требования к оформлению результатов отбора проб. 7

Приложение А (обязательное) Методы сокращения проб. 7

Приложение Б (обязательное) Определение коэффициента вариации. 8

 

 

НАЦИОНАЛЬНЫЙ СТАНДАРТ РОССИЙСКОЙ ФЕДЕРАЦИИ

Дороги автомобильные общего пользования

МАТЕРИАЛЫ МИНЕРАЛЬНЫЕ

Методы отбора проб минерального порошка

Automobile roads of general use. Mineral materials. Methods of sampling of mineral powder

Дата введения - 2020-05-01

1 Область применения

Настоящий стандарт распространяется на минеральный порошок для приготовления асфальтобетонных и органоминеральных смесей, предназначенных для проведения работ на автомобильных дорогах общего пользования, и устанавливает методы отбора проб минерального порошка для лабораторных испытаний.

2 Нормативные ссылки

В настоящем стандарте использованы нормативные ссылки на следующие стандарты:

ГОСТ 12.4.131 Халаты женские. Технические условия

ГОСТ 12.4.132 Халаты мужские. Технические условия

ГОСТ 12.4.252 Система стандартов безопасности труда. Средства индивидуальной защиты рук. Перчатки. Общие технические требования. Методы испытаний

ГОСТ 12.4.280 Система стандартов безопасности труда. Одежда специальная для защиты от общих производственных загрязнений и механических воздействий. Общие технические требования

ГОСТ 19596 Лопаты. Технические условия

ГОСТ 28846 Перчатки и рукавицы. Общие технические условия

Примечание - При пользовании настоящим стандартом целесообразно проверить действие ссылочных стандартов в информационной системе общего пользования - на официальном сайте Федерального агентства по техническому регулированию и метрологии в сети Интернет или по ежегодному информационному указателю «Национальные стандарты», который опубликован по состоянию на 1 января текущего года, и по выпускам информационного указателя «Национальные стандарты» за текущий год. Если заменен ссылочный стандарт, на который дана недатированная ссылка, то рекомендуется использовать действующую версию этого стандарта с учетом всех внесенных в данную версию изменений. Если заменен ссылочный стандарт, на который дана датированная ссылка, то рекомендуется использовать версию этого стандарта с указанным выше годом утверждения (принятия). Если после утверждения национального стандарта в ссылочный стандарт, на который дана датированная ссылка, внесено изменение, затрагивающее положение, на которое дана ссылка, то это положение рекомендуется применять без учета данного изменения. Если ссылочный стандарт отменен без замены, то положение, в котором дана ссылка на него, рекомендуется применять в части, не затрагивающей эту ссылку.

3 Термины и определения

В настоящем стандарте применены следующие термины с соответствующими определениями:

3.1

минеральный порошок: Материал, полученный путем помола карбонатных или некарбонатных горных пород, либо из твердых отходов промышленного производства, в том числе не требующих измельчения.

[ГОСТ 32761-2014, пункт 3.1]

3.2 партия: Количество минерального порошка одной марки, выпущенное в течение суток и/или отгружаемое одному потребителю в течение суток.

3.3

проба: Определенное количество минерального порошка, отобранное для испытаний из партии.

[ГОСТ 32761-2014, пункт 3.9]

3.4

точечная проба: Проба минерального порошка, взятая в одной точке массой не менее 500 г при интервале отбора в 1 ч или в одном месте из партии для формирования объединенной пробы.

[ГОСТ 32761-2014, пункт 3.10]

3.5

объединенная проба: Проба минерального порошка, состоящая из точечных проб (не менее пяти) и характеризующая партию в целом.

[ГОСТ 32761-2014, пункт 3.11]

3.6

лабораторная проба: Проба минерального порошка, полученная методом квартования из объединенной пробы и предназначенная для всех лабораторных испытаний.

[ГОСТ 32761-2014, пункт 3.12]

3.7

постоянная масса: Масса, определяемая по результатам последовательно проводимых взвешиваний после высушивания при температуре (110 ± 5) °С через равные промежутки времени, но не менее 1 ч, которая изменяется не более чем на 0,1 %.

[ГОСТ 32761-2014, пункт 3.13]

4 Оборудование для отбора проб

При отборе проб минерального порошка, в зависимости от метода отбора, следует использовать следующие средства измерений, оборудование и вспомогательные приспособления:

4.1 Весы, обеспечивающие измерение массы пробы с относительной погрешностью не более 1 % от определяемой величины.

Примечание - Для определения минимальной массы точечных проб допускается применять емкости с предварительно установленным внутренним объемом.

4.2 Лопата типа ЛР, ЛСЗ или ЛСП по ГОСТ 19596.

4.3 Совок С-образного сечения.

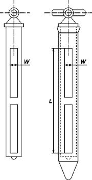
4.4 Пробоотборная трубка. Схема пробоотборной трубки представлена на рисунке 1.

Рисунок 1 - Схема пробоотборной трубки

Пробоотборная трубка состоит из двух металлических труб, вставляемых одна в другую. Трубки на протяжении рабочей длины (L) имеют не менее двух отверстий прямоугольной формы. Рабочая длина L должна составлять не менее 600 мм. Ширина прямоугольных отверстий (W) должна быть не менее 24 мм. Толщина стенок труб не должна допускать их деформаций в процессе отбора проб минерального порошка. Пробу отбирают при погружении пробоотборной трубки в материал путем кручения внутренней трубы вокруг продольной оси.

5 Методы отбора проб

5.1 Общие положения

5.1.1 Пробы отбирают с целью проведения приемочного контроля на предприятии-изготовителе, входного контроля на предприятии-потребителе, а также для определения физико-механических свойств минерального порошка для иных целей.

5.1.2 Если в правилах приемки конкретного вида продукции не предусмотрен иной порядок отбора проб, то при приемочном контроле на предприятии-изготовителе отбирают точечные пробы, из которых путем смешивания получают одну объединенную пробу от сменной выработки каждой технологической линии. Количество точечных проб для формирования объединенной пробы должно быть не менее пяти.

5.1.3 Места отбора и способ отбора проб выбирают для каждого предприятия в зависимости от условий технологического процесса и соблюдения требований техники безопасности.

5.1.4 Из отобранных точечных проб составляют объединенную пробу. Масса объединенной пробы должна составлять не менее 7 кг.

Формирование лабораторной пробы из объединенной пробы допускается проводить на месте отбора проб. Масса лабораторной пробы должна быть достаточной для проведения всех необходимых испытаний.

Сокращение проб осуществляют в соответствии с приложением A.

5.2 Отбор проб из накопительного бункера

5.2.1 Отбор точечных проб начинают не ранее, чем через 30 мин и не позднее 1 ч после начала выпуска минерального порошка и далее через каждый час в течение смены. Из расходного (накопительного) бункера точечные пробы минерального порошка отбирают с помощью совка С-образного сечения. Масса точечной пробы при интервале отбора в 1 ч должна быть не менее 500 г.

5.2.2 Интервал отбора точечных проб может быть увеличен, если предприятие выпускает продукцию стабильного качества (но не менее пяти точечных проб). Для установления допустимого интервала отбора проб ежеквартально определяют коэффициент вариации значений показателей зернового состава в течение смены. Для определения коэффициента вариации данных показателей в течение смены через каждые 15 мин отбирают точечные пробы массой не менее 500 г. По каждой точечной пробе определяют зерновой состав (полный остаток на сите с размером ячеек 0,125 мм). Далее определяют среднеарифметическое значение показателя и коэффициента вариации показателя в соответствии с приложением Б.

В зависимости от полученного максимального значения коэффициента вариации принимают следующие интервалы отбора точечных проб в течение смены:

- (180 ± 5) мин, при коэффициенте вариации до 10 %;

- (120 ± 5) мин, при коэффициенте вариации от 10 % до 15 %.

5.2.3 При увеличении интервала отбора массу точечной пробы следует увеличивать.

Отобранные точечные пробы объединяют и тщательно перемешивают.

5.3 Отбор проб из цементовозов и вагонов-цементовозов

5.3.1 Для проверки качества минерального порошка, отгружаемого цементовозами, отбирают не менее пяти точечных проб при разгрузке каждого цементовоза. Отбор точечных проб из цементовозов проводят с применением совка, лопаты или пробоотборной трубки. При применении пробоотборной трубки, трубку погружают в материал вертикально на глубину равную ее длине. Вращают трубки, входящие в состав пробоотборной трубки, вследствие чего материал попадает в пробоотборную трубку. Отобранные точечные пробы объединяют и тщательно перемешивают.

5.3.2 Для проверки качества минерального порошка, поставляемого железнодорожным транспортом в вагонах-цементовозах, при разгрузке вагона через равные интервалы времени отбирают не менее пяти точечных проб, при этом выбор вагона осуществляют методом случайного отбора. Отбор точечных проб из вагонов проводят с применением совка, лопаты или пробоотборной трубки. Отобранные точечные пробы объединяют и тщательно перемешивают.

5.4 Отбор проб из упакованного материала

5.4.1 При отборе проб из упакованного материала объединенную пробу составляют из случайно выбранных емкостей, в которые упакован материал, или отбирают из этих емкостей точечные пробы с помощью совка или пробоотборной трубки.

5.4.2 При применении совка отбор проб необходимо проводить из лунки глубиной не менее 10 см (рисунок 2).

Рисунок 2 - Отбор точечных проб совком из упакованного материала

5.4.3 При применении пробоотборной трубки, трубку погружают в материал вертикально на максимально возможную глубину (рисунок 3). Вращают трубки, входящие в состав пробоотборной трубки, вследствие чего материал попадает в пробоотборную трубку.

Рисунок 3 - Отбор точечных проб пробоотборной трубкой из упакованного материала

5.4.4 Отобранные точечные пробы объединяют и тщательно перемешивают.

6 Требования безопасности

6.1 Лица, занятые при отборе проб щебня, должны быть обеспечены средствами индивидуальной защиты, в том числе костюмами по ГОСТ 12.4.280, халатами по ГОСТ 12.4.131 и ГОСТ 12.4.132, рукавицами по ГОСТ 28846, перчатками по ГОСТ Р 12.4.252 или в соответствии с иными нормативными документами.

6.2 К проведению работ в соответствии с настоящим стандартом допускаются лица, прошедшие инструктаж по технике безопасности.

7 Требования к упаковке, транспортированию и хранению отобранных проб

7.1 Отобранные пробы упаковывают таким образом, чтобы исключить потерю материала при транспортировке и сохранить свойства материала до проведения испытаний.

7.2 Каждую объединенную пробу снабжают двумя этикетками с обозначением этой пробы: одну этикетку помещают внутрь упаковки, другую закрепляют на видном месте упаковки. При транспортировании объединенной пробы следует обеспечить сохранность упаковки и этикеток от механического повреждения и намокания. Срок хранения объединенной пробы - не менее 3 мес.

8 Требования к оформлению результатов отбора проб

При отборе проб необходимо документальное сопровождение в виде акта отбора проб. Акт отбора проб включает в себя следующую информацию:

- номер акта и дату отбора проб;

- место отбора проб;

- наименование изготовителя (если применимо);

- наименование материала;

- наименование нормативного документа в соответствии с которым производился отбор проб;

- метод отбора;

- количество отобранных образцов (масса пробы);

- цель отбора;

- наименование организации, в которой проводился отбор проб (если применимо);

- подписи представителей организации, в которой проводился отбор проб (если применимо);

- подписи представителей организации, которая проводила отбор проб;

- другая необходимая информация.

Приложение А
(обязательное)
Методы сокращения проб

А.1 Сокращение пробы методом квартования

На подготовленной чистой поверхности пробу материала тщательно перемешивают, образовывают из нее конус и перебрасывают в новый конус. Данный процесс повторяют три раза. При образовании конуса материал помещают на вершину нового конуса таким образом, чтобы он мог стекать с вершины конуса на все стороны и равномерно распределяться, в результате чего обеспечивалось перемешивание частиц различной крупности. Третий, последний конус разравнивают до момента, пока его толщина и диаметр не станут одинаковыми.

Затем пробу делят на четыре части двумя перпендикулярно пересекающимися между собой в центре диагоналями. Две противоположенные четверти удаляют, а две оставшиеся соединяют вместе (рисунок А.1).

Рисунок А.1 - Схема деления проб методом квартования

Процесс квартования - смешивания и деления на четыре части повторяют до получения необходимого количества материала.

Приложение Б
(обязательное)
Определение коэффициента вариации

Коэффициент вариации KV вычисляют по формуле

Б.1

где Хi - результат испытания i-й точечной пробы;

 - среднеарифметическое значение результатов n испытаний;

n - количество проведенных испытаний.

 

Ключевые слова: минеральный порошок, объединенная проба, точечная проба, отбор проб, лабораторная проба