Изменение № 1 ГОСТ 11446-75 Перфораторы ручные. Хвостовики буровых штанг и гнезда для них. Типы и основные размеры
Утверждено и введено в действие Постановлением Государственного комитета СССР по управлению качеством продукции и стандартам от 03.04.90 № 794
Дата введения 01.01.91
Наименование стандарта изложить в новой редакции: «Перфораторы переносные. Хвостовики буровых штанг и гнезда для них. Типы и размеры
Portable rock drills. Drill rod shanks and chucks. Types and dimensions»
Пункт 1. Заменить слово: «ручных» на «переносных»; исключить ссылку:
«по ГОСТ 10750-73».
Пункт 3. Чертеж 2. Сечение А-А. Исключить размер: d1; дополнить размером: R 1,2 max;
таблицу 1 изложить в новой редакции:
Таблица 1
мм
|
L ±1 |
D ±1 |
d +0,3 -0,6 |
l мин. |
|||
|
Номин. |
Пред. откл. |
|||||
|
хвостовика |
гнезда |
|||||
|
19,2 |
-0,4 |
+0,25 |
108 |
33 |
8,0 |
50 |
|
22,4 |
+0,05 |
|
35 |
9,0 |
70 |
|
|
25,6 |
-0,6 |
|
|
|
|
|
|
|
|
+0,35 +0,05 |
159 |
38 |
9,5 |
|
Пункт 3. Чертежи 3, 4 заменить новыми:
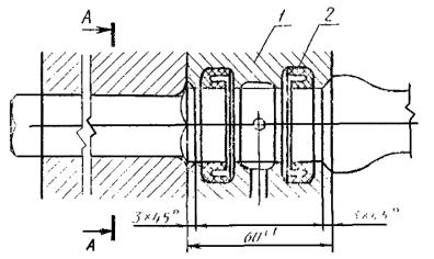
Черт. 3
1 - муфта; 2 - уплотнение
Черт. 4
таблицу 2 изложить в новой редакции:
Таблица 2
мм
|
D ±1 |
d -0,065 -0,195 |
|||
|
Номин. |
Пред. откл. |
|||
|
хвостовика |
гнезда |
|||
|
22,4 |
-0,4 |
+0,25 +0,05 |
35 |
25 |
|
25,6 |
-0,6 |
38 |
30 |
|
(ИУС № 7 1990 г.)