Изменения
и дополнения № 1
ВСН
136-78 (Минтрансстрой) "ИНСТРУКЦИЯ ПО
ПРОЕКТИРОВАНИЮ
ВСПОМОГАТЕЛЬНЫХ СООРУЖЕНИЙ И УСТРОЙСТВ
ДЛЯ СТРОИТЕЛЬСТВА МОСТОВ"
Дата введения 1984-07-01
УТВЕРЖДЕНЫ Главным техническим управлением 10 января 1984 г.
СОГЛАСОВАНЫ Главмосстроем и Главтранспроектом
ПРЕДИСЛОВИЕ
Настоящие Изменения и дополнения к Инструкции по
проектированию вспомогательных сооружений и устройств для строительства мостов,
, разработаны ЦНИИСом совместно с СКВ Главмосгостроя с
учетом опыта применения вышеуказанной Инструкции, изменений некоторых
нормативных документов и изданных в последние годы постановлений Госстроя СССР
в области проектирования объектов строительства. Учтены также дававшиеся ранее
разъяснения ЦНИИСа по применению отдельных пунктов Инструкции и замечания по
ней заинтересованных сторон.
Наиболее существенные изменения и дополнения Инструкции относятся к уточнению указаний по определению рабочего уровня воды; к введению дополнительного коэффициента надежности по назначению; к уточнению формул для проверки устойчивости конструкций против опрокидывания и сдвига; к установлению видов вспомогательных сооружений и устройств, которые следует проектировать по нормам проектирования мостов.
1. Пункт 1.1 изложить в следующей редакции:
"Настоящая Инструкция составлена в развитие глав СНиП III-43-75 "Мосты и трубы", II-6-74 "Нагрузки и воздействия", II-23-81 "Стальные конструкции", II-25-80 "Деревянные конструкции", II-21-75 "Бетонные и железобетонные конструкции" и распространяется на проектирование специальных вспомогательных сооружений, приспособлений, устройств и установок (приложение 1 Инструкции), необходимых для строительства мостов, путепроводов и эстакад во всех строительно-климатических зонах.
При применении настоящей Инструкции следует руководствоваться указаниями главы СНиП III-4-80 "Техника безопасности в строительстве" и действующими в Минтрансстрое "Правилами техники безопасности и производственной санитарии при сооружении мостов и труб".
Настоящая Инструкция не распространяется на проектирование подъемно-транспортного оборудования, входящего в номенклатуру Госгортехнадзора (Котлонадзора)".
2. Пункт 1.2:
абзац первый изложить в следующей редакции:
"1.2. Проектирование специальных вспомогательных сооружений, приспособлений, устройств и установок должно осуществляться при разработке рабочего проекта (в случае необходимости, что должно быть оговорено в задании), а также при разработке проекта и рабочей документации";
в абзаце втором исключить слово "технического";
абзац пятый изложить в следующей редакции:
"В рабочей документации раздел "Специальные вспомогательные сооружения, приспособления, устройства и установки" должен содержать:"
3. Пункт 1.3:
в абзаце первом исключить слово "техническим";
абзац второй изложить в следующей редакции:
"Рабочую документацию вспомогательных сооружений разрабатывают на основе проекта и в соответствии с заданием на проектирование".
4. В абзаце первом пункта 1.8 заменить ГОСТ 9238-73 на ГОСТ 9238-73*.
5. Подпункт "а" пункта 1.10:
исключить слова в скобках: (ледостава) и (уровню ледостава);
дополнить текстом следующего содержания:
"Допускается принимать рабочий уровень воды вероятностью превышения до 50 % при соответствующем технико-экономическом обосновании (когда возможный ущерб от затопления меньше полученного эффекта или предусматривается усиление сооружения в период паводка и т.п.); при этом проектом производства работ должны быть разработаны меры по обеспечению пропуска льда и высокой воды.
При проектировании причалов и плавучих опор, предназначенных для перевозки пролетных строений, надлежит учитывать также наинизший возможный в период перевозки уровень воды вероятностью понижения 10 %".
6. Пункт 1.16:
абзац первый изложить в следующей редакции:
"Расчетные сопротивления материалов при расчетах на прочность и устойчивость следует принимать для деревянных конструкций по главе СНиП II-25-80, для бетонных и железобетонных конструкций по главе СНиП II-21-75 и для стальных конструкций по главе СНиП II-23-81, с учетом указаний п. 6.1а настоящих Изменений. Расчетные сопротивления грунтовых оснований и расчетную несущую способность свай нужно принимать согласно указаниям раздела 7 Инструкции";
в абзаце втором вместо "k" принять "kн";
абзац третий изложить в следующей редакции:
"Значения коэффициентов kн и m принимают по табл. 1 и по указаниям пп. 1.18, 3.77, 6.154, 7.11 (для коэффициента надежности kн) и пп. 1.17, 1.18, 4.42, 4.45, 4.46, 4.47, 4.51, 6.47, 6.164, 7.76, 8.7 (для коэффициента условий работы m) Инструкции с учетом внесенных изменений, а также приложения 16а Изменений.
В неоговоренных случаях коэффициенты kн и m принимают равными 1".
7. Таблица 1 (пункт 1.16):
абзац первый изложить в следующей редакции:
|
Стальные канаты подвесных средств подмащивания |
7 |
|
|
Грузовые и тяговые стальные канаты, применяемые при подъеме, опускании и передвижках грузов и конструкций |
4,5 |
- |
абзац второй изложить в следующей редакции:
|
|
|
|
|
Прочие несущие элементы подвесных средств подмащивания |
1,3 |
- |
в абзаце шестом исключить текст:
|
анкеры пролетных строений и приемных консолей |
2 |
- |
абзац седьмой признать утратившим силу;
примечание 2 изложить в следующей редакции:
"2. Коэффициенты kн и m следует применять совместно с другими коэффициентами, приведенными в разделах 1 и 3 - 10, а также в соответствующих главах СНиП, на которые даны ссылки в разделах 8 - 10".
8. Пункт 1.17 изложить в следующей редакции:
"Устойчивость конструкции против опрокидывания следует рассчитывать по формуле
![]()
где Моп - расчетный момент опрокидывающих сил относительно оси возможного поворота (опрокидывания) конструкции; при опирании конструкции на отдельные свайные опоры ось опрокидывания принимают проходящей через центры крайних свай, а при сплошном опирании - через крайнее нижнее ребро конструкции;
Муд - расчетный момент удерживающих сил относительно той же оси;
m - коэффициент условий работы, принимаемый: для конструкций, опирающихся на отдельные свайные опоры - 0,95; для массивных опор, ряжей и клеток - 0,9; для шпунтовых стенок - согласно табл. 1 и разделу 4;
kн - коэффициент надежности, принимаемый равным 1,0.
Все опрокидывающие силы принимают с коэффициентами перегрузки, большими единицы, а все удерживающие силы - с коэффициентами перегрузки, меньшими единицы".
9. Пункт 1.18 изложить в следующей редакции:
"Устойчивость конструкции против сдвига (скольжения) следует рассчитывать по формуле
![]()
где Тсд - расчетная сдвигающая сила, равная сумме проекций сдвигающих сил на направление возможного сдвига (скольжения);
Туд - расчетная удерживающая сила, равная сумме проекций удерживающих сил на то же направление;
m - коэффициент условий работы, принимаемый равным 0,9;
kн - коэффициент надежности, принимаемый равным 1,1.
Все сдвигающие силы принимают с коэффициентами перегрузки, большими единицы, а все удерживающие силы - с коэффициентами перегрузки, меньшими единицы.
Примечания. 1. В качестве удерживающей горизонтальной силы, создаваемой грунтом, следует принимать его активное давление.
2. Силы трения в основании следует определять по значениям коэффициентов трения подошвы фундамента по грунту, согласно указаниям приложения 9 Инструкции.
При расчете устойчивости наземных якорей следует руководствоваться указаниями п. 3.79 Инструкции".
10. В абзаце четвертом пункта 1.21 строку шестую изложить в следующей редакции:
"металла к металлу, в том числе в сжатых фланцевых стыках - 0,2 мм".
11. Пункт 2.3 дополнить абзацем следующего содержания:
"При проектировании вспомогательных сооружений и устройств, за исключением перечисленных в дополнительном п. 6.1а и подпункте "а" п. 8.2 Изменений, следует учитывать коэффициент надежности по назначению γп, принимаемый равным 0,9. На коэффициент надежности по назначению γп следует делить: предельные значения несущей способности, расчетные значения сопротивлений, предельные значения деформаций, раскрытия трещин; или умножать: расчетные значения нагрузок, усилий или иных воздействий".
12. Абзац первый п. 2.5 изложить в следующей редакции:
"Вертикальное давление от веса грунта P, тс/м2, при расчете ограждения котлованов, подпорных стенок и т.п. определяют по формуле" и далее по тексту.
13. Абзац третий пункта 2.10 изложить в следующей редакции:
"При производстве монтажных работ вес наклоняющейся стрелы крана и вес подвешенных к нему элементов следует принимать с динамическим коэффициентом, равным 1,2 при весе элементов до 20 т и 1,1 при большем весе.
При производстве свайных работ нужно принимать следующие динамические коэффициенты:
|
для веса свай во время подъема |
1,4 |
|
для веса наклоняющихся стрел копра (крана) |
1,2 |
|
для веса молота при подъеме |
1,3" |
14. Пункт 2.11:
подпункт "а" изложить в следующей редакции:
"а) равномерно распределенной вертикальной нагрузки интенсивностью 250 кгс/м2 - при расчете досок опалубки плит и неинвентарных средств подмащивания (подвесных подмостей, площадок, люлек, проходов и пр.), а также непосредственно поддерживающих их конструкций. Инвентарные средства подмащивания должны быть рассчитаны на нагрузки по указаниям п. 1.2 ГОСТ 24258-80";
в подпункте "б" исключить слова в скобках: "(обычно учитывается, как нагрузка на тротуары)";
подпункт "в" изложить в следующей редакции:
"в) нагрузки, равной 75 кгс/м2 для железнодорожных мостов и 10 кгс/м2 для автодорожных мостов для загружения собираемых пролетных строений;".
15. Пункт 2.16:
абзац первый изложить в следующей редакции:
"Действующее в перпендикулярном направлении передвижки надвигаемой конструкции боковое усилие H от перекоса катков, от давления на боковые ограждения и от непараллельности накаточных путей определяется по формулам:"
в подпункте "г" формулу H = 0,0015P; заменить формулой H = 0,03R;
перед абзацем вторым снизу вставить:
"R - нормативная опорная реакция от веса надвигаемой конструкции";
последние два абзаца признать утратившими силу;
дополнить примечанием следующего содержания:
"Примечание. При поперечной передвижке элементов распорных арок (сводов) устройство подвижного опирания одного конца передвигаемого элемента и его проверка на прочность при изменившейся статической схеме являются обязательными".
16. Подпункт "б" пункта 2.23 признать утратившим силу.
17. Таблица 13 пункта 2.24:
абзацы первый и второй объединить и изложить в следующей редакции:
|
"Вес стальных вспомогательных сооружений, смонтированных из инвентарных и неинвентарных конструкций |
1,1 и 0,9"; |
дополнить таблицу абзацем третьим следующего содержания:
|
"Вес деревянных вспомогательных сооружений |
1,2 и 0,9"; |
дополнить таблицу после абзаца двенадцатого (усилия трения) абзацем следующего содержания:
|
"Воздействие электролебедок при подъеме, опускании и передвижках грузов и конструкций |
1,3 и 1,0"; |
в абзаце пятнадцатом (воздействие домкратов) последнюю строку изложить в следующей редакции:
|
"при гидравлических домкратах, в том числе объединенных в батарею |
1,3"; |
абзац два снизу (нагрузка от карчехода) признать утратившим силу;
примечание изложить в следующей редакции:
"Примечание. Расчет поддерживающих конструкций на воздействие крановой нагрузки, а также нагрузки от транспортных средств, следует в необходимых случаях производить с учетом веса вспомогательных и монтируемых мостовых конструкций, а также строительных материалов и оборудования, подвешенных к крану, либо погруженных на транспортные средства. Веса этих конструкций, материалов и оборудования нужно принимать с соответствующими коэффициентами перегрузки, приведенными в таблице. Вышеизложенное надо применять и в случае использования грузоподъемных кранов номенклатуры Госгортехнадзора (Котлонадзора), при применении которых действительный вес груза и захватных приспособлений не должен превышать паспортной грузоподъемности крана при данном вылете стрелы (для стреловых кранов)".
18. Последнюю фразу пункта 2.25 изложить в следующей редакции:
"В этом случае коэффициенты перегрузки принимают в соответствии с табл. 13 с учетом указаний п. 1.19 Инструкции".
19. В абзаце втором пункта 3.3 первую фразу изложить в следующей редакции:
"Ширина насыпи поверху должна быть не менее 350 см, заложение откосов 1:1,25".
20. В подпункте "е" пункта 3.5 слова "плечо не менее 20 см" заменить словами:
"Концы шпал должны быть перекрыты балластом не менее чем на 20 см".
21. В пункте 3.15 после слов "не должны превышать" последующий текст принять в следующей редакции: "1/400 пролета".
22. Абзац четвертый пункта 3.17 изложить в следующей редакции:
"Длину надводной части стапеля определяют условиями изготовления или установки погружаемой конструкции и подготовки ее к спуску на воду. Длину подводной части - условием перемещения конструкции по стапелю до момента полного ее всплытия, с учетом возможного падения уровня воды за время производства работ".
23. Пункт 3.23:
в третьей фразе исключить слово "расчетная";
"шапку" второго столбца таблицы 16 изложить в следующей редакции:
"наибольшая нормативная нагрузка Qн, тс".
24. Абзац второй пункта 3.24 изложить в следующей редакции:
"Допускаемое время t (в часах) нахождения на льду фактической нормативной нагрузки Qнф определяют по формуле
,
где Qн - наибольшая нормативная нагрузка по табл. 16 при данной толщине льда".
25. Абзацы второй и третий пункта 3.25 изложить в следующей редакции:
"Для повышения грузоподъемности ледяного покрова толщиной менее 30 см допускается также укладывать верхнее строение из деревянных поперечин и прогонов с заливкой их водой и вмораживанием. При этом длина поперечин должна быть на 2 м больше ширины груза. Поперечины следует располагать с шагом 0,4 - 0,5 м с укладкой поверх их со стыками вразбежку колей из бревен или брусьев".
26. Заголовок подраздела перед пунктом 3.28 изложить в следующей редакции:
"Средства подмащивания и приспособления для обеспечения удобства и безопасности работ на высоте".
27. Абзац первый пункта 3.28 изложить в следующей редакции:
"Средства подмащивания и приспособления для этого (подмости, площадки, люльки, проходы, лестницы и др.) должны быть:"
28. Пункт 3.29:
абзац первый изложить в следующей редакции:
"При конструировании всех видов средств подмащивания и их ограждений следует выполнять следующие требования:";
подпункт "а" после слов "должны иметь длину" изложить в следующей редакции:
"А + 2,2 м, где А - расстояние по горизонтали между крайними болтами узла. Отметку верха настила подмостей средств подмащивания нужно принимать на 70 - 80 см ниже низа конструкции поясов, связей и узловых фасонок верхних поясов. Высота проходов на лесах должна быть не менее 1,8 м";
в подпункте "з" заменить ГОСТ 3079-69, 7668-69, 2688-69 соответственно на ГОСТ 3079-80, 7668-80, 2688-80 и исключить ГОСТ 7684-69, 7685-69;
подпункт "и" изложить в следующей редакции:
"Лестницы следует изготовлять с учетом требований ГОСТ 12.2.012-75. Подвесные лестницы должны иметь ширину в свету не менее 500 мм, приставные - не менее 600 мм. Стационарно установленные лестницы должны иметь перила. Уклон приставных лестниц не должен превышать 60°".
29. Абзац первый пункта 3.30 изложить в следующей редакции:
"При проектировании средств подмащивания, ограждений и лестниц должны быть выполнены следующие расчеты:"
30. Пункт 3.32:
абзац первый изложить в следующей редакции:
"Значения расчетных усилий в стальных канатах инвентарных и неинвентарных подвесных средств подмащивания с неперемещаемым по высоте рабочим местом не должны превышать значений разрывных усилий канатов в целом, деленных на коэффициент надежности kн = 7.
Расчет стальных канатов, перемещаемых по высоте средств подмащивания, необходимо в соответствии с п. 1г Правил Госгортехнадзора производить по этим правилам";
абзац второй изложить в следующей редакции:
"Прочие несущие элементы подвесных средств подмащивания следует рассчитывать с коэффициентом надежности kн = 1,3";
абзацы третий и четвертый признать утратившими силу.
31. Абзац первый пункта 3.57 дополнить текстом:
"При проектировании причалов типа больверк
допускается применение "Инструкции по проектированию морских причальных
сооружений,
".
32. Пункт 3.75:
левую часть второй формулы изложить в следующей редакции:
"
".
Правая часть данной формулы остается в существующей редакции.
33. Пункт 4.1 дополнить абзацем следующего содержания:
"В расчетах на прочность ограждений котлованов нормативные характеристики грунтов φ, с, γ, принимают согласно приложению 10 Инструкции".
34. В пункте 4.4 после слов "со стороны водоема" добавить слова в скобках "(п. 4.64 Инструкции)".
35. Рисунок 10 пункта 4.5:
у размера "> 100 ÷ 200" убрать знак ">";
крутизну откоса "1:2" заменить на "не более 1:2".
36. Пункт 4.10:
в абзаце втором подпункта "б" шифр главы СНиП II-В.3-72 заменить на "II-23-81";
абзац первый подпункта "в" после слов "высоты забирки" дополнить словами "включая ширину полки сваи";
абзац второй подпункта "в" признать, утратившим силу;
абзац второй подпункта "г" после слов "высоты забирки" дополнить словами "включая ширину полки сваи".
37. В абзаце втором пункта 4.12 первую фразу изложить в следующей редакции:
"Внутренние размеры ящика в плане (в свету) необходимо принимать на 30 см больше проектных размеров фундамента".
38. В абзаце первом пункта 4.25 первую фразу изложить в следующей редакции:
"Ограждения из стального шпунта следует применять при глубине воды более 2 м, а также в случае невозможности устройства деревянного шпунтового ограждения (п. 4.57 Инструкции)".
39. Пункт 4.26:
абзац первый изложить в следующей редакции:
"Внутренние размеры в плане (в свету) шпунтового ограждения фундаментов, сооружаемых как с применением тампонажной подушки, так и без нее, имеющих вертикальные сваи или при отсутствии свай, нужно принимать на 30 см больше проектных размеров фундамента. Для фундаментов, сооружаемых насухо, размеры ограждения в плане следует назначать с учетом установки опалубки";
абзац второй признать утратившим силу.
40. Последний абзац пункта 4.27 изложить в следующей редакции:
"Нижние концы шпунтин обрезают перпендикулярно оси".
41. Абзац второй пункта 4.32 изложить в следующей редакции:
"Для шпунтовых ограждений, заглубленных в пески или супеси, кроме указанных расчетов, необходимо проверить глубину забивки шпунта ниже дна котлована или отметки размыва по условию исключения опасности наплыва грунта в котлован при откачке из него воды без устройства тампонажной подушки. Независимо от результатов расчета глубину забивки шпунта ниже дна котлована или отметки размыва следует принимать в случаях текучих и текучепластичных глин, суглинков и супесей, водонасыщенных илов, пылеватых и мелких песков не менее 2 м, а в остальных случаях - не менее 1 м. В ограждениях с тампонажной подушкой глубина забивки должна быть не менее 1 м в любых грунтах кроме скальных".
42. Пункт 4.33 изложить в следующей редакции:
"Минимальную глубину забивки шпунта ниже дна котлована по условию исключения опасности наплыва грунта при откачке воды следует определять в соответствии с указаниями приложения 19 Инструкции".
43. Пункт 4.34 изложить в следующей редакции:
"Минимальную глубину забивки шпунта (считая от дна котлована или отметки размыва) по условию обеспечения устойчивости стенок против опрокидывания, определяют согласно п. 1.17 настоящих Изменений, исходя из равенства
|
|
(4.1) |
где Моп - расчетный момент опрокидывающих сил относительно оси возможного поворота (опрокидывания) стенки;
Муд - расчетный момент удерживающих сил относительно той же оси;
m - коэффициент условий работы (см. пп. 4.45 - 4.47 Инструкции);
kн- коэффициент надежности, принимаемый равным 1".
44. Абзац второй пункта 4.35 изложить в следующей редакции:
"Не учитываемое в приложении 11 Инструкции влияние фильтрационного потока при откачке воды из котлованов, разрабатываемых в песчаных грунтах, отражено в приложении 19 Изменений".
45. В пункте 4.36 исключить конец фразы после слов "для постановки яруса креплений, но не менее 1,5 м".
46. В пункте 4.38 указать номер формулы "(4.2)".
47. Пункт 4.42:
абзац второй изложить в следующей редакции: "Глубину t0 определяют на основе равенства (4.1), считая ось поворота стенки расположенной на этой глубине и пренебрегая моментом пассивного давления грунта, действующего на стенку со стороны, противоположной котловану (обратного отпора), относительно указанной оси (точки O на рис. 17). В соответствии с этим в равенстве (4.1) принимают Моп равным моменту активного давления грунта и гидростатического давления, действующих выше глубины t0, относительно оси поворота стенок, а Муд - моменту пассивного давления, действующего со стороны котлована (прямого отпора) выше глубины t0, относительно той же оси";
в абзаце четвертом номер формулы "(4.2)" заменить на "(4.1)";
в абзаце пятом после слов "погружаемой в глину или суглинок (см. п. 4.37)" добавить фразу: "При наличии над глинистым грунтом слоя воды hв активное давление необходимо увеличивать на величину hв λа.
48. Пункт 4.45:
в строке пятой первого абзаца номер формулы "(4.2)" заменить на "(4.1)";
исключить из второй фразы абзаца первого слова "(обратного отпора)";
в абзацах первом и третьем обозначение момента "Мпр " заменить на "Муд".
49. Абзац первый пункта 4.46:
номер формулы "(4.2)" заменить на "(4.1)";
исключить слова в скобках "(прямого отпора)";
обозначение момента "Мпр" заменить на "Муд".
50. Пункт 4.50 дополнить абзацем следующего содержания:
"При многоярусном креплении определение давлений на ярусы креплений необходимо производить с учетом по стадийной разработки грунта, порядка установки креплений и перераспределения при этом нагрузки на ярусы креплений и напряжений в шпунте".
51. Пункт 4.55 изложить в следующей редакции:
"При проектировании шпунтовых ограждений вблизи существующих зданий и сооружений, конструкция которых не допускает осадку основания, распорки креплений должны иметь устройства (клинья, домкраты) для создания предварительного обжатия, равного расчетному усилию".
52. Пункт 4.56:
абзац пятый вместе с входящей в него формулой определения глубины забивки признать утратившим силу;
дополнить абзацем следующего содержания:
"При проектировании организации производства работ необходимо, особенно в случае слабых грунтов, проверять устойчивость грунта дна (см. приложение 19 Изменений) и проводить работы по строго рассчитанным технологическим схемам".
53. Пункт 4.57 дополнить абзацем такого содержания:
"Размеры шпунтового ограждения в плане принимают в соответствии с указаниями п. 4.26 Изменений".
54. В абзаце первом пункта 4.58 слова "II категории" заменить на "II сорта".
55. В абзаце третьем пункта 4.64 крутизну откосов "2:1" и "5:1" заменить соответственно на "1:2" и "1:5".
56. Пункт 4.69:
абзац первый изложить в следующей редакции:
"Стальной шпунт следует применять преимущественно в виде цилиндрического ограждения из плоского шпунта типа ШП при глубине воды более 2 м, а также в случае невозможности применения деревянного шпунтового ограждения (см. п. 4.57 Инструкции)";
абзац последний признать утратившим силу.
57. В абзаце третьем пункта 4.70 слова "коэффициент безопасности по материалу" заменить на "коэффициент надежности".
58. Абзац пятый пункта 4.77 изложить в следующей редакции:
"усилия отжатия при забивке или вибропогружении свай, принимаемые равными 0,002 Wр (в тс), где Wр - расчетная энергия удара (в тс∙см)".
59. Пункт 4.91:
указания абзаца второго перенесены в п. 2.10 (см. Изменения);
абзац третий признать утратившим силу.
60. В абзаце четвертом пункта 5.3:
заменить слова "II категории" словами "2 сорта";
заменить слова "III категории" словами "3 сорта";
заменить ГОСТ 11539-73, 4598-74 соответственно на ГОСТ 11539-73*, 4598-74*.
61. В табл. 19 (п. 5.10) в примечании 3 заменить слово "протоков" на "прогонов".
62. Заголовок раздела 6 после слова "стальных" дополнить словом "железобетонных".
63. Раздел 6 дополнить пунктом 6.1а такого содержания:
"6.1а. Проектирование вспомогательных элементов, работающих на стадии монтажа совместно с основной конструкцией (соединительные элементы между пролетными строениями, аванбеки, шпренгели, приемные консоли, обстройка постоянных опор, анкеровка пролетных строений на постоянных опорах), следует производить по нормам пересмотренной главы СНиП II-43 "Мосты и трубы", а до ввода ее - по СН 200-62".
64. Пункт 6.11 после слов "температурных деформаций" дополнить словами " и упругих перемещений, а при невозможности обеспечения перемещений должны быть учтены возникающие при этом усилия".
65. К табл. 21 (пункт 6.16) дать дополнительное примечание в следующей редакции:
"4. При необходимости учитывают температурные воздействия во всех сочетаниях, за исключением третьего".
66. В абзаце втором пункта 6.20 в определении q исключить слова в скобках: "(интенсивностью 75 кгс/пог.м)".
67. Пункт 6.22 изложить в следующей редакции:
"Вертикальные нагрузки на опорные устройства для уравновешенно-навесного монтажа пролетного строения, не закрепленного за опору (или обстройку опоры), определяют по схеме двухконсольной балки на двух опорах, при этом за опорную базу балки принимают расстояние между постоянной опорной частью и опорной клеткой (расстояние "с" на рис. 43, б) со стороны перегруженной консоли слева или справа от оси опоры".
68. Пункт 6.28 изложить в следующей редакции:
"При продольной надвижке пролетных строений с прерывистыми верхними накаточными путями, длина нижних накаточных путей на опоре должна обеспечивать размещение на ней двух смежных участков накаточных путей".
69. В абзаце седьмом пункта 6.29 слова "поперечного перемещения" заменить на "поперечного и вертикального перемещений".
70. Пункт 6.32:
в примечании 1 к табл. 22 слова "и третьем" заменить словами "и втором";
дополнить табл. 22 примечанием 4 следующего содержания:
"4. Величина горизонтального давления распределяется между отдельными опорами пропорционально вертикальным давлениям".
71. Пункт 6.34 дополнить абзацем такого содержания:
"При количестве опор более двух, давление на каждую опору от пролетного строения определяют с учетом его жесткости и податливости опор".
72. В пункте 6.61 заменить ГОСТ 10007-72 и ГОСТ 16338-70 соответственно на ГОСТ 10007-80 и ГОСТ 16338-77.
73. Пункт 6.62:
заменить ГОСТ 2789-73 и 6465-63 соответственно на ГОСТ 2789-73* и 6465-76*;
слова в скобках: "(∇ 9-∇ 10 по ГОСТ 2789-59)", "(∇ 5 по ГОСТ 2789-59)" и "(∇ 7 по ГОСТ 2789-59)" исключить.
74. В пункте 6.65 заменить ГОСТ 4366-64, 6267-59, 8773-63, 1642-50, 6794-55 соответственно на ГОСТ 4366-76*, 6267-74*, 8773-73*, 1642-75*, 6794-75.
75. Пункт 6.66:
заменить ГОСТ 2789-73 на ГОСТ 2789-73*;
слова в скобках "(∇ 1-∇ 3 по ГОСТ 2789-59)" исключить.
76. В пункте 6.80 ГОСТ 2789-73 заменить на ГОСТ 2789-73*.
77. Пункт 6.83:
в абзаце первом слова "надвижки по уклону более 10 %" заменить текстом следующего содержания: "надвижки по уклону, тангенс угла которого превышает половину коэффициента трения в накаточных устройствах";
последний абзац изложить в следующей редакции: "Для восприятия наибольшей расчетной продольной ветровой нагрузки во всех случаях должны быть предусмотрены стопорные устройства, исключающие произвольное перемещение надвигаемых конструкций".
78. Пункт 6.86 дополнить текстом следующего содержания:
"Коэффициент надежности в тяговых канатах следует применять равным 4,5.
В процессе надвижки конструкций тормозные средства должны находиться в слабо напряженном состоянии".
79. Пункт 6.91 после слова "требованиям" изложить в следующей редакции:
"ГОСТ 14892-69** "Машины, приборы и другие технические изделия, предназначенные для эксплуатации в районах с холодным климатом. Общие технические требования".
80. Подраздел "Аванбеки, приемные консоли и анкерные устройства":
наименование подраздела и пп. 6.92 - 6.96 исключить;
содержание пп. 6.97 - 6.100 перенести в раздел 9 (см. п. 100 Изменений).
81. Пункт 6.109:
в абзаце первом исключить слова в скобках: "(за исключением отдельно стоящих домкратов)";
абзац третий изложить в следующей редакции: "В процессе подъема или опускания пролетное строение должно всегда опираться не менее чем в четырех точках. Домкраты (батареи домкратов), установленные под одним концом пролетного строения, должны иметь централизованное управление".
82. Пункт 6.113 дополнить абзацем следующего содержания:
"Коэффициент надежности в подъемных стальных канатах следует принимать равным 4,5. Испытания грузоподъемных устройств необходимо производить расчетной нагрузкой".
83. В пункте 6.114 после "30 %" поставить точку. Последнюю строку исключить.
84. Пункт 6.121 дополнить абзацем следующего содержания:
"Плавучие опоры прямоугольного в плане очертания должны в необходимых случаях иметь в носовой и кормовой частях фальшборта. Высота фальшборта hф должна быть не менее
Hф = 1,5hв - hб,
где hв- расчетная высота волны, возможная во время перевозки пролетных строений, вероятностью превышения 10 %;
hб - высота сухого борта при крене плавучей системы на нос или корму от действия расчетной ветровой нагрузки.
Фальшборта должны быть продолжены на 3 - 4 м вдоль боковых бортов плашкоута. Волновую нагрузку на фальшборта можно определять по указаниям главы СНиП II-57-75 "Нагрузки и воздействия на гидротехнические сооружения (волновые, ледовые и от судов)".
85. В таблице 28 (пункт 6.134) в примечании 3 исключить последнюю фразу.
86. Пункт 6.137:
дополнить подпунктом "в" следующего содержания:
"в) запас надводного борта плавучих опор, образованных из закрытых понтонов и металлических палубных барж, при максимальном крене или дифференте с учетом действия нормативных нагрузок, должен быть не менее 20 см";
первую фразу примечания 1 после слов "при проверке остойчивости" дополнить словами: "по подпунктам "а" и "б".
87. Абзац третий пункта 6.139, относящийся к проверке остойчивости плавучей опоры, находящейся на отстое, признать утратившим силу.
88. В пункте 6.154 слова "Коэффициент безопасности по материалу" заменить словами "Коэффициент надежности".
89. В абзаце втором пункта 7.9 слова "не нормируется" заменить на "не ограничивается".
90. В. абзаце первом пункта 7.23 после слов "от свободной длины" добавить "(см. пп. 7.65 и 7.75 Инструкции)".
91. На рис. 59 п. 7.33 проекцию "в" и позиции 5 и 6 в подрисуночной надписи признать утратившими силу.
92. Рисунок 60 пункта 7.39 заменить новым:

Рис. 60. Забивные деревянные сваи с уширенной пятой:
а - из двух продольных коротышей; б - из четырех
продольных коротышей;
1 - свая; 2 - коротыш; 3 - болты
93. В последней строке пункта 7.63 слово "наруженной" заменить словом "нагруженной".
94. В пункте 8.1 изменить шифр главы СНиП II-B.4-71* на шифр "II-25-80".
95. Пункт 8.2 изложить в следующей редакции:
"8.2. В деревянных конструкциях вспомогательных сооружений следует применять древесину, удовлетворяющую требованиям ГОСТ 2695-71, ГОСТ 8486-66, ГОСТ 9462-71 и ГОСТ 9463-72, и в том числе:
а) в прогонах, пакетах подкрановых эстакад и рабочих мостиков - древесину хвойных пород, удовлетворяющую требованиям ко второму сорту. При расчете указанных элементов коэффициент надежности по назначению γn (см. дополнение к п. 2.3 Инструкции) принимают равным 1;
б) в элементах прочих несущих конструкций - древесину хвойных и лиственных пород, отвечающую требованиям ко второму сорту;
в) в элементах вспомогательного назначения, повреждение которых не нарушает целостности несущих конструкций, - древесину хвойных и лиственных пород третьего сорта;
г) в элементах деревянной опалубки - по указаниям раздела 5, принимая требования к качеству древесины основных несущих элементов по подпункту "б" и прочих элементов по подпункту "в" настоящего пункта.
Примечание. В конструкциях тепляков, утеплений опалубки, настилов тротуаров, ограждений допускается использовать кругляк толщиной 4 - 7 см (жерди) и подтоварник".
96. В пункте 8.4 изменить шифр главы СНиП II-В.4-71 на шифр "II-25-80".
97. В абзаце пятом пункта 8.7 изменить шифр главы СНиП II-B.4-71 на шифр "II-25-80".
98. Абзац второй пункта 8.20 дополнить текстом следующего содержания:
"При условии расположения стыков стоек в узлах или непосредственно около узлов, имеющих в обоих направлениях горизонтальные и диагональные связи, указанные стыки допускается рассматривать, как конструктивные. В противном случае стыки стоек нужно рассчитывать, как стыки сжатых поясов сквозных деревянных пролетных строений".
99. Абзац первый пункта 9.6 изложить в следующей редакции:
"При расчетах закладных анкерных закреплений в бетоне вспомогательных сооружений следует учитывать коэффициент надежности 1,5 для анкеров в соединении стоек опор с ростверками".
100. Раздел 9 дополнить пунктами 9.7 и 9.8 следующего содержания:
"9.7. Расчет заделки анкеров в бетон необходимо производить согласно указаниям главы СНиП II-21-75. При расчете заделки из фасонных профилей сцепления с бетоном принимают равным 10 кгс/ см2 для элементов с гладкой поверхностью и 15 кгс/см2 для элементов периодического профиля.
Несущую способность анкерного массива следует проверять в плоскости конца анкеров. При этом нужно учитывать только собственный вес вышележащего массива и не учитывать работу бетона на растяжение.
Независимо от результатов расчета глубина заделки анкеров в бетоне должна быть не менее 1 м.
9.8. Конструкция вертикального анкера над подвижной опорной частью должна обеспечивать свободу температурных перемещений".
101. Пункт 10.1 изложить в следующей редакции:
"10.1. Проектирование стальных конструкций вспомогательных сооружений и устройств нужно выполнять в соответствии с главой СНиП II-23-81 "Стальные конструкции" и с учетом требований главы СНиП III-18-75 "Металлические конструкции", а также дополнительных указаний настоящего раздела и значений коэффициентов условий работы и коэффициентов надежности, приведенных ниже и в табл. 1 п. 1.16 (с учетом изменений).
Расчетные сопротивления проката, труб, а также сварных и болтовых соединений конструкций, следует принимать согласно указаниям СНиП II-23-81 (по пределу текучести).
При расчете элементов стальных конструкций и их соединений следует учитывать:
а) коэффициент надежности по назначению γn, принимаемый равным 0,9, за исключением случаев проектирования вспомогательных сооружений, перечисленных в п. 6.1а Изменений;
б) коэффициенты надежности γm по материалу проката и труб в зависимости от государственного стандарта или технических условий на сталь, принимаемые по табл. 1 приложения 16а Изменений (в величинах расчетных сопротивлений, приведенных в приложении 17а Изменений, коэффициенты надежности по материалу учтены);
в) коэффициенты надежности по материалу шва γm, принимаемые равными: 1,25 - при значениях нормативного сопротивления шва не более 490 МПа (5000 кгс/см2); 1,35 - при значениях 590 МПа (6000 кгс/см2) и более;
г) коэффициент надежности kн при определении расчетного усилия (сопротивления) растяжению стального каната по значению разрывного усилия каната в целом, установленному государственными стандартами или техническими условиями на стальные канаты, принимаемый по табл. 1 пп. 1.16 и 6.154 Изменений;
д) коэффициенты условий работы m(γc) и γв, принимаемые по приложению 16а Изменений".
102. Пункт 10.2 изложить в следующей редакции:
"10.2. Марки и категории стали, а также группы прочности стали (только для проката по ТУ 14-1-3023-80) в зависимости от климатического района строительства следует назначать в соответствии с разделом 2 и табл. 50 и 51 главы СНиП II-23-81, изложенными в сокращенном виде в приложениях 17 и 17а.
В зависимости от степени ответственности конструкций вспомогательных сооружений, а также условий их эксплуатации эти конструкции разделяют на 4 группы.
При определении группы конструкций вспомогательных сооружений и устройств следует руководствоваться следующим ми указаниями:
Группа 1. Сварные инвентарные и неинвентарные конструкции либо их элементы, работающие в особо тяжелых условиях и подвергающиеся непосредственному воздействию динамических, вибрационных и подвижных нагрузок (пролетные строения и опоры подкрановых, бункерных и разгрузочных эстакад и рабочих мостиков; подкопровые мосты; подмости для погружения свай и оболочек; элементы конструкций разгрузочных эстакад, непосредственно воспринимающих нагрузку от подвижного состава и т.п.).
Группа 2. Сварные инвентарные и неинвентарные конструкции либо их элементы, работающие при неизменяющейся, медленно изменяющейся нагрузке или не подвергающиеся непосредственному воздействию подвижных или вибрационных нагрузок (монтажные подмости, ростверки, крепление котлованов, устройства для подъема (опускания) и надвижки, промежуточные опоры, понтоны и другие растянутые, изгибаемые и растянуто-изгибаемые элементы, а также конструкции и их элементы группы 1 при отсутствии сварных соединений).
Группа 3. Сварные конструкции либо их элементы, работающие при отсутствии переменных нагрузок (стойки, колонны, опорные плиты и другие сжатые и сжато-изогнутые элементы, а также конструкции и их элементы группы 2 при отсутствии сварных соединений).
Группы 4. Слабонагруженные сварные конструкции и элементы различных второстепенных устройств и приспособлений (лестницы, площадки, бункера, оборудование для укладки бетона и т.п., а также конструкции и элементы группы 3 при отсутствии сварных соединений)".
103. Раздел 10 дополнить пунктом 10.2а такого содержания:
"10.2а. Конструкции группы 1 следует проектировать с применением таких конструктивных решений, которые не вызывают значительной концентрации напряжений и в необходимых случаях проверять их расчетом на выносливость согласно главе СНиП II-23-81 (раздел 9)".
104. Пункт 10.3 изложить в следующей редакции:
"10.3. С целью унификации марок стали вспомогательных сооружений группы 1 конструкций для северных климатических районов I1, I2, II2 и II3 с марками стали для мостовых конструкций, рекомендуется применять марки стали в соответствии с главой СНиП II-43 "Мосты и трубы" после ее утверждения, а до этого - по СН 200-62 и ВСН 145-68. Для унификации снабжения прокатом рекомендуется в первую очередь применять сталь марок Вст3, 09Г2С, 15ХСНД, а для труб - сталь 10Г2 группы В по ГОСТ 8731-74*. Кроме того, следует использовать прокат из углеродистой и низколегированной стали по ТУ 14-1-3023-80 с гарантированным уровнем механических свойств, дифференцированным по двум группам прочности.
В случае отсутствия полных данных в сертификатах или отсутствия сертификатов на металл для вспомогательных сооружений общие правила приемки, методы отбора образцов для механических испытаний и на химический состав проводят по ГОСТ 7566-69, ГОСТ 7564-73 и ГОСТ 7565-73. Прокат по вышеуказанным ТУ, дифференцированный по группам прочности, при отсутствии сертификатов следует принимать по ГОСТ 380-71*.
Механические свойства металла проката устанавливают при следующих видах испытаний:
а) испытания на статическое (кратковременное) растяжение для определения временного сопротивления, предела текучести и относительного удлинения (ГОСТ 1497-73);
б) испытания на ударный изгиб (на надрезанных образцах типа "шарпи"), а для категорий стали 10 - 15 и после механического старения (ГОСТ 9454-78; ГОСТ 7268-67);
в) испытания на изгиб в холодном состоянии на оправке диаметром, равным двум толщинам проката, на угол 180°.
Нормативные и расчетные сопротивления проката для вспомогательных сооружений и устройств приведены в приложении 17а, а нормы химического состава низколегированных марок стали - в приложении 17б Изменений.
Категории стали назначают по ГОСТ 19281-73 (см. приложение 17в) или ГОСТ 380-71* в зависимости от марки стали и нормируемых характеристик механических свойств стали при испытании на растяжение, изгиб в холодном состоянии и ударную вязкость.
105. Пункт 10.4 изложить в следующей редакции:
"10.4. Для гибких элементов вспомогательных сооружений и устройств (вант, расчалок, якорных закреплений и т.п.) следует применять стальные канаты:
спиральные по ГОСТ 3062-80, ГОСТ 3063-80 и ГОСТ 3064-80 (в двух последних стандартах рекомендуются диаметры канатов соответственно 12 - 27 мм и 18 - 25,5 мм);
двойной свивки по ГОСТ 3066-80, ГОСТ 3067-74, ГОСТ 3068-74, ГОСТ 3081-80 и ГОСТ 7669-80, а также по ГОСТ 14954-80;
закрытые несущие по ГОСТ 3092-73, ГОСТ 18900-73*, ГОСТ 18901-73, ГОСТ 18902-73, ГОСТ 7675-73 и ГОСТ 7676-73*."
106. Пункт 10.5 изложить в следующей редакции:
"10.5. Для несущих элементов трубчатого сечения в конструкциях, предназначенных для эксплуатации в северных климатических районах районов I1, I2, II2и II3, трубы нужно применять термообработанными с гарантией нормированных характеристик ударной вязкости.
Элементы конструкций из бесшовных горячедеформированных труб допускается использовать для инвентарных конструкций вспомогательных сооружений:
во всех климатических районах, кроме I1, I2, II2 и II3, из стали марки 20 по ГОСТ 8731-74* с дополнительным требованием к металлу труб по ударной вязкости при температуре минус 20 °С - не менее 30 Дж/см2 (3 кгс∙м/см2);
в климатических районах I2, II2 и II3 из стали марки 09Г2С по ГОСТ 8731-74* с дополнительным требованием по ударной вязкости при температуре минус 40 °С - не менее 40 Дж/см2 (4 кгс∙м/см2) при толщине стенки до 9 мм и 35 Дж/см2 (3,5 кгс∙м/см2) при толщине стенки 10 мм и более или из стали марки 16Г2АФ по ТУ 14-3-829-79;
в климатическом районе I1из стали марки 09Г2С по ТУ 14-3-500-76.
Допускается применение в указанных районах I1, I2, II2 и II3 и стальных бесшовных труб по ГОСТ 8731-74* группы В из стали марки 10Г2 (без термообработки) при условии дополнительного контроля ударной вязкости металла каждой партии труб на образцах типов 1 - 4 по ГОСТ 9454-78. Испытанию на ударную вязкость по ГОСТ 9454-78 подвергаются образцы как в исходном состоянии металла труб, так и после механического старения. Выбор типа образца с "U"-образным надрезом производят в зависимости от толщины стенки и диаметра трубы (ГОСТ 8732-78). Температурный режим испытания образцов назначают по ГОСТ 19281-73 в зависимости от категории стали (см. приложение 17в Изменений).
Испытанию на ударную вязкость в исходном состоянии и после механического старения подвергается металл труб по следующей методике:
отбор заготовок производят от каждой партии труб одной плавки, одной марки стали, одного размера и одного вида термообработки (при поставке в термообработанном состоянии). От каждой партии отбирают по две контрольные трубы, из которых вырезают по ГОСТ 6996-66 заготовки механическим способом или кислородной резкой. Из заготовок изготавливают механической обработкой образцы по ГОСТ 9454-78 типов 1 - 4 с максимальным приближением их по высоте к толщине трубы.
Процесс механического старения образцов выполняют по методике ГОСТ 6996-66 (остаточное удлинение на 10 ± 0,5 %, нагрев до 250 ± 10 °С с выдержкой в течение 1 часа и т.д.).
Количество образцов для испытания назначают не менее трех для каждого типа".
107. Пункт 10.6 изложить в следующей редакции:
"10.6. Для фрикционных и обычных соединений высокопрочные болты необходимо применять по ГОСТ 22353-77 и ГОСТ 22356-77, а гайки и шайбы к ним - по ГОСТ 22354-77 и ГОСТ 22355-77.
Механические свойства высокопрочных болтов по ГОСТ 22356-77 для номинальных диаметров от 16 до 27 мм приведены в приложении 17г Изменений.
Допускается повторное (не более 3-кратного) использование во фрикционных соединениях высокопрочных болтов (ВПБ), не имеющих задиров и повреждений на опорных поверхностях и на резьбе болтов и гаек. При этом надлежит обеспечивать подготовку болтов, гаек и шайб к установке в конструкцию.
При неполном натяжении ВПБ с затяжкой обычным ключом с крутящим моментом порядка 20 - 30 кгс∙м допускается их многократное использование до износа в пределах допусков".
108. Пункт 10.7 изложить в следующей редакции:
"10.7. Для болтовых соединений следует назначать болты (грубой, нормальной и повышенной точности) и гайки в соответствии с требованиями раздела 2 главы СНиП II-23-81.
Для расчетных болтовых соединений вспомогательных сооружений следует применять стальные болты и гайки. Болты следует назначать по приложению 17д и ГОСТ 15589-70*, ГОСТ 7798-70*, ГОСТ 15591-70* и ГОСТ 7796-70*, а при ограничении деформаций соединений - по ГОСТ 7805-70* болты с шестигранной головкой (повышенной точности).
Гайки следует применять по ГОСТ 5915-70, для болтов классов прочности 4.6, 4.8, 5.6 и 5.8 - гайки классов прочности 4; для болтов классов прочности 6.6 и 8.8 - гайки классов прочности соответственно 5 и 6.
Расчетные сопротивления срезу и растяжению болтов по СНиП II-23-81 приведены в приложении 17е Изменений. Расчетные сопротивления смятию элементов, соединяемых болтами, указаны в приложении 17ж Изменений.
При нецентрализованном изготовлении нестандартных расчетных болтов для стальных конструкций, эксплуатируемых в климатических районах I2, II2 и II3, следует применять сталь марки 09Г2С категории 13 по ТУ 14-1-3023-80, гайки к ним из стали 20, 25, 30 и 35 по ГОСТ 1050-74** и 40Х по ГОСТ 4543-71*.
109. Пункт 10.8:
абзац первый изложить в следующей редакции:
"Для сварки стальных конструкций вспомогательных сооружений следует применять электроды для ручной дуговой сварки по ГОСТ 9467-75; сварочную проволоку по ГОСТ 2246-70*; флюсы по ГОСТ 9087-81, а углекислый газ по ГОСТ 8050-76. Материалы для сварки, соответствующие маркам стали, приведены в приложении 17з Изменений. Нормативные и расчетные сопротивления металла швов сварных соединений с угловыми швами даны в приложении 17 и Изменений;
в абзацах четвертом и пятом заменить ГОСТ 2246-70 на ГОСТ 2246-70*;
дополнить текстом следующего содержания:
"Основные положения по технологии изготовления элементов стальных конструкций (обработка кромок, гибка и правка, допуски и т.п.) определяются главой СНиП III-18-75.
Основным видом сварки соединений стальных конструкций вспомогательных сооружений на заводах Минтрансстроя рекомендуется полуавтоматическая сварка в среде углекислого газа сварочной проволокой Св-08Г2С (см. приложение 17з)".
110. В пунктах 10.10; 10.11; 10.13; 10.15 и 10.16 слова "при температуре ниже минус 40 °С" заменить текстом: "для климатических зон I1, I2, II2 и II3".
111. Содержание пункта 10.12 заменить следующим текстом:
"10.12. При повторном использовании проката, бывшего в употреблении, нужно выполнять его подготовку в части исправления дефектных мест, а в необходимых случаях - их усиление.
Особое внимание следует уделять прочности с учетом хрупкого разрушения центрально- и внецентренно-растянутых элементов, а также зон растяжения изгибаемых элементов конструкций, возводимых в климатических районах I1, I2, II2 и II3.
Проверку на прочность с учетом сопротивления хрупкому разрушению от хладоломкости указанных элементов и зон растяжения производят согласно главе СНиП II-23-81 (раздел 10).
Металл указанного проката отбирают и испытывают аналогично требованиям п. 10.3 Изменений.
112. Пункт 10.21 дополнить текстом следующего содержания:
"Элементы инвентарных стальных конструкций нужно защищать антикоррозионными покрытиями.
Для неинвентарных конструкций и устройств вид защитного покрытия элементов и соединений назначают в зависимости от срока службы и возможностей их повторного использования. Допускается при малом сроке службы не защищать их антикоррозионными покрытиями.
Тросовые элементы и пучки из высокопрочной проволоки подлежат антикоррозионной защите (смазке) во всех случаях.
Увеличение толщины проката и стенок труб взамен защиты конструкций от коррозии не допускается".
113. Приложение 5:
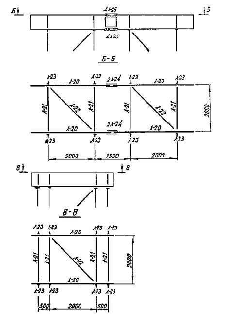
текстовую часть приложения изложить в следующей редакции:
"Мостовые инвентарные конструкции стоечные МИК-С предназначаются для вспомогательных опор, монтажных подмостей, опор для надвижки пролетных строений, подкрановых эстакад, рабочих мостиков и других конструкций. МИК-С можно эксплуатировать в климатическом районе I1 по ГОСТ 16350-80 при расчетной температуре минус 60 °С.
Основной комплект МИК-С состоял из 12 марок: 4 марки стоек (Л-1 ÷ Л-4) длиной 4 и 2 м, 5 марок раскосов и распорок (Л-51 ÷ Л-9), одна соединительная планка (Л-10), один цельносварной ростверк (Л-11) и один тип болта (Л-12) диаметром 24 мм (см. ведомость марок). С 1982 г. вместо марок Л11 ÷ Л-4 и Л-71 ÷ -Л-9 выпускают марки ЛУ-1, ЛУ-2 и ЛУ-71 ÷ ЛУ-9, все из труб 180×9 мм. Всего в комплект МИК-С входит 10 марок.
Стойки запроектированы из труб по ГОСТ 8731-74*. На концах стойки снабжены фланцами для примыкания друг к другу и к ростверкам и фасонками для присоединения раскосов, расположенными в вертикальных плоскостях, проходящих через ось трубы под углом 90° друг к другу. С одной стороны стоек фланцы развиты для присоединения распорок.
На концах распорки и раскосы имеют проушины с отверстием для одного болта диаметром 24 мм и вспомогательным отверстием для наводки на монтаже.
Соединения элементов осуществляются на высокопрочных болтах диаметром 24 мм, закручиваемых обычным ключом с моментом порядка 20 - 30 кгс∙м без специальной обработки контактных поверхностей и без контроля величины натяжения.
Марка ростверка Л-11 состоит из сварных двутавров и швеллерных связей, объединенных на сварке.
Из элементов стоек, распорок, раскосов и ростверков собирается основной элемент МИК-С - башня из 4 (8) стоек размером в плане 2×2 м и высотой, кратной 2 м (рис. 1).
С 1980 г. выпускают сборный ростверк из широкополочного проката с соединением на болтах (марки Л-20 ÷ Л-25). Схема сборки ростверка из этих марок приведена на рис. 2. Как правило, ростверк применяют без разборки.
Отдельные башни можно объединять между собой в продольном и поперечном направлениях с помощью раскосов и распорок в пространственные конструкции опор неограниченного размера. При этом расстояние между башнями может быть 2,4 и 6 м.
Сборку башен следует производить плоскостными и пространственными секциями, а также из отдельных линейных элементов.";
ведомость марок изложить в новой редакции;
включить дополнительный рисунок 2 со схемами сборки ростверков из марок Л-20 ÷ Л-25.
Ведомость марок
|
Марка |
Эскиз марки |
Предельное усилие, тс |
Масса, кг |
|
Л-1 |
|
+30, -100 +30, -100 |
251 |
|
Л-2 |
|
+30, -100 |
139 |
|
Л-3 |
|
+20, -43 +20, -33 |
165 |
|
Л-4 |
|
+20, -43 |
97 |
|
Л-5 |
|
±12 |
30 |
|
Л-6 |
|
±12 |
22 |
|
Л-7 |
|
±12 |
103 |
|
Л-8 |
|
±12 |
103 |
|
Л-9 |
|
±12 |
170 |
|
Л-10 |
|
|
2 |
|
Л-11 |
|
|
1975 |
|
Л-12 |
|
|
0,65 |
|
Л-20 |
|
|
435 |
|
Л-21 |
|
|
138 |
|
Л-22 |
|
|
28 |
|
Л-23 |
|
|
24 |
|
Л-24 |
|
|
23 |
|
Л-25 |
|
|
6 |
|
ЛУ-1 |
|
+30, -100 +30, -88 |
236 |
|
ЛУ-2 |
|
+30, -100 |
132 |
|
ЛУ-7 |
|
±12 |
200 |
|
ЛУ-8 |
|
±12 |
169 |
|
ЛУ-9 |
|
±12 |
273 |
Примечания. 1. Предельные усилия марок Л-1, Л-3 и ЛУ-1 даны для свободной длины l = 200 см (числитель) и l = 400 см (знаменатель). Усилие указано для стыка стоек одинакового диаметра.
2. В графе предельных усилий знаком "+" обозначены растягивающие усилия, знаком "-" обозначены сжимающие усилия.

Рис. 2. Схемы сборки ростверков из марок Л-20 ÷ Л-25
114. Приложение 6:
текстовую часть приложения изложить в следующей редакции:
"Мостовые инвентарные конструкции пакетные МИК-П предназначаются для применения в различных вспомогательных сооружениях в комплекте со стоечными конструкциями МИК-С, а также без них. Конструкции МИК-П могут быть применены в рабочих мостиках, подмостях, пирсах, подкрановых эстакадах, причалах, распределительных конструкциях на плавучих опорах и опорах для надвижки пролетных строений, а также для перекрытия прогалов в насыпи над водопропускными трубами до их постройки и засыпки; для перекрытия пролетов временных мостов на притрассовых автодорогах; для перекрытия пролетов временных железнодорожных мостов при строительстве на обходах; при восстановлении и в разгрузочных конструкциях. Примеры монтажных схем пакетных пролетных строений приведены на рис. 1. Проверка несущей способности пролетных строений в составе конкретного сооружения является обязательной. Конструкции МИК-П можно эксплуатировать в климатическом районе I1 по ГОСТ 16350-80 при расчетной температуре минус 60 °С.
Комплект конструкций МИК-П состоит из 19 марок: 4 марки несущих балок (П-3; П-3а; П-4 и П-4а); 4 марки распорок (П-11; П-12; П-14; П-16); 6 марок продольных связей (П-18-П-23); 3 марки, накладок (П-30; П-34; П-35), одна марка ребра жесткости (П-32) и один тип болта (П-31) диаметром 24 мм (см. ведомость марок).
МИК-П могут опираться как на конструкции башен из МИК-С, так и на опоры любой другой конструкции.
Пакетные конструкции изготовляют из сварных двутавров высотой 1040 мм, длиной 8000 и 11920 мм. Из отдельных балок могут быть собраны пакеты длиной 8,0; 11,92; 16,0; 19,92 м (в отдельных случаях 23,84 м). Несущие балки имеют следующие характеристики: момент инерции I = 404433 см4 и момент сопротивления W = 7778 см3.
Соединения элементов осуществляются на высокопрочных болтах диаметром 24 мм, закручиваемых обычным ключом с моментом порядка 20 - 30 кгс∙м без специальной обработки контактных поверхностей и без контроля натяжения.
К стенкам балок приварены через определенные расстояния полудиафрагмы, состоящие из вертикальных и горизонтальных ребер, к которым приварен фланцевый лист.
Полудиафрагмы приварены в марках П-3а и П-4а с двух сторон, в марках П-3 и П-4 с одной. С помощью полудиафрагм отдельные балки объединяются в пространственную конструкцию из любого числа балок, устанавливаемых с шагом 550 мм в поперечном направлении. Объединение диафрагм осуществляется также высокопрочными болтами диаметром 24 мм.
При необходимости установки балок с большим шагом в поперечном направлении между фланцевыми листами полудиафрагм устанавливают набор вставок требуемой ширины (марки П-11; П-12; П-14; П-16). Балки объединяются также уголковыми продольными связями, прикрепляемыми к горизонтальным фасонкам полудиафрагм. В фасонках устроены дугообразные прорези с краями, очерченными по дугам окружностей, центры которых совмещены с центром узла (точкой пересечения оси балок с осью полудиафрагм). Такое решение узла позволяет обеспечить центрировку диагональных связей при любом расстоянии между балками".;
подпись под рисунком 1 изложить в следующей редакции:
"Рис. 1. Примеры монтажных схем пакетных пролетных строений: а - под железнодорожную нагрузку; б - под автомобильную нагрузку; в - для подкрановых эстакад пролетом 16 м под козловый кран";
ведомость марок изложить в следующей редакции:
Ведомость марок
|
Марка |
Эскиз марки |
Масса, кг |
|
П-3 |
|
2950 |
|
П-3а |
|
3270 |
|
П-4 |
|
1970 |
|
П-4а |
|
2210 |
|
П-11 |
|
267 |
|
П-12 |
|
216 |
|
П-14 |
|
372 |
|
П-16 |
|
148 |
|
П-18 |
|
47 |
|
П-19 |
|
41 |
|
П-20 |
|
46 |
|
П-21 |
|
53 |
|
П-22 |
|
45 |
|
П-23 |
|
33 |
|
П-30 |
|
40 |
|
П-31 |
|
0,86 |
|
П-32 |
|
15 |
|
П-34 |
|
48 |
|
П-35 |
|
21 |
115. Приложение 8. В таблице "Характеристика шпунтовых свай" толщину стенки шпунтовых свай типа Ларсен изменить с "11" и "13" соответственно на "14,8" и "21" мм.
116. Графа первая таблицы "б" приложения 10:
в начале строки третьей вставить слово "Суглинки";
в строке четвертой слово "Суглинки" исключить;
в начале строки шестой вставить слово "Глины";
в строке седьмой слово "Глины" исключить.
117. Приложение 11 дополнить пунктом 16 следующего содержания:
"16. Расчет шпунтовых ограждений, сооружаемых в просадочных грунтах при возможности их замачивания, следует выполнять с использованием значений угла внутреннего трения и сцепления грунта в замоченном состоянии, определенных на основании данных инженерно-геологических изысканий".
118. Приложение 12:
наименование приложения изложить в следующей редакции:
"Эквивалентные нормативные нагрузки k (в тс/м пути) от консольных кранов и обращающегося на сети подвижного состава";
абзац третий пункта первого изложить в следующей редакции:
"Опорные реакции в однопролетных балках допускается определять по приведенным в табл. 1 значениям эквивалентных нагрузок, увеличенных для крана ГЭПК-130 на 15 % и для крана ГЭК-80 на 10 %.
119. Пункт 10.1 дополнить приложением 16а следующего содержания:
"Приложение 16а
КОЭФФИЦИЕНТЫ НАДЕЖНОСТИ И УСЛОВИЙ РАБОТЫ
А. Значения коэффициентов надежности по материалу стального проката и труб
Таблица 1
|
Государственный стандарт или технические условия на сталь |
Коэффициент надежности по материалу γm |
|
ГОСТ 23570-79, ТУ 14-1-3023-80 |
1,025 |
|
ГОСТ
380-71*, ГОСТ
10706-76* ГОСТ
10705-80, ГОСТ
14637-79, ГОСТ
19281-73 и ГОСТ
19282-73 (с пределом текучести до 380 МПа (39 кгс/мм |
1,05 |
|
ГОСТ 19281-73 и ГОСТ 19282-73 (с пределом текучести свыше 380 МПа (39 кгс/мм2) 1, ГОСТ 8731-74*, ТУ 14-3-829-79, ТУ 14-3-567-76 |
1,1 |
|
ТУ 14-1-1308-75, ТУ 14-1-1772-76 |
1,15 |
______________
1Для стали марки 14Г2АФ γm =1,05.
Примечания. 1. Коэффициенты надежности по материалу учтены в значениях расчетных сопротивлений, приведенных в приложении 17а.
2. Значения коэффициентов надежности по материалу приняты по главе СНиП II-23-81 (табл. 2 раздела 3).
Б. Значения коэффициента m (gc) условий работы элементов стальных конструкций
Таблица 2
|
№ пп |
Элементы конструкций |
Коэффициент условий работы m (gc) |
|
1 |
Сплошные балки (кроме расчетов на общую устойчивость) и сжатые элементы решетчатых пролетных строений |
0,90 |
|
2 |
Сплошные балки при расчетах на общую устойчивость |
0,95 |
|
3 |
Затяжки, тяги, оттяжки, подвески (но не крепления котлованов), выполненные из прокатной стали (кроме канатов и пучков из высокопрочной проволоки) |
0,90 |
|
4 |
Элементы стержневых конструкций: |
|
|
|
а) сжатые (за исключением трубчатых сечений) при расчетах на устойчивость |
0,90 |
|
|
б) растянутые в сварных конструкциях |
0,95 |
Примечания. 1. Коэффициенты условий работы m (gc) при расчете одновременно учитывать не следует.
2. Значения коэффициентов условий работы приняты по главе СНиП II-23-81 (табл. 6 раздела 4) с учетом особенности работы вспомогательных сооружений.
3. В неоговоренных случаях коэффициент m (gc) следует принимать равным 1.
В. Коэффициент условий работы для растянутого одиночного уголка, прикрепляемого одной полкой болтами
Коэффициент условий работы m (gc) при расчете на прочность растянутых элементов конструкций, а также сечений в местах крепления элементов из одиночных уголков, прикрепляемых одной полкой болтами, поставленными в один ряд, для сталей с пределом текучести до 380 МПа (3900 кгс/см2) следует определять по формулам главы СНиП II-23-81 (приложение 4).
Коэффициенты условий работы m (gc), определяемые по приложению 4 главы СНиП II-23-81 и указанные в поз. 3 табл. 2 приложения 16а, одновременно не учитывают.
Г. Коэффициенты условий работы соединений элементов на болтах
Таблица 3
|
№ пп |
Характеристика соединения |
Коэффициент условий работы соединений gв |
|
1 |
Многоболтовые соединения в расчетах на срез и смятие при болтах: |
|
|
|
повышенной точности |
1,0 |
|
|
грубой и нормальной точности |
0,9 |
|
2 |
Болтовые соединения элементов из стали с пределом текучести до 380 МПа (3900 кгс/см2) в расчете на смятие при расстояниях: а - вдоль усилия от края элемента до центра ближайшего отверстия; в - между центрами отверстий (в одноболтовом соединении при a = 15d , в многоболтовом - при a = 15d и в = 2d); (d - диаметр отверстия для болта) |
0,85 |
Примечания. 1. Коэффициенты, указанные в поз.1 и 2, следует учитывать одновременно.
2. При значениях расстояний "а" и "в", промежуточных между указанными в поз. 2 и в табл. 39 главы СНиП II-23-81, коэффициент gв следует определять линейной интерполяцией.
3. Значения указанных коэффициентов условий работы приняты по главе СНиП II-23-81 (табл. 35, раздел 11)".
120. Приложение 17 изложить в следующей редакции:
"Приложение 17
МАРКИ
СТАЛИ
для конструкций вспомогательных сооружений
|
Группы конструкций, марки стали |
ГОСТ или ТУ |
Категория стали для климатического района строительства (расчетная температура, °С) |
||
|
II4(-30 > t ≥ -40); II5 и др. (t ≥ -30) |
I2, II2, и II3 (-40 > t ≥ -50) |
I1 (-50 > t ≥ -65) |
||
|
Группа 1 |
|
|
|
|
|
18сп; 18Гпс; 18Гсп |
+ |
- |
- |
|
|
ВСт3сп; ВСт3Гпс |
ТУ 14-1-3023-80 |
5 |
- |
- |
|
ВСт3сп; ВСт3Гпс |
5 |
- |
- |
|
|
ВСтТпс |
ГОСТ 14637-79 |
в) |
- |
- |
|
09Г2С |
ТУ 14-1-3023-80 |
12 |
13 |
15 |
|
09Г2С; 10Г2С1; 15ХСНД |
12 |
13 |
15 |
|
|
09Г2С; 10Г2С1; 15ХСНД |
12 |
13 |
15 |
|
|
14Г2 |
12 |
- |
- |
|
|
14Г2АФб); 15Г2АФДпс; 10Г2С1б) |
12 |
13 |
15 |
|
|
10ХСНД |
12 |
13 |
15 |
|
|
10ХСНД |
12 |
13 |
15 |
|
|
18Г2АФпс; 15Г2СФб) |
12 |
13 |
15 |
|
|
Группа 2 |
|
|
|
|
|
18пс |
+ |
- |
- |
|
|
ВСт3пс |
ТУ 14-1-3023-80 |
6г) |
- |
- |
|
ВСт3пс |
6г) |
- |
- |
|
|
18сп; 18Гпс; 18Гсп |
+ |
- |
- |
|
|
ВСт3сп |
ТУ 14-1-3023-80 |
5 |
- |
- |
|
ВСт3сп |
5 |
- |
- |
|
|
ВСтТпс |
ГОСТ 14637-79 |
в) |
- |
- |
|
09Г2 |
ТУ 14-1-3023-80 |
6 |
12к) |
12к) |
|
09Г2 |
6 |
12к) |
12к) |
|
|
09Г2 |
6 |
12к) |
12к) |
|
|
09Г2С |
ТУ 14-1-3023-80 |
6 |
13ж) |
15ж) |
|
09Г2С; 10Г2С1; 15ХСНД |
6 |
13ж) |
15ж) |
|
|
09Г2С; 10Г2С1; 15ХСНД |
6 |
13ж) |
15ж) |
|
|
14Г2; 10ХНДП |
6 |
- |
- |
|
|
14Г2; 10ХНДП |
6 |
- |
- |
|
|
10ХНДП |
ТУ 14-1-389-72, ТУ 14-1-1217-75 |
д) |
- |
- |
|
14Г2АФб); 15Г2АФДпс |
6 |
13 |
15 |
|
|
10ХСНД |
6 |
13 |
15 |
|
|
10ХСНД |
6 |
13 |
15 |
|
|
18Г2АФпс; 15Г2СФ б) |
6 |
13 |
15 |
|
|
12Г2СМФ |
ТУ 14-1-1308-75 |
д) |
- |
- |
|
12ГН2МФАЮ |
ТУ 14-1-1772-76 |
- |
+ |
+ |
|
ВСт3пс (толщиной 6 - 10 мм) |
группа В, табл. 1 |
6 |
- |
- |
|
16Г2АФ (толщиной 6 - 9 мм) |
ТУ 14-3-567-76 |
+ |
+ |
+ |
|
Группа 3 |
|
|
|
|
|
18пс |
+ |
- |
- |
|
|
ВСт3пс |
ТУ 14-1-3023-80 |
6 |
- |
- |
|
ВСт3пс |
6 |
- |
- |
|
|
09Г2 |
ТУ 14-1-3023-80 |
6 |
6 |
12 |
|
09Г2 |
6 |
6 |
12 |
|
|
09Г2 |
6 |
6 |
12 |
|
|
ВСтТпс |
ГОСТ 14637-79 |
д) |
д) |
д) |
|
09Г2С |
ТУ 14-1-3023-80 |
6 |
6 |
7 или 12 |
|
14Г2; 09Г2С |
6 |
6 |
7или 12 |
|
|
14Г2; 09Г2С |
6 |
6 |
7 или 12 |
|
|
10Г2С1; 15ХСНД |
6 |
6 |
7 или 12 |
|
|
10Г2С1; 15ХСНД |
6 |
6 |
7 или 12 |
|
|
10ХНДП |
6 |
6 |
- |
|
|
10ХНДП |
6 |
6 |
- |
|
|
14Г2АФб); 15Г2АФДпс |
6 |
7 или 12 |
9 |
|
|
10ХСНД |
6 |
7 или 12 |
9 |
|
|
10ХСНД |
6 |
7 или 12 |
9 |
|
|
10Г2С1б) |
6 |
7 или 12 |
9 |
|
|
18Г2АФпс |
6 |
7 или 12 |
9 |
|
|
ВСт3пс (толщиной 5 - 15 мм) |
группа В, с дополнительным требованием по п. 1.6 |
4 |
- |
- |
|
ВСт3пс (толщиной 6 - 10 мм) |
ГОСТ 10705-80, группа В, табл. 1 |
6 |
- |
- |
|
16Г2АФ (толщиной 6 - 9 мм) |
ТУ 14-3-567-76 |
+ |
+ |
+ |
|
Группа 4 |
|
|
|
|
|
18кп |
+ |
- |
- |
|
|
ВСт3кп |
ТУ 14-1-3023-80 |
2 |
- |
- |
|
ВСт3кп |
2 |
- |
- |
|
|
18сп; 18Гпс; 18Гсп |
- |
+ |
+ |
|
|
ВСт3сп; ВСт3Гпс |
ТУ 14-1-3023-80 |
- |
5 |
5 |
|
ВСт3сп; ВСт3Гпс |
- |
5 |
5 |
|
|
ВСт3пс (толщиной 5 - 15 мм) |
группа В, с дополнительным требованием по п. 1.6 |
4 |
4 |
- |
|
ВСт3пс (толщиной 6 - 10 мм) |
группа В, табл. 1 |
6 |
6 |
- |
Обозначения, принятые в приложении 17:
б) термически упрочненная сталь;
в) с требованиями по ударной вязкости при температуре минус 40 °С и после механического старения - не менее 30 Дж/см2 (3 кгс∙м/см2);
г) для района II4 применять толщину не более 10 мм;
д) с требованиями по ударной вязкости при температуре минус 40 °С не менее 30 Дж/см2 (3 кгс∙м/см2);
е) кроме района II4;
ж) при строительстве в климатических районах I1 (при толщине проката не более 11 мм) и I2. I2. I3, допускается применение стали категории 12;
к) толщиной не более 10 мм.
Знак "+" означает, что категорию стали и требования к ней указывать в проекте не следует.
Знак "-" означает, что данную марку стали в указанном климатическом районе применять не следует.
Примечания. 1. Климатические районы строительства устанавливают в соответствии с ГОСТ 16350-80 "Климат СССР. Районирование и статистические параметры климатических факторов для технических изделий". Указанные в головке таблицы в скобках расчетные температуры соответствуют температуре наружного воздуха соответствующего района, за которую принимают среднюю температуру наиболее холодной пятидневки согласно указаниям главы СНиП по строительной климатологии и геофизике.
2. Обозначения марок стали, поставляемой по ТУ 14-1-3023-80, даны для групп прочности 1 и 2, которые следует указывать в заказе.
3. Применение углеродистой стали по ГОСТ 380-71*, а также низколегированной стали марок 09Г2 и 09Г2С по ГОСТ 19281-73 и ГОСТ 19282-73 допускается только при невозможности получения соответствующих марок стали по ГОСТ 23570-79 или по ТУ 14-1-3023-80.
4. Указанные категории стали относятся к прокату толщиной не менее 5 мм. При толщине проката менее 5 мм приведенные в таблице марки стали применяют без требования по ударной вязкости; для конструкций всех групп, кроме группы 1, во всех климатических районах, кроме I1, допускается применять прокат толщиной менее 5 мм из стали марок 18кп по ГОСТ 23570-79, ВСт3кп2 по ТУ 14-1-3023-80 или по ГОСТ 380-71*. За толщину фасонного проката следует принимать толщину полки.
5. При соответствующем технико-экономическом обосновании стали марок 09Г2С, 09Г2, 10Г2С1, 15Г2СФ, 14Г2АФ, 16Г2АФ, 18Г2АФпс можно заказывать как стали повышенной коррозионной стойкости (с медью); в этом случае к названию марок добавляют букву "Д", а именно: 09Г2СД, 09Г2Д, 10Г2С1Д, 15Г2СФД, 14Г2АФД, 16Г2АФД, 18Г2АФДпс согласно ГОСТ 19281-73 и ГОСТ 19282-73.
6. Марки стали, приведенные в настоящей таблице, приняты по главе СНиП II-23-81 (табл. 50 приложения 1).
7. При определении группы конструкций следует руководствоваться п. 102 Изменений".
121. Дополнительно включить приложение 17а следующего содержания:
"Приложение 17а
НОРМАТИВНЫЕ
И РАСЧЕТНЫЕ
сопротивления проката для стальных конструкций вспомогательных сооружений
|
Марка стали |
ГОСТ или ТУ |
Вид проката |
Толщина проката, мм |
Нормативное сопротивление, предел текучести, МПа (кгс/мм2) |
Расчетное сопротивление по пределу текучести, МПа (кгс/см2) |
|
18кп |
Лист |
4 - 20 |
225 (23) |
220 (2250) |
|
|
18кп |
" |
21 - 30 |
215 (22) |
210 (2150) |
|
|
18пс |
" |
4 - 16 |
235 (24) |
230 (2350) |
|
|
18сп |
" |
4 - 20 |
235 (24) |
230 (2350) |
|
|
18Гпс |
" |
4 - 20 |
235 (24) |
230 (2350) |
|
|
18Гпс |
" |
21 - 30 |
225 (23) |
220 (2250) |
|
|
18кп |
Фасон |
4 - 20 |
235 (24) |
230 (2350) |
|
|
18пс, 18сп, 18Гпс |
" |
4 - 20 |
245 (25) |
240 (2450) |
|
|
18Гпс |
" |
21 - 30 |
225 (23) |
220 (2250) |
|
|
ВСт3кп2-1 |
ТУ 14-1-3023-80 |
Лист |
4 - 10 |
225 (23) |
220 (2250) |
|
ВСт3кп2-1 |
ТУ 14-1-3023-80 |
" |
11 - 20 |
215 (22) |
210 (2150) |
|
ВСт3пс6-1 |
ТУ 14-1-3023-80 |
" |
4 - 10 |
235 (24) |
230 (2350) |
|
ВСт3пс6-1 |
ТУ 14-1-3023-80 |
" |
11 - 20 |
235 (24) |
230 (2350) |
|
ВСт3пс6-2 |
ТУ 14-1-3023-80 |
" |
4 - 10 |
275 (28) |
270 (2750) |
|
ВСт3пс6-2 |
ТУ 14-1-3023-80 |
" |
11 - 20 |
265 (27) |
260 (2650) |
|
ВСт3сп5-1, ВСт3Гпс5-1 |
ТУ 14-1-3023-80 |
" |
4 - 10 |
245 (25) |
240 (2450) |
|
ВСт3сп5-1, ВСт3Гпс5-1 |
ТУ 14-1-3023-80 |
" |
11 - 20 |
235 (24) |
230 (2350) |
|
ВСт3сп5-2, ВСт3Гпс5-2 |
ТУ 14-1-3023-80 |
" |
4 - 10 |
275 (28) |
270 (2750) |
|
ВСт3сп5-2, ВСт3Гпс5-2 |
ТУ 14-1-3023-80 |
" |
11 - 20 |
265 (27) |
260 (2650) |
|
ВСт3пс6-1 |
ТУ 14-1-3023-80 |
Фасон |
4 - 10 |
245 (25) |
240 (2450) |
|
ВСт3пс6-1 |
ТУ 14-1-3023-80 |
" |
11 - 20 |
245 (25) |
240 (2450) |
|
ВСт3пс6-1 |
ТУ 14-1-3023-80 |
" |
21 - 30 |
225 (23) |
220 (2250) |
|
ВСт3пс6-2 |
ТУ 14-1-3023-80 |
" |
4 - 10 |
275 (28) |
270 (2750) |
|
ВСт3пс6-2 |
ТУ 14-1-3023-80 |
" |
11 - 20 |
275 (28) |
270 (2750) |
|
ВСт3сп5-1, ВСт3Гпс5-1 |
ТУ 14-1-3023-80 |
" |
4 - 10 |
255 (26) |
250 (2550) |
|
ВСт3сп5-1, ВСт3Гпс5-1 |
ТУ 14-1-3023-80 |
" |
11 - 20 |
245 (25) |
240 (2450) |
|
ВСт3сп5-1, ВСт3Гпс5-1 |
ТУ 14-1-3023-80 |
Фасон |
21 - 30 |
235 (24) |
230 (2350) |
|
ВСт3сп5-2, ВСт3Гпс5-2 |
ТУ 14-1-3023-80 |
" |
4 - 10 |
285 (29) |
280 (2850) |
|
ВСт3сп5-2, ВСт3Гпс5-2 |
ТУ 14-1-3023-80 |
" |
11 - 20 |
275 (28) |
270 (2750) |
|
ВСтТпс |
ГОСТ 14637-79 |
Лист |
10 - 30 |
295 (30) |
280 (2850) |
|
09Г2 гр. 1 |
ТУ 14-1-3023-80 |
" |
4 - 10 |
315 (32) |
305 (3100) |
|
09Г2 гр.1 |
ТУ 14-1-3023-80 |
Фасон |
4 - 10 |
315 (32) |
305 (3100) |
|
09Г2 гр.1 |
ТУ 14-1-3023-80 |
Лист |
11 - 20 |
305 (31) |
300 (3050) |
|
09Г2 гр.1 |
ТУ 14-1-3023-80 |
Фасон |
11 - 20 |
305 (31) |
300 (3050) |
|
09Г2 гр.1 |
ТУ 14-1-3023-80 |
" |
21 - 30 |
295 (30) |
290 (2950) |
|
09Г2 гр.2 |
ТУ 14-1-3023-80 |
Лист |
4 - 10 |
345 (35) |
335 (3400) |
|
09Г2 гр.2 |
ТУ 14-1-3023-80 |
Фасон |
4 - 10 |
345 (35) |
335 (3400) |
|
09Г2 гр.2 |
ТУ 14-1-3023-80 |
Лист |
11 - 20 |
335 (34) |
325 (3300) |
|
09Г2 гр.2 |
ТУ 14-1-3023-80 |
Фасон |
11 - 20 |
335 (34) |
325 (3300) |
|
09Г2С гр.1 |
ТУ 14-1-3023-80 |
Лист |
4 - 10 |
345 (35) |
335 (3400) |
|
09Г2С гр.1 |
ТУ 14-1-3023-80 |
Фасон |
4 - 10 |
345 (35) |
335 (3400) |
|
09Г2С гр.1 |
ТУ 14-1-3023-80 |
Лист |
11 - 20 |
325 (33) |
315 (3200) |
|
09Г2С гр.1 |
ТУ 14-1-3023-80 |
Фасон |
11 - 20 |
325 (33) |
315 (3200) |
|
09Г2С гр.1 |
ТУ 14-1-3023-80 |
" |
21 - 30 |
305 (31) |
300 (3050) |
|
09Г2С гр.2 |
ТУ 14-1-3023-80 |
Лист |
4 - 10 |
365 (37) |
355 (3600) |
|
09Г2С гр.2 |
ТУ 14-1-3023-80 |
Фасон |
4 - 10 |
370 (38) |
360 (3650) |
|
09Г2С гр.2 |
ТУ 14-1-3023-80 |
Лист |
11 - 20 |
345 (35) |
335 (3400) |
|
09Г2С гр.2 |
ТУ 14-1-3023-80 |
Фасон |
11 - 20 |
355 (36) |
345 (3500) |
|
09Г2С |
Лист |
21 - 30 |
305 (31) |
290 (2950) |
|
|
10Г2С1 |
" |
5 - 9 |
345 (35) |
330 (3350) |
|
|
10Г2С1 |
Фасон |
5 - 9 |
345 (35) |
330 (3350) |
|
|
10Г2С1 |
Лист |
10 - 20 |
335 (34) |
320 (3250) |
|
|
10Г2С1 |
Фасон |
10 - 20 |
335 (34) |
320 (3250) |
|
|
10Г2С1 |
Лист |
21 - 30 |
325 (33) |
310 (3150) |
|
|
10Г2С1 |
Фасон |
21 - 30 |
325 (33) |
310 (3150) |
|
|
14Г2 |
Лист |
4 - 9 |
335 (34) |
320 (3250) |
|
|
14Г2 |
Фасон |
4 - 9 |
335 (34) |
320 (3250) |
|
|
14Г2 |
Лист |
10 - 30 |
325 (33) |
310 (3150) |
|
|
14Г2 |
Фасон |
10 - 30 |
325 (33) |
310 (3150) |
|
|
15ХСНД |
Лист |
4 - 30 |
345 (35) |
330 (3350) |
|
|
15ХСНД |
Фасон |
4 - 9 |
345 (35) |
330 (3350) |
|
|
15ХСНД |
" |
10 - 30 |
325 (33) |
310 (3150) |
|
|
10ХНДП |
Лист |
4 - 9 |
345 (35) |
330 (3350) |
|
|
10ХНДП |
Фасон |
4 - 9 |
345 (35) |
330 (3350) |
|
|
10ХНДП |
ТУ 14-1-389-72 |
" |
4 - 12 |
345 (35) |
330 (3350) |
|
10ХНДП |
ТУ 14-1-1217-75 |
Лист |
4 - 9 |
345 (35) |
330 (3350) |
|
10ХНДП |
ТУ 14-1-1217-75 |
" |
До 16 |
295 (30) |
280 (2850) |
|
14Г2АФ |
" |
4 - 30 |
390 (40) |
370 (3750) |
|
|
15Г2АФДпс |
" |
4 - 30 |
390 (40) |
355 (3600) |
|
|
10Г2С1 термоупрочненная |
" |
10 - 30 |
390 (40) |
355 (3600) |
|
|
10ХСНД |
Фасон |
4 - 15 |
390 (40) |
355 (3600) |
|
|
10ХСНД |
Лист |
4 - 30 |
390 (40) |
355 (3600) |
|
|
16Г2АФ |
" |
4 - 30 |
440 (45) |
400 (4100) |
|
|
18Г2АФпс |
" |
4 - 30 |
440 (45) |
400 (4100) |
|
|
15Г2СФ термоупрочненная |
" |
10 - 30 |
440 (45) |
400 (4100) |
|
|
12Г2СМФ |
ТУ 14-1-1308-75 |
" |
10 - 30 |
590 (60) |
515 (5250) |
|
12ГН2МФАЮ |
ТУ 14-1-1772-76 |
" |
16 - 30 |
590 (60) |
515 (5250) |
|
ВСт3кп2 |
" |
4 - 20 |
225 (23) |
215 (2200) |
|
|
ВСт3кп2 |
" |
21 - 30 |
215 (22) |
205 (2100) |
|
|
ВСт3пс6, ВСт3сп5, ВСт3Гпс5 |
" |
4 - 20 |
235 (24) |
225 (2300) |
|
|
ВСт3пс, ВСт3сп, ВСт3Гпс |
" |
21 - 30 |
225 (23) |
215 (2200) |
|
|
ВСт3кп2 |
Фасон |
4 - 20 |
235 (24) |
225 (2300) |
|
|
ВСт3кп2 |
" |
21 - 30 |
215 (22) |
205 (2100) |
|
|
ВСт3пс6, ВСт3сп5, ВСт3Гпс5 |
Фасон |
4 - 20 |
245 (25) |
235 (2400) |
|
|
ВСт3пс, ВСт3сп, ВСт3Гпс |
" |
21 - 30 |
225 (23) |
215 (2200) |
|
|
09Г2 |
Лист |
4 - 20 |
305 (31) |
290 (2950) |
|
|
09Г2 |
Фасон |
4 - 20 |
305 (31) |
290 (2950) |
|
|
09Г2 |
Лист |
21 - 30 |
295 (30) |
280 (2850) |
|
|
09Г2 |
Фасон |
21 - 30 |
295 (30) |
280 (2850) |
|
|
09Г2С |
Лист |
4 - 9 |
345 (35) |
330 (3350) |
|
|
09Г2С |
" |
10 - 20 |
325 (33) |
310 (3150) |
|
|
09Г2С |
Фасон |
4 - 9 |
345 (35) |
330 (3350) |
|
|
09Г2С |
" |
10 - 20 |
325 (33) |
310 (3150) |
|
|
09Г2С |
" |
21 - 30 |
305 (31) |
290 (2950) |
|
|
Вст3пс |
Труба |
До 10 |
225 (23) |
215 (2200) |
|
|
ВСт3пс4 |
" |
4 - 15 |
245 (25) |
235 (2400) |
|
|
20 |
" |
4 - 30 |
245 (25) |
225 (2300) |
|
|
09Г2С |
ТУ 14-3-500-76 |
" |
8 - 15 |
265 (27) |
250 (2550) |
|
16Г2АФ |
ТУ 14-3-567-76 |
" |
6 - 9 |
440 (45) |
400 (4100) |
|
16Г2АФ |
ТУ 14-3-829-79 |
" |
16 - 30 |
350 (35,5) |
320 (3250) |
Примечания. 1. Приложение 17а составлено по данным табл. 51 приложения 1 к главе СНиП II-23-81.
2. За толщину фасонного проката следует принимать толщину полки по соответствующему стандарту или ТУ".
122. Дополнительно включить приложение 17б следующего содержания:
"Приложение 17б
НОРМЫ
ХИМИЧЕСКОГО СОСТАВА
низколегированной стали (по ГОСТ
19282-73)
|
Марки стали |
Содержание элементов, % |
|||||||
|
Углерод |
Кремний С |
Марганец Г |
Хром X |
Никель Н |
Медь Д |
Ванадий Ф |
Другие элементы |
|
|
09Г2 |
≤ 0,12 |
0,17 - 0,37 |
1,4 - 1,8 |
≤ 0,30 |
≤ 0,30 |
≤ 0,30 |
- |
- |
|
14Г2 |
0,12 - 0,18 |
0,17 - 0,37 |
1,2 - 1,6 |
≤ 0,30 |
≤ 0,30 |
≤ 0,30 |
- |
- |
|
09Г2С |
≤ 0,12 |
0,5 - 0,8 |
1,3 - 1,7 |
≤ 0,30 |
≤ 0,30 |
≤ 0,30 |
- |
- |
|
10Г2С1 |
≤ 0,12 |
0,8 - 1,1 |
1,3 - 1,65 |
≤ 0,30 |
≤ 0,30 |
≤ 0,30 |
- |
- |
|
15Г2СФ |
0,12 - 0,18 |
0,4 - 0,7 |
1,3 - 1,7 |
≤ 0,30 |
≤ 0,30 |
≤ 0,30 |
0,05 - 0,10 |
- |
|
14Г2АФ |
0,12 - 0,18 |
0,3 - 0,6 |
1,2 - 1,6 |
≤ 0,40 |
≤ 0,30 |
≤ 0,30 |
0,07 - 0,12 |
Азот А 0,015 - 0,025 |
|
16Г2АФ |
0,14 - 0,20 |
0,3 - 0,6 |
1,3 - 1,7 |
≤ 0,40 |
≤ 0,30 |
≤ 0,30 |
0,08 - 0,14 |
Азот А 0,015 - 0,025 |
|
18Г2АФпс |
0,14 - 0,22 |
До 0,17 |
1,3 - 1,7 |
≤ 0,30 |
≤ 0,30 |
≤ 0,30 |
0,08 - 0,15 |
Азот А 0,015 - 0,030 |
|
10ХСНД |
≤ 0,12 |
0,8 - 1,1 |
0,5 - 0,8 |
0,6 - 0,9 |
0,5 - 0,8 |
0,4 - 0,6 |
- |
- |
|
15ХСНД |
0,12 - 0,18 |
0,4 - 0,7 |
0,4 - 0,7 |
0,6 - 0,9 |
0,3 - 0,6 |
0,2 - 0,4 |
- |
- |
|
10ХНДП |
≤ 0,12 |
0,17 - 0,37 |
0,3 - 0,6 |
0,5 - 0,8 |
0,3 - 0,6 |
0,3 - 0,5 |
- |
Фосфор 0,07 - 0,12 Алюминий 0,08 - 0,15 |
Примечания. 1.В обозначении марок стали цифры и буквы означают: двухзначные цифры слева - примерное среднее содержание углерода в сотых долях процента, буквы справа от цифр - сокращенные наименования химических элементов.
2. В готовом прокате при условии обеспечения
механических свойств стали допускаются отклонения по химическому составу в
процентах: углерод ± 0,02; С, X, Н, Д ± 0,05; Г ± 0,10;
А + 0,005.
3. Для стали марки 18Г2АФпс плюсовое отклонение по содержанию углерода не допускается.
4. В стали марки 10ХНДП допускается отклонение по
содержанию фосфора +0,03 %, алюминия
".
123. Дополнительно включить приложение 17в следующего содержания:
"Приложение 17в
ЗАВИСИМОСТЬ
КАТЕГОРИИ СТАЛИ
от нормируемых механических свойств ее (по ГОСТ
19282-73)
|
Нормируемые характеристики |
Категория |
||||||||||||||
|
1 |
2 |
3 |
4 |
5 |
6 |
7 |
8 |
9 |
10 |
11 |
12 |
13 |
14 |
15 |
|
|
Химический состав |
+ |
+ |
+ |
+ |
+ |
+ |
+ |
+ |
+ |
+ |
+ |
+ |
+ |
+ |
+ |
|
Механические свойства при растяжении и изгибе в холодном состоянии |
- |
+ |
+ |
+ |
+ |
+ |
+ |
+ |
+ |
+ |
+ |
+ |
+ |
+ |
+ |
|
Ударная вязкость при температуре +20 °С |
- |
- |
+ |
- |
- |
- |
- |
- |
- |
- |
- |
- |
- |
- |
- |
|
Ударная вязкость после механического старения |
- |
- |
- |
+ |
- |
- |
- |
- |
- |
- |
- |
- |
- |
- |
- |
|
Ударная вязкость при температурах, °С: |
|
|
|
|
|
|
|
|
|
|
|
|
|
|
|
|
минус 20 |
- |
- |
- |
- |
+ |
- |
- |
- |
- |
- |
- |
- |
- |
- |
- |
|
минус 40 |
- |
- |
- |
- |
- |
+ |
- |
- |
- |
- |
- |
- |
- |
- |
- |
|
минус 50 |
- |
- |
- |
- |
- |
- |
+ |
- |
- |
- |
- |
- |
- |
- |
- |
|
минус 60 |
- |
- |
- |
- |
- |
- |
- |
+ |
- |
- |
- |
- |
- |
- |
- |
|
минус 70 |
- |
- |
- |
- |
- |
- |
- |
- |
+ |
- |
- |
- |
- |
- |
- |
|
Ударная вязкость после механического старения и при температурах, °С: |
|
|
|
|
|
|
|
|
|
|
|
|
|
|
|
|
+20 |
- |
- |
- |
- |
- |
- |
- |
- |
- |
+ |
- |
- |
- |
- |
- |
|
минус 20 |
- |
- |
- |
- |
- |
- |
- |
- |
- |
- |
+ |
- |
- |
- |
- |
|
минус 40 |
- |
- |
- |
- |
- |
- |
- |
- |
- |
- |
- |
+ |
- |
- |
- |
|
минус 50 |
- |
- |
- |
- |
- |
- |
- |
- |
- |
- |
- |
- |
+ |
- |
- |
|
минус 60 |
- |
- |
- |
- |
- |
- |
- |
- |
- |
- |
- |
- |
- |
+ |
- |
|
минус 70 |
- |
- |
- |
- |
- |
- |
- |
- |
- |
- |
- |
- |
- |
- |
+ |
124. Дополнительно включить приложение 17г следующего содержания:
"Приложение 17г
МЕХАНИЧЕСКИЕ
свойства высокопрочных болтов
|
Номинальный диаметр резьбы d, мм |
Марка стали по ГОСТ 4543-71* |
Наименьшее временное сопротивление, МПа (кгс/мм2) |
|
|
40Х "селект" |
1100 (110) |
|
|
38ХС "селект", 40ХФА "селект" |
1350 (135) |
|
От 16 до 27 |
30Х3МФ |
1550 (155) |
|
|
30Х2НМФА |
1550 (155) |
Примечание. Значения наименьших временных сопротивлений стали для болтов приняты по главе СНиП II-23-81 (табл. 61 приложения 2)".
125. Дополнительно включить приложение 17д следующего содержания:
"Приложение 17д
ТРЕБОВАНИЯ
К БОЛТАМ
при различных условиях их применения
|
Условия применения |
Технологические требования по ГОСТ 1759-70* |
|||
|
Климатический район |
Условия работы болтов |
Класс прочности болтов (табл. 1) |
Дополнительные виды испытаний (табл. 10) |
Марка стали болтов |
|
В конструкциях, не рассчитываемых на выносливость |
||||
|
Все районы, кроме I1, I2 |
Растяжение или срез |
4.6; 5.6 |
Поз. 1 |
По табл. 1 |
|
II2 и II3 |
|
4.8; 5.8 |
То же |
То же |
|
|
6.6 |
" |
35 |
|
|
|
Растяжение или срез |
4.6; 5.6 |
Поз. 1 и 4 |
По табл. 1 |
|
I1, I2 II2 и II3 |
|
4.8*; 5.8* |
Поз. 1 |
То же |
|
8.8 |
Поз. 3 и 7 |
35Х; 38ХА |
||
|
|
Срез |
4.8; 5.8 |
Поз. 1 |
По табл. 1 |
|
В конструкциях, рассчитываемых на выносливость |
||||
|
Все районы, кроме I1, I2 |
Растяжение или срез |
4.6; 5.6 |
Поз. 1 и 4 |
По табл. 1 |
|
II2 и II3 |
|
6.6 |
То же |
35 |
|
Срез |
4.8; 5.8 |
Поз. 1 |
По табл. 1 |
|
|
|
Растяжение или срез |
4.6; 5.6 |
Поз. 1 и 4 |
По табл. 1 |
|
I1. II2, II3 |
|
8.8 |
Поз. 3 и 7 |
35Х; 38ХА |
|
|
Срез |
4.8; 5.8 |
Поз. 1 |
По табл. 1 |
|
Растяжение или срез |
8.8 |
Поз. 3 и 7 |
35Х; 38ХА |
|
|
I1 |
Срез |
4.6; 5.6 |
Поз. 1 и 4 |
По табл. 1 |
|
|
|
4.8*; 5.8* |
Поз. 1 |
То же |
_____________
* Требуется дополнительный последующий отпуск при t = 650 °C.
Примечания. 1. Во всех климатических районах, кроме I1, I2, II2 и II3 в нерасчетных соединениях допускается применять болты с подголовком грубой и нормальной точности по ГОСТ 15590-70* и ГОСТ 7795-70* без дополнительных видов испытаний, предусмотренных в настоящей таблице.
2. При заказе болтов класса прочности 6.6 и 8.8 следует указывать марки стали.
3. При заказе болтов класса прочности 4.8 и 5.8 необходимо указывать, что применение автоматной стали не допускается.
4. Требования к болтам, указанные в настоящей таблице, приняты по главе СНиП II-23-81 (табл. 57 приложения 2)".
126. Дополнительно включить приложение 17е следующего содержания:
"Приложение 17е
РАСЧЕТНЫЕ
сопротивления срезу и растяжению болтов
|
Напряженное состояние |
Расчетное сопротивление, МПа (кгс/см2), болтов классов |
|||||
|
4.6 |
4.8 |
5.6 |
5.8 |
6.6 |
8.8 |
|
|
Срез |
150 (1500) |
160 (1600) |
190 (1900) |
200 (2000) |
230 (2300) |
320 (3200) |
|
Растяжение |
175 (1750) |
160 (1600) |
210 (2100) |
200 (2000) |
250 (2500) |
400 (4000) |
Примечание. В таблице указаны значения расчетных сопротивлений для одноболтовых соединений по табл. 58 приложения 2 главы СНиП II-23-81".
127. Дополнительно включить приложение 17ж следующего содержания:
"Приложение 17 ж
РАСЧЕТНЫЕ
сопротивления смятию элементов, соединяемых болтами
|
Временное сопротивление стали соединяемых элементов, МПа (кгс/мм2) |
Расчетные сопротивления, МПа (кгс/см2), смятию элементов, соединяемых болтами |
|
|
повышенной точности |
нормальной и грубой точности |
|
|
345 (35) |
365 (3700) |
335 (3400) |
|
355 (36) |
385 (3900) |
350 (3550) |
|
365 (37) |
400 (4050) |
365 (3700) |
|
370 (38) |
410 (4250) |
370 (3850) |
|
380 (39) |
430 (4400) |
385 (4000) |
|
390 (40) |
445 (4600) |
400 (4150) |
|
400 (41) |
465 (4750) |
415 (4300) |
|
410 (42) |
485 (4950) |
435 (4450) |
|
420 (43) |
500 (5150) |
450 (4600) |
|
430 (44) |
520 (5350) |
465 (4800) |
|
440 (45) |
540 (5550) |
485 (4950) |
|
450 (46) |
560 (5750) |
500 (5100) |
|
460 (47) |
580 (5950) |
520 (5300) |
|
470 (48) |
600 (6150) |
535 (5450) |
|
480 (49) |
620 (6350) |
555 (5650) |
|
490 (50) |
640 (6550) |
570 (5850) |
|
500 (51) |
665 (6750) |
590 (6000) |
|
510 (52) |
685 (7000) |
610 (6200) |
|
520 (53) |
705 (7200) |
630 (6400) |
|
530 (54) |
730 (7400) |
645 (6600) |
|
540 (55) |
750 (7650) |
665 (6800) |
|
550 (56) |
775 (7900) |
685 (7000) |
|
560 (57) |
800 (8100) |
705 (7200) |
|
570 (58) |
820 (8350) |
725 (7400) |
|
580 (59) |
845 (8600) |
745 (7600) |
|
590 (60) |
870 (8850) |
- |
Примечание. Значения расчетных сопротивлений приняты по главе СНиП II-23-81 (табл. 59 приложения 2)".
128. Дополнительно включить приложение 17з следующего содержания:
"Приложение 17з
МАТЕРИАЛЫ
ДЛЯ СВАРКИ,
соответствующие маркам стали
|
Группы конструкций в климатических районах |
Марки стали |
Материалы для сварки |
|||
|
под флюсом |
в углекислом газе (по ГОСТ 8050-76) |
покрытыми электродами |
|||
|
Марки |
Тип электродов (по ГОСТ 9467-75) |
||||
|
флюсов (по ГОСТ 9087-81) |
сварочной проволоки (по ГОСТ 2246-70*) |
||||
|
|
18сп, 18пс, 18кп, 18Гсп, 18Гпс ВСт3сп, ВСт3пс, ВСт3кп, ВСт3Гпс, 20, ВСтТпс |
АН-348-А, АН-60 |
Св-08А, Св-08ГА |
Св-08Г2С, Св-08Г2СЦ |
Э42, Э46 |
|
2 и 3 во всех районах, кроме I1, I2, II2 и II3 |
09Г2С, 09Г2, 10Г2С1, 14Г2, 15ХСНД, 10ХСНД, 10ХНДП |
АН-47, АН-43, АН-17М |
Св-10НМА, Св-08ХМ, Св-10Г22, Св-08ГА2, Св-10ГА2 |
|
Э46, Э50 |
|
|
18Г2АФпс, 16Г2АФ, 15Г2СФ, 15Г2АФДпс, 14Г2АФ |
АН-348-А1 |
Св-10НМА, Св-08ХМ3 |
Св-08Г2С, Св-08Г2СЦ, Св-08ХГСМА, Св-10ХГ2СМА |
Э50, Э60 |
|
|
18сп, 18Гпс, 18Гсп, ВСт3сп, ВСт3пс, ВСт3Гпс, 20, ВСтТпс |
АН-348-А |
Св-08А, Св-08ГА |
Св-08Г2С, Св-08Г2СЦ |
Э42А, Э46А |
|
1 во всех районах; 2 и 3 в районах I1, I2, II2 и II3 |
09Г2С, 09Г2, 10Г2С1, 14Г2, 15ХСНД, 10ХНДП, 10ХСНД |
АН-47, АН-43, АН-348-А1 |
Св-10НМА |
|
Э46А, Э50А |
|
18Г2АФпс, 16Г2АФ, 15Г2АФДпс, 14Г2АФ |
АН-47, АН-17М, АН-348-А1 |
Св-08ХМ3 |
Св-08Г2С, Св-08Г2СЦ, Св-08ХГСМА, Св-10ХГ2СМА |
Э50А, Э60 |
|
|
|
12ГН2МФАЮ, 12Г2СМФ |
АН-17М |
Св-08ХН2ГМЮ |
Св-10ХГ2СМА |
Э70 |
____________
1 Применение флюса АН-348-А требует проведения дополнительного контроля механических свойств металла шва при сварке соединений элементов всех толщин для конструкций климатических районов I1, I2, II2 и II3.
2 Не применять в сочетании с флюсом АН-43.
3 Применять только в сочетании с флюсом АН-47.
Примечания. 1. Флюс марки АН-47 поставляется по ТУ 14-1-1353-75, марки АН-43 - по ТУ-14-1-753-73, марки АН-17М - по ЧМТУ 1-1017-70.
2. Данные по материалам для сварки приняты по главе СНиП II-23-81 (табл. 55 приложения 2).
3. При соответствующем технико-экономическом обосновании для сварки конструкций разрешается использовать сварочные материалы (проволоки, флюсы, защитные газы), не указанные в настоящей таблице. При этом механические свойства металла шва, выполняемого с их применением, должны быть не ниже свойств, обеспечиваемых применением материалов согласно настоящей таблице".
129. Дополнительно включить приложение 17и следующего содержания:
"Приложение 17и
НОРМАТИВНЫЕ
И РАСЧЕТНЫЕ
сопротивления металла швов сварных соединений с угловыми швами
|
Сварочные материалы |
Сопротивления |
||
|
Тип электрода по ГОСТ 9467-75 |
Марки проволоки |
нормативные, МПа (кгс/см2) |
расчетные, МПа (кгс/см2) |
|
Э42, Э42А |
Св-08, Св-08А |
410 (4200) |
180 (1850) |
|
Э46, Э46А |
СВ-08ГА |
450 (4600) |
200 (2050) |
|
Э50, Э50А |
Св-10ГА, Св-08Г2С, Св-08 Г2СЦ, ПП-АН8, ПП-АН3 |
490 (5000) |
215 (2200) |
|
Э60 |
Св-08Г2С*, Св-08Г2СЦ*, Св-10НМА, Св-10Г2 |
590 (6000) |
240 (2450) |
|
Э70 |
СВ-10ХГ2СМА, Св-08ХН2ГМЮ |
685 (7000) |
280 (2850) |
|
Э85 |
- |
835 (8500) |
340 (3450) |
_____________
* Только для швов с катетом не более 8 мм в конструкциях из стали с пределом текучести 440 МПа (4500 кгс/см2) и более.
Примечание. Нормативные и расчетные сопротивления, указанные в настоящей таблице, приняты по главе СНиП II-23-81 (табл. 56 приложения 2)".
130. Дополнительно включить приложение 19 следующего содержания:
"Приложение 19
РАСЧЕТ
устойчивости грунта дна котлована
Расчет устойчивости грунта дна котлована включает проверки на выпучивание и фильтрационный выпор.
Проверка на выпучивание производится по формулам
![]()
![]()
![]()
где Pв- предельное сопротивление грунта дна котлована силам выпучивания, тс/м2;
k и М - коэффициенты, принимаемые по табл. 1;
с - расчетное сцепление в грунте, тс/м2;
g = 2 т/м3 - объемная масса грунта;
gв = 1 т/м3 - то же воды;
Nc, Nq, Ng - опытные коэффициенты (табл. 2) несущей способности грунта, находящегося в пределах шпунтового ограждения, зависящие от расчетного угла внутреннего трения грунта φ;
А - расстояние от дна котлована до нижних концов шпунтового ограждения;
В - меньшая сторона прямоугольного, сторона квадратного или радиус круглого котлована, м;
h - слой воды над грунтом, м;
kв - коэффициент устойчивости на выпучивание, принимаемый не менее 1,4;
P - давление столба грунтовой массы высотой h2 и слоя воды h1 на основание ав, тс/м2 (рис. 1).

Рис. 1. Расчетная схема к определению давления грунта и воды на плоскость ав
Фильтрационный выпор грунта дна котлована происходит только при откачке из него воды в песчаных грунтах, супесях и песчаных илах. Выпор начинается около шпунтового ограждения.
Таблица 1
|
Форма котлована в плане |
k |
М |
|
Прямоугольная |
0,7 |
0,5 |
|
Квадратная |
0,8 |
0,5 |
|
Круглая |
0,9 |
0,6 |
Расчетные значения величин φ и с определяют по материалам инженерно-геологических изысканий. В условиях гидродинамического воздействия (для случаев откачки воды из котлованов) значения φ следует уменьшать в два раза.
Таблица 2
|
φ, град |
Nс |
Ng |
Ng |
|
0 |
5,0 |
1,5 |
0 |
|
5 |
6,2 |
1,8 |
0 |
|
10 |
7,6 |
2,1 |
0 |
|
15 |
9,3 |
3,0 |
0,5 |
|
20 |
11,5 |
4,0 |
1,0 |
|
25 |
14,0 |
5,5 |
2,5 |
|
30 |
18,0 |
8,0 |
5,0 |
|
35 |
23,0 |
12,5 |
8,0 |
Проверку на фильтрационный выпор производят по формуле
,
где kф коэффициент устойчивости на фильтрационный выпор, принимаемый не менее 1,4;
Аф - суммарная высота столба речной и грунтовой воды внутри котлована, считая от низа шпунта, м;
H - разность высот столбов речной и грунтовой воды снаружи и внутри котлована, считая от низа шпунта, м".