ТСН 50-302-96
ТЕРРИТОРИАЛЬНЫЕ СТРОИТЕЛЬНЫЕ НОРМЫ
Устройство фундаментов гражданских зданий и сооружений в Санкт-Петербурге и на территориях, административно подчиненных Санкт-Петербургу
Дата введения 1997-01-14
РАЗРАБОТАНЫ комиссией в составе:
председатель: действительный член Петровской академии наук и искусcтв, почетный член Российской академии архитектуры и строительных наук, заслуженный деятель науки и техники РСФСР, докт. техн. наук, проф. Б.И. Далматов /СПбГАСУ/;
заместитель председателя: докт. техн. наук, проф. Н.Н. Морарескул /ПГУПС/;
члены комиссии:
инж. В.П. Вершинин /АО ЛенНИИпроект/,
к.т.н., с.н.с. Е.М. Перлей /ВНИИГС/,
инж. А.М. Рукавцов,
докт. техн. наук, проф. С.Н. Сотников /СПбГАСУ/,
инж. Е.Л. Челноков /АО ЛенНИИпроект/
*секретариат:
________________
* На первом этапе составления ТСН секретарем редакционной комиссии являлся докт. техн. наук, проф. В.М.Улицкий (СПбГАСУ)
отв. секретарь - докт. техн. наук, проф. В.Н. Бронин /СПбГАСУ/,
секретарь - канд. техн. наук А.И. Осокин /ЗАО "ГЕОСТРОЙ"/;
и др. с привлечением специалистов, указанных в предисловии.
ПРЕДСТАВЛЕНЫ К УТВЕРЖДЕНИЮ СПбГАСУ и Комиссией по фундаментостроению при Администрации Санкт-Петербурга.
ПОДГОТОВЛЕНЫ К УТВЕРЖДЕНИЮ Комитетом по градостроительству и архитектуре Администрации Санкт-Петербурга.
УТВЕРЖДЕНЫ распоряжением губернатора Санкт-Петербурга от 09.09.96 № 193-р, введены в действие с 14.01.97 Минстроем России. С введением в действие ТСН 50-302-96 "Устройство фундаментов гражданских зданий и сооружений в Санкт-Петербурге и на территориях, административно подчиненных Санкт-Петербургу" утрачивают силу ВТУ 401-01-388-71 "Устройство фундаментов гражданских зданий и сооружений в Ленинграде и его пригородных районах (Особенности изысканий, проектирования и строительства)".
СОДЕРЖАНИЕ
1.1. Особенности инженерно-геологических условий территории С.-Петербурга и его пригородных районов
1.2. Основные конструктивные решения жилых и общественных зданий
1.3. Характеристика конструкций каменных жилых и гражданских зданий старой постройки
1.4. Меры по уменьшению чувствительности конструкции к неравномерным осадкам
1.5. Рекомендации по конструкциям новых зданий, примыкающих к существующим
1.6. Оптимизация решений при проектировании фундаментов
1.7. Посадка зданий и сооружений на участке строительства
1.8. Организация и проведение наблюдений за развитием осадок оснований зданий и сооружений
1.9. Учет совместной работы несущих конструкций зданий и сооружений с их основанием
2. ТРЕБОВАНИЯ К ИНЖЕНЕРНЫМ ИЗЫСКАНИЯМ, ОБСЛЕДОВАНИЯМ И ИСПЫТАНИЯМ
2.2. Инженерно-геологические изыскания
2.3. Технические обследования существующих зданий и сооружений
2.4. Требования к испытаниям по определению несущей способности свай и грунтовых анкеров
3.2. Фундаменты на естественном основании
3.4. Фундаменты на искусственно улучшенных основаниях
3.5. Основания сооружений, возводимых на намывных (насыпных) территориях с погребенным торфом
3.8. Особенности проектирования оснований и фундаментов при реконструкции
3.10. Конструкции, устраиваемые способом "стена в грунте"
4. ВЫПОЛНЕНИЕ СТРОИТЕЛЬНЫХ РАБОТ
4.2. Инженерная подготовка территории и работы нулевого цикла
4.3. Земляные работы и водоотлив
4.4. Устройство фундаментов на естественном основании
4.5. Устройство фундаментов из забивных свай
4.6. Устройство фундаментов из набивных свай
4.8. Особенности усиления и устройства фундаментов при реконструкции
4.9. Устройство искусственно улучшенных оснований. Устройство песчаных подушек
4.10. Ограждающие стены и фундаменты, устраиваемые способом "стена в грунте"
4.11. Грунтовые анкеры, применяемые при устройстве заглубленных сооружений
4.12. Общие положения струйной технологии
|
Нормативные значения прочностных и деформационных характеристик и величины расчетного сопротивления грунтов |
|
|
Нормативные характеристики торфов, часто встречающихся на территории Санкт-Петербурга |
|
|
Размеры свай и расчетные сопротивления грунтов по боковой поверхности и под нижним концом свай для грунтов Санкт-Петербурга |
|
|
Определение размеров буронабивных фундаментов |
|
|
Определение ударной стойкости свай |
|
|
Определение ударной стойкости свай |
Со времени выпуска второго издания Временных технических указаний по устройству фундаментов и сооружений в Ленинграде и его пригородных районах прошло более 20 лет.
За это время в массовом строительстве жилых, культурно-бытовых и общественных зданий в Санкт-Петербурге произошли существенные изменения. Массовая застройка ведется на новых территориях, в том числе на намытых грунтом, изменились конструкции, этажность зданий и т.п. Существенно большее количество объектов возводится в застроенных частях города с примыканием новых зданий к существующим, а также зданий разноэтажных. В проектировании и возведении фундаментов накоплен богатый опыт, разработаны новые конструкции фундаментов. Инженерно-геологические условия ряда новых районов строительства Санкт-Петербурга, обладающие специфическими особенностями, требуют дополнительных к действующим главам СНиП указаний для того, чтобы учесть эти особенности при проектировании и возведении фундаментов зданий различного назначения.
Опыт строительства и издание новых, переработанных, глав СНиП привели к необходимости составления ТСН 50-301-96, которые являются третьим изданием нормативного документа по строительству фундаментов гражданских зданий и сооружений в Санкт-Петербурге и его пригородных районах. ТСН 50-301-96 разработаны ведущими специалистами в области фундаментостроения С.-Петербурга.
ТСН 50-302-96 состоит из 4 глав.
Первая глава посвящена общим положениям.
В главе кратко рассмотрены вопросы конструкций задний, чувствительность этих конструкций к развитию неравномерных осадок, дан ряд рекомендаций по конструкциям зданий в зоне примыкания их к существующим зданиям и некоторые другие общие вопросы.
Во второй главе освещены особенности инженерно-геологических изысканий при наличии большой толщи слабых грунтов, намытых грунтов на заболоченных территориях и другие вопросы, связанные с изысканиями.
В третьей главе изложены особенности проектирования фундаментов различных конструкций для специфических инженерно-геологических условий Санкт-Петербурга.
Четвертая глава посвящена вопросам возведения фундаментов в указанных специфических условиях. Существенное отражение нашли вопросы, связанные с реконструкцией зданий, устройством фундаментов при примыкании возводимых зданий к существующим, и новые методы устройства фундаментов, буронабивные фундаменты и др.
При составлении ТСН использованы опыт проектирования и строительства зданий, накопленный АО "ЛенНИИпроект", АОЗТ "Строительная корпорация СПб", Гидроспецфундаментостроем (СПб отделение), ГПИ "ФУНДАМЕНТПРОЕКТ" (СПб отделение) и другими организациями Санкт-Петербурга, данные исследований, выполненных в СПбГАСУ, ПГУПС, АООТ ВНИИГС, ГП Трест ГРИИ и других организациях, а также экспертная практика комиссии по фундаментостроению Ленгорисполкома.
В составлении отдельных разделов принимали участие сотрудники СПбГАСУ докт. техн. наук, проф. Б.И. Далматов, В.Н. Бронин, Р.А. Мангушев, С.Н. Сотников, В.М. Улицкий; сотрудники АО ВНИИГС: канд. техн. наук, ст. научн. сотр. Н.А. Маковская, В.А. Мишаков, Е.М. Перлей, В.Ф. Раюк, Н.Ф. Феоктистова; сотрудники ПГУПС: канд. техн. наук В.Ф. Калганов, Г.Ф. Новожилов; докт. техн. наук, проф. Н.Н.Морарескул, сотрудники АО “ЛенНИИпроект”: инж. Е.Л. Челноков, Р.В. Гранквист, В.В. Панов, В.П. Вершинин; сотрудник СПГТУ докт. техн. наук, проф. П.Л. Иванов; сотрудник АО ПКТИ канд. техн. наук Ю.Н. Платонов; сотрудник АО “ЛЕНЖИЛПРОЕКТ” инж. В.Н. Иванов; сотрудники ГП Трест ГРИИ: инженер-геолог Б.М. Коршунов, канд. геол.-минер. наук, доц. В.М. Фурса.
Составители ТСН обращаются с просьбой ко всем проектным, строительным и научно-исследовательским организациям С.-Петербурга и его пригородных районов производить наблюдения за деформациями зданий и результаты наблюдений и исследований в области фундаментостроения, а также замечания и пожелания по данным ТСН сообщать по адресу: 198005, С.-Петербург, 2-я Красноармейская, 4, СПбГАСУ, председателю Комиссии по фундаментостроению мэрии С.-Петербурга.
1.1.1. Инженерно-геологические условия значительной части территории С.-Петербурга и его пригородных районов являются сложными и неблагоприятными для строительства вследствие:
а) плоского рельефа, затрудненных условий стока поверхностных вод;
б) наличия неоднородной толщи слабых грунтов, распространенных практически повсеместно;
в) высокого уровня подземных вод;
г) опасного для зданий и сооружений развития геодинамических и техногенных процессов и явлений.
1.1.2. Геодинамические процессы, связанные с воздействием поверхностных и подземных вод, вызывающих заболачивание, механическую суффозию грунта, плывунные явления, развитие карстовых пустот, воронок и провалов, а также процессы, связанные с промерзанием-оттаиванием грунтов (морозное пучение, просадка при оттаивании) и др. оказывают значительное влияние на условия строительства и эксплуатации зданий и сооружений.
1.1.3. Наибольшее значение имеют следующие техногенные геодинамические процессы:
а) деформации зданий и сооружений, расположенных в зонах развития мульды оседания при строительстве тоннелей;
б) подъем территорий подсыпкой или намывом, образование слоев техногенных грунтов (намытых песков и золы, отвалов грунта, городского мусора и др.);
в) большие, неравномерные, длительно не затухающие осадки зданий, сооружений и окружающей их территории;
г) потеря устойчивости несущих слоев оснований зданий и сооружений, сложенных пылевато-глинистыми грунтами в состоянии незавершенной консолидации или подвергшихся промерзанию-оттаиванию;
д) разрушение природной структуры грунтов при общепринятых способах производства земляных работ;
е) плывунные явления при открытом водоотливе из котлованов и траншей;
ж) изменение несущей способности свай вследствие развития сил отрицательно направленного трения на участках, поднятых намытым или насыпным грунтом;
з) развитие процессов гниения торфа, органических включений в грунте и деревянных элементов подземных конструкций при искусственном понижении уровня подземных вод.
1.1.4. Коренные отложения на территории города представлены протерозойскими, палеозойскими и ордовикскими отложениями, перекрытыми отложениями четвертичной системы.
1.1.5. Четвертичные отложения представлены ледниковыми (моренными) межледниковыми и послеледниковыми (озерно-ледниковыми) суглинками, супесями, песками. В толще послеледниковых отложений наибольшее значение имеют морские, озерные (лимногляциальные), флювиогляциальные, болотные и аллювиальные, преимущественно слабые, грунты различного литологического состава.
1.1.6. Надморенная толща грунтов достигает мощности 30 м и большей, она сложена позднеледниковыми и послеледниковыми озерными и морскими отложениями преимущественно пылевато-глинистого состава, а также болотными и техногенными грунтами.
1.1.7. Озерно-ледниковые отложения: глины, суглинки и супеси - распространены практически повсеместно, они обладают слоистой или ленточной текстурой, рядом специфических свойств. Суммарная мощность слоев этих отложений преимущественно составляет 3-10 м, в островной части города она достигает 20 м.
Для грунтов данной группы характерны высокая природная влажность и пористость, анизотропность механических свойств, высокая сжимаемость, пучинистость, тиксотропность.
1.1.8. Суммарная мощность слоев озерно-морских отложений, как правило, не превышает 5 м; они представлены песками пылеватыми, супесями пылеватыми и суглинками. В слоях озерно-морских отложений содержатся линзы и прослои торфа и заторфованных грунтов разного состава. Эти грунты обладают сравнительно большой и неравномерной сжимаемостью.
1.1.9. Болотные (биогенные) отложения: торф, заторфованные грунты и грунты с примесью растительных остатков - залегают в форме поверхностных слоев и линз, мощность которых составляет 1-3 м, реже достигает 5 м. В районах старой застройки участки, сложенные торфом, погребены под слоями намытых и насыпных грунтов различного состава.
1.1.10. Значительные площадки на территории города с поверхности сложены искусственными (техногенными) грунтами, к которым относятся:
насыпные грунты;
"культурный слой" (песчано-глинистые грунты, пески с примесью строительного мусора и др.), мощность которого достигает 4-6 м;
отвалы коренных глин различной мощности;
отвалы технологических отходов (золы ТЭЦ, пиритные огарки, шлаки, шламы и др.).
1.1.11. Гидрогеологические условия территории С.-Петербурга чрезвычайно сложны. В ее пределах распространены верховодка, грунтовые воды, межпластовые подземные воды, на юге и западе, в пригородной зоне также трещинные и карстовые воды.
Верховодка образуется преимущественно в слоях техногенных грунтов; она в некоторых случаях агрессивна по отношению к бетону.
Грунтовые воды содержатся в слоях техногенных грунтов, озерно-морских и озерно-ледниковых отложений. Уровень грунтовых вод круглый год высокий (обычно не ниже 2 м от дневной поверхности), во влажные сезоны года он достигает поверхности грунта. Сезонные колебания уровня грунтовых вод, как правило, незначительны (в пределах 1-2 м). Грунтовые воды питаются за счет атмосферных осадков и техногенных стоков. Химический состав грунтовых вод изменчив, он зависит от сезона года (обильности атмосферных осадков), состава промстоков, технического состояния канализации, наличия свалок и отвалов грунта и технологических отходов.
Межпластовые подземные воды содержатся в межморенных слоях - песках и супесях, в песчаных линзах моренных отложений. Они имеют местные напоры. Межпластовые подземные воды коренных отложений приурочены к водоносному комплексу песчаников и трещиноватых известняков.
1.2.1. Основной объем жилищного строительства в С.-Петербурге составляют многоэтажные крупнопанельные дома, возводимые домостроительными комбинатами. Остальные дома возводятся со стенами из кирпича.
1.2.2. Характерной особенностью строительства жилых домов в настоящее время и на ближайшие годы является усложнение архитектурно-планировочных и конструктивных решений, все более широкое применение в проектировании блок-секционного метода, позволяющего формировать здания различной протяженности, а также дома значительной протяженности, сложной конфигурации в плане и переменной высоты.
Кроме домов с расположением элементов жесткости в лестничных клетках и "точечных" (односекционных) зданий, в застройке могут применяться дома с относительно редким расположением жестких лестнично-лифтовых узлов (общежития, административные, галерейные и т.п.).
В ограниченном количестве предполагается строительство крупнопанельных жилых домов по индивидуальным проектам с преимущественным использованием типовых конструкций и изделий ленинградского каталога.
1.2.3. Высота жилых домов массового строительства от 9 до 17 этажей с повышением в отдельных случаях до 18-24 этажей. Как правило, в пригородах и иногда в городе могут строиться дома и 4-5-этажные.
По сроку службы строящиеся дома относятся к 1 классу.
1.2.4. Основной конструкцией крупнопанельных жилых зданий являются поперечные несущие железобетонные стены с наружными навесными панелями из керамзитобетона или газобетона. "Шаг" поперечных стен от 2,4 до 6,0 м. Остальная часть полносборных жилых зданий, высотой 4-14 этажей выполняется с продольными несущими наружными керамзитобетонными стенами и внутренними - железобетонными.
Здания из кирпича строятся различной этажности, как с продольными, так и с поперечными несущими стенами, а в некоторых случаях (в домах "точечного" типа) сочетаются те и другие.
Жилые здания со встроенными нежилыми помещениями, размещенными в нижних этажах, имеют часто сборный железобетонный связевой каркас (на высоту 1-2 этажей).
1.2.5. Поперечная жесткость и устойчивость зданий с продольными несущими стенами обеспечиваются стенами лестничных клеток и при необходимости специальными поперечными диафрагмами жесткости, соединенными с горизонтальными дисками перекрытий. В зданиях с поперечными несущими стенами продольная жесткость обеспечивается стенами лестничных клеток и участками продольных несущих стен или специально вводимыми продольными диафрагмами жесткости.
1.2.6. Здания культурно-бытового назначения массового строительства высотой 2-5 этажей осуществляются в каркасно-панельной конструкции со связевым каркасом или бескаркасными.
Индивидуальные здания общественного назначения, как правило, выполняются с применением сборного связевого каркаса со сборными или сборно-монолитными железобетонными перекрытиями и навесными панельными или кирпичными стенами.
Часть общественных зданий, а также жилых домов повышенной этажности (20-24 этажа) возводятся в монолитных железобетонных или керамзитобетонных конструкциях - каркасных и бескаркасных.
1.2.7. Здания с поперечными несущими стенами являются наиболее чувствительными к неравномерным осадкам, особенно в связи с увеличением их протяженности и усложнением объемно-пространственного решения.
Выбору конструкции фундаментов для таких зданий, а также для каркасных многоэтажных общественных зданий и жилых домов с каркасом в первых этажах следует уделять особое внимание (см. главу 3). Наименее чувствительны к неравномерным осадкам дома с продольными несущими стенами, армированными непрерывными поясами.
1.2.8. В связи с дефицитом городских территорий и удорожанием их инженерной подготовки все большее значение приобретает использование для строительства ряда общественных помещений и сооружений городского хозяйства и подземного пространства. К таким сооружениям относятся гаражи, склады, торговые предприятия, насосные станции и др. Наиболее целесообразным методом строительства таких подземных сооружений является способ "стена в грунте", а в отдельных случаях опускные колодцы, погружаемые в тиксотропной "рубашке".
1.3.1. Существующие кирпичные жилые и гражданские здания по времени постройки, обуславливающем их конструктивные особенности, подразделяются на две основные группы:
здания, построенные до 1917 года;
здания, построенные в период с 1917 года до начала массового крупнопанельного домостроения.
В период до 1917 года построены преимущественно 2-5 этажные кирпичные здания с несущими наружными стенами и одной внутренней продольной стеной. Редко встречались здания с поперечными несущими стенами либо с двумя продольными внутренними стенами, образующими коридор. Многие из этих зданий в последующем надстроены на 1-3 этажа. Кирпичная кладка преимущественно возводилась на медленнотвердеющем известковом растворе.
Общая жесткость таких зданий обеспечивалась продольными и поперечными стенами, включая лестничные клетки. Продольные стены иногда связывались между собой анкерами из полосовой стали. Кроме того, в продольных стенах в некоторых случаях укладывались стальные связи с анкерами в углах и пересечениях стен. Балки перекрытий, как правило, анкеровались в стенах. Все это, особенно медленное нарастание прочности кладки стен, способствовало снижению чувствительности конструкций зданий к неравномерным осадкам.
1.3.2. Фундаменты большинства старых зданий - на естественном основании: бутовые или кирпичные, иногда в нижней части из валунов и редко бутобетонные или бетонные.
Под подошву фундаментов старых зданий иногда укладывались лежни из бревен или забивались короткие деревянные сваи длиной 2-6 м.
Глубина заложения фундаментов в зависимости от конструктивных либо инженерно-геологических особенностей площадки строительства от 1.0 до 4.5 м при давлении под подошвой фундамента 150-450 кПа. Во многих случаях давление по подошве фундаментов старых зданий, особенно надстроенных, превышает значение расчетного сопротивления грунта основания, подсчитанного по СНиП 2.02.01-83.
1.3.3. Для гидроизоляции подвальных помещений и фундаментов с их наружных сторон иногда устраивали замок из перемятой глины. Противокапиллярная гидроизоляция по обрезу фундамента делалась не всегда.
Во многих случаях слой гидроизоляции в настоящее время находится ниже отметки панели или отмостки вследствие подсыпки территории и наслоения дорожных и панельных покрытий на старые.
1.3.4. Наружные стены из кирпича в большинстве случаев возведены на известковом или сложном растворе толщиной в 2,5 кирпича, а внутренние - в 2 кирпича. Лицевые поверхности наружных стен иногда выкладывались из отборного кирпича. В большинстве случаев кирпичная кладка характеризуется наличием забутовки, слабого недообожженного кирпича, перебивок проемов, прогоревших дымовых каналов.
Поднятие культурного слоя, панелей и отмосток обусловило поднятие влаги из грунта в стены зданий, что существенно снизило прочность и в ряде случаев привело к разрушению кирпичной кладки цокольных частей зданий и первых этажей.
Характерными дефектами стен являются:
1) разрушение простенков вследствие малой прочности кладки;
2) поверхностное разрушение кладки (выветривание при переувлажнении, замерзании и оттаивании и т.п.);
3) разрушение отдельных участков стен на всю толщину;
4) прогары и местные разрушения кладки в зонах дымовых каналов;
5) отклонения наружных стен от вертикали с отрывом от поперечных стен;
6) сырость стен из-за отсутствия гидроизоляции стен на отметке выше тротуара (отмостки).
1.3.5. Перекрытия чаще всего состоят из окантованных с черепными брусками бревен с дощатым заполнением и засыпкой из строительного мусора и кирпичного боя.
Подвалы и реже первые этажи во многих зданиях перекрыты кирпичными сводами разной конструкции.
В постройках конца прошлого и начала текущего столетия надподвальные перекрытия выполнялись преимущественно из металлических прокатных балок с бетонным заполнением.
Позднее в общественных и жилых кирпичных зданиях перекрытия иногда возводились из монолитного железобетона и сборных элементов.
1.3.6. Период с 1917 года до середины пятидесятых годов характеризуется строительством разнообразных типов каменных зданий.
В годы первых пятилеток и в послевоенные годы жилые дома возводились, как правило, из "подручных" материалов по наиболее простым конструктивным схемам. Это дома со стенами из мелких пустотелых шлакоблоков, монолитного шлакобетона, из кирпичной кладки с воздушным зазором и засыпкой.
Для перекрытий применялись разнообразные материалы. Деревянные перекрытия делались по бревенчатым балкам с черепными брусками, иногда по дощатогвоздевым конструкциям и, реже, по металлическим балкам с применением железобетонных прогонов.
1.3.7. В некоторых случаях конструкции фундаментов, перекрытий и перегородок сделаны из монолитного железобетона, особенно в административных зданиях, универмагах, фабриках-кухнях, банях, прачечных и др.
Последующий этап (с конца 40-х годов) характеризуется строительством как жилых зданий, так и гражданских повышенной капитальности с массовым применением сборных элементов: бетонных фундаментных блоков, сборных железобетонных настилов и балок перекрытий, разгрузочных балок, перемычек, колонн и т.д. В этот же период возводятся здания из крупных кирпичных и шлакобетонных блоков.
1.4.1. При проектировании фундаментов и надземных несущих конструкций необходимо учитывать их совместную работу с основанием. Прочность их должна быть рассчитана, в том числе, и на усилие, возникающее от неравномерного распределения давления по подошве фундаментов из-за неравномерной податливости (осадки) грунтов основания.
Если основание имеет выдержанное напластование (горизонтальное залегание слоев и отсутствие прослоев слабых грунтов) грунтов, обладающих малой или средней сжимаемостью, и прогнозируемые осадки меньше предельных, то конструкции зданий, включая фундаменты, допускается проектировать без учета деформируемости грунтов основания.
1.4.2. При наличии в основании здания (сооружения) сильносжимаемых (при модуле деформации Е<5 МПа) и неравномерно сжимаемых грунтов в зависимости от отношения между жесткостью сооружения и податливостью основания в надземных несущих конструкциях, как правило, возникают значительные дополнительные усилия, которые могут привести к появлению трещин и разрушению этих конструкций. При сооружениях, обладающих конечной жесткостью, дополнительные напряжения и деформации в фундаментах и надземных конструкциях зависят от величины ожидаемой неравномерности осадки основания и жесткости несущих конструкций здания вместе с фундаментами, оказывающими сопротивление развитию неравномерных осадок основания.
1.4.3. Основными причинами развития неравномерных осадок основания, которые необходимо учитывать при проектировании зданий, являются:
а) невыдержанное напластование (выклинивание слоев, их неодинаковая толщина, линзообразное залегание) грунтов и их неоднородность по составу, сложению и деформативности;
б) различие в характере напряженно-деформированного состояния грунтов в основании различных фундаментов или под различными частями ленточных и сплошных фундаментов;
в) нарушение природной структуры грунтов в основании при выполнении котлованных работ и работ по возведению фундаментов;
г) неравномерная загрузка или разгрузка грунтов основания при планировке подсыпкой или срезкой грунта, а также при загрузке поверхности грунта около фундаментов (полезной нагрузкой, оборудованием, складируемым материалом и т.д.).
1.4.4. Меры по уменьшению чувствительности конструкций зданий к неравномерным осадкам принимаются в зависимости от их конструктивной схемы:
а) здания с продольными несущими стенами из кирпича или крупных панелей обладают в продольном направлении значительной жесткостью и способны воспринимать некоторый изгиб. Однако при значительной неравномерности осадок по длине здания возникают недопустимые деформации, вызывающие появление в стенах трещин. Для предотвращения таких деформаций при проектировании указанных зданий на сильно - и неравномерносжимаемых грунтах фундаменты и стены следует усиливать непрерывными армированными швами или железобетонными поясами, способными воспринять растягивающие усилия, возникающие при развивающихся неравномерных осадках. Стены, армированные такими поясами, в значительной степени способствуют выравниванию неравномерности осадок и претерпевают изгиб без появления в них трещин.
б) здания с несущими поперечными стенами из кирпича или крупных панелей обладают повышенной чувствительностью к неравномерным осадкам, поскольку каждая поперечная стена может иметь свою осадку, почти независимую от осадки соседних стен. При проектировании фундаментов на естественном основании с целью некоторого выравнивания ожидаемой неравномерности осадки отдельных поперечных стен, когда это необходимо, рекомендуется устраивать фундаменты продольных стен в виде лент из монолитного железобетона или из сборных фундаментных плит и железобетонных монолитных стенок, армированных в верхней и нижней зонах. Высота такой стенки определяется по расчету с учетом совместной работы ее с грунтами основания.
в) здания с продольными наружными несущими стенами и неполным каркасом (внутренним) при наличии в основании сильносжимаемых грунтов получают значительные неравномерности осадок вследствие различия в развитии во времени осадок ленточных фундаментов и колонн. Это приводит к недопустимым деформациям элементов зданий. Каркасы в таких зданиях рекомендуется проектировать связевыми с шарнирным сопряжением стоек и ригелей.
г) чувствительность к неравномерным осадкам крупнопанельных зданий с полным каркасом и стенами из навесных панелей зависит от вида и жесткости каркаса. Выравнивание ожидаемых неравномерностей осадок отдельных стоек каркаса в случае использования естественного основания можно достигнуть устройством фундаментов из монолитного железобетона в виде перекрестных лент или сплошной фундаментной плиты под всем зданием. При большом количестве этажей (более 12) и небольшой протяженности здания существенную роль в выравнивании неравномерности осадок играет пространственная жесткость самого каркаса.
д) односекционные (точечные) здания повышенной этажности независимо от конструктивной схемы обладают, как правило, большой пространственной жесткостью, поэтому они способны выравнивать даже значительные деформации перекоса или изгиба, возникающие в несущих конструкциях здания при неравномерных осадках. Это приводит к тому, что в элементах несущих конструкций возникают значительные дополнительные усилия, способные привести к их разрушению. Так, в угловых частях зданий (выступающие углы) в кирпичной кладке стен от концентрации давления по подошве фундаментов иногда возникают напряжения, приводящие к раздавливанию кладки. Вследствие этого в указанных местах усилия в кладке следует определять с учетом реального отпора грунта при загрузке основания или вводить повышенный коэффициент условий работы, который обуславливал бы увеличение прочности кладки в первом этаже на 50 %, а во втором - на 30 %. При сильносжимаемых грунтах в основании такие здания целесообразно возводить на свайных фундаментах или, если нет опасения крена, на сплошной фундаментной плите.
1.4.5. Если опасность развития неравномерных осадок вызвана невыдержанным напластованием грунтов (наличие линз или выклинивание отдельных пластов, имеющих различную сжимаемость), то для зданий высотой не более 9 этажей рекомендуется разрезка зданий на блоки осадочными швами. Швы следует располагать в местах изменения напластования грунтов. В случаях зданий сложной конфигурации в плане их следует разрезать осадочными швами на блоки прямоугольной формы. Осадочные швы рекомендуется также устраивать в местах резкого перепада нагрузок на единицу площади пятна застройки, а также при длине здания более 90 м. Здания более 9 этажей рекомендуется возводить на свайных фундаментах.
1.4.6. Осадочные швы должны обеспечивать свободные перемещения отдельных блоков как по вертикали, так и при развитии их крена. Они должны исключать продуваемость даже при увеличении их раскрытия в 2 раза (при крене отдельных блоков). Для этого осадочные швы заполняются упругим сильносжимаемым долговечным материалом.
1.4.7. В случае неравномерно-сжимаемых грунтов в основании для уменьшения опасности возникновения в здании недопустимых деформаций, кроме мер, перечисленных в пп. 1.4.4.-1.4.6, рекомендуется:
а) предусматривать порядок возведения здания, уменьшающий развитие неравномерных осадок отдельных его частей (в первую очередь следует возводить более высокую и тяжелую часть здания);
б) повышать общую пространственную жесткость и прочность несущих конструкций зданий введением дополнительных к основной конструктивной схеме продольных и поперечных стен;
в) избегать применения без необходимости неразрезных железобетонных конструкций;
г) усиливать несущие и самонесущие стены продольным армированием.
1.4.8. Арматурные пояса для увеличения прочности кладки на растяжение устраивают во всех несущих и самонесущих наружных и внутренних стенах, стенах лестничных клеток и поперечных диафрагмах. Количество арматурных поясов (поясов армирования) по высоте здания и сечения арматуры назначаются по расчету или на основании опыта строительства в аналогичных инженерно-геологических условиях. Наименьший диаметр арматуры - 10 мм, наименьшая площадь сечения в одном уровне - 4 см2.
1.4.9. Пояса армирования устраиваются, как правило, в уровне перекрытий, а именно:
а) в кирпичной кладке арматуру целесообразно укладывать в утолщенный шов в уровнях низа перекрытий (рис. 1.1);
б) в крупнопанельных зданиях арматуру рекомендуется закладывать в верхней части панелей стен и концы ее соединять сваркой или иным способом при монтаже здания; соединения должны обеспечивать непрерывность пояса и работу его на растяжение;
в) в крупноблочных зданиях горизонтальную арматуру можно закладывать в блоки рядов перемычек и соединять их на стыках с помощью сварки или укладывать в утолщенный шов в уровне перекрытий.

Рис.1.1. Армированный шов на уровне низа перекрытия:
1 - кладка стены; 2 - перекрытие; 3 - шов армирования
1.4.10. Если пояс армирования разрывается оконными или дверными проемами (например, лестничной клеткой), то над или под такими проемами необходимо устраивать дополнительное армирование, как показано на рис. 1.2. За пределы контура проема эта арматура должна заходить не менее чем на два расстояния между поясами (по высоте), но не менее 1 м.

Рис. 1.2. Устройство пояса армирования в месте разрыва кладки лестничным оконным проемом
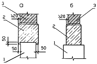
1.4.11. Повышение прочности фундаментов на изгиб (совместно со стенами) может быть достигнуто:
а) устройством пояса армирования в шве по верху подушки или первому ряду стеновых блоков сборных фундаментов;
б) устройством пояса армирования по обрезу фундаментов (по верху блоков или панелей стен фундаментов).
Примечание. При фундаментах из панелей арматуру можно заложить в верхней их части и соединить сваркой на стыках.
в) устройством монолитной железобетонной подушки или монолитных железобетонных стен фундаментов;
г) устройством монолитных фундаментов под стены и колонны.
1.4.12. Повышенную прочность и жесткость продольных ленточных фундаментов необходимо принимать для зданий с поперечными несущими стенами и навесными наружными панелями.
1.5.1. Настоящие рекомендации распространяются на проектирование новых зданий, примыкающих к существующим старой или современной постройки.
Проектирование фундаментов примыкающих зданий и сооружений надлежит выполнять в соответствии с указаниями раздела 3.6 настоящих ТСН.
Рекомендации настоящего раздела могут использоваться при проектировании зданий, возводимых в несколько очередей, и при проектировании сложных зданий и сооружений, состоящих из примыкающих разноэтажных частей или корпусов, соединенных переходами.
1.5.2. Новые здания по отношению к старым следует, как правило, размещать так, чтобы они примыкали торцами без устройства несущих стен, параллельных существующим. При необходимости примыкания к односветным дворовым корпусам старого жилого фонда односветными новыми зданиями планировку их следует назначать с поперечными несущими конструкциями, с устройством вдоль примыкания по возможности легкой ограждающей, не несущей стены.
Настилы перекрытий должны опираться на стены или прогоны, расположенные перпендикулярно к стене существующего здания.
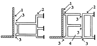
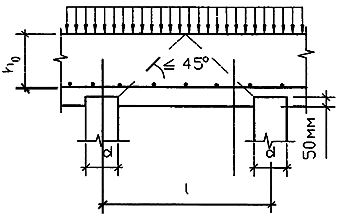
1.5.3. Рекомендуется при примыкании зданий торцами уменьшать ширину корпуса или смещать в зоне примыкания от красной линии, желательно переходить от трехстенной системы к двум наружным стенам (рис. 1.3). Расстояние между стенами следует назначать равными длине настилов перекрытия в зависимости от планировки помещений. Величина отступа от линии фасада назначается, как правило, не менее 1,2 м.

Рис. 1.3. Схемы примыканий зданий:
1 - существующее здание; 2 - новое здание; 3 - осадочный шов; 4 - вставка
1.5.4. При высоте (этажности) нового здания, существенно большей существующего, или при ожидаемых осадках его более 10 см рекомендуется назначение вставок меньшей этажности, отделенных от нового и существующего здания осадочными швами и возводимых после строительства нового здания на всю высоту или с отставанием, определяемым расчетом осадок.
1.5.5. В зонах примыкания к существующим зданиям и сооружениям не следует назначать устройство подвалов. При необходимости устройства технического подполья высоту его следует назначать минимальной.
1.5.6. В примыканиях новых зданий к существующим, независимо от типа фундаментов, назначаются осадочные швы, кроме случаев, предусмотренных в п.3.7.20 настоящих ТСН.
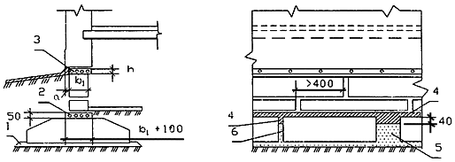
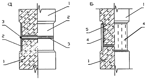
Устройство осадочных швов в перекрытиях путем свободного опирания их элементов на стены существующих зданий запрещается. Осадочные швы в стенах и зазор между существующими и ограждающими стенами нового здания должны обеспечивать свободное перемещение их при возможных кренах нового и существующего зданий. Заполнение зазоров в плоскостях наружных стен примыкающих зданий надлежит выполнять тонкими декоративными элементами, способными деформироваться при замыкании шва и не передавать усилия на основные конструкции зданий (рис. 1.4). Величина зазора между стеной существующего здания и несущими или ограждающими конструкциями нового не должна быть менее 300 мм (см. разд. 3.7).

Рис. 1.4. Примеры конструкции осадочных швов:
1 - существующее здание; 2 - ограждающая стена нового здания; 3 - декоративная стенка; 4 - панель наружной стены
Наименьшее расстояние между существующим зданием и элементами декоративного закрытия - 50 мм.
1.5.7. С целью уменьшения абсолютных осадок существующих фундаментов конструкции примыкающих зданий и сооружений следует назначать возможно легкими. В зонах примыкания применение легких конструкций обязательно.
Облегчение конструкций в зоне примыкания может быть выполнено за счет применения каркаса вместо несущих кирпичных стен, применения эффективных теплоизоляционных материалов, назначения больших проемов в стенах и ниш.
Ограждающие стены, параллельные стенам существующих зданий, надлежит проектировать из эффективных теплоизоляционных материалов, сплошные кирпичные стены применять не допускается.
1.5.8. При проектировании каркасных зданий с фундаментами на естественном основании рекомендуется консольное примыкание (см. п. 3.7.16, 3.7.36). С целью уменьшения влияния осадок нового здания на осадки существующего первый ряд колонн рекомендуется располагать на возможно большем расстоянии от стены существующего.
1.5.9. В проектах зданий и сооружений, примыкающих к существующим, если по расчету ожидаемая осадка фундаментов больше половины предельно допустимой осадки по СНиП 2.02.01-83, необходимо предусматривать на участке (в плане), в два раза большем сжимаемой толщи грунтов основания, меры по усилению конструкций (армирование кирпичных стен, усиление узлов сопряжений и т.п.).
1.5.10. Проектами организации строительства и производства работ должны предусматриваться порядок возведения здания, методы работ, обеспечивающие полную сохранность основания существующих фундаментов, и другие меры, предусмотренные разд. 4.7 настоящих ТСН.
1.6.1. При проектировании подземной части зданий и сооружений необходимо находить наиболее рациональные типы фундамента и вид основания, рассчитываемых в соответствии с требованиями СНиП 2.02.01-83, СНиП 2.02.03-85 и других нормативных документов с учетом указаний настоящих ТСН.
1.6.2. Исходные данные для выбора вида основания и типа фундамента указаны в п. 3.1.3.
1.6.3. Предварительный выбор варианта основания и типа фундамента должен производиться согласно разд. 3.1 настоящих ТСН для одного или группы наиболее загруженных типичных фундаментов. При этом каждый вариант следует доводить до оптимального решения, чтобы затраты на его устройство были минимальными.
1.6.4. Оптимальное решение обосновывается путем технико-экономического сравнения вариантов по следующим показателям:
а) экономической эффективности и трудоемкости;
б) возможности выполнения работ в минимальные сроки;
в) материалоемкости (расход равноценных материалов);
г) величинам осадок и их неравномерностей;
д) необходимости водопонижения и крепления стен котлованов;
е) возможности выполнения работ в зимнее время.
1.6.5. Экономическая эффективность является основным показателем сравнения вариантов при строгом соблюдении их сопоставимости. Варианты должны быть рассчитаны на все возможные комбинации нагрузок, передаваемых на обрез фундамента. При сопоставлении вариантов необходимо учитывать стоимость мероприятий, направленных на уменьшение чувствительности несущих конструкций к неравномерным осадкам.
Экономическую эффективность варианта следует рассчитывать для 1 м длины ленточного фундамента наиболее загруженной стены, а при каркасных зданиях - на один отдельный фундамент под колонну или на участок ленточного или плитного фундамента, проектируемый под типичную колонну.
Оценку эффективности варианта рекомендуется производить на основе приведенных затрат в соответствии со СН 509-78 и "Руководством по ТЭО проектирования фундаментов" (Фундаментпроект, 1981).
1.6.6. В проекте фундаментов должны быть приведены расчеты по технико-экономическому сравнению видов оснований и типам фундаментов с обоснованием принятых:
а) глубины заложения и размеров подошвы фундаментов (для фундаментов мелкого заложения);
б) глубины заложения ростверка, типов и размеров свай (для свайных фундаментов);
в) глубины заложения фундамента, характеристики грунта и размеров подушки или объема закрепления для искусственно улучшенных оснований.
1.6.7. Тип основания и фундаментов рекомендуется выбирать по указаниям, изложенным в разд. 3 настоящих ТСН.
1.6.8. Для выбранного типа фундамента на естественном основании рекомендуется находить оптимальные размеры, изменяя глубину заложения подошвы от минимального допустимого значения (по конструктивным соображениям, глубине промерзания и характеру напластования грунтов) до глубины, при которой приведенные затраты на устройство фундамента начнут увеличиваться. Как правило, максимальная глубина заложения фундаментов зданий без подвалов не должна превышать 3,0 м.
1.6.9. Для выбранных оптимальных размеров фундаментов должна быть определена ожидаемая осадка с учетом загружения соседних фундаментов. Если она больше предельно допустимой, то оптимизация намеченного решения должна производиться исходя из предельно допустимого значения осадки или ее неравномерности с определением приведенных затрат. В этом случае расчеты повторяются с изменением глубин заложения фундаментов. Найденное оптимальное решение варианта фундамента на естественном основании необходимо сравнить с оптимальными решениями других видов оснований и типов фундаментов.
1.6.10. При оптимизации свайных фундаментов сопоставляются варианты различных типов и размеров свай с учетом приведенных затрат, приходящихся на условную нагрузку (например, 1000 кН).
1.6.11. С учетом рациональной конструкции свай должна производиться оптимизация свайного фундамента (отдельного или ленточного) варьированием длины свай, начиная от минимальной, исходя из сортамента свай и инженерно-геологических условий площадки строительства. При этом следует рассматривать как минимум три возможных размера поперечного сечения сваи. Найденное оптимальное решение свайного фундамента проверяется по допустимой ожидаемой осадке для одного фундамента и по относительной неравномерности осадок для группы фундаментов. Если ожидаемая осадка и ее неравномерность с учетом загружения соседних фундаментов больше предельно допустимых значений, то следует производить оптимизацию исходя из допустимой осадки и ее неравномерности, как указано в п. 1.6.9.
1.6.12. В некоторых случаях целесообразно произвести оптимизацию решения по устройству песчаных подушек, уплотнению или закреплению грунта. В этом случае в результате расчетов находятся наиболее оптимальные размеры искусственно улучшенного основания и фундамента.
1.6.13. Выбранные оптимальные решения сопоставляются по приведенным затратам или стоимости. При этом необходимо учитывать особенности производства работ, сроки строительства, возможность возведения фундаментов в зимнее время и другие показатели в соответствии с п. 1.6.4.
1.7.1. Посадка зданий и сооружений на участке строительства должна производиться на основе разбивочных чертежей, входящих в состав рабочих чертежей проекта застройки, путем выноса в натуру осей зданий, осей подземных сооружений и красных отметок.
Разбивку основных осей зданий и магистральных подземных сооружений необходимо производить от геодезической сетки или от осей улиц, красных линий или от внутриквартальных осей. В застроенной части города разбивка производится от существующих зданий.
Оси наружных стен зданий, кроме выноса их на обноски, дополнительно должны закрепляться створными знаками. Оси подземных сооружений в незастроенной части города, кроме осевых знаков на поворотах, необходимо закреплять створными и поперечными знаками для восстановления осевых знаков в случае их утраты.
1.7.2. Оси наружных стен разбиваются до отрывки котлована. После отрывки котлована разбиваются все оси здания или сооружения с обязательной проверкой осей наружных стен и правильности выноса красных отметок.
1.7.3. Для выноса красных отметок в каждом квартале или участке должны устанавливаться не менее трех постоянных стенных или грунтовых реперов. Места установки грунтовых реперов должны быть показаны в рабочих чертежах проекта застройки. Стенные реперы заделываются в стены зданий и сооружений, построенных на 5 - 10 лет ранее, осадка которых практически закончилась.
При строительстве зданий повышенной этажности для указанных целей должны быть установлены глубинные грунтовые реперы. В качестве глубинного репера может быть использована железобетонная свая, забитая (для испытания) через всю толщу слабых грунтов, или стальная труба, опущенная в скважину и забетонированная в ее забое. Для этого рекомендуется использовать скважины, пробуренные при изысканиях. Эти скважины после установки трубы должны быть затампонированы. Над глубинными реперами необходимо установить типовые бетонные колодцы с чугунными крышками.
Стенные и глубинные грунтовые реперы должны быть удалены от возводимых зданий и сооружений на расстояние не менее 1,2Н, где Н - толщина сжимаемых (слабых) грунтов, способных деформироваться при застройке территории.
1.7.4. Высотные привязки зданий и сооружений должны выполняться в соответствии с отметками, указанными в проекте фундаментов, с учетом ожидаемой осадки, определенной расчетом.
Отметки внешнего края (поребрика) отмосток и тротуара назначаются без учета осадки здания, если она менее 10 см. При больших величинах ожидаемых осадок здания эти отметки должны назначаться с учетом оседания поверхности грунта около строящегося здания.
1.7.5. При наличии в основании сильносжимаемых грунтов отметки вводов труб водопровода, теплофикации, газопровода, выпусков канализации и дренажа и их уклонов следует назначать с учетом ожидаемых осадок зданий или сооружений и прилегающей территории.
1.8.1. При назначении организации, которой поручается проведение наблюдений, следует руководствоваться: СНиП 2.02.01-83 (п. 1.6), ГОСТ 24846-81, "Инструкцией по нивелированию I, II, III, IV классов" (М.: Недра, 1974); ГОСТ 10528-83; "Руководством по наблюдениям за деформациями оснований и фундаментов зданий и сооружений" (М.: Стройиздат, 1975) и настоящими ТСН.
1.8.2. Наблюдения за развитием осадок фундаментов зданий и сооружений организуются и проводятся по инициативе изыскательских, проектных, строительных и эксплуатационных, а также исследовательских организаций. Результаты наблюдений должны использоваться для повышения эффективности фундаментостроения посредством принятия оптимальных конструктивных и технологических решений, опирающихся на опыт строительства, а также для правильного решения текущих технических задач.
1.8.3. Наблюдения за развитием осадок проводятся в целях:
проверки и уточнения величин деформационных характеристик грунтов строительных площадок, правильности расчетных схем оснований, принятых при разработке проектов, установленных по результатам инженерно-геологических изысканий;
проверки эффективности принятых конструктивных решений фундаментов и надземных частей здания и сооружений, спроектированных в расчете на совместную работу с деформирующимся основанием;
уточнения величин конечных осадок фундаментов, прогноза их развития во времени и срока стабилизации;
эффективности использованной технологии производства работ при устройстве фундаментов.
1.8.4. Затраты на организацию и проведение наблюдений за развитием осадок включаются в сводную смету, а после ее закрытия относятся за счет основной деятельности предприятия (организации).
Примечание. Указания о порядке финансирования работ по наблюдению за развитием осадки оснований и деформациями конструкций зданий содержатся в документе: Письмо Госстроя СССР ИЧ-410-4 от 25.01.80 "О включении в сводные сметы средств на проведение геодезических наблюдений за перемещениями и деформациями зданий и сооружений".
1.8.5. В условиях С.-Петербурга и его пригородных районов проведение наблюдений обязательно в следующих случаях:
а) в начальный период массового строительства в новых районах (кварталах), отличающихся неблагоприятными инженерно-геологическими условиями, которые изучены недостаточно; в районах с мощной толщей слабых грунтов, при наличии слоев открытого и погребенного торфа, а также слоев намытых и техногенных грунтов в случае использования их в составе основания;
б) при освоении строительства крупнопанельных зданий новых конструкций (серий): уникальных зданий, имеющих пролеты, превышающие 30 м; высотных зданий, зданий, имеющих разноэтажные блоки; зданий, возводимых в несколько очередей или в непосредственной близости от существующих сооружений;
в) при внедрении в строительство фундаментов новых типов, а также новой технологии работ по устройству фундаментов;
г) при устройстве глубоких строительных котлованов, возведении подземных сооружений открытым и закрытым способом, при глубинном водоотливе, производимом в непосредственной близости от возводимых или существующих зданий и сооружений.
1.8.6. При строительном освоении новых территорий необходимо проведение наблюдений за развитием оседания поверхности земли под действием давления от веса насыпных (намывных) грунтов или от глубинного водоотлива; осадкой территорий вокруг зданий (сооружений), за развитием послойной осадки оснований. Работы такого рода выполняются исследовательскими организациями.
1.8.7. В условиях С.-Петербурга требуются организация и проведение наблюдений за развитием осадки оснований свайных фундаментов высоких и тяжелых зданий и сооружений.
1.8.8. Наблюдения за развитием осадок проводятся в случаях, когда возводимые или соседние здания и сооружения получают повреждения, вызванные деформациями оснований, а также при промораживании грунтов, плывунном разрушении грунтов, суффозионном выносе частиц грунтов в строительные котлованы, могущих привести к опасному развитию осадок (просадок).
1.8.9. Наблюдения организуются и проводятся также по заданию эксплуатирующей организации в случаях, когда деформации оснований зданий и сооружений приводят к возникновению повреждений строительных конструкций, нарушению условий работы оборудования (наклоны лифтов, котлов и т.п., образование обратных уклонов выпусков канализации, возможность разрушения вводов газопровода).
1.8.10. Организация и проведение наблюдений производятся на основе задания, по которому разрабатываются проект наблюдательной сети и программа наблюдений. В задании на проведение наблюдений указываются: причина, задача, требуемая точность, периодичность и продолжительность наблюдений; к нему прикладываются чертежи объектов с указанием мест размещения марок, генеральные планы площадок, материалы инженерно-геологических изысканий. Подготовка объектов к наблюдениям осуществляется в соответствии с проектом, который включает планы размещения знаков высотной основы, чертежи элементов строительных конструкций, на которых планируется размещение деформационных марок.
Примечание. Проект наблюдательной сети составляется заказчиком и согласуется с организацией, проводящей наблюдения.
1.8.11. Точность наблюдений устанавливается в зависимости от величины ожидаемой средней осадки и степени ее неравномерности, установленной расчетом, готовности строящегося сооружения, возраста существующего, расстояния между деформационными марками и целью наблюдений. Как правило, точность определения высотного положения марок 1 мм является достаточной для решения большинства практических задач.
1.8.12. Количество и порядок размещения деформационных марок на объекте (в плане) должны отвечать задачам наблюдений и зависят от конструктивных особенностей объектов наблюдений. Расстояние между марками на объектах устанавливается в зависимости от шага несущих стен, колонн, навесных панелей, разбивочных осей и т.п. Деформационные марки размещаются на одном конструктивном уровне, на удобной высоте (с учетом типа применяемых реек), возможных изменений ситуации на площадке (планировка срезкой, подсыпкой и т.п.) и на самом объекте (установка навесных деталей, декоративных облицовок, водосточных труб и т.п.).
Деформационные марки внутри зданий и помещений устанавливаются в подвальных, цокольных или первых этажах, в местах, удобных для наблюдений и передачи отметок наружу.
Для уменьшения вероятности утраты марок рекомендуется применение марок закрытого типа*. После завершения всех работ по установке деформационных марок составляется исполнительная схема, на которой каждой марке назначается номер, помеченный краской на стене (колонне) возле деформационной марки. По мере утраты в ходе строительства и эксплуатации сооружения деформационные марки должны восстанавливаться.
_____________
* Конструкции деформационных настенных марок, глубинных и грунтовых реперов описаны в "Руководстве по наблюдениям за деформациями оснований и фундаментов зданий и сооружений". М., "Стройиздат", 1975.
1.8.13. В качестве высотной основы следует использовать знаки высотной основы государственной сети; настенные марки - реперы треста ГРИИ, установленные на домах, существующих более 10 лет, а также специально устанавливаемые на площадке глубинные грунтовые марки и реперы - марки, устанавливаемые на отапливаемых зданиях, существующих более 10 лет*. Знаки высотной основы размещаются вне осадочных воронок объектов наблюдений и соседних зданий, на расстоянии от них не менее 1.5НПГ (НПГ - глубина кровли сплошного залегания плотного грунта), но не далее двух штативов от ближайшей марки на объекте. Опорная система может быть сформирована из знаков нескольких типов, число их должно быть для наблюдений за единичным объектом не менее двух, за группой объектов - не менее трех.
______________
* Не допускается использование настенных реперов, установленных на домах, расположенных в зоне влияния подземных сооружений.
Один из знаков высотной основы должен быть высоконадежным. На территориях, поднятых подсыпкой (гидронамывом), допускается применение только глубинных реперов. Заново устроенные знаки высотной основы связываются со знаками городской нивелирной сети и сдаются по акту организациям, осуществляющим геодезическую службу в городе.
1.8.14. В качестве знаков, применяемых для наблюдений за развитием оседания поверхности территории и послойных деформаций грунтов, используют устройства, конструкция которых аналогична грунтовым реперам. Глубинные деформационные марки устанавливаются на границах слоев грунтов разного состава и генезиса, положение которых уточняется при проходке скважин, пробуриваемых для устройства деформационных марок.
1.8.15. В местах повреждений строительных конструкций, образовавшихся в результате неравномерной осадки основания (трещины, сдвиги и др.), устанавливаются маяки, целостность которых периодически контролируется. Поврежденные маяки заменяются, о чем делаются пометки в журналах наблюдений.
1.8.16. За сохранность всех знаков наблюдательной сети (марок, реперов, маяков) отвечают: в период строительства - начальник участка; в период эксплуатации - главный инженер эксплуатирующей организации или другое должностное лицо, несущее ответственность за эксплуатацию зданий и сооружений.
1.8.17. Промежутки времени между циклами измерения осадок устанавливаются с учетом величин осадок, определенных расчетом так, чтобы накопленные перемещения (осадки) были по крайней мере в три раза больше точности проводимых наблюдений, поэтому приближенно можно принимать: 1) в период строительства - через 1-2 этажа; 2) при проведении отделочных работ и в первый год эксплуатации - один раз в месяц; 3) во второй год эксплуатации - один раз в квартал; 4) в последующий период - один-два раза в год. Окончание наблюдений устанавливается по достижении приращения осадки 3 мм в год. В особых случаях, предусмотренных заданием, сроки проведения наблюдений могут быть другими.
1.8.18. Результаты проводимых наблюдений периодически, после каждого очередного цикла, представляются организации-заказчику в форме: а) ведомости осадок деформационных марок, в которой указываются абсолютные отметки деформационных марок, полные накопленные перемещения, приращения перемещений между циклами, а также величины средних, минимальных и максимальных осадок в циклах; б) графиков развития во времени осадок характерных точек (марок), средних, максимальных и минимальных осадок; в) эпюры измеренных перемещений по циклам (нарастающие величины).
На графиках указываются сроки основных этапов возведения зданий и сооружений, величины кренов, прогибов и перекосов в циклах, а также сведения о появлении и развитии повреждений строительных конструкций.
1.9.1. Указания настоящего раздела основаны на требованиях СНиП 2.02.01-83 и предусматривают принятие конструктивных решений на основе расчета совместной работы здания (сооружения), включая фундаменты и основания.
1.9.2. Фундаменты рекомендуется проектировать с учетом работы системы* в условиях:
_______________
* Здесь и в дальнейшем под словом "система" для краткости изложения понимаются несущие конструкции здания или сооружения, включая фундаменты и основание.
неравномерной сжимаемости грунтов на естественном основании и под острием висячих свай;
подрабатываемых территорий в районах возможного изменения свойств основания в связи со строительством подземных сооружений под построенными или проектируемыми объектами (метро, коллекторы больших диаметров, пешеходные переходы и т.п.);
дополнительных осадок, вызванных строительством новых объектов на соседних участках, т.е. в зоне их влияния.
1.9.3. При расчетах системы необходимо учитывать возможные (вероятностные) отклонения от расчетных значений толщин залегающих слоев и характеристик как основания, так и здания или сооружения. За расчетное воздействие принимаются усилия, полученные при их неблагоприятных сочетаниях. Необходимо проводить несколько расчетов системы при разных расчетных характеристиках ее частей, стремясь при этом к нахождению оптимального решения фундаментов.
Следует применять расчетные модели для:
расчета отдельных стен или здания в целом, как условий плоской задачи, - в виде балки или балки-стенки на упругих опорах (основании);
расчета здания в целом, как пространственной системы, - в виде системы перекрестных балок или балок-стенок на упругих опорах (основании).
Допускается применение других обоснованных расчетных моделей.
1.9.4. Жесткости элементов расчетной схемы рекомендуется определять в виде обобщенных характеристик и учитывать работу всех включенных в расчет элементов конструкции.
Обобщенные характеристики определяются по методике, изложенной в "Рекомендациях по расчету и проектированию зданий с учетом горизонтальных нагрузок, неравномерных деформаций оснований и температурных воздействий", ЛенНИИпроекта (утверждены 25.12.79), "Руководстве по проектированию конструкций панельных зданий для особых грунтовых условий" (Стройиздат, 1982), или по другим обоснованным методикам.
Жесткость опор должна назначаться с учетом реальных геологических условий и согласовываться с работой грунтов основания.
При нелинейной работе элементов конструкции должна учитываться возможная нелинейная работа грунтов основания, а при нелинейной работе грунтов основания - возможная нелинейная работа элементов конструкций. Односторонний учет нелинейности основания или конструкции не допускается.
1.9.5. Для типовых проектов зданий допускается определять область применения расчета системы согласно пп. 8.18-8.21 "Руководства по проектированию конструкций панельных зданий для особых грунтовых условий". Рекомендации пп. 8.18-8.21 указанного "Руководства" основаны на расчете системы при стандартной ситуации зданий, состоящих из отдельных блок-секций, типового проекта. В составе рассчитываемых зданий должно быть не менее трех секций.
1.9.6. При проектировании системы необходимо проводить технико-экономическое обоснование выбираемого решения.
1.9.7. Элементы конструкций, не включенные в состав системы, должны быть рассчитаны на усилия, возникающие в этих элементах от деформации системы при неравномерных осадках фундаментов, а также на воздействия собственного веса и местных нагрузок. Такими элементами в здании являются навесные панели, перегородки, лестничные марши и т.п.
1.9.8. Для предварительных расчетов системы при использовании упругих характеристик основания в виде коэффициента постели Kz допускается (с учетом п. 1.9.3 ТСН) использование его значения, приведенного в табл. 1.1.
Таблица 1.1
Коэффициент постели Kz , кН/м3
|
Виды грунтов и оснований |
Для грунтов е= 1,0 |
Для грунтов е= 0,5 |
||
|
Пески |
Супеси, суглинки, глины при IL |
Свайный фундамент или скальный грунт |
||
|
- |
- |
Скальный грунт |
200000 |
200000 |
|
Гравелистые и крупные |
- |
Свайный фундамент |
- |
150000 |
|
Средней крупности |
-1< IL <0 |
- |
30000 |
70000 |
|
Мелкие |
0< IL <0,25 |
- |
20000 |
40000 |
|
Пылеватые |
0,25< IL <0,75 |
- |
5000 |
30000 |
|
|
0,75< IL <1 |
- |
3000 |
10000 |
|
|
IL >1 |
- |
1000 |
5000 |
2.1.1. Инженерные изыскания для строительства в Санкт-Петербурге и его пригородных районах должны выполняться в соответствии с требованиями СНиП, государственных стандартов, других нормативных документов Российской Федерации и Санкт-Петербурга и требованиями настоящих ТСН.
2.1.2. В состав инженерных изысканий включаются:
- инженерно-геодезические изыскания;
- инженерно-геологические изыскания;
- инженерно-гидрометеорологические изыскания;
- инженерно-экологические изыскания.
2.1.3. Инженерные изыскания должны выполняться применительно к этапам (стадиям) проектирования, в том числе для разработки:
- градостроительной документации (генеральных планов Санкт-Петербурга, городов и других поселений, расположенных в его пригородных районах; проектов детальной планировки районов в границах Санкт-Петербурга, а также городов и других поселений, расположенных в его пригородных районах; проектов инженерной подготовки территорий);
- проектно-сметной документации (проектов застройки кварталов и земельных участков; ТЭО или ТЭР, проектов или рабочих проектов, рабочей документации строительства новых, реконструкции и капитального ремонта существующих зданий и сооружений).
2.1.4. На всех стадиях проектирования должны использоваться материалы ранее выполненных изысканий и при необходимости осуществляться более детальные инженерные изыскания.
2.1.5. Для конкретного проектирования оснований и фундаментов, кроме инженерных изысканий, должны выполняться натурные обследования наземных и подземных конструкций существующих зданий (сооружений), подлежащих реконструкции или расположенных вблизи намечаемой застройки, а для проектирования свайных фундаментов - также испытания пробных свай.
2.1.6. В составе материалов выполненных инженерных изысканий, обследований и испытаний должен содержаться комплекс сведений о топографии, природных условиях и других характеристиках территории, на которой они произведены, а также о техническом состоянии существующих объектов, необходимых и достаточных для разработки экономически, технически и экологически обоснованных проектных решений и составления прогноза изменения окружающей среды в результате их реализации.
2.1.7. Состав и объемы работ, подлежащих выполнению по каждому виду инженерных изысканий, обследований и испытаний, определяются программами, которые составляются организациями-исполнителями (подрядчиками) на основе технических заданий генеральных проектных организаций (заказчиков) с обеспечением соблюдения требований действующих нормативных документов и использования материалов ранее выполненных изысканий, обследований и испытаний.
2.1.8. Техническое задание утверждается руководителем организации-заказчика и должно содержать сведения, необходимые и достаточные для определения оптимальных состава и объемов намечаемых к выполнению работ.
2.1.9. Инженерные изыскания, обследования и испытания должны выполняться специализированными организациями (фирмами), имеющими лицензионные свидетельства на право производства соответствующего вида работ.
2.1.10. Ответственность за соблюдение требований нормативных документов при выполнении инженерных изысканий, обследований и испытаний возлагается:
- в части полноты и достоверности сведений и требований, излагаемых в технических заданиях, - на заказчиков;
- в части полноты и качества выполненных работ, их соответствия техническим заданиям и требованиям нормативных документов - на подрядчиков.
2.1.11. Инженерные изыскания для строительства в Санкт-Петербурге и его пригородных районах могут выполняться при условии получения разрешений, оформляемых в соответствии с требованиями п. 1.24 СНиП 1.02.07-87.
2.1.12. По окончании выполнения инженерных изысканий, обследований и испытаний составляется отчетная документация (технический отчет), один экземпляр которого организация-подрядчик обязана сдать в городской фонд изыскательских материалов при закрытии соответствующего разрешения Комитета по градостроительству и архитектуре.
2.1.13. В настоящей главе изложены лишь основные требования к составу и методике производства инженерно-геологических изысканий, обследований существующих зданий (сооружений) и предпроектных испытаний пробных свай с учетом особенностей природных условий Санкт-Петербурга, а также накопленного опыта изысканий и проектирования для строительства гражданских зданий и сооружений, в силу того, что подробное изложение состава и методик производства изыскательских работ содержится в главе "Инженерные изыскания для строительства" (СНиП 1.02.07-87), в том числе:
- инженерно-геодезические изыскания - в пп.2.1 - 2.359;
- инженерно-геологические изыскания - в пп.3.1 - 3.222;
- инженерно-гидрометеорологические изыскания - в пп.4.1 - 4.57.
2.1.14. Инженерно-экологические изыскания должны выполняться по специальным заданиям проектных организаций, ведущих разработку градостроительной и другой проектной документации, на основе программ, составляемых организациями-подрядчиками, имеющими лицензионные свидетельства на право производства этих изысканий.
2.2.1. В состав инженерно-геологических изысканий включаются:
- проходка буровых скважин и шурфов;
- геофизические исследования;
- полевые испытания грунтов;
- гидрогеологические исследования;
- обследования грунтов оснований существующих зданий и сооружений;
- лабораторные исследования образцов грунтов и проб грунтовых вод;
- камеральная обработка материалов;
- составление технических отчетов (инженерно-геологических заключений) по результатам выполненных полевых и лабораторных исследований.
2.2.2. Состав, объемы и методы подлежащих выполнению работ определяются организацией-подрядчиком на основе технического задания организации-заказчика с учетом стадии проектирования, уровня ответственности намеченных для строительства, реконструкции и капитального ремонта объектов, сложности инженерно-геологических условий территории (участка).
2.2.3. Категории сложности инженерно-геологических условий в пределах территории Санкт-Петербурга и его пригородных районов следует принимать в соответствии с обязательным прил. 10 к СНиП 1.02.07-87.
2.2.4. Буровые скважины, в зависимости от их назначения, подразделяются на:
- разведочные, предназначенные для изучения геологического строения участка, получения керна для визуального описания грунтов и отбора образцов грунтов нарушенного сложения;
- технические (геотехнические), предназначенные, кроме того, для отбора образцов ненарушенного сложения (монолитов) и проб грунтовых вод;
- специальные, предназначенные для производства полевых исследований грунтов, гидрогеологических наблюдений и исследований.
2.2.5. Глубина разведочных, технических и специальных скважин назначается в зависимости от стадии проектирования, геологического строения участка, характера зданий или сооружений, возможных типов фундаментов и величины передаваемых на них нагрузок.
2.2.6. Для проектирования объектов строительства на естественном основании глубину скважин в нескальных грунтах в условиях Санкт-Петербурга и его пригородных районов можно определять по табл. 2.1 настоящих ТСН.
Таблица 2.1
Регламентируемая глубина скважин
|
Здания на ленточных фундаментах или на отдельных фундаментах под опорами |
Здания на фундаментах в виде сплошной плиты при диаметре или ширине фундамента 10 м и более |
|||||
|
Количество этажей |
Нагрузки |
Глубина скважин от подошвы фундамента, м |
Удельные нагрузки на плиту, кН/м2 |
Глубина скважин в единицах, кратных |
||
|
на ленточный фундамент, кН/м |
на одну опору, кН |
диаметру круглого или стороне квадратного фундамента |
ширине прямоугольного фундамента при соотношении сторон 2 и более |
|||
|
1 |
100 |
500 |
6 |
50 |
1,0 |
1,5 |
|
2-3 |
200 |
1000 |
8 |
100 |
1,5 |
2,0 |
|
4-6 |
500 |
5000 |
12 |
200 |
2,0 |
2,5 |
|
7-10 |
700 |
10000 |
15 |
300 |
2,3 |
3,0 |
|
11-16 |
1000 |
20000 |
20 |
400 |
2,6 |
3,3 |
|
17-20 |
2000 |
50000 |
25 |
500 |
2,8 |
3,5 |
2.2.7. На участках распространения слабых сильносжимаемых грунтов буровые скважины должны проходиться на полную мощность слоев этих грунтов и вскрывать подстилающий слой малосжимаемого грунта до глубины, ниже которой влияние слабых грунтов на осадки проектируемых зданий и сооружений окажется несущественным.
2.2.8. Для проектирования зданий (сооружений) на свайных фундаментах глубина всех разведочных и технических скважин должна определяться с учетом отметок залегания кровли малосжимаемого грунта и приниматься больше предполагаемой глубины погружения нижних концов свай не менее чем на 5 м. При нагрузках на куст висячих свай свыше 3000 кН и при сплошном свайном поле глубина 50 % скважин должна превышать глубину погружения нижних концов свай не менее чем на 10 м.
2.2.9. Расстояния между скважинами принимаются в зависимости от стадии проектирования, сложности инженерно-геологических условий территории (участка), характера, уровня ответственности проектируемых зданий (сооружений), их чувствительности к неравномерным осадкам в соответствии с табл. 34, 35, 36, 38 и 39 СНиП 1.02.07-87 и табл. 2.2 настоящих ТСН.
Регламентируемые расстояния между скважинами
|
Категория сложности инженерно-геологических условий |
Расстояния между скважинами, м, при выполнении инженерно-геологических изысканий для разработки |
|||||
|
градостроительной документации, в том числе проектов застройки отдельных кварталов и земельных участков, а также ТЭО и ТЭР при масштабе инженерно-геологической съемки |
проектов (рабочих проектов) и рабочей документации отдельных зданий (сооружений) с повышенной чувствительностью к неравномерным осадкам при уровне их ответственности |
|||||
|
1:10000 |
1:5000 |
1:2000 |
I |
II |
III |
|
|
I |
350 |
200 |
100 |
50 |
60 |
70 |
|
II |
300 |
170 |
75 |
30 |
40 |
50 |
|
III |
250 |
140 |
65 |
20 |
25 |
30 |
2.2.10. Проходка шурфов в условиях Санкт-Петербурга и его пригородных районов применяется, как правило, при обследовании фундаментов и грунтов основания существующих зданий и сооружений. Их размеры в плане, глубина и способы проходки назначаются в зависимости от глубины заложения подошвы фундаментов, геологического разреза и положения уровня подземных вод.
2.2.11. Во всех случаях глубина шурфов должна приниматься исходя из необходимости вскрытия подошвы фундамента и проверки наличия лежней и свай под фундаментом.
2.2.12. При проходке буровых скважин должны отбираться образцы грунтов нарушенного и ненарушенного сложения и пробы грунтовых вод для лабораторных исследований исходя из расчета 1 образец грунта на 4-5 м бурения и не менее 3 проб грунтовых вод из каждого водоносного горизонта.
2.2.13. Количество образцов грунтов нарушенного и ненарушенного сложения с учетом ранее выполненных инженерно-геологических изысканий должно быть достаточным для статистического обобщения и достоверного расчленения геологического разреза на инженерно-геологические элементы. Минимальное количество частных определений каждого показателя физико-механических свойств по каждому инженерно-геологическому элементу должно быть не менее 6.
2.2.14. Количество проб грунтовых вод должно быть достаточным для характеристики химического состава водоносных горизонтов по площади, глубине, сезонам года и назначаться с таким расчетом, чтобы водоносный горизонт в зоне контакта с подземными конструкциями был охарактеризован химическими анализами не менее трех проб.
2.2.15. Обследование фундаментов и основания существующего здания (сооружения) при проходке шурфов должно включать:
- описание грунтов основания и зарисовку (развертку) стенок шурфов в масштабе 1:20 или 1:50;
- отбор образцов грунтов ненарушенного сложения (монолитов) непосредственно из-под подошвы фундамента и на той же отметке - у противоположной или боковой стенки шурфа;
- зарисовку или фотофиксацию фундамента, определение его размеров, материала и физического состояния (выполняется заказчиком или по его заданию специализированной организацией).
2.2.16. В состав полевых инженерно-геологических исследований могут включаться:
- испытания грунтов методами статического и динамического зондирования;
- испытания грунтов методом вращательного среза;
- испытания грунтов на сжатие в скважинах штампами или прессиометрами;
- испытания грунтов эталонными сваями;
- опытные, пробные и экспресс-откачки подземных вод из скважин, наливы в скважины;
- стационарные наблюдения за режимом подземных вод.
2.2.17. Состав и объемы полевых исследований принимаются в зависимости от стадии проектирования, геологического строения и наличия водоносных горизонтов в пределах территории, на которой выполняются инженерно-геологические изыскания, характера, уровня ответственности и типов фундаментов проектируемых зданий (сооружений), с учетом табл. 33, прил. 5 и 6 к СНиП 1.02.07-87 и требованиями настоящих ТСН.
2.2.18. Статическое зондирование должно выполняться на всех стадиях разработки документации для проектирования строительства, реконструкции, капитального ремонта фундаментов всех видов гражданских зданий и сооружений. Расстояния между точками зондирования и их количество устанавливаются по табл. 2.3 настоящих ТСН. Локальные слои (линзы) слабых грунтов, встреченные в верхней зоне геологического разреза участка строительства, должны быть оконтурены методом статического зондирования.
Таблица 2.3
Требования к статическому зондированию
|
Категории сложности инженерно-геологических условий |
Средние расстояния между пунктами (точками) статического зондирования грунтов при уровне ответственности зданий (сооружений) |
Минимальное количество точек статического зондирования в пределах контуров одного или группы зданий (сооружений) при уровне их ответственности |
||||
|
I |
II |
III |
I |
II |
III |
|
|
I |
25 |
30 |
35 |
8 |
6 |
3 |
|
II |
15 |
20 |
25 |
10 |
8 |
5 |
|
III |
10 |
15 |
20 |
12 |
10 |
8 |
Примечание. Средние расстояния между точками зондирования при выполнении инженерно-геологической съемки принимаются равными половине расстояний между скважинами, указанных в табл. 2.2 настоящих ТСН.
2.2.19. Испытания грунтов на сжатие штампом или прессиометром в скважинах должны выполняться для определения их деформационных характеристик при проектировании зданий и сооружений I уровня ответственности на естественном основании.
2.2.20. Гидрогеологические исследования и соответствующие опытные работы должны выполняться для изучения условий залегания, а также для определения необходимых характеристик и параметров водоносных горизонтов, распространенных в пределах территории земельного участка, на котором выполняются инженерно-геологические изыскания.
2.2.21. При выполнении лабораторных исследований образцов грунтов и проб грунтовых вод следует руководствоваться прил. 7 и 8 СНиП 1.02.07-87 и требованиями настоящих ТСН.
2.2.22. В обязательный набор лабораторных исследований должны включаться определения:
- по образцам любых разновидностей грунтов - природной влажности, плотности, плотности частиц грунта, химического состава водных вытяжек (при отсутствии грунтовых вод), а для проектирования стальных подземных сооружений, кроме того, - удельного электрического сопротивления и плотности катодного тока;
- по образцам связных (глинистых) грунтов - границ текучести и раскатывания, а для проектирования зданий (сооружений) I и II уровней ответственности и при наличии специфических (намывных, заторфованных и других слабых и сильносжимаемых) грунтов и при выполнении инженерно-геологических изысканий в особых случаях (см. п.п. 2.2.32-2.2.36 настоящих ТСН), кроме того, - деформационных характеристик методом компрессионных испытаний и прочностных характеристик методом плоскостного среза или трехосного сжатия;
- по образцам несвязных (песчаных) грунтов - гранулометрического состава;
- по образцам скальных и полускальных горных пород, а также твердых глинистых грунтов - временного сопротивления одноосному сжатию;
- химического состава проб грунтовых вод.
2.2.23. Для оценки состояния (консистенции) тиксотропных грунтов по образцам ненарушенного сложения рекомендуется определять глубину погружения конуса с углом при вершине 30 град. и массой 0,3 кг.
2.2.24. Определение химического состава грунтовых вод, а также водных вытяжек из образцов грунтов для определения степени их агрессивного воздействия и коррозионной агрессивности должно выполняться в объеме стандартного анализа с включением в него дополнительного определения общего содержания ионов железа.
2.2.25. Лабораторные определения химического состава воды для других целей или по другим схемам, указанным в приложении 7 к СНиП 1.02.07-87, могут выполняться по специальным заданиям.
2.2.26. Нормативные и расчетные характеристики деформационных и прочностных свойств грунтов должны назначаться, как правило, по данным прямого их определения полевыми или лабораторными методами.
Определение этих характеристик косвенными методами, по данным статического зондирования (прил. 4 к СНиП 1.02.07-87), по таблицам (прил. 1 к СНиП 2.02.01-83) или номограммам (прил. 1 к настоящим ТСН) допускается в случаях:
- проектирования зданий (сооружений) III уровня ответственности, малочувствительных к неравномерным осадкам, независимо от сложности инженерно-геологических условий;
- проектирования зданий (сооружений) III уровня ответственности на естественном основании, а также объектов II и III уровней ответственности на свайных фундаментах при I и II категориях сложности инженерно-геологических условий;
- назначения прочностных и деформационных характеристик грунтов, залегающих выше предполагаемых отметок погружения нижних концов свай при устройстве свайных фундаментов зданий (сооружений), независимо от их уровня ответственности и сложности инженерно-геологических условий.
2.2.27. В составе отчетных данных по результатам выполнения инженерно-геологических изысканий для проектирования свайных фундаментов должны содержаться данные, необходимые и достаточные для выбора типов, размеров и несущей способности свай, размещения их в плане, назначения мероприятий по защите материала свай от агрессивного воздействия грунтовых вод, расчета осадок проектируемых объектов и развития их во времени.
2.2.28. Несущая способность свай должна определяться по данным испытаний грунтов методом статического зондирования или инвентарными сваями, а для объектов I уровня ответственности - по результатам предпроектных испытаний свай.
2.2.29. Для определения несущей способности свай при проектировании зданий и сооружений III уровня ответственности, а также при предварительных расчетах висячих свай в прочих случаях допускается использование таблиц приложения СНиП 2.02.03-85 или прил. 3 к настоящим ТСН.
2.2.30. В соответствии с требованиями СНиП 2.02.03-85 при выполнении инженерно-геологических изысканий на участках, сложенных торфами, заторфованными грунтами, а также спланированных подсыпкой или гидронамывом, необходимо получение данных для учета сил отрицательного трения по боковой поверхности свай.
2.2.31. По специальным заданиям проектных организаций в составе инженерно-геологических изысканий могут выполняться работы, необходимые для решения технологических задач, связанных с методами погружения и устройства свай.
2.2.32. При проектировании свайных фундаментов для строительства группы объектов, размещенных в пределах квартала (микрорайона), в составе отчетной изыскательской документации должны содержаться инженерно-геологические карты кровли подстилающих плотных грунтов (ледниковых отложений, коренных горных пород) масштаба не мельче 1:5000.
2.2.33. Инженерно-геологические изыскания в особых случаях должны выполняться с учетом требований, изложенных в п.п. 2.2.34 - 2.2.36 настоящих ТСН.
2.2.34. При производстве инженерно-геологических изысканий для проектирования зданий (сооружений) со значительным заглублением подземных элементов и конструкций с применением при проходке котлованов шпунтовых ограждений, опускных колодцев или метода "стена в грунте" особое внимание должно быть уделено прямым определениям прочностных характеристик грунтов в неконсолидированном состоянии выше подошвы заглубляемого сооружения, деформационных характеристик в пределах сжимаемой зоны, а также гидрогеологических параметров водоносных горизонтов как в зоне разработки котлованов, так и подземных вод, залегающих ниже отметок подошвы несущих конструкций подземного сооружения.
2.2.35. При выполнении инженерно-геологических изысканий для проектирования зданий (сооружений), размещаемых вблизи глубоких выработок (траншей, котлованов и карьеров) или на природных склонах, дополнительно должны быть детально изучены элементы геологического строения (прослои слабых грунтов, выходы грунтовых вод), оказывающие влияние на устойчивость откосов, а также определены прочностные характеристики грунтов в неконсолидированном состоянии.
2.2.36. При инженерно-геологических изысканиях для разработки проектов реконструкции и капитального ремонта существующих зданий и сооружений, а также проектов размещаемых вблизи от них новых объектов дополнительно должны выполняться:
- проходка шурфов для обследования фундаментов и грунтов оснований существующих зданий (сооружений) с учетом требований, изложенных в п. 2.2.15 настоящих ТСН;
- бурение разведочных и технических скважин вдоль контура реконструируемого здания на расстоянии от него не более 5 м;
- бурение разведочных и технических скважин вдоль линии примыкания новых объектов к существующим с сокращением расстояния между скважинами до 10 м;
- испытания грунтов методами статического, динамического зондирования и лопастного среза;
- испытания грунтов в скважинах на сжатие штампами или прессиометрами в зоне примыкания и на противоположном конце нового объекта;
- лабораторные исследования образцов грунтов ненарушенного сложения с определением их деформационных и прочностных характеристик.
2.2.37. При производстве инженерно-геологических изысканий для разработки проектов планировки территорий подсыпкой или гидронамывом должны быть определены прямыми (в том числе полевыми) методами деформационные характеристики и параметры консолидации грунтов, позволяющие установить:
- полную величину вертикальных перемещений спланированной поверхности территории в результате уплотнения как насыпанных (намытых), так и подстилающих грунтов, а также развитие их во времени;
- время консолидации толщи грунтов от воздействия массы насыпанных или намытых слоев и необходимость применения мер по ускорению консолидации.
2.2.38. Виды и степень агрессивности грунтовых вод по отношению к бетону подземных конструкций должны определяться в зависимости от величин показателей агрессивности, устанавливаемых по данным химических анализов проб грунтовых вод, с использованием соответствующих таблиц СНиП 2.03.11-85 "Защита строительных конструкций от коррозии".
2.2.39. На основе гидрогеологических и гидрохимических исследований (см. п.п. 2.2.20, 2.2.23 и 2.2.24 настоящих ТСН) должны быть установлены:
- параметры фоновой природной агрессивности грунтовых вод;
- источники загрязнения грунтовых вод (промстоки, свалки, почвы и т.п.), являющиеся причиной повышения степени их агрессивности;
- зоны распространения грунтовых вод с повышенной степенью агрессивности;
- возможность и масштабы изменения гидрогеологических условий на участке под воздействием его застройки.
2.2.40. Степень коррозионной агрессивности воды-среды и грунтов по отношению к подземным металлическим сооружениям должна оцениваться по данным химических анализов водных вытяжек и проб грунтовых вод, а также результатам измерений по образцам грунтов величин удельного электрического сопротивления и плотности катодного тока с использованием соответствующих таблиц ГОСТ 9.602-89 "Сооружения подземные. Общие требования к защите от коррозии".
2.2.41. Результаты гидрогеологических и гидрохимических исследований рекомендуется использовать также для характеристики экологической обстановки на строительной площадке.
2.3.1.Технические обследования существующих зданий и сооружений на территории Санкт-Петербурга и его пригородных районов производятся при необходимости:
- определения возможности, целесообразности и характера реконструкции или капитального ремонта существующих зданий (сооружений);
- получения исходных данных для разработки проектов реконструкции (включая надстройку) или капитального ремонта существующих объектов;
- проектирования и строительства новых объектов, размещаемых вблизи от существующих.
2.3.2. Состав и объемы обследовательских работ в каждом конкретном случае определяются на основе технического задания заказчика с учетом требований соответствующих инструкций и настоящих ТСН.
2.3.3. Кроме работ, выполняемых в составе инженерно-геологических изысканий (п.п. 2.2.10, 2.2.11 и 2.2.15 настоящих ТСН), в состав обследовательских работ включаются:
- изучение имеющейся архитектурно-строительной и инвентаризационной документации;
- аналитическое определение координат углов зданий и других стабильных элементов ситуации;
- натурное определение расстояний между существующими объектами;
- обмеры наружных габаритов обследуемых объектов;
- геодезические измерения величин отклонений несущих и ограждающих конструкций зданий (сооружений) от вертикальной плоскости;
- определение абсолютных или относительных высотных отметок обреза и подошвы фундаментов, цоколя и других указанных в техническом задании элементов обследуемого объекта, а также заложенных в его строительных конструкциях геодезических пунктов;
- обследование физического состояния несущих конструкций здания (фундаментов, наружных и внутренних стен, колонн, перекрытий и т.д.) с определением конструкционных материалов, их прочностных характеристик, как правило, неразрушающими методами, а также наличия и степени появления деформаций и повреждений (трещин, сдвигов, выпучивания, эрозии кирпичной кладки, сырости и т.п.);
- обследование прочих элементов здания и обмерные работы;
- выявление и обследование помещений и интерьеров, имеющих архитектурно-художественную ценность.
2.3.4. Комплексная оценка технического состояния обследованного здания (сооружения) дается по табл. 2.4 настоящих ТСН.
2.3.5. В случае проектирования новых объектов, размещаемых вблизи от существующих зданий (сооружений), обследования последних могут производиться по сокращенной программе с учетом необходимости оценки физического состояния существующих несущих конструкций, расположенных вдоль линии примыкания на расстоянии до 30 м.
2.3.6. По данным проведенных обследований и обработки полученных результатов составляется технический отчет (заключение), в котором должны быть приведены текстовая часть и необходимые приложения.
2.4.1. Испытания свай статическими и динамическими нагрузками, испытания грунтов способом статического и динамического зондирования, а также испытания эталонной сваи должны производиться в соответствии с требованиями ГОСТ 5686-78, ГОСТ 20069-81 и ГОСТ 24942-81.
2.4.2. Обработку результатов испытаний свай следует производить в соответствии с указаниями СНиП 2.02.03-85.
2.4.3. На площадках, сложенных слабыми грунтами на глубину более 15 м, должны производиться испытания забивных свай статической и динамической нагрузкой. Несущая способность сваи-оболочки, буровых, набивных, винтовых свай и анкеров должна определяться статическими испытаниями натурных свай, испытаниями модельных (эталонных) свай и методом статического зондирования грунтов.
Оценка технического состояния конструкций кирпичных зданий по результатам обследований с учетом развития повреждений и физического износа
|
Категория технического состояния конструкций |
Повреждения конструкций |
Степень физического износа стен зданий |
||
|
Несущих стен и столбов |
Ограждающих стен |
Перекрытий, лестничных клеток |
||
|
I |
Трещин нет или отдельные трещины в межоконных поясах и в перемычках кирпичных стен, раскрытие до 0,5 мм |
Трещин нет или трещины с раскрытием до 0,5 мм |
В несущих элементах повреждений нет |
до 20 % |
|
II |
Трещины в межоконных поясах, перемычках, простенках. Раскрытие до 3 мм |
Трещины с раскрытием до 3 мм |
Трещины в сопряжениях, признаки сдвигов в заделках |
20-40 % |
|
III |
Сквозные трещины 3 мм в простенках, столбах, разрушение, вывалы кладки |
Трещины с раскрытием более 3 мм |
Трещины в несущих элементах, сдвиги элементов в заделке |
более 40 % |
Примечание. 1) Оценку степени износа зданий требуется выполнять по указаниям, изложенным в книге "Методика определения физического износа гражданских зданий", изд. Министерства коммунального хозяйства РСФСР, 1970.
2) Если обследование выполняется для проектирования строительства на участках, смежных с объектом обследования, оценка износа выполняется по сокращенной программе и для выявления процента физического износа стен, колонн (столбов), перекрытий, фундаментов в пределах одной секции (блока) здания, расположенного непосредственно возле проектируемого строительства, но не менее чем на участке 30 м.
Таблица 2.5
Требования к испытаниям свай
|
Наименование свай |
Способ погружения (изготовления) |
Назначение и вид испытаний свай |
|||
|
Предпроектные |
Контрольные |
||||
|
Предпостроечные |
В процессе забивки свайного поля |
В свайном поле |
|||
|
Сваи железобетонные призматические, пирамидальные и цилиндрические полые с закрытым нижним концом, сваи с оголовками |
Забивка |
Динамической нагрузкой в процессе погружения и статической нагрузкой |
Динамической нагрузкой в процессе погружения и статической нагрузкой |
Динамической нагрузкой в процессе погружения |
После "отдыха" динамической нагрузкой или статической нагрузкой |
|
|
Вибрационный |
Динамической нагрузкой в процессе погружения и статической нагрузкой |
Динамической нагрузкой в процессе погружения и статической нагрузкой |
Динамической нагрузкой в процессе погружения |
Статической нагрузкой |
|
Железобетонные призматические сваи |
Вдавливание |
По процессу вдавливания и статической нагрузкой |
В процессе вдавливания и статической нагрузкой |
В процессе вдавливания |
Статической нагрузкой |
|
Сваи-оболочки и оболочки диаметром до 1,6 м с грунтовым ядром |
Вибрационный |
Динамической в процессе погружения и статической нагрузкой |
|
|
Статической нагрузкой |
|
Сваи-оболочки без грунтового ядра с заполнением бетоном, набивные и буронабивные сваи |
Вибропогружение, бурение, разработка и экскавация грунта с последующим бетонированием |
Статической нагрузкой |
|
|
Статической нагрузкой |
2.4.4. Испытания свай подразделяются на предпроектные и контрольные (табл. 2.5). Предпроектные испытания выполняются для обоснования выбора типа свай, назначения размеров, определения несущей способности и возможности их погружения на проектную глубину.
Контрольные испытания проводятся в целях проверки принятых в проекте решений и контроля качества выполнения свайных работ. Все испытания свай, свай-оболочек (за исключением контрольных при погружении свай) должны производиться после "отдыха".
2.4.5. Предпроектные испытания свай назначаются проектной организацией на стадии разработки проекта детальной планировки микрорайона (квартала) или разработки проекта здания или сооружения.
2.4.6. Вследствие занятости территории при реконструкции и в других аналогичных случаях в порядке исключения проектной организацией могут назначаться контрольные испытания свай после разработки проекта, но до производственной забивки свай. По результатам этих испытаний в проект должны быть внесены соответствующие коррективы.
2.4.7. Если сваи после "отдыха" имеют отказ, превышающий расчетный, или наблюдается поднятие дна котлована или ранее забитых свай, сваи не удалось погрузить на проектную отметку, то проектной или строительной организацией назначаются контрольные статические испытания свай.
Контрольные статические испытания свай также могут назначаться приемочной комиссией после завершения работ по устройству фундаментов.
2.4.8. Количество предпроектных и контрольных предпостроечных испытаний свай устанавливается с учетом:
- сложности грунтовых условий;
- количества разнородных по сжимаемости слоев грунтов;
- наличия перепадов отметок кровли несущего слоя в пределах пятна застройки;
- объемно-планировочных характеристик здания или сооружения (протяженность, конфигурация в плане, наличие разноэтажных блоков, конструктивная схема);
- величины нагрузки на сваю.
Количество предпроектных испытаний свай назначается в соответствии со СНиП 2.02.03-85, но не менее двух на каждое здание или сооружение. Однако при квартальной застройке и сравнительно горизонтальном залегании слоев грунта в отдельных случаях может быть допущено сокращение числа испытаний против указанного выше.
Количество контрольных испытаний, в процессе строительства и приемки работ назначается по ГОСТ 5686-78.
2.4.9. Для определения несущей способности свай испытания статической и динамической нагрузкой должны производиться по окончании процесса стабилизации деформаций в окружающих грунтах, то есть после "отдыха" сваи (засасывание свай в пылевато-глинистых грунтах, снижение несущей способности в пылеватых мелких песках).
Продолжительность "отдыха" свай перед испытаниями должна быть (не менее) при песчаных грунтах - 3 сут., супесях - 5 сут., суглинках - 15 сут., глинах - 25 сут.
2.4.10. Сваи, предназначенные для испытаний, должны удовлетворять всем требованиям к форме, качеству, прочности и прочим параметрам, установленным ГОСТ 19804.0-78.
2.4.11. Погружение забивных свай, предназначенных для предпроектных испытаний или предпостроечных контрольных испытаний, должно производиться подвесным молотом или молотом одиночного действия. Погружение свай, предназначенных для испытания статической нагрузкой с использованием анкерных свай, должно предшествовать погружению анкерных свай. При наличии в основании водонасыщенных пылевато-глинистых грунтов необходимо испытываемую сваю добить после погружения всех анкерных свай на 5 см более величины ее поднятия.
Примечание. Подъем предназначенной к испытанию сваи при забивке анкерных должен фиксироваться нивелировкой. Данные по подъему должны использоваться проектной и строительной организациями как указание о необходимости добивки свай в ходе производства работ.
2.4.12. Размеры и количество анкерных свай должны назначаться в зависимости от предполагаемой максимальной нагрузки, величины предельного сопротивления свай выдергиванию по грунту и прочности арматуры на растяжение.
2.4.13. Для оценки несущей способности свай иногда целесообразно забивать опытные сваи и проводить их испытания динамической нагрузкой. Такие испытания одновременно позволяют проверить возможность погружения сваи на проектную глубину, а также оценить однородность грунтов по длине сваи.
Когда нижний конец сваи опирается на пылевато-глинистые грунты с показателем текучести IL>0,6 применять динамические испытания свай без проведения статических не рекомендуется.
2.4.14. При контроле "отказа" сваи в конце забивки фиксируют погружение сваи от 10 последних ударов. Среднее значение погружения сваи от одного удара и будет являться отказом в конце забивки.
Расчетный отказ при забивке сваи после "отдыха" определяется как среднее арифметическое от последних четырех ударов из пяти произведенных.
Величина предельного сопротивления сваи по результатам динамических испытаний определяется по СНиП 2.02.03-85. Для более точного определения предельного сопротивления сваи рекомендуется учитывать упругий и остаточный отказы сваи.
2.4.15. Упругий отказ sel определяется с помощью отказомера. Фактический остаточный отказ sa равен погружению сваи от удара молота после "отдыха".
Упругий отказ может быть определен по формуле:
, (2.1)
где Н1 - высота падения молота при втором и пятом экспериментальных ударах, м;
Н2 - то же при третьем и четвертом ударах (Н2 обычно в два раза меньше Н1), м;
sa1, sa2 - отказы при высотах падения молота соответственно Н1 и Н2, м.
2.4.16. При динамических испытаниях подвесным молотом рекомендуется первый, не учитываемый в расчетах, удар производить при падении молота с высоты 0,5 м. Остальные удары, учитываемые при определении отказа сваи, - с высоты падения молота не более 1,5 м.
2.4.17. Динамические испытания свай и процесс их погружения до испытания целесообразно в застроенных кварталах использовать для измерения колебаний грунта на различных расстояниях от места забивки сваи.
С этой целью на поверхности грунта, на расстоянии от 3 до 20 м от оси погружаемой сваи, должны устанавливаться виброметрические приборы, по которым определяются параметры колебания грунта и оценивается опасность их влияния на существующие здания и сооружения.
2.4.18. Статическая нагрузка при испытании свай должна быть доведена до достижения осадки не менее 50 мм. В отдельных случаях по согласованию с проектной организацией и при контрольных испытаниях значение этой осадки может быть меньше, однако нагрузка должна быть не менее полуторной расчетной.
2.4.19. Расстояние в осях между испытываемой и анкерными сваями должно быть не менее 6 d (d - сторона квадратного или диаметр круглого сечения сваи).
2.4.20. Частное значение предельного сопротивления сваи, кН (тс), по результатам испытания статической нагрузкой в условиях слабых грунтов Санкт-Петербурга рекомендуется принимать равным нагрузке, при которой осадка сваи s = 40 мм. Для остальных грунтов предельное сопротивление должно определяться в соответствии со СНиП 2.02.03-85.
2.4.21. Статические испытания круглых пустотелых свай и свай-оболочек на вертикальную нагрузку можно производить раздельным способом согласно "Указаниям по расчету трубчатых железобетонных свай диаметром 0,8-1,6 м на вертикальную и горизонтальную нагрузки" (ВСН 171-71 ММСС СССР).
2.4.22. Статические испытания грунтовых анкеров производятся в соответствии с ГОСТ 5686-78 и "Пособием по производству работ при устройстве оснований фундаментов" к СНиП 3.02.01-83.
2.4.23. Испытания анкеров включают три этапа: пробные, контрольные и приемочные.
2.4.24. Пробным испытаниям подлежат не менее трех опытных анкеров. Опытные анкеры располагают на тех же расстояниях друг от друга и под теми же углами, что и по проекту, в тех же инженерно-геологических условиях.
На основании пробных испытаний определяют предельное сопротивление анкера Fu и расчетом несущую способность анкера по грунту Fd, а также суммарное перемещение анкера s.
2.4.25. Испытательные растягивающие усилия при пробных испытаниях передают ступенями по 0,15 Fu до значения 0,9 Fu; после каждой ступени нагрузки, начиная с 0,3 Fu, производят разгрузку до начального усилия F0 - 0,1 Fu. Наблюдения за перемещениями анкера на каждой ступени ведут до условного затухания. Затем нагрузку увеличивают до Fu - состояния, при котором перемещения анкера во времени не затухают.
По результатам испытаний строят диаграмму "усилия-перемещения".
2.4.26. В ходе строительства каждый анкер подвергается приемочным испытаниям. Максимальное растягивающее усилие принимается 1,2 N для временных анкеров и 1,5N для постоянных, где N - расчетное усилие в анкере, которое определяется исходя из расчета сооружения, закрепленного анкерами, с учетом предварительного натяжения анкера.
Натяжение анкера выполняют ступенями по 0,15 N до нагрузки 1,2 N (1,5 N). Затем производят выдержку на последней ступени в течение 15 мин. в песчаных и 30 мин. в пылевато-глинистых грунтах с последующей полной разгрузкой анкера. После замера полных, остаточных и других деформаций анкер снова натягивается до расчетной величины нагрузки и закрепляется на конструкции. Анкер считается пригодным, если полная деформация анкера при нагрузке 1,2 N находится в пределах допустимой (для данного уровня ответственности сооружения) и не превышает полной деформации при нагрузке 1,2 N во время пробных испытаний.
2.4.27. Для контроля их качества первые шесть анкеров и затем каждый десятый анкер испытывают по программе пробных испытаний анкеров, доводя испытательную нагрузку до 1,4 N.
Результаты контрольных и пробных испытаний сравнивают между собой. Если несущая способность первых шести анкеров по грунту не обеспечена (не достигнут предел условной стабилизации), то вносят изменения в проект.
Исходные материалы для проектирования
3.1.1. Разработка проектов фундаментов зданий и сооружений для С.-Петербурга и его пригородных районов производится в соответствии с требованиями СНиП 2.02.01-83 с учетом настоящих ТСН, руководств по проектированию оснований и фундаментов, а также альбомов и каталогов деталей и изделий, утвержденных для применения организациями, осуществляющими строительство.
Все изменения в чертежах фундаментов, необходимость которых выявилась в процессе строительства, должны быть согласованы с проектной организацией - автором проекта.
3.1.2. При проектировании сложных зданий (высотных, разноэтажных и т.п.), а также примыкающих к существующим обязательно назначение главного конструктора проекта и участие его в принятии объемно-планировочного решения, конструктивной схемы здания или сооружения и типа фундаментов.
3.1.3. Для проектирования фундаментов необходимы:
а) генеральный план участка строительства с горизонталями, вертикальной и горизонтальной привязкой проектируемого и соседних зданий или сооружений и инженерных сетей;
б) проект вертикальной планировки;
в) данные инженерных, инженерно-геологических и гидрогеологических изысканий на площадке строительства здания или сооружения, содержащие сведения, предусмотренные главой 2 и дополнительные данные согласно задания на проведение изысканий (СНиП 2.02.01-83);
г) архитектурно-строительная часть проекта, надземная и подземная, в объеме, требующемся для точного определения нагрузок на фундаменты и, в случае необходимости, расчета совместной работы системы "здание-фундамент-основание", а также наличие вблизи фундаментов соседних зданий;
д) данные об инженерных сетях в пределах пятна застройки (подземных и прокладываемых в подвале), а также вблизи пятна застройки, прокладываемых ниже глубины заложения фундаментов.
Примечание: Выдача заказчику и подрядчику рабочих чертежей фундаментов до окончания разработки всех разделов нулевого цикла здания не рекомендуется.
Допускается проектирование фундаментов при разработке зданий и сооружений в стадии "проект" на основании сокращенного объема инженерно-геологических изысканий, позволяющего предварительно установить тип и размеры фундаментов.
3.1.4. Проектирование оснований и фундаментов в сложных геологических условиях С.-Петербурга и его пригородных районов должно производиться, как правило, на основании результатов детальных инженерно-геологических изысканий с данными лабораторных исследований и опытных работ, выполненных на площадке строительства, и с учетом местных условий. Использование табличных значений прочностных и деформационных характеристик грунтов, расчетных сопротивлений грунтов оснований и расчетных сопротивлений грунтов под нижним концом и по боковой поверхности свай (СНиП 2.02.01-83, СНиП 2.02.03-85 и настоящих ТСН) допускается на стадии "проект", а также в случаях, оговоренных в разделах 3.2 и 3.5.
Выбор типа фундаментов
3.1.5. Тип фундаментов должен назначаться с учетом инженерно-геологических условий площадки строительства, интенсивности распределения давления по площади застройки, конструктивной схемы и чувствительности здания к неравномерным осадкам, условий примыкания к ранее построенным зданиям и т.п.
Примечание: Рекомендации по устройству фундаментов в зависимости от чувствительности зданий к неравномерным осадкам приведены в гл.1.
3.1.6. При интенсивности нагрузки на площадь застройки менее 200 кПа и глубине залегания грунтов, пригодных в качестве основания, менее 3 м от поверхности планировки, а также при отсутствии в основании слоев слабых грунтов, можно назначить, как правило, фундаменты на естественном основании.
3.1.7. Искусственно улучшенные основания могут назначаться, если грунты, пригодные в качестве естественного основания, залегают на глубине от 2,5 до 4 м, а выше расположены слабые грунты (включая намытые), которые могут быть закреплены или заменены песчаными или иными подушками.
3.1.8. Свайные фундаменты в геологических условиях С.-Петербурга, как правило, целесообразны, когда фундаменты на естественном основании не обеспечивают допустимые деформации конструкций зданий.
3.1.9. Назначение свайных фундаментов под легкие здания и сооружения может быть допущено при технико-экономической целесообразности.
3.1.10. Рекомендуется применять фундаменты одного типа под одним зданием, даже разноэтажным.
3.1.11. Окончательный выбор типа фундаментов зданий должен производиться на основе технико-экономического сравнения вариантов в соответствии с указанием 1.6.
Глубина заложения фундаментов
3.1.12. Глубина заложения фундаментов и подошвы ростверков регламентируется СНиП 2.02.01-83, в том числе в зависимости от пучинистости грунтов и расчетной глубины промерзания.
3.1.13. Нормативная глубина промерзания грунтов dfn в С.-Петербурге и его пригородных районах должна приниматься для глин и суглинков, не содержащих прослоев и гнезд пылеватого и песчаного материала - 1,20 м. При наличии указанных прослоев и гнезд, а также для песков и супесей dfn = 1,45 м, а для гравелистых, крупных, средней крупности песков dfn = 1,55 м.
Расчетную глубину промерзания грунта df рекомендуется определять по формуле:
df=khkndfn (3.1)
где kh - коэффициент влияния теплового режима здания на глубину промерзания грунта у фундаментов наружных стен должен приниматься по табл. 1 СНиП 2.02.01-83 или по табл. 3.1 ТСН;
kn - коэффициент неоднородности промерзания грунта, принимаемый для С.-Петербурга и прибрежной зоны Финского залива равным 1,2.
Коэффициент kn = 1,2 учитывается только при обязательном учете kh.
Особенности расчета оснований и фундаментов. Нагрузки и воздействия, учитываемые в расчетах оснований
3.1.14. Расчетные нагрузки для расчета оснований по несущей способности в случаях, предусмотренных СНиП 2.02.01-83 и СНиП 2.02.03-85 и при проверке прочности элементов конструкции фундаментов, должны определяться с коэффициентами надежности по нагрузке согласно СНиП 2.01.07-85 "Нагрузки и воздействия".
Расчетные нагрузки при определении деформаций оснований и осадки фундаментов должны подсчитываться с коэффициентом надежности по нагрузке, равным единице.
3.1.15. При расчете осадок, назначении размеров подошвы фундаментов на естественном основании, размеров и количества свай по несущей способности грунта для жилых и общественных зданий, в помещениях которых временные нагрузки на перекрытия состоят из людей, мебели и другого стационарного оборудования, к назначениям, приведенным в СНиП 2.01.07-85 "Нагрузки и воздействия", рекомендуется вводить коэффициент ks = 0,2. Для других гражданских зданий при указанных расчетах коэффициент снижения временных нагрузок на перекрытия принимается равным ks = 0,5. Коэффициенты одновременности загружения перекрытий, предусмотренные СНиП, при введении в расчет ks, не учитываются (принимается равным единице).
Коэффициент влияния теплового режима здания на глубину промерзания грунта у фундаментов наружных стен
|
№ п/п |
Схема разреза здания |
af |
kh при температуре в 1-м этаже, подвале или техническом подполье, в °С |
|||||
|
-5 |
0 |
+5 |
+10 |
+15 |
+20 |
|||
|
1 |
|
£ 0,25 0,50 1,00 1,50 |
1,0 1,0 1,0 1,0 |
0,85 0,90 0,95 1,00 |
0,75 0,80 0,85 0,90 |
0,65 0,70 0,75 0,80 |
0,55 0,60 0,65 0,70 |
0,45 0,50 0,55 0,60 |
|
2 |
|
£ 0,25 0,50 1,00 1,50
|
1,0 1,0 1,0 1,0 |
1,0 1,0 1,0 1,0 |
0,80 0,90 0,95 1,00 |
0,70 0,80 0,85 0,90 |
0,60 0,70 0,75 0,80 |
0,50 0,60 0,65 0,70 |
|
3 |
|
£ 0,25 0,50 1,00 1,50
|
1,0 1,0 1,0 1,0 |
1,0 1,0 1,0 1,0 |
1,0 1,0 1,0 1,0 |
0,80 0,90 0,95 1,00 |
0,70 0,80 0,85 0,90 |
0,60 0,70 0,75 0,80 |
|
4 |
|
£ 0,25 0,50 1,00 1,50
|
0,80 0,90 0,95 1,00 |
0,70 0,80 0,85 0,90 |
0,60 0,70 0,75 0,80 |
0,50 0,60 0,65 0,70 |
0,40 0,50 0,55 0,60 |
0,30 0,40 0,45 0,50 |
|
5 |
Неотапливаемые здания |
любое |
kh=1,1
|
|||||
3.1.16. Ветровая нагрузка на фундаменты передается несущими конструкциями здания в зависимости от расчетной модели сооружения в целом.
3.1.17. Расчет оснований и всех типов фундаментов должен производиться по второй группе предельных состояний. Допускается определение деформаций основания без учета совместной работы здания, фундаментов и основания согласно п. 2.5. СНиП 2.02.01-83.
Для протяженных зданий рекомендуется расчет неравномерности осадок производить с учетом совместной работы системы "здание-фундамент-основание".
3.1.18. Расчет осадок всех типов фундаментов рекомендуется производить методом послойного суммирования и линейно-деформируемого слоя в соответствии с прил. 2 СНиП 2.02.01-83 или методом ограниченной сжимаемости толщи*. При этом в случае слабых грунтов в основании необходимо учитывать загружение соседних фундаментов, подсыпки территории более 0,5 м и нагрузку на полы по грунту более 10 кПа.
___________________
* Далматов Б.И. Механика грунтов, основания и фундаменты. М., Стройиздат, 1988.
3.1.19. Определение неравномерности осадок рекомендуется производить с учетом изменчивости сжимаемости основания каждого слоя грунта по горизонтали. При отсутствии достаточно точных данных об изменчивости характеристик деформативности слоя грунта по горизонтали разрешается принимать их постоянными в радиусе 25 м.
3.1.20. Предельные неравномерности деформации оснований рекомендуется принимать по прил. 4 СНиП 2.02.01-83. Кроме того, отклонение от вертикали шахт лифтов зданий до 20 этажей не должно быть больше 150 мм.
3.1.21. Для кирпичных жилых зданий высотой до 12 этажей с конструкциями пониженной чувствительности к неравномерным осадкам (см. гл. 1) с уклонами кровли слоев грунта до 1:10 допускается проектировать основания исходя из предельно допустимой средней осадки.
3.1.22. Величины предельно допустимых деформаций основания и здания или сооружения рекомендуется принимать для жилых и общественных зданий, строящихся на слабых грунтах, по табл. 3.2, составленной с учетом многолетних наблюдений за осадками построенных зданий. Для остальных зданий и сооружений по СНиП 2.02.01-83.
Средняя s и максимальная s1 предельные осадки, см, и относительные неравномерности осадок
|
Тип здания |
Конструкция стен |
Конструктивная характеристика здания |
Средние предельные осадки, см |
Предельный относительный перекос |
Предельный крен, выгиб, прогиб |
|||||||
|
Тип фундаментов |
||||||||||||
|
Отдельные |
Ленточные |
Плита под все здание |
Свайные |
|||||||||
|
Сборные |
Монолитные |
|||||||||||
|
s |
s1 |
s |
s1 |
s |
s1 |
s |
s |
|||||
|
Протяженные |
Крупно-панельные |
Бескаркасные с несущими поперечными и навесными наружными стенами |
10 |
12 |
10 |
12 |
12 |
15 |
20 |
12 |
0,0015 |
0,005 |
|
Бескаркасные с несущими или самонесущими продольными стенами |
10 |
12 |
12 |
15 |
15 |
18 |
20 |
12 |
0,0018 |
0,005 |
||
|
С каркасом во всех или нескольких нижних этажах |
8 |
10 |
10 |
12 |
12 |
15 |
20 |
10 |
0,0017 |
0,005 |
||
|
Бескаркасные с непрерывными арматурными поясами (соединение стыков сваркой) |
12 |
15 |
12 |
15 |
15 |
18 |
20 |
15 |
0,0020 |
0,005 |
||
|
Кирпичные |
С несущими или самонесущими продольными стенами |
10 |
12 |
12 |
15 |
15 |
18 |
25 |
12 |
0,0020 |
0,005 |
|
|
То же, с армированными швами кладки или железобетонными поясами |
12 |
15 |
15 |
18 |
25 |
30 |
30 |
20 |
0,0024 |
0,005 |
||
|
С каркасом во всех или нескольких нижних этажах |
8 |
10 |
12 |
15 |
15 |
18 |
20 |
10 |
0,0018 |
0,005 |
||
|
Башенные (H до 60 м) |
Крупно-панельные |
Бескаркасные с непрерывными горизонтальными поясами арматуры (соединение стыков сваркой) |
10 |
12 |
12 |
15 |
15 |
18 |
25 |
20 |
0,0020 |
0,004 |
|
С каркасом во всех или нескольких нижних этажах |
8 |
10 |
10 |
12 |
15 |
18 |
20 |
15 |
0,0022 |
0,004 |
||
|
Кирпичные |
Бескаркасные с армированными швами кладки или железобетонными поясами |
15 |
18 |
15 |
18 |
20 |
24 |
30 |
25 |
0,0024 |
0,004 |
|
|
То же, с каркасом во всех или нескольких нижних этажах |
10 |
12 |
12 |
15 |
15 |
18 |
20 |
20 |
0,0022 |
|
||
3.1.23. Если при определении неравномерности осадки не учитывается совместная работа конструкций зданий и грунтов основания, то при суммарной мощности слоев сильносжимаемых грунтов больше активной зоны, определенной с учетом загружения соседних площадей, предельные величины осадок основания допускается принимать в полтора раза больше значений, указанных в прил. СНиП 2.02.01-83.
3.1.24. При разработке типовых проектов должны быть определены критерии их применимости согласно СНиП 2.02.01-83.
Не допускается установление критериев применимости для отдельных секций жилых домов. В этом случае расчет по деформациям производится как для индивидуального жилого дома, скомпонованного из секций.
3.1.25. Стены фундаментов из бетонных блоков и кирпича следует рассчитывать на изгиб согласно требованиям СНиП "Каменные и армокаменные конструкции", стены из крупных панелей - по СНиП 2.03.01-84 "Бетонные и железобетонные конструкции". Армирование швов кладки и железобетонных поясов необходимо выполнять по разд. 1.4 настоящих ТСН.
горизонтальных сил от давления грунта и полезной нагрузки на поверхности земли (см. разд. 3.9).
Если устойчивость стен до возведения перекрытия над подвалом не обеспечивается, в проекте должно быть дано указание об ограничении высоты обратной засыпки фундаментов.
Конструирование фундаментов
3.1.26. Под монолитные железобетонные плиты фундаментов и свайные ростверки, бетонируемые на грунте, рекомендуется устраивать подготовку из утрамбованного щебня или гравия толщиной 80-100 мм, пролитого раствором или битумом.
Допускается бетонирование фундаментов и ростверков без подготовки на сухих плотных грунтах. В этом случае защитный слой бетона увеличивается до 70 мм.
Назначение подготовки из тощего бетона допускается при слабых водонасыщенных грунтах, а также при необходимости гидроизоляции фундаментов или ростверков снизу.
3.1.27. В фундаментах легких сооружений, а также в фундаментах, недостаточно загруженных в зимний период строительства, когда силы морозного пучения действуют по всем боковым поверхностям, не рекомендуется при пучинистых грунтах устраивать в пределах глубины промерзания выступы. В случае их устройства под ними необходимо делать воздушный зазор на величину ожидаемого пучения.
Стены фундаментов следует покрывать несмерзающейся мастикой. В качестве такой мастики рекомендуется использовать битум, растворенный в мазуте или соляровом масле с соотношением 4:1 (4 части битума, 1 часть растворителя по весу).
Для легких неотапливаемых зданий высотой до 7 м с целью уменьшения сил пучения, действующих на фундаменты, при пылевато-глинистых грунтах можно устраивать обсыпку фундаментов крупным или средней крупности песком толщиной 50 см с обязательным ее дренированием.
3.1.28. Осадочные швы в фундаментах и в надземных конструкциях зданий должны обеспечивать независимость осадок отдельных частей зданий и сооружений (см. разд. 1.4.).
3.1.29. В проекте фундаментов должны быть указаны:
а) посадочные абсолютные отметки, назначенные с учетом строительного подъема на ожидаемую осадку (см. разд. 1.7);
б) сведения об инженерных, инженерно-геологических и гидрогеологических изысканиях, опытных полевых работах (номера буровых скважин, точек зондирования, наименование заключения); данные испытания свай;
в) указания о необходимости дополнительного или контрольного бурения скважин, зондирования или проведения контрольных испытаний свай;
г) уровень грунтовых вод с учетом возможных изменений во времени и характеристика их агрессивности по отношению к материалам фундаментов;
д) характеристики грунта, принятого за основание, расчетное сопротивление грунта основания, или величина расчетной нагрузки на сваю, или требуемые физико-механические характеристики искусственного основания;
е) прочность и морозостойкость бетона конструкции фундаментов;
ж) указания о защите конструкций фундаментов от агрессивных грунтовых вод;
з) меры по сохранению структуры грунтов основания, включая величину недобора, защиту от замачивания и промораживания;
и) основные положения по производству работ, как-то порядок отрывки котлованов, забивки свай, отсыпки песчаных подушек; рекомендации по механизмам (тип экскаватора, копра и основания под него, вес молота и т.п.), монтаж сборных и порядок бетонирования монолитных железобетонных и бетонных конструкций и другие мероприятия, обеспечивающие принятые в проекте условия при назначении размеров фундаментов;
к) указания по наблюдению за деформациями строящихся и существующих близкорасположенных зданий и сооружений (СНиП 2.02.01-83), в том числе после окончания строительства;
л) допускаемые отклонения при отрывке котлованов, забивке свай, монтаже и бетонировании фундаментов или ссылки на соответствующие нормативные документы;
м) другие сведения, специфические для конкретного строительства и типа фундаментов.
Гидроизоляция фундаментов и стен здания
3.1.30. В проекте фундаментов должна быть предусмотрена гидроизоляция от грунтовой сырости стен здания и других конструкций, опирающихся на фундаменты, а также стен, ограждающих подвалы.
Тип гидроизоляции должен назначаться в зависимости от класса сооружения, значимости помещений, расположенных в подвалах, материала надземных конструкций и внутренних стен подвалов, типа грунтов, уровня грунтовых вод и характера передаваемой нагрузки.
Гидроизоляция наружных стен фундаментов, ограждающих технические подполья, как правило, не предусматривается.
3.1.31. Горизонтальная гидроизоляция, предусматривающая защиту стен и других опирающихся на фундамент конструкций от увлажнения, должна назначаться по обрезу фундаментов или в уровне низа перекрытий над подвалом или подпольем. Гидроизоляция внутренних стен должна назначаться в уровне пола подвала; при отсутствии такового гидроизоляция должна укладываться в уровне низа перекрытия или пола по грунту первого этажа.
Гидроизоляция по обрезу фундаментов наружных стен должна назначаться выше уровня отмостки (тротуара) в зависимости от ожидаемой осадки, но не менее чем на 15 см.
3.1.32. Гидроизоляция должна назначаться в зависимости от условий эксплуатации помещений: из рулонных материалов, обмазочная (горячим битумом в два слоя), из цементного раствора с гидрофобными добавками.
Обмазочная гидроизоляция, как правило, назначается только для вертикальных стен подвалов и наносится на наружную поверхность кладки или панелей. Швы между блоками и панелями должны быть тщательно выравнены раствором.
Горизонтальную гидроизоляцию при керамзитобетонных стенах первого этажа рекомендуется давать в уровне низа перекрытий над подвалом из цементного раствора с гидрофобными добавками.
Гидроизоляция наружных стен по обрезу фундаментов "в уровне" отмостки (тротуара) должна назначаться рулонная из негниющих материалов или цемента.
3.1.33. Вертикальная гидроизоляция стен фундаментов подвалов, примыкающих к грунту, должна делаться от горизонтальной гидроизоляции по обрезу (на 15 см выше уровня отмостки) до уровня 50 см ниже пола подвала.
Гидроизоляция пола подвала от грунтовой сырости в стенах фундаментов должна предусматриваться горизонтальная, в уровне низа конструкции пола. В таком случае вертикальная гидроизоляция стен фундамента доводится до уровня горизонтальной.
3.1.34. Подземная часть панелей стен фундаментов из легких бетонов должна иметь обмазочную (оклеечную) гидроизоляцию всех поверхностей, соприкасающихся с грунтом независимо от назначения помещений подвалов или подполья.
3.1.35. При уровне стояния грунтовых вод выше пола гидроизоляция стен подвала должна предусматриваться особым проектом и в настоящих ТСН не рассматривается.
3.1.36. При агрессивных грунтовых водах необходимо назначать меры по защите элементов фундаментов в соответствии с СНиП 2.03.11-85 "Защита строительных конструкций от коррозии".
Для защиты сборных плит фундаментов, свай и ростверков рекомендуется назначать бетон марки по водонепроницаемости В6, бетон на специальных цементах, пропитку битумными составами, карбамидными смолами и др. в зависимости от вида и степени агрессивности воды. Особо тщательно гидроизоляцию следует делать под подушкой фундаментов для защиты арматуры.
Выбор типа фундаментов на естественном основании
3.2.1. Фундаменты на естественном основании назначаются с учетом рекомендации разд. 3.1 и настоящего раздела.
3.2.2. Тип фундаментов в зависимости от средней интенсивности давления на площадь застройки здания рекомендуется назначать с учетом табл. 3.3.
Таблица 3.3
Рекомендуемые типы фундаментов
|
Средняя интенсивность давления на площадь застройки, кПа (тс/м2) |
Тип фундаментов |
|
50(5) - 120(12) |
Ленточные и отдельные |
|
120(12) - 300(30) |
Перекрестные и ленточные или плита под всем зданием |
3.2.3. Ленточные фундаменты под стены при грунтах средней сжимаемости проектируются, как правило, сборные. Применение прерывистых фундаментов с учетом работы грунта в швах допускается при пылевато-глинистых грунтах с IL £0,5 и в песчаных грунтах с коэффициентом пористости e£0,7, при отсутствии в пределах сжимаемой толщи прослойков торфа, заторфованных грунтов или пылевато-глинистых грунтов с IL >0,8.
При залегании в основании супесей с коэффициентом пористости e>0,7, супесей с растительными осадками, мягкопластичных глин и суглинков (IL >0,5) и других слабых грунтов, особенно при большой чувствительности зданий к неравномерным осадкам, плиту или стенку по сборным плитным блокам ленточных фундаментов рекомендуется назначать из монолитного железобетона с продольной арматурой площадью сечения не менее 6 см2.
3.2.4. Перекрестные ленточные фундаменты рекомендуется назначать под здания с каркасом при неравномерно-сжимаемых грунтах в основании.
Для крупнопанельных зданий с шагом поперечных несущих стен до 4 м, при слабых неравномерно-сжимаемых грунтах целесообразно применение перекрестных монолитных или сборно-монолитных ленточных фундаментов.
3.2.5. Применение отдельных фундаментов под колонны и под несущие стены (с рандбалками) допускается, когда неравномерность осадок не превышает предельно допустимых значений по прил. 4 СНиП 2.02.01-83.
Глубина заложения фундаментов
3.2.6. Глубина заложения фундаментов должна назначаться с учетом следующих факторов:
а) геологических и гидрогеологических условий строительной площадки;
б) расчетной глубины промерзания грунта;
в) чувствительности конструкций к неравномерным осадкам, величин и характера нагрузок, действующих на основание;
г) конструктивных особенностей проектируемых и примыкающих к ним зданий (наличие подвалов, подземных коммуникаций).
3.2.7. Несущий слой грунта выбирается, исходя из возможности передачи на него от сооружений давления не более расчетного сопротивления грунта основания, под действием которого деформации не превосходят предельно допустимых значений по прил. 4 СНиП 2.02.01-83 и табл. 3.2 ТСН.
Вследствие допустимых отклонений в определении отметок несущего слоя грунта фундаменты рекомендуется заглублять в него не менее чем на 10 см.
В случае, если на участке строительства предусматривается подсыпка, заглубление подошвы фундаментов от природного рельефа принимается, как правило, не менее 50 см.
На участках, где заглубление подошвы фундаментов в естественный грунт окажется меньше 50 см, рекомендуется устройство песчаной подушки с заглублением ее подошвы от природной поверхности земли не менее 50 см.
3.2.8. При высоком уровне грунтовых вод рекомендуется принимать минимально допустимую глубину заложения фундаментов.
3.2.9. Глубина заложения фундаментов из условий промерзания грунта принимается в соответствии со СНиП 2.02.01-83 с учетом формулы (3.1) настоящих ТСН.
Для непучинистых грунтов (песков крупных и средней крупности, гравелистых) глубина заложения фундаментов может назначаться по конструктивным соображениям, но не менее 50 см.
3.2.10. Глубину заложения фундаментов для зданий, строящихся в С.-Петербурге и его пригородных районах, следует принимать по формуле (3.1), которая коэффициентом kn учитывает резкую неоднородность условий промерзания в отдельные годы. В такие годы безразмерный коэффициент, численно равный сумме абсолютных значений среднемесячных отрицательных температур за зиму в С.-Петербурге более чем в 2 раза превышает среднее его значение за длительный период наблюдений. Поскольку такие условия создаются в течение лишь отдельных зим, можно фундаменты отапливаемых зданий, строящихся зимой, закладывать лишь ниже нормативной глубины промерзания, указанной в п. 3.1.13. При этом в проекте должно быть оговорено, что при принятой глубине заложения фундаментов в случае суровой зимы необходимо срочное утепление поверхности грунтов около фундаментов.
3.2.11. При пучинистых грунтах в местах расположения наружных приямков глубину заложения фундаментов рекомендуется делать не менее расчетной глубины промерзания, считая от пола приямка, или по теплотехническому расчету.
3.2.12. Глубина заложения подошвы фундаментов от уровня пола подполья (подвала) при температуре воздуха в подполье (подвале) в период эксплуатации не ниже ±0 °С должна быть не менее 50 см. При более низкой температуре глубина заложения фундаментов должна определяться теплотехническим расчетом с учетом фактической температуры воздуха в подполье (подвале). При возведении здания в зимних условиях подполья (подвалы) должны быть тщательно утеплены, включая лестничные клетки, а во время суровых зим дополнительно должен быть утеплен пол подполья (подвала) около фундаментов.
3.2.13. При определении глубины заложения фундаментов рекомендуется учитывать минимальную толщину выравнивающей подсыпки из крупного или средней крупности песка и бетонной подготовки.
3.2.14. Глубина заложения всех фундаментов неотапливаемых зданий и сооружений в пучинистых грунтах принимается по теплотехническому расчету. Во всяком случае она принимается не менее нормативной глубины промерзания, умноженной на коэффициент неоднородности промерзания в отдельные годы. Для фундаментов внутренних конструкций глубина назначается от пола подвала (подполья) или пола первого этажа, устраиваемого по грунту.
Расчет оснований фундаментов
3.2.15. Основания, сложенные нескальными грунтами, рассчитываются по деформациям по СНиП 2.02.01-83 с определением средних, максимальных осадок, относительной разности осадок и крена, величины которых не должны превышать предельных значений по прил. 4 к СНиП 2.02.01-83 и табл. 3.2 настоящих ТСН.
Расчет по несущей способности производится в случаях расположения фундаментов на бровке откоса или крутопадающих слоев грунта, при возможности отрывки вблизи фундамента котлованов для трубопроводов или других заглубленных помещений, а также при основаниях, сложенных водонасыщенными пылевато-глинистыми и заторфованными грунтами (см. СНиП 2.02.01-83).
3.2.16. Расчетное сопротивление грунта основания должно определяться по СНиП 2.02.01-83. Характеристики jII и cII устанавливаются по данным инженерно-геологических изысканий.
Для расчетов оснований на первой стадии разработки проектов и предварительного назначения размеров подошвы фундаментов допускается использование таблиц характеристик грунтов по прил. 1 и таблиц расчетных сопротивлений грунтов оснований по прил. 3 к СНиП 2.02.01-83, а также таблиц прил. 1 настоящих ТСН.
Использование характеристик грунтов и расчетных давлений по упомянутым таблицам допускается для окончательных расчетов фундаментов сооружений III класса согласно СНиП 2.02.01-83.
3.2.17. Краевое давление под ленточными фундаментами стен с учетом ветровой нагрузки, действующей в их плоскости, и среднее давление на грунт под ленточными фундаментами с учетом ветровой нагрузки, действующей перпендикулярно стене, а также под фундаментами колонн связевых каркасов с шарнирным опиранием, не должно превышать 1,2R.
3.2.18. Расчет железобетонных плит ленточных и отдельных фундаментов по прочности должен производиться на реактивное давление грунта от расчетных нагрузок, вычисленных для расчета по первому предельному состоянию на уровне верха фундаментной плиты (вес плиты и грунта на обрезах не учитывается).
Эпюра реактивного давления грунта может приниматься прямолинейной.
Расчет элементов железобетонных фундаментов должен производиться в соответствии с СНиП 2.03.01-84.
Стены фундаментов, ограничивающие заглубленные помещения, рассчитываются как подпорные стенки согласно СНиП "Каменные и армокаменные конструкции" и разд. 3.9 настоящих ТСН.
Конструкции фундаментов на естественном основании
3.2.19. Сборные ленточные (рис. 3.1) и отдельные фундаменты должны проектироваться из стандартных блоков и панелей, выпускаемых местной строительной промышленностью в соответствии с действующими ГОСТами и каталогами.

Рис. 3.1. Кладка сборных ленточных фундаментов:
1 - песчаная подсыпка, выровненная по маячным рейкам; 2- армированный пояс в слое цементного раствора; 3 - армированный пояс; 4 - цементный раствор в швах между плитами на ширину b1 +100 мм; 5 - утрамбованный песок; 6 - засыпка швов шириной до 50 мм песком или местным грунтом
Элементы фундаментов следует принимать возможно больших размеров в соответствии с грузоподъемностью монтажных кранов.
3.2.20. Расчетный изгибающий момент и перерезывающая сила в сборных железобетонных плитах ленточных фундаментов не должны превышать соответствующие характеристики сборного элемента более чем на 5 %. Допускается недоиспользование несущей способности сборных элементов, но, как правило, не более чем на 15 %.
При недостаточной несущей способности плит подушек рекомендуется уменьшить вынос консолей путем укладки уширенного блока в нижний ряд стенки фундамента или уширения нижней части кладки стены подвала.
3.2.21. Нетиповые плиты для широких сборных фундаментов и сечения плиты монолитных лент рекомендуется проектировать формы, изображенной на рис. 3.2. Размер bн при опирании одной стены принимать 600-800 мм, высоту плиты h = 500 мм. Защитный слой рабочей арматуры сборных плит - 30 мм; монолитных, в зависимости от вида подготовки, 35 или 70 мм. Диаметр рабочей арматуры должен быть не менее 10 мм.

Рис. 3.2. Форма сечения плиты ленточных фундаментов
3.2.22. Для более полного использования работы сборных плит (блоков) и уменьшении их типоразмеров рекомендуется ленточные фундаменты делать с прерывистой подушкой без увеличения расчетного сопротивления грунта основания. Промежутки между плитами должны быть не более 1200 мм при высоте первого ряда стеновых блоков 580 мм и не более 600 мм - при высоте 280 мм. Промежутки между блоками должны перекрываться стеновыми блоками или панелями стен фундаментов.
3.2.23. Сборные плиты фундаментов должны устанавливаться на выровненную поверхность, для чего предварительно должен укладываться выравнивающий слой песка толщиной 60-100 мм. Швы и расстояния между плитами шириной более 50 мм должны заполняться песком или местным грунтом с уплотнением, до уровня на 40-50 мм ниже верха плит.
3.2.24. Фундаментные стеновые панели могут устанавливаться на сборные фундаментные плиты или сборные фундаментные стеновые блоки.
3.2.25. Глубина заложения фундаментов вблизи более глубоких соседних подземных коммуникаций, прокладываемых одновременно, должна назначаться в соответствии с СНиП 2.02.01-83 (рис. 3.3). Если коммуникации прокладываются после частичной загрузки фундаментов, то рекомендуется последние заглубить на отметку дна предполагаемой отрывки траншей.

Рис. 3.3. Заглубление соседних фундаментов и подземных коммуникаций
Изменение глубины заложения ленточных фундаментов назначать уступами высотой не более 600 мм при длине a не менее 1200 мм (рис. 3.4).

Рис. 3.4. Изменение глубины заложения фундаментов:
1 - выравнивающий слой раствора (армированный шов); 2 - песчаная подготовка; 3 - тщательно уплотненный песок
3.2.26. При ожидаемой по расчету осадке более 50 мм по верху сборных плит ленточных фундаментов и верхних стеновых блоков следует делать непрерывные армированные пояса в выравнивающем слое цементного раствора М100 толщиной до 50 мм или при большей толщине - из бетона класса В15.
Железобетонный пояс необходимо назначать по верху фундамента при слабых грунтах или сосредоточенных нагрузках, он должен иметь высоту не менее 200 мм.
Выравнивающие швы должны армироваться стержнями или каркасами с продольной рабочей арматурой. Железобетонные пояса армируются двойной арматурой.
При крупнопанельных стенах, имеющих продольную арматуру, свариваемую в стыках (рис. 3.5), продольное армирование выравнивающих слоев по плитам сборных фундаментов и по обрезу фундаментов, как правило, не требуется.

Рис. 3.5. Соединение панелей стен фундаментов:
1 - выпуски арматуры; 2 - накладки; 3 - сварные швы
В монолитных ленточных фундаментах под стены продольная арматура необходимого сечения, которая является нижним поясом армирования стен, как правило, предусматривается в нижней части фундамента.
3.2.27. Арматура непрерывных поясов, устраиваемых в фундаментах здания, как правило, должна укладываться во всех стенах на одном уровне. Площадь сечения арматуры назначается по расчету, но не менее 5 см2; диаметр стержней не менее 12 мм.
При местных заглублениях подошвы фундаментов арматуру рекомендуется укладывать в уровне верха плит, имеющих наименьшее заглубление (см. рис. 3.4). При невозможности устройства швов или поясов на одном уровне допускается укладка арматуры в разных уровнях, причем пояса должны перекрывать друг друга на длину не менее двух расстояний между ними по высоте, но не менее 1000 мм (см. рис. 1.2).
3.2.28. При пучинистых грунтах стены наружных фундаментов должны делаться из сплошных бетонных блоков или из панелей. Для панелей наружных стен допускается устройство ниш с внутренней стороны, а для панелей внутренних стен - устройство ниш или отверстий с целью снижения их веса и расхода бетона. Для внутренних стен, выше пола подвала (подполья) рекомендуется применение пустотелых блоков марки ФВП по ГОСТ или кирпичной кладки.
Стены фундаментов из крупных панелей проектируются, как правило, с однорядной разрезкой. Высоту панелей рекомендуется принимать от верха подушки фундамента до низа перекрытия над подвалом или до низа цоколя.
3.2.29. Толщина стен ленточных фундаментов должна приниматься по расчету на вертикальную и горизонтальную нагрузки.
Допускается назначать толщину стен фундаментов меньше толщины стен здания с учетом п. 3.1.27. Стены фундаментов устанавливаются, как правило, симметрично стенам подземной части здания. При опирании на наружные стены перекрытия над подвалом (подпольем) внутреннюю плоскость стены и фундамента допускается совмещать.
Для кирпичных стен величина свеса не должна превышать при симметричном опирании - 60 мм, при несимметричном (для наружных стен) не более 100 мм.
3.2.30. Отдельные фундаменты под колонны могут проектироваться в зависимости от конструкции колонн сборные, сборно-монолитные с башмаками стаканного типа, монолитные с креплением колонн к закладным деталям или установкой в стаканы.
Ленточные фундаменты под колонны и сплошные фундаментные плиты рекомендуется делать монолитными.
Общие положения
3.3.1. Буронабивной фундамент состоит из верхней цилиндрической шейки, уширения с конической и сферической частью и нижнего цилиндрического ствола - пяты (рис. 3.6).

Рис. 3.6. Наименование элементов буронабивного фундамента:
1 - шейка; 2 - коническая часть уширения; 3 - сферическая часть уширения; 4 - нижний цилиндрический ствол
3.3.2. Буронабивные фундаменты рекомендуется применять в пылевато-глинистых грунтах с показателем текучести IL £ 0,6 при залегании их от верха фундамента до низа уширения и при отсутствии прослоев водоносных песков и супесей.
Применение буронабивных фундаментов в пылевато-глинистых грунтах при показателе текучести от 0,6 до 0,75 допускается после опытного устройства полости с целью определения возможного наибольшего угла наклона конической части.
3.3.3. Буронабивные фундаменты целесообразны для зданий без подвалов и каркасных с нагрузкой под колонну до 3000 кН.
3.3.4. Для проектирования буронабивных фундаментов в материалах инженерно-геологических изысканий должны быть сведения о положении уровня подземных вод, коэффициенте фильтрации всех слоев грунта в пределах высоты фундамента и показателе текучести грунта.
3.3.5. При показателе текучести от 0,6 до 0,75, а также при отсутствии опыта устройства фундаментов в аналогичных грунтовых условиях назначается опытное изготовление буронабивных фундаментов и проведение статических испытаний не менее 2 под каждое здание или сооружение, не имеющих различия в напластованиях грунтов. При пестром напластовании (линзообразном залегании и выклинивании слоев) количество статических испытаний должно быть увеличено.
Расчет буронабивных фундаментов
3.3.6. Расчет буронабивных фундаментов производится по предельному состоянию по деформации основания, с учетом формы и технологии изготовления и по несущей способности в соответствии с СНиП 2.02.01-83 и с прил. 4 настоящих ТСН.
3.3.7. Спаренные
и ленточные фундаменты рекомендуется рассчитывать по приведенной ширине
уширения
, где A1 - фактическая
площадь одного буронабивного фундамента.
3.3.8. Расчет фундамента по материалу должен выполняться в соответствии с требованиями СНиП 2.03.01-85.
Расчет уширения
на прочность допускается не производить, если давление на основание не
превышает 500 кПа и угол наклона образующей конической части уширения
45°.
Бетон шейки фундамента должен проверяться на местное смятие от опирающихся на него конструкций.
Расчет стакана под колонны должен выполняться по СНиП 2.03.01-85 с учетом цилиндрической формы фундамента.
Конструкция фундаментов
3.3.9. Буронабивные фундаменты могут быть одиночными, круглого сечения в плане, двойными и ленточными (рис. 3.7; 3.8).

Рис. 3.7. Типы одиночных фундаментов:
а - с шейкой; б - без шейки

Рис. 3.8. Типы буронабивных фундаментов:
а - двойной; б - ленточный; 1 - ростверк
Расстояние "l" между осями двойных или ленточных фундаментов рекомендуется принимать равными: (1,5-2,0)bb при диаметре фундамента bф³ 1,25l, где bb - диаметр шейки фундамента.
3.3.10. Размеры фундаментов должны назначаться по расчету в зависимости от конструкции сопряжения с элементами здания, типа механизмов для выполнения скважины и уширения, имеющихся в строительной организации.
3.3.11. Высота шейки назначается, как правило, 200 мм. Допускается выполнение фундаментов без шейки (рис. 3.7, б), если край полости будет сохранять устойчивое состояние.
3.3.12. Нижний конец ствола не следует заглублять в слабые пылевато-глинистые или неустойчивые (плывунные) песчаные грунты.
При циклическом извлечении грунта из полости объем нижнего ствола рекомендуется принимать не менее 0,25 объема уширения.
3.3.13. Для буронабивных фундаментов должен применяться бетон класса В20. Рекомендуется использовать крупные включения бутового камня твердых пород, булыжника и т.п., размещаемого в средней части уширения.
3.3.14. При необходимости защиты фундаментов от коррозии рекомендуется назначать бетон повышенной плотности (W6), применение цементов, стойких к данному виду агрессии.
3.3.15. Глубина заложения буронабивных фундаментов от уровня планировки срезкой или от пола подвала до низа конической части, из условия промерзания грунта в С.-Петербурге, должна назначаться не менее 1,20 м (см. п. 3.1.13).
3.3.16. Опирание конструкций зданий может осуществляться непосредственно на буронабивные фундаменты (панели стен, сборные балки и др.) или через монолитные ростверки (рис. 3.9).

Рис. 3.9. Опирание стен на буронабивные фундаменты:
а - панельных; б - блочных; в - внутренних;
1 - буронабивной фундамент; 2 - фундаментная панель; 3 - цокольная панель; 4 - ростверк; 5 - фундаментные балки; 6 - панель; 7 - закладные детали
3.3.17. Для крепления конструкций, опирающихся на фундамент, в шейку должны заделываться закладные детали; при опирании колонн может быть запроектирован стакан с необходимым увеличением диаметра шейки (рис. 3.10). Опирание монолитных ростверков и сборных бетонных и железобетонных конструкций может производиться непосредственно на верх буронабивных фундаментов без устройства креплений. Если конструкции, опирающиеся на фундамент, передают растягивающие или сдвигающие усилия, крепления назначаются по расчету.

Рис. 3.10. Опирание колонн на буронабивной фундамент:
1 - выпуски арматуры из фундамента; 2 - арматура колонны; 3 - арматура стакана; 4 - колонна
3.4.1. Искусственно улучшенные основания в условиях С.-Петербурга могут применяться с целью замены залегающих на небольшой глубине слабых грунтов (торфа, заторфованных супесей, насыпных грунтов и др.), не пригодных в качестве основания, для уменьшения размеров подошвы фундаментов, снижения давления на слабые подстилающие слои, уменьшения и ускорения развития во времени осадок, для повышения отметки заложения фундаментов.
3.4.2. В качестве искусственно улучшенных оснований могут использоваться песчаные (гравийные) подушки, минеральные насыпные грунты и грунты, закрепленные химическими или электрохимическими способами.
3.4.3. Применение песчаных (гравийных) подушек допускается для любых зданий и сооружений. Намытые мелкие и пылеватые пески могут быть использованы в качестве оснований зданий с несущими стенами до 5 этажей и сооружений, малочувствительных к неравномерным осадкам.
Закрепление грунтов целесообразно только для усиления оснований существующих зданий в аварийных случаях, при пристройке новых зданий к существующим и при откопке траншей и котлованов около существующих фундаментов ниже их подошвы.
3.4.4. Для проектирования фундаментов на искусственных основаниях кроме материалов, изложенных в п. 3.1.3, необходимо иметь:
а) при назначении песчаных (гравийных) подушек - подробные данные о толщине слоя заменяемых грунтов по всей площади сооружения и материале - грунте подушки;
б) при использовании в основании намытых грунтов необходимо детальное исследование их свойств под каждым объектом с определением неоднородности как по толщине, так и по простиранию, кроме того, должно быть проведено исследование необходимости и возможности их уплотнения;
в) при назначении закрепления грунтов сведения о конструкции существующих фундаментов, о грунтовых условиях и физико-механических свойствах грунтов, выполненные по специальной программе.
3.4.5. Подушки, как правило, рекомендуется выполнять из крупнозернистых и среднезернистых песков; из гравия и гравийно-песчаных смесей, когда они являются местными материалами или при устройстве подушек в зимнее время.
3.4.6. Возведение зданий и сооружений на слое насыпных и намытых грунтов, как правило, должно производиться после окончания процесса консолидации (уплотнения) этого слоя и подстилающих грунтов под действием веса насыпного слоя. При незавершенной консолидации подстилающих грунтов незавершенная осадка должна учитываться при проектировании фундаментов.
3.4.7. При проектировании фундаментов на намывных грунтах, особенно пылеватых песках и супесях, следует учитывать возможную изменчивость грунтов основания по сжимаемости и прочностным характеристикам по глубине и в плане.
3.4.8. Расчетное сопротивление грунта песчаных подушек должно определяться по СНиП 2.02.01-83, исходя из предусмотренных проектом расчетов физико-механических характеристик песка в уплотненном состоянии.
3.4.9. Расчетное сопротивление намытого грунта для проектирования фундаментов рекомендуется устанавливать по физико-механическим характеристикам, полученным для состояния намытого грунта в период изысканий.
3.4.10. Толщина подушки должна определяться с учетом допустимых давлений на слабые подстилающие грунты и их осадок, а также отметок заложения фундаментов.
3.4.11. При переменной мощности заменяемого слоя грунта (наклонной кровле подстилающего слоя грунта), изменение толщины подушки рекомендуется назначать плавно с уклоном не круче 1:10 или уступами по 10 см высотой и не менее 1 м длиной. При более крутом падении кровли подстилающего слоя грунта и резком изменении толщины подушки следует рассчитывать неравномерности осадок фундаментов и в необходимых случаях принимать меры по уменьшению чувствительности зданий к ожидаемым неравномерностям осадок (см. разд. 1.4).
3.4.12. Форма сечения подушки зависит от крутизны откосов котлована, как правило, она получается трапецеидальная, уширяющаяся вверх. По низу подушка должна иметь размер с учетом распределения давления в песке под углом 30°, а при наличии торфа по сторонам подушки - под углом 45°. (рис. 3.11).

Рис. 3.11. Схемы сечения подушек:
1 - подушка; 2 - торф; 3 - заменяемый минеральный грунт
3.4.13. При толщине подушки более 1 м, если суммарная площадь требуемой подошвы подушки составляет более 50 % площади застройки здания (сооружения) или в случае устройства полов по грунту в первом этаже или в эксплуатируемом подвале, при надлежащем технико-экономическом обосновании, допускается устройство подушки по всему пятну застройки.
3.4.14. На чертежах подушек должны указываться их материал и требуемая плотность укладки (удельный вес скелета грунта). При отсутствии динамики, передаваемой на основание, плотность укладки должна быть для однородных крупных, средней крупности и мелких песков не менее 16 кН/м3; для неоднородных крупных, средней крупности и мелких песков не менее 16,5 кН/м3. Кроме того, должны указываться методы уплотнения материала подушек с учетом сохранения структуры подстилающих грунтов, а также особенности устройства подушки в зимних условиях, при которых не допускается укладка песка, имеющего отрицательную температуру.
3.4.15. Проект закрепления грунтов должен разрабатываться в соответствии с инструктивными материалами. В рабочих чертежах должны приводиться: схема размещения инъекторов и электродов (в плане и в разрезах), составы закрепляющих растворов, параметры электрического тока; указания по режиму процесса закрепления грунта в соответствии с разд. 4.9 настоящих ТСН.
3.5.1. Основания, включающие слои погребенного торфа, должны проектироваться в соответствии с СНиП 2.02.01-83 с учетом большой сжимаемости торфа, анизотропии и изменчивости прочностных, деформационных и фильтрационных характеристик и длительного развития осадок намытого на торф минерального слоя грунта. Здания в этом случае должны проектироваться с пониженной чувствительностью конструкций к неравномерным осадкам.
Следует учитывать также, что грунтовые воды в торфах агрессивны к бетону и стали.
3.5.2. Деформационные, прочностные и фильтрационные характеристики торфов должны определяться при напряжениях, возникающих при намыве и возведении сооружения.
Для предварительных расчетов, а также для окончательных расчетов оснований зданий и сооружений III класса и инженерных коммуникаций рекомендуется определять нормативные и расчетные значения физико-механических характеристик торфов по прил. 2 ТСН в зависимости от типа торфа и степени его разложения.
Примечание: Расчетные
значения характеристик принимаются при следующих значениях коэффициента
надежности по грунту в расчетах оснований по деформациям
= 1; в расчетах
оснований по несущей способности: для удельного сцепления
= 2; для угла
внутреннего трения
= 1,2.
3.5.3. Изменение коэффициента фильтрации торфа в процессе его уплотнения рекомендуется определять по формуле:
, (3.2)
|
где |
- |
коэффициенты соответственно фильтрации и пористости неуплотненного торфа; |
|
|
- |
то же, после уплотнения; |
|
|
- |
параметр изменчивости водопроницаемости торфа в процессе уплотнения, определяемый по прил. 2 ТСН. |
3.5.4. Конечная осадка намытого слоя грунта s, связанная с уплотнением торфа, определяется по формуле:
, (3.3)
где
- мощность i-го слоя торфа различной степени разложения;
- модуль деформации i-го слоя торфа;
- вертикальное
напряжение в торфе от намытого (насыпанного) слоя грунта;
;
- коэффициенты
Пуассона i-го слоя торфа.
Значения
,
,
могут быть приняты по прил. 2.
3.5.5. При
оценке работы конструкций подземных частей сооружений с учетом осадки
территории консолидацию основания, имеющего слой торфа, допускается
прогнозировать по линейной теории фильтрационной консолидации с использованием
значений коэффициентов фильтрации торфа, соответствующих его уплотненному
состоянию от веса намытого грунта. Прогноз осадки территории sn, связанной со вторичной консолидацией
торфа, на момент времени
рекомендуется производить по формуле
, (3.4)
где
- параметр ползучести
i-го слоя торфа различной степени
разложения, принимаемый по прил.
2;
- время окончания
фильтрационной консолидации.
3.5.6. При устройстве фундаментов на площадках, имеющих в основании торф, рекомендуется либо производить полную прорезку торфа, либо расчетом добиваться развития неравномерностей осадок меньше предельно допустимых значений.
3.5.7. При устройстве первого этажа и подвалов зданий с полами по грунту рекомендуется производить замену торфа на глубину не менее 1 м минеральным грунтом или устройство полов по перекрытию.
3.5.8. При проектировании свайных фундаментов, прорезающих слои торфа, необходимо учитывать влияние отрицательно направленного трения на несущую способность свай. В зависимости от мощностей слоя торфа и намытого грунта, а также промежутка времени tn между окончанием намыва и началом строительства, условие необходимости учета негативного трения рекомендуется проверять по графикам рис. 3.12.

Рис.3.12. График зависимости длительности существования
отрицательного трения
от мощности торфа и пригрузочного слоя грунта:
1 - мощность пригрузочного минерального грунта 1 м; 2 - то же - 2 м; 3 - то же - 3 м
При
учет отрицательного
трения грунта по боковой поверхности сваи в пределах слоя торфа и намытого слоя
грунта необходим и его следует производить по СНиП 2.02.03-85 (
- длительность действия сил отрицательного трения грунта).
При
расчетное
сопротивление торфа и намытого грунта по боковой поверхности сваи следует
принимать равным нулю.
Общие положения и область применения свай и свай-оболочек
3.6.1. Проектирование различных свай и свай-оболочек должно выполняться в соответствии с требованиями СНиП 2.02.03-85 с учетом данных инженерно-геологических изысканий, выполненных по требованиям гл. 2 настоящих ТСН.
3.6.2. Выбор типа свай и свай-оболочек должен производиться с учетом геологических условий, конструктивной схемы здания или сооружения и величины передаваемых нагрузок по результатам технико-экономического сравнения возможных в конкретных условиях вариантов.
3.6.3. В грунтовых условиях С.-Петербурга и пригородных районов рекомендуется применять сваи, погружаемые в грунт в готовом виде целые и составные (забивные), буронабивные сваи (см. прил. 3).
3.6.4. Сваи квадратного сечения и круглые полые с закрытым нижним концом целесообразно применять в любых грунтовых условиях при отсутствии в толще грунтов большого количества валунов, пней и т.п.
Круглые полые
сваи с открытым нижним концом целесообразно применять с опиранием их на пески
или пылевато-глинистые грунты с
0,3 при наличии в
верхней части геологического разреза слабых грунтов. В случаях, когда
сопротивление сваи по боковой поверхности составляет более 40 % общего,
рекомендуется назначать сваи наименьшего поперечного сечения.
3.6.5. Пирамидальные сваи рекомендуется применять в однородных водонасыщенных грунтах при отсутствии под ними в напряженной зоне более слабых грунтов.
Запрещается применять пирамидальные сваи для передачи горизонтальных нагрузок на насыпные и сильнопучинистые грунты (в пределах глубины промерзания).
3.6.6. Сваи с
забивными оголовками целесообразны, если в верхней зоне на глубину не менее 1,5
м ниже оголовка залегают пылевато-глинистые грунты
< 0,5 или пески
средней плотности или плотные. Сваи с забивными оголовками рекомендуется
применять для каркасных зданий с фундаментами из одной сваи под колонну или при
опирании панелей здания на оголовки.
3.6.7. Сваи-оболочки целесообразно применять при нагрузках более 5000 кН и наличии слабых грунтов на глубину более 15 м с обязательным опиранием на малосжимаемые грунты (плотные пески, твердые, полутвердые и тугопластичные пылевато-глинистые грунты или скальные породы), когда нагрузку от колонн можно передать на одну сваю-оболочку.
3.6.8. Составные сваи следует применять, когда требуемая по геологическим условиям длина сваи превышает наибольшую длину изготавливаемых целых свай или при отсутствии необходимого оборудования для их погружения.
Для прорезки большой толщи слабых грунтов рекомендуется применять составные сваи (прил. 3, табл. 2). При этом обязательно пробное погружение таких свай в предпроектный период.
3.6.9. Забивные сваи трения (висячие) сплошного квадратного сечения рекомендуется принимать с предварительно напрягаемой арматурой по ГОСТ 19804.2-79.
Запрещается применение свай без поперечного армирования для свай-стоек при фундаментах с высоким свайным ростверком и при необходимости прорезки плотных грунтов.
Сваи-стойки рекомендуется назначать с ненапрягаемой арматурой.
3.6.10. При примыкании новых зданий к существующим рекомендуется применять буронабивные сваи или траншейные фундаменты, выполненные способом "стена в грунте".
3.6.11. Для свай и ростверков назначается марка бетона по морозостойкости в соответствии с 2.03.01-84 и рабочие чертежи серии 1.011.1-10 "Сваи забивные железобетонные".
В Санкт-Петербурге и его пригородных районах для зданий первого класса следует назначать марку бетона по морозостойкости для всех свай, свай-оболочек и ростверков в зоне сезонного промерзания F ³ 150.
Сваи и ростверки, находящиеся ниже отметки промерзания грунта, а также под внутренние стены отапливаемых зданий должны иметь марку бетона по морозостойкости: для всех свай и свай-оболочек F ³ 100.
3.6.12. В условиях агрессивных грунтовых вод забивные железобетонные сваи рекомендуется назначать с напрягаемой арматурой.
Поверхностная защита свай может быть назначена только на участке, подверженном действию агрессивных вод.
Места стыков свай и свай-оболочек должны быть защищены независимо от агрессивности грунтовых вод. Способ защиты от коррозии назначается в соответствии с СНиП 2.03.11-85 "Защита строительных конструкций от коррозии".
Для набивных свай должны применяться: бетон повышенной плотности, гидрофобные добавки, сульфатостойкий цемент и т.п.
Определение расчетной нагрузки и несущей способности свай и свай-оболочек
3.6.13. Допускаемое значение расчетной нагрузки на сваю или сваю-оболочку определяется в соответствии с СНиП 2.02.03-85 по формуле
, (3.5)
где
- расчетная несущая
способность основания одиночной сваи, называемая несущей способностью сваи;
- коэффициент
надежности, принимаемый в зависимости от метода определения
.
При определении
по:
результатам
испытаний свай статической нагрузкой
= 1,2;
по данным
статического зондирования или испытания эталонной сваи, а также по динамическим
испытаниям с учетом упругих деформаций грунта
= 1,25;
по формуле СНиП 2.02.03-85
= 1,4.
3.6.14. Несущая способность всех видов свай и свай-оболочек должна определяться по СНиП 2.02.03-85 с учетом указаний настоящих ТСН.
3.6.15. Для предварительных расчетов на стадии разработки проекта детальной планировки (ПДП) и для выдачи задания на испытание пробных и эталонных свай, а также для окончательного определения несущей способности свай зданий и сооружений третьего класса рекомендуется определять несущую способность свай по формуле СНиП 2.02.03-85
, (3.6)
где
- коэффициент условий
работы, принимаемый равным 1;
,
- коэффициенты условий
работы грунта соответственно под нижним концом и по боковой поверхности сваи,
принимаемый по СНиП 2.02.03-85; А
- площадь поперечного сечения сваи; R - расчетное сопротивление грунта под нижним концом сваи, кПа,
принимаемое по СНиП 2.02.03-85
или по табл. 4 приложения 3; u - периметр поперечного сечения сваи, м;
- расчетное
сопротивление i-го слоя грунта по боковой
поверхности сваи, кПа, принимаемое по СНиП
2.02.03-85 или табл. 5 приложения
3;
- толщина i-го слоя по длине сваи, м.
3.6.16. При предварительном определении несущей способности свай по формуле (3.6) или в слабых тиксотронных пылевато-глинистых грунтах методом зондирования или динамическими испытаниями необходимо предпроектное испытание статической нагрузкой эталонных или натурных свай.
3.6.17. Несущая способность сваи с забивными оголовками определяется по формуле
, (3.7)
где
- коэффициент условий
работы оголовка, принимаемый для квадратного сечения равным 1,05, для кольцевого
сечения - 0,85;
- несущая способность
грунта под оголовком, кПа.
Остальные величины приведены в экспликации к формуле (3.6).
Несущая способность основания под оголовком определяется по формуле:
(3.8)
где
м при зазоре внизу
между сваей и оголовком больше 0,10 м величина
принимается равной
толщине стенки оголовка по низу; N1 и N2 - безразмерные коэффициенты,
принимаемые по табл. 3.4 в зависимости от
и
;
- удельный вес грунта
в пределах высоты оголовка, кН/м3; с1 - расчетное
значение удельного сцепления грунта, залегающего непосредственно под оголовком,
кПа; d1 - глубина
погружения оголовка в грунт, считая от планировочной отметки или пола подвала,
м;
- сторона квадратного
или диаметр кольцевого сечения оголовка, м;
- сторона квадратного
или диаметр кольцевого сечения сваи, м.
Таблица 3.4
Значения коэффициентов N1 и N2
|
Расчетный угол внутреннего трения |
Величины коэффициентов N1 и N2 при n, равном |
|||||||
|
0,2 |
0,4 |
0,6 |
0,8 |
1,0 |
1,5 |
2,0 |
||
|
12 |
N1 |
14,5 |
18,6 |
22,7 |
26,9 |
31,0 |
41,0 |
51,0 |
|
|
N2 |
10,0 |
13,7 |
17,4 |
21,1 |
24,8 |
34,0 |
43,3 |
|
16 |
N1 |
22,6 |
29,4 |
35,8 |
42,3 |
48,8 |
65,0 |
80,0 |
|
|
N2 |
16,4 |
22,4 |
28,4 |
34,4 |
41,0 |
55,0 |
69,0 |
|
20 |
N1 |
35,0 |
45,0 |
55,0 |
65,0 |
75,0 |
100,0 |
125,0 |
|
|
N2 |
28,0 |
38,0 |
48,0 |
58,0 |
68,0 |
93,0 |
118,0 |
|
24 |
N1 |
56,0 |
73,0 |
90,0 |
106,0 |
122,0 |
163,0 |
204,0 |
|
|
N2 |
49,0 |
67,0 |
84,0 |
102,0 |
120,0 |
163,0 |
206,0 |
|
28 |
N1 |
98,0 |
122,0 |
149,0 |
175,0 |
200,0 |
265,0 |
330,0 |
|
|
N2 |
82,0 |
112,0 |
142,0 |
172,0 |
200,0 |
273,0 |
344,09 |
|
32 |
N1 |
155,0 |
205,0 |
252,0 |
300,0 |
346,0 |
458,0 |
565,0 |
|
|
N2 |
165,0 |
225,0 |
284,0 |
345,0 |
400,0 |
540,0 |
680,0 |
|
36 |
N1 |
280,0 |
370,0 |
450,0 |
540,0 |
620,0 |
830,0 |
1030,0 |
|
|
N2 |
310,0 |
420,0 |
530,0 |
640,0 |
750,0 |
1020,0 |
1280,0 |
|
Промежуточные
значения N1 и N2 определяются интерполяцией сначала по |
||||||||
3.6.18. В случаях, если в проекте фундаментов сечения сваи, несколько отличающиеся по сечению и глубине погружения от испытанных статической нагрузкой, несущая способность принимаемых свай может определяться по формуле:
, (3.9)
где
- несущая способность
сваи, определенная на основании испытания статической нагрузкой, кН;
- несущая
способность, подсчитанная по формуле (3.6) на основании инженерно-геологических изысканий для
испытанной сваи, кН;
- то же для сваи,
принимаемой в проекте, кН.
Если нижние концы двух свай опираются на разные слои грунта и несущей способности по острию (RA) отличается более чем на 20 %, проектом назначается контрольное испытание свай статической нагрузкой.
3.6.19. При наличии в пределах длины свай слоя слабого сильносжимаемого грунта (торф, заторфованный грунт и др.) различают два случая: удовлетворяется или не удовлетворяется условие (3.10)
, (3.10)
где
- осадка слоя слабого
сильносжимаемого грунта под действием вертикальных напряжений, действующих на
кровлю этого слоя около сваи;
- сдвиговая осадка -
перемещение сваи относительно грунтов, расположенных выше слоя слабого грунта,
определяемая по табл. 3.5;
- предельно
допустимая осадка для проектируемого здания или сооружения.
Таблица 3.5
Значения сдвиговой осадки ![]()
|
Наименование грунтов |
|
|
Песок мелкий и пылеватый средней плотности |
0,5 |
|
Супесь при IL < 0,5 |
0,6 |
|
Супесь при IL |
0,7 |
|
Суглинок при IL < 0,5 |
0,8 |
|
Суглинок с гравием при |
1,0 |
|
Суглинок при IL |
1,5 |
|
Суглинок ленточный при IL |
1,8 |
|
Глина ленточная при IL < 0,5 |
2,2 |
|
Глина ленточная при IL |
2,5 |
В первом случае расчетное сопротивление трения по боковой поверхности сваи учитывается полностью.
Во втором случае расчетное сопротивление грунта по боковой поверхности слабого слоя грунта учитывается со снижающим коэффициентом Кс, определяемым по формуле
, (3.11)
где
,
- модуль
деформации и толщина слоя слабого грунта;
- расчетное
сопротивление по боковой поверхности сваи i-го слоя грунта, расположенного выше слоя слабого грунта, дающего
осадку
.
3.6.20. При наличии в пределах длины свай слоев сильно деформирующихся грунтов, имеющих модуль деформации Е < 5 МПа и уплотнения этих грунтов независимо от загрузки свай, на части их боковой поверхности могут возникнуть отрицательно направленные (негативные) силы трения, вследствие осадки указанных грунтов. Причинами возникновения отрицательно направленного трения могут быть:
а) загрузка пола здания или поверхности земли околосвайного фундамента нагрузкой более 20 кН/м2;
б) подсыпка территории более 1 м после устройства свайных фундаментов;
в) незавершенная консолидация слоев слабых грунтов от нагрузки подсыпанного (намытого) грунта до устройства свайных фундаментов;
г) деформации уплотнения слабых грунтов под действием напряжений, возникающих в основании свайного фундамента вследствие возведения и загрузки по соседству фундаментов на естественном основании;
д) увеличение напряжений в грунте за счет снятия взвешивающего действия воды при понижении уровня подземных вод;
е) уплотнения песков при динамических воздействиях.
3.6.21. Отрицательные силы трения учитываются до глубины, на которой значение осадки околосвайного грунта после возведения и его загрузки превышает половину предельно допустимого значения осадки здания или сооружения. В таком случае несущая способность свай определяется по формуле:
(3.12)
где
- глубина, м, на
которой осадка околосвайного грунта равна половине предельно допустимой осадки
фундамента; h - длина сваи, м;
- коэффициент условий
работы при развитии отрицательно направленного трения: при
< 4 м
= 0,6, а при
4 м
= 0,8.
Остальные обозначения приведены в экспликации к формуле (3.6).
3.6.22. Несущая способность свай на выдергивающую и горизонтальные нагрузки определяется по СНиП 2.02.03-85.
3.6.23. Несущая способность свай по данным статических испытаний определяется по указаниям разд. 2.4 настоящих ТСН.
Расчет свайных фундаментов
3.6.24. Расчет свайных фундаментов по несущей способности грунта основания и свай, по прочности конструкций, а также свайных ростверков должен производиться на основные сочетания нагрузок, подсчитанных с коэффициентами надежности по нагрузке по СНиП 2.01.07-85. Нагрузки для расчета по деформациям должны подсчитываться с коэффициентом надежности по нагрузке, равной единице.
Допускается для
определения осадки свайных фундаментов вычислять расчетную нагрузку делением
расчетной нагрузки, подсчитанной для расчета по первому предельному состоянию
(с коэффициентами надежности по нагрузке
> 1) на
усредненный коэффициент надежности по нагрузке
= 1,2.
3.6.25. Дополнительные вертикальные нагрузки на сваи от ветра для жилых и гражданских зданий с несущими стенами, опирающимися непосредственно на ростверк, рекомендуется определять из расчета "абсолютной" жесткости здания с распределением их на ростверки, расположенные по его периметру.
3.6.26. Расчетная нагрузка N, передаваемая на сваю, может определяться без учета допускаемых при забивке (изготовлении) отклонений свай от проектного положения.
3.6.27. При проектировании свайных фундаментов с монолитными ростверками, бетонируемыми на грунте или подготовке, рекомендуется учитывать совместную работу свай, ростверка и грунта.
Учет передачи
нагрузки ростверком на грунт не допускается: если в пределах длины свай
находятся слабые грунты с модулем деформации
5000 кПа, торфы,
заторфованные грунты, насыпные, намывные и набухающие грунты; если подошва
ростверка расположена выше глубины промерзания.
Величина нагрузки, передаваемой ростверком на грунт, может определяться из условия равенства осадок плиты ростверка и свайного фундамента. При этом в пределах сжимаемой толщи грунтов под ростверком трение по боковой поверхности свай должно полностью исключаться.
3.6.28. Расчет
неравномерности осадок свайных фундаментов обязателен для разноэтажных зданий,
зданий, примыкающих к существующим, высотных точечных зданий, зданий (более 12
этажей); во всех случаях, когда концы свай опираются в грунты с модулем
деформации
10000 кПа, при
различной длине свай под одним зданием, а также при разнице нагрузок на кусты
свайных фундаментов или участки ленточных ростверков более 50 %.
3.6.29. Определение осадок свайных фундаментов должно производиться в соответствии с СНиП 2.02.03-85.
3.6.30. Расчет на прочность всех свайных ростверков должен производиться по СНиП 2.03.01-84.
Расчет ленточных
ростверков с однорядным расположением свай с шагом
(рис.3.13),
нагруженных равномерно-распределенной нагрузкой (стены фундаментов из бетонных
блоков, кирпича или из крупных панелей), на продавливание может не
производиться; арматура назначается конструктивно в количестве 0,005 от площади
сечения bh0 (b - ширина, h0 - рабочая
высота ростверка).

Рис.3.13. Расчетная схема ростверка
Свободное сопряжение сваи с ростверком должно проверяться на местное сжатие (смятие) согласно СНиП 2.03.01-84.
При заделке голов свай в ростверк без оголения арматуры производится проверка на продавливание.
3.6.31. Расчет свай на действие вертикальной и горизонтальной нагрузки и момента производится в соответствии с прил. 1 СНиП 2.02.03-85.
3.6.32. Типовая конструкция оголовка (см. табл. 3.6) для применения в С.-Петербурге рассчитана на допустимую нагрузку на сваю 500 кН с эксцентриситетом 5 см.
Таблица 3.6
Оголовки для забивных свай
|
Назначение |
Марка |
Эскиз |
Размеры, мм |
Допустимые сечения свай, мм |
||
|
План |
Разрез |
|
|
|||
|
Безростверковые фундаменты |
ОБ |
|
|
580 |
470 |
300´300 |
|
|
|
|
|
630 |
520 |
350´350 |
|
3абивные |
ОЗ |
|
|
900 |
500 |
300´300 |
|
|
|
|
|
1000 |
500 |
350´350 |
|
|
ОЗ |
|
|
1000 |
760 |
d = 600 |
3.6.33. Расчет свай с оголовком выше поверхности земли на вертикальную нагрузку должен производиться по прочности с учетом случайного эксцентриситета в соответствии с СНиП 2.03.01-84.
Значение эксцентриситета при расчете должно приниматься равным допускаемым отклонениям головы сваи. Для безростверковых фундаментов при расположении свай в пределах высоты подвала до 2 м рекомендуется эксцентриситет принимать равным 2 см.
Продольный изгиб свай, полностью находящихся в грунте, не учитывается.
Конструкция свайных фундаментов
3.6.34. С целью обеспечения большей равномерности осадок фундаментов, снижения расхода материалов и стоимости назначение размеров и количества свай должно производиться с учетом наиболее полного использования допустимой расчетной нагрузки на сваю, определенной по несущей способности грунта и материала. Выравнивание вертикальных нагрузок на сваи достигается изменением расстояний между ними в ленточных фундаментах; количеством свай в кустах и в свайных полях; длиной и, в отдельных случаях, назначением свай различного сечения. Рекомендуется производить оптимизацию решения по приведенным затратам.
Недогрузка отдельных свай от вертикальных нагрузок допускается до 15, а перегрузка - до 5 %.
3.6.35. Сваи, как правило, должны прорезать толщу слабых грунтов (прорезка торфа и заторфованных грунтов обязательна) и входить в плотные грунты:
а) в пески крупные и средней крупности, глины и суглинки с показателем текучести IL < 0,25 не менее 0,5 м;
б) в другие грунты - не менее 1,0 м.
Если на слое грунта, принятого за основание, залегают торф, заторфованные грунты или пылевато-глинистые грунты текучей консистенции, нижние концы свай должны быть заглублены в подстилающие плотные грунты не менее чем на 2 м.
Набивные сваи и сваи-оболочки с уширенной пятой должны входить в несущий пласт грунта на глубину не менее диаметра уширения.
Круглые полые сваи без острия и сваи-оболочки, рассчитываемые с учетом грунтового ядра (погружение без выемки или с частичной выемкой грунта) должны входить в несущий слой не менее чем на 2 м.
Если под несущим слоем свайного фундамента залегают слои более слабых грунтов, то ниже острия свай должен оставаться несущий слой, толщина которого должна проверяться расчетом, но быть не менее 1,5 м.
Оставлять нижние концы всех видов свай в пылевато-глинистых грунтах с консистенцией IL > 1 запрещается.
3.6.36. При значительных уклонах кровли слоя грунта, принятого за основание нижних концов свай, рекомендуется назначать разную их длину.
Перепад отметки нижних концов соседних групп свай, как правило, не должен превышать 2 м. При большем перепаде или при опирании свай на разные грунты, рекомендуется делить здание или сооружение осадочными швами на отдельные блоки. Назначение количества свай (расстояние между сваями) в зонах перепада их длины производить с учетом изменения несущей способности свай.
3.6.37. Под несущие и самонесущие стены рекомендуется сваи располагать в один ряд за счет увеличения их сечения и длины, применения забивных оголовков, устройства уширенной пяты и т.п. В углах здания и в местах пересечения стен наличие свай обязательно.
При расположении свай в два ряда и более их следует размещать в шахматном порядке с целью уменьшения ширины ростверка.
Примечание: Запрещается располагать сваи под проемами в стенах подвалов (подполий) без соответствующих расчетов.
3.6.38. Центры тяжести рядов свай под ленточными ростверками должны совпадать с осями приложения нагрузок. Центр тяжести куста свай должен совпадать с точкой приложения равнодействующей от постоянных и длительно действующих временных нагрузок на фундамент.
При наличии горизонтальных нагрузок или изгибающих моментов, действующих в одном направлении, центр тяжести свайного поля должен совпадать с осью равнодействующей силы от постоянных и длительных временных нагрузок.
3.6.39. Расстояние между осями забивных висячих свай, без забивных оголовков, и набивных свай диаметром до 600 мм (без уширения) должно быть не менее 3d, где d - размер поперечного сечения сваи.
В водонасыщенных пылевато-глинистых грунтах, в которых наблюдается при забивке свай поднятие дна котлована и ранее забитых свай, рекомендуется отрывку котлована проектировать с учетом поднятия его дна на
, (3.13)
где
- коэффициент,
принимаемый равным 0,5-0,7 в зависимости от степени влажности, равной
0,9...1,0;
- объем всех свай,
погруженных в грунт, м3;
- площадь дна котлована.
В проекте необходимо предусматривать добивку приподнятых свай после погружения соседних свай в радиусе, равном половине длины свай. В этом случае при погружении свай рекомендуется их забивать выше проектной отметки на 5...10 см. При добивке доводить сваю до проектной отметки.
Расстояние в свету между сваями-оболочками, набивными сваями диаметром более 600 мм, забивными оголовками и между уширениями назначать не менее 1 м; при выполнении уширений в сухих пылевато-глинистых грунтах твердой и полутвердой консистенции не менее 0,5 м между уширениями.
3.6.40. Стыки составных железобетонных свай рекомендуется назначать сварные, болтовые и стаканного типа (рис. 3.14).
Сварные стыки могут назначаться для всех типов свай и свай-оболочек; стаканного типа (рис. 3.14,б) только для сплошных свай квадратного сечения. Болтовые стыки применяются для свай-оболочек.

Рис.3.14. Стыки призматических свай:
а - сварной; б - стаканный;
1 - свая; 2 - стальной оголовок; 3 - сварной шов; 4 - стакан;
5 - рифленая цилиндрическая часть верхнего звена
Стыки стаканного типа не допускается применять, если в процессе забивки возможно поднятие ранее погруженных свай при забивке последующих или при наличии выдергивающих усилий.
3.6.41. Стыки свай из двух звеньев следует располагать по возможности ниже. В пылевато-глинистых грунтах рекомендуется стыковку звеньев сваи и ее забивку до заданной отметки производить в минимальный отрезок времени (см. табл.2 приложения 3).
3.6.42. Класс бетона по прочности (не ниже В20) и армирование набивных свай должны назначаться по расчету. Сваи армируются каркасами по всей длине или на части ее. Каркас должен иметь ограничители для фиксации его по оси скважины.
Расстояние по окружности между стержнями допускается не менее радиуса арматурного каркаса.
3.6.43. Тип сопряжения сваи с ростверком рекомендуется назначать в соответствии с конструктивными требованиями.
При необходимости передачи на сваю изгибающих моментов от действия вертикальных вдавливающих сил, приложенных с эксцентриситетом, необходимости уменьшения изгибающих моментов от горизонтальных сил, действующих в уровне головы сваи и уменьшения величины горизонтальных смещений следует назначать жесткую заделку сваи в ростверке.
Свободное опирание ростверков может назначаться при передаче вертикальных вдавливающих нагрузок, не выходящих из ядра сечения сваи. В таком случае достаточна заделка сваи в монолитный ростверк на 50 мм.
Для передачи на сваю горизонтальных нагрузок только от ветра заделка голов свай в ростверки без оголения арматуры должна быть не менее 100 мм.
3.6.44. Жесткое сопряжение свай с монолитным ростверком осуществляется заделкой оголенной стержневой арматуры на длину анкеровки Ian, определяемой по СНиП 2.03.01-84.
Для свай с проволочной напрягаемой арматурой рекомендуется заделка голов свай без оголения арматуры. Длина заделки принимается по расчету (СНиП 2.03.01-84).
Заделка голов свай с напрягаемой арматурой может назначаться равной ширине сечения квадратной или диаметру круглой сваи.
В набивных сваях предусматривается выпуск стержней каркаса.
3.6.45. Верхнюю часть свай с забивными оголовками рекомендуется выполнять в соответствии с рис. 3.15.

Рис.3.15. Конструкция сваи с забивным оголовком:
1 - свая; 2 - грунт; 3 - забивной оголовок; 4 -
уплотненный песок;
5 - пробка из бетона В12,5; 6 - ростверк; 7 - колонна
Размеры и армирование ростверка ("пробки") для свай-оболочек определяются расчетом. Класс бетона не должен быть менее В20.
Минимальная высота "пробки" 1,5 диаметра сваи-оболочки. Сопряжение одиночной сваи-оболочки с колонной рекомендуется назначать путем заделки колонны в верхнюю часть бетонной пробки сваи-оболочки на длину, определенную расчетом.
3.6.46. Под внутренние стены зданий рекомендуется применять безростверковые свайные фундаменты, располагая их верх в уровне низа перекрытия над подпольем (подвалом) (рис. 3.16).
Рис.3.16. Безростверковые фундаменты:
1 - свая; 2 - оголовок; 3 - отмостка; 4 - панель; 5 - пол подвала; 6 - перекрытие
Глубина заложений низа оголовка и ростверков под наружные стены зданий должна быть, как правило, ниже расчетной глубины промерзания грунта. При жестком сопряжении свес ростверка должен определяться расчетом, но быть на 60 мм более допустимого отклонения сваи в плане в случае заделки оголенной арматуры и на 70 мм - при заделке головы сваи без оголения арматуры.
В случае свободного опирания ростверка на сваи, при стороне сечения (диаметре) больше 400 мм и при расположении сжимающей силы в пределах ядра сечения, а также для свай-оболочек, ширина ростверка может назначаться исходя из размеров опирающихся на него конструкций. Величина выступающего обреза ростверка назначается 20-50 мм (рис. 3.17).

Рис.3.17. Свободное опирание на сваю:
a - при сваях с
400 мм; б - при сваях
с
> 400 мм;
1- свая; 2 - ростверк; 3 - стена здания
3.6.48. Армирование ленточных ростверков при жесткой заделке свай производится с учетом действующего момента.
При однорядном расположении свай у наружных граней ростверка устанавливаются вертикальные каркасы, соединяемые по низу и по верху горизонтальными стержнями. Возможно армирование отдельными продольными стержнями с замкнутыми хомутами (рис. 3.18).

Рис. 3.18. Жесткое сопряжение ростверка и сваи:
а - со стержневой арматурой; б - заделка голов свай без оголения арматуры
3.6.49. Под ростверки, устраиваемые на слабом грунте, должна назначаться подготовка из щебня, втрамбованного в грунт; крупного песка или песчано-гравийной смеси, пропитанных битумом, или, при очень слабых грунтах - из тощего бетона, толщиной 80 мм.
При плотных, сухих грунтах целесообразно бетонирование ростверков производить без подготовки; толщина защитного слоя бетона в этом случае должна приниматься - 70 мм.
3.6.50. При пучинистых грунтах под ростверки наружных стен и цокольные панели (без ростверков), закладываемые выше глубины промерзания, должна устраиваться шлаковая, керамзитовая или иная легко деформирующаяся подсыпка. В случае сильнопучинистых грунтов или при ожидаемой осадке свайных фундаментов более 7 см под ростверком должен устраиваться зазор, тогда монолитные железобетонные ростверки бетонируются на опалубке.
3.6.51. Температурные и осадочные швы в ростверках должны совпадать со швами в надземных конструкциях зданий или сооружений и располагаться между сваями.
3.6.52. Подземные сантехнические и другие трубопроводы не должны пересекать ростверк и располагаться в непосредственной близости к сваям.
3.6.53. Стены свайных фундаментов при низких ростверках следует делать из бетонных блоков, кирпича или панелей.
3.6.54. При проектировании безростверковых фундаментов (см. рис. 3.16) необходимо учитывать следующие дополнительные требования:
а) сваи следует применять сечением 300´300 и 350´350 мм длиной до 14 м только с поперечным армированием. Длину свай под наружные и внутренние стены рекомендуется назначать так, чтобы нижние концы их опирались на определенный несущий слой грунта;
б) сваи под стены желательно размещать в один ряд;
в) под каждую стеновую панель или участок между проемами назначать не менее 2 свай; под каждую опорную грань панели перекрытия, непосредственно опирающуюся на оголовки, должно быть не менее двух свай;
г) оси свай необходимо располагать с минимальным эксцентриситетом относительно равнодействующей вертикальных сил, приложенных к оголовку;
д) верх оголовков назначается: под стены подвала на 50-100 мм ниже его пола, под внутренние стены первого этажа - на 20 мм ниже низа панелей перекрытия; под наружные стены при отсутствии подвала или при техническом подполье - на 20 мм ниже низа цокольной панели;
е) заделку голов свай в оголовок следует назначать не менее 100 мм. Жесткое сопряжение сваи с оголовком достигается заделкой головы не менее чем на 200 мм или оголенной стержневой арматуры на длину 20 диаметров, но не менее 250 мм;
ж) заделка свай в оголовок выполняется бетоном класса В20 на щебне крупностью не более 25 мм;
з) допускаемые отклонения сваи и оголовка в плане ±50 мм; отметки верха оголовка ±10 мм, перекос верхней плоскости оголовка 1:20.
3.6.55. В проекте свайных фундаментов должны приводиться примечания, в которых указываются:
а) расчетная нагрузка на сваи;
б) погружения нижних концов свай в грунт, принятый за их основание;
в) расчетный отказ при определенных массе молота и высоте его падения;
г) если назначены контрольные испытания статической нагрузкой - номера свай, подлежащих испытанию, и их расчетная несущая способность;
д) для свай-оболочек - указания об условиях удаления грунта в процессе погружения; для набивных свай - способ изготовления скважины и бетонирования сваи;
е) данные о геологическом напластовании грунтов в пределах здания или сооружения с указанием физико-механических характеристик грунтов;
ж) необходимость добивки свай.
3.6.56. На чертеже свайного поля необходимо указывать:
а) привязку осей свайных рядов или осей свай в кустах к разбивочным осям здания или сооружения, шаг свай;
б) отметки острия и верха свай;
в) порядковые номера и марки свай. В рядах свай проставляются номера свай через 5 (1, 5, 10, 15 и т.д.). Обязательно проставляются номера свай в пересечениях разбивочных осей здания. В кустах нумеруются первая и последняя сваи первого ряда и остальные сваи через 5, а также последняя свая последнего ряда.
Общие положения
3.7.1. Указания настоящего раздела распространяются на проекты зданий и сооружений, которые должны быть возведены около существующих строений (зданий, сооружений), а также зданий, возводимых в несколько очередей. В последнем случае возведение каждой последующей очереди должно рассматриваться как строительство нового здания около существующего. Эти требования обязательны в случаях, когда расстояние между гранями существующих и новых зданий или сооружений меньше глубины сжимаемой толщи грунтов под новыми фундаментами.
3.7.2. Разработка проектов зданий и сооружений, возводимых возле существующих строений, допускается только при наличии всех материалов обследований, инженерно-геодезических и инженерно-геологических изысканий, предусмотренных разд. 2.2 и 2.3 настоящих ТСН.
3.7.3. Выбор типа конструкции фундаментов производится в начальной стадии проектирования при разработке объемно-планировочного решения и конструктивной схемы здания или сооружения конструктором проекта совместно с архитектором проекта. При этом должны учитываться дополнительные требования настоящего раздела.
3.7.4. При разработке проектов зданий или сооружений, располагаемых вблизи существующих, не рекомендуется заглублять подошвы ближайших фундаментов, ростверков свай, траншей для прокладки подземных коммуникаций ниже подошвы существующих фундаментов. В случае необходимости заглубления фундаментов новых сооружений вровень и тем более ниже подошвы существующих фундаментов необходима проверка устойчивости грунтов их оснований при отрывке котлована, водопонижении, забивке свай и шпунта.
3.7.5. В проекте должны быть предусмотрены меры, обеспечивающие устойчивость грунта под существующими фундаментами и исключающими развитие дополнительной осадки при отрывке новых котлованов. В этих условиях рекомендуется применение:
а) "стены в грунте", выполняющей одновременно функции подпорной стенки, противофильтрационной завесы и фундаментов нового здания или сооружения;
б) заанкерованных подпорных стенок из металлического шпунта;
в) опускных колодцев или кессонов.
3.7.6. В проекте должно быть учтено влияние на фундаменты и основание существующих зданий и сооружений строительного и постоянного водопонижения (дренажа) при выполнении котлованных работ и в ходе эксплуатации вновь возводимых зданий или сооружений.
3.7.7. При проектировании фундаментов и конструкций зданий и заглубленных в грунт сооружений, располагаемых возле существующих зданий или сооружений, находящихся в эксплуатации или в процессе строительства, должны быть предусмотрены меры, снижающие развитие деформаций новых и существующих зданий или сооружений до величин, исключающих возможность возникновения повреждений конструкций или снижения условий эксплуатации.
3.7.8. Если совместные деформации оснований и конструкций существующего здания или сооружения превышают допустимые пределы (см. п. 3.7.25; 3.7.26; 3.7.27), рекомендуется:
а) облегчение конструкций нового здания или сооружения, особенно на участках примыкания в соответствии с указаниями разд. 1.5;
б) передача давления от вновь возводимого здания на подстилающие малосжимаемые грунты посредством глубоких опор, выполняемых с минимальными динамическими воздействиями (применение буронабивных или вдавливаемых свай, "стены в грунте" и др.);
в) применение разъединительной шпунтовой стенки для разделения основания существующего и нового здания или сооружения, которая, как правило, должна быть погружена вдавливанием в подстилающие малосжимаемые грунты;
г) использование в месте примыкания ленточных фундаментов, направленных перпендикулярно линии примыкания;
д) использование консольного подхода новым зданием к существующему;
е) предварительное усиление конструкций существующих зданий или сооружений в зоне примыкания для снижения влияния дополнительной неравномерной их осадки;
ж) использование заранее предусматриваемых специальных средств для выравнивания конструкций существующих зданий или сооружений, при развитии недопустимой неравномерной осадки;
з) использование искусственного закрепления грунта;
и) пересадка части существующего здания на вертикальные буроинъекционные или вдавливаемые сваи;
к) проведение защитных технологических мероприятий при производстве строительных работ (см. разд. 4.7).
3.7.9. Опирание конструкций проектируемого здания или сооружения на фундаменты существующего, как правило, не допускается. Опирание конструкций зданий (блоков, корпусов) второй и последующих очередей строительства сооружения на фундаменты, возведенные ранее, как правило, также не допускается. Такое опирание возможно, если осадка и неравномерность осадки основания загружаемых и соседних фундаментов меньше значений, указанных в табл. 3.7. Кроме того проверяется несущая способность основания.
Значения предельных дополнительных деформаций существующих зданий
|
Наименование, конструктивные особенности здания |
Категория состояния конструкций здания |
Предельные дополнительные деформации |
||
|
Осадка, см |
Перекос |
Крен |
||
|
Бескаркасные здания со стенами из крупных панелей |
I |
4 |
0,0020 |
0,004 |
|
II |
3 |
0,0010 |
0,002 |
|
|
III |
2 |
0,0007 |
0,002 |
|
|
Бескаркасные здания со стенами из кирпича или крупных блоков без армирования |
I |
5 |
0,0030 |
0,004 |
|
II |
3 |
0,0015 |
0,002 |
|
|
III |
2 |
0,0010 |
0,002 |
|
|
Здания со стенами из кирпича или бетонных блоков с арматурными или железобетонными поясами |
I |
6 |
0,0035 |
0,004 |
|
II |
4 |
0,0018 |
0,004 |
|
|
III |
3 |
0,0012 |
0,003 |
|
3.7.10. Свайные фундаменты назначаются в соответствии с разделом 3.6, а также в случаях, когда осадка проектируемого здания на естественном основании по расчету превышает 10 см.
Наименьшие деформации существующих зданий или сооружений могут быть достигнуты применением буронабивных свай, свай, погружаемых вдавливанием и буронабивных фундаментов.
3.7.11. Применение свай и шпунтовых стен в зонах примыкания, погружаемых механическими или дизельными молотами, а также вибрированием, допускается, если в естественном основании существующего здания нет рыхлых песков. При наличии в основании песков средней плотности допускается погружение свай забивкой или вибропогружением, при расстояниях от существующих зданий более 20 м. Применение подмыва при погружении свай возле существующих фундаментов не допускается. При возведении здания на свайных фундаментах в несколько очередей рекомендуется в месте примыкания в пределах 20 метровой зоны сваи погружать до возведения предшествующей очереди.
3.7.12. Решение о применении при любых грунтах забивных и вибропогружаемых свай на расстояниях, меньших 20 м от существующих любых фундаментов, включая свайные, может быть принято только на основе результатов специальных исследований, включающих виброметрические наблюдения при погружении пробных свай (см. п. 2.4.17), а также учета состояния конструкций существующего здания при динамических воздействиях.
3.7.13. В зонах примыкания рекомендуется применять сваи, погружаемые вдавливанием, а также буронабивные сваи различных типов (с уширением в нижней части или без него), устройство которых не требует применения значительных по интенсивности вибрационных воздействий.
3.7.14. Буронабивные фундаменты рекомендуются в следующих случаях:
а) инженерно-геологические условия площадки удовлетворяют требованиям, приведенным в разд. 3.3;
б) отметка пола проектируемого подвала (подполья) в месте примыкания выше подошвы существующих фундаментов;
в) ожидаемая осадка основания нового здания или сооружения не превышает 100 мм.
3.7.15. Буронабивные фундаменты можно назначать под всем новым зданием или сооружением или только в непосредственной близости от существующего.
3.7.16. Консольное примыкание фундаментов на естественном основании рекомендуется использовать при ленточных, отдельных буронабивных фундаментах, сплошной плите под проектируемым зданием. Вылет консоли устанавливается расчетом, с тем, чтобы дополнительная осадка существующего здания не превысила допустимых величин (см. п.п. 3.7.25-3.7.29).
3.7.17. Разъединительная шпунтовая стенка назначается в случаях, когда новые и существующие здания или сооружения возведены на естественном основании при ожидаемой осадке существующего здания больше предельно допустимых значений, указанных в табл. 3.7.
3.7.18. Если под фундаментами существующих зданий имеются деревянные лежни, сваи и слои торфа, то длительное строительство и постоянное понижение уровня грунтовых вод ниже верха деревянных элементов и кровли слоя торфа, посредством дренажей, иглофильтров и иных средств глубинного водоотлива под существующими зданиями запрещается.
3.7.19. Если существующее здание возведено на свайных фундаментах, необходима проверка их несущей способности и дополнительной осадки от развития сил отрицательно направленного трения.
3.7.20. Устройство осадочных швов между существующим и примыкающим зданием или сооружением обязательно. При проектировании зданий, возводимых в несколько очередей (независимо от типа фундаментов), также необходимо предусматривать осадочные швы, разделяющие части здания разновременного возведения. В этих случаях рекомендуется устройство фундаментов в зоне примыкания или под всей последующей очередью строительства одновременно.
3.7.21. Проектные решения и порядок выполнения строительных работ в случаях, рассматриваемых в настоящем разделе, должны быть согласованы со строительной организацией - генеральным подрядчиком и (в случае необходимости) с эксплуатирующей существующее здание или сооружение организацией.
Расчеты оснований
3.7.22. Расчет естественного основания проектируемых фундаментов, располагаемых возле существующих зданий или сооружений, должен выполняться по указаниям разд. 3.2 и настоящего раздела. Кроме того, должен производиться расчет оснований по устойчивости и деформации существующих зданий.
3.7.23. При определении расчетом осадок оснований нового здания обязателен учет уплотненного состояния грунтов от давления существующих зданий и сооружений, которые существовали на застраиваемом участке или подлежат сносу. Обязательно следует производить проверку разности осадок (перекоса) на примыкающем к существующему зданию участке.
3.7.24. Определение дополнительной осадки основания существующих зданий рекомендуется выполнять методом суммирования, методом ограниченной сжимаемой толщи или численными методами, при этом (в запас) жесткость коробки существующих зданий не учитывается.
3.7.25. Расчет дополнительных осадок оснований существующих зданий или сооружений должен производиться, исходя из условия:
, (3.15)
где
- дополнительная
осадка существующего здания от загружения соседнего участка возводимым зданием
или сооружением;
- предельно допустимая
величина дополнительной деформации основания, устанавливаемая по указаниям п. 3.7.26 и данным технического
обследования существующего здания.
В необходимых
случаях
должна включать
осадку, вызванную отклонением шпунта в сторону проектируемого котлована.
3.7.26. Для существующих зданий постройки более 10 лет, величины предельно допустимых дополнительных осадок оснований (рис. 3.19) не должны превышать значений, приведенных в табл. 3.7, установленные по данным многочисленных многолетних натурных наблюдений.
Рис.3.19. Дополнительные осадки существующих
фундаментов,
около которых возводятся новые сооружения:
а - примыкание к торцу здания; б - примыкание к
продольной стене;
1 - существующее здание; 2 - возводимое здание
3.7.27. Для зданий, возводимых в несколько очередей, величины дополнительных осадок для ранее построенных фундаментов, устанавливаемые расчетом, не должны превышать значений, указанных в табл. 3.7.
Для типов зданий, не вошедших в табл. 3.7, предельные деформации устанавливаются по прил. 4 СНиП 2.02.01-83 с коэффициентом 0,5.
3.7.28. Дополнительные неравномерности осадки - перекос смежных точек в зоне примыканий устанавливается по формуле
, (3.16)
где
- дополнительная
осадка существующего фундамента по оси, крайней к зоне примыкания;
- дополнительная осадка
точки фундамента, удаленной на расстояние
(см. рис. 3.19,а).
Расстояние
рекомендуется
устанавливать для зданий:
а) с продольными несущими стенами - от оси крайнего фундамента до оси ближайшего проема;
б) с поперечными стенами - равными расстоянию до оси соседней поперечной стены;
в) каркасных - равным шагу колонн каркаса.
3.7.29. При примыкании к продольной стене узкого здания и возможности его поворота развивается дополнительный крен, определяемый по формуле
, (3.17)
где
- разность
дополнительных осадок двух продольных стен существующего здания;
- ширина (в осях)
существующего здания.
Дополнительный крен следует суммировать с фактическим креном существующего здания, который устанавливается при инженерных изысканиях.
3.7.30. Минимальное удаление нового фундамента от существующего, на основе которого назначается вылет консолей в зонах примыкания, рекомендуется устанавливать расчетом (методом проб). При этом необходимо обеспечить соблюдение требований табл. 3.7.
3.7.31. Глубина
погружения разъединительных шпунтовых стенок (
)
должна устанавливаться расчетом так, чтобы силы отрицательно направленного
трения в сжимаемых грунтах обеспечивали неподвижность стенки. При этом
предусматриваются следующие случаи:
а) нижние концы шпунта погружены в относительно малосжимаемые грунты (рис. 3.20,а) Е > 20 МПа;
, (3.18)
б) то же в среднесжимаемые грунты (рис. 3.20,б);
, (3.19)
где
- расчетное
сопротивление i-го слоя грунта по боковой
поверхности шпунта, принимаемое по СНиП
2.02.03-85 или по табл. 4 приложения
3 ТСН в пределах толщины слоев h1;
- толщины слоев грунта,
получающих уплотнение (дающих осадку);
dch - глубина погружения шпунтовой стенки, считая от подошвы фундамента нового здания.
Рис.3.20. Схема работы разъединительной стенки:
а - при наличии подстилающего малосжимаемого грунта;
б - при большой толще сильно- и среднесжимаемых грунтов
3.7.32. Ширина
осадочных швов (
) в наземной части между новыми и существующими зданиями
(сооружениями) должна определяться расчетом с учетом крена существующего здания
в сторону проектируемого (в результате развития дополнительной осадки
уплотнения) и его высоты. Креном нового здания, который обычно направлен в
сторону от существующего (в запас), можно пренебречь.
Ширину зазора между фундаментами в месте примыкания рекомендуется назначать не менее 300 мм.
Конструкция фундаментов
3.7.33. Если котлован или траншея для устройства новых ленточных и отдельных фундаментов или инженерных коммуникаций подлежат отрывке на расстоянии в плане менее 4 м или менее половины ширины сплошных плитных фундаментов от подошвы существующих фундаментов, то должны назначаться защитные мероприятия при выполнении земляных работ (см. разд. п. 4.7).
Ограждающий (технологический) шпунт должен назначаться, если проектом не предусмотрено устройство разъединительных или подпорных стенок, в случаях, когда:
а) глубина
котлована dk меньше или
равна глубине заложения существующего фундамента drf при (drf - dk) < 0,5 м и lch < 1,5 drf, где lch - расстояние между существующим и новым фундаментом (при (drf - dk)
0,5 м технологический
шпунт не требуется);
б) глубина котлована больше глубины заложения существующего фундамента (при lch < 2(dk - drf) назначается шпунтовая подпорная стена или "стена в грунте");
в) во всех случаях, когда уровень подземных вод выше дна котлована. В этом случае "в" шпунт используется как противофильтрационная завеса. Шпунт должен быть погружен в подстилающий водоупор, а если глубина залегания водоупора велика, длину погружения шпунта рекомендуется определять из условия:
, (3.20)
где
- глубина
расположения уровня подземных вод от поверхности земли.
3.7.34. Для
обеспечения минимального горизонтального перемещения шпунта 1 (рис. 3.21),
ограждающего строительный котлован, и подпорных стенок (см. разд. 3.9) в период
строительства рекомендуется назначать их временное крепление с установкой
обвязочных балок 2 и подкосов 3. При назначении подкосов, упертых в новые
фундаменты (рис. 3.21,б), отрывку котлована на расстоянии
требуется выполнять
после возведения нового фундамента и набора новым фундаментом прочности,
достаточной для восприятия усилия подкосов (рис. 3.21). В этом случае
необходимо рассчитывать устойчивость основания существующего фундамента.

Рис.3.21. Крепление шпунтовых стен котлована:
а - в плане горизонтальными распорками; б - подкосами,
упираемыми в возводимый фундамент;
1 - шпунт; 2 - обвязка; 3 - распорки; 4 - новая фундаментная плита; 5 -
существующий фундамент
3.7.35. Между краями фундаментов существующего и проектируемого зданий на участке примыкания проектом назначается минимальный разрыв lch, величина которого устанавливается, исходя из:
а) габаритов оборудования, применяемого для отрывки строительного котлована, погружения шпунта и свай;
б) конфигурации разделительной шпунтовой стенки и типа применяемого шпунта;
в) вылета консолей фундаментных балок (см. п. 3.7.16);
г) наличия коммуникаций на участке примыкания;
д) наличия на участке примыкания фундаментов снесенных домов.
Во всех случаях расстояние lch должно быть более 300 мм (рис. 3.21,б).
3.7.36. Консольное примыкание проектируемого здания к существующему должно выполняться устройством монолитных железобетонных балок с консолями, поддерживающими наземные конструкции здания - продольные несущие стены, колонны, столбы, ограждающие стены и др.
Вылет консоли должен назначаться в зависимости от ожидаемой дополнительной осадки, с учетом конструкции фундаментов проектируемого здания в зоне примыкания. Надземные конструкции рекомендуется опирать на консоли, устанавливаемые либо только в подземной части здания, либо и на систему консолей, располагаемых поэтажно.
3.7.37. Консольное примыкание фундаментов на естественном основании зависит от местных условий:
а) при примыкании продольными стенами здания с поперечными несущими стенами рекомендуется консоли проектировать как одно целое со стенами фундаментов под поперечные стены здания;
б) при примыкании торцом здания рекомендуется предусматривать отношение пролета балки (lb) к вылету консоли (la) не менее 2, чтобы сократить нагрузку на ближайший к существующему зданию фундамент;
в) при примыкании фундаментов в виде сплошной плиты - консоли рекомендуется делать на отдельных участках плиты (в зоне примыканий).
Во всех случаях под консолями, перекрывающими разрыв между новыми и существующими фундаментами, должен быть зазор не менее двойной величины ожидаемой осадки (рис. 3.22).

Рис.3.22. Консольное примыкание возводимого здания:
а - при продольных несущих стенах; б - при поперечных
несущих стенах;
1 - существующий фундамент; 2 - торцевая стена строящегося здания;
3 - возводимое здание; 4 - железобетон; 5 - фундаментная плита; 6 - заделка
консоли
3.7.38. Разборка фундаментов снесенных зданий ниже подошвы фундаментов существующих зданий, как правило, не допускается, в этих условиях на участке примыкания должны устраиваться консоли, вылет которых устанавливается по п. 3.7.37.
3.7.39. Разъединительные шпунтовые стенки, как правило, назначаются из металлического плоского шпунта. Разъединительная стенка должна погружаться в малосжимаемые подстилающие грунты, что определяет необходимую глубину забивки шпунта. Стенки в плане должны проходить вдоль всей линии примыкания зданий и выходить за их пределы с образованием "шпор", которые должны огибать проектируемое или существующее здание на величину (рис. 3.23) не менее 0,5h1 или 0,5Hc (рис. 3.20), где Hc - мощность сжимаемого слоя.

Рис 3.23. План примыкания возводимого здания 2 к существующему 1
3.7.40. Если сваи существующего и нового здания опираются на слабые грунты, то при проектировании свайных фундаментов рекомендуется также делать консольное примыкание.
3.7.41. При назначении в зоне примыкания фундаментов, выполненных методом "стена в грунте", такие же фундаменты рекомендуется назначать под всем зданием или в пределах участка, "отрезанного" от остальной части здания осадочными швами.
3.7.42. В примыканиях к существующим зданиям и сооружениям, если осадка новых свайных фундаментов превышает 3 см, ростверки в зоне влияния выполняются на опалубке с зазором, равным удвоенной ожидаемой осадке, но не менее 10 см.
Общие положения
3.8.1. При разработке проектов реконструкции зданий и сооружений следует сохранить их конструктивную схему, стремиться к наименьшему изменению нагрузок на существующие фундаменты: новые стены, вентиляционные стояки и другие элементы конструкций рекомендуется назначать по возможности легкими.
3.8.2. Основания и фундаменты зданий или сооружений при реконструкции должны проектироваться на основе материалов изысканий, технического обследования зданий и требований, изложенных в разд. 2.3.
Объем материалов обследования (обмерные чертежи с деталями заменяемых и сохраняемых конструкций) должен быть достаточен для определения фактических нагрузок на основание.
3.8.3. Допускается не производить инженерно-геологических изысканий для зданий или сооружений, у которых при обследовании не обнаружено видимых деформаций, устройство новых фундаментов не предусматривается, а увеличение давления на основание ожидается до 10 %. Для здания на деревянных сваях или лежнях при явно выраженной тенденции к понижению уровня грунтовых вод ниже верха свай, деревянного ростверка и лежней инженерно-геологические изыскания обязательны.
3.8.4. Проектирование новых фундаментов в непосредственной близости с существующими должно производиться с учетом требований разд. 3.7.
Особенности расчета
3.8.5. Дополнительные абсолютные осадки и неравномерности осадок сохраняемых, усиливаемых и новых фундаментов, а также фундаментов существующих зданий, к которым осуществляется примыкание, не должны превышать 50 % величины, допустимой для нормальной эксплуатации новых зданий и сооружений, устанавливаемых по прил. СНиП 2.02.01-83.
3.8.6. При расчете оснований по деформациям среднее давление под подошвой существующих фундаментов после реконструкции pII, не должно превышать расчетного сопротивления уплотненного в процессе эксплуатации здания грунта основания - Ry. Величина Ry определяется по формуле СНиП 2.02.01-83. При ожидаемом увеличении нагрузки на фундаменты до 60 %, а также при разработке технических проектов допускается определение Ry по формуле:
, (3.21)
где
-
расчетное сопротивление грунта основания естественного сложения
(неуплотненного), определяемое по СНиП
2.02.01-83;
- коэффициент,
зависящий от отношения величины давления по подошве фундамента до увеличения
нагрузки при реконструкции pp к расчетному
сопротивлению
. При
mp = 1,3, при 0,8 >
mp = 1,15, при
mp = 1,0; ms - коэффициент, принимаемый по табл. 3.8
в зависимости от отношения величины осадки sрф при давлении по подошве, равном
значению pp, к предельно
допустимой осадке для данного вида зданий или сооружений su, определяемой по прил. 4 СНиП 2.02.01-83.
Значения коэффициента ms
|
Грунты основания |
Значение ms при отношении |
|
|
0,4 |
0,8 |
|
|
Пески: |
|
|
|
средней крупности |
1,4 |
1,0 |
|
мелкие |
1,2 |
1,0 |
|
пылеватые |
1,1 |
1,0 |
|
Пылевато-глинистые грунты: |
|
|
|
при показателе текучести от 0 до 0,25 |
1,2 |
1,0 |
|
при показателе текучести от 0,25 до 0,75 и сроке эксплуатации здания более 15 лет |
1,1 |
1,0 |
Примечание: для промежуточных значений sрф/ su коэффициент ms определяется интерполяцией.
3.8.7. При наличии в пределах сжимаемой толщи подстилающего слабого грунта с низкими прочностными характеристиками необходимо выполнить проверку этого слоя на действие напряжений, возникающих после увеличения нагрузки на фундаменты, в соответствии с требованиями СНиП 2.02.01-83. При этом разрешается в запас устойчивости не учитывать уплотнение слабого слоя в период эксплуатации здания или сооружения.
3.8.8. Деформации оснований при реконструкции здания или сооружений должны удовлетворять условиям
, (3.22)
, (3.23)
где
- средняя дополнительная осадка, принимаемая по прил. 4 СНиП 2.02.01-83 и табл. 3.7 настоящих ТСН;
- относительная неравномерность дополнительных осадок;
- предельная относительная неравномерность дополнительных
осадок, принимаемых по табл. 3.7;
- коэффициент снижения предельных величин деформаций в
зависимости от технического состояния конструкций здания или сооружения,
оцениваемого применительно к степени износа по табл. 2.4 ТСН и принимаемый при износе до 20 % - равным
0,4, при износе 30 % - 0,3, при большем износе - 0,2.
3.8.9. При увеличении нагрузки на уширяемые фундаменты модуль деформации грунтов может приниматься в зависимости от величины уширения:
а) при
сохранении ширины подошвы или при увеличении ее на 0,5bc (bc - ширина существующего фундамента)
;
б) при
увеличении ширины подошвы более 0,5 bc
, где E - модуль
деформации неуплотненного грунта;
- принимается по
табл. 3.8.
3.8.10. Расчет оснований фундаментов по несущей способности при увеличении на них нагрузки в процессе реконструкции должен выполняться в случаях, если:
а) основание сложено водонасыщенными, пылевато-глинистыми грунтами с показателем текучести более 0,50 или водонасыщенными пылевато-глинистыми грунтами, содержащими растительные остатки более 5 %;
б) возможен выпор грунта в сторону подвала или подземного сооружения.
Конструкция фундаментов
3.8.11. При проектировании участков новых фундаментов, вовлекаемых в совместную работу с существующими, особое внимание должно быть обращено на достижение относительной неравномерности их осадок, обеспечивающей эксплуатационную пригодность и надежность конструкции здания.
3.8.12. Усиление или замена фундаментов должна назначаться в случаях, когда увеличение нагрузок на фундамент вызывает давление по подошве, превышающее расчетное сопротивление грунта основания с учетом уплотненности его в период эксплуатации Ry, ухудшения условий устойчивости оснований и увеличения деформируемости грунтов вследствие их ослабления подземными выработками и другими причинами или недостаточной прочности конструкции фундамента.
3.8.13. Усиление фундаментов может быть выполнено путем:
а) частичной замены старых фундаментов на новые с разборкой или без разборки надфундаментных конструкций;
б) уширения фундаментов без их разборки (рис. 3.24);

Рис.3.24. Уширение бутовых фундаментов:
а - без уплотнения грунта под уширенными частями
фундамента;
б - с уплотнением грунта;
1 - существующая кладка; 2 - плиты уширения; 3 - новый
бетон;
4 - армирование; 5 - домкраты для обжатия грунта под уширением
в) "пересадки" фундаментов на сваи, в том числе буроинъекционные, с передачей нагрузки от здания на более плотные слои грунта;
г) увеличения глубины заложения существующих фундаментов с уширением подошвы;
д) искусственного закрепления части грунта ниже существующих фундаментов (см. разд. 3.4).
3.8.14. С целью уменьшения осадок уширяемых фундаментов, а также новых фундаментов рекомендуется производить обжатие грунтов основания до включения их в работу (рис. 3.24,б).
3.8.15. Частичную замену кладки существующих фундаментов после разборки надфундаментных конструкций следует осуществлять так, чтобы не нарушить уплотненное в процессе эксплуатации основание. Для этого рекомендуется сохранять нижнюю часть фундаментов, которую объединять и при необходимости усиливать монолитным железобетоном.
3.8.16. Увеличения прочности фундаментных плит, ленточных и отдельных фундаментов рекомендуется достигать бетонированием стаканной части или обетонкой стен ленточных фундаментов, которая приводит к уменьшению выноса их консольной части и, следовательно, изгибающего момента.
3.8.17. В случае необходимости заглубления подвалов, замены сгнивших деревянных ростверков, верхней части свай или лежней, иногда может назначаться увеличение глубины заложения существующих фундаментов. Новую часть фундаментов (плит, ростверков) рекомендуется выполнять из монолитного бетона.
Если увеличение глубины заложения предусматривается без разборки надфундаментных конструкций, в проекте должно предусматриваться временное крепление, частично снимающее нагрузку с фундамента.
3.8.18. При значительном увеличении нагрузки и при наличии слабых грунтов в основании при примыкании к существующим зданиям, полная сохранность которых должна быть обеспечена, рекомендуется усиление фундаментов с пересадкой их на сваи.
Сваи могут применяться буронабивные, буроинъекционные или вдавливаемые. Последние могут состоять из отдельных звеньев, последовательно погружаемых. Устройство буроинъекционных свай можно совместить с цементацией тела фундамента без применения железобетонной обоймы.
3.8.19. При невозможности достижения допустимой относительной неравномерности осадок новых и существующих фундаментов за счет увеличения площади подошвы целесообразно применять буроинъекционные или другие сваи или закрепление грунта основания.
3.8.20. При недостаточной прочности тела фундаментов целесообразно применять железобетонную обойму и использовать инъектирование в кладку цементного раствора и т.п. В случае необходимости может быть предусмотрено одновременное устройство обоймы и укрепление кладки инъектированием.
Для небольших участков недостаточно прочной кладки должна быть предусмотрена их замена.
3.8.21. В рабочих чертежах фундаментов, предусматривающих увеличение площади подошвы, глубины заложения существующих фундаментов или устройство новых, кроме сведений, предусмотренных в разд. 3.1, должны быть сделаны подробные указания о порядке выполнения работ, обеспечивающих сохранность конструкций реконструируемого здания или сооружения.
Общие положения
3.9.1. В условиях строительства гражданских зданий подпорные стены назначаются для ограждения террас, уступов планировки и ограждения котлованов на время производства работ. К подпорным стенам относятся стены фундаментов, ограждающие заглубленные помещения зданий и сооружений.
3.9.2. Проектирование подпорных стен должно производиться с учетом требований соответствующих глав СНиП, "Руководства по проектированию подпорных стен и стен подвалов для промышленного и гражданского строительства" (ЦНИИПромзданий Госстроя СССР) и настоящих ТСН.
3.9.3. Подпорные стены, выполняемые способом "стена в грунте", должны проектироваться в соответствии с разд. 3.10 настоящих ТСН.
3.9.4. Планировка поверхности у верха подпорных стен должна назначаться, как правило, с уклоном от стены, с отводом воды за призму обрушения (величина уклона принимается с учетом осадок подпорной стены и примыкающих к террасам и стилобатам зданий). В случаях невозможности отвода воды от стенки, на верхнем уровне назначается карниз со слезником (рис. 3.25) и устройства, гарантирующие от попадания воды за стенку (асфальтирование поверхности или асфальтовая гидроизоляция под плитным покрытием).
Рис.3.25. Подпорная стенка со слезником:
1 - песчаная засыпка; 2 - глинистый грунт
3.9.5. Подпорные стены проектируются массивные, тонкие и заделанные в основание или уголковые. С целью лучшего использования материала сечение массивных и уголковых стен следует назначать сужающимися кверху или уступчатыми (рис. 3.26).
Рис.3.26. Схемы устройства подпорных стен:
а - из монолитного железобетона; б - из сборных (бетонных)
блоков;
1 - песчаная или щебеночная подушка; 2 - подпорная стена;
3 - строительный наклон; 4 - засыпка песком; 5 - гидроизоляция;
6 - дренаж; 7 - дренажные отверстия; 8 - естественный грунт
3.9.6. Подпорные стены ограждения котлованов на время производства работ рекомендуется делать, как правило, из металлического шпунта с последующим извлечением. Ограждение котлованов, оставляемое в грунте, можно делать из железобетонных шпунтовых свай (шпунта) или выполнять способом "стена в грунте".
При небольшой глубине котлованов ограждение может быть назначено из деревянного шпунта.
3.9.7. Подпорные стены, ограждающие подвалы зданий, являющиеся частью фундаментов, рекомендуется делать из сборных бетонных блоков или панелей с облицовкой в пределах цоколя.
В зонах примыкания к существующим зданиям при глубине новых подвалов (котлованов) больше глубины заложения существующих фундаментов ограждения, а также стены отдельных сооружений, заглубленных в грунт более 5 м, рекомендуется делать железобетонными, способом "стена в грунте" (см. разд. 3.10).
3.9.8. Подпорные стены, ограждающие стилобаты, террасы и уступы планировки, целесообразно предусматривать из монолитного бетона или железобетона или сборные из бетонных стеновых блоков (фундаментных). Сборные стены из бетонных блоков могут иметь армирование в швах, в зависимости от расчетной схемы.
Подпорные стены, имеющие архитектурное оформление в виде облицовки естественными или искусственными плитами, рекомендуется делать из монолитного железобетона.
Расчет подпорных стен
3.9.9. Расчет подпорных стен производится по первой и второй группам предельных состояний.
Усилия определяются в зависимости от принятой расчетной схемы по формулам, приведенным в прил. 1 СНиП 2.02.03-85, "Руководстве по проектированию подпорных стен и стен подвалов для промышленного и гражданского строительства", "Руководстве по проектированию сооружений и противофильтрационных завес, устраиваемых способом "стена в грунте" и др., а также в настоящих ТСН.
3.9.10. Нагрузку на поверхности земли рекомендуется принимать в соответствии с разд. 4 "Руководства по проектированию подпорных стен и стен подвалов для промышленного и гражданского строительства".
Нагрузка на террасах, стилобатах при невозможности въезда на них транспорта должна приниматься по СНиП 2.01.07-85 (толпа людей, складирование товаров на разгрузочных площадках магазинов, платформах складов и т.п.).
В остальных случаях, включая расчет стен подвалов, при отсутствии в здании данных о конкретных нагрузках расчетная нагрузка должна приниматься равномерно распределенной, равной 10 кПа, которая включает в себя автомобильную нагрузку Н-10.
3.9.11. Для подпорных стен, имеющих архитектурное значение, обязательно должен проводиться расчет по деформациям с определением разности осадок основания в поперечном и продольном направлениях и крена. Предельная величина крена i = 0,005.
В проекте следует назначать строительный наклон стены обычно в сторону засыпки, который по верху стены должен быть не менее 20 мм.
3.9.12. Стены подвалов зданий необходимо проверять на устойчивость в период эксплуатации и в процессе производства работ.
Требования по обеспечиванию устойчивости стен подвалов в процессе производства работ должны приводиться в чертежах фундаментов.
3.9.13. Для обеспечения устойчивости тонких стен (уголковых, шпунта, "стена в грунте") могут назначаться контрфорсы, грунтовые анкера или распорки.
При наличии дополнительных опор и для коротких стен расчетная схема принимается в зависимости от расположения опор. Для стен подвалов при соотношении длины к высоте более 2 рекомендуется принимать заделку стены в уровне сопряжений с плитой частью фундамента или в уровне подошвы фундамента и шарнирную опору в уровне перекрытия над подвалом. При более частом примыкании поперечных стен может учитываться работа стены на изгиб в горизонтальном направлении.
Конструкция подпорных стен
3.9.14. Глубину заложения подпорных стен, стилобатов, террас и уступов от планировки рекомендуется назначать 0,6-0,9 м с устройством тщательно уплотненной подушки из крупного или среднезернистого песка, гравийно-песчаной смеси или щебня. Низ подушки должен назначаться на глубине промерзания грунта или в зависимости от залегания грунта, принятого за основание. Размеры подушки в плане должны соответствовать в условиях слабых грунтов указаниям разд. 3.4. При наличии грунтовых вод выше подошвы подушки ее необходимо дренировать.
3.9.15. Температурные швы в подпорных стенах назначаются в зависимости от конфигурации в плане, но не реже, чем через 40 м.
3.9.16. Все вертикальные швы кладки подпорных стен из бетонных блоков должны быть тщательно заполнены раствором. Со стороны гидроизоляции швы необходимо затирать цементным раствором, углы уступов и в поворотах стены закруглять; при оклеечной изоляции радиус закругления должен быть не менее 100 мм, при обмазочной - 50 мм.
Облицовка поверхностей плитами из естественного камня или керамики по фасаду должна иметь горизонтальные и вертикальные швы толщиной не более 10 мм с полным заполнением раствором швов и пространства между плитами и конструкцией стены, которое должно быть более 10 мм.
3.9.17. Поверхности подпорных стен со стороны засыпки должны защищаться гидроизоляцией. При неагрессивных грунтовых водах допускается обмазка горячим битумом два раза. Низ гидроизоляции должен быть на 500 мм ниже пристенного дренажа (рис. 3.26). Верхняя плоскость стенки должна гидроизолироваться цементным раствором с железением или облицовкой.
Дренаж (рис. 3.26) рекомендуется делать в уровне нижней площадки, с выпуском воды на поверхность планировки или ниже в ливневую канализацию. Дренаж выполняется из щебня или гравия с продольным уклоном к водоотливным устройствам.
3.9.18. Обратную засыпку пазух подпорных стен необходимо делать из чистого крупного или средней крупности песка, с тщательным уплотнением (коэффициент уплотнения 0,95).
При устройстве
подпорных стен в глинах, суглинках или супесях расстояние от наружной
поверхности стены и от планировки нижней площадки до поверхности
пылевато-глинистого грунта, особенно сильнопучинистого, и подошвы стенки должно
быть не менее глубины промерзания
(рис. 3.25).
Общие положения
3.10.1. Проектирование подземных конструкций, устраиваемых способом "стена в грунте", должно выполняться в соответствии с рекомендациями "Руководства по проектированию стен сооружений и противофильтрационных завес, устраиваемых способом "стена в грунте"* и настоящих ТСН.
__________
* В дальнейшем конструкции, устраиваемые способом "стена в грунте", именуются для краткости - "стена в грунте".
3.10.2. "Стена в грунте" представляет собой бетонную или железобетонную конструкцию, устраиваемую в узких траншеях шириной до 800 мм и глубиной обычно до 30 м под защитой глинистого раствора.
3.10.3. Применение способа "стена в грунте" рекомендуется для устройства подземных помещений различного назначения (глубоких подвалов и подземных этажей), фундаментов, особенно при строительстве в стесненных условиях и примыканиях к существующим зданиям и сооружениям, ограждений котлованов глубиной более 5 м.
3.10.4. Стены подземных сооружений, выполняемые способом "стена в грунте", должны, как правило, заглубляться в водоупорный слой грунта, что дает возможность полностью отказаться от открытого водоотлива или водопонижения.
В гидрогеологических условиях С.-Петербурга в качестве водоупора могут быть использованы кембрийские глины, моренные суглинки, ленточные глины и суглинки при наличии пригрузки грунта больше величины гидростатического давления в прослоях песка и супеси в ленточных отложениях.
3.10.5. Для подземных сооружений, возводимых способом "стена в грунте", инженерно-геологическое строение и гидрогеологические условия площадки должны быть изучены на глубину не менее чем на 10 м ниже подошвы стены.
Материалы инженерно-геологических изысканий должны содержать разрезы и буровые колонки с количественной и качественной оценкой встречаемых крупных включений, водосодержащих прослоек и линз.
3.10.6. Проектом должны быть предусмотрены работы по очистке дна траншей от шлама разрабатываемого грунта и раствора глины, а также возможных вывалов грунта. В случае необходимости (траншейные фундаменты и др.) проектом должно быть предусмотрено уплотнение грунта основания втрамбовыванием щебня или бетонной смеси класса В10.
Расчет "стена в грунте"
3.10.7. При расчете стен подземных помещений и фундаментов, устраиваемых способом "стена в грунте", учитываются нагрузки и воздействия, возникающие в условиях строительства и эксплуатации возводимых сооружений, а также от сооружений, расположенных вблизи от них.
3.10.8. Нагрузки, коэффициенты надежности по нагрузке и сочетания нагрузок должны приниматься по СНиП 2.01.07-85 с учетом дополнительных требований, приведенных в "Руководстве по проектированию "стен в грунте" и разд. 3.1 и 3.9 настоящих ТСН.
3.10.9. В процессе проектирования "стен в грунте", кроме расчета по несущей способности и деформациям, должны производиться: подбор состава глинистого раствора в соответствии с требованиями "Руководства по расчету "стен в грунте", определение допустимой длины одновременно отрываемого участка (захватки) траншей и устойчивости ее стен.
3.10.10. Длина захватки траншей назначается из условий устойчивости массива грунта, прилегающего к траншее, от нагрузок, расположенных на поверхности грунта, и фундаментов соседних сооружений (рис. 3.27), расположенных в пределах призмы обрушения.

Рис. 3.27. Расположение нагрузок вблизи траншеи:
1 - фундамент за призмой обрушения; 2 - фундамент в
пределах призмы обрушения;
3 - равномерно распределенная нагрузка на поверхности;
4 - плоскость обрушения, ![]()
3.10.11. Устойчивость стен траншей в случае отсутствия нагрузок на поверхности грунта в зоне призмы обрушения будет обеспечена при условии
, (3.24)
где
,
,
-
соответственно горизонтальное давление глинистого раствора, грунта и грунтовых
вод, определяемые по "Руководству по проектированию "стен в
грунте".
Устойчивость стен траншей в случае необходимости может быть обеспечена за счет повышения плотности глинистого раствора, разницы уровней раствора и подземных вод, а также за счет уменьшения длины захватки.
3.10.12. Устойчивость стен траншей, в том числе при наличии нагрузки на призме обрушения, будет обеспечена при соблюдении условия
, (3.25)
где
,
- коэффициенты условий
работы и надежности, определяемые по СНиП
2.02.01-83; F - расчетная
нагрузка, действующая в пределах призмы обрушения;
- сила предельного
сопротивления основания, определяемая по п. 3.10.13 настоящих указаний.
3.10.13. Сила
предельного сопротивления
может определяться
исходя из условия предельного равновесия грунтовой среды любым методом,
позволяющим учесть пространственную работу грунта, в том числе аналитически, по
программе, разработанной во ВНИИГС на основе усовершенствованного метода
круглоцилиндрических поверхностей скольжения с учетом трения по боковой
поверхности сдвигаемого массива грунта.
3.10.14. Расчет напряженно-деформированного состояния железобетонных стен сооружений, выполняемых способом "стена в грунте", должен производиться по рекомендациям "Руководства по проектированию "стен в грунте".
3.10.15. Несущая способность по грунту фундамента, выполненного способом "стена в грунте" (траншейный), опирающегося на сжимаемое основание и воспринимающего вдавливающую нагрузку, определяется по СНиП 2.02.03-85 как для буровой сваи, бетонируемой под глинистым раствором, с учетом рекомендаций п. 3.10.7 настоящих ТСН.
3.10.16. Расчетное сопротивление грунта основания R под нижним концом траншейного фундамента принимается по указаниям СНиП 2.02.03-85 при условии назначения операций, гарантирующих сохранение прочностных свойств грунта основания траншей (удаление шлама, уплотнение забоя, улучшение качества грунта в забое путем втрамбовывания гравия, щебня или бетонной смеси). Если проектом указанные операции не назначаются, значение R уменьшается на 50 %.
3.10.17.
Расчетное сопротивление по боковой поверхности траншейного фундамента
определяется по
указаниям СНиП 2.02.03-85 как для
буровых свай, изготавливаемых под глинистым раствором, если бетонирование
траншеи выполняется в течение суток после ее разработки под глинистым
раствором.
Если
бетонирование траншеи произведено за 2 суток и более, значение
снижается на 30 %.
Сопротивление грунта по боковой поверхности следует учитывать с обеих сторон
только на участке ниже дна котлована, отрываемого для сооружения.
3.10.18. Расчет траншейных фундаментов и их оснований по деформациям производится, как для свайных фундаментов, в соответствии с требованиями СНиП 2.02.03-85.
3.10.19. Несущая способность траншейного фундамента по грунту должна проверяться испытаниями статической нагрузкой в соответствии с ГОСТ 5686-78 и рекомендациями гл. 2 настоящих ТСН.
Конструкция "стен в грунте"
3.10.20. Конструктивные схемы стен подземных помещений назначаются в зависимости от размеров сооружений, их конфигурации в плане, характера и величины расчетных нагрузок, гидрогеологических условий строительства и др.
Рекомендации по выбору конструктивной схемы "стен в грунте" приведены в "Руководстве по проектированию "стен в грунте".
3.10.21. В случаях, если устойчивость стен в процессе строительства не обеспечивается заделкой их в грунте, рекомендуется:
при расстоянии между параллельными стенами до 15 м применение распорных конструкций;
при размерах, когда установка распорных конструкций невозможна или нецелесообразна, а также при неустойчивости стен в период эксплуатации рекомендуется предусматривать анкера (см. разд. 3.11).
3.10.22. "Стены в грунте" могут проектироваться различного очертания в плане из монолитного или сборного железобетона, а также сборно-монолитные. Выбор типа производится на основании технико-экономического сопоставления вариантов. Фундаменты типа "стена в грунте", работающие на вертикальные нагрузки, допускается назначать бетонные без армирования. Класс бетона по прочности на сжатие для стен назначается не менее В7.5.
3.10.23. Траншею при устройстве "стен в грунте" необходимо разбивать на отдельные захватки, отрываемые и бетонируемые с разрывами через одну. Рекомендуется назначать длину захватки 3-6 м.
Если грунт не меняет свои свойства при динамике, при устройстве "стены в грунте" вблизи существующих зданий или сооружений ее следует делать в виде секущихся свай. Разбуренные под глинистым раствором скважины должны немедленно заполняться бетонной смесью.
3.10.24. Стыки между захватками бетонирования назначаются в зависимости от условий устойчивости массивов грунта, прилегающего к траншее и статической работы стен подземных сооружений, в соответствии с рекомендациями "Руководства по проектированию стен в грунте".
В качестве ограничителей захваток, в зависимости от конструкции стыка, рекомендуется принимать инвентарные стальные трубы, опускаемые в траншею на границе захватки и извлекаемые после укладки бетона или разграничительные железобетонные элементы, входящие впоследствии в состав стены.
3.10.25. Для армирования несущих стен по расчету применяется сталь горячекатаная периодического профиля класса А-П по СНиП 2.03.01-84.
Арматурный каркас должен иметь размеры: длину на 20-30 см меньше глубины траншей, толщину на 10-15 см меньше ширины траншей и ширину на 10 см меньше длины захватки между ограничителями. В каркасе должны быть предусмотрены проемы для установки бетонолитной трубы.
3.10.26. На чертежах конструкций, выполняемых способом "стена в грунте", кроме общих примечаний и указаний, должны быть приведены размеры захваток, плотность глинистого раствора, сроки заполнения захваток бетоном и другие требования, обеспечивающие прочность и жесткость сооружения.
Область применения и типы анкеров
3.11.1. Грунтовые анкеры - устройства для передачи растягивающих усилий на глубокие слои грунта. Анкера применяются для закрепления: подпорных стен, шпунтовых ограждений и других целей.
3.11.2. Заделку анкеров не допускается осуществлять в торфах, илах, текучих и текучепластичных пылевато-глинистых грунтах.
3.11.3. Анкер состоит из заделки (корня), передающей усилие от закрепляемой конструкции на грунт, тяги - соединяющей закрепляемую конструкцию с заделкой и стопорного устройства (оголовка), закрепляющего анкер на конструкции (рис. 3.28).
Рис.3.28. Схемы анкеров:
а - с разбуренным уширением; б - с инъекционным уширением
3.11.4. Анкеры подразделяются: по направлению тяги - наклонные и вертикальные; по способу образования скважин - буровые с проходкой скважин с обсадными трубами, под глинистым раствором, шнеком и с погружением обсадной трубы забивкой или вдавливанием; по способу устройства - инъекционные (скважина в зоне заделки заполняется цементным раствором под давлением), с разбуренным уширением и цилиндрические (скважина заполняется цементным раствором без избыточного давления); по материалу анкерных тяг - из стержневой и тросовой арматуры; по сроку службы - временные (до 2 лет) и постоянные.
3.11.5. Подпорные стены и ограждения котлованов могут быть закреплены одним или несколькими ярусами анкеров. Число ярусов, шаг, угол наклона, конструкция и размеры анкеров должны определяться расчетом в зависимости от высоты и конструкции закрепляемой стенки, грунтовых условий и несущей способности анкеров.
3.11.6. Тип анкера (см. 3.11.4) должен назначаться исходя из расчетной выдергивающей нагрузки, вида грунтов, условий производства работ, обеспеченности строительной организации необходимыми материалами и оборудованием, на основании технико-экономического сравнения различных вариантов.
Выбор анкера по способу устройства заделки анкера и вида грунтов рекомендуется производить, руководствуясь табл. 3.9.
Таблица 3.9
Рекомендации по выбору типа анкера
|
Песчаные грунты |
Пылевато-глинистые грунты |
|
а) инъекционные анкера с одноразовой инъекцией цементного раствора; |
а) инъекционные анкера с одноразовой инъекцией цементного раствора; |
|
б) то же с двухразовой; |
б) то же с многократной инъекцией; |
|
в) анкера с уширителем, входящим в состав анкера ( |
в) с инвентарным уширителем ( |
3.11.7. Наклон анкеров назначается в зависимости от залегания слоя грунта, пригодного для размещения заделки анкера.
При этом следует
учитывать, что усилие в анкере увеличивается обратно пропорционально
, где a - угол наклона
анкера к горизонту.
3.11.8. Расчет анкеров выполняется по первому предельному состоянию, исходя из заданной величины расчетной выдергивающей нагрузки, определяемой расчетом конструкции, удерживаемой от смещения анкерами.
Производится проверка несущей способности анкера по грунту, по прочности его узлов и стопорного устройства, закрепляющего тягу на конструкции. Установление несущей способности анкеров для стадии рабочей документации должно производиться по результатам испытаний их статической нагрузкой (см. гл. 2).
3.11.9. Расчетная нагрузка на анкер по несущей способности грунта основания Fd должна устанавливаться из условия
, (3.26)
где N - расчетная
выдергивающая нагрузка, полученная в результате расчета конструкции,
удерживаемой грунтовыми анкерами;
- коэффициент
надежности, устанавливаемый в зависимости от класса сооружения и длительности
работы анкеров. Для временных анкеров
= 1,2; для постоянных
= 1,4.
3.11.10. Несущая способность инъекционного анкера по грунту основания может определяться путем подбора по формуле:
где
-
коэффициенты условий работы, принимаемые по СНиП 2.02.03-85,
- как для
свай, работающих на выдергивание, и
- как для буроинъекционных свай;
- длина корня анкера,
выбираемая в пределах 4-8 м;
- расчетные угол
внутреннего трения и сцепление грунта соответственно;
- диаметр
корня анкера;
-
осредненное по боковой поверхности заделки анкера природное напряжение,
определяемое по формуле (3.28);
-
коэффициент, зависящий от отношения диаметра скважины
к диаметру заделки
анкера
, определяемый по формуле
(3.29).
3.11.11.
Величина
определяется по
формуле:
, (3.28)
где
-
средневзвешенное значение по глубине
удельного веса грунта
с учетом взвешивающего действия воды;
- глубина
заложения центра заделки анкера от поверхности грунта (см. рис. 3.28,б);
-
коэффициент бокового давления грунта в природном состоянии, принимаемый для
песков и супесей равным
= 0,43;
для суглинков
= 0,55;
для глин
= 0,72; q - приведенная к равномерно-распределенной в уровне центра
заделки минимальная нагрузка на поверхности и от соседних фундаментов зданий; a - угол наклона
анкера к горизонту.
3.11.12. Величина kp определяется по формуле:
(3.29)
где коэффициенты
,
![]()
здесь
, с1, E0, n -
средневзвешенные значения прочностных и деформационных характеристик грунта,
расположенного по длине заделки.
3.11.13. Для
определения
задаются величиной lk отношениями
, равными: 0,9; 0,6 и 0,3. Для этих значений
и заданному lk определяются величины
по формуле (3.27). Составляется график зависимости
от
. По этому графику, зная величину
, находим отношение
и по ней величину
, которая должна быть обеспечена нагнетанием необходимого
объема цементного раствора в скважину.
3.11.14. Необходимый объем цементного раствора, закачиваемого в скважину для анкеров с пакером, цементной пробки или манжетной трубы, определяется по формуле:
, (3.30)
где n = В/Ц - весовое водоцементное отношение;
- диаметр
тяги или манжетной трубы в зоне заделки анкера; lk - длина инъекционной части анкера
(см. рис. 3.28).
Для анкеров с инъекционной трубкой при повторном инъектировании
. (3.31)
Конструирование анкеров
3.11.15. Рабочая
часть анкеров, закрепляющих подпорные или ограждающие стенки котлованов, должна
располагаться за плоскостью обрушения, проведенной под углом к вертикали
от задней линии
подошвы подпорной или ограждающей стенки.
3.11.16. Анкерные тяги выполняют из стержневой арматуры кл. АIII, АIV, АV, а также из проволочных прядей В-II и Вр-II.
4.1.1. Работы по устройству фундаментов должны выполняться в соответствии с требованиями строительных норм и правил производства и приемки работ:
СНиП 3.02.01-87. "Земляные сооружения, основания и фундаменты";
СНиП 3.03.01-87. "Несущие и ограждающие конструкции";
СНиП 2.03.11-85. "Защита строительных конструкций от коррозии;
с учетом указаний настоящих ТСН.
4.1.2. При устройстве фундаментов на естественном основании должны приниматься все необходимые меры по сохранению природной структуры грунтов в основании, к которым относятся:
а) защита котлована от попадания поверхностных вод:
б) ограждение котлована и грунтов основания водонепроницаемой стенкой (шпунт, "стена в грунте" и т.п.); рекомендуется погружать шпунт ниже дна котлована на глубину, не менее чем в 2,2 раза превышающую разность отметок уровня подземных вод и дна котлована или врезать в водоупорный слой грунта на 1-2 м;
в) снятие гидростатического давления путем глубинного водоотлива из слоев, содержащих подземные напорные воды;
г) временное понижение уровня подземных вод с помощью иглофильтров, водоотлива из скважин-фильтров в песчаных грунтах, электроосмоса в пылевато-глинистых грунтах;
д) исключение динамических воздействий на тиксотропные грунты;
е) защита грунта основания от промерзания.
4.1.3. На выполнение работ по устройству фундаментов и заглубленных сооружений должен быть составлен проект производства работ (ППР), учитывающий время года, грунтовые и другие условия строительной площадки.
Выбор способов производства работ и механизмов производится согласно требованиям СНиП и указаниям разделов настоящей главы, с учетом необходимости экономии материалов, трудовых и энергетических ресурсов.
4.1.4. До начала отрывки котлована надлежит:
а) выполнить работы по подготовке территории, предусмотренные разд. 4.2;
б) подготовить документацию согласно требованиям п. 4.2.19;
в) произвести подготовительные работы для монтажа фундаментов на естественном основании с учетом обеспечения максимального сокращения разрыва по времени между окончанием земляных работ по зачистке дна котлована и началом монтажа фундаментов.
Если обнаружены расхождения в инженерно-геологических условиях, необходимо произвести дополнительные исследования свойств грунтов и подземных вод.
4.1.5. При возведении в зимний период фундаментов и надземной части здания до подключения отопления грунт основания должен защищаться от промерзания следующими способами:
а) обсыпкой фундаментов грунтом (рис. 4.1), если этот грунт в дальнейшем используется для подсыпки или обсыпка может быть сохранена на период эксплуатации;
б) укрытием грунта утепляющими эффективными материалами;
в) временным утеплением проемов в наружных стенах и перекрытий над подвалом (подпольем), включая лестничные клетки;
г) временным отоплением подвала или подполья.

Рис.4.1. Защита грунта
основания котлована от промерзания
путем обсыпки фундамента грунтом
4.1.6. Глубина промерзания грунта в подвалах или подпольях при теплоизолированных проемах в стенах и перекрытиях определяется по формуле (3.1) гл. 3. Значение kn принимается равным единице, а kh - по табл. 4.1 в зависимости от условного термического сопротивления Ry перекрытия, определяемого по формуле
, (4.1)
где R - термическое сопротивление перекрытия над подвалом или подпольем в период производства работ; t - продолжительность охлаждения подвала или подполья при открывании окон или дверей в долях от продолжительности зимнего периода.
При выполнении работ в подвале или подполье в одну смену допускается принимать t = 0,3.
Таблица 4.1
Значение коэффициента влияния теплового режима kh в зависимости от величины условного термического сопротивления перекрытия Ry
|
Ry |
0 |
0,1 |
0,2 |
0,2 |
0,6 |
0,8 |
1,0 |
|
kh |
1,0 |
0,88 |
0,77 |
0,61 |
0,48 |
0,37 |
0,30 |
4.1.7. В течение всей зимы в период строительства следует проводить систематические наблюдения за температурой и состоянием грунтов, особенно при фундаментах на естественном основании из пучинистых грунтов. Результаты наблюдений фиксируются в журнале производства работ.
4.1.8. Перерывы между окончанием разработки котлована и устройством фундаментов, как правило, не допускаются. При вынужденных перерывах должны быть приняты меры по сохранению природных свойств грунтов (не допускается промерзания и увлажнения грунтов основания).
4.1.9. Запрещается какая-либо обработка грунта (рыхление, разрушение мерзлого грунта и т.п.) ударами шар-молота, клин-молота, а также ковшами "драглайна", если основание сложено водонасыщенными пылеватыми супесями или ленточными суглинками и глинами, а также независимо от вида грунта, если существующие здания находятся ближе 50 м от места работ, а подземные сети ближе 20 м.
4.1.10. Приемка работ по устройству фундаментов производится поэтапно. Акты на скрытые работы (естественное основание, песчаные подушки, закрепленные грунты, свайное поле, "стена в грунте") составляются с участием авторского надзора проектной организации.
4.2.1. Инженерная подготовка территории при ее поднятии может осуществляться:
а) намывом;
б) подсыпкой грунтом, строительным мусором, грунтом из котлованов.
4.2.2. Намыв грунтов производится для повышения отметки поверхности, создания незатопляемых территорий, при замене торфа песком (выторфовывании), на заболоченных территориях.
4.2.3. Инженерная подготовка заболоченных территорий намывом должна выполняться в соответствии с "Инструкцией по намыву территории на торфах", ВСН 385-77/ММСС СССР.
4.2.4. Для намыва территории и оснований зданий и сооружений могут применяться пески всех крупностей и супеси. По результатам исследований предполагаемых карьеров и на основании требований, предъявляемых к характеристикам намываемых грунтов, должен составляться проект производства работ по намыву.
4.2.5. Оценка пригодности грунтов карьера, намеченных к использованию для намыва, должна производиться исходя из условия получения требуемых нормативных характеристик грунтов к заданному сроку начала возведения зданий и сооружений, дорог и подземных коммуникаций и др.
4.2.6. Оценка времени уплотнения намываемого слоя грунта может производиться путем расчета его консолидации. Для расчета могут применяться решения одномерной задачи с учетом постепенности намыва и возможных перерывов (например, в зимний период). Значения коэффициентов фильтрации должны быть для намываемых пылеватых песков в пределах 10-3-10-5 см/с, для пылеватых супесей 10-5-10-6 см/с.
При толщине намываемого слоя до 5 м в случае намыва непылеватых песчаных грунтов практически можно принимать, что при дренировании их уплотнение происходит за период возведения слоя, а для пылеватых песков - в течение одного-двух лет после окончания намыва.
4.2.7. До начала намыва с территории должны полностью удаляться растительный слой, кусты и пни, а также, если это предусмотрено проектом, слабые грунты (торф и т.п.). Подготовленность естественного основания для намыва должна быть проверена и оформлена актами приемки.
4.2.8. При разработке проекта намыва необходимо обеспечить создание однородной по гранулометрическому составу и плотности толщи грунта, если он предназначается в качестве основания. Возможность расслоения грунта по фракциям в процессе намыва, приводящего к неоднородности основания, возрастает с увеличением содержания в намываемом грунте пылеватых и глинистых фракций.
4.2.9. Намыв пылеватых песков и супесей рекомендуется производить, располагая пульповоды на эстакадах, устанавливаемых сразу на полную высоту намываемой толщи грунта; места одновременного выпуска пульпы должны быть наиболее равномерно рассредоточены по всей карте намыва. Равномерность намыва и однородность намываемой толщи грунта должны обеспечиваться периодическим изменением мест выпуска пульпы и мест сброса осветленной воды (открытием и закрытием шандоров водосбросных колодцев).
Намыв непылеватых песков может производиться безэстакадным торцевым способом без изменения места сброса осветленной воды.
Водосборные колодцы рекомендуется располагать за пределами контуров проектируемых зданий и сооружений, по возможности в максимальном удалении от них.
4.2.10. Для ускорения консолидации намываемого слоя пылеватых песков и супесей возможны предварительный намыв или укладка под намываемый грунт дренирующего слоя из непылеватого песка. В этом случае первичное обвалование рекомендуется делать из такого же дренирующего материала.
4.2.11. При намыве песков и супесей под воду следует учитывать образование грунта рыхлого сложения. При толщине слоя намытого под воду грунта большей 1 м необходимо его последующее уплотнение. Для уплотнения намытого в воду грунта можно применять глубинные вибраторы, вибрационную установку ВУУП-6 и глубинные взрывы мелких зарядов. Уплотнение намытых под воду грунтов рекомендуется производить сразу же после окончания намыва. Контроль уплотнения должен производиться по величине осадки территории в процессе уплотнения и по данным статического или динамического зондирования.
4.2.12. Контроль качества выполняемых работ по намыву должен производиться в течение всего периода намыва территории. Проверке подлежат:
а) правильность разработки карьера;
б) гранулометрический состав грунта и концентрация пульпы, подаваемой из карьера на карту намыва;
в) гранулометрический состав грунта, отмываемого с карты через водосборные колодцы, и концентрация взвеси грунта в осветленной воде.
4.2.13. Контроль качества намытых на карту грунтов должен осуществляться путем отбора проб и определения гранулометрического состава и плотности. Образцы должны отбираться не реже, чем через каждые 50 см по высоте намываемой толщи (примерно одна проба на каждые 50-100 куб.м намываемого грунта).
Особое внимание следует обращать на участки возможного образования застойных зон с пылеватыми и глинистыми частицами.
4.2.14. При приемке намытого слоя грунта основания (территории) должен составляться акт о соответствии выполненных работ рабочим чертежам и техническим условиям.
4.2.15. Инженерная подготовка территории участка строительства должна производиться в соответствии с рабочими чертежами, включающими проекты вертикальной планировки, подземных инженерных сетей, дренажных сетей и проект производства котлованных и фундаментных работ.
4.2.16. В комплекс работ по инженерной подготовке территории для устройства фундаментов должно входить:
а) снятие растительного грунта в пределах габаритов зданий или сооружений, примыкающих к ним тротуаров, дорог, участков, подлежащих планировке;
б) выполнение предусмотренных проектом работ по отводу поверхностных вод с застраиваемого участка;
в) подготовка грунтов на участках, предназначенных к разработке в зимний период, путем засоления, рыхления или утепления другими методами.
4.2.17. Снятый растительный грунт в необходимом количестве складируется для работ по озеленению участка в бурты на территориях, где проектом не предусматривается строительство зданий или сооружений, а также дорог и подземных сетей. Остальная часть растительного грунта вывозится в места, назначенные Управлением садово-паркового хозяйства и зеленого строительства мэрии Санкт-Петербурга.
Если не представится возможным вывезти лишний растительный грунт, то он должен быть окучен на свободной территории для длительного хранения.
4.2.18. В состав работ "нулевого цикла" должны входить работы по:
а) вертикальной планировке территории в пределах участка строительства здания или сооружения;
б) устройству инженерных сетей;
в) рытью котлованов и траншей под фундаменты зданий и сооружений;
г) устройству временных дорог и постоянных проездов;
д) устройству дренажной системы;
е) строительству подземной части зданий и сооружений, т.е. устройству фундаментов, стен подвалов, подготовке под полы подвала, монтажу лестниц в подвал и приямков, устройству перекрытий над подвалом, гидроизоляции фундаментов, подвальных помещений и стен, прокладке различных трубопроводов в подпольях и подвалах;
ж) обратной засыпке с уплотнением грунта в пазухах котлованов, устройству отмосток;
з) защите грунтов основания от промерзания при отрывке котлованов, монтаже фундаментов и в период возведения надземных конструкций, если к наступлению морозов подвальные помещения не будут отапливаться. Работы по защите оснований от промерзания производятся в соответствии с разд. 4.1 настоящих ТСН;
и) прокладке подземных коммуникаций (водопровода, канализации, теплосети, газопровода, электроснабжения и телефонизации, радиофикации) на участке строительства зданий или сооружений;
к) установке грунтовых и стенных реперов и по указанию проектной организации марок для нивелировок во время постройки здания или сооружения и в период эксплуатации.
4.2.19. К началу производства строительных работ по устройству фундаментов строительная организация должна иметь следующие документы:
а) государственную лицензию на осуществление строительной деятельности;
б) рабочие чертежи зданий и сооружений, планировочные чертежи, план совмещенных сетей, согласованные со всеми организациями в соответствии с техническим заданием (СЭС, отдел подземных сооружений и др.);
в) разрешение инспекции Госархстройконтроля на производство работ;
г) разрешение отдела технической инспекции Комитета по градостроительству и архитектуре мэрии Санкт-Петербурга;
д) проект производства работ.
4.2.20. При производстве работ строительная организация должна соблюдать правила Госгортехнадзора, требования СНиП III-4-80 "Техника безопасности в строительстве", СНиП 3.03.01-87 "Несущие и ограждающие конструкции", требования отдела технической инспекции Комитета по градостроительству и архитектуре мэрии Санкт-Петербурга, правила производства работ при прокладке и переустройстве подземных сооружений, благоустройстве городских территорий и устройстве дорожных покрытий и положений об охране подземных и наземных инженерных сооружений и зеленых насаждений.
4.2.21. При выполнении работ должны руководствоваться утвержденным проектом производства работ и графиком, в котором должна быть предусмотрена следующая очередность работ:
а) инженерная подготовка территории - выполнение работ, предусмотренных п.п. 4.2.15¸4.2.17;
б) вертикальная планировка территории в зоне строительства;
в) прокладка подземных коммуникаций (при этом, как правило, газопровод и теплосети укладываются после дренажа, канализации и водопровода);
г) устройство временных и постоянных дорог;
д) рытье котлованов и погружение забивных или изготовление набивных свай;
е) строительство фундаментов и других подземных частей зданий или сооружений и устройство прифундаментных (сопутствующих) дренажей;
ж) засыпка пазух с обязательным уплотнением грунта, планировка вокруг фундаментов и устройство отмосток, обеспечивающих отвод поверхностных вод от здания (устройство отмосток по неуплотненному грунту обратной засыпки не допускается).
4.2.22. При производстве работ "нулевого цикла" в зимнее время очередность работ может быть изменена в зависимости от степени готовности работ к началу зимнего периода. Планировка территории, строительство постоянных дорог, устройство отмосток переносятся на теплое время года; устройство полов и другие работы в подвалах выполняются после включения отопления или в теплое время года.
4.2.23. После отрывки котлована производится его приемка комиссией в составе представителей заказчика, проектной, изыскательской и строительной организаций. Комиссия составляет акт приемки основания, в котором отмечает:
а) соответствие грунтовых условий материалам изысканий;
б) сохранность естественной структуры грунтов основания;
в) защиту грунтов от промерзания.
Если грунтовые условия не соответствуют материалам изысканий или имеет место нарушение структуры или промораживание основания, то дальнейшие работы могут осуществляться только после решения проектной организации.
4.2.24. Приемка работ "нулевого цикла" должна производиться, как правило, в два этапа: фундаменты и весь комплекс работ "нулевого цикла".
4.2.25. Первый этап сдачи "нулевого цикла" происходит при приемке фундаментов для строительства надземной части зданий и сооружений и должен осуществляться ведомственной комиссией (контрольно-приемочной комиссией) с участием представителей проектной организации и заказчика.
Генподрядчиком должны быть представлены при сдаче следующие документы:
а) акт треста геодезических работ и инженерных изысканий, подтверждающий правильность посадки здания (сооружения) в плане и по высотным отметкам;
б) акты приемки основания и на скрытые работы по устройству фундаментов и прифундаментного дренажа;
в) разбивочные оси здания, нанесенные на фундамент;
г) акт на сохранение естественной структуры грунтов основания и защиту от промерзания;
д) журнал свайных работ и заключение о предпроектных и контрольных испытаниях свай;
е) исполнительные чертежи подземных коммуникаций в пределах участка сдаваемого объекта;
ж) схема постоянных и временных дорог.
4.2.26. Второй этап сдачи работ "нулевого цикла" состоит в приемке всего комплекса работ "нулевого цикла" при приемке Государственной комиссией здания в эксплуатацию.
Приемка строительных и монтажных работ "нулевого цикла" должна установить и качество выполненных работ, соответствие их рабочим чертежам, требованиям СНиП 3.02.01-87, Пособием к нему и настоящим ТСН.
4.2.27. При сдаче объекта в эксплуатацию по работам "нулевого цикла", кроме документов, указанных в п. 4.2.24, должны быть представлены:
а) утвержденный проект;
б) акт об отводе участка;
в) заключение об инженерно-геологических изысканиях, проведенных на участке;
г) акты о разбивке здания или сооружения;
д) акты о нивелировке отмосток и благоустройстве;
е) акты о приемке в эксплуатацию подземных коммуникаций.
4.3.1. Устройство котлованов для фундаментов на естественном и свайном основаниях следует проводить в соответствии с требованиями СНиП 3.02.01-87.
Дополнительные требования по отрывке котлованов, зачистке его дна и устройству подготовки под фундаменты, зависящие от их конструкции и условий строительства (примыкания и т.п.), изложены в соответствующих разделах настоящей главы.
4.3.2. Размеры котлованов по дну фундаментов на естественном основании назначаются в зависимости от размеров здания и подошвы фундаментов.
При сборных фундаментах к размеру конструкции добавляется в каждую сторону 20 см, при монолитных - 25-30 см. Если предусматривается наружная гидроизоляция (обмазка или оклейка) стен фундаментов, расстояние от конструкции до стен котлована (до крепежа) принимается не менее 70 см.
4.3.3. Откосы котлованов следует принимать по СНиП 3.02.01-87. При отрывке котлованов в застроенной части города стены неглубоких котлованов для сохранения подземных коммуникаций, как правило, выполняются вертикальными, без креплений или с креплением. В обводненных грунтах применяется металлический шпунт.
4.3.4. Учитывая свойства грунтов, залегающих на большей части территории Санкт-Петербурга, для отрывки котлованов следует, как правило, применять землеройные машины, движущиеся по бровке котлована (обратная лопата).
Применение экскаватора типа "драглайн" для разработки котлованов, ниже дна которых залегают пылеватые супеси и ленточные глины и суглинки при показателе текучести IL > 0,75, запрещается.
4.3.5. С целью сохранения структуры грунтов ниже дна котлована при фундаментах на естественном основании, механизированную разработку грунта необходимо заканчивать с недобором, приведенным в табл. 4.2. Разработка части недобора производится согласно указаниям СНиП 3.02.01-87 легкими экскаваторами с зачистным ковшом или легкими бульдозерами, зачистка - вручную.
Таблица 4.2
Рекомендации по недоработке грунта в котлованах при производстве работ механизированным способом
|
Виды грунтов в основании |
Недоборы грунта для фундаментов на естественном основании, см |
Часть недобора, разрабатываемая вручную |
|||||
|
Способ разработки котлована |
|||||||
|
с бровки |
со дна |
||||||
|
Обратная лопата |
Драглайн |
Прямая лопата |
Обратная лопата |
Бульдозер |
|||
|
1 |
2 |
3 |
4 |
5 |
6 |
7 |
|
|
Все виды песков, твердые и пластичные супеси, твердые и полутвердые глины и суглинки (включая ленточные) |
20/20 |
25/25 |
10/10 |
20/20 |
10/10 |
5 |
|
|
Супеси текучие |
30/20 |
50/40 |
30/20 |
30/20 |
30/30 |
10 |
|
|
Глины и суглинки ленточные |
Тугопластичные и мягкопластичные |
25/20 |
40/30 |
30/20 |
35/25 |
30/30 |
7 |
|
Текучепластичные и текучие |
30/20 |
50/40 |
40/30 |
40/30 |
40/30 |
10 |
|
|
Глины и суглинки прочие |
Тугопластичные и мягкопластичные |
25/20 |
40/20 |
25/20 |
35/25 |
30/25 |
7 |
|
Текучепластичные и текучие |
30/20 |
40/30 |
35/25 |
40/30 |
40/30 |
10 |
|
Примечания: 1. Таблица составлена применительно к требованиям табл. 4 СНиП 3.02.01-87.
2. В таблице над чертой дана величина недобора для фундаментов на естественном основании крупнопанельных зданий
4.3.6. Разработку котлована сплошь под всем зданием следует заканчивать ниже уровня низа пола подвала (подполья). Далее грунт выбирается траншеями под фундаменты.
Сплошная разработка котлованов ниже уровня низа пола подвала (подполья) при наличии в основании слабых водонасыщенных грунтов, а также при уровне подземных вод выше подошвы фундаментов или ростверков не рекомендуется.
4.3.7. Зачистка дна котлованов в пределах опирания плит фундаментов на естественном основании (см. табл. 4.2), должна производиться участками по мере возведения фундаментов.
Под свайные ростверки, опирающиеся на грунт, если в проекте фундаментов нет иных указаний, допускается полное удаление недобора механизмами во всех видах грунтов, кроме суглинков, глин и супесей, имеющих показатель текучести IL > 0,75.
4.3.8. Случайные переборы грунта в котловане должны быть заполнены песком (не пылеватым) с трамбованием. Перед укладкой песка дно котлована планируется с уклонами в сторону перебора не более 1/10. Заполнение переборов пылевато-глинистыми грунтами допускается при показателе текучести его IL < 0,5 с выполнением работ в недождливый период года и при глубине перебора до 50 см. Уплотнение грунта должно производиться до плотности, соответствующей природному залеганию. В зимних условиях переборы должны заполняться гравием или крупным чистым сухим песком, нагретым до положительной температуры.
4.3.9. Засыпка пазух котлованов должна производиться минеральным грунтом, полученным при отрывке котлованов, слоями толщиной не более 30 см с послойным уплотнением.
При засыпке пазух котлованов необходимо принимать меры к предотвращению возможного смещения стен фундаментов при односторонней засыпке.
Засыпка пазух на высоту до уровня стояния подземных вод в котловане производится немедленно после монтажа фундаментов. При засыпке пазух пучинистым грунтом под нависающими частями фундаментов и цоколем следует оставлять зазор 10-15 см.
Поверхности засыпки пазух котлованов с наружной стороны придаются уклоны от здания.
4.3.10. Разработка котлованов в зимнее время должна производиться участками с недобором слоя грунта, исключающего промерзание основания до начала устройства фундаментов. В ряде случаев целесообразно для исключения промерзания грунта утеплять дно котлована.
4.3.11. Зачистку дна котлована для фундаментов на естественном основании с удалением промерзшего слоя следует производить непосредственно перед устройством фундаментов на данном участке.
4.3.12. Засыпка пазух котлованов в зимнее время выполняется согласно СНиП 3.02.01-87.
При фундаментах на естественном основании засыпка пазух зимой должна производиться немедленно после выполнения каждого элемента (плиты, ряда сборных блоков).
Снаружи здания количество комьев мерзлого грунта в обратной засыпке не должно превышать 15 % отсыпаемого грунта. Для засыпки котлованов внутри зданий под полы первого этажа или подвала применение мерзлого грунта не допускается.
4.3.13. Грунт основания ниже дна котлована должен быть защищен от промерзания. Особые меры по защите от промерзания необходимо принимать при основании, сложенном сильнопучинистыми грунтами (ленточные глины и суглинки, супеси, суглинки и глины с линзами и прослоями хорошо фильтрующих грунтов), а также независимо от грунтов при отрывке котлованов для крупнопанельных зданий.
4.3.14. Защита грунта естественного основания ниже дна котлована от промерзания может быть обеспечена следующими способами:
а) быстрым производством работ по разработке недобора, устройству фундаментов и засыпке пазух. При больших сооружениях эти работы рекомендуется делать отдельными участками;
б) покрытием дна котлована слоем утеплителя (засыпки, утепляющие материалы и др.), толщина которого определяется теплотехническими свойствами утеплителя. Утепляющая засыпка или маты удаляются непосредственно перед укладкой фундаментных блоков;
в) электроподогревом грунта - пропусканием тока через электроды, забитые в грунт, или по проводникам, уложенным на поверхность грунта, под песчаный выравнивающий слой или бетонную подготовку;
г) устройством инвентарных тепляков.
Засоление грунта для предотвращения промерзания основания под фундаменты в местах, где возможна электроэрозия, не допускается.
4.3.15. При необходимости выполнения работ по водопонижению места и порядок сброса воды при откачке ее из котлована или иглофильтров должны быть согласованы с соответствующими организациями. Допускается сброс воды на поверхность территории не ближе 100 м от откапываемого котлована. Вода должна отводиться с площадки строительства сточными канавами или ливневой канализацией.
4.3.16. Систему осушения котлованов следует назначать в зависимости от инженерно-геологических, гидрогеологических условий участка и общих мер по осушению территории строительства.
4.3.17. До отрывки котлована должны быть осуществлены меры по предотвращению стока в него атмосферных вод с территории строительства путем обвалований, проникновения воды из соседних водоемов, по устройству уклонов поверхности от котлована, или канав, и пр.
4.3.18. При отрывке котлованов ниже уровня подземных вод водоотлив должен быть организован так, чтобы обеспечить сохранность структуры грунта основания сооружения.
Водоотлив не должен создавать опасности нарушения существующего состояния грунта основания соседних зданий. При необходимости для сохранения положения уровня подземных вод соседние участки следует ограждать шпунтовыми стенками и производить долив воды.
4.3.19. Не допускается застаивание воды в котлованах. При небольшом притоке подземной воды систематическое удаление ее должно производиться из специально устроенных колодцев, уровень воды в которых должен поддерживаться на 30 см ниже отметки дна котлована. Колодцы должны устраиваться вне площади подошвы фундаментов.
4.3.20. При отрывке котлованов ниже уровня подземных вод в ленточных глинах и суглинках необходимо для снятия гидростатического давления в песчаных и супесчаных прослойках устраивать по периметру котлована песчаные вертикальные дрены (скважины) на глубину ниже его дна, равную разности отметок уровня подземных вод и дна котлована.
4.4.1. До начала работ по устройству фундаментов на естественном основании производится обследование дна котлованов согласно п. 4.2.22 для установления соответствия грунтов основания, принятым в проекте.
4.4.2. При обнаружении расхождения между данными буровых изысканий и фактическим состоянием грунтов основания должны производиться дополнительное обследование грунта и, в случае необходимости, уточняться конструкции фундаментов или определяться меры усиления основания.
4.4.3. При устройстве фундаментов, с учетом морозного пучения грунтов, залегающих на территории С.-Петербурга, рекомендуется работы по отрывке котлованов и устройству фундаментов производить в период с положительными температурами наружного воздуха.
Необходимость устройства фундаментов в зимнее время в каждом случае должна быть технически и экономически обоснованной. Для особо ответственных сооружений решение о проведении работ по устройству фундаментов в зимнее время должно быть подтверждено специальными исследованиями.
4.4.4. При устройстве фундаментов на естественном основании в зимнее время при наличии в основании сильнопучинистых грунтов (ленточные глины и суглинки, супеси, суглинки и глины с линзами и прослойками хорошо фильтрующих грунтов) проектом производства работ должны быть предусмотрены особые меры, исключающие промерзание грунтов основания в процессе отрывки котлованов, устройства фундаментов и возведения надземной части здания или сооружения до пуска отопления подвала или подполья или наступления теплого времени года.
Для устройства фундаментов в таких грунтах при особо ответственных сооружениях возможно применение тепляков или электроподогрева грунта.
4.4.5. При устройстве фундаментов на естественном основании в теплое время года, остающихся на зимний период без обогрева подполья или подвала, поверхность грунтов должна быть утеплена, причем утепление должно быть выполнено до 1 ноября при сильнопучинистых грунтах в основании и, как правило, не позже 1 декабря при прочих грунтах.
При наличии в основании сильнопучинистых грунтов планировочные работы вокруг строящегося здания и отмостки должны быть выполнены до 1 ноября.
Во всех случаях устройства фундаментов должен быть обеспечен отвод атмосферных и поверхностных вод от здания или сооружения.
4.4.6. Устройство фундаментов на промороженном основании из пылевато-глинистых грунтов, мелких или пылеватых песков, а также на покрытом снегом или водой (льдом) запрещается.
4.4.7. Поврежденный при промораживании или замачивании грунт основания должен быть удален и заменен песком (в зимних условиях подогретой гравийно-песчаной смесью) с уплотнением. Необходимость замены и степень уплотнения подлежит согласованию с проектной организацией.
4.4.8. Монтаж сборных фундаментов, как правило, должен производиться кранами, движущимися по бровке котлована. При монтаже кранами, движущимися по дну котлована, необходимо тщательно следить за сохранностью основания, не допуская движения крана по участкам грунта, на которые устанавливаются фундаменты.
Не допускается движение кранов по дну котлована при наличии в основании грунтов, насыщенных водой, пылеватых супесей, суглинков и глин с показателем текучести IL > 0,5, погребенного торфа или заторфованных грунтов.
Установка плит сборных фундаментов при этих грунтах должна производиться плавно, без ударов, во избежание разрушения структуры грунтов основания.
4.4.9. Под плиты сборных фундаментов производится выравнивающая подсыпка из крупного или средней крупности песка толщиной 50-100 мм. При песчаных грунтах выравнивание основания производится местным песком.
В зимних условиях выравнивающая подсыпка толщиной более 10 см выполняется из гравия или гравийно-песчаной подогретой смеси и укладывается немедленно после зачистки основания. Особо тщательно надлежит выравнивать по длине подготовку основания под фундаменты крупнопанельных зданий.
4.4.10. Выравнивание песчаной подсыпки производится по маячным рейкам (см. рис 4.2). В местах, где толщина подсыпки превышает 100 мм, нижняя ее часть должна уплотняться трамбованием, вибрированием или укаткой. При уплотнении нельзя допускать нарушение природной структуры подстилающего слоя грунта.
Отклонение верха выравнивающей подсыпки от проектной отметки должно быть не более 10 мм.

Рис. 4.2. Выравнивание песчаной подсыпки по маячным рейкам:
1 - маячные рейки; 2 и 3 - соответственно нижний и верхний слои подсыпки
4.4.11. При монтаже сборных фундаментов, особенно для крупнопанельных зданий, необходимо тщательно следить за опиранием их на песчаную подсыпку по всей плоскости контакта.
4.4.12. Армированные швы по верху фундаментных подушек сборных ленточных фундаментов выполняются по рабочим чертежам проекта с соблюдением СНиП 3.03.01-87 и следующих указаний:
а) швы между блоками прерывистой подушки до укладки арматуры заполняются грунтом и в верхней части на толщину 4 см заделываются цементным раствором по ширине на 10 см больше толщины стеновых блоков фундаментов;
б) арматура до укладки обязательно выправляется;
в) крайние стержни арматуры должны отстоять от граней стеновых блоков фундаментов вовнутрь не менее чем на 3 см;
г) все стыки арматуры и сопряжения ее в углах и пересечениях лент фундаментов должны быть сварены на участке длиной не менее 10d или выполнены внахлестку с перепуском стержней не менее 30d. В одном месте допускается стыкование не более двух стержней;
д) арматурные сетки укладываются продольной арматурой вверх. Стыки выполняются по проекту.
После приемки уложенной арматуры должна немедленно производиться укладка раствора с выравниванием верхней плоскости по маякам, устанавливаемым при нивелировке верха плит. Отклонение от проектной отметки верха шва допускается не более минус 10 мм.
Устройство швов из цементного раствора по верху плитных блоков толщиной более 20 мм методом замораживания не допускается.
4.4.13. Установка стеновых блоков или панелей фундаментов производится на пластичном цементном растворе с применением пластифицированного цемента или с пластифицирующими добавками при тщательном заполнении вертикальных швов бетоном класса В 7,5.
При отсутствии специальных указаний в проекте блоки стен укладываются с перевязкой не менее 40 см.
4.4.14. Выравнивающий пояс по обрезу сборных блочных фундаментов устраивается из цементного раствора или бетона (в зависимости от толщины) в опалубке, верх которой выравнивается по нивелиру с отклонением от проектной отметки не более минус 10 мм.
При панельных стенах фундаментов до устройства выравнивающего слоя или армированного пояса производится соединение сваркой закладных деталей и защита их от коррозии в соответствии с проектом.
4.4.15. При устройстве монолитных железобетонных и бетонных фундаментов уплотнение подготовки при влажных ленточных глинах, суглинках и слабых пылеватых супесях рекомендуется производить укаткой легкими катками или ручными трамбовками. В случае необходимости под подготовку укладывается слой песка в качестве временного пластового дренажа. Отклонение отметки верха подготовки от проектной отметки не более 10 мм.
4.4.16. При бетонировании консольных конструкций фундаментов (под крыльца, низкие пристройки, у примыкания к существующим фундаментам и т.п.) необходимо обеспечивать предусмотренный проектом зазор между грунтом и опалубкой нижней грани консолей, но не менее 15 см.
4.4.17. При устройстве обмазочной или оклеечной гидроизоляции фундаментов необходимо тщательно следить за непрерывностью слоя, особенно при агрессивных подземных водах.
В случае, если плиты сборных фундаментов поступают на площадку строительства обмазанные или пропитанные гидроизоляционными составами, надлежит после заполнения швов (промежутков) между ними раствором произвести обмазку их битумом за 2 раза.
4.5.1. При устройстве свайных фундаментов следует руководствоваться СНиП 3.02.01-87, Пособием к нему и настоящим ТСН. Все работы, связанные с погружением свай молотами, должны проектироваться с учетом рекомендаций "Руководства по производству свайных работ, эксплуатации копров и копрового оборудования и технике безопасности при устройстве свайных фундаментов" ЦНИИОМТП (М.: Стройиздат, 1980).
4.5.2. Технология погружения свай должна устанавливаться из условия обеспечения эффективного внедрения свай в грунт, получения их наибольшей несущей способности, недопущения разрушения самих свай и окружающих строений, исключения вредного влияния на окружающую среду.
4.5.3. Бездефектное (безотходное) погружение свай на проектные отметки обеспечивается при соблюдении условия
n < nlim, (4.2)
|
где n |
- |
потребное количество ударов молота для погружения сваи на проектную глубину; |
|
nlim |
- |
ударная стойкость свай, т.е. предельно возможное число ударов данного молота, по превышении которого в голове сваи начинают возникать недопустимые дефекты (см. прил. 5). |
4.5.4. При несоблюдении условия (4.2) необходимо: изменить параметры работы свайного молота или заменить его; применить другую конструкцию наголовника или размеры и материал прокладок; применить более ударостойкие сваи либо сваи, более легко погружающиеся в грунт; изменить технологию погружения, т.е. применить мероприятия по облегчению погружения свай - подмыв, электроосмос, устройство лидерных скважин.
4.5.5. По выбранному молоту и параметрам сваи подбираются копровая установка и вспомогательные машины. Технологические схемы перемещения копра по участку работ при забивке свай назначаются в зависимости от схемы свайного поля и типа примененной копровой установки. Продолжительность работ по погружению свай устанавливается по ЕНиР - 12 "Свайные работы" по данным чистого времени забивки сваи (см. формулу (4) прил. 5).
4.5.6. Для устройства ростверков головы забитых свай подготавливаются в зависимости от принятой в рабочих чертежах конструкции соединения свай с ростверком.
4.5.7. Установка для вдавливания свай должна обеспечивать усилие вдавливания свай Fpr, равное
, (4.3)
|
где |
- |
требуемая несущая способность сваи, кН(т); |
|
|
- |
коэффициент, определяемый в зависимости от показателя текучести грунта IL: |
|
IL |
0,2 |
0,2-0,3 |
0,3-0,5 |
0,6-0,8 |
|
|
1,1 |
0,8 |
0,6 |
0,55 |
4.5.8. Разбивочные работы выполняются и закрепляются в соответствии с инструкцией по выполнению геодезических работ. Количество мест забивки свай должно обеспечивать работу установки в течение смены.
4.5.9. При поступлении свай на площадку они должны приниматься мастером с проверкой документации на их изготовление, наружным осмотром и выборочной проверкой прочности бетона свай неразрушающими методами. Складирование свай следует производить согласно ППР.
4.5.10. Подъем сваи на копер должен производиться с помощью траверсы и тросов по схемам, приведенным в "Руководстве по производству свайных работ" ЦНИИОМТП (М.: Стройиздат, 1980).
4.5.11. При забивке свай
молотами должны применяться сварные или литые наголовники, соответствующие
поперечному сечению сваи (зазор не более 10 мм с каждой стороны), с проектными
параметрами прокладок
и Ep, отвечающими условию бездефектного погружения свай (см. прил. 5).
4.5.12. Копер при установке на точку забивки должен быть точно выверен в плане, а направляющая стрела находиться в строго вертикальном или заданном наклонном положении. Погружение свай должно начинаться при наименьшей высоте подъема молота. При дальнейшей забивке высота падения молотов принимается в соответствии с расчетами по обеспечению бездефектного погружения свай (см. прил. 5) при обеспечении центрального удара молота и контроле правильности погружения свай.
Для повышения производительности, уменьшения затрат времени, сохранения целостности свай погружение их молотами должно производиться без перерывов в водонасыщенные суглинки и глины и с перерывами в пылеватые пески (перерывы до 15 мин назначаются, когда очень затрудняется процесс погружения свай).
4.5.13. Весь процесс погружения свай должен фиксироваться в журнале погружения свай с подсчетом ударов на каждый метр погружения сваи (а в конце погружения на каждые 10 см) или записываться отказомерами. Одновременно записывается также средняя высота падения ударной части молота.
4.5.14. Погружение свай
следует производить в соответствии с указаниями проекта под заданные отметки
или по согласованию с проектной организацией до одинакового отказа. Для более
точного определения конечного отказа с учетом последующего засасывания свай в
пылевато-глинистые грунты, в формулы (23) и (24) п. 8.37 Пособия к СНиП
3.02.02-83 вместо величины
(где
- несущая способность
сваи, кН;
= 1,4 - коэффициент
надежности) необходимо поставить величину
, где
- коэффициент
засасывания сваи в данном грунте. Здесь
и
- несущая способность
сваи, определяемая при статических испытаниях сваи или зонда соответственно в
момент забивки или после отдыха сваи (см. разд. 2.4).
4.5.15. Случаи погружения свай с отклонениями от проекта (сваи, получившие повреждения, сломавшиеся, не добитые более 15 % длины или до несущего слоя, не давшие проектного отказа, имеющие отклонения более допустимого и т.п.) подлежат согласованию с проектной организацией. Забивка "дублей" без согласования не допускается.
4.5.16. Если при забивке свай вблизи существующих зданий и сооружений в последних возникают недопустимые колебания и возможны деформации, забивка свай прекращается и должна быть пересмотрена технология их погружения (например, забивка свай в лидерные скважины, погружение свай вдавливанием).
4.5.17. При выпирании ранее забитых свай из грунта при забивке последующих первые в обязательном порядке должны быть добиты. Необходимость добивки свай до проектной отметки или до проектного отказа должна быть согласована с проектной организацией.
4.6.1. Устройство фундаментов из набивных свай должно производиться по СНиП 3.02.01-87, Пособия к нему и настоящего раздела ТСН.
4.6.2. По способу изготовления набивные сваи СНиП 2.02.03-85 рекомендуется делить на собственно набивные и буровые. Набивные изготавливаются без выемки грунта, а буровые - в пробуренных скважинах с выемкой грунта.
4.6.3. Набивные сваи рекомендуется изготавливать с использованием вибрационных виброударных и ударных установок, а буронабивные - с применением станков ударно-канатного бурения и станков роторного бурения.
4.6.4. При изготовлении набивных свай динамическими методами вблизи существующих зданий можно руководствоваться рекомендациями, изложенными в ВСН 309-84 Минмонтажспецстроя СССР.
4.6.5. Выбор оборудования для изготовления набивных свай рекомендуется производить по табл. 4.3 в зависимости от грунтовых условий и размеров свай.
Таблица 4.3
Оборудование для изготовления набивных свай
|
Вид грунта по длине сваи |
Диаметр сваи, м |
Длина сваи, м |
Тип оборудования |
Технология изготовления свай |
|
|
Способ образования скважин |
Способ бетонирования |
||||
|
1 |
2 |
3 |
4 |
5 |
6 |
|
Неустойчивые пылевато-глинистые и песчаные грунты (без жестких структурных связей) |
325-377 |
3-10 |
В-401 |
С извлекаемыми обсадными трубами, без выемки грунта |
Насухо малоподвижными или умеренно жесткими бетонными смесями, уплотняемыми в процессе извлечения обсадных труб |
|
|
3-12 |
ВП-1 |
|||
|
|
3-15 |
ПВН-1 |
|||
|
426 |
5-10 |
ВП-1 |
|||
|
|
5-15 |
ПВН-1 |
|||
|
530 |
5-12 |
ПВН-1 |
|||
|
630 |
5-15 |
БВС-1 |
С извлекаемыми обсадными трубами и выемкой грунта |
То же или способ ВПТ с вибрированием |
|
|
|
5-20 |
ВП-1 |
|||
|
720-1020 |
8-14 |
ВП-1 |
|||
|
|
10-20 |
ПВН-2 |
|||
|
720-1220 |
10-30 |
БСО-1М |
|||
|
500-600 |
3-20 |
УРБ-ЗАМ УКС-22 УКС-30 |
Под глинистым раствором |
Метод ВПТ или ВПТ с вибрированием |
|
|
800-1200 |
5-20 |
СО-1200 |
|||
|
426 377 |
5-15 3-15 |
ПВН-1 |
Без выемки грунта, пробивкой |
Насухо малоподвижными или умеренно жесткими бетонными смесями, с послойным |
|
|
Устойчивые грунты (с жесткими структурными связями) |
380-500 |
3-15 |
ПВ-380 |
Без обсадных труб, с выемкой грунта |
уплотнением виброгрейфером или глубинным вибратором, методом ВПТ или ВПТ с вибрированием |
|
530(800)* |
5-20 |
ПВ-530 |
|||
|
|
|
ПВ-500 |
|||
|
820-1220 |
3-25 |
ПВ-820 |
|||
|
500-800 |
5-30 |
СО-2 |
|||
|
_______________ * Диаметр сменной заборной части виброгрейфера. |
|||||
4.6.6. Изготовление набивных свай должно выполняться в соответствии с проектом производства работ, в котором должны предусматриваться мероприятия, обеспечивающие изготовление свай в точном соответствии с рабочей документацией. При этом отклонения от проектных размеров не должны превышать величин, указанных в СНиП 3.02.01-87.
4.6.7. Во всех случаях устройства буронабивных свай, в том числе с уширением, перед бетонированием забой скважины должен быть зачищен и уплотнен путем подборки грунта, втрамбования щебня или тощего бетона в количестве 0,2-0,5 м3 (в зависимости от диаметра скважины).
4.6.8. При устройстве набивных свай без выемки грунта рекомендуется в случае необходимости уширения выполнять путем втрамбовывания в грунт основания низа сваи бетонной смеси штанговой трамбовкой, соединенной с вибрационным или виброударным механизмом.
Устройство уширения буронабивных свай может быть выполнено с помощью механического уширителя.
4.6.9. Для обеспечения в скважине или обсадной трубе центровки арматурного каркаса последний должен иметь ограничители. При длине арматурного каркаса меньше длины сваи его необходимо закрепить в проектном положении.
4.6.10. Работы по изготовлению набивных свай могут производиться либо с дневной поверхности грунта (до отрывки котлована), либо со дна открытого котлована. Изготовление набивных свай с использованием извлекаемых обсадных труб можно производить до отрывки котлована, даже если отметки голов свай находятся ниже дневной поверхности грунта. При этом обсадную трубу выше проектной отметки головы сваи следует заполнять местным грунтом или песком.
4.6.11. При изготовлении набивных свай без выемки грунта с использованием обсадных труб рекомендуется применять теряемые башмаки.
4.6.12. Работы по проходке скважин под набивные сваи, изготавливаемые без обсадных труб, должны осуществляться с использованием направляющего устройства.
4.6.13. Бетонолитное оборудование должно выбираться в соответствии с указаниями СНиП 3.03.01-87 в зависимости от принятого способа бетонирования.
4.6.14. Устройство оголовка сваи под проектную отметку необходимо производить немедленно после окончания бетонирования сваи, используя инвентарную разборную опалубку, отрезки металлических и железобетонных труб.
4.6.15. Бетонирование набивных свай в зимнее время следует производить в соответствии с требованиями СНиП 3.02.01-87 и Пособия к нему.
4.6.16. В процессе проходки скважин для изготовления набивных свай должен быть организован контроль качества в соответствии с СНиП 3.03.01-87 и Пособием к нему.
Перед бетонированием методом ВПТ освидетельствование скважины необходимо производить в соответствии со СНиП 3.03.01-87, а составление акта на скрытые работы - в соответствии с рекомендациями Пособия к СНиП 3.02.01-87.
4.6.17. Ростверки надлежит возводить только после приемки работ по погружению и испытанию свай.
При устройстве монолитных ростверков значительных размеров бетонирование производится горизонтальными слоями по всей площади или разбивается на блоки бетонирования.
Устройство массивных монолитных ростверков следует выполнять с учетом заданных расчетом допустимых температурных перепадов по высоте и длине блока.
Монтаж сборного ростверка производится после достижения бетоном замоноличивания оголовков не менее 70 % от проектной прочности в летнее время и 100 % - в зимнее время.
4.7.1. Конструкции зданий или сооружений, около которых откапываются котлованы или траншеи, могут получать повреждения с аварийными последствиями от строительно-технологических причин, оказывающих отрицательное воздействие на грунты оснований существующих фундаментов (табл. 4.4).
Таблица 4.4
Последствия воздействий строительных работ на грунты оснований существующих зданий
|
№ позиции |
Вид воздействия на грунт основания возведенного здания |
Геодинамические процессы |
Отрицательные последствия от выполняемых работ |
|
1 |
2 |
3 |
4 |
|
1 |
Откопка строительного котлована |
выпор грунта в сторону котлована; |
неравномерная осадка; |
|
потеря устойчивости массива грунта с расположенными на нем фундаментами |
то же с аварийным исходом |
||
|
2 |
Строительное водопонижение при откачке воды из открытого котлована или из подземных водозаборов |
суффозионный вынос частиц водой, фильтрующейся в котлован; |
развитие неравномерной осадки; |
|
плывунное разжижение грунта с потерей устойчивости несущих слоев; |
то же с аварийными последствиями; |
||
|
дополнительное уплотнение грунтов основания при понижении уровня подземных вод |
развитие дополнительной неравномерной осадки окружающей котлован территории |
||
|
3 |
Промораживание грунтов под подошвой фундаментов возведенных частей зданий |
развитие нормальных сил морознопучения; |
неравномерный подъем колонн участков стен; |
|
развитие тепловой осадки (просадка при оттаивании); |
неравномерная дополнительная просадка; |
||
|
потеря устойчивости грунта несущего слоя фундамента при оттаивании |
выпор грунта несущего слоя |
||
|
4 |
Динамические воздействия на грунты основания |
развитие уплотнения оснований, сложенных водонасыщенными песками; |
дополнительная неравномерная просадка; |
|
частичный или полный выпор при динамическом разжижении у водонасыщенного песка несущего слоя |
потеря устойчивости основания |
4.7.2. В проектах производства работ по устройству фундаментов около существующих зданий и при возведении зданий или сооружений в несколько очередей должны быть предусмотрены меры по обеспечению устойчивости оснований существующих и ранее построенных зданий (блоков зданий или сооружений), а также меры по предотвращению развития дополнительных осадок от технологических воздействий, вызванных:
а) откопкой строительных котлованов;
б) строительным водопонижением;
в) промораживанием грунтов;
г) вибрацией.
4.7.3. При производстве строительных работ в котлованах, расположенных в непосредственной близости от заселенных жилых домов, а также возле зданий, занятых организациями и учреждениями различного назначения, должны быть использованы такие механизмы и технологии, применение которых не создает вибрации и шума, уровень которых выходит за пределы санитарных норм. Если по каким-либо причинам соблюдение указанных требований не может быть обеспечено, строительная организация обязана до начала работ поставить перед компетентными организациями вопрос о расселении (перерыве в эксплуатации) существующих зданий.
4.7.4. При возведении зданий или сооружений в несколько очередей рекомендуется выполнить работы нулевого цикла по всему пятну застройки или в пределах участков, расположенных в непосредственной близости от блоков первой очереди возведения. В первую очередь рекомендуется возводить фундаменты, имеющие наибольшие заглубления по проекту здания или сооружения, возводимого в несколько очередей.
4.7.5. Если ожидаемая осадка фундаментов близка к предельно допустимому значению, то в разноэтажных зданиях, включающих и относительно высокие дома-вставки, располагаемые между более низкими блоками, рекомендуется в первую очередь возводить надземные конструкции высоких блоков.
4.7.6. При устройстве фундаментов около существующих зданий рекомендуется:
а) сваи и шпунт погружать вдавливанием (см. РТМ 36.44.12.2-90 "Проектирование и устройство фундаментов из свай, погружаемых способом вдавливания" (СПб.: ВНИИГС, 1992); не допускать использования экскаваторов с ковшом драглайн; не рыхлить грунт снарядами типа клин-молот, шар-молот и др.;
б) всемерно сокращать сроки работы в строительных котлованах;
в) не допускать складирования сыпучих материалов, готовых изделий и деталей в непосредственной близости от существующих фундаментов;
г) точно выполнять указания проектов по устройству осадочных швов в наземной и подземной частях смежных блоков зданий, возводимых одновременно; не допускать соприкосновения конструкций этих блоков и заполнения осадочных швов строительными растворами.
4.7.7. При откопке строительного котлована около здания на 0,6 м выше глубины заложения подошвы существующего фундамента допускается производство работ по всему его фронту, при этом необходимо обеспечить:
а) ограничение продолжительности открытого водоотлива (необходимо следить за мутностью воды, поступающей в строительный котлован, принимать меры, предотвращающие вынос частиц грунта из-под существующих фундаментов);
б) предохранение грунта от промерзания ниже подошвы существующих фундаментов при выполнении работ зимой.
4.7.8. При устройстве технологического или разъединительного шпунта около зданий на песчаных грунтах рекомендуется применять метод вдавливания или забивку тяжелыми механическими подвесными молотами, сбрасываемыми с высоты не более 0,5 м. При этом рекомендуется:
а) не использовать шпунтины с поврежденными замками;
б) смазывать замки шпунтин и заполнять их глиной текучепластичного состояния;
в) применять полимерные обмазки поверхности шпунтин для понижения сил трения шпунта о грунт;
г) не погружать "пакетов", состоящих из нескольких шпунтин.
4.7.9. Погружение свай ударным методом на расстоянии менее 20 м от существующих зданий, предусмотренное проектом, следует выполнять с соблюдением требований "Инструкции по проектированию и устройству свайных фундаментов и шпунтовых ограждений в условиях реконструкции промышленных предприятий и городской застройки" ВСН 490-87/ММСС СССР. В таких случаях дополнительно требуется:
а) освободить от работающих или живущих людей секцию здания, расположенную около строительного котлована (т.е. расселить квартиры секции жилого дома);
б) принять меры, предотвращающие обрушение перемычек, вывал кладки и другие опасные повреждения конструкций смежного существующего здания;
в) применять механические тяжелые молоты, масса которых должна в 2-3 раза превышать массу погружаемых свай; высота сбрасывания таких молотов не должна превышать 0,5 м;
г) фронт сваебойных работ должен продвигаться в направлении от существующих зданий.
4.7.10. Погружение свай подмывом допускается не ближе 20 м от существующих фундаментов.
4.7.11. При погружении свай и шпунта методом вдавливания не следует допускать размещения на длительное время балласта и балластных платформ в непосредственной близости от фундаментов существующих зданий.
4.8.1. При реконструкции строительные работы должны выполняться методами, обеспечивающими максимальное сохранение существующих конструкций и подземных действующих коммуникаций, а также минимальное нарушение технологии в реконструируемом объеме. При этом особо тщательно должны учитываться инженерно-геологические условия площадки и специфические особенности работ по реконструкции, к которым относятся:
а) зависимость технологии ведения работ по усилению и устройству фундаментов от состояния несущих конструкций зданий или сооружений;
б) стесненные условия ведения работ;
в) опасность нарушения структуры грунтов в основании существующих загруженных фундаментов в процессе ведения работ;
г) сложность применения индустриальных конструкций фундаментов и современных высокопроизводительных механизмов.
4.8.2. В процессе ведения работ по усилению и переустройству фундаментов при реконструкции следует вести постоянный контроль и проводить наблюдения за осадками и состоянием основных несущих конструкций. Работы должны выполняться строго по захваткам, предусмотренным проектом. Около загруженных фундаментов при отрывке траншей или котлована в толще слабых пылевато-глинистых грунтов на глубину ниже отметки на 0,5 м выше подошвы существующего фундамента необходимо принимать меры, предотвращающие выдавливание грунта из его основания.
4.8.3. При уширении существующих фундаментов для включения в совместную работу новых частей с существующими может быть рекомендована предварительная опрессовка грунтов в основании уширенной части.
4.8.4. После выполнения работ по усилению или переустройству фундаментов на данной захватке следует уложить грунт в пазухи фундаментов с тщательным уплотнением. Эти работы должны выполняться с обеспечением сохранности гидроизоляции фундаментов и рядом расположенных коммуникаций.
4.8.5. При ведении работ в зимнее время необходимо полностью исключить возможность промерзания грунта в основании существующих и вновь возводимых фундаментов. После разборки надземных конструкций разгруженные фундаменты иногда могут получать неравномерные поднятия за счет развития касательных сил пучения. Для исключения поднятия фундаментов силами морозного пучения необходимо производить утепление грунтов около таких фундаментов.
4.8.6. При ведении работ по откопке относительно глубоких траншей в непосредственной близости от зданий либо сооружений, в основании которых залегают слабые грунты, нельзя допускать длительно значительного понижения уровня подземных вод. Слабые грунты при снятии взвешивающего действия воды могут получить существенные деформации, что приведет к осадкам существующих зданий. Кроме того, может возникнуть опасность гниения голов свай и лежней существующих фундаментов.
4.8.7. При подводке нового фундамента особо тщательно должен быть заполнен шов между новой и существующей частями кладки. При обнаружении в основании фундаментов грунтов, не соответствующих принятым в проекте, работы по переустройству фундаментов необходимо приостановить для внесения соответствующих корректив в проект.
4.8.8. При проявлении в процессе ведения работ по усилению либо переустройству фундаментов даже незначительных новых трещин на несущих конструкциях необходимо на них установить маяки и вести систематические наблюдения с записью в журнале результатов наблюдений. Объемы и методика наблюдений в каждом конкретном случае появления деформаций конструкций должны устанавливаться проектной организацией с учетом характера работ, степени опасности обнаруженных деформаций для дальнейшей эксплуатации существующего здания и продолжения работ по реконструкции.
4.8.9. Работы по закреплению грунтов при реконструкции должны осуществляться с учетом требований СНиП 3.02.01-87.
4.8.10. При откопке траншей и котлованов для усиления фундаментов часто возникает необходимость временной их разгрузки. Временные подкосы и другие конструкции, опирающиеся на грунты, должны быть поставлены на встречные клинья или домкраты для включения их в работу даже при осадке грунтов под ними.
4.8.11. Все работы по переустройству и усилению фундаментов связаны с повышенной степенью опасности, в силу чего рабочий персонал должен быть детально проинструктирован. Работы должны производиться либо специализированными организациями, либо под руководством опытного специалиста.
4.9.1. Песчаные подушки рекомендуется устраивать в теплое время года. В зимнее время подушки должны отсыпаться из прогретого гравия или гравийной смеси, крупного или средней крупности песка. Не допускается попадание в подушку смерзшихся комьев гравия, льда и снега.
4.9.2. Песок в подушку должен укладываться слоями по 0,20 м с уплотнением каждого слоя вибрационными плитами, укаткой или трамбованием. Особое внимание необходимо уделять уплотнению песка в углах котлована. Уплотнение песка необходимо выполнять при влажности 0,06-0,10. Для достижения такой влажности уплотняемый слой дополнительно увлажняется разбрызгиванием воды равномерно по всей площади уплотнения.
При устройстве подушки из гравия дополнительного увлажнения не требуется.
При наличии в основании подушки грунтов с неустойчивой структурой (пылеватые супеси, ленточные суглинки и т.п.) пески должны увлажняться до укладки их в котлован или траншею.
Если подушка устраивается ниже уровня подземных вод, то допускается отсыпка песка слоями до 3 м и с уплотнением его виброфлотаторами.
4.9.4. Устройство песчаных подушек относится к скрытым работам и подлежит актированию.
4.9.5. Закрепление грунтов должно выполняться в соответствии с требованиями СНиП 3.02.01-87 и настоящих ТСН.
4.9.6. Качество работ по химическому закреплению грунтов зависит от четкого соблюдения дозирования составляющих гелеобразующего раствора и соблюдения режима инъекции раствора в грунт.
Для уточнения данных, заложенных в проекте, на строительной площадке рекомендуется выполнять опытное закрепление грунтов, на основании которого устанавливаются радиус закрепления, режим инъекции растворов и прочность закрепленного грунта.
4.9.7. Составляющие гелеобразующих растворов готовятся в металлических баках. Баки должны иметь антикоррозийное покрытие (лак № 411, эмаль ХС-3 или др.). Перемешивание химических реагентов с водой может производиться сжатым воздухом, который пропускается через решетку в нижней части бака. Количество воды, л, для получения объема раствора рабочей концентрации рекомендуется определять по выражению
, (4.4)
|
где |
- |
плотность раствора заводской концентрации, г/см3; |
|
|
- |
плотность рабочего раствора, г/с м3; |
|
m |
- |
количество раствора заводской концентрации, л. |
4.9.8. Основными работами являются: погружение инъекторов, приготовление растворов, нагнетание растворов, извлечение инъекторов, тампонирование скважин и др.
4.9.9. Инъекторы рекомендуется погружать в грунт отбойными молотками или при глубинах более 5 м в лидерные скважины. Наращивание инъекторов выполняется секциями глухих труб длиною от 0,5 до 1,5 м. Длина секций устанавливается из условия удобства работ. При необходимости погружения инъекторов наклонно под существующий фундамент угол наклона должен фиксироваться шаблоном.
4.9.10. Перемешивание основного реагента с отвердителем при закреплении пылеватых и мелкозернистых песков целесообразно производить в наголовнике-смесителе в процессе нагнетания раствора в грунт. Наголовник с подключенными шлангами навинчивается на инъектор.
4.9.11. Нагнетание растворов в грунт производится насосами или сжатым воздухом под давлением 0,3-0,6 МПа. Нагнетание раствора должно выполняться циклично по заходкам. После окончания закрепления первого яруса инъекторы погружаются (или приподнимаются) на уровень следующего яруса и повторяется нагнетание следующих порций раствора. Если наблюдается выбивание раствора на поверхность по затрубному пространству или в другом месте, то необходимо устье скважины и место выбивания затампонировать глиной или цементным раствором. При преждевременном отказе поступления раствора в грунт инъектор должен извлекаться, промываться и погружаться вновь.
4.9.12. Извлечение инъекторов рекомендуется производить домкратом или талью, установленной на передвижных козлах. При извлечении наклонных инъекторов домкрат должен быть снабжен поворотной пятой.
4.9.13. При производстве работ должен вестись журнал, в котором фиксируется глубина погружения инъекторов, количество закачанного в каждую заходку раствора и продолжительность нагнетания.
4.9.14. Химическое закрепление грунтов является скрытой работой. Контроль качества должен обеспечиваться проверкой правильности приготовления раствора, наблюдением за интенсивностью поступления раствора в грунт, проверкой прочности грунта на сжатие. Для определения сплошности и прочности закрепленного массива грунта вдоль стен не реже чем через 20 м следует производить контрольное бурение, геофизическое просвечивание или отрывку шурфов с отбором образцов закрепленного грунта и последующим их испытанием на прочность. Результаты должны фиксироваться актом.
4.9.15. При производстве работ необходимо соблюдать правила обращения с кислотами и щелочами. Рабочие должны быть снабжены брезентовой спецодеждой, рукавицами, резиновыми сапогами. Все баки должны иметь крышки. Перемешивание вручную не допускается. Закрытые помещения должны быть снабжены вентиляцией.
4.9.16. Основными работами по электрохимическому закреплению грунтов являются: погружение трубчатых перфорированных электродов, заливка в электроды электролита, пропускание через грунт постоянного электрического тока, откачка воды из катодов, извлечение электродов, сопутствующие работы.
Верхняя часть электродов, не участвующая в закреплении грунтов, должна быть покрыта электроизоляционным материалом, эпоксидной смолой и др.
4.9.17. Погружение перфорированных труб-электродов в грунт рекомендуется производить при глубине до 4 м отбойными молотками, а при больших глубинах и диаметре труб более 80 мм в лидерные скважины. Для удобства работ электроды изготавливаются в виде отдельных секций длиной по 1,5-2,0 м, которые в процессе погружения последовательно навинчиваются друг на друга. Перфорацию труб рекомендуется производить сверлением отверстий диаметром 3-4 мм из расчета не менее 40 отверстий на 1 м трубы.
4.9.18. Пропускание постоянного электрического тока должно производиться круглосуточно в течение 15-30 сут при градиенте падения напряжения 0,5-1,5 В/см и плотности тока в сечении между разноименными электродами в пределах 3-5 А/м2. Для пропускания электрического тока электроды должны оборудоваться клеммами и подсоединяться в цепи проводами по параллельной схеме.
4.9.19. Электролиты рекомендуется приготавливать в баках емкостью по 1,5-2,0 м3, имеющих антикоррозийную защиту. Электролит должен заливаться в трубки анодных электродов в первые две трети времени обработки грунта. Режим заливки обычно диктуется скоростью поступления раствора в грунт; уровень раствора в трубках электродов должен быть на 1 м выше перфорированной части электрода.
4.9.20. Откачка воды из катодных электродов должна производиться насосами по мере ее поступления в трубы. При глубине закрепления до 8 м рекомендуется применять наружные вакуум-насосы, при больших глубинах - погружные насосы.
4.9.21. Катодные электроды рекомендуется извлекать из грунта домкратами или талями. Анодные электроды подвергаются интенсивной коррозии, срастаются с закрепленным грунтом и поэтому, как правило, не извлекаются.
4.9.22. При производстве работ следует руководствоваться правилами работы с электрическими установками. Рабочие должны быть снабжены резиновыми сапогами, перчатками и ковриками. Территория площадки должна быть ограждена и освещена.
4.9.23. В течение обработки грунта должен вестись журнал работ, в котором фиксируется напряжение, сила тока, затраты электроэнергии и электролита.
4.9.24. Качество работ должно контролироваться зондированием, а также бурением контрольных скважин с отбором образцов закрепленного грунта. В лабораторных условиях определяются сцепление грунта и его прочность на сжатие.
4.10.1. Проект производства работ (ППР) способом "стена в грунте" должен включать подробные указания по проведению подготовительных работ, рытью траншей, укладке бетонной смеси под глинистым раствором методом ВПТ, устройству стыков между захватками, а при применении сборной "стены в грунте" - монтажу панелей в траншее, замоноличиванию стыков между панелями и заполнению застенного пространства в соответствии с требованиями СНиП 3.02.01-87 и Пособия к этому СНиП.
4.10.2. Помимо общих вопросов ППР на строительство способом "стена в грунте" должен включать:
состав и показатели качества глинистого раствора;
рекомендации по методам контроля качества глинистого раствора;
рабочие чертежи глиносмесительного узла, включая узел регенерации раствора;
состав и параметры тампонажного раствора и методы контроля его качества;
детальные технологические карты на выполнение всех видов работ;
конструкции нестандартного оборудования и устройств;
мероприятия по технике безопасности;
мероприятия по обеспечению работ в зимнее время года.
4.10.3. Подготовительные работы для устройства "стен в грунте" должны включать:
планировку поверхности строительного участка вдоль траншеи;
размещение временных сооружений для складирования глины, приготовления и регенерации глинистого раствора, площадок для отвалов извлекаемого грунта, дорог, проездов, сети временного энерго- и водоснабжения;
устройство сборной или монолитной обделки устья подлежащей разработке траншеи (форшахты) для придания устойчивости ее стенкам при отрывке.
4.10.4. Разработка траншеи может вестись непрерывно, захватками (участками) или секущимися в плане скважинами. Длина одновременно отрываемого участка траншей должна устанавливаться проектом с учетом рекомендаций гл. 3 ТСН.
При разработке траншей уровень глинистого раствора не должен быть ниже 0,2 м от верха форшахты.
4.10.5. Выбор механизмов для разработки грунта должен производиться с учетом характеристик грунта, степени стесненности участка работ, размеров и конструкции возводимой стенки.
Для условий строительства в С.-Петербурге и его пригородных районах могут быть рекомендованы серийно выпускаемые грейферные экскаваторы Воронежского завода, а также механизмы, выпускаемые отдельными партиями различными министерствами, и механизмы для бурения скважин.
4.10.6. Устройство железобетонных и бетонных "стен в грунте" из монолитного бетона должно осуществляться методом вертикально перемещающейся трубы под глинистым раствором, а в отдельных случаях с применением вибрирования согласно требованиям разд. 7 СНиП 3.02.01-87.
4.10.7. Устройство "стен в грунте" должно выполняться после удаления шлама со дна траншей, уплотнения забоя трамбованием при заполнении бетонной или гравийно-щебеночной смесью.
4.10.8. Устойчивость ограждающих стен при выемке грунта из котлована обеспечивается в случае необходимости распорками или анкерами. Конструкции распорок или анкеров, а также технология их устройства должны быть отражены в ППР.
4.10.9. Приемка готовых подземных частей сооружений и фундаментов, выполненных способом "стена в грунте", должна производиться с проверкой соответствия их показателей по прочности, устойчивости, сплошности и водонепроницаемости, предусмотренных в проекте.
4.10.10. Работы по устройству "стен в грунте" производятся под контролем на различных этапах строительства:
при устройстве форшахты расстояние между внутренними ее гранями должно быть больше ширины рабочего органа траншеекопателя на 100 мм;
глубина траншеи проверяется по всей длине захватки и должна разрабатываться глубже проектной отметки на 200-250 мм;
текущий контроль качества глинистого раствора производится не реже одного раза в смену с отбором проб раствора из траншеи;
перед монтажом сборные железобетонные панели должны тщательно осматриваться и проверяться на их соответствие проекту.
Результаты каждой операции по контролю качества должны отражаться в соответствующих документах.
4.10.11. Техническая документация при устройстве "стен в грунте" должна включать в себя материалы, регламентированные Пособием к СНиП 3.02.01-87.
4.11.1. При устройстве анкеров используется оборудование, указанное в прил. 6 ТСН. Рекомендуется руководствоваться ВСН 506-88/ММСС СССР "Проектирование и устройство грунтовых анкеров". Технология устройства инъекционного анкера со стержневой арматурой с одноразовой инъекцией цементного раствора в рабочую зону (рис. 4.3) следующая:
а) производится планировка грунта в котловане вдоль ограждающей стенки;
б) погружается обсадная труба 1 с теряемым башмаком 2, диаметр которого равен диаметру обсадной трубы (рис. 4.3, а);
в) подготовленная тяга анкера 4 (свободная часть тяги анкера закрыта полиэтиленовой трубкой или покрыта гидроизолом, установлены фиксаторы для центровки анкерной тяги) устанавливается в скважину и с помощью ее выдавливается теряемый башмак (рис. 4.3, б);
г) обсадная труба закрывается специальным колпаком, извлекается на 0,5 м и в рабочую зону нагнетается цементный раствор до поднятия давления 1,0-1,5 МПа или закачивания 100 л раствора (рис. 4.3, в);
д) затем обсадная труба поднимается снова на 0,5 м и повторяются все мероприятия, перечисленные в предыдущем пункте. И так до извлечения трубы на величину рабочей части анкера 5 (4-5 м);
е) после этого давление в системах сбрасывается и обсадная труба полностью извлекается из грунта (рис. 4.3, г);
ж) через 7-8 сут проводятся испытания анкеров и закрепление их на ограждающей конструкции 3.
Рис. 4.3. Технология устройства грунтового анкера со стержневой арматурой с одноразовой инъекцией цементного раствора:
1 - обсадная труба; 2 - теряемый башмак; 3 - стенка
ограждения; 4 - тяга анкера;
5 - рабочая часть анкера
4.11.2. Технология устройства инъекционного анкера с повторной инъекцией цементного раствора в рабочую часть анкера сводится к следующим операциям:
а) производятся операции а), б), в) и г) (п. 4.11.1) как при одноразовой инъекции. Перед погружением в скважину анкерной тяги к последней крепится инъекционная трубка диаметром 14-16 мм с отверстиями через 1 м в рабочей части анкера, которые защищаются от контакта с цементным раствором изоляционной лентой;
б) через 1 сут после подачи раствора в скважину по инъекционной трубке подается вода под давлением примерно до 4,0-6,0 МПа для разрыва затвердевшего цементного раствора. Затем по инъекционной трубке производят инъектирование цементного раствора с В/Ц = 0,5+0,6 объемом 50-150 л под давлением до 3,0-4,0 МПа;
в) через 7-8 сут проводят испытания анкеров и закрепление их на ограждающей конструкции.
4.11.3. Технология устройства анкера в песчаных грунтах с уширением, входящим в его состав, содержит следующие этапы:
а) проходку скважины;
б) сборку и установку анкера с уширителем в скважину;
в) заполнение скважины цементным раствором с В/Ц = 0,5;
г) извлечение обсадных труб на величину рабочей части;
д) подачу анкера в забой на 0,3-0,5 м с вращением для раскрытия уширителя и перемешивания раствора с грунтом;
е) полное извлечение обсадных труб, дозаполнение свободной части скважины тем же цементным раствором. В свободной части анкера тяга защищается полиэтиленовой трубкой от сцепления анкера с цементным раствором;
ж) перерыв в течение 7 сут;
з) испытание анкера и закрепление его на конструкции.
4.11.4. Технология устройства анкера с инвентарным уширителем (в случае пылевато-глинистых грунтов) содержит следующие этапы:
а) проходку скважины без обсадной трубы;
б) разбуривание уширения с промывкой скважины;
в) установку анкера с защитной полиэтиленовой трубкой в пределах свободной части тяги анкера;
г) заполнение скважины цементным раствором с В/Ц = 0,5;
д) перерыв в течение 7 сут;
е) испытание анкера и закрепление его на конструкции.
4.11.5. Оборудование для проходки скважин приводится в прил. 6.
4.12.1. Струйная технология применяется при устройстве противофильтрационных завес (ПФЗ), фундаментных опор и разработке мерзлых грунтов.
В основе этой технологии лежит использование энергии водяной струи для прорезания в грунте полостей, заполняемых в зависимости от назначения конструкции сооружения противофильтрационным или твердеющим материалом.
4.12.2. Сущность струйной технологии заключается в следующем. В предварительно пробуренную скважину опускают специальное устройство-монитор, имеющий одну или несколько пар боковых водяных и концентричных с ними кольцевых воздушных сопел. Подаваемая через сопло (или сопла) под высоким давлением водяная и воздушная струи размывают грунт, образуя прорезь определенной длины. Воздушная кольцевая струя сжатого воздуха отделяет водяную струю от грунтовой воды, чем способствует увеличению ее дальнобойности.
Размытый грунт вместе с водой и воздухом, создающим эрлифтный эффект, выносится на поверхность через специально пробуренную скважину в направлении действия струи (по так называемой сквозной схеме), либо через скважину, в которую опущен монитор (тупиковая схема). При медленном подъеме монитора образуется вертикальная прорезь шириной 5-20 см, одновременно заполняемая через специальные сопла монитора твердеющим раствором.
4.12.3. Область применения струйной технологии по грунтовым условиям - несвязные и слабосвязные грунты, в том числе водонасыщенные. При высоких давлениях воды до 50-70 МПа и расходах до 70 л/мин струйная технология распространяется и на связные грунты. Для подачи воды могут быть использованы буровые растворонасосы с давлением до 6 МПа и расходом до 250-300 л/мин. При таких параметрах и скорости подъема монитора около 0,5 м/мин длина прорези при размыве из одной скважины достигает 4-5 м.
4.12.4. В производственных условиях могут применяться установки "Струя-30" и "Струя-25", созданные институтом Гидроспецпроект, которые могут сооружать противофильтрационные завесы глубиной 25-30 м по двух- и трехкомпонентной технологии. Первая технология осуществляется с одновременной подачей струи закрепляющего раствора и концентричной с ней кольцевой струи воздуха. Вторая выполняется с размывом грунта воздушной струей и подачей закрепляющего расположенного ниже раствора отдельной струей из сопла.
Рекомендуемое
Нормативные значения прочностных и деформационных характеристик и величины расчетного сопротивления грунтов
1. Нормативные значения прочностных и деформационных характеристик грунтов

Рис.1. Номограмма для определения
удельного сцепления сn, кПа, и угла
внутреннего трения
, град., озерно-морских и озерно-ледниковых глинистых грунтов

Рис. 2. Номограмма для
определения сцепления сn, кПа, и угла
внутреннего трения
, град., ледниковых (моренных) глинистых грунтов

Рис. 3. Номограмма для
определения сцепления сn, кПа, и угла
внутреннего трения
, град., нижнекембрийских глинистых грунтов
Таблица 1
Нормативные значения модуля деформации Е, МПа, и временного сопротивления одноосному сжатию Rc, кПа, дочетвертичных отложений
|
Показатель текучести IL |
Модуль деформации |
Временное сопротивление одноосному сжатию |
|
0,20 |
10 |
100 |
|
0,00 |
13 |
140 |
|
-0,20 |
18 |
200 |
|
-0,40 |
26 |
350 |
|
-0,60 |
39 |
600 |
|
-0,80 |
56 |
1200 |
|
-1,00 |
80 |
2400 |
|
-1,20 |
120 |
4200 |

Рис. 4. Номограмма для определения нормативных значений модуля деформации E, МПа, четвертичных глинистых грунтов

Рис. 5. Номограмма для определения нормативных значений модуля деформации Е, МПа, четвертичных глинистых грунтов
Рис.6. Номограмма для определения
удельного сцепления сn, кПа, и угла
внутреннего трения
, град., озерно-морских и озерно-ледниковых глинистых грунтов

Рис. 7. Номограмма для
определения удельного сцепления сn, кПа, и угла внутреннего трения
, град., ледниковых (моренных) глинистых грунтов
Примечания:
1. Характеристики пылевато-глинистых грунтов относятся к
водонасыщенным грунтам, имеющим степень влажности
.
2. Для определения значений
по указанным
номограммам используются нормативные значения
и h.
3. Использование номограмм, представленных на рис. 6 и 7, рекомендовано Государственным предприятием Трест ГРИИ.
Расчетные сопротивления грунтов основания, часто встречающиеся на территории Санкт-Петербурга
|
Песчаные грунты |
|||
|
Виды песчаных грунтов |
Степень влажности |
R0, кПа (кгс/см3), при песках |
|
|
плотных |
средней плотности |
||
|
Пески мелкие |
маловлажные |
400(4) |
300(3) |
|
влажные |
350(3,5) |
250(2,5) |
|
|
насыщенные водой |
300(3) |
200(2) |
|
|
Пески пылеватые с содержанием пылеватых частиц менее 50 % |
маловлажные |
300(3) |
250(2,5) |
|
влажные |
240(2,4) |
180(1,8) |
|
|
насыщенные водой |
180(1,8) |
120(1,2) |
|
|
Пески пылеватые с содержанием пылеватых частиц 50 % и более |
маловлажные |
240(2,4) |
180(1,8) |
|
влажные |
180(1,8) |
120(1,2) |
|
|
насыщенные водой |
150(1,5) |
100(1) |
|
Пылевато-глинистые грунты
|
Виды грунтов |
Коэф. пористости e |
R0, кПа (кгс/см2), при показателях текучести грунта IL |
||||
|
|
0,25 |
0,50 |
0,75 |
1,0 |
||
|
Супеси и суглинки послеледниковые: в том числе с растительными остатками до 10 % |
0,7 |
240(2,4) |
220(2,2) |
180(1,8) |
140(1,4) |
120(1,2) |
|
0,9 |
200(2) |
170(1,7) |
140(1,4) |
120(1,2) |
100(1,0) |
|
|
1,1 |
- |
- |
120(1,2) |
100(1,0) |
80(0,8) |
|
|
1,3 |
- |
- |
100(1,0) |
80(0,8) |
60(0,6) |
|
|
Суглинки и глины озерно-ледниковые, в том числе ленточные |
0,5 |
400(4) |
350(3,5) |
300(3) |
- |
- |
|
0,7 |
300(3) |
250(2,5) |
200(2) |
140(1,4) |
- |
|
|
0,9 |
240(2,4) |
190(1,9) |
140(1,4) |
120(1,2) |
100(1) |
|
|
1,1 |
200(2) |
160(1,6) |
120(1,2) |
100(1) |
80(0,8) |
|
|
Супеси и суглинки ледниковые (моренные) |
0,3 |
800(8,0) |
680(6,8) |
520(5,2) |
400(4) |
- |
|
0,5 |
450(4,5) |
320(3,2) |
260(2,6) |
200(2) |
- |
|
|
0,7 |
300(3) |
250(2,5) |
200(2) |
150(1,5) |
- |
|
Примечания. 1. Значения R0 даны в таблице для ширины подошвы фундамента 1 метр и глубины заложения 2 метра.
2. Для других значений b и d значения R0 вычисляются по формулам приложения 3 к СНиП 2.02.01-83.
3. Значения R0 для пылевато-глинистых грунтов с промежуточными значениями e и IL вычисляются интерполяцией сначала по e, затем по IL.
Рекомендуемое
Нормативные характеристики торфов, часто встречающихся на территории Санкт-Петербурга
|
Наименование характеристик торфов |
Значения
нормативных характеристик различных типов торфов при степени разложения |
|||||||
|
Верховой |
Переходной |
Низинный |
||||||
|
|
|
|
|
|
|
|
|
|
|
Влажность природная W |
10,6 |
8,4 |
5,1 |
7,1 |
6,5 |
5,7 |
5,3 |
3,5 |
|
Относительное содержание органического вещества Iот |
0,93 |
0,95 |
0,96 |
0,88 |
0,88 |
0,74 |
0,70 |
0,44 |
|
Плотность |
0,91 |
0,96 |
1,10 |
0,92 |
0,97 |
0,87 |
0,93 |
1,06 |
|
Удельный вес частиц |
16,2 |
15,9 |
15,6 |
16,7 |
16,8 |
18,6 |
18,8 |
20,4 |
|
Коэффициент пористости e0 |
19,6 |
14,6 |
7,6 |
13,7 |
12,0 |
13,3 |
11,7 |
7,7 |
|
Структурная прочность |
23 |
17 |
15 |
21 |
10 |
28 |
22 |
- |
|
Коэффициент фильтрации k0, см/с |
3,6´10-4 |
1,7´10-4 |
9,0´10-5 |
3,0´10-4 |
1,1´10-4 |
2,7´10-4 |
9,6´10-5 |
5,9´10-5 |
|
Коэффициент изменчивости водопрони-
цаемости |
0,55 |
0,62 |
1,70 |
0,70 |
0,97 |
0,68 |
1,55 |
1,92 |
|
Коэффициент Пуассона |
0,17 |
0,26 |
0,30 |
0,19 |
0,26 |
0,20 |
0,27 |
0,36 |
|
Угол внутреннего трения |
8 |
11 |
13 |
- |
- |
10 |
12 |
14 |
|
Удельное сцепление cn, кПа |
14 |
17 |
10 |
- |
- |
15 |
16 |
14 |
|
Модуль деформации E, кПа, при уплотняющих напряжениях p, кПа: |
|
|
|
|
|
|
|
|
|
10 |
78 |
82 |
123 |
117 |
130 |
128 |
133 |
150 |
|
30 |
73 |
79 |
116 |
94 |
106 |
96 |
120 |
138 |
|
80 |
128 |
131 |
164 |
155 |
162 |
160 |
172 |
180 |
|
Параметр ползучести b при уплотняющих напряжениях p, кПа: |
|
|
|
|
|
|
|
|
|
10 |
0,0067 |
0,0091 |
0,0054 |
0,0054 |
0,0063 |
0,0041 |
0,0058 |
0,0058 |
|
30 |
0,0164 |
0,0147 |
0,0121 |
0,0157 |
0,0170 |
0,0097 |
0,0179 |
0,0147 |
|
80 |
0,0257 |
0,0236 |
0,0173 |
0,0257 |
0,0220 |
0,0281 |
0,0248 |
0,0275 |
Размеры свай и расчетные сопротивления грунтов по боковой поверхности и под нижним концом свай для грунтов Санкт-Петербурга
Таблица 1
Рекомендуемые длины цельных железобетонных свай и свай-оболочек, м
|
Сваи квадратного сечения, мм |
Пирамид. сеч., мм |
Круглые полые диаметром, мм |
Сваи- оболочки диаметром, мм |
||||
|
сплошные |
с круглой полостью |
по верху |
|
|
|||
|
300´300 |
350´350 |
400´400 |
300´300 |
400´400 |
400´400 |
600 |
1200, 1600 |
|
6 |
8 |
13 |
4 |
9 |
4 |
6 |
8 |
|
7 |
9 |
14 |
5 |
10 |
5 |
7 |
9 |
|
8 |
10 |
15 |
6 |
11 |
6 |
8 |
10 |
|
9 |
11 |
16 |
7 |
12 |
|
9 |
11 |
|
10 |
12 |
17 |
8 |
|
|
10 |
12 |
|
11 |
13 |
18 |
|
|
|
11 |
|
|
12 |
14 |
19 |
|
|
|
12 |
|
|
13 |
15 |
20 |
|
|
|
|
|
|
14 |
16 |
|
|
|
|
|
|
|
|
17 |
|
|
|
|
|
|
|
|
18 |
|
|
|
|
|
|
|
|
19 |
|
|
|
|
|
|
|
|
20 |
|
|
|
|
|
|
Таблица 2
Рекомендуемые составные железобетонные сваи и сваи-оболочки
|
Полная длина, м |
Сваи квадратного сечения, мм |
Круглые полые
диаметром, мм |
||||||||||||
|
сплошные |
с круглой полостью |
|||||||||||||
|
300´300 |
350´350 |
400´400 |
300´300 |
400´400 |
||||||||||
|
Длина звена |
||||||||||||||
|
нижнего |
верхнего |
нижнего |
верхнего |
нижнего |
верхнего |
нижнего |
верхнего |
нижнего |
верхнего |
нижнего |
среднего |
верхнего |
||
|
1 |
2 |
3 |
4 |
5 |
6 |
7 |
8 |
9 |
10 |
11 |
12 |
13 |
14 |
|
|
9 |
|
|
|
|
|
|
4 |
5 |
|
|
|
|
|
|
|
10 |
|
|
|
|
|
|
4 |
6 |
|
|
|
|
|
|
|
11 |
|
|
|
|
|
|
4 |
7 |
|
|
|
|
|
|
|
12 |
|
|
|
|
|
|
4 |
8 |
|
|
|
|
|
|
|
13 |
|
|
|
|
|
|
5 |
8 |
5 |
8 |
7 |
|
6 |
|
|
14 |
|
|
|
|
|
|
6 |
8 |
6 |
8 |
8 |
|
6 |
|
|
15 |
|
|
|
|
|
|
7 |
8 |
7 |
8 |
7 |
|
8 |
|
|
16 |
7 |
9 |
|
|
|
|
8 |
8 |
8 |
8 |
8 |
|
8 |
|
|
17 |
8 |
9 |
7 |
10 |
|
|
|
|
8 |
9 |
7 |
|
10 |
|
|
18 |
9 |
9 |
8 |
10 |
|
|
|
|
8 |
10 |
8 |
|
10 |
|
|
19 |
7 |
12 |
9 |
10 |
|
|
|
|
8 |
11 |
7 |
|
12 |
|
|
20 |
8 |
12 |
10 |
10 |
|
|
|
|
8 |
12 |
8 |
|
12 |
|
|
21 |
|
|
7 |
14 |
9 |
12 |
|
|
10 |
11 |
9 |
|
12 |
|
|
22 |
|
|
8 |
14 |
10 |
12 |
|
|
10 |
12 |
10 |
|
12 |
|
|
23 |
|
|
9 |
14 |
11 |
12 |
|
|
11 |
12 |
11 |
|
12 |
|
|
24 |
|
|
10 |
14 |
12 |
12 |
|
|
12 |
12 |
12 |
|
12 |
|
|
25 |
|
|
|
|
9 |
16 |
|
|
|
|
9 |
8 |
8 |
|
|
26 |
|
|
|
|
10 |
16 |
|
|
|
|
10 |
8 |
8 |
|
|
27 |
|
|
|
|
11 |
16 |
|
|
|
|
7 |
10 |
10 |
|
|
28 |
|
|
|
|
12 |
16 |
|
|
|
|
8 |
10 |
10 |
|
|
29 |
|
|
|
|
|
|
|
|
|
|
9 |
10 |
10 |
|
|
30 |
|
|
|
|
14 |
16 |
|
|
|
|
10 |
10 |
10 |
|
|
31 |
|
|
|
|
|
|
|
|
|
|
7 |
12 |
12 |
|
|
32 |
|
|
|
|
16 |
16 |
|
|
|
|
8 |
12 |
12 |
|
|
33 |
|
|
|
|
|
|
|
|
|
|
9 |
12 |
12 |
|
|
34 |
|
|
|
|
|
|
|
|
|
|
10 |
12 |
12 |
|
|
35 |
|
|
|
|
|
|
|
|
|
|
11 |
12 |
12 |
|
|
36 |
|
|
|
|
|
|
|
|
|
|
12 |
12 |
12 |
|
|
37 |
|
|
|
|
|
|
|
|
|
|
7 |
2´10 |
10 |
|
|
38 |
|
|
|
|
|
|
|
|
|
|
8 |
2´10 |
10 |
|
|
39 |
|
|
|
|
|
|
|
|
|
|
9 |
2´10 |
10 |
|
|
40 |
|
|
|
|
|
|
|
|
|
|
10 |
2´10 |
10 |
|
![]()
Таблица 3
Рекомендуемые типы набивных свай для условий Санкт-Петербурга
|
Тип сваи |
Размеры |
|
|
Диаметр, мм |
Длина, м |
|
|
Буронабивные с выемкой грунта |
500 |
до 20 |
|
800 |
до 30 |
|
|
1200 |
до 40 |
|
|
Буронабивные без выемки грунта |
500* |
до 15 |
|
600* |
до 15 |
|
|
_________ * Диаметр свай указан условный. Расчетный диаметр равен диаметру пробойника. |
||
Таблица 4
Расчетные сопротивления под нижним концом забивных свай и свай-оболочек, не заполняемых бетоном R, кПа (тс/м2) для грунтов Санкт-Петербурга
|
Глубина расположения нижнего конца свай, м |
Пылевато-глинистые грунты при показателе текучести IL |
||||||||||
|
0 |
0,1 |
0,2 |
0,3 |
0,4 |
0,5 |
0,6 |
0,7 |
0,8 |
0,9 |
1,0 |
|
|
1 |
2 |
3 |
4 |
5 |
6 |
7 |
8 |
9 |
10 |
11 |
12 |
|
3 |
|
|
|
|
|
|
|
|
|
|
|
|
4 |
|
|
|
|
|
|
|
|
|
|
|
|
5 |
|
|
|
|
|
|
|
|
|
|
|
|
6 |
|
|
|
|
|
|
|
|
|
|
|
|
7 |
|
|
|
|
|
|
|
|
|
|
|
|
8 |
|
|
|
|
|
|
|
|
|
|
|
|
9 |
|
|
|
|
|
|
|
|
|
|
|
|
10 |
|
|
|
|
|
|
|
|
|
|
|
|
12 |
|
|
|
|
|
|
|
|
|
|
|
|
14 |
|
|
|
|
|
|
|
|
|
|
|
|
16 |
|
|
|
|
|
|
|
|
|
|
|
|
18 |
|
|
|
|
|
|
|
|
|
|
|
|
20 |
|
|
|
|
|
|
|
|
|
|
|
|
22 |
|
|
|
|
|
|
|
|
|
|
|
|
24 |
|
|
|
|
|
|
|
|
|
|
|
|
26 |
|
|
|
|
|
|
|
|
|
|
|
|
28 |
|
|
|
|
|
|
|
|
|
|
|
|
30 |
|
|
|
|
|
|
|
|
|
|
|
|
35 |
|
|
|
|
|
|
|
|
|
|
|
Таблица 5
Расчетное сопротивление по
боковой поверхности свай и свай-оболочек f
для
грунтов Санкт-Петербурга, кПа (тс/м2)
|
Глубина расположения середины слоя грунта, м |
Песчаные грунты средней плотности |
Пылевато-глинистые грунты при показателе текучести IL |
|||||||||
|
крупные и средней крупности |
мелкие |
пылеватые |
|||||||||
|
0,2 |
0,3 |
0,4 |
0,5 |
0,6 |
0,7 |
0,8 |
0,9 |
1,0 |
1,1 |
1,2 |
|
|
1 |
35(3,5) |
23(2,3) |
15(1,5) |
12(1,2) |
8(0,8) |
6(0,6) |
4(0,4) |
4(0,4) |
3(0,3) |
3(0,3) |
2(0,2) |
|
2 |
42(4,2) |
30(3,0) |
21(2,1) |
17(1,7) |
12(1,2) |
10(1,0) |
8(0,8) |
7(0,7) |
6(0,6) |
5(0,5) |
4(0,4) |
|
3 |
48(4,8) |
35(3,5) |
25(2,5) |
20(2,0) |
15(1,5) |
13(1,3) |
11(1,1) |
10(1,0) |
8(0,8) |
7(0,7) |
6(0,6) |
|
4 |
53(5,3) |
38(3,8) |
27(2,7) |
22(2,2) |
18(1,8) |
15(1,5) |
13(1,3) |
11(1,1) |
9(0,9) |
8(0,8) |
6(0,6) |
|
5 |
56(5,6) |
40(4,0) |
29(2,9) |
24(2,4) |
20(2,0) |
17(1,7) |
15(1,5) |
12(1,2) |
10(1,0) |
9(0,9) |
7(0,7) |
|
6 |
58(5,8) |
42(4,2) |
31(3,1) |
25(2,5) |
20(2,0) |
17(1,7) |
15(1,5) |
13(1,3) |
11(1,1) |
9(0,9) |
7(0,7) |
|
7 |
60(6,0) |
43(4,3) |
32(3,2) |
26(2,6) |
21(2,1) |
18(1,8) |
15(1,5) |
13(1,3) |
11(1,1) |
10(1,0) |
8(0,8) |
|
8 |
62(6,2) |
44(4,4) |
33(3,3) |
26(2,6) |
21(2,1) |
18(1,8) |
16(1,6) |
13(1,3) |
11(1,1) |
10(1,0) |
8(0,8) |
|
9 |
63(6,3) |
45(4,5) |
33(3,3) |
27(2,7) |
22(2,2) |
19(1,9) |
16(1,6) |
14(1,4) |
12(1,2) |
10(1,0) |
9(0,9) |
|
10 |
65(6,5) |
46(4,6) |
34(3,4) |
27(2,7) |
22(2,2) |
19(1,9) |
17(1,7) |
14(1,4) |
12(1,2) |
11(1,1) |
9(0,9) |
|
11 |
66(6,6) |
47(4,7) |
35(3,5) |
27(2,7) |
23(2,3) |
20(2,0) |
17(1,7) |
15(1,5) |
13(1,3) |
12(1,2) |
10(1,0) |
|
13 |
69(6,9) |
49(4,9) |
36(3,6) |
28(2,8) |
23(2,3) |
20(2,0) |
18(1,8) |
15(1,5) |
13(1,3) |
12(1,2) |
10(1,0) |
|
15 |
72(7,2) |
51(5,1) |
38(3,8) |
28(2,8) |
24(2,4) |
21(2,1) |
19(1,9) |
16(1,6) |
14(1,4) |
13(1,3) |
11(1,1) |
|
17 |
75(7,5) |
53(5,3) |
39(3,9) |
29(2,9) |
24(2,4) |
21(2,1) |
19(1,9) |
16(1,6) |
14(1,4) |
13(1,3) |
11(1,1) |
|
19 |
78(7,8) |
55(5,5) |
40(4,0) |
30(3,0) |
24(2,4) |
21(2,1) |
19(1,9) |
16(1,6) |
14(1,4) |
13(1,3) |
11(1,1) |
|
21 |
80(8,0) |
57(5,7) |
42(4,2) |
30(3,0) |
24(2,4) |
21(2,1) |
19(1,9) |
16(1,6) |
14(1,4) |
13(1,3) |
11(1,1) |
|
23 |
83(8,3) |
59(5,9) |
43(4,3) |
31(3,1) |
24(2,4) |
21(2,1) |
19(1,9) |
16(1,6) |
14(1,4) |
13(1,3) |
11(1,1) |
|
25 |
86(8,6) |
61(6,1) |
44(4,4) |
32(3,2) |
24(2,4) |
21(2,1) |
19(1,9) |
16(1,6) |
14(1,4) |
13(1,3) |
11(1,1) |
|
30 |
93(9,3) |
66(6,6) |
47(4,7) |
34(3,4) |
25(2,5) |
22(2,2) |
20(2,0) |
17(1,7) |
15(1,5) |
14(1,4) |
12(1,2) |
|
35 |
100(10,0) |
70(7,0) |
50(5,0) |
36(3,6) |
26(2,6) |
23(2,3) |
21(2,1) |
18(1,8) |
16(1,6) |
15(1,5) |
13(1,3) |
Определение размеров буронабивных фундаментов
1. Расчет по деформации должен производиться исходя из условия
,
|
где s |
- |
осадка буронабивного фундамента по расчету, см; |
|
sk |
- |
условная осадка кольцевого уширения, см; |
|
sn |
- |
условная осадка пяты, см; |
|
|
- |
средняя предельно допустимая осадка здания, см. |
2. Значения
осадок
и
рекомендуется
определять методом послойного суммирования осадок отдельных слоев грунта
основания под кольцевым уширением и пятой от нагрузок Nk и Nn.
Нагрузки на кольцевое уширение Nk и на пяту Nn можно предварительно определять по формулам
(1)
|
где |
- |
расчетная нагрузка на фундамент для определения деформации основания, кН; |
|
|
- |
коэффициент распределения нагрузки, принимаемый по табл. 1. |
Таблица 1
|
Диаметр уширения, м |
Коэффициент |
||||
|
1,0 |
1,5 |
2,0 |
2,5 |
3,0 |
|
|
1,0 |
0,50 |
0,38 |
0,28 |
0,21 |
0,14 |
|
1,5 |
0,67 |
0,59 |
0,51 |
0,43 |
0,38 |
|
2,0 |
0,80 |
0,71 |
0,65 |
0,59 |
0,56 |
|
2,5 |
0,85 |
0,79 |
0,73 |
0,68 |
0,63 |
|
3,0 |
0,92 |
0,86 |
0,80 |
0,75 |
0,70 |
3. Допустимость расчета по деформации определяется условием
(2)
|
где |
- среднее давление по подошве уширения на основание, кПа; |
|
А |
- площадь горизонтального сечения кольцевой части фундамента, м2; |
|
R |
- расчетное сопротивление грунта в основании фундамента, кПа, определяемое по формуле |
(3)
|
где |
- |
коэффициенты условий работы, принимаются по табл. 3 СНиП 2.02.01-83; |
|
|
- |
коэффициент, учитывающий ненарушенную структуру грунта основания и принимаемый по табл. 2; |
|
|
- |
коэффициент надежности по грунту;
принимается |
|
М1, М2, М3 |
- |
коэффициенты, принимаемые по табл. 3; |
|
|
- |
осредненное расчетное значение удельного веса грунта, залегающего соответственно ниже и выше подошвы уширения (без учета взвешивающего действия воды), кН/м3; |
|
|
- |
расчетное значение удельного сцепления грунта, залегающего в основании фундамента, кПа; |
|
|
- |
наибольший диаметр уширения фундамента, м; |
|
|
- |
глубина заложения низа конической части от уровня планировки, м; |
|
|
- |
приведенная глубина заложения конической части фундамента от пола подвала, определяемая по СНиП 2.02.01-83 (по формуле (8). |
Таблица 2
|
Показатель текучести IL |
0,20 |
0,20-0,40 |
0,40-0,60 |
0,60 |
|
Коэффициент mr |
1,9 |
1,6 |
1,3 |
1,1 |
Таблица 3
|
Расчетное значение угла
внутреннего трения |
Коэффициенты |
||
|
М1 |
М2 |
М3 |
|
|
1 |
2 |
3 |
4 |
|
10 |
0,20 |
1,80 |
4,51 |
|
12 |
0,26 |
2,02 |
4,81 |
|
14 |
0,32 |
2,28 |
5,12 |
|
16 |
0,39 |
2,56 |
5,46 |
|
18 |
0,47 |
2,90 |
5,84 |
|
20 |
0,57 |
3,28 |
6,25 |
|
22 |
0,68 |
3,71 |
6,71 |
|
24 |
0,80 |
4,21 |
7,20 |
|
26 |
0,94 |
4,78 |
7,75 |
|
28 |
1,11 |
5,45 |
8,36 |
|
30 |
1,30 |
6,20 |
9,00 |
4. Дополнительное давление под фундаментом от действия вертикальных нагрузок Nk и Nn; определяется по формулам:
а) для кольцевого уширения
, (4)
где ![]()
(см. рис. 1);
b - диаметр пяты, м;
б) для пяты цилиндрического ствола
, (5)
где
- условная площадь
основания пяты;
,
|
|
- |
среднее значение расчетного угла внутреннего трения в пределах высоты ствола; |
|
|
- |
средний объемный вес грунта выше подошвы пяты, кН/м3; |
|
|
- |
глубина заложения пяты фундамента, м; |
|
|
- |
рабочая часть ствола. |
5. Нормальные напряжения в основании подошвы определяются по формулам
а) для кольцевого уширения
(6)
где
- принимается по табл. 4 в зависимости от
и
,
где
- по
той же таблице при
и ![]()
б) для нижнего конца ствола (пяты)
(7)
где
- принимается по табл. 4 в зависимости от
при t0 = 0.
Границы активных
зон в основании уширения и подошвы пяты рекомендуется принимать на глубинах,
где
и
. Равенство sk = sn может быть достигнуто методом
последовательного приближения за счет изменения коэффициента распределения
нагрузок
между кольцевым
уширением и пятой.
|
|
Значение коэффициента |
|||||||||||||||
|
0,0 |
0,2 |
0,4 |
0,6 |
0,8 |
1,0 |
1,2 |
1,4 |
1,6 |
1,8 |
2,0 |
2,2 |
2,4 |
2,6 |
2,8 |
3,0 |
|
|
0,0 |
1,000 |
1,000 |
1,000 |
1,000 |
1,000 |
0,000 |
0,000 |
0,000 |
0,000 |
0,000 |
0,000 |
0,000 |
0,000 |
0,000 |
0,0000 |
0,0000 |
|
0,2 |
0,993 |
0,991 |
0,987 |
0,970 |
0,890 |
0,468 |
0,077 |
0,015 |
0,005 |
0,002 |
0,001 |
0,0008 |
0,0008 |
0,0002 |
0,0001 |
0,0001 |
|
0,4 |
0,949 |
0,943 |
0,922 |
0,860 |
0,712 |
0,435 |
0,181 |
0,065 |
0,036 |
0,012 |
0,006 |
0,0037 |
0,0023 |
0,0016 |
0,0012 |
0,0006 |
|
0,6 |
0,864 |
0,852 |
0,813 |
0,773 |
0,591 |
0,400 |
0,224 |
0,113 |
0,056 |
0,029 |
0,016 |
0,0108 |
0,0043 |
0,0026 |
0,0020 |
0,0016 |
|
0,8 |
0,756 |
0,742 |
0,699 |
0,619 |
0,504 |
0,366 |
0,237 |
0,142 |
0,083 |
0,048 |
0,029 |
0,0198 |
0,0104 |
0,0059 |
0,0047 |
0,0036 |
|
1,0 |
0,646 |
0,633 |
0,593 |
0,525 |
0,434 |
0,332 |
0,235 |
0,157 |
0,102 |
0,065 |
0,042 |
0,0290 |
0,0190 |
0,0109 |
0,0100 |
0,0630 |
|
1,2 |
0,547 |
0,535 |
0,502 |
0,447 |
0,377 |
0,300 |
0,226 |
0,162 |
0,113 |
0,078 |
0,053 |
0,0400 |
0,0284 |
0,0161 |
0,0124 |
0,0093 |
|
1,4 |
0,461 |
0,452 |
0,425 |
0,389 |
0,329 |
0,270 |
0,212 |
0,161 |
0,118 |
0,086 |
0,062 |
0,0471 |
0,0340 |
0,0212 |
0,0148 |
0,0129 |
|
1,6 |
0,390 |
0,383 |
0,362 |
0,330 |
0,288 |
0,243 |
0,197 |
0,156 |
0,120 |
0,090 |
0,068 |
0,0526 |
0,0414 |
0,0260 |
0,0198 |
0,0166 |
|
1,8 2,0 2,2
|
0,332 0,285 0,246 |
0,327 0,280 0,242 |
0,311 0,268 0,233 |
0,285 0,248 0,218 |
0,254 0,224 0,198 |
0,218 0,196 0,176 |
0,182 0,167 0,153 |
0,148 0,140 0,131 |
0,118 0,114 0,109 |
0,092 0,092 0,090 |
0,072 0,074 0,074 |
0,0583 0,0603 0,0608 |
0,0450 0,0483 0,0504 |
0,0300 0,0334 0,0360 |
0,0238 0,0294 0,0314 |
0,0199 0,0225 0,0252 |
|
2,4 2,6 2,8
|
0,214 0,187 0,165 |
0,211 0,185 0,163 |
0,203 0,179 0,159 |
0,192 0,170 0,151 |
0,176 0,158 0,141 |
0,159 0,144 0,130 |
0,140 0,129 0,118 |
0,122 0,113 0,105 |
0,106 0,098 0,092 |
0,087 0,084 0,080 |
0,073 0,071 0,069 |
0,0639 0,0627 0,0626 |
0,0522 0,0530 0,0530 |
0,0378 0,0388 0,0391 |
0,0325 0,0333 0,0339 |
0,0272 0,0286 0,0299 |
|
3,0 3,2 3,4
|
0,146 0,130 0,117 |
0,145 0,129 0,116 |
0,141 0,126 0,114 |
0,135 0,122 0,110 |
0,127 0,115 0,105 |
0,118 0,108 0,098 |
0,108 0,099 0,091 |
0,097 0,090 0,084 |
0,087 0,081 0,076 |
0,077 0,073 0,068 |
0,067 0,064 0,061 |
0,0625 0,0591 0,0573 |
0,0520 0,0515 0,0504 |
0,0369 0,0394 0,0385 |
0,0344 0,0346 0,0340 |
0,0310 0,0312 0,0315 |
|
3,6 3,8 4,0
|
0,106 0,096 0,087 |
0,105 0,095 0,086 |
0,103 0,093 0,085 |
0,099 0,091 0,083 |
0,095 0,087 0,080 |
0,090 0,083 0,080 |
0,084 0,078 0,072 |
0,078 0,073 0,067 |
0,071 0,067 0,062 |
0,065 0,061 0,058 |
0,058 0,055 0,053 |
0,0554 0,0527 0,0506 |
0,0472 0,0463 0,0449 |
0,0376 0,0370 0,0357 |
0,0330 0,0330 0,0325 |
0,0314 0,0314 0,0313 |
7. Расчет по
несущей способности основания рекомендуется производить при коэффициенте
надежности по грунту, принимаемом по опыту строительства равным
= 2,0.
Несущая способность фундамента Fu определяется по формуле
, (8)
|
где |
- |
сила суммарного предельного сопротивления грунта основания под кольцевым уширением и нижним концом ствола, кН; |
|
|
- |
сила предельного сопротивления грунта по боковой поверхности нижнего ствола, кН. |
Расчетная нагрузка, допускаемая на фундамент, определяется по формуле
. (9)
8. Величину предельного сопротивления грунта основания под фундаментом рекомендуется определять по формуле
, (10)
|
где Nk1, Nk2, Nk3 |
- |
коэффициенты определения по табл. 5; |
|
|
- |
осредненные расчетные значения удельного веса грунтов, залегающих соответственно ниже и выше подошвы уширения, кН/м3; |
|
сI |
- |
расчетное значение удельного сцепления грунта, кПа; |
остальные обозначения даны в п. 3.9. Сопротивление грунта по боковой поверхности ствола рекомендуется определять по формуле
(11)
|
где u |
- |
периметр пяты, м; |
|
|
- |
расчетное сопротивление грунта основания по боковой поверхности, определяемое по табл. 2 СНиП 2.02.03-85; |
|
|
- |
коэффициент условий работы грунта по боковой поверхности буронабивных свай, принимаемый по табл. 3 СНиП 2.02.03-85; |
|
|
- |
толщина слоев грунта в пределах высоты нижнего ствола фундамента, м. |
Сопротивление грунта должно учитываться на участке ствола длиной ln (см. рисунок).

Расчетная схема буронабивного фундамента:
1 - уровень планировки; 2 - уровень природного рельефа; 3 - уровень пола подвала
|
Коэффициенты |
Значение расчетного угла внутреннего трения |
|||||||
|
16 |
18 |
20 |
22 |
24 |
26 |
28 |
30 |
|
|
Nk1 |
2,1 |
2,8 |
3,6 |
5,0 |
7,0 |
9,5 |
12,6 |
17,3 |
|
Nk2 |
4,5 |
6,5 |
8,5 |
10,8 |
14,1 |
18,6 |
24,8 |
32,8 |
|
Nk3 |
12,8 |
16,8 |
20,9 |
24,6 |
29,9 |
36,4 |
45,0 |
55,4 |
Определение ударной стойкости свай
1. Величина nlim для разных марок свай может определяться по графикам рис. 1 или по формуле
(1)
|
где |
- |
напряжение, возникающее в голове сваи при ударах молота, кПа; |
|
|
- |
нормативное сопротивление бетона осевому сжатию призм (призменная прочность), кПа; |
|
|
- |
коэффициент динамического упрочнения бетона головы сваи; |
|
|
- |
коэффициент долговечности ( |

Рис. 1. Графики зависимости
ударной стойкости железобетона свай в головной части
от отношения
для различных марок
свай
Напряжение
в зависимости от
принятых параметров удара молота определяется по прил. 40 Пособия к СНиП
3.02.01-87 или по п. 2.8 "Руководства по
проектированию свайных фундаментов" ВНИИОСП (М.: Стройиздат, 1980) по
формуле
(2)
|
где |
- |
расчетная энергия удара молота, кДж; |
|
|
- |
модули упругости прокладки наголовника и бетона сваи, кПа; |
|
|
- |
толщина прокладки в наголовнике, м; |
|
|
- |
массы сваи и ударной части молота, т; |
|
А, l |
- |
площадь поперечного сечения и длина сваи, м2и м. |
Величина
определяется по СНиП 2.02.03-85. Коэффициенты
динамического упрочнения бетона свай для границ начала трещинообразования головы
Df,cr и начала разрушения Df,du принимаются в
зависимости от марки свай.
|
Марка сваи |
СЦ, СП |
С |
Ск, СФ-1 |
СН |
СФГ-1 |
СФГ-2 |
|
Df,cr |
2,7 |
3,2 |
3,3 |
3,0 |
3,6 |
3,8 |
|
Df,du |
2,8 |
3,3 |
3,4 |
3,2 |
3,9 |
4,1 |
Потребное количество ударов молота n и время t, необходимое для погружения сваи на проектную глубину l, определяются путем построения кривых процесса погружения сваи (ходограмм) - n(l) и t(l). Сопоставление ходограмм для разных молотов позволяет сравнить их погружающую способность и выбрать наиболее целесообразный режим по параметрам, производительности или другим показателям. Построение ходограммы ведется суммированием по отдельным слоям
, (3)
(4)
|
где ni, ti |
- |
соответственно число ударов и время
работы молота для пробивки i-го слоя
грунта толщиной li (li |
|
n, t |
- |
то же для погружения сваи от поверхности грунта через j слоев на глубину l; |
|
Fdi |
- |
динамическое сопротивление грунта погружению сваи, кН, в i-м слое, определяемое по формулам для расчета несущей способности свай по СНиП 2.02.03-85, но без учета коэффициентов условий работы, реологических коэффициентов и т.п., так как рассматривается сопротивление при погружении; |
|
|
- |
частота ударов молота в с, уд/с; |
|
sel |
- |
упругий отказ сваи (упругие перемещения грунта и сваи), м, определяется по табл. 1. Для песчаных грунтов упругий отказ принимается равным 0,005 м. |
Таблица 1
|
Площадь сечения сваи, А, м2 |
Упругий отказ сваи, мм, при показателе текучести грунта IL |
|||||||||||
|
0 |
0,1 |
0,3 |
0,4 |
0,45 |
0,5 |
0,65 |
0,8 |
0,85 |
0,9 |
1,0 |
1,2 |
|
|
0,04 |
3 |
3 |
3,5 |
4 |
5 |
6 |
7 |
6 |
5 |
4,5 |
4 |
3 |
|
0,0625 |
3 |
3,5 |
5 |
8 |
10 |
11 |
13 |
11 |
9 |
7 |
5 |
4 |
|
0,09 |
3 |
5 |
9 |
15 |
20 |
26 |
31 |
26 |
20 |
15 |
9 |
5 |
|
0,123 |
3 |
9 |
14 |
24 |
33 |
42 |
52 |
42 |
32 |
24 |
14 |
9 |
Коэффициент полезного действия удара молота определяется по формуле
(5)
|
где |
- |
соответственно массы сваи, наголовника и частей молота, участвующих в соударении, т; |
|
|
- |
коэффициент восстановления удара (при
наголовнике с деревянными прокладками |
Значение коэффициента пропорциональности ki определяется по табл. 2.
Таблица 2
|
Метод определения |
Коэффициент К для молотов |
||
|
подвесного и одиночного действия |
дизельных трубчатых |
дизельных штанговых |
|
|
По табл.1 и 2 СНиП 2.02.03-85 и ТСН при sel= 0, |
0,5 |
0,4 |
0,7 |
|
по данным зондирования |
|
|
|
|
при sel = 0, |
0,7 |
0,6 |
1,2 |
|
при sel ¹0 |
1,0 |
0,9 |
1,5 |
3. При определении динамических сопротивлений грунтов погружению сваи Ed в качестве удельных сопротивлений по нижнему концу свай R и по боковой поверхности f принимаются:
при использовании табл. 1 и 2 СНиП 2.02.03-85 или ТСН значения расчетных сопротивлений грунтов R и f (для приближенных расчетов);
при статическом
зондировании значения сопротивлений, непосредственно замеренные в процессе
погружения зонда на данной глубине, т.е. R=qs и f=fs (при значениях коэффициентов перехода по п. 5.11 СНиП 2.02.03-85
);
при динамическом зондировании значение сопротивления грунта погружению стандартного конусного зонда, т.е. R=Pd (по СН 448-72. "Указания по зондированию грунтов для строительства" Госстроя СССР (М.: Стройиздат, 1973) и f = 0,012 Pd.
При
использовании для облегчения погружения свай электроосмоса или обмазок для
уменьшения сопротивления грунтов по боковой поверхности свай вводится
понижающий коэффициент
= 0,5, а при
использовании лидерной скважины
(6)
где АВ - площадь поперечного сечения буровой скважины, м2;
А - площадь поперечного сечения сваи.
Оборудование для устройства анкеров
1. Оборудование для проходки скважин под анкеры должно выбираться в зависимости от типа и размеров анкера, гидрогеологических условий строительной площадки, наличия подземных конструкций, сооружений.
Проходка скважин в обводненных неустойчивых грунтах должна осуществляться либо креплением стенок скважины обсадными трубами, либо погружением обсадной трубы с теряемым башмаком ударным, вибрационным или виброударным способами.
Бурение скважин должно выполняться, как правило, без глинистого раствора, так как его применение ведет к значительному снижению несущей способности, особенно в анкерах с одноразовой инъекцией цементного раствора и анкерах с уширениями.
Для проходки скважин в неводонасыщенных песчаных грунтах, а также в пылевато-глинистых с показателем текучести менее 0,5 (без включений в виде валунов, камней и т.д.) рекомендуется использовать реверсивные пневмопробойники, изготавливаемые Одесским заводом строительно-отделочных машин. Их применение значительно сокращает время проходки скважины и не требует ее обсадки.
Характеристики рекомендуемых буровых станков и пневмопробойников представлены в табл. 1 и 2.
Для приготовления и нагнетания цементного раствора рекомендуется применять передвижные растворосмесители, указанные в табл. 3, растворонасосы - табл. 4 и домкраты - табл. 5.
Таблица 1
Характеристики буровых станков
|
Показатель |
Марка станка |
||
|
СКБ 4110 |
СКБ 4 |
СКБ 5 |
|
|
Глубина бурения, м |
300 |
500 |
500 |
|
Диаметр бурения, мм |
93 |
59-151 |
151 |
|
Угол наклона к горизонту, град. |
0-360 |
0-360 |
90-60 |
|
Частота вращения шпинделя, мин-1 |
0-1500 |
155-1600 |
122-1500 |
|
Ход шпинделя, мм |
400 |
400 |
500 |
|
Мощность электродвигателя, кВТ |
37,0 |
22,0 |
30,0 |
|
Габаритные размеры, мм: длина ширина высота |
2000 1200 1800 |
1820 1020 1500 |
- - - |
|
Масса станка, кг |
2150 |
1800 |
2400 |
Таблица 2
|
Показатель |
Марка пневмопробойника |
||
|
ИП-4601 |
ИП-4603 |
ПР-400 (экспериментальные) |
|
|
Диаметр пробиваемых скважин, мм: без расширителя с расширителем |
95 160 |
130 200 и 300 |
152 400 |
|
Скорость пробивания скважин (без расширителя), м/ч |
1-50 |
10-80 |
40 |
|
Давление сжатого воздуха, МПа (кгс/см2) |
0,6(6) |
0,6-0,7(6-7) |
(0,6)6 |
|
Расход сжатого воздуха, м3/мин |
4,0 |
3,5 |
6,0 |
|
Длина пневмопробойника, мм |
1500 |
1550 |
1800 |
|
Масса пневмопробойника, кг |
55 |
80 |
140 |
Растворосмесители
|
Показатель |
Тип растворосмесителя |
|||
|
С-220А |
С-289А |
С-333Г |
С-588 |
|
|
Объем готового замеса, л |
125 |
250 |
330 |
85 |
|
Емкость смесительного барабана по загрузке, л |
150 |
325 |
500 |
110 |
|
Мощность электродвигателя, кВт |
2,8 |
4,5 |
3,4 |
1,5 |
|
Габаритные размеры, мм: длина ширина высота |
1340 1495 1690 |
1775 2180 2140 |
2260 2180 1920 |
1800 706 1000 |
|
Масса, кг |
840 |
1430 |
1370 |
1400 |
|
Средняя производительность по готовому раствору, м3/ч |
2,5 |
5,0 |
10,0 |
1,5 |
Для нагнетания цементного раствора в рабочую часть анкера целесообразно применять диафрагмовые насосы и насосы, находящиеся в составе буровых установок, приведенные в табл. 4.
Растворонасосы
|
Показатель |
Марка растворонасоса |
|||
|
С-261 |
С-256 |
С-263 |
С-317 |
|
|
Производительность, м3/ч |
1 |
2 |
3 |
6 |
|
Рабочее давление, МПа (кгс/см2) |
1(10) |
1,5(15) |
1,5(15) |
1,5(15) |
|
Мощность электродвигателя, кВт |
1,7 |
2,2 |
2,2 |
7,0 |
|
Габаритные размеры, мм: |
|
|
|
|
|
длина |
1240 |
1240 |
1240 |
1240 |
|
ширина |
445 |
445 |
445 |
560 |
|
высота |
760 |
760 |
760 |
1000 |
|
Емкость бункера, л |
120 |
120 |
120 |
120 |
|
Масса, кг: растворонасоса растворопровода |
180 20 |
180 - |
180 130 |
400 250 |
Натяжение анкеров рекомендуется производить гидравлическими домкратами, которые представлены в табл. 5.
Гидравлические домкраты
|
Показатель |
Марка домкрата |
|||
|
ДГС-63-315 |
ДГП-63-315 |
СМ-537 |
ДГ-100-2 |
|
|
Максимальное тяговое усилие, кН(тс) |
630(63) |
630(63) |
500(50) |
1000(100) |
|
Ход поршня, мм |
315 |
315 |
150 |
155 |
|
Диаметр натягиваемой арматуры, мм |
28-40 |
- |
16-42 |
до 55 |
|
Габаритные размеры, мм: |
|
|
|
|
|
длина |
1000 |
1000 |
266 |
370 |
|
ширина |
230 |
252 |
370 |
190 |
|
высота |
250 |
219 |
600 |
325 |
|
Масса, кг |
84 |
82 |
69 |
65 |
|
Тип арматуры |
Стержневая, проволочная, прядевая |
Проволочная |
Стержневая |
Стержневая, проволочная, прядевая |
Для обслуживания домкратов применяют насосные станции НСР-400, СМЖ-83.
При устройстве анкеров может использоваться оборудование зарубежных фирм, например, "Бауэр", "Казагранде", "Солетанш" и др.